Методы увеличения пропускной способности магистрального трубопровода
Федеральное агентство по
государственным резервам
Федеральное государственное
образовательное
учреждение
Торжокский политехнический колледж
КУРСОВОЙ ПРОЕКТ
МЕТОДЫ УВЕЛИЧЕНИЯ ПРОПУСКНОЙ
СПОСОБНОСТИ МАГИСТРАЛЬНОГО ТРУБОПРОВОДА
Студент (Зарубин Ф.А.)
Преподаватель (Матвеева А.А.)
Содержание
Введение
1. Общая часть
1.1 Факторы, влияющие на снижение пропускной способности
1.2 Методы увеличения пропускной способности
1.2.1 Увеличение числа перекачивающих станций
1.2.2 Прокладка лупинга
1.2.3 Укладка вставки
1.3 Мероприятия по предотвращению снижения пропускной способности
магистральных трубопроводов
1) Очистка газа от механических примесей
2) Предупреждение образования гидратов. Очистка газа от воды
Осушка газа твердыми поглотителями
3) Очистка газа от сероводорода и углекислого газа
4) Очистка внутренней полости газопроводов
1.4 Работа трубопроводов со сбросами и подкачками
2. Расчетная часть
2.1 Расчет длины лупинга и вставки
2.2 Расчет числа ПС при увеличении производительности на 180%
3. Заключительная часть
3.1 Техника безопасности при эксплуатации магистральных
трубопроводов
3.2 Охрана окружающей среды при эксплуатации магистральных
газопроводов
Список используемой литературы
Введение
В системе нефтяной и газовой промышленности чрезвычайно
велика роль трубопроводного транспорта. Трубопроводный транспорт наряду с
экономичностью обеспечивает круглогодичную работу и почти не зависит от
природных условий, чем выгодно отличается от других видов транспорта. В первую
очередь это относится к газовой промышленности, где трубопроводы являются
единственным средством транспортом газа от мест добычи к потребителям.
Так как главные источники природного и нефтяного газа
значительно удалены от промышленных районов страны, проблема создания надежной высокоэффективной
системы транспорта газа, полностью обеспечивающей потребность важнейших
отраслей промышленности и населения в топливе.
В связи с этим в нашей стране создана сеть магистральных
газопроводов, которая продолжает увеличиваться и расширяться в настоящее время.
Вообще, магистральный трубопровод - это трубопровод,
предназначенный для дальнего транспорта из района добычи или производства в
районы его потребления. Основным его характеристиками являются большая
протяженность, высокое рабочее давление, большой диаметр и наличие на пути
перекачивающих станций.
В связи с тем, что потребность населения и производства в
газе с каждым годом растет, а, следовательно, растут и объемы перекачек,
необходимо увеличение такой характеристики магистральных газопроводов, как
пропускная способность. Причем, как уже построенных, так и находящихся в
процессе прокладки. В данном курсовом проекте рассматриваются факторы, влияющие
на снижение пропускной способности, а также основные методы ее увеличения.
1.
Общая часть
1.1
Факторы, влияющие на снижение пропускной способности
При эксплуатации магистральных трубопроводов (МТ) приходится
учитывать факторы, влияющие на снижение пропускной способности для определения
мероприятий по ее увеличению. К этим факторам относятся:
) Механические примеси. Существуют 4 основных
источника их появления в газовых потоках:
частицы породы, слагающие продуктивный горизонт газовой
залежи, выносимые газовыми потоками из скважины;
строительный шлам, оставшийся после окончания строительства
промысловых газосборных сетей, магистральных и местных газопроводов,
газораспределительных сетей;
продукты внутренней коррозии и эрозии трубопроводов;
жидкость, конденсирующаяся из газа при изменении ее температуры и давления.
Присутствующие в газовом потоке механические примеси,
существенно влияют на эксплуатацию газосборных сетей, коллекторов, МТ, узлов
измерения расхода и регулирования давления газа, приборов контроля и
технологического оборудования потребителей природного газа. При транспорте
природного газа по МТ вследствие полной очистки газа от механических примесей и
кислых компонентов (H2S, COS, CO2), вызывающих в присутствии капелькой влаги коррозию трубы, помимо
значительного снижения пропускной способности газопровода наблюдается
увеличение коэффициента гидравлического сопротивления трубы увеличение потерь
давления газа.
) Влага. Природный газ газовых месторождений в
пластовых условиях насыщен водяными парами. В парах продуктивного пласта,
вместе с подошвенной водой, также содержится и связанная вода. После бурения в
призабойной зоне скапливается техническая вода или глинистый раствор. В
газоконденсатных месторождениях в газе также содержатся пары конденсата,
которые при пластовых условиях находятся в насыщенном и иногда в ненасыщенном
состояниях.
Количество водяных паров, содержащихся в газе, зависит от
давления, температуры и состава газа. Чем выше температура при неизменном
давлении, тем больше количество воды в виде пара содержится в газе, а с
увеличением давления при неизменной температуре газа это количество
уменьшается. Чем выше молярная масса газа, тем больше водяных паров имеется в
единице его объема. Содержание в газе азота способствует уменьшению количества
водяных паров, а наличие тяжелых углеводородов, углекислоты и сероводорода -
увеличению его.
Примеси воды (жидкая вода, вода в виде пара, конденсат,
частицы породы и др.) затрудняют транспортировку газа. Наличие воды в природном
газе приводит к различным осложнениям: к усиленной коррозии оборудования,
образованию гидрантов или льда, частичной или полной закупорке газопровода и
скважины ледяными или гидратными пробками.
) Сероводород и углекислый газ.
Сероводород (H2S). Часто является примесью природного газа. В
нормальных условиях он представляет собой газ плотностью 1,521 кг/м3,
с характерным запахом. Он горюч, хорошо растворяется в воде. Сам по себе газ и
продукт его сгорания - сернистый ангидрит - ядовиты. Кроме того, сероводород и
сернистые соединения вызывают коррозию стальных труб, резервуаров, оборудования
трубопроводов, компрессорных машин и др. присутствие сероводорода в газе
ускоряет гидратообразование. При использовании газа для бытовых нужд,
содержание сероводорода в нем не должно превышать 0,02 г/м3 при 0°С
и 760 мм. рт. ст. Этой же нормы придерживаются при очистке природного газа,
подлежащего транспортировке по трубопроводам.
пропускная способность магистральный трубопровод
Углекислый газ представляет собой балластную примесь. По
технико-экономическим соображениям содержание СО2 в транспортируемом
газе не должно превышать 2%.
) Неправильная эксплуатация линейной части МТ, которая
имеет место при работе со сбросами и подкачками, при которых возможно снижение
или повышение давления и температуры, что при определенных значениях
способствует активному отложению вредных частиц.
1.2
Методы увеличения пропускной способности
С необходимостью увеличения пропускной способности
газопроводов приходится сталкиваться как в процессе проектирования, так и при
эксплуатации их. Наращивание пропускной способности обусловлено стадийностью
ввода в эксплуатацию газопроводов. Большую роль оказывают так же изменения,
происходящие в направлении и мощности потоков газа вследствие открытия новых
газовых месторождений, строительства новых промышленных объектов, городов и
т.п. В общем случае при увеличении пропускной способности системы начальное и
конечное давление могут изменяться. Это зависит от степени загруженности
действующей части системы, от характеристик установленного основного
оборудования, а также от того, потребуется или не потребуется расширение действующих
компрессорных станций (КС). Т.к. местоположение КС предопределено, то расчет
увеличения пропускной способности приходится проводить, как правило, по каждому
перегону между КС, и в последующем все параметры будут относиться к одному
перегону. Увеличить пропускную способность газопровода можно следующими
основными способами: прокладка лупингов, укладка вставки, удвоение числа КС.
Выбор того или иного способа зависит от конкретных условий на участке
газопровода, а также от технико-экономического обоснования.
1.2.1
Увеличение числа перекачивающих станций
При наращивании пропускной способности газопроводной системы
путем увеличения КС необходимо согласовать режимы работы смежных перегонов и
КС. На перегоне между КС можно дополнительно построить любое число КС.
Исходя же из технико-экономических расчетов, целесообразным
оказывается, как правило, только удвоение КС. Исключение составляет пусковой
период, который разбивается на несколько этапов. Начальным этапом является
безкомпрессорная подача газа по газопроводу за счет пластового давления. Затем
в несколько этапов вводятся в эксплуатацию КС. Одновременно на различных этапах
могут сооружаться параллельные нитки.
Исходя из кратности применяемого на КС оборудования,
увеличение числа КС на различных этапах развития газопровода может быть только
кратным числом (коэффициент кратности nкс =2,3,4,5,…). При сооружении на перегоне
дополнительных КС расчетная длина перегона уменьшается в nкс раз, за счет чего
возрастает пропускная способность перегона:

; [6] (1)
В этом случае возможная степень увеличения пропускной способности
системы:

[6] (2)
При квадратичном законе течения газа и для одинаковых диаметров
эта степень:

; [6] (3)
При увеличении КС необходимо расширять
существующие КС. При этом стараются полнее использовать возможности
трубопровода и КС, т.е. р=1. Приведем изменение пропускной способности
газопроводной системы Q в зависимости от увеличения КС по этапам строительства:
Число сооружаемых Схема сооружения КС Q, %
КС. %
Каждая пятая КС.................45
Каждая четвертая................50
Каждая третья......................58
Каждая вторая... ………….71
Все КС…………………........100
Приведенные значения пропускной
способности получены при условии, что на всех этапах развития газопровода
входное и выходное давления на КС остаются неизменными и равны давлениям при
100% -ной загрузке газопровода. Такой способ увеличения пропускной способности
газопровода возможен, если общее число КС и число КС, сооружаемых по этапам
(хотя бы по одному этапу), кратны. Например, при общем числе КС, равном 15,
возможны два варианта сооружения: I вариант - на первом этапе, З, на втором-12; II вариант: первом этапе -
5, на втором - 10. Например, при общем числе КС, равном 12, возможны четыре
варианта разбивки по этапам.
Число этапов обосновывается в каждом
конкретном случае, исходя из графика поставки оборудования, плановых заданий по
наращиванию пропускной способности и других причин. Наращивание
производительности КС по этапам будет обеспечиваться соответствующим числом
рабочих агрегатов, подключаемых параллельно. Как следует из приведенного
числового примера, такая разбивка КС по этапам строительства возможна тогда,
когда общее число КС можно разбить на простейшие множители и группы из них (15
= 3×5 = 5×3). Для первого этапа
сооружения можно принять число КС, равное любому простейшему множителю или
группе из них. Число КС, сооружаемых на каждом последующем этапе, должно быть
кратно сумме КС, сооружаемых на предыдущих этапах. Легче всего разбивается на
этапы общее число КС, состоящее из произведения двоек (например, 4, 8, 16). В
этом случае на каждом этапе происходит удваивание КС. При общем числе КС,
выражаемых простыми числами (например, 7, 11, 13, 17, 19), также возможно
поэтапное сооружение КС, но при этом часть КС (или все КС) на разных этапах
эксплуатации будут работать при различных входных и выходных давлениях.
1.2.2
Прокладка лупинга
В процессе эксплуатации МТ часто возникает необходимость
прокладки лупинга (обводной линии).
Согласно действующим нормам технологического проектирования
для пропуска планируемого грузопотока должно предусматриваться сооружение одной
нитки МТ с последующим развитием его пропускной способности за счет увеличения
числа станций или модернизации оборудования с целью увеличения их
производительности.
Проектирование МТ с учетом прокладки второй нитки (лупинга)
допускается в следующих случаях:
) Когда заданная пропускная способность не может быть
обеспечена одной ниткой из-за отсутствия труб большего диаметра и
нецелесообразности освоения их промышленностью.
2) Когда увеличение пропускной способности трубопроводов
до пределов, указанных задании на проектирование, намечается в сроки,
превышающие 8 лет.
В настоящее время в эксплуатации находится большое количество
многониточных трубопроводов. Каждая последующая нитка системы подключается к
действующим трубопроводам по мере готовности. Таким образом, каждая часть
строящейся нитки может рассматриваться как лупинг.
Система состоит из n параллельных газопроводов, работающих совместно.
Первоначальная пропускная способность системы Q0.
Q0=K
; [6] (4)
Индекс "0" означает параметры до увеличения пропускной
способности. Если к "m" ниткам
системы (m≤n) подключить лупинг диаметром Дл и длиной Хл,
то пропускная способность увеличится до Q (Q>Q0):
Q0=K
*
; [6] (5)
Магистральные газопроводы сооружаются многониточными не только по
соображениям надежности, но, главным образом, потому, что выпускаемые
промышленностью трубы самого большого диаметра не могут обеспечить заданной
пропускной способности. Поэтому многониточные газопроводы в большинстве случаев
строятся из труб одного диаметра (т.е. их коэффициенты гидравлического
сопротивления будут практически всегда одинаковыми для всех зон течения).
Предельно возможное увеличение пропускной способности определяется
(при условии 
):

пр=
; [6] (6)
С увеличением числа ниток газопроводной системы эффективность
лупинга падает. Например, если для однониточного газопровода Хпр=2
, то при n=2 Хпр=1,5
; а при n=5 Хпр=1,2
.
При любом n лупинг,
подключенный по всем ниткам, является более эффективным в сравнении с
подключением к одной нитке (при заданной степени увеличение пропускной
способности это будет лупинг наименьшей длины). Длина лупинга, подключенного по
всем ниткам системы, определяется (при m=n):

=
; [6] (7)
1.2.3
Укладка вставки
Параметры газопровода до увеличения пропускной способности (Q0, Д0, L, Pm, Pк) связаны между собой
уравнением:

; [2] (8)
Пропускная способность его должна быть увеличена до величины Q путем сооружения вставки большого диаметра Dв. Пусть вставка длинной Хв расположена на расстоянии Х
от начала газопровода.
Предполагая, что режим течения не меняется, на основании формулы
расхода запишем разность квадратов давлений на участке:
Участок длиной Х

; [2] (9)
Участок длиной Хв

; [2] (10)
Просуммировав левые и правые части полученных уравнений, имеем:

-
=
; [2] (11)
Из этого выражения видно, что место расположения вставки (это же
относится и к лупингам) не влияет на пропускную способность газопровода.
Решая совместно уравнения, получаем:

; [2] (12)
1.3
Мероприятия по предотвращению снижения пропускной способности магистральных
трубопроводов
) Очистка газа от механических примесей
Очистка газа от механических примесей осуществляется для
предотвращения загрязнений и эрозии линейной части газопроводов и оборудования
КС, ГРС и оборудования потребителей.
Установки по очистке газа предусматриваются на входе в КС и
ГРС и представляют собой аппараты различной конструкции, работающие по принципу
сухих или мокрых фильтров. При проектировании КС магистральных газопроводов для
очистки газа рекомендуется устанавливать вертикальные масляные пылеуловители
диаметром 600, 1000, 1600, 2400 мм. На ГРС используются большей частью пылеуловители
диаметром до 1600 мм, рассчитанные на давление 6,4 МПа, и диаметром 2400 мм -
на рабочее давление 5,5 МПа.
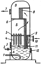
Масляный пылеуловитель представляет собой вертикальный
цилиндрический сосуд со сферическими днищами (рисунок 1). Пылеуловитель состоит
из трех секций: нижней промывочной А (от нижнего днища до перегородки
5), в которой все время поддерживается постоянный уровень масла; средней
осадительной Б (от перегородки 5 до перегородки б), где газ
освобождается от крупных частиц масла, и верхней отбойной (скрубберной) секции
В (от перегородки 6 до верхнего днища), где происходит окончательная
очистка газа от масла.
Работа пылеуловителя заключается в следующем. Очищаемый газ
через газо-подводящий патрубок 10, ударяясь о козырек 9, входит в
пылеуловитель, где в связи с уменьшением скорости из него под действием силы
тяжести выпадают и осаждаются наиболее крупные частицы пыли и жидкости. Далее
газ поступает в контактные трубки 4, ниже которых на определенном уровне
(25-50 мм) находится смачивающая жидкость (соляровое масло), и проходит в
осадительную секцию Б. Проходя через контактные трубки со значительной
скоростью, газ увлекает за собой масло, которое, промывая его, обволакивает
взвешенные частицы пыли. В осадительной секции скорость газа резко снижается, выпадающие
при этом крупные частицы пыли и жидкости по дренажным трубкам 11 стекают
вниз. Наиболее легкие частицы из осадительной секции газовым потоком уносятся в
верхнюю скрубберную секцию В. Скрубберная секция состоит из десяти рядов
перегородок 8, расположенных в шахматном порядке. Проходя в лабиринте
перегородок и ударяясь о них, газ совершает много поворотов. Благодаря этому
частицы масла осаждаются на перегородках 8 и затем стекают на дно
скрубберной секции, с которой по дренажным трубкам 11 спускаются в
нижнюю часть пылеуловителя. Очищенный газ через газоотводящий патрубок 7
выходит в газопровод. Осевший на дно пылеуловителя шлам периодически (через 2-3
месяца) удаляют через люк 12. Осевшее внизу загрязненное масло удаляют
продувкой через трубку 1 в отстойник. Взамен загрязненного масла в
пылеуловитель по трубам 2 из маслоотстойника доливается до норм свежее
очищенное масло.
Рисунок 1. Масляный пылеуловитель
Продувка производится в зимний период не реже одного раза в
сутки или по мере подъема уровня масла, если его уровень поднимается выше
нормального быстрее, чем за 24 ч. Полная очистка пылеуловителя производится 3-4
раза в год через люк. Контроль за уровнем масла ведется по шкале указателя
уровня 3
В состав установки для очистки газа кроме группы масляных
пылеуловителей входят отстойники, предназначенные для отстоя отработанного
масла с целью повторного его использования. Масляный аккумулятор предназначен
для заправки пылеуловителей свежим маслом. Подача масла из аккумулятора в
пылеуловители осуществляется самотеком за счет разности высотных отметок, так
как при этом давление в аккумуляторе и пылеуловителе выравнивается открытием
крана на линии между аккумулятором и пылеуловителем.
Количество заливаемого масла в пылеуловитель диаметром 2400мм
не превышает 1,5-2 т. Унос масла допускается не более 25 г на 1000 м3
газа.
Диаметр и число пылеуловителей определяются расчетом, исходя
из нормальных условий их работы, проектного объема транспортируемого газа,
скорости его в пылеуловителях и необходимости периодического отключения одного
из них на ремонт. При отключении одного из пылеуловителей допускается
перегрузка оставшихся не более чем на 33%.
Вместимости аккумулятора и отстойников принимаются равными
вместимости одного пылеуловителя по маслу. Установки масляных пылеуловителей
располагаются на открытых площадках на всех КС перед входом газа в
компрессорный цех.
а - схема циклонного пылеуловителя; б - элемент
циклонного пылеуловителя; 1 - патрубок для выхода газа; 2 -
корпус; - верхняя решетка; 4 - патрубок для входа газа; 5 - элемент
циклонного пылеуловителя; 6 - нижняя решетка; 7 - дренажный
штуцер; 8 - наружные винтовые лопасти; 9 - вход газа; 10 - выход
газа.
Рисунок 2
Пропускная способность вертикальных масляных пылеуловителей
при заданном давлении ограничивается скоростью потока газа в контактных
трубках, которая не должна превосходить скорости их "захлебывания"
(1-3 м/с). Масса и размеры этих пылеуловителей велики. Поэтому для уменьшения
расхода металла и габаритных размеров разработаны конструкции горизонтальных и
сферических жидкостных пылеуловителей и центробежных циклонных пылеуловителей.
В горизонтальных и сферических пылеуловителях используется барботажный принцип
промывки газа. Очистка газа в циклонном пылеуловителе (рисунок 2) происходит за
счет отбрасывания центробежной силой к периферии капельной влаги и твердых
частиц. Отсепарированная влага и твердые частицы осаждаются по дренажному
конусу циклона в нижнюю часть аппарата, откуда автоматически удаляются через
дренажный штуцер. В настоящее время масляные пылеуловители в опорожненном
состоянии могут использоваться как циклонные.
2) Предупреждение образования гидратов. Очистка газа от воды
На магистральных газопроводах могут применяться следующие
способы предупреждения образования гидратов:
Поддержание температуры газа выше температуры
гидратообразования (предварительный подогрев газа). На магистральных
газопроводах этот способ применить практически невозможно и экономически
нецелесообразно, так как он требует больших капитальных затрат и
эксплуатационных расходов.
Снижение давления газа в газопроводе ниже равновесного
давления образования гидратов. Снижение давления при образовании гидратной
пробки приводит к разложению гидратов. Этот метод в качестве аварийного
применяется при закупорке газопровода гидратной пробкой. Для этого открывают
задвижки на свечах у линейных кранов, ограничивающих участок, на котором
образовалась гидратная пробка. Давление снижается до тех пор, пока температура
гидратообразования не станет ниже температуры газа, и гидратная пробка
разрушается.
Ввод реагентов в газопровод. Борьба с гидратообразованием
может осуществляться путем ввода в поток газа различных ингибиторов
гидратообразования. В качестве ингибиторов могут применяться метиловый спирт
(метанол), раствор диэтиленгликоля (ДЭГ), триэтиленгликоля (ТЭГ) и раствор
хлористого кальция. Ингибиторы, введенные в поток газа, частично поглощают
водяные пары и переводят их в раствор, не образующий гидратов или образующий их
при более низких температурах.
Осушка газа твердыми поглотителями
В качестве твердого поглотителя применяют
активную окись алюминия, в частности боксит Al2O3, хлористый кальций в
твердом виде, цеолиты.
Боксит активизируется в течение трех часов
при 360°С без доступа воздуха, имеет поглотительную способность 6,4 % масс. Им
можно осушить газ почти до практически сухого состояния: при температуре 20°С и
давлении 0,1 МПа влагосодержание газа становится равным 0,007 г/м3,
что соответствует точке росы - 65°С. В промышленных условиях остаточное
содержание влаги в газе доводится в среднем до 0,016 г/м3, что
соответствует точке росы - 26°С. Глубина осушки зависит от степени насыщения
боксита, а именно: при степени насыщения 5-6% точка росы осушенного газа
достигает - 37°С, при 7% - 27° С, при 8% - 23° С и т.д.
Боксит - зернистый материал диаметром
2,5-4 мм. Насыпная масса его 800 кг/м3 Поглотительная способность
его не зависит от давления. Расход газа при прохождении через адсорбер с
бокситовой загрузкой 0,13-0,25 м3/с. Продолжительность работы
бокситовой загрузки (при работе на поглощение не более 5-6%) больше одного
года.
Принципиальная технологическая схема
осушки газа твердыми поглотителями в графической части (лист 1). Влажный газ
поступает в адсорбер 1, где он проходит через слой зерен боксита снизу вверх.
После определенного промежутка времени (в зависимости от загрузки и расхода
газа), обычно равного 12-16 ч, адсорбер 1 отключают и переводят на регенерацию,
а газ направляют в адсорбер 2. Регенерацию боксита производят следующим
образом. Определенное количество газа, требуемое для регенерации боксита,
отводят из линии сухого газа в коммуникацию регенерационной системы для ее
заполнения через регулятор давления 5, снижающий давление газа почти до
атмосферного. Газодувкой 6, развивающей давление не выше 4 кПа, газ подается в
подогреватель 7, где нагревается до температуры 180-200°С, затем поступает в
адсорбер, поставленный на регенерацию, например 1. Из адсорбера насыщенный
влагой газ поступает в холодильнике, затем в сепаратор 5, где от него
отделяется влага, поглощенная в адсорбере. Из сепаратора газодувкой газ обратно
подается в адсорбер 1. В результате нескольких повторных циклов прокачки
регенерирующего газа боксит осушается и становится снова способным поглощать
влагу из газа. Процесс восстановления длится 6-7 ч. После восстановления
боксита адсорбер необходимо охладить. Время охлаждения около 8 ч.
Количество загружаемого боксита в адсорбер
(в кг) определяется в зависимости от количества газа и содержания в нем влаги
по формуле
Где q - объемный расход газа,
м3/сут; х - влагосодержание газа, кг/м; t - продолжительность
цикла поглощения, ч; а - активность боксита, принимается равной 0,05, т.е.5%.
3) Очистка газа от сероводорода и углекислого газа
Сероводород является частой примесью
природного газа. В нормальных условиях он представляет собой газ плотностью
1,521 кг/м3, относительной плотностью по воздуху 1,176. Сероводород
- сильный яд, содержание его в воздухе в количестве 0,1% вызывает потерю
сознания и смерть в результате парализующего действия на нервные центры,
контролирующие дыхание и сердечную деятельность. Присутствие его в
транспортируемом природном газе вызывает коррозию труб и оборудования
трубопроводов. Предельно допустимое содержание H2S в газе, используемом для
бытовых нужд, составляет 0,02 мг/л. Этой же нормы придерживаются при очистке
природного газа, подлежащего транспортировке по трубопроводам.
Для очистки газа от сероводорода
применяются твердые и жидкие поглотители. К твердым относятся гидрат окиси
железа, содержащийся в болотной руде, активированный уголь. Из мокрых методов
очистки, в которых используются жидкие поглотители, чаще всего применяются
этаноламиновый и мышьяково-содовый методы.
Углекислый газ представляет собой
балластную примесь, и при высоком содержании его в природном газе производится
очистка газа от С02. По технико-экономическим соображениям
содержание С02 в транспортируемом газе не должно превышать 2%.
Очистку газа от С02 можно производить водой под давлением, в которой
углекислый газ хорошо растворяется, а также этаноламиновым и карбонатным
способами. Наиболее распространенным способом совместной очистки газа от
сероводорода и углекислого газа является этаноламиновый способ, основанный на
использовании в качестве поглотителей K2S и СО 2 водных растворов
моноэтаноламина (МЭА), диэтаноламина (ДЭА) и триэтаноламина (ТЭА). Все они
представляют собой вещества несколько тяжелее воды с температурой кипения при
давлении 0,1 МПа соответственно МЭА - 172°С, ДЭА - 268°С, ТЭА - 277°С (при
давлении 0,1 МПа ТЭА разлагается ниже температуры кипения).
Реакции взаимодействия, например, МЭА с H2S и С02
протекают следующим образом:
2C2H5ONH2
+ H2S [ (C2H5ONH2) H] 2S;
C2H5ONH2+H2О+CО2 [ (C2H5ONH2)
H] 2CO3.
В зависимости от температуры реакции
протекают в ту или другую сторону.
Технологическая схема очистки газа
этаноламиновым раствором представлена в графической части (лист 1). Газ,
насыщенный H2S и СО2, по газопроводу 1 поступает в нижнюю часть
абсорбера 2, проходит через серию тарелок и выходит через верхнюю часть
абсорбера но газопроводу 3. Навстречу газу подается регенерированный раствор
этаноламина, который контактируя с газом, поглощает H2S и СО2.
Продукты химического соединения этаноламинов с H2S и СО2
проходят через теплообменник 4 и поступают в выпарную колонну 5, где
подогреваются. Дополнительный подогрев производится в кипятильнике 6. Здесь при
температуре около 100°С реакция протекает в обратном направлении с регенерацией
этаноламинов и выделением H2S и СО2, которые содержат в себе пары
этаноламинов. В холодильнике 7 эти пары смеси охлаждаются и в сепараторе 8
разделяются на газы и конденсат. Последний забирается насосом 9 и направляется
в выпарную колонну, а газы идут на дальнейшую переработку для получения серы,
серной кислоты или обезвреживаются (сжигаются), если экономически
нецелесообразно их утилизировать. Регенерированный раствор этаноламинов из
нижней части выпарной колонны насосом 10 подается в абсорбер. При этом раствор
охлаждается, проходя через теплообменник 4 и холодильник 11.
Этаноламиновый раствор не корродирует
сталь и железо. Кроме того, вследствие щелочности раствора, коррозионное
действие сероводорода снижается и становится практически столь незначительным,
что вполне возможно для всех частей установка применять низкоуглеродную сталь и
чугун, а не специальные сплавы.
Этаноламиновые газоочистные установки
работают автоматически, режим регулируется контрольно-измерительными приборами.
Степень очистки достигает 99% и выше.
Основными достоинствами этого способа
очистки являются: высокая степень очистки вследствие большой поглотительной
способности раствора; легкая регенерируемость раствора; незначительность потерь
реагента вследствие небольшого давления насыщенных паров раствора; компактность
установки; небольшой расход воды и электроэнергии.
Недостатком этого процесса является сравнительно большой
расход пара.
4) Очистка внутренней полости газопроводов
Важным условием надежности работы магистральных
трубопроводов является чистота их полости. Загрязнения в виде грунта, различных
предметов, льда и снега попадают внутрь при доставке и сварке труб и трубных
секций в нитку. Для их удаления на завершающем этапе строительства проводят
специальные технологические процессы - продувку или промывку трубопроводов, а
также удаление воды после их гидравлического испытания.
Качество очистки существенно влияет на
пропускную способность трубопроводов и продолжительность их безаварийной
работы. От качества очистки зависит также состояние транспортируемого продукта,
так как загрязнения и вода изменяют его физико-химические свойства.
Загрязнения, перемещающиеся в потоке газа, могут явиться причиной выхода из
строя линейной арматуры, насосов, компрессоров и другого оборудования.
Скопление воды в пониженных участках газопроводов способствует образованию
гидратных пробок. Особенно опасна вода в магистралях, предназначенных для
транспортировки сернистого газа или газа с отрицательной температурой. В этих
случаях возможно образование сернистых соединений высокой коррозионной
способности и ледяных пробок. Высокое качество очистки необходимо также для
проведения периодического пропуска разделительных поршней, устройств для
диагностики состояния и ремонта действующего трубопровода без остановки
перекачки по нему продукта.
Одним из основных наиболее
распространенных способов очистки полости строящихся трубопроводов является
продувка с пропуском поршней под давлением воздуха или природного газа. Пропуск
очистных поршней по трубопроводу под давлением сжатого воздуха - наиболее
совершенный и безопасный метод продувки.
Получил распространение метод очистки
полости трубопровода путем промывки с пропуском поршней-разделителей. В этом
случае поршни разделители перемещаются по трубопроводу в потоке воды,
закачиваемой насосами для его гидравлического испытания, и одновременно с
загрязнениями удаляют воздух. Последующее за испытаниями вытеснение из
трубопровода воды производится также поршнями-разделителями под давлением
сжатого воздуха или природного газа.
Для продувки трубопроводов, проходящих по сильно пересеченной
местности или прокладываемых по способу "змейка", применяются поршни,
выполненные из двух частей, соединенных между собой шарнирно. Такая конструкция
позволяет поршню вписываться в многочисленные кривые вставки, не создавая
значительных динамических нагрузок на трубопровод.
Для запуска очистных устройств в магистраль на всех
проектируемых и вновь вводимых МГ предусматривают специальные устройства. В
состав этих устройств входят: узлы пуска и приема очистных поршней, система
контроля и автоматического управления процессом очистки. Узлы пуска и приема
очистных поршней располагают вблизи пунктов подключения КС, а чаще всего
совмещают. На начальном участке МГ монтируют узел пуска очистных поршней, на
конечном участке - узел приема, а на всех промежуточных станциях - совмещенные
узлы приема и пуска. В графической части (лист 2) показана технологическая
схема запуска и приема очистных поршней.
1.4
Работа трубопроводов со сбросами и подкачками
Характерной особенностью МТ является наличие значительного
числа сбросов попутным потребителям. Эти сбросы могут производиться как в
течении всего года (будучи, как правило, переменными по времени), так и быть
периодическими (например, сбросы буферным потребителям). Для протяженных МТ
нередко также наличие подкачек газа по трассе. Эти поступления газа возможно от
других МТ по специальным перемычкам или с недалеко расположенных газовых
месторождений и подземных хранилищ газа.
В настоящее время в связи с созданием единой газоснабжающей
системы РФ любой крупный МТ, как правило, имеет значительное число сбросов и
подкачек, которые, будучи переменными во времени, могут существенно влиять на
режим работы газопровода в целом.
Расчет режима работы протяженного МТ с переменными сбросами и
подкачками представляет весьма сложную инженерную задачу.
Рисунок 3 - Изменение режима работы газопровода при
периодическом сбросе: 1 - линия депрессии давления при сбросе; 2 - линия
депрессии давления без сброса
На рисунке 3 показано изменение режима работы газопровода при
периодическом сбросе. Как видно из графика, при периодическом сбросе линия
депрессии давления (пунктирная линия) снижается на всем протяжении газопровода,
но особенно заметно на участке после сброса.
Это объясняется тем, что при сбросе пропускная способность на
участке после сброса уменьшается, а это в свою очередь при неизменных конечном
давлении и характеристиках КС приводит к снижению линии депрессии давления за
сбросом. Отсюда же следует, что на участке до сброса пропускная способность
должна несколько возрасти. С увеличением пропускной способности, степени сжатия
КС, расположенных до сброса, уменьшается, что приводит к снижению линии
депрессии давления и на этом участке.
Очевидно, что чем больше сброс, тем в большей степени
снижается линия депрессии давления. И также следует, что чем ближе к началу
газопровода будет расположен сброс, тем в большей степени при прочих равных
условиях будет уменьшаться режим работы газопровода. Таким образом, при
периодических сбросах давления на всех КС газопроводах понижаются, а подача
газа конечному потребителю уменьшается (при неизменных характеристиках КС).
Такая же картина получается при увеличении переменного во
времени сброса. Последнее очень характерно для зимнего периода работы
газопроводов, когда вследствие сезонной неравномерности газопотребления сбросы
газа попутным потребителям заметно увеличивается. При этом давление на выходе
последних станций заметно снижается, а эффективность их работы падает,
вследствие снижения их степеней сжатия.
В некоторых случаях эта производительность может снизиться
настолько, что возникает необходимость регулирования, поскольку она не должна
быть меньше минимально допустимой действующих нагнетателей.
При отключении части агрегатов на последней или двух
последних КС пропускная способность протяженного газопровода с большим числом
станций практически не изменяется, в то же время заметно повышается
эффективность работы остальных КС за сбросом (повышается их степень сжатия,
мощность и КПД).
Рисунок 4 - Изменение режима работы газопровода при
периодической подкачке: 1 - линия депрессии газопровода с подкачкой; 2 - линия
депрессии газопровода без подкачки.
Изменение режима работы газопровода при периодической
подкачке показано на рисунке (рисунок 4). Как видно из графика, при подкачке
(пунктирная линия) наблюдается повышение давления на всех КС газопровода.
Поэтому, если давление на какой-либо КС превышает максимально допустимое,
возникает необходимость регулирования отключением части агрегатов или снижением
частоты вращения реакторов агрегатов на этой станции или на станциях
расположенных до нее.
2.
Расчетная часть
2.1
Расчет длины лупинга и вставки
Длина лупинга определяется по формуле:

; [7] (13),
где XL - длина лупинга, км;
L - длина трубопровода, км;
m - число ниток МТ;

- эффективность лупинга;
Эффективность лупинга 
для двухниточного трубопровода:

; [7] (14),
где 
,
Из формулы [7] (13):
XL
Вывод: согласно расчету, длина прокладываемого лупинга составляет
189,4 км.
2.2
Расчет числа ПС при увеличении производительности на 180%
К расчету принимаю дополнительные параметры:
Начальное давление Pн=5,5 МПа;
Конечное давление Pк=4,2 МПа;
Коэффициент гидравлического сопротивления λ=0,03.
Зависимость увеличения числа ПС от производительности
трубопровода:

, [7] (14),
где Q1 - производительность трубопровода
К1 - количество станций
Рн - начальное давление
Рк - конечное давление
L - длина трубопровода
Dвн -
внутренний диаметр трубопровода

- коэффициент гидравлического сопротивления
Из формулы [7] (14):

;
Производительность станции при увеличении на 180%:
Q2=570,78×1,8=1027,4 
.
При этом количество станций:

;
Вывод: в первом варианте количество станций выбрано с запасом,
поэтому при увеличении производительности оно не изменится.
3.
Заключительная часть
3.1
Техника безопасности при эксплуатации магистральных трубопроводов
Предприятия, эксплуатирующие МГ, должны контролировать
состояние трубопроводов, в том числе:
безопасное техническое состояние газопровода, линий связи,
линий электропередачи и других линейных узлов и сооружений;
появление утечек газа;
ведение работ в охранной зоне;
нарушение опознавательных знаков закрепления трассы;
выявление неразрешенных работ, проводимых в охранной зоне МГ
и в полосе, ограниченной нормативными разрывами до населенных пунктов, дорог,
зданий, сооружений;
изменения в охранной зоне, прошедшие после предыдущего
осмотра.
На МГ предприятием должен быть заведен специальный паспорт,
составленный в двух экземплярах. К экземплярам паспорта должна быть приложена
его исполнительная схема, с нанесенными трубопроводными деталями и указанием
типа и марок сталей труб, установленной арматуры. Один экземпляр паспорта
должны хранить в ПО, другой - у ответственного за эксплуатацию газопровода,
назначенного приказом по предприятию.
Ответственным за общее и безопасное состояние МГ является
начальник ЛПУМГ. Кроме начальника ЛПУМГ, приказом должны быть назначены
специальные ИТР, ответственные за техническое состояние и безопасную
эксплуатацию определенного участка МГ.
На трассе МГ и отводах должны быть установлены:
железобетонные столбики, высотой 1,5-2 м на прямых участках в
пределах видимости через 300-500 м и на углах поворота МГ с указанным на них
километражем МГ и фактической глубиной заложения труб; для закрепления трассы
МГ можно использовать также контрольно-измерительные колонки катодной защиты;
при прохождении вдоль МГ воздушных линий связи возможно закрепление трассы
газопровода с использованием опор связи, с указанием на них километража,
глубины заложения ГП и расстояния от оси опоры до МГ. Знаки закрепления трассы МГ
(километровые и катодные столбики) должны быть окрашены в оранжевый цвет;
знаки границ трассы МГ между ЛПУМГ и участками,
обслуживаемыми отдельными линейными обходчиками;
сигнальные знаки по обеим сторонам охранной зоны на подводных
переходах (дюкерах) в соответствии с требованиями Устава внутреннего водного
транспорта на расстоянии 100 м от оси МГ и подводного кабеля связи;
дорожные знаки в местах пересечения МГ с автомобильными
дорогами всех категорий по согласованию с органами Госавтоинспекции, запрещающие
остановку транспорта на расстояниях от оси МГ.
Для обеспечения нормальных условий эксплуатации и исключения
возможности повреждения магистральных газопроводов (при любом виде прокладки)
устанавливается охранная зона в виде участка земли, ограниченного условными
линиями, проходящими в 50 м от оси трубопровода с каждой стороны (на землях
сельскохозяйственного назначения охранная зона ограничивается условными
линиями, проходящими в 25 м от оси трубопровода с каждой стороны).
В охранных зонах МГ без письменного согласия руководства
ЛПУМГ запрещается:
возводить любые постройки и сооружения;
высаживать деревья и кустарники всех видов, складировать
корма, удобрения и материалы, скирдовать сено и солому, располагать коновязи,
содержать скот, устраивать водопои, выделять рыбопромышленные участки,
осуществлять добычу рыбы, водных животных и растений, колоть и заготавливать
лед;
сооружать переезды через трассы газопроводов;
устраивать стоянки автомобильного транспорта, тракторов и
механизмов;
размещать коллективные сады и огороды;
проводить мелиоративные земляные работы, сооружать
оросительные и осушительные системы;
В охранных зонах запрещается проводить всякого рода действия,
которые могут нарушить нормальную эксплуатацию газопроводов или повредить их, в
частности:
перемещать, засыпать или ломать опознавательные и сигнальные
знаки, контрольно-измерительные пункты;
открывать люки, калитки и двери необслуживаемых усилительных
пунктов кабельной связи, ограждений узлов линейной арматуры, станций катодной и
дренажной защиты, открывать и закрывать краны, выключать или включать средства
связи, энергоснабжения и телемеханики;
устраивать всякого рода свалки, выливать растворы кислот,
солей и щелочей;
разрушать берегоукрепительные сооружения, водопропускные
устройства, земляные и иные сооружения (устройства), предохраняющие газопроводы
от разрушения;
бросать якоря, проходить с отданными якорями, цепями, лотами,
волокушами и тралами, проводить дноуглубительные и землечерпательные работы;
размещать открытые или закрытые источники огня.
В пределах охранных зон МГ, КС, ГРС, СПХГ запрещается
проводить любые мероприятия, связанные со скопление людей, не занятых
выполнением разрешенных в установленном порядке работ.
Переходы МГ через реки, овраги должны быть оборудованы
ограждениями, исключающими возможность перехода по трубопроводу.
Утечки газа из сварных и других соединений оборудования,
трубопровода и арматуры обнаруживают с помощью мыльного раствора, специальными
приборами ил другими методами без применения открытого огня.
В период эксплуатации ЛЧМТ подлежит осмотру путем обхода,
объезда или облета. Периодичность устанавливается графиком.
Обследовать переходы через автодороги всех категорий
необходимо не реже одного раза в год, в том числе с анализом проб воздуха из
вытяжной свечи.
Линейно эксплуатационная служба должна иметь утвержденные
руководством порядок оповещения об аварии, сбора аварийной бригады и выезда к
месту аварии, а также перечень необходимых для ликвидации аварии транспортных
средств, оборудования, инструмента, материалов, средств связи, пожаротушения,
СИЗ и СКЗ.
Внеочередной осмотр и обследование МГ должны быть проведены
на участке, где после стихийного бедствия могло повредить газопровод и
сооружения его линейной части, и в случаях обнаружения утечки газа из
газопровода или арматуры.
Газопроводы на переходах через реки, ручьи, балки должны
предохранять от разрывов и повреждений.
Если в процессе обхода (объезда) обнаружено нарушение
герметичности газопровода или другая опасная ситуация, опасная зона должна быть
ограждена знаками безопасности. При этом необходимо немедленно известить
дежурного диспетчера или другое лицо, ответственное за эксплуатацию.
В необходимых случаях диспетчер или ответственное должностное
лицо предупреждает об опасности местные органы власти, предприятия,
базирующиеся или работающие вблизи этих участков, а также жителей близлежащих
населенных пунктов.
Ликвидацию неисправностей на МГ, его сооружениях и арматуре,
требующих проведение огневых или газоопасных работ на объектах транспортировки
и хранения газа.
Запрещается устранять утечку газа на МГ через трещину,
сквозное коррозионное повреждение и поры путем их подчеканки. Допускается в
отдельных случаях временная установка бандажей и других устройств по разрешению
руководства производственного объединения.
Объекты МГ должны быть защищены от почвенной коррозии и
коррозии блуждающими токами, а при наличии в составе транспортируемого газа
агрессивных компонентов также и т внутренней коррозии с помощью ингибиторов.
Коррозионное состояние и комплексная защита сооружений МГ
должны подвергаться контролю с соблюдением установленных сроков, порядка и
объема проведения в соответствии с правилами технической эксплуатации МГ.
Запрещается приварка с помощью электро - и газосварки
катодных выводов (проводников) к газопроводу, находящиеся под давлением.
При изменении потенциалов отсасывающих фидеров тяговых
подстанций электрифицированных железных дорог подключение приборов производится
с участием персонала подстанции.
Для применения ингибиторов коррозии должна быть разработана и
утверждена специальная инструкция по безопасному проведению работ с ними.
3.2
Охрана окружающей среды при эксплуатации магистральных газопроводов
При выполнении всех видов строительно-монтажных работ
необходимо строго соблюдать требования защиты окружающей природной среды и
выполнять природоохранные мероприятия в соответствии с ОСТ 102-104-85, ГОСТ
17.4.3.02-85, ГОСТ 17.5.1.01-83, ГОСТ 17.1.3.05-82 (СТ СЭВ 3078-81), ГОСТ
17.1.3.10-83, (СТ СЭВ 3545-82), ГОСТ 16.504-81, СН 452-73, которыми определены
требования к охране окружающей среды.
Строительная организация, выполняющая прокладку линейной
части трубопровода, несет юридическую и финансовую ответственность за
соблюдение проектных решений, связанных с охраной окружающей среды, а также за
соблюдение государственного законодательства и международных соглашений по
охране природы.
При строительстве трубопровода возможны отрицательные
воздействия на природную среду двух видов:
краткосрочных на период строительства;
долговременные на период эксплуатации.
Краткосрочные воздействия на природную среду включают в себя
загрязнение поверхности отходами строительного производства (разливы ГСМ,
химически стойкие материалы, древесные остатки, тара, бочки, упаковка,
строительные материалы, элементы железобетонных и стальных конструкций),
загрязнение поверхностных и подземных вод при гидравлических испытаниях и
атмосферы.
Долговременные воздействия на природную среду представляют
собой деструкцию ландшафтов, включающих прогрессивную водную и ветровую эрозию
почв, размыв берегов, развитие склоновых процессов, заболачивание и
переувлажнение, интенсификацию других инженерно-геологических процессов.
Ширина полосы отвода земли на время строительства
трубопровода определяется проектом в соответствии с нормами отвода земель для
магистральных трубопроводов СН 452-73.
Производство строительно-монтажных работ, движение машин и
механизмов, складирование и хранение материалов вне полосы отвода и в местах,
не предусмотренных проектом производства работ, запрещается.
Временные автомобильные подъездные пути должны устраиваться в
местах, согласованных с землепользователями, и с учетом требований по
предотвращению повреждения сельскохозяйственных угодий и древесно-кустарниковой
растительности.
При пересечении трассой или подъездными путями водостоков
необходимо возведение водоперепускных устройств под технологическим проездом,
исключение деформации русла, подрезки склонов, загрязнение поверхностных вод
строительными отходами и ГСМ.
При расчистке трассы и площадок от леса не допускается
непредусмотренное проектной документацией сведение древесно-кустарниковой
растительности, образование завалов, засыпка грунтом корневых шеек и стволов
растущих деревьев и кустарника. Лес и другие виды растительности, которые
вырубаются на полосе отвода, должны складироваться в пределах расчищаемой
территории или в специально отведенных по согласованию местах, исключающих их
попадание в водотоки, что может вызвать блокирование водных потоков,
подтопление территории, разрушение русел рек и эрозию берегов. Неиспользуемая
древесина, полученная при вырубке на полосе отвода, а также другие отходы
строительных работ подлежит захоронению, сжигание их в районах, где широко распространены
мох, торфяники и мохо-торфяные болота, запрещается.
Плодородный слой почвы на площади, занимаемой траншеями и
котлованами, до начала основных земляных работ должен быть снят и уложен в
отвал для восстановления (рекультивации) земель.
Снятие, транспортировка, хранение и обратное нанесение
плодородного слоя почвы должно выполняться методами, исключающими снижение его
качества, а также потерю при перемещениях.
Использование плодородного грунта для устройства подсыпок,
перемычек и других временных земляных сооружений для строительных целей не
допускается.
При строительстве трубопровода запрещены работы, ведущие к
образованию новых водоемов или осушению существующих, изменению условий
естественного дренажа территории строительства, гидравлики потоков или
разрушению значительных участков русел рек.
При устройстве отвалов грунта должна быть исключена
возможность подпора талых и поверхностных вод на участках, расположенных за
пределами полосы отвода. Если эти требования выполнить невозможно, то следует
устраивать разрывы в отвалах грунта для пропуска вод.
Нарушенные в ходе строительства трубопровода
гидротехнические, противоэрозионные и др. сооружения подобного типа должны быть
восстановлены. При пересечении даже небольших рек и ручьев рекомендуется применять
водопропускные сооружения, параметры которых определяются с учетом образования
наледи.
Мероприятия по предотвращению эрозии почв, оврагообразования,
а также защитные противооползневые мероприятия должны выполняться в строгом
соответствии с проектом.
Не допускается сливать в реки, каналы, озера и другие водоемы
воду, вытесненную из трубопровода без ее предварительной очистки. При
гидравлических испытаниях использованная вода должна сливаться в специальные
пруды-отстойники, устраиваемые в пониженных местах рельефа, твердые остатки
подлежат захоронению. Слив вытесненной воды из трубопровода должен
производиться вне санитарной зоны, действующих и проектируемых водозаборов, а
также не в рыбохозяйственные водоемы.
Производственные и бытовые стоки, образующиеся на
строительной площадке, должны очищаться и обезвреживаться.
Запрещено для производства строительных работ брать песок,
гальку со дна и берегов ручьев, рек и озер без разрешения органов охраны
окружающей среды и рыбнадзора. Эти материалы, как и мягкий грунт для подсыпки и
присыпки трубопровода должны добываться в специальных карьерах.
В целях своевременного предупреждения эрозии почвы необходимо
после окончания строительных работ засеять полосу строительства в соответствии
с проектом быстрорастущими травами, хорошо приживающимися в данном
климатическом районе.
После окончания строительных работ необходимо восстановить
водосборные канавы, дренажные системы, снегозадерживающие сооружения и дороги
очистить от строительного мусора и планировать площадки и полосу строительства,
придать местности проектный рельеф или восстановить природный.
При производстве строительных работ запрещается
следующее:
стоянка, заправка топливом и ремонт автотранспортного парка в
пределах строительной площадки;
обеспечение заправки и ремонта строительных механизмов на
автобазах или специально оборудованных площадках;
вывоз строительного мусора осуществлять на постоянную свалку;
хранение пылящихся материалов в контейнерах.
Список
используемой литературы
1. Бунчук
В. А Транспорт и хранение нефти, нефтепродуктов и газа. - М.: Недра, 1977.
2. Техника
и технология транспорта и хранения нефти и газа / Под ред. В.Ф. Новоселова. -
М.: Недра, 1992.
. Транспорт
и хранение нефти и газа / Под ред. Н.Н Константинова. - М.: Недра, 1975.
. Трубопроводный
транспорт нефти и газа / Под общ. ред. проф.В.А. Юфина. - М.: Недра, 1978.
. Алиев
Р.А. и др. Трубопроводный транспорт нефти и газа / Р.А. Алиев, В.Д. Белоусов,
А.Г. Немудров. - М.: Недра, 1988.
. Новоселов
В.Ф., Гольянов А.И., Муфтахов Е.М. Типовые расчеты при проектировании и
эксплуатации газопроводов. Учебное пособие. М., Недра, 1982.
. Конспект
по предмету "Строительные конструкции".