Регулирование подачи насосов

  • Вид работы:
    Реферат
  • Предмет:
    Физика
  • Язык:
    Русский
    ,
    Формат файла:
    MS Word
    464,03 Кб
  • Опубликовано:
    2012-08-27
Вы можете узнать стоимость помощи в написании студенческой работы.
Помощь в написании работы, которую точно примут!

Регулирование подачи насосов

ВВЕДЕНИЕ

атомный электростанция насос трубопровод дросселирование

Технологические схемы тепловых (ТЭС) и атомных (АЭС) электростанций требуют перемещения большого количества жидкостей, обладающих различными физико-химическими свойствами при различных давлениях и температуре. Перемещение жидкостей осуществляется насосами.

Насос - это машина, в которой происходит преобразование механической энергии привода в гидравлическую энергию перекачиваемой жидкости, благодаря чему осуществляется ее поток. Насосы используются в составе насосного агрегата, состоящего из одного или нескольких насосов и приводящего двигателя, соединенных между собой.


Подача насоса. Различают объемную и массовую подачи насоса. Объемная Q (массовая - Qм) подача - это объем (масса) жидкости, подаваемой через напорный патрубок в единицу времени. При этом не учитываются потоки жидкости, которые могут иметь место внутри насоса (например, протечки через уплотнения и разгрузочные устройства). Сумма подачи и внутренних протечек называется идеальной подачей насоса.

Объемная подача обычно измеряется в м/с; м/ч; л/с; л/мин; массовая - в кг/с; т/ч; т/сут.

Подача измеряется с помощью расходомерного устройства, установленного на напорном трубопроводе. При использовании сужающего устройства (диафрагма, сопло) объемная подача определяется выражением


где с - постоянная сужающего устройства, h - перепад давления на дифманометре.

РЕГУЛИРОВАНИЕ ПОДАЧИ НАСОСОВ

Основной задачей регулирования насосов является подача в сеть расхода Q, м3/с, заданного определенным графиком. При этом, как показывают характеристики, все основные параметры машины Н, р, N и η изменяются. Однако сеть трубопроводов и потребители накладывают на некоторые из параметров определенные условия. Так, например, насосы и вентиляторы, покрывая заданный график расходов, должны создавать переменное давление, определяемое потребителем и гидравлическими свойствами системы трубопроводов.

Компрессоры в некоторых случаях работают на сеть с переменным Q, но должны обеспечить постоянное давление р, в других случаях они работают с постоянным Q при переменном р.

Таким образом, возможны различные варианты задачи регулирования подачи.

Насос и внешняя сеть образуют единую систему, равновесное состояние которой определяется материальным и энергетическим балансом. Материальный баланс выражается условием равенства подачи насоса расходу во внешней сети, энергетический - равенством напора насоса напору, потребляемому сетью. Графически условие материального и энергетического баланса системы выражается точкой пересечения характеристик насоса и сети. При данных характеристиках насоса и сети существует только одна точка, отвечающая условиям устойчивого равновесия. Величина водопотребления, как правило, изменяется во времени, в соответствии, с чем должна перемещаться рабочая точка системы. С этой целью необходимо регулировать подачу насоса.

В связи с тем, что рабочая точка системы определяется характеристиками как насоса, так и сети, то регулировать подачу можно за счет изменения характеристики сети (количественный метод) или за счет изменения характеристики насоса (качественный метод). Изменение подачи и напора насосной установки за счет изменения характеристики сети можно добиться изменением статической составляющей сопротивления системы (геометрической высоты нагнетания или всасывания, давления над поверхностью жидкости в приемном резервуаре), изменением гидравлического сопротивления движению жидкости во всасывающем или напорном трубопроводе, изменением схемы сети (например, за счет введения байпасной линии).

Качественно работа системы «насос-сеть» регулируется изменением частоты вращения рабочего колеса насоса, геометрии проточных каналов насоса и кинематики потока на входе в рабочее колесо.

Существуют также комбинированные способы регулирования, при которых изменение характеристики сети и изменение характеристики насоса происходят одновременно и взаимосвязано.

СПОСОБЫ РЕГУЛИРОВАНИЯ

К количественным способам регулирования лопастных насосов относятся:

·    дросселирование напорной стороны насоса;

·              дросселирование всасывающей стороны насоса;

·              перепуск (байпасирование);

·              сброс части поднятого количества воды в нижний бьеф;

·              впуск воздуха во всасывающую трубу насоса;

·              авторегулирование (изменение статической составляющей напора);

·              комбинацией включения параллельно/последовательно работающих ступеней в многосекционных насосах;

·              применение баков-гидроаккумуляторов;

К качественным способам регулирования относятся:

·    изменение частоты вращения рабочего колеса;

·              изменение угла установки лопастей направляющего аппарата на входе в рабочее колесо насоса;

·              изменение угла установки лопастей направляющего аппарата на выходе из рабочего колеса насоса;

·              изменение ширины рабочего колеса;

·              изменение степени открытия поперечного сечения каналов рабочего колеса;

·              изменение угла установки лопастей рабочего колеса;

·              саморегулирование;

·              обточка рабочего колеса.

Дросселирование - гашение части напора, создаваемого насосом, с помощью искусственно вводимого в напорную или всасывающую линию гидравлического сопротивления (рис. 1). Обычно дросселирование достигается частичным закрытием задвижки на напорном трубопроводе насоса. Данный способ является наиболее простым и распространенным, но вместе с тем наименее экономичным, так как часть напора, создаваемого насосом, бесполезно тратится на преодоление сопротивления задвижки и при этом рассеивается соответствующая мощность.

Рис. 1. Регулирование подачи лопасного насоса дросселированием напорной (а) и всасывающей (б) стороны.

Теряемая при регулировании мощность определяется выражением

где hw - напор, теряемый в дросселирующей задвижке,

- КПД насоса, соответствующий подаче QB.

Коэффициент полезного действия регулируемой установки определяется выражением


где HC - напор, необходимый для подачи расхода QC- напор, развиваемый насосом при подаче расхода QB

- КПД двигателя.

Метод регулирования при помощи всасывающей задвижки экономически является несколько более выгодным, чем регулирование с помощью напорной задвижки, но его применение ограничено требованием поддержания высоты всасывания, меньше предельной для обеспечения нормальной работы насоса.

Прикрывая задвижку на всасывающей трубе, увеличивают таким образом разряжение в ней, что равносильно увеличению высоты всасывания. Следует отметить, что увеличение высоты всасывания выше определенных пределов вызывает кавитацию, делает работу насоса неустойчивой и создает опасность срыва работы насоса.

На рис. 2 приведена схема центробежного насоса, регулируемого дросселированием всасывающей линии насоса непосредственно перед его рабочим колесом посредством изменения ширины входных отверстий рабочего колеса . На входе в рабочее колесо 1 установлен полый цилиндр 2. Прорези 3 цилиндра совпадают по профилю с входными отверстиями 4 каналов рабочего колеса. Ширина входных отверстий 4 равна или меньше ширины лопатки рабочего колеса на входе 5. Цилиндр 2 может поворачиваться, например, с помощью гидродвигателя 6, размещенного во втулке рабочего колеса. При максимальной подаче насос работает с открытыми входными отверстиями каналов рабочего колеса. При необходимости изменить подачу с помощью гидродвигателя 6 поворачивают цилиндр 2, который перекрывает входные отверстия каналов рабочего колеса.

Рис. 2. Схема центробежного насоса, регулируемого изменением ширины входных отверстий рабочего колеса

На рис. 4 изображены характеристика сети 2, насоса 1 и редуцированные характеристики 1’, 1”, отвечающие разной степени открытия а дроссельной задвижки на всасывающем трубопроводе. Редуцированная характеристика есть характеристика насоса, отнесенная к какой-то точке трубопровода после задвижки.

Рис. 4. Характеристики насоса и сети при регулировании дросселированием всасывающей стороны.

Для получения редуцированной характеристики от взятой точки откладывают потери напора на участке от насоса до данной точки. Разница ординат характеристики насоса и построенной характеристики потерь напора даст редуцированную характеристику.

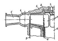
Способ регулирования всасывающей задвижкой особенно выгоден при пологой характеристике системы. Если по условиям всасывания допустимо регулирование всасывающей задвижкой, надежнее применить комбинированное регулирование при помощи всасывающей и напорной задвижек. На рис. 5 представлен один из возможных способов конструктивного исполнения насоса, регулируемого данным способом. Насос содержит корпус 1, рабочее колесо 2, установленное на валу 3. В корпусе 1 имеется сборник (улитка) 4. Рабочая жидкость выводится из насоса по тангенциально расположенному патрубку 5, а поступает в полость колеса по входному патрубку через расположенный вдоль его оси опорный стакан 6 с окнами 7. Между стаканом 6 и входными кромками рабочего колеса 2 размещен регулируемый клапан 8. Между выходными кромками рабочего колеса 2 и полостью сборника 4 установлена цилиндрическая заслонка 9, регулирующая выход рабочей жидкости из рабочего колеса. Регулирование режимов работы насоса осуществляется синхронным перемещением клапана 8 и заслонки 9 в осевом направлении.

Во время работы насоса на режиме минимальных расходов клапан 8 и заслонка 9 устанавливаются в положение, показанное пунктиром. Для работы насоса на промежуточных режимах клапан 8 и заслонка 9 устанавливаются в необходимое промежуточное положение, обеспечивая оптимальные энергетические характеристики системы во всем рабочем диапазоне.

Рис. 5. Схема центробежного насоса, регулируемого одновременным дросселированием всасывающей и напорной сторон

Перепуск (байпасирование). При регулировании подачи насоса данным способом необходимый расход жидкости в системе обеспечивается за счет отвода части перекачиваемой насосом жидкости из напорного трубопровода во всасывающий по перепускному трубопроводу (рис. 6).Если требуется уменьшить подачу в систему, открывают клапан на перепускном трубопроводе.

Данный способ регулирования более экономичен для насосов, у которых потребляемая мощность снижается с увеличением подачи. У центробежных насосов регулирование перепуском приведет к возрастанию мощности насоса и может вызвать перегрузку электродвигателя.

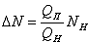
Перепускаемый с напорной стороны во всасывающую поток жидкости обладает некоторой энергией. Если при регулировании перепуском не происходит полезной передачи энергии перепускаемой жидкости потоку, подходящему к рабочему колесу, потери затраченной мощности можно определить по формуле


где Qн - подача насосап - перепускаемый расходн - мощность, потребляемая насосным агрегатом

Энергию перепускаемого потока можно рационально использовать двумя способами:

) увеличением давления во всасывающей полости насоса путем создания эжектирующего эффекта перепускаемым потоком;

) для закручивания потока перед рабочим колесом.

При первом способе - перепуске с эжектированием - последовательно основному насосу включается в работу водоструйный насос, снимая часть преодолеваемого напора с основного насоса, так что основной насос работает при более низком напоре и улучшенной кавитационной обстановке.

Рис. 6. Регулирование подачи лопастного насоса перепуском (байпасированием)

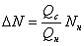
Сброс части поднятого количества воды в нижний бьеф. Сущность данного способа регулирования подачи заключается в том, что по специальному сбросному каналу, соединяющему верхний бьеф с нижним, сбрасывают часть поднятой насосом воды обратно. Насос работает все время в оптимальном режиме. Регулирование осуществляют изменением величины сбрасываемого расхода


Теряемая при регулировании мощность


где Qн - подача насоса- сбрасываемый расходн - мощность, потребляемая насосным агрегатом

Сброс лишней воды в процессе эксплуатации приводит к перерасходу пресной воды и электроэнергии на ее подъем.

Впуск воздуха во всасывающую трубу насоса. Этот способ аналогичен способу регулирования задвижкой на всасывающей трубе, так как впуск воздуха уменьшает вакуум, а, следовательно, и высоту всасывания. Введенный во всасывающую трубу воздух уменьшает величину подачи воды насосом на величину объема воздуха. При впуске воздуха происходит смещение вниз характеристики Q-H насоса, поэтому можно подобрать режим работы насоса, соответствующий условиям подачи заданного расхода Qв.

При впуске воздуха КПД насосной установки снижается тем больше, чем больше воздуха впускается в насос, т.е. чем больше KB - отношение объема воздуха к объему воды.

Впуск воздуха при небольших изменениях подачи - не менее 0,7 от оптимальной - является более выгодным, чем дросселирование. Работа насоса при наличии воздуха в рабочем колесе становится неустойчивой, создается опасность разрыва водяного столба во всасывающей линии и возможность срыва работы насоса.

Авторегулирование (изменение статической составляющей напора). Напор насоса зависит от разности уровней воды в нижнем и верхнем бьефах. Однако уровень воды в поверхностных источниках не остается постоянным, так как зависит от гидрологического режима источника.

Рассмотрим режимы работы насоса при изменениях уровня воды в источнике. На рис. 7 даны характеристики насоса 1 и сети 2 при статическом напоре Нг. Точка А пересечения характеристик насоса и сети соответствует режиму работы системы «насос-сеть» при максимальном уровне воды в источнике. Подача насоса равна QА, напор - НА. С понижением уровня воды в источнике увеличивается высота всасывания , являющаяся частью статического напора. Из анализа уравнения характеристики трубопровода


следует, что Нг - есть координата вершины квадратичной параболы при Q=0.

Следовательно, при возрастании увеличивается координата вершины характеристики трубопровода на величину падения уровня воды в источнике, т.е.


В этом случае режим работы системы «насос-сеть» характеризуется новой режимной точкой В, имеющей координаты Qв, Hв, Nв, .Таким образом, при понижении уровня воды в источнике напор насоса увеличивается, а подача уменьшается.

Рис. 7. Характеристики насоса и сети при авторегулировании

Изменение частоты вращения рабочего колеса. Этот способ регулирования в экономическом отношении значительно эффективнее остальных.

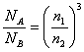
При изменении частоты вращения рабочего колеса насоса с n1 до n2 его характеристики Q-H, Q-N, и Q- изменяются по закону подобия

  

где QA, НA, NA - подача, напор и мощность насоса, соответствующие частоте вращения рабочего колеса n1;, НB, NB - подача, напор и мощность насоса, соответствующие частоте вращения рабочего колеса n2.

При неизменной характеристике сети 4 (рис. 8) подача насоса уменьшится с QA до QB.

Так как во всех режимах работы напор насоса равен сопротивлению сети, сокращаются непроизводительные потери в системе «насос-сеть».

Экономичность при регулировании насосов изменением частоты вращения n снижается только от того, что рабочая точка системы при изменении n отклоняется от режима максимального КПД. Это отклонение тем больше, чем больше статическая составляющая сопротивления сети.

Рис. 8. Характеристики насоса и сети при регулировании изменением частоты вращения рабочего колеса

Рис. 9. Характеристики насоса и сети при регулировании изменением частоты вращения рабочего колеса и дросселированием

Данный способ достаточно просто может быть реализован, если насосы имеют привод от двигателей с переменной частотой вращения: турбин, гидродвигателей и др.

В большинстве случаев насосы имеют привод от асинхронных короткозамкнутых электродвигателей, частота вращения которых не регулируется. Для регулирования частоты вращения насосов с приводом от асинхронного короткозамкнутого электродвигателя рекомендуются следующие системы:

·        с механическим редуктором (с регулируемым числом передачи);

·              с электромагнитной муфтой скольжения;

·              с электромагнитной муфтой с явно выраженными полюсами;

·              с индукторными муфтами;

·              с гидромуфтами (гидротрансформаторами).

Во всех этих случаях асинхронный двигатель работает в номинальном режиме, однако более чем в два раза увеличиваются габаритные размеры агрегата. Для электромагнитных муфт необходим источник постоянного тока. КПД систем не превышает 0,6.

Регулировать асинхронные короткозамкнутые двигатели можно за счет изменения частоты в сети, числа пар полюсов двигателя или скольжения.

КПД электродвигателя зависит от его нагрузки, т.е. отношения рабочей мощности насоса к номинальной мощности двигателя. При регулировании подачи насоса частотой вращения с помощью асинхронного двигателя с фазным ротором необходимо учитывать также потери в регулирующем реостате, определяемые из выражения:


где - полный КПД двигателя с реостатом;

- КПД асинхронного двигателя, зависящий от нагрузки;- рабочая частота вращения вала двигателя; н - номинальная частота вращения вала двигателя.

При регулировании частоты вращения с помощью тиристорного преобразователя частоты его КПД определяют в зависимости от отношения выходного рабочего напряжения к номинальному:


где u, М, n - рабочие значения напряжения, момента и частоты вращения вала насоса; н, Mн, nн - номинальные значения тех же величин.

Для регулирования подачи насоса предложен комбинированный способ, сочетающий изменение частоты вращения рабочего колеса насоса с дросселированием. На рис. 9 изображены характеристики насоса 1 и сети 3. Подача насоса, определяемая их пересечением, равна Qa. Пусть требуется изменить подачу насоса до величины Qc и при этом напор должен быть минимально допустимым и в процессе регулирования не снижаться меньше Ндоп. Для этого сначала осуществляют дросселирование трубопровода до расхода, определяемого соотношением (характеристика сети определяется кривой 4), а затем уменьшают частоту вращения рабочего колеса до значения.


где nо - исходная частота вращения насоса.
При этом рабочая точка переходит в точку С, а характеристика насоса определяется кривой 2.

Изменение угла установки лопастей рабочего колеса. Этот способ регулирования подачи применяется на осевых и диагональных насосах, имеющих поворотные лопасти рабочего колеса . Угол установки лопасти можно изменять как при работе насоса, так и при его остановке. Изменением угла установки можно изменять подачу в широком диапазоне. Чем больше статическая составляющая Нcт системы, тем эффективней этот метод регулирования.

Для обеспечения устойчивой работы насосов при малых по сравнению с номинальной подачах используется способ - саморегулирование с перепуском. На рис. 10 приведена схема установки при саморегулировании и перепуске. На рис. 11 изображены характеристики насоса 1 и перепускного трубопровода 2;

, 5 - характеристики наружной сети при уровне жидкости в приемном резервуаре соответственно а-а, б-б;

, 6 - суммарные характеристики сети и перепускного трубопровода соответственно при тех же уровнях. В этом случае насос работает на расходе Qнa или Qнб (в зависимости от уровня в приемном баке), близком к номинальному и обеспечивает подачу в сеть расхода Qca или Qсб. Через байпасную линию циркулирует расход Qца или Qцб.

Рис. 10. Регулирование подачи насоса саморегулированием и перепуском

Рис. 11. Характеристики насоса и сети при саморегулировании и перепуске

СПИСОК ЛИТЕРАТУРЫ

1.   Малюшенко В.В., Михайлов А.К. «Насосное оборудование ТЭС», Машиностроение, 1973г.

2.      Лобачев П.В. «Насосы и насосные станции», Стройиздат, 1990г.

.        Черкасский В.М. «Насосы, вентиляторы, компрессоры» - М.: Энергоатомиздат, 1984г.


Не нашли материал для своей работы?
Поможем написать уникальную работу
Без плагиата!
Без нейросетей!