Расчет трехфазного трансформатора
ПОЯСНИТЕЛЬНАЯ ЗАПИСКА
К КУРСОВОМУ ПРОЕКТУ
на тему «Расчет
трехфазного трансформатора»
1. Определение основных электрических величин
а) Номинальные (линейные) токи
I=S/√3/U (где S - кВА, U-кВ.)
Для ВН I1=
60,623 А
Для НН I2= 
103,93 А
Фазные токи при соединении Y/Δ - 11
Iф1=I1= 60,623 А,ф2=
=
=60 А
Фазные напряжения
Для ВН Uф1=U1н/√3= 
=3,464 кВ
Для НН Uф2=U2н=3,15 кВ
б) Мощность одной фазы и обмоток одного стержня.
Sф=S/m=
=210,0 кВА,'=Sф=
210,0 кВА,
в) Испытательные напряжения обмоток; (таблица 4.1)
Наиб. рабочее напр. Испыт. Напряжение
ВН 6 кВ 25 кВ
НН 3,5кВ 18 кВ,
г) активная и реактивная составляющие напряжения короткого
замыкания
А=Рк/10S=
=0,3%, (где Рк - Вт, S - КВА,)р=√(Uк2-UА2)=
√(5,52-0,32)=5,49%
2. Расчет основных размеров трансформатора
а) выбор схемы, конструкции и технологии изготовления магнитной
системы
Силовые трансформаторы выполняются с плоской магнитной системой
(магнитопроводом) стержневого типа,
с вертикально расположенными стержнями, поперечное сечение которых
- ступенчатая фигура вписанная в окружность, обмотки - круговые цилиндры
Число ступеней в сечении стержня и коэффициент заполнения площади
круга π*d2/4 площадью Пф ступенчатой фигуры
Ккр=Пф*4/(π*d2) выберем (стр. 355 таблица 8.1) Ккр=
0,928,
Число ступеней - 6, (число ступеней определяется
количеством углов стержня в одной четверти круга).
Поперечное сечение ярма - многоступенчатое с числом ступеней
на 1-2 меньше.
Прессовка набора пластин стержня выполняется забивания деревянных
стержней и планок между стержнем и НН.;
б) выбор марки и толщины листов стали и типа изоляции пластин,
индукции в магнитной системе
Сердечник трансформатора собирается из пакетов пластин
тонколистовой электротехнической холоднокатаной анизотропной легированной стали
(ГОСТ 21427.1-75) марки 3404 толщиной 0,35 мм
магнитная индукция стали 3404 Вс= 1,65 Тл
в) предварительный расчет трансформатора и выбор соотношения
основных параметров
Основными
размерами трансформатора являются:- диаметр стержня магнитной системы,- высота
обмотки,12 - диаметр осевого канала между обмотками, приближенно
равный среднему диаметру витка двух обмоток
Основные размеры
трансформатора
Диаметр
стержня:
м
(по табл 3 методич.)
S’=S/3=210
кВА
a12=0,9 см=0,009 м=9 мм (табл 8 методич.)

K=0.55 (табл 4 методич.)
Kp=0.95 - коэффициент приведения идеального
поля рассеивания к реальному
Кз=0,965
- коэффициент заполнения сечения пакета
сечением стали
Ккр=0,928
f=50 Гц
Bc=1,6 Тл
Up=5,49
г) Oпределение диаметра стержня и высоты
обмотки
Выбираем
ближайшее значение из нормализ. ряда dH=0.20 м
Уточняем β:
активное сечение
стержня, м2:
ЭДС одного витка:
Средний диаметр
осевого канала:
К1=1,1
a01=0,005
Высота обмотки:
д)
предварительный выбор конструкции обмоток
Основным
элементом всех обмоток трансформаторов является виток. В зависимости от
величины тока нагрузки виток может быть выполнен одним проводом круглого или
прямоугольного сечения, а при достаточно больших токах - группой параллельных
проводов прямоугольного сечения (реже круглого).
Число витков
обмотки на фазу
ВН:
НН:
Средняя плотность
тока в обмотках ВН и НН (предварительно):
КΔ=0,9
Сечение витков:
Где Ic-фазный ток
По таблице
выбираем тип обмоток:
ВН -
цилиндрическая многослойная из провода прямоугольного сечения
НН -
цилиндрическая многослойная из провода прямоугольного сечения
е) выбор
конструкции и размеров основных изоляционных промежутков главной изоляции
обмоток
Главной изоляцией
обмоток называется изоляция каждой из обмоток от частей остова и от других
обмоток.
) главная
изоляция
Uисп, кВ = 5
l01, см (от ярма)=3,0
НН от стержня: δ01=0,2; a01=0.5;
ВН Uисп, кВ = 18
ВН от ярма, см l02=3.0
Между
ВН и НН, см a12=0,9; δ12=0.3
Выст. цил., см lц2=1,5
Между
ВН и НН, см a22=1,0
2) продольная изоляция
Марка провода ПБ и АНБ 0,45 (0,50) прямоугольный провод
) Междуслойная изоляция: в масляном трансформаторе с
циллиндрич. обмоткой прямоугольного провода достаточная изоляция обеспеч-ся 2
слоями картона по 0,5-1 мм.
3. Расчет обмоток
а) Расчет обмоток НН
Число витков
Так как ∆м=4 А/мм2
приведет к нагреву обмотки, поэтому выберем провод большего сечения, чем
ориентировочное при предварительных расчетах (15 мм2).
Выбираем конструкцию двухслойной цилиндрической обмотки из провода
прямоугольного сечения.
Выбираем прямоугольный медный провод размерами:

= 
Число витков в слое:
Сечение витка:
П1=a*b=3,15*6,3=19,8
мм2
∆=Iф/П1=60/19,8=3
А/мм2
Осевой размер обмотки НН - высота обмотки
Радиальный размер обмотки:
a1=(2b’+2a11)=2*7,3+2=16,6 мм
Внутренний диаметр:
Наружний диаметр:
Увеличено за счет 2-х слоев картона по 1 мм наружной изоляции
катушки
Масса медной обмотки:
где
б) Расчет обмоток ВН
В масляных трансформаторах на стороне ВН осуществляется
регулирование напряжения по схеме ПБВ (переключение без возбуждения).
Регулирование напряжения по этой схеме осуществляется после отключения
трансформатора от сети и он нагрузки путем перестановки соединяющей пластины
(вводятся дополнительные витки, либо уменьшается число витков от номинального
значения).
Для обеспечения такой регулировки в обмотке ВН выполняются четыре
ответвления на +5, +2.5, -2.5, -5% UH и основной вывод на номинальное напряжение. Для получения на
стороне ВН различных напряжений необходимо рассчитать число витков на
напряжения: 5700, 5850, 6000, 6150, 6300 В.
Число витков обмотки ВН при номинальном напряжении:
витков
Число витков на одной ступени регулирования
Число витков в ответвлениях:
Ступень 5700В W=W1-0,05W1=
348-2*9=330
Ступень 5850В W= W1-0,025W1=
348-9=339
Ступень 6000В W= W1=
348
Ступень 6150В W= W1+0,025W1=
348+9=357
Ступень 6300В W=W1+0,05W1=348+18=366
Ориентировочная плотность тока
Выберем размеры провода

= 
При намотке таким проводником в 1 слое уместится
Все 366 витков уложатся в 6 слоев (5 слоев по 68 витков, 1 слой-26
витков)
Радиальный размер обмотки
Внутренний диаметр обмотки:
Наружный диаметр:
Масса металла обмотки:
Где Дср=27,8 см
Общая масса металла обмоток НН и ВН:
4. Определение параметров КЗ.
а) определяем потери КЗ:
Потери КЗ состоят из: основных потерь в обмотках НН и ВН,
добавочных потерь в обмотках, основных потерь в отводах.
Основные (электрические) потери Рэ=Росн
трансформатор
обмотка замыкание трехфазный
, где
НН:
ВН:
Дополнительные потери:
Kd1=kd2=1,1
Рд2=(kd2-1) Росн2=0,1*2365,2=236,52Вт
Рд1=(kd1-1) Росн1=0,1*3672=367,2Вт
Потери в отводах:
, где
Для Δ:
Потв=19,8 мм - поперечное сечение витка
ɣ=8,9 кг/дм3
Полные потери КЗ:
Потери в баке и металлических конструкциях:
Окончательно
, что находится в пределах заданной нормы 11600Вт.
б) рассчитаем напряжение короткого замыкания.
Активная составляющая:
Реактивная составляющая:
%
Где ap=a12+(a1+a2)|3=0,9+2,1=3
что на
меньше заданной нормы.
. Окончательный расчет магнитной системы
а) Определение размеров пакетов и активных сечений стержня и ярма:
Активное сечение стержня:
(где kз=0,965 табл. 10 метод.)
Активное сечение ярма:
Пфс и Пфя по таблице с учетом диаметра
стержня (d=0,18 м)
Индукция в стержне:
Индукция в ярме:
№ пакета Стержень Ярмо
175Ч21 175Ч21
155Ч25 155Ч25
135Ч13 135Ч13
120Ч8 120Ч8
95Ч9 95Ч17
65Ч8
Ширина ярма:
,4*2=16,8 см
Длина стержня:
где l1=50,1 см l01=3 см
Расстояние между осями свободных стержней:
Д1»=31,3 см а22=1 см
б) определение массы стали
- число стержней металлической системы
γст=7650
- плотность трансформаторной стали
lс=56,1 -
длина стержня
Масса стали ярм:
Gя=Gя’+Gя»=226,6+26=252,6
кг
Полная масса стали:
в) определение потерь и тока холостого хода
Потери холостого хода зависят от магнитных свойств, конструкции
магнитной системы и принятой технологии ее изготовления. Кроме того в углах
магнитной системы возникают добавочные потери, обусловленные анизотропией
магнитных свойств холоднокатаной стали.
Потери ХХ в магнитной системе:
Pc=2,5Вт/кг Pя=2,5Вт/кг
- удельные потери в стали при расчетной индукции и частоте
Кпд=1,08
Ку=1,3 - коэффициент для стали
что на
меньше заданной нормы
Намагничивающая мощность:
Кт=4 - для медных обмоток
qc=2,92 - удельная намагничивающая мощность
qя=2,62 -
удельная намагничивающая мощность
Ток холостого хода:
Активная составляющая:
или
Реактивная составляющая:
или
Полный ток холостого хода:
что на
меньше заданного значения.
7. Тепловой расчет и расчёт системы охлаждения
Во время работы трансформатора в его активных материалах - металле
обмоток и стали магнитной системы возникают потери энергии, выделяется тепло,
трансформатор нагревается, увеличивая свою температуру, возникает температурный
перепад между ним и окружающей средой, следовательно, часть тепла отводится в
окружающую среду, в масляных трансформаторах от активных материалов тепло
передается маслу и металлическому баку, от которого тепло рассеивается в
окружающей среде.
а) поверочный тепловой расчет обмоток.
Внутренний перепад температуры:
обмотка НН Θ02=q2*δ/λиз= 
=0,573Со,
где q2=Pосн2*кд/П02=
=325,2Вт/м2,
δ= 0,3 мм - толщина изоляции,
кд=1,1
λиз = 0,17Вт/мºС (стр. 424, табл 9.1)
П02=kз*2а’*1=0,965*2*4,15=8
kз=0,965
обмотка ВН Θ01=q1*δ/λиз= 
=0,506ºС,
где q1=P'м2*кд/П02= 
=286,7 Вт/м2,
П01=kз*2а’*1=0,965*2*7,3=14,089
δ=0,45 мм - толщина изоляции,
λиз = 0,17 Вт/мºС (стр. 424, табл 9.1)
Перепад температур на поверхности обмоток:
обмотка НН Θ0,м2=0,35к1*к2*к3*q20,6=1,1*0,85*0,35*325,20,6=
10,5 ºС,
где к1= 1 (-для естественного охлаждения),
к2= 1,1 (-внутренняя обмотка)
кз= 0,85 (табл 9.3 стр. 428)
обмотка ВН Θ0,м1=0,35к1*к2*к3q10,6=
1,1*0,8*0,35*286,70,6=9,18 ºС,
где к1= 1 (-для естественного охлаждения),
к2= 1 (-наружная обмотка)
кз= 0,8 (табл 9.3 стр. 428)
Полный средний перепад температуры от обмотки к маслу:
обмотка НН Θ0,м2ср=Θ02+Θ0,м2= 10,5+0,573=11,073 ºС
обмотка ВН Θ0,м1ср=Θ01+Θ0,м1= 9,18+0,506=9,686 ºС
б) Тепловой расчет бака
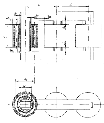
По табл. 9.4 стр. 429 для S кВА =630 выбираем конструкцию бака с
вваренными охлаждающими гнутыми трубами(трубчатый)
Минимальные внутренние размеры бака
Изоляционные расстояния от отводов до заземленных частей
определяем по табл. 4.11 стр. 199.1= 22 мм, для отвода Uисп=25кВ,2=
25 мм, для отвода Uисп=25кВ,3= 22 мм, для отвода Uисп=18кВ,4=
25 мм, для отвода Uисп=18кВ,
d1=5 мм
d2=5 мм
Минимальная ширина бака
В=D»1+(s1+s2+b2+s3+s4+b1)*10-3=31,3+2,2+2,5_2,2+2,5+1=
42 см=0,42 м,
Длина бака:
А=2*С+В=2*32,3+42= 106,6 см=1,066 м,
Высота активной части трансформатора в баке:
На.ч=L+2*hя+hБ=2*16,8+56+5=94,6
см=0,946 м,
Расстояние от верхнего ярма до крышки бака при горизонтальном
расположении над ярмом переключателя ответвлений обмотки ВН по табл. 9.5 стр.
431, Ня, к= 0,16 м,
Глубина бака:
Нб=На.ч.+Ня.к.=94,6+16=110 см=1,1 м,
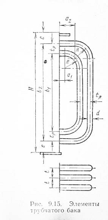
в) Охлаждающие трубы
По табл. 9.7 стр. 439 выберем круглую трубу сечением d=30 мм,
толщина стенки 1,2 мм,
поперечное сечение (мм2) =600мм2
поверхность м2 = 0,0942,
шаг между рядами(tp)=
55 мм, в ряду(tt)= 45 мм,
радиус изгиба(R)= 150 мм,
число рядов(n)= 2.
По табл. 9.8 стр. 439 выберем для а1= 60 мм, смин=
60 мм, емин= 70 мм
расстояние между осями труб:
2= H - (c+e)*10-3=110-6-7=97 см,1= b2-tp=97-2*5,5=86
см,
Развернутая длина труб в каждом ряду:
-й внутренний ряд l1=b1+(π*R-2*R+2a1)=
86+(3,34*15-2*15+6*6)=116 см=1,16 м,
-й ряд l2=l1+4*tp= 1,343 м
Число труб в одном ряду на поверхности бака
тр=
=103= 
=58
Поверхность излучения бака с трубами
Пи=(2*(А-В)+π*В+π*(2*а1+2*R+2*tp*(n-1)+72)/1000)*H
+0,5* Пкр=(2*(1,07-0,42)+3,14*0,42+3,14*(2*0,06+2*0,15+2*0,055+0,03))
1,1+0,5*0,42=5,1м2
Где Пкр=2*С*В+πВ2/4=2*32,3*42+3,14*422/4=0,42м2
Поверхность конвекции бака (м2)
Пк=Пк,гл*Кф,гл+Пк.тр*Кф,тр=3,1*1+14*1,546=
24,744м2
где по табл 9.6 стр. 432 Кф, гл= 1,
трубы 2 ряда Кф, тр= 1,546,
Пк,гл=(2*(А-В)+π*В)*Н+0,5*(2*С*В+π*В*В/4)= (2 (1,07-0,42)+3,14*0,42)
1,1+0,21=3,1м2
Пк,тр= Пм(m1*l1+m*2l2)+0,0942 (58*1,16+58*1,34)=14 м2,
Превышение температуры поверхности бака над температурой воздухом
Θб,в=(
0,8= 
0,8=43,3ºС,
k=1,05
Среднее превышение температуры масла около стенки над температурой
внутренней поверхности стенки
Θм,б=0,165*k1*(
)0,6=0,165 (
)0,6=6,5 ºС,
k1=1 при
естественном масляном охлаждении
Превышение температуры масла в верхних слоях над температурой
воздуха
Θм, в.в=1,2 (Θм, б+Θб, в) =1,2 (43,3+6,5)=59,76
ºС (меньше 60 ºС)
Превышение температуры обмоток над температурой окружающего
воздуха:
Θов=Θм, б+Θб, в+ Θо.ср+Θо.м
Обмотка НН:
Θов=43,3+6,5+0,573+10,5=60,87 ºС (меньше 65 ºС)
Обмотка ВН:
Θов=43,3+6,5+0,506+9,18=59,49 ºС (меньше 65 ºС)
Заключение
В процессе выполнения курсового проекта осуществили
Определение основных электрических параметров
Определение основных размеров трансформатора
Расчет обмоток НН и ВН
Определение параметров короткого замыкания (КЗ)
Окончательный расчет магнитной системы
Тепловой расчет трансформатора
На основе ручного расчета трансформатора, поняли
взаимосвязьразмеров трансформатора, свойств материалов и его технических и
экономических параметров. Например, влияние выбор индукции в стержне напрямую
влияет на результаты расчета, а в частности с увеличением индукции уменьшается
диаметр стержня, следовательно и масса стали и обмотки, что экономически
выгодно. Однако увеличение индукции ведет кк увеличению потерь и особенно тока
холостого хода трансформатора. При выполнении данной работы, выбрали
оптимальную индукцию и убедились, что потери холостого хода не превышают
заданную норму, и массогабаритные показатели являлись удоволетворительными.
Так же убедились, что потери короткого замыкания не превышают заданную
норму.
Проведя тепловой расчет, выбрали отимальные габаритные размеры
бака трансформатора и системы охлаждения (гладкий бак с охлаждающими трубками)
и убедились, что превышение температур масла и обмоток относительно окружающего
воздуха не превышают нормы.
Список используемой литературы
1) П.М.
Тихомиров «Расчет трансформаторов» учебн. пособие для вузов, издание пятое.
1986 г.
2) Электротехнический
справочник 1981 г.