Аппарат с мешалкой

  • Вид работы:
    Курсовая работа (т)
  • Предмет:
    Другое
  • Язык:
    Русский
    ,
    Формат файла:
    MS Word
    271,53 Кб
  • Опубликовано:
    2012-09-11
Вы можете узнать стоимость помощи в написании студенческой работы.
Помощь в написании работы, которую точно примут!

Аппарат с мешалкой

СОДЕРЖАНИЕ

Введение

. Цель и задачи проекта

. Эскизный проект

.1 Выбор конструкционных материалов

.2 Расчетная температура.

.3 Выбор допускаемых напряжений конструкционного материала

.4 Определение рабочего, расчетного, пробного и условного давлений

.5 Выбор и определение параметров комплектующих элементов

.6 Эскиз компоновки аппарата

.7 Оценка надежности выбранного варианта компоновки аппарата

. Технический проект

.1 Расчет элементов корпуса аппарата

.1.1 Определение коэффициентов прочности сварных швов и прибавки для компенсации коррозии

.1.2 Определение расчетной толщины стенок оболочек из условия прочности

.1.3 Определение расчетной толщины стенок оболочек из условия устойчивости

.1.4 Определение исполнительной толщины стенок оболочек

.1.5 Определение допускаемых давлений

.1.6 Укрепление отверстий

.1.7 Фланцевые соединения

.1.8 Расчет опор и монтажных цапф аппарата

.2 Расчет элементов механического перемешивающего устройства

.2.1 Валы мешалок

.2.2 Мешалки

.2.3 Шпоночное соединение ступицы мешалки с валом

.2.4 Муфты

.2.5 Сальниковое уплотнение

Заключение

Список использованных источников

ВВЕДЕНИЕ

Современное технологическое оборудование включает в себя разнообразные машины, аппараты и приборы. Машина это устройство, совершающее механические движения с целью выполнения полезной работы за счет преобразования энергии. Кинематической основой любой машины является механизм, т.е. устройство в виде системы тел, преобразующее движение одних тел в целесообразное движение других тел. Под термином аппарат в химической промышленности понимают устройство, в котором технологический процесс осуществляется за счет физико-химических превращений. Технологические процессы протекают при определенных давлении и температуре обрабатываемой среды. Аппараты обычно оснащаются различными машинами, механизмами, приборами (устройствами, выполняющими функции контроля, измерения, регулирования и управления), а также теплообменными устройствами.

При проектировании технологического оборудования необходимо учитывать следующие требования: экономичность и надежность. Экономичность определяется затратами средств на проектирование, изготовление, монтаж, эксплуатацию и утилизацию оборудования после истечения его срока службы. Надежность - это свойство изделия выполнять заданные функции, сохраняя свои эксплуатационные показатели в заданных пределах в течение заданного срока службы (в химической промышленности 10-15 лет).

Проектирование - это разработка общей конструкции изделия.

Конструирование - это определение формы и размеров всех элементов общей конструкции изделия.

Проект - комплекс текстовых и графических документов, полученных в результате проектирования и конструирования, и предназначенных для изготовления, контроля и эксплуатации изделия.

При проектировании необходимо соблюдать правила проведения проектных работ и оформления конструкторской документации.

Особое внимание при проектировании, изготовлении и эксплуатации уделяется аппаратам, работающим под давлением к которым, в частности, относятся аппараты с мешалкой. На всех стадиях создания и эксплуатации эти аппараты должны удовлетворять таким документам как «Правила устройства и безопасной эксплуатации сосудов, работающих под давлением» (Правила Госгортехнадзора), обязательные для всех предприятий и организаций, проектирующих, изготавливающих и эксплуатирующих сосуды, работающие под давлением; государственные стандарты (ГОСТ), имеющие силу закона; и другая нормативно- техническая документация, распространяемая на данную отрасль или завод (отраслевой стандарт - ОСТ; альбом типовых конструкций - АТК; технические условия - ТУ; руководящий документ - РД; методические указания - МУ; стандарт предприятия - СТП и прочее).

Правила Госгортехнадзора (Комитет по надзору за безопасным ведением работ в промышленности и горному надзору) определяют требования к устройству, изготовлению, монтажу, ремонту, испытаниям и эксплуатации сосудов, работающих под давлением. За нарушения правил Госгортехнадзора предусматривается личная ответственность должностных лиц и инженерно-технических работников.

Правила Госгортехнадзора распространяется на сосуды, работающие под избыточным давлением свыше 0,07 МПа без учета гидростатического давления среды. Такие сосуды подлежат обязательной регистрации в органах Госгортехнадзора. Сосуды устанавливаются на открытых площадках или в отдельных зданиях, маркируются и оснащаются запорной арматурой (вентили, клапаны), приборами для измерения давления, температуры, уровня жидкости, а также предохранительными клапанами.

Техническое задание на проект содержит общие сведения о назначении, рабочих параметрах агрегата, эксплуатационных требованиях, сроках проектирования.

Эскизный проект (ГОСТ 2.119-73,[2]) предусматривает обоснование выбора и разработку одного или нескольких вариантов изделия, и дает общее представление об устройстве и принципе действия агрегата, его параметрах, габаритах и стоимости.

Технический проект (ГОСТ 2.120-73,[2]) опирается на результаты эскизного проекта и более подробно охватывает расчет и конструирование большинства деталей и узлов. После технико-экономического анализа с участием заказчика окончательно отбирается оптимальный вариант изделия.

Рабочая конструкторская документация (ГОСТ 2.109-73,[2]) - заключительная стадия выполнения проекта, предусматривает разработку сборочных чертежей машины или аппарата, их сборочных единиц и деталей; спецификации на материалы, стандартные и покупные изделия; чертежи на упаковку и транспортировку, монтаж, испытания и т.д.

На заводе изготовителе проектно-конструкторская документация изучается и используется для подготовки производства, т.е для приобретения необходимых материалов, комплектующих, наладки технологического оборудования, и для организации изготовления спроектированного оборудования.

1. ЦЕЛЬ И ЗАДАЧИ ПРОЕКТА

Цель курсового проектирования - развитие навыков практического применения знаний, получаемых в ходе изучения цикла общеинженерных дисциплин.

С учетом характера будущей инженерной деятельности, одной из тем курсового проекта предлагается «Проектирование аппарата с мешалкой». Аппарата с мешалкой - один из наиболее распространенных видов химико-технологического оборудования. Он состоит из типовых элементов, встречающихся во многих аппаратах различного назначения: корпус, привод, теплообменные устройства, фланцевые соединения, уплотнение валов и др. Методики расчетов, используемые при проектировании аппарата с мешалкой, типичны, т.е. являются общими для многих других видов оборудования.

Основные задачи:

а) освоение основ методики проектирования;

б) выбор материалов и конструктивное оформление аппарата в соответствии с заданными технологическими параметрами процесса;

в) грамотное использование общероссийских и отраслевых нормативных материалов (ГОСТы, ОСТы, правила Госгортехнадзора и т.п.), касающихся устройства, выбор рабочих параметров и правил эксплуатации оборудования предприятий химической промышленности;

г) выполнение проектных и проверочных расчетов, позволяющих выявить соответствие аппарата требованиям эксплуатации (при этом особое внимание следует обращать на вскрытие резервов несущей способности стандартизованных элементов и повышение производительности оборудования);

д) грамотный доклад и защита принятых технических решение на заседании комиссии по приему курсовых проектов.

2. ЭСКИЗНЫЙ ПРОЕКТ

.1 Выбор конструкционных материалов

Основным конструкционным материалом корпусов аппаратов, работающих под давлением в коррозионной среде и при высокой температуре являются стали, отличающиеся высокой прочностью, коррозионной стойкостью и термостойкостью.

Выбираем основной конструкционный материал в соответствии с условиями эксплуатации рассматриваемого элемента аппарата.

Качественные углеродистые стали:

- ГОСТ 1050-88

К - ГОСТ 5520-79

.2 Расчетная температура

Механические характеристики материалов существенно изменяются в зависимости от температуры.

Расчетная температура стенки - температура, при которой определяются физико-механические характеристики, допускаемые напряжения и проводится расчет на прочность элементов сосуда. Расчетная температура определяется на основании тепловых расчетов или результатов испытаний.

tp=tc=1000С,(1)

где tр - расчетная температура стенок корпуса аппарата, 0С; tс - температура среды, соприкасающейся со стенкой аппарата, 0С.

Для элементов аппарата, не имеющих контакта с рабочей средой или теплоносителем, tр=200С.

.3 Выбор допускаемых напряжений конструкционного материала

Допускаемые напряжения материалов для рабочих условий определяется по формуле

[s]=h1h2s*,(2)

где s - нормативное допускаемое напряжение при расчетной температуре для выбранного материала, Па;

h1 - поправочный коэффициент, учитывающий вид заготовки рассчитываемого элемента (s=1 для листового проката, s=0,8 для отливок, подвергающихся индивидуальному контролю неразрушающими методами);

h2 - поправочный коэффициент, учитывающий степень опасности рабочей среды (для взрыво- и пожароопасных сред 2=0,9, в остальных случаяхh2 =1).

Нормативные допускаемые напряжения * для элементов корпуса из сталей марок 20,20К: *s20=147 МПа, *100=142 МПа [1].

[s]20=1*0,9*147*106=132,3*106Па=132,3МПа

[s]100=1*0,9*142*106=127,8*106Па=127,8МПа

Нормативные допускаемые напряжения * для валов и крепежных изделий фланцевых соединений из стали марки 20: *20=130МПа, *100=126МПа [1].

[s]20=1*0,9*130*106=117*106Па=117МПа

[s]100=1*0,9*126*106=113,4*106Па=113,4МПа

Таблица 1

Материалы и допускаемые напряжения элементов аппарата

Элементы аппарата

Марка материала

Допускаемые напряжения, мПа



s*

[s]

s20*

s20

Есть контакт с рабочей средой

1. Корпус: а) обечайка, днище, крышка; б) фланцы корпуса; в) люк, штуцеры 2. Внутренние устройства: змеевик 3. Мешалка 4. Вал 5. Крепежные изделия мешалки: болты, гайки, шайбы, шпонки

 20К  20 20  _  20К 20 20

142      _  142 126 126

127,8       _  127,8 113,4

147      _  147 130 130

132,3       _  132,3 117

Нет контакта с рабочей средой

6. Опоры аппарата, цапфы 7. Крепежные изделия: а) для фланцевых соединений корпуса, люка, штуцеров б) для стойки привода, уплотнения, муфты

20     20ХНЗА

    _

     _

147     _

132,3     _


.4 Определение рабочего, расчетного, пробного и условного давлений

Рабочее, расчетное, пробное и условное давление относятся к параметрам, которые подлежат предварительному определению. Данные параметры устанавливаются в соответствии с правилами Госгортехнадзора ПБ 10-115-96 и ГОСТ 14249-89.

Рабочее давление рраб - максимальное внутреннее избыточное давление, возникающее при нормальном протекании рабочего процесса без учета гидростатического давления среды и без учета допустимого кратковременного повышения давления во время срабатывания предохранительного клапана или других предохранительных устройств. Таким образом, рабочее давление - это избыточное давление газа над слоем жидкости, рраби.

рраб = ри.= 0,9 МПа(3)

Гидростатическое давление рг - максимальное давление столба жидкости в аппарате, Па:

ргсс,(4)

где рс - плотность рабочей среды, кг/м3; g=9,8 - ускорение свободного падения, м/с2; Нс - уровень жидкости в аппарате, м.

рг=840*9,8*3,6*10-6=0,03 МПа

Гидростатическое давление обычно существенно меньше рабочего. Относительную, в процентах, величину гидростатического давления ∆р рассчитывают по формуле:

р=(рграб)100%(5)

р=(0,03/0,9)*100%=3,3%

Расчетное внутреннее давление рр.в - давление, на которое производится расчет элементов аппарата на прочность, Па. Если на элемент корпуса действует гидростатическое давление меньше 5% от рабочего, то его не учитывают.

рг < 5% рраб =>не учитываем

рр.в = ррабг(6)

рр.в = 0,9МПа

Расчетное наружное давление рр.н определяется по формуле:

рр.н = ра0(7)

где ра=105 - атмосферное давление, Па; р0 - остаточное давление в корпусе, Па;

рр.н =105-0,05*106=0,05*106Па=0,05МПа

Пробное давление рпр - максимальное избыточное давление, создаваемое при гидравлических (пневматических) испытаниях сосудов и аппаратов с целью проверки их на прочность и герметичность.

рпр=1,25рр.в[s]20/[s]100(8)

рпр=1,25*0,9*106*132,3*106/127,8*106=1,16*106Па=1,16МПа

Условное давление ру- расчетное давление при температуре 200С, используемое при выборе и расчете на прочность стандартных элементов аппарата (узлов, деталей, арматуры).

ру ≥ рр.в[s]20/[s]100(9)

где ру - условное давление (МПа) выбирается из стандартного ряда: 0,25; 0,3; 0,4; 0,6; 1,0; 1,6; 2,5 и т.д.

ртр = 0,9*106*132,3*106/127,8*106=0,93*106Па=0,93МПа =>

ру = 1МПа

Таблица 2

Расчетное, пробное, условное давление в аппарате

Элементы корпуса

Расчетное внутреннее давление р р.в, МПа

Расчетное наружное давление р р.н, МПа

Пробное давление рпр, МПа

Условное давление ру, МПа

Крышка

0,9

0,05

1,16

_

Обечайка





Днище





Фланцы


_


1

Люк





Штуцеры






.5 Выбор и определение параметров комплектующих элементов

Выделяются следующие основные составные элементы аппарата с мешалкой:

) корпус, включающий ряд элементов и устройств (змеевик, крышка корпуса и т.д.);

) привод механического перемешивающего устройства;

) вал мешалки;

) мешалка;

) муфта вала;

) уплотнение вала мешалки.

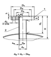
.6 Эскиз компоновки аппарата

На эскизе проставляют не все, а лишь конструктивные, габаритные, присоединительные и установочные размеры.

Таблица 3

Рекомендуемое расстояние hм

Обозначение мешалки

Тип мешалки

Корпус с эллиптическим днищем

07

Лопастная

hм=0,3dм=0,3*1800=540 мм


.7 Оценка надежности выбранного варианта компоновки аппарата

Надежность химического оборудования - комплексное свойство, сочетающее безотказность, долговечность, ремонтопригодность и сохраняемость.

Под безотказностью понимают свойство элемента оборудования непрерывно сохранять работоспособное состояние в течение определенного периода времени.

λΣкпруп(10)

где λк,λпр,λуп - интенсивности отказа корпуса аппарата, его привода и уплотнения соответственно, час-1; λΣ - интенсивность отказов аппарата в целом, час-1.

λΣ=(1,5+11+3)*10-5=15,5*10-5 час-1

При известной интенсивности отказов аппарата вероятность его безотказной работы РАП(t) определяется формулой:

РАП(t)=еΣt(11)

РАП(t)=е-15,5*10-5t

Средняя продолжительность безотказной работы аппарата Тср:

Тср=∫РАП(t)dt=1/λΣ(12)

Тср=1/15,5*10-5=6452 час

Вероятность безотказной работы РАП(t) позволяет также обоснованно выбрать продолжительность Тэ периодов эксплуатации аппарата между обслуживанием и плановыми ремонтами. Параметр Тэ находится из условия, что вероятность безотказной работы аппарата не может быть ниже некоторого предельного значения Рпред ,т.е.

е- λΣ Тэ= Рпред(13)

Отсюда

Тэ=-ln Рпред/ λΣ(14)

Тэ=-ln 0.8/15.5*10-5=1440 час

Предельная вероятность Рпред, определяющая степень надежности оборудования, назначается в зависимости от свойств рабочей среды (токсичность, пожаро- и взрывоопасность), а также от рабочих параметров процесса. Для пожаро- и взрывоопасных рабочих сред или тяжелых режимов функционирования (tp ≥ 2000с и ри ≥ 1МПа) в качестве предельного значения вероятности безотказной работы принимается значение 0,8.

3. ТЕХНИЧЕСКИЙ ПРОЕКТ

.1 Расчет элементов корпуса аппарата

.1.1 Определение коэффициентов прочности сварных швов и прибавки для компенсации коррозии

В прочностные расчеты вводится коэффициент прочности сварного шва φ ≤ 1, несколько уменьшающий допускаемые напряжения [s] материала. Величина коэффициента φ принимается в соответствии с правилами Госгортехнадзора и зависит от назначения аппарата, типа сварного соединения, способа сварки и длины контролируемых швов.

У аппаратов, предназначенных для взрывоопасных и пожароопасных веществ φ=0,9 при 100% контроле швов.

Элементы аппарата, находящиеся в контакте с рабочей средой, из-за коррозии с течением времени уменьшаются по толщине. Прибавка для компенсации коррозии к расчетным толщинам конструктивных элементов определяется по формуле

с=П*Та(15)

где с - прибавка для компенсации коррозии, м; П - скорость коррозии м/год; Та - срок службы аппарата, лет.

с=0,001*10=0,01м=1мм

.1.2 Определение расчетной толщины стенок оболочек из условия прочности

Несоблюдение условия прочности может привести к разрушению (разрыву) оболочки.

а) Расчетная толщина стенки цилиндрической обечайки из условия прочности, м:

Sцр1=(pрвD)/(2φ[s]-pрв)(16)

где pрв - расчетное внутреннее давление, Па;

D - внутренний диаметр обечайки, м;

[s] - допускаемое напряжение, Па;

φ - коэффициент прочности сварного шва.

Sцр1=0,9*10-6*3 = 11,78*10-3м=11,78мм

*0,9*127,8*10-6-0,9*10-6

б) Расчетная толщина стенки эллиптической крышки (днища) из условия прочности, м:

Sэр1=(pрвD)/(2φ[s]-0,5pрв)(17)

Sэр1=0,9*10-6*3 = 11,76*10-3м=11,76мм

*0,9*127,8*10-6-0,5*0,9*10-6

.1.3 Определение расчетной толщины стенок оболочек из условия устойчивости

а) Расчетная толщина стенки цилиндрической обечайки из условия устойчивости, м:

Sцр2=D[(ppнnyeц)/(2,08ЕD)]0.4(18)

где D - внутренний диаметр обечайки, м;

ppн - расчетное наружное давление, Па;

ny=2,4 - коэффициент запаса устойчивости;

Е - модуль продольной упругости материала оболочки при расчетной температуре, Па;

eц - расчетная длина цилиндрической обечайки (м), определяемая по формуле:

eц1+2а1+2а2

eц=3,3+2*0,04+2*0,25*3/3=3,88м

Рис.1

Н1=3,3м;

Нэл=0,25D - высота эллиптической крышки без отбортовки, м;

а1≈0,04 - ориентировочная высота отбортованной части эллиптическ. крышки (днища), м;

а2эл/0,3 - высота переходной части эллиптической оболочки, м;

При определении расчетной длины цилиндрической обечайки eц следует учитывать, что в цельносварных аппаратах без теплообменной рубашки (рис.1) волны смятия по высоте захватывают не только цилиндрическую обечайку, но и часть крышки и днища (включая отбортовку).

Sцр2=3*[(0,05*10-6*2,4*3,88)/(2,08*1,91*10-11*3)]0,4=8,2*10-3м=8,2мм

б) Расчетная толщина стенки эллиптической оболочки из условия устойчивости, м:

Sэр2=KD√ (pрнny)/(0.26E)(19)

где D - внутренний диаметр обечайки, м;

К≈0,9 - коэффициент приведения радиуса кривизны эллипса;

pрн - расчетное наружное давление, действующее на крышку или днище, Па;

ny=2,4 - коэффициент запаса устойчивости;

Е - модуль продольной упругости материала оболочки при расчетной температуре, Па.

Sэр2=0,9*10-6*3*√(0,05*10-6*2,4)/(0,26*1,91*10-11)=4,2*10-3м=4,2мм

.1.4 Определение исполнительной толщины стенок оболочек

Для каждой оболочки из двух вычисленных значений толщины выбирают большее расчетное значение:

Sцр=max{Sцр1;Sцр2},(20а)

Sэр=max{Sэр1;Sэр2},(20б)

Выражения для определения исполнительной толщины стенок оболочек корпуса имеют следующий вид:

а) для цилиндрической оболочки

Sц=Sцр+с+с1(21а)

Sц=11,78+1+с1=14мм

с1=1,22мм=0,8мм

б) для эллиптической оболочки (крышки, днища)

Sэ=Sэр+с+с1(21б)

Sэ=11,76+1+с1=14мм

с1=1,24мм=0,8мм

где с - прибавка для компенсации коррозии, мм;

с1 - прибавка для округления толщины листа до стандартного значения, которая должна быть не меньше минусового допуска u, мм;

Sцр, Sэр - максимальная расчетная толщина листа, мм;

u- минусовой допуск на толщину листа, мм.

Таблица 4

Параметры толщины стенок оболочек

Оболочка аппарата Корпус

Расчетная толщина стенки, мм

Прибавка на коррозию, мм

Минусовой допуск, мм

Исполнительная толщина стенки, мм


из условия прочности

из условия устойчивости




Цилиндрическая оболочка Крышка Днище

 11,78  11,76

 8,2  4,2

1

0,8

14


.1.5 Определение допускаемых давлений

Важными техническими характеристиками аппарата являются допускаемые (предельные) внутреннее и наружное давления, которые определяют возможные технологические резервы. Под резервом понимают превышение предельного значения параметра над расчетным. За счет прибавок с1 при округлении расчетных значений толщины стенок оболочек до стандартной толщины листа увеличивается несущая способность оболочки и соответственно допускаемые давления. Если допускаемые давления больше или равны расчетным, то условия прочности и устойчивости выполнены.

Расчет допускаемых (предельных) внутренних давлений.

а) для цилиндрической обечайки

рд.в= 2φ[s](Sц-с-u) ≥ pрв(22)+Sц

Значения входящих в формулу (22) параметров см. в пояснениях к формуле (16), Sц - исполнительная толщина, м; u - минусовой допуск на стандартную толщину листа, м; с - прибавка для компенсации коррозии, м. Для удобства ведем расчет в МПа и мм.

рд.в=[2*0,9*127,8*(14-1-0,8)]/(3000+14)=0,931МПа

рд.в ≥ pрв => выполняется

б) для эллиптической крышки (днища)

рд.в= 2φ[s](Sэ-с-u) ≥ pрв (23)+0,5Sэ

Значения входящих в формулу (23) параметров см. в пояснениях к формуле (17), Sэ - исполнительная толщина, м; u - минусовой допуск на стандартную толщину листа, м; с - прибавка для компенсации коррозии, м. Для удобства ведем расчет в МПа и мм.

рд.в=[2*0,9*127,8*(14-1-0,8)]/(3000+0,5*14)=0,933МПа

рд.в ≥ pрв => выполняется

Расчет допускаемых (предельных) наружных давлений.

а) для цилиндрической обечайки

рд.н=2,08ED[(Sц-с-u)/D]2.5 ≥pр.н(24)

nyeц

Значения входящих в формулу (24) параметров см. в пояснениях к формуле (18), Sц - исполнительная толщина, м; u - минусовой допуск на стандартную толщину листа, м; с - прибавка для компенсации коррозии, м. Для удобства ведем расчет в МПа и мм.

рд.н=2,08*1,91*105*3000*[(14-1-0.8)/3000]2.5 =0,135МПа

,4*3880

рд.н ≥ pр.н => выполняется

б) для эллиптической оболочки

рд.н=0,26E[(Sэ-с-u)/DК]2 ≥pр.н(25)

ny

Значения входящих в формулу (25) параметров см. в пояснениях к формуле (19), Sэ - исполнительная толщина, м; u - минусовой допуск на стандартную толщину листа, м; с - прибавка для компенсации коррозии, м. Для удобства ведем расчет в МПа и мм.

рд.н=0,26*1,91*105*[(14-1-0.8)/3000*0,9]2 =0,423 МПа

,4

рд.н ≥ pр.н=> выполняется

аппарат конструкционный прочность устойчивость

Таблица 5

Условные и допускаемые внутренние давления в аппарате, МПа

Давление

условное, ру

допускаемое внутреннее, рд.в

Элементы аппарата

Фланцы, штуцеры, люк

Уплотнение

Крышка

Обечайка

Днище

Общее для всех

Корпус

1

1

0,933

0,931

0,933

0,931


Таблица 6

Допускаемые наружные давления, МПа

Элементы корпуса

Крышка

Обечайка

Днище

Общее для всех


0,423

0,135

0,423

0,135


.1.6 Укрепление отверстий

Отверстия в оболочках аппарата, предназначенные для размещения штуцеров различного назначения и люка, снижают несущую способность корпуса и вызывают концентрацию напряжений вблизи края отверстия. Концентрация напряжений носит локальный характер: напряжения быстро уменьшаются по мере удаления от края отверстия.

На основании ГОСТ 24755-89 расчет укрепления отверстий в оболочках корпуса проводится по геометрическому критерию. Для обеспечения прочности оболочки вблизи отверстия площадь продольного сечения в виде прямоугольника А (рис. 2) должна быть компенсирована суммой площадей А0, А13, образованных дополнительной толщиной основной оболочки и стенки штуцера (рис. 2а). Дополнительная толщина появляется из-за того, что исполнительная толщина стенки оболочки или штуцера обычно больше расчетной за счет прибавки с1. Если дополнительной толщины оболочки 3 (рис. 2б) и штуцера 1 недостаточно, приваривают накладное кольцо 2 вокруг отверстия, добавляя дополнительную площадь А2 [1].

Наибольшим отверстием в оболочке корпуса является люк, расположенный на крышке аппарата, поэтому он подлежит первоочередной проверке.

а) С учетом расчетной ширины зоны укрепления eр(мм) определяется наибольший диаметр условного отверстия d0(мм) в оболочке, не требующий дополнительного укрепления (без учета укрепляющего действия штуцера):

Рис. 3 - Штуцер по АТК 24.218.06-90 для аппаратов стальных сварных: 1 - фланец стальной плоский приварной по ГОСТ 12820 - 80 с гладкой уплотнительной поверхностью или с впадиной, или с пазом. 2 - патрубок

Рис. 2 - Схема к расчету укрепления отверстий: а) расчетная схема; б) укрепление отверстия накладным кольцом

eр=√ Dp(s-c-u)(26)

где Dp - расчетный внутренний диаметр оболочки, мм; s, sp - исполнительная и расчетная (из условия прочности) толщина стенки оболочки, мм; с - односторонняя прибавка для компенсации коррозии, мм; u - минусовой допуск на толщину листа, мм.

Таблица 7

Расчетный внутренний диаметр оболочки Dp, мм

Оболочка

Расстояние от оси оболочки до центра отверстия

Формула

Цилиндрическая

-

Dp=D=3000

Эллиптическая а) крышка; б) днище


Dp=2D(1-3(r/D)2)0.5 Dp=2*3000*(1-3*870/3000)2)0,5=5188 Dp=2*3000*(1-3*1005/3000)2)0,5=4887


eр(обечайка)=√ 3000*(14-1-0,8)=191,31 мм

eр(крышка)=√ 5188*(14-1-0,8)=251,58 мм

eр(днище)=√ 4887*(14-1-0,8)=244,17 мм

d0=2[(s-c-u)/sp-0.8] eр(27)

d0(обечайка)=2*[(14-1-0,8)/11,78-0,8]*191.31=90,17 мм

d0(крышка)=2*[(14-1-0,8)/11,76-0,8]*251,58=119,46 мм


б) Проверка укрепления отверстия за счет стенки штуцера и стенки оболочки выполняется, если расчетный диаметр укрепляемого отверстия dшр больше диаметра d0

dшр=dш+2с > d0(28)

где dш - внутренний диаметр штуцера или люка (рис.3) (dш=dн-2sш)

dлр=700+2=702 мм > d0=119,46 мм

dшр(для загрузки)=273-2*8+2=259 мм > d0=119,46 мм

dшр(резервный)=108-2*5+2=100 мм < d0=119,46 мм

dшр(резервный)=219-2*8+2=205 мм > d0=119,46 мм

dшр(технологический)=219-2*8+2=205 мм > d0=119,46 мм

dшр(для трубы передавливания)=159-2*6+2=149 мм > d0=119,46 мм

dшр(для манометра)=108-2*5+2=100 мм < d0=119,46 мм

dшр(технологический)= 273-2*8+2=259 мм > d0=119,46 мм

dшр(для термопары)=27+2=29 мм < d0=119,46 мм

dшр(вход и выход теплоносителя)=89-2*4+2=83 мм < d0=90,17 мм

dшр(для слива)=219-2*8+2=205 мм > d0=115,94 мм

Таблица 8

Проверка укрепления отверстий

Требуют укрепления

Не требуют укрепления

Люк Штуцера: для загрузки; резервный; 2 технологических: для трубы передавливания; для слива

Штуцера: резервный; для манометра; для термопары; вход и выход теплоносителя


Площадь продольного сечения выреза (рис.2а), подлежащая компенсации (расчет ведем только для люка), мм2:

А=0,5(dлр-d0)sр1(29)

где sр1 - расчетная (из условия прочности см. табл.2) толщина стенки оболочки, мм.

А=0,5*(702-119,46)*11,76=3425 мм2

Площадь продольного сечения оболочки, участвующая в укреплении, мм2:

А0=eр(s-sp-c)(30)

где s - исполнительная толщина стенки оболочки (см. табл.2), мм; eр - см. формулу (26); sр1 - расчетная толщина стенки укрепляемой оболочки, мм.

А0=251,58*(14-11,76-1)=312 мм2

Расчетные длины внешней eр1 и внутренней eр3 части люка, мм:

eр1=1,25 √ dлр(sл-с)(31)

eр3=0,5 √ dлр(sл-2с)(32)

где sл - исполнительная толщина стенки люка, мм.

eр1=1,25*√ 702*(10-1)=99,4 мм

eр3=0,5*√ 702*(10-2*1)=37,5 мм

Площади продольного сечения соответственно наружной и внутренней частей люка, участвующая в укреплении, мм2:

А1=eр1(sл-sлр-c)(33)

А3=eр3(sл-2c)(34)

где sлр - расчетная толщина стенки люка ( вычисляется по формуле (16), где D=dш+2с, φ=1),мм.

Sлр=pрв(dш+2с)/(2φ[]-pрв)=0.9*(700+2)/2*127.8-0.9=2.48 мм

А1=99,4*(702-2,48-1)=69433 мм2

А3=37,5*(702-2*1)=26250 мм2

Условие укрепления отверстия за счет стенки люка и оболочки выполняется если

А≤А013(35)

А=3425 мм2 < 312+69433+26250=95995 мм2

.1.7 Фланцевые соединения

Герметичность фланцевого соединения обеспечивается правильным подбором материала прокладки и учетом действующих усилий. Элементы фланцевого соединения (болты и прокладки) проверяются на прочность.

Ширина прокладок b принимается в зависимости от типа и размеров фланцев.

Толщина прокладок sп зависит от марки материала.

Материал фланцев с учетам коррозионной стойкости принимается таким же, как и материал корпуса аппарата соприкасающийся с рабочей средой. Материал болтов (шпилек) выбирается по ГОСТ 28759.5 - 90 в зависимости от материала элементов корпуса аппарата.

Предварительно необходимо определить податливость болтов и прокладки (податливость - величина обратная жесткости, равна отношению деформации к вызывающей ее силе). Поскольку жесткость фланцев, как правило, значительно больше жесткости прокладки, податливостью фланцев можно пренебречь.

Таблица 9

Характеристика материала прокладки

Материал

sп

Кп

[q], МПа

qmin, МПа

Еп, МПа

К0

Паронит по ГОСТ 481-80: ПМБ - маслобензостойкий

3

2,5

130

20

2000

0,9



Податливость болтов соединения, м/н:

λб=eб/(zбEб20Аб)(36)

где h - высота диска фланца, м;

л=2h+sп+1мм=(2*35+3+1)*10-3=74*10-3 м - общая высота дисков фланцевого соединения;

dб - наружный диаметр резьбы болта, м;

eб=hл+0,5dб=(74+0,5*23)*10-3=85,5*10-3 м - приведенная длина для болтов, м;

б20 - модуль упругости материала болта при 200С, Па;б - число болтов в соединении(zб=32);

Аб минимальная площадь поперечного сечения болта(Аб=225*10-6 м2), м2

λб=85,5*10-3/32*2,15*1011*225*10-6=5,5*10-11 м/н

Податливость прокладки, м/н:

λп0sп/(πDп.срп20)(37)

где К0 - коэффициент обжатия (см. таблицу 9);=а-1мм=(14-1)*10-3=13*10-3 - ширина прокладки, м;

Dп - наружный диаметр прокладки, м;

Dп.ср=(Dп-b)=(763-13)*10-3=750*10-3 - средний диаметр прокладки, м;

Eп20 - модуль упругости материала болта при 200С, Па (см. таблицу 9);

λп=0,9*3*10-3/3,14*750*10-3*13*10-3*2000*106=4,4*10-11 м/н

Коэффициент внешней нагрузки χ, т.е. доля усилия от давления рабочей среды, передаваемая на болты соединения, рассчитывается с учетом податливости болтов и прокладки

χ=λп/(λбп)(38)

χ=4,4*10-11/(5,5*10-11+4,4*10-11)=0,44

Усилие от давления рабочей среды, Н:

Fд=pрвπD2п.ср/4(39)

Fд=0,9*106*3,14*(750*10-3)2/4=397406 Н

Усилие в болтах от температурных деформаций элементов фланцевого соединения (в условиях эксплуатации), Н:

Ft=[αлhл(tл-t0)-αбhл(tб-t0)]/(λпбЕбб20)(40)

где tб, tл - температура болтов и люка соответственно

(tл=tр=1000С,

tб=0,97tр=0,97*100=970с ≥ 200С

при наличии теплоизоляции на аппарате;

t0=200С - начальная температура;

αлб - коэффициенты линейного расширения материалов люка и болтов (αл(20)=11,6*10-6 1/0С, αб(20ХНЗА)=11,0*10-6 1/0С), 1/0С;

Ебб20 - модуль упругости материалов болтов при температуре 200С и при рабочей температуре (Ебб20=2,15*1011 Па,), Па;

Ft=[(11,6*10-6*74*10-3*(100-20)-11*10-6*74*10-3*(97-20)]/(4,4*10-11+

,5*10-11*2,15*1011/2,15*1011)=605,5 Н

Усилие, которое должно быть приложено к прокладке, чтобы обеспечивалась герметичность в рабочих условиях, Н:

Fп2=πDп.срb0pрвКп(41)

где Кп - коэффициент материала прокладки (см. табл. 9);

b0 - эффективная ширина прокладки (b0=b при b ≤ 0,015 м), м.

Fп2=3,14*750*10-3*13*10-3*0,9*106*2,5=68884 Н

Усилие затяжки F’б1, действующее как на болты, так и на прокладку при монтаже, принимается наибольшим из двух значений, Н:

F’б1=F’п1=πDп.ср0,5b0qmin(42а)

где qmin - минимальная удельная нагрузка на контактной поверхности прокладки, необходимая для заполнения неровностей уплотнительных поверхностей фланцев (см. табл. 9);

F’б1=F’п1=3,14*750*10-3*0,5*13*10-3*20*106=306150 Н

F”б1=F”п1=Fп2+(1-χ)Fд+|Ft|(42б)

где температурное усилие Ft учитывается только в том случае, если оно меньше нуля (линейное расширение болтов больше, чем люка, что может привести к разгерметизации), тем самым предусматривается компенсация снижения усилия на прокладку в условиях повышенной температуры, путем увеличения усилия затяга болтов.

F”б1=F”п1=68884+(1-0,44)*397406=291431 Н

Fб1=max{F’б1;F”б1}(42в)

Fб1=306150 Н

При действии рабочего давления усилие на болты возрастает

Fб2=Fб1+χFд+Ft(43)

где температурный коэффициент Ft учитывается в том случае, если оно больше нуля (линейное расширение болтов меньше, чем у люка, что приводит к увеличению нагрузки на болты в рабочих условиях).

Fб2=306150+0,44*397406+605,5=481614 Н

Запас герметичности проверяется по формуле:

nr=Fб1/(1-χ)Fд ≥ [nr](44)

где [nr]=1,2 - нормальный запас герметичности.

nr=306150/(1-0,44)*397406=1,38 > [nr]=1,2

Проверка прочности болтов в условиях монтажа:

σб=1.3Fб1/zбАб ≤ [σб]20(45)

где коэффициент 1,3 учитывает крутящий момент, возникающий при затяжке болта из-за трения в резьбе;

б]20 - допускаемое напряжение в материале болтов при 200С, Па.

σб=1.3*306150/32*225*10-6=55,3*106 Па < [σб]20=230*106Па

Проверка прочности болтов в рабочих условиях:

σб=Fб2/zбАб ≤ [σб](46)

где [σб] - допускаемое напряжение в материале болтов при рабочей температуре, Па.

σб=481614/32*225*10-6=66,9*106 Па < [σб]=230*106Па

Проверка прочности материала прокладки:

q=Fб1/πDп.срb ≤ [q](47)

где [q] - допускаемая удельная нагрузка на прокладку (см. табл. 9), Па.

q=306150/3,14*750*10-3*13*10-3=10*106 Па < [q]=130*106Па

.1.8 Расчет опор и монтажных цапф аппарата

Опоры-лапы или опоры-стойки аппарата испытывают нагрузку от общего веса аппарата в рабочих условиях, а цапфы только от веса корпуса аппарата при монтаже (без привода и жидкости). Максимальный вес аппарата Gmax рассчитывается с учетом веса всех составных частей аппарата и максимального веса среды. Веса составных частей могут быть определены точно путем вычисления или по таблицам приложения, содержащим информацию о массе типовых элементов (привод, муфта и т.д.), либо вычислены приближенно.

При приближенном вычислении веса корпуса, реальная оболочка заменяется цилиндром того же диаметра D(м), но с плоскими крышкой и днищем, в который можно «вписать» корпус аппарата высотой Н; толщина стенки принимается равной максимальной исполнительной толщине smax (см. табл. 4)[1].

Gк≈1,1ρстgsmax(πDH+2πD2/4)(48)

где ρст=7850 кг/м3 - плотность стали; 1,1 - коэффициент, учитывающий вес теплоизоляции; g≈10 м/с2.

Gк≈1,1*7850*10*14*10-3*(3,14*3*4880*10-3+2*3,14*32/4)=72654 Н

Вес привода определяется по его массе (Мпр=945 Н); коэффициент 1,2 учитывает наличие муфты, вала, мешалки, уплотнения:

Gпр≈1,2Мпрg(49)

Gпр≈1,2*950*10=11340 Н

При расчете максимального веса рабочей среды, предполагают, что аппарат объемом V заполнен полностью наиболее тяжелой жидкостью (ρс=840 кг/м3→берем ρводы=1000 кг/м3).

GсжgV(50)

где ρж - плотность воды, кг/м3.

Gс=1000*10*32=320000 Н

Максимальный вес аппарата равен, Н:

Gmax=Gк+Gпр+Gс(51)max=72654+11340+320000=403994 Н

Рабочий объем аппарата Vр с уровнем заполнения Нс, м3:

р=Vц+Vд(52)

где Vц, Vд - соответственно объемы заполнения цилиндрической части и днища (см. табл.10), м3.

Таблица 10

Формулы для расчета объемов заполнения элементов корпуса при уровне жидкости в корпусе - Нс

Элемент

Объем заполнения элемента в аппарате с эллиптическим днищем

Цилиндрическая часть

Vц=0,25πD2с-0,25D)=0.25*3.14*32*(3.6-0.25*3)=20.14 м3

Днище

Vд=πD3/24=3,14*33/24=3,53 м3

р=20,14+3,53=23,67 м3

В технической характеристике аппарата должна быть указана масса пустого аппарата и масса аппарата в рабочем состоянии , но в формулу (50) вместо номинального объема аппарата V необходимо подставить рабочий объем аппарата Vр с уровнем заполнения Нс, м3;

GсжgVр=1000*10*23,67=236700 Н

Проверочный расчет опор-стоек выполняется по следующей методике:

а) Выбранный типоразмер опоры и цапфы проверяется на грузоподъемность по условиям

Gоп=Gmax/zоп ≤ Gдоп(53а)

Gц=(Gmax-Gс-Gпр)/zц ≤ Gдоп.ц.(53б)

где Gоп, Gц - расчетные нагрузки на одну опору и цапфу, Н;

Gmax - максимальный вес аппарата при эксплуатации или гидравлических испытаниях, Н;

zоп - число опор (для опор-стоек zоп=3);

zц - число цапф (zц=2);

Gдоп, Gдоп.ц - допускаемая нагрузка на опору и грузоподъемность цапфы, Н.

Gоп=403994/3=134665 Н≈ 135 кН < Gдоп=250 кН

Gц=(403994-320000-11340)/2=36327 Н≈363кН < Gдоп.ц=160 кН

б) Проверяется прочность бетона фундамента на сжатие

σф=Gопп=Gоп/ab ≤ [σ]ф(54)

где σф - напряжение в фундаменте под опорой, Па;

Ап - площадь основания опоры (а=0,5м; b=0,45м), м2;

[σ]ф - допускаемое напряжение для бетона по ГОСТ 25192-82 при сжатии, Па.

σф=134665/0,5*0,45=0,6*106 Па=0,6 МПа

г) Устойчивость ребер (косынок) опор-стоек проверяется по напряжению сжатия, Па:

σс=1,2Gmax/zопzрbs ≤ [σ]у(55)

[σ]укр/nу=3,6Еs2/nуh2(56)

где [σ]у - допускаемое напряжение на устойчивость, Па;

σкр - критическое напряжение, Па;

b, h, s - соответственно ширина, высота и толщина ребра, м;р=2 - число ребер в опоре;

Е = модуль продольной упругости материала опор (при t=0,85tс=0,85*100=850С, Е=1,925*1011 Па);у=5 - коэффициент запаса устойчивости.

[σ]у=3,6*1,925*1011*(25*10-3)2/5*(1240*10-3)2=56,3*106 Па=56,3 Мпа

σс=1,2*403994/3*2*0,45*0,025=7,2*106 Па=7,2 МПа

σс < [σ]у

.2 Расчет элементов механического перемешивающего устройства

.2.1 Валы мешалок

а) Расчет на прочность

Вал и элементы мешалок изготавливаются из коррозионностойкого

материала. Допускаемые напряжения [σ] для материала вала принимают равными нормативным допускаемым напряжениям σ*. При кручении опасным сечением вала является участок вала диаметром d1 в месте крепления ступицы мешалки. Диаметр вала на этом участке меньше, чем диаметр всего вала d. Это сделано для удобства закрепления ступицы и предотвращения перемещения мешалки вдоль оси вала. Способ крепления неразъемных и разъемных мешалок отличается.

При работе вал мешалки испытывает, главным образом, кручение. Расчетный крутящий момент с учетом пусковых нагрузок определяется по формуле

ТкрдNм/ω(57)

где Кд - коэффициент динамичности нагрузки (для лопастных мешалок Кд=2);м - мощность, потребляемая мешалкой на перемешивание, Вт;

ω=πn/30=3,14*25/30=2,6рад/с - угловая скорость вала мешалки, рад/с;

n - частота вращения вала мешалки(см. техническое задание), об/мин;

Ткр=2*3,5*103/2,6=2692 Н*м≈2,7 КН*м

Полярный момент сопротивления сечения вала в опасном сечении рассчитывается по формуле, м3 :

Wр=πd13/16(58)

где d1 - диаметр участка вала под ступицу определяется исходя из типа и диаметра мешалки dм, м.

Wр=3,14*(80*10-3)3/16=100,48*10-6 Па

Прочность вала обеспечивается при выполнении условия прочности на кручение

τкркр/Wр ≤ [τ]кр(59)

где τкр - максимальное напряжение в сечении вала, Па;

τкр=0,5[σ]=0,5*113,4*106=56,7*106 Па=56,7 МПа

допускаемое напряжение на кручение, Па.

τкр=2692/(100,48*10-6)=26,79*106 Па=26,79 МПа < [τ]кр=56,7 МПа

б) Расчет вала на виброустойчивость

Под виброустойчивостью вала понимают его способность работать с динамическими прогибами, не превышающими допускаемых значений. Динамические прогибы вала появляются в результате действия на вал неуравновешенных центробежных сил, которые возникают от неизбежных при монтаже смещений центров тяжести вращающихся масс (мешалки, сечений вала) с оси вращения. Динамический прогиб направлен в сторону центробежной силы.

С ростом угловой скорости вала ω, его динамические прогибы уд сначала растут, достигая максимального значения уд.max при некотором значении ω=ωкр, которое называется критическим, а затем убывают (рис. 5). Угловая скорость вала при ω=ωкр называется резонансной, в связи с чем графическую зависимость уд=f(ω) на рис.6 называют резонансной кривой. Вертикальная линия, проходящая через координату ω=ωкр делит график уд=f(ω) на две области. Валы, работающие в области ω < ωкр называются жесткими. Валы, работающие в области ω > ωкр называются гибкими. Жесткие валы виброустойчивы в заштрихованной зоне I, где их динамические прогибы не превышают допускаемые значений. Гибкие валы виброустойчивы в зоне II, где их динамические прогибы также не превышают допускаемых значений. Длительность работы вала в зоне III - зоне повышенных динамических прогибов, недопустима, так как может привести к нарушению условий жесткости в местах, где эти условия выполнять необходимо. Это, в частности, касается мест установки подвижного уплотнения вала, где может быть нарушено условие жесткости по прогибам (уд ≤ [уд]) и места установки подшипников, где могут быть нарушены условия жесткости по угловым перемещениям вала.

Рис. 5 - Зависимость динамических прогибов вала уд от угловой скорости ω

Кроме того, центробежные силы при значительных динамических прогибах могут вызвать опасные изгибающие моменты в некоторых сечениях вала и привести его к поломке из-за нарушения условия прочности. Наиболее надежной следует считать работу вала в зоне I, так как после пуска вал не проходит через опасную зону III, однако гибкие валы экономичнее жестких по затратам материала, поскольку при прочих равных условиях имеют заметно меньший диаметр. Гибкие валы с мешалками, работающие в зарезонансной зоне допускают к запуску только в жидкости, так как она демпфирует колебания вала, т.е. уменьшают прогибы. Зона IV - зона неустойчивой работы вала с мешалкой в жидкости.

Расчет критической скорости выполняется на основе РДРТМ 26-01-72-82.

Длина консоли вала, т.е. расстояние от нижнего подшипника до середины ступицы, м:

е1=Н+h0+h1-hм(60)

где Н - высота корпуса аппарата ( Н=4880мм); h0 - высота опоры (бобышки) для стойки в привода (h0=60мм); h1 - расстояние от нижнего подшипника в приводе до опоры под привод на крышке корпуса аппарата (h1=820мм), м; hм - расстояние от днища корпуса до середины ступицы мешалки (см.табл.3), м.

е1=(4880+60+820-540)*10-3=5,22 мм

Правильность расчетной длины е1 контролируется ее соответствием длине е1 на эскизе компоновки аппарата.

Полная длина вала, м:

е=е12(61)

где е2 - длина пролета, т.е. расстояние между подшипниками (е2=800мм), м.

е=5,22+0,8=6,02 м

Относительные длины консоли ẽ1 и пролета ẽ2.

1=e1/e(62)

1=5,22/6,02=0,8671

2=1-ẽ1(63)

2=1-0,8671=0,1329

Масса вала, кг

mв=(π/4)d2ρстe(64)

где d - диаметр вала (d=95 мм), м; ρст=7850 кг/м3 - плотность стали.

mв=(3,14/4)*0,0952*7850*6,02=334,8 кг

Коэффициент приведения массы вала q вычисляется по формуле (65) или приближенно определяются по графику (рис.6).

q=(8ẽ25+140ẽ22 13+231ẽ2 14+99ẽ15)/420ẽ12(65)

q=(8*0,13295+140*0,13292*0,86713+231*0,1326*0,86714+99*0,86715)/420

,86712=0,21

Правильность выполнения расчета контролируется по графику

Рис. 6 Коэффициент приведения масса вала q=f(ẽ1)

Осевой момент инерции поперечного сечения вала, м4

Iz=πd4/64(66)

Iz=3,14*0,0954/64=3,996*10-6 м4

Приведенная жесткость вала, Н/м

Кпр=(3ЕIz)/(е12 е)(67)

Кпр=(3*1,91*1011*3,996*10-6)/(5,222*6,02)=13959 Н

Приведенная суммарная масса мешалки и вала, кг

mпр=m+qmв(68)

где m - масса мешалки (m=54 кг)

mпр=54+0,21*334,8=124,3 кг

Критическая угловая скорость вала в воздухе ωкр, рад/с

ωкр= √ Кпр/mпр(69)

ωкр= √ 13959/124,3=10,6 рад/с

Виброустойчивость вала проверяют по условию:

а) жесткий вал

ω/ωкр ≤ 0,7(70а)

б) гибкий вал

,3 ≤ ω/ωкр ≤ 1,6(70б)

где ω угловая скорость вращения вала, рад/с.

ω/ωкр=2,6/10,6=0,245 ≤ 0,7=> условие выполняется для жесткого вала

Предельная угловая скорость для жесткого вала

ωпр=0,7ωкр(71)

ωпр=0,7*10,6=7,4 об/мин

в) Проверочный расчет вала на усталость

Усталость материала - изменение состояния материала в результате длительного действия переменной нагрузки, приводящее первоначально к появлению в детали микротрещин, далее к их прогрессирующему нарастанию, а затем к внезапному разрушению после определенного срока эксплуатации. При этом величина максимальных переменных напряжений в детали может быть существенно ниже предела текучести σт.

Цель проверочного расчета вала на усталость заключается в определении коэффициента запаса S прочности по переменным напряжениям и сравнении его с допускаемым значением [S]. Проверке подлежит одно из опасных сечений вала: участок вала под напрессованным на него нижним подшипником привода. В этом сечении вала изгибающие моменты М и М от действия центробежной силы и поперечной гидродинамической силы - максимальны.

Суммарный эксцентриситет, т.е. смещение центра масс мешалки относительно оси вращения из-за неточности изготовления и сборки вала и мешалки - это сумма собственного эксцентриситета мешалки ем и половины биения вала δ, т.е.

е=ем+0,5δ(72)

рекомендуется принять ем=4*10-4*е (где е -длина вала, м) =>

ем=4*10-4*6,02=24,08*10-4 м; δ=0,001 м.

е=24,08*10-4+0,5*0,001=29,08*10-4 м

С учетом динамического прогиба уд и приведенной суммарной массы мешалки и вала mпр(68) центробежная сила равна, Н

Fц=mпрω2д+е)=mпрω2е[1/(1-(ω/ωкр)2](73)

Fц=124,3*2,62*29,08*10-4*[1/(1-(2,6/10,6)2]=2,6 Н

Приведенная к мешалке среднее значение максимальной поперечной гидродинамической силы (с учетом гидродинамического сопротивления вала), Н

Fм=(2,6kмkвρсω2dм6) / 3√ (D2Hс)2(74)

где kм - коэффициент сопротивления мешалки (для лопастной в гладкостенном аппарате kм=0,012); kв≈1,1 - коэффициент, учитывающий гидродинамическое сопротивление вала; ρс - плотность среды, кг/м3; ω - угловая скорость вала мешалки, рад/с; dм - диаметр мешалки, м; D - внутренний диаметр корпуса, м; Hс - высота жидкости в аппарате, м.

Fм=(2,6*0,012*1,1*840*2,62*1,86) / 3√ (32*3,6)2=651 Н

Средние σmm и максимальные амплитуды σаа значения напряжений в опасном сечении вала, Па

σm/Wн.о=Fце1/Wн.о(75)

σа/Wн.о=Fме1/Wн.о(76)

τmкркр/Wр(77)

τа≈0,2τкр(78)н.о=πd3/32(79)

Wр=πd3/16(80)

где Wн.о,Wр соответственно, осевой и полярный моменты сопротивления сечения вала, м3; е1 - длина консольной части вала (60), м; d - диаметр вала (d=95 мм), м; Ткр - крутящий момент (57), Нм.

н.о=3,14*0,0953/32=84,13*10-6 м3

Wр=3,14*0,0953/16=168,26 10-6 м3

σm=(2,6*5,22)/(84,13*10-6)=0,16*106 Па=0,16 МПа

σа=(651*5,22)/(84,13*10-6)=40,39*106 Па=40,39 МПа

τmкр=2692/(168,26*10-6)=16*106 Па=16 МПа

τа≈0,2*16*106=3,2*106 Па=3,2 МПа

Коэффициенты запаса прочности вала по нормальным и касательным напряжениям определяются с учетом по формулам

Sσ-1/[(1/kу)(kσ/kd+k-1)σаσσm](81а)

Где:

σ-1≈σв(0,55-10-10σв)≈410*106*(0,55-10-10*410*106=208,69*106 Па=

=208,69 МПа

предел выносливости по нормальным напряжениям при симметричном цикле, Па;

σв - предел прочности материала вала (для стали 20 при 200С σв=410*106 Па);у - коэффициент влияния поверхностного упрочнения (участок вала подлежит термообработке kу≈1,25);σ - эффективный коэффициент концентрации нормальных напряжений;d - коэффициент влияния абсолютных размеров поперечного сечения (kσ/kd=3,31);

k - коэффициент влияния шероховатости (k=1,1);

ψσ≈(0,02+2*10-10σв)=(0,02+2*10-10*410*106)=0,102

коэффициенты чувствительности материала к ассиметрии цикла по нормальным напряжениям.

Sσ=208,69*106/[(1/1,25)*(3,31+1,1-1)*40,39*106+0,102*0,16*106]=2

Sτ-1/[(1/kу)(kτ/kd+k-1)τаττm](81б)

Где

τ-1=0,6σ-1=0,6*208,69*106=125,214*106 Па=125,214 МПа

предел выносливости по касательным напряжениям при симметричном цикле, Па;τ - эффективный коэффициент концентрации касательных напряжений;d - коэффициент влияния абсолютных размеров поперечного сечения (kτ/kd=1,98);

k - коэффициент влияния шероховатости (k=1,05);

ψτ=0,5ψσ=0,5*0,102=0,051

коэффициенты чувствительности материала к ассиметрии цикла по касательным напряжениям.

Sτ=125,214*106/[(1/1,25)(1,98+1,05-1)*3,2*106+0,051*16*106]=20,8

Общий коэффициент запаса прочности S должен превышать минимально допустимое значение коэффициента запаса прочности для вала мешалки [S]=2

S=SσSτ/ √ (Sσ2+Sτ2) ≥ [S](82)=2*20,8/ √ (22+20,82)=2=[S]

.2.2 Мешалки

Стандартные мешалки, выбранные по типу и диаметру, предварительно проверяют по допустимому крутящему моменту [T]кр.

Tкр ≤ [T]кр(83)

где Tкр - расчетный крутящий момент (57), Н*м.

кр =2,7 кН*м < [T]кр=2 кН*м → условие не выполняется.

Допустимый крутящий момент [T]кр указанный в стандартах не учитывает характеристик конкретного материала, из которого изготовлена мешалка, а также условий эксплуатации. Материал мешалок принимается таким же, как материал стенок корпуса аппарата, соприкасающийся с рабочей средой: допускаемые напряжения при расчетной температуре [σ]=σ*=142*106 Па. Если условия прочности не выполняются, подбирают более прочный коррозионно-стойкий материал, увеличивают толщину лопасти (перекладины, ребра жесткости) или 2-3 раза снижают срок службы мешалки. При назначении увеличенной толщины лопасти мешалка становится нестандартной. С целью проверки прочности мешалки, предназначенной для работы в течение заданного срока службы необходимо выполнить ряд расчетов.

Рис.7 - Лопастная мешалка типа 07

Расчетная толщина лопасти Sлр и ребра жесткости Sрр, м:

лр=Sл-2с(84а)рр=Sр-2с(84б)

где Sл,Sр - исполнительные толщины лопасти и ребра жесткости мешалки (Sл=Sр=14 мм), м;

с - односторонняя прибавка для компенсации коррозии, мм.

лр=Sрр=14-2*1=12 мм

а) Расчет лопастных мешалок.

Сила, вызывающая изгиб лопасти, Н:

Fл=Tкр/0,4dмzл(85)

где Tкр - расчетный крутящий момент (57), Н*м;

,4dм - условный радиус приложения сосредоточенной гидродинамической силы;

zл=2 - число лопастей у мешалки.

Fл=2692/0,4*0,18*2=1869 Н

Изгибающий момент Ми в месте приварки лопасти к ступице определяется с учетом условного радиуса приложения сосредоточенной гидродинамической силы, Нм:

Ми=Fл(0,4dм-0,5dс)(86)

Ми=1869*(0,4*1,8-0,5*0,15)=1205,5 Н*м

Рис. 8 Схема к расчету стыковых швов рамных и лопастных мешалок

Рекомендуемая высота сечения лопасти вместе с ребром жесткости, м:

hТ=(πdс)/8(87)

где dс - диаметр ступицы, м.

hТ=(3,14*0,15)/8=0,05888 м=58,88*10-3 м

Площади поперечных сечений (м2) лопасти Ал и ребра жесткости Ар вычисляют по следующим формулам:

Ал=bлSлр(88)

Ал=0,18*12=2,16*10-3 м2

Ар=(hт-Sлр)Sрр(89)

Ар=(58,88-12)*10-3*12*10-3=0,563*10-3 м

Расстояние между центрами тяжести сечений лопасти и ребра жесткости, м:

а=0,5hт(90)

а=0,5*58,85*10-3=29,44*10-3 м

Расстояние от начала координат системы Z-Y (центр тяжести лопасти) до центра тяжести всего сечения, м:

zсра/(Алр)(91)

zс=0,563*10-3*29,44*10-3/(2,16+0,563)*10-3=6,08*10-3 м

Осевой момент инерции сечения стыкового сварного шва для лопасти с ребром жесткости относительно найденной нейтральной оси Y', м4:

IY'=Sлр3bл/12+zс2Ал+(hт-Sлр)3Sрр/12+(а-zс)2Ар(92)

IY'= 0,0123*0,18/12 + (6,08*10-3)2*2,16*10-3 + (0,059 - 0,012)3 * 0,012/12 +

(29,44 - 6,08)2*10-6*0,563*10-3=616,6*10-9 м4

Координата опасных точек, в которых действуют максимальные напряжения при изгибе определяются по формуле, м:

zmax=hT-0,5Sлр-zc(93)

zmax=0,0588-0,5*0,012-6,08*10-3=46,7*10-3 м

Осевой момент сопротивления WY' сечения стыкового шва, м3:

Y'=IY'/zmax(94)Y'=616,6*10-9/(46,7*10-3)=13,2*10-6 м4

Проверка прочности мешалок в месте приварки лопастей к ступице выполняются по условию прочности на изгиб

σ=Ми/WY' ≤ [σ]'(95)

[σ]'=φ[σ](96)

где σ - максимальное напряжение в материале шва, Па;

[σ]' - допускаемое напряжение для материала сварного шва, Па;

[σ] - допускаемое напряжение для материала мешалки при расчетной температуре, Па;

φ=0,8 - коэффициент прочности стыкового сварного шва для таврового соединения двусторонним швом при сварке вручную.

[σ]'=0,8*142*106=113,6*106 Па

σ=1205,5/(13,2*10-6)=91,3*106 Па

σ=91,3 МПа < [σ]'=113,6 МПа

.2.3 Шпоночное соединение ступицы мешалки с валом

Крутящий момент с вала на ступицу мешалки передается при помощи призматической шпонки (рис.9), размещенной в шпоночных пазах вала и ступицы. Боковые грани на половине своей высоты шпонки испытывают напряжения смятия σсм, а продольное сечение - напряжение среза τср. Шпонку рекомендуется изготавливать из того же материала, что и вал. Допускаемые напряжения [σ] принимаются равные нормативным допускаемым напряжениям σ* при температуре рабочей среды.

Рис. 9 Схема к расчету шпоночного соединения

Для ступиц мешалок рекомендуется применять высокие шпонки, размеры поперечного сечения которых выбирают исходя из диаметра вала d1 на участке под ступицей.

Длину призматической шпонки еш (м) назначают конструктивно с учетом высоты ступицы hc(hc=200мм).

еш=hc-(0,01ч0,02)(97)

Полученное значение до стандартного еш из ряда (по ГОСТ 23360-70), мм.

еш=200-(0,01ч0,02)→180мм

Сила, вызывающая смятие, Н:

F=Tкр/(0,5d1)(98)

где d1 - диаметр вала под ступицу мешалки (см. рис.9).

F=2692/(0,5*0,08)=67300 Н

Минимальная поверхность смятия (м2) определяется по формуле

Асм=(еш-b)(h-t)(99)

Таблица 10

Размеры сечений высоких шпонок и пазов по ГОСТ 10748-79, мм

Диаметр вала

Размер сечений шпонок

Глубина паза

d1

b

rmax

h

еш

t

t1

Свыше 75 до 85

22,0

0,6

20,0

63-250

12,0

8,4


Асм=(180-22)*(20-12)=1264 мм

Условие прочности шпонки на смятие:

σсм=F/Асм ≤ [σ]см(100)

где σсм - напряжение смятия на боковой поверхности шпонки, Па;

[σ]см=1,5[σ]см=1,5*126*106=189*106 Па

допускаемое напряжение на смятие материала шпонки, Па.

σсм=67300/1,264=53244 Па < [σ]см=189*106 Па

.2.4 Муфты

Муфты, выбранные по диаметру вала при эскизной компоновке аппарата, проверяются на нагрузочную способность по условию:

Тр.мкр3 ≤ Тном(101)

где Тр.м - расчетный крутящий момент на участке вала под муфту, Н*м;

η3 - КПД подшипников и уплотнения, вводимые в расчет с учетом схемы привода (η3=0,98);

Тном - номинальный (допустимый) крутящий момент для выбранного типоразмера муфты (соединение валов продольно-разъемной муфтой, т.к используется 2-ой привод 3-его габарита, имеющий значительный вес), Н*м.

Тр.м=2692/0,98=2747 Н*м≈2,7 кН*м < Тном=4 кН*м

.2.5 Сальниковое уплотнение

Марка набивки по ГОСТ 5152-84 - АП (асбестовая с антифрикционной добавкой).

Требуемое давление втулки на сальниковую набивку рс, Па:

рс=(рраб/k)е(4μkh/(dk-d))(102)

где k=px/py=0,5 - коэффициент бокового давления сальниковой набивки;

μ=0,1 - среднее значение коэффициента трения между набивкой и валом, набивкой и стенкой камеры;

h=110 мм - высота набивки, м;

d,dk - соответственно диаметр вала и камеры (d=95 мм,dk=120 мм), м.

рс=(0,9/0,5)*2,74(4*0,1*0,5*110/(120-95))=4,37 МПа

Рисунок 10 - Схема к расчету сальникового уплотнения: 1 - вал, 2 - втулка нажимная, 3 - набивка, 4 - корпус, 5 - шпилька

Усилие затяга шпилек нажимной втулки определяется по формуле

Fз=(π/4z)(dk2-d2)pc(103)

где z число шпилек (z=8).

Fз=(3,14/4*8)(1202-952)*4,37=2305 Н

Шпильки проверяются на прочность по условию

σ=1,3Fзб ≤ [σ]ш(104)

где σ - расчетное напряжение, Па; 1,3 - коэффициент, учитывающий напряжение кручения, возникающие при затяжке шпилек в процессе эксплуатации уплотнения; Аб - расчетная площадь сечения шпильки (Аб=76*10-6 м2), м2; [σ]ш=σ* - допускаемое напряжение для материала шпильки из стали 40 при температуре среды, Па.

σ=1,3*2305/(76*10-6)=39,4*106 Па=39,4 МПа < [σ]ш=130 МПа

ЗАКЛЮЧЕНИЕ

Экономичность изготовления и надежности в работе аппарата с мешалкой в значительной мере зависят от правильного выбора материалов. Экономичность определяется затратами средств на проектирование, изготовление, монтаж, эксплуатацию и утилизацию оборудования после истечения его срока службы. Надежность - это свойство изделия выполнять заданные функции, сохраняя свои эксплуатационные показатели в заданных пределах в течение заданного срока службы (в химической промышленности 10-15 лет).

Для изготовления аппарата, предназначенного для нефтепродуктов с температурой среды 1000С, с корпусом 10 (Тип ВЭЭ - вертикальный цельносварной с двумя эллиптическими днищами) подходят качественные углеродистые стали по ГОСТ 1050-88 - 20, 20К, 40 - с повышением содержания углерода прочность стали увеличивается, а пластичность снижается.

Рабочее, расчетное, пробное и условное давление относятся к параметрам, которые подлежат предварительному определению. Данные параметры устанавливаются в соответствии с правилами Госгортехнадзора ПБ 10-115-96 и ГОСТ 14249-89.

Рабочее давление: рраб = ри.= 0,9 МПа

Гидростатическое давление: рг=0,03 МПа

Расчетное внутреннее давление: рр.в =0,9МПа

Расчетное наружное давление: рр.н =0,05МПа

Пробное давление: рпр=1,16МПа

Условное давление: ру =1МПа

Аппарат, имеет 2-ой привод 3-его исполнения - номинальная мощность электродвигателя Nн=5,5 кВт.

Элементы аппарата, находящиеся в контакте с рабочей средой, из-за коррозии с течением времени уменьшаются по толщине. Прибавка для компенсации коррозии с=1мм.

Исполнительная толщина стенок оболочек S=14 мм (для всего корпуса).

Важными техническими характеристиками аппарата являются допускаемые (предельные) внутреннее и наружное давления, которые определяют возможные технологические резервы. Допускаемое внутреннее давление рд.в=0,93 МПа, допускаемое наружное давление рд.н=0,42 МПа.

На основании ГОСТ 24755-89 расчет укрепления отверстий в оболочках корпуса проводится по геометрическому критерию. Для обеспечения прочности оболочки вблизи отверстия площадь продольного сечения в виде прямоугольника А (рис.2) должна быть компенсирована суммой площадей А0, А13, образованных дополнительной толщиной основной оболочки и стенки штуцера (рис.2а). Условие укрепления отверстия за счет стенки люка и оболочки выполняется А≤А013.

Герметичность фланцевого соединения обеспечивается правильным подбором материала прокладки и учетом действующих усилий. Элементы фланцевого соединения (болты и прокладки) проверяются на прочность.

Податливость болтов соединения λб=5,5*10-11 м/н

Податливость прокладки λп=4,4*10-11 м/н

Запас герметичности, проверка прочности болтов в условиях монтажа и в рабочих условиях и проверка прочности материала прокладки выполняются.

Допускаемая нагрузка на опору и грузоподъемность цапфы, проверка прочности бетона фундамента на сжатие и устойчивость ребер (косынок) опор-стоек выполнены.

Максимальный вес аппарата Gmax=403994 Н

Рабочий объем аппарата Vр с уровнем заполнения Нс - Vр=23,67 м3

При работе вал мешалки испытывает, главным образом, кручение.

Прочность вала обеспечивается при выполнении условия прочности на кручение τкркр/Wр ≤ [τ]кр→выполняется.

Под виброустойчивостью вала понимают его способность работать с динамическими прогибами, не превышающими допускаемых значений. Динамические прогибы вала появляются в результате действия на вал неуравновешенных центробежных сил, которые возникают от неизбежных при монтаже смещений центров тяжести вращающихся масс (мешалки, сечений вала) с оси вращения. Динамический прогиб направлен в сторону центробежной силы. Виброустойчивость жесткого вала проверяют по условию ω/ωкр ≤ 0,7.

Предельная угловая скорость для жесткого вала ωпр=7,4 об/мин

Усталость материала - изменение состояния материала в результате длительного действия переменной нагрузки, приводящее первоначально к появлению в детали микротрещин, далее к их прогрессирующему нарастанию, а затем к внезапному разрушению после определенного срока эксплуатации. При этом величина максимальных переменных напряжений в детали может быть существенно ниже предела текучести σт.

Общий коэффициент запаса прочности S должен превышать минимально допустимое значение коэффициента запаса прочности для вала мешалки [S]=2→выполняется.

Материал мешалок принимается таким же, как материал стенок корпуса аппарата, соприкасающийся с рабочей средой: допускаемые напряжения при расчетной температуре [σ]=σ*=142*106 Па. Условия прочности не выполняются, подбирают более прочный коррозионно-стойкий материал, увеличивают толщину лопасти (перекладины, ребра жесткости) или 2-3 раза снижают срок службы мешалки. При назначении увеличенной толщины лопасти мешалка становится нестандартной.

Сила, вызывающая изгиб лопасти мешалки Fл=1869 Н.

Рекомендуемая высота сечения лопасти мешалки вместе с ребром жесткости hТ=58,88*10-3 м.

Проверка прочности мешалок в месте приварки лопастей к ступице выполняется.

Муфты, выбранные по диаметру вала при эскизной компоновке аппарата, проверяются на нагрузочную способность. Проверка выполняется (Тном=4кН*м).

Требуемое давление втулки на сальниковую набивку рс=4,37 МПа

Усилие затяга шпилек нажимной втулки Fз=2305 Н

Шпильки проверяются на прочность - условие выполнено.

По результатам проектных расчетов определяются размеры типовых элементов.

ЛИТЕРАТУРА

1. Луцко А.Н., Телепнев М.Д., Барановский В.М., Борисов В.З., Яковенко В.А., Марцулевич Н.А. Прикладная механика: Пособие по проектированию. - Изд. 3-е, перераб. и доп. - СПб.: Изд-во СПбГУЭФ, 2005.

2.      Расчет и конструирование машин и аппаратов химических производств: Примеры и задачи/ М.Ф. Михеев, Н.П. Третьяков, А.И. Мильченко, В.В. Зобнин/ Под ред. М.Ф. Михалева. - Л.: Машиностроение,1984.-301с.

.        СТП СПбГТИ 044-99. Стандарт предприятия. Комплексная система управления качеством деятельности вуза. Виды учебных занятий. Курсовой проект (работа). Семестровая работа. Общие требования.


Не нашли материал для своей работы?
Поможем написать уникальную работу
Без плагиата!
Без нейросетей!