Виды механизмов и их структурные схемы

  • Вид работы:
    Реферат
  • Предмет:
    Другое
  • Язык:
    Русский
    ,
    Формат файла:
    MS Word
    1,18 Мб
  • Опубликовано:
    2012-05-13
Вы можете узнать стоимость помощи в написании студенческой работы.
Помощь в написании работы, которую точно примут!

Виды механизмов и их структурные схемы

Министерство образования и науки рф

национальный исследовательский

томский политехнический университет

Юргинский технологический институт

Кафедра "ММФ"






Реферат

ВИДЫ МЕХАНИЗМОВ И ИХ СТРУКТУРНЫЕ СХЕМЫ

Содержание

Введение

. Шарнирный четырехзвенный механизм

. Кривошипно-ползунный механизм

. Кулисный механизм

. Пространственные механизмы с низшими парами

. Кулачковые механизмы

. Зубчатые механизмы (передачи)

. Фрикционные механизмы

. Механизмы с гибкими звеньями

. Крестовидные (мальтийские) механизмы

. Шаговый храповый механизм

. Гидравлические и пневматические механизмы

Список литературы

Введение

Все механизмы, составленные из твердых тел, делятся на две группы: механизмы с низшими парами, которые называются стержневыми или рычажными, и механизмы с высшими парами. Те и другие могут быть плоскими и пространственными. Из механизмов с низшими парами наиболее распространены рычажные, клиновые, с высшими парами - кулачковые, зубчатые, фрикционные, мальтийские и храповые.

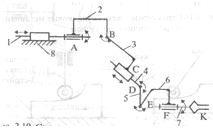
1. Шарнирный четырехзвенный механизм

Различают три разновидности этого механизма (рис. 1): двухкривошипный, в котором начальное звено 1 и выходное звено 3 совершают полный оборот (в этом случае звенья 1 и 3 называются кривошипами); кривошипно-коромысловый, когда звено 1 совершает полный оборот (является кривошипом), а звено 3 совершает возвратные движения (является коромыслом); двухкоромысловые, когда звенья 1 и 3 совершают ограниченные движения (являются коромыслами). Этот механизм служит для преобразования одного вида вращательного движения в другое и применяется в ковочных машинах, качающихся конвейерах, прокатных станах, муфтах сцепления, приборах.

Рис. 1. Шарнирный четырехзвенный механизм

. Кривошипно-ползунный механизм

Этот механизм (рис. 2) служит для преобразования вращательного движения кривошипа в возвратно-поступательное движение ползуна, если начальным звеном является кривошип, и, наоборот, возвратно-поступательного движения во вращательное, если начальным звеном является ползун.

Рис. 2. Кривошипно-ползунный механизм

Применяется такой механизм в паровых машинах, двигателях внутреннего сгорания (ДВС), поршневых насосах, поршневых компрессорах, приборах.

. Кулисный механизм

Кулисный механизм (рис. 3, 2.4) служит для преобразования одного вида вращательного движения (звено 1) в другое (звено 3 на рис. 3) или непрерывного вращательного движения (звено 1) в возвратно-поступательное движение( звено 5 на рис. 4).

Приведенные на рис. 3 и 2.4 механизмы являются механизмами с качающейся кулисой. Такие четырехзвенные шестизвенные кулисные механизмы применяются в строгальных и долбежных станках, поршневых насосах, компрессорах гидроприводах, приборах.

Рис. 3. Кривошипно-кулисный механизм

-кривошип; 2- ползун (кулисный камень); 3-кулиса; 4-стойка

Рис. 4. Кулиснo-ползунный механизм

Существуют и другие разновидности кулисных механизмов (рис,2.5, 2.6, 2.7). В гидроприводах широко применяется конструкция коромыслово-кулисного механизма, в котором кулису с кулисным камнем заменяют цилиндр 3 с поршнем 2 (рис. 7).

Рис. 5. Механизм с вращающейся кулисой

- кривошип; 2-ползун; 3- кулиса; 4- шатун; 5- ползун; 6-стойка

Рис. 6. Кривошипно-кулисный механизм третьего класса

Рис. 7. Коромысловo-кулисный механизм

. Пространственные механизмы с низшими парами

таким механизмам относится механизм универсального шарнира (шарнира Гука, или карданной передачи), изображенный на рисунках 2.8 и 2.9.

Этот механизм предназначен для передачи вращательного движения между вaлaми, оси которых пересекаются. Входное 1 и выходное З звенья выполнены в виде вилок, звено 2 - в виде крестовины (рис. 9). Универсальный шарнир применяется в автомобилях, станках, приборах.

Рис 2.8 шарнир Гука

Рис. 9. Структурная схема шарнира Гука

На рисунке 2.10 изображена структурная схема рычажного механизма промышленного робота. Это механизм c незамкнутой кинематической цепью, состоящей из одноподвижных кинематических пар.

Рис. 10. Структурная схема рычажного механизма промышленного робота

. Кулачковые механизмы

Кулачковый механизм-это механизм, в состав которого входит кулачок (рис. 1 1, 2.12). Кулачок 1 имеет рабочую поверхность переменной кривизны и образует с взаимодействующим с ним звеном 2 двухподвижную пару (ВП)

Рис. 1 1.Структурные схемы кулачковых механизмов с вращающимся кулачком

Рис. 12. Структурные схемы кулачковых механизмов с поступательно движущимся кулачком

Кулачковый механизм предназначен для преобразования вращательного движения кулачка в поступательное движение.• толкателя (рис. 11,а) или качательное движение коромысла (рис. 11,б) поступательного движения кулачка - в качательное движение коромысла (рис. 12,а) или в поступательное движение толкателя (рис. 12,б)

Основное достоинство кулачковых механизмов состоит в том, что задавая соответствующий профиль кулачку, можно легко получить любой наперед заданный закон движения взаимодействующего c ним звена (толкателя, или коромысла)

Кулачковые механизмы бывают плоскими (рис. 11) и пространственными (рис. 13).

Рис2.13 Структурная схема пространственного кулачкового механизма с коническим вращающимся кулачком

-кулачок; 2-толкатель; 3-стойка


6. Зубчатые механизмы (передачи)

Зубчатым механизмом (или зубчатой передачей) называется передаточный механизм, в котором подвижные звеньями являются зубчатые колеса, образующие со сто или водилом вращательные или поступательные пары[1].

Зубчатые механизмы передают вращение от одного вала к другому посредством сопряжения зубчатых колес и меняют величину угловой скорости, а также вращающего момента на ведомом валу.

Зубчатые механизмы, понижающие угловую скорость называются редукторами, а повышающие угловую скорость мультипликаторами.

Зубчатые механизмы бывают плоскими и пространственными. B плоских механизмах оси вращения параллельны. В таких механизмах применяются цилиндрические зубчатые колеса.

Если оси вращения звеньев пересекаются или скрещиваются, то в первом случае зубчатые колеса образуют коническую зубчатую передачу, во втором - гиперболоидную зубчатую передачу (гипоидную, винтовую, червячную).

Простейший (элементарный) зубчатый механизм стоит из одной пары зубчатых колес и стойки (рисунки 2.14, 2.16, 2.17) B механизме, показанном на рисунке 2.17, одно из звеньев (звено 2) выполнено в виде зубчатой рейки, к относительно стойки может совершать только поступательное движение.

рис.  14. Цилиндрическая передача с внешним зацеплением

Рис. 15. Коническая передача

Рис. 16. Цилиндрическая передача с внутренним зацеплением

Рис. 17 Реечная передача

К более сложным зубчатым механизмам (Рис 2.18) относятся многоступенчатый редуктор (каждая пара зубчатых колёс называется ступенью), рядовая зубчатая передача (рис 2.19),

Рисунок 2.18 трёхступенчатый цилиндрический редуктор

Сателлитные зубчатые механизмы (дифференциальные и планетарные).

Сателлитными зубчатыми механизмами называются такие, в которых ось хотя бы одного зубчатого колеса является подвижной. Колёса с подвижными осями называются сателлитами.

Рисунок 2.19 Рядовая передача

На рис 2.20 а изображен планетарный сателлитный механизм. В этом механизме колесо 2 (сателлит) вращается со своей осью по окружности вокруг неподвижной оси центральных колёс 1,3 и вращает (ведет за собой) связанное с ним звено Н, называемое водилом. Колесо 3 (с внутренним зацеплением) жестко соединено со стойкой, то есть является неподвижным.

В отличие от планетарных в дифференциальных механизмах все колёса вращаются (рис 2.20 б).

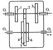
К зубчатым механизмам относятся и коробки скоростей, в которых в отличие от редукторов с постоянным передаточным отношением, производится ступенчатое изменение передаточного отношения (рис2.21). передаточное отношение показывает, во сколько раз с помощью зубчатого механизма снижается или повышается угловая скорость.

На ведущем валу О1О1 закреплены зубчатые колеса 1,2,3 на ведомом валу О2О2 - тройной блок зубчатых колёс 4,5,6.

Рис. 20. Сателлитный механизм. a-планeтарный; б-дифференциальный

Рис. 21.Схема трехступенчатой коробки скоростей

Перемещая ведомый вал в осевом направлении вместе с зубчатыми колесами 4, 5, б, можно осуществить зацепление 1-4, 3-6, или 2-5 (изображено на схеме). В зависимости от зацепления будет изменяться величина передаточного отношения

Зубчатые механизмы применяются в станках, автомобилях тракторах, счетно-решающих устройствах и приборах. Трудно назвать какой-либо сложный механизм или машину, зубчатых механизмов. Например, в двигателе автомобиля зубчатые механизмы применяются для передачи движения от коленчатого вала ко всем другим валам, приводящим в движение клапаны, насосы, генераторы, компрессоры и так далее Кроме того, в автомобиле есть коробка скоростей и дифференциальный механизм для передачи движения от двигателя на два независимых ведущих колеса. В последнее время в устройствах приборов и системах управления широкое применение находят волновые зубчатые передачи с гибкими звеньями (рис. 22).

Рис. 22. Волновая передача

Одно из зубчатых колес волновой передачи делается гибким и может деформироваться. Устройство, вызывающее деформацию гибкого колеса, называется генератором и может выполняться разными способами, например, в виде рычага с роликами. Волновые передачи позволяют осуществлять большие передаточные отношения, высокую кинематическую точность, а главное - передавать механическое движение через герметичную стенку.

В изображенном на схеме (рис. 22) механизме гибкое колесо 1 герметично закреплено на стенке, передача осуществляется от генератора волн 3 через гибкое колесо 1 к жесткому колесу 2. Такие передачи могут применяться для управления агрегатами в космосе, в электронной, атомной и химической промышленности.

. Фрикционные механизмы

Фрикционный механизм (или передача) - это устройство, в котором передачу движения, разгон или торможение осуществляют благодаря силам трения между прижимав друг к другу телами.

Простейший фрикционный механизм состоит извращающихся круглых цилиндров 1,2 и стойки 3 (рис. Звено 1 вращается вокруг неподвижного центра 01; звено вращается в подшипниках, которые могут перемещаться в неподвижных направляющих. Силовое замыкание двухподвижной кинематической пары (1-2) осуществляется пружинами 4. Передаточное отношение в таком механизме является величиной постоянной.

Рис. 23. Простейший фрикционный механизм

и 2-вращающиеся диски; 3- стойка;

Есть фрикционные механизмы, в которых передаточное отношение можно регулировать (рис. 24, 2.25).

Рис 2.24 бесступенчатая лобовая фрикционная передача

-каток (ролик), 2- диск, 3 - стойка, пружины

На рис. 24 изображён лобовой фрикционный механизм, в котором каток может перемещаться вдоль своей оси и устанавливаться на различных расстояниях от оси вращения диска 2 , вращающегося с постоянной угловой скоростью. При изменении положения звена 1 будет изменяться и его угловая скорость. Изменения угловой скорости можно осуществлять плавно. Фрикционные механизмы, в которых передаточнoe отношение можно регулировать, называются бесступенчатыми передачами.

Рис. 25. Бесступенчатая коническая передача

-конический барабан; 2-ролик; 3-стойка; 4- пружины

На рис. 25 показана схема бесступенчатой конической фрикционной передачи.этой передаче ролик 2 образует поступательную с валом A (может скользить по валу А), но угловые скорости ролика и вала всегда одинаковы. Перемещение ролика 2 вдоль вала A, которое осуществляется специальными приспособлениями, приводит к изменению рабочего радиуса конического барабана и соответственно передаточного отношения.

Фрикционные передачи применяются в колодочных и дисковых тормозах, в механизмах для плавного бесступенчатого изменения скорости, в качестве предохранительных устройств (фрикционные муфты) для избежания поломок при перегрузках, так как фрикционные передачи обладают той особенностью, что при перегрузке, то есть при увеличении передаваемого момента, происходит проскальзывание соприкасающихся звеньев.

. Механизмы с гибкими звеньями

К гибким звеньям (или связям) относятся ремни, канаты цепи, нити, которые охватывают два звена или более и устанавливают определенную связь между перемещениями этих звеньев. В зависимости от типа гибкого звена механизмы с гибкими звеньями называются ременной, канатной или цепной передачами. Такие механизмы (рис. 26) служат для передачи вращения от одного звена к другому при значительных расстояниях между осями их вращения.

Рис. 26. Механизм с гибкими связями

. Крестовидные (мальтийские) механизмы

Крестовидные механизмы (рис. 27) преобразуют непрерывное вращение входного звена-кривошипа 1 в одностороннее прерывистое (с остановками) вращение выходного звена - мальтийского креста 2.

Рис. 27. Схема крестовидного (мальтийского) механизма (в запертом положении)

-кривошип с рамкой (цевкой) A и сектором В; 2-крест с четырьмя секторами C и профилями; 3-стойка.

Звено 1 несет на себе ролик (цевку) A и замок В в виде сектора, очерченного окружностью радиуса ro. Звено 2 (мальтийский крест) имеет несколько прорезей (на or) показан механизм c четырьмя прорезями на кресте) и тaкое же число замков C, очерченных окружностями радиуса ro. Неподвижное звено имеет подшипники с центрами в точках O1 и О2

Звено 1 вращается равномерно. Крест 2 то вращается, то останавливается (в те моменты, котла замки R и C соприкаcaются по окружности). При дaльнейшем вращении звена 1 цевка A входит в прорезь креста г, в этот момент замок R ос освобождает крест, и начинается его вращение в направлении, противоположном направлении вращения звена 1. B момент выхода цевки из прорези замки В и C' входят в соприкоснове ие и снова запирают крест. Крест остается неподвижным до пор, кока цевка не войдёт в следующую прорезь. Число остановок равно числу пазов на звене 2. В мальтийских механизмах число пазов обычно бывает от 4 до 20.

Название "мальтийского креста" механизм получил от сходства его с эмблемой духовно - рыцарского мальтийского ордена при числе пазов равным четырём. Крестовидные механизмы называются также шаговыми.

Применяются крестовидные механизмы чаще всего в металлообрабатывающих станках-автоматах, автоматических линиях для транспортировки изделий, киноаппаратах для перемещения киноленты в одну сторону с остановками.

. Шаговый храповый механизм

Шаговый храповый механизм (рис. 28) служит для преобразования возвратно-вращательного движения коромысла 1 с собачкой 2 в прерывистое движение в одном направлении храпового колеса 3. Собачка 5 c пpужинoй б не даёт храповому колесу вращаться в обратную сторону.

Есть конструкции храповых механизмов, в которых входное звено имеет возвратно-поступательное движение.

Храповые механизмы, так же, как и мальтийские, широко применяются в станках-автоматах, автоматических линиях, приборах.

11. Гидравлические и пневматические механизмы


Рисунок 2.28 - Шаговый храповый механизм

Список литературы

1)      Волокитин Г.Г., Кузьменко Н.И., Филипов В.Ф. Теория механизмов и механика машин: учебное пособие. Часть 1. - Томск 2000

шарнирный кулачковый передача гидравлический

Похожие работы на - Виды механизмов и их структурные схемы

 

Не нашли материал для своей работы?
Поможем написать уникальную работу
Без плагиата!
Без нейросетей!