Агрегатный станок по нарезанию гаек с мелкими шагами
МИНИСТЕРСТВО ОБРАЗОВАНИЯ КЫРГЫЗСКОЙ
РЕСПУБЛИКИ
Кыргызский Государственный
Технический университет им. И. Раззакова
Кафедра “ Автоматизация и
робототехника “
Дипломная работа
на тему:
“АГРЕГАТНЫЙ СТАНОК ПО НАРЕЗАНИЮ ГАЕК
С МЕЛКИМИ ШАГАМИ ”
Выполнил: студент группы АТПз-1-06
Варава К.
Руководитель: преподаватель Маситов А.М.
Бишкек 2012
Оглавление
Введение
1. Обзор и анализ существующих систем
1.1 Перспективы развития
1.2 Классификация
2. Разработка структурной схемы станка
2.1 Общая схема
2.2 Разработка кинематической схемы станка
2.3 Проектирование коробки скоростей
2.3.1 Расчет режимов резания
2.3.2 Определение числа ступеней коробок скоростей
2.3.3 Мощность двигателя
2.3.4 Кинематический расчет коробок скоростей
2.3.5 Проектировочный расчет валов
2.3.6 Определение параметров зубчатых колес
2.3.7 Расчет валов
2.3.8 Расчет шпинделя
2.3.9 Расчет механизма переключения скоростей
2.3.10 Расчет муфт
2.4 Система смазки в станке
3. Разработка автоматической системы регулирования усилием резания агрегатного
станка
3.1 Описание схемы САУ
3.2 Математические модели отдельных элементов и звеньев САУ
3.3 Соединение звеньев
4. Безопасность жизни деятельности
4.1 Опасные и вредные производственные факторы
4.1.1 Основные определения и классификация
4.1.2 Классификация опасных и вредных производственных факторов
4.1.2 Мероприятия при подготовке и проведении в организациях охраны
труда
4.1.3 Безопасность жизни деятельности при работе на агрегатных
станках
5. Экономическая часть
5.1 Расчет экономической эффективности от внедрения автоматических
систем в производство
5.1.1 Расчет величины капитальных вложений
5.1.2 Расчет технологической себестоимости изготовления изделия
5.1.3 Методы расчета показателей эффективности новой техники и
технологии
Заключение
Список литературы
Введение
Место страны на мировых рынках во многом зависит от качества
выпускаемой продукции, от объемов и затрачиваемых средств. Для
конкурентоспособности необходимо улучшение качества и снижения других
показателей. Эти требования возможно достичь улучшением средств производства -
модернизация имеющихся, проектированием и конструирование новых металлорежущих
станков, отвечающим растущим требованиям.
Создание современных, точных и высокопроизводительных
металлорежущих станков обуславливает повышенные требования к их основным узлам.
В частности, к приводам главного движения и подач предъявляются требования: по
увеличению жёсткости, повышению точности вращения валов, шпиндельных узлов.
Станки должны обеспечивать возможность высокопроизводительного изготовления без
ручной последующей доводки деталей, удовлетворяющих современным непрерывно
возрастающим требованиям к точности
Агрегатными называют многоинструментальные станки,
скомпонованные из нормализованных и частично специальных агрегатов. Эти станки
применяются в крупносерийном и массовом производстве. На агрегатных станках
можно выполнять сверление, рассверливание, зенкерование, растачивание,
фрезерование, нарезание внутренних и наружных резьб, некоторые виды токарной
обработки. Агрегатные станки в основном используются для изготовления корпусные
деталей.
Преимущества агрегатных станков:
) короткие сроки проектирования;
) простота изготовления, благодаря унификации узлов,
механизмов и деталей;
агрегатный станок гайка нарезание
3) высокая производительность, обусловленная
многоинструментальной обработкой заготовок с нескольких сторон одновременно;
) возможность многократного использования части агрегатов при
смене объекта производства;
) возможность обслуживания станков операторами низкой
квалификации.
1.
Обзор и анализ существующих систем
1.1
Перспективы развития
Агрегатные автоматы и полуавтоматы получают все большее
применение в машиностроительной промышленности. Широкое распространение их на
машиностроительных заводах предъявляет прежде всего повышенные требования к
уровню унификации самих конструкций агрегатных станков, уменьшению их
номенклатуры за счет разработки наиболее рациональных параметрических рядов
нормализованных узлов, к совершенствованию конструкций узлов за счет повышения
их точности, жесткости, быстродействия, надежности работы.
Эти требования послужили основой для разработки и внедрения
станкостроительными организациями единой гаммы унифицированных узлов агрегатных
станков и автоматических линий.
При этом предусматривалось:. Использование в качестве
силовых узлов:
) несамодействующих гидравлических малогабаритных пинольных
головок габаритов 01-04 с мощностью привода главного движения от 0,12 до 1,1
кВт конструкции ЭНИМС;
) самодействующих плоскокулачковых пинольных головок габаритов
05-06 с мощностью привода главного движения от 0,8 до 3 кВт конструкции
Харьковского специального конструкторского бюро агрегатных станков;
) силовых столов с гидравлическим и электромеханическим
приводом габаритов 1-7 для установки на них различных бабок: расточных,
сверлильных и фрезерных (без пиноли) мощностью от 1,5 до 330 кВт конструкции
Минского бюро автоматических линий; подрезно-расточных, фрезерных (с пинолью)
мощностью от 1,5 до 30 кВт конструкции Московского специального
конструкторского бюро автоматических линий и агрегатных станков.
Б. Использование для поворота обрабатываемых деталей:
) накладных поворотно-делительных столов диаметром 200-500 мм
высокой точности с гидравлическим приводом конструкции ЭНИМС;
) поворотно-делительных столов диаметром 400-800 мм с
электромеханическим приводом конструкции Харьковского специального
конструкторского бюро агрегатных станков;
) накладных поворотно-делительных столов диаметром 800-1250
мм нормальной и повышенной точности с гидравлическим приводом конструкции
Московского специального конструкторского бюро автоматических линий и
агрегатных станков;
) поворотно-делительных столов диаметром 800-1250 мм
нормальной и повышенной точности с электромеханическим приводом конструкции
Минского специального конструкторского бюро автоматических линий.. Использование
ряда общих несущих корпусных деталей (станин, стоек, кронштейнов и др.),
выпускаемых ведущими станкостроительными заводами.
Использование в компоновках агрегатных станков
унифицированных узлов единой гаммы позволило примерно на 30% сократить число их
типоразмеров, в том числе по шпиндельным коробкам в 2,5 раза (с 56 до 22
типоразмеров) и снизить себестоимость узлов за счет увеличения серийности их
производства.
Дальнейшее развитие конструкций агрегатных станков как
оборудования, основанного на методе концентрации операций, идет по следующим
основным направлениям:
) дальнейшее увеличение степени концентрации операций,
позволяющее обрабатывать деталь полностью с одной установки от единых
технологических баз;
) расширение технологических возможностей станков этого типа
за счет выполнения операций, которые ранее не выполнялись на агрегатных
станках;
) расширение области применения агрегатных станков путем
разработки быстро переналаживаемых конструкций, позволяющих использовать их в
серийном и мелкосерийном производстве;
) увеличение точности и надежности работы полуавтоматов и
автоматов и повышение коэффициента их использования.
Увеличение концентрации операций на агрегатных станках до
оптимального уровня осуществляется путем:
а) увеличения числа инструментов, установленных на каждой
силовой головке, и применения комбинированного инструмента;
б) увеличения числа силовых головок на каждой позиции станка;
в) увеличения числа позиций на станке;
г) увеличения количества деталей, обрабатываемых на каждой
позиции.
Каждый способ увеличения концентрации операций (или сочетание
способов) получает преимущественное применение в зависимости от конкретных
условий обработки.
Увеличение концентрации операций за счет увеличения количества
инструментов на силовых головках ограничивается мощностью и осевым усилием
механизма подач головок.
В некоторых случаях целесообразно применять комбинированный
инструмент, позволяющий за один проход обрабатывать несколько поверхностей.
Наиболее часто увеличение концентрации операций достигается
размещением необходимого количества головок на станке. Это позволяет
обрабатывать поверхности, расположенные под различными углами, а также
полностью обрабатывать деталь с одной установки.
Чтобы увеличить концентрацию операций на агрегатных станках
путем увеличения числа монтируемых на станке силовых головок, конструкция этих
головок должна удовлетворять определенным требованиям. Главные из них:
) при минимально возможных габаритных размерах головки должны
обеспечить получение необходимого осевого усилия и мощности на шпинделе;
) для полного использования возможностей инструментов
конструкция головок должна обеспечивать необходимые скорости резания и подачи,
а также возможность их регулирования;
) конструкция головок должна обеспечивать достаточную
жесткость для работы на наиболее выгодных режимах резания.
Увеличение концентрации операций достигается также
увеличением числа рабочих позиций. У агрегатных станков, предназначенных для
обработки средних по размерам деталей, число позиций не превышает 4-6.
Поворотные столы станков для мелких деталей проектируют с числом позиций 12-15.
Дальнейшее увеличение числа позиций резко увеличивает габаритные размеры
станков и создает неудобства при обслуживании. В таких случаях обрабатывать
детали более целесообразно на нескольких агрегатных станках.
Можно увеличить число деталей, обрабатываемых на каждой
позиции. Это применяется при обработке мелких валов, рычагов, а также при
обработке мелких корпусных деталей в две установки. Наиболее удобными для
такого построения процесса обработки являются агрегатные станки с центральной
колонной. Применение этих станков позволяет располагать необходимым числом
позиций, а вертикальные и некоторые наклонные головки устанавливать на центральной
колонне, не выходя за пределы габаритов стола.
Особенно большой эффект получается при использовании для
обработки сложных по форме деталей группы агрегатных станков, из которых
создаются поточные автоматизированные линии.
Технологические возможности агрегатных станков расширяются
при включении операций, которые ранее не выполнялись на этих станках.
1.2
Классификация
Агрегатные станки (рис.1) в зависимости от
формы, размеров заготовок, требуемой точности обработки компонуют по разным
схемам: односторонними и многосторонними, одношпиндельными и многошпиндельными,
однопозиционными и многопозиционными, в вертикальном, наклонном, горизонтальном
и комбинированном исполнениях.
Обработка на однопозиционных агрегатах
станках выполняется при одном постоянном положении заготовки. Агрегатные станки
с многопозиционными поворотными столами или барабанами предназначены для
параллельно-исследовательной обработки одной или одновременно нескольких
заготовок малых и средних размеров. При этом вспомогательное время сокращено до
минимума за счет того, что установка заготовки и снятие заготовки на позиции
загрузки-выгрузки осуществляется во время обработки на других позициях.
Рис. 1.1 - Схемы компоновок агрегатных станков на
прямоугольной станине: а - двусторонняя с горизонтальными головками, б - то же,
с наклонно закрепленными головками, в - то же, с вертикально установленными
головками, г - с горизонтальной, наклонной и вертикальной головками.
Типовые унифицированные компоновки разработаны
на основе использования унифицированных агрегатов; (уровень унификации 90 %).
Например, в агрегатном станке вертикальной компоновки (рис.2) унифицированы:
базовые детали (станины 1 и 20, стойка 9, упорный угольник II), силовые
механизмы (силовой стол 8, а в станках других типов силовые головки),
шпиндельные механизмы (шпиндельная коробка 14, расточная бабка 19, сверлильная
бабка 10), механизмы транспортирования (поворотный делительный стол 3,
двухпозиционный делительный стол 18 прямолинейного перемещения), механизмы
главного движения (коробка скоростей 17), гидрооборудование (гидробак 4,
насосная установка 5, гидропанель 6), электрооборудование (центральный и
наладочный пульты 2, электрошкаф силовых механизмов 16, электрошкаф станка 7),
вспомогательные механизмы (удлинитель 15, резьбовой копир 13, расточная пиноль
12).
Рис.1.2 Унифицированные агрегаты агрегатных станков
<#"551155.files/image003.gif">
Рис.1.3 - Схемы компоновок агрегатных станков с круглым поворотным
столом: 1 - силовая головка, 2 - подкладная плита, 3 - станина, 4 - стойка
(кронштейн), 5 - стол
Специальные механизмы, например
приспособление для установки и закрепления заготовок, имеют отдельные
нормализованные элементы.
Силовые механизмы агрегатных станков
предназначены для сообщения режущим инструментам главного движения и движения
подачи (силовые столы). Силовые головки предназначены для выполнения токарных,
фрезерных, сверлильных, расточных, резьбонарезных, шлифовальных и других работ.
Они обычно работают в автоматических циклах, например:
) быстрый подвод, рабочая подача (одна или
две), выдержка на жестком упоре (при необходимости), быстрый отвод, стоп;
) быстрый подвод, рабочая подача, быстрый
подвод, рабочая подача, стоп. Такой цикл используют, например, при
последовательной обработке нескольких соосных отверстий одинакового диаметра.
Для привода главного движения
(вращательного) в силовых головках обычно применяют электродвигатели, а для
привода подачи - кулачки, винтовые передачи, цилиндры (пневматические,
гидравлические и пневмогидравлические).
По конструкции механизма подач различают
головки с подвижной пинолью и с подвижным корпусом. Подачу инструмента
перемещением пиноли обычно выполняют в головках малой мощности, не более 1,5
кВт, что обеспечивает подход инструмента к заготовке. Силовые головки средней и
большой мощности выполняют с подвижным корпусом.
В зависимости от расположения привода
подач силовые головки могут быть несамодействующими и самодействующими. У
первых привод подач расположен вне головки, которую обычно устанавливают на
силовом столе, подключенным к насосной станции станка или имеющим
самостоятельный привод. У вторых как привод вращения шпинделя, так и все
элементы привода подачи (резервуар для масла, насос, гидропанель управления)
расположены в корпусе головки.
По мощности двигателя силовые головки
подразделяют на микросиловые (0,1-0,4 кВт), малой мощности (0,4-3,0 кВт),
средней (3,0 - 15 кВт) и большой мощности (15-30 кВт).
В зависимости от типа привода подач
различают головки механические (кулачковые и винтовые), пневматические,
гидравлические и пневмогидравлические.
Силовые головки в значительной степени
определяют производительность, надежность и точность работы агрегатных станков.
Поэтому силовые головки должны автоматически и точно выполнять заданный цикл
работы, иметь минимальные упругие деформации при обработке с различными
режимами, обладать высокой надежностью. Конструкции головок должны обеспечивать
быстрое устранение возникающих отказов и простоту обслуживания.
Одной из последних модификаций станка является станок АМ.
М16457. Он может выполнять фрезерование, сверление, резьбонарезание.
Производительность 33+33 детали в час.
2.
Разработка структурной схемы станка
2.1
Общая схема
В данном проекте разрабатывается агрегатный станок по
нарезанию гаек с мелкими шагами. Данный станок предназначен для обработки из
шестигранных заготовок серии одинаковых деталей диаметром до 25 мм и длиной до
15 мм из материала сталь 20Х.
Данный станок позволяет осуществить сверление, зенкерование,
развертывание в диапазоне диаметров 25…10 мм, а также нарезание резьбы с
мелкими шагами в зависимости от установленного метчика.
Станок имеет самодействующую четырехшпиндельную силовую
головку, а также пятипозиционный поворотный делительный стол, имеющий следующие
позиции:
позиция - загрузочная;
позиция - сверление;
позиция - зенкерование.
позиция - развертывание.
позиция - нарезание резьбы.
Технические характеристики данного станка приведены в таблице
1.
Таблица 1 - Технические характеристики станка
|
Характеристика
|
Величина
|
|
Максимальный диметр сверления
|
25 мм
|
|
Минимальный диаметр сверления
|
10 мм
|
|
Пределы оборотов шпинделя силовой головки для
сверления
|
250-800 об/мин
|
|
Число ступеней коробки скоростей силовой
головки для сверления
|
6
|
|
Число позиций поворотного стола
|
4
|
|
Мощность привода силовой головки для сверления
|
1,3 кВт
|
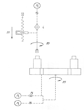
Структурная схема данного станка приведена на рисунке 2.1
Силовая головка и поворотный делительный стол связаны электрической схемой. На
данном рисунке показаны движения: П1 - главное; В3 - движение подачи; В5 -
вспомогательное движение.
Рис.2.1 - Структурная схема агрегатного станка
2.2
Разработка кинематической схемы станка
На все элементы данного станка наложены электрические связи,
что обеспечивает синхронность работы оборудования.
Станок работает следующим образом.
Вал I коробки скоростей связан с валом электродвигателя М1
мощностью 1,3 кВт. От электродвигателя через зубчатые колеса 1 и 2 вращение
сообщается валу II, на котором жестко закреплены зубчатые колеса 3, 4,5.
Вращение на вал III может доставляться по трем путям: при зацеплении колес 3 и
6, при зацеплении колес 4-7 или через колеса 5-8. Движение подачи
осуществляется перемещением корпуса силовой головки при передачи вращения от
вала III через колеса 11-13 на ходовой винт V. На шпиндель вращение передается
от вала III двумя путями: при зацеплении колес 9-11 или колес 10-12 шпинделю.
После произведенной обработки, производится отвод силовых
головок и поворот стола.
Движение поворотного делительного стола осуществляется следующим
образом.
К корпусу стола прикреплены электродвигатели М3 и М4.
Электродвигатель М3 через пару зубчатых колес 30 и 31 и самотормозящую
червячную передачу 29 осуществляет вращение зубчатого колеса 28, которое
находиться в зацеплении с зубчатым венцом 27, прикрепленным к планшайбе стола.
Планшайба центрируется подшипником. При прохождение фиксаторного пальца мимо
упора посредством рычажной системы переключаются муфта М1, выключающая
электродвигатель М3 и включающая электродвигатель М4. Происходит реверсирование
планшайбы. После устранения зазоров во всей кинематической цепи сила тока в
электродвигателе выключает его, при этом червячная пара оказывается
заклиненной.
2.3
Проектирование коробки скоростей
2.3.1
Расчет режимов резания
При назначении режимов резания используются таблицы и
рекомендации по справочной литературе.
Назначим режим резания для операции сверления. Из заданных
максимального и минимального диаметров сверления принимаем максимальную глубину
резания tmax=20 мм, минимальную глубину резания tmin=5 мм.
Скорость резания определим по формуле:
, м/мин.
м/мин,
м/мин.
Определим предельные частоты вращения шпинделя:
об/мин,
об/мин.
2.3.2
Определение числа ступеней коробок скоростей
Определим число ступеней коробки скоростей силовой головки
для сверления.
Диапазон регулирования:
.
Число ступеней коробки скоростей силовой головки для сверления по
формуле:
.
Принимаем z=6.
В результате получаем, что силовая головка имеют коробку скоростей
с шестью ступенями.
2.3.3
Мощность двигателя
Рассчитаем мощность двигателя по формуле [2]:
, кВт,
где N - мощность резания, η - КПД.
Определим мощность резания при сверлении по формуле [1]:
,
где Мкр - крутящий момент, Н·м.
,
где значения коэффициентов и показатели степени выбираются из
[1].
Н·м.
кВт.
Для определения необходимой мощности двигателя, необходимо найти
КПД [2]:
η=0,973∙0,994=0,85.
Определим необходимую мощность двигателя силовой головки для
сверления:
кВт.
Для силовой головки для сверления выбираем двигатель АО2-21-4
мощностью 1,3 кВт и частотой оборотов 700 об/мин.
2.3.4
Кинематический расчет коробок скоростей
Кинематический расчет включает построение графика частот
вращения, определение передаточных чисел и чисел зубьев колес. Ряд чисел
оборотов представляет геометрическую прогрессию со знаменателем φ=1,26, что соответствует ГОСТ 8032-56.
Произведем расчет для силовой головки, выполняющей сверление.
График частот вращения силовой головки для сверления
изображен на рисунке 2.3.
Рис.2.3 - График частот вращения шпинделя силовой головки
Из графика определяются передаточные отношения колес:
,
,
,
,
,
.
Результаты кинематического расчета для силовой головки для сверления
сводим в таблицу 3.
Таблица 3 - Результаты кинематического расчета силовой
головки для сверления
|
Un
|
U1
|
U2
|
U3
|
U4
|
U5
|
|
    
|
|
|
|
|
|
|
Σz=60
|
72
|
72
|
Кинематическая схема коробки скоростей представлена на
рисунке 2.4.
Рис.2.4 - Кинематическая схема коробки скоростей
2.3.5
Проектировочный расчет валов
Мощности на валах определяются по формуле [2]:
,
где Nдв - мощность двигателя; η - КПД участка кинематической цепи от
двигателя до рассчитываемого вала.
кВт,
кВт,
кВт,
кВт.
Передаваемые крутящие моменты на валах определяются по формуле
[4]:
, Н·см,
где Ni - передаваемая валом мощность, кВт;
n - частота вращения вала.
Н·м,
Н·м,
Н·м,
Н·м,
Н·м,
Н·м,
Н·м,
Н·м,
Н·м,
Н·м,
Н·м.
Определяем диаметры валов по допускаемому напряжению при кручении
[τ] =25…30
МПа [4]:
.
мм,
мм,
мм,
мм,
мм,
мм,
мм,
мм,
мм,
мм,
мм.
2.3.6
Определение параметров зубчатых колес
Определим модуль зубчатых колес по формуле [4]:
,
где km - вспомогательный
коэффициент, для прямозубых передач km = 14; М1
- крутящий момент на шестерне, Н·м; z - число зубьев меньшего колеса в
передаче; kFB - коэффициент, учитывающий неравномерность
распределения нагрузки по ширине венца, можно принять равным 1,1.
Отношение ширины венца к начальному диаметру шестерни
принимается равным 0,2.1,6. Принимаем
=0,35.
Коэффициент yF1, учитывающий форму зуба,
можно определить по таблице 4.
Таблица 4 - Значения коэффициента yF1
|
zi
|
36
|
27
|
32
|
29
|
|
yF1
|
3,71
|
3,82
|
3,78
|
3,80
|
Допускаемое изгибное напряжение σ FP определяется по формуле [4]:
,
где
- допускаемое напряжение зубьев по изгибу, МПа,
соответствующее базовому числу циклов перемены напряжений;
kFL - коэффициент
долговечности.
Для колес из стали 40Х с поверхностной закалкой ТВЧ до
твердости поверхностей зубьев НRC 48.52 величина
=270 МПа, kFL≤1,63.
МПа.
Рассчитанные значения модулей колес округлим до стандартных
значения в соответствии с ГОСТ 9563-60.
Модуль колес в первой передачи:
мм.
Модуль колес во второй передаче:
мм.
Модуль колес в третьей передаче:
мм.
Модуль колес в четвертой передаче:
мм.
Произведем расчет зубчатого колеса 1.
Делительный диаметр зубчатых колес определяется по формуле [4]:
мм.
Определяем делительное межосевое расстояние колес по формуле [5]:
мм.
Определяем ширину венца зубчатых колес по формуле [5]:
,
мм.
Определяем диаметр впадин зубьев по формуле [5]:
,
мм.
Определяем диаметр вершин зубьев по формуле [5]:
,
мм.
Аналогично определяем параметры для оставшихся колес. Результаты
сведем в таблицу5.
Таблица 5 - Параметры зубчатых колес
|
№ колеса
|
mi, мм
|
zi, мм
|
di, мм
|
ai, мм
|
bi, мм
|
dfi, мм
|
dai, мм
|
|
1
|
4
|
29
|
116
|
120
|
36
|
106
|
124
|
|
2
|
4
|
31
|
124
|
120
|
36
|
114
|
132
|
|
3
|
3
|
45
|
135
|
121,5
|
30
|
127,5
|
141
|
|
4
|
3
|
36
|
108
|
121,5
|
30
|
114
|
100,5
|
|
5
|
3
|
54
|
162
|
121,5
|
30
|
154,5
|
168
|
|
6
|
3
|
36
|
108
|
121,5
|
30
|
114
|
100,5
|
|
7
|
3
|
45
|
135
|
121,5
|
30
|
127,5
|
141
|
|
8
|
27
|
81
|
121,5
|
30
|
73,5
|
87
|
|
9
|
3
|
36
|
108
|
121,5
|
30
|
114
|
100,5
|
|
10
|
3
|
32
|
96
|
121,5
|
30
|
88,5
|
102
|
|
11
|
3
|
36
|
108
|
108
|
30
|
114
|
100,5
|
|
12
|
3
|
40
|
120
|
108
|
30
|
112,5
|
126
|
2.3.7
Расчет валов
Расчет валов на прочность
Произведем расчет валов на прочность при включении четвертой
ступени (рисунок 2.5).
Рис.2.5 - График частот вращения шпинделя
Округляем полученные значения в пункте 2.5 диаметры валов до
ближайших стандартных значений внутреннего кольца подшипника по ГОСТ 8338-57 и
принимаем эти значения за диаметры шеек валов под подшипники. Таким образом,
получим следующие значения:
dI=17 мм, dII=20 мм, dIII=17мм, dIV=17мм.
При расчете валов на прочность необходимо составить расчетные
схемы в соответствии с нагрузками, действующими в зубчатых зацеплениях.
Схема нагружения вала I изображения на рисунке 2.6.
Рис.2.6 - Схема нагружения первого вала
В соответствии с схемой нагружения составим расчетную схему
вала I (рисунок 2.7).
Рис.2.7 - Расчетная схема вала I
Рассчитаем вал I.
Крутящий момент, передаваемый валом I, М1=26.173
Н·м. Определим усилия в зацеплении по формулам [4]:
окружные:
,
распорные:
,
где di - делительный диаметр колеса в зацеплении.
Н,
Н.
Определим опорные реакции:
Определяем моменты в точках, где приложены силы и находим
результирующий изгибающий момент.
Результирующий изгибающий момент:
Эквивалентный момент:
Диаметр вала:
.
мм.
Принимаем d=20 мм.
Схема нагружения вала II изображения на рисунке 2.8.
Рис.2.8 - Схема нагружения второго вала
Расчетная схема вала II изображена на рисунке 2.9.
Рис.2.9 - Расчетная схема вала II
Рассчитываем вал II.
Н,
Н,
Н,
Н.
Определим опорные реакции вала II:
Результирующие изгибающие моменты:
Эквивалентные моменты:
Диаметр вала:
.
мм.
Принимаем d=20 мм.
Расчет вала III. Схема нагружения вала III изображения на рисунке 2.10.
Рис.2.10 - Схема нагружения третьего вала
Рис.2.11 - Расчетная схема вала III
На рисунке 2.11 представлена расчетная схема вала III.
Н,
Н,
Н,
Н.
Н.
Н.
Н.
Н.
Определим опорные реакции вала III:
Результирующие изгибающие моменты:
Эквивалентные моменты:
Диаметр вала:
.
мм.
Принимаем d=25 мм.
Расчет валов на жесткость
Вал, рассчитанный из условий динамической прочности, может не
обеспечить нормальной работы зубчатых колес и подшипников, если будет чрезмерно
деформироваться. Расчет на жесткость сводится к определению прогиба у и угла
наклона оси θ.
Допускаемый прогиб вала под зубчатыми колесами не должен превышать
0,01-0,03 модуля m. Углы наклона оси вала не должен превышать 0,001
радиан.
Прогиб и наклон оси вала определяются по формулам [5]:
,
,
где l - длина вала;
d - диаметр вала.
Рассчитаем вал I на жесткость по приведенным формулам. Для
расчета воспользуемся расчетной схемой вала (рисунок 2.12).
Рис.2.12 - Расчетная схема первого вала
рад,
рад,
см,
см,
Определим результирующий прогиб:
см.
Определим результирующий угол наклона оси вала:
рад.
Все полученные значения входят в пределы допустимых значений.
Рассчитаем вал II (рисунок 2.13).
Рисунок 2.13 - Расчетная схема второго вала
рад,
рад,
рад,
рад,
см,
см,
см,
см.
Определим результирующий прогиб:
см,
см.
Определим результирующий угол наклона оси вала:
рад,
рад.
Полученные значения находятся в пределах допустимых.
Рассчитаем вал III (рисунок 2.14).
Рис.2.14 - Расчетная схема третьего вала
рад,
рад,
рад,
рад,
см,
см,
см,
см.
Определим результирующий прогиб:
см,
см.
Определим результирующий угол наклона оси вала:
рад,
рад.
Полученные значения находятся в пределах допустимых.
Расчет валов на виброустойчивость
При вращении несбалансированного вала, имеющего конечную жесткость
подшипников, ось вала под действием сил смещается относительно оси вращения и
прогибается, совершая прецессионное движение. С увеличением угловой частоты
вращения, смещение и прогибы возрастают и становятся особенно значительными при
критическом значении частоты ωкр. Увеличение частоты вращения сверх критического значения
приводит к уменьшению смещения и прогибов оси вала, и он самоцентрируется. Это
явление сопровождается появлением значительных знакопеременных нагрузок и
вибрациями всего механизма.
Расчет на виброустойчивость сводится к определению критической
частоты вращения и сравнению ее с рабочим диапазоном частот вращения шпинделя.
Считается, что опасность резонанса не возникает, если предельные скорости
рабочего диапазона отличается от критической частоты более чем на 25%:
[4],
где ωmax=2πnmax.
Точный расчет критической частоты вращения является довольно
сложной задачей, поэтому на практике используется упрощенная расчетная схема.
Критическая частота вращения определяется по формуле [4]:
,
где j1, j2 - жесткость соответственно первой и
второй опоры;
m - масса;
Ix, Iy - моменты инерции относительно главных
осей инерции;
a, b -
расстояния от центра масс до первой и второй опор.
Моменты инерции цилиндра:
,
.
Жесткости опор определяются по формуле [4]:
.
Определим ωКР для вала II.
Найдем массу вала как произведение объема на плотность материала:
.
Зная размеры вала и плотность стали, находим, что m=1,732 кг.
Найдем жесткости опор:
Н/м2,
Н/м2.
Найдем моменты инерции:
кг·м,
кг·м.
Расстояния a и b от опор до центра масс вала равны: a=b=0,212 м.
Подставим вычисленные значения в уравнение, получим:
.
Принимаем ω2КР=z, решаем квадратное уравнение. Получаем ωКР=13928.2 об/мин.
Сравним это значение с ωmax вала II. ωmax=7912,8 об/мин.
.
Таким образом, условие виброустойчивости вала II выполняется.
Определим ωКР валов I и III аналогичным
способом. Получим следующие значения:
для вала I ωКР=26017об/мин
;
для вала III ωКР=20080 об/мин
.
Для обоих валов условие виброустойчивости так же выполняется.
2.3.8
Расчет шпинделя
Расчет шпинделя на прочность
Для расчета шпинделя на прочность составим схему нагружения
шпинделя (рисунок 2.15). В соответствии со схемой нагружения составим расчетную
схему шпинделя (рисунок 2.16).
Произведем расчет шпинделя на прочность.
Определим окружные и распорные усилия в зацеплении:
Н,
Н.
Н.
Рис.2.15 - Схема нагружений шпинделя
Рис.2.16 - Расчетная схема шпинделя
Н.
Н.
Н.
Н.
Н.
Определим опорные реакции шпинделя:
Н.
Н.
Н.
Н.
Сила реакции опоры подшипника В равны 0.
Результирующие изгибающие моменты:
Эквивалентные моменты:
Диаметр вала:
.
мм.
Принимаем d=35 мм.
Расчет шпинделя на кинематическую точность
Конструкция, точность изготовления и сборки шпиндельного узла во
многом определяют точность, надежность и в конечном итоге работоспособность металлорежущих
станков. В связи с этим к точности вращения, жесткости, виброустойчивости и
износостойкости шпиндельных узлов предъявляются особые требования и особенно на
стадии проектирования.
Точность вращения характеризуется обычно биением переднего конца
шпинделя и определяется точностью как самого шпинделя, так и классом точности
подшипников (рисунок 2.17) [4].
Радиальное биение конца двухопорного шпинделя определяется по
формуле [4]:
,
где εА, εВ - радиальное биение подшипников соответственно в задней и
передней опорах;
εШ - радиальное биение, связанное с геометрическими погрешностями
шпинделя;
l0 - расстояние между опорами;
l1 - длина консольного конца шпинделя.
Рис.2.17 - Схема для расчета шпинделя на кинематическую точность
Радиальное биение подшипников составляет
от радиального биения конца шпинделя:
.
Имеем допустимое радиальное биение, связанное с геометрическими
погрешностями шпинделя [5] εШ=0,025, радиальное биение подшипников A и B [4]: εА=0,01, εВ=0,006, l1=155 мм,l0=345
мм. Найдем радиальное биение конца шпинделя по формуле:
.
.
Из расчета видно, что радиальное биение конца шпинделя находится в
допустимых пределах.
Расчет шпинделя на жесткость
Расчет шпинделя на жесткость производится аналогично расчету валов
(п.3.7.2). Для расчета воспользуемся расчетной схемой шпинделя, изображенного
на рисунке 2.18.
Рис.2.18 - Расчетная схема шпинделя
Определим углы наклона оси шпинделя:
рад,
рад,
рад,
рад.
Определим прогибы шпинделя:
см,
см,
см,
рад.
Определим результирующий прогиб:
см,
см.
Определим результирующий угол наклона оси вала:
рад,
рад.
Допустимые значения прогиба и угла наклона оси шпинделя:
,
где mi - модуль зубчатого колеса;
рад.
mi=3
=> у≤0,06 см.
Все полученные значения входят в пределы допустимых значений.
Расчет шпинделя на виброустойчивость
Расчет шпинделя на виброустойчивость производится аналогично
расчету валов, описанному в п.2.7.3.
Момент инерции шпинделя находим как момент инерции полого цилиндра
по формулам [4]:
,
.
Массу шпинделя определим как произведение объема на плотность
стали, m=4,148 кг.
Момент инерции шпинделя равен:
9,146·10-4 кг·м,
0,022 кг·м.
Рассчитаем остальные параметры, используя формулы, приведенные в
п.2.7.3.
Жесткость опор равна:
j1=3,579·108 Н/м2, j2=9,547·108 Н/м2.
Подставив полученные значения в уравнение, получим:
.
Решив данное уравнения и приняв во внимание, что z=ω2КР,
получим:
ωКР=44741 об/мин.
ωmax =15826 об/мин.
·0,75=33555>15826 об/мин.
Таким образом, шпиндель станка удовлетворяет условию
виброустойчивости.
2.3.9
Расчет механизма переключения скоростей
Система управления станком состоит из механических,
электрических, гидравлических и пневматических устройств, используемых для
передачи команды исполнительному органу; управляющего органа - рукоятки,
кнопки, конечного переключателя и т.п.; исполнительного органа (вилки, рейки,
рычага и др.), перемещающего соответствующую часть станка.
Системы управления можно разделить на ручные и
автоматические. При ручном управлении все переключения цикла осуществляются
рабочим при помощи рукояток, рычагов, штурвалов или кнопок. Переключения цикла
осуществляются при помощи рукоятки и переключателя.
В проектируемой коробке скоростей ручной механизм
переключения скоростей. Переключение диапазона скоростей осуществляется
посредством рукояток, которые перемещают передвижные блоки колес. В качестве
исполнительного органа для переключения блока используется ползун с вилкой. При
этом ползун с вилкой движется по направляющей скалке и с помощью вилки
перемещает блок. В этой конструкции при повороте рукоятки поворачивается
зубчатый сектор, который в свою очередь через ползун перемещает блок зубчатых
колес (рисунок 2.19).
Рис.2.19 - Ручной механизм переключения скоростей
Определим радиус зубчатого сектора по формуле:
,
где L - длина хода ползуна,
α - угол сектора в
радианах.
Зная величины L и α, находим R:
мм.
Рассчитали зубчатый сектор, осуществляющий передвижение первого
блока колес. Рассчитаем зубчатый сектор для передвижения второго блока колес.
;
.
Механизм переключения скоростей приведен в приложении.
2.3.10
Расчет муфт
Муфты служат для соединения валов или валов с деталями,
свободно вращающимися на них (зубчатыми колесами, шкивами и т.п.), с целью
передачи вращения без изменения скорости. Известно, что большинство устройств,
систем компонуют из отдельных узлов с входными и выходными валами.
Соединение валов является основным, но не единственным
назначением муфт. Муфты применяют для включения и выключения исполнительного
органа при непрерывно работающем двигателе, для предохранения рабочих органов
от перегрузок и чрезмерно больших скоростей, для передачи движения между валами
только в одном направлении, для остановки в качестве тормоза и других функций.
Глухие жесткие муфты используют при передаче движения между
соосными валами, которые должны работать как единый вал. Компенсирующие
подвижные муфты применяют при передаче движения между несоосными валами при
наличии небольших радиальных, осевых, угловых или комбинированных смещений осей
валов. Упругими муфтами пользуются для смягчения толчков, динамических нагрузок
при передаче вращающегося момента между валами. Предохранительные муфты
применяют во избежание поломок деталей механизма из-за перегрузок. Обгонные
муфты используют для передачи движения только в одну сторону.
Муфты по управляемости передачей вращения между соединяемыми
валами делят на три группы:
1)
муфты
постоянные, осуществляющие постоянное соединение валов, - глухие,
компенсирующие, упругие;
2)
муфты
управляемые, обеспечивающие режим "включено-выключено" с помощью:
дистанционного (электрического) управления - электромагнитные,
магнитопорошковые (магнитожидкостные), пьезокристаллические; ручного
(механического) управления - зубчатые, кулачковые, фрикционные;
3)
муфты
самоуправляемые, осуществляющие автоматическое разъединение или соединение
валов: по величине передаваемого момента - предохранительные; по скорости
вращения - центробежные; по направлению вращения - обгонные.
В данном проекте произведем расчет муфты упругой втулочно-пальцевой.
Эти муфты применяются для соединения валов и передачи крутящих моментов от
электродвигателей. Смягчают удары посредствам упругих втулок, компенсируют
небольшие перекосы валов и несоосности валов.
Расчет данного вида муфт сводится к проверке упругих
элементов на смятие рабочих поверхностей по формуле [2]:
,
где Мр
- расчетный крутящий момент,п - диаметр пальца;- число пальцев;
l2 - длина упругой втулки;
- допускаемое напряжение на смятие
резины, равное
кг/см2.
Все необходимые
размеры устанавливает ГОСТ 21424-93.
кг/см2.
Данное напряжение
на смятие входит в диапазон допустимых.
Также при расчете
данного вида муфт проверяют пальцы на изгиб по уравнению:
,
где
кг/см2 - допускаемое
напряжение на изгиб для пальцев.
кг/см2.
Данное напряжение
на изгиб для пальцев входит в диапазон допустимых.
2.4
Система смазки в станке
В агрегатных станках кроме системы управления имеются и
другие, вспомогательные системы.
В агрегатных станках применяется комбинированная система
смазки: индивидуальная смазка агрегатов, централизованная импульсная система
направляющих многошпиндельных насадок, кондукторов, направляющих силовых
столов.
Система смазки агрегатного станка состоит из бака, плоской
установки, фильтров, трубопроводов с кранами, клапанов и других элементов.
Система охлаждения должна обеспечивать подачу
смазочно-охлаждающей жидкости (СОЖ) по всем режущим инструментам одновременно в
количестве необходимом для данного инструмента и соответствующего качества.
Объем бака смазочно-охлаждающей жидкости должен обеспечивать
не менее чем пятиминутную работу насосов.
Смазочно-охлаждающая жидкость выбирается в зависимости
материала детали, способа, вида и режимов резания.
Наиболее универсальным является эмульсия “Укринол-1”,
применяемый при обработки деталей из сталей и чугуна.
3.
Разработка автоматической системы регулирования усилием резания агрегатного
станка
3.1
Описание схемы САУ
На рисунке 3.1 показана принципиальная схема автоматической
системы регулирования усилием резания. На схеме 1 - заготовка, ДМкр
- магнитоупругий датчик крутящего момента, 2 - усилитель, 3 - преобразователь
частоты тока, 4 - суммирующее устройство, 5 - исполнительный орган (асинхронный
трехфазный электродвигатель)
Принцип работы.

В процессе обработки заготовки инструментом возникают
реактивные усилия резания, которые в свою очередь создают неравномерную
нагрузку на систему СПИД, что приводит к вибрациям в станке, нарушениям
точности и поломке инструмента. Решение этой проблемы - установка
автоматической системы контроля и регулирования этими усилиями резания.
Разработанная система имеет: магнитоупругий датчик крутящего момента, который
установлен на главном валу (шпиндель) агрегатного станка и замеряющий показания
крутящего момента резания (усилия) за счет изменения электромагнитного поля на
валу шпинделя, полученный сигнал усиливается в усилителе 2 и подается на ход
преобразователя частоты тока 3, где автоматический изменяется частота и
напряжение тока необходимого для регулирования питанием исполнительного органа
5, преобразованный сигнал суммируется с сетевым током в трансформаторе 4.
На рисунке 3.2 показана функциональная схема автоматической
системы.
Рис.3.2 Функциональная схема САУ
3.2
Математические модели отдельных элементов и звеньев САУ
Технологический процесс.
К технологическому процессу, для удобства решения включаем
механические части станка - коробка скоростей, коробка подачи, а также сам
процесс резания.
Для построения математической модели всей автоматической
системы целесообразно вначале отдельно рассмотреть её каждое звено.
Рассмотрим технологический процесс с целью определения в нём
возникающих нагрузок.
Момент резания равен:

,
Где µр - постоянный коэффициент, зависящий от
геометрии режущей части инструмента и обрабатываемого материала.
Уравнение динамики привода:

(2.1)
Где J - момент инерции движущихся частей;
ω - угловая скорость инструмента;
α - коэффициент вязкого трения;
Мр
- момент от силы резания. Мр = 20 ч 65 H·м.
Преобразуем (2.1):
или
отсюда:
где: 
Решение данного дифференциального уравнения имеет вид:

следовательно, переходной процесс осуществляется по экспоненте
(рис.3.6).
Рис.3.3 Переходной процесс электропривода
Передаточная функция звена:
где: 
Измерение крутящего момента на шпинделе дает больше преимуществ,
отпадает необходимость установки отдельных датчиков на отдельные инструменты и
упрощается установка самого датчика.
Магнитоупругий датчик крутящего момента.
На рис.3.4 показана структурная схема датчика, из которой видно,
что конструкция его состоит из множества звеньев соединённых между собой
последовательно.
Рис.3.4 Структурная схема МДМ датчика
В - измеряемый вал; ТП - трансформаторные преобразователи; ВП -
полупроводниковые выпрямители; Ф - фильтр.
Передаточная функция датчика с учётом последовательного соединения
его звеньев:

- передаточное отношение, зависящее от загруженности измеряемого
вала. Так как вал работает в упругой зоне деформации, то здесь согласно закону
Гука справедливо линейная зависимость передаточного отношения.
где 
- модуль упругости вала.
Трансформаторный преобразователь при условии, что частота тока
возбуждения значительно больше частоты изменения преобразуемой входной
величины, можно считать безинерционным усилителем. Его передаточная функция:

,
где:
,
где: u0 - магнитная постоянная;
ωВ, ωИ - число витков катушек измерения и
возбуждения;
РВ
- число пар полюсов возбуждения;
SB, SИ - площади проекции на поверхность вала полюсов возбуждения
и измерения соответственно;
IB - действующее значение тока в полюсной
катушке обмотки возбуждения;
h - некоторая средняя глубина проникновения магнитного потока в
тело вала.
Выпрямитель также является безинерционным звеном с передаточной
функцией:
где: 
,
где: r -
сопротивление измерительной схемы дифдуктора;
rH - активное сопротивление нагрузки;
xИ - индуктивное сопротивление измерительной обмотки.
Таким образом, можно считать, выходную характеристику датчика
линейной, и его математическая модель имеет вид:
(2.3)
где: ΔU -
изменение напряжения датчика;
ΔМр - момент резания;
КД
- коэффициент усиления датчика.
Коэффициент усиления датчика:
Передаточная функция датчика:

(2.4)
Рис.3.5 Зависимость выходного сигнала от крутящего момента
Усилитель.
Усилитель напряжения в данной автоматической системе предназначен
для усиления сигнала и является четырёхканальным типа УТ4-1.
В приборе используется принцип усиления полезного сигнала на
несущей частоте, он включает в себя задающий генератор и четыре самостоятельных
канальных усилителя.
Блок схема прибора приведена на рис.3.6.
Рис.3.6 Блок-схема одного канала усилителя
Математическая модель усилителя имеет вид:
(2.5)
где ΔUу - усиленное напряжение;
ΔU - напряжение датчика;
Ку
- коэффициент усиления усилителя.
Передаточная функция:
(2.6)
Рис.3.7 Зависимость выходного напряжения от сигнала датчика
Коэффициент усиления сигнала равен:
Ку
= tg
Принципы действия датчика и усилителя, для систем с гидравлическим
и электромеханическим приводами подач одинаковы, что позволяет при расчете
использовать их математические модели в обеих системах без изменения.
Преобразователь частоты тока
Для автоматических систем управления металлорежущим оборудованием,
наиболее подходящим является полупроводниковый преобразователь модели VFD-V фирмы DELTA, структурная схема, которого показана на
рис.3.8.
Рис 3.8 Структурная схема преобразователя частоты тока
Рис.3.9 Общий вид преобразователя частоты тока VFD-V
Данный преобразователь предназначен для управления скоростью
вращения трехфазных, асинхронных электродвигателей с короткозамкнутым ротором
мощностью от 0,4 до 7,5 кВт, обладает малыми габаритными размерами и
сравнительно низкой стоимостью, а также имеет ряд преимуществ и встроенных
функций, что значительно упрощает автоматическую систему:
· Съемный пульт управления
с пятиразрядным светодиодным дисплеем. Пульт позволяет сохранять и копировать
установки параметров с одного преобразователя на другие.
· Возможность вывода и
контроля на цифровом светодиодном дисплее до 50 текущих параметров привода
(частота, ток, напряжение, момент, скорость, коэффициент мощности, температура
IGBT - модуля, мощность, пороги защиты и т.п.);
· Широкие возможности
задания характеристики U/F при частотном способе управления (пять точек
характеристики задаваемых пользователем).
· Стабилизация напряжения
на двигателе (функция AVR) при изменении напряжения питающей сети.
· Частотный и векторный
алгоритмы управления в замкнутой и разомкнутой системе регулирования скорости и
момента, в том числе, при работе с цифровыми датчиками скорости и цифровым
управлением от master encoder.
· Функция прямого
управления моментом.
· Встроенный ПИД-регулятор
для эффективной работы привода в замкнутой системе автоматического
регулирования.
· 1 аналоговый выход
(0…10В) с сигналом пропорциональным выходному току, частоте, напряжению и
другим текущим параметрам
· 1 импульсный выход для
подключения внешнего частотомера, контролирующего выходную частоту.
Основные характеристики преобразователей VFD-V представлены в
таблице 3.1.
Таблица 3.1
|
Модель VFD__V43A
|
007
|
015
|
022
|
037
|
055
|
075
|
110
|
150
|
185
|
220
|
300
|
370
|
450
|
550
|
750
|
|
Ном. мощность двигателя, кВт
|
0.75
|
1.5
|
2.2
|
3.7
|
5.5
|
7.5
|
11
|
15
|
18.5
|
22
|
30
|
37
|
45
|
55
|
75
|
|
Полная выходная мощность, кВт
|
2.3
|
3.2
|
4.6
|
6.5
|
9.9
|
13.7
|
18
|
24
|
29
|
34
|
45.7
|
55.6
|
69.3
|
84
|
114
|
|
Ном. вых. ток, A, при M-const
|
3
|
4.2
|
6
|
8.5
|
13
|
18
|
24
|
32
|
38
|
45
|
60
|
75
|
91
|
110
|
150
|
|
Ном. вых. ток, A, при M-var
|
3.8
|
5.3
|
7.5
|
10
|
16
|
22
|
30
|
40
|
47
|
56
|
75
|
91
|
113
|
138
|
188
|
|
Диапазон регулировки
|
вых. частоты от 0.1 до 400 Гц, c дискретностью
0,01 Гц, Uвых - от 0 до Uсети
|
|
Перегрузочная способность
|
150% от номинального тока в течение 60 сек
|
|
Параметры питающей сети
|
~ 3 х (380 - 460) В ±10%, частотой 50/60Гц ±5%
|
|
Потребл. от сети ток, A, не более
|
4
|
5.7
|
7.3
|
9.9
|
12.2
|
17.2
|
23
|
38
|
55
|
56
|
60
|
73
|
91
|
130
|
175
|
|
Габариты (шир/выс/глуб.), мм
|
150 260 160
|
150 272 184
|
200 323 183
|
250 404 205
|
370 589 260
|
425 660 264
|
|
|
|
|
|
|
|
|
|
|
|
|
|
|
|
|
|
Математическая модель данного звена аналогично математической
модели датчика, как звено безинерционное.
Коэффициенты усиления звеньев
Ку = 1000 и Кп = 1
Математическая модель преобразователя соответственно

у (3.36)
Рис.3.10 График изменения тока усилителя от напряжения датчика.
передаточное отношение
На рис.3.11 показан преобразователь частоты серии VFD-M,
предназначенный для управления скоростью вращения трехфазных асинхронных
электродвигателей с короткозамкнутым ротором мощностью от 0,4 до 7,5 кВт.
Источник питания ПЧ - трехфазная сеть переменного тока - с номинальным
напряжением 380/400/460В, частотой 50/60Гц.
Рис 3.11 электрическая схема промышленного преобразователя частоты
серии VFD-V.
Асинхронный трехфазный электродвигатель
Для двигателей основной является механическая характеристика ω=f (M), то есть зависимость частоты вращения от момента, которая для
асинхронного двигателя может быть получена на основании выражения (3.37) -
аналитическое выражение для электромагнитного момента) или с учетом связи между
скольжением S и частотой вращения ω. Вид механической
характеристики показан на рис 3.12.
(3.37)
Рис.3.12. Механическая характеристика асинхронного трехфазного
двигателя.
Ее можно разбить на два участка - рабочий (0-а) при
0<S<SM и участок пуска (a-b) при SM<S<1.
Обычно в асинхронных трехфазных двигателях с короткозамкнутым ротором SM=0.05.0.15,
т.е. характеристики достаточно жесткие и рабочая частота вращения ωн близка к синхронной ω0. Для таких двигателей на
рабочем участке
т.е. преобладает активная составляющая сопротивления ротора.
Тогда, пренебрегая в формуле (11) сопротивлениями xґрп и r1
по сравнению с
,
получим упрощенное выражение для рабочего участка
механической характеристики
откуда
(3.38),
где ω - частота вращения
ротора, ω1 - частота вращения поля, Uc - напряжение питания сети,
Rґp - приведенное сопротивление ротора.
Рис.3.13. Механическая характеристика асинхронного
трехфазного двигателя.
Как видно из выражения (3.38) и рис 3.13, изменение напряжения
питания мало влияет на частоту вращения ротора на рабочем участке и диапазон
управления напряжением весьма ограничен.
Несколько больший диапазон может быть обеспечен двигателем
повышенного скольжения (SM≥1). Однако в этом случае
механические характеристики имеют большую крутизну (рис 3.14) и устойчивая
работа двигателя может быть достигнута лишь при использовании замкнутой
системы, обеспечивающей стабилизацию скорости. При изменении статического
момента система регулирования поддерживает заданный уровень скорости и
происходит переход с одной механической характеристики на другую, в итоге
работа протекает на характеристиках, показанных на штриховыми линиями.
Рис.3.14. Механическая характеристика асинхронного
трехфазного двигателя.
Плавное регулирование скорости в широких пределах с
сохранением достаточной жесткости характеристик возможно только при частотном
управлении. Как видно из формулы (3.38), изменяя частоту вращения поля ω1, можно изменять частоту вращения ротора ω за счет первого слагаемого формулы, при этом желательно, чтобы
второе слагаемое не менялось, т.е. жесткость характеристики при этом не
изменялась. Для этого одновременно с частотой, изменяют напряжение питания Uc
так, чтобы их отношение оставалось постоянным
.
Тогда рабочий участок механической характеристики при
частотном управлении можно приближенно представить формулой:
(3.39)
Такое управление называется пропорциональным частотным
управлением.
Вид механических характеристик при пропорциональном
управлении показан на рис 3.15.
Рис.3.15. Частотное управление асинхронным двигателем.
Как динамическая система асинхронный трехфазный двигатель описывается
нелинейным дифференциальным уравнением второго порядка:

(3.40)
где 
,
- соответственно индуктивное и активное сопротивление в обмотке
возбуждения; 
=15,8 - коэффициент вязкого трения; 
- угловая скорость выходного вала электродвигателя; 
- постоянная электродвигателя; 
- напряжение цепи.
Так как в уравнении (3.40) регулируемой величиной является скорость
выходного вала электродвигателя, то (3.40) запишется в виде:

, (3.41)
где 
;


;
Выражение (3.41) является математической моделью электродвигателя.
Передаточная функция электродвигателя имеет вид

; (3.42)
Динамическая характеристика показана на рис 3.16
Рис 3.16. Динамическая характеристика электродвигателя (частота
вращения вала электродвигателя)
Механические характеристики двигателя в зависимости от скольжения
показаны на рис 3.17
Рис.3.17. Механические характеристики двигателя в зависимости от
скольжения
Коробка скоростей
Рассмотрим коробку скоростей как динамическую систему, задачей
которой является передача крутящего момента от электродвигателя на
обрабатываемый вал, закрепленный на шпинделе с определенной угловой скоростью ω.
Для удобства получения математической модели коробки скоростей воспользуемся
зависимостью:

(3.43),
где Nдв - мощность на валу электродвигателя, NPz
- мощность на обрабатываемом валу,
- коэффициент полезного действия коробки скоростей, который
зависит от передачи включенного в данный момент, он равен:

(i, j, k = 1,2,3…n),
здесь 
- коэффициенты полезного действия пар подшипников, зубчатых
зацеплений и ременной передачи.
Для станка 1К 62 при частоте вращения шпинделя 630 об/ мин 
так как мощность есть зависимость 
, то примет вид:

,
или

(3.44),
где 
(3.44) - математическая модель коробки скоростей.
Передаточное отношение для коробки скоростей запишется:

(3.45),
Приняв изменения моментов линейными и исключая микродеформации в
самом механизме (изгибы и скручивания валов, зубчатых зацеплении, ременной
передачи), мы построим зависимость (3.44) на графике.
Рис.3.18 Динамическая характеристика коробки подач
3.3
Соединение звеньев
Объединяя все звенья в единую систему можно получить
автоматическую систему в более удобной форме, путём проведения ряда операций
над передаточными функциями динамических звеньев. Полученная схема системы
позволяет рассмотреть процесс в простейшей форме.
Технологический процесс резания: 
Передаточное отношение датчика: 
Передаточное отношение усилителя: 
Передаточные функции для системы
Преобразователь частоты тока: 
Асинхронный трехфазный электродвигатель:
Коробка скоростей: 
По правилам соединения звеньев:

На схеме
Выводы:
1. Разработаны принципиальные, функциональные и
структурные схемы САУ усилием резания агрегатных станков;
2. Разработаны математические модели, как отдельных
элементов, так и в целом систем автоматического управления режимами работ
агрегатного станка.
. Математические модели и алгоритм расчёта САУ
позволяет произвести полный расчёт их параметров, что даёт возможность
проектировать их к подобным станкам, предназначенным для обработки отверстий.
4.
Безопасность жизни деятельности
4.1
Опасные и вредные производственные факторы
4.1.1
Основные определения и классификация
На человека в процессе его трудовой
деятельности могут воздействовать опасные (вызывающие травмы) и вредные
(вызывающие заболевания) производственные факторы.
Вредный производственный
фактор -
производственный фактор, воздействие которого на работающего, в определённых
условиях, приводит к заболеванию или снижению работоспособности.
Опасный производственный
фактор -
производственный фактор, воздействие которого на работающего, в определённых
условиях, приводит к травме или другому внезапному ухудшению здоровья.
Вредный производственный фактор, в
зависимости от интенсивности и продолжительности воздействия, может стать
опасным.
4.1.2
Классификация опасных и вредных производственных факторов
Опасные и вредные производственные факторы
подразделяются по природе действия на следующие группы:
- физические;
- химические;
- биологические;
- психофизиологические.
Физические опасные и
вредные производственные факторы подразделяются на следующие:
- движущиеся машины и
механизмы; подвижные части производственного оборудования; передвигающиеся
изделия, заготовки, материалы; разрушающиеся конструкции; обрушивающиеся горные
породы;
- повышенная запыленность и
загазованность воздуха рабочей зоны;
- повышенная или пониженная
температура поверхностей оборудования, материалов;
- повышенная или пониженная
температура воздуха рабочей зоны;
- повышенный уровень шума
на рабочем месте;
- повышенный уровень
вибрации;
- повышенный уровень
инфразвуковых колебаний;
- повышенный уровень
ультразвука;
- повышенное или пониженное
барометрическое давление в рабочей зоне и его резкое изменение;
- повышенная или пониженная
влажность воздуха;
- повышенная или пониженная
подвижность воздуха;
- повышенная или пониженная
ионизация воздуха;
- повышенный уровень
ионизирующих излучений в рабочей зоне;
- повышенное значение
напряжения в электрической цепи, замыкание которой может произойти через тело
человека;
- повышенный уровень
статического электричества;
- повышенный уровень
электромагнитных излучений;
- повышенная напряженность
электрического поля;
- повышенная напряженность
магнитного поля;
- отсутствие или недостаток
естественного света;
- недостаточная
освещенность рабочей зоны;
- повышенная яркость света;
- пониженная контрастность;
- прямая и отраженная
блесткость;
- повышенная пульсация
светового потока;
- повышенный уровень
ультрафиолетовой радиации;
- повышенный уровень
инфракрасной радиации;
- острые кромки, заусенцы и
шероховатость на поверхностях заготовок, инструментов и оборудования;
- расположение рабочего
места на значительной высоте относительно земли (пола);
- невесомость.
4.1.2
Мероприятия при подготовке и проведении в организациях охраны труда
Комплекс мероприятий должен быть направлен на усиление
внимания к проблемам безопасности на производстве, улучшению информированности
работников о существующих производственных рисках, способах защиты от них,
повышению их сознательного отношения к собственной безопасности.
Мероприятия:
. Руководителям организации проводить совещания по вопросам
безопасности на производстве с заслушиванием отчётов руководителей, допустивших
случаи травмирования работников на производстве, а также не уделяющих должного
внимания вопросам охраны труда; довести до каждого руководителя работ -
мастера, прораба и т.п. информацию о том, что сегодня большинство травм на
производстве происходит по организационным причинам, не требующим для их
устранения особых финансовых затрат, а требующим одного - порядка. Именно
четкое знание и безусловное выполнение элементарных норм и требований
должностных инструкций и инструкций по охране труда обеспечивают работу без
травм и аварий.
. Специалистам по охране труда, уполномоченным (доверенным)
лицам по охране труда профсоюзов, членам комитетов (комиссий) по охране труда
подготовить подробные данные по анализу причин травматизма и профессиональных
заболеваний на предприятии в целом, а также по цехам, профессиям, видам работ и
т.п.
. Провести повсеместные проверки состояния охраны труда на
рабочих местах в каждом подразделении с акцентом на следующих вопросах:
изучение состояния условий труда на рабочих местах
изучение состояния рабочих инструментов, оборудования,
ограждающих устройств
изучение соответствия карт аттестации рабочих мест по
условиям труда фактическим условиям труда с учетом их изменения с течением
времени
изучение состояния и использования санитарно-бытовых
помещений и санитарно-гигиенических устройств
изучение обеспечения работников специальной одеждой,
специальной обувью и другими средствами индивидуальной защиты
изучение правильности их применения и соответствия реальным
условиям труда
изучение организации хранения, выдачи, стирки, химической
чистки, сушки, обеспыливания, обезжиривания и ремонта специальной одежды,
специальной, обуви и других средств индивидуальной и коллективной защиты
изучение правильности предоставления компенсаций за работу с
вредными условиями труда
изучение организации обучения безопасным методам и приемам
выполнения работ, проведения своевременного и качественного инструктажа
работников по безопасности труда
изучение должностных инструкций специалистов и руководителей
всех уровней на предмет соответствия фактическим обязанностям по обеспечению
безопасных условий и охраны труда работников
выполнение мероприятий по устранению причин, вызвавших
несчастный случай на производстве
эффективность работы аспирационных и вентиляционных систем
условия труда лиц моложе 18 лет и женщин в соответствии с
законодательством
проблемы внедрения в производство более совершенных
технологий, новой техники, автоматизации и механизации производственных
процессов с целью создания здоровых и безопасных условий труда, ликвидации
тяжелых физических работ.
. Организовать беседы, семинары, конференции, собрания с
коллективами работников по вопросам охраны труда и трудовому законодательству с
участием руководителей и специалистов, профсоюзного актива; на этих
мероприятиях рассматривать следующие вопросы:
итоги конкурсов по охране труда и задачи новых конкурсов
итоги проведённых проверок состояния условий и охраны труда
анализ хода и результатов аттестации рабочих мест по условиям
труда
состояние и причины производственного травматизма и проф.
заболеваемости в организации, в подразделениях - с конкретными примерами
отчёт об итогах деятельности совместного комитета (комиссии)
по охране труда
отчёт работодателя и профкома о выполнении условий
коллективного договора и соглашения по охране труда, а также об исполнении
бюджета охраны труда
рассмотрение предложений по разработке
организационно-технических и санитарно-оздоровительных мероприятий для внесения
изменений в соглашение по охране труда или для подготовки проекта
соответствующего раздела нового коллективного договора, соглашения по охране
труда
сбор и анализ соответствующих предложений работников в
пределах своей компетенции по решению проблем охраны труда
информирование работников о состоянии условий и охраны труда
на рабочих местах, существующем риске повреждения здоровья и полагающихся
работникам средствах индивидуальной защиты, компенсациях и льготах, их роли в
обеспечении безопасности труда; правах и гарантиях прав работающих
рассмотрение предложений профсоюзов и иных уполномоченных
работниками представительных органов, а также отдельных работников по созданию здоровых
и безопасных условий труда на предприятии в целом, а также в подразделениях и
на рабочих местах и выработка рекомендаций, формирование планов мероприятий,
отвечающих требованиям сохранения жизни и здоровья работников в процессе
трудовой деятельности
доведение до работников информации об их ответственности за
соблюдение требований по охране труда
поощрение руководителей и специалистов за активную работу по
улучшению условий и охраны труда
поощрение рабочих за безаварийную работу, за соблюдение требований
охраны труда при достижении высоких производственных показателей
. Организовать и осуществить посещение других цехов и
предприятий с обменом опытом или взаимопроверкой состояния условий и охраны
труда
. Разработать на основе предложений сторон программы
совместных действий работодателей, профессиональных союзов и иных
уполномоченных работниками представительных органов по улучшению условий и
охраны труда, предупреждению производственного травматизма и профессиональных
заболеваний.
4.1.3
Безопасность жизни деятельности при работе на агрегатных станках
1. Не оставлять ключ в многошпиндельном патроне.
2. При обработке деталей использовать только
соответствующие размеры заготовок.
. При обработке детали станком обязательно закрыть
защитную дверцу.
. Измерение обрабатываемых деталей и проверка качества
их обработки категорически запрещается до полной остановки станка.
. Перед установкой рабочего инструмента проверить
прочность его закрепления в патроне.
. Проверить действие охлаждения или местного вентиляционного
отсоса.
. Обязательно пользоваться индивидуальными средствами
для защиты глаз (очки, маски и т.д.) или защитными экранами.
. Выбирать программу обработки детали соответствующим
режимам технологии обработки.
. Проверить рабочее место на наличие посторонних не
желательных предметов, жидких пролитых веществ (масла, вода или горючие
вещества).
. Проверить надежность заземления электрической части
станка.
. Рабочее место должно иметь хорошее и правильное
освещение.
На рис.4.1 изображен общий вид агрегатного станка с защитным
приспособлением от случайных попаданий стружек и сломанных осколков
инструмента.
Рис.4.1 Установка защитного приспособления от случайного
попадания стружек и сломанных осколков инструмента.
Здесь: 1 - защитное стекло; 2 - рабочий инструмент; 3 -
бункер; 4 - органы управления; 5 - станок; 6 - защитный шкаф.
На рисунках 4.2 и 4.3 приведены схемы возможных вариантов
заземления и зануления электрической части станка.
Рис.4.2 Защитная схема зануления при высоковольтной нагрузке
Рис.4.3 Защитная схема заземления при высоковольтной нагрузке
5.
Экономическая часть
5.1
Расчет экономической эффективности от внедрения автоматических систем в
производство
Расчёт и анализ экономического эффекта от внедрения
автоматических систем в производство является важнейшим этапом выполнения
поставленных задач в данной работе, который проявляется экономией затрат
материальных и трудовых ресурсов, повышений прибыли и производительности труда,
сокращении численности рабочего персонала, повышении качества выпускаемой
продукции и производительности внедряемой техники.
Представленный расчёт выполнен по методике расчёта и оценки
экономической эффективности внедрения автоматических систем в производство,
разработанной в КГТУ им.И. Раззакова на кафедре "Автоматизация и
робототехника".
Расчёт основан на работе двух проектов мнимых предприятий: с
применением автоматических систем и без их применения, где определяется
отдельно для каждого предприятия величина инвестиций, себестоимость
спроектированного объекта, сравнивается с фактической стоимостью единицы работы
аналога и, установив экономию, рассчитывается экономический эффект.
5.1.1
Расчет величины капитальных вложений
Инвестиции - это долгосрочное вложение капитала с целью
получения прибыли.
В общем виде капитальные вложения включают следующие
элементы:

;
Где Коб - капитальные вложения в техническое
оборудование, (сом);
Кзд
- капитальные вложения в здание, занимаемое оборудованием, (сом);
Косн - капитальные вложения в технологическую оснастку, (сом);
Ктр
- капитальные вложения в транспортные средства, (сом);
Ксопр - сопряженные капитальные вложения, (сом);
Кн. з - единовременные затраты в незавершенное производство в сом;
Квыб - затраты, связанные с реализацией или списанием по остаточной
стоимости освобожденных основных фондов после внедрения нового технологического
процесса (мероприятия), (сом).
Капитальные вложения в технологическое оборудование определяется по формуле:

;
где 
- первоначальная стоимость единицы оборудования, (сом);

;

- рыночная цена единицы оборудования, (сом);

- коэффициент, учитывающий дополнительные затраты на
строительно-монтажные работы и транспортно заготовительные расходы, равен от
1,05 до 1,2;

- принятое количество единиц технологического оборудования для
выполнения годового объема работ, (шт.);

- коэффициент загрузки технологического оборудования по
вариантам;
где Прасч - расчётное количество оборудования:
Где Qшт - годовая программа выпуска изделия,
(шт.);
tшт
- трудоемкость изготовления изделия, (мин);
Fд
- годовой фонд времени оборудования (2300 - 4140 часов).
Кв. н - коэффициент
выполнения норм выработки (1,05 - 1,2).
Капитальные вложения в здание, занимаемое оборудованием, рассчитывается по формуле:

;
гдеf - площадь, занимаемая единицей оборудования, (м2);
Кдоп - коэффициент, учитывающий дополнительную площадь на проходы,
проезды, принимается равным от 1,5 до 5,0 м в зависимости, занимаемой станком;
Цз. д. - стоимость
1м2 производственной площади принимается равный от 600 до 900 сомов.
Капитальные вложения в технологическую оснастку определяются по формуле:
Где Цj -
стоимость j - го приспособления для обработки деталей, (сом);
р -
номенклатура приспособлений, необходимых для обработки деталей i - го
наименования;
m -
номенклатура деталей, обрабатываемых на оборудовании.
Для укрупненных расчетов, когда в разработках отсутствует задание
по проектированию оснастки, капитальные вложения в оснастку составляют 5% от
стоимости оборудования.
Расчет капитальных вложений в транспортные средства:
При условии, что предусматривается полное закрепление транспортных
средств отдельными рабочими местами (при применении, например, роботов и т.п.),
величина капитальных вложений в них рассчитывается аналогично расчетам
капвложений в технологическое оборудование.
Если транспортные средства не закрепляются за данными рабочими
местами, то их размер определяется укрупнено в пределах 10-18% от стоимости
технологического оборудования:
Результаты расчетов сводим в табл.5.5
Таблица 5.5
Результаты расчётов
|
Наименование капитальных вложений
|
Ед. изм.
|
Базовый вариант
|
Проектный вариант
|
|
В технологическое оборудование
|
сом
|
|
|
|
В здание
|
" - "
|
|
 000
|
|
В оснастку
|
" - "
|
|
|
|
В транспортные средства
|
" - "
|
56240
|
56480
|
|
Итого
|
" - "
|
4753000
|
4772000
|
5.1.2
Расчет технологической себестоимости изготовления изделия
При определении сравнительной экономической эффективности
используется не полная себестоимость, а технологическая. Представляющая собой
совокупность изменяющихся элементов затрат, непосредственно вызванных
внедрением проектного варианта обработки изделия. Такой метод значительно
упрощает расчеты, не снижая при этом его точности.
В общем случае технологическая себестоимость определяется по
формуле:

;
Где См - расходы на основные материалы;зп
- расходы на основную и дополнительную зарплату основных и вспомогательных
рабочих с отчислениями на:
соцстрах;
Са - величина амортизационных отчислений;
Сэ - затраты на силовую электроэнергию;
Сри
- затраты на эксплуатацию режущего инструмента;
Сп - затраты на эксплуатацию помещений;
Сср - затраты на содержание, обслуживание и ремонт оборудования;
Спр
- прочие расходы.
Расходы на основные материалы:
Расходы на основные материалы определяются в случае изменения
заготовки в проектируемом варианте относительно базового по формуле
где Вз - вес заготовки;
Вд
- вес детали;
Ц - цена единицы
материала, рыночная цена с учетом транспортно-заготовительных расходов;
Ц1 - цена
единицы отходов материала;
β - процент безвозвратных потерь;
Qi - годовой объем производства деталей i - го наименования.
Расходы на зарплату:
а) зарплата основных производственных рабочих:
Где tшт. к - норма штучно-калькуляционного
времени изготовления одной детали;
Сч. о - часовая
тарифная ставка рабочего 1-го разряда;
Ктар. - тарифный коэффициент;
Qi
- годовая программа деталей i - го наименования;
б) премии и доплаты производственным рабочим:
где а - принять 30 ч 40.
в) дополнительная зарплата:
Где β -
принять равным 10.
г) отчисления на социальное страхование:
где 
- рекомендуется принять равным 27.
Итого, зарплата основных рабочих:
д) зарплата вспомогательных рабочих, в том числе и контролеров,
определяется по формуле:
Где Rвсп - количество вспомогательных рабочих,
(чел.);
Ттар - часовая тарифная ставка соответствующего разряда;
k -
коэффициент, учитывающий доплаты и соцстрах - 1,4;
Fэ
- эффективный фонд времени годовой работы (час.), (принять в пределах 1860 ч
1905).
Расходы на амортизацию оборудования:
Где Коб - капвложения в технологическое
оборудование, (сом).
На
- годовая норма амортизационных отчислений по данному виду оборудования, в
процентах: (14-15%).
Затраты на силовую электроэнергию:
где Nэл - установленная мощность
электродвигателей данного оборудования, (кВт.);
Ко
- коэффициент одновременности работы электродвигателей (рекомендуется при одном
двигателе принимать 1);
Квз
- коэффициент загрузки двигателя во времени от 0,6 до 0,9;
Кзм
- коэффициент загрузки двигателя по мощности от 0,4 до 0,6;
Fэ
- эффективный фонд времени работы оборудования, час;
Цэл
- стоимость 1квт/ч электроэнергии принять 1,327 сом;
Ккпд - коэффициент полезного действия двигателя (рекомендовано принять
равным 0,93 - 0,98.)
Затраты на эксплуатацию технологической оснастки определяется по формуле:
Где Косн - капвложения в технологическую
оснастку, (сом);
Тосн - срок службы технологической оснастки.
Прочие расходы:
Принимаются расчетно-прямым путем по элементам, не учтенным выше.
Для укрупненных расчетов принять 20-25%.
Результаты расчетов сведены в табл.5.6.
Таблица 5.6
Результаты расчетов
|
Наименование элементов
|
Единица измерения
|
Базовый вариант
|
Проектный вариант
|
|
Основные материалы
|
сом
|
|
|
|
Зарплата рабочих с начислениями на соцстрах
|
" - "
|
|
|
|
Зарплата вспомогательных рабочих
|
" - "
|
|
|
|
Амортизационное отчисления оборудования
|
" - "
|
|
|
|
Силовая электроэнергия
|
" - "
|
|
|
|
Эксплуатация технологической оснастки
|
" - "
|
|
|
|
Прочие расходы
|
" - "
|
|
|
5.1.3
Методы расчета показателей эффективности новой техники и технологии
Экономическая эффективность - затраты и результаты связанные
с реализацией проекта. Основу оценки эффективности проектов составляет определение
и соотнесение затрат и результатов их осуществления. Ответственность оценки
эффективности инвестиционных проектов обусловлена тем, что от ее эффективности
зависит:
срок возврата вложенных средств;
доход предприятия;
перспективы развития предприятия.
В расчетах экономической эффективности рекомендуется
руководствоваться следующими основными положениями.
. В тех случаях, когда новые капитальные затраты полностью
добавляются к стоимости действующих фондов, величина годовой экономии
определяется по одной из следующих формул:
Где Кд - новые (дополнительные) капитальные
затраты, отнесенные к единице годового выпуска продукции после внедрения
усовершенствования;
. Величина условно годовой экономии Эу
и экономии до конца года Эк определяется по формулам:
Эу = (S1 - S2) N;
Где N - годовой выпуск продукции в натуральных
единицах;
Эу = 3113000 (сом)
. Расчетный срок окупаемости капитальных затрат может
быть определен по одной из следующих формул (в годах):
. Расчетный коэффициент эффективности капитальных затрат
определяется, как величина обратная Ток:
. Внедрения мероприятия экономически
целесообразно, если выдержаны следующие соотношения:
Ток ≤ Ток. н или Е
≥ Ен,
Где Ток. н - нормативный срок окупаемости.
. Срок окупаемости инвестиции, основан на расчете того
количества лет, которое необходимо для полного возмещения инвестиций
(первоначальных выплат) при сравнении величины ежегодных поступлений средств.
Срок окупаемости:
Где Ток - срок окупаемости инвестиций,
(год);
И - исходные инвестиции в проект (капиталовложения),
(сом);
Эг - годовая экономия.
Сводные технико-экономические показатели проекта представлены
в таблице 5.7.
Таблица 5.7
Сводные технико-экономические показатели проекта
|
Наименование элементов
|
Единица измерения
|
Базовый вариант
|
Проектный вариант
|
|
Годовой выпуск продукции
|
шт.
|
3300
|
4000
|
|
Трудоемкость изготовления одного изделия
|
мин
|
20
|
15
|
|
Площадь, занимаемая оборудованием
|
м2
|
90
|
78
|
|
Среднемесячная зарплата основных рабочих
|
сом
|
7428
|
6850
|
|
Продолжительность смены
|
час
|
8
|
8
|
|
Производительность труда одного рабочего
|
шт. /день
|
12
|
15
|
|
Инвестиции
|
сом
|
47530000
|
47720000
|
|
Удельные капитальные вложения
|
" - "
|
|
19000
|
|
Годовые текущие затраты
|
" - "
|
16550000
|
12270000
|
|
Себестоимость единицы продукции
|
" - "
|
14400
|
11930
|
|
Срок окупаемости
|
год
|
6
|
3
|
|
Стойкость инструмента
|
час
|
4
|
6
|
|
Точность изготовления
|
(мкм)
|
+15 0
|
На рис.5.14 представлены сравнительные диаграммы основных
результатов расчёта двух проектов.
Рис.5.14. Сравнительные диаграммы проектов
- базовый вариант; - проектный вариант
Заключение
Данная работа была направлена на уменьшения и устранения
погрешностей технологических режимов работ (стабилизация скорости резания),
предотвращения заклинивания режущего инструмента, а также создание нового
агрегатного станка с адаптивной системой управления. Система, разработанная
здесь, имеет конструктивно новые решения (создана автоматическая система
управления при непрерывной обработке) обеспечивающая постоянство скорости
подачи инструмента, которая становится актуальной при обработке деталей с
постоянным "шаговым" требованием. Спроектировано приспособление по
непрерывному нарезанию гаек. Система автоматического регулирования,
разработанная в данной работе способна ответить требованиям задаваемых
точностей, предъявляемых к обработанным деталям.
Список
литературы
1. Автоматизация
механической обработки и управления / Под. ред. А.В. Федотова. - М.:
Машиностроение, 1982.
2. Андрианов
А.И. Прогрессивные методы технологии машиностроения. М.: Машиностроение, 1975.
- 273 с.
. Ачеркан
Н.С., Гаврюшин А.А., Ермаков В.В. и др. Металлорежущие станки. Том 1 - М.:
Машиностроение, 1965. - 764 с.
. Ачеркан
Н.С., Гаврюшин А.А., Ермаков В.В. и др. Металлорежущие станки. Том 2 - М.:
Машиностроение, 1965. - 628 с.
. Балакшин
Б.С. Основы технологии машиностроения - М.: Машиностроение, 1969. - 559 с.
. Балакшин
Б.С. Адаптивное управление станками - М.: Машиностроение, 1976. - 680 c.
. Балакшин
Б.С. Самоподнастраивающиеся станки - М.: Машиностроение, 1970. - 407 с.
. Белов
М.П., Новиков В.А., Рассудов Л.Н. Автоматизированный электропривод типовых
производственных механизмов и технологических комплексов.3-е изд. испр. М.:
Издательский центр "Академия" 2007. - 576 с.
. Бесекерский
В.А., Попов Е.П. Теория систем автоматического регулирования. М.: Наука, 1996.
- 992 с.
. Горбань
Р.Н., Янукович А.Т. - под редакцией Гаврилова А.В. Совершенный
частотно-регулируемый электропривод - С. - Петербург, СПЭК 2001. - 315 с.
. Каминская
В.В. Направление развития адаптивных систем управления для станков с ЧПУ.
Станки и инструмент, 1973, № 3, с.2-4.
. Кантор
В.И. Оптимальное управление точностью обработки деталей в условиях АСУ / М.:
Машиностроение, 1981. - 253 с.