Основные свойства элегазовых выключателей

  • Вид работы:
    Курсовая работа (т)
  • Предмет:
    Физика
  • Язык:
    Русский
    ,
    Формат файла:
    MS Word
    1,13 Мб
  • Опубликовано:
    2012-04-05
Вы можете узнать стоимость помощи в написании студенческой работы.
Помощь в написании работы, которую точно примут!

Основные свойства элегазовых выключателей

СОДЕРЖАНИЕ

ВВЕДЕНИЕ

1. ОБЩАЯ ИНФОРМАЦИЯ

2. ОСНОВНЫЕ ПАРАМЕТРЫ ВЫКЛЮЧАТЕЛЕЙ ВЫСОКОГО НАПРЯЖЕНИЯ

3. ЭЛЕГАЗ

3.1 Физико-химические свойства элегаза

3.2 Анализ элегаза

4. ЭЛЕГАЗОВЫЕ ВЫКЛЮЧАТЕЛИ

4.1 Конструкция элегазовых выключателей

4.2 Основные составные части элегазового выключателя

4.2.1 Полюс выключателя

4.2.2 Дугогасительное устройство

4.2.3 Газовая система

4.2.4 Привод

5. ДУГОГАСИТЕЛЬНЫЕ УСТРОЙСТВА

6. ЭЛЕГАЗОВЫЕ ВЫКЛЮЧАТЕЛИ ВГТ-110-40/2500 У1 И ВГТ-220-40/2500 У1

6.1 Основные преимущества выключателей данной серии

6.2 Технические данные

6.3 Принцип работы и устройство

6.4 Устройство и работа составных частей

ЗАКЛЮЧЕНИЕ

СПИСОК ЛИТЕРАТУРЫ

ВВЕДЕНИЕ

Одним из быстро развивающихся направлений создания новых конструкций выключателей переменного тока высокого и сверхвысокого напряжения, отличающихся меньшими габаритами и отвечающих требованиям современной энергетики по коммутационной способности и надежности, является применение дугогасящих сред, более эффективных по сравнению с воздухом и маслом. Интенсивное внедрение вакуумной и элегазовой аппаратуры обусловлено тем, что пока не найдено способов эффективного дугогашения, способных конкурировать с дугогашением в элегазе или вакууме. Не получено и новых видов диэлектриков, по электроизоляционным, дугогасительным и эксплуатационным свойствам превосходящих элегаз или вакуум.

Основные достоинства элегазового оборудования определяются уникальными физико-химическими свойствами элегаза. При правильной эксплуатации элегаз не стареет и не требует такого тщательного ухода за собой, как масло.

Элегазовому оборудованию также присущи: компактность; большие межревизионные сроки, вплоть до отсутствия эксплуатационного обслуживания в течение всего срока службы; широкий диапазон номинальных напряжений (6-1150 кВ); пожаробезопасность и повышенная безопасность обслуживания.

Элегазовые выключатели начали усиленно разрабатываться с 1980 г. и имеют большие перспективы при напряжениях 110…1150 кВ и токах отключения до 80 кА. В технически развитых странах элегазовые выключатели высокого и сверхвысокого напряжения (110-1150 кВ) практически вытеснили все другие типы аппаратов. Также ведущие зарубежные фирмы практически полностью перешли на выпуск комплектных распределительных устройств с элегазовой изоляцией (КРУЭ) и элегазовых выключателей для открытых распределительных устройств на классы напряжения 110 кВ и выше.

В данном курсовом проекте будут рассмотрены основные свойства элегазовых выключателей, их технические характеристики и конструкция, а также преимущества и недостатки. Для более полного изучения вопроса считаю также необходимым рассмотреть подробнее элегаз и его основные свойства.

выключатель элегаз напряжение

1. ОБЩАЯ ИНФОРМАЦИЯ

Выключатели предназначены для оперативной и аварийной коммутации в энергосистемах, т.е. выполнения операций включения и отключения отдельных цепей при ручном или автоматическом управлении. Во включенном состоянии выключатели должны беспрепятственно пропускать токи нагрузки. Характер режима работы этих аппаратов несколько необычен: нормальным для них считается как включенное состояние, когда они обтекаются током нагрузки, так и отключенное, при котором они обеспечивают необходимую электрическую изоляцию между разомкнутыми участками цепи. Коммутация цепи, осуществляемая при переключении выключателя из одного положения в другое, производится нерегулярно, время от времени, а выполнение им специфических требований по отключению возникающего в цепи короткого замыкания чрезвычайно редко. Выключатели должны надежно выполнять свои функции в течение срока службы (25 лет), находясь в любом из указанных состояний, и одновременно быть всегда готовыми к мгновенному эффективному выполнению любых коммутационных операций, часто после длительного пребывания в неподвижном состоянии. Отсюда следует, что они должны иметь очень высокий коэффициент готовности: при малой продолжительности процессов коммутации (несколько минут в год) должна быть обеспечена постоянная готовность к осуществлению коммутаций.

Секционные выключатели применяются в сборных шинах. В распределительных устройствах высшего напряжения (РУВН) электростанций секционные выключатели при нормальной работе обычно замкнуты. Они должны автоматически отключаться только при повреждении в зоне сборных шин. Вместе с ними должны отключаться и другие выключатели поврежденной секции. Таким образом, поврежденная секция РУ будет отключена, а остальная часть останется в работе.

Выключатели могут устанавливаться как внутри помещения, так и на открытых распределительных устройствах (ОРУ). Условия работы при этом значительно различаются, и это находит отражение в их конструктивных особенностях. Во время эксплуатации аппараты ОРУ подвергаются воздействию окружающей среды. Эти воздействия особенно вредно сказываются на состоянии изоляции аппаратов. Поэтому все аппараты ОРУ рассчитываются на воздействие гололеда, ветра и загрязнений.

Требования, предъявляемые к выключателям:

-        надежность в работе и безопасность для окружающих

-        возможно малое время отключения

-        по возможности малые габариты и масса

-        простота монтажа

-        бесшумность работы

-        сравнительно невысокая стоимость

Конструкторы выключателей стремятся к более полному соответствию характеристик выключателей выдвинутым выше требованиям.

Требование надежности является одним из важнейших требований, поскольку от надежности выключателей зависит надежность работы энергосистемы, следовательно, и надежность электроснабжения потребителей. Срок службы выключателя составляет не менее 20 лет.

Требование быстродействия следует понимать как возможно малое время отключения цепи при КЗ. Время отключения исчисляется от момента подачи команды на отключение до погасания дуги во всех полюсах. Уменьшение времени отключения КЗ весьма желательно по следующим соображениям:

-        увеличивается запас устойчивости параллельной работы станций системы, следовательно, увеличивается пропускная способность линий передачи

-        уменьшаются повреждения изоляторов и проводов линий электрической дугой

-        уменьшается опасность прикосновения к заземленным частям РУ

-        уменьшаются механические напряжения в элементах оборудования, вызванные электродинамическими силами.

2. ОСНОВНЫЕ ПАРАМЕТРЫ ВЫКЛЮЧАТЕЛЕЙ ВЫСОКОГО НАПРЯЖЕНИЯ

Среди основных параметров выключателей высокого напряжения следует выделить группу номинальных параметров, присущих всем типам выключателей и определяющих условия их работы.

К основным номинальным параметрам выключателей в соответствии с рекомендациями Международной электротехнической комиссии (МЭК) относятся: номинальное напряжение Uном; наибольшее рабочее напряжение Uн.р; номинальный уровень изоляции в киловольтах; номинальная частота ном; номинальный ток Iном; номинальный ток отключения Iо.ном; номинальный ток включения Iв.ном; номинальное переходное восстанавливающееся напряжение (ПВН) при КЗ на выводах выключателя; номинальные параметры при неудаленных КЗ; номинальная длительность КЗ; номинальная последовательность операций (номинальные циклы); нормированные показатели надежности и др.

Рассмотрим некоторые наиболее важные параметры.

Номинальное напряжение Uном (линейное) - это базисное напряжение из стандартизованного ряда напряжений, определяющее уровень изоляции сети и электрического оборудования. Действительные напряжения в различных точках системы могут отличаться от номинального, однако они не должны превышать наибольшие рабочие напряжения (номинальное напряжение по МЭК), установленные для продолжительной работы. Номинальные напряжения выключателей соответствуют классам напряжения. Значения представлены в таблице 1.

Таблица 1- Номинальные напряжения выключателей

Класс номинальных напряжений

Номинальное междуфазное (линейное) напряжение, действующее значение, кВ

Наибольшее рабочее напряжение (номинальное напряжение по МЭК), действующее значение, кВ

3

3,6

6

7,2

10

12

15

17,5

20

24

35

40,5

110

126

172

220

252

330

363

500

525

750

787

1150

1200


Номинальный уровень изоляции выключателя характеризуется значениями испытательных напряжений, воздействующих на основную изоляцию выключателя.

Номинальный ток - действующее значение наибольшего тока, допустимого по условиям нагрева токоведущих частей выключателя в продолжительном режиме, принимающее следующие значения: 200; 400; 600; 800; 1000; 1250; 1600; 2000; 2500; 3150; 4000; 5000; 6300; 8000; 10000; 12 500; 16 000; 20 000; 25 000; 31 500 А.

Коммутационная отключающая способность выключателя характеризуется номинальным током отключения Iо.ном, который может отключить выключатель при наибольшем рабочем напряжении и нормированных условиях восстановления напряжения. Ток отключения характеризуется действующим значением его периодической составляющей Iо.п, отнесенной к моменту возникновения дуги (момент размыкания дугогасительных контактов) и называемой номинальным током отключения Iо.ном (2,5; 3,2; 4; 5; 6,3; 8; 10; 12,5; 16; 20; 25; 31,5; 35,5; 40; 45; 50; 56; 63; 71; 80; 90; 100; 112; 125; 140; 160; 180; 200; 224; 250 кА), а также нормированным процентным содержанием н апериодической составляющей, равным отношению апериодической составляющей ia тока отключения к амплитуде периодической составляющей (2Iо.п = 2Iо.ном) того же тока в момент размыкания дугогасительных контактов. Ток отключения выключателя определяется суммой периодической и апериодической составляющих.

Номинальный ток включения Iв.ном - наибольший ток, который выключатель может включить при наибольшем рабочем напряжении. При возникновении КЗ в цепи за время около 10 мс ток достигает своего максимального значения, называемого ударным током КЗ. Поэтому номинальный ток включения должен быть не менее ударного тока КЗ из условия возможности включения на существующее КЗ в цепи (в режиме автоматического повторного включения).

Номинальная длительность тока КЗ характеризуется способностью выключателя выдерживать во включенном положении без повреждений ток электродинамической стойкости (ударный ток) iуд = 2,55 Iо.ном и ток термической стойкости Iт = Iо.ном. Время протекания тока Iт составляет 1 или 2с для выключателей при Uном  330 кВ и 1 или 3с для выключателей при Uном  220 кВ.

При отключении тока КЗ на выводах выключателя возникает переходный процесс, который при гашении дуги характеризуется переходным восстанавливающимся напряжением (ПВН), зависящим от собственных параметров отключаемой сети.

Отключающая способность дугогасительных устройств по-разному зависит от характера изменения ПВН. Воздушные и элегазовые выключатели очень чувствительны к скорости нарастания ПВН (du/dt), а масляные - к максимальному ПВН. Этим объясняется нормирование Iо.ном.

Отключающая способность выключателя может быть охарактеризована зависимостью допустимой скорости восстановления напряжения du/dt от тока отключения (кривая 1 на рисунке 1). Точки пересечения кривой 1 и прямой 2, описывающей зависимость скорости нарастания ПВН на контактах выключателя при отключении неудаленного КЗ от тока отключения, определяют предельный ток Iт, который может быть отключен воздушным выключателем без теплового пробоя.

При успешном преодолении первого пика напряжения (тепловой пробой не произошел) возможен пробой на максимальном напряжении. Для каждого типа выключателя может быть определено предельно допустимое максимальное ПВН, зависящее от отключаемого тока - кривая 3.

Кривая 4 показывает максимальное ПВН сети, которое не зависит от коммутации. Точка их пересечения указывает предельное значение тока отключения выключателя Iэ, вызывающее возможный электрический пробой.

Выключатель не должен отказывать как при максимальных значениях ПВН при КЗ на контактах выключателя, так и при воздействии ПВН с высокой начальной скоростью роста при удаленных КЗ. Зависимости 3, 4, характеризующие режим возможного электрического пробоя, определяют предельный ток Iэ, который больше, чем предельный ток при возможном тепловом пробое Iт. Область применения выключателя ограничена по току значением Iт, а по напряжению - кривой (кривая 3) возможного электрического пробоя.

Рисунок 1- Предельные режимы работы выключателей

В большинстве случаев (согласно статистике до 80 %) причина, вызывающая КЗ, самоликвидируется в результате кратковременного отключения напряжения, не превышающего 0,3 с, необходимого для деионизации участка существования открытой дуги КЗ, и появляется возможность повторного включения напряжения системы. Отсюда вытекает определенная последовательность операций, выполняемых выключателем, связанных с отключением КЗ и последующим автоматическим повторным включением (АПВ) этого участка сети.

3. ЭЛЕГАЗ

.1 Физико-химические свойства элегаза

Шестифтористая сера SF6 (элегаз) относится к «электроотрицательным» газам, получившим такое название из-за способности их молекул захватывать свободные электроны, превращаясь в тяжелые и малоподвижные отрицательно заряженные ионы. Элегаз при нормальной температуре (20°С) и давлении 0,1 МПа представляет собой газ без цвета и запаха. Плотность его почти в 5 раз выше плотности воздуха, скорость звука в нем при температуре 30°С - 138,5 м/с (330 м/с в воздухе). Элегаз обладает низкой теплоемкостью в канале столба дуги и повышенной теплопроводностью горячих газов, окружающих столб дуги (2000 К). Это характеризует элегаз как среду, обладающую высокими теплопроводящими свойствами.

Чистый элегаз негорюч, бесцветен, инертен, нагревостоек до 800°С. Также он не имеет запаха и совершенно не ядовит. В химическом отношении элегаз так же неактивен по отношению к другим веществам, как и азот.

Одним из немногочисленных недостатков элегаза является способность разлагать влагосодержащие синтетические изоляционные материалы при соприкосновении с ними. Поэтому рекомендуется применять в элегазовых констукциях стойкие изоляционные материалы, например тефлон.

К недостаткам элегаза следует отнести высокую температуру сжижения. При давлении 1,5 МПа она составляет всего 6°С. Чтобы избежать сжижения элегаза, в выключателях с высоким давлением гасящей среды предусматривают автоматические нагреватели, поддерживающие постоянную температуру элегаза.

Кроме того, опыт и специальные исследования показали, что под влиянием электрической дуги или коронного разряда (теплоты) происходит разложение элегаза с образованием химически активных соединений. Газообразными продуктами разложения являются низшие фториды сред SF2, SF4.

.2 Анализ элегаза

Состав продуктов разложения (ПР) зависит от интенсивности дуги и от посторонних включений в элегазе: воздуха и влаги. Анализ ПР элегаза является мощным средством, указывающим, когда нужно ремонтировать оборудование и какова наиболее вероятная причина аварии.

Схема анализа - такая же, как при масляной изоляции: отбор проб дефектного элегаза, содержащего продукты разложения от теплоты дуги. Исследование дефектного элегаза включает в себя анализ ПР элегаза, содержания влаги в газе, определение интенсивности и длительности горения дуги. Основными инструментами, используемыми при анализе ПР, является газовый хромотограф с термоэлектронной ловушкой и пламенный спектрофотометр.

Анализ элегаза следует проводить:

-        при приемочных испытаниях нового оборудования

-        через регулярные промежутки времени в течение всего срока службы оборудования, сравнивая каждый раз результаты анализа с исходными данными

-        после каждой аварии до ремонта оборудования.

Молекулы элегаза достаточно термически достаточно стойки, однако, под влиянием высокой температуры дуги диссоцируют. При диссоциации поглощается много энергии, вследствие чего ствол дуги охлаждается, что способствует ее гашению. После погасания дуги происходит интенсивная рекомбинация ионов и элегаз самовосстанавливает свои свойства, хотя и не полностью. Для улавливания остаточных продуктов разложения применяют молекулярные фильтры или газоочистители из активированного алюминия. Но эти устройства не могут быть рассчитаны на весь объем продуктов разложения, образующихся в аварийных условиях, и рано или поздно требуется очистка элегаза от ПР и ревизия контактной системы выключателя.

Продукты разложения являются рекомбинацией низших фторидов серы с влагой и воздухом, находящимися в зоне диссоцированного элегаза. Их состав зависит от многих факторов: интенсивности и длительности дугового разряда, материала конструктивных элементов, содержания влаги и воздуха в элегазе.

Ход реакции может быть следующим: сначала SF6 диссоцирует на SF4, SF2 и фториды металла. Фториды металла представляют собой твердые образования. Фториды серы являются газами и реагируют с кислородом воздушных включений, образуя SОF4 и SОF2. Дальнейшая диссоциация газов ведет к появлению SО2 F2, SF и SО2. Другие побочные ПР вначале содержат F2, SF, SF2. Эти ПР диссоцируют дальше и приводят к ПР, показанным на рисунке 2.

Рисунок 2- Ход реакции разложения элегаза под действием теплоты дуги

Предполагается, что такой ход реакции и характер распределения ПР проявляется в результате коронного разряда, частичных разрядов и дугового разряда или под влиянием дуги отключения. Степень разложения будет зависеть от интенсивности и длительности этих процессов. Элегазовые выключатели даже после определенного числа нормальных коммутаций будут иметь концентрацию ПР, которая может оказаться недопустимой. Знание этой концентрации наряду с эксплуатационной предысторией выключателя необходимо для оценки надежности его работы.

Допустим, что в выключателе систематически фиксируется некоторое содержание SОF2 и влаги. Если последующие анализы покажут резкое уменьшение влаги и увеличение концентрации SОF2, следует предположить, что выключатель подвергается действию частичных разрядов, которые разлагают SF6, и что происходит гидролиз ПР.

Пробы дефектного элегаза, направляемые в лабораторию для исследования, должны быть заключены в цилиндры из нержавеющей стали. Отбор проб упрощается при установке на оборудовании штуцеров для отбора газа. Текущий систематический анализ элегаза будет способствовать раннему обнаружению внутренних неисправностей оборудования, снизит аварийность, уменьшит затраты на ремонт и повысит надежность работы элегазового оборудования.

Безопасность обращения с дефектным элегазом обеспечивается знанием состава продуктов разложения и правил обращения, которые сводятся к следующему:

1.  Обработка твердых продуктов разложения должна производиться в перчатках.

2.      Газообразные продукты разложения не должны выдыхаться.

.        Не следует определять наличие повреждений по запаху.

.        Следует иметь список возможных продуктов разложения с указанием предельной допустимой концентрации каждого из них (ПДК). ПДК - это концентрация ПР, воздействию которых человек может подвергаться в течение 40 ч. в неделю без вредных последствий. Чем ниже ПДК, тем опаснее ПР.

.        Все отсеки оборудования, содержащие элегаз, должны быть надежно герметизированы.

4. ЭЛЕГАЗОВЫЕ ВЫКЛЮЧАТЕЛИ

.1 Конструкция элегазовых выключателей

По конструкции различают колонковые и баковые выключатели. Колонковые ни внешне, ни по размерам принципиально не отличаются от маломасляных, кроме того, что в современных элегазовых выключателях 220 кВ только один разрыв на фазу. Баковые элегазовые выключатели имеют гораздо меньшие габариты по сравнению с масляными, имеют один общий привод на три полюса, встроенные трансформаторы тока.

Колонковые выключатели:

-        требуют относительно небольшого количества элегаза для заполнения, при этом обеспечивается утечка элегаза на уровне не более 0,5% в год, что достигается специально подобранными материалами для уплотнения и подтверждается многолетним опытом эксплуатации;

-        имеют самосмазывающиеся приводные механизмы, надежную, простую дугогасительную камеру и испытанные на практике контактные системы, которые обеспечивают бесперебойную работу силовых выключателей и продлевают срок службы - даже при высокой частоте коммутаций;

-        удобны при транспортировке - они перевозятся в полностью собранном и испытанном состоянии или в виде собранных, испытанных на заводе и готовых к перевозке блоков, что снижает транспортные расходы, затраты на монтаж;

-        предназначены для работы в диапазоне температур (-45 ÷ +40) °С.

Баковый элегазовый выключатель представлен на рисунке 3.

Баковые элегазовые выключатели имеют ряд преимуществ перед колонковыми выключателями, а именно:

-        отличная сейсмостойкость;

-        высокий уровень безопасности;

-        низкое влияние загрязнений на работу выключателя;

-        меньшая площадь для установки, т.к. трансформаторы тока уже встроены в баковый выключатель.












Рисунок 3 - Баковый элегазовый выключатель

Элегазовые выключатели принадлежат к группе газовых выключателей.

Выключатели нагрузки элегазовые во многом напоминают конструкцию отделителей. Однако для успешного отключения тока в них предусматриваются устройства для вращения дуги в элегазе. В подвижный и неподвижный контакты встроены постоянные магниты из феррита, которые создают магнитные поля, направленные встречно. При размыкании контактов образуется дуга, ток которой взаимодействует с радиальным магнитным полем, в результате чего создается сила F, перемещающая дугу по кольцевым электродам. Вращение дуги в элегазе способствует быстрому гашению. Чем больше отключаемый ток, тем больше скорость перемещения дуги, это защищает контакты от обгорания. Контактная система описанной конструкции помещается внутри фарфорового корпуса, заполненного элегазом и герметически закрытого. Давление внутри камеры 0,3 МПа. Так как потеря элегаза недопустима, гасительная камера выключателя должна работать по замкнутому циклу. Подпитка при возможных утечках происходит из баллона со сжатым элегазом.

Элегазовые выключатели могут отключать не только ток нагрузки, но и ток КЗ. Такие выключатели имеют дугогасительные устройства с автопневматическим дутьем.

.2      Основные составные части элегазового выключателя

4.2.1 Полюс выключателя

Для колонкового исполнения, полюс представляет собой вертикальную колонну, состоящую из двух (и более) изоляторов, в верхнем из которых размещено дугогасительное устройство (ДУ), а нижний - служит опорой ДУ и обеспечивает ему требуемое изоляционное расстояние от заземленной рамы. Внутри опорного изолятора размещена изоляционная штанга, соединяющая подвижный контакт ДУ с приводной системой аппарата.

Для бакового исполнения, полюс представляет собой металлический цилиндрический бак, на котором установлены два изолятора, образующие высоковольтные вводы выключателя. ДУ в таком выключателе размещено в заземленном металлическом корпусе.

Для комбинированного исполнения, полюс представляет собой металлический корпус в виде сферы, на котором установлены фарфоровые изоляторы, образующие высоковольтные вводы выключателя, в одном из которых размещено дугогасительное устройство, а в другом встроенные трансформаторы тока.

В верхней части изолятора обычно устанавливается фильтр - поглотитель влаги и продуктов разложения элегаза под действием электрической дуги.

Также на всех современных выключателях установлен предохранительный клапан - устройство с тонкостенной мембраной, разрывающейся при давлении, возникающем при внутреннем коротком замыкании, но не достигающем значения, при котором испытываются собственно изоляторы.

.2.2   Дугогасительное устройство

Дугогасительное устройство предназначено обеспечивать быстрое гашение электрической дуги, образующейся между контактами выключателя при их размыкании. Разработка рациональной и надежной конструкции дугогасительного устройства представляет значительные трудности, так как процессы, происходящие при гашении электрической дуги, чрезвычайно сложны, недостаточно изучены и обусловливаются многими факторами, предусмотреть которые заранее не всегда представляется возможным. Поэтому окончательная разработка дугогасительного устройства может считаться завершенной лишь после его экспериментальной проверки.

Конструкция дугогасительного устройства будет рассмотрена более подробно далее.

.2.3   Газовая система

Газовая система аппаратов включает в себя:

-        клапаны автономной герметизации (КАГ) и заправки колонн;

-        коллектор, обеспечивающий во время работы аппарата связь газовых полостей колонн между собой и с сигнализатором изменения плотности элегаза;

-        сам сигнализатор, представляющий собой стрелочный электроконтактный манометр с устройством температурной компенсации, приводящим показания к величине давления при температуре 20ºС;

-        соединительные трубки с ниппелями и уплотнениями.

Сигнализатор изменения плотности элегаза (датчик плотности) имеет три пары контактов: одна - замыкающаяся при значительном снижении плотности элегаза из-за его утечки - предназначена для подачи сигнала (например, светового) о необходимости дозаправки колонн; а две других - размыкающихся при недопустимом падении плотности элегаза - предназначены для блокирования управления выключателем или для автоматического отключения аппарата с одновременной блокировкой включения (что определяется проектом подстанции).

.2.4   Привод

Приводы выключателей обеспечивают управление выключателем - включение, удержание во включенном положении и отключение. Вал привода соединяют с валом выключателя системой рычагов и тяг. Привод выключателя должен обеспечивать необходимую надежность и быстроту работы, а при электрическом управлении - наименьшее потребление электроэнергии.

В элегазовых выключателя применяют два типа приводов:

-        пружинный привод, управляющим органом которого является кинематическая система рычагов, кулачков и валов;

-        пружинно-гидравлический привод, управляющим органом которого является гидросистема.

5. ДУГОГАСИТЕЛЬНЫЕ УСТРОЙСТВА

В элегазовых выключателях гашение дуги происходит так же, как и в воздушных выключателях при интенсивном охлаждении дуги потоком газа. Дугогасительная способность элегаза в 4-4,5 раза выше, чем воздуха при сопоставимых условиях (при атмосферном давлении в элегазе может быть погашена дуга с током, который в 100 раз превышает ток, отключаемый в воздухе при тех же условиях). Это преимущество объясняется различиями телофизических свойств элегаза и воздуха. Канал столба дуги в элегазе обладает меньшим теплосодержанием по сравнению с воздухом и высокой способностью элегаза захватывать свободные электроны. В результате количество носителей тока - свободных электронов - в столбе дуги вследствие этого уменьшается, баланс их может стать отрицательным и дуга гаснет. Явление захвата электронов особенно благоприятно сказывается после перехода тока через нуль, вследствие чего элегазовые выключатели мало чувствительны к частоте восстанавливающегося напряжения. Как показали исследования, в элегазе практически до естественного перехода тока через нуль не происходит разрушения канала столба дуги, обладающего высокой проводимостью. Это исключает возможность появления перенапряжений при отключении ненагруженных трансформаторов и линий электропередач. В противоположность этому в воздушных выключателях интенсивными турбулентными процессами столб дуги может разрушаться раньше естественного перехода тока через нуль, что приводит к появлению перенапряжений, для ограничения которых воздушные выключатели снабжаются шунтирующими сопротивлениями.

В элегазовых дугогасительных устройствах (ДУ), в отличие от воздушных, при гашении дуги истечение газа через сопло происходит не в атмосферу, а в замкнутый объем камеры, заполненный элегазом при небольшом избыточном давлении. По способу гашения дуги в элегазе различают следующие ДУ:

-        с системой продольного дутья, в которую предварительно сжатый газ поступает из резервуара с относительно высоким давлением элегаза (ДУ с двумя ступенями давления);

-        автокомпрессионные с дутьем в элегазе, создаваемым посредством встроенного компрессионного устройства (ДУ с одной ступенью давления);

-        с электромагнитным дутьем, в котором гашение дуги обеспечивается в результате ее перемещения с высокой скоростью в неподвижном элегазе по кольцевым электродам под воздействием радиального магнитного поля, создаваемого отключаемым током (ДУ с электромагнитным дутьем);

-        с системой продольного дутья, в котором повышение давления в элегазе происходит при разогреве дугой, вращающейся в специальной камере под воздействием магнитного поля.

Продольное дутье создается при переходе элегаза из резервуара с высоким давлением (1,5-2,0 МПа) в камеру, где поддерживается низкое давление (0,2-0,3 МПа). После гашения дуги отработанный элегаз проходит осушение и очистку и перекачивается компрессором в резервуар высокого давления. Вся система циркуляции элегаза является замкнутой.

Система двух давлений создает определенные сложности при изготовлении и эксплуатации выключателей. Во-первых, при давлении 1,5 МПа газообразное состояние элегаза может быть только при температуре не ниже 6°С. Следовательно, в таком выключателе необходимо предусмотреть подогреватели, поддерживающие постоянную температуру в резервуаре высокого давления. Во-вторых, необходимо иметь автономную компрессорную установку и устройства для очистки и осушения отработанного элегаза.

Интенсивное газодинамическое воздействие потока элегаза на столб электрической дуги является наиболее эффективным способом гашения дуги. Поэтому оно используется в большинстве современных конструкций ДУ элегазовых выключателей. Схема дугогасительного устройства представлена на рисунке 4. Гашение дуги происходит в соплах потоком элегаза высокого давления (0,5-0,6 МПа) как при одностороннем (рисунок 4а), так и при двустороннем несимметричном (рисунок 4б) газовом дутье.

Рисунок 4- Схема продольного элегазового дутья

Основными параметрами системы продольного дутья являются: площадь сечения Sc или диаметр dc горловины сопла, относительное расположение контактов, определяемое расстоянием z0, геометрические размеры формы диффузоров и конфузоров дутьевой системы. Оптимальные условия гашения дуги в таких системах во многом определяются, как и в воздушных выключателях, геометрическими параметрами дутьевых систем и особенно входной части (конфузора).

Другой способ гашения дуги в элегазе более прост и в исполнении и в эксплуатации. В нем используется дугогасительное устройство с автопневматическим дутьем, схема которого представлена на рисунке 5.

Рисунок 5- Автопневматическое дутьевое устройство элегазового выключателя

При отключении между неподвижным контактом 1 и подвижным контактом 2 возникает дуга. Вместе с контактом 2 движутся сопло 3 из фторопласта (дугостойкий изоляционный материал), перегородка 4 и цилиндр 5. Поршень 6 неподвижен. Элегаз сжимается, и его поток, проходя через сопло 3, продольно обдувает дугу и гасит ее. Дугогасительное устройство расположено в баке с элегазом при давлении 0,20-0,28 МПа. Небольшое давление делает ненужной установку для подогрева газа.

Дугогасительная камера такой конструкции обладает высокой отключающей способностью: номинальный ток отключения при одном разрыве на номинальном напряжении 220 кВ равен 40 кА при высокой начальной скорости восстановления напряжения (больше 3 кв/мкс). На основе унифицированных конструкции дугогасительных конструкций дугогасительных камер этого типа создана модульная серия элегазовых выключателей на напряжения до 750 кВ и мощности отключения до 50 ГВА.

Фирма Merlin Gerin разработала элегазовый выключатель Fluarc FB4 на напряжение Uном = (7,2-36) кВ, номинальный ток отключения Iо.ном = 25 кА, номинальный ток Iном = (630-1250) А. Давление внутри корпуса 1,5 МПа, время гашения дуги 15 мс, полное время отключения 60-80 мс, срок службы - 20 лет.

На рисунке 6 представлены полюс автокомпрессионного выключателя и положение механизма, соответствующее различным этапам отключения. Положение а соответствует нормальному включенному состоянию. Ток протекает по главным контактам 1, 2, дугогасительные контакты 3, 4 замкнуты. Ввиду того что они изготовлены из дугостойкой металлокерамики (CuW), токоведущий контур обладает большим сопротивлением. Поэтому через дугогасящие контакты, как правило, проходит ток не более 15-20 % Iном. Положение б соответствует началу процесса отключения. Подвижный поршень 5 совместно с подвижным главным контактом 1 и соплом 6 перемещается под воздействием приводных рычагов 7, 8. Этим создается избыточное давление в полости над поршнем по сравнению с объемом под поршнем. Ток из главных контактов 1, 2 перебрасывается в дугогасительную цепь контактов 3, 4. При дальнейшем перемещении поршня (положение в) происходит размыкание контактов 3, 4 с одновременным возникновением дутья через внутренние полости контактов 3, 4 - двустороннее симметричное дутье. При этом выделяющаяся энергия дуги разогревает элегаз, что приводит к повышению перепада давления и усилению интенсивности истечения газовой струи. После гашения дуги при дальнейшем перемещении поршня (положение г) продолжается вентиляция межконтактного промежутка, обеспечивающая необходимую электрическую прочность.

Рисунок 5- Элегазовый автокомпрессионный выключатель

Применяются также дугогасительные устройства с гашением открытой дуги в элегазе. В таких устройствах турбулентное воздействие газа на ствол дуги очень мало, поэтому мала и отключающая способность таких камер. Однако они с успехом применяются для короткозамыкателей, в которых основной операцией является замыкание контактов, а не их замыкание.

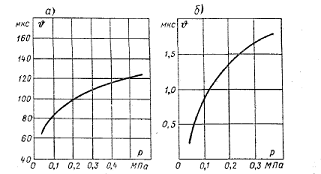
Интенсификации гашения дуги способствует еще очень малая постоянная времени дуги, горящей в элегазе. Она составляет примерно 1/100 постоянной времени дуги в воздухе. Зависимость постоянной времени от давления представлена на рисунке 6.

Рисунок 7- Постоянная времени дуги в воздухе (а) и в элегазе (б)

6. ЭЛЕГАЗОВЫЕ ВЫКЛЮЧАТЕЛИ ВГТ-110-40/2500 У1 И ВГТ-220-40/2500 У1


Рассмотрим подробнее конкретную модель элегазового выключателя, а именно преимущества выключателей данной серии, технические данные, принцип работы и устройство.

При написании данного раздела была использована техническая информация завода Уралэлектротяжмаш.

6.1 Основные преимущества выключателей данной серии

К основным преимуществам относятся:

.        Высокая надежность работы, достигаемая благодаря:

-        пониженным усилиям оперирования выключателей. Энергия, необходимая для гашения токов короткого замыкания, частично используется из самой дуги, что существенно уменьшает работу привода и повышает надежность

-        использованию в соединениях двойных уплотнениях, что обеспечивает пониженный уровень естественных утечек. Уровень утечек - не более 1% год - подтверждается испытаниями каждого выключателя на заводе-изготовителе по методике, применяемой в космической технике;

-        современным технологическим и конструкторским решениям и применению надежных комплектующим, в том числе высокопрочных изоляторов зарубежных фирм.

.        Высокая заводская готовность, простой и быстрый монтаж и ввод в эксплуатацию.

.        Высокая коррозионная стойкость покрытий, применяемых для стальных конструкций выключателя.

.        Отсутствие необходимости в сложном техническом обслуживании и ремонтах при нормальных условиях эксплуатации. Высокие механический и коммутационный ресурсы, повышенные сроки службы уплотнений и комплектующих, обеспечивающих 20-летний межремонтный период.

.        Возможность отключения токов нагрузки при потере избыточного давления элегаза в выключателе.

.        Сохранение электрической прочности изоляции выключателя при напряжении равном 1,15 наибольшего фазного напряжения в случае потери избыточного давления элегаза в выключателе.

.        Отключение емкостных токов без повторных пробоев, низкие перенапряжения.

.        Отсутствие феррорезонанса в сетях при эксплуатации выключателя ВГТ-220.

.        Низкий уровень шума при срабатывании соответствует высоким природоохранным требованиям.

.        Низкие динамические нагрузки на фундаментные опоры.

.        Полная взаимозаменяемость (по габаритно-установочным размерам и приводам) с маломасляными выключателями серии ВМТ.

 

.2 Технические данные


Таблица 2- Технические данные

Наименование параметра

ВГТ-110-40/2500 У1

1 Номинальное напряжение, кВ

110

220

2 Наибольшее рабочее напряжение, кВ

126

252

3 Номинальный ток, А

2500


4 Номинальный ток отключения, кА

40

5 Номинальное содержание апериодической составляющей, %, не более

40

6 Параметры сквозного тока короткого замыкания, кА: · наибольший пик · начальное действующее значение периодической составляющей · ток термической стойкости · время протекания тока термической стойкости, с

 102 40 40 3

7 Параметры тока включения, кА: · наибольший пик · начальное действующее значение периодической составляющей

102 40

8 Емкостный ток ненагруженных линий, отключаемый без повторных пробоев, А

31.5

125

9 Емкостный ток одиночной конденсаторной батареи с глухозаземленной нейтралью, отключаемый без повторных пробоев, А

0-300


10 Индуктивный ток шунтирующего реактора, А

500


11 Собственное время отключения, с

0.035-0.005

12 Полное время отключения, с

0.055-0.005

13 Минимальная бестоковая пауза при АПВ, с

0.3

14 Собственное время включения, с, не более

0.1

15 Разновременность работы разных полюсов (дугогасительных устройств) при отключении и включении, с, не более

0.002

16 Расход газа на утечки в год, % от массы элегаза, не более

1.0

17 Избыточное давление элегаза, приведенное к плюс 20ºС, МПа: · давление заполнения · давление предупредительной сигнализации · давление блокировки оперирования

 0.4 0.34 0.32

18 Масса выключателя, кг

1650

1650

19 Масса элегаза, кг

6.3

6.3

20 Выдерживаемое напряжение грозового импульса(1.2/50 мкс)

230

230

21 Выдерживаемое одноминутное напряжение частоты 50Гц, кВ

450

450

22 Длина пути утечки внешней изоляции, см, не менее

280

280

23 Тип привода

Пружинный

24 Количество приводов

1

1

25 Номинальное напряжение постоянного тока электромагнитов управления привода, В

110

110

26 Количество электромагнитов управления в приводе: · включающих · отключающих

 1 2

27 Количество блокконтактов

7Н.О.+7Н.З.

28 Диапазон рабочих напряжений электромагнитов управления, % от номинального значения: · включающий электромагнит · отключающий электромагнит

  80-110 70-110

29 Номинальная величина установившегося значения постоянного тока, потребляемого электромагнитами управления, А: · при напряжении 110В · при напряжении 220В

  5 2.5

30 Номинальный ток вспомогательных цепей, А

10

  10/10 2/1

32 Мощность электродвигателя завода включающих пружин, кВт

0.75

33 Номинальное напряжение трехфазного переменного тока электродвигателя завода включающих пружин, В

220/380

34 Время завода включающих пружин, с, не более

15

35 Номинальная мощность подогревательных устройств одного привода, Вт: · постоянно работающий подогрев · подогрев, автоматически включающийся при низких температурах

  50 800

36 Напряжение подогревательных устройств, В

220


Выключатели выполняют следующие операции:

-        отключение (О);

-        включение (В);

-        включение-отключение (ВО), в том числе без преднамеренной выдержки времени между операциями (В) и (О);

-        отключение-включение (ОВ) при любой безконтактной паузе, начиная от tбк;

-        отключение-включение-отключение (ОВО);

-        коммутационные циклы:

О-03с-ВО-180с-ВО

О-03с-ВО-20с-ВО

О-180с-ВО-180с-ВО.

Допустимое для каждого полюса выключателя без осмотра и ремонта дугогасительных устройств число операций отключения, ресурс по коммутационной стойкости составляет:

-        при токах в диапазоне свыше 60 до 100 % номинального тока отключения- 20 операций;

-        при токах в диапазоне свыше 30 до 60 % номинального тока отключения- 34 операции;

-        при рабочих токах, равных номинальному току- 30 операций «включение - произвольная пауза- отключение».

Допустимое число операций включения для токов короткого замыкания должно составлять не более 50% от допустимого числа операций отключения; допустимое число операций включения при нагрузочных токах равно допустимому числу операций отключения.

Выключатели имеют следующие показатели надежности и долговечности:

-        ресурс по механической стойкости до капитального ремонта 5000 циклов «включение - произвольная пауза - отключение»;

-        срок службы до первого ремонта- 20 лет, если до этого срока не исчерпаны ресурсы по механической или коммутационной стойкости;

-        срок службы- 40 лет.

 

.3 Принцип работы и устройство


Выключатели серии ВГТ относятся к электрическим коммутационным аппаратам высокого напряжения, в которых гасящей и изолирующей средой является элегаз.

Выключатели серии ВГТ-110 II состоит из трех полюсов (колонн), установленных на общей раме и механически связанных друг с другом. Все три полюса выключателя управляются одним пружинным приводом типа ППрК-1800С.

Выключатели серии ВГТ-220 II каждый полюс имеет раму и управляются своим приводом.

Принцип работы выключателей основан на гашении электрической дуги потоком элегаза, который создается за счет перепада давления, обеспечиваемого автогенерацией, т.е. за счет тепловой энергии самой дуги. Включение выключателей осуществляется за счет энергии включающих пружин привода, а отключение за счет энергии пружины отключающего устройства выключателя.

 

.4 Устройство и работа составных частей


Рама выключателя ВГТ-110 представляет собой сварную конструкцию, на которой установлены привод, отключающее устройство, колонны и электроконтактные сигнализаторы давления. В полости одного из опорных швеллеров рамы, закрытой крышками, размещены последовательно соединенные тяги, связывающие рычаг привода с рычагами полюсов (колонн). На крышке выполнено смотровое окно указателя положения выключателя. Рама имеет четыре отверстия диаметром 36мм для крепления к фундаментальным стойкам и снабжена специальным болтом для присоединения заземляющей шины. Рама полюса выключателя ВГТ-220 II имеет аналогичную конструкцию.

Отключающее устройство установлено на противоположном от привода торце рамы и состоит из отключающей пружины, сжимаемой при включении выключателя тягой, соединенной с наружным рычагом крайней колонны. Пружина расположена в цилиндрическом корпусе, на наружном фланце которого находится буферное устройство, предназначенное для гашения кинетической энергии подвижных частей и служащее упором (ограничителем хода) при динамическом включении выключателя.

Полюс выключателя ВГТ-110 представляет собой колонну, заполненную элегазом и состоящую из опорного изолятора, дугогасительного устройства с токовыми выводами, механизма управления с изоляционной тягой.

Полюс выключателя ВГТ-220 II состоит из двух колонн, дугогасительные устройства которых установлены на сдвоенных опорных изоляторах и соединенных последовательно двумя шинами. Для равномерного распределения напряжения по дугогасительным устройствам параллельно к ним подключены шунтирующие конденсаторы.

Дугогасительное устройство содержит размыкаемые главные и снабженные дугостойкими наконечниками дугогасительные контакты, поршневое устройство для создания давления в его внутренней полости и фторопластовыми соплами, в которых потоки элегаза приобретают направление, необходимое для эффективного гашения дуги. Надпоршневая полость высокого давления и подпоршневая полость снабжены системой клапанов, позволяющих обеспечить эффективное дутье в зоне горения дуги во всех коммутационных режимах. В верхней части дугогасительного устройства расположен контейнер, наполненный активированным адсорбентом, поглощающим из газовой области влагу и продукты разложения элегаза. Во включенном положении главные и дугогасительные контакты замкнуты. При отключении сначала размыкаются практически без дугового эффекта главные контакты, при замкнутых дугогасительных, а затем размыкаются дугогасительные. Скользящий контакт между гильзой поршневого устройства и трубой подвижного контакта осуществляется уложенными в ее углубления контактными элементами, имеющими форму замкнутых проволочных спиралей.

Механизм управления колонны размещен в корпусе и опорном изоляторе и состоит из шлицевого вала с наружным рычагом и внутренним рычагом. Шлицевой вал установлен в подшипниках и уплотняется манжетами. Внутренний рычаг через нерегулируемую изоляционную тягу соединен со штоком подвижного контакта. В корпус механизма встроен клапан автономной герметизации, через который с помощью медной трубки подсоединяется сигнализатор давления, установленный на раме выключателя.

Клапан автономной герметизации состоит из корпуса и подпружиненного клапана, узла подсоединения трубки сигнализатора и заглушки, устанавливаемой на время транспортирования и после заполнения элегазом при вводе в работу для обеспечения надежной герметизации внутренней полости колонны. При вывернутой до метки на резьбовой части корпуса заглушке полость колонны отделяется от полости, сообщающейся с трубкой сигнализатора. При этом сигнализатор может быть снят для ревизии или замены.

Электроконтактный сигнализатор давления показывающего типа снабжен устройством температурной компенсации, приводящим показания давления к температуре 20ºС, и двумя парами нормально замкнутых контактов. Первая пара контактов размыкается при снижении давления до 0.34 МПа, подавая сигнал о необходимости пополнения полюса, вторая пара размыкается при давлении 0.32 МПа, блокируя подачу команды на электромагниты управления ложных сигналов при возможном срабатывании контактов от вибрации при включении и отключении выключателя, а также ввиду их малой мощности, в цепи контактов должно быть включено промежуточное реле времени с выдержкой (0.8÷1.2) с. Сигнализатор закрывается специальным кожухом, предохраняющим его от прямого попадания осадков и солнечных лучей.

Пружинный привод типа ППрК-1800С с моторным заводом рабочих пружин, представляет собой отдельный, помещенный в герметизированный трехдверный шкаф, агрегат. Привод имеет два электромагнита отключения и снабжен блокировочными устройствами, предотвращающими:

а)      проход команды на включающий электромагнит:

-        при включенном выключателе

-        при невзведенных пружинах

б)      проход команды на отключающий электромагнит при отключенном выключателе

в)      «холостую» (при включенном выключателе) динамическую разрядку рабочих пружин

г)       включение электродвигателя завода пружин при ручном их заводе.

ЗАКЛЮЧЕНИЕ


На сегодня объем продажи на российском рынке зарубежной элегазовой аппаратуры значительно превосходит объем продаж отечественных аппаратов. Российским производителям все труднее конкурировать с зарубежными из-за технологической отсталости и отсутствия средств на техническое переоборудование.

В то же время следует обратить внимание и на отставание Российской Федерации от ведущих в техническом отношении стран в освоении производства элегазовой аппаратуры. Отставание вызвано прежде всего общим спадом производства и замедленным темпом развития энергосистем за прошедшие 20 лет. Поэтому важнейшими задачами развития элегазовой аппаратуры в России с учетом основных мировых тенденций являются:

-        ликвидация отставания в обеспечении энергетических систем современным коммутационным оборудованием при одновременном улучшении массогабаритных характеристик аппаратов, снижении их стоимости, повышение надежности;

-        разработка цифровых систем управления, диагностики и мониторинга аппаратов;

-        разработка систем и методов прогнозирования срока службы коммутационного оборудования;

-        разработка выключателей с синхронным включением.

В последние 20 лет в мире не вводилось в эксплуатацию практически никаких других выключателей на напряжение 63 кВ и выше, кроме элегазовых. Распределение по типам выключателей в России не соответствует наблюдаемым в мире тенденциям. Так, среди выключателей на напряжение 110 кВ и выше преобладают баковые масляные выключатели, а число элегазовых составляет менее 1%. Распределение выключателей в энергосистемах России по типам очень похоже на вид распределения в мире выключателей с возрастом свыше 30 лет.

В последние годы опасение вызвала возможная экологическая опасность элегаза. В этой связи следует отметить, что несмотря на принадлежность к ряду фторидов, элегаз не включен в перечень веществ, подлежащих запрету или ограничению в применении. Кроме того, общий вклад элегаза в парниковый эффект атмосферы составляет не более 0,2% (доля элегаза электротехнического оборудования значительно меньше). Однако проводятся работы по замене элегаза на смеси его с другими газами, а также использованию других газов.

Несмотря на очевидные преимущества элегазовых и вакуумных аппаратов, полный переход на их использование занимает не один год и не одно десятилетие. При постоянном растущем внедрении современной аппаратуры в эксплуатации остается еще немало устаревших аппаратов.

 

СПИСОК ЛИТЕРАТУРЫ

 

1.       Аметистов, Е.И. Основы современной энергетики под общей редакцией чл.-корр. РАН Е.В. Аметистова - М.: Издательство МЭИ, 2004.- 822с.

2.      Неклепаев, Б.Н. Электрическая часть электростанций и подстанций / Б.Н. Неклепаев, И.П. Крючков - М.:Энергоатомиздат,1989.- 605с.

.        Усов, С.В. Электрическая часть станций / С.В.Усов [и др.]; -М.:Энергия,1977.-420 с.


Не нашли материал для своей работы?
Поможем написать уникальную работу
Без плагиата!
Без нейросетей!