Общая энергетика

  • Вид работы:
    Учебное пособие
  • Предмет:
    Физика
  • Язык:
    Русский
    ,
    Формат файла:
    MS Word
    1,6 Мб
  • Опубликовано:
    2012-04-18
Вы можете узнать стоимость помощи в написании студенческой работы.
Помощь в написании работы, которую точно примут!

Общая энергетика














Общая энергетика

А.С. Енин











Тверь

Содержание

Введение

.Производство электрической и тепловой энергии

.1 Общие положения

.2 Тепловые электрические станции

.3 Атомные электрические станции

.4 Гидравлические электрические станции

.5 Газотурбинные и парогазовые силовые установки

.6 Распределение электрических нагрузок между электростанциями

.7 Использование альтернативных источников энергии

.8 Перспективы динамики развития электрических станций

. Передача электрической и тепловой энергии

.1 Передача электрической энергии

.2 Передача тепловой энергии

. Потребление электрической и тепловой энергии

.1 Потребление электрической энергии

.2 Потребление тепловой энергии

. Энергетика и биосфера

. Энергосбережение

Библиографический список

Введение

В настоящем издании приведены общие сведения о процессах производства, передачи и потребления электрической и тепловой энергии, взаимной связи и объективных закономерностях этих процессов, о различных типах электростанций, их характеристиках, условиях совместной работы и комплексного использования. В отдельной главе рассмотрены вопросы энергосбережения.

1. Производство электрической и тепловой энергии

.1 Общие положения

Энергетика - это совокупность естественных, природных и искусственных, созданных человеком систем, предназначенных для получения, преобразования, распределения и использования энергетических ресурсов всех видов. Энергоресурсами являются все материальные объекты, в которых сосредоточена энергия для возможного использования ее человеком.

Среди различных видов энергии, используемых людьми, электроэнергия выделяется рядом существенных достоинств. Это относительная простота ее производства, возможность передачи на очень большие расстояния, простота преобразования в механическую, тепловую, световую и иную энергию, что делает электроэнергетику важнейшей отраслью жизнедеятельности человека.

Процессы, происходящие при производстве, распределении, потреблении электрической энергии, неразрывно взаимосвязаны. Также взаимосвязаны и объединены установки по выработке, передаче, распределению и преобразованию электроэнергии. Такие объединения называются электроэнергетическими системами (рис.1.1) и являются составной частью энергетической системы. В соответствии с [1] энергетической системой называют совокупность электрических станций, котельных, электрических и тепловых сетей, соединенных между собой и связанных общностью режима в непрерывном процессе производства, преобразования и распределения электроэнергии и теплоты при общем управлении этими режимами.

Составной частью электроэнергетической системы является система электроснабжения, представляющая собой совокупность электроустановок, предназначенных для обеспечения потребителей электрической энергией.

Аналогичное определение можно дать системе теплоснабжения.

.2 Тепловые электрические станции

Получение энергии из топливно-энергетических ресурсов (ТЭР) посредством их сжигания в настоящее время является наиболее простым и доступным способом производства энергии. Поэтому до 75% всей электроэнергии в стране вырабатывается на тепловых электростанциях (ТЭС). При этом возможны как совместная выработка тепловой и электрической энергии, например, на тепловых электростанциях (ТЭЦ), так и их раздельное производство (рис. 1.2).

Структурная схема ТЭС приведена на рис. 1.3. Работа происходит следующим образом. Система топливоподачи 1 обеспечивает поступление твердого, жидкого или газообразного топлива к горелке 2 парового котла 3. Предварительно топливо соответствующим образом подготавливается, например, уголь дробится до пылевидного состояния в дробилке 4, подсушивается и насыщается воздухом, который дутьевым вентилятором 5 от воздухо-заборника 6 через подогреватель 7 также подается к горелке. Тепло, выделяемое в топке котла, используется для нагрева воды в теплообменниках 8 и образования пара. Вода подается насосом 9 после того, как проходит специальную систему водоподготовки 10. Пар из барабана 11 при высоком давлении и температуре поступает в паровую турбину 12, где энергия пара преобразуется в механическую энергию вращения вала турбины и электрического генератора 13. Синхронный генератор вырабатывает переменный трехфазный ток. Отработанный в турбине пар конденсируется в конденсаторе 14. Для ускорения этого процесса используется холодная вода естественного или искусственного водоема 15 или специальные охладители - градирни. Конденсат насосами вновь подается в парогенератор (котел). Такой цикл называется конденсационным. Электростанции, использующие этот цикл (КЭС), вырабатывают только электрическую энергию. На ТЭЦ часть пара из турбины забирается при определенном давлении до конденсатора и используется для нужд потребителей тепла.

Рис. 1.1. Упрощенная схема электрической системы.

G - генераторы электроэнергии; Т - трансформаторы; Р - электрические нагрузки;

W - линии электропередачи (ЛЭП); АТ - автотрансформаторы

Рис.1.2. Блок-схема производства электрической и тепловой энергии.

а - совмещенное производство; б - раздельное производство

Рис.1.3. Структурная схема ТЭС.

Топливо и его приготовление. На ТЭС используется твердое, жидкое или газообразное органическое топливо. Его общая классификация приведена в таблице 1.1 [2].

Таблица 1.1. Общая классификация топлива

Агрегатное состояние топлива

Естественное

Искусственное

Твердое

Древесина, торф, бурый уголь, антрацит, сланцы

Древесный уголь, кокс, термоантрацит и др.

Жидкое

Нефть

Продукты перегонки и переработки нефти: мазут, бензин, керосин, лигроин.

Газообразное

Природный газ, нефтепромысловый попутный газ

Доменный, генераторный, коксовый, крекинговый, пиролизный и другие газы


Топливо в том виде, в каком оно сжигается, называется "рабочим топливом”. В состав рабочего топлива (твердого и жидкого) входят: углерод С, водород Н, кислород О, азот N, зола А и влага W. Выражая компоненты топлива в процентах, отнесенных к одному килограмму массы, получают уравнение состава рабочей массы топлива.


Сера  называется летучей и составляет часть общего количества серы, находящейся в топливе, остальная негорючая часть серы входит в состав минеральных примесей.

Естественное газообразное топливо содержит: метан, этан, пропан, бутан, углеводороды, азот, углекислый газ. Последние два компонента - балласт. Искусственное газообразное топливо имеет в своём составе метан, окись углерода, водород, углекислый газ, водяные пары, азот, смолы.

Основной теплотехнической характеристикой топлива является теплота сгорания, которая показывает, какое количество теплоты в килоджоулях выделяется при сжигании одного килограмма твердого, жидкого или одного кубического метра газообразного топлива. Различают высшую и низшую теплоту сгорания.

Высшей теплотой сгорания топлива  называют количество теплоты, выделяемой топливом при полном его сгорании c учётом теплоты, выделившейся при конденсации водяных паров, которые образуются при горении.

Низшая теплота сгорания отличается от высшей тем, что не учитывает теплоту, затрачиваемую на образование водяных паров, которые находятся в продуктах сгорания. При расчётах используют низшую теплоту сгорания, т.к. теплота водяных паров бесполезно теряется с уходящими в дымовую трубу продуктами сгорания.

Взаимосвязь высшей и низшей теплоты сгорания для рабочей
массы топлива определяется уравнением


Для сравнения различных видов топлива по величине теплоты сгорания введено понятие "условное топливо" (у. т.). Условным считают топливо, низшая теплота сгорания которого при рабочей массе равна 293 кДж/кг для твёрдого и жидкого топлива или 29300 кДж/м3 для газообразного топлива. В соответствии с этим каждое топливо имеет свой тепловой эквивалент Эт = QНР / 29300.

Перевод расхода рабочего натурального топлива в условное производится по уравнению

Вусл = Эт· Вт .

Краткая характеристика отдельных видов топлива приведена в табл.1.2.

Таблица 1.2. Характеристика топлива

Вид топлива

Влажность, %

Низшая теплота сгорания, кДж/кг

Содержание летучих веществ, %

Примечание

Древесина

30 50

12000 8500

60…85


Торф

50

8500…15000

70

Возможно самовозгорание

Бурый уголь


10000…16000



Каменный уголь


25000…28000



Антрацит


26000…30000



Горючи сланцы

20

6000…10000


Зола 50…55 %


Особо следует отметить низшую теплоту сгорания в кДж/кг мазута - 38000...39000, природного газа - 34000...36000, попутного газа - 50000...60000. Кроме того, это топливо практически не содержит влаги и минеральных примесей.

Перед подачей топлива в топку производят его подготовку. Особенно сложна система приготовления твердого топлива, которое последовательно проходит очистку от механических примесей и посторонних предметов, дробление, сушку, пылеприготовление, перемешивание с воздухом.

Система подготовки жидкого и особенно газообразного топлива значительно проще. Кроме тоготакое топливо экологически более чистое, практически не имеет зольности.

Простота транспортировки, легкость автоматизации управления процессами горения, высокая теплота сгорания обусловливают перспективность использования в энергетике природного газа. Однако запасы этого сырья ограничены.

Водоподготовка. Вода, являясь теплоносителем на ТЭС, непрерывно циркулирует по замкнутому контуру. При этом особое значение имеет очистка воды, подаваемой в котел. Конденсат от паровой турбины (рис.1.3) поступает в систему 10 очистки от химических примесей (химводоочистка - ХВО) и свободных газов (деаэрация). В технологическом цикле вода -пар-конденсат неизбежны потери. Поэтому от внешнего источника 15 (пруд, река) через водозабор 16 производится подпитка водяного тракта. Вода, поступающая в котел, предварительно подогревается в экономайзере (теплообменнике) 17 уходящими продуктами сгорания.

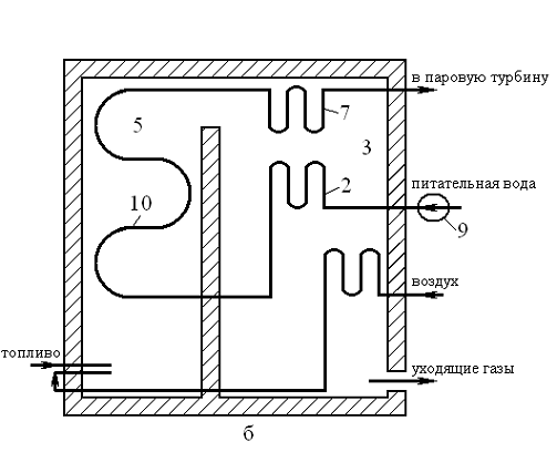
Паровой котел. Котел является парогенератором на ТЭС. Основные конструкции представлены на рис.1.4.

Котел барабанного типа имеет стальной барабан 1, в верхней части которого собирается пар. Питательная вода подогревается в экономайзере 2, находящемся в камере 3 уходящих газов, и поступает в барабан. Коллектор 4 замыкает паро-водяной цикл котла. В топочной камере 5 горение топлива при температуре 1500. ..20000С обеспечивает закипание воды. По стальным подъемным трубам 6, имеющим диаметр 30...90 мм и покрывающим поверхность топочной камеры, вода и пар поступают в барабан. Пар из барабана через трубчатый пароперегреватель 7 подается в турбину. Пароперегреватель может выполняться двух - трехступенчатым и предназначен для дополнительного нагрева и сушки пара. Система имеет опускные трубы 8, по которым вода из нижней части барабана опускается в коллектор.

В котле барабанного типа обеспечивается естественная циркуляция воды и пароводяной смеси за счет их разной плотности.

Такая система позволяет получить докритические параметры пара (критической называется точка состояния, в которой исчезает различие в свойствах жидкости и пара): давление до 22,5 МПа, а практически не более 20 МПа; температура до 374°С (без пароперегревателя). При большем давлении нарушается естественная циркуляция воды и пара. Принудительная циркуляция пока не нашла применения в мощных барабанных котлах из-за своей сложности. Поэтому котлы данного типа используются в энергоблоках мощностью до 500 МВт при паропроизводителъности до 1600 тонн в час.

В котле прямоточного типа специальные насосы осуществляют принудительную циркуляцию воды и пара. Питательная вода насосом 9 через экономайзер 2 подается в трубы-испарители 10,где превращается в пар. Через пароперегреватель 7 пар поступает в турбину. Отсутствие барабана и принудительна циркуляция воды и пара позволяют получить сверхкритические параметры пара: давление до 30 МПа и температуру до 590°С. Это соответствует энергоблокам мощностью до 1200 МВт и паропроизводителъности до 4000 т/ч.

Котлы, предназначенные только для теплоснабжения и устанавливаемые в местных или районных котельных, выполняются на тех же принципах, что рассмотрены выше. Однако параметры теплоносителя, определяемые требованиями потребителей тепла, существенно отличаются от рассмотренных ранее (некоторые технические характеристики таких котлов приведены в табл.1.3).

Таблица 1.3. Технические данные котлов отопительных систем

Тип котла

Вид теплоносителя

Тепловая мощность, МВт

Паропроизводи-тельность, т/ч

Примечание

КЧМ-2 чугунный

Вода

0,05


Т = 1150С р = 0,7 МПа

“Факел” чугунный

Вода

1,0


То же, газомазутный

ДКВР стальной

Пар


2,5…25

р = 1,4 МПа, твердотопливный

ДЕ стальной

Пар


4,0…25

р = 1,4 МПа, газомазутный

ПТВМ стальной

Вода

58; 116; 209


Т =70…1500С газомазутный

КВ-ТК стальной

Вода

35; 116


Т =70…1500С твердотопливный


Например, котельные, пристроенные к зданиям, допускают применение котлов с давлением пара до 0,17 МПа и температурой воды до 1150С, а максимальная мощность встроенных котельных не должна превышать 3,5 МВт при работе на жидком и газообразном топливе или I,7 МВт при работе на твёрдом топливе. Котлы отопительных систем различаются по виду теплоносителя (вода, пар), по производительности и тепловой мощности, по конструкции (чугунные и стальные, малометражные и шатровые и др.).

Эффективность работы системы парогенерации или подготовки горячей воды во многом определяется коэффициентом полезного действий (КПД) котлоагрегата.

В общем случае КПД парового котла и расход топлива определяются выражениями:

, %,

, кг/с, (1.1)

где hk - КПД парового котла, %; q2, q3, q4, q5, q6 - потеря теплоты соответственно с уходящими газами, химическим недожогом, механическим недожогом, на наружное охлаждение, со шлаком, %; В - полный расход топлива, кг/с; QПК - теплота, воспринятая рабочей средой в паровом котле, кДж/м; - располагаемая теплота поступающего в топку топлива, кДж/кг.

Рис.1.4. Конструкции паровых котлов.

а - барабанного типа; б - прямоточного типа

- барабан; 2 - экономайзер; 3 - камера уходящих газов; 4 - коллектор; 5 - топочная камера; 6 - подъёмные трубы; 7 - пароперегреватель; 8 - опускные трубы; 9 - насос; 10 - трубы-испарители

Если теплота уходящих газов не используется, то

, % ,

а при разомкнутой системе сушки топлива уходящими газами

, %, (1.2)

где Нух, Нотб,  - энтальпия соответственно уходящих газов, газов в месте отбора на сушку и холодного воздуха, кДж/кг; r - доля отбора газов на сушку; αyx - избыток воздуха в уходящих газах.

Энтальпия газа при температуре Т численно равна количеству теплоты, которое подведено к газу в процессе нагревания его от нуля градусов Кельвина до температуры Т при постоянном давлении.

При разомкнутой системе сушки все данные о топливе относят к подсушенному топливу.

В этом случае расход сырого топлива при изменении влажности от WР до Wсуш составляет

, кг/с (1.3)

где Всуш - расход подсушенного топлива по (1.1), кг/с; Wсуш, WР - влажность подсушенного и неподсушенного топлива, %.

При изменении влажности меняется и низшая теплота сгорания
топлива от  до :

, кДж/кг (1.4)

Низшая теплота сгорания соответствует количеству теплоты, выделяемой топливом при полном его сгорании без учёта теплоты, затрачиваемой на образование водяных паров, которые находятся в продуктах сгорания.

Полная располагаемая теплота поступающего в топку топлива

, кДж/кг, (1.5)

где - низшая теплота сгорания топлива, кДж/кг;  - дополнительная теплота, вносимая в котел подогретым снаружи воздухом, паровым дутьем и т.д., кДж/кг.

Для ориентировочных расчетов .

Теплота, воспринимаемая рабочей средой в паровом котле

, кДж/с, (1.6)

где Dп - паропроизводительность котла, кг/с; hпп, hпв - энтальпия перегретого пара и питающей воды, кДж/кг; ∆Qпк - дополнительно воспринимаемая теплота при наличии в котле пароперегревателя, продувки водой и т.д., кДж/с.

Для ориентировочных расчетов ∆Qпк=0,2…0,3 Dп(hпп - hпв).

, %, (1.7)

где αун- доля уноса золы с продуктами сгорания; Ншл - энтальпия шлака, кДж/кг; АР - рабочая зольность топлива, %.

Значения q3, q4, q5, Wр, Aр,  приводятся в специальной литературе, а также в учебных пособиях [3,4].

При твердом шлакоудалении можно принять αух=1,2…1,25; αун=0,95; Ншл=560 кДж/кг.

Кроме того, при температуре воздуха перед котлом 300С =223 кДж/кг, а при температуре уходящих газов 1200С Нух=1256 кДж/кг.

Пример расчета. Определить КПД и расход топлива для парового котла при следующих условиях: Dп=186 кг/с; топливо - подсушенный Березовский угль с Wсуш=13%; разомкнутая система сушки, r=0,34; отбираемый на сушку газ имеет Нотб=4000кДж/кг; энтальпия перегретого пара и питательной воды соответственно hпп =3449 кДж/кг, hпв=1086,5 кДж/кг.

Решение. Предварительно по (1.4) определяется низшая теплота сгорания подсушенного топлива.

, кДж/кг

Здесь Wр=33% и  =16200 кДж/кг приняты по [3,4].

Принимая по (1.5)

 кДж/кг,

находим по (1.2)

, %

По [3,4] находим: q3=1%, q4=0,2%, q5=0,26% и с учётом (1.7)

, %.

Тогда

, %

Для расчета расхода топлива по (1.6) находим

 кДж/с.

Расход подсушенного топлива по (1.1)

, кг/с.

Расход сырого топлива при Wр =33% по (1.3) составляет

, кг/с.

Паровая турбина. Это тепловой двигатель, в котором энергия пара превращается в механическую энергию вращения ротора (вала) и закреплённых на нём рабочих лопаток. Упрощенная схема устройства паровой турбины приведена на рис.1.5. На валу 1 турбины крепятся диски 2 с рабочими лопатками 3. На эти лопатки из сопла 4 подаётся пар из котла, подводимый по паропроводу 5. Энергия пара приводит во вращение рабочее колесо турбины, а вращение вала передаётся через муфту 6 валу 7 синхронного генератора. Отработавший пар через камеру 8 направляется в конденсатор.

Паровые турбины по конструкции разделяются на активные и реактивные. В активной турбине (рис.1.5в) объем пара V2 при входе на рабочие лопатки равен объёму пара V3 при выходе с лопаток. Расширение объёма пара от V1 до V2 происходит только в соплах. Там же изменяется давление от р1 до p2 и скорость пара от с1 до с2. В этом случае остаётся неизменным давление пара на входе р2 и выходе р3 с лопаток, а скорость пара падает от с2 до с3 за счет передачи кинетической энергии пара лопаткам турбины:

п·(с2-с3)2 / 2 Gт·ст2 / 2,

где Gп, Gт - масса пара и рабочего колеса турбины; с2, с3, ст - скорость пара на входе и выходе с лопаток и скорость перемещения рабочего колеса.

Конструкция лопаток реактивной турбины такова (рис.1.5г), что пар расширяется не только в соплах от V1 до V2, но и между лопатками рабочего колеса от V2 до V3. При этом изменяется давление пара от р2 до р3 и скорость пара от с2 до с3. Поскольку V2<V3, то р2>p3 и в соответствии с первым законом термодинамики элементарная работа расширения единицы пара

 Дж/кг,

где F - площадь лопатки, м2; (р2 - р3) - разность давления на входе и выходе с лопаток, Па; dS - перемещение лопатки, м.

При этом  - работа, используемая для вращения рабочего колеса турбины. Таким образом, в реактивных турбинах помимо центробежных сил, возникающих при изменении скорости движения пара, на лопатки действуют реактивные силы, вызванные расширением пара.

Современные турбины выполняются как активными, так и реактивными. В мощных агрегатах параметры пара на входе приближается к значениям 30 МПа и 6000С. При этом истечение пара из сопла происходит со скоростью, превышающей скорость звука. Это ведёт к необходимости большой частоты вращения ротора. Возникают огромные центробежные силы, действующие на вращающиеся части турбины.

Практически частота вращения ротора, обусловленная конструктивными особенностями, как самой турбины, так и синхронного генератора, составляет 3000 1/мин. При этом линейная скорость на окружности колеса турбины диаметром один метр составляет 157 м/с. В этих условиях частицы стремятся оторваться с поверхности колеса с силой в 2500 раз превышающей их вес. Инерционные нагрузки уменьшают применением ступеней скорости и давления. Каждой ступени отдаётся не вся энергия пара, а только часть ее. Это обеспечивает и оптимальный теплоперепад на ступени, который составляет 40...80 кДж/кг при окружной скорости 140...210 м/с. Общий теплоперепад, срабатываемый в современных турбинах, составляет 1400...1600 кДж/кг.

По конструктивным соображениям 5...12 ступеней группируются в одном корпусе, который называют цилиндром. Современная мощная турбина может иметь цилиндр высокого давления (ЦВД) с давлением пара на входе 15...30 МПа, цилиндр среднего давления (ЦСД) с давлением 8...10 МПа и цилиндр низкого давления (ЦНД) с давлением 3...4 МПа. Турбины мощностью до 50 МВт обычно выполняются в одном цилиндре.

Отработавший в турбине пар поступает в конденсатор для охлаждения и конденсации. В трубчатый теплообменник конденсатора подаётся охлаждающая вода с температурой 10...15°С, что способствует интенсивной конденсации пара. С этой же целью давление в конденсаторе поддерживается в пределах 3...4 кПа. Охлаждённый конденсат вновь подаётся в котёл (рис.1.5), а охлаждающая вода, нагревшаяся до 20...25°С, удаляется из конденсатора. Если вода для охлаждения забирается из водоёма и затем безвозвратно сбрасывается, система называется разомкнутой прямоточной. В замкнутых системах охлаждения вода, нагревшаяся в конденсаторе, подается насосами на градирни - конусообразные башни. С верхней части градирен с высоты 40…80 м вода струится вниз, охлаждаясь при этом до необходимой температуры. Затем вода снова поступает в конденсатор.

Обе системы охлаждения имеют свои достоинства и недостатки и находят применение на электростанциях.

в г

Рис.1.5. Устройство паровой турбины:

а - рабочее колесо турбины; б - схема трехступенчатой активной турбины; в - работа пара в активной ступени турбины; г - работа пара в реактивной ступени турбины.

- вал турбины; 2 - диски; 3 - рабочие лопатки; 4 - сопла; 5 - паропровод; 6 - муфта; 7 - вал синхронного генератора; 8 - камера отработавшего пара.

Турбины, у которых весь поданный в них пар после совершения работы поступает в конденсатор, называются конденсационными и используются для получения только механической энергии с последующим преобразованием её в электрическую. Такой цикл называется конденсационным, используется на ГРЭС и КЭС. Пример конденсационной турбины - К300-240 мощностью 300 МВт с начальными параметрами пара 23,5 МПа и 600°С.

В теплофикационных турбинах часть пара отбирается до конденсатора и используется для подогрева воды, которая затем направляется в систему теплоснабжения жилых, административных, производственных зданий. Цикл называется теплофикационным и используются на ТЭЦ и ГРЭС. Например, турбина Т100-130/565 мощностью 100 МВт на начальные параметры пара 13 МПа и 5650С имеет несколько регулируемых отборов пара.

Промышленно-теплофикационные турбины имеют конденсатор и несколько регулируемых отборов пара для теплофикационных и промышленных нужд. Они используется на ТЭЦ и ГРЭС. Например, турбина П150-130/7 мощностью 50 МВт на начальные параметры пара 13 МПа и 5650С обеспечивает промышленный отбор пара при давлении 0,7 МПа.

Турбины с противодавлением работают без конденсатора, а весь отработавший пар поступает теплофикационным и промышленным потребителям. Цикл называется противодавленческим, а турбины используются на ТЭЦ и ГРЭС. Например, турбина Р50-130/5 мощностью 50 МВт на начальное давление пара 13 МПа и конечное давление (противодавление) 0,5 МПа с несколькими отборами пара.

Использование теплофикационного цикла позволяет достичь на ТЭЦ КПД до 70% с учетом отпуска тепла потребителям. При конденсационном цикле КПД составляет 25...40% в зависимости от начальных параметров пара и мощности агрегатов. Поэтому КЭС размещаются в местах добычи топлива, что снижает затрата на транспортировку, а ТЭЦ приближаются к потребителям тепла.

Синхронные генераторы. Конструкция и характеристики этой машины, преобразующей механическую энергию в электрическую, подробно рассматриваются в специальных дисциплинах. Поэтому ограничимся общими сведениями.

Основные элементы конструкции синхронного генератора (рис.1.6): ротор 1, обмотка 2 ротора, статор 3, обмотка 4 статора, корпус 5, возбудитель 6 - источник постоянного тока.

Неявнополюсной ротор быстроходных машин - турбогенераторов (n = 3000 1/мин) выполняется из листовой электротехнической стали в форме цилиндра, находящегося на валу 7. Тихоходные машины - гидрогенераторы (n ≤ 1500 1/мин) имеют явнополюсный ротор (показан пунктиром). В пазах на поверхности ротора располагается медная изолированная обмотка, подключённая с помощью скользящих контактов 8 (щёток) к возбудителю. Статор представляет собой полный цилиндр из электротехнической стали, на внутренней поверхности которого в пазах располагаются три фазные обмотки - А, В, С. Обмотки выполняется медным изолированным проводом, идентичны друг другу и имеют осевую симметрию, занимая секторы по 120°. Начала фазных обмоток А, В, С через изоляторы выводятся наружу, а концы обмоток Х, У, Z соединяются в общую точку N - нейтраль .

Работа генератора происходит следующим образом. Ток возбуждения iB в обмотке ротора создает магнитный поток Ф, пересекающий обмотки статора. Вал генератора приводится во вращение турбиной. Тем самым обеспечивается равномерное вращение магнитного поля ротора с угловой частотой ω=2πf, где f - частота переменного тока, 1/с - Гц. Для получения частоты переменного тока 50 Гц при числе пар магнитных полюсов р необходима частота вращения ротора n=60·f /p.

При р = 1, что соответствует наявнополюсному ротору, n= 3000 1/мин. Вращающееся магнитное поле пересекая обмотки статора наводит в них электродвижущую силу (ЭДС). В соответствии с законом электромагнитной индукции мгновенное значение ЭДС

,

где w - число витков.

ЭДС в обмотках статора наводятся синхронно с изменением магнитного поля по мере вращения ротора.

Рис.1.6. Устройство синхронного генератора.

а - конструкция генератора; б - схема соединения обмоток;

в - ЭДС на выводах обмоток генератора

1 - ротор; 2 - обмотка ротора; 3 - статор; 4 - обмотка статора; 5 - корпус; 6 - возбудитель; 7 - вал (ось) ротора; 8 - контактные кольца

При равномерном вращении ротора и осевой симметрии обмоток статора мгновенные значения фазных ЭДС равны:

 (1.8)

где ЕМ - амплитудное значение ЭДС.

Если к выводам обмоток статора генератора подключена электрическая нагрузка Z во внешней цепи протекает электрически ток

,  , , (1.9)

где  - напряжение на выводах обмоток при протекании в них тока i и сопротивлении обмотки статора Zвн.

На практике удобнее использовать не мгновенные, а действующие значения электрических величин. Необходимые соотношения известны из курса физики и теоретических основ электротехники.

Работа генератора во многом зависит от режима возбуждения и охлаждения машины. Различные системы возбуждения (независимое и самовозбуждение, электромашинное и тиристорное и т.д.) позволяют изменять величину iB и, следовательно, магнитного потока Ф и ЭДС в обмотках статора. Это даёт возможность регулировать напряжение на выводах генератора в определённых пределах (обычно ±5%).

Величина активной мощности, отдаваемой турбогенератором в электрическую сеть, определяется мощностью на валу турбины и регулируется подачей в турбину пара.

В процессе работы генератора происходит его нагрев, прежде всего из-за выделения тепла в обмотках, обтекаемых током. Поэтому существенное значение имеет эффективность системы охлаждения.

Генераторы малой мощности (1...30 МВт) имеют воздушное охлаждение внутренних поверхностей по проточной (разомкнутой) или регенеративной (замкнутой) схеме. На генераторах средней мощности (25...100 МВт) применяют поверхностное водородное охлаждение по замкнутой схеме, что более эффективно, но требует применения специальных мер безопасности. Мощные генераторы (более 100 МВт) имеют форсированное водородное, водяное или масляное охлаждение, при котором охладитель прокачивается под давлением внутри статора, ротора, обмоток по специальным полостям (каналам).

Основные технические характеристики генераторов: номинальное напряжение на выводах обмотки статора генератора, Uном: 6,3-10,5-21 кВ (бòльшие значения соответствуют более мощным генераторам); номинальная активная мощность, Рном, МВт; номинальный коэффициент мощности; номинальный КПД, составляющий 90...99%.

Эти параметры связаны между собой:

.

Собственные нужды электростанций. Не вся электрическая и тепловая энергия, произведённая на ТЭС, отдаётся потребителям. Часть остаётся на станции и используется для обеспечения её работы. Основными потребителями этой энергии являются: система транспортировки и подготовки топлива; насосы подачи воды, воздуха; система очистки воды, воздуха, уходящих газов и др.; отопление, освещение, вентиляция бытовых и производственных помещений, а также целый ряд других потребителей.

Многие элементы собственных нужд относятся к первой категории по надёжности электроснабжения [1]. Поэтому они подключаются, по крайней мере, к двум независимым источникам энергии, например, к источникам на своей станции и к энергосистеме.

Распределительное устройство. Электроэнергия, выработанная генераторами, собирается на распределительном устройстве (РУ), а затем распределяется между потребителями. Для этого выводы обмоток статоров генераторов через специальные коммутационные аппараты (выключатели, разъединители и др.) жесткими или гибкими проводниками (шинами) присоединяются к сборным шинам РУ. Каждое присоединение в РУ осуществляется посредством специальной ячейки, содержащей необходимый комплект аппаратуры. Поскольку передача, распределение и генерация электроэнергии, а также ее потребление происходят при разном напряжении, на станции есть несколько РУ. На номинальное напряжение генераторов, например, 10,5 кВ, выполняется РУ генераторного напряжения. Обычно оно находится в здании станции и по конструкции является закрытым (ЗРУ). К этому РУ подключаются близко расположенные потребители. Для передачи электроэнергии по линиям электропередачи (ЛЭП) на большие расстояния и связи с другими станциями и системой необходимо использовать напряжение 35...330 кВ. Такая связь осуществляется с помощью отдельных РУ, обычно открытого исполнения (ОРУ), где устанавливаются повышающие трансформаторы. Для подключения потребителей собственных нужд служит - РУСН. С шин РУСН электроэнергия непосредственно и через понижающие трансформаторы передаётся потребителям на электростанции.

Схожие принципы используются и при распределении тепловой энергии, вырабатываемой на ТЭЦ. Специальные коллекторы, паропроводы, насосы обеспечивают подачу тепла промышленным и коммунальным потребителям, а также в систему собственных нужд.

.3 Атомные электростанции

Принципиальное отличие АЭС от ТЭС состоит в топливе, которое используется для получения тепла. При этом конструктивные особенности АЭС весьма существенны.

Протекание цепной ядерной реакции с выделением большого количества тепла известно из курса физики. Этот процесс используется на АЭС, где выделяющееся в результате цепной реакции тепло направляется на получение необходимых параметров теплоносителя. Основной вид топлива на АЭС - изотопы урана. Уран-235, содержание которого в природном уране составляет 0,7%, неустойчив, легко делится от бомбардировки нейтронами сравнительно малой энергии (тепловые нейтроны со скоростью до 2 км/с). Уран-238 составляет 99,3% природного урана, но начинает распадаться только под воздействием нейтронов большой энергии (быстрые нейтроны со скоростью 30 км/с). В процессе деления урана-238 воспроизводится плутоний-239, который может служить как топливом для АЭС, так и исходным сырьём для термоядерного оружия. Легко сделать выводы о достоинствах и недостатках каждого из изотопов урана для использования на АЭС.

Первая в нашей стране Обнинская АЭС имела реакторы на тепловых нейтронах и была введена в эксплуатацию в 1951 г. Почти через 20 лет, в 1973 г. начала работать Шевченковская АЭС - первая с реакторами на быстрых нейтронах. Мощность Обнинской станции составляла 5 МВт, Шевченковской - 350 МВт.

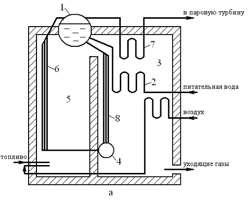
Тепловые схемы АЭС. Основными элементами тепловой схемы АЭС являются (рис.1.7): ядерный реактор 1 с первичной биологической защитой; вторичная биологическая защита 2; контуры теплоносителя - первый 3, второй 4, третий 5; турбина 6; генератор 7; конденсатор 8 или газоохладитель; насосы 9 или компрессоры; парогенератор 10; теплообменник 11.

В системе АЭС различают теплоноситель, отводящий тепло от реактора, и рабочее тело, предназначенное для преобразования тепловой энергии в механическую. Если контуры теплоносителя и рабочего тела совпадают, АЭС называется одноконтурной. В этом случае среда, отводящая теплоту из реактора, должна совершать работу в турбине. Достоинством одноконтурных АЭС является простота тепловой схемы и относительно высокая тепловая экономичность. Однако, проходя через реактор, теплоноситель активируется и значительная часть радиоактивности переносится в паротурбинный тракт, что затрудняет эксплуатацию его агрегатов и усложняет радиационную обстановку на АЭС.

В двухконтурной схеме теплоноситель и рабочее тело разделены. Контур теплоносителя называется первым и является радиоактивным. Во втором контуре, где циркулирует рабочее тело, радиоактивность отсутствует. Это упрощает конструкцию и эксплуатацию второго контура и обеспечивает сопоставимые технико-экономические показатели двух- и одноконтурных АЭС.

В качестве теплоносителя может использоваться жидкий металл, например, натрий. Это улучшает отвод тепла из реактора, но повышает вероятность аварийной ситуации (контакт жидкого натрия с водой проходит при бурном химическом взаимодействии с выделением большого количества тепла). Для предотвращения этого вводится дополнительный промежуточный контур, схема становится трехконтурной.

Рис.1.7. Схемы работы АЭС

а - одноконтурная; б - двухконтурная; в - трехконтурная

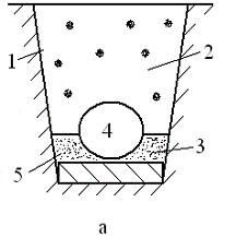
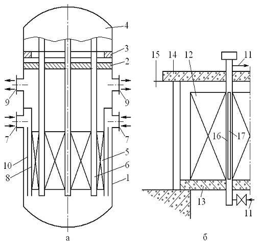
Реактор. Это установка, предназначенная для осуществления и поддержания цепной реакции деления тяжёлых ядер при бомбардировке их нейтронами. Примеры конструкции реакторов приведены на рис.1.8. Первым отечественным промышленным реактором был водоводяной реактор корпусного типа ВВЭР. Он состоит из прочного корпуса 1, несущего давление, закрытого крышкой 2 с нажимным кольцом 3 и защитным колпаком 4. Внутри корпуса находится активная зона 5, куда загружается ядерное топливо, размещённое в тепловыделяющих элементах (ТВЭЛ). Эти элементы объединяются в кассеты шестигранной или квадратной формы. Оболочка ТВЭЛа предотвращает контакт теплоносителя с топливом и выход продуктов деления в теплоноситель.

Для регулирования интенсивности реакции в активную зону вводятся поглотители нейтронов, например, вода или графит. Управление поглотителями производится по специальной программе с помощью стержневых приводов 6. Теплоноситель (лёгкая вода) подводится через нижние патрубки 7, опускается вниз между корпусом и цилиндром подвесной корзины 8 и поступает в нижнюю часть активной зоны, где нагревается до заданной температуры. Отвод теплоносителя происходит через верхние патрубки 9. Тепловой экран 10 служит для защиты корпуса от чрезмерного облучения нейтронами и γ - частицами.

В реакторах большой мощности канального типа с кипящим слоем РБМК теплоносителем является лёгкая вода, а замедлителем - графит 12. Нижняя опорная железобетонная плита 13 поддерживает графит. Верхняя плита 14 опирается на бак 15 биологической защиты, заполненный водой. Обе плиты объединены цилиндрической стальной обечайкой и вместе представляют собой герметичный корпус. В графите находятся трубы 16 технологических каналов, внутри которых размещены ТВЭЛы 17 и принудительно циркулирует теплоноситель.

Реактор РБМК больше по габаритам, чем ВВЭР, т.к. замедляющая способность графита меньше, чем у лёгкой воды. Но РБМК не имеют ограничений по мощности, связанных с наличием корпуса и корпусным давлением в реакторах ВВЭР. Некоторые сравнительные характеристики этих реакторов приведены в табл.1.4.

Кроме рассмотренных водоводяных и водографитовых реакторов на АЭС работают газографитовые реакторы, у которых теплоносителем является газ (гелий, углекислый газ), а замедлителем - графит.

В реакторах на быстрых нейтронах, отсутствует замедлитель. Поскольку быстрые нейтроны слабо поглощаются ядерным топливом, используется высокообогащенное топливо, а концентрация делящегося вещества в единице объёма в 4...5 раз больше, чем в реакторах на тепловых нейтронах. Это требует интенсивного отвода тепла, что осуществляется путем использования в качестве теплоносителя жидких металлов, например, натрия.

Таблица 1.4. Характеристики ядерных реакторов

Тип реактора

Мощность, МВт

Давление в реакторе, МПа

Температура теплоносителя на выходе, С

Размеры активной зоны, м


тепловая

электрическая









диаметр

высота

ВВЭР-1000

3000

1000

16

324

3,12

3,5…7,0

РБМК-1000

3200

1000

7

280

11, 8



Парогенератор. На одноконтурных АЭС эта установка отсутствует, т.к. теплоноситель одновременно является рабочим телом. В многоконтурных схемах парогенераторы необходимы. Конструкции их многообразны. Для реакторов ВВЭР, например, наибольшее распространение имеют парогенераторы горизонтального типа с естественной многократной циркуляцией. Их поверхность нагрева выполнена нержавеющими стальными трубками диаметром 14...15 мм. Трубки находятся внутри корпуса, являющегося резервуаром для воды и пара. Теплоноситель движется внутри трубок, а рабочее тело - в объеме корпуса парогенератора. Пар, образующийся внутри корпуса, выводится по патрубкам и направляется в турбину. Парогенератор реактора ВВЭР имеет паропроизводителъностъ 1470 т/ч, давление пара 6,4 МПа, мощность 250 МВт.

Турбина. Выбор турбины АЭС в значительной степени зависит от типа ядерного реактора. Если реактор выдаёт пар высоких начальных рабочих параметров, то турбины АЭС идентичны турбинам ТЭС при условии, что поступающий в них пар нерадиоактивен. На АЭС с реакторами, выдающими воду под высоким давлением с дальнейшей генерацией пара в парогенераторе, в турбину поступает насыщенный или слабо перегретый пар. В этом случае турбина имеет конструктивные особенности, связанные с организацией сепарации и промежуточного перегрева пара. Такие особенности имеют, например, турбины одноконтурных АЭС.

Рис.1.8. Конструкция ядерных реакторов:

а - реактор ВВЭР; б - реактор РБМК

- корпус; 2 - крышка; 3 - нажимное кольцо; 4 - защитный колпак; 5 - активная зона; 6 - стержневой привод; 7 - нижние патрубки; 8 - подвесная корзина; 9 - верхние патрубки; 10 - тепловой экран; 11 - тракт теплоносителя; 12 - замедлитель; 13 - плита нижняя; 14 - плита верхняя; 15 - бак биологической защиты; 16 - трубы технологических каналов; 17 - ТВЭЛ.

Надёжность АЭС. Строительство и эксплуатация АЭС невозможны без всеобъемлющего разрешения вопросов надёжности. Радиоактивное излучение опасно. В определённых дозах оно вызывает серьезные заболевания и смерть людей, приводит к негативному генетическому воздействию. Основной источник радиоактивности на АЭС содержится внутри ТВЭЛов. Отработанное ядерное топливо также радиоактивно. В процессе работы АЭС образуются радиоактивные жидкости, газы, твердые вещества. Все это требует принятия особых мер защиты от возможного облучения и обеспечения высокой надёжности работы АЭС.

Важнейшим элементом обеспечения радиоактивной безопасности является биологическая защита реактора и первого контура. Она выполняется в виде толстого слоя бетона (несколько метров) с внутренними каналами, по которым циркулирует вода или газ.

Существенным фактором надёжности АЭС является автоматизация управления режимами работы основного оборудования, дублирование этого оборудования, постоянная готовность и автоматическое включение аварийных систем при возникновении соответствующих ситуаций.

Необходимо соблюдать все предписанные меры безопасности и предосторожности при транспортировке ядерного топлива, загрузке его в реактор и выгрузке из реактора.

Особой проблемой является хранение радиоактивных отходов АЭС. Эту задачу пока нельзя считать полностью разрешенной.

Кроме того, необходимо своевременно, полно и объективно информировать население о состоянии АЭС, в том числе и о возникающих аварийных ситуациях.

Перспективы развития атомной энергетики. Ядерная энергетика способна сгладить остроту реально надвигающегося мирового энергетического кризиса. По оценкам учёных запасов органического топлива на планете в необходимых человечеству количествах хватит примерно до середины текущего столетия. Ядерное же горючее, например, для реакторов на быстрых нейтронах, практически неисчерпаемо. Кроме того, сжигание одного грамма каменного угля дает 3...7 калорий, а деление одного грамма урана-235 в три миллиона раз больше. Это почти пропорционально снижает расходы по транспортировке топлива, позволяет строить АЭС без привязки к его месторождениям, достигать большой единичной мощности блоков -1000 МВт и более. АЭС, в отличие от ТЭС, не загрязняют окружающую среду выбросами серы, азота, золы и целого ряда других вредных веществ. Атомные ТЭЦ (АТЭЦ) снабжают потребителей и тепловой энергией, например, в 1973 г. была запущена Билибинская АТЭЦ. Радиационная безопасность на АТЭЦ достигается за счет трехконтурной схемы. Для получения высоких параметров рабочего пара в качестве теплоносителя первого контура на АТЭЦ применяют жидкие металлы. В этом случае защитная зона составляет 30 км от крупных городов, что требует большой длины теплотрасс, влечёт за собой избыточный расход труб, потери тепла и дополнительные затраты. Проблема во многом решается строительством атомных станций теплоснабжения (АСТ), на которых используется отработавшее топливо АЭС. Трехконтурная АСТ может располагаться на расстоянии 2...3 км от города, т.к. использует ядерное горючее пониженной активности. Таким образом, ядерная энергетика может обеспечивать потребности, как в электрической, так и в тепловой энергии.

Вместе с тем, очевидны и проблемы, связанные со строительством и эксплуатацией АЭС: необходимы жесткие меры по предотвращению возможного радиоактивного заражения в зоне станции; ограничен срок эксплуатации реакторов АЭС (в настоящее время около 30…40 лет), после чего необходимо решать вопросы их утилизации; потребность АЭС в больших количествах охлаждающей воды может приводить к нарушению экологического баланса водоёмов; требуют решения проблемы захоронения радиоактивных отходов АЭС.

Объективное сопоставление достоинств и недостатков АЭС позволяет выработать стратегию развития ядерной энергетики. Оптимальным представляется подход, предусматривающий не закрытие работающих и прекращение строительства новы АЭС, а действенные усилия по улучшению технико-экономических характеристик атомных станций и в первую очередь по обеспечению безопасности их работы.

1.4 Гидравлические электрические станции

Использование энергии текущей и падающей воды известно издревле. Принцип преобразования этой энергии в электрическую достаточно прост, если учесть, что прообраз гидротурбины, - «водяное колесо», - давно используется людьми. Остается подключить синхронный генератор.

В настоящее время ГЭС представляют собой объекты комплексного назначения, обеспечивающие нужды энергетики, водного транспорта, сельского хозяйства, рыбоводства, коммунального хозяйства и других отраслей. Во многих случаях строительство мощных ГЭС связано с освоением новых районов, например, в Сибири, на Дальнем Востоке.

Понятие "гидравлические станции" включает в себя и морские приливные электростанции (ПЭС) и гидроаккумулирующие электростанции (ГАЭС), которые рассматриваются ниже.

Сразу отметим ряд достоинств ГЭС, обеспечивающих высокую эффективность этого типа станций.

ГЭС работают на возобновляемом энергоресурсе, использование которого не истощает топливных запасов Земли.

Агрегаты ГЭС обладает очень высокой манёвренностью, способны быстро изменять выдаваемую в энергосистему электрическую мощность. Таким образом, ГЭС способны эффективно работать в периоды кратковременных максимумов (пиков) нагрузки. В аварийных условиях дефицита электрической мощности в энергосистеме ГЭС обеспечивают быстрый ввод дополнительной мощности, что значительно повышает надёжность работы всей системы в целом и позволяет уменьшить резервные мощности на ТЭС.

ГЭС лучше других электростанций приспособлена к автоматическому управлению и требуют меньше эксплуатационного персонала, чем аналогичной мощности ТЭС (в четыре раза) и АЭС (в шесть раз). Некоторые ГЭС сравнительно небольшой мощности работают вообще без постоянного обслуживающего персонала полностью в автоматическом режиме.

Существенно и то, что на ГЭС отсутствуют вредные выбросы в атмосферу, воду, почву.

Однако существует и ряд проблем при использовании ГЭС. Прежде всего, ограниченность гидроэнергетических ресурсов, неравномерность их распределения, в том числе наличие мощных источников гидроэнергии в удалённых и труднодоступных местах. При сооружении ГЭС приходится выполнять большие объемы строительных работ, возводить высокие плотины и т.д., что увеличивает сроки строительства до 10...15 лет. Оказывает гидроэнергетика и негативное влияние на экологию, что подробнее рассмотрено ниже.

Как и для других типов электростанций, расчёт технико-экономического обоснования строительства ГЭС производится в комплексе задач развитии региона и энергетики в целом.

Наиболее эффективное использование водотока возможно при концентрации перепадов уровней воды на относительно коротком участке. При наличии естественного водопада решение этой задачи упрощается, однако подобные условия встречаются крайне редко. Для использования падения уровня рек, распределённого по значительной длине водотока, прибегают к искусственному сосредоточению перепада, что может быть осуществлено различиями способами.

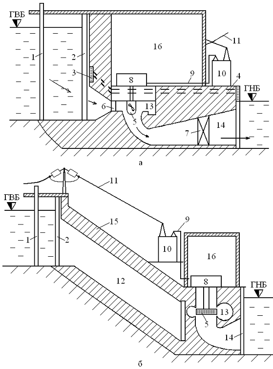
Приплотинная схема. На равнинных реках с большим расходом воды и малым уклоном сооружают плотины, что обеспечивает подпор уровня водотока (рис.1.9). Образующееся при этом водохранилище может использоваться в качестве регулирующей ёмкости, позволяющей периодически накапливать запасы воды и более полно использовать энергию водотока. При этом различают две схемы расположения здания ГЭС: русловая и собственно приплотинная.

Русловая ГЭС. Ее здание входит в состав водонапорных сооружений и воспринимает давление воды со стороны верхнего бьефа.

Конструкция здания в этом случае должна удовлетворять всем требованиям устойчивости и прочности, предъявляемым к плотинам. ГЭС с русловым зданием строятся при сравнительно небольших напорах - до 40м. Классическим примером такой станции является Волжская ГЭС.

Приплотинная ГЭС. Ее здание располагается за плотиной и не воспринимает давление воды. На крупных современных ГЭС такого типа напор доходит до 300 м. Например, на Саяно-Шушенской ГЭС - 242 м.

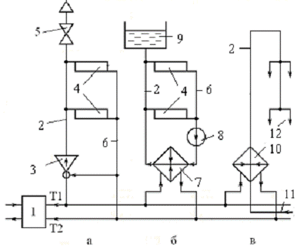
Деривационная схема. Сосредоточенный перепад воды получается за счет отвода воды из естественного русла по искусственному водоводу, имеющему меньший продольный уклон. Благодаря этому уровень воды в конце водовода выше, чем в реке. Эта разность уровней и является напором ГЭС. Различают станции с безнапорной и напорной деривацией.

При безнапорной деривации отвод воды от реки осуществляется по открытому каналу или по тоннелю. Для забора воды в деривационный канал в русле реки возводится невысокая плотина, создающая водохранилище. Вода в канал поступает без напора, а сам канал заканчивается напорным бассейном, из которого вода по трубам подаётся к турбинам. Отработавшая вода отводится обратно в русло реки.

При нагорной деривации используются напорные трубопроводы, куда вода подается насосами. Из трубопроводов вода поступает к турбинам, а затем возвращается в реку ниже по течению.

Сооружение деривационных ГЭС целесообразно в горной местности при больших уклонах рек и относительно малых расходах воды. В этом случае можно получить напор до 1000 метров и, соответственно, большую мощность.

Гидротурбины. Для любого типа ГЭС вырабатываемая одной турбиной мощность равна

 кВт, (1.10)

где Q - расход воды через турбину, м3/с; Н - напор, равный разности отметок горизонтов верхнего и нижнего бьефа, м; η - КПД, зависящий от типа и режима работы турбины.

Пример расчета. Определить как изменится мощность пропеллерной турбины, работающей с Nт1=100%Nт, если при неизменном напоре расход воды уменьшается на 30%.

Решение. Изменение мощности, обусловленное уменьшением расхода воды, находится по (1.10)


Изменение КПД определяется по номограммам [3, 4]: при Nт1 =100% Nт η1=90%, а при Nт2 = 70% Nт η 2=80%. Таким образом,


Здесь индекс 1 соответствует исходному режиму, а индекс 2 - новому режиму работы гидротурбины.

Для наиболее полного преобразования энергии воды в механическую энергию для всех типов турбин скорость движения лопаток выбирается такой, что на их выходе абсолютная скорость движения воды равна нулю. При этом частота вращения вала турбины

, 1/мин (1.11)

где ns - коэффициент быстроходности турбины, численно равный частоте вращения вала турбины данного типа при мощности и напоре соответственно 0,736 кВт и 1 метр.

По конструкции различают два класса гидротурбин: активные и реактивные. В активной турбине используется динамическое давление воды. Потенциальная энергия гидростатического давления в суживающейся насадке превращается в кинетическую энергию движения воды. Это, как правило, высоконапорные турбины. В реактивной турбине используется статическое давление воды при реактивном эффекте, что предпочтительней на равнинных реках с большим расходом воды и относительно малым напором.

Наиболее распространенные активные турбины - ковшовые. Рабочее колесо (рис.1.10) такой турбины выполняется в виде диска 1, закреплённого на валу 2. Оно вращается в воздухе. По окружности диска равномерно расположены ковшовые лопасти 3. Подвод воды осуществляется посредством сопла 4, внутри которого расположена регулирующая игла 5. В соплах энергия воды обращается в кинетическую и, создавая давление на лопатки, приводит во вращение рабочее колесо. Изменение положения иглы регулирует подачу (расход) воды и мощность турбины.

Рис.1.9. Компоновка ГЭС

ГВБ, ГНБ - горизонты верхнего и нижнего бьефа

- решетка; 2 - затвор турбинного водовода; 3 - затвор водосброса; 4 - канал водосброса; 5 - гидротурбина; 6 - направляющий аппарат; 7 - аварийный затвор; 8 - генератор; 9 - кабель генераторного напряжения; 10 - трансформатор; 11 - ЛЭП; 12 - турбинный водовод; 13 - спиральная камера; 14 - отсасывающая труба; 15 - тело плотины; 16 - машинный зал.

Конструкции ковшовых турбин разнообразны и отличаются по расположению вала (горизонтальное и вертикальное) по числу сопл и рабочих колёс на одном валу и т. д. Такие турбины используются в диапазоне напора 300...1000 метров, при диаметре рабочего колеса до 7,5 метров и мощности до 170…200 МВт.

Реактивные турбины по конструкции могут быть поворотно-лопастными (рис.1.10), радиально-осевыми, пропеллерными, двухперòвыми, диагональными. Эти турбины работают полностью погружёнными в воду. Энергия воды отдаётся всем лопастям 6 рабочего колеса одновременно. Лопасти крепятся на втулке 7 и могут поворачиваться вокруг своей оси, перпендикулярной оси вала. Вода подаётся на лопатки из спиральной камеры 8 через направляющий аппарат 9. Спиральная камера обеспечивает равномерный подвод воды ко всем лопаткам одновременно, а направляющий аппарат обеспечивает необходимые углы подачи воды. Двойное регулирование угла подачи вода (направляющим аппаратом и поворотом лопастей) обеспечивает автоматическое поддержание высокого КПД турбины в широком диапазоне изменения мощности. Поворотно-лопастные турбины используются в диапазоне напоров 3...75 метров. Их мощность достигает 200 МВт.

Наибольшую мощность позволяют получить современные реактивные турбины радиально-осевого типа. Например, такие турбины на Саяно-Шушенской ГЭС имеют мощность 640 МВт.

Для реактивных турбин особое значение имеет обеспечение бескавитационных условий работы. Кавитация возникает при быстром течении жидкости и попадании ее на препятствие, на лопатки турбины. При этом в силу определенных процессов могут возникать гидравлические микро удары с давлением до нескольких сотен МПа, что способно разрушить металл и бетон. Снижение кавитации достигается правильным выбором типа турбины в соответствии с напором, её быстроходности, расположением турбины относительно нижнего бьефа, а также применением особо стойких материалов (хромоникелевая сталь) и их тщательной обработкой.

Учитывая, что вал турбины связан с валом генератора, а частота переменного тока неизменна, частота вращения вала турбины зависит от параметров, входящих в выражение (1.11), и числа пар полюсов генератора. Обычно при больших напорах используются турбины с малым значением коэффициента быстроходности и наоборот. Реально частота вращения вала гидротурбин составляет от 16,66 до 1500 1/мин.

      

Рис.1.10 Конструкции гидротурбин:

а - активная (ковшовая); б - реактивная (поворотно-лопастная)

Синхронные генераторы ГЭС. Различия в принципе действия генераторов ГЭС и ТЭС нет. Конструктивные отличия гидрогенераторов в основном следующие: во-первых, вертикальное расположение вала, что обусловлено компоновкой ГЭС, во-вторых, ротор гидрогенератора обычно выполняется явнополюсным. Это становится возможным из-за небольшой частоты вращения вала гидрогенератора и, следовательно, сравнительно небольших центробежных сил, действующих на ротор. Явнополюсная конструкция позволяет уменьшить расход металла и массу ротора.

Комплексное использование гидроресурсов. Гидроузел - это сложный инженерно-технический объект. Помимо собственно ГЭС и водохранилища в его состав входят системы безвозвратной подачи воды потребителям (промышленным, сельскохозяйственным, бытовым и другим объектам) и системы водопользователей, возвращающих воду или вообще не изымающих ее из оборота водотока (водный транспорт, рыбоводческие и рыболовные хозяйства и т.д.). Обычно в состав гидроузла входят шлюзовые системы прохода судов и системы проводки нерестовой рыбы. Весь этот комплекс предъявляет свои требования к объему и качеству потребляемой воды, к временнóму режиму водопотребления. При этом важнейшей задачей является регулирование речного стока водохранилищами ГЭС. Естественный сток рек очень неравномерен. Например, в половодье за 1…3 месяца проходит 60...70% годового стока. Интенсивность стока изменяется также из года в год (дожди, засуха). На эти изменения накладывается неравномерная потребность в электрической энергии, а значит, и в запасах воды. Потребление электроэнергии зависит от времени суток, дня недели, погодных условий, времени года и ещё целого ряда факторов, многие из которых являются случайными. Всё это приводит к необходимости регулирования стока с помощью водохранилищ, где задерживается избыточный естественный приток, когда он превышает спрос потребителей, и расходуется, когда этот спрос больше притока. Для учета изложенных факторов на практике применяют различные циклы регулирования: суточный, недельный, годичный, многолетний.

Разумное планирование всей системы гидроузла в целом, учёт каскадности гидросооружений (например, Волжский каскад ГЭС) и режима гидропотока способны обеспечить экономический, хозяйственный, социальный эффект значительно выше, чем отдельно взятая ГЭС.

Гидроаккумулирующие ГЭС. Принцип действия ГАЭС (рис.1.11) основан на использовании потенциальной энергии воды верхнего естественного или искусственного бассейна 1 в периоды, когда необходима выработка электроэнергии (обычно в часы утреннего и вечернего пика нагрузки). В это время вода по водоводу 2 поступает в здание ГАЭС 3 на гидротурбину и затем сбрасывается в нижний бассейн 4, также естественный или искусственный. В ночные часы, когда в энергосистеме имеется избыток мощности, вода из нижнего бассейна закачивается насосами в верхний бассейн. Запасается энергия для нового цикла работы.

Различают ГАЭС чистого аккумулирования и смешанного типа. У ГАЭС чистого или простого аккумулирования верхний бассейн не имеет притока воды. Работа происходит на одном и том же объеме воды, перекачиваемом из нижнего бассейна и срабатываемом в турбинном режиме из верхнего в нижний бассейн. Лишь небольшие потери воды происходят в результате испарения и инфильтрации. У ГАЭС смешанного типа в верхний бассейн имеется приток воды, и станция может работать в турбинном режиме не только за счёт насосной подачи, но и на естественном стоке.

По количеству машин различают четырех-, трех- и двухмашинные схемы агрегатов ГАЭС (рис.1.11.). В их состав входят турбина 5, генератор 6, насос 7, двигатель 8. Двухмашинную схему, при которой на ГАЭС устанавливаются агрегаты, способные выполнять функции, как турбины, так и насоса, и состоящие каждый из обратимой гидромашины и реверсивной электромашины, следует считать наиболее совершенной и экономичной. Преимущества этой системы: относительно малая металлоемкость, простота эксплуатации, малые габариты машинных залов.

ГАЭС выполняют в современных энергосистемах роль маневренной мощности, мобильного резерва, способствуют повышению надёжности электроснабжения и экономии органического топлива. Они используются для покрытия пиковой части графиков электрической нагрузки, для участия в регулировании частоты и мощности, для улучшения режимов работы ТЭС и АЭС. В частности, ГАЭС очень хорошо сочетаются по режиму своей работы с ГРЭС и АЭС, которые неэкономично, технически невозможно и бессмысленно останавливать ночью в период значительного спада электрической нагрузки. Избыточная ночная мощность ГРЭС и АЭС как раз и может быть использована для закачивания воды в верхние бассейны ГАЭС.

Рис.1.11. Схемы ГАЭС:

а - принцип работы ГАЭС; б - компоновка агрегатов станции четырехмашинная; в - компоновка трехмашинная; г - компоновка двухмашинная



В настоящее время построены и проектируется достаточно мощные ГАЭС: 2400 МВт в ФРГ, 2000 МВт в США, 1200 МВт в России (Загорская ГАЭС) и др.

По этому же принципу работают газоаккумулирующие электростанции. В них рабочим телом является инертный газ, закачиваемый (аккумулируемый) под большим давлением в емкость (обычно, подземные естественные полости). Запасенный таким образом газ работает в газовых турбинах. Наиболее мощная электростанция такого типа в США - 220 МВт.

1..5. Газотурбинные и парогазовые силовые установки

Основная область применения газотурбинных (ГТУ) и простейших парогазовых силовых установок (ПГУ) - покрытие пиковых и полупиковых нагрузок, но эти установки могут использоваться и в длительном режиме работы.

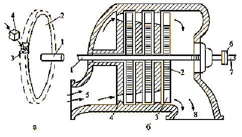
Газотурбинные установки. В качестве рабочего тела в ГТУ используется смесь продуктов сгорания топлива с воздухом или нагретый воздух при большом давлении и температуре. В газовой турбине происходит преобразование тепловой энергии газов в кинетическую энергию вращения ротора. Конструктивно газовые турбины аналогичны паровым, но они более компактны за счет меньшего объёма рабочего тела. Это позволяет уменьшить по сравнению с паровыми турбинами такой же мощности капитальные затраты на 20…25%, расход металла на 50%, численность обслуживающего персонала в 2...2,5 раза. Диапазон мощностей выпускаемых газовых турбин велик - от десятков киловатт для ГТУ на транспорте до 150 МВт для промышленных энергоблоков, например, турбина совместной разработки фирм "Ленинградский (Санкт-Петербургский) металлический завод" и "Сименс".

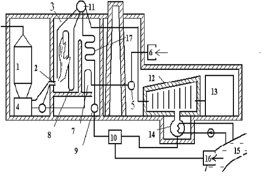
Работа ГТУ осуществляется следующим образом. B камеру сгорания 1 (рис.1.12) подается жидкое или газообразное топливо и воздух. Получающиеся в камере сгорания газы 2 с высокой температурой и под большим давлением направляются на рабочие лопатки газовой турбины 3. Турбина вращает вал электрического генератора 4 и компрессора 5. Компрессор необходим для подачи под давлением воздуха 6 в камеру сгорания. Этот воздух подогревается в регенераторе 7 отработавшими в турбине газами 8, что повышает эффективность сжигания, топлива в камере сгорания.

Практическое использование мощных ГТУ связано с увеличением их КПД, который пока составляет 30…35%, и с увеличением ресурса их работы.

Рис.1.12. Схема ГТУ.

Парогазовые установки. Отработанные газы ГТУ имеют высокую температуру, что и снижает КПД термодинамического цикла. Повысить экономичность установки можно, используя парогазовый цикл. ПГУ (рис.1.13) представляют собой технологическое соединение паротурбинной и газотурбинной установок, объединенных общим тепловым циклом.

Рис.1.13. Схема ПГУ.

Газовая турбина 1 обеспечивает работу генератора 2. Рабочее тело подается в турбину компрессором 3 через камеру сгорания 4. Отработавший в ГТУ газ с достаточно высокой температурой поступает в топку парового котла 5, вытесняя соответствующее количество сжигаемого топлива. Котел снабжает паром паровую турбину 6, обеспечивающую работу генератора 7. Из турбины конденсат возвращается в паровой котел. В такой схеме используется низконапорный котел с давлением газа в топке около 0,1 МПа, что лишь немного повышает КПД цикла в целом. Используя схемы ПГУ с высоконапорным котлом (давление до 1,0 МПа), можно получить КПД 42...43%. Такие системы предполагается широко использовать в ближайшие годы: до 2010 года должно быть введено 20…25 МВт мощности.

.6 Распределение электрических нагрузок между электрическими станциями различных типов

Электростанции связаны друг с другом и отдают электроэнергию в энергосистему региона или страны. Из этой системы получают электроэнергию разнообразные по составу, мощности, режиму работы и другим показателям потребители. Такое объединение в энергосистему позволяет: уменьшить суммарную установленную мощность электростанций; резервировать мощность за счет возможного маневрирования станций разного типа; уменьшить общий расход топлива; увеличить надёжность электроснабжения потребителей за счет дополнительных взаимных связей; повысить экономичность выработки электроэнергии путём оптимального распределения электрических нагрузок между станциями различных типов.

Рис.1.14. Суточный график нагрузки.

Суммарная электрическая нагрузка группы потребителей, подключенных к электроэнергетической системе, зависит от многих факторов: состав потребителей, их мощность, режим работы, используемая технология и оборудование, время суток и года, климатические условия и т.д. Примерный суточный график электрической нагрузки промышленного района представлен на рис.1.14. Для него характерны неизменная за сутки (базисная) нагрузка Р3; слабопеременная (полупиковая) нагрузка от Р3 до Р2; пиковая нагрузка Р1. В каждый момент времени в электроэнергетической системе должен существовать баланс вырабатываемой и потребляемой мощности (с учетом потерь). В противном случае режим работы энергосистемы в целом и отдельных ее элементов может стать аварийным вплоть до "развала", т.е. полного отключения друг от друга всех источников и потребителей электроэнергии. Для поддержания баланса мощности необходимо регулировать, изменять мощность, генерируемую на электростанциях. Разная мощность и инерционность энергоблоков обусловливают определенные закономерности их использования, как с технической, так и с экономической точки зрения. Базисную нагрузку несут наиболее мощные и инерционные электростанции - АЭС и крупные ТЭС, ГРЭС. Полупиковую нагрузку покрывают маневренные агрегаты ГЭС, ГАЭС и ТЭЦ. Пиковую нагрузку обеспечивают гидрогенераторы, ГТУ, ПГУ.

Конкретный состав электростанций в регионе может частично менять рассмотренный вариант распределения нагрузок, но общие принципы остаются неизменными.

.7 Использование альтернативных источников энергии

Рост народонаселения, промышленное и социальное развитие общества требуют значительного увеличения производства энергии. При этом к середине двадцать первого века станет вполне реальной острая нехватка органических энергоносителей, которые дают сегодня около 80% всей востребованной энергии. Стоимость добычи и транспортировки топлива постоянно растет, и процесс этот будет продолжаться, т.к. новые месторождения зачастую находятся в удалённых, труднодоступных районах, на значительной глубине залегания. Удорожание топлива связано и с тем, что нефть, газ, уголь являются важным сырьем для многих, отраслей промышленности, и утверждение “топить нефтью всё равно, что топить ассигнациями” не теряет своей актуальности.

Все более приходится считаться с влиянием энергетики на окружающую среду и необходимостью существенно уменьшить это влияние.

Поэтому проводятся работы по поиску новых, альтернативных видов источников энергии, в том числе возобновляемых и экологически чистых. Некоторые из этих разработок рассмотрены ниже.

Магнитогидродинамические (МГД) установки. Принцип работы этих установок позволяет непосредственно преобразовывать тепловую энергию в электрическую (рис.1.15). Между металлическими пластинами 1, расположенными в сильном магнитном поле, пропускается струя 2 ионизированного газа. В соответствии с законом электромагнитной индукции наводится ЭДС, вызывающая протекание электрического тока между электродами внутри канала генератора и во внешней цепи. Отсутствие в МГД-генераторе движущихся частей позволяет достичь температуры рабочего тела 2550…2600 0С на входе и обеспечить КПД термического цикла 70...75%.ГД-yстановки могут работать по различиям схемам. Один из вариантов - с ядерным реактором по замкнутому циклу (рис.1.15.б.). Рабочее тело (аргон или гелий с добавлением цезия) нагревается в ядерном реакторе или в высокотемпературном теплообменнике 3 и поступает в МГД-канал 4, где тепловая энергия движущейся плазмы превращается в электрическую. Отработавшие в МГД-канале газы, имеющие температуру около 1500 0С, поступают в парогенератор 5, который обеспечивает работу паротурбинной установки 6. МГД-цикл замыкается через компрессор 7, который возвращает газ в реактор или в теплообменник 3.

Рис.1.15. МГД- установка.

а - принцип работы МГД- генератора; б - МГД- установка с ядерным реактором.

Мощность опытно-промышленной МГД-установки составляет 25 МВт. В стадии технического освоения находится установка мощностью 500 МВт. В этом процессе есть ряд трудностей, сдерживающих темпы внедрения МГД-генераторов: создание магнитных полей с высокой индукцией; достижение высокой проводимости плазмы при температурах до 2400…2500 0С; создание термо-жаростойких материалов; получение переменного тока, который приходится инвертировать из постоянного, вырабатываемого МГД-установкой. Тем не менее, разработка и внедрение МГД-генераторов имеет достаточно хорошие перспективы.

Термоядерные установки. Создание промышленных установок такого типа способно практически полностью решить проблему получения необходимого количества энергии. Запас изотопов дейтерия и трития, исходного топлива для термоядерных реакторов, на Земле практически неограничен. В процессе термоядерной реакции выделяется колоссальная энергия. Это происходит на Солнце, а также при взрыве водородной бомбы. Чтобы управлять таким процессом, следует обеспечить ряд условий: плотность топлива не менее 1015 ядер в 1 см3; температура 100…500·106 градусов. Данное состояние топлива должно удерживаться, доли секунды.

Работы по созданию термоядерного реактора интенсивно проводились в СССР, США, Японии. Были получены определённые положительные результаты, например, установка "ТОКОМАК" в институте атомной энергии им. И.В.Курчатова. Однако технические и научные проблемы пока не позволили создать реальную промышленную термоядерную установку.

Солнечные электростанции. Земля получает ежегодно от Солнца 1017 Вт энергии, что в 20000 раз больше современного уровня потребления. Естественным является преобразование солнечной энергии в тепловую. Такие установки используются человеком издревле. Известен и достаточно простой способ преобразования солнечной энергии в электрическую - с помощью фотоэлементов. Поэтому работы по созданию солнечных электростанций (СЭлС) проводятся во многих странах. Особое значение при этом имеет экологическая чистота и возобновляемость такого энергоресурса. В результате за последние 50 лет сооружены десятки СЭлС в США, Австралии, Италии, Океании и других, климатически пригодных регионах. В СССР была построена Крымская СЭС мощностью 5 МВт, проектировалась станция в Средней Азии общей мощностью 200 МВт.

Однако существуют значительные трудности по созданию и использованию СЭлС, которые не позволяют пока солнечным электрическим станциям в полном объеме конкурировать с ТЭС и ГЭС. Это непостоянство солнечного излучения по времени суток, года и в зависимости от погодных условий; низкая плотность излучения у поверхности Земли; недостаточные технические характеристики существующих фотоэлементов и сложность их утилизации. КПД установок СЭлС составляет в настоящее время около I5%, а получение значительных мощностей связано с размещением оборудования на больших территориях в десятки квадратных километров и соответствующим расходом материалов. Тем не менее, работы по совершенствованию СЭлС продолжается.

Геотермальные станции (ГеоТЭС). Такие станции в качестве источника энергии используют тепло земных недр. Основные типы ГеоТЭС работают на горячей воде под давлением, на воде с паром, на сухом паре или газе (петротермальная энергия).

В среднем на каждые 30...40 м в глубь Земли температура возрастает на 1 0С и на глубине 10…15 километров она достигает 1000- 1200 0С. В некоторых же частях планеты температура достаточно высока в непосредственной близости от поверхности. В этих местах бьют мощные горячие подземные воды, пар, газ. Здесь могут быть размещены ГеоТЭС. Например, в долине Гейзеров в США общая мощность ГеоТЭС составляет 900 МВт, ГеоТЭС Ларделло в Италии мощностью 420 МВт, станция Вайракет в Новой Зеландии - 290 МВт. Работают достаточно мощные ГеоТЭС в Мексике, Японии, Исландии и в других странах. Российская ГеоТЭС на Камчатке имеет мощность 5 МВт.

Экологическая чистота, возобновляемость тепловой энергии Земли, достаточная простота конструкции являются несомненными достоинствами ГеоТЭС.

Недостатки геотермальных станций - жесткая привязка к месту выхода тепла на поверхность Земли и ограниченные параметры рабочего тела по давлению и температуре.

Приливные электростанции (ПЭС). Современные ПЭС используют фазу прилива и отлива, их агрегаты (турбины) обратимы и работают при движении воды из моря в залив и наоборот (рис.1.16). Такие установки способны работать в турбинном и насосном режиме.

ПЭС работают в России (Кислогубская, 400 кВт), Японии, Франции и других странах. Наиболее мощная ПЭС расположена в устье реки Ранс во Франции - 240 МВт.

Рис.1.16. Схема однобассейновой ПЭС

а - вид сверху; б - разрез

ВГП - высший горизонт прилива; ВГО - высший горизонт отлива

Приливная энергия экологически чиста, возобновляема, неизменна в годовом и многолетнем периодах, однако, значительно меняется в течение лунного месяца и может быть использована только в конкретных географических точках на побережьях морей и океанов при наличии необходимого рельефа.

Электростанции, использующие морскую энергию. Энергия волн, течений, градиентов температур и солености морей и океанов может быть преобразована в электрическую. Спроектированы и испытаны несколько типов преобразовательных установок. Например, турбина "Кориолис" мощностью 80 МВт предназначена для станций, использующих океанические течения.

Ветровые электростанции (ВЭС). Человек всегда использовал энергию ветра. Преобразование этой энергии в электрическую принципиально весьма просто. В СССР уже в 20-е годы была сооружена Курская ВЭС мощностью 8 кВт. Крупнейшая в мире установка мощностью 1050 кВт в одном агрегате работала в США с 1941 г.

Однако при определённых достоинствах (экологическая чистота, возобновляемость, простота и дешевизна использования), энергия ветра имеет и существенные недостатки, ограничивающие строительство ВЭС. Это большая неравномерность плотности ветровой энергии, зависимость от географических, климатических, метеорологических факторов и др. Поэтому в настоящее время экономически оправданными являются ВЭС ограниченной мощности локального использования.

.8 Перспективы динамики развития электрических станций

Динамика развития мировой и отечественной энергетики указывает на то, что в ближайшее время примерно сохранится существующий баланс между ТЭС, АЭС и ГЭС. Приоритет при этом будет отдан газоугольной стратегии, а использование мазута на ТЭС будет снижаться. Мировые цены на энергоносители, подверженные влиянию многочисленных факторов, способны в различной степени и на различных временньíх интервалах скорректировать указанную стратегию.

Дальнейшее развитие получат ПГУ и ГТУ. Из сравнительно новых направлений приоритетными являются МГД-установки.

Будет развиваться нетрадиционная энергетика (солнечная, приливная, геотермальная), использующая экологически чистые возобновляемые природные ресурсы. Продолжатся научно-исследовательские и опытно-конструкторские работы по созданию и освоению термоядерных установок, термоэлектрических, радиоизотопных, термоэмиссионных, электрохимических генераторов и других агрегатов. Отдельное и очень важное направления работ - энергосбережение всех видов ТЭР, тепловой и электрической энергии.

2. Передача электрической и тепловой энергии

Произведенная на электрических станциях энергия должна быть передана потребителям с минимальными потерями, часто на значительные расстояния.

.1 Передача электрической энергии

электрический тепловой энергия

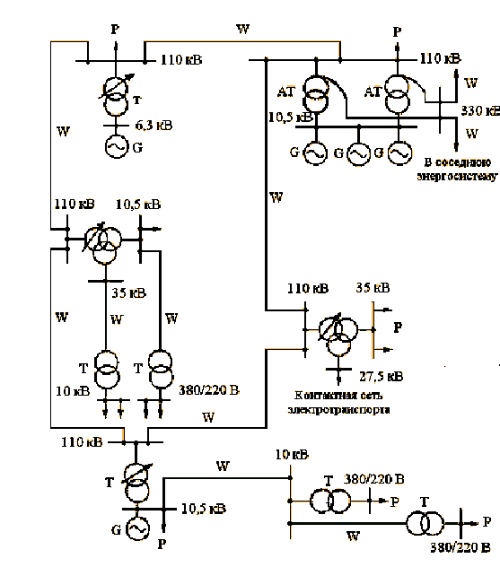
Общие положения. Основным звеном системы передачи электроэнергии является ЛЭП, а также элементы РУ электрических станций и подстанций. Производство, распределение и потребление электроэнергии осуществляется при разном напряжении. Шкала номинальных напряжений переменного тока определена ГОСТом: 0,22-0,38-0,66-6,0-10-21-35-110-150-220-330-500-750-1150 кВ. Бытовые и промышленные потребители в целях электробезопасности работают при напряжении 220-380 В. Выработка электроэнергии генераторами на станциях осуществляется на напряжении 6-10-21 кВ, что продиктовано технико-экономическими соображениям. Передача электроэнергии на большие расстояния происходит при напряжениях 35...1150 кВ. Таким образом, при передаче и распределении электрической энергии необходимо изменять (трансформировать) величину напряжения. Эту функцию выполняют силовые трансформаторы - повышающие и понижающие.

Конструктивно трансформатор содержит первичную обмотку, к которой подводится электрическая энергия, и вторичную обмотку, к которой подключается нагрузка (рис.2.1). Обмотки имеют разное число витков w1 и w2 и размещаются на магнитопроводе, собранном из листов электротехнической стали. Принцип работы трансформатора основан на том, что переменный электрический ток I1, протекающий в первичной обмотке, вызывает в магнитопроводе переменный магнитный поток Ф, который наводит во вторичной обмотке переменную ЭДС. В соответствии с законом электромагнитной индукции мгновенное значение этой ЭДС

.

При замкнутой вторичной цепи в ней протекает ток I2, величина которого определяется значением Е2 (U2 ) и сопротивлением нагрузки zНГ.

Для трансформатора, работающего без перегрузки, справедливы соотношения:

Е2 / Е1 ≈ U2 / U1 ≈ I1 / I2 = w2 / w1 .

Рис.2.1. Силовой трансформатор

а - схема устройства трансформатора; б - конструкция трансформатора

- магнитопровод, 2 - обмотки, 3 - бак, 4 - крышка бака, 5 - основание бака, 6 - трансформаторное масло, 7 - высоковольтный проходной изолятор, 8 - низковольтный проходной изолятор, 9 - расширитель, 10 - предохранительный клапан, 11 - радиаторы

Отношение числа витков первичной обмотки к числу витков вторичной обмотки называется коэффициентом трансформации:

 = w1 / w2 .

У повышающих трансформаторов U2 > U1 и коэффициент трансформации меньше единицы. Для понижающих трансформаторов U2 < U1 и n > 1.

По аналогичному принципу, но с определёнными конструктивными особенностями, выполняются автотрансформаторы, которые также используются при передаче электрической энергии для повышения и понижения напряжения.

Современные трансформаторы и автотрансформаторы разнообразны по конструкции: однофазные и трёхфазные; сухие, масляные и с негорючим заполнителем бака; трёх- и пяти-стержневые; с герметичным баком и с расширителем для масла и т.п. Конструкции трансформаторов, их характеристики, режимы работы подробно рассматриваются в специальных дисциплинах.

Промышленная система переменного тока является трёхфазной, трёх- или четырёхпровóдной. Нейтральная точка (нейтраль) источника питания и потребителя нагрузки может быть соединена с землей (заземленная нейтраль) или изолирована от земли (изолированная нейтраль), а отдельные фазы соединяются друг с другом по схеме "звезда" или "треугольник" (рис.2.2). При одинаковой (симметричной) нагрузке zA=zB=zC в соответствии с выражениями (1.8, 1.9) iA +iB +iC =0. Поэтому четвертый проводник, соединяющий нейтральные точки источника и нагрузки, не требуется. Он используется только в распределительных электрических сетях потребителей, работающих при напряжении 380/220 В. Назначение нулевого проводника - получение фазного напряжения 220 В и обеспечение безопасности работы обслуживающего персонала при наличии заземленной нейтрали. В электрических сетях некоторых типов, например, в бытовых электроустановках напряжением 380/220 В, выполняются два нулевых проводника - защитный и рабочий. Это значительно повышает безопасность пользователей. Требования к выполнению защитных и рабочих проводников изложены в [1] и рассматриваются в специальных дисциплинах.

Известны соотношения фазных и междуфазных (линейных) значений электрических величин для разных схем:

схема "звезда":  

схема “треугольник”:  

На рис.2.2.б приборы А1, V1, V2 регистрируют фазные величины, а А2, V3- линейные. На рис.2.2.в приборы А1, V1 регистрируют фазные величины, а А2, V2- линейные.

Режим нейтрали электрических сетей (рис.2.3.) определяется двумя факторами: безопасностью обслуживания и экономичностью. При изолированной нейтрали замыкание одного провода ЛЭП на землю в точке «К» не приводит к большому увеличению тока, т.к. отсутствует замкнутый электрический контур от начала фазной обмотки через точку замыкания к окончанию этой обмотки в точку N. Такие повреждения (на воздушных ЛЭП они составляют до 70%) не требуют немедленного отключения линии, что дает возможность отыскать замыкание в процессе эксплуатации, а затем устранить его. При этом не происходит отключения потребителя и перерыва в его электроснабжении. Такое же замыкание в сети с заземленной нейтралью приводит к резкому возрастанию тока, т.к. контур C-K-N оказывается замкнутым накоротко через землю. В этом случае специальные устройства релейной защиты и автоматики мгновенно отключают ЛЭП во избежание повреждения. Потребитель перестает получать по этой линии электроэнергию. Но при этом обеспечивается бóльшая, чем в предыдущем случае, безопасность работников. Действительно, в схеме рис.2.3.а при не отключенном замыкании в точке К возможно случайное касание человеком другого провода. Через тело человека начнет протекать значительный ток, величина которого определяется значением междуфазного напряжения ВС и электрическим сопротивлением тела человека. Поражение электрическим током чрезвычайно опасно. В схеме рис.2.3.б подобный режим невозможен, т.к. ЛЭП мгновенно отключается от источника.

Каждая из рассмотренных схем имеет свою область применения. Электрические сети напряжением 6-10-35 кВ работают с изолированной нейтралью, остальные - с заземленной. Заземление нейтрали в сетях напряжением до 1000 В выполняется в целях обеспечения электробезопасности, а в сетях 110 кВ и выше - по экономическим соображениям, связанным со стоимостью изоляции. Подробнее этот вопрос рассматривается в специальных дисциплинах.

Рис.2.2. Схемы передачи электроэнергии:

а - общая блок-схема; б - четырёхпровóдная система с заземленной нейтралью;

в - трёхпровóдная система с изолированной нейтралью.

- источник электроэнергии; 2 - потребитель; 3 - провода ЛЭП

Рис.2.3. Режимы нейтрали

а - изолированная нейтраль; б - заземленная нейтраль

Конструкция ЛЭП. Различают два основных типа ЛЭП по конструкции: воздушные и кабельные (КЛЭП). Подробно эти вопросы рассматриваются в специальных дисциплинах, поэтому ограничимся краткими сведениями.

Основные элементы конструкции воздушных ЛЭП представлены на рис.2.4. Это провода, опоры, изоляторы, арматура. Используются неизолированные, в основном многопроволочные провода марки А (алюминиевые) и АС (сталеалюминевые). Провода АС имеют стальной сердечник 1, несущий механическую нагрузку, поверх которого навит алюминиевый провод. Провода имеют стандартное сечение. Каждому сечению соответствует длительно допустимый ток, а также удельное активное и реактивное сопротивление. Площадь сечения провода ЛЭП напряжением выше 1000 В предварительно выбирается по формуле

, мм2 (2.1)

где jэ -экономическая плотность тока, справочная величина, А/мм2; Iл - сила тока, протекающего в ЛЭП, А.

Полученное значение F округляется до ближайшего стандартного, при этом для воздушных ЛЭП напряжением 110 кВ сечение принимается не менее 70 мм2, а для линий напряжением 220 кВ - не менее 240 мм2, что связано с необходимостью снижения активных потерь мощности при коронном разряде.

В электрических сетях напряжением до 1000 В при реконструкции и новом строительстве применяются самонесущие изолированные провода - СИП. Такие провода значительно повышают надёжность ЛЭП и упрощают её конструкцию.

Опоры воздушных ЛЭП предназначены для крепления на них проводов при помощи изоляторов и арматуры (зажимы, скобы, штыри, крюки и др.). Опоры различают по материалу (деревянные, стальные, железобетонные), по назначению (промежуточные, анкерные, поворотные, угловые, концевые, ответвительные, переходные, специальные и др.), по конструкции (одностоечные, П-образные, Т-образные, А-образные, Y-образные, др.). Пример одностоечной деревянной промежуточной опоры приведен на рис.2.4.б. В грунте крепится пасынок 2 (деревянный или железобетонный), к которому бандажом 3 (стальная лента или проволока) жестко крепится непосредственно стойка 4. В верхней части стойки деревянными или металлическими отколами 5 крепится траверза 6, на которой размещаются изоляторы, необходимые для поддержания проводов ЛЭП. Изоляторы выполняются из фарфора, полимеров или закаленного стекла и разделяются на штыревые Ш (на напряжение до 35 кВ) и подвесные П (на напряжение выше 35 кВ). ЛЭП характеризуется рядом геометрических параметров: длина пролёта, стрела провеса, габарит линии и т.д.

Кабельные ЛЭП имеют проводники 7, изолированные друг от друга и от внешней среды (рис.2.4.д,е), которые выполняются медными или алюминиевыми проволоками. Применяют и однопрóволочную (монолитную) конструкцию проводников КЛЭП. В маркировке кабелей с алюминиевыми проводниками (жилами) на первом месте указывается буква А. На проводник накладывается изоляция 8: резина Р, винилхлорид В, полиэтилен П, негорючая резина Н, бумага с масляной пропиткой. Многожильные кабели имеют кроме изоляции отдельных жил еще и общую (поясную) изоляцию 9 из тех же материалов. Изоляция защищается от внешних воздействий оболочкой 10: резина Р, винилхлорид В, полиэтилен П, алюминий А, свинец С. Бронированные кабели имеют наружную защиту в виде стальной брони 11. В настоящее время всё более широко применяются кабели с изоляцией из сшитого полиэтилена, которые обладают улучшенными технико-экономическими характеристиками.

Например, кабель ААБ - 3x120 имеет три проводящих алюминиевых жилы сечением по 120 мм2 каждая, бумажную изоляцию, алюминиевую оболочку и стальную броню, покрытую пряжей.

г

д е

Рис.2.4. Элементы конструкции ЛЭП:

а - провода; б - опора; в - изолятор штыревой; г - изолятор подвесной;

д - кабель одножильный; е - кабель трехжильный

Воздушные и кабельные ЛЭП имеют свои достоинства и недостатки. В соответствии с этим определяется область их применения. Воздушные ЛЭП напряжением 0,38...1150 кВ используются для открытой прокладки при соответствующем рельефе местности и допустимых условиях городской застройки. КЛЭП напряжением 0,38…110 кВ применяются для скрытой прокладки в городах, на промышленных объектах, внутри помещений и т.д.

Выбор напряжения ЛЭП. Этот вопрос решается на основании технико-экономических расчетов, основу которых составляет сравнение стоимости ЛЭП разных классов напряжения (затраты на сооружение, обслуживание, эксплуатацию, ремонт) и стоимости потерь мощности, неизбежных при передаче электроэнергии. Известно, что эти потери равны

, кВт, (2.2)

где IЛ - сила тока в ЛЭП, А; rЛ -активное сопротивление проводов ЛЭП, Ом; r0 -удельное активное сопротивление, Ом/км; l -длина ЛЭП, км.

При известной величине полной мощности нагрузки SНГ и выбираемом напряжении ЛЭП UЛ потери мощности в линии обратно пропорциональны квадрату напряжения:

 ;  (2.3)

С учётом этого и производится выбор напряжения ЛЭП при заданных значениях передаваемой мощности и длине линии.

Пример расчета. Для схемы рис.2.3.а определить предельное расстояние lП передачи электроэнергии от источника потребителю, если максимально допустимая потеря активной мощности в ЛЭП численно равна 10% от SН2 =2,6 МВА; UЛ = 10 кВ; jэ =1,4 А/мм2 .

Решение. В соответствии с (2.1) и (2.3)

 А

 мм2

Принимаемое сечение F=95 мм2, тогда r0 =0,33 Ом/км [6].

Используя (2.2)

,

откуда lП =12,825 км.

.2 Передача тепловой энергии

Выработанная на ТЭС или в котельных тепловая энергия передается потребителям по тепловым сетям, основой которых являются трубопроводы. Классификация теплосетей приведена на рис.2.5. Для теплофикации (обогрева зданий и помещений) преимущественное распространение имеют системы горячего водоснабжения. Вода имеет бóльшую, чем пар аккумулирующую способность, чем обеспечивается бóльшая дальность теплоснабжения. Вода безопаснее пара в аварийных ситуациях. Водяные системы позволяют организовать централизованное регулирование отпуска тепла. Системы парового теплоснабжения имеют более высокие параметры теплоносителя, поэтому зачастую они предпочтительней водяных систем для промышленных потребителей.

Рис.2.5. Классификация теплосетей

По количеству труб наиболее просты и дёшевы однотрубные системы. Но они пригодны лишь там, где теплоноситель полностью используется потребителем. Наиболее распространены двухтрубные системы с подающим и обратным трубопроводами.

В многотрубных сетях выполняется несколько подающих труб с разными потенциалами теплоносителя и общая обратная труба.

Наземная прокладка трубопроводов проще и дешевле, но возможна только при наличии свободной территории. Обычно по трассе прокладки есть подземные участки, например, в черте города, и наземные, например, на территории ТЭЦ и промышленного потребителя.

Радиальные схемы прокладки теплосетей просты и дешевы, но уступают кольцевым по надёжности и маневренности.

Участки прокладки теплосетей разделяют следующим образом: магистральные - от источника тепла, например, от ТЭЦ до ввода в микрорайоны, жилые кварталы или на предприятия; распределительные - от магистральных сетей до отдельных зданий или цехов; ответвительные - от распределительных сетей до узлов присоединения к ним систем теплоиспользования отдельных потребителей. Примеры прокладки трубопроводов приведены на рис.2.6.

       

Рис.2.6. Прокладка трубопроводов:

а - бесканальная; б - в непроходном канале; в - наземная прокладка на мачтах.

При прокладке в земле наиболее прост бесканальный способ. Таким способом выполняется примерно 6% теплосетей. В грунте подготавливают траншею 1, на дне которой устраивают бетонную подготовку 2, например, плиту. На песчаную подсыпку 3 опускается стальная труба 4. Для антикоррозийной и тепловой изоляции труба покрывается эпоксидной смолой, стеклотканью, битумом, пропитанной специальным составом лентой, затем минеральным покрытием, мастикой, волокнистыми материалами. Сверху труба засыпается грунтом 5. Оболочки, выполненные из традиционных материалов (изола, бризола, гидроизола, рубероида и др.) не являются абсолютно герметичным, в них может попадать влага. Теплопотери при увлажнении теплоизоляции значительно возрастают. Поэтому срок их службы невелик: асбестоцемент 4…5 лет; рубероид, изол 2…3 года; стеклорубероид 3…4года. Применение новых изолирующих материалов позволяет решить эту проблему: например, применение пенополиуретановой теплоизоляции в гидроизолирующей оболочке снижает тепловые потери в несколько раз. Долговечность теплоизоляции увеличивается до 30 лет.

Прокладка в железобетонном непроходном канале производится примерно в 80% случаев. Она позволяет улучшить эксплуатационные качества теплосетей за счет вентиляции (естественной или искусственной через специальные колодцы на трассе), отвода влаги, установки контролирующих и регистрирующих аппаратов.

В проходных каналах, по габаритам позволяющих находиться в них человеку, обслуживание и ремонт теплосетей производится без раскопки грунта и без обязательного отключения потребителей. Такая прокладка используется для особо ответственных потребителей тепла (около 4% сетей).

Примерно 10% теплосетей прокладывается наземным способом, например, на мачтах (рис.2.6.в). Отсутствие железобетонных блоков, предохраняющих трубопровод при подземной прокладке от воздействия грунтовых вод и химических активных элементов, компенсируется при этом за счет дополнительного уплотненного покрытия труб, проложенных на открытом воздухе.

Тепловые сети в целом, особенно магистральные, являются сложным и ответственным сооружением. Кроме непосредственно труб они включают в себя колодцы для приборов, арматуры и обслуживания; сальниковые и П-образные компенсаторы температурной и иной деформации; скользящие опоры; дренажные системы и многое другое.

3. Потребление электрической и тепловой энергии

.1 Потребление электрической энергии

Приёмник электрической энергии - это аппарат, агрегат, механизм, предназначенный для преобразования электроэнергии в другой вид энергии [1]. Электродвигатель преобразует электрическую энергию в механическую, электролампа - в световую, электропечь - в тепловую и т.д. Приёмник электроэнергии характеризуется номинальными параметрами: напряжение - Uном; сила тока - Iном; активная - Pном, реактивная - Qном и полная - Sном мощность; коэффициент мощности - cosφном; КПД - ηном. Работа электроприёмников при иных параметрах отрицательно сказывается на их характеристиках. Например, если напряжение в электрической сети на 10% выше номинального, то срок службы ламп накаливания сокращается в три раза. Поэтому электроприёмники предъявляют определенные требования к качеству электрической энергии. Эти требований отражены в [8] и выполняются, за счет специальных мероприятий.

Потребителем электроэнергии называется [1] электроприёмник или группа электроприёмников, объединенных технологическим процессом и размещенных на определенной территории. Потребителями электроэнергии являются промышленные предприятия, строительные площадки, административные и жилые комплексы и т.д. Потребители характеризуются рядом технико-экономических показателей и подробно изучаются в специальных дисциплинах. В соответствии с [1] потребители электроэнергии относятся к разным группам (категориям) по степени обеспечения надёжности их электроснабжения. К первой группе относятся потребители, перерыв в электроснабжении которых недопустим, т.к. связан с угрозой человеческим жизням, возможностью крупных аварий, нарушением обороноспособности страны и т.д. Электроснабжение таких потребителей производится от двух независимых источников энергии с автоматическим включением резерва. Отметим, что есть особые потребители, например, система защиты и управления на АЭС, которые для повышения надёжности снабжаются третьим автономным источником питания. Ко второй группе относятся потребители, перерыв в электроснабжении которых приводит к значительному экономическому ущербу. Такие потребители электроэнергии подключаются к двум независимым источникам питания и допускают перерыв в электроснабжении на время переключения с основного источника на резервный. К этой группе относится большинство промышленных объектов.

Все остальные потребители относятся к третьей категории, подключаются к одному источнику питания и допускают перерыв в электроснабжении на время ремонта или замены этого источника. К этой группе относятся, например, многие коммунальные потребители.

С учетом указанных требований к надёжности электроснабжения выполняются схемы подключения потребителей к источникам электроэнергии [7]. Пример такой схемы приведен на рис.3.1. По воздушной ЛЭП W1 электроэнергия подается от электростанции или из энергосистемы на главную понизительную подстанцию (ГПП) предприятия, где трансформатор Т1 понижает напряжение со 110 кВ до 10 кВ. По кабельным линиям 10 кВ W2…W5 к ГПП подключаются трансформаторы Т2, Т'З, Т4 цеховых подстанций (ТП). На цеховых ТП напряжение понижается до 380/220 В, что обеспечивает возможность подключения непосредственно электроприемников общего назначения. Эти приемники подключается либо к шинам низкого напряжения цеховой TП, например, двигатель М1, либо к магистральному или распределительному шинопроводу W6 (нагрузка S3), либо проводом или кабелем к распределительному пункту РП (нагрузка S4). Высоковольтные двигатели М2, например, компрессорных установок, подключаются на соответствующее напряжение через трансформатор Т5.

Выбор, расчет, проверка всех элементов системы электроснабжения рассматриваются в специальных дисциплинах.

Рис.3.1. Схема электроснабжения промышленного предприятия.

.2 Потребление тепловой энергии

Определения, аналогичные п.3.1, можно дать приемникам и потребителям тепловой энергии. Различие лишь в том, что большинство приемников тепловой энергии не преобразует ее в другие виды, а использует непосредственно.

Потребители тепловой энергии разделяются на теплофикационные (отопление, горячая вода) и технологические (установки сушки, охлаждения, выпарки, ректификации и др.).

Технологические потребители тепловой энергии изучаются специалистами-теплотехниками и в данном курсе не рассматриваются.

Теплофикационные приемники широко известны: отопительные радиаторы, батареи - чугунные и стальные, ребристые трубы, конвекторы.

Системы и схемы распределения и подачи тепла многообразны: естественные и искусственные циркуляционные; с зависимым и независимым присоединением; с верхним и нижним водоразбором; однотрубные и двухтрубные и т.д. Наиболее распространенные из них приведены на рис.3.2. Система отопления с зависимым присоединением используется в зданиях высотой до 12 этажей. Вода из сети от теплового пункта 1 по подающему трубопроводу Т1 поступает непосредственно потребителю. Тепловой пункт - важное звено в системе централизованного теплоснабжения, связывающее источник тепла (ТЭЦ, котельную) через тепловую сеть с потребителями и представляющее собой узел присоединения потребителей тепловой энергии к тепловой сети. Основное назначение теплового пункта - подготовка теплоносителя определенной температура и давления, регулирование этих параметров, поддержание постоянного расхода, учет потребления тепловой энергии. Из трубопровода Т1 теплоноситель поступает в подающую магистраль 2 здания через элеватор 3, который является смесителем поступающей и уходящей воды для обеспечения оптимальной температуры. Из магистрали 2 теплоноситель подается в отопительные приборы 4. Кран 5 служит для удаления ("стравливания") воздуха из системы. Отработавший теплоноситель через обратную магистраль 6 возвращается в обратный теплопровод Т2. Эта схема проста, экономична, но в ней возможно прекращение циркуляции и замерзание воды при аварийном отключении трубопроводов Т1 или Т2.

В системе отопления с независимым присоединением сетевой теплоноситель в теплообменнике 7 нагревает вторичный теплоноситель, который насосом 8 подается в отопительные приборы. Система имеет расширительный бак 9 для компенсации температурных изменений объема вторичного теплоносителя. Гидросистема здания изолирована от теплосетей, это сложнее, дороже, чем при зависимом присоединении, но для зданий выше 12 этажей в настоящее время является лучшим вариантом.

Система горячего водоснабжении с независимым присоединением имеет водонагреватель 10, в котором холодная вода водопровода 11 нагревается до необходимой температуры, а затем подается в краны 12.

Рис.3.2. Схемы распределения и подачи тепла

а, б- системы отопления с зависимым и независимым присоединением

в- система горячего водоснабжения с независимым присоединением

Системы теплофикации не исчерпываются рассмотренными выше схемами. Существуют системы воздушного отопления, включая тепловые завесы, системы панельно-лучистого отопления и другие.

Расчет теплофикационной системы может быть проведен следующим образом.

Пример расчета. Определить число двухрядных стальных радиаторов типа 2РСВ1-4, необходимых для отопления жилого помещения при следующих условиях: площадь помещения Fп =96 м2, помещение угловое на третьем этаже девятиэтажного дома 1990 года постройки, расчетная температура наружного воздуха минус 25°С.

Решение. Основные расчётные формулы:

 (3.1)

 (3.2)

, м2 (3.3)

, Вт (3.4)

 , Вт/м2 (3.5)

где Nр -число секций чугунных по (3.1) или стальных по (3.2) радиаторов или конвекторов с кожухом; Fр, Fп, f1 -площадь поверхности соответственно отопительного прибора, отапливаемого помещения и поверхности нагрева одной секции, м2; q0 -удельная плотность отапливающего теплового потока, Вт/м2 [3,4]; qпр, qном -расчетная и номинальная плотность теплового потока отопительного прибора, Вт/м2 [3,4]; Gпр -расход теплоносителя через прибор отопления, кг/с [3,4]; Δtср - температурный напор, равный разности полусуммы температур теплоносителя на входе и выходе отопительного прибора и температуры воздуха помещения, 0С; Qп, Qт - теплопотребность помещения и теплоотдача стояков и подводок, к которым подключен отопительный прибор, Вт; α, β, n, p, c- вспомогательные коэффициенты, учитывающие условия работы отопительных приборов [3,4].

Для стальных радиаторов, рассматриваемых в примере, число секций определяется по (3.2). Предварительно по исходным данным, вспомогательным таблицам [3,4] и выражениям (3.3…3.5) находим: Fп=96 м2; q0 =81 Вт/м2; α=1,5; qном=712 Вт/м2; Δtср =35 0С - соответствует среднему значению данной величины для водяных систем отопления; n=0,25; Gпр=0,2 кг/с; p=0,04; c=0,97; β1 =1,07; β2 =1,1; f1 =2,88 м2; Qт =0 - т.к. предполагается, что Qт <<Qп;

, Вт;

, Вт;

, м2 ;

.

Таким образом, принимается 19 секций типа 2РСВ1-4, которые устанавливаются у оконных проемов.

4. Энергетика и биосфера

Энергетика оказывает влияние на биосферу. Добыча топлива приводит к эрозии почвы, изменяет экологию региона. Транспортировка всех видов топлива способна нанести вред природе. Об этом свидетельствуют тяжелые аварии на нефте-газопроводах и хранилищах. Угольная и торфяная пыль покрывает широкие придорожные пространства на пути перевозки твердого топлива. Работа ТЭС приводит к загрязнению воздушного и водного бассейна выбросами двуокиси серы, окиси азота и углерода, радиоактивных элементов, золы. Сброс высокопотенциальной воды, используемой на ТЭС и АЭС для охлаждения конденсата, меняет температурный режим водоемов и биологический баланс в них. Потенциальной возможностью радиоактивного заражения больших территорий опасны АЭС. Кроме того, не решена полностью проблема захоронения отработавшего на АЭС топлива, сохраняющего высокую радиоактивность. Вопрос консервации АЭС после окончания срока их работы остается актуальным. Отрицательное влияние на биосферу оказывают ГЭС. Под их строительство отчуждаются большие территории, затопляются луга, леса, плодородные земли. Переселяются массы людей, что изменяет социальную структуру региона. Искусственные водохранилища резко меняют экосистему огромных районов: в медленно текущей воде изменяется растительный и животный мир, вода заиливается, загрязняется, размножаются бактерии и водоросли, болеет и гибнет рыба и животные. Кроме того, меняется уровень грунтовых вод на прилегающих территориях, происходит их подтопление. Перечень проблем, связанных со строительством ГЭС, можно продолжить.

Передача электроэнергии сопровождается отчуждением территории под строительство ЛЭП, вырубкой просек в лесах. Электромагнитное поле вокруг ЛЭП сверхвысокого напряжения оказывает отрицательное воздействие на живые организмы.

Имеет свои отрицательные экологические последствия нерациональное потребление тепловой и электрической энергии.

Это лишь краткий перечень негативного влияния нерационального использования энергоресурсов. Для предотвращения катастрофических для Земли последствий необходимо широко использовать экологически чистые, возобновляемые источники энергии; проводить глубокую утилизацию всех отходов; использовать более чистые с экологической точки зрения виды топлива; осуществлять всемерную экономию ТЭР; комплексно решать технические, научные, экологические проблемы [9].

5. Энергосбережение

По мнению многих ведущих учёных, большинства независимых исследовательских институтов и аналитических центров постоянное безальтернативное наращивание потребления ТЭР - тупиковый путь развития энергетики. Возрастающие потребности человеческого общества в различных видах энергоносителей в значительной степени должны удовлетворяться за счёт резкого повышения эффективность использования ТЭР. Возможности и пути такого решения проблемы рассмотрены на примере электрической энергии.

Эффективность использования электрической энергии в России далека от оптимальной. Например, по оценкам экспертов расход электроэнергии на один доллар валового продукта на мировом рынке в начале текущего века составлял 0,46 кВт·ч, а в России - 4,7 кВт·ч. Существуют значительные резервы снижения энергоёмкости, в том числе за счёт разработки и внедрения энергосберегающих мероприятий [9,10,11].

Общая структура типовых энергосберегающих мероприятий при использовании электрической энергии представлена на рис.5.1.

Рис.5.1. Общая структура типовых энергосберегающих мероприятий

Технические мероприятия. Эти мепроприятия (рис.5.2) включают в себя, прежде всего, поддержание оптимальеных параметров режимов электропотребления и, в частности, оптимизацию электроэнергетических характеристик оборудования.

Рис.5.2. Типовые технические энергосберегающие

Оптимизация загрузки электрооборудования.

Наилучшие технико-экономические характеристики любого электрооборудования достигаются при его оптимальной загрузке. Например, у асинхронного двигателя, работающего с различными коэффициентами загрузки по активной мощности - Кз, существенно различаются его основные технические параметры (табл.5.1): вращающий момент (М), КПД (η), коэффициент мощности (cos φ), число оборотов ротора (n).

Как известно, снижение коэффициента мощности и КПД приводит к заметному увеличению потерь мощности и энергии, а изменение вращающего момента и числа оборотов ротора относительно номинальных значений приводит к ухудшению качества технологического процесса вплоть до его полного нарушения.

Таблица 5.1 - Рабочие характеристики АД по отношению к номинальным

Кз

η

cos φ

М

n

0,25

0,72

0,61

0,25

1,1

0,5

0,97

0,78

0,5

1,05

0,75

1,0

1,0

0,75

1,02

1,25

0,99

0,97

1,25

0,95


Номинальная активная мощность, потребляемая асинхронным двигателем из электрической сети, равна

РАД НОМ = ·IНОМ·UНОМ· cos φНОМ = РАД МЕХ / ηНОМ .

При одной и той же полезной (механической) мощности РАД МЕХ , развиваемой на валу, потребление электрической мощности из сети РАД-СЕТ тем меньше, чем больше КПД двигателя. Аналогичный результат достигается при оптимизации коэффициента мощности. С уменьшением cosφ при неизменной величине РАД возрастает потребление двигателем реактивной мощности, увеличивается полный ток IАД и, следовательно, возрастают потери мощности в самом двигателе и в электрической сети, имеющей сопротивление RW :

ΔPСЕТ = 3·I2 АД · RW = [РАД / (UНОМ· cos φНОМ · ηНОМ )]2 · RW .

Аналогичные результаты свойственны практически всем видам электрооборудования. Поэтому и на стадии проектирования, и на стадии эксплуатации электроустановок следует уделять внимание вопросам их оптимальной загрузки, что достигается, как правило, в режиме, близком к номинальной мощности.

Оптимизация режимов по напряжению.

Нормы качества напряжения определяются ГОСТ 13109-97 [8]. Отклонение показателей качества напряжения от нормированных приводит к целему ряду отрицательных последствий и, в том числе, к увеличению потерь электроэнергии.

Например, у потребителей с линейной вольт-амперной характеристикой повышение напряжения приводит к увеличению потребляемой мощности и перерасходу электрической энергии. Лампа накаливания с номинальными параметрами UНОМ = 220 В и РНОМ = 100 Вт при повышении напряжения на 10%, т.е. до 242 В, потребляет из электросети 121 Вт, что на 21% больше, чем в номинальном режиме.

У асинхронных электродвигателей при снижении напряжения уменьшается КПД, возрастает ток статора и ротора, а при повышении напряжения уменьшается коэффициент мощности. Всё это приводит к дополнительному расходу электроэнергии.

При отклонении напряжения от номинального значения в той или иной степени возрастает потребление электроэнергии в электротермических, технологических и других установках.

К дополнительным потерям и перерасходу электроэнергии приводят несимметрия и несинусоидальность напряжения.

В значительной степени качество напряжения может поддерживаться за счёт технических мероприятий, проводимых у потребителя.

Широко применяется регулирование величины напряжения на зажимах электроприёмников с помощью изменения коэффициента трансформации питающих трансформаторов. Особенно эффективно автоматическое регулирование - переключение под нагрузкой (РПН) с одной отпайки обмотки трансформатора на другую.

При наличии в электросетях потребителя источников реактивной мощности, например, батарей конденсаторов, изменение величины QКУ также обеспечивает регулирование напряжения.

В этом случае (рис.5.3)

= U1 - ΔU = U1 - [PНГ· RW + (QНГ - QКУ )·ХW ] / UНОМ

Рис.5.3. Схема электрической сети

Изменяя величину QКУ можно поддерживать необходимое напряжение у нагрузки U2 .

Поскольку режимы по напряжению и реактивной мощности взаимосвязаны, оптимальное решение даёт комплексный подход к их регулированию.

Регулируемый пуск электродвигателей

Значительными потерями электроэнергии сопровождается «прямой» пуск асинхронных электродвигателей. Это обусловлено большими пусковыми токами, которые в 5-7 раз превосходят номинальный ток. Потери ΔWПУСК возрастают, если процесс пуска затягивается.

Для снижения этих потерь целесообразно применять технические решения, позволяющие заметно снизить пусковые токи (IПУСК) и сократить время пуска (tПУСК). Эти решения хорошо известны:

·        пуск АД с короткозамкным ротором посредством переключения обмоток статора со «звезды» (Υ) на «треугольник» (Δ) позволяет в три раза снизить пусковой ток;

·        пуск при пониженном напряжении, например, с помощью автотрансформатора или регулируемого тиристорного преобразователя;

·        применение специальной конструкции короткозамкнутого ротора (двухклеточный, глубокопазный), позволяющей снизить пусковой ток АД за счёт увеличения пускового сопротивления обмоток статора (RДВ );

·        применение асинхронных двигателей с фазным ротором;

·        уменьшение тормозного момента на валу двигателя при пуске (пуск без механической нагрузки, пуск при минимальных коэффициентах передачи редуктора приводного механизма).

В настоящее время существует большое количество устройств управления пуском и работой приводного электродвигателя. Они различаются по принципу действия, конструкции, объёму выполняемых функций и имеют различные области применения. Особенно эффективны системы автоматизированного управления электроприводом.

Например, тиристорные блоки управления обеспечивают оптитмизацию двух параметров: «мягкий» пуск и энергосбережение (рис.5.4).

«Мягкий» пуск происходит при пусковом токе лишь незначительно превышающем номинальный ток двигателя. Пусковые потери определяются выражением

ΔWПУСК = ∫ (3·I2ПУСК·RДВ·tПУСК ) dt,

поэтому с уменьшением пускового тока уменьшаются и потери.

Экономия электроэнергии при «мягком» пуске может составить до 40%, а в ряде случае и больше.

Кроме того, в режиме энергосбережения такие пускатели и преобразователи обеспечивают уменьшенное потребление электрической энергии за счёт плавного регулирования мощности двигателя в соответствии с изменяющейся нагрузкой, например в насосных и лифтовых установках.

Рис. 5.4. Варианты пуска асинхронного двигателя с короткозамкнутым ротором

Ограничение режима холостого хода и замена систематически недогруженного оборудования.

Большинство электроустановок в режиме холостого хода потребляют активную и реактивную электроэнергию, не выполняя полезной работы. Кроме того дополнительно возникают потери энергии в электрической сети. Это обусловливает необоснованный перерасход электроэнергии.

Например, двигатель АИР-160М2 мощностью 11,9 кВт, установленный на токарном станке, потребляет в режиме холостого хода активную мощность примерно 0,565 кВт, что соответствует току 9,7 А. При сопротивлении электрической сети до рассматриваемого двигателя 0,5 Ом потери активной мощности в ней составят 0,14 кВт, а общие потери равны 0,705 кВт. Кроме того ток холостого хода этого электродвигателя является дополнительной непродуктивной нагрузкой для силового трансформатора цеховой подстанции, что увеличивает нагрузочные потери этого трансформатора, зависящие от коэффициента загрузки. Потери активной электронергии во всех элементах (двигатель, силовой трансформатор, электросеть) будут возрастать пропорционально продолжительности режима холостого хода.

Поэтому во многих случаях целесообразно устанавливать ограничители холостого хода электрооборудования. Такие ограничители, различные по принципу действия, элементной базе, функциональным возможностям, обеспечивают отключение электроустановки, работающей в режиме холостого хода, по заданному алгоритму - в наиболее простом случае по истечение установленного времени.

Аналогичные меры могут быть эффективными для силовых и сварочных трансформаторов, электротехнологического и другого оборудования.

Автоматизация работы электрооборудования.

Эффективность большинства из отмеченных выше мероприятий заметно возрастает при использовании автоматики. Расход электроэнергии снижают автоматические ограничители режима холостого хода, системы автоматизированного электропривода и управления электроосвещением, автоматические регуляторы напряжения и мощности компенсирующих устройств и т.д.

Например, при подключении электопотребителей через два параллельно работающих трансформатора мощностью SТ НОМ целесообразно отключать один из них, если мощность нагрузки SНГ меньше определённой величины и трансформаторы недостаточно загружены. В работе остаётся один трансформатор, это позволяет уменьшить потери электрической энергии. Отключение и включение трансформаторов может производиться автоматически.

Устройство начинает работать при снижении нагрузки в соответствии с выражением

SНГ ≤ SТ НОМ · ,

где ΔPТ ХХ , ΔPТ КЗ - соответственно потери холостого хода и короткого замыкания трансформатора.

Схема такой автоматики проста, содержит реле минимального и максимального тока, реле времени и промежуточные реле (рис.5.5). Через обмотки реле минимального тока КА1 и реле максимального тока КА2 протекает ток, пропорциональный сумме токов трансформаторов Т1 и Т2. В исходном состоянии контакты КА1 и КА2 разомкнуты. При определённом снижении нагрузки срабатывает КА1, его контакт замыкается, что приводит к срабатыванию промежуточного реле KL1, которое своим контактом KL1.2 запускает реле времи КТ, а контактом KL1.3 подготавливает цепь реле KL3. По истечении заданной выдержки времени замыкается контакт реле КТ, срабатывает реле KL3, которое обеспечивает отключение одного из трансформаторов. При возрастании электрической нагрузки сверх заданного значения срабатывает реле КА2 и через KL2, КТ и KL4 обеспечивает включение трансформатора в параллельную работу.

Такая автоматика может работать и при раздельном включении Т1 и Т2 на свои секции шин и наличии секционного выключателя. При этом необходимо выполнить согласование с устройством автоматического включения резерва [1].

Как простые, так и более сложные системы автоматики обычно окупаются достаточно быстро.

Симметрирование электрических нагрузок.

Неравномерное распределение нагрузок по фазам электрической сети приводит к дополнительным потерям электрической энергии.

Например, если сила тока в трёхфазной четырёхпроводной электрической сети равна соответственно IА = 67 А, IВ = 20 А, IС = 47 А, IN = 20 А, то потери электроэнергии составляют

ΔW1 = ( I2А· Rw + I2В· Rw + I2С · Rw + I2N· Rw ) · T =

= ( 672 + 202 +472 +202 ) ·T· Rw = 7498·T· Rw, кВт·ч.

Рис. 5.5. Схема автоматического отключения и включения трансформаторов при параллельной работе

Если выровнять нагрузку по фазам, т.е. подключить потребители равномерно в соответствии с их мощностью, то потери составят

ΔW2 = ( 452 + 452 + 452 )·Т· Rw = 6075·T· Rw кВт·ч,

что на 19% меньше, чем в исходном режиме.

Ещё более значительный эффект дают комплексные мероприятия по симметрированию электрических нагрузок.

Организационные мероприятия

Эти мероприятия (рис.5.6) требуют, прежде всего, административных решений руководства предприятия или учреждения, принимаемых на основании бизнес-плана и разработок энергетических служб.

Рис.5.6. Типовые организационные мероприятия

Подготовка и переподготовка персонала.

Уровень профессиональной подготовленности персонала энергетической службы любого предприятия или учреждения в значительной степени определяет эффективность использования энергоносителей, в частности электрической энергии. Несомненно, важнейшей организационной задачей руководства является привлечение на работу грамотных, хорошо обученных специалистов. Кроме того, не менее важно прогнозировать потребность в тех или иных специалистах и обеспечивать их планомерную и целенаправленную подготовку и переподготовку. В настоящее время для этого существуют многочисленные возможности.

Практика показывает эффективность организации «ликбезов» по энергосбережению и для сотрудников, не связанных по роду деятельности с энергетикой. Это малозатратное мероприятие очень быстро окупается и даёт результаты на промышленных предприятиях, в учреждениях, на объектах жилищно-коммунального комплекса и т.д.

Внедрение энергосберегающих технологий.

Технология любого процесса является одним из определяющих факторов эффективности производства в целом и использования энергоносителей в частности. Энергосберегающие технологии - мощный фактор экологически приемлемого развития промышленности и общества в целом. Практически во всех сферах человеческой деятельности такие технологии обеспечивают снижение потребления топливных и энергетических ресурсов.

На рис.5.7 приведена динамика снижения удельного расхода электроэнергии на алюминиевых предприятиях России, которая обусловлена, прежде всего, внедрением новых технологий, а также проведением комплекса энергосберегающих мероприятий.

Рис.5.7. Удельный расход электроэнергии на выплавку алюминия

Установка нового электрооборудования.

Непрерывно происходит создание новых, более совершенных типов оборудования, обладающего, как правило, улучшенными энергетическими характеристиками.

Решение о техническом перевооружении предприятия или проведении частичной реконструкции должно быть обоснованным и своевременным. Очевидно, что установка оборудования с более высоким КПД и меньшим удельным потреблением электроэнергии может быть весьма эффективным решением. Например, замена светильников наружного освещения с ртутными люминесцентными лампами светильниками нового поколения с натриевыми лампами позволяет при неизменной освещённости объектов более чем в два раза уменьшить потребление электроэнергии.

Выравнивание графиков электрических нагрузок.

На предприятиях со значительной неравномерностью суточных, сменных или технологических графиков электрических нагрузок заметное снижение потерь электрической энергии может быть достигнуто за счёт выравнивания этих графиков.

Рассмотрим работу сушильного отделения, в котором установлены три одинаковые печи сопротивления мощностью P1 = P2 = P3 = Р каждая, продолжительность полного технологического цикла восемь часов (Тц = 8 час.), cosφ = 1, печи подключены к общему силовому трансформатору.

На рис.5.8 представлены два варианта суточного графика электрической нагрузки - наиболее равномерный и максимально неравномерный. Очевидно, что потребление электроэнергии в обоих вариантах одинаковое

= P1·Тц + P2·Тц + P3·Тц = 3·P·Тц ,2 = (P1 + P2 + P3 ) ·Тц = 3·P·Тц .

Однако потери электрической энергии в питающей сети, сопротивление которой равно RW, заметно различаются.

ΔW1 = 3·I2 1·RW·TЦ = 3· [P / (·U )]2 ·RW·3·TЦ = 3· (P / U )2 ·RW·TЦ,

ΔW2 = 3·I2 2·RW·TЦ = 3· [3· P /(·U )]2 ·RW·TЦ = 9· (P / U )2 ·RW·TЦ,

ΔW2 = 3·ΔW1.

Выравнивание графиков электрической нагрузки производится, прежде всего, организационными мерами. Характерным примером этого является переход на всей территории Российской Федерации с «летнего» времени на «зимнее» и наоборот.

Рис.5.8. Графики электрической нагрузки

а - равномерный график; б - неравномерный график

Комплексные мероприятия.

На рис.5.9 приведена классификация комплексных мероприятий по экономии электроэнергии.


Обеспечение качества электрической энергии

Электрическая энергия, как любой вид продукции, должна соответствовать определённым нормам качества [8]. Отклонение показателей качества от нормированных значительно ухудшает условия работы отдельных электроприёмников и в целоми систем электроснабжения. В том числе, это приводит к увеличению потребления электроэенергии.

Во многих случаях потребители непосредственно влияют на качество электроэнергии (табл.5.2). Поэтому комплексные организационно-технические мероприятия по обеспечению качества электрической энергии (КЭ), проводимые на предприятии, могут значительно уменьшить потребление энергии.

Таблица 5.2 - Свойства электрической энергии

Свойства электрической энергии

 Показатели КЭ

Наиболее вероятные виновники ухудшения КЭ

Отклонение напряжения

Установившееся отклонение напряжения Uу

Энергоснабжающая организация

Колебания напряжения

Размах изменения напряжения Ut

Потребитель с переменной нагрузкой

 Несинусоидальность напряжения

Коэффициент искажения синусоидальности кривой напряжения KU Коэффициент n-ой гармонической составляющей напряжения KU(n)

Потребитель с нелинейной нагрузкой

Несимметрия трехфазной системы напряжений

Коэффициент несимметрии напряжений по обратной последовательности K2U Коэффициент несимметрии напряжений по нулевой последовательности К0U

Отклонение частоты

Отклонение частоты Δf

Энергоснабжающая организация


Основными мероприятиями по обеспечению качества электроэнергии являются установка и ввод в эксплуатацию: устройств автоматического регулирования напряжения и реактивной мощности; симметрирующих устройств; фильтров высших гармоник и фильтр-компенсирующих установок ; систем раздельного электроснабжения основных потребителей и резкопеременной, нелинейной нагрузки.

Примером может служить установка симметрирующего устройства.

На рис.5.10 приведена схема подключения симметрирующего устройства, которое выполнено по комбинированной схеме (на междуфазное напряжение подключена индуктивная QL и две емкостные QC нагрузки).

Симметрирующее устройство, обеспечивает:

·        снижение потерь мощности и энергии в питающей электросети;

·        снижение потерь мощности и энергии в силовом трансформаторе;

·        уменьшение потребления электроэнергии в симметричной нагрузке;

·        регулирование напряжения;

·        поддержание на заданном уровне коэффициента мощности;

·        увеличение срока службы асинхронных электродвигателей и снижение потерь мощности в них за счёт устранения обратносинхронного поля;

·        повышение пропускной способности линий электропередачи и

трансформаторов.


Установка симметрирующего устройства снижает величину нагрузочных потерь в силовом трансформаторе на величину

ΔPТР = (β2 Т1 - β2 Т2 ) · Δ РХХ ,

где βТ1 и βТ2 - коэффициенты загрузки трансформатора до и после симметрирования.

Для схемы рис.5.10 βТ1 = · βТ2 , поэтому ΔPТР = 2·β2Т2 · Δ РХХ .

При наличии симметрирующего устройства вдвое снижаются потери активной мощности в питающей электросети, поскольку для симметричной нагрузки

ΔPСИМ = 3·I2 Ф·RW = (SНГ / U) 2·RW ,

а для несимметричной нагрузки

ΔPНС = 2·[ (I Ф· )2 ·RW] = 2 [ (SНГ / U) 2·RW ] = 2· ΔPW .

Уменьшение потребления электроэнергии асинхронными двигателями после установки симметрирующего устройства и устранения тормозного обратносинхронного хода можно оценить по формуле

ΔWАД = PУСТ·ТМАКС · (К2НС U1 - К2НС U 2 ),

где Pуст - установленная мощность электродвигателей, кВт; ТМАКС - число часов использования максимума нагрузки, час; КНС U1 и КНС U2 - коэффициенты несимметрии напряжения до и после подключения симметрирующего устройства, о.е.

Регулирование напряжения, как отмечено выше, даёт возможность уменьшить потери активной мощности и энергии. Эффект регулирования достигается изменением параметров индуктивного и емкостных элементов симметрирующего устройства:

ΔU = (0,5·SНГ + QL - QС ) ·ХW / UНОМ .

Очевидно, что в этом случае можно регулировать напряжение и повышая, и понижая его.

Таким образом, комплексные мероприятия по обеспечению качества электрической энергии у потребителя обеспечивают значительный технико-экономический эффект.

Автоматизация системы учёта электроэнергии.

При прогнозируемом росте цен на электроэнергию энергозависимые предприятия должны иметь возможность управления энергопотреблением, с тем, чтобы планомерно снижать удельный вес платы за электроэнергию в себестоимости своей продукции. Это возможно только при налаженном коммерческом и техническом учете. Действующая на предприятии автоматизированная система контроля и учёта электроэнергии (АСКУЭ) позволяет решить эту задачу.

АСКУЭ с техническим учетом электроэнергии позволяет получить картину энергопотребления каждого объекта в режиме максимально приближенном к реальному времени и, соответственно, планировать подключение своих объектов с максимальной эффективностью.

АСКУЭ позволяет воспользоваться дифференцированными тарифами на оплату электроэнергии, а это, в свою очередь, помогает спланировать производство таким образом, чтобы максимально перевести деятельность энергоемких операций на время действия льготных тарифов.

АСКУЭ, установленная на предприятии, через энергосистему которого подключены субабоненты, даёт инструмент взаимодействия с ними, позволяющий локализовать потери и хищения электроэнергии, а также обеспечить учет передаваемой электроэнергии и услуг на ее передачу.

Наличие АСКУЭ является одним из непременных условий при выходе предприятия на федеральный оптовый рынок электроэнергии, где тарифы значительно ниже тарифов, действующих внутри региональных энергосистем.

Построение АСКУЭ требует не только технических и финансовых ресурсов, но и организационной работы. Однако затраты, как правило, окупаются достаточно быстро.

В настоящее время существует большое количество различных разработок систем АСКУЭ. Выбор оптимального варианта производится после технико-экономического обоснования.

Оптимизация схем электроснабжения.

Выбор схем электроснабжения и их основных параметров является комплексной задачей, решаемой на стадии проектирования и корректируемой при эксплуатации системы электроснабжения. Критерием оптимальности является, как правило, минимум приведённых затрат с учётом требований надёжности, оперативности обслуживания и т.д. Составной частью этой задачи является выбор места установки трансформаторных подстанций (ТП) и оптимизация режимов передачи и распределения электроэнергии.

Место установки ТП в значительной степени влияет на длину воздушных и кабельных линий электропередачи, состав электрооборудования распределительных электросетей, схему электроснабжения. Это является решающим фактором с точки зрения как капитальных вложений (затрат), так и с точки зрения величины потерь мощности и энергии при передаче электроэнергии к потребителям.

Оптимальным местом установки ТП можно считать центр электрических нагрузок, координаты которого XО , YО (рис.5.11) определяются по формулам

О = (Σ Pi · Xi ) / Σ Pi ,О = (Σ Pi · Yi ) / Σ Pi ,

где Pi - электрические нагрузки соответствующих узлов (отдельных цехов, шинопроводов, распределительных пунктов и т.д.); Xi , Yi - координаты нагрузок в приятой системе координат.

В дальнейшем место установки ТП может уточняться с учётом дополнительных факторов.

Оптимизация процесса распределения электрической энергии является сложной комплексной многокритериальной задачей, которая в конечном итоге сводится к минимизации суммарных эксплуатационных расходов в множестве режимов, соответствующих требованиям необходимого качества и надёжности.

Параметры нагрузки объектов №№1…5

Р1 = 800 кВт

x1 = 50 м, y1 = 400 м

 x0 = 289 м, y0 = 253 м

Р2 = 750 кВт

x2 = 250 м, y2 = 400 м


Р3 = 1500 кВт

x3 = 500 м, y3 = 300 м


Р4 = 1050 кВт

x4 = 300 м, y4 = 200 м


Р5 = 1200 кВт

x5 = 200 м, y5 = 50 м


 


Компенсация реактивной мощности.

Основная часть электроприёмников, потребляющих реактивную мощность, подключена к сетям напряжением до 1000 В. Это асинхронные двигатели, трансформаторы различного назначения, сварочное оборудование, газоразрядные лампы электроосвещения и т.д. Передача реактивной мощности от энергосистемы в сеть до 1000 В приводит к нерациональным затратам на потери активной и реактивной мощности, на увеличение сечений линий электропередачи, на повышение мощности силовых трансформаторов. Эти затраты можно существенно уменьшить, вырабатывая (компенсируя) при помощи батарей конденсаторов (БК) и синхронных двигателей реактивную мощность непосредственно в сети напряжением до 1000 В. Мощность КУ (QКУ), которые необходимо установить у потребителя определяется по формуле

КУ = QМ- QЭ ,

где QМ - наибольшая реактивная нагрузка потребителя; QЭ - мощность, передаваемая предприятию энергосистемой в соответствии с договором.

Задача компенсации реактивной мощности решается, как правило, в комплексе с другими оптимизационными задачами. Учитываются вопросы обеспечения качества напряжения, поскольку режимы реактивной мощности и напряжения в энергосистеме неразрывно связаны. Например, уже отмечалось, что изменение мощности КУ позволяет регулировать напряжение в электроустановках, а использование симметрирующих устройств, в состав которых входят БК, обеспечивает повышение коэффициента мощности.

Переход на повышенное напряжение.

Повышенное напряжение обеспечивает, как правило, заметные преимущества по сравнению с более низким напряжением, однако требует определённых материальных затрат. Поэтому данный вопрос должен быть рассмотрен, прежде всего, в организационном плане. Наиболее реальным в настоящее время является переход в системах внутризаводского электроснабжения с напряжения 6 кВ на напряжение 10 кВ. Снижение потерь мощности и электроэнергии достигается благодаря уменьшению силы тока в оборудовании и сетях.

Перспективным является переход в цеховых системах электроснабжения на напряжение 660 В взамен 380 В. Однако в настоящее время не проводится широкомасштабных работ в этом направлении по целому ряду причин. В том числе из-за необходимости значительных инвестиций.

Регулирование потребления электроэнергии.

Как отмечено выше, энергозависимые предприятия должны иметь возможность управлять энергопотреблением, что может позволить значительно уменьшить расход электроэнергии. В частности, это показано выше на примере выравнивания графика электрической нагрузки.

Успешное решение задачи оптимизации управления электропотреблением как на локальном уровне (отдельные объекты), так и на общем уровне (системы электроснабжения совокупности объектов, например, муниципальных образований) может обеспечить существенное снижение потребления электроэнергии.

Все упомянутые в настоящем разделе мероприятия подробно рассматриваются в специальных дисциплинах.

В основе настоящего издания - методические разработки, рекомендованные для студентов специальности «Электроснабжение» Тверского государственного технического университета: Енин А.С. Общая энергетика: Учебное пособие. ТГТУ, Тверь, 1996 г. и Енин А.С. Общая энергетика: Методические указания. ТГТУ, Тверь, 2004 г.

Библиографический список

1. Правила устройства электроустановок. 7-е изд., - М: Энергоатомиздат, 2005.

2. Тихомиров К.В., Сергеенко Э.С. Теплотехника, теплогазоснабжение и вентиляция. М.: Стройиздат, 1997.

3. Енин А.С. Общая энергетика: Учебное пособие для студентов спец.100.400. ТГТУ, Тверь, 1996 г.

. Енин А.С. Общая энергетика: Методические указания к практическим занятиям и лабораторным работам для студентов спец.100.400. ТГТУ, Тверь, 2004 г.

. Волков Э.П., Ведяев В.А., Обрезков В.И. Энергетические установки электростанций. М.: Энергоатомиздат, 1998.

. Справочник по проектированию электрических сетей / под ред. Д.Л.Файбисовича. - М.: НЦ ЭНПС, 2006.

. Ополева Г.Н. Схемы и подстанции электроснабжения: Справочник: Учеб. пособие - М: ФОРУМ: ИНФРА - М, 2006.

8. ГОСТ 13109-97 «Электрическая энергия. Нормы качества электрической энергии в системах электроснабжения общего назначения». Межгосударственный стандарт. 1997 г.

. Отчёт о работе группы экспертов по беззатратным энергосберегающим мероприятиям в рамках проекта ПРООН/ГЭФ "Экономически эффективные энергосберегающие мероприятия в российском образовательном секторе". Енин А.С. и др. (В книге: О.Ю.Базанова, В.В.Измайлов "Энергосбережение", Тверь: "Альфа -Пресс", 2004).

. Энергосбережение: Введение в проблему / Н.И.Данилов и др.: Учебное пособие. - Екатеринбург: ИД "Сократ". -2001.

11. Энергосбережение: Справочное пособие / В.Е. Батищев и др.- Екатеринбург: ЭКС-Пресс. - 2000.

Похожие работы на - Общая энергетика

 

Не нашли материал для своей работы?
Поможем написать уникальную работу
Без плагиата!
Без нейросетей!