Организация электротехнической службы РУСП 'Новодевятковичи' Слонимского района Гродненской области с разработкой электрификации доильно-молочного блока с установкой УДЕ-8 и автоматизации первичной обработки молока.
Министерство сельского хозяйства и продовольствия РБ
Жировичский государственный аграрно-технический
колледж
Специальность: 2-740631-01 «Энергетическое обеспечение
сельскохозяйственного производства»
ДИПЛОМНЫЙ ПРОЕКТ
На тему: Организация электротехнической службы РУСП
"Новодевятковичи" Слонимского района Гродненской области с
разработкой электрификации доильно-молочного блока с установкой УДЕ-8 и
автоматизации первичной обработки молока.
ПОЯСНИТЕЛЬНАЯ ЗАПИСКА
Исполнитель:
Горбачевский Д.В.
Консультант по
экономической части: Червоник
Т.В.
Руководитель:
Синяк В.А.
Н. контроль: Серкевич
И.С.
Жировичи 2011 г.
|
Содержание
|
№
п/п
|
Наименование тем
|
№ стр.
|
|
Реферат
……………………………………………………………………
|
|
|
Введение
………………………………………………………………….
|
|
|
1.
|
Общая
часть ………………………………………………………………
|
|
|
1.1
|
Характеристика
хозяйства……………………………………………….
|
|
|
1.2
|
Расчет
объема электрохозяйства в условных единицах………………..
|
|
|
1.3
|
Определение
штатной численности работников электрохозяйства…..
|
|
|
1.4
|
Расчет
оплаты труда работников электрохозяйства и фонда заработной платы…………………………………………………………
|
|
|
1.5
|
Определение
норм расходов электроэнергии и потребности хозяйства в электроэнергии……………………………………………...
|
|
|
1.6
|
Составление
годового графика ТО и ТР………………………………..
|
|
|
1.6.1
|
Характеристика
электрифицированного объекта……………………....
|
|
|
1.6.2
|
Расчет
объема ТО и ТР электрооборудования………………………….
|
|
|
1.6.3
|
Составление
годового графика ППРЭсх………………………………..
|
|
|
2.
|
Технологическая
часть…………………………………………………...
|
|
|
2.1
|
Описание
существующих и обоснование проектируемых технологий доильно-молочного блока………………………………………………..
|
|
|
2.2
|
Расчет
и выбор рабочих машин и механизмов…………………………
|
|
|
3.
|
Специальная
часть……………………………………………………….
|
|
|
3.1
|
Расчет
и выбор электродвигателей для привода рабочих машин……..
|
|
|
3.2
|
Проектирование
осветительных установок……………………………..
|
|
|
3.3
|
Выбор
и расчет пускозащитной аппаратуры…………………………...
|
|
|
3.4
|
Расчетная
мощность на вводе……………………………………………
|
|
|
3.5
|
Выбор
распределительных устройств, проводов и кабелей внутренних электрических
сетей. Составление принципиальной схемы………………………………………………………………………
|
|
|
3.6
|
Расчет
внутренних силовых электроустановок………………………...
|
|
|
3.7
|
Расчет
внутренних осветительных электропроводок ………………
|
|
|
3.8
|
Разработка
спецвопроса………………………………………………….
|
|
|
3.9
|
Описание
работы схемы автоматизации………………………………..
|
|
|
4.
|
Экономическая
часть……………………………………………………..
|
|
|
5.
|
Охрана
труда……………………………………………………………...
|
|
|
5.1
|
Техника
безопасности при работе с доильными установками………...
|
|
|
5.2
|
Пожарная
безопасность…………………………………………………..
|
|
|
Литература………………………………………………………………...
|
|
|
|
|
|
|
|
|
Дп.11.2-740631
– 01.з.9Эп 00 ПЗ
|
|
|
|
|
|
|
|
Изм.
|
Лист
|
№ докум.
|
Подпись
|
Дата
|
|
Разраб.
|
Горбачевский Д
|
|
|
Организация электротехнической службы
сельхозпредприятия РУСП "Новодевятковичи" Слонимского района
Гродненской области с разработкой электрификации доильно-молочного блока
с установкой УДЕ-8 и автоматизации первичной обработки молока.
|
Лит.
|
Лист
|
Листов
|
|
|
|
|
|
|
|
|
1
|
|
|
Руковод.
|
Синяк
В.А.
|
|
|
Жгатк
группа 9 «Эп»
|
|
|
|
|
|
|
|
|
|
|
|
Реферат
Расчетно-пояснительная записка на странице, графическая
часть выполнена на 4 листах А1. Ключевые слова электрооборудование,
электрическое освещение, аппаратура защиты и управления, электрические сети.
В дипломном проекте производится описание расчёта объёма
электрохозяйства в условных единицах, определение штатной численности
работников электрохозяйства и разработка структуры электротехнической службы,
расчёт оплаты труда работников электрохозяйства и фонда заработной платы,
составление годового графика ППРЭ с/х.
В
технологической части произведены расчеты по выбору водоохлаждающей установки УВ-10.
В
специальной части проекта выполнены необходимые расчеты аппаратуры управления
и зашиты, для разработанной схемы внутренних сетей. Выбраны сечения проводов,
кабелей, вводное устройство и групповые пульты управления, для выбранной
технологической схемы приведено описание схемы автоматизации
Технико-экономические
расчеты подтвердили целесообразность и обоснованность принятых в проекте
решений.
Разработанные в проекте
документы могут быть использованы в хозяйстве для организации работы
электротехнической службы и выбора электрооборудования доильно-молочного
блока с установкой УДЕ – 8 «Елочка» и автоматизации первичной обработки
молока.
|
|
|
|
00ПЗ
|
Лист
|
|
|
|
|
|
Введение
За последние годы в
электрификации сельского хозяйства возник вопрос об эффективном
использовании электроэнергии.
Комплексная электрификация
и механизация производственных процессов - важнейшее условие по
дальнейшему развитию, повышению производительности труда и снижению
себестоимости сельскохозяйственной продукции.
Новейшая техника обязательно
связана с электроэнергией, этой наиболее современной формой энергии,
позволяющей весьма просто и экономично осуществлять механизацию
труда.
Основными преимуществами
электрической энергии по сравнению с другими формами энергии являются:
возможность экономичной передачи её на
значительные расстояния;
простота преобразования в другие формы энергии –
в тепловую, механическую, световую и т.д.;
простота распределения между любым числом
потребителей с различной мощностью.
Создание современных
машин - автоматов, крупных поточных и автоматизированных производств, в сотни
раз увеличивающих производительность труда и облегчающих труд человека, оказалось
возможным только благодаря применению электроэнергии.
Пути совершенствования
и выполнения экономичности электроприводов являются:
переход к регулируемому, а в дальнейшем к
автоматизированному электроприводу на основе микропроцессорной техники;
применение устройств для регулирования режимов
работы и загрузки электроприводов;
создание универсальных комплектных
электроприводов заводской готовности, для нескольких сезонных механизмов;
снижение аварийности в два - три раза.
Для повышения
эффективности использования осветительных и облучающих установок необходимо
увеличить применение люминесцентных ламп в два раза, ламп высокого давления в
два с половиной раза, светильников с газоразрядными лампами высокого давления
в шесть раз, с люминесцентными лампами в три раза. Так же рекомендуется
сократить применение светильников с лампами накаливания в три раза, так как
они, по уровню освещённости не удовлетворяют требований отраслевых норм.
Перспективными направлениями развития систем управления электроустановками
являются применение программируемых контроллеров ЭВМ, электротермических
потребителей и так далее.
|
|
|
|
00ПЗ
|
Лист
|
|
|
|
|
|
1. Общая часть
1.1.
Характеристика хозяйства
РУСП
"Новодевятковичи" Слонимского района Гродненской
области расположен в 18 км от города Слонима в юго-западном направлении. Близкое
расстояние от города Слонима в значительной мере определило специализацию
хозяйства, которое занимается молочным скотоводством.
За хозяйством
закреплено 3209 га сельскохозяйственных угодий, в том числе 1524 га пашни и 1676 га сенокосов и пастбищ.
Согласно
качественной оценке земель средневзвешенный балл
сельскохозяйственных угодий в совхозе составляет 28,8; балл пашни 29,5.
Имеются:
• Тракторов 10 шт.
• Автомобилей 6 шт.
• Зерноуборочных комбайнов 4 шт.
• Электродвигатели - 250 шт, общей мощностью - 1700 кВт.
Потребление электроэнергии - 830 тыс. кВт ч
Таблица
1.1
Основные производственные показатели хозяйства.
|
Показатели
|
Годы
|
2009г. в %
к 2010г.
|
2009г.
|
2010г
|
|
Общая земельная площадь, га
|
3611
|
3611
|
100
|
|
Площадь с/х
угодий, га
|
3415
|
3209
|
93,92
|
|
вт.ч. пашни
|
1392
|
1524
|
109,48
|
|
Приходится
на 100га с.х. угодий, гол.
|
|
|
|
|
КРС
|
75
|
100
|
105,26
|
|
в т. ч.
коров
|
71
|
75
|
105,63
|
|
Произведено
на 100 га с.х. угодий, ц.;
|
|
молока
|
47
|
49
|
103,87
|
|
мяса (в
живом весе)
|
150
|
155
|
103,87
|
|
Среднегодовое
количество работающих
|
229
|
218
|
95,2
|
|
Приходится
на 1 среднегодового работника, га
|
|
с.х. угодий
|
14,36
|
15,34
|
106,83
|
|
в т. ч.
пашни
|
9,22
|
9,74
|
105,59
|
|
|
|
|
Дп.11.2-740631
– 01.з.9эп 01 ПЗ
|
Лист
|
|
|
|
|
|
Таблица
1.2
Посевные площади и их структура
|
Сельскохозяйственные
культуры
|
Годы
|
2009г. в % к 2010г.
|
|
2009
|
2010
|
|
га
|
%
|
га
|
%
|
|
Зерновые и зернобобовые
|
910
|
29
|
900
|
29
|
98,9
|
|
В т.ч. озимые
|
850
|
27
|
855
|
28
|
100,6
|
|
яровые
|
500
|
16
|
490
|
16
|
98
|
|
Лен-долгунец
|
200
|
6
|
130
|
4
|
75
|
|
Ячмень
|
100
|
3
|
100
|
3
|
100,0
|
|
Картофель
|
20
|
0,6
|
20
|
0,7
|
100,0
|
|
Кукуруза
|
100
|
3
|
100
|
3
|
100,0
|
|
Кормовые корнеплоды
|
120
|
4
|
50
|
2
|
41,7
|
|
Однолетние травы на сено, сенаж, зел. корм
|
110
|
3,4
|
160
|
5
|
145,5
|
|
Многолетние травы на сено, сенаж, зел. Корм
|
180
|
9,5
|
250
|
8
|
138,9
|
|
Всего посевов
|
3090
|
100
|
3075
|
100
|
|
Таблица 1.3
Урожайность основных сельскохозяйственных культур
и продуктивность животных
|
Показатели
|
Годы
|
2009г. в % к
2010г.
|
|
2009
г.
|
2010
г.
|
|
1
|
2
|
3
|
4
|
|
Урожайность, ц/га
|
|
|
4
|
|
Зерновые и зернобобовые
|
27,8
|
30,2
|
107,72
|
|
в т.ч. озимые
|
25,3
|
29,7
|
117,4
|
|
яровые
|
30,3
|
30,7
|
101,3
|
|
Лен-долгунец - семя/волокно
|
5,0
|
5,5
|
110
|
|
Ячмень
|
25,0
|
27,0
|
108,0
|
|
Картофель
|
120
|
130
|
108,33
|
|
Кукуруза
на силос
|
210,0
|
220
|
104,76
|
|
Кормовые
корнеплоды
|
156,0
|
189,0
|
121,15
|
|
Однолетние травы - сено
|
113,4
|
162,0
|
142,86
|
|
|
|
|
01
ПЗ
|
Лист
|
|
|
|
|
|
Продолжение
таблицы 1.3
|
1
|
2
|
3
|
4
|
|
Многолетние
травы - сено
|
21,60
|
20,5
|
94,91
|
|
Зеленый
корм
|
87,90
|
158,7
|
180,55
|
|
Продуктивность животных
Среднесуточный прирост живой массы, г
- молодняка КРС
на откорме
|
291,0
|
289,0
|
99,31
|
|
Удой на 1 среднегодовую корову,
кг
|
2431,0
|
2546,0
|
104,73
|
Таблица
1.4
Затраты труда, себестоимость и рентабельность
производства основных видов продукции
|
Показатели
|
годы
|
2009г. в %
к 2010г.
|
|
2009 г.
|
2010г.
|
|
Затраты труда на 1т., ч
|
|
Зерна
|
12,4
|
11,4
|
|
Картофеля
|
24,8
|
22,1
|
89,11
|
|
Прироста
живой массы КРС
|
560,7
|
731,7
|
130,5
|
|
Молока
|
69,8
|
91,9
|
131,66
|
|
Себестоимость 1 т., руб
|
|
|
|
|
Зерна
|
125630
|
158200
|
125,93
|
|
Картофеля
|
113120
|
128980
|
114,02
|
|
Прироста живой массы КРС
|
2557664
|
365992
|
143,1
|
|
Молока
|
192020
|
2832010
|
147,49
|
|
Средняя цена реализации 1т., руб.
|
|
Зерна
|
245460
|
310900,5
|
126,66
|
|
Картофеля
|
347500
|
408040,7
|
117,42
|
|
Говядины (в живом весе)
|
577780
|
889860,8
|
154,01
|
|
Молока
|
170370
|
207170
|
121,6
|
|
Рентабельность, %
|
|
Зерна
|
95,38
|
98,52
|
101,2
|
|
Картофеля
|
207,2
|
216,36
|
104,42
|
|
Говядины
|
125,9
|
143,14
|
113,69
|
|
Молока
|
-11,27
|
-26,85
|
238,13
|
|
|
|
|
01
ПЗ
|
Лист
|
|
|
|
|
|
Анализируя данные таблиц можно сделать следующие
выводы:
1.
По сравнению с
прошлым годом в хозяйстве увеличиваются размеры посевных площадей, что
привело к росту валового сбора продукции и росту продуктивности животных.
2.
Снизились
затраты труда на 1 тонну производственной продукции, что в свою очередь
повлекло снижение себестоимости 1 тоны продукции, однако роста рентабельности
производства не наблюдается вследствие
очень быстрого удорожания расходов на семена и посадочный материал,
ГСМ, изношенности МТП хозяйства, низкими закупочными ценами.
Таблица 1.5 Потребление электроэнергии предприятием
|
Показатели
|
Тыс.
кВт.ч.
|
|
Выработано эл. энергии своими
эл. станциями
|
--
|
|
Получено электроэнергии со стороны
|
2235
|
|
В т.ч. от государственных электросистем и
электростанций
|
2235
|
|
Использованию эл. энергии на
производственные нужды:
|
720
|
|
В том числе:
|
—
|
|
В подсобных промышленных
производствах
|
1035
|
|
В животноводстве В растениеводстве
|
680
--
|
|
На освещение и бытовое
потребление сельскому
|
520
|
|
потреблению:
|
—
|
|
Предприятиями и учреждениями связи
|
—
|
|
Культуры, здравоохранения, торговли
|
--
|
|
Другими хозяйствами и организациями
|
2235
|
|
Всего отпущено электроэнергии
|
|
|
|
|
|
01
ПЗ
|
Лист
|
|
|
|
|
|
1.2.
Расчет объема электрохозяйства в условных единицах
Объем
электрохозяйства в условных единицах электрооборудования определяется путем
пересчета физического числа единиц электрооборудования в условные при помощи
нормативных коэффициентов. Физическое число единиц электрооборудования определяется
по объектам согласно энергетическому паспорту хозяйства.
Количество
условных единиц электрооборудования (У) по данному числу электрооборудования
определяется по формуле
У=n×Kn×Knn,
(1.1)
где n – количество электрооборудования;
Kn – переводной коэффициент;
Knn – поправочный коэффициент.
Объем
электрохозяйства в условных единицах определяют для всего
сельскохозяйственного предприятия, его отраслей и подразделений и результаты
расчета заносим в таблицу.
Таблица 1.6
Расчет объема
электрохозяйства в условных единицах.
|
Наименование
объекта,
оборудование
|
Един.
изм.
|
Кол-во
|
Коэффициент
|
Всего усл.
единиц
|
|
Перевод.
|
Поправоч.
|
|
1
|
2
|
3
|
4
|
5
|
6
|
|
Электропривод с
асинхронным двигателем (на один электродвигатель
с электроприводом
и аппаратурой управления, контроля и защиты).
|
|
В сухих и влажных помещениях
|
|
|
|
|
|
|
электродвигатели
|
|
|
|
|
|
|
до 1 кВт
|
шт.
|
26
|
0,44
|
0,85
|
9,724
|
|
1¸10 кВт
|
шт.
|
32
|
0,61
|
1
|
19,52
|
|
10,1¸40 кВт
|
шт.
|
13
|
0,72
|
0,85
|
7,96
|
|
В сырых и пыльных помещениях
|
|
|
|
|
|
|
до 1 кВт
|
шт.
|
38
|
0,67
|
1,2
|
30,56
|
|
1¸10 кВт
|
шт.
|
10
|
0,92
|
1
|
9,2
|
|
шт.
|
14
|
0,92
|
1,2
|
15,5
|
|
шт.
|
11
|
0,92
|
0,85
|
8,61
|
|
10,1¸40 кВт
|
шт.
|
34
|
1,13
|
0,85
|
32,66
|
|
В особо сырых с химически активной
|
|
|
|
|
|
|
средой помещениях
|
|
|
|
|
|
|
до 1 кВт
|
шт.
|
92
|
0,88
|
1,2
|
97,16
|
|
1¸10 кВт
|
шт.
|
13
|
1,28
|
1
|
16,64
|
|
10,1¸40 кВт
|
шт.
|
90
|
1,8
|
1
|
54
|
|
|
|
|
01
ПЗ
|
Лист
|
|
|
|
|
|
Продолжение
таблицы 1.6
|
Наименование
объекта,
оборудование
|
Един.
изм.
|
Кол-во
|
Коэффициент
|
Всего усл.
единиц
|
|
Перевод.
|
Поправоч.
|
|
1
|
2
|
3
|
4
|
5
|
6
|
|
Электротермические
установки (на одну установку с электрической проводкой и аппаратурой
управления, контроля и защиты).
|
|
Электроводонагреватели
с трубчатыми нагревательными элементами
|
шт.
|
3
|
1,66
|
0,7
|
3,486
|
|
электроводонагреватели
электродные
водогрейные
|
шт.
|
5
|
1,66
|
1
|
8,3
|
|
электродный
паровой нагреватель
до 160 кВт
|
|
|
|
|
|
|
шт.
|
7
|
5,54
|
1
|
38,78
|
|
электрокалориферы
(на одну уста
новку с воздуха
нагревателем, эл. приводом вентилятора, эл. проводкой и аппаратурой
управления, контроля и защиты)
|
шт.
|
3
|
3,16
|
1
|
9,48
|
|
до 160 кВт
|
шт.
|
2
|
3,16
|
0,7
|
4,424
|
|
Электровулканизаторы (на одну
установку с эл. проводкой и аппаратурой управления, контроля и защиты)
|
уст.
|
5
|
0,29
|
1
|
1,45
|
|
Устройство эл. обогрева полов
в животноводческих помещениях (на 100 м2 помещения, включая не обогреваемые проходы и тамбуры)
|
100 м
|
2830
|
0,73
|
0,7
|
14,46
|
|
Сварочные установки,
трансформаторы сварочные до 300 А
|
шт.
|
6
|
0,99
|
1
|
5,94
|
|
Выпрямители зарядные без
автоматической стабилизации режима зарядки
|
уст.
|
4
|
0,53
|
1
|
2,12
|
|
Преобразователь сварочный
|
уст.
|
3
|
1
|
1
|
3
|
|
Электроосветительные
установки и светильники (10 светильников с эл. проводкой и аппаратурой
управления, контроля и защиты)
|
|
В сухих и влажных помещениях
с ЛЛ
|
10 св.
|
60
|
0,86
|
1
|
5,16
|
|
В сырых и пыльных помещениях
с ЛН
|
10 св.
|
186
|
0,91
|
1
|
16,926
|
|
с ЛЛ
|
10 св.
|
120
|
1,74
|
1
|
20,88
|
|
В особо сырых с химически
активной средой помещениях
|
|
|
|
|
|
|
с ЛН
|
10 св.
|
92
|
1,4
|
1
|
12,88
|
|
с ЛЛ
|
10 св.
|
348
|
2
|
1
|
69,6
|
|
Наружное освещение (10 светильников с эл. проводкой и
аппаратурой управления, контроля и защиты) с ЛН
|
10 св.
|
26
|
1,35
|
1
|
3,51
|
|
|
|
|
01
ПЗ
|
Лист
|
|
|
|
|
|
Продолжение
таблицы 1.6
|
Наименование
объекта,
оборудование
|
Един.
изм.
|
Кол-во
|
Коэффициент
|
Всего усл.
единиц
|
|
Перевод.
|
Поправоч.
|
|
1
|
2
|
3
|
4
|
5
|
6
|
|
Облучательные установки (10
облучателей с эл. проводкой и аппаратурой управления, контроля и защиты)
комбинированные
|
шт.
шт.
|
35
52
|
2,43
2,43
|
0,7
1
|
59,5
126,36
|
шт.
шт.
|
4
6
|
0,04
0,04
|
1
1
|
0,16
0,24
|
|
Микросхемы
|
шт.
|
10
|
0,02
|
1
|
0,2
|
|
Ящики учета электра энергии
(на один ящик с электропроводкой и аппаратурой управления, контроля и
защиты)
|
шт.
|
53
|
0,3
|
1
|
15,9
|
|
Электроизгороди с эл.
проводкой, аппаратурой управления и защиты.
|
шт.
|
5
|
0,5
|
1
|
2,5
|
|
Электропроводки жилых домов с
водными щитами
|
|
|
|
|
|
|
квартиры
|
шт.
|
82
|
0,1
|
1
|
8,2
|
|
усадьбы
|
шт.
|
68
|
0,85
|
1
|
57,8
|
|
Всего по хозяйству
|
|
|
|
|
792,79
|
|
|
|
|
01
ПЗ
|
Лист
|
|
|
|
|
|
1.3.
Определение штатной численности работников электрохозяйства.
Надежность
работы электрооборудования в сельскохозяйственном производстве в значительной
степени зависит от условия его эксплуатации, выполнение в срок и в полном
объеме мероприятий предусмотренной системой ППРЭсх. Для проведения этих
мероприятий необходим правильный расчет и полная укомплектованность штатов
квалифицированными кадрами электротехнической службы.
Для
определения штатов специалистов электриков нужно знать: 1) объем
электрохозяйства данного предприятия в условных единицах; 2) количество
электроэнергии потребляемое предприятием на производственные цели в год; 3)
штатные нормативы руководящих работников электротехнической службы хозяйства.
Количество
электромонтеров планируют исходя из нормы обслуживания, не менее 100 и не
более 150 условных единиц на одного человека. Из общего количества
электромонтеров назначаются старшие: на каждые 4-5 человек – один старший.
Определяем
количество электромонтеров в хозяйстве
N=Nусл.ед./Hобщ., (1.2)
где: Nусл.ед. – объем электрохозяйства в условных единицах;
Hобщ. – норма обслуживания на одного электромонтера.
N=792,79/133=5,96
электромонтеров.
Принимаем
6 электромонтеров.
Таблица 1.7
Штатная ведомость работников электрохозяйства.
|
Наименование хозяйства
|
Расход эл. энергии
в год на производ. цели,
тыс. кВт×ч
|
Объем
в усл.ед.
|
Должность
|
Кол.
чел.
|
Средняя нагрузка
на 1 чел., у.е.
|
|
РУСП «Новодевятковечи» Слонимского района Гродненской области
|
2235
|
792,79
|
Старший инженер электрик
|
1
|
792,79
|
|
Старший техник-
электрик
|
1
|
650
|
|
Электромонтер
из них старший
|
6
1
|
133
|
|
|
|
|
01
ПЗ
|
Лист
|
|
|
|
|
|
1.4.
Расчет оплаты труда работников электрохозяйства и
фонда заработной платы.
Для
оплаты труда электромонтеров в хозяйстве применяют повременно премиальную
систему оплаты.
Оплата
труда специалистов электриков и электромонтеров производится в соответствии с
единой тарифной сеткой рабочих и служащих РБ.
Труд
электромонтера на сельскохозяйственных предприятиях оплачивают в зависимости
от присвоенного квалифицированного разряда по тарифным ставкам,
предусмотренным работникам ремонтных мастерских на работах с нормальными
условиями труда.
Оплата
труда руководящих работников и специалистов электротехнической службы
производится по должностным окладам и доплата не начисляется.
Определяем
годовой фонд заработной платы специалистов электриков. Ставку в месяц
специалиста электрика определяем по выражению
CM=TI×KT.C.+Д, (1.3)
где TI
– тарифная ставка первого разряда, рублей;
KT.C. –
коэффициент тарифной сетки;
Д – доплата, рублей.
Ставка
в месяц старшего инженера электрика
CM=118 000 × 3,48 = 410 640 рублей.
Расчет
основной заработной платы специалистов-электриков производили в таблице 1.8.
Таблица 1.8
Основная
заработная плата специалистов-электриков.
|
Должность
|
Разряд
тариф. сет.
|
Коэф.
тариф. сет.
|
Ставка в
месяц, руб.
|
Кол-во
человек
|
Выплачено в месяц,
руб.
|
Выплачено в год,
руб.
|
|
старший
инженер-
электрик
|
15
|
3,48
|
410640
|
1
|
410640
|
4927680
|
|
техник-
электрик
|
9
|
2,35
|
145700
|
1
|
277300
|
3327600
|
|
|
|
|
|
Итого:
|
8255280
|
|
|
|
|
01
ПЗ
|
Лист
|
|
|
|
|
|
Основная
заработная плата специалистов электриков Зп.о.= 8 255 280 рублей.
Дополнительная заработная плата от основной составит 40%
Зп.д.=0,4×Зп.о.,
(1.4)
Зп.д.=0,4
× 8255280=3 302 112 рублей.
Премиальная
заработная плата составит от основной 60%
Зп.п.=0,6
× 8255280=4 953 512 рублей.
Отчисления
на социальное страхование составит
Нз.п.=31%(Зп.о.+Зп.д.+Зп.п.) (1.5)
Нз.п.=0,31×( 8 255 280 +3 302 112
+4 953 512)= 16 510 040 рублей.
Годовая
заработная плата специалистов электриков составит
Зп.г.=Зп.о.+Зп.д.+Зп.п.+ Нз.п.,
(1.6)
Зп.г.=
8255280 + 3302112 + 4 953 512 + 16510 040 =33 020 340 рублей.
Производим
расчет годовой заработной платы электромонтеров. Определяем ставку в месяц
старшего электромонтера.
См=TI×KT.C.×1,1+Д,
(1.7)
См=118 000
×
2,17 × 1,1+20000=563 332 рублей.
Расчет
основной заработной платы электромонтеров производим в
таблице 1.9.
Таблица 1.9
Основная заработная плата
электромонтеров.
|
Должность
|
Разряд
|
Разряд
тариф. сет.
|
KT.C.
|
Доп.коэф.
|
Кол-во
человек
|
Выплачено
в месяц, руб.
|
Выплачено
в год, руб.
|
|
старший
электромонтер
электромонтер
электромонтер
электромонтер
|
6
5
4
3
|
8
7
6
5
|
2,17
2,03
1,9
1,73
|
1,1
1
1
1
|
1
2
2
2
|
563332
958165
955600
934520
Итого
|
6759650
11497820
11267200
11114240
40 414 000
|
|
|
|
|
01
ПЗ
|
Лист
|
|
|
|
|
|
Основная
заработная плата электромонтеров составит З´п.о.= 40414000
рублей. Определяем дополнительную заработную плату.
З´п.д.=5,85%×З´п.о.,
(1.8)
З´п.д.=0,0585×40414000= 2 364 219 рублей.
Определяем
премиальную заработную плату электромонтеров
З´п.п.=40%×З´п.о.,
(1.9)
З´п.п.=0,4×40414000 =16 165 265 рублей.
Определяем
начисления на социальное страхование
Н´з.п.=31%(З´п.о.+З´п.д.+З´п.п.)
(1.10)
Н´з.п.=0,31×( 40414000+2364219 +16165265)=
=0,31×58943934 = 18 272 333 рублей.
Определяем
годовую заработную плату электромонтеров
З´з.г.=З´п.о.+З´п.д.+З´п.п.+
Н´з.п.
(1.11)
З´з.г.=
40414000 +2364219 +16165265+18272333 =
=77 215
604рублей.
Годовой
фонд заработной платы работников электротехнической службы составит
Зз.ф.=Зп.г.+З´п.г. (1.12)
Зз.ф.=
33 020 340 + 77 215 604 = 110 235 944 рублей.
|
|
|
|
01
ПЗ
|
Лист
|
|
|
|
|
|
1.5.
Определение норм расходов электроэнергии и
потребности хозяйства в электроэнергии.
Расчет
годовой потребности хозяйства в электроэнергии производят по отраслям
производства: животноводству, растениеводству, на коммунально-бытовые нужды,
для вспомогательных подсобных и обслуживающих производств с учетом силовой,
тепловой и осветительной нагрузок.
Существуют
несколько методов расчета потребности в электроэнергии:
1)
по индивидуальным и групповым нормам;
2)
по потребляемой мощности и количеству часов работы в году;
3)
по максимальной расчетной нагрузке и времени использования ее в году.
Определяем
потребность в электроэнергии молочно товарной фермы на 200 голов, расчет
ведем методом индивидуальных норм.
Таблица 1.10
Расчет норм расхода электроэнергии.
|
Производственные
процессы
|
Аппроксимированные
выражения по процессам
|
Нормы расхода кВт×ч/гол
|
|
|
|
Доение и обработка молока
Электронагрев воды
Новозоудаление
Кормоприготовление и кормараздача
Водоснабжение
Электропривод вентиляции
без подогрева воздуха
Освещение
Потеря электроэнергии на ферме
|
Н1=(193-0,029)×200
Н2=(90-0,102×200)×0,86
Н2=(90-0,102×200)×1,3
Н3=18
Н4=4
Н5=18
Н6=(43-0,045×200)×1,3
Н7=(130-0,0395×200)
Н6=6
|
187
59,86
18
4
18
44,2
122,1
6
|
|
|
Итого
|
SН =
|
459,16
|
|
Годовая
потребность в электроэнергии молочного стада составит
Wг.1=SН×N,
(1.13)
где:
SН – норма расхода электроэнергии по всем процессам
на одну голову в год;
N – количество голов.
Wг.1=459,16×200=91832 кВт×ч.
|
|
|
|
01
ПЗ
|
Лист
|
|
|
|
|
|
Определяем годовую потребность в
электроэнергии методом индивидуальных норм.
Таблица
1.11
Нормы расхода электроэнергии на свиноводческой
ферме.
|
Процессы
|
Нормы расхода
электроэнергии для молочной фермы Вт×ч
|
|
|
|
Подача концентратов на хранение
и обработку
Подача корнеплодов на обработку
Мойка корнеплодов
Измельчение корнеплодов
Смешивание кормов
Загрузка кормораздатчика и
раздача кормов
Уборка навоза
Облучение животных
Освещение наружное и внутреннее
Водоснабжение
Приготовление комбикормов
Итого
|
2
4
6
110
15
6
8
1
26
25
6
241
|
|
Годовая
потребность для фермы по формуле составит:
Wг.2=241×448=107968 кВт×ч.
Аналогично
определяем потребность в электроэнергии для телятника и годовая потребность
его составит Wг.3=48×150=7200 кВт×ч.
Определяем
годовую потребность в электромастерских. Расчет ведем по максимальной
расчетной нагрузке и годовому количеству часов ее использование по формуле.
Wг.4=Рр×Т ,
(1.14)
где
Рр – максимальная расчетная нагрузка, кВт; Тм – годовое
количество часов использования максимальной нагрузки, час.
Рр=Р1+Р2+…+Рn+Росв
(1.15)
|
|
|
|
01
ПЗ
|
Лист
|
|
|
|
|
|
где
Р1, Рn – мощности отдельных токоприемников, кВт;
Росв – мощность освещения, кВт.
Рр=6,5+65+40+12+16+5,5+1,76+1,1+10,5=158,36
кВт,
Тм=2700
(стр. 162 [3]),
Wн.и.=158,36×2700=427572 кВт×ч.
Аналогично
определяем потребность в электроэнергии для котельной, зерносклада, АВМ-0,4 и
овощехранилища.
Wг.5=(1,6+20+40+40)×2700=274320 кВт×ч,
Wг.6=(3,5+1+55)×2500=148750 кВт×ч,
Wг.7=(1,5+1,76+1+100+80)×2700=497502 кВт×ч,
Wг.8=(2,24+4+90+10,5+4,5)×2700=300348 кВт×ч.
Определяем
потребность в электроэнергии для коммунально-бытовых нужд населения,
рассчитываем умножением числа сельских жителей на годовую норму потребления
одним жителем, и результаты заносим в таблицу.
Таблица 1.12
Расчет годовой потребности
в электроэнергии
на коммунально-бытовые
нужды.
|
Потребители
|
Кол-во
|
Норма расхода кВт/чел
|
Требуется электроэнергии
кВт×ч
|
|
Жилой сектор
Культурно-бытовое
обслуживание
|
392
392
|
400
150
|
156800
58800
|
|
|
Итого
|
215600
|
Общее
годовая потребность хозяйства в электроэнергии определяем по формуле
Wг.=Wг.1+Wг.2+…+ Wг.n (1.16)
Wг.=91832+107968+7200+9681,5+427572+
+274320+148750+497502+300348+215600=2080773,5
кВт×ч.
|
|
|
|
01
ПЗ
|
Лист
|
|
|
|
|
|
1.6. Составление годового графика
ТО и ТР
1.6.1.
Характеристика электрифицированного объекта
Объектом
электрификации является ферма с доильно-молочным блоком.
Таблица
1.13
Карта учета электрооборудования.
|
Наименование
объекта,
перечень электрооборудования
|
Тех..
характеристика
оборудования
|
Ед.
измер.
|
Кол-во
|
Кол-во
месяц.
раб. в год
|
Кол-во
часов
раб. в сутки
|
|
Тип,
марка
|
Рn,
кВт
|
|
1
|
2
|
3
|
4
|
5
|
6
|
7
|
8
|
|
Ферма
Ящик вводной
Щит силовой
распределительный
Щит осветительный
Светильники
с люминесцентными лампами
Светильники
с лампами накаливания
Электропроводки выполненные кабелем на тросу F=2,5 мм2
Электропроводки выполненные кабелем на скобах F=2,5 мм2
Электропроводки выполненные проводами в трубах F=2,5 мм2
электродвигатель
магнитный пускатель
автоматический выключатель
сигнальная арматура
кнопочный пост
|
ЯВЗ-31
ПР 11
ОЩВ
ЛСП 18
НСП03
АВВГ
АВВГ
АПВ
АИР180L4У3
ПМЛ122002
ВА51Г25
АСЛ
ПКЕ622
|
–
–
–
0,13
0,1
–
–
–
4,5
–
–
–
–
|
–
–
–
–
–
–
–
–
1500
–
–
–
–
|
шт.
шт.
шт.
шт.
шт.
1 км.
1 км.
1 км.
шт.
шт.
шт.
шт.
шт
|
1
1
1
40
21
0,45
0,14
0,2
8
8
8
8
8
|
12
12
12
12
12
12
12
12
12
12
12
12
12
|
24
24
24
6
8
16
16
24
6
6
6
6
6
|
|
|
|
|
01
ПЗ
|
Лист
|
|
|
|
|
1.6.2.
Расчет объема ТО и ТР электрооборудования.
Расчет
годового объема ТО и ТР электрооборудования необходим для составления
годового графика ППРЭсх. Перед тем как преступить к расчету, нужно разделить
электрооборудование на группы, учитывая:
а)
для электродвигателя – тип ротора, мощность, частоту вращения, продолжительность
работы в сутки;
б)
для магнитных пускателей – величину;
в)
для автоматических выключателей – номинальный ток, число полюсов;
г)
для силовых и осветительных щитов – число отходящих групп;
д)
для электропроводов – площадь поперечного сечения жил, их количество, способ
прокладки.
Произведем
расчет для 1 электродвигателя мощности до 1,1 кВт с синхронной частотой
вращения 1000 мин-1. Определяем количество периодических ТО на
единицу измерения.
Nто=12/Tто, (1.17)
где Tто – периодичность ТО, месяц стр. 59 /3/.
Nто=12/3=4 мес. (принимаем 3 мес.)
Определяем
количество ТР на единицу измерения
Nтр=12/Кэкст×Tтр,
(1.18)
где
Кэкст – коэффициент экстремальности зависящий от
продолжительности работы электродвигателя в сутки стр. 60 /3/.
Tтр – периодичность ТР, месяц стр. 59
/3/
Nтр=12/1,7×2,4=0,3 мес.
Определяем
годовое число мероприятий по ТР
nтр.год.=n×Nтр (1.19)
где n – количество электрооборудования в
данной группе,
nтр.год.=1×0,3=0,3 (принимаем 1).
|
|
|
01
ПЗ
|
Лист
|
|
|
|
|
Определяем
общее годовое количество технического обслуживания
nто.год=n×Nто+(n-nтр.год)
(1.20)
nто.год=1×3+(1-1)=3.
Определяем
затраты труда на ТО
Зто=n×Hто
(1.21)
где Hто – трудоемкость в часах стр. 57 /3/,
Зто=1×0,3=0,3 час.
Определяем
затраты труда на ТР
Зтр=nтр.год.×Hтр
(1.22)
где Hтр – трудоемкость ТР (стр. 57 /3/,
Зтр=1×4=4 часа.
Расчет
остального электрооборудования производим аналогично и результаты расчетов
заносим в таблицу расчетного графика ТО и ТР электрооборудования.
|
|
|
01
ПЗ
|
Лист
|
|
|
|
|
1.6.3.
Составление годового графика ППРЭсх
На
основании периодичности ТО и ТР составляется годовой график. По его условиям
проводится планирование производства профилактических мероприятий,
определяется потребность в рабочей силе, материалах, запчастях, покупок
изделий и аппаратах.
График
составляет инженер-электрик, а утверждает руководитель хозяйства. Для
разработки графика необходимо произвести паспортизацию оборудования, проанализировать
его состояние, определить периодичность ТО и ТР, годовое число обслуживаний и
затраты рабочего времени, распределить электрооборудование по объектам и
закрепить его за отдельными электромонтерами.
При
составлении графика ТО и ТР электрооборудования необходимо:
-
ремонт основного электрооборудования закончить до наступления осенне-зимнего
периода:
-
выполнять ТО не нарушая процесса производства, то есть во время
технологических перерывов в работе:
-
объем работ на день или месяц рассчитать так, чтобы его можно было выполнить
составом работников электротехнической службы:
-
ремонты электропроводок в животноводстве планировать в летний пастбищный
период.
Годовой график ППРЭсх представлен на листе №1 графической части.
|
|
|
01
ПЗ
|
Лист
|
|
|
|
|
2. Технологическая часть
2.1. Описание существующих и обоснование
проектируемых технологий доильно-молочного блока.
Основным объектом проектирования
является доильно-молочный блок УДЕ-8 «Елочка» рис.2.1.
Здание
доильно-молочного блока по названному проекту строится либо в составе
животноводческого комплекса на 400 коров беспривязного содержания, либо как
отдельно стоящее.
В доильно-молочном блоке осуществляются доение коров на
доильной установке «елочка»
типа УДЕ-8, первичная обработка молока и кратковременное его хранение.
Коровы на доение перегоняют по скотопрогону группами по 50
голов и размещают на преддоильной площадке.
Доильная установка
«Елочка» УДЕ-8 устанавливается в специальном доильном помещении, куда коровы
приходят только для доения. На этой установке одновременно можно доить 16
коров, возможна организация поточного доения. Коровы располагаются в
групповых станках по обе стороны траншеи.
В доильное помещение
одновременно впускают и из него выпускают коров группами по 8 голов в каждой. Обслуживание коров
групповое. Чтобы доение группы коров проходило равномерно и заканчивалось
одновременно, коров, содержащихся в секциях (при беспривязном и привязном
содержании), подбирают в группы по величине разового удоя, скорости отдачи
молока, времени отела.
На «Елочке» УДЕ-8
работают одновременно две доярки. Каждая с восемью аппаратами обслуживает по
четыре коровы, в левом и правом групповых станках. Коров во время дойки
подкармливают концентратами.
На установке «елочка»
две доярки могут обслуживать стадо в 200—400 коров. Производительность при
работе — 80—86 коров в час.
|
|
|
Дп.11.2-740631
– 01.з.9эп 02 ПЗ
|
Лист
|
|
|
|
|
Доение коров —
двухразовое на одной доильной установке. После выдаивания оператор машинного
доения перегоняет собранных на последоильной площадке коров по скотопрогону в
коровник.
При доильно-молочном
блоке предусмотрен пункт искусственного осеменения коров.
Раздача концкормов при доении производится с помощью
тросошайбового транспортера, а в помещении передержки коров пункта
искусственного осеменения — ручными тележками ТУ-300; поение животных — из индивидуальных
поилок ПА-1А,
Убирают навоз с доильной площадки и в
помещении передержки
животных при помощи универсальной тележки ТУ-300 с последующим смывом полов
водой из шланга.
Основные показатели типового проекта молочно-доильного блока на одну установку
типа «Елочка» приведены в таблице 2.1.
Таблица .2.1
Основные
показатели типового проекта молочно-доильного
блока
|
Показатель
|
Значение
показателей
|
|
Трудоемкость
|
|
|
Построечные
трудовые затраты, чел.
То же на 1 м3 строительного объема
То же на
расчетный показатель
-дн.
|
1348,90
0,62
11876,74
|
|
Эксплуатационные
показатели
|
|
|
Расход воды,
м3/сут:
холодной
горячей
Канализационные стоки, м3/сут
Расход тепла,
ккал/ч
кВт
|
7,56
1,62
3,71
77520
90,24
|
|
В том числе:
на отопление
|
27 810
32,37
|
|
на горячее
водоснабжение
|
33 750
39,29
|
|
на
пароснабжение
|
15960
18,58
|
|
Потребная электрическая мощность, кВт
|
58,36
|
|
|
|
02
ПЗ
|
Лист
|
|
|
|
|
|
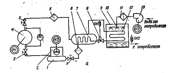
Рис. 2.1. Схема доильных установок
УДЕ-8 «Елочка»
1-вакуумный насос УВУ-60/45, 2 — молокоприемник, 3 —
молочный насос НМУ-6, 4 — молочный танк, 5 — бойлер для приготовления
горячей воды. 6 — молочный фильтр, 7 — система автоматической промывки,
8 — пластинчатый охладитель, 9 — счетчик УЗМ-1, 10—
доильный аппарат ДА-2М, 11 — вакуумный трубопровод, 12 —
молокопровод.
Молоко
– скоропортящийся продукт. Чтобы сохранить его пищевую и технологическую
ценность на возможно более длительный промежуток времени, проводят первичную
обработку молока .
К
первичной обработке молока относится:
1)
охлаждение для замедления жизнедеятельности микроорганизмов, вызывающих порчу
и скисание молока;
2) пастеризационно-тепловую
обработку, применяемую для уничтожения микроорганизмов в молоке;
3)
очистку для удаления механических и частично бактериальных примесей.
Пастеризация
молока осуществляется пастеризационно - охладительной установкой ОПФ-1-300
производительностью 1тонна молока в час. Охлаждение молока осуществляется
ледяной водой, получаемой в холодильных агрегатах.
|
|
|
02ПЗ
|
Лист
|
|
|
|
|
2.2. Расчет и выбор рабочих машин и механизмов
Свежевыдоенное
молоко имеет температуру 36…370С. Для сохранения пищевой и
технологической ценности молока, его подвергают первичной обработке.
В
технологическую линию первичной обработки молока входят устройства очистки,
пастеризации и охлаждения.
Произведем
выбор холодильных установок для охлаждения молока. На ферме 400 голов,
средний удой на одну голову 9 литров на одно доение. Поэтому общее количество
молока, подлежащего охлаждению, составит:
m = 400 * 9 = 3600л.
Расчетная
холодопроизводительность установки:
Qр = Кз*m*с*Δt / Т
(2.1)
где:
Кз –
коэффициент запаса, учитывающий потери молока, Кз=1,2…1,25 ;
m - количество
охлаждающего молока, кг;
с –
средняя удельная теплоемкость цельного молока, с=3,932 кДж/ч;
Т –
время охлаждения.
Qр = 1,2*3600*3,932*(36-6) / 5 =
101920 кДж/ч
Из
таблицы 12/3/ выбираем холодильную установку УВ-10, которая имеет
холодопроизводительность QМ = 42000
кДЖ/ч.
Определяем
количество холодильных установок:
n = Qр / QМ = 101920 / 42000 = 2,4
Принимаем
2 холодильные установки.
Дефицит
холода составит:
QД = QР - QМ
(2.2)
QД = 101920 – 84000 = 17920 кДж/ч
Это
недостающее количество холода можно получить путем намораживание льда.
|
|
|
02ПЗ
|
Лист
|
|
|
|
|
|
Необходимо наморозить:
mл = QР/rл
(2.3)
где:
rл - удельная теплота таяния льда, rл = 335 кДж/кг
mл = 17920 / 335 = 53,5 кг.
За 1 час установка УВ-10 может наморозить льда:
mм = Qм/rл = 42000 / 335 = 125,4 кг.
Очевидно,
что 53,5 кг льда установка наморозит за время:
Тл =
mл / mм = 53,5 / 125,4 = 0,43
часа.
Таким образом, две установки УВ-10 будут работать 5 часов в
режиме «Охлаждение» и 0,43 часа – в режиме «Лед».
Таблица 2.2
Техническая
характеристика холодильной установки УВ-10.
|
Производительность установки
|
2000 л/ч
|
|
Температура
молока: до охлаждения
|
36 0С
|
|
после охлаждения
|
-4 0С
|
|
Электроприводы:
компрессора
|
Р = 5 кВт
|
|
вентилятора
|
Р = 0,5 кВт
|
|
насоса
|
Р = 1,5 кВт
|
Таблица 2.3
Техническая характеристика
доильной установки УДЕ-8 «Елочка»
|
Поголовье коров
|
200 - 400
|
|
Число обслуживающего персонала
|
2 чел
|
|
Производительность установки
|
70-80 гол/ч
|
|
Число доильных станков
|
16
|
|
Кормораздатчик:
|
|
|
Производительность
транспортера
|
350 кг/ч
|
|
Объем бункера приводной
станции
|
0,6 м3
|
|
Мощность приводного двигателя
|
1.1 кВт
|
|
Число дозаторов
|
16
|
|
Марка вакуумной установки
|
УВУ-60/45
|
|
Система промывки доильной
аппаратуры
|
автоматическая
|
|
Число:
|
|
|
Доильных аппаратов ДА-2
|
16
|
|
Молочных насосов НМУ-6
|
1
|
|
Счетчиков молока
|
2
|
|
Охладителей молока
|
2
|
|
Разбрызгивателей в системе
подмывания вымени
|
8
|
|
|
|
02ПЗ
|
Лист
|
|
|
|
|
Рис.2.2
Технологическая схема
первичной обработки молока
1 – бак молока; 2 – молочный насос; 3 – фильтр; 4 –
пастеризационная установка; 5 – холодильная машина; 6 – резервуар для
хранения молока.
Выбор рабочих машин молочного блока заносим в
таблицу 2.4
Таблица 2.4
Технологическое
оборудование объекта
|
№ п/п
|
Наименование
технологической операции
|
Рабочая
машина
|
Кол-во
|
Техническая
характеристика
|
|
Производ-сть
|
Рм,
Квт
|
|
1
|
Доильная
установка
|
УДЕ-8
|
1
|
70-80
гол/час
|
|
|
2
|
Раздача
корма
|
|
2
|
350кг/час
Vб=0,6м3
|
1,1
|
|
3
|
Хранение
сухих комбикормов
|
БСК-10
|
2
|
Vб= 10м3
|
0,55
|
|
4
|
Установка
вакуум - насоса
|
2
|
60м3/час
|
4,0
|
|
5
|
Электронагреватель
|
САОС-800-90
И1
|
1
|
Вместимость
0,8 м3
|
18
|
|
6
|
Пастеризация
молока
|
ОПФ-1-300
|
1
|
1000
дм3/ч
|
4,8
|
|
7
|
Установка
омывателя вымени
|
УОВ-1-01
|
2
|
70-80
гол/час
|
-
|
|
8
|
Установка
водоохлаждающая
|
УВ-10
|
2
|
Q= 2000л/ч
|
Рм=5+0,5+1,5
|
|
9
|
Резервуар
для хранения молока
|
ТО-2
|
2
|
V= 2000л/ч
|
0,27
|
|
10
|
Насос
промывочный
|
ВСК-2/26
|
2
|
Q= 2000л/ч
|
4,0
|
|
11
|
Насос
для молока
|
36МЦ10-20
|
1
|
Q= 10000л/ч
H =20м вод.ст
|
1,5
|
|
12
|
Насос
для воды
|
2к-20/18
|
1
|
Q= 2000л/ч
|
2,2
|
|
13
|
Молочный
насос
|
НМУ-6
|
1
|
Q= 3000л/ч
H =3м вод.ст
|
1,1
|
|
14
|
Фильтр
молока
|
|
2
|
|
|
|
15
|
Бак
для моющего раствора
|
|
1
|
V= 500л
|
|
|
16
|
Обогрев
помещения
|
КЭВ 40/0,4
|
1
|
ρ = 20…1200м*М
Q= 1,4 м3/ч
|
4,0
|
|
|
|
02
ПЗ
|
Лист
|
|
|
|
|
3. специальная часть
3.1.
Расчет и выбор электродвигателей для привода рабочих машин
Электродвигатели
к рабочим машинам и механизмам выбирают по следующим параметрам:
-
напряжению, роду тока (постоянный или переменный), частоте вращения, условиям
окружающей среды, характеру и значению нагрузки.
Выбор
электродвигателей по напряжению и роду тока, как правило, однозначен, так как
электроснабжение сельских потребителей осуществляется при напряжении 380/220В
переменного тока. В большинстве случаев в качестве электропривода используют
короткозамкнутые асинхронные двигатели, т.к. они наиболее дешевы, просты и
надежны в эксплуатации.
При
выборе электродвигателей по частоте вращения нужно стремиться к тому, чтобы
частота вращения двигателя была как можно ближе к частоте вращения рабочей
машины. При несовпадении частоты вращения и электродвигателя целесообразно
применять высокоскоростные электронагреватели с соответствующей передачей.
Правильный
выбор номинальной мощности электродвигателя определяет экономическую
эффективность привода. Применение двигателя недостаточной мощности приводит к
преждевременному выходу его из строя. Использование двигателей завышенной
мощности ведет к увеличению первоначальной стоимости электропривода,
увеличения расхода электроэнергии. Мощность электродвигателя выбирают, исходя
из необходимости обеспечения пуска, преодоления всех сопротивлений во время
работы, соблюдения нормального светового режима электродвигателя.
Производим
расчетную мощность и выбор электродвигателя.
Для
вакуум – насоса УВУ – 60/45.
Для
нормальной работы доильных установок в вакуум - приводе должен поддерживаться
вакуум 5*104 Па (380 мм рт.ст.)
|
|
|
Дп.08.2-740631
– 01.з.62э 03 ПЗ
|
Лист
|
|
|
|
|
Необходимая подача
вакуум – насоса (м3/ч)
Qп = К*g*n (3.1)
где: К = 2…3 –
коэффициент, учитывающий неполную герметизацию системы;
g – расход воздуха одним доильным
аппаратом при 60 пульсациях в минуту (g = 1,8 м3/ч);
n – число доильных аппаратов в
установке.
Для установки УДЕ-8
n =16
Qп = 2,0*1,8*16
= 57,6 м3/ч
Для
стандартной вакуумной установки УВУ- 60 Q = 60 м3/ч = 0,017 м3/с
Мощность
электродвигателя для вакуум – насоса:
Рр = Q*Р / 1000*0,25*ηп* ηн (3.2)
где:
Р – требуемый вакуум, 5,3*104Па;
ηп –
КПД передачи (для ременной ηп = 0,95…0,98)
ηн –
КПД насоса (0,2…0,25)
Рр =
0,017*5,3*104 / 1000*0,25*0,96 = 3,75 кВт.
По
расчетной мощности из каталога выбираем электродвигатель с паспортной
мощностью Рн ≥ Рр.
АИР100S2У3 Рн = 4,0кВт; nн = 2850мин-1 ; Iн = 7,94 А; η
=87%; соs
φ = 0,88; Кi = 7,5; Км =
2,2; Кмин = 1,6.
Определяем
коэффициент каталожной неувязки:
Ккн = Рр / Рн (3.3)
Ккн
= 3,75 / 4,0 = 0,94
Определяем
присоединенную к сети мощность электропривода:
Рприс
= Рн / ηн = 4/0,87 = 4,6 кВт
Выбираю
коэффициент загрузки вакуум – насоса:
Кизм
= 0,7.
Определяем
коэффициент загрузки электродвигателя:
Кзд
= Ккн*Кзм = 0,94 * 0,7 = 0,66
|
|
|
03
ПЗ
|
Лист
|
|
|
|
|
Определяем потребляемую мощность
электропривода:
Рпотр = Рприс *
Кзд = 4,6*0,6 = 3 кВт.
Выбранный электродвигатель проверяю на
обеспечение надежного пуска при снижении напряжения в сети:
Мн ≥ Мн(пуск)
(3.4)
где: Мн – номинальный
момент электродвигателя, Нм
Мн = Рн*103
/ Wн = Рн*103
/ (π*nн / 30)
= 4000 / (3,14*2850/30) = 13,4 Нм.
Приведенный статический момент рабочей
машины
Мс = Рм*103
/ Wн = 3750
/ 298,3 = 12,6 Нм.
Определяем пусковой момент по условию
пуска с учетом снижения напряжения в сети:
Мн(пуск) = 1,1*Мс
/ Кмин*(U*)2 (3.5)
где: Кмин – кратность
минимального момента;
U*
- снижение напряжения в сети.
Мн(пуск) = 1,1* 12,6 /
1,6*(0,9)2 = 10,7 Нм.
Проверяем условия запуска: Мн
≥ Мн(пуск)
13,4 > 10,7 – запуск
электродвигателя при снижении напряжения в сети обеспечивается.
Выбор электродвигателей для остальных
рабочих машин заносим в таблицу 3.1
Таблица 3.1
Электроприемники объекта и
их технические характеристики
|
№
п/п
|
Технологические
операции
|
Рабочая
машина
|
Кол-во машин
|
Тип
эл. двигателя или токоприемника
|
Рн,
кВт
|
Iн, А
|
ηн
|
cosφ
|
Кi
|
nн, мин-1
|
Кзд
|
|
1
|
Резервуар
для хранения молока
|
ТО-2
|
2
|
АИР63В4У3
|
0,27
|
0,86
|
0,68
|
0,65
|
5,0
|
1370
|
0,67
|
|
2
|
Насос
промывочный
|
ВСК-2/26
|
2
|
АИР100L4У3
|
4,0
|
8,5
|
0,85
|
0,83
|
7,0
|
1410
|
0,62
|
|
3
|
Пастеризация
молока
|
ОПФ-1-300
|
1
|
|
|
|
|
|
|
|
|
|
Насос
для молока
|
36МЦ10-20
|
1
|
АИР80А2У3
|
1,5
|
3,3
|
0,81
|
0,85
|
6,5
|
2850
|
0,64
|
|
Сепаратор
– очиститель
|
ОМ-1
|
1
|
АИР80А4У3
|
1,1
|
2,75
|
0,748
|
0,81
|
5,0
|
1400
|
0,8
|
|
Насос
для воды
|
2К20/18
|
1
|
АИР90L4У3
|
2,2
|
5,0
|
0,8
|
0,83
|
6,0
|
1425
|
0,7
|
|
4
|
Молочный
насос
|
НМУ-6
|
1
|
АИР71В2У3
|
1,1
|
2,5
|
0,775
|
0,87
|
5,5
|
2810
|
0,8
|
|
5
|
Установка
вакуумная
|
УВУ-60/45
|
2
|
АИР100L4У3
|
4,0
|
8,5
|
0,84
|
0,85
|
6,5
|
1420
|
0,66
|
|
6
|
Электронагреватель
|
САОС-800-90-И1
|
1
|
ТЭНЫ
|
18
|
27,38
|
-
|
-
|
-
|
-
|
1
|
|
7
|
Хран. сухих комбикормов
|
БСК-10
|
2
|
АИР71В6У3
|
0,55
|
1,75
|
0,675
|
0,71
|
4,0
|
920
|
0,8
|
|
8
|
Раздача
кормов
|
-
|
2
|
АИР80А4У3
|
1,1
|
2,75
|
0,748
|
0,81
|
5,0
|
1400
|
0,6
|
|
9
|
Установка
водоохлажд-я
|
УВ-10
|
2
|
|
|
|
|
|
|
|
|
|
Компрессор
|
|
2
|
АИР112М4У3
|
5,5
|
11,5
|
85,5
|
0,85
|
7,0
|
1450
|
0,9
|
|
Вентилятор
|
|
2
|
АИР71А4У3
|
0,55
|
1,7
|
70,5
|
0,7
|
4,5
|
1390
|
0,9
|
|
Насос
|
|
2
|
АИР80А2У3
|
1,5
|
3,3
|
81
|
0,85
|
6,5
|
2850
|
0,9
|
|
10
|
Обогрев
помещения
|
Кэв 40 /0,4
|
1
|
|
40
|
60,85
|
-
|
-
|
-
|
-
|
1
|
|
|
|
03
ПЗ
|
Лист
|
|
|
|
|
3.2. Проектирование осветительных установок
При
разработке светотехнической части проекта осветительной установки следует
придерживаться следующей последовательности:
Ø выбор источника света;
Ø выбор нормируемой освещенности и
коэффициента запаса;
Ø выбор системы и вида освещения;
Ø выбор осветительных приборов;
Ø размещение светильников в
освещаемом пространстве;
Ø светотехнический расчет
осветительной установки.
Выбор
источников света определяется технико-экономическими показателями и
производится по рекомендациям СНиП-4-79 «Естественное и искусственное
освещение. Нормы проектирования» и «Отраслевых норм освещения
сельскохозяйственных предприятий, зданий и сооружений».
Нормируемую
освещенность рабочих поверхностей можно определить по СНиП-4-79 в зависимости
от характеристики зрительных работ, наименьшего размера объекта различия,
контраста объекта различения с фоном и характеристики фона.
Уменьшение
освещенности в расчетах установленных источников учитывается коэффициентом
запаса (Кз), значение которого зависит от наличия пыли, дыма, копоти в
рабочей зоне помещения, от конструкции светильников, типа источников света и
периодичности чистки светильников.
Выбор
системы освещения зависит от уровня нормируемой освещенности рабочих
поверхностей. Наиболее распространенной, в сельскохозяйственном производстве
система общего равномерного освещения. Комбинированную систему освещения
применяют при нормированной освещенности более 200 лк, СНиП II-4-79 рекомендуют следующие виды
освещения: рабочее, аварийное, эвакуационное, охранное и дежурное.
|
Лист
|
|
|
|
|
Рабочее
освещение предусматривают для всех помещений зданий, а также участков
открытых пространств, предназначенных для работы, прохода людей и движение
транспорта.
Выбор
светильников определяется видом источника излучения, назначением,
требованиями к характеру светораспределения и ограничения слепящего действия,
эксплуатационной группой и экономической целесообразностью.
I.
Расчет
освещения доильного зала произвожу точечным методом.
Размеры
помещения: А=17 м, В=12 м; Н=2,7 м.
Потолок
и стены доильного зала побелены – светлые. Помещение относится к категории
сырых помещений, относительная влажность составляет 75%.
Источником
света выбираем люминесцентные лампы, поскольку отраслевые нормы НТП с/х
рекомендуют применять эти источники для общего освещения всех
производственных освещений.
Люминесцентные
лампы по сравнению с лампами накаливания имеют более мягкий спектр излучения,
в 4…5 раз большую световую отдачу, более длительный срок службы, меньше
потребляют электрической энергии.
Учитывая
условия окружающей среды, характер светораспределения принимаем к установке
светильник ЛСП18-2 Х 58 с лампами ЛБ58, прямого светораспределения и
размерами lсв = 1630мм, Фл = 4800лм.
Принимаем
систему общего равномерного освещения, поверхность, в которой формируется
освещенность – пол. По СНиП принимаем нормированную освещенность Ен = 75лк, с
97. /1/
Определяем
расчетную высоту подвеса светильников:
hр = Н0 - hс - hрп (3.6)
где:
Н0 – высота помещения (м); hс - свес светильника (м); hрп – высота рабочей поверхности.
|
|
|
03
ПЗ
|
Лист
|
|
|
|
|
hр = 2,7 – 0,2 – 0 = 2,5 м
Принимаем
светотехнически наивыгоднейшее расстояние между рядами светильников λ =
1,6…1,8 и определяем расстояние между рядами светильников.
LВ = λ * Нр
(3.7)
LВ = (1,6…1,8)*2,5 = (4…4,5) м
Принимаем
LВ = 4м и определяем количество рядов
светильников:
m = В / LВ
(3.8)
где:
В – ширина помещения, м
m = 12/4 = 3
ряда.
 Наносим ряды светильников на план помещения
Расчет
освещения ведем по точке А, находящейся в конце светящегося ряда на
расстоянии 1 м от крайнего ряда. Р1 = 1м.
L1' = L2' = L3' = L / hр
(3.9)
L1' = L2' = L3' = 13/2,5 = 5,2
Р1'
= Р1/ hр= 1 / 2,5 = 0,4;
Р2'
= Р2/ hр= 5 / 2,5 = 2;
Р3' = Р4/
hр= 9 / 2,5 = 3,6.
|
|
|
03
ПЗ
|
Лист
|
|
|
|
|
|
По
значениям L1' и Р1' на графике
линейных изолюкс для светильника ЛСП18 – 2Х58 определяем освещенность в
расчетной точке А от каждого ряда.
Е1= 115лк, Е2=
20лк, Е3= 4лк с.107/1/
Определяем
расчетную плотность светового потока:
Ф' = 1000* Еmin*Kз*Нр / μ * ΣЕ (3.10)
Ф' =
100*75*1,3*2,5 / 1,1*139 = 1594,2 лм
Расчетный
световой поток ряда (светящейся линии):
Ф = Ф'*L (3.11)
Ф =
1594,2 * 13 = 20 724 лм
Число
светильников в ряду:
nа = Ф / Фл * nи (3.12)
где:
Фл – световой поток лампы;
nи - число источников света в
светильнике.
nа = 20724 / 4800*2 = 2,2 шт.
Принимаем
3 светильника в ряду.
Суммарная
длина светильников в ряду:
lΣсв = lсв * n = 1,63*3 = 4,89 м
Расстояние
между светильниками в ряду:
lа= А- 2*lст / nа – 1 (3.13)
где:
lст – расстояние от стены до первого
светильника, м
lа= 17 – 2
* 1 / 3 – 1 = 7,5 м
Установленная
мощность на освещение:
Руст = Рл * NΣ * nи (3.14)
где:
Рл - мощность одной лампы;
NΣ – суммарное количество
светильников в помещении.
Руст
= 58*2*9 = 1, 044 кВт.
На
доильной площадке дежурное освещение не требуется, так как животные находятся
там только на время дойки, когда включено рабочее освещение.
|
|
|
03
ПЗ
|
Лист
|
|
|
|
|
|
II. Расчет
освещения методом удельной мощности в коридоре доильно-молочного
блока.
Этот метод применяется
для расчета освещения в помещениях, где к нему не предъявляются особые методы.
Расчет производим в
следующей очередности:
Выбираем коэффициент
отражения сен, потолка, пола
Ρп
– 50 %;
Ρс
– 30 %;
ρр
– 10 %;
Рассчитываем
расчетную высоту подвеса:
Н расч = Нп - hcв - hн (3.15)
Н расч
= 2,7 – 0 – 0 = 2,7 м
Определяем
площадь помещения по наружному обмеру:
S = 9 м2
Определяем
по таблицам удельную мощность освещения:
Руд
= 1,3
Определяем
расчетное значение удельной мощности:
Р′ = Руд * k1* k2* k3* k4 (3.16)
где:
Руд
– табличное значение; (18,4)
k1 – коэффициент приведения
коэффициента запаса к табличному
k1 = Кз/Кз табл ; k1 = 1,5/1,3 = 1,15
k2 - коэффициент приведения
коэффициента отражения к табличному; /1/
k3 - коэффициент приведения
освещенности помещения к табличному; /18,4/
k4 - коэффициент приведения
напряжения питания к табличному; /1/
Подставляем
значение и определяем удельную мощность:
Р′уд
= 18,4 * 1,15 * 1 * 1 = 21,16
Определяем
расчетную мощность осветительных приборов:
Рр = Р′уд * s = 21,16 *
9 = 190,44 Вт (3.17)
|
|
|
03
ПЗ
|
Лист
|
|
|
|
|
Определяем
число осветительных приборов:
N = Рр/Рсв = 190,44/100 = 1,9 ≈ 2
(3.18)
Расчет
освещения в остальных помещениях проводим аналогично.
Расчет
осветительных установок для других помещений заносим в таблицу 3.2
Таблица 3.2
Сводная таблица по расчету освещения
|
№ п/п
|
Наименование помещения
|
Площадка, м2
|
Нормируемая освещенность, Ен, лк
|
Тип автоматического прибора (светильника)
|
Кол-во осветительных приборов (ОП)
|
Мощность осветительного прибора Р,Вт
|
Установленная мощность на
освещение Руст, кВт
|
|
1
|
Доильный зал
|
204
|
75
|
ЛСП18-2Х58
|
9
|
116
|
1,044
|
|
2
|
Молочно-моечная
|
170
|
75
|
ЛСП18-2Х58
|
6
|
116
|
1,392
|
|
3
|
Молочная лаборатория
|
20,2
|
50
|
ЛСП-2х40
|
2
|
80
|
0,32
|
|
4
|
Помещение для моющих средств
|
15,7
|
30
|
ЛСП -2х40
|
1
|
80
|
0,32
|
|
5
|
Машинное отделение
|
60
|
50
|
ЛСП-2х40
|
4
|
80
|
0,64
|
|
6
|
Преддоильная площадка
|
72
|
75
|
ЛСП18-2Х58
|
3
|
116
|
0,696
|
|
7
|
Последоильная площадка
|
170
|
75
|
ЛСП18-2Х58
|
3
|
116
|
0,696
|
|
8
|
Помещение для кормораздатчика
|
15
|
30
|
НСП 21
|
1
|
100
|
0,1
|
|
9
|
Тепловой узел
|
16
|
30
|
НСП 21
|
2
|
100
|
0,2
|
|
10
|
Электрощитовая
|
16
|
30
|
НСП 21
|
2
|
100
|
0,2
|
|
11
|
Помещение для передержки животных пункта искусственного
осеменения
|
37
|
50
|
ЛСП-2х40
|
3
|
80
|
0,32
|
|
12
|
Пункт искусственного осеменения
|
45
|
50
|
ЛСП-2х40
|
3
|
80
|
0,32
|
|
13
|
Моечная пункта искусственного осеменения
|
44
|
50
|
ЛСП-2х40
|
4
|
80
|
0,64
|
|
14
|
Фуражная и инвентарная
|
12
|
30
|
НСП 21
|
2
|
100
|
0,2
|
|
15
|
Коридор
|
9
|
30
|
НСП 21
|
2
|
100
|
0,2
|
|
16
|
Коридор
|
16
|
30
|
НСП 21
|
2
|
100
|
0,2
|
|
17
|
Загон
|
150
|
30
|
НСП 21
|
4
|
100
|
0,4
|
|
18
|
Выгон
|
160
|
30
|
НСП 21
|
5
|
100
|
0,5
|
|
|
|
03
ПЗ
|
Лист
|
|
|
|
|
|
3.3. Выбор и расчет пускозащитной аппаратуры
Аппараты
управления предназначены для выключения, отключения и переключения
электрических цепей и электроприемников, регулирования частоты вращения и
реверсирования электродвигателей, регулирования параметров силовых,
осветительных, нагревательных и др. электроустановок.
Защитные
аппараты предназначены для отключения электрических цепей при возникновении в
них ненормальных режимов (КЗ, значительные перегрузки, резкие понижения
напряжения).
Аппараты
пуска и защиты выбираются по ряду параметров, основные из которых номинальный
ток и напряжение. Кроме того аппараты выбираются по климатическому исполнению
(ГОСТ 15543-70), по степени защиты от воздействий окружающей среды (ГОСТ
14254 - 69) и другим параметрам в зависимости от назначения аппарата
(предельный отключаемый ток КЗ, электродинамическая устойчивость, разрывная
мощность и износоустойчивость контактов)
От
правильного выбора пускозащитной аппаратуры в большей мере зависит надежность
работы и сохранность оборудования в целом, численные, качественные, и
экономические показатели производственного процесса, электробезопасность
людей и животных.
Производим
расчет и выбор аппаратуры управления и защиты для водоохлаждающей установки
УВ-10.
|
|
|
03
ПЗ
|
Лист
|
|
|
|
|
Схема
включения:
Насос :
Рн = 1,5 кВт
Iн
= 3,3 А
Кi = 6,5
Вентилятор:
Рн = 0,55 кВт
Iн
= 1,7 А
Кi = 4,5
Компрессор:
Рн = 5,5 кВт
Iн
= 11,5 А
Кi =
7,0
1. Выбор
автоматического включателя QF1.
Автоматические
выключатели выбираются по условиям:
Uна≥ Uну (3.19)
Iна ≥ Iну (3.20)
где:
Uна и Iна – номинальное напряжение и ток аппарата;
Uну и Iну – номинальное значение
напряжения и тока электроустановки;
Определяем
ток теплового расцепителя:
Iт.р. ≥ 1,1*IΣ раб (3.21)
где:
IΣ раб – суммарный расчетный ток
электроустановки.
IΣ раб = Кзд * Iн (3.22)
где:
Кзд – коэффициент загрузки электродвигателя
Iт.р. ≥
0,9 (11,5 + 1,7 + 3,3) = 14,85 А
Принимаем
автоматический выключатель ВА51Г25
Iн.а = 25А;
I н.р. = 16А.
Проверяем
выбранный автоматический выключатель на ложные срабатывания при пуске
электродвигателя.
Iэ.р. = 1,25*Iмакс
где:
Iмакс – максимальный ток электроустановки.
|
|
|
03
ПЗ
|
Лист
|
|
|
|
|
Iмакс = Iпуск.б + К0*ΣIр(n-1) (3.23)
где:
Iпуск.б – пусковой ток наибольшего по
мощности электродвигателя;
К0
– коэффициент одновременности работы электродвигателей;
ΣIр(n-1) – сумма рабочих токов остальных
электродвигателей.
Iмакс = Кi * Iн + 1(1,7+3,3) = 11,5 * 7 + 5 = 85,5А
Iэ.р. = 1,25 *
85,5 = 106,9А
Каталожное
значение тока электромагнитного расцепителя.
Iэ.к. = 10 * Iнр = 10 * 16=160А
Iэ.к. = Iэ.р
2.
Выбор электромагнитных пускателей.
Электромагнитные
пускатели выбирают по:
-
номинальному напряжению катушки;
- по
исполнению;
- по
требованию реверса и тепловой защиты;
- по
номинальному току.
Iнп = 25А
Принимаем
магнитный пускатель ПМЛ-221002 Iнп
= 25А.
Проверяем
магнитный пускатель по условию коммутации:
Iнп ≥
(11,5 + 1,7) = 13,2 А
Магнитный пускатель
ПМЛ-221002 Iнп = 25А по условию коммутации
подходит.
Iнп ≥ 3,3
А
Принимаем
магнитный пускатель ПМЛ-121002 Iнп
= 10А
3. Выбор
тепловых реле:
Iн.р ≥ 1.1 Iн.у (3.24)
Iн.р ≥ 1,1 * 1,7 = 1,87
А РТЛ-100704 Iн.т = 2А
Iн.р ≥ 1,1
* 3,3 = 3,63 А РТЛ-101004 Iн.т = 5А
|
|
|
03
ПЗ
|
Лист
|
|
|
|
|
|
Таблица
3.3
Пусковая и
защитная аппаратура
|
Станция управления
|
Защитный аппарат от токов короткого замыкания
|
Пусковой аппарат
|
Электроприемник
|
Рабочая машина
|
|
Схема
|
Тип, марка
|
Ток расцепителя
Iнр А, Iпл.вс А
|
Тип
|
Защитный аппарат
|
Рн
кВт
|
Iн
А
А
|
|
Тип
|
Ток Iн
|
|
|
|
ВА51Г25
|
16
|
ПМЛ-221002
|
|
|
5,5
|
11,5
|
80,5
|
УВ-10 компрессор
|
|
|
|
|
|
РТЛ100704
|
2
|
0,55
|
1,7
|
7,65
|
Вентилятор
|
|
|
|
|
ПМЛ121002
|
РТЛ101004
|
5
|
1,5
|
3,3
|
21,45
|
Насос
|
|
|
|
ПП31-29
|
32
|
ПМЛ223002
|
РТЛ101604
|
12,0
|
5,5
|
10,5
|
78,75
|
УВУ-60/45
|
|
|
|
ВА51Г25
|
12,5
|
ПМЛ121002
|
-
|
-
|
0,25
|
0,86
|
5,59
|
Резервуар для хранения молока
|
|
|
|
|
ПМЛ121002
|
-
|
-
|
1,0
|
8,5
|
59,5
|
Насос промывочный
|
|
|
|
ВА51Г31
|
32
|
ПМЛ321002
|
-
|
|
|
|
|
САОС-800/90 эл. водонагреватель
|
|
|
|
ВА51Г25
|
16
|
ПМЛ121002
|
РТЛ10004
|
5,0
|
1,5
|
3,3
|
21,45
|
ОПФ-1-300М
Насос для молока
|
|
|
|
|
ПМЛ121002
|
РТЛ100804
|
3,2
|
1,1
|
2,75
|
13,75
|
Сепаратор очиститель
|
|
|
|
|
ПМЛ121002
|
РТЛ100004
|
5,0
|
2,2
|
5,0
|
30
|
Насос для воды
|
|
|
|
ПРС - 6
|
6
|
ПМЛ121002
|
РТЛ100504
|
3,2
|
1,1
|
2,75
|
13,75
|
Молочный насос НМУ-6
|
|
 
|
|
ПН2-100
|
80
|
ПМЛ 421002
|
РТЛ206304
|
71,5
|
40
|
60,85
|
-
|
Котел КЭВ-40/0,4
|
|
|
|
03
ПЗ
|
Лист
|
|
|
|
|
|
3.4
Расчетная
мощность на вводе
Расчетные
нагрузки на вводах в отдельные здания и сооружения сельхоз назначения
определяют согласно рекомендациям руководящих материалов по проектированию
электроснабжения сельского хозяйства (РУМ-11-81) одним из следующих методов.
1.
Метод построения сменного или суточного графика электрических нагрузок. Им
пользуются в тех случаях, когда точно известен распорядок работы предприятия,
электроприемники которого действуют в длительном режиме.
2.
При отсутствии технологического графика работы оборудования расчетную
нагрузку определяют по формуле:
n m
Рр = Σ * Ру*Кз
/ η + Σ * Рук * Кз * t / 0,5 * η (3.25)
1
1
где: Ру – установленная
мощность электроприемника, работающего более 0,5ч*кВт;
Кз – средний коэффициент
загрузки электроприемника;
η – КПД электроприемника;
Рук – установленная
мощность каждого из m электроприемников, работающих во время максимума
менее 0,5ч*кВт;
t – длительность непрерывной работы каждого из
электроприемников.
3.
Метод упорядоченных диаграмм эффективного числа электроприемников.
Для
определения максимальной нагрузки на вводе молочного блока пользуемся методом
построения суточного графика электрических нагрузок.
Сначала
составляют сменный технологический график работы предприятия с указанием
операций, типов машин, мощностей электроприемников, значений потребляемых
мощностей.
Потребляемая
мощность электродвигателя, кВт.
Рпотр = Рн*Кзд / η
(3.26)
где: Рн – номинальная
мощность электродвигателя на вводе;
Кзд – средний коэффициент
загрузки электродвигателя;
η – КПД электродвигателя.
|
|
|
03
ПЗ
|
Лист
|
|
|
|
|
Таблица
3.4
Сменный технологический график работы доильно –
молочного блока
|
№
п/п
|
Технологические
операции
|
Рабочая
машина
|
Рн,
кВт
|
ηн
|
Кзд
|
Рпотр,
кВт
|
Длительность
рабочей смены,ч
|
|
1
|
Резервуар для хранения молока
|
ТО-2
|
0,27
|
0,68
|
0,67
|
2 х 0,25
|
10
|
|
2
|
Насос промывочный
|
ВСК-2/26
|
4,0
|
0,85
|
0,62
|
2 х 2,9
|
0,7
|
|
3
|
Пастеризация молока
Насос для молока
|
ОПФ-1-300
36МЦ10-20
|
1,5
|
0,81
|
0,64
|
1,2
|
2
|
|
4
|
Сепаратор – очиститель
|
ОМ-1
|
1,1
|
0,748
|
0,8
|
1,18
|
2
|
|
5
|
Насос для воды
|
2К20/18
|
2,2
|
0,8
|
0,7
|
1,93
|
2
|
|
6
|
Молочный насос
|
НМУ-6
|
1,1
|
0,775
|
0,8
|
1,14
|
2
|
|
7
|
Установка вакуумная
|
УВУ-60/45
|
4,0
|
0,84
|
0,66
|
2 х 3,14
|
2
|
|
8
|
Электро-нагреватель
|
САОС-800-90-И1
|
18
|
-
|
1
|
18
|
6
|
|
9
|
Хран. сухих комбикормов
|
БСК-10
|
0,55
|
0,675
|
0,8
|
2 х 0,65
|
24
|
|
10
|
Раздача кормов
|
-
|
1,1
|
0,748
|
0,6
|
2 х 0,9
|
2
|
|
11
|
Установка водоохлажд-я
|
УВ-10
|
5,5
|
85,5
|
0,9
|
2 х 5,8
|
8
|
|
а)
Компрессор
|
|
б)
Вентилятор
|
0,55
|
70,5
|
0,9
|
2 х 0,7
|
8
|
|
в)
Насос
|
1,5
|
81
|
0,9
|
2 х 1,67
|
8
|
|
12
|
Рабочее освещение
|
|
6,2
|
|
|
6,2
|
8
|
|
13
|
Обогрев помещения
|
Кэв 40 /0,4
|
40
|
-
|
1
|
40
|
8
|
|
|
1
|
2
|
3
|
4
|
5
|
6
|
7
|
8
|
9
|
10
|
11
|
12
|
13
|
14
|
15
|
16
|
17
|
18
|
19
|
20
|
21
|
22
|
23
|
24
|
|
1
|
|
|
|
0,5
|
|
|
|
|
|
|
|
|
|
|
|
|
|
|
|
|
|
0,5
|
|
|
|
2
|
|
|
|
|
|
|
|
|
5,8
|
|
|
|
|
|
|
|
|
|
|
|
|
|
|
|
|
3
|
|
|
|
|
|
|
1,2
|
|
|
|
|
|
|
|
|
|
|
|
|
|
1,2
|
|
|
|
|
4
|
|
|
|
|
|
|
1,18
|
|
|
|
|
|
|
|
|
|
|
|
|
|
1,18
|
|
|
|
|
5
|
|
|
|
|
|
|
1,93
|
|
|
|
|
|
|
|
|
|
|
|
|
|
1,93
|
|
|
|
|
6
|
|
|
|
|
|
1,14
|
|
|
|
|
|
|
|
|
|
|
|
|
|
1,14
|
|
|
|
|
|
7
|
|
|
|
|
|
6,28
|
|
|
|
|
|
|
|
|
|
|
|
|
|
6,28
|
|
|
|
|
|
8
|
|
|
|
|
18
|
|
|
|
|
|
|
|
|
|
|
|
|
|
|
|
|
|
|
|
|
9
|
|
|
|
|
|
1,3
|
|
|
|
|
|
|
|
|
|
|
|
|
|
1,3
|
|
|
|
|
|
10
|
|
|
|
|
|
1,8
|
|
|
|
|
|
|
|
|
|
|
|
|
|
1,8
|
|
|
|
|
|
11а
б
в
|
|
|
|
|
|
|
|
11,6
|
|
|
|
|
|
|
|
|
|
|
|
|
|
|
|
|
|
|
|
|
|
|
|
1,4
|
|
|
|
|
|
|
|
|
|
|
|
|
|
|
|
|
|
|
|
|
|
|
|
3,34
|
|
|
|
|
|
|
|
|
|
|
|
|
|
|
|
|
|
12
|
|
|
|
|
|
|
|
|
|
|
|
|
|
|
|
|
|
|
13
|
|
|
|
|
40
|
|
|
|
|
|
|
|
|
40
|
|
|
|
|
|
|
|
|
|
|
На
основании данных сменного технологического графика работы предприятия строят
график электрических нагрузок.
|
|
|
03
ПЗ
|
Лист
|
|
|
|
|
|
График электрических нагрузок.
Из
графика электрических нагрузок видно, что максимум нагрузок Рмакс=81,7кВт
длится в течении часа, поэтому эту мощность принимаем за расчетную.
Расчетная
(полная) мощность:
Sрасч = Рмакс / cosφ
(3.27)
где:
cosφ – коэффициент мощности на
вводе данного потребителя при максимальной
мощности. сosφ = 0,75. с128 /1/
Sрасч = 81,7 / 0,75 = 108,9 кВА
Iр = Sр / √3 * Uн (3.28)
где:
Uн – номинальное напряжение на вводе
потребителя, кВ
Iр = 108,9 /
1,73 * 0,38 = 164,7 А
Сечение
провода выбираем по допустимому нагреву.
Iдоп ≥ Iр
(3.29)
Iдоп ≥
164,7 А Iдоп = 165
А F = 70мм2
Ввод
в здание молочного блока выполняем проводом АПВ-4 (1Х70) в трубе.
|
|
|
03
ПЗ
|
Лист
|
|
|
|
|
3.5
Выбор распределительных устройств, проводов и кабелей внутренних
электрических сетей. Составление принципиальной схемы
При
проектировании внутренних электропроводок важно выбрать наилучшую схему.
Внутренние
электропроводки должны быть надежными, удобными и доступными для
эксплуатации, иметь наименьшую протяженность, соответствовать условиям
окружающей среды. Обеспечивать электробезопасность людей и
сельскохозяйственных животных, пожара и взрывобезопасны.
Силовые
проводки производственных помещений рекомендуется выполнять кабелями типа
АВРГ, АВВГ, АНРГ, прокладывать на скобах, тросах, лотках или панелях пола.
В
пожароопасных помещениях рекомендуется применять провода типа АПВ и АПРГО,
прокладывать в стальных трубах.
Для
питания электроприемников в помещениях устанавливают распределительные
пункты, располагая их в удобных для обслуживания местах, ближе к центру
электрических нагрузок.
Для
питания силовых потребителей используют распределительные пункты ПР11, Пр24 комплектуемые автоматическими
выключателями, и ШР-11 комплектуемые предохранителями.
Составляем
эскиз принципиальной схемы внутренних электропроводок.
|
|
|
03
ПЗ
|
Лист
|
|
|
|
|
|
Эскиз принципиальной схемы
|
|
|
03
ПЗ
|
Лист
|
|
|
|
|
Учитывая,
количество отходящих групп для питания силовых потребителей, принимаем
силовой распределительный пункт ПР11-7124, рассчитанный на 12 групп: Uн = 380 В, Iн = 567А.
Для
питания осветительных сетей принимаем осветительный щиток ЯРН 8501-
4015, рассчитанный на 8 групп из них: 6 групп – однофазные автоматические
выключатели ВА1426-14, и две группы трехфазные - ВА1426-14. на вводе щитка
автоматический выключатель ВА51-Г31.
В
качестве вводного устройства принимаем вводной ящик ЯВЗ-32, трехполюсный на
ток 250А.
|
|
|
03
ПЗ
|
Лист
|
|
|
|
|
|
3.6 Расчет
внутренних силовых электроустановок
Силовые потребители на плане помещения
размещаем согласно установке технологического оборудования. Затем производим компоновку
силовых электропроводок и подключаем группы к силовому распределительному
устройству.
Расчет силовой сети производим для
группы № 8 (№ 9). Группу питают электродвигатели водоохлаждающей установки
УВ-10.
Исходные данные:
ВА51Г25
1. Выбор сечения провода для
ответвлений от пускового устройства до электродвигателя.
Электропривод компрессора.
1) Iдоп ≥ Iр;
Iдоп ≥ 11,5А; Iдоп = 19А;
F = 2,5мм2
Ответвление к электроприводу
компрессора прокладываем проводом АПВ-3Х2,5 в трубе.
2) Iдоп
≥ Кза * Iза
(3.30)
Iдоп ≥ 1 * 16 = 16А; Iдоп
= 19А; F = 2,5мм2
Так, как расчетные токи электропривода
вентилятора и насоса меньше, то ответвление к их электроприводам прокладываем
таким же проводом АПВ-3Х2,5 в трубе.
2. Выбор сечения для групповой линии.
Iдоп ≥ IΣр (3.31)
Iдоп ≥ (11,5 + 1,7+3,3) = 16,5А
По 1-му условию Iдоп
= 19А; F = 2,5мм2
Iдоп ≥ Кз*Iз (3.32)
Выбираем ток теплового расцепителя на
данной группе:
Iт.р. ≥ Кза*Iза = 1
* 20 = 20А
Принимаем автоматический выключатель
ВА51Г31
Iна = 100А; Iн.р = 20А
По 2-му условию, (3.30)
Iдоп ≥ Кза * Iза = 1 * 20
= 20А
Iдоп = 20А; F = 4 мм2
Групповую линию для группы № 8 (№ 9)
прокладываем кабелем АНРГ-1 (4Х4,0) с креплением скобами к стене.
Для остальных групповых линий
рассчитываем провода аналогично.
|
|
|
03
ПЗ
|
Лист
|
|
|
|
|
3.7
Расчет внутренних осветительных электропроводок
Для
питания электроприемников в помещениях устанавливают распределительные
пункты, располагая их в удобных для обслуживания местах, вблизи к центру
электрических нагрузок. Для питания силовых потребителей используют
распределительные пункты серии ПР11, ПР24, ШР-11, ПР8500.
Распределительное
устройство выбирают по напряжению, типу, защищенности от воздействия
окружающей среды, количеству и типу автоматов, предохранителей.
Данный
раздел выполняем в следующем порядке: Производим компоновку всех внутренних
осветительных установок по группам. Производим расчетную таблицу осветительной
сети, исходя из количества групп, выбираем тип распределительного устройства.
Перед
расчетом внутренних осветительных электропроводок располагаем светильники на
плане помещения согласно светотехнического расчета. Разбиваем осветительные
приборы на группы и производим расчет.
Определяем
расчетные мощности групп:
Рр = Рл * nа * nи
(3.33)
где:
Рл – мощность источника света, Вт;
nа – количество осветительных
приборов в группе;
nи – количество источников света в
осветительном приборе.
Р1
= 15 х 2 х 58 = 1740 Вт;
Р2
= 6 х 2 х 58 = 696 Вт;
Р3
= 7 х 2 х 40 = 560 Вт;
Р4
= 10 х 2 х 40 = 800 Вт;
Р5
= 8 х 1 х 100 = 800 Вт;
Р6
= 9 х 1 х 100 = 900 Вт;
Определяем
расчетные токи группы.
Для
однофазной линии с люминесцентными лампами:
Iр = 1,25 Р1 / Uф * соsφ
(3.34)
|
|
|
03
ПЗ
|
Лист
|
|
|
|
|
|
где:
Uф – фазное напряжение сети, В.
соsφ – коэффициент мощности,
(0,9)
IР1 = 1,25* 1740 / 220*0,9 = 2175 /
198 = 10,9 А;
IР2 = 1,25* 696 / 220*0,9 = 4,3 А ;
IР3 = 1,25* 560/ 220*0,9 = 3,5 А ;
IР4 = 1,25* 800 / 220*0,9 = 5,05 А;
Для
однофазных линий с лампами накаливания:
Iр = Ргр / Uф (3.35)
Iр5 =
800/ 220 = 3,6 А;
Iр6 =
900 / 220 = 4,09 А.
Производим
расчет и выбор тепловых расцепителей на каждую группу.
Ток
теплового расцепителя:
Iт.р ≥ 1,1 * Iр (3.36)
Гр.1:
Iт.р ≥1,1*10,9 = 11,99
А; Iн.р.
= 12 А;
Гр.2:
Iт.р ≥1,1*4,3 = 4,73
А; Iн.р.
= 6 А;
Гр.3:
Iт.р ≥1,1*3,5 = 3,85
А; Iн.р.
= 6 А;
Гр.4:
Iт.р ≥1,1*5,05 = 5,55
А; Iн.р.
= 6 А;
Гр.5:
Iт.р ≥1,1*3,6 = 3,96 А;
Iн.р. = 6 А;
Гр.6:
Iт.р ≥1,1*4,09 = 4,5
А; Iн.р.
= 6 А;
Выбор
сечения жил ведем по двум условиям:
а) по
допустимому току нагрева Iдоп
≥ Iр;
б)
по условию соответствия аппарата защиты Iдоп ≥ Кз * Iз
Выбор
сечения жилы кабеля производим для самой загруженной группы № 1.
а)Iдоп ≥ 11,99А;
б) Iдоп ≥ 1 * 12 ≥ 12А.
Выбираем
Iдоп = 19А; F=2,5мм2 с.122 /1/
Осветительные
сети прокладываем проводом АВТС-2х2,5 скобами к стене.
Для
остальных групп рассчитываем провода аналогично, результаты заносим в расчетную
схему сети освещения. Таблица 3.5
|
|
|
03
ПЗ
|
Лист
|
|
|
|
|
Расчетная
мощность на вводе щитка:
Рр =
Р1 + Р2 + Р3 + Р4 + Р5
+ Р6 = 5,5 кВт.
Расчетный
ток на вводе щитка:
Ip = 1,25(Р1
+ Р2 + Р3+ Р4) / √3-Uл *соsφ + (Р5 + Р6) / Uл *соsφ =
=
(1,25*3796 / 581,66) + (900 / 657,4) = 8,16 + 1,37 = 9,53 А.
Таблица
3.5
Расчетная
схема сети освещения
Учитывая, количество отходящих групп
для питания силовых потребителей, принимаем силовой распределительный пункт
ЯОУ – 8501, рассчитанный на 6 групп. Способ установки на стене.
|
|
|
03
ПЗ
|
Лист
|
|
|
|
|
|
3.8
Разработка спецвопроса.
Охлаждение
сельскохозяйственных продуктов и хранение их при низкой температуре позволяет
сохранить их естественные качества и витамины в них, жизненные процессы и
уменьшаю потери, увеличивают сроки сохранности ценных питательных свойств
молока.
Для
охлаждения молока выбрана холодильная установка УВ-10.
Технологическая схема установки.
Установка УВ-10 состоит
из компрессора 4 с электроприводом М 1, воздушного конденсатора
2 с приводом вентилятора М2, ресивера 1, теплообменника
7 со встроенным в него осушителем-фильтром 6, терморегулирующего
вентиля 8, оросительного змеевикового испарителя 12, размещенного
в баке 9, холодоносителя с оросителем 10, центробежного насоса 13
для перекачки холодоносителя, фильтров 5,6 и 11 и вентилей 5.
Установка работает по
двум замкнутым контурам: по холодильному агенту и по хладоносителю (воде).
Первый контур работает следующим образом. Компрессор 4 отсасывает
пары хладагента из испарителя 12, сжимает их и нагнетает в конденсатор
2, где хладагент охлаждается и конденсируется за счет теплообмена с
воздухом, прогоняемым вентилятором М2. Жидкий хладагент скапливается в
ресивере 1, а затем проходит через фильтр-осушитель 6 и
теплообменник 7.
|
|
|
03
ПЗ
|
Лист
|
|
|
|
|
В фильтре 6 он освобождается от влаги и грязи, а в
теплообменнике Т дополнительно охлаждается за счет регенеративного
теплообмена с парами хладагента, идущего из испарителя.
Охлажденный хладагент поступает в терморегулирующий вентиль 8, в
котором снижается его давление, а затем в виде парожидкостной смеси поступает
в испаритель 12. В испарителе; эта: смесь превращается в
пар, отбирая теплоту от водяного холодоносителя и вынося ее в конденсатор. В
конденсаторе теплота отводится в окружающую среду при помощи вентилятора.
Циркуляция
холодоносителя осуществляется насосом 13 через очистительный фильтр
11. Холодоноситель в распыленном виде омывает испаритель и охлаждается, а
затем уходит к потребителям холода. Отдав холод соответствующим
холодообменникам, холодоноситель снова возвращается в бак 9. Оптимальная
работа холодильной установки наблюдается тогда, когда температура паров на
выходе из испарителя 12 на 15...200 выше температуры
кипения холодильного агента. Для поддержания этой разницы температур
предназначен терморегулирующий вентиль 8 с датчиком температуры SK1 прямого действия.
Температура холодоносителя контролируется датчиком температуры SK2, который при 3°С
включает электропривод компрессора Ml и вентилятора М2 и
отключает его при 0,5 °С при помощи магнитного пускателя КМ1. Электропривод
М2 вентилятора включается одновременно с компрессором (рис. 13.12,б).
Защита от повышения давления нагнетания выше 1,5 МПа и понижения давления
всасывания ниже 0,04 МПа осуществляется датчиком разности давления ВР, который
размыкает свои контакты и отключает магнитным пускателем КМ2 электропривод
МЗ компрессора.
|
|
|
03
ПЗ
|
Лист
|
|
|
|
|
3.9
Описание работы схемы автоматизации
Схема управления работает
в ручном и автоматическом режимах, В ручном режиме переключатель SA ставят в положение Р. Включают и
отключают электродвигатели Ml, М2 и МЗ тумблерами S2 и S3
|
|
 |
В автоматическом режиме переключатель SA ставят в положение А и
включают тумблер S1. Параллельно контактам тумблера S1 подключены контакты
датчика SK3 температуры, установленного в охлаждаемом объекте и включающего
холодильную установку при повышении температуры. При замыкании SK3 срабатывает магнитный
пускатель КМ2 и включает насос, а затем блок - контактами КМ2:2 - магнитный
пускатель КМ 1 электроприводов компрессора и вентилятора. Магнитный
пускатель КМ1 автоматически включается и отключается от датчика
температуры SK2, а магнитный пускатель КМ2— от датчика SK3. Защита установки
работает следующим образом. При размыкании контактов датчика разности
давлений ВР, а также контактов тепловых реле магнитных пускателей КМ1
и КМ2 (они включаются последовательно с контактами ВР, на
схеме не показаны) реле KV расшунтируется и
срабатывает. Оно своими контактами включает сигнальную лампу HL2, отключает магнитный
пускатель КМ2 насоса, а затем блок - контактами КМ2 отключается
магнитный пускатель КМ1. После этого схему в исходное состояние можно
привести только вручную путем отключения и включения тумблера S1.
|
|
|
03
ПЗ
|
Лист
|
|
|
|
|
4. Экономическая часть
Экономическую эффективность автоматизации охлаждения
молока в доильно молочном блоке определяем путём сравнения эксплутационных
затрат (издержек), приведенных затрат, и совокупных дисконтированных затрат
по двум вариантам, базовому и проектируемому.
Базовым является установка МХУ-8С
Проектируемым является установка УВ-10
Расчёт капитальных вложений по сравнимым вариантам
(4.1)
где: Ц – оптовая цена (цена приобретения) машин и
оборудования, тыс. руб.
Кт – Коэффициент, учитывающий
транспортные расходы (10 – 12%)
Км – Коэффициент, учитывающий затраты на
монтаж (15 – 30%)
КБ = 18600 * 1,05 * 1,1 = 21483 тыс. руб.
КП = 16320 * 1,05 * 1,1 = 18850 тыс. руб.
При экономической оценке техники рассчитываются
прямые эксплуатационные расходы. Величина этих затрат представляет собой
сумму расходов связанных с использованием электрифицированных
(автоматизированных) машин и оборудования и определяется по формуле:
Иэ = З/п + А + Р + Эл
(4.2)
где: Иэ – издержки (затраты) по
эксплуатации, тыс. руб.
З/п – расходы на оплату труда обслуживающего
персонала с начислениями на соц. нужды, тыс. руб.
А – амортизационные отчисления, тыс. руб.
Р – затраты на ремонт и обслуживание, тыс.
руб.
Эл – затраты на потребление
энергоресурсов, тыс. руб.
Расходы на оплату труда обслуживающего персонала
определяется по формуле:
(4.3)
где: Ст – ставка часовая тарифная оплата
труда обслуживающего персонала (согласно тарифной сетке).
Т – годовые затраты труда в чел. час. на
обслуживание оборудования.
Кд – коэффициент, учитывающий
дополнительную оплату – 1,4
Ксоц – коэффициент отчисления на
социальные нужды – 1,31.
З/пБ = 2,065 * 39 * 1,4 * 1,31 = 147,7
тыс. руб.
З/пП = 2,065 * 46 * 1,4 * 1,31 = 174,2
тыс. руб.
Амортизационные отчисления определяются по формуле
(4.4)
где :К – капиталовложения, тыс. руб.
На – годовая норма
амортизационных отчислений (%), 14,3%
АБ = 21483 * 14,3 / 100% = 3072,1 тыс.
руб.
АП = 18850 * 14,3 / 100% = 2695,6 тыс.
руб.
|
|
|
Дп.11.2-740631
– 01.з.9эп 04 ПЗ
|
Лист
|
|
|
|
|
Отчисления на ремонт и обслуживание
(4.5)
где: Нр – норма отчислений на текущий
ремонт и обслуживание
РБ = 21483 * 11,5 / 100 = 2470,5 тыс.
руб.
РП = 18850 * 11,5 / 100 = 2167,8 тыс. руб.
Затраты на электроэнергию
(4.6)
где: Р – мощность двигателя (установки), кВт
Т – время её работы в год (часы), 4ч * 365дн =
1460
Ц – действующий тариф на электроэнергию (тыс.
руб.) – 0,111
ЭлБ = 7,65 * 1460 * 0,561 = 6266,9 тыс.
руб.
ЭлП = 7,5 * 1460 * 0,561 = 6144 тыс.
руб.
Эксплуатационные затраты (расходы) по вариантам
ИэБ = 147,7 + 3072,1 + 2470,6 + 6266,9 =
11957,2 тыс. руб.
ИэП = 174,2 + 2695,6 + 2167,9 + 6144 =
11181,6 тыс. руб
Приведённые затраты определяются по формуле
(4.7)
где: П – приведенные затраты сравнительной
эффективности капитальных вложений,
Ен – нормативный коэффициент
эффективности капитальных вложений (0,15)
ПБ = 11957,2 + (0,15 * 21483) = 15179,7
тыс. руб.
ПП = 11181,6 + (0,15 * 18850) = 14009,1
тыс. руб.
Рассчитаем совокупный дисконтированные затраты
(4.8)
где: aт – коэффициент дисконтирования
(4.9)
где: Е – ставка дисконтирования (процентная ставка)
Т – расчётный период возврата капитала, лет
(4.10)
где: На – годовая норма амортизации (%)
лет
aТ =
4,868
СДЗБ = 21483 + (11957,2 – 3072,1) * 4,868
= 64735,7 тыс.руб.
СДЗП = 18850 + (11181,6 – 2695,7) * 4,868
= 60159,8 тыс.руб.
|
|
|
04
ПЗ
|
Лист
|
|
|
|
|
Находим чистый дисконтированный доход (ЧДД), который
показывает весь эффект (выигрыш) инвестора, приведенный во времени к началу
расчётного периода. ЧДД находим как разность совокупных дисконтированных
затрат по первому и второму варианту.
(4.11)
ЧДД = 64735,8 – 60159,8 = 4575,9 тыс.руб.
а так, как установок две умножаем на 2.
4575,9 * 2 = 9151,8 тыс.руб.
ВЫВОД: В данном проекте заменив
установки МХУ-8С на установки УВ-10 при аналогичном выполнении
технологического процесса экономия составит 9151,8 тыс. рублей.
|
|
|
04
ПЗ
|
Лист
|
|
|
|
|
5. Охрана труда
5.1 Техника безопасности при
работе с доильными установками.
При эксплуатации
доильных установок должны выполняться следующие правила техники
безопасности. К обслуживанию установок допускаются лица, ознакомившиеся с
инструкциями по их эксплуатации и прошедшие необходимый инструктаж по технике
безопасности.
Вакуум-насосная
установка и распределительный щит должны находиться в специальном
изолированном помещении - машинном отделении. Размещать какое-либо другое оборудование
в этом помещении нельзя. Вход в машинное отделение во время работы
вакуум-насоса посторонним лицам запрещается. Пускает и останавливает
вакуум-насос механик или ответственный мастер машинного доения. В промежутках
между дойками машинное отделение закрывают на замок. На двери должна быть
надпись: «Посторонним вход воспрещен!».
При монтаже вакуумного
насоса с электродвигателем необходимо выполнять следующие требования: шкивы
насоса и электродвигателя с приводными ремнями должны быть обращены к стене
и иметь ограждение; корпус электродвигателя и электроводонагревателя, если
последний имеется на ферме, следует надежно заземлить; рубильники и
предохранители должны быть закрытого типа; при прокладке трубопроводов
внутри помещения необходимо следить, чтобы расстояние между трубами и
электрическими проводами было не менее 10 см; вакуумные трубопроводы соединяются с вакуумным насосом токонепроводящим (резиновым, пластмассовым) патрубком
длиной не менее одного метра.
Запускать доильную установку разрешается только тогда, когда
все ее узлы и механизмы исправны. При работе доильных установок и машин по
первичной переработке молока запрещается устранять в них какие-либо неисправности,
проводить регулировку и смазку на ходу.
|
|
|
Дп.11.2-740631
– 01.з.9эп 05 ПЗ
|
Лист
|
|
|
|
|
Все эти работы надо
проводить только после полной остановки машин и при выключенном рубильнике
(или магнитном пускателе), на который надо повесить трафарет: «Не включать!
Работают люди».
При подготовке
установки к работе и проведении технического ухода необходимо пользоваться
специальным инструментом и приспособлениями.
Во время подсоединения трубопровода горячей воды к молокопроводу
для промывки системы краны должны быть закрыты, шланги надежно надеты на
концы патрубков молокопровода. При пользовании горячей водой необходимо
соблюдать осторожность. Заменять термостойкие трубы простыми стеклянными
трубами запрещается. Эксплуатировать молокопровод при наличии в системе
отдельных стеклянных труб с изъянами (трещины, сколы стекла) запрещается.
При промывке и дезинфекции молочного оборудования необходимо следить, чтобы
вода и раствор не попадали на электрические машины и аппараты.
Запрещается хранить в
машинном отделении керосин, бензин и другие легковоспламеняющиеся вещества. В
машинном отделении необходимо иметь ящик с песком и заряженный
огнетушитель.
Для облегчения труда
доярок на фермах необходимо иметь приспособления для транспортировки и
подъема фляг.
При надевании доильных
стаканов на соски пугливых и неспокойных коров надо быть особенно
внимательным и и осторожным.
Во время работы нельзя
закалывать халат и косынку булавками, иголками, нельзя хранить в карманах
халата посторонние, особенно острые металлические предметы.
При приготовлении и
применении моющих и дезинфицирующих растворов необходимо пользоваться
защитными средствами: очками, резиновыми перчатками, прорезиненным фартуком,
резиновыми сапогами.
На бочках и емкостях с приготовленными концентрированными
растворами должны быть сделаны соответствующие надписи. Порошковые моющие
препараты должны храниться в сухом месте.
|
|
|
05
ПЗ
|
Лист
|
|
|
|
|
При применении
двигателей внутреннего сгорания для привода доильных установок и машин
необходимо обеспечить вывод отработанных газов из помещения (выхлопная труба
двигателя выводится из помещения). Это помещение должно быть оборудовано
механической приточно-вытяжной вентиляцией.
Охладительные (для
молока) резервуары должны иметь общую прочную крышку с отверстиями для
установки бидонов, закрепленную на петлях с запором. Погружают и вынимают
бидоны специально оборудованными для этой цели подъемными приспособлениями.
Во время впуска или
выпуска животных на доильных установках «елочка» запрещается стоять в дверях
или заходить в групповой станок, если в нем находятся коровы.
Ступеньки для спуска в
траншею должны быть ровными и не скользкими, на полу траншеи должен быть
положен решетчатый настил, траншея оборудована канализационными стоками.
При работе на
карусельных установках входить в доильный зал и выходить из него можно
только при полной остановке доильного конвейера. Дверь зала должна быть
оборудована надежным запором.
К работе с холодильными
установками допускаются только лица, получившие специальную подготовку и имеющие
право на обслуживание холодильных установок.
Устранять неисправности в электропроводке, электродвигателях и
пусковых электроаппаратах разрешается только специалисту-электрику. На
каждую установку и машину необходимо завести журнал и записывать в него
рабочие показатели машины, неполадки и меры их устранения.
|
|
|
05
ПЗ
|
Лист
|
|
|
|
|
|
5.2 Пожарная безопасность
На
фермах с КРС должен быть оборудованы щиты со средствами пожаротушения, в
котором находятся
-
ящик с песком;
-
огнетушители;
- багры;
-
ведра;
- лопаты;
-
кошма.
Щиты,
пульты управления должны быть установлены в местах, недоступных для
посторонних. Ключи от электроустановок хранятся у дежурного, который выдает
их под расписку административно-техническому персоналу, имеющему разрешение
на осмотр, а также руководителям ремонтных и монтажных работ, одновременно
оформляя допуск по наряду.
Перед пуском электродвигателей оператор обязательно должен
включить предупредительную сигнализацию. В кормоприготовительном помещении
выделяется много влаги, пыли, потому при ежедневном техническом осмотре
электропроводок необходимо очищать их от пыли и грязи.
Для
оказания первой помощи на видном месте в помещении должна находиться
медицинская аптечка.
|
|
|
05
ПЗ
|
Лист
|
|
|
|
|
Литература
1.Карташов
Л.П., Куранов Ю.Ф. Машинное доение коров. Москва «Высшая школа» 1980 г.
2.Ковалев
Ю.Н. Справочник. Молочное оборудование животноводческих ферм и комплексов.
Москва «Россельхозиздат» 1987 г.
3.Коганов
И.Л. «Курсовое и дипломное проектирование» М: Агропромиздат, 1990 г.
4.Кудрявцев
И. Ф. «Электрооборудование и автоматизация сельскохозяйственных агрегатов и
установок» - М: Агропромиздат, 1988 г.
5.Николаенок
М.М., Заяц Е.М. «Расчет осветительных и облучательных установок
сельскохозяйственного назначения» - Мн: Лазурак, 1999 г.
6.Оленев
В.А. Руководство по машинному доению коров. Москва «Колос» 1981г.
7.СНиП-4-79
– «Естественные и искусственное освещение, нормы проектирования» - М:
Стройиздат, 1980 г.
8.Соркин Ю. И.. Справочник
электромонтера по оборудованию животноводческих ферм и комплексов.
М.: Урожай, 1984.- 160 с.
|
|
|
00
ПЗ
|
Лист
|
|
|
|
|
|
|
|
|
|
|
|
|
|
|
|
|
|
|
|
|
Перечень замечаний нормоконтроля по дипломному проекту
Обозначение документа
|
Условная пометка
|
Содержание замечаний
|
Замечания устранены
|
|
Подпись учащегося
|
Подпись руководителя
|
|
|
|
|
|


Дата
Нормоконтролёр
(Подпись)
(Ф.И.О.)