Исследование снижения усталостной прочности лопаток компрессора вследствие повреждения посторонними предметами
Федеральное
агентство по образованию
Пермский
государственный технический университет
Факультет
____Аэрокосмический _______________
Специальность
_160100 Авиа- и ракетостроение
Кафедра
______Авиационные двигатели_________
МАГИСТЕРСКАЯ
ДИССЕРТАЦИЯ
На
тему Исследование снижения усталостной прочности лопаток компрессора вследствие
повреждения посторонними предметами
Студент Трофимова Анастасия Сергеевна
Пермь
Федеральное
агентство по образованию
Государственное
образовательное учреждение высшего профессионального образования
Пермский
государственный технический университет
ЗАДАНИЕ
на
выполнение выпускной работы магистра
Фамилия, И.О. Трофимова Анастасия Сергеевна
Факультет аэрокосмический Группа АД-04М
Начало выполнения работы
Контрольные сроки просмотра работы кафедрой
Сроки представления на рецензию
Защита работы на заседании ГЭК___ _
. Наименование темы Исследование снижения
усталостной прочности лопаток компрессора вследствие повреждения посторонними
предметами
______________________________________________________________________________________________________________________________
. Исходные данные к работе Рабочие
лопатки 13-й, 9-й, 3-й ступеней компрессора высокого давления, направляющая
лопатка 5-й ступени компрессора высокого давления
. Содержание пояснительной записки магистерской
диссертации
а.) основная часть
Введение
Аналитический обзор по проблеме обеспечения
усталостной прочности лопаток компрессора.
Постановка задачи определения теоретического
коэффициента_______ концентрации напряжений в лопатках компрессора.
Результаты математического моделирования.
Концентрация напряжений в лопатках с
трещинами.________________
Заключение.
б.) раздел
Аналитический обзор по проблеме обеспечения
усталостной прочности лопаток компрессора:
Концентрация напряжений в лопатках.
__________________________
Методология обеспечения усталостной прочности
лопаток компрессора.
Влияние конструктивных, технологических и
эксплуатационных факторов на усталостную прочность лопаток при попадании
постороннего предмета.
в.) раздел
Постановка задачи определения теоретического
коэффициента концентрации напряжений в лопатках компрессора
Объекты исследования.
Выбор метода исследования.
Математическая постановка задачи.
Описание конечно-элементных
моделей.__________________________
Граничные условия.
Подтверждение достоверности математической
модели.
г.) раздел
Результаты математического моделирования
Напряженное состояние в области концентратора
Теоретические коэффициенты концентрации напряжений
в исследованных лопатках
Влияние вида нагружения на теоретические
коэффициенты концентрации напряжений
д.) раздел
Концентрация напряжений в лопатках с трещинами:
Объект исследования.
Выбор метода исследования.
Математическая постановка задачи.
Граничные условия.
Описание конечно-элементной модели.
Результаты математического моделирования.
. Дополнительные указания отсутствуют
. Основная литература
Нихамкин М.А. Методика экспериментального
определения характеристик циклической трещинностойкости лопаток газотурбинных
двигателей // Заводская лаборатория, Диагностика материалов, 2002, №4___
Биргер И.А., Шорр Б.Ф. Иосилевич Г.Б. Расчет на
прочность деталей_ машин.- М.: Машиностроение, 1979-702 с
Нихамкин М.А. Определение характеристик
циклической трещинностойкости лопаток ГТД, ПГТУ, 2008
Морозов Е.М., Музеймник А.Ю. Шадский А.С. ANSYS
в руках инженера.- М.: ЛЕНАНД, 2010.
Нихамкин М.А., Воронов Л.В., Конев И.П. Влияние
эксплуатационных повреждений и объемных остаточных напряжений на усталостную
прочность и сопротивление развитию трещин в лопатках компрессора, Вестник
двигателестроения №3, 2006
Руководитель выпускной квалификационной работы
магистра
Нихамкин Михаил Александрович ( )
Консультант ( )
Задание получил Трофимова Анастасия Сергеевна ( )
РЕФЕРАТ
Дипломный проект 70 с., 27 рис., 13 табл., 23
источника.
ТУРБОРЕАКТИВНЫЕ ДВУХКОНТУРНЫЕ ДВИГАТЕЛИ,
КОМПРЕССОР ВЫСОКОГО ДАВЛЕНИЯ, ЭФФЕКТИВНЫЙ КОЭФФИЦИЕНТ КОНЦЕНТРАЦИИ, КОЭФФИЦИЕНТ
ИНТЕНСИВНОСТИ НАПРЯЖЕНИЙ
Объектом исследования являются лопатки с
повреждениями типа забоин и трещин.
В работе получены коэффициенты концентрации
напряжений для лопаток с повреждениями типа забоин, проведен анализ влияния
вида нагружения на теоретические коэффициенты концентрации напряжений. Получены
коэффициенты интенсивности напряжений для лопаток с трещинами. Проведено
исследование снижение усталостной прочности лопаток компрессора.
Результаты, полученные в работе, могут быть
использованы для оценки возможных повреждений еще на этапе проектирования.
Содержание
Введение
.
Аналитический обзор по проблеме обеспечения усталостной прочности лопаток
компрессора
.1
Концентрация напряжений в лопатках
.2
Методология обеспечения усталостной прочности лопаток компрессора
.3
Влияние конструктивных, технологических и эксплуатационных факторов на
усталостную прочность лопаток при попадании постороннего предмета
Выводы
по главе 1. Задачи исследования
.
Постановка задачи определения теоретического коэффициента концентрации
напряжений в лопатках компрессора
.1
Объекты исследования
.2
Выбор метода исследования
.3
Математическая постановка задачи
.4
Описание конечно-элементных моделей
.7
Граничные условия
.8
Подтверждение достоверности математической модели
.
Результаты математического моделирования
.1
Напряженное состояние в области концентратора
.2
Влияние вида нагружения на теоретические коэффициенты концентрации напряжений
Выводы
по главе 3
.
Концентрация напряжений в лопатках с трещинами
.1
Объект исследования
.2
Выбор метода исследования
.3
Математическая постановка задачи
.4
Граничные условия
.5
Описание конечно-элементной модели
.6
Результаты математического моделирования
Выводы
по главе 4
Заключение
Список
литературы
ПРИНЯТЫЕ
СОКРАЩЕНИЯ И ОБОЗНАЧЕНИЯ
|
ГТД
|
газотурбинный
двигатель
|
|
МКЭ
|
метод
конечных элементов
|
|
НДС
|
напряженно-деформированное
состояние
|
|
ПП
|
посторонний
предмет
|
|
ППП
|
попадание
постороннего предмета
|
|
ККН
|
коэффициент
концентрации напряжений
|
|
КИН
|
коэффициент
интенсивности напряжений
|
|
модуль
упругости
|
|
|
μ
|
коэффициент
Пуассона
|
|
толщина
кромки на глубине концентратора
|
|
|
h
|
глубина
концентратора
|
|
втулочный
радиус
|
|
|
относительная
величина элемента
|
|
|
радиус
сопряжения в вершине концентратора
|
|
|
предел
выносливости
|
|
|
динамическое
напряжение
|
|
|
предел
длительной прочности
|
|
|
предельное
напряжение
|
|
|
предел
прочности
|
|
|
предельная
деформация разрушения
|
|
|
KV
|
коэффициент
запаса
|
|
Kσ
|
эффективный
коэффициент концентрации напряжений
|
|
σ-1
|
предел
выносливости гладкой лопатки
|
|
σ-1к
|
предел
выносливости лопатки с концентратором
|
|
q
|
коэффициент
чувствительности к концентрации напряжений
|
|
ασ
|
теоретический
коэффициент концентрации напряжений
|
|
Y(a)
|
коэффициент
формы
|
|
коэффициент
интенсивности напряжений
|
|
|
пороговый
коэффициент интенсивности напряжений
|
|
|
критическое
значение напряжения
|
|
|
а
|
длина
трещины
|
Введение
На сегодняшний день требования к надежности
газотурбинных двигателей неуклонно возрастают, и главной целью ужесточения этих
требований является обеспечение безопасности людей. Все большее внимание
уделяется поиску конструктивных, технологических и эксплуатационных
мероприятий, направленных на повышение надежности работы двигателя. Данные из
эксплуатационной статистики показывают, что основной причиной досрочного съема
с эксплуатации двигателей является поломка лопаток. Лопатки компрессора ГТД
нагружены в общем случае сложным комплексом силовых факторов, основными из
которых являются газодинамические силы и центробежные силы для рабочих лопаток
ротора. Кроме статических нагрузок на лопатку компрессора действуют
динамические усилия - вибрационные нагрузки, связанные с неравномерностью
газового потока. Статические и динамические нагрузки при длительной работе
двигателя приводят к накоплению повреждений в лопатке по механизмам
малоцикловой и многоцикловой усталости соответственно.
Наличие в лопатке повреждений различного рода
(концентраторов напряжений) приводит к снижению характеристик сопротивления
лопатки усталостному разрушению, что при неблагоприятном стечении обстоятельств
может привести к поломке лопаток. Концентраторами напряжений (возможными
очагами зарождения усталостной трещины) могут служить технологические и
металлургические дефекты, возникающие при изготовлении лопатки,
эксплуатационные повреждения. Поломка одной лопатки обычно вызывает
лавинообразное разрушение других лопаток и приводит к выходу из строя всего
двигателя. До 60% поломок лопаток компрессоров ГТД носят усталостный характер
[8].
С точки зрения надежности двигателя необходимо
обеспечить прочность не только целых лопаток, но и лопаток с повреждениями.
Разработка методик для комплексного расчетного анализа прочности лопаток
компрессора при их повреждении посторонними предметами (ПП) является актуальной
задачей на сегодняшний день.
Цель данной работы, направленной на повышение
надежности ГТД - разработка методики оценки снижения усталостной прочности
лопаток компрессора при появлении дефекта в виде забоин и трещин.
В настоящей работе приведены результаты
исследования усталостной прочности лопаток при наличии концентраторов
напряжений.
1.
Аналитический обзор по проблеме
обеспечения усталостной прочности лопаток компрессора
До 60% поломок лопаток компрессоров ГТД носят
усталостный характер [8]. Это связано с действием переменных напряжений и
вибраций в процессе эксплуатации. Поломка одной лопатки обычно вызывает
лавинообразное разрушение других лопаток и приводит к помпажу компрессора,
разбалансировке ротора и выходу из строя всего двигателя. Поэтому проблема
обеспечения усталостной прочности лопаток была и является весьма актуальной для
двигателестроения.
Сложность обеспечения усталостной прочности
связана с многообразием влияющих факторов. К ним относят: 1) технологические
(особенности технологического процесса изготовления и термообработки, марка
материала); 2) эксплуатационные (условия работы, повреждения и износ); 3)
конструктивные (геометрические особенности детали). Последние вынуждают
проводить исследования по определению усталостных характеристик лопаток ГТД,
именно на натурных объектах, а не на образцах.
Лопатки компрессоров - одна из массовых деталей
ГТД. Они представляют собой тело сложной формы и состоят из профильной части
(пера) и хвостовика. Кроме того, рабочие лопатки могут иметь антивибрационные
полки и удлинительную ножку. Лопатки статора могут иметь элементы крепления и
на внутреннем и на наружном концах пера. Характерные размеры лопаток меняются в
широких пределах. Длина профильной части изменяется от нескольких миллиметров
на последних ступенях компрессора малогабаритных двигателей до 1000 мм и более
в вентиляторах двигателей большой тяги. Хорда профиля составляет 0,1…1,0 длины
профильной части. Максимальная относительная толщина профиля может составлять
от нескольких процентов у широкохордных лопаток вентилятора до десятков
процентов.
Для изготовления лопаток компрессора высокого
давления используют титановые сплавы в диапазоне температур не превышающих
500°С, а также стали и жаропрочные сплавы в диапазоне температур превышающих
450…500°С. Титановые сплавы типа ВТ3-1, ВТ8М при сравнительно небольшой
плотности (≈4500 кг/м3) обладают соизмеримым со сталями пределом
прочности, что в первую очередь позволяет получить заметное снижение массы
всего узла. Однако титановые сплавы обладают рядом недостатков: 1) с
увеличением рабочей температуры механические свойства титановых сплавов падают;
2) высокая чувствительность к концентрации напряжений [18]; 3) вероятность
возникновения "титанового пожара". Титановые сплавы в основном
применяют для изготовления лопаток первых ступеней КВД. Технология изготовления
может быть следующая: 1) горячая штамповка из прутка с припуском на
механическую обработку, термообработка, фрезерование, шлифование, полирование и
упрочняющая обработка пластическим деформированием (виброгалтовка); 2) точная
штамповка и последующее вальцевание профильной части, до и после вальцевания -
термообработка (обычно отжиг и старение), упрочнение - виброгалтовка.
Жаропрочные сплавы типа ЭИ787ВД применяют для
изготовления лопаток последних ступеней КВД, где рабочая температура превышает
500°С. Стальные лопатки, в основном, изготовляют путем точной штамповки с
последующим холодным вальцеванием, затем механической обработкой и упрочнением.
Термообработка (отжиг, сложное многоступенчатое старение и т.д.) производится
на различных этапах изготовления в зависимости от технологии изготовителя.
В процессе работы лопатки испытывают
комплексное воздействие разнообразных эксплуатационных факторов. К ним
относятся: статические нагрузки, вибрационные и тепловые, разрушение
поверхностного слоя (коррозия, эрозия), вероятность повреждения лопатки
посторонними предметами. На стадии проектирования определяют запас статической
прочности, который вычисляется как отношение предельного напряжения
к
наибольшему суммарному напряжению в лопатке, определенному на всем полетном
цикле двигателя:
(1.1)
В качестве предельного напряжения
принимают
предел прочности
для
лопаток, работающих при сравнительно низком диапазоне температур, или предел
длительной прочности
для
лопаток, условия которых отличаются повышенными тепловыми нагрузками.
Кроме этого проводится расчет
собственных частот и форм колебаний. Строится резонансная диаграмма Кемпбелла,
определяются номера гармоник с наибольшими динамическими напряжениями.
На стадии доводки двигателя уточняются
расчетные собственные частоты и формы колебаний и резонансная диаграмма,
выявляются точки на лопатке, в которых возникают опасные динамические
напряжения. Эта информация необходима для дальнейшего тензометрирования
двигателя на стенде с целью определения вибронапряжений в условиях приближенных
к реальным. Результатом экспериментального исследования являются графики
зависимости амплитуд динамических напряжений от частоты вращения ротора. По ним
выявляется наибольшее значение амплитуды вибронапряжений по всем режимам работы
двигателя и для всех опасных точек лопатки.
Величина динамических напряжений,
однако, не
позволяет судить о достаточно или недостаточной вибрационной прочности лопаток.
Ее необходимо связать с пределом выносливости
, характеризующим способность
лопатки противостоять высокочастотному циклическому разрушению. Предел
выносливости определяют испытанием не менее 20 натурных лопаток при комнатной
температуре на базе 20-ти млн. циклов. В результате испытаний получают кривые
усталостной прочности для каждой лопатки.
Критерием вибрационной прочности
лопаток является коэффициент запаса, который определяется с учетом ассиметрии
цикла нагружения как:
(1.2)
Величина коэффициента запаса
в
зависимости от типа двигателя, материала и типа лопаток составляет 3…5.
Величина запаса динамической
прочности
по
описанной методике должна включать в себя также и возможные рассеяния
определяющих ее множителей. Существует рассеяние динамических напряжений
,
обусловленное случайной составляющей возбуждающих колебания нагрузок. Неизбежно
появление рассеяния предела выносливости
, обусловленное производственными
отклонениями и возможными повреждениями самой лопатки - коррозия, эрозия,
попадание постороннего предмета (ППП). Повреждение лопатки посторонним
предметом нередко приводит к значительному снижению
и в этом
случае величина
может
оказаться недостаточной.
Методология обеспечения усталостной
прочности на основании определения коэффициента запаса динамической прочности
позволяет учесть множество случайных факторов, однако, не учитывает такой
фактор как повреждение посторонним предметом лопатки двигателя. Прогнозирование
прочности лопатки без оценки снижения усталостной прочности вследствие
возможного ее повреждения посторонним предметом недостаточно.
1.1
Концентрация напряжений в лопатках
Концентрация напряжений - местное повышение
напряжений в элементах конструкции, обусловленное резкими переходами в
поперечных сечениях, связанных с наличием отверстий, выкружек, канавок,
надрезов и т.п., называемых концентраторами. Выточки, отверстия и т. п.
являются в данном случае концентраторами напряжений.
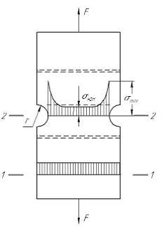
На Рис. 1 показаны графики распределения
напряжений в сечении растягиваемой полосы, ослабленной полукруглыми выкружками,
напряжения в сечении 1-1 распределены равномерно, а в сечении 2-2 -
неравномерно, увеличиваясь по мере приближения к краю выточек.
Рис.1. К определению концентрации напряжений
Степень концентрации напряжений характеризуется
коэффициентом концентрации
,
(1.3)
где
- максимальные напряжения в месте
концентрации,
-
номинальные напряжения, определяемое по формуле
,
(1.4)
где
- нормальная сила в ослабленном
сечении,
- площадь
ослабленного сечения.
Иногда номинальные напряжения
определяют по формуле
,
(1.5)
где
- площадь сплошного сечения без
учета ослабления ее наличием концентратора (площадь брутто).
При концентраторах, занимающих незначительную
часть сечения, номинальные напряжения, определяемые по формулам (1.4) и (1.5),
будут практически одинаковыми.
При определении максимальных
напряжений в зоне концентратора расчетным путем коэффициент концентрации,
вычисленный по формуле (1.3), называется теоретическим коэффициентом
концентрации. В действительности коэффициент концентрации реальных элементов
конструкции, так называемый эффективный коэффициент концентрации
,
определяемый экспериментально, оказывается меньше теоретического (
>
). Обычно
расчеты на прочность с учетом концентрации напряжений проводят на основании
знаний величин теоретических коэффициентов концентрации.
При кручении максимальные напряжения
в зоне концентраторов можно найти по формуле
, (1.6)
где
- номинальное напряжение,
вычисленное методами сопротивления материалов;
- коэффициент, показывающий, во
сколько раз возрастает номинальное напряжение в месте концентратора
(теоретический коэффициент концентрации). Коэффициент
определяется
методами теории упругости или экспериментально.
При растяжении также возникает
концентрация напряжений в местах резкого изменения размеров или формы
поперечного сечения, влияние концентрации оценивается коэффициентом
концентрации
.
(1.7)
Концентрация напряжений оказывает
большое влияние на усталостную прочность, при этом используют эффективный
(действительный) коэффициент концентрации К [18]
, (1.8)
где
и
- пределы выносливости, полученные
при действительных циклических нормальных и касательных напряжений на гладких
образцах;
и
- пределы
выносливости образцов с концентраторами напряжений.
Важная особенность явления
концентрации состоит в том, что одновременно с резким повышением напряжений
вблизи концентратора даже при исходном одноосном состоянии возникает сложное
(плоское или объемное) неоднородное напряженное состояние, влияющее на развитие
пластических деформаций и трещин разрушения. Таким образом, несущая способность
элементов конструкции определяется напряженным состоянием и условиями прочности
в местах концентрации, т.к. там раньше наступает предельное состояние и разрушение.
Практически удобнее определять
эффективный коэффициент концентрации через коэффициент чувствительности
материала [1]
. (1.9)
Если материал не чувствителен к
концентрации напряжений, то
и
; если материал весьма чувствителен
к концентрации напряжений, то
и
. Коэффициент чувствительности к
концентрации напряжений зависит от свойств материала, теоретического
коэффициента концентрации напряжений, технологии, термической обработки,
изготовления и размеров исследуемого образца и от уровня напряжений, при
котором проводятся испытания. Исследования [1] показывают, что с увеличением
теоретического коэффициента концентрации напряжений чувствительность к
концентрации напряжений падает для всех классов материалов, а с увеличением
размеров образцов чувствительность к концентрации напряжений увеличивается.
Низкую чувствительность к концентрации напряжений имеют сплавы с неоднородной
структурой, так как в таких материалах имеется большое количество дефектов типа
включений, микротрещин и т.п., которые настолько снижают предел выносливости,
что нанесение на образцы дополнительных концентраторов не оказывает заметного
влияния на предел выносливости. Существенное влияние на чувствительность к
концентрации напряжений оказывает среда: влияние концентрации напряжений
уменьшается с увеличением агрессивности среды. Это объясняется тем, что при
коррозионном воздействии уже в гладких образцах появляется много коррозионных
трещин и добавление к ним концентраторов не меняет ситуацию.
Имеются предположения, что,
определив в процессе эксперимента коэффициент чувствительности для различных
условий (материал лопатки, вид концентратора и т.д.), можно предсказывать
значения эффективного коэффициента концентрации
, определяя расчетным путем
теоретический коэффициент
, и
используя формулу (1.10)
.
(1.10)
1.2 Методология
обеспечения усталостной прочности лопаток компрессора
Существует методика оценки снижения усталостной
прочности лопаток [17], которая предполагает, что любое повреждение
представляет собой концентратор напряжений, приводящий к снижению усталостной
прочности лопатки. Влияние повреждений на усталостную прочность лопаток обычно
оценивается эффективным коэффициентом концентрации Kσ,
(1.8).
Эффективный коэффициент концентрации
,
традиционно применяемый для оценки снижения усталостной прочности лопаток,
зависит от двух основных факторов:
¨ форма и размер концентратора,
определяющие теоретический (геометрический) коэффициент концентрации
;
¨ свойства материала,
определяющие его чувствительность к концентрации напряжений.
Его определение для различных форм и размеров
повреждений связано с проведением трудоемких испытаний по определению пределов
выносливости натурных лопаток с концентраторами различной формы.
Для оценки чувствительности материала к
концентрации напряжений обычно используют коэффициент чувствительности к
концентрации напряжений:
. (1.11)
Этот коэффициент зависит не только от марки
материала, но и от технологии изготовления и термообработки лопатки.
Для оценки снижения усталостной прочности
лопаток при минимальном объеме усталостных испытаний может быть использован
расчетно-экспериментальный метод, основанный на использовании коэффициента
чувствительности к концентрации [16]. Этот метод оценки снижения усталостной
прочности состоит из нескольких основных этапов.
Сначала, по результатам усталостных
испытаний натурных лопаток без надреза и лопаток с V-образным надрезом
определяются эффективные коэффициенты концентрации напряжений
. Далее
расчетным путем с помощью метода конечных элементов для лопаток с этим
V-образным надрезом определяются теоретические коэффициенты концентрации
. В
соответствии с соотношением (1.11) определяется коэффициент чувствительности к
концентрации напряжений
. Таким
образом, может быть получена зависимость
.
На следующем этапе для дефекта любой
интересующей формы расчетным путем определяется теоретический коэффициент
концентрации
. Затем для
данного дефекта по полученному из (1.11) соотношению, располагая данными об
и
,
определяется эффективный коэффициент концентрации напряжений
:
. (1.12)
Схема предложенной
расчетно-экспериментальной методики определения эффективных коэффициентов
концентрации
приведена
на рисунке 2.
|
|
|
Рис.2
Методика оценки эффективного коэффициента концентрации напряжений
|
Данный метод позволяет снизить количество
испытаний на натурных лопатках, необходимых для оценки снижения усталостной
прочности, а значит значительно снизить затраты на контроль за появлением
повреждений.
1.3 Влияние
конструктивных, технологических и эксплуатационных факторов на усталостную
прочность лопаток при попадании посторонних предметов
Влияние, обусловленной
повреждениями, концентрации напряжений на усталостную прочность лопаток
оценивается эффективным коэффициентом концентрации
.
Величина
зависит как
от формы и размеров концентратора, которые определяют теоретический
(геометрический) коэффициент концентрации
, так и от свойств материала. Для
титановых сплавов величина K имеет
значительное рассеяние в связи с влиянием термообработки, технологии
изготовления и упрочнения лопаток даже для одной и той же марки сплава.
Значения эффективных коэффициентов
концентрации напряжений лежат в пределах
= 1…4 для V-образных
надрезов в стальных и титановых лопатках и достигают
= 6 для
повреждений в виде трещин [12]. С увеличением величина
увеличивается,
стабилизируясь при h > 2 на значениях от
= 2,5 для
сталей до
= 4 для
титановых сплавов [18].
В работах [3, 5-7, 9, 11-13, 19,
22,23] показано, что для титановых сплавов
имеет значительное рассеяние в
связи с влиянием термообработки, технологии изготовления и упрочнения лопаток
даже для одной и той же марки сплава.
Влияние различных факторов на
учитывают,
используя коэффициент чувствительности к концентрации напряжений q (1.11) [1].
Этот параметр зависит не только от
марки и термообработки материала, но и от теоретического коэффициента
концентрации - для концентраторов с большими
чувствительность к концентрации
ниже [1]. Ниже приведено эмпирическое соотношение для коэффициента
чувствительности к концентрации напряжений [2]:
, (1.13)
где
и a -
постоянные материала; для жаропрочных сталей аустенитного класса q0 = 0,3…0,6,
а = 0,1…0,3, для титановых сплавов q0 = 0,8…1,1,
а = 0,1…0,3. Это соотношение дает трехкратный
разброс значений q для сталей аустенитного класса, его
применение для практических расчетов по оценке снижения усталостной прочности
поврежденных лопаток не представляется возможным.
Выводы по главе 1.
Задачи исследования
Методика обеспечения усталостной прочности в
целом разработана, появление дефекта учитывается коэффициентом запаса.
Методология обеспечения усталостной прочности на
основании определения коэффициента запаса динамической прочности позволяет
учесть множество случайных факторов, однако, не учитывает такой фактор как
повреждение посторонним предметом лопатки двигателя. Прогнозирование прочности
лопатки при повреждении ее посторонним предметом необходимо анализировать
отдельно.
Для оценки снижения усталостной
прочности при ППП традиционно применяется эффективный коэффициент концентрации
, который
зависит от вида дефекта. Для нашего исследования выбраны самые неблагоприятные
случаи - забоины и трещины.
2.
Постановка задачи определения
теоретического коэффициента концентрации напряжений в лопатках компрессора
Любое повреждение представляет собой
концентратор напряжений, приводящий к снижению усталостной прочности лопатки.
Зависимость концентрации напряжений
от геометрических параметров, а также количественное снижение характеристик
усталостной прочности лопатки расчетным способом можно оценить при помощи
теоретических коэффициентов концентрации напряжений
. Оценка
теоретических коэффициентов концентрации напряжений
производится
по значениям максимальных напряжений действующих вдоль пера лопатки, в
концентраторах. Значение теоретических коэффициентов концентрации напряжений
рассчитывалось по формуле:
, (1.14)
где
- максимальное значение напряжения
в концентраторе,
-
напряжения на входной кромке в том же сечении в лопатке без повреждений.
Теоретический коэффициент концентрации
зависит от
формы и размеров концентратора. Исследований по определению
в лопатках
с повреждениями или имитирующими их надрезами на входной кромке в литературных
источниках найти не удалось. В работе [4] для оценки
в лопатках
с V-образным надрезом на входной кромке используется соотношение, известное как
формула К.Е. Инглиса (впервые полученное Колосовым в 1910 г.) для
эллиптического отверстия в пластинке при растяжении:
, (1.15)
где h и ρ - глубина
надреза и радиус в его вершине.
Поскольку это соотношение получено
не для натурных лопаток, а для пластин с отверстием, возникает необходимость его
уточнения для лопаток с V-образными концентраторами на кромке.
2.1 Объекты
исследования
В качестве объекта исследования выбраны рабочие
и направляющие лопатки компрессора высокого давления. Исследованы лопатки
(Табл. 1) из стали ЭИ-787ВД (ХН35ВТЮ-ВД) и из титановых сплавов ВТ8М.
Таблица 1
- Характеристики
исследованных лопаток
Сту-пень Хор-да, мм Дли-на
пера, мм Cmax мм
H max
мм
мм
,
|
ммМатериалТехнология
и термообработка
|
|
|
|
|
|
|
|
|
5НА
|
26
|
62,5
|
2,76
|
0,106
|
2,61
|
0,100
|
0,21
|
0,34
|
ВТ8М
|
Штамповка,
механическая обработка, двойной отжиг
|
|
9РК
|
23,6
|
33,8
|
1,93
|
0,082
|
2,01
|
0,085
|
0,13
|
0,22
|
ЭИ787
ВД
|
Штамповка,
вальцевание, закалка, старение, виброгалтовка
|
|
13РК
|
20,5
|
25,9
|
1,72
|
0,084
|
1,35
|
0,066
|
0,14
|
0,22
|
ЭИ787
ВД
|
Штамповка,
вальцевание, закалка, старение, виброгалтовка
|
|
3РК
|
47,5
|
121,2
|
4,16
|
0,088
|
5,13
|
0,108
|
0,31
|
0,4
|
ЭИ787
ВД
|
Штамповка,
вальцевание, закалка, старение, виброгалтовка
|
Примечание: Cmax и H max -
максимальная толщина и кривизна профиля,
и
- те же величины, отнесенные к хорде
профиля,
и
- радиусы
входной и выходной кромок.
Химический состав и некоторые механические
свойства материалов лопаток представлены в таблицах 2 и 3.
Таблица 2 - Химический состав материалов
исследованных лопаток, %
|
ВТ8М
|
ЭИ787-ВД
|
|
Ti
|
основа
|
Cr
|
14.0…16.0
|
|
Al
|
6.0…7.3
|
Ni
|
33.0…37.0
|
|
Mo
|
2.8…3.8
|
Ti
|
2.4…3.2
|
|
Si
|
0.2…0.4
|
Al
|
0.7…1.4
|
|
C
|
не
более 0.1
|
W
|
2.8…3.5
|
|
Fe
|
не
более 0.3
|
C
|
не
более 0.08
|
|
Zr
|
не
более 0.5
|
Si
|
не
более 0.6
|
|
O2
|
не
более 0.15
|
Mn
|
не
более 0.6
|
|
N2
|
не
более 0.05
|
S
|
не
более 0.02
|
|
H2
|
не
более 0.015
|
P
|
не
более 0.03
|
|
примеси
|
не
более 0.3
|
B
|
не
более 0.02
|
|
|
Cu
|
не
более 0.25
|
|
|
Mo
|
не
более 0.3
|
Таблица 3 - Механические свойства материалов
исследованных лопаток
|
Материал
|
ВТ8М
|
ЭИ787-ВД
|
4481
|
8040
|
|
Модуль
упругости, Па
|
1,2∙1011
|
2,185∙1011
|
|
Рабочая
температура, ºС
|
до
550
|
до
700…800
|
|
Предел
прочности, МПа
|
1200
|
1000
|
|
Предел
выносливости, МПа ( )530360
|
|
|
Задачами данного исследования
является определение теоретических (геометрических) коэффициентов концентрации
напряжений
для лопаток
с V-образными надрезами.
Для определения теоретического
коэффициента концентрации напряжений, необходимо изучение напряженного состояния
лопаток без дефектов и лопаток при наличии концентратора напряжений. Таким
образом, задача определения теоретического коэффициента концентрации напряжений
сводится к
статической задаче определения напряженно-деформированного состояния лопатки
без повреждений и лопаток с концентратором напряжений.
Концентраторы напряжений наносились
на входную кромку лопатки на высоте наиболее опасного сечения реальной лопатки.
Рассмотрен V-образный
надрез (Рис.5).
Рис.5. Схема лопатки с концентратором V-формы
Надрез V-образной
формы характеризуется глубиной h,
углом раскрытия, радиусом скругления в вершине ρ.
Рассмотрены концентраторы V-образной
формы с углом раскрытия 600, глубиной h=0,23…1,6
мм, радиусом ρ=0,1 мм и ρ=0,2
мм (Табл.4).
Таблица 4 - Геометрические характеристики
концентратора
|
Ступень
|
Материал
|
h, мм
|
ρ, мм
|
|
|
5НА
|
ВТ8М
|
0,4
|
0,5
|
0,1
|
|
5НА
|
|
0,83
|
0,76
|
|
|
5НА
|
|
0,4
|
0,5
|
0,2
|
|
5НА
|
|
0,83
|
0,76
|
|
|
5НА
|
ЭИ787
|
1
|
0,85
|
0,1
|
|
5НА
|
|
0,5
|
0,57
|
|
|
3РК
|
|
0,9
|
0,777
|
0,1
|
|
3РК
|
|
1,6
|
1,026
|
|
|
9РК
|
|
0,5
|
0,82
|
0,1
|
|
9РК
|
|
0,23
|
0,5
|
|
|
9РК
|
|
0,44
|
0,76
|
|
|
9РК
|
|
1
|
1,18
|
|
|
13РК
|
|
0,5
|
0,858
|
0,1
|
|
13РК
|
|
1
|
1,255
|
|
Для удобства сравнения
концентраторов с различными абсолютными параметрами вводится понятие
относительной глубины концентратора
, представляющей отношение глубины
концентратора h к толщине
кромки на глубине концентратора hкр (Рис.5).
2.2 Выбор
метода исследования
Важное место в исследовании
концентрации напряжений занимают экспериментальные методы. Явление концентрации
характеризуется ярко выраженным локальным эффектом и значительными градиентами
изменения напряжений и деформаций. Наиболее перспективны для опытного изучения
концентрации напряжений (обнаружения зон скопления деформаций) оптические
методы: метод просвечивания модели из оптически активного материала
поляризованным светом и метод оптически активных покрытий.
Большие возможности для опытного
изучения напряженного состояния заложены в голографии.
Для оценки эффекта концентрации
широко используется сопоставление результатов механических испытаний гладких
образцов и образцов с надрезами, отверстиями при различных условиях нагружения,
температурных режимах и т.д.
Экспериментальный метод оценки
концентрации напряжений очень сложен, поскольку связан с трудоемкими и
дорогостоящими испытаниями, многообразием форм деталей и условий их нагружения.
В практике научных исследований и инженерных расчетов в области прочности,
когда необходимо определить теоретический коэффициент концентрации, а не
действительный, прибегают к использованию численных методов.
Численные методы расчета
напряженного состояния и концентрации напряжений:
) Метод конечных разностей
Метод конечных разностей является
классическим методом решения задач математической физики. В этом методе
неизвестные функции определяются в узловых точках, а производные заменяются
разностными отношениями. Если вместо определения искомых функций во всей
области ограничиться поиском их значений в конечном числе точек, то решение дифференциального
уравнения сводится к решению системы алгебраических уравнений, в которых
неизвестными являются значения искомых функций в ряде точек сетки,
накладываемой на исследуемую область. Расчет методом конечных разностей состоит
из трех основных этапов: составление уравнений, решения системы уравнений,
подсчета напряжений. Наиболее широко этот метод применим к решению плоских
задач теории упругости.
Но применение данного метода
затруднительно для областей сложной формы и со сложными граничными условиями.
Также необходимость двойного численного интегрирования функции напряжений
существенно снижает точность результатов расчета.
Таким образом, применение метода
конечных разностей к областям сложной конфигурации связано с индивидуальным
подходом к каждой из них, что лишает его преимуществ перед другими численными
методами.
) Вариационный метод
В вариационной постановке задача
расчета упругой системы трактуется как задача отыскания минимума энергии -
функции перемещений (если решение ведется в перемещениях) или функции
напряжений (если решение ведется в напряжениях).
В первом методе, основанном на
принципе минимума перемещений (принцип Лагранжа), минимизируется полная энергия
, (1.16)
где
- потенциальная функция деформаций;
-
компоненты упругого смещения;
и
- соответственно компоненты
поверхностной и объемной нагрузок.
Второй, вариационный метод, связан с
вариацией напряжений и основан на принципе минимума напряжений - принципе Кастильяно.
Если удовлетворяются условия равновесия и краевые условия, то действительное
напряженное состояние обращает в минимум потенциальную энергию деформации
.
(1.17)
Решение получается из вариационного
уравнения
(1.18)
при дополнительных условиях, в
качестве которых принимаются уравнения равновесия и краевые условия.
Недостатком данного метода являются
излишне громоздкие системы уравнений.
) Вариационно-разностный метод
Вариационно-разностные методы
синтезируются из вариационных и сеточных методов. Сущность их состоит в замене
неизвестных функций полигональными (сеточными) функциями, узловые значения
которых находят из условий стационарности. При этом функция в пределах участков
между узлами апроксимируется линейной, параболической или иной зависимостью
более высокого порядка.
Вариационно-разностные методы
сохраняют основные преимущества, присущие каждому из указанных выше методов в
отдельности.
Вариационные методы позволяют
понизить порядок производных в выражениях, стоящих в функционалах, по сравнению
с исходными дифференциальными уравнениями. Это существенно расширяет класс
допустимых функций, облегчает оценку погрешности и позволяет исключить из рассмотрения
естественные граничные условия.
Методы сеток устраняют трудности,
присущие вариационным методам и связанные с выбором координатных функций. Они
довольно просто приводят к хорошо обусловленным системам линейных
алгебраических уравнений с ленточными, редко заполненными матрицами, что
значительно облегчает их решение.
) Метод конечных элементов
Сущность этого метода связана с
представлением рассматриваемой системы в виде конечного набора элементов
(тетраэдров, параллелепипедов, прямоугольных или треугольных пластинок и т.п.),
соединенных между собой в узлах. От каждого такого элемента требуется
сохранение упругих свойств нерасчлененной системы в данном месте. Кроме
отмеченной схематизации системы метод расчета включает в себя представление
упругих, геометрических и характеристик нагрузки в матричной форме и вычисление
напряжений и перемещений с помощью матричной алгебры. При реализации метода
конечных элементов наиболее часто используется метод перемещений.
В данном случае реализуется
физическая дискретизация - вместо реальной системы рассматривается ее упругий
эквивалент, составленный из отдельных элементов, что позволяет свести задачу
упругости к решению системы алгебраических уравнений взамен решения системы
трудно интегрируемых дифференциальных уравнений в частных производных.
Этот метод эффективен для областей
сложной формы, когда непосредственное решение (и даже составление)
дифференциальных уравнений задачи затруднительно. В других случаях следует
предпочесть применение иного численного метода, не требующего физической
дискретизации.
Метод конечных элементов наиболее
точно описывает поведение стержневых систем.
В инженерной практике точность
метода достигается путем оценки сходимости результатов по мере увеличения числа
конечных элементов в исследуемой области. Второй путь заключается в сравнении
приближенного решения с результатами эксперимента.
Расчет напряженно-деформированного
состояния лопаток компрессора и оценка концентрации напряжений проводится с
помощью метода конечных элементов и программы для проведения
конечно-элементного анализа ANSYS, которая относится к классу
"тяжелых" систем и имеет расширенные вычислительные возможности.
Расчет проводится в трехмерной
стационарной постановке.
Решение любой задачи в ANSYS включает следующие
три этапа:
. Построение модели.
. Задание граничных условий и получение решения.
. Анализ результатов.
2.3 Математическая
постановка задачи
Постановка данной задачи в рамках теории
упругости будет иметь следующий вид:
¨ уравнения равновесия:
;
¨
геометрические соотношения Коши:
;
¨ физические соотношения - обобщенный
закон Гука для однородного изотропного тела,
,
где
и
параметры Ляме - упругие константы
изотропного материала:
,
;
¨ дифференциальные зависимости
Сен-Венана:
;
¨ граничные условия:
статические граничные условия в форме Коши:
,
кинематические граничные условия;
Расчеты производились методом
конечных элементов в пространственной упругой постановке. Для построения
конечно-элементных соотношений использовался вариационный метод: на основе
принципа минимума общей потенциальной энергии системы.
Выражение для потенциальной энергии
в задаче теории упругости в перемещениях имеет вид:
.
После дискретизации системы и записи
для нее потенциальной энергии (через вектор узловых перемещений) получаем
разрешающую систему линейных алгебраических уравнений метода конечных
элементов:
,
где
- матрица жесткости системы,
- вектор
узловых неизвестных,
- вектор
приведенных сил.
В данной задаче МКЭ реализуется в
пространственной упругой постановке.
2.4
Описание конечно-элементных моделей
Для решения задачи определения НДС
лопаток с повреждением и без повреждения в программном комплексе ANSYS были
созданы соответствующие модели. Были созданы модели лопаток без концентраторов
напряжений (Рис. 6) и модели лопаток с заданными параметрами концентраторов.
Рис.6. Конечно-элементная модель
лопатки 5 ступени НА без дефектов.
Для решения с помощью МКЭ в
пространственной упругой изотропной постановке в ANSYS был выбран
призматический 8-и узловой элемент solid185 (Рис. 7). Этот элемент используется
для трехмерного моделирования твердых структур. Он определяется восьмью узлами,
каждый узел имеет три степени свободы.
Рис. 7. Призматический 8-и узловой элемент
solid185.
Характерный размер элементов 0,5 мм. Вблизи
кромок и в зоне концентратора конечно-элементная сетка имеет сгущение (Рис.8).

а) б) в)
Рис.8. Сгущение конечно-элементной сетки
а) и б) вблизи входной и выходной кромок
соответственно; в) вблизи концентратора
При создании расчетной модели необходимо задание
свойств материала. В зависимости от решаемой задачи, свойства материалов могут
быть линейными или нелинейными. Линейные свойства не учитывают пластическое
поведение материала. Они могут быть постоянными или зависеть от температуры,
могут также быть изотропными или ортотропными.
Для решения поставленной задачи о
концентрации напряжений интерес представляет получение не реального поля
напряжений в лопатке, а лишь относительных значений напряжений в виде
коэффициентов концентрации. В качестве модели материала лопатки принята упругая
модель без учета пластических свойств, линейная, изотропная с использованием
двух констант - модуль упругости
=21350 МПа и коэффициент Пуассона
=0,3.
Для создания модели применен метод
сплошного твердотельного моделирования. Для этого сначала создавалась
геометрическая модель пера лопатки, а затем на нее накладывалась сетка.
Тип анализа выбирается в зависимости от условий
нагружения и вычисляемых параметров. Для исследования лопатки на концентрацию
напряжений выбираем статический анализ.
Нагружение лопатки имитировалось
приложением центробежной силы ко всему объему лопатки через угловую скорость
в радианах
в секунду (Рис. 9б). Ранее была разработана методика [17] определения
теоретических коэффициентов концентрации при приложении сосредоточенной силы Р
в центре тяжести периферийного сечения в направлении, перпендикулярном оси
наименьшей жесткости в сторону спинки (Рис. 9а). Расчет проводился при одних и
тех же значениях угловой скорости
для лопаток без концентратора и
концентратором напряжений.
а б
Рис. 9. Схема приложения силы:
а) изгибающая сила, б) центробежная
сила
2.5
Граничные условия
Для реализации решения задачи
приняты следующие допущения:
¨ В геометрической модели лопатки не
учитывается изменение профиля по высоте. Модель лопатки имеет постоянное по
высоте сечение, которое соответствует наиболее опасному сечению реальной
лопатки - сечению, в котором имеют место максимальные динамические напряжения
при колебаниях по первой изгибной форме;
¨ Закрепление
лопатки в замке моделируется жесткой заделкой в корневом сечении. Таким
образом, лопатка рассматривается как консольная балка, жестко защемленная в
основании;
¨ Не учитывается
изменение рабочей температуры;
¨ Задача
рассматривается в упругой постановке;
¨ Поля напряжений
получены при статическом нагружении.
При приложении растягивающей нагрузки осуществлялся
подъем лопатки на величину Rвт
(табл. 5) от оси вращения двигателя.
Таблица 5 - Значения втулочного радиуса.
|
№
ступени
|
Rвт, мм
|
|
3
|
169,4
|
|
5
|
214
|
|
9
|
245,5
|
|
13
|
253,5
|
2.6 Подтверждение
достоверности математической модели
Для оценки достоверности получения расчетных
результатов в рамках данной работы проведено исследование сходимости решения на
конечно-элементной модели лопатки. Сходимость решения определялась при других
граничных условиях [21]. Оценка сходимости проводилась на модели, соответствующей
лопатке 5-й ступени направляющего аппарата КВД, имеющей концентратор V-образной
формы на входной кромке с углом при вершине 60°, радиусом сопряжения ρ=0,1
мм и глубиной 0,4 мм. На модель лопатки накладывалась конечно-элементная сетка.
Сетка постоянного шага вблизи концентратора имела сгущение. Для оценки
сходимости рассматривалось пять моделей с характерным размером элементов вблизи
концентратора соответственно 0,0238 мм (рис. 10), 0,0195 мм, 0,0134 мм 0,0093
мм, 0,0074 мм (рис. 11). При этом относительная величина элемента ∆
(отношение размера элемента к радиусу сопряжения в вершине концентратора ρ)
составляла соответственно 0,238, 0,195, 0,134, 0,093, 0,074. Характерный
относительный размер элементов на удалении от концентратора составил ∆=5.
По результатам расчетов получена
зависимость теоретического коэффициента концентрации от обратной относительной
величины элемента 1/∆ (рис. 12). Анализ результатов показывает, что
кривая зависимости теоретического коэффициента концентрации от относительного
размера элемента асимптотически приближается к
=4,03. При относительном размере
элемента более 1/∆=7,5 (что соответствует ∆=0,134) расхождение
результата с асимптотическим значением составило менее 0,7 %. Данная оценка
позволила сделать вывод об оптимальности использования конечно-элементной
модели лопатки с характерным относительным размером элементов ∆ вблизи
концентратора порядка
.

Рис. 10. Фрагмент
модели лопатки с концентратором с характерным относительным размером элемента ∆=0,238
Рис. 11. Фрагмент
модели лопатки с концентратором с характерным относительным размером элемента ∆=0,074
Рис. 12. Зависимость теоретического
коэффициента концентрации
от
относительного размера элемента сетки вблизи концентратора
.
3.
Результаты математического моделирования
.1
Напряженное состояние в области концентратора
На Рис. 13 для титановой лопатки 5-й ступени без
дефектов изображено распределение напряжений, действующих вдоль пера лопатки,
при деформации растяжения.


а б в
Рис. 13. Распределение напряжений вдоль пера
лопатки 5-й ступени без концентратора напряжений: а) вид со стороны корыта; б)
вид со стороны спинки; в) распределение нормальных напряжений по сечению
лопатки на высоте 14 мм.
Напряженное состояние на входной кромке лопатки
без концентратора на высоте нанесения концентратора близко к одноосному (Рис.
13). Из рисунка 13 видно, что со стороны корыта образовалась зона растяжения, а
со стороны спинки - зона сжатия. Максимальные растягивающие напряжения
действуют на кромках лопатки. Распределение нормальных напряжений по сечению
лопатки на высоте 14 мм имеет значительный градиент. Характер распределения
напряжений по сечению лопатки, как и следовало ожидать, соответствует теоретическим
представлениям при деформациях растяжения. Как сказано выше в качестве
концентратора напряжений рассмотрен V-образный надрез.
В лопатке с V-образным надрезом поле
напряжений в его вершине также близко к одноосному. На рисунке 14 показано
распределение напряжений вдоль пера лопатки при деформации растяжения в лопатке
5-ой ступени с V-образным надрезом. В зоне концентрации напряжений имеет место
значительный градиент напряжений. Точка с максимальным значением
находится
не на криволинейном ребре концентратора, а на некотором расстоянии от него.
Рис. 14.
Распределение напряжений в лопатке 5-й ступени с V-образным надрезом.
Наличие концентратора искажает картину
распределения напряжений в локальной зоне вблизи концентратора, на удалении от
концентратора характер распределения напряжений существенно не изменяется.
3.2 Влияние вида
нагружения на теоретические коэффициенты концентрации напряжений
Как сказано выше лопатка была нагружена
центробежной нагрузкой и получены теоретические коэффициенты концентрации, как
отношение максимального значения напряжений в концентраторе к напряжению на
входной кромке в том же сечении в лопатке без повреждений.
В таблице 6 приведены максимальные напряжения,
рассчитанные теоретические коэффициенты концентрации для центробежной нагрузки
для исследованных лопаток концентратором V-образной
формы, а также коэффициенты концентрации для изгибной нагрузки, опубликованные
ранее [21].
усталостный прочность лопатка
компрессор
Таблица 6- Рассчитанные теоретические
коэффициенты концентрации для изгибающей и центробежной нагрузки
Ступень Материал h, мм
ρ, мм
αцб
αи
|
%
|
|
|
|
|
|
|
5НА
|
ВТ8М
|
0,4
|
0,5
|
0,1
|
3,27
|
3,05
|
4,6
|
|
5НА
|
|
0,83
|
0,76
|
|
5,92
|
5,38
|
9
|
|
5НА
|
|
0,4
|
0,5
|
0,2
|
5,7
|
5,708
|
0,1
|
|
5НА
|
|
0,83
|
0,76
|
|
4,37
|
3,98
|
8
|
|
5НА
|
ЭИ787
|
1
|
0,85
|
0,1
|
4,44
|
4,39
|
1
|
|
5НА
|
|
0,5
|
0,57
|
|
4,23
|
4,33
|
2
|
|
9РК
|
|
0,5
|
0,82
|
0,1
|
4,46
|
4,79
|
6
|
|
9РК
|
|
0,23
|
0,5
|
|
3,17
|
3,55
|
10
|
|
9РК
|
|
0,44
|
0,76
|
|
4,09
|
4,47
|
8
|
|
9РК
|
|
1
|
1,18
|
|
5,62
|
5,34
|
4
|
|
13РК
|
|
1
|
1,255
|
0,1
|
6,20
|
5,69
|
8
|
|
13РК
|
|
0,9
|
0,777
|
0,2
|
5,34
|
5,5
|
3
|
|
3РК
|
|
1,6
|
1,026
|
0,1
|
7,35
|
6,91
|
6
|
% - показывает на сколько процентов
теоретический коэффициент концентрации при изгибе меньше коэффициента
концентрации при растяжении.
Анализ полученных зависимостей
показывает, что при одной и той же относительной глубине концентратора, в
лопатке нагруженной центробежной нагрузкой имеет место больший теоретический
коэффициент концентрации напряжений (Рис. 15, 16). Так, например, при
относительной глубине концентратора
=0,5 уменьшение теоретического
коэффициента концентрации при изгибе составляет 6 %.
Для V-образного
надреза теоретический коэффициент концентрации при растяжении возрастает с
увеличением относительной глубины надреза (Рис. 16), это возрастание близко к
линейному. Для V-образного
надреза с увеличенным в 2 раза радиусом сопряжения в вершине ρ
значения теоретического коэффициента концентрации значительно меньше, так для
надреза с ρ =0,2 мм значения ασ
на 30…40 % ниже, чем в случае ρ=0,1
мм.
Рис. 15. Зависимости теоретического коэффициента
концентрации при изгибе от относительной глубины повреждений для исследованных
лопаток:
○ 5НА V-образный
надрез ρ=0,1
мм, ● 9РК V-образный
надрез ρ=0,1
мм,
■ 5НА V-образный
надрез ρ=0,2
мм, □ 13РК V-образный
надрез ρ=0,1
мм, Δ
3РК V-образный надрез ρ=0,1
мм.
Рис. 16. Зависимости теоретического коэффициента
концентрации при растяжении центробежными силами от относительной глубины
повреждений для исследованных лопаток:
○ 5НА V-образный
надрез ВТ8М ,
● 13РК V-образный
надрез ρ=0,1
мм,
■ 9НА V-образный
надрез ρ=0,1
мм, □ 3РК V-образный
надрез ρ=0,1
мм, Δ
5НА V-образный надрез
ЭИ787-ВД.
Теоретический коэффициент концентрации для всех
исследованных лопаток возрастает с увеличением относительной глубины надреза,
это возрастание близко к линейному.
Процентное соотношение коэффициентов
концентрации при различных способах нагружения невелико, поскольку природа
возникающих реакций одна.
Таким образом, для лопаток с различными
размерами, различной толщиной кромок, значения теоретического коэффициента
концентрации зависят только от размеров концентратора: глубиной h и радиусом в
вершине ρ.
Это объясняется локальным характером напряженного состояния в зоне концентрации
напряжений.
В работе [21] предложено скорректированное соотношение
Инглиса, полученное для изгибающей нагрузки (1.19). Полученные результаты по
определению теоретических коэффициентов концентрации напряжений при
растягивающей нагрузке от центробежных сил также подтверждают это соотношение.
(1.19)
Отклонение от этого соотношения для
всех рассчитанных методом конечных элементов теоретических коэффициентов
концентрации для отношения h/ρ в диапазоне 0,28…16,0 не
превышает 10%. В таблице 7 приведены теоретические коэффициенты концентрации
напряжений
в
исследованных лопатках с V-образным надрезом.
Таблица 7- ТКК в исследованных
лопатках.
|
Ступень
|
Материал
|
αцб
|
α*цб
|
%
|
|
5НА
|
ВТ8М
|
3,27
|
3,12
|
4
|
|
5НА
|
|
5,92
|
5,32
|
9
|
|
5НА
|
|
5,7
|
5,7
|
0
|
|
5НА
|
|
4,37
|
4,05
|
7
|
|
5НА
|
ЭИ787
|
4,44
|
4,35
|
2
|
|
5НА
|
|
4,23
|
4,35
|
4
|
|
9РК
|
|
4,46
|
4,35
|
2
|
|
9РК
|
3,27
|
3
|
|
9РК
|
|
4,09
|
4,15
|
1
|
|
9РК
|
|
5,62
|
5,7
|
1
|
|
13РК
|
|
6,20
|
5,7
|
8
|
|
13РК
|
|
5,34
|
5,5
|
3
|
|
3РК
|
|
7,35
|
7
|
5
|
αцб - ТКК при растяжении
центробежными силами;
α*цб - ТКК,
полученный по формуле (1.19);
% - показывает отклонение всех рассчитанных
методом конечных элементов теоретических коэффициентов концентрации от
соотношения (1.19).
Из таблицы видно, что отклонение теоретического
коэффициента концентрации для центробежной нагрузки αцб
от значения α*цб не превышает
10%. При учете значений напряжений в анализе теоретических коэффициентов
концентрации, полученных для центробежной нагрузки αцб,
результаты описываются соотношением (1.19) с достоверностью аппроксимации 0,9.
Поскольку соотношение (1.19) получено для
широкого круга типоразмеров лопаток и широкого диапазона отношений h/ρ,
его можно рекомендовать для оценки теоретических коэффициентов концентрации в
лопатках компрессора с повреждениями - концентраторами различной формы на
входной кромке.
Рис. 17. Зависимости теоретического коэффициента
концентрации от размеров повреждения.
На Рис. 17 представлена зависимость
всех полученных в работе теоретических коэффициентов концентрации напряжений
от
геометрических параметров концентраторов. Эти расчетные значения описываются
соотношением (1.19). Оно может быть использовано вне зависимости от формы
колебаний лопатки, испытываемой нагрузки и высоты положения концентратора на
входной кромке.
Выводы по главе 3
Получены теоретические коэффициенты концентрации
напряжений при растяжении центробежными силами в лопатках от V-образных
надрезов, моделирующих эксплуатационные повреждения; исследовано влияние
размеров надрезов, размеров лопаток на теоретические коэффициенты концентрации.
Значения теоретических коэффициентов концентрации находятся в диапазоне 3,17 …
7,35.
Анализ полученных зависимостей показывает, что
при одной и той же относительной глубине концентратора, в лопатке нагруженной
центробежной нагрузкой имеет место больший теоретический коэффициент
концентрации напряжений, чем для лопатки, испытывающей изгибающую нагрузку на 6
%.
Характер распределения напряжений по сечению
лопатки соответствует теоретическим представлениям при деформациях растяжения.
В лопатке с V-образным надрезом поле напряжений в его вершине близко к
одноосному. В зоне концентрации напряжений имеет место значительный градиент
напряжений.
Полученные результаты по определению
теоретических коэффициентов концентрации напряжений при растягивающей нагрузке
от центробежных сил подтверждают соотношение (1. 19), полученное для изгибающей
нагрузки. Отклонение от этого соотношения для всех, рассчитанных методом
конечных элементов, теоретических коэффициентов концентрации для отношения h/ρ
в диапазоне 0,28…16,0 не превышает 10%.
Поскольку соотношение (1.19) получено для
широкого круга типоразмеров лопаток и широкого диапазона отношений h/ρ,
его можно рекомендовать для оценки теоретических коэффициентов концентрации в
лопатках компрессора с повреждениями- концентраторами различной формы на
входной кромке.
4. Концентрация
напряжений в лопатке с трещиной
Наряду с традиционными методами,
одним из путей повышения надежности лопаток должно быть обеспечение живучести,
под которой понимается сохранение работоспособности при появлении дефекта.
Обеспечение живучести, сопротивления развитию трещин должно опираться на
понимание закономерностей развития трещин в лопатках с учетом специфики их
конструкции, технологических и эксплуатационных факторов, знание характеристик
их трещиностойкости.
С точки зрения кинетики усталостной трещины
неважно, что явилось причиной ее появления.
В соответствии линейной механикой разрушения
кинетика трещины определяет напряженное состояние в ее вершине, которое
характеризуется коэффициентом интенсивности напряжений (КИН). Ниже приведен
анализ напряженного состояния лопатки с трещиной и определены КИН.
4.1 Объект исследования
Исследования проводились на лопатках пятой
ступени компрессора высокого давления. Лопатки с замком типа "ласточкин
хвост" имеют переменный по длине слабо закрученный профиль. Допуски на
размеры профильной части составляют 0,1 мм. Хорда профиля неизменна по высоте и
составляет 26 мм, относительная высота профильной части 2,42, относительная
толщина профиля в корневом сечении 0,099, толщина входной кромки hвх
= 0,72 мм, выходной - 0, 4 мм. Механические свойства исследованных лопаток
приведены в таблице 8.
Таблица 8 - Механические свойства материалов
исследованных лопаток
|
Материал
|
ВТ8М
|
|
Плотность,
кг/м3
|
4481
|
|
Модуль
упругости, Па
|
1,2∙1011
|
|
Рабочая
температура, ºС
|
до
550
|
|
Предел
прочности, МПа
|
1200
|
|
Предел
выносливости, МПа ( )530
|
|
|
Пороговое
значение КИН, 20,492
|
|
Пороговый коэффициент интенсивности напряжений
определен экспериментально [14].
Нагружение лопатки имитировалось приложением
сосредоточенной силы Р в центре тяжести периферийного сечения в направлении,
перпендикулярном оси наименьшей жесткости в сторону спинки (Рис. 9а), т. е.
лопатка испытывала напряжения изгиба.
Форма и положение фронта трещины
определены экспериментально [15] и считаются известными. Положение фронта
трещины характеризуется длиной трещины
- расстояние от входной кромки до
фронта со стороны корыта (Рис. 18).
Рис. 18 Положение фронта трещины
В данной работе рассмотрены
лопатки с трещинами длиной 1, 2и 4 мм.
Задачами данного исследования является
определение коэффициентов интенсивности напряжений для лопаток с трещинами,
оценка снижения усталостной прочности лопаток с трещинами с помощью
эффективного коэффициента концентрации напряжений.
4.2 Выбор метода
исследования
Классические методы расчета на
прочность конструкций основываются на предположении, что в материале в течение
всего времени работы отсутствуют макроскопические дефекты. Большинство
практических задач обеспечения прочности успешно решаются в рамках таких
представлений. К проблемам, для решения которых такой подход недостаточен,
относится обеспечение безопасности конструкции при наличии дефектов,
эксплуатационной живучести.
Дефекты в материале могут
возникнуть как в процессе эксплуатации, так и при производстве детали. В первом
случае дефекты возникают вследствие развития процессов накопления повреждений
или возникновения случайных нештатных ситуаций (например, попадания посторонних
предметов в газовоздушный тракт авиационного двигателя). Во втором случае
производственные дефекты могут быть пропущены при технологическом контроле
изделия.
Для решения этого класса задач
необходимо рассматривать разрушение как процесс, развивающийся во времени.
Заключительной стадией разрушения является рост макроскопической трещины вне
зависимости от того, по какой причине она появилась: при изготовлении детали
или при ее эксплуатации. Эта стадия заканчивается собственно разрушением -
разделением тела на части. Продолжительность ее зависит от характера изменения
во времени действующих нагрузок, структуры материала, температуры, размеров
исходных дефектов. В частности, при циклическом нагружении детали стадия
развития трещины часто составляет значительную долю общего времени жизни детали
и определяет ее живучесть. Процессы развития трещин изучает механика
разрушения.
Механика разрушения
рассматривает не возникновение, а развитие трещин, не вдаваясь в конкретный
физический механизм разрушения. Одно из ее основных исходных положений состоит
в том, что в материале имеется одна или несколько макроскопических трещин; при
этом понятие разрушения трактуется как процесс их развития. Макроскопическая
трещина, являющаяся предметом изучения механики разрушения, имеет размеры,
многократно превышающие характерный размер структурных элементов материала. Это
позволяет использовать при решении задач разрушения аппарат механики сплошных
сред.
Анализ прочности и
долговечности детали с трещиной при циклическом нагружении в рамках линейной
механики разрушения состоит из следующих этапов: определение формы, размера и
местоположения наиболее опасных исходных трещиноподобных дефектов; определение
напряженно-деформированного состояния детали с детальным анализом поля
напряжений вблизи трещин и определением коэффициентов интенсивности напряжений;
определение критического размера трещины, при котором механизм усталостного
роста трещины сменяется механизмом статического долома; определение
долговечности на основе анализа выбранной модели роста трещины.
В соответствии с представлениями
линейной механики разрушения механическое состояние локальной зоны
предразрушения вблизи фронта трещины описывается коэффициентом интенсивности
напряжений (КИН), который является характеристикой поля напряжений в этой зоне.
При этом материал считается линейно упругой сплошной средой, а трещина
моделируется математическим разрезом с нулевым радиусом закругления в вершине.
Принято выделять три типа трещин (Рис. 19): I
- трещины нормального отрыва (перемещения берегов трещин происходят вдоль нормали
к исходной поверхности трещин (они отрываются одна от другой)); II - трещины
сдвига (отражает обратно симметричное нагружение относительно линии трещин;
деформация сдвига происходит поперек фронта трещин. Поверхности трещины
скользят одна по другой, без раскрытия между ними.) и III - трещины среза
(деформация сдвига параллельна фронту трещины). В реальных конструкциях
наиболее распространены трещины нормального отрыва.
Рис. 19 Типы трещин
Для каждого из этих типов
трещин в теории упругости найдены поля напряжений, имеющие особенность
(особенностью называют асимптотическое стремление к функции к бесконечности
вблизи некоторой точки) у вершины.
Экспериментальный метод исследования
долговечности элементов конструкций с трещинами очень сложен, поскольку связан
с трудоемкими и дорогостоящими испытаниями, многообразием форм деталей и
условий их нагружения. В практике научных исследований и инженерных расчетов в
области прочности, когда необходимо определить напряженное состояние в вершине
трещины, прибегают к использованию численных методов.
Рассмотрим сквозную трещину
нормального отрыва длинной 2а в бесконечной пластине, нагруженной растягивающим
напряжением
(Рис. 20).
Рис. 20 Трещина нормального отрыва в
пластинке и характер распределения напряжений вблизи ее вершины
Поле напряжений в точке,
расположенной на расстоянии r от вершины трещины определено в теории упругости
аналитически:
(1.20)
Все компоненты напряжения
пропорциональны внешнему напряжению
. Их величины пропорциональны
квадратному корню из размера трещины и стремятся к бесконечности в вершине
трещины (при r->0).
Зависимость
от r при
= 0 показана
на Рис.20.
Таким образом, поскольку радиус в
вершине трещины нулевой, для оценки напряженного состояния невозможно
воспользоваться коэффициентом концентрации напряжений: он всегда стремится к
бесконечности. Для того, чтобы обойти эту неопределенность, в механике
разрушения для оценки напряженного состояния в вершине трещины используют
коэффициент интенсивности (а не концентрации) напряжений. Он вводится следующим
образом. В обобщенном виде уравнения (1.20) для бесконечной пластинки с
трещиной можно записать так:
, (
) (1.21)
где
Коэффициент КI называется
коэффициентом интенсивности напряжений (КИН), индекс I определяет схему
нормального отрыва (Рис. 19).
Коэффициент интенсивности напряжений
зависит от внешней нагрузки и размера трещины. Для тел и трещин более сложной
формы, чем рассмотренная выше бесконечная пластинка, в выражение для КИН
вводится поправочный коэффициент формы Y (так
называемая К-тарировка), отражающий влияние формы тела и трещины:
(1.22)
Расчет КИН представляет
специфическую пространственную задачу теории упругости. Если коэффициент
интенсивности напряжений найден, поле напряжений вблизи вершины трещины
определено полностью.
При статическом нагружении тела с
трещиной критерием разрушения считают не достижение в вершине трещины предела
прочности, а достижение порогового значения коэффициентом интенсивности
напряжений. Дело в том, что для любой отличной от нуля внешней нагрузки
, как видно
из (1.21), напряжения в вершине трещины бесконечны; критерий разрушения по
пределу прочности в рамках принятых допущений не информативен, поскольку
выполняется при любой нагрузке.
Пороговое значение КИН определяется
из специальных экспериментов, которые проводятся на образцах с трещиной.
Пороговый КИН
является,
таким образом, характеристикой материала (Табл. 8), иногда его называют
вязкостью разрушения. Из этого критерия при известном
, легко
определяется пороговое значение напряжения
для известного размера трещины а.
(1.23)
Расчет напряженно-деформированного состояния
лопаток компрессора проводится с помощью программы для проведения
конечно-элементного анализа ANSYS,
которая относится к классу "тяжелых" систем и имеет расширенные
вычислительные возможности.
Расчет проводится в трехмерной стационарной
постановке.
Решение любой задачи в ANSYS включает следующие
три этапа:
. Построение модели.
. Задание граничных условий и получение решения.
. Анализ результатов.
4.3 Математическая
постановка задачи
Как сказано выше вершина
трещины представляет собой самый острый концентратор напряжений и деформаций. С
позиций линеаризированной теории упругости трещина моделируется математически
тонким разрезом, т. е. расстояние между его берегами равно нулю (в отсутствии
внешних нагрузок). Конец этого разреза (вершина трещины) есть особая точка,
поскольку решения теории упругости для напряжений и деформаций в этой точке стремятся
к бесконечности. Это ясно и с общеинженерных соображений, поскольку радиус
кривизны в конце разреза равен нулю.
Рис. 21 Компоненты напряжений и
систем координат в вершине трещины
Коэффициент интенсивности
напряжений К характеризует величину напряжений (и деформаций) в ближайшей
окрестности вокруг вершины (Рис. 21).
Перемещения не имеют
особенности у вершины трещины и асимптотические формулы для перемещений
выглядят так
(1.24)
Здесь G,v - модуль
упругости при сдвиге и коэффициент Пуассона.
Формула (1.24) открывает путь к
прямому определению коэффициента интенсивности напряжений по полю напряжений
или перемещений [10]. Понятно, что поскольку градиент напряжений велик, то
определение коэффициента интенсивности напряжений К сопряжено с большими
погрешностями.
Коэффициент интенсивности напряжений
связан с потоком энергии в вершину трещины G формулой
EG=K2 (1.25)
Связь потока энергии G с
коэффициентом интенсивности напряжений К посредством формулы (1.25) дает
возможность определения коэффициента К через поток энергии.
Как известно, результаты расчета
целиком определятся алгоритмом, заложенным в программу. В то же время
существуют острые концентраторы напряжений с особенностью, отличной от
корневой. Например, растянутая плоскость, ослабленная острым угловым вырезом.
Если угол ψ между
верхней и нижней сторонами угла равен нулю, то получается тонкий разрез -
трещину. Если этот угол отличен от нуля, то тогда напряжение в окрестности
кончика выреза равно (на оси симметрии х углового выреза)
(1.26)
В данной задаче МКЭ реализуется в
пространственной упругой постановке.
4.4 Граничные условия
Для реализации решения задачи приняты следующие
допущения:
¨ В геометрической модели лопатки не
учитывается изменение профиля по высоте;
¨ Закрепление
лопатки в замке моделируется жесткой заделкой в корневом сечении. Таким
образом, лопатка рассматривается как консольная балка, жестко защемленная в
основании;
¨ Не учитывается
изменение рабочей температуры;
¨ Задача
рассматривается в упругой постановке;
¨ В сечении имеется
только одна тещина;
¨ Трещина развивается
в плоскости поперечного сечения лопатки, плоскость перпендикулярна направлению
действия напряжений.
4.5
Описание конечно-элементной модели
Для решения задачи определения КИН в лопатках с
трещиной в программном комплексе ANSYS были созданы соответствующие модели.
Были созданы модели лопаток с трещинами длинной 1, 2 и 4 мм.
Для решения с помощью МКЭ в пространственной
упругой изотропной постановке в ANSYS был выбран тетраэдрический элемент
solid95. С его помощью была нанесена конечно-элементная сетка на
вспомогательный объем вокруг фронта трещины (Рис. 22). На остальной объем
лопатки была нанесена КЭ сетка с помощью элемента MESH200,
который является универсальным. Его преимуществом является отсутствие степеней
свободы, вследствие чего модель занимает меньше места в памяти, и гибкость, так
как после успешной генерации сетки его можно превратить в любой классический
элемент соответствующей формы. Характерный размер элементов вблизи фронта
трещины 0,2 мм.
Рис.22. Конечно-элементная модель лопатки 5
ступени с трещиной.
Нагружение лопатки имитировалось приложением
сосредоточенной силы Р в центре тяжести периферийного сечения в направлении,
перпендикулярном оси наименьшей жесткости в сторону спинки.
4.6
Результаты математического моделирования
Коэффициенты интенсивности
напряжений были определены в четырех точках фронта трещины (Рис. 23).
Рис. 23 Расположение точек на
фронте трещины, в которых определены КИН
Ниже (Рис. 24а) показана
лопатка с трещиной длиной 2 мм и ее раскрытие после приложения нагрузки (Рис.
24б).
а)
б)
Рис. 24 а) лопатка с трещинной
длинной 2 мм; б) раскрытие трещины после приложения нагрузки.
В таблицах 9, 10, 11 приведены
значения коэффициентов интенсивности, функции формы в каждой точке для трещин
длиной 1, 2 и 4 мм соответственно.
Таблица 9 - Значения коэффициентов
интенсивности, функции формы для трещины длиной 1 мм
|
Точка
|
Y(1)
|
|
|
A
|
32,884
|
1,495
|
|
B
|
31,874
|
1,449
|
|
C
|
27,336
|
1,243
|
|
D
|
24,069
|
1,094
|
Таблица 10 - Значения коэффициентов
интенсивности, функции формы для трещины длиной 2 мм
|
Точка Y(2)
|
|
|
|
A
|
46,858
|
1,506
|
|
B
|
37,875
|
1,217
|
|
C
|
33,547
|
1,078
|
|
D
|
37,094
|
1,192
|
Таблица 11 - Значения коэффициентов
интенсивности, функции формы для трещины длиной 4 мм
|
Точка Y(4)
|
|
|
|
A
|
48,604
|
1,105
|
|
B
|
46,939
|
1,067
|
|
C
|
41,449
|
0,942
|
|
D
|
55,417
|
1,259
|
Видно, что коэффициент
интенсивности напряжений имеет меньшее значение на корыте и возрастает к спинке
лопатки. Чем больше длина трещины, тем большее значение имеет коэффициент
интенсивности в каждой точке фронтов трещин.
При расчете функции формы
использовалась формула (1.27)
, (1. 27)
где
=22 кгс - напряжение, определенное
для гладкой лопатки экспериментально [14].
Зависимость коэффициента формы от
длины трещины (Рис. 25) показывает, что с увеличением длины трещины коэффициент
формы на корыте, т.е. в точке А уменьшается, на спинке, т.е. в точке D -
увеличивается. В промежуточных точках (В и С) коэффициент формы уменьшается и
имеет примерно одинаковый порядок.
Как сказано выше пороговый КИН
является
характеристикой материала (Табл. 8). Из этого критерия при известном
, легко
определяется пороговое значение напряжения
(Табл. 12) для известного размера
трещины а (1.23).
На Рис. 26 показана зависимость
порогового значения напряжений в точке А, т.е. на корыте лопатки, от длины
трещины. При увеличении длины трещины пороговое значение напряжения постепенно
уменьшается. Это означает, что чем больше длина трещины, тем быстрее произойдет
поломка лопатки при неизменной нагрузке.
Рис. 25. Зависимости функции формы от длины
трещины:
- функция формы в точке А ,
- функция формы в точке В ,
- функция формы в точке С ,
- функция формы в точке D
Рис. 26. Зависимости порогового значения
напряжений от длины трещины
Эффективный коэффициент концентрации
напряжений определяется как отношение напряжения в гладкой лопатке
=51,7 кгс, в
точке нанесения фронта трещины к критическому значению напряжений σth (Табл. 12).
Таблица 12 - Значения эффективных коэффициентов
концентрации, критических значений напряжений, на корыте лопаток с трещинами
длиной 1, 2, и 4 мм
|
а,
мм
|

|
|
|
1
|
13,709
|
3,771
|
|
2
|
9,621
|
5,374
|
|
4
|
9,275
|
5,574
|
Зависимость эффективного коэффициента
концентрации от длины трещины показана на Рис. 27. Для титановых лопаток с
трещиной, эффективный коэффициент концентрации Кσ
лежит в пределах 3,7-5,56. С увеличением длины трещины он несколько возрастает.
Из Рис. 27 видно, что значения Кσ,
полученные расчетным методом, согласуются со значениями, полученными
экспериментально.
Рис. 27. Зависимости эффективного
коэффициента концентрации от длины трещины:
- экспериментальные значения,
-расчетные
значения.
Для определения среднего по фронту
трещины значения коэффициента интенсивности напряжений (1. 28) рекомендуется
использовать энергетический метод в сочетании с конечно-элементным расчетом
напряженно-деформированного состояния энергии упругой деформации W лопатки с
трещиной (1.29)
, (1. 28)
где S - площадь
фронта трещины.
, (1. 29)
где Х- прогиб (Таблица 13).
Таблица 13 - Значения прогибов, энергии упругой
деформации, площадей фронтов трещин, коэффициентов интенсивности напряжений на
корыте лопаток с трещинами длиной 1, 2, и 4 мм
|
а,
мм
|
,мW , м2
|
|
|
|
|
1
|
2,103
|
0,105
|
1,02
|
32,884
|
|
2
|
2,128
|
0,106
|
2,027
|
46,858
|
|
4
|
2,22
|
0,111
|
4,923
|
48,604
|
На Рис. 28 показана зависимость коэффициента
интенсивности напряжений от площади фронта трещины. Приведен аппроксимирующий
график полученных значений.
Рис. 28. Зависимость коэффициента
интенсивности напряжений от площади фронта трещины.
Выводы по
главе 4
Процессы развития трещин
изучает механика разрушения.
Механическое состояние локальной зоны предразрушения
вблизи фронта трещины описывается коэффициентом интенсивности напряжений (КИН),
который является характеристикой поля напряжений в этой зоне.
Коэффициент интенсивности напряжений зависит от
внешней нагрузки и размера трещины.
Определены коэффициенты интенсивности напряжений
для лопаток с трещинами Кσ , значения
которых лежат в пределах 3,7-5,56. Коэффициент интенсивности напряжений имеет
меньшее значение на корыте и возрастает к спинке лопатки. Чем больше длина
трещины, тем большее значение имеет коэффициент интенсивности в каждой точке
фронтов трещин.
Зависимость коэффициента формы
от длины трещины показывает, что с увеличением длины трещины коэффициент формы
на корыте, т.е. в точке А уменьшается, на спинке, т.е. в точке D
- увеличивается. В промежуточных точках (В и С) коэффициент формы уменьшается и
имеет примерно одинаковый порядок.
Для определения среднего по фронту трещины
значения коэффициента интенсивности напряжений использовался энергетический
метод в сочетании с конечно-элементным расчетом напряженно-деформированного
состояния энергии упругой деформации W
лопатки с трещиной.
Заключение
В процессе выполнения дипломного проекта были
получены следующие результаты.
§ Разработана методика оценки снижения усталостной
прочности лопатки при наличии повреждения.
§ Определены теоретические (геометрические)
коэффициенты концентрации напряжений
для лопаток с V-образными
надрезами.
§ Проанализировано влияние вида нагружения на
теоретические коэффициенты концентрации напряжений.
§ Определены коэффициенты интенсивности напряжений
для лопаток с трещинами.
§ Проведен анализ прочности детали с трещиной при
циклическом нагружении в рамках линейной механики разрушения
§ Определено среднее по фронту трещины значение
коэффициента интенсивности напряжений энергетическим методом в сочетании с
конечно-элементным расчетом напряженно-деформированного состояния энергии
упругой деформации W лопатки с трещиной.
§ Разработана методика оценки сохранения
работоспособности при появлении дефекта.
§ Определены коэффициенты концентрации напряжений,
зависящие от вида дефекта, для оценки снижения усталостной прочности при
попадании постороннего предмета.
Список литературы
1. Биргер И.А., Балашов Б.Ф., Дульнев Р.А.
Конструкционная прочность материалов и деталей газотурбинных двигателей.- М.:
Машиностроение, 1991.-222с.
. Биргер И.А., Шорр Б.Ф., Иосилевич Г.Б.
Расчет на прочность деталей машин.- М.: Машиностроение, 1979- 702 с.
. Влияние повреждения забоиной на
сопротивление усталости лопаток из титановых сплавов. Технический отчет №9630,
ЦИАМ, 1981.
4. Duo P., Pianka C, Golowin
A., Fueller M., Schaefer R. Simulated foreign object damage on blade aerofoils.
real damage investigation. Proceedings of ASME Turbo Expo 2008: Power for Land,
Sea and Air June 9-13, 2008, Berlin, Germany, ASME2008-50371.
5. Двигатель ПС-90А. Исследование
усталостной прочности лопаток компрессора в зависимости от величины и характера
повреждения. Технический отчет №33083, «Авиадвигатель», 1998.
. Двигатель ПС-90ГП-1. Результаты
усталостных испытаний рабочих лопаток 10 ступени КВД выполненных с
коррозионно-эрозионно стойким покрытием ВБА-1. Техническая справка №27121, ОАО
«Авиадвигатель», 1994.
. Двигатель ПС-90А. Результаты
сравнительных усталостных испытаний лопаток КВД, выполненных с забоинами и с
зачистками. Техническая справка №24309, ПНИО «Авиадвигатель», 1991.
. Иноземцев А.А. Основы конструирования
авиационных двигателей и энергетических установок: учеб./ А.А. Иноземцев, М.А.
Нихамкин, В.Л. Сандрацкий.-М.: Машиностроение, 2008.-Т.2-368с.
. Исследование кинетики роста усталостных
трещин в лопатках компрессора, имеющих эксплуатационные повреждения.
Технический отчет №10052, ЦИАМ, 1983.
. Морозов Е.М., Муйземнек А.Ю., Шадский
А.С.ANSYS в руках
инженера.- М.: ЛЕНАНД, 2010.-456с.
. Нихамкин М.Ш., Л.В.Воронов И.П.Конев
Влияние объемных остаточных напряжений на усталостную прочность и
трещиностойкость лопаток ГТД . Вестник ПГТУ. Аэрокосмическая техника №24, 2006.
. Нихамкин М.Ш., Воронов Л.В., Конев
И.П., Плотникова Н.В. Влияние различных видов концентраторов на предел
выносливости лопаток. Динамика и прочность механических систем: Межвуз. сб.
тр./ППИ,- 1990.
. Нихамкин М.А., Л.В.Воронов И.П.Конев
Влияние эксплуатационных повреждений и объемных остаточных напряжений на усталостную
прочность и сопротивление развитию трещин в лопатках компрессоров. Вестник
двигателестроения №3, 2006.
. Нихамкин М.А. Методика
экспериментального определения характеристик циклической трещиностойкости
лопаток газотурбинных двигателей // Заводская лаборатория. Диагностика
материалов, 2002, №4.
. Нихамкин М.А. Определение
характеристик циклической трещиностойкости лопаток газотурбинных двигателей,
ПГТУ, 2008.
. Нихамкин М.Ш., Воронов Л.В., Конев
И.П., Семенова И.В., Плотников Ю.И., Сараева Л.В. Снижение усталостной
прочности лопаток компрессора ГТД при повреждении посторонними предметами .-
Авиационная промышленность, 2008. - №1.
. Определение эффективных коэффициентов
концентрации напряжений в лопатках КВД с повреждениями, нанесенными ударным
методом. Технический отчет №120345, «Авиадвигатель», 2009.
. Петухов А.Н. Сопротивление усталости
деталей ГТД.-М.: Машиностроение, 1993.-240с.
. Результаты испытаний на усталость
рабочих лопаток 8 ступени компрессора, выполненных с антиэрозионно-коррозионностойким
покрытием на основе нитрида титана. Технический акт №29688, ОАО
«Авиадвигатель», 1996.
. Результаты усталостных испытаний
рабочих лопаток 1,2,5 и 10 ступеней КВД, снятых с двигателей Д-30 после
наработки в эксплуатации 17000 часов (по плану №95-258 «работ по введению норм
забоин на рабочих лопатках компрессора двигателя Д-ЗОЭУ-1). Техническая справка
№28623, АО «Авиадвигатель», 1995.
. Разработка методов обеспечения
вибрационной прочности лопаток газотурбинных двигателей с учетом эксплуатационных
повреждений. Отчет о научно-исследовательской работе, ПГТУ, 2008.
. Сравнительные усталостные испытания
рабочих лопаток 5-й ступени КВД, деталь 94-01-1985, 94-01-1575, изделия ПС-90А.
Технический отчет №06511-910, Лаборатория усталостных испытаний, 1990.
. Сравнительные усталостные испытания
лопаток Н.А. 4-й ступени КВД, деталь «94-01-793 и «94-01-1584 изделия «94» из
сплава «ВТЗ-1» и «ВТ8-М». Технический отчет №06511-818, Лаборатория усталостных
испытаний, 1989.