Проект термического отделения для непрерывного обезуглероживающего и рекристаллизационного отжига изотропной электротехнической стали четвертой группы легирования
Проект
термического отделения для непрерывного обезуглероживающего и
рекристаллизационного отжига изотропной электротехнической стали четвертой
группы легирования. Годовая программа 130 тысяч тонн
ОГЛАВЛЕНИЕ
ВВЕДЕНИЕ
1.
Общая часть
.1 Патентная проработка
.2 Обоснование строительства
отделения
2.
Технологическая часть
.1 Выбор марок стали
.2 Влияние легирующих
элементов на свойства изотропной электротехнической стали
.3 Влияние примесей на
свойства изотропной электротехнической стали
.4 Свойства изотропной
электротехнической стали
.5 Обезуглероживание и
рекристаллизация
.6 Технологический процесс
.6.1 Принцип функционирования
агрегата термической обработки
.6.2 Технико-экономическое
обоснование выбранной технологии
3.
СПЕЦИАЛЬНАЯ ЧАСТЬ
4.
Расчет оборудования и проектирование отделения
.1 Технико-экономическое
обоснование выбора основного, дополнительного и вспомогательного оборудования
.2 Тепловой расчет
термоагрегата
.2.1 Камера нагрева №1
.2.2 Камера нагрева №2
.2.3 Камера выдержки №1
.2.4 Камера выдержки №2
.3 Расчет количества
оборудования
.4 Расчет электрических
нагревательных элементов
.5 Расчет производственных
площадей, планировка, грузопотоки
5.
Контроль качества продукции
.1 Контроль качества
электротехнической изотропной стали на переделах
.1.1 Горячекатаный подкат
.1.2 Холоднокатаный подкат
.1.3 Контроль процесса
обезуглероживания
.2 Аттестация готовой
продукции
.2.1 Методика определения
магнитных свойств
6.
Механизация и автоматизация
.1 Механизация
.2 Автоматизированная система
управления производством
7.
Экономическая часть
.1 Расчет капитальных
вложений по группам основных фондов
.1.1 Капитальные затраты на
возведение зданий
.1.2 Затраты на возведение
сооружений
.1.3 Капитальные затраты на
силовые машины и силовое оборудование
.1.4 Капитальные затраты на
рабочее оборудование
.1.5 Расчет капитальных
вложений в нормируемые оборотные средства
.1.6 Энергетика отделения
.3 Штаты термического
отделения, фонд заработанной платы и фонд материального поощрения
.3.1 Баланс использования рабочего
времени
.3.2 Расчет фонда
заработанной платы
.4 Калькуляция себестоимости
термической обработки
.5 Определение экономического
эффекта
8.
Охрана труда и промышленная безопасность
.1 Характеристика вредных
производственных факторов в термическом отделении
.1.1 Микроклимат
производственных помещений
.1.2 Выделение вредных
веществ и пыли
.1.3 Шум
.1.4 Вибрация
.1.5 Ионизирующее излучение
.1.6 Электробезопасность
.1.7 Электромагнитное поле
.1.8 Крановый и
железнодорожный транспорт
.1.9 Опасность пожара
.1.10 Опасность взрыва
.2 Расчет искусственного
освещения
Библиографический
список
ВВЕДЕНИЕ
Электротехнические стали являются наиболее значительной по потреблению в
электромашиностроении и трансформаторостроении группой магнитно-мягких
материалов. Изотропная электротехническая сталь применяется для изготовления
вращающихся магнитопроводов, низковольтной и высоковольтной аппаратуры,
трансформаторов, радиодросселей, реле и т. д. Качество этих сталей определяет
эксплуатационные показатели, затраты на производство, степень использования
материала и эффективность преобразования в электрических установках.
В ближайшие десятилетия потребность в изотропной электротехнической стали
будет постоянно повышаться.
В докладах на научно-технических конференциях показано, что разработки в
области электротехнической стали с неориентированным зерном в настоящее время
сосредоточены главным образом на уменьшении магнитных потерь за счет применения
тонкой ленты, усовершенствовании технологии разливки полосы, горячей прокатки,
отжига и использования новых типов электроизоляционных покрытий. Обращается
внимание на возникновение потенциальных магнитных потерь при последующей
штамповке, сварке, прессовании.
В процессе обработки на агрегате непрерывного действия рулоны, ленты
разматывают и протягивают через печь по опорным роликам. При этом
обеспечивается однородность свойств металла, все процессы протекают с большой
скоростью, высокая степень механизации и автоматизации, что приводит к
увеличению производительности труда и уменьшению цены изделия. Внедрение
непрерывных линий позволяет механизировать и автоматизировать процессы, в
результате чего достигается высокая производительность труда.
1. Общая часть
.1 Патентная
проработка
Таблица 1
Патенты на изотропную электротехническую сталь
|
Авторы патента
|
Страна, год, номер заявки, класс
|
Краткое содержание и основные положения статьи
|
|
1
|
2
|
3
|
|
Кондратков Д.А. Чеглов А.Е. Заверюха А.А.
|
Россия, 2004-2005, №2262540, Кл. C21D8/12
|
Известно, что электротехническая сталь с фосфором обладает
лучшим комплексом свойств. Однако при содержании фосфора > 0,03-0,05%
выделяется мелкодисперсная фаза, которая является причиной недостаточного
улучшения свойств при описанном выше способе производства. Фаза формируется
при конечном обезуглероживающе-рекристаллизационном отжиге. Используемые
режимы охлаждения не могут обеспечить коалисценции и растворения фазы, т. к.
скорость охлаждения выше требуемой. В патенте предложено проведение после
отжига в проходной печи дополнительной операции - отжига в колпаковой печи.
После отжига при 850°С величина уменьшилась на 18,7%. При этом
значение магнитной индукции увеличиваются на 0,01 Тл, а анизотропия удельных потерь и
магнитной индукции уменьшается.
|
|
Миндлин Б.И. Чеглов А.Е. Барыбин В.А.
|
Россия, 2005, №2288282, Кл. C21D8/12
|
В патенте изложен способ улучшения магнитных свойств путем
при производстве изотропной электротехнической стали различных групп
легирования кремнием и фосфором. Состоит в следующем: холодная прокатка с
последующем рекристаллизационным отжигом, при этом содержание фосфора в стали
устанавливают равным, масс. %: 0,15-0,30; 0,15-0,20; 0,09-0,15 при суммарном
содержании кремния и фосфора 0,40; (0,40-1,30); (1,30-2,0); (2,0-2,6) соответственно и
содержании алюминия до 0,50 %, а температуру рекристаллизационного отжига
задают в соответствии с условием при и при . Предложенные концентрации фосфора
способствуют формированию равноосной микроструктуры сталей и обеспечивают
увеличение доли кубических ориентировок {200}{310} в текстуре полуготовых и
готовых полос до 50% после рекристаллизационного отжига. Это позволяет
получить высокий уровень магнитных свойств. Кроме того, введение в сталь
фосфора способствует рафинированию металла т. к. он, обладая большим
сродством к кислороду, забирает его на себя и очищает от этой вредной
примеси.
|
|
Кондратков Д.А. Чеглов А. Е. Слюсарь Н.И. Заверюха А.А.
|
Россия, 2004-2006, №2270262, Кл. C21D8/12
|
В патенте изложен способ производства изотропной
электротехнической стали с повышенным содержанием фосфора, исключающий одну
технологическую операцию - обезуглероживающий отжиг. Способ производства
состоит в следующем: выплавка, горячая и холодная прокатки и отжиг и
отличается тем, что после выплавки сталь содержит не более 0,01% С и
0,05-0,40% Р, а после холодной прокатки проводят отжиг в колпаковой печи в
сухой атмосфере. Это позволяет избежать образования зоны внутреннего
окисления, которая приводит к повышению удельных потерь и снижению магнитной
индукции.
|
|
Чеглов А.Е., Слюсарь Н.И., Заверюха А.А.
|
Россия, 2004-2006, №2271255, Кл. В21В1/28
|
В патенте изложен способ улучшения магнитных свойств путем
при производстве изотропной электротехнической стали. Способ включает
многопроходное обжатие горячекатаной полосы в валках с подачей
технологической смазки в очаг деформации при суммарной степени деформации
75-80%. При такой суммарной степени деформации предлагается натяжение полосы
между первой и второй клетями поддерживать на уровне 26-30 т при ширине
полосы 1000-1200 мм, а между последующими клетями не более 10 т. Изобретение
обеспечивает уменьшение количества зерен с ориентировкой {111}<uvw> на 4-6% и соответственно
уменьшить удельные потери на 4-6% и несколько повысить магнитную индукцию.
|
|
|
|
|
Чеглов
А.Е. Миндлин Б.И. Барыбин В.А. Россия, 2004-2006, №2278171, Кл. C21D8/12 В
патенте изложен способ улучшения магнитных свойств путем снижения удельных
магнитных потерь за счет получения особо низких концентраций углерода в готовой
стали. Этот результат достигают проведением отжига в азотоводородной защитной
атмосфере при Т=780-1100°С, при этом содержание водорода в атмосфере
устанавливают в зависимости от содержания углерода до отжига и толщины
холоднокатаных полос в соответствии с соотношением:
,
где
- содержание водорода в азотоводородной атмосфере при
обезуглероживающем отжиге, %;
и
- экспериментально определенные коэффициенты:
=17,5%;
- при
мм;
-
толщина холоднокатаных полос, мм;
С
- содержание углерода до обезуглероживающего отжига, %.
|
Сталь содержит масс. %: 0,0055-0,06 углерода; не более 3,2
кремния; не более 1 алюминия; не более 1,5 марганца; не более 0,40 фосфора.
|
.2 Обоснование строительства отделения
Рекристаллизационный отжиг является составной частью длинной цепи
технологических переделов электротехнической стали, поэтому строительство
термического отделения для отжига целесообразно осуществлять в системе цеха,
проводящего полный цикл обработки электротехнической стали; обеспечивает
правильное расположение цехов, участков, источников снабжения водой, газом, а
также удовлетворяет основному техническому решению, проектированию цеха, и
основным технико-экономическим показателям.
2. Технологическая часть
2.1 Выбор
марок стали
Для снижения магнитных потерь сталь легируют кремнием или кремнием и
алюминием и другими элементами (Al до
0,5%). В зависимости от содержания основного легирующего элемента - кремния,
стали подразделяются на пять групп (ГОСТ 21427.2-83).
Таблица 1
Типы электротехнических сталей
|
№ группы
|
Группы легирования
|
Si, % (масс.)
|
Марки стали
|
|
0
|
Нелегированная
|
<0,5
|
2011, 2012, 2013
|
|
1
|
Низколегированная
|
0,5-0,8
|
2111, 2112
|
|
2
|
Слаболегированная
|
0,8-2,1
|
2211, 2212, 2213, 2214, 2215, 2216
|
|
3
|
Среднелегированная
|
1,8-2,8
|
2312, 2311
|
|
4
|
Повышеннолегированная
|
2,8-3,8
|
2411, 2412, 2413, 2414, 2421
|
К четвертой группе легирования принадлежат стали с содержанием кремния от
2,8 до 3,8% (масс.). [3]
Химический состав стали приведен в таблице 2.
Таблица 2
Химический состав изотропной электротехнической стали (содержание
углерода приведено до проведения обезуглероживающего отжига)
|
Марка стали
|
Химический состав, %
|
|
С
|
Si
|
Mn
|
Al
|
P
|
S
|
Cr
|
Ni
|
Cu
|
Ti
|
N2
|
|
|
|
|
|
|
не более
|
|
0403 П
|
0,03-0,05
|
2,8-3,1
|
0,15-0,4
|
0,3-0,55
|
н.б. 0,03
|
0,005
|
0,1
|
0,15
|
0,2
|
0,02
|
0,01
|
Отличительные особенности сталей 4 группы легирования
Во-первых, содержание кремния в сталях 4 группы легирования 2,8-3,8%. Чем
ниже требуемые удельные магнитные потери, т.е. чем выше содержание кремния в
стали, тем сложнее технология ее производства. В результате лучшие марки
высоколегированной стали 4 группы легирования в 2,2-3,0 раза дороже, чем
низкокремнистые 1 группы. Также технологическая особенность заключается в более
высокой температуре рекристаллизационного отжига (1050°С).
Следующее отличие заключается в области применения. Типичные области
применения электротехнической изотропной стали представлены в таблице 3.
Таблица 3
Типичные области применения изотропной электротехнической стали
|
Виды электромашин
|
Группы легирования Si и Al
|
|
0
|
1
|
2
|
3
|
4
|
|
Вращающие магнитопроводы: Двигатели и генераторы повышенной
и высокой частоты Крупные гидро- и урбогенераторы, двигатели мощностью
400-1000 кВт Асинхронные двигатели мощностью, кВт: 50-400 10-50 3,75-10
0,75-3,75 До 0,75 Тяговые крановые двигатели, генераторы малой мощности
Двигатели холодильников и кондиционеров Двигатели бытовой техники
|
- - - - + + + - -+
|
- - - + + + + + ++
|
- - + + + - - + +-
|
- - + + - - - - --
|
+ + + - - - - - --
|
Примечание. Знаком «+» отмечена область применения
В
последнее время в группе высоколегированных изотропных электротехнических
сталей достигнуто значительное улучшение магнитных свойств: в стали высших
марок с 3,5% и более Si и Al получают магнитные потери
, составляющие 2,3-2,5 и 2,1-2,3 Вт/кг при 0,50 и 0,35
мм соответственно. Изотропная электротехническая сталь с такими высокими
магнитными свойствами используется для изготовления самых крупных
электродвигателей и генераторов, а также средних трансформаторов с шихтованным
из пластин сердечников взамен применявшейся для этого анизотропной стали. В
результате такой замены достигается улучшение характеристик машин при снижении
их стоимости, так как изотропная электротехническая сталь даже высших марок, существенно
дешевле заменяемой анизотропной стали.[2]
.2 Влияние легирующих элементов на свойства изотропной электротехнической
стали
Добавки кремния, фосфора, алюминия и марганца необходимы в основном для
повышения удельного электросопротивления материала. Благодаря этому можно
существенно снизить потери на вихревые токи и, как следствие, общие удельные
потери. Одновременно эти же элементы влияют на другие характеристики, такие как
размер зерна, текстура, чистота, что в свою очередь сказывается на магнитных
свойствах. [2]
В отношении удельного электросопротивления фосфор является наиболее
полезным по сравнению с другими перечисленными элементами. [2]
Кремний
Легирование
электротехнической стали кремнием производится обычно с целью улучшения ее
магнитных и электрических свойств за счет увеличения удельного
электросопротивления. При изменении содержания кремния от 1,0 до 4,0% удельное
электросопротивление сплава возрастает в 2,5 раза, что существенно уменьшает
потери на вихревые токи. Увеличение содержания кремния приводит также к резкому
снижению температурного коэффициента электрического сопротивления. Это
обеспечивает в стали с повышенным содержанием кремния незначительную
температурную зависимость потерь на вихревые токи. Кремний ограничивает
-область на диаграмме состояния Fe-Si (рис. 1) уже при
содержании 2,0-2,5% и стабилизирует
-твердый
раствор. Это создает возможность нагрева стали до высоких температур без
фазовой перекристаллизации. [2]
Рис.
1. Диаграмма влияния содержания углерода на положение фазовых областей
,
,
для сплавов железо-кремний [2]
Кремний
повышает магнитную проницаемость в слабых полях, уменьшает коэрцитивную силу,
постоянные магнитной анизотропии и магнитострикции, а также потери на
гистерезис и вихревые токи. Кремний уменьшает растворимость углерода и азота в
стали и снижает склонность ее к магнитному старению. Кроме того, кремний
способствует росту зерна в процессе отжига. Влияние кремния на удельное
электросопротивление и магнитные свойства стали представлено на рис. 2.
Отрицательное
воздействие кремния проявляется в снижении величины магнитной индукции
насыщения (рис. 2). Кроме того, кремний значительно уменьшает пластичность
стали при содержании более 2,5%, а также увеличивает ее твердость и хрупкость.
Предел текучести и временное сопротивление стали возрастают с повышением
содержания кремния до 4,5% и затем резко убывают. Содержание кремния в
изотропной электротехнической стали, получаемой обычными способами, не
превышает 3,5%. [2]
Рис. 2. Влияние Si на
магнитные и электрические свойства Fe-Si сплавов:
- температура Кюри;
- индукция насыщения;
- постоянная магнитной анизотропии;
- удельное электросопротивление;
- постоянная магнитострикции насыщения [2]
Алюминий
Механизм
действия алюминия, как легирующего элемента, аналогичен механизму действия
кремния - повышение электрического сопротивления стали, сужение области
-фазы, уменьшение магнитной индукции насыщения. Сталь
становится ферритной при 1% Al. Кроме того, общеизвестна роль алюминия как одного из
основных раскислителей жидкой стали в повышении чистоты выплавляемой стали за
счет связывания кислорода и азота во включения крупных размеров, легко
удаляемые в процессе внепечной обработки жидкого металла. Повышение содержания
алюминия в кремнистой стали способствует росту зерен в процессе
рекристаллизационного отжига обезуглероженных полос, уменьшению склонности
стали к старению благодаря связыванию азота в прочные нитриды. [1]
При
высоком содержании алюминия ускоряется образование нитридов алюминия и их
выделение при высоких температурах (
-фаза).
Благодаря этому образуются относительно крупные включения нитридов алюминия
(0,5-0,7 мкм), которые менее вредны. При низком содержании алюминия образование
нитридов происходит при относительно низких температурах (
-фаза), и выделения имеют критический размер частиц.
При быстром охлаждении металла часть азота может остаться в твердом растворе и
при последующей термообработке выделиться в виде мелкодисперсных нитридов.
Интервал содержания алюминия, при котором выделяются мелкодисперсные включения
нитридов алюминия, равен 0,01-0,1%. Также при низких содержаниях алюминия
(около 0,015%) возможно образование газовых пузырей при кристаллизации стали с
3% Si, если содержание азота в металле превышает 0,010%. Поэтому оптимальным
для изотропной электротехнической стали считается содержание алюминия в
пределах 0,20-0,60%.[2]
Кремний
и алюминий - ферритообразующие элементы, поэтому при достижении максимально
возможных концентраций этих элементов необходимо принимать во внимание
содержание аустенитообразующих элементов - углерода и марганца. Горячую
прокатку электротехнической стали легированной кремнием и алюминием,
осуществляют в двухфазном
состоянии. Наиболее «опасным» является возникновение
в структуре горячекатаных полос соотношения (60-50%
-фазы + 40-50%
-фазы),
которая приводит к повышенной хрупкости подката. В связи с этим, соотношение
содержания ферритообразующих элементов: кремния, алюминия и аустенитообразующих
элементов: углерода, марганца выбирают таким, чтобы сдвинуть двухфазное
состояния от наиболее «опасного» соотношения фаз:
и
в
сторону преобладания ферритной составляющей. [2]
Алюминий
ухудшает технологичность стали при горячей и холодной прокатках. Уже при 0,08% Al
наблюдается образование большого количества рванин на кромках горячекатаных
полос. Повышение концентрации Al ухудшает также качество поверхности холоднокатаных
полос. [1]
Фосфор
В последнее время в мировой практике производства
изотропной электротехнической стали с успехом применяется легирование фосфором.
Добавки
фосфора используются и при производстве изотропной электротехнической стали с
высокой магнитной индукцией
~1,7 Тл).
Ранее считалось, что содержание фосфора в стали должно быть минимальным, потому
что фосфор, как известно, оказывает охрупчивающее действие на сталь. Однако со
временем появились стали, в которые фосфор специально вводится для повышения
прочности. Это стало возможным благодаря тому, что был выяснен механизм
охрупчивающего действия фосфора. Кроме того, техника легирования достигла такой
надежности, что можно уверенно предотвратить получение концентраций фосфора,
неблагоприятных для определенного типа сталей. [2]
Влияние
фосфора на механические свойства
Фосфор
увеличивает прочность железа и стали в большей степени, чем кремний, марганец,
молибден, хром, ванадий и некоторые другие элементы. Фосфор повышает модуль
сдвига G, характеризующий жесткость материала при упругой
деформации сдвига, что является благоприятным условием при штамповке пластин
магнитопроводов. Легирование фосфором увеличивает предел текучести и отношение
предела текучести к временному сопротивлению
, что
также улучшает показатель штампуемости стали. Влияние фосфора на механические
свойства показаны на рис. 3. [2]
Рис.
3. Зависимость предела текучести
,
временного сопротивления
, отношения
и
твердости
от содержания кремния в стали (толщина 0,5 мм) при
содержании фосфора:
-0,008-0,01%;
-0,054-0,10%
[2]
Влияние
фосфора на пластичность стали
Увеличивая
прочность и твердость, фосфор снижает пластичность стали. Если сера, например,
влияет на пластичность за счет загрязнения металла сульфидной фазой,
значительно отличающейся по свойствам от металлической матрицы, то фосфор
оказывает влияние путем изменения свойств самой металлической матрицы. Согласно
исследованиям сплавы, содержащие до 0,5% Р (масс.), легко поддаются холодной
прокатке. Однако уже при содержании фосфора 0,65% прокатка крайне
затруднительна, так как при содержании фосфора более 0,5% резко уменьшается
относительное удлинение и при 0,7% Р оно становится практически равным нулю.
Снижение пластичности стали при добавках фосфора возрастает под действием
третьих элементов, особенно углерода и марганца, которые вытесняют фосфор из
раствора на границы зерен, что существенно ослабляет межкристаллизационные
связи и снижает пластичность и вязкость. [2]
Влияние
фосфора на магнитные свойства
Установлено,
что легирование фосфором значительно улучшает магнитные свойства изотропной
электротехнической стали.
Фосфор,
образующий с железом твердый раствор замещения, интенсивнее повышает
электросопротивление стали, чем кремний, алюминий и марганец, что оказывает
положительное влияние на уменьшение вихревой составляющей удельных магнитных
потерь. Удельное электросопротивление чистого железа составляет 0,1 ОмЧмм2/м,
нелегированной электротехнической стали с добавлением кремния (0,3-0,5%) и
марганца (до 0,3%) -0,12-0,14 ОмЧмм2/м, при легировании стали
фосфором до 0,33% удельное электросопротивление возрастает до 0,22 ОмЧмм2/м,
т.е. в ~1,5 раза. Увеличение массовой доли фосфора до 0,60% приводит к
линейному росту удельного электрического сопротивления.
Фосфор,
так же как и кремний суживает
-область,
повышает критическую точку
, но
действие его значительно сильнее, чем кремния. Уменьшение
-области способствует увеличению размера зерна, и
снижению потерь на гистерезис
. При
этом не увеличиваются потери на вихревые токи
, так как
с повышением содержания фосфора преобладающее влияние на величину
оказывает увеличение удельного электросопротивления (
).
На
основе результатов микроструктурных исследований показано, что легирование
стали фосфором до ~0,33% не приводит к образованию фосфидов (неметаллических
включений), твердый раствор состоит из одной фазы - феррита.
Анализ
результатов многих исследований позволяет сделать выводы, что легирование
изотропной электротехнической стали фосфором снижает удельные магнитные потери,
коэрцитивную силу, коэффициент старения, увеличивает магнитную индукцию,
величину зерна после рекристаллизационного отжига, магнитную проницаемость.
Добавки фосфора способствуют увеличению доли кубической составляющей текстуры
готовой стали. Влияние содержания фосфора в стали на величину зерна, кубическую
составляющую текстуры (100)[0vw] и (310)[0vw] и удельные магнитные потери
после рекристаллизационного отжига показано на рис. 4.
Рис.
4. Зависимость среднего размера зерна, полюсной плотности кубических
ориентировок (100)[0vw] + (310)[ 0vw] и удельных магнитных потерь
готовой стали от содержания фосфора (2,98-3,01% Si)
[2]
Из
рис. 4 следует, что с увеличением содержания фосфора в стали от 0,013 до 0,071%
увеличивается полюсная плотность кубических ориентировок (100)[0vw] +
(310)[0 vw] после рекристаллизационного отжига от 2,811 до
3,425. С увеличением размера зерна и доли кубических ориентировок в готовой
изотропной электротехнической стали снижаются удельные магнитные потери.
Положительное
влияние фосфора связывают и с его рафинирующим действием. Обладая большим
сродством к кислороду, фосфор способствует очистке стали от вредных примесей
(А12О3; SiO2; TiO2 и др.), ухудшающих магнитные свойства. Фосфор
существенно снижает окисление стали при высокотемпературном нагреве. Важным
фактором в пользу легирования стали фосфором является и более низкая цена
феррофосфора по сравнению с ферросилицием. Кроме того, добавки в сталь фосфора
(десятые или сотые доли процента) в несколько раз меньше по сравнению с
легированием кремнием (проценты или десятые доли процента). Таким образом,
частичная замена кремния фосфором при выплавке может уменьшить себестоимость
стали. [2]
2.3 Влияние примесей на свойства изотропной электротехнической стали
Углерод является сильным аустенитообразующим элементом, расширяющим
область существования аустенита и одной из наиболее вредных примесей в
электротехнической стали. Наиболее неблагоприятное влияние на магнитные
свойства металла оказывает выделение углерода в форме структурно свободных
карбидов, расположенных внутри зерен феррита или по границам зерен. Углерод
способствует измельчению зерна. При увеличении углерода более 0,04% магнитные
свойства стали ухудшаются - возрастают удельные потери, значение магнитной
индукции ниже допустимого уровня.
Выплавлять электротехническую сталь следует с возможно низким содержанием
углерода, но снижение его в стали до 0,03-0,02% сопровождается интенсивным
насыщением ее кислородом и азотом.
Азот оказывает более вредное действие на магнитные свойства электротехнической
стали, чем углерод. Ухудшение Нc и P
происходит благодаря образованию мелкодисперсных нитридов и карбидов.
В процессе выплавки медь и никель переходят в раствор, так как они
окисляются слабее железа. Увеличение содержания меди до 0,5% (масс.) приводит к
снижению технологичности, обработки стали при прокатке и к возникновению
поверхностных трещин.
При небольших присадках никеля улучшаются пластические свойства стали при
горячей и холодной прокатке. Влияние никеля и меди на магнитные свойства стали
при концентрации Ni=0,15% и Cu=0,20% (масс.) не более изменения
очень незначительны.
Титан используют как модификатор. Он является сильным
нитридообразующим элементом. Титан оказывает вредное влияние на свойства стали,
так как он образует мелкие включения - нитриды и окислы, препятствующие
развитию процессов рекристаллизации в стали.
Хром существенно ухудшает магнитные свойства металла, что объясняется
образованием в стали устойчивых карбидов из-за большего сродства его к
углероду, чем к железу. Концентрация хрома в стали не должна превышать 0,1%
(масс.).
Проведенные на НЛМК анализ морфологии дисперсных неметаллических фаз,
выполненный с помощью просвечивающего электронного микроскопа, показал, что
основную долю включений в горячекатаном подкате изотропной электротехнической
стали составляют нитриды прямоугольной и неправильной формы. [2]
Дисперсные включения размерами в диапазоне 0,1-1,0 мкм, т. е. включения
размеров, соизмеримых с толщиной границ доменов, оказывают наибольшее
негативное влияние, способствуют росту потерь на гистерезис.
Включения оксидов кремния и алюминия, образующиеся при внутреннем
окислении в процессе термической обработки, способствуют значительному
ухудшению магнитных свойств стали. [2]
Влияние примесей на коэрцитивную силу и потери на гистерезис показано на
рис. 5 и рис. 6.
Рис. 5. Влияние примесей на коэрцитивную силу железа технической чистоты:
1- азот; 2- углерод; 3- сера; 4- фосфор; 5- кислород; 6- марганец [2]
Рис. 6. Влияние различных загрязнений на гистерезисные потери
железокремнистого сплава с 4 % Si при
В=1,0 Тл [2]
.4 Свойства изотропной электротехнической стали
По условиям работы электротехнических (магнитомягких) сталей требуется
высокая магнитная проницаемость (m=B/H) и малые потери энергии при
перемагничивании. Потери энергии при перемагничивании зависят от площади петли
гистерезиса, то есть от остаточной индукции и коэрцитивной силы. Для уменьшения
площади петли гистерезиса при высокой магнитной индукции должна быть получена
очень маленькая коэрцитивная сила. Потери на вихревые токи тем меньше, чем выше
электрическое удельное сопротивление r.
Наиболее простым магнитомягким материалом является очень чистое железо.
Но удельное электрическое сопротивление его мало, поэтому оно может применяться
там, где удельное сопротивление роли не играет. Кроме того, железо подвержено
магнитному старению. Поэтому для изотропной стали необходимо легирование железа
элементами, повышающими удельное электросопротивление. Уровень магнитных
свойств электротехнических сталей в значительной степени зависит от способа их
изготовления, содержания, хранения, толщины листов, лент, характера структуры и
текстуры металла. [5]
Магнитные и механические свойства стали
Изотропная
электротехническая готовая сталь согласно ГОСТ 21427.2-83 нормируется по трем
основным магнитным характеристикам: удельным магнитным потерям
; магнитной индукции
и
анизотропии удельных магнитных потерь
.
Анизотропия магнитной индукции при напряженности магнитного поля 2500 А/м
должна находиться в пределах 0,13−0,16 Тл.
Удельные потери, вызывающие нагрев сердечника, состоят
из потерь на гистерезис (которые пропорциональны площади петли гистерезиса),
потерь на вихревые токи и так называемых дополнительных (или остаточных)
потерь. Первая составляющая - потери на гистерезис - зависит, прежде всего, от
структуры металла (размера зерен, величины неметаллических включений и
содержания металлических примесей). Величина потерь на вихревые токи в первую
очередь определяется удельным электросопротивлением и толщиной стального листа.
Кроме того, удельные потери прямо пропорциональны квадрату частоты переменного
тока, что нужно учитывать при использовании изотропных сталей в высокочастотной
технике. Удельные магнитные потери - определяются потерями энергии в 1 кг
намагниченного переменным током сердечника; измеряются в ваттах на килограмм
(Вт/кг). Их можно приблизительно рассчитать по формуле:
где
- толщина листа;
-
максимальная величина магнитной индукции;
-
частота тока;
-
удельное электросопротивление.
Магнитная индукция создает магнитный поток, возникающий в сердечнике
машины или установки под действием магнитного поля. С увеличением напряженности
магнитного поля индукция возрастает до величины, которая соответствует
магнитному насыщению металла. Изменение индукции зависит от многих структурных
параметров и химического состава металла и является его важнейшим свойством.[2]
Малотекстурованная сталь характеризуется одинаковыми магнитными
свойствами во всех направлениях одновременно с достаточно высоким абсолютным
уровнем свойств. Магнитная анизотропия весьма нежелательна. Она вызывает дополнительные
потери, более или менее сильную пульсацию магнитного потока прежде всего во
вращающихся сердечниках электрических машин, что приводит к неравномерному ходу
машины и дополнительным потерям электроэнергии, а также отрицательно влияет на
эксплуатацию электродвигателей. При изготовлении стали не всегда удается
устранить магнитную анизотропию.
Согласно
стандарту ГОСТ 21427.2-83, магнитная анизотропия удельных потерь для разных
марок стали и толщин нормируется в пределах 6−17%. Следует отметить, что
чем ниже удельные магнитные потери, тем выше магнитная анизотропия. Анизотропия
магнитных потерь (
) рассчитывается по формуле
где
и
−
удельные магнитные потери (Вт/кг) вдоль и поперек прокатки соответственно.[2]
Сталь
с >3% Si при высокотемпературном отжиге склонна к вторичной
рекристаллизации, сопровождающейся образованием сильной ребровой текстуры.
Подавить кристаллографическую текстуру (110)[0vw] в процессе
технологической обработки электротехнической стали, т. е. уменьшить магнитную
анизотропию, можно тремя способами. Один из них основан на использовании
фазового превращения
для подавления вторичной рекристаллизации,
способствующей образования текстуры. Образование текстуры можно устранить
подбором соответствующей температуры отжига, которая должна быть ниже
температуры вторичной рекристаллизации, или удалением из стали таких примесных
элементов, как азот или сера, способствующих вторичной рекристаллизации стали с
образованием ребровой текстуры. В качестве третьего способа снижения магнитной
анизотропии иногда используют деформацию с критической степенью обжатия (2−10%).
Подавление вторичной рекристаллизации достигается путем применения больших
деформаций (>85%) при холодной прокатке. Этот способ позволяет не только
уменьшить магнитную анизотропию, но и приводит к увеличению кубической
составляющей текстуры (110)[0vw]. [2]
Для
исключения ухудшения электромагнитных параметров машин при их длительной
эксплуатации необходимо, чтобы используемые магнитные материалы не были
подвержены старению. Это означает, что магнитные свойства стали не должны
ухудшаться или должны изменяться незначительно при искусственном старении при
120є С в течение 120 ч или при 240є С в течение 24 ч. Поэтому в стандартах на
изотропную сталь нормируются максимально допустимые коэффициенты старения (ГОСТ
21427.2−83) или гарантированные магнитные свойства после старения (EN
10106). Коэффициент старения (
) вычисляют
по формуле
где
и
-
удельные потери до и после старения, Вт/кг.
Кроме
определенного уровня магнитных свойств, листы и ленты изотропной
электротехнической стали должны удовлетворять ряду других требований:
механическим и технологическим свойствам, заданным размерам и допускам по
размерам, форме. Механические свойства стали должны обеспечивать прежде всего
штампуемость без образования заусенцев и стабильность формы и размеров.
Пластины магнитопроводов должны иметь высокую механическую изотропность. ГОСТ
21427.2−83 нормирует временное сопротивление (
), относительное удлинение (
), твердость (
) и число
гибов (перегибов).
Для
снижения доли потерь на вихревые токи в готовом изделии необходимо электрически
изолировать пластины одну от другой. Толщина покрытия существенно влияет на
коэффициент заполнения: чем больше толщина покрытия, тем коэффициент заполнения
меньше, тем хуже характеристики магнитопровода. Лучшие изотропные
электротехнические стали с покрытием имеют коэффициент заполнения, равный 0,97−0,98.[2]
2.5 Обезуглероживание и рекристаллизация
Термическая обработка в агрегате непрерывного отжига
(АНО) с проходной печью общей длиной 260 м включает в себя обезуглероживающий
отжиг и высокотемпературный рекристаллизационный отжиг при температуре не более
1050оС. [3]
Основное назначение отжига - снижение содержания углерода, удаление
вредных примесей, снятие наклепа, получаемого при прокатке и проведение
рекристаллизации. Для повышения чистоты границ зерен сплава, улучшения условий
выгорания углерода применяют отжиг в обезуглероживающих атмосферах
(диссоциированном аммиаке). [5]
Обезуглероживание осуществляется, как правило, после прокатки на конечную
толщину. При этом массовая доля углерода должна быть уменьшена до уровня,
исключающего выделении дисперсных карбидов в процессе эксплуатации магнитопроводов
при температурах около 100є С, которое приводит к ухудшению магнитных свойств.
Для кремнистой стали этот уровень не должен превышать 0,002% С. [2]
Обезуглероживание проводят в проходных термических
агрегатах в условиях прямого доступа увлажненной азотоводородной газовой смеси
к обеим поверхностям полосы, нагретой до 800-860оС.
Механизм обезуглероживания состоит из двух процессов -
химической реакции
H2O+Cме → CO↑+H2↑
на поверхности без образования метана и диффузии
углерода внутри стали к поверхности.
В присутствии на поверхности металла оксидов, адсорбированного кислорода
или следов влаги метан практически не образуется. Обезуглероживание стали
диффундирующим в нее водородом идет только при наличии межкристаллитных трещин.
Это вызвано тем, что диффузия метана и водорода невозможна через зерна и по
границам зерен даже при больших давлениях газов. Обезуглероживание водородом
определяется не скоростями реакций, а структурой стали, наличием трещин и
скоростью удаления через них метана. С повышением температуры металла, когда
увеличивается скорость диффузии углерода и реакции смещаются в сторону,
противоположную направлению реакции с образованием метана, когда с увеличением
пластичности металла образование межкристаллитных трещин крайне затруднено,
обезуглероживание стали диффундирующим в нее водородом практически исключается.
Этот вывод в первую очередь относится к процессу обезуглероживания кремнистых
сталей в агрегатах непрерывного отжига. [2]
Скорость процесса обезуглероживания кремнистой стали зависит от многих
факторов:
химического состава стали;
начального содержания углерода;
скорости диффузии углерода и легирующих элементов;
содержания водяного пара и водорода в газовой среде печного пространства;
температуры обезуглероживающего отжига;
скорости нагрева ленты;
времени обезуглероживания;
количества и давления газовой смеси в печном пространстве;
состояния поверхности обезуглероживаемой полосы;
толщины ленты;
конструктивных особенностей печи.
Все эти факторы действуют одновременно, но определяющими из них являются:
диффузия углерода в металле, температура обезуглероживания, содержания влаги и
водорода в защитном газе, время пребывания ленты в зонах обезуглероживания и
химический состав стали. [2]
Углерод
с железом образует растворы внедрения. Растворимость углерода в феррите
значительно меньше, чем в аустените. Это обусловлено тем, что в реальной
решетке железа имеются дефекты, особенно многочисленные по границам зерен. В α-железе углерод преимущественно диффундирует по
границам зерен. В аустените углерод диффундирует как по границам зерен, так и
через сами зерна. Диффузия углерода в феррите и аустените с повышением
температуры увеличивается, но при любой температуре в феррите она более чем на
порядок выше, чем в аустените, поэтому при термообработке стали необходимо
стремится к максимальному проведению обезуглероживания в
-области. Следует отметить, что легирующие элементы
существенно влияют на скорость диффузии атомов углерода. К элементам,
повышающим диффузию углерода, относятся фосфор, кобальт, никель, медь. Кремний
при температуре выше 1050є С несколько замедляет, а ниже этой температуры
ускоряет диффузию углерода. Карбидообразующие элементы - марганец, хром,
молибден, вольфрам препятствуют его диффузии. Диффузия снижается и при
легировании его алюминием. [2]
Время обезуглероживания при обезуглероживающем (Т=800є С) и
рекристаллизационном (Т=910-1050є С) отжигах для проходных печей НЛМК зависит
от содержания углерода перед обезуглероживанием:
исходное содержание углерода, %...............0,03 0,04 0,05 0,06 0,07
время обезуглероживания, с………………..270 300 325 350 370
С увеличением температуры отжига увеличивается степень обезуглероживания
и соответственно, снижается время обезуглероживания.
В результате проведенных исследований была установлена зависимость
температуры обезуглероживания от суммарного содержания кремния и алюминия в
стали (рис. 7).
Рис. 7. Зависимость температуры обезуглероживающего отжига от содержания
кремния и алюминия в изотропной электротехнической стали толщиной 0,50 мм. [2]
Рекристаллизационный отжиг является технологической операцией, в процессе
которой формируются кристаллографическая и доменная структуры, а также кристаллическая
текстура, определяющие магнитные и механические свойства стали.
Рекристаллизационный отжиг проводится в сухой или в слабоувлажненной
азотоводородной атмосфере и является заключительной стадией термообработки
изотропной электротехнической полностью обработанной стали. [2]
Основными параметрами, характеризующими рекристаллизационный отжиг и
влияющими на качество изотропной электротехнической стали, являются:
максимальная температура и продолжительность выдержки при этой температуре,
скорость нагрева и охлаждения.
Температура
заключительного отжига (
) выбирается главным образом для обеспечения роста
оптимального размера зерна (
),
определяющего требуемые магнитные свойства. Выбор
зависит от химического состава стали и в первую
очередь от содержания легирующих элементов или добавок (Si, Al, P, Mn, Ni, Sn и
т.д.), а также от требуемых магнитных и механических свойств. [2]
Для
изотропгой электротехнической стали с разным содержанием кремния (0,01-3,0%)
оптимальный размер зерна, обеспечивающий минимальные удельные магнитные потери
близок к 150 мкм. Т. е. увеличение температуры
отжига, которое приводит к росту зерна, может дать снижение удельных магнитных
потерь. [2]
На
практике доказано, что повышение содержания кремния в стали замедляет процесс
рекристаллизации и требует повышения температуры заключительного отжига для
получения оптимального размера зерна. [2]
Кроме
того, с увеличением содержания кремния уменьшаются магнитная индукция и
кубическая составляющая текстуры в готовой стали. Алюминий ускоряет процесс
собирательной рекристаллизации в печах непрерывного отжига при кратковременных
выдержках и способствует росту зерна. Однако алюминий также уменьшает магнитную
индукцию. На основе исследовательских данных была установлена зависимость
где
845 и 65 - размерные коэффициенты,
Si и Al -
содержание в стали кремния и алюминия.
В последнее время в процессе выплавки изотропной
электротехнической стали применяется легирование фосфором. Фосфор имеет более
высокую электропроводность, чем кремний, он повышает индукцию и проницаемость,
кубическую составляющую текстуры, размер зерна, твёрдость, предел текучести и
отношение σт/σв и уменьшает удельные магнитные потери, поэтому было
получено соотношение, учитывающее влияние фосфора
где
Si, P - содержание в стали кремния и фосфора.
Из
соотношения видно, с увеличением содержания в стали кремния
.
увеличивается, а с увеличением содержания фосфора - уменьшается.
Легирование
стали фосфором и выбор температуры заключительного отжига по этому соотношению
позволили для отдельного сортамента исключить из технологического процесса
энергоёмкую операцию - нормализационный отжиг.
Для
уменьшения потерь энергии на вихревые токи в пакетах магнитопроводов, на
поверхность металла наносят электроизоляционное покрытие (оксидные плёнки,
органические лаки и краски, неорганические фосфато-магнивые покрытия). [2]
2.6 Технологический процесс
Технология производства изотропной электротехнической стали - сложный
процесс в черной металлургии. В нем сочетаются процессы выплавки, разливки,
пластической деформации (горячей и холодной) и термической обработки. На рис. 8
приведена схема, отражающая маршрутную технологию изготовления изотропной
электротехнической стали.
Рис. 8. Маршрутная технология производства изотропной электротехнической
стали
Выплавка
производится в конвертерах вместимостью 160 тонн. При этом продувка кислородом
должна быть осуществлена до минимального содержания углерода, без переокисления
металла, а затем после раскисления проводят корректировку по содержанию углерода.
Предпочтительным способом десульфурации является обработка синтетическим
известково-глиноземистым шлаком. Процесс десульфурации обеспечивает содержание
до
0,007% S, а также уменьшение до
0,010
,
0,007
% (объемн.) содержания включений. [3]
Непрерывная
разливка осуществляется на криволинейной установке непрерывной разливки стали.
Защиту зеркала металла в сталеразливочном, промежуточном ковшах и в
кристаллизаторе от вторичного окисления и азотирования осуществляют засыпкой
шлакообразующей смесью. Защиту струи металла из сталеразливочного ковша в
промежуточный, из промежуточного ковша в кристаллизатор осуществляют
металлопроводом с подводом струи металла под уровень. [3]
Горячую
прокатку слябов осуществляют на непрерывном широкополосном стане 2000 с
производством горячекатаного подката (2,0-2,5)Ч(1080-1280) мм. Температуры
нагрева слябов tн=1160-1250° С, конца горячей прокатки tкп=850-880° С, смотки
горячекатаных полос в рулоны tсм=600-650° С для полос толщиной 2,5 и 2,2 мм соответственно.
Нормализация
горячекатаных полос. Подготовленные горячекатаные рулоны подвергаются
термической обработке в агрегате нормализации. Печь для нормализации состоит из
камер нагрева, выдержки и охлаждения. Температура нагрева и выдержки до 850° С. Скорость прохождения полосы, в агрегате нормализации толщиной 2,2
мм и шириной 1 100 мм, составляет 12−25 м/сек. [3]
Холодная
прокатка. В результате проведенных исследований установлены оптимальные пределы
обжатий
.Это обеспечивает достижение высокого уровня магнитных
свойств и минимальной магнитной анизотропии. Прокатка производится на четырех
клетьевом стане 1400 на конечную толщину 0,5 мм.
Термическая
обработка в агрегате непрерывного отжига с проходной горизонтальной печью общей
длиной 260 м включает в себя обезуглероживающий отжиг (камера обезуглероживания
длиной 160 м) и высокотемпературный рекристаллизационный отжиг при
(камера рекристаллизации длиной 25 м). [3]
Для
предотвращения возникновения внутреннего окисления в процессе нагрева при
отжиге полос изотропной стали проходные печи желательно оборудовать переходными
тамбурами с целью исключения свободного перетока газа из камеры нагрева в
камеру обезуглероживания и затем в камеру рекристаллизационного отжига. [3]
Термообработка
проводится по базовым режимам. Термообработка без записи скорости
транспортировки полосы не допускается. Скорость движения ленты в агрегате
непрерывного отжига выбирается в зависимости от содержания углерода в стали.
Время обезуглероживания или скорость движения ленты в агрегате выбрана с
расчетом времени диффузии (табл. 4).
Таблица 4
Скорость движения полосы в агрегате непрерывного отжига
|
Содержание углерода в металле перед отжигом, %
|
Заданное конечное содержание углерода, %
|
Время обезуглероживания, с
|
Максимально допустимая скорость движения полосы, м/с
|
|
0,03
|
0,003
|
270
|
35,5
|
|
0,04
|
0,003
|
300
|
32,0
|
|
0,05
|
0,003
|
325
|
30,0
|
|
0,06
|
0,003
|
350
|
27,5
|
Нанесение электроизоляционных покрытий. Тип и марка лаков, применяемых
для получения электроизоляционных покрытий, определяется в зависимости от
требований потребителей к их техническим и экологическим характеристикам,
указанных в контракте.
.6.1 Принцип функционирования агрегата термической обработки
На рис. 8. показана схема агрегата непрерывного отжига и нанесения
электроизоляционного покрытия.
Рис. 8. Схема агрегата непрерывного отжига и нанесения
электроизоляционного покрытия
Обработке в линии агрегатов непрерывного отжига подвергаются
холоднокатаные полосы после подготовки на агрегатах подготовки. Транспортный
шов отдельных полос выполняют сваркой «внахлест».
Очистка полосы от технологических смазок в линии агрегата производится в
следующей последовательности:
а) обезжиривание полосы;
б) промывка полосы в щеточно-моечной машине;
в) окончательная промывка полосы в промывочной ванне;
г) сушка полосы горячим воздухом.
Для обезжиривания полосы используется моющий раствор на основе средства
моющего технического «Фоскон-203». Массовая концентрация общей щёлочи (по NaOH общ.) в рабочем обезжиривающем
растворе должна быть 8,0−15,0 г/дм3. Приготовление
обезжиривающего раствора осуществляется на участке приготовления химических
растворов БХУ ПДС. Температура обезжиривающих растворов не должна быть менее
80°С. Замену обезжиривающих растворов производят при массовой концентрации
механических примесей в растворах более 1,0 г/дм3. Пробу
обезжиривающего раствора для контроля массовой концентрации механических
примесей отбирает и доставляет в лабораторию УТК технологический персонал
термического участка один раз в неделю. Дата замены обезжиривающих растворов
фиксируется в технологическом журнале.
Промывка полосы в щеточно-моющей машине осуществляется с помощью
капроновых щеток. Количество щеток не менее четырех. Температура промывной воды
должна быть не менее 70°С.
Окончательная промывка осуществляется в промывочной ванне путем подачи на
полосу сверху и снизу химочищенной воды.
После сушки на поверхности полосы не должно быть мокрых пятен.
Отбор проб обезжиривающего раствора осуществляется технологическим
персоналом один раз в смену. Пробы для анализа доставляются технологическим
персоналом в лабораторию.
Агрегат термической обработки можно условно разделить на три участка:
входной, центральный и выходной.
Режим термической обработки изотропной электротехнической стали четвертой
группы легирования показан на рис. 9.
Рис. 9. Режим термической обработки изотропной электротехнической стали
четвертой группы легирования
Входной участок
Обвязанные рулоны с весом до 30 т устанавливаются мостовым краном на
стеллажи, находящиеся с обеих сторон загрузочной тележки.
Рулон автоматически центрируется по высоте перед разматывателем и
устанавливается загрузочной тележкой на барабан разматывателя (d=600 мм).
Затем тележка отводится в исходное положение. Барабан разматывателя
расширяется, прижимной ролик опускается на рулон для поддерживания первого
витка. Оператор обрезает обвязочную полосу ручными пневматическими ножницами.
Благодаря вращению рулона полоса подается на тянущие ролики. Ролики
прижимаются, и полоса перемещается на позицию гильотинных ножниц. Эти ножницы
используются для обработки переднего и заднего конца полосы, и если надо для
удаления дефектных участков. Передний конец полосы после обработки подается со
скоростью ввода (30 м/мин) на сварочную машину для роликовой сварки
сопротивления, благодаря вращению разматывателя и тянущих роликов.
Центровка полосы осуществляется с помощью передних боковых направляющих
сварочной полосы и боковых направляющих сварочной машины.
Во время сварки двух полос входной участок агрегата остановлен, в то
время когда полоса продолжает разматываться в печи тепловой обработки.
После сварки двух полос входной участок включается в нормальный режим
работы, для подачи полосы на центральный участок. Подача полосы выполняется с
такой скоростью, чтоб входной накопитель, который был опустошен во время ввода
новой полосы и во время сварки, для обеспечения нормального функционирования и
обеспечения соответствующего количества полосы в печи обработки, мог заново
наполниться до максимума.
Максимальная скорость входного участка для накопления входного накопителя
должна быть 60 м/мин. Данная скорость автоматически уменьшается до скорости
обработки после накопления накопителя.
Перемещение в накопителе обеспечивается рольгангом и разделительными
плечами.
Центровка полосы по отношению к продольной оси агрегата обеспечивается
центрирующими роликами, а так же направляющими роликами, установленные в
тележке накопителя.
Центральный участок
Установка обезжиривания предназначена для обезжиривания, очистки, сушки
поверхности полосы.
На входе установки полоса центрируется центрирующими роликами и прежде
всего обрабатывается в ванне электролитического обезжиривания, где находятся 4
пары электродов, которые получают электропитание с тиристорных
преобразователей. Температура ванны 80° С.
Рабочая среда выливается из ванны электролитического обезжиривания через
спускное отверстие, находящееся выше уровня электродов в ванне рециркуляции
растворов, откуда раствор подается насосами в ванну обезжиривания.
Качество используемого в ванне раствора контролируется датчиком
проводимости, по сигналу которого обеспечивается подача нового раствора
автоматически.
Для обеспечения деконцентрации раствора и для компенсации потерь при
испарении, необходима подача химически чистой воды.
Раствор фильтруется на входе резервуара, проходя через перфорированный лист,
и затем выполняется более тонкая фильтрация сетчатыми фильтрами на всосе
насосов.
Раствор из резервуара рециркуляции очищается от нерастворимых жиров
методом постоянной циркуляции между ванной рециркуляции и сепаратором. Раствор,
оставшийся на поверхности полосы, удаляется двумя парами отжимающих роликов с
каучуковым покрытием.
Из ванны электролитического обезжиривания полоса подается на
моечно-щеточную машину, на которой удаляются остатки раствора на поверхности, с
использованием промывочной воды, подающейся на полосу (сверху и снизу) через
шланги.
Данная машина позволяет выполнить также очистку полосы щетками и
“промокнуть” роликами с каучуковым покрытием.
Окончательная промывка полосы для удаления обезжиривающего раствора
выполняется в промывочной ванне поливанием полосы (сверху и снизу) водой через
шланг. Две пары роликов с каучуковым покрытием выполняют “промокание” полосы.
Для промывки используется очищенная вода. Температура в ванне 80-90° C.
После такой обработки две поверхности сушатся постоянными потоками
горячего воздуха, подаваемого вентиляторами, выполнение этого процесса
происходит при проходе воздуха через короб подогрева.
Ввод полосы на установку очистки выполняется с помощью двух цепей
приводом, проходящих через все ванны. Поддерживание натяжения на установке
обезжиривания и на входном накопителе обеспечивается натяжным устройством и
дефлекторным роликом.
Таблица 5
Параметры исходных полос
|
Основные параметры
|
Размеры
|
|
Толщина полос, мм
|
0,35-0,65
|
|
Ширина полос, мм
|
700-1250
|
|
Масса рулона, тонн
|
До 30
|
|
Наружный диаметр, мм
|
1050-2300
|
|
Внутренний диаметр, мм
|
600
|
Скорость транспортировки полосы на входном участке:
− максимальная - 60 м/мин;
− заправочная - 30 м/мин;
− максимальная скорость полосы в печи - 45 м/мин;
− максимальная скорость на выходном участке - 60 м/мин.
Печь Тандем
Печь предназначена для термообработки полосы. Режим термообработки
обезуглероживающий и рекристаллизационный отжиг.
Режим термической обработки динамной стали в печи Тандем представлен на
рис. 10.
Рис. 10. Режимы термической обработки динамной стали в печи Тандем
Обезуглероживание
Полоса заправляется в печь с помощью заправочной штанги. Через роликовый
затвор полоса проходит во входной водоохлаждаемый тамбур и далее в первую
камеру нагрева с помощью литых электронагревателей, расположенных на поду,
своде и боковых стенах камеры, полоса нагревается до температуры 830° C.
Первая камера нагрева разделена на 4 зоны регулирования. В первых трех
зонах температура регулируется по сигналу от термопар.
В четвертой зоне температура нагрева полосы регулируется по сигналу от
пирометра, измеряющего истинную температуру полосы. Кроме того, предусмотрена
возможность регулирования температуры в зоне по сигналу от температуры термопары.
Точность регулирования полосы составляет ±10°C.
Мощность электронагревателей в зонах регулируется с помощью тиристорных
выключателей.
Полоса нагревается в первой камере нагрева до температуры 830°C, поступает в первую камеру выдержки.
Эта камера обогревается с помощью литых электронагревателей. Камера разделена
на 9 зон регулирования температуры, которое осуществляется по сигналу от
термопары. Температура полосы в первой камере выдержки измеряется с помощью
двух оптических термометров с точностью ±10°C
установленных в зонах № 12 и № 13.
Степень обезуглероживания (отношение содержания углерода на входе к
содержанию его на выходе из печи обезуглероживания) будет равна 10 для
содержания углерода на выходе более 0,3%, если меньше 0,3%, то степень
обезуглероживания может быть меньше 10, но во всех случаях будет обеспечено
содержание углерода в полосе на выходе из печи 0,03-0,05% .
Обезуглероживание полосы осуществляется во влажном азотоводородном газе
(точка росы 30-50°C), с
содержанием (50-75% H2). Азотоводородный газ, подаваемый в
первую камеру выдержки и камеру нагрева, предварительно увлажняется в 5
увлажнителях. Каждый состоит из термически теплоизолированного резервуара с
водой, оборудованного электронагревателями. Температура нагрева воды
регулируется с помощью термостатов.
Увлажненный газ вводится в первую камеру нагрева и первую камеру выдержки
по всей ширине печи с помощью перфорированных труб, которые установлены под
полосой по всей длине этих камер с шагом »16 м.
Рекристаллизация
После обезуглероживания полоса из первой камеры выдержки через первый
разделительный тамбур переходит во вторую камеру нагрева. Здесь, с помощью
литых электронагревателей, установленных на поде и своде камеры, полоса
нагревается до температуры 1050° C.
Вторая камера нагрева представляет собой одну зону регулирования. В этой
зоне температура нагрева полосы регулируется по сигналу от оптического
пирометра, измеряющего истинную температуру полосы. Кроме того предусмотрена
возможность регулирования температуры в зоне по сигналу от термопары. Точность
регулирования температуры полосы ±10° C. Мощность электронагревателей
регулируется с помощью тиристорных выключателей. Полоса нагревается во второй
камере нагрева до 1050° C, поступает во вторую камеру выдержки
в которой выдерживается при температуре в течение заданного времени.
Эта камера обогревается с помощью литых электронагревателей.
Вторая камера выдержки разделена на три зоны регулирования. Регулирование
температуры в каждой зоне осуществляется по сигналу от термопары.
Температура полосы на входе из второй камеры выдержки измеряется и
регулируется оптическим пирометром с точностью ±10° C.
Рекристаллизация полосы происходит в среде сухого азотоводородного газа HNx, содержащего 7-15% H2.
Точка росы азотоводородного газа на входе в печь ниже или равна 40° C.
Сухой газ вводится во вторую камеру нагрева и во вторую камеру выдержки
по всей длине этих камер с шагом приблизительно равным 16 м.
После рекристаллизации полоса из второй камеры выдержки через второй
разделительный тамбур переходит в камеры регулируемого и струйного охлаждения.
В камере регулируемого охлаждения с помощью водоохлаждаемых труб полоса
охлаждается до температуры 750° C в атмосфере азота. Воздух, переходя
по трубам воздушного охлаждения, охлаждает полосу, нагреваясь при этом сам. В
камере струйного охлаждения с помощью блоков струйного охлаждения полос в
атмосфере азота охлаждается до температуры 100° C.
Азот, выходя из труб с большой скоростью, обдувает полосу, которая при этом
охлаждается, а азот нагревается. Азот, проходя через водоохлаждаемые
теплообменники, отдает свое тепло, охлаждаясь. Циркуляция азота организуется с
помощью циркуляционных вентиляторов. Точка росы азота на входе в камеры
охлаждения ниже или равна 40° C. В камере струйного охлаждения
полосы, скорость охлаждения не регулируется. Температура полосы измеряется и
регистрируется на выходе из камеры регулируемого охлаждения с помощью
оптического пирометра.
Из камеры струйного охлаждения полоса через выходной тамбур с роликовым
затвором выходит из печи.
Транспортировка полосы через печь осуществляется по роликам,
изготовленным из жаропрочной стали. Ролики камер нагрева, выдержки и
регулируемого охлаждения имеют керамическую оболочку.
Печные ролики приводятся во вращение с помощью индивидуальных приводов.
При работе печи на уровне полосы поддерживается давление 3 мм водного столба.
Конструкция печи и организация газовых потоков исключает образование
взрывоопасных газовых смесей в камерах печи вследствие появления в них
кислорода и окисления полосы.
Конструкция печи, газовый режим и вытяжные зонты исключают появление
водорода под крышей здания цеха.
На печи установлены пять свечей: две - основные, три - продувочные.
Основные предназначены для удаления из печи отработанной атмосферы и
регулирование давления в рабочем пространстве печи. Эти свечи установлены на
входе в камеры нагрева № 1 и № 2. Продувочные свечи предназначены для удаления
печной атмосферы, при продувке печи азотом. Две продувочные свечи установлены
на входе в камеры нагрева № 1 и № 2, третья продувочная свеча - на входе в
камеру охлаждения. После выхода из печи полоса поступает в горизонтальный
холодильник, в котором она охлаждается воздушными струями до температуры 60° C. Холодный воздух всасывается вентилятором из цеха, а
нагретый выбрасывается из холодильника в цех.
Для обеспечения свободного теплового расширения печного каркаса, печь
установлена на катковые опоры. Каркас печи жестко прикреплен к эстакаде в
средней части первой камеры нагрева.
Камера нагрева 1 и выдержки 1, камера нагрева 2 и выдержки 2, камера
регулируемого и струйного охлаждения имеют следующую длину:
камера нагрева…………………………….32,85 м;
камера выдержки………………………….160,0 м;
камера нагрева……………………………...10,8 м;
камера выдержки…………………………...25,2 м;
камера регулируемого охлаждения……….13,7 м;
камера струйного охлаждения…………….13,3 м.
Нанесение электроизоляционного покрытия
Раствор покрытия из рабочего бака установки нанесения покрытия с помощью
насоса подается через форсунку на верхнюю сторону полосы перед верхним отжимным
роликом и стекает в поддон под нижним отжимным роликом. Нижний ролик должен
быть постоянно погружен в раствор. Из поддона раствор самотеком поступает в
рабочий бак. Длина ванны нанесения покрытия 6 м. Для получения
электроизоляционных покрытий используются следующие лаки (по ГОСТ 21427.2-83):
а) полуорганические лаки типа ТШ1;
б) органические лаки типа НШ1 и НШ20;
в) органический лак с неорганическим наполнителем типа НШ40. Свойства
электроизоляционных покрытий представлены в таблице 6.
Печь сушки
Печь сушки состоит из камеры нагрева, выдержки и воздушного холодильника.
Камера нагрева предназначена для нагрева полосы до 450° C при покрытии ее Al2PO4 и до 650° C - Mg3(PO4)2 с целью испарения воды из применяемых
растворов. Затем полоса выдерживается при данной температуре в течение 30
секунд минимум. Камера нагрева и выдержки разделена на 9 зон регулирования
(длина камеры 45,5 м). Нагрев электрический.
Таблица 6
Типичные технические характеристики электроизоляционных покрытий на
электротехнической изотропной стали
|
Тип покрытия по ГОСТ 21427.2-83
|
Тип лака
|
Цвет
|
Толщина, мкм
|
Коэффициент сопротивления, не менее, Ом×см
|
Термостой-кость
|
Стойкость к фреону
|
|
ТШ1
|
Тип 3
|
серо-коричневый
|
<1,0
|
1
|
450 0С, 2 часа на воздухе; 750 0С, 2
часа в защитной среде
|
хорошая
|
|
Фоскон-301
|
светло-коричневый
|
<1,0
|
1
|
|
хорошая
|
|
Remisol EB
5350
|
серо-зеленый
|
<1,0
|
1
|
|
хорошая
|
|
Remisol EB
5308
|
серый
|
0,5-2,0
|
1
|
|
хорошая
|
|
Voltatex Е 1120-2
|
серо-зеленый
|
0,5-1,5
|
1
|
|
хорошая
|
|
Voltatex Е 1160
|
серо-зеленый
|
0,4-1,5
|
1
|
|
хорошая
|
|
НШ1
|
Remisol EB 503LS
|
золотисто-желтый
|
0,5-1,5
|
1
|
200 0С, 24 часа на воздухе
|
хорошая
|
|
Voltatex E 1153 Е
|
золотисто-желтый
|
0,5-2,0
|
1
|
200 0С, 24 часа на воздухе
|
хорошая
|
|
НШ20
|
Voltatex E 1153 Е
|
золотисто-желтый
|
2,5-5,5
|
>20
|
200 0С, 24 часа на воздухе
|
хорошая
|
|
НШ40
|
Voltatex Е 1151 Е
|
серый
|
4,0-7,0
|
>40
|
200 0С, 24 часа, на воздухе
|
хорошая
|
До 400°C полоса в печи проходит со свободным
провисанием, начиная с 400°C,
полоса касается роликов.
Сушка полосы осуществляется тепловым излучением электрических
нагревательных элементов.
Далее полоса поступает в воздушный горизонтальный холодильник, который
предназначен для охлаждения полосы с максимальной температуры 650°C до 60°C и состоит из трех частей. Длина камеры охлаждения 15 м.
Струи воздуха обдувают полосу со всех сторон, охлаждая ее. Полоса с
высушенным покрытием в камере нагрева и в камере выдержки транспортируется
через воздушный холодильник по не приводным поддерживающим роликам.
Натяжение полосы:
− при разматывании - 370-1500 дН;
− при смотке - 590-3000 дН;
− в печи термообработки 59-375 дН;
− в печи сушки покрытия 148-870 дН.
Выходной участок
Если не используется установка нанесения покрытия, полоса отклоняется
дефлекторным роликом перед входом на натяжное устройство.
Емкость выходного накопителя достаточна для выполнения операций удаления
намотанного рулона.
Максимальная скорость выходного участка опустошения выходного накопителя
- 60 м/мин. Скорость автоматически уменьшается до скорости обработки после
того, как накопитель будет пустой.
На входе натяжного устройства последовательно расположены маркировочное
устройство, толщиномер, устройство для измерения характеристик стали.
Удаление сварочного шва выполняется гильотинными ножницами. Наматывание
полосы в рулон выполняется с использованием автоматического устройства контроля
кромок.
Намотанный рулон автоматически позиционируется на барабане моталки таким
образом, чтобы свободный конец полосы был прижат на рулоне подъемниками
разгрузочной тележки.
Прижимной ролик отводится и барабан моталки сужается, что позволяет
выполнить объем рулона разгрузочной тележки и доставку рулона на посты
взвешивания и обвязки.
Затем рулон подается на приемный стеллаж разгрузочной тележкой, откуда
рулон забирается мостовым краном цеха.
.6.2
Технико-экономическое обоснование выбранной технологии
Выбранная термическая обработка обеспечивает снятие внутренних
напряжений, обезуглероживание, удаление вредных примесей, рекристаллизацию с
образованием равноосных недеформированных зерен в заданных кристаллографических
направлениях.
Обезуглероживание осуществляется во влажной азотно-водородной атмосфере
по реакции: C+H2O=CO+H2.
Во время обезуглероживания происходит окисление кремния и алюминия и
возможно окисление железа. Из термодинамических условий протекания реакции
окисления видно, что окисление кремния и алюминия происходит всегда, однако
большая разница в коэффициенте диффузии этих элементов и углерода делает
возможным реакцию обезуглероживания.
Скорость обезуглероживания определяется скоростью химической реакции на
поверхности и скоростью диффузии углерода. При содержании водяного пара около
7,5% (объем.) процесс обезуглероживания концентрата переходит в диффузионную
область. Следовательно, дальнейшее увеличение концентрации Н2О не
приведет к ускорению обезуглероживания. Оптимальное содержание водорода в смеси
определяется требованием исключения окисления железа.
Данная температура обезуглероживания выбирается из соображения, что она
обеспечит необходимую скорость диффузии, и этот процесс будет происходить в
однофазной области.
Необходимую диффузию нам обеспечит и выбранная скорость транспортировки
полосы. Для четвертой группы легирования приемлема скорость 35±5 м/мин и время обезуглероживания -
порядка 6 минут. Полоса нагревается до температуры 830° C.
II этап - рекристаллизация
Она проводится для того, чтобы сформировать необходимую зерненную
структуру. Оптимальным для стали является размер зерна 100−200 мкм. Если
в зоне обезуглероживания (830° C) зерно имеет размер ~50-70 мкм, то в зоне рекристаллизации
(1050° C) оно вырастет более чем в два раза.
Газовый режим
На свойства стали помимо температуры отжига, влияет и количество влаги в
защитном газе, поэтому необходимо назначить такой газовый режим, который
удовлетворял бы предъявляемым к стали требованиям. На основании многих
экспериментов можно считать таким режимом следующий расход газа в зонах
обезуглероживания - 240 м3/час, расход газа в зонах рекристаллизации
- 150 м3/час. Расход воды на увлажнение защитного газа - 30 кг/час.
По данному температурно-газовому режиму предположительно будет получена
изотропная электротехническая сталь с удельными ватными потерями P1,5/50=(2,9-3,1 Вт/кг.), что будет отвечать
уровню зарубежных аналогов.
3.
СПЕЦИАЛЬНАЯ ЧАСТЬ
В работе была исследована микроструктура изотропной электротехнической
стали четвертой группы легирования, содержащей углерода 0,003%, кремния от 2,8
до 3,1%, алюминия от 0,3 до 0,55%. Выплавка, разливка, горячая прокатка и
другие операции производились согласно действующей технологической инструкции.
После холодной прокатки на толщину 0,5 мм металл подвергался совмещенному обезуглероживающему
и рекристаллизационному отжигу в АНО. В дальнейшем производилась аттестация
металла и изучалась его микроструктура.
Исследования
проводились на образцах стали 2412, травление -3% раствором
на спирту. Было изучено не менее десяти полей зрения.
Микроструктура
стали после термической обработки представлена на рис. 11.
Ч100
Рис. 11. Микроструктура изотропной электротехнической стали 4 группы легирования
Величину зерна методом сравнения (по ГОСТ 5639-82) определяем под
микроскопом при увеличении 100 путем просмотра всей площади шлифа и сравнения
видимых зерен с эталонной шкалой. На микрофотографиях видно: сталь имеет
структуру кремнистого феррита, структура разнозерниста, присутствуют зерна
№1-3. Такой размер зерна свидетельствует о том, что в процессе
рекристаллизационного отжига прошла и первичная и собирательная
рекристаллизация.
Таблица 7
Результаты определения величины зерна после отжига сравнением с
эталонными шкалами [28]
|
Номер зерна
|
Средняя площадь зерна, мм2
|
Среднее число зерен на 1 мм2
|
Среднее число зерен в 1 мм3
|
Средний диаметр зерна, мм
|
|
1
|
0,0625
|
16
|
64
|
0,250
|
|
2
|
0,0312
|
32
|
181
|
0,177
|
|
3
|
0,0156
|
64
|
612
|
0,125
|
Магнитные свойства, соответствующие такому размеру зерна, приведены в
таблице 8.
Таблица 8
Магнитные свойства стали 2412 (ГОСТ 21427.2-83, EN 10106)
|
Марка
|
Стандарт
|
Р1,5/50, Вт/кг
|
ΔР1,5/50, %
|
В2500, Тл
|
ΔВ2500, Тл
|
|
2412
|
ГОСТ 21427.2-83
|
3,1
|
17
|
1,52
|
0,15
|
|
M310-50A
|
EN 10106
|
≤3,1
|
≤14
|
≥1,49
|
-
|
Влияние величины зерна на магнитные свойства
Размер зерна оказывает существенное влияние на магнитные свойства
электротехнической стали. С увеличением его возрастает магнитная проницаемость
и магнитная индукция в слабых и средних полях, коэрцитивная сила уменьшается.
Увеличение размера зерна, с одной стороны, приводит к снижению потерь на
гистерезис, а с другой - к увеличению потерь от вихревых токов. [4]
Исследованиями
установлено, что для изотропной электротехнической стали с разным содержанием
кремния (0,01-3,0%) оптимальный размер зерна, обеспечивающий минимальные
удельные магнитные потери
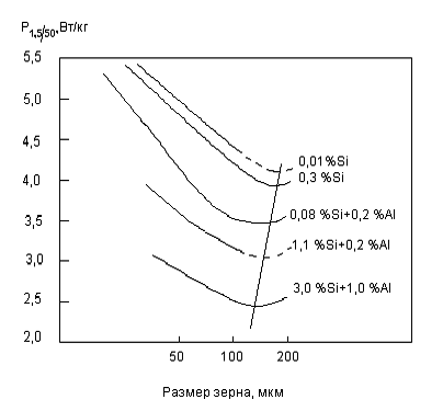
, близок к 150 мкм (рис. 12). [2]
Рис.
12. Зависимость удельных магнитных потерь
от
среднего размера зерна и содержания кремния в изотропной электротехнической
стали [2]
Когда
речь идет об оптимальном размере зерна, необходимо учитывать, в каких магнитных
полях проводилось измерение магнитных свойств. Показано, что минимальные
удельные магнитные потери в изотропной электротехнической стали обеспечиваются
при магнитной индукции менее 1,4 Тл величиной зерна 220-230 мкм, а при индукции
1,5 Тл и более оптимальный размер зерна постепенно уменьшается от 190 до 110
мкм. Уменьшение величины оптимального размера зерна с увеличением напряженности
магнитного поля может быть связано с изменением механизма намагничивания. При
намагничивании с увеличением напряженности магнитного поля процесс смещения
границ доменов (обратимый и необратимый) сменяется вращением вектора
намагниченности доменов. [2]
Установлено,
что на магнитные свойства (магнитная индукция и проницаемость, удельные
магнитные потери) существенное влияние оказывает возможное изменение текстуры
при увеличении размера зерна.
Оптимальная для повышеннолегированной малотекстурованной стали структура
характеризуется следующими параметрами: средняя величина зерна в зависимости от
содержания неметаллической фазы 200-400 мкм, минимальная разнозеренность
структуры. Чем меньше количество включений в отожженных листах, тем меньшей
величине зерна соответствует минимум удельных потерь и тем легче добиться
сочетания низких удельных потерь и высокой магнитной индукции в сильных
полях.[4]
4. Расчет оборудования и проектирование отделения
4.1
Технико-экономическое обоснование выбора основного, дополнительного и
вспомогательного оборудования
Основное оборудование − это оборудование, на котором выполняются
основные операции термической обработки: печи, агрегаты с различными
источниками тепла, установки для прямого нагрева током, оборудование для
закалки. [8]
Дополнительное оборудование служит для выполнения операций обработки:
травильные баки, моечные машины, дробеструйные аппараты, оборудование для
контроля продукции, сварочное оборудование.
Вспомогательное оборудование служит для получения контролируемых
атмосфер.
Теплоэнергетическое силовое оборудование: двигатели, вентиляторы,
компрессоры, насосы, холодильные установки, трубопроводы, электросеть.
Подъемно-транспортное оборудование включает в себя следующие виды: краны
и подъемники всех типов, конвейеры, транспортеры, электрокамеры и мотокары,
механизмы загрузки и разгрузки.
Применение в качестве основного оборудования агрегата непрерывного
отжига, работающего по непрерывному режиму, более рационально, так как это
увеличивает выпуск готовой продукции, повышает производительность агрегата,
ускоряет процесс обезуглероживания, уменьшает расход тепла и потери металла.
Поэтому в термических отделениях целесообразно строить и применять оборудование
непрерывного действия. [8]
В отделении непрерывного отжига в качестве источника тепла применяют
электроэнергию. Это позволяет осуществлять тепловой режим термической обработки
с точностью ±5%. Кроме того,
электрические термические печи имеют регулируемый тепловой режим. Срок службы
электрических печей более длительный. Значительно облегчено обслуживание печи,
так как отсутствует система боровов, труб, а также высокая культура производства
и гигиены труда.
.2 Тепловой
расчет термоагрегата
4.2.1 Камера
нагрева №1
Тепловой расчет термической печи сводится к определению расхода тепла,
мощности печи, коэффициента полезного действия.
Расход тепла определяется по формуле
Qрасх=Qме+Qкл+ Qатм+Qн.п,
где Qме - тепло, идущее на нагрев металла;
Qкл - тепло, теряемое в окружающее
пространство через кладку печи (стена, свод, под);
Qатм
- тепло, идущее на
нагрев контролируемой атмосферы;
Qн.п
- прочие
неучтенные потери.
Тепло идущее на нагрев металла
Qме=mЧ(i1-i2),
где m - масса металла находящегося в
камере нагрева;
i1, i 2 - теплосодержание стали при температуре t1 и t2; [справочник конструктора печей
прокатного производства]:
где i1=3,1 кКал/кг, при t=25° C;
i2=130,3 кКал/кг, при t=830° C.
m=V´r,
где V - объем металла, находящегося в
камере нагрева;
r - плотность металла, r=7,8 кг/м3;
V=a´b´L,
где a - толщина полосы м;
b -
ширина полосы, м;
L -
длина камеры нагрева, м.
V=0,5´1,065´32,85´10-3=0,0175 м3,
m=0,0175´7800=136,5 кг.
Время нагрева
tнагр=L/V,
где V - скорость движения полосы, м/мин, V=35 м/мин.
tнагр=32,85/35=0,94
мин=56,3 с.
Производительность печи
G=136,5/56,3=2,4
кг/с.
Тепло идущее на нагрев металла
Qме=136,5´(130,3-3,1)=17363 кКал=72577,3 кДж,
Тепло, теряемое в окружающее пространство через кладку печи
Qкл=Qст+Qпод+Qсвод,
где Qст - потери тепла через стены;
Qпод - потери тепла через под;
Qсвод - потери тепла через свод.
Расчет потерь тепла через кладку свода. [6]
Материалы свода печи представим в виде таблицы.
Таблица 9
Огнеупорные материалы свода печи
|
Свод
|
|
1 слой
|
2 слой
|
3 слой
|
|
Материал
|
Диатомит необожженный в кусках
|
Легковесный шамот ШЛ-04
|
Минеральная вата
|
|
Максимальная температура применения, °C
|
1300
|
1250
|
600
|
|
Толщина слоя, мм.
|
230
|
114
|
120
|
|
Теплопроводность, Вт/(м ´° C)
|
l=0,11+0,00023t
|
l=0,1+0,00021t
|
l=0,093+0,00026t
|
Для того чтобы найти коэффициенты тепловодности, принимаем средние
температуры каждого слоя:
t1ср=700°С, тогда теплопроводность
первого слоя l1=0,271 Вт/(м´К);
t2ср=500°С, теплопроводность второго слоя
l2=0,205 Вт/(м´К);
t3ср=300°С, теплопроводность третьего
слоя l3=0,171 Вт/(м´К).
Определяем тепловые сопротивления:
наружное
,
где
- коэффициент теплопроводности от стен к воздуху,
Вт/мІЧК. Принимаем
Вт/мІЧК,
мІЧК/Вт.
внутреннее
,
где
- толщина слоя, м;
мІЧК/Вт;
мІЧК/Вт;
мІЧК/Вт.
Плотность
теплового потока (количество тепла, передаваемого через 1 м2 стенки,
Вт/м2.):
,
где
- температура в печи, ° С;
-
температура воздуха снаружи печи, °С;
.
Второй
этап.
Находим
температуры на границе слоев:
°С;
°С;
°С.
Находим
более точные значения средних температур:
°С;
°С;
°С.
Затем
уточняем теплопроводность, тепловые сопротивления и коэффициент теплоотдачи от
стен к воздуху:
l1=0,265 Вт/(м´К);
l2=0,187 Вт/(м´К);
l3=0,141 Вт/(м´К).
Вт/мІЧК;
мІЧК/Вт;
мІЧК/Вт;
мІЧК/Вт;
мІЧК/Вт.
После
уточнения находим плотность теплового потока
Точность
оцениваем по плотности теплового потока:
;
.
Расчет
ведем до тех пор, пока ошибка
станет
меньше или равна 5 %.
Третий
этап.
Находим
температуры на границе слоев:
°С;
°С;
°С.
Находим
более точные значения средних температур:
°С;
°С;
°С.
Затем
уточняем теплопроводность, тепловые сопротивления и коэффициент теплоотдачи от
стен к воздуху:
l1= 0,268 Вт/(м´К);
l2=0,192 Вт/(м´К);
l3=0,144 Вт/(м´К).
Вт/мІЧК;
мІЧК/Вт;
мІЧК/Вт;
мІЧК/Вт;
мІЧК/Вт.
После
уточнения находим плотность теплового потока
.
Точность
оцениваем по плотности теплового потока:
;
;
.
Рис.
13. График распределения температур в кладке свода камеры нагрева № 1

Потери тепла через свод
Qсв=qсв´Fсв, кВт,
где Fсв - площадь свода.
Fсв=i´L,
где i - длина дуги арки свода, м;
L -
длина камеры нагрева, м.
i=pra/180,
где r - радиус арки свода, м,
a - угол арки свода, град.
i=3,14´1,7´60/180=1,8 м2;
Fсв=1,8´32,85=59,13 м2;
Qсв=339,15´59,13Ч10-3=20,05 кВт.
Расчет потерь тепла через под и стены.
Материалы представлены в таблице 10.
Таблица 10
Огнеупорные материалы пода и стен печи
|
Под и стены
|
|
1 слой
|
2 слой
|
3 слой
|
|
Материал
|
Легковесный шамот ШЛ-09
|
Легковесный шамот ШЛ-04
|
Асбестовый картон
|
|
Максимальная температура применения, ° C
|
1300
|
1250
|
900
|
|
Толщина слоя h,
мм.
|
114
|
114
|
130
|
|
Теплопроводность, Вт/(м ´° C)
|
l=0,29+0,00023t
|
l=0,1+0,00021t
|
l=0,12+0,00024t
|
Для того чтобы найти коэффициенты тепловодности, принимаем средние
температуры каждого слоя:
t1ср=700°С, тогда теплопроводность первого
слоя l1= 0,451 Вт/(м´К);
t2ср=500°С, теплопроводность второго слоя
l2=0,205 Вт/(м´К);
t3ср=300°С, теплопроводность третьего
слоя l3=0,192 Вт/(м´К).
Определяем тепловые сопротивления:
наружное
,
где
- коэффициент теплопроводности от стен к воздуху,
Вт/мІЧК,
мІЧК/Вт.
внутреннее
,
где
- толщина слоя, м;
мІЧК/Вт;
мІЧК/Вт;
мІЧК/Вт.
Плотность теплового потока:
.
Второй
этап.
Находим
температуры на границе слоев:
°С;
°С;
°С.
Находим
более точные значения средних температур:
°С;
°С;
°С.
Затем
уточняем теплопроводность, тепловые сопротивления и коэффициент теплоотдачи от
стен к воздуху:
l1= 0,466 Вт/(м´К);
l2=0,217 Вт/(м´К);
l3=0,178 Вт/(м´К).
Вт/мІЧК;
мІЧК/Вт;
мІЧК/Вт;
мІЧК/Вт;
мІЧК/Вт.
После
уточнения находим плотность теплового потока
.
Точность
оцениваем по плотности теплового потока:
;
.
.
Рис.
14. График распределения температур в кладке пода и стен камеры нагрева № 1
Qст=qст´Fст;
Fст=2ЧL´H, м2,
где Н - высота камеры нагрева, м.
Fст=2´32,85´1,2=78,84 м2;
Qст=508,5´78,84´10-3=40,09 кВт.
Потери тепла через под
Qпод=Fпод´qпод, кВт;
Fпод=L´B, м2;
Fпод=32,85´1,7=55,845 м2;
Qпод=55,845´508,5´10-3=28,40 кВт.
Общие потери тепла через кладку
Qкл=Qст+Qсв+Qпод,
Qкл=40,09+20,05+28,40=88,54 кВт.
Переводим Qкл в кДж, умножая на время нагрева tнагр
Qкл=56,3´88,54=4984,8 кДж.
Потери тепла на нагрев контролируемой атмосферы, кВт
Qатм=VатмЧСатмЧ(tатмкон - tатмнач),
где Vатм - расход контролируемой атмосферы, м3/ч;
Сатм - теплоемкость контролируемой атмосферы, кКал/(м3
Ч град);
tатмкон, tатмнач - конечная и начальная температуры контролируемой атмосферы, єС.
Qатм=240Ч0,320(830-25)=61824 кКал/ч=71,89
кВт.
Переводим Qатм в кДж, умножая на время нагрева tнагр
Qатм=53,6´71,89=3853,3 кДж.
Неучтенные потери, кДж
Qнеучт=0,1Ч(Qкл+Qме)=0,1(4984,8+72577,3)=7756,2 кДж.
Общий расход тепла
Qрасх=Qме+Qкл+Qатм+Qн.п,
Qрасх=72577,3+4984,8+4047,4+7756,2=89365,7
кДж.
Мощность печи расчетная
Pрасч=Qрасх/tнагр, кВт;
Pрасч=89365,7/56,3=1587,3 кВт.
Установочная мощность печи
Pуст=(1,25…1,5)´Pрасч,
Pуст=(1,25…1,5)´1587,3=(1984…2381).
Окончательно принимаем Pуст=2180 кВт.
Коэффициент полезного действия [7]
h=(Qме/Qрасх)´100%,
h=72577,3/89365,7´100%=81%.
4.2.2 Камера
нагрева №2
Расчет потерь тепла через кладку свода. [6]
Материалы представлены в таблице 11.
Таблица 11
Огнеупорные материалы свода печи
|
Свод
|
|
1 слой
|
2 слой
|
3 слой
|
|
Материал
|
Легковесный шамот
|
Ультралегковесный шамот
|
Минеральная вата
|
|
Максимальная температура применения, ° C
|
1300
|
1100
|
600
|
|
Толщина слоя h,
мм.
|
240
|
120
|
120
|
|
Теплопроводность, Вт/(м ´° C)
|
l=0,29+0,00023t
|
l=0,058+0,00016t
|
l=0,093+0,00026t
|
Для того чтобы найти коэффициенты тепловодности, принимаем средние
температуры каждого слоя:
t1ср=700°С, тогда теплопроводность
первого слоя l1= 0,451 Вт/(м´К);
t2ср=500°С, теплопроводность второго слоя
l2=0,138 Вт/(м´К);
t3ср=300°С, теплопроводность третьего
слоя l3=0,171 Вт/(м´К).
Определяем тепловые сопротивления:
наружное
, где
- коэффициент теплопроводности от стен к воздуху,
Вт/мІЧК,
мІЧК/Вт.
внутреннее
, где
- толщина слоя, м;
мІЧК/Вт;
мІЧК/Вт;
мІЧК/Вт.
Плотность
теплового потока (количество тепла, передаваемого через 1 м2 стенки,
Вт/м2.):
,
-
температура в печи, ° С;
-
температура воздуха снаружи печи, °С;
.
Второй
этап.
Находим
температуры на границе слоев:
°С;
°С;
°С.
Находим
более точные значения средних температур:
°С;
°С;
°С.
Затем
уточняем теплопроводность, тепловые сопротивления и коэффициент теплоотдачи от
стен к воздуху:
l1= 0,503 Вт/(м´К);
l2=0,154 Вт/(м´К);
l3=0,152 Вт/(м´К).
Вт/мІЧК;
мІЧК/Вт;
мІЧК/Вт;
мІЧК/Вт;
мІЧК/Вт.
После
уточнения находим плотность теплового потока
.
Точность
оцениваем по плотности теплового потока:
;
.
.
Рис.
15. График распределения температур в кладке свода камеры нагрева №2
Потери тепла через свод
Qсв=qсв´Fсв, кВт,
где Fсв - площадь свода.
Fсв=i´L,
где i - длина дуги арки свода, м;
L -
длина камеры нагрева, м.
i=pra/180,
где r - радиус арки свода, м,
a - угол арки свода, град.
i=3,14´1,7´60/180=1,78 м2;
Fсв=1,78´10,8=19,22 м2;
Qсв=481,3´19,22Ч10-3=9,25 кВт.
Расчет потерь тепла через под и стены.
Материалы представлены в таблице 12.
Таблица 12
Огнеупорные материалы пода и стен печи
|
Под и стены
|
|
1 слой
|
2 слой
|
3 слой
|
|
Материал
|
Пеношамот
|
Ультралегковесный шамот
|
Пенодиатомитовый кирпич
|
|
Максимальная температура применения, ° C
|
1300
|
1100
|
900
|
|
Толщина слоя h,
мм.
|
130
|
115
|
130
|
|
Теплопроводность, Вт/(м ´° C)
|
l=0,105+0,00014t
|
l=0,058+0,00016t
|
l=0,078+0,00031t
|
Для того чтобы найти коэффициенты тепловодности, принимаем средние
температуры каждого слоя:
t1ср=700°С, тогда теплопроводность
первого слоя l1= 0,203 Вт/(м´К);
t2ср=500°С, теплопроводность второго слоя
l2=0,138 Вт/(м´К);
t3ср=300°С, теплопроводность третьего
слоя l3=0,171 Вт/(м´К).
Определяем тепловые сопротивления:
наружное
,
где
- коэффициент теплопроводности от стен к воздуху,
Вт/мІЧК,
мІЧК/Вт.
внутреннее
,
где
- толщина слоя, м;
мІЧК/Вт;
мІЧК/Вт;
мІЧК/Вт.
Плотность
теплового потока (количество тепла, передаваемого через 1 м2 стенки,
Вт/м2.):
,
-
температура в печи, °С;
-
температура воздуха снаружи печи, °С;
.
Второй
этап.
Находим
температуры на границе слоев:
°С;
°С;
°С.
Находим
более точные значения средних температур:
°С;
°С;
°С.
Затем
уточняем теплопроводность, тепловые сопротивления и коэффициент теплоотдачи от
стен к воздуху:
l1= 0,232 Вт/(м´К);
l2=0,151 Вт/(м´К);
l3=0,149 Вт/(м´К).
Вт/мІЧК;
мІЧК/Вт;
мІЧК/Вт;
мІЧК/Вт;
мІЧК/Вт.
После
уточнения находим плотность теплового потока
.
Точность оцениваем по плотности теплового потока:
;
.
Рис.
16. График распределения температур в кладке пода и стен камеры нагрева №2
Потери
тепла через стены
Qст=qст´Fст;
Fст=2ЧL´H, м2,
где
Н - высота камеры нагрева, м.
Fст=2´10,8´1,2=25,92 м2;
Qст=449,66´25,92´10-3=11,66 кВт.
Потери тепла через под
Qпод=Fпод´qпод, кВт;
Fпод=L´B, м2;
Fпод=10,8´1,7=18,36 м2;
Qпод=18,36´449,66´10-3=8,26 кВт.
Общие потери тепла через кладку
Qкл=Qст+Qсв+Qпод,
Qкл=11,66+9,25+8,26=29,17 кВт.
Переводим Qкл в кДж, умножая на время нагрева tнагр.
Время нагрева
tнагр=L/V,
где V - скорость движения полосы, м/мин, V=35 м/мин.
tнагр=10,8/35=0,31
мин=18,6 с,
Qкл=29,17´18,6=542,56 кДж.
Тепло идущее на нагрев металла
Qме=mЧ(i1-i2),
где m - масса металла находящегося в
камере нагрева;
i1, i 2 - теплосодержание стали при температуре t1 и t2; [23]:
i1=158,7 кКал/кг, при t=1000° C;
i2=169,65 кКал/кг, при t=1050° C.
m=V´r,
где V - объем металла, находящегося в
камере нагрева;
r - плотность металла, r=7,8 кг/м3;
V=a´b´L,
где a - толщина полосы м;
b -
ширина полосы, м;
L -
длина камеры нагрева, м.
V=0,5´1,065´10,8´10-3=5,75´10-3 м3,
m=5,75´10-3´7800=44,9 кг.
Тепло идущее на нагрев металла
Qме=44,9´(158,7-169,65)=492 кКал=2056,6 кДж.
Потери тепла на нагрев контролируемой атмосферы, кВт
Qатм=VатмЧСатмЧ(tатмкон-tатмнач),
где Vатм - расход контролируемой атмосферы, м3/ч;
Сатм - теплоемкость контролируемой атмосферы, кКал/(м3
Чград);
tатмкон, tатмнач - конечная и начальная температуры контролируемой атмосферы, єС.
Qатм=150Ч0,334(1050-25)=51352,5
кКал/ч=59,7 кВт.
Переводим Qатм в кДж, умножая на время нагрева tнагр.
Qатм=59,7´18,6=1111 кДж.
Неучтенные потери, кДж
Qнеучт=0,1(Qкл+Qме)=0,1(542,56+2056,6)=260 кДж.
Общий расход тепла
Qрасх=Qме+Qкл+Qатм+Qн.п,
Qрасх=2056,6+542,56+1111+260=3970 кДж.
Pрасч=Qрасх/tнагр, кВт;
Pрасч=3970/18,6=213,45 кВт.
Установочная мощность печи
Pуст=(1,25…1,5)´Pрасч,
Pуст=(1,25…1,5)´213,45=(267…320).
Окончательно принимаем Pуст=290 кВт.
Коэффициент полезного действия [7]
h=(Qме/Qрасх)´100%,
h=2056,6/3970´100%=52%.
4.2.3 Камера
выдержки №1
Нагрев в камере выдержки электрический. Обработка стали 4 группы
легирования производится по базовым режимам №62-65.Следовательно, в камере
выдержки металл нагревается с температуры 830°С до температуры 1000°С.
Тепло идущее на нагрев металла
Qме=mЧ(i1-i2),
где m - масса металла находящегося в
камере нагрева;
i1, i 2 - теплосодержание стали при температуре t1 и t2; [23]:
i1=130,3 кКал/кг, при t=830° C;
i2=158,7 кКал/кг, при t=1000° C;
m=V´r,
где V - объем металла, находящегося в
камере нагрева;
r - плотность металла, r=7,8 кг/м3;
V=a´b´L,
где a - толщина полосы м;
b -
ширина полосы, м;
L -
длина камеры выдержки, м.
V=0,5´1,065´160´10-3=0,0852 м3,
m=0,0852´7800=664,56 кг.
Время выдержки
tвыд=L/V,
где V - скорость движения полосы, м/мин, V=35 м/мин.
tвыд=160/35=4,57
мин=274,3 с.
Производительность печи
G=664,56/274,3=2,42
кг/с.
Тепло идущее на нагрев металла
Qме=664,56´(158,7-130,3)=18873,5 кКал=78891,23
кДж.
Потери тепла теплопроводностью через кладку, кВт
Qкл=∑qклЧFкл,
где qкл - удельный тепловой поток через
кладку, кВт/м2;
Fкл - площадь теплоотдающей поверхности,
м2.
Кладка камеры выдержки состоит из тех же огнеупорных материалов, что и
камера нагрева №1.
Материалы свода печи представлены в таблице 9.
Для того чтобы найти коэффициенты тепловодности, принимаем средние
температуры каждого слоя:
t1ср=700°С, тогда теплопроводность
первого слоя l1= 0,271 Вт/(м´К);
t2ср=500°С, теплопроводность второго слоя
l2=0,205 Вт/(м´К);
t3ср=300°С, теплопроводность третьего
слоя l3=0,171 Вт/(м´К).
Определяем тепловые сопротивления:
наружное
,
где
- коэффициент теплопроводности от стен к воздуху,
Вт/мІЧК. Принимаем
Вт/мІЧК,
мІЧК/Вт.
внутреннее
, где
- толщина слоя, м;
мІЧК/Вт;
мІЧК/Вт;
мІЧК/Вт.
Плотность
теплового потока (количество тепла, передаваемого через 1 м2 стенки,
Вт/м2.):
,
-
температура в печи, °С;
-
температура воздуха снаружи печи, °С;
.
Второй
этап.
Находим
температуры на границе слоев:
°С;
°С;
°С.
Находим
более точные значения средних температур:
°С;
°С;
°С.
Затем
уточняем теплопроводность, тепловые сопротивления и коэффициент теплоотдачи от
стен к воздуху:
l1=0,297 Вт/(м´К);
l2=0,205 Вт/(м´К);
l3=0,150 Вт/(м´К).
Вт/мІЧК;
мІЧК/Вт;
мІЧК/Вт;
мІЧК/Вт;
мІЧК/Вт.
После
уточнения находим плотность теплового потока
.
Точность
оцениваем по плотности теплового потока:
;
.
Рис.
17. График распределения температур в кладке свода камеры выдержки №1
диатомит
необожженный
легковесный
шамот ШЛ-04
минеральная
вата
Потери
тепла через свод
Qсв=qсв´Fсв, кВт,
где
Fсв -
площадь свода.
Fсв=i´L,
где
i - длина дуги арки свода, м;
L - длина камеры
выдержки, м.
i=pЧrЧa/180,
где
r - радиус арки свода, м,
a - угол арки свода, град.
i=3,14´1,7´60/180=1,8 м2;
Fсв=1,8´160=288 м2;
Qсв=
´288Ч10-3=126,66 кВт.
Расчет
потерь тепла через под и стены.
Для
того чтобы найти коэффициенты тепловодности, принимаем средние температуры
каждого слоя:
t1ср=900°С, тогда теплопроводность первого слоя l1= 0,497
Вт/(м´К);
t2ср=500°С, теплопроводность второго слоя l2=0,205
Вт/(м´К);
t3ср=300°С, теплопроводность третьего слоя l3=0,192
Вт/(м´К).
Определяем
тепловые сопротивления:
наружное
,
где
- коэффициент теплопроводности от стен к воздуху,
Вт/мІЧК,
мІЧК/Вт.
внутреннее
,
где
- толщина слоя, м;
мІЧК/Вт;
мІЧК/Вт;
мІЧК/Вт.
Плотность теплового потока (количество тепла, передаваемого через 1 м2
стенки, Вт/м2.):
.
Второй
этап.
Находим
температуры на границе слоев:
°С;
°С;
°С.
Находим
более точные значения средних температур:
°С;
°С;
°С.
Затем
уточняем теплопроводность, тепловые сопротивления и коэффициент теплоотдачи от
стен к воздуху:
l1= 0,503 Вт/(м´К);
l2=0,243 Вт/(м´К);
l3=0,190 Вт/(м´К).
Вт/мІЧК;
мІЧК/Вт;
мІЧК/Вт;
мІЧК/Вт;
мІЧК/Вт.
После
уточнения находим плотность теплового потока
.
Точность
оцениваем по плотности теплового потока:
;
.
Рис. 18. График распределения температур в кладке пода и стен камеры
выдержки № 1
легковесный шамот ШЛ-09
легковесный шамот ШЛ-04
асбестовый картон
Потери тепла через стены
Qст=FстЧqст, кВт.
Fст=2ЧLЧH, м2,
где H - высота камеры выдержки, м.
Fст=2Ч160Ч1=320 м2.
Qст=0,668Ч320=213,76 кВт.
Потери тепла через под
Qпод=Fпод´qпод, кВт;
Fпод=L´B, м2;
Fпод=160´1,7=272 м2;
Qпод=272´668´10-3=181,70 кВт.
Общие потери тепла через кладку
Qкл=Qст+Qсв+Qпод,
Qкл=213,76+126,66+181,70=522,12 кВт.
Переводим значение Qкл в кДж, умножая на время выдержки tвыд:
tвыд=274,3 с;
Qкл=522,12Ч274,3=143217,5 кДж.
Потери тепла на нагрев контролируемой атмосферы, кВт
Qатм=VатмЧСатмЧ(tатмкон-tатмнач),
где Vатм - расход контролируемой атмосферы, м3/ч;
Сатм - теплоемкость контролируемой атмосферы, кКал/(м3
Ч град);
tатмкон, tатмнач - конечная и начальная температуры контролируемой атмосферы, єС.
Qатм=240Ч0,324Ч(1000-25)=75816
кКал/ч=88,16 кВт.
Переводим значение Qатм в кДж, умножая на время выдержки tвыд:
tвыд=274,3 с.
Qатм=88,16Ч274,3=24182,3 кДж.
Неучтенные потери, кВт
Qнеучт=0,1(Qкл+Qме)=0,1(143217,5+78891,23)=22210,87
кДж.
Общий расход тепла
Qрасх=Qме+Qкл+Qатм+Qнеучт, кДж,
Qрасх=78891,23+143217,5+24182,3+22210,87=268501,9
кДж.
Коэффициент полезного действия печи [7]
h=Qме/åQрасх´100%,
h=78891,23/268501,9´100%=29%.
Мощность печи расчетная [7]
Pрасч=Qрасх/tвыд,
Pрасч=268501,9/274,3=978,9 кВт.
Установочная мощность печи [7]
Pуст=(1,25…1,5)´Pрасч,
Pуст=(1,25…1,5)´978,9=(1224…1468) кВт.
Окончательно принимаем Pуст=1350 кВт.
4.2.4 Камера
выдержки №2
Нагрев в камере выдержки электрический. Выдержка нужна для завершения
всех процессов, а также для выравнивания температур по сечению полосы. Т. о.
потери тепла на нагрев металла Qме
не равны нулю, т.
к. нагрев происходит.
Тепло идущее на нагрев металла
Qме=mЧ(i1-i2),
где m - масса металла находящегося в
камере нагрева;
i1, i 2 - теплосодержание стали при температуре t1 и t2; [23]:
i1 =158,7 кКал/кг, при t=1000° C;
i2 =169,65 кКал/кг, при t =1050° C.
m=V´r,
где V - объем металла, находящегося в
камере выдержки;
r - плотность металла, r=7,8 кг/м3;
V=a´b´L,
где a - толщина полосы м;
b -
ширина полосы, м;
L -
длина камеры выдержки, м.
V=0,5´1,065´25,2´10-3=0,0134 м3,
m=0,0134´7 800=104,67 кг.
Время выдержки полосы в камере
tвыд=L/V,
где V - скорость движения полосы, м/мин, V=35 м/мин.
tвыд=25,2/35=0,72
мин=43,2 с.
Производительность печи
G=104,67
/43,2 =2,42 кг/с.
Тепло идущее на нагрев металла
Qме=104,67 ´(169,65-158,7)=1146 кКал=4790,3 кДж.
Расчет потерь тепла через кладку. [6]
Кладка камеры выдержки состоит из тех же материалов, что и камера нагрева
№ 2. Конечная температура 1050°С. Т. о. используем полученные ранее данные для
камеры нагрева.
Потери тепла через свод.
Температуры на границе слоев:
°С;
°С;
°С.
Плотность
теплового потока
Рис. 19. График распределения температур в кладке свода камеры нагрева №
2
легковесный шамот
ультралегковесный шамот
минеральная вата
Потери тепла теплопроводностью через кладку, кВт
Qкл=∑qклЧFкл,
где qкл - удельный тепловой поток через
кладку, кВт/м2;
Fкл - площадь теплоотдающей поверхности,
м2.
Qсв=FсвЧqсв, кВт,
где Fсв - площадь свода, м2.
Fсв=lЧL,
где l - длина дуги арки свода, м;
L -
длина камеры выдержки, м.
l=πЧrЧa/180,
где r - радиус арки свода, м;
a -
угол арки свода, град.
l=3,14Ч1,7Ч60/180=1,8
м2.
Fсв=1,8Ч25,2=45,36 м2.
Qсв=45,36Ч0,4813=21,83 кВт.
Потери тепла через под и стены.
Температуры на границе слоев:
°С;
°С;
°С.
Плотность
теплового потока
.
Рис. 20. График распределения температур в кладке пода и стен камеры
выдержки № 2
Qпод=FподЧqпод, кВт.
Fпод=LЧB, м2,
где L - длина камеры выдержки, м;
B -
ширина камеры выдержки, м.
Fпод=25,2Ч1,7=42,84 м2.
Qпод=42,84Ч0,4497=19,27 кВт.
Qст=FстЧqст, кВт.
Fст=2ЧLЧH, м2,
где H - высота камеры выдержки, м.
Fст=2Ч25,2Ч1=50,4 м2.
Qст=0,449Ч50,4=22,66 кВт.
Общие потери тепла через кладку
Qкл=Qст+Qсв+Qпод,
Qкл=21,83+19,27+22,66=63,76 кВт.
Переводим значение Qкл в кДж, умножая на время выдержки tвыд:
tвыд=43,2 с.
Qкл=43,2Ч63,76=2754,4 кДж.
Потери тепла на нагрев контролируемой атмосферы, кВт
Qатм=VатмЧСатмЧ(tатмкон-tатмнач),
где Vатм - расход контролируемой атмосферы, м3/ч;
Сатм - теплоемкость контролируемой атмосферы, кКал/(м3Чград);
tатмкон, tатмнач - конечная и начальная температуры контролируемой атмосферы, єС.
Qатм=150Ч0,334Ч(1050-25)=51352,5
кКал/ч=59,7 кВт.
Переводим значение Qатм в кДж, умножая на время выдержки tвыд:
tвыд=43,2 с.
Qатм=43,2Ч59,7=2579 кДж.
Неучтенные потери, кВт
Qнеучт=0,1(Qкл+Qме)=0,1(2754,4+4790,3)=754,5 кДж.
Общий расход тепла
Qрасх=Qме+Qкл+Qатм+Qнеучт, кДж,
Qрасх=4790,3+2754,4+2579+754,5=10878,2
кДж.
Коэффициент полезного действия печи [7]
h=Qме/åQрасх´100%,
h=4790,3/10878,2´100%=44%.
Мощность печи расчетная [7]
Pрасч=Qрасх/tвыд,
Pрасч=10878,2/43,2=252 кВт.
Установочная мощность печи [7]
Pуст=(1,25…1,5)´Pрасч,
Pуст=(1,25…1,5)´252=(315…378) кВт.
Окончательно принимаем Pуст=350 кВт.
Таким образом, коэффициент полезного действия печи составляет
h=(0,81+0,52+0,29+0,44)/4Ч100%=51,5%
.3 Расчет
количества оборудования
Расчет оборудования производится на основании производственной программы,
спроектированного технологического процесса термической обработки, режима
работы отделения и фонда времени оборудования.[4]
Полный календарный фонд времени равен 365´24=8760 часов. Так как характер
работы непрерывный, то календарный фонд равен номинальному, Фн=8760
часов. [8]
Действительный фонд времени равен тому времени, которое может быть
полностью использовано для производства. По характеристике агрегата Фд=7000
часов.
Таким образом, потери времени на простой оборудования, связанные с его
ремонтом и наладкой: tпотерь=Фн-Фд=1760
часов, что составляет приблизительно 20% от Фн. [8]
Задолженность оборудования
Z=W/Q,
где W - годовая программа, кг;
Q -
часовая производительность оборудования, кг/ч;
Z=130000000/7589=17130,06
ч
где Q=53125 т/год=7589 кг/ч.
Количество единиц оборудования
nр=Z/Фд, шт,
nр=17130,06/7000=2,45 шт.
Принимаем число единиц оборудования np=3.
Коэффициент загрузки [8]
Кз=nр/n´100 %,
Кз=2,45/3´100 %=81,7 %.
4.4 Расчет
электрических нагревательных элементов
Источником тепла в печи являются электронагреватели. Расчет ведется для
камеры нагрева № 2 (зона 14). Для быстрого разогрева камеры мощность
нагревателей должна быть больше или равна 290 кВт. Нагревателей четыре - по 73
кВт каждый (Рн=73 кВт). Расположены нагреватели на поду, своде и
боковых стенах печи. Соединение параллельное, каждый нагреватель однофазный.
Нагревательные элементы должны обеспечить длительную бесперебойную службу
(несколько лет) при заданном тепловом режиме. Поэтому следует выбирать материал
нагревательных элементов в зависимости от максимальной температуры нагрева и
характера среды, в которой должны работать нагреватели. Температура в камере
нагрева №2 1050є С. Согласно ГОСТ 5632-51 выбираем материал для изготовления
электронагревателей нихром Х20Н80-Н [7].
Таблица 13
Основные свойства материалов нагревательных элементов [7]
|
Материал
|
Плотность, г/см3
|
Рабочая температура Tmax, °С
|
Удельное сопротивление, Ом Ч мм/м2
|
Условия применения
|
|
Х20Н80-Н
|
8,40
|
1100
|
1,13
|
Воздух, вакуум, защитные среды
|
Так как мощность печи превышает 15 кВт, то печь
конструируют трехфазной. Uл=380 В. Мощность одной фазы определяется по формуле
РФ=Рн/3=73/3=24,3
кВт.
Фазовое напряжение на концах нагревателя:
Uф=Uл/3=380/3=220
В.
Сила тока, проходящего через нагреватель
Iф=103´Рф/Uф=103´24,3/220=110,45 А.
Сопротивление электронагревателей
RФ=Uф2/103´Рф=2202/103´24,3=2 Ом.
Выбираем ленточный электронагреватель. При
использовании ленты толщиной а (мм) и шириной b (мм) обычно принимается следующее отношение ширины к толщине
m=b/a=8…12.
Пусть m=b/a=10.
Определяем диаметр проволоки для нагревательного элемента по формуле
где
- удельное сопротивление материала нагревателя при
рабочей температуре, Ом Ч мм2/м, ρ=1,13 Ом Ч мм2/м;
Рф
- мощность печи (или мощность одной фазы), кВт;
Uф - фазное напряжение, В;
-
удельная поверхностная нагрузка нагревателя, Вт/см2,
=0,6 Вт/см2 [7];
мм.
По таблице 6 [7] принимаем а=2,2 мм.
Длина элемента сопротивления в одной параллельной
ветви
l=RЧaЧb/ρ=2Ч2,2Ч22/1,13=85,66 м.
Длина четырех нагревателей
Lобщ=lЧ4=85,66Ч4=342,64
м.
Масса нагревателей
G=aЧbЧLобщЧ10-3,
где γ=8,4 г/см3 - плотность (табл.
4[м/у 924]);
G=2,2Ч22Ч342,64Ч8,4Чl0-3=139,3 кг.
Проверяем поверхностную нагрузку
Сравнивая поверхностную нагрузку, рассчитанную с
допустимой [7] видно, что она находится в пределах допустимой для нихрома
Х20Н80-Н.
Ленточные элементы сопротивления располагаются обычно
зигзагом. Схема ленточного элемента сопротивления представлена на рис. 21
Расстояние внутри зигзагов D принимают не менее ширины ленты D=22 мм. Высоту зигзагов В принимаем равной 200 мм, тогда
А=178 мм, r=11 мм.
Длина одного зигзага
Lзигзага=2ЧπЧr+2ЧА=2Ч(πЧr+А), мм.
Lзигзага=2Ч(3,14Ч11+178)=425 мм.
Число зигзагов
n=(lЧ103-2Ч
l ввода)/Lзиг,
где Lввода=с+100, мм;
с - толщина стенки печи (с=375 мм);
n=(85,66Ч103-2Ч(375+100))/425=199.
Шаг зигзага h=2ЧD=44 мм.
Длина нагревательного элемента, свернутого зигзагом Lсверн
Lсверн=hЧnЧ10-3=44Ч199Ч10-3=8,76
м.
Рис. 21. Схема ленточного элемента сопротивления:
D - расстояние внутри зигзагов;
В - высота зигзагов;
А - высота зигзага между центрами закругленной ленты;
h - шаг зигзага.
4.5 Расчет
производственных площадей, планировка, грузопотоки
Площадь занимаемая агрегатом непрерывного отжига вычисляется по формуле
F=l´a, м2,
где l - длина агрегата, м;
a -
ширина агрегата, м.
F=326´10=3 260 м2.
Площадь занимаемая тремя агрегатами равна 9 780 м2.
Расстояние между агрегатами принимаем 4м, проходы и проезды 4м.
Перед агрегатом и после него предусматривают площадки для складирования
рулонов, размерами: ширина 10 м, длина 5 м и оставляют проезды 4 м, таким
образом ширина термического отделения составляет 4+10+4+10+4+10+4=46 м, а длина
4+5+4+326+4+5+4=352 м. Общая площадь соответственно Sпр=352´46=16 192 м2.
Отделение находится на территории цеха холодной прокатки. Каркас здания
смешанный - железобетонные колонны и металлические конструкции. Высота здания
принимается 12 метров. Общий грузопоток осуществляется в одном направлении [8].
План термического отделения представлен на рис. 22.
изотропный электротехнический сталь легирующий
Рис. 22. Планировка термического отделения
5. Контроль качества продукции
.1 Контроль качества электротехнической изотропной стали на переделах
.1.1 Горячекатаный подкат
Контроль геометрических параметров подката осуществляется в
нормализационно-травильном отделении. [14]
Отбор проб для контроля геометрических параметров горячекатаного подката
осуществляется на агрегате подготовки, нормализации или травления горячекатаных
рулонов. Размер проб: длина не менее 1000 мм. Отбор проб производится от начала
или конца контрольного рулона обрабатываемой плавки. [14]
Определение поверхностной плотности хлорид-иона на поверхности
протравленного металла проводится оператором выходного поста в присутствии
контролера УТК по СТП СК 05757665-22-232-2002 на одном рулоне плавки в трех
точках по ширине полосы (кромка, середина, кромка на расстоянии от кромки
полосы 50 мм). Результаты определений фиксируют:
контролер УТК в паспорте плавки;
старший травильщик в технологическом журнале травильщика НТА.
.1.2 Холоднокатаный подкат
Контроль геометрических параметров подката осуществляется в прокатном
отделении работниками УТК.
Отбор проб для контроля геометрических параметров холоднокатаного подката
и массовой доли углерода осуществляется на агрегатах подготовки холоднокатаных
рулонов. Размер проб: длина 1500−2000 мм.
Определение массовой доли углерода в стали осуществляется на образцах
подката (две полоски шириной 30−35 мм, вырезанных по всей ширине полосы)
в лаборатории УТК.
Отбор проб производиться от начала или конца каждого холоднокатаного
рулона обрабатываемой плавки после подготовки.
Для определения загрязненности полосы технологический персонал отбирает
четыре пробы металла размером (100±2)Ч(100±2) мм и доставляет в лабораторию
УТК. [14]
.1.3 Контроль процесса обезуглероживания
Для контроля массовой доли углерода в стали после отжига производится
отбор проб от начала или конца контрольного рулона обрабатываемой плавки после
агрегата термообработки. Размер пробы: длина − 300−500 мм. Из проб
персоналом цеха вырезаются полоски шириной 30−35 мм поперек направления
прокатки. Определение массовой доли углерода в образцах стали производится в
лаборатории УТК. [14]
Методы определения углерода (по ГОСТ 12344-2003)
Стандарт устанавливает кулонометрический метод определения углерода (при
массовой доле углерода от 0,002% до 2%) и метод инфракрасной спектроскопии (при
массовой доле углерода от 0,001% до 2%).
Кулонометрический метод
Сущность метода: метод основана на сжигании навески
пробы в токе кислорода в присутствии плавня при температуре 1300-1400°С,
поглощении образовавшегося диоксида углерода поглотительным раствором с
определенным начальным значением рН и последующем измерении (на установке для
кулонометрического титрования), количества электричества, затраченного для
восстановления исходного значения рН, которое пропорционально массовой доле
углерода в навеске пробы.
Инфракрасно-абсорбционный метод определения углерода
Сущность метода: метод основан на сжигании навески
стали в токе кислорода в присутствии плавня при температуре 1700°С и
определении количества образовавшегося диоксида углерода путем измерения
поглощенной им инфракрасной радиации.
Пределы измерений и допустимая погрешность
представлены в таблице 14.
Таблица 14
Допустимые погрешности при измерении массовой доли
углерода [14]
|
Измеряемый параметр
|
Наименование средств измерений
|
Пределы измерения
|
Допустимая погрешность, класс точности, цена деления
|
|
Массовая доля углерода в стали
|
Анализатор углерода
|
0,0001-0,1%
|
0,0006-0,008 %
|
.2 Аттестация готовой продукции
За партию готовой рулонной изотропной электротехнической стали принимают
один рулон одной плавки одного отжига после обработки в агрегате непрерывного
отжига и нанесения электроизоляционного покрытия.
Номер партии должен состоять из семи разрядов:
два первых разряда - порядковый номер агрегата термообработки;
третий разряд - группа стали;
остальные - порядковый номер рулона-партии.
Определение электромагнитных и механических свойств, линейных размеров,
качества электроизоляционного покрытия производится в соответствии с ГОСТ
21427.2-83 и ГОСТ 12119-80. Для определения прочности сцепления
электроизоляционного покрытия с металлом вырезают образец шириной (30,0±0,2) мм
и длиной, равной ширине полосы.
Определение стойкости к истиранию электроизоляционного покрытия из лака
«Вольтатекс Е 1120-2» проводят один раз в неделю с каждого работающего агрегата.
Для проведения испытаний отбирают пробу шириной 300-500 мм и длиной, равной
ширине полосы. Из отобранной пробы вырезают шесть пар образцов. Края образцов
должны быть зачищены от заусенцев.
Аттестация магнитных свойств партий с массовой долей углерода 0,0055% и
более осуществляется после старения проб в соответствии с ГОСТ 21427.2-83.
Аттестация готовой экспортной продукции по поверхности, коэффициенту
заполнения, коэффициенту электросопротивления, серповидности, точности
прокатки, неплоскостности, разнотолщинности проводится УТК по ГОСТ 21427.2-83.
Ответственность за правильный отбор, разделку, маркировку образцов и
передачу их в лабораторию несет технологический персонал цеха. Контроль за
правильностью отбора, разделки, маркировки осуществляется контролером УТК. На
все образцы термистом выписывается сопроводительный ярлык установленного
образца. В сопроводительном ярлыке на образце отмечается: по какому стандарту
или ТУ будет поставляться металл, группа легирования (марка), а для испытаний
на магнитные свойства - массовая доля кремния и алюминия. Приемка образцов в
лаборатории УТК производится с отметкой в журнале. При приемке проверяется
наличие штампа УТК, маркировка, количество образцов, геометрические размеры
(толщина, ширина, длина), образцы должны быть без видимых заусенцев. Приемка
образцов в лаборатории для испытаний, несоответствующих требованиям ГОСТ
21427.2-83 и ГОСТ 12119-80, не допускается.
Схема разделки проб на аттестационные испытания изображена на рис. 23
.2.1 Методика определения магнитных свойств
Магнитные характеристики изотропной электротехнической
стали определяются на эпштейновских полосках размером 305Ч30 мм в
25-сантиметровом аппарате Эпштейна. Проба для испытания магнитных свойств
должна состоять из двух одинаковых частей: образец 1 состоит из проб,
нарезанных вдоль направления прокатки, образец 2 - из проб, нарезанных поперек
направления прокатки. Количество пластин в пробе: 16- вдоль направления
прокатки; 16- поперек направления прокатки (рис. 24). Кромочные полоски в образец
не включают. Общая масса каждого образца 0,5 кг. Угол между направлением
прокатки и нарезки не должен превышать 5°.[14]
Рис.
23. Схема разделки проб для аттестации электротехнической изотропной стали [14]
Испытания проводятся в соответствии с требованиями
ГОСТ 12119.1-98 "Сталь электротехническая. Методы определения магнитных и
электрических свойств. Методы измерения магнитной индукции и коэрцитивной силы
в аппарате Эпштейна и на кольцевых образцах в постоянном магнитном поле.".
Отбор контрольных карт (по две пробы от каждой партии) производится
технологическим персоналом на агрегате непрерывного отжига перед смоткой полос
в рулон. При определении магнитных свойств в аппарате Эпштейна полоски
группируются в 4 пакета: 2- из двух полос, нарезанных вдоль направления
прокатки, а 2- из полос, нарезанных поперек направления прокатки. Пакеты с
одинаково нарезанными полосами размещаются в параллельно расположенных катушках
аппарата. Оценка качества производится по ГОСТ 21427.2-83. [10]
Аттестационными для присвоения марки являются удельные
потери при магнитной индукции 1,5 Тл и частоте 50 Гц Р1,5/50,
магнитная индукция при напряженности магнитного поля 2500 А/м В2500
и анизотропия магнитной индукции ΔВ2500. Удельные потери и магнитная
индукция испытываются в разных аппаратах на долевой и поперечной пробе, и за
результат принимается среднее арифметическое. А анизотропия магнитной индукции
берется как разница между долевой и поперечной магнитной индукцией. Пределы
измерений и допустимая погрешность представлены в таблице 15.
Таблица 15
Допустимые погрешности при измерении магнитных свойств
[14]
|
Измеряемый параметр
|
Наименование средств измерений
|
Пределы измерения
|
Допустимая погрешность, класс точности, цена деления
|
|
Магнитные свойства стали: - толщина полосы, - индукция, -
удельные потери.
|
Автоматическая установка для измерения удельных потерь SSТ
005
|
0,18-1,00 мм 1,0-1,7 Тл 0-12 Вт/кг
|
ц.д. 0,01 мм ±1,5% ±2,5%
|
6. Механизация и автоматизация
6.1
Механизация
Механизация означает замену труда человека на операции термообработки
машинами, которые работают циклично. Различают две стадии механизации:
частичную и комплексную. При частичной - механизируются основные операции. При
комплексной - основные, дополнительные и вспомогательные. Эти операции
выполняются при помощи взаимно связанной системы машин и оборудования.
Комплексная механизация обеспечивает [11]:
— снижение трудоемкости производства в 2-3 раза;
— сокращение производственного цикла в 3-5 раз;
— снижение потребностей в рабочей силе в 5-10 раз;
— снижение производственных площадей на 30-50%.
Рис.
24. Кинематическая схема привода
Схема
с электрическим приводом включает в себя электродвигатель, редуктор, открытую
цепную передачу.
Общий
коэффициент полезного действия привода включает
h=hзhп2hцhоп,
где hз - кпд пары зубчатых колес,
hп -
коэффициент, учитывающий пары подшипников качения,
hц - кпд
цепной передачи,
hоп -
коэффициент, учитывающий потери в опорах вала.
h=0,98´0,992´0,92´0,99=0,875
Требуемая мощность двигателя
Pтр=(F´V)/h,
кВт
где F - полезная сила,
V -
скорость полосы.
Pтр=(11,9´1,0)/0,875=13,6 кВт.
Частота вращения ролика
nтр=(60´100´V)/pd,
где d - диаметр ролика, мм
nтр=(60´100´1,0)/230p=81 об/мин.
Выбираем электродвигатель трехфазный короткозамкнутый с асинхронной
частотой вращения 100 об/мин 4A200H4 c параметрами P=15
кВт и скольжением 2,8% (ГОСТ 19523-81).
Номинальная частота вращения двигателя
nдв=(1000-0,028)´1000=972 об/мин.
Таким образом, принимаем для редуктора передаточное отношение iр=4, для цепной передачи iц=3.
Вращающие моменты:
на валу шестерни
T1=Pдв/Wдв=30Pдв/(p´nдв), Н´м.
T1=30´15´1000/(p´972)=147,4 Н´м,
на валу колеса
T2=T1´iр, Н´м.
T2=147,4´4=589,6 Н´м.
.2
Автоматизированная система управления производством
Технический процесс характеризуется непрерывным ростом автоматизации
производства. Значение автоматизации технологических процессов особенно высоко
потому, что основной гарантией высокого качества термообработки является точное
соблюдение режима воздействия на металл, так как при термообработке сложно
контролировать результаты структурного и химического изменения металла.
Автоматизация обеспечивает:
уменьшение численности рабочего персонала;
повышение производительности труда за счет расширения зон обслуживания;
более высокую экономичность агрегатов;
облегчение условий труда обслуживающего персонала;
повышение качества продукции.
В цехе средством управления технологическим процессом производства
является автоматизированная система слежения и управления. Эта система состоит
из двух частей:
- система слежения и управления (ССУ);
- система управления производством.
На агрегате полностью автоматизированы процессы регулирования и
поддержания температуры, состава рабочей атмосферы, давления, расхода газа.
Регулирование температуры происходит по сигналу от термопар и оптических
пирометров по всей длине печи.
Расход газа регулируется с помощью ротаметров.
Так как отжиг происходит в азотно-водородной смеси, то следовательно,
должен быть точный контроль состава атмосферы.
Все данные от пирометров, ротаметров, приборов, следящих за давлением в
рабочем пространстве печи, сведены на единый пост, что значительно обеспечивает
процесс контроля.
Для подачи металла на агрегаты применяют мостовые краны.
Для обеспечения управления и автоматического регулирования температуры в
рабочих камерах предусмотрена электронная аппаратура и пневматические
исполнительные механизмы.
Давление в печи измеряется в 6 точках, регулирование и измерение которого
осуществляется датчиками.
Автоматизация температуры печи
Камера нагрева №1
В зонах 1-3 температура измеряется термопарой, сигнал от которой подается
на ПИД-регулятор; в зоне 4 температура регулируется в зависимости от
температуры полосы, измеряемой пирометрами. В каждой зоне сигнализация
перегрева осуществляется четырьмя термопарами, сигнал от которых поступает к
указывающему милливольтметру.
Камера выдержки №1
В зонах 5-11 температура измеряется термопарой, в зонах 12-13 оптическим
пирометром.
Камера нагрева №2
В зоне 14 контроль осуществляется двумя термопарами, расположенными на
своде и поде печи.
Камера выдержки №2
В зонах 15 и 16 температура измеряется термопарой, в зоне 17 - оптическим
пирометром.
Камера охлаждения
В зоне 18 температура измеряется термопарой, сигнал от которой
ПИД-регулятор, управляющий клапаном подачи охлаждающего воздуха; в зоне 19
контроль осуществляется оптическим пирометром.
Расход защитного газа
Регулирование расхода газа осуществляется двумя переключателями контурами
измерения. Расход газа измеряется датчиками расхода, которые посылают сигнал на
указатель расхода и на регулятор, управляющий регулировочным клапаном.
Давление в печи
Давление измеряется в шести точках и записывается на приборах. При
падении давления в тамбурах срабатывает световой и звуковой сигналы. В тамбуре
на выходе контакт минимального давления управляет электроклапаном подачи
добавочного азота.
Анализ атмосферы в печи
Состав атмосферы контролируется газоанализаторами CO, CO2, H2 в шести точках в соответствии с
технологией: первая точка в камере нагрева № 1, три точки в камере выдержки №
1, одна точка в камере нагрева № 2 и одна в камере выдержки № 2. Предусмотрены
газоанализаторы для контроля атмосферы во входном и выходном тамбурах.
Горелки факелов удаления защитного газа
Горелка оборудована электрическим зажиганием от запальной свечи. При
обнаружении пламени детектором электроклапан подачи газа к горелке остается
открытым. В случае отсутствия пламени происходит световая и звуковая
сигнализация и прекращается выпуск защитной атмосферы.
Увлажнители
Температура воды в увлажнителях измеряется термодинамическим
сопротивлением, которое воздействует на регулятор, управляющий термоэлементами
подогрева воды. Температура увлажненного газа измеряется индикатором
температуры. Давление воды на подводе к увлажнителю контролируется датчиком
давления и техническим манометром. При повышении давления воды выдается
световой и звуковой сигнал минимальный уровень воды в увлажнителе регулируется
магнитным датчиком уровня.
Емкость для химически очищенной воды
Уровень воды измеряется резисторным датчиком уровня с выдачей сигнала на
управление электроклапаном открытия и закрытия воды в емкость.
7. Экономическая часть
7.1 Расчет
капитальных вложений по группам основных фондов
Общая сумма капиталовложений в балансовую стоимость основных фондов
Kос=Kзп+Kс+Kсо+Kр+Kпр+Kзб+Kп+Kн,
где Kзб, Kзп - капитальные затраты на возведение производственных и
административно-бытовых зданий, проводки в нем и сантехнику, руб.,
Kс - капитальные затраты на
строительство сооружений, руб.,
Kсо - капитальные затраты на силовое
оборудование и силовые машины, руб.,
Kр - капитальные затраты на рабочие
машины и рабочее оборудование, руб.,
Kпр - капитальные вложения в прочие
основные фонды, руб.,
Kп - капитальные затраты на
передаточное оборудование, руб.,
Kн - капитальные затраты на
измерительное и регулировочное оборудование, вычислительную технику, руб.
7.1.1
Капитальные затраты на возведение зданий
Общая площадь производственного здания
Sпр=2(a´b)+2(b´h)+2(a´h),
где Sпр - производственная площадь, м2;
h -
высота, м.;
a и b - ширина и длина, м.
Sпр=2(46´352)+2(352´12)+2(46´12)=32384+8448+1104=41936 м2.
Стоимость 1 м2 производственных зданий составляет 21000 руб.,
руб., тогда стоимость зданий
Cпр=41936´21 000=880656000 руб.
Стоимость санитарно-технических проводок принимается 40% от стоимости
строительных работ по зданиям
Cс-т=0,4´Cпр,
Cс-т=0,4´880656000=352262400 руб.
Площадь и объем конторских помещений устанавливаются по нормам и
численности трудящихся. Численность трудящихся 86 человек.
Норма площади 2,4 м2 на одного человека, тогда
Sа-в=86´2,4=206,4 м2.
Высота принимается 3 м.
Vа-в=206,4 ´3=619,2 м3.
Стоимость 1 м2 административно-бытовых помещений 17000 руб.
Общая стоимость административно-бытовых помещений
Cа-в=206,4 ´17000=3508800 руб.
Стоимость санитарно-технических проводок
Cс-т=0,4´3508800=1403520 руб.
Таблица 16
Капитальные затраты на возведение зданий и бытовых помещений
|
Наименование здания
|
Площадь, м2
|
Стоимость 1 м2
|
Стоимость зданий, руб.
|
Стоимость сан.-тех. проводок, руб.
|
Балансовая стоимость, руб.
|
|
Производственные
|
41936
|
21000
|
880656000
|
352262400
|
1232918400
|
|
Административно-бытовые
|
206,4
|
17000
|
3508800
|
1403520
|
4912320
|
|
Всего
|
-
|
-
|
884164800
|
353665920
|
1237830720
|
7.1.2 Затраты
на возведение сооружений
Капитальные затраты на возведение сооружений принимаются 20% от стоимости
зданий
Kс
=1237830720´0,2=247566144 руб.
.1.3 Капитальные затраты на силовые машины и силовое оборудование
Kсо=n´N´Цэ, руб.,
где N - установочная мощность силового
оборудования, кВт,
n -
количество агрегатов;
Цэ - стоимость 1 кВт установленной мощности, включая монтаж,
руб.
Kсо=6600´173,39´3=3433122 руб.
7.1.4
Капитальные затраты на рабочее оборудование
Kр=Ц´(1+sт+sф+sм)´n,
где Ц - оптовая цена единицы оборудования;
sт, sф, sм - коэффициенты
учитывающие затраты на транспортно-заготовительные нужды, сооружение
фундаментов и монтаж;
n -
число единиц оборудования.
Основное технологическое оборудование (АНО и ЭИП):
Kтехн=24500000´(1+0,1+0,05+0,2) ´3=99225000 руб.
Вспомогательное оборудование:
Вентиляционная система
Kв=240000´(1+0,1+0,05+0,2)´3=972000 руб.
Трубопроводы и арматура
Kтр=583000´(1+0,1+0,05+0,2)´3=2361150 руб.
Крановое оборудование
Kкр=420000´(1+0,1+0,05+0,2)´4=2268000 руб.
Таблица 17
Капитальные вложения в рабочее оборудование
|
Наименование оборудования
|
Количество
|
Стоимость единицы оборудования, руб.
|
Балансовая стоимость, руб.
|
|
Технологическое (печь отжига)
|
3
|
24500000
|
99225000
|
|
Вспомогательное: а) вентиляционная система б) трубопроводы,
арматура в) крановое
|
3 3 4
|
240000 583000 420000
|
972000 2361150 2268000
|
|
Итого
|
|
|
5601150
|
|
Всего
|
|
|
104826150
|
Капитальные вложения в остальные группы фондов (передаточные устройства,
оснастка, система автоматики, измерительные и регистрационные приборы и т. д.)
принимаем 30% от балансовой стоимости технологического оборудования
Kпр=0,3´99225000=29767500 руб.
Таблица 18
Основные фонды, их структура и амортизационные отчисления
|
Группы основных фондов
|
Основные фонды
|
Норма амортизации, %
|
Амортизационные отчисления, руб.
|
|
руб.
|
%
|
|
|
|
Здания:
|
|
|
|
|
|
- производственные
|
1232918400
|
75,95
|
2,5
|
30822960
|
|
- бытовые
|
4912320
|
0,30
|
2
|
98246,4
|
|
Сооружения
|
247566144
|
15,25
|
2,5
|
6189153,6
|
|
Итого
|
1485396864
|
91,5
|
|
37110360
|
|
Силовые машины и оборудование
|
3433122
|
0,21
|
18
|
617961,2
|
|
Рабочее оборудование:
|
|
|
|
|
|
- технологическое
|
99225000
|
6,11
|
18
|
17860500
|
|
- вспомогательное
|
5601150
|
0,35
|
18
|
1008207
|
|
Итого
|
107611272
|
6,67
|
|
19486668,2
|
|
Прочие основные фонды
|
29767500
|
1,83
|
14
|
4167450
|
|
Всего
|
1623423636
|
100
|
|
60764478,2
|
Общая сумма капитальных вложений в балансовую стоимость основных фондов
Kос=1232918400+4912320+247566144+3433122+99225000+5601150+297
=1623423636 руб.
Удельные капитальные вложения определяются отношением полной балансовой
стоимости основных фондов отделения к годовому объему производства
Kуд=1623423636/130000=12487,87 руб.
7.1.5 Расчет
капитальных вложений в нормируемые оборотные средства
Капитальные затраты на образование запасов сменного оборудования,
запасных частей для текущего ремонта определяется по формуле
Kсо=(Cсо/360)´dсо,
где Cсо - стоимость сменного оборудования,
запасных частей для текущего ремонта, необходимых для функционирования
отделения в течение года, руб.; dсо - средняя норма запаса
Kсо=(560000/360)´30=46666,7 руб.
Капитальные затраты на создание запасов быстроизнашивающегося инвентаря и
инструмента
Kин=N´Pсп,
где Pсп - среднесписочное число работающих в
отделении человек;
N -
средняя норма вложений в инвентарь и инструменты в расчете на одного
работающего, руб., (принимается в сумме 60 руб.)
Kин=60´86=5160 руб.
Капитальные вложения на незавершенное производство могут быть определены
как 20% от всех нормируемых оборотных средств
Kнп=0,2´(46666,7+5160)=10365,34 руб.
Таблица 19
Нормируемые оборотные средства отделения
|
Элементы оборотных средств
|
Сумма, руб.
|
|
Запасы сменного оборудования, запасных частей
|
46666,7
|
|
Запасы быстроизнашивающегося инструмента
|
5160
|
|
Незавершенное производство
|
10365,34
|
|
Всего
|
62192,04
Эт=N´Ф´h´K´n,
где Эт - годовой расход технологической энергии (кВт´ч);
N -
установочная мощность печи (кВт);
Ф - фонд времени работы печи в течение года (ч);
h - коэффициент загрузки;
K -
КПД печи;
n -
количество агрегатов.
Эт=6600´7000´0,82´0,515´3=58530780 кВт´ч.
Расход производственной электроэнергии
Эп= (Кci´Ni´Фi´Kп´ni),
где
Эп - расход производственной энергии в течение года, кВт´ч;
n - количество
групп потребителей электроэнергии, имеющих разный коэффициент спроса;
Кci
- коэффициент спроса по заданной группе потребителей;
Ni -
установленная мощность в данной группе потребителей электроэнергии, кВт;
Фi
- фактическое время работы данной группы потребителей электроэнергии, ч;
Kп - коэффициент текущих простоев
(принимается 0,8−0,9);
n -
количество единиц оборудования в данной группе потребителей.
Вентиляционная система
Эв=0,75´75´7000´0,85´3=1004062,5 кВт´ч;
Транспортное оборудование
Эр=0,75´125´7000´0,85´3=1673437,5 кВт´ч;
Крановое оборудование
Экр=0,25´50´7000´0,85´4=297500 кВт´ч;
Эп=1004062,5 +1673437,5 +297500=2975000 кВт´ч.
Таблица 20
Потребность электроэнергии в течение года
|
Наименование оборудования
|
Кол - во
|
Мощность, кВт
|
Потребность в электроэнергии в год, кВт´ч
|
|
Технологическое оборудование
|
3
|
6600
|
58530780
|
|
Вспомогательное оборудование:
|
|
Вентиляционная система
|
3
|
75
|
1004062,5
|
|
Транспортное оборудование
|
3
|
125
|
1673437,5
|
|
Крановое оборудование
|
4
|
50
|
297500
|
|
Итого
|
|
|
2975000
|
|
Всего
|
|
|
61505780
|
Расход других видов электроэнергии исчисляется по удельным нормам расхода
и годовому объему производства.
Результаты занесены в таблицу 21.
Таблица 21
Годовой расход и затраты на различные виды технологической энергии
|
Наименование видов энергии и энергоносителей
|
Норма расхода на 1 т металла
|
Годовой расход
|
Цена, руб.
|
Затраты, руб.
|
|
1. Топливо технологическое (газ природный), м3
|
1,4
|
182000
|
2,15
|
391300
|
|
2.Энергетические затраты:
|
473,1
|
61505780
|
1,40
|
86108092
|
|
- Электроэнергия производственная, кВт´ч
|
|
|
|
|
|
- Сжатый воздух, м3
|
49,0
|
6370000
|
0,12
|
764400
|
|
- Вода техническая, м3
|
0,15
|
19500
|
0,88
|
17160
|
|
- Вода химически очищенная, м3
|
2
|
260000
|
24,70
|
6422000
|
|
- Пар технологический, Гкал
|
0,27
|
35100
|
379,18
|
13309218
|
|
Всего
|
|
|
|
107012170
|
7.3 Штаты
термического отделения, фонд заработанной платы и фонд материального поощрения
7.3.1 Баланс
использования рабочего времени
Отделение для термической обработки относится к непрерывным
производствам. В нем установлено оборудование большой мощности, и, так как
расход тепловой энергии велик, то работа в одну или две смены привела бы к
большим потерям времени на разогрев агрегата и ощутимым непроизводственным
потерям электроэнергии для поддержания рабочей температуры при работе на
холостом ходу в нерабочие смены.
Поэтому в отделении устанавливается круглосуточная работа, т. е. в три
смены без междусменных перерывов. При такой организации труда каждая бригада
работает в течение 8 часов. После четырех дней в одну смену бригада имеет
48-часовой отдых. Чередование смен прямое, т. е. из первой смены бригада
переходит во вторую, из второй - в третью, из третьей - в первую.
Отдых бригадам устанавливается не в общеустановленные выходные дни, а в
дни приходящие по графику. Работа в праздничные и предпраздничные дни
производится так же как и в обычные. Такой график работы не предусматривает
регламентируемого перерыва для отдыха и приема пищи.
Среднемесячная длительность работы по этому графику на 9,4 часа превышает
норму. Для 41-часовой рабочей недели эта переработка оплачивается как
сверхурочная работа.
Таблица 22
График выхода на работу
|
Число смена
|
1
|
2
|
3
|
4
|
5
|
6
|
7
|
8
|
9
|
10
|
11
|
12
|
13
|
14
|
15
|
16
|
|
1
|
А
|
А
|
А
|
А
|
Б
|
Б
|
Б
|
Б
|
В
|
В
|
В
|
В
|
Г
|
Г
|
Г
|
Г
|
|
2
|
В
|
Г
|
Г
|
Г
|
Г
|
А
|
А
|
А
|
А
|
Б
|
Б
|
Б
|
Б
|
В
|
В
|
В
|
|
3
|
Б
|
Б
|
В
|
В
|
В
|
В
|
Г
|
Г
|
Г
|
Г
|
А
|
А
|
А
|
А
|
Б
|
Б
|
|
Отдых
|
Г
|
В
|
Б
|
Б
|
А
|
Г
|
В
|
В
|
Б
|
А
|
Г
|
Г
|
В
|
Б
|
А
|
А
|
А - первая бригада; Б - вторая бригада; В - третья бригада; Г - четвертая
бригада.
Таблица 23
Баланс использования рабочего времени
|
Элемент баланса
|
4-х бригадный график, ч
|
Обычный график работы
|
|
Средняя длительность рабочего дня
|
8
|
8
|
|
Календарное время, ч
|
2920
|
2920
|
|
Выходные дни, ч
|
730
|
845
|
|
Праздничные дни, ч
|
|
88
|
|
Номинальное время, ч
|
2190
|
1987
|
|
Потери рабочего времени:
|
|
|
|
Ежегодный отпуск, ч
|
240
|
240
|
|
Выполнение государственных обязанностей, ч
|
4
|
3,2
|
|
Болезни, ч
|
48
|
40,8
|
|
Прочие невыходы по сравнению с законодательством
|
4
|
3,2
|
|
Итого потерь
|
296
|
287
|
|
Фактическое время работы, в том числе
|
1894
|
1700
|
|
В ночное время, ч
|
485,5
|
|
|
В праздничные дни, ч
|
96
|
|
|
В сверхурочное время, ч
|
113
|
|
|
Списочный коэффициент
|
1,13
|
1,22
|
Таблица 24
Штатное расписание рабочих
|
Профессия рабочих
|
Разряд
|
Часовая тарифная ставка, руб.
|
Бригада
|
Расстановочный штат
|
Резервированный штат
|
Списочный штат
|
|
|
|
I
|
II
|
III
|
IV
|
|
|
|
|
а) Основные производственные рабочие
|
|
1. Старший термист
|
7
|
49,0
|
1
|
1
|
1
|
1
|
4
|
1
|
5
|
|
2. Термист
|
5
|
37,0
|
6
|
6
|
6
|
6
|
24
|
4
|
28
|
|
3. Бригадир по приемке и сдаче металла
|
4
|
32,0
|
1
|
1
|
1
|
1
|
4
|
1
|
5
|
|
Итого
|
|
|
|
|
|
|
32
|
6
|
38
|
|
б) Вспомогательные рабочие
|
|
1. Машинист крана
|
4
|
32,0
|
2
|
2
|
2
|
2
|
8
|
1
|
9
|
|
2. Слесарь-ремонтник
|
5
|
37,0
|
1
|
1
|
1
|
1
|
4
|
1
|
5
|
|
3. Электросварщик
|
6
|
42,0
|
1
|
1
|
1
|
1
|
4
|
1
|
5
|
|
4. Электромонтер
|
6
|
42,0
|
1
|
1
|
1
|
1
|
4
|
1
|
5
|
|
5. Токарь
|
5
|
37,0
|
2
|
0
|
0
|
0
|
2
|
0
|
2
|
|
6. Шлифовщик
|
5
|
37,0
|
2
|
0
|
0
|
0
|
2
|
0
|
2
|
|
7. Контролер по ТО
|
5
|
37,0
|
1
|
1
|
1
|
1
|
4
|
1
|
|
Итого
|
|
|
|
|
|
|
28
|
5
|
33
|
|
Всего рабочих
|
|
|
|
|
|
|
60
|
11
|
71
|
Таблица 25
Штатное расписание ИТР
|
Профессии и должности
|
Расстановочный штат
|
Резерв
|
Списочный штат
|
Месячный оклад, руб.
|
Годовой оклад, руб.
|
|
1. Начальник термического отделения
|
1
|
0
|
1
|
30000
|
360000
|
|
2. Старший производственный мастер
|
1
|
0
|
1
|
22000
|
264000
|
|
3. Сменный производственный мастер
|
4
|
1
|
5
|
19000
|
1140000
|
|
4. Мастер по ремонту оборудования термического отделения
|
1
|
0
|
1
|
20000
|
240000
|
|
5. Механик
|
1
|
0
|
1
|
21000
|
252000
|
|
6. Мастер по ремонту электрооборудования
|
1
|
0
|
1
|
21000
|
252000
|
|
Итого
|
9
|
1
|
10
|
|
2508000
|
Таблица 26
Штатное расписание рабочих по уборке
|
Наименование должности
|
Количество человек
|
Месячный оклад, руб.
|
Годовой оклад, руб.
|
|
Уборщик душевых
|
4
|
3000
|
144000
|
|
Уборщик служебных помещений
|
1
|
3000
|
36000
|
|
Итого
|
5
|
|
180000
|
7.3.2 Расчет
фонда заработанной платы
Термическое отделение является производством со строго регламентированным
во времени технологическим процессом. Поэтому целесообразно применять
повременно-премиальную систему оплаты труда. При выполнении норм выработки и
получения продукции необходимого качества устанавливается премия в размере 75%
от тарифной ставки.
Фонд заработанной платы рабочих, работающих по сменам
Зарплата по тарифным ставкам
Tз=l´m´tф, руб.
где l - часовая тарифная ставка рабочего
одного разряда, руб.;
tф - фактическое время работы по
балансу рабочего времени, ч.
m -
списочное количество работников по разрядам:
рабочих 7-го разряда;
рабочих 6-го разряда;
рабочих 5-го разряда;
рабочих 4-го разряда.
Tз=49,0´5´1894=464030 руб.;
Tз=42,0´10´1894=795480 руб.;
Tз=37,0´38´1894=2662964 руб.;
Tз=32,0´14´1894=848512 руб.;
всего=4770986 руб.
Доплата за работу в ночное и вечернее время составляет 35 % от фонда
заработной платы по тарифу
Tн=0,35´Тз, руб.;
Tн=0,35´4770986=1669845 руб.
Доплата за работу в праздничные дни
Tп=l´m´tп´k, руб.;
где tп - число часов работы в праздничные дни;
m -
списочное количество работников по разрядам;
k -
коэффициент выполнения нормы выработки.
Tп=49,0´5´96´1=23520 руб.;
Tп=42,0´10´96´1=40320 руб.;
Tп=37,0´38´96´1=134976 руб.;
Tп=32,0´14´96´1=43008 руб.;
всего=241824 руб.
Доплата за работу в сверхурочное время
Tс=0,5´l´m´tс, руб.;
где tс - число часов работы в сверхурочное время;
Tс=0,5´49,0´5´113=13843 руб.;
Tс=0,5´42,0´10´113=23730 руб.;
Tс=0,5´37,0´38´113=79439 руб.;
Tс=0,5´32,0´14´113=25312 руб.;
всего=142324 руб.
Размер премии составляет 75% от зарплаты по тарифным ставкам и доплатам
за ночное время при условии выполнения производственного задания
Tпр=0,75´(Tз+Tн), руб.;
Tпр=0,75´(4770986+1669845)=6440831 руб.
Фонд основной заработанной платы
Tосн=Tз+Tн+Tп+Tс+Tпр, руб.,
Tосн=4770986+1669845+241824+142324+6440831=13265810
руб.
Средний часовой заработок работников
Tср.ч=Tосн/tф, руб.;
Tср.ч=13265810 /1894=7004 руб.
Фонд дополнительной заработной платы
Tдоп=Tср.ч´(tотп+tоб), руб.,
где tотп - время ежегодного отпуска, ч;
tоб - время выполнения государственных и
общественных обязанностей.
Tдоп=7004´(240+4)=1709006 руб.
Начисления на зарплату для целей социального страхования
Tстр=0,37´(Tосн+Tдоп), руб.;
Tстр=0,37´(13265810+1709006)=5540682 руб.
Фонд заработанной платы рабочих работающих по обычному графику
По такому графику в отделении работают 4 человека с часовой тарифной
ставкой 37,0 руб. Годовой фонд заработной платы по тарифу составит
Tз=37,0´4´1700=251600 руб.
Размер премии составит 75 % от тарифной ставки при условии выполнения
производственного задания
Tпр=0,75´251600=188700 руб.
Фонд основной заработной платы
Тосн=Tз+Tпр, руб.
Тосн=251600+188700=440300 руб.
Средний часовой заработок
Tср.ч=Tосн/tф, руб.;
Tср.ч=440300/1700=259 руб.
Фонд дополнительной заработной платы
Tдоп=Tср.ч´(tотп+tоб), руб.,
где tотп - время ежегодного отпуска, ч;
tоб - время выполнения государственных и
общественных обязанностей.
Tдоп=259´(240+4)=63196 руб.
Начисления для целей социального страхования
Tстр=0,37´(Tосн+Tдоп), руб.;
Tстр=0,37´(440300+63196)=186294 руб.
Таким образом, фонд заработанной платы рабочих составляет
Т=Tосн+Tдоп+Tстр , руб.;
Т=440300+63196+186294=689790 руб.
Фонд заработанной платы ИТР
Сумма месячных должностных окладов ИТР работающих по сменам составляет
95000 руб., остальных 114000 руб. Номинальное время работы первых составляет
274 дня и вторых 248 день, а фактическое время соответственно 237 и 212 дней,
тогда дневные оклады сменного персонала ИТР и остальных соответственно
составляют
Тсп=95000´12/274=4160 руб.
Тост=114000´12/248=5516 руб.
В этом случае за фактически проработанное время данным группам ИТР будет
начислено соответственно
Тсп=4160´237=985920 руб.,
Тост=5516´212=1169392 руб.
Размер премии ИТР составит 65 % от тарифной ставки при условии выполнения
производственного задания
Tпр=Т´0,65 , руб.;
Тсп=985920Ч0,65=640848 руб.;
Тост=1169392Ч0,65=760105 руб.;
Кроме того сменным ИТР следует доплатить за работу в ночное время и
праздничные дни соответственно
Тн=(4160/8)´0,2´485,5=50492 руб.
Тп=4160´8´96=49920 руб.
Средние дневные оклады ИТР составляют
Тсп = (985920+50492+49920+640848)/237=7305 руб.;
Тост = (1169392+760105)/212=9101 руб.
Дополнительную заработанную плату можно установить по среднедневному
заработку
Tдоп=(7305+9101)´28=459368 руб.
Начисления на заработанную плату для целей социального страхования
Tстр=(Tосн+Tдоп)´0,37, руб.;
Tстр=(985920+1169392+640848+760105+50492+49920+459368)´0,37=
=1522937 руб.
Фонд заработанной платы внепроизводственных рабочих (уборщики душевых и
служебных помещений)
Сумма месячных должностных окладов составляет 15000 руб. График работы
непрерывный. Номинальное время работы 274 дня, а фактическое 237 дней.
Дневные оклады рабочих составят
Т=15000´12/274=660
руб.
За фактическое проработанное время будет начислено
Тосн=660´237=156420 руб.,
Размер премии составит 35 % от тарифной ставки при условии выполнения
производственного задания
Tп=Т´0,35 , руб.;
Тп=156420Ч0,35=54747 руб.;
Кроме того, производится доплата за работу в ночное и вечернее время и
праздничные дни соответственно
Тн=156420´0,2=31284 руб.
Тп=660/8´96=7920 руб.
Средние дневные оклады составляют
Твн=(156420+54747+31284+7920)/237=1023 руб.
Дополнительную заработанную плату можно установить по среднедневному
заработку
Tдоп=1023´28=8184 руб.
Начисления на заработанную плату для целей социального страхования
Tстр=(Tосн+Tдоп)´0,37, руб.;
Tстр=(156420+54747+31284+7920+8184)´0,37=95665 руб.
Все расчеты по фонду заработной платы сводим в таблицу 25.
Таблица 27
Фонд заработной платы, руб.
|
Категории трудящихся
|
В том числе
|
Доплаты
|
Tдоп
|
Tстр
|
Всего
|
|
Тз
|
Тпр
|
Итого
|
Тн
|
Тп
|
Тс
|
|
|
|
|
Рабочие: а) см. п.; б) дн. п.; в) внепр. Итого
|
4770986 251600 156420 5179006
|
6440831 481950 54747 6684278
|
11211817 440300 211167 11863284
|
1669845 31284 1701129
|
241824 7920 249744
|
142324 8184 142324
|
1709006 63196 95665 1780386
|
5540682 186294 8159377 5822641
|
20515498 689790 354220 21559508
|
|
ИТР: а) см. п.; б) дн. п. Итого
|
985920 1169392 2155312
|
640848 760105 1400953
|
1626768 1929497 3556265
|
50492 - 50492
|
49920 - 49920
|
- - -
|
204540 254828 459368
|
714736 808200 1522936
|
2646456 2992525 5638981
|
|
Всего
|
7334318
|
8085231
|
15419549
|
1751621
|
299664
|
142324
|
2239754
|
7345577
|
27198489
|
7.4
Калькуляция себестоимости термической обработки
Расходы на сменное оборудование, инструмент, оснастку принимаем равными
1% от общей суммы капитальных вложений в основные фонды цеха
Роб.=1623423636´0,01=16234236,36 руб.
Общехозяйственные расходы (в т. ч. расходы на текущий ремонт и
обслуживание) устанавливаются в размере 5% от прямых материальных затрат
(электроэнергия, топливо)
Ртр.=107012170´0,05=5350608,5 руб.
Административные затраты определяются как 10% от прямых затрат
Радм.=107012170´0,1=10701217 руб.
Таблица 28
Калькуляция затрат по себестоимости отжига проката
|
Наименование статей затрат
|
Проект
|
База
|
|
V=130000 тонн
|
На 1 тонну
|
На 1 тонну
|
|
Кол-во
|
Цена, руб.
|
Сумма, руб.
|
Кол-во
|
Сумма, руб.
|
Кол-во
|
Сумма, руб.
|
|
Расходы по переделу
|
|
|
|
|
|
|
|
|
Технологическое топливо: - газ природный, м3
|
182000
|
2,15
|
391300
|
1,4
|
3,01
|
1,4
|
3,01
|
|
Защитный газ: - водород, м3 - азот, м3
|
1950000 20150000
|
5,15 1,44
|
10042500 29016000
|
15 155
|
77,25 223,2
|
15 155
|
77,25 223,2
|
|
Энергетические затраты: - Электроэнергия производственная,
кВт´ч - Сжатый воздух, м3 -
Вода техническая, м3 - Вода химически очищенная, м3 -
Пар технологический, Гкал
|
61505780 6370000 19500 260000 35100
|
1,40 0,12 0,88 24,7 379,18
|
86108092 764400 17160 6422000 13309218
|
473,1 49,0 0,15 2 0,27
|
659,82 5,88 0,132 49,40 102,38
|
473,1 49,3 2,28 2 0,27
|
659,82 5,88 0,132 49,40 102,38
|
|
Фонд заработной платы
|
|
|
27198489
|
|
209,22
|
|
161,30
|
|
Отчисления в общественные фонды
|
|
|
7071607
|
|
54,40
|
|
41,94
|
|
Административные затраты
|
|
|
10701217
|
|
82,32
|
|
82,32
|
|
Общехозяйственные затраты (в т.ч. ремонт)
|
|
|
5350608,5
|
|
41,16
|
|
41,16
|
|
Амортизационные отчисления
|
|
|
60764478,2
|
|
467,42
|
|
388,42
|
|
Расходы на сменное оборудование
|
|
|
16234236,36
|
|
124,88
|
|
97,46
|
|
Прочие расходы
|
|
|
4351758,24
|
|
33,47
|
|
25,81
|
|
Производственная себестоимость
|
|
|
277743064,3
|
|
2133,942
|
|
1959,482
|
7.5
Определение экономического эффекта
Одним из методов определения экономического эффекта проекта является
метод приведенных затрат. При этом расчет ведется по формуле
Зпр=С+Ен´Ку,
где С - себестоимость, руб./т,
Ен - нормативный коэффициент доходности инвестиций, принимаем
30%.
Зпр. проект =2133,942+0,3´12487,7=5880,252 руб./т;
Зпр. база=1959,482+0,3´9745,5=4883,132 руб./т.
Таблица 29
Технико-экономические показатели
|
Показатели
|
Проект
|
База
|
Отклонение
|
|
Годовой объем производства, т
|
130000
|
417000
|
-287000
|
|
Численность работающих, чел.
|
86
|
204
|
-118
|
|
Себестоимость обработки, руб./т
|
2133,942
|
1959,482
|
-174,46
|
|
Капитальные удельные вложения, руб./т
|
12487,7
|
9745,5
|
-2742,2
|
|
Приведенные затраты, руб./т
|
5880,252
|
4883,132
|
-997,12
|
Данный проект является менее эффективным по сравнению с базовым из-за
больших удельных вложений и большей себестоимости, также в базовом проекте
больший коэффициент загрузки. Для повышения эффективности проекта нужно
увеличить объемы производства.
8. Охрана труда и промышленная безопасность
Опасные и вредные производственные факторы при термической обработки и
покрытии электротехнической изотропной стали:
повышенная загазованность и запыленность воздуха рабочей зоны;
повышенная температура воздуха рабочей зоны;
повышенное значение напряжения в электрической цепи (более 50 В),
электрооборудование и аппаратура;
травильные растворы НТА, обезжиривающие растворы и растворы
электроизоляционных покрытий АНО;
газовое оборудование агрегатов отжига, трубопроводы подачи водорода;
источники рентгеновского и ультрафиолетового излучения;
подвижные и вращающиеся части производственного оборудования, движущаяся
обрабатываемая полоса металла, работающие мостовые краны и передаточные
тележки. [14
Допускаемые санитарными нормами уровни, концентрации и другие параметры
вредных производственных факторов:
температура поверхностей оборудования, материалов 45є С;
гидрохлорид5 мг/м3;
шум80 дБ;
пыль6 мг/м3;
масляная аэрозоль5 мг/м3;
щелочная аэрозоль0,5 мг/м3.
Охрана труда и промышленная безопасность обеспечивается:
- соблюдением требований, изложенных в инструкциях по эксплуатации
оборудования, в производственно-технических инструкциях, «Правилах пожарной
безопасности в РФ»;
- наличием и функционированием приборов и систем контроля за
безопасностью производственных процессов;
- укомплектованностью штата работников в соответствии с
установленными требованиями (удовлетворяющих соответствующим квалификационным
требованиям и не имеющих медицинских противопоказаний к указанной работе);
- содержанием оборудования в исправном состоянии, в
соответствии с положениями нормативной документации;
- проведением подготовки и аттестации персонала в области
охраны труда и промышленной безопасности.
Работающие обязаны в соответствии с требованиями СТП СУОС 05757665-4.7-01
«План ликвидации аварий » и СТП СК 05757665-23-03 «Организация расследования и
учет аварий и инцидентов»:
- незамедлительно ставить в известность своего непосредственного
руководителя или в установленном порядке других должностных лиц об аварии или
инциденте на опасном производственном объекте (ОПО);
- действовать в соответствии с планом ликвидации аварии, а
также участвовать в проведении работ по локализации аварий и инцидентов, в
техническом расследовании причин аварии;
При термической обработке и покрытии электротехнической изотропной стали
работники должны быть в спецодежде по ГОСТ 29057-91 или ГОСТ 29058-91, в
головном уборе, а также иметь индивидуальные средства защиты: респиратор, очки
защитные, рукавицы или перчатки, наушники противошумные или беруши. [14]
Общими требованиями по охране труда для всех работников являются:
приходить на работу подготовленным;
строго соблюдать правила пользования спецодеждой;
во время работы быть внимательным, не отвлекаться посторонними делами;
ходить только по установленным маршрутам;
соблюдать габариты при складировании металла, грузозахватные
приспособления должны быть исправны и храниться на специальных стеллажах;
после окончания ремонтных работ, ветошь, проливы масла должны быть
убраны, территория очищена;
не допускается производство ремонтных работ с применением открытого огня
без наряда-допуска на огневые работы;
строго соблюдать правила бирочной системы;
курить в строго отведенных местах.
В отделении применяется схема управления производством, приведенная на
рис.25.
Рис. 25. Схема управления производством
Отделение возглавляет начальник термического отделения. В его подчинении
находится старший мастер. Руководителями смен назначаются сменные мастера,
имеющие среднетехническое образование. Сменные мастера руководят бригадами.
Главными задачами мастеров являются: строжайшее соблюдение технологической
дисциплины, точное выполнение режимов термообработки, в случае необходимости
фиксирует в журнале допущенные нарушения режима термообработки и принятие мер.
.1 Характеристика вредных производственных факторов в термическом
отделении
.1.1 Микроклимат производственных помещений
Метеорологические условия (микроклимат) являются важной
санитарно-гигиенической характеристикой производственной среды. Основными
параметрами, определяющими состояние метеоусловий, являются температура,
относительная влажность и скорость движения воздуха в рабочей зоне. В горячих
цехах при повышенной температуре воздуха снижается производительность труда.
Параметры микроклимата в производственных помещениях назначаются в соответствии
с требованиями санитарных правил и норм СанПин 2.2.4.548-96 «Гигиенические
требования к микроклимату производственных помещений». Они должны быть
установлены для холодного и теплого периода по категориям работ в соответствии
с интенсивностью энергозатрат работающего персонала (табл. 30). [24]
Таблица 30
Категорирование работ
|
Категория работ
|
Энергозатраты, Вт
|
Характеристика работ
|
Напряженность труда
|
|
Iа
|
До 139
|
Сидя
|
Незначительное
|
|
Iб
|
140-174
|
С ходьбой без переноса груза
|
Некоторое
|
|
IIа
|
175-232
|
С ходьбой и переносом груза до 1 кг
|
Определенное
|
|
IIб
|
233-290
|
С ходьбой и переносом груза 1-10 кг
|
Умеренное
|
|
III
|
Более 290
|
С ходьбой и переносом груза более 10 кг
|
Большое
|
Параметры микроклимата делят на две категории: оптимальные (табл. 31) и
допустимые. Допустимые параметры микроклимата (табл. 32) разрешается принимать,
если невозможно обеспечить оптимальные параметры из-за технологических
воздействий.
Таблица 31
Оптимальные параметры микроклимата
|
Категория работ
|
Оптимальные параметры микроклимата для разных периодов года
|
|
Температура воздуха, °С
|
Влажность воздуха, %
|
Температура поверхностей, °С
|
Подвижность воздуха, м/с
|
|
холодный
|
теплый
|
холодный
|
теплый
|
холодный
|
теплый
|
холодный
|
теплый
|
|
Iа
|
22-24
|
23-25
|
60-40
|
60-40
|
21-25
|
22-26
|
0,1
|
0,1
|
|
Iб
|
21-23
|
22-24
|
|
|
20-24
|
21-25
|
|
|
|
IIа
|
19-21
|
20-22
|
|
|
18-22
|
19-23
|
0,2
|
0,2
|
|
IIб
|
17-19
|
19-21
|
|
|
16-20
|
18-22
|
|
|
|
III
|
16-18
|
18-20
|
|
|
15-19
|
17-21
|
0,3
|
0,3
|
Таблица 32
Допустимые параметры микроклимата
|
Категория работ
|
Допустмые параметры микроклимата для разных периодов года
|
|
Температура воздуха, °С
|
Влажность воздуха, %
|
Температура поверхностей, °С
|
Подвижность воздуха, м/с
|
|
холодный
|
теплый
|
холодный
|
теплый
|
холодный
|
теплый
|
холодный
|
теплый
|
|
Iа
|
20-25
|
21-28
|
75-15
|
75-15
|
19-26
|
20-29
|
0,1
|
0,1
|
|
Iб
|
19-24
|
20-28
|
|
|
18-25
|
19-29
|
0,1
|
0,2
|
|
IIа
|
17-23
|
18-27
|
|
|
16-24
|
17-28
|
0,1
|
0,3
|
|
IIб
|
15-22
|
16-27
|
|
|
14-23
|
15-28
|
0,2
|
0,4
|
|
III
|
13-21
|
15-26
|
|
|
12-22
|
14-27
|
0,2
|
0,4
|
Источники тепловых выделений в прокатных цехах - обрабатываемый металл,
нагревательные устройства, вспомогательное оборудование, печи для термической
обработки металла, агрегаты нанесения покрытий, отделочные агрегаты. Требуемые
параметры микроклимата обеспечиваются необходимой толщиной наружных ограждающих
конструкций, а также работой систем отопления, естественной и механической
вентиляции и кондиционирования воздуха. Для снижения тепловых излучений
применяют различные экраны и теплозащитные ограждения. [27]
.1.2 Выделение вредных веществ и пыли
В процессе травления, термической обработки и покрытия изотропной
электротехнической стали в атмосферу выделяются следующие загрязняющие
вещества: азота диоксид, азота оксид, углерода оксид, натрия гидроксид, масло
минеральное, железа оксид, водород хлористый, ангидрид фосфорный, пыль резины,
бенз(а)пирен. [14]
Все загрязняющие воздух вещества оказывают вредное действие, если они
попадают в организм человека в количествах, превышающих предельную величину.
Действие токсических веществ проявляется в острых и хронических отравлениях.
Пыли, попадая через верхние дыхательные пути в организм, вызывают фиброзы,
затрудняют дыхательные процессы и снабжение организма воздухом. [27]
ГОСТ 12.1.005-76 ССБТ. Воздух рабочей зоны устанавливает требования к
предельно допустимой концентрации вещества (ПДК), а также определяет класс
опасности вещества и возможное агрегатное состояние его (парообразное или в
виде аэрозоля).
Нормативы предельно допустимых выбросов (ПДВ) загрязняющих веществ в
атмосферу для каждого источника указаны в таблице 33.
Таблица 33
Нормативы предельно допустимых выбросов (ПДВ) загрязняющих веществ в
атмосферу [14]
|
Наименование источника выделения загрязняющих веществ
|
Наименование загрязняющего вещества
|
Нормативы предельно допустимых выбросов (ПДВ) загрязняющих
веществ в атмосферу
|
|
|
г/м3
|
г/с
|
|
АНО-2ч10, свеча №1
|
Азота диоксид
|
0,0012
|
0,0115
|
|
Азота оксид
|
0,0005
|
0,0053
|
|
АНО-2ч10, свеча №2
|
Азота диоксид
|
0,0009
|
0,0012
|
|
Азота оксид
|
0,0004
|
0,0006
|
|
Установки обезжиривания 2ч10
|
Натрия гидроксид
|
0,007
|
0,0127
|
|
Установки покрытия-2ч10
|
Ангидрид фосфорный
|
0,005
|
0,0097
|
Для и снижения количества вредных веществ в воздухе и соблюдения
нормативов ПДВ необходимо:
применять местную вытяжную вентиляцию;
для защиты работающих применять средства индивидуальной защиты,
изолирующие и фильтрующие средства для защиты органов дыхания, очки для защиты
глаз; [27]
обеспечивать оптимальный газовый режим работы агрегатов, соблюдать
установленный порядок термообработки и нанесения покрытий, не допускать утечек
газа или поглощающей жидкости;
обеспечивать систематическое удаление и транспортировку уловленных
загрязняющих веществ в предусмотренные места;
соблюдать требования технологических регламентов по эксплуатации оборудования.
[14]
Контроль за соблюдением нормативов ПДВ загрязняющих веществ в атмосферу
осуществляет Управление промышленной экологии согласно «Графика контроля
нормативов ПДВ от источников ОАО «НЛМК». [14]
.1.3 Шум
В цехе используется самое разнообразное оборудование, эксплуатация
которого сопровождается интенсивным шумом, значительно ухудшающим условия
труда. Шум вызывает изменение в нервной системе, оказывает влияние на психику
человека, сердечно-сосудистую систему, ухудшает сон, вызывает головную боль,
головокружение, ослабление внимания.
Допустимый уровень шума на рабочих местах ограничен ГОСТ 12.1.003-83, и
составляет 80 дБ. [14]
Защита от шума:
· для снижения шума агрегатов используют звукоизолирующие кожухи, в которые
заключают шумящие узлы агрегата;
· шум трения ослабляется смазкой соударяющихся деталей вязкими
жидкостями;
· уменьшение шума от соударения металлических частей машин
достигают заменой металлических деталей неметаллическими;
· для защиты от распространения высокочастотного шума используют
экраны их фанеры, листового металла, стекла, пластмасс;
· ослабление шума воздухо (газо) -проводов достигают плавностью
движения воздушного потока, применением глушителей;
· для индивидуальной защиты применяют шумозащитные наушники,
заглушки, вкладыши, беруши. [26]
.1.4 Вибрация
В цехе при работе основного и вспомогательного оборудования возникает
вибрация. Но т.к. она незначительна, ее воздействие минимально. Воздействие
вибрации вызывает спазмы сосудов, вибрации влияют на нервную систему, мышцы,
костно-суставный аппарат, зрение, слух, может вызвать вибрационную болезнь.
Источниками вибрации являются возвратно-поступательные движущиеся системы.
Для защиты от вибраций применяют следующие способы:
· применение виброизолирующих и вибропоглощающих материалов и конструкций;
· качественный монтаж оборудования, уравновешивание,
балансировка вращающихся частей для обеспечения плавности работы машины;
· устранение дефектов и повышенных зазоров отдельных узлов;
· применение динамических гасителей вибрации;
· ослабление вибраций рекомендуется достигать также упругой
подвеской агрегатов и амортизацией. Амортизируют также рабочие места;
· при наличии вибрации ручного инструмента рекомендуется через
каждые 1-1,5 ч устраивать кратковременные перерывы в работе на 5-10 мин с
активной гимнастикой рук. [26]
.1.5 Ионизирующее излучение
В производстве стали источники ионизирующих излучений используют в
качестве датчиков приборов контроля толщины прокатываемых полос (рентгеновские
и изотопные измерители толщины), в дефектоскопах, распределению различных
элементов по сечению прокатываемых полос, определении характера действия
технологических смазок при прокатке и процесса ее удаления с поверхности полос.
Ионизирующее излучение особенно влияет на кровь и кроветворные органы
(малокровие, лейкемия), может вызвать повреждения кожи, злокачественные
опухоли. Нормативные данные по уровням допустимой облученности приведены в
Нормах радиационной безопасности (НРБ-76) и основных санитарных правилах работы
с радиоактивными веществами и другими источниками ионизирующих излучений (ОСП
72/80).
Применяемые в цехе радиоизотопные приборы не требуют специальных мер
защиты (закрытые источники излучений), так как их конструкции обеспечивают
защиту от потока внешнего облучения.
Для
защиты от источников -излучения надежными являются спецодежда, резиновые
перчатки, защитные и обычные очки. Для защиты от -излучения
применяют экраны из алюминия, стекла, оргстекла и других материалов. Защита от
рентгеновского и -излучения обеспечивается экранированием. На
предприятии осуществляется радиационный контроль.
.1.6
Электробезопасность
В
цехе большая часть электрооборудования работает при напряжении до 1000 В.
Различные контрольно-измерительные приборы, устройство автоматики,
искусственное освещение производственных помещений питаются от электрической
сети. Применяют и высокое напряжение. Неисправность электрического
оборудования, нарушение Правил технической эксплуатации электроустановок
потребителей и Правил техники безопасности при эксплуатации электроустановок
потребителей могут вызвать поражение персонала электрическим током. Ток может
поразить как наружный покров (ожоги кожи, разрыв тканей и др.), так и
внутренние органы человека (поражение нервной, сердечной и дыхательной систем
организма).
Для
защиты от поражения электрическим током необходимо, чтобы все оборудование было
заземлено (Защитное заземление и зануление). Токоведущие части должны быть
надежно изолированы, ограждены или недоступно расположены согласно ГОСТ
12.1.019-89. Для защиты электроустановок от перегрузок применяют токовые реле и
плавкие предохранители. Внутрицеховую электрическую сеть изготовляют из
изолированных проводов или кабелей. Защита от поражения электрическим током в
электроустановках достигается следующими путями: недопущением прикосновения к
токоведущим частям электрооборудования (обеспечивается надежной их изоляцией);
устройством отключения при перегрузках и возникновении токов короткого
замыкания (защитным отключением). В электроустановках, в которых часто
выполняют работы на ограждаемых токоведущих частях, применяют блокировочные
устройства. Диэлектрические коврики и дорожки из специальной резины с рифленой
поверхностью применяют как дополнительные средства защиты от поражения
электрическим током. Все работы по замене неисправных деталей установки,
предохранителей и т. п. должны проводиться со снятием напряжения.
.1.7
Электромагнитное поле
В
цехе имеются источники электрических и электромагнитных полей, которые
используют для различных целей: подогрева рабочих валков, сушки покрытий,
нагрева исходных материалов и т.д., это индукторы, трансформаторы,
конденсаторы, фидерные линии.
Длительное
пребывание в электрическом поле вызывает у человека снижение функциональной
подвижности, повышение возбудимости двигательного аппарата, возрастание числа
ошибок, приводит к функциональным изменениям центральной нервной системы,
повышению температуры тела, появлению артериального кровяного давления ниже
нормы. Для защиты от воздействия электромагнитного поля
- устанавливают экранирующие устройства (экраны),
работающих обеспечивают специальными экранирующими костюмами.
В качестве экранирующей одежды используют металлизированный проводящий
костюм, который изготовляют либо из обычного тканевого полотна, покрытого
металлизированной гибкой сеткой, либо из ткани, покрытой слоем проводящей
краски.
Допустимые значения напряженности электрических и магнитных полей
установлены ГОСТ 12.1.002-75 ССБТ. Электрические поля промышленной частоты
напряжением 400 кВ и выше. Общие требования безопасности ГОСТ 12.1.006-76 ССБТ.
Электромагнитные поля радиочастот. Общие требования безопасности.
.1.8 Крановый и железнодорожный транспорт
Различные транспортные устройства, применяемые на предприятии, создают
потенциальную опасность механических повреждений. В цехе применяется
железнодорожный транспорт. Его использование связано со значительными объемами
погрузочно-разгрузочных работ. Наличие железнодорожных путей осложняет
планировку и также является причиной возникновения опасных ситуаций. Для
обеспечения безопасности при использовании железнодорожного транспорта
рекомендуется предупреждать людей о движении поезда звуковым сигналом.
Безопасность эксплуатации транспортных устройств требует ограждения всех
доступных движущихся или вращающихся механизмов. Грузоподъемные машины
оборудуют предохранительными приспособлениями и устройствами. Это конечные
выключатели; звуковая и световая сигнализация и блокировочные приспособления;
тормоза. [26]
8.1.9 Опасность пожара
Пожары на производстве представляют опасность для работающих, причиняют
значительные повреждения и материальный ущерб. Причины возникновения пожара
разнообразны: недостатки в строительных конструкциях, сооружениях, планировке
помещений, устройстве коммуникаций; дефекты оборудования; нарушение режимов
технологических процессов; неправильное проведение работ; неосторожность и
небрежность персонала. Кроме того, в производстве используют горючие и
взрывоопасные вещества: для отопления нагревательных устройств горючие газы
(природный, коксовый и доменный), мазут; для смазки оборудования различные
смазочные материалы; при термической обработке - защитные газы и т.д. Это также
создает опасность возникновения пожара и взрыва. [27]
Термическое отделение по пожароопасности относится к классу I А. Степень
огнестойкости здания - I (основные строительные конструкции - несгораемые).
Категория - А (взрывопожароопасное). Помещение оборудовано внутренними
противопожарными кранами, установленными внутри здания через 20 м, также
первичными средствами пожаротушения: пенными и углекислыми огнетушителями.
Противопожарные краны установлены в доступных и заметных местах, где также
находится пожарный ствол с напорным рукавом длиной 10-20 м. На рабочем месте
термиста (у агрегата) должен находиться следующий противопожарный инструмент и
инвентарь:
а) ящик с песком -1 м3;
б) огнетушитель углекислотный -2 шт.;
в) лопата совковая и штыковая - по 1 шт.
Для предотвращения распространения пожара на соседние здания и сооружения
предусматривают противопожарные разрывы.
Склады сгораемых материалов, размещенные в производственных помещениях,
отделяют противопожарными стенами. Количество горючих материалов, хранимых в
производственных помещениях, ограничивается.
Эвакуационные пути должны обеспечить безопасную эвакуацию людей при
пожаре из помещений через эвакуационные выходы. Число эвакуационных выходов
термического отделения согласно СНиП 21-01-97: два с одной стороны и два с
другой стороны здания. Эвакуационные выходы открываются по направлению выхода
из здания. Расстояние от наиболее удаленного рабочего места до эвакуационного
выхода не превышает 50 м. Суммарная ширина выходов и путей эвакуации
определяется из расчета 0,6 м ширины на 100 эвакуирующихся. [26]
.1.10 Опасность взрыва
Взрывы происходят из-за нарушения нормальной эксплуатации оборудования,
работающего под давлением; воспламенения газо-, паро- и пыле-воздушных смесей,
образующихся при проведении технологических процессов и т.д. Взрывоопасные
смеси образуются при неполном сгорании топлива, а также в результате
просачивания газа в окружающее газовое устройство пространство. Причиной
просачивания газа наружу является нарушение герметичности агрегатов.
Контролируемые атмосферы способны образовывать с воздухом (или
кислородом) взрывоопасные смеси, когда образуется газовоздушная смесь
определенного соотношения. Горючие газы имеют определенные концентрационные
пределы воспламеняемости, характеризующие минимальную и максимальную
концентрацию газа в смеси, вне которых газовоздушная смесь не является
взрывоопасной. Для предотвращения взрывов необходимо своевременно устранять
неисправности газового оборудования и газопроводов; не допускать утечек газа;
исключить возможность воздействия источников энергии на взрывоопасные смеси;
кроме того, нужно принять меры к локализации взрыва на случай его
возникновения, для этого в агрегатах предусматривают специальные устройства.
Кроме того, необходима установка газоанализаторов, предупреждающих о возможном
взрыве с помощью звуковой сигнализации.
Взрывоопасные помещения должны иметь естественную и изолированную
искусственную вентиляцию, а также автоматическую аварийную вентиляцию.
В случае возникновения пожара и взрыва необходимо быстро и безопасно
эвакуировать людей согласно ГОСТ 12.1.010-76. [26]
8.2 Расчет
искусственного освещения
Расчет искусственного освещения методом светового потока производится для
оценки освещения рабочих мест в помещении от конкретных светильников. Для
расчета необходимо знать площадь помещения, число светильников и ламп, марку
светильников, их световые характеристики. Искусственное освещение применяется в
помещениях, в которых недостаточно естественного света и для освещения рабочих
мест в вечернее и ночное время суток. Для искусственного освещения следует
применять наиболее экономичные газоразрядные лампы (люминесцентные).
Искусственное освещение может быть 2 систем: общее освещение и комбинированное.
Нормативную освещенность Ен определяем по таблице 1 СНиП 23-05-95
«Естественное и искусственное освещение. Нормы проектирования». Для этого нужно
знать разряд и подразряд зрительных работ. По таблице выбираем: разряд
зрительных работ VIII- общее
наблюдение за ходом производственного процесса, подразряд б - периодическое при
постоянном пребывании людей в помещении. Следовательно, нормируемая
освещенность Ен = 75 лк.
Расчет производится по формуле:
,
где
- световой поток одной лампы, лм;
- число
светильников, шт;
- число
ламп в светильнике, шт; =2; [уч. пособие]
-
коэффициент эффективности использования светового потока; =0,72; [24]
-
коэффициент запаса; =1,8; [24]
-
площадь пола, мІ; =3260 мІ;
-
коэффициент неравномерности освещения,
, [24]
Выбираем
из таблицы 2.13 учебного пособия люминесцентную лампу ЛБ80-4 мощностью 80 Вт,
ее световой поток Ф=5300 лм.
Найдем количество ламп, которые требуются для освещения площади 3260 м2.
,
, шт.
Светильники
располагают на потолке в 2 ряда (в каждом светильнике по 2 лампы) с одинаковым
расстоянием между ними.
Библиографический список
1. Ванчиков,
В.А. Основы производства изотропной электротехнической стали [Текст]
/В.А.Ванчиков. − М: Металлургия, 1985. − 207 с.
. Миндлин,
Б.И. Изотропная электротехническая сталь [Текст] /Б.И. Миндлин, В.П. Настич,
А.Е. Чеглов. − М.: Интермет Инжиниринг, 2006. − 240 с.
. Казаджан,
Л.Б. Магнитные свойства электротехнических сталей и сплавов [Текст] /Под ред.
В.Д. Дурнева. − М.: ООО «Наука и технологии» −2000. − 224 с.
. Молотилов,
Б.В. Сера в электротехнических сталях сталь [Текст] /Б.В. Молотилов, А.К.
Петров, В.М. Боревский. − М.: Металлургия, 1973. − 176 с.
. Соколов,
К.Н. Технология термической обработки и проектирование термических цехов сталь
[Текст] /К.Н. Соколов, И.К. Коротич. − М.: Металлургия, 1988. − 384
с.
6. Горбунов, И.П. Методические указания к лабораторной работе «Расчет
потерь тепла через кладку печи» [Текст] / И.П.Горбунов, О.Н. Ярковская. −
Липецк: ЛипПИ, 1989.
. Горбунов, И.П. Методические указания к лабораторной работе «Расчет
термических электропечей и электрических нагревательных элементов» [Текст] /
И.П.Горбунов, Д.И.Горбунов. − Липецк: ЛГТУ, 2006.
. И.П. Горбунов. Методические указания к курсовому проектированию
«Оборудование термических цехов» [Текст] / И. П. Горбунов. − Липецк:
ЛГТУ, − 2005.
9. ГОСТ
21427.2 - 83. Сталь электротехническая тонколистовая.- М.: Издательство
стандартов, 1983.
. ГОСТ
12119.1 - 98. Сталь электротехническая. / Методы определения магнитных и
электрических свойств. Методы измерения магнитной индукции и коэрцитивной силы
в аппарате Эпштейна и на кольцевых образцах в постоянном магнитном поле - М.:
Издательство стандартов, 1998.
11. Лапин, Н.Л. Методические указания к расчетам производственных фондов
[Текст] / Н.Л.Лапин. − Липецк: ЛипПИ, 1979.
12. Лапин,
Н.Л. Методические указания к расчетам штатов, фонда заработной платы и
себестоимости [Текст] / Н.Л.Лапин. − Липецк: ЛипПИ, 1984.
. Санитарные
нормы проектирования промышленных предприятий [Текст] / СН 245-7ПМ. - М.:
Стройиздат, 1972.
.
Технологическая инструкция 05757665-ПДС.5-01-2006. Травление, холодная
прокатка, термическая обработка и покрытие изотропной электротехнической стали.
- Липецк, ОАО «НЛМК», 2006.
.
Электротермическое оборудование: справочник / под ред. М.Л. Бернштейна, А.Г.
Рахштадта. − М.: Металлургия, −1985, 1986. − Т. 1, 2, 3.
. ГОСТ 12344 −
2003. Стали легированные и высоколегированные. Методы определения углерода
[Текст] / − Минск: Совет по стандартизации, 2003.
. Влияние
химического состава на структуру и свойства электротехнической изотропной стали
[Текст] / Л.И.Франценюк [и др.] // Сталь. − 1996. − № 4. −
С.54−56.
. Франценюк,
Л.И. Производство изотропной электротехнической стали [Текст] /Л.И. Франценюк,
А.Е. Чеглов // Металлург. − 1999. − № 4, №10. − С.46−49.
. Санитарные
нормы проектирования промышленных предприятий [Текст] /СН 245-7ПМ.- М.:
Стройиздат, 1972.
20. Шкатов, В.В. Методические указания к выполнению дипломного проекта
для студентов специальности 150105 «металловедение и термическая обработка
металлов» [Текст] / В.В. Шкатов, И.П. Горбунов. − Липецк: ЛГТУ, −
2006.
. Гвоздев, А.Г. Лабораторный практикум по материаловедению [Текст]: учеб.
пособие/ А.Г. Гвоздев. − Липецк: ЛГТУ, − 2002.
. Богомолова, Е.В. Методические указания к выполнению экономической части
дипломной работы (проекта) для специальности «металловедение и термическая
обработка» [Текст] / Е.В. Богомолова. − Липецк: ЛГТУ, − 2000.
. Справочник конструктора печей прокатного производства [Текст]: /под
ред. В.М.Тымчака. - М.: Металлургия, 1970. − 992 с.
. Бочарников, А.С. Вопросы безопасности строительного производства в
дипломных работах [Текст]: учеб. Пособие / А.С. Бочарников, О.А. Бочарникова,
В.В. Поляков. − Липецк: ЛГТУ, − 2008. − 70 с..
25. Долин,
П.А. Основы техники безопасности в электрических установках [Текст] /П.А.
Долин. − М.: Энергия, 1970. − 336 с.
. Злобинский,
Б.М. Охрана труда в металлургии [Текст] /Б.М. Злобинский. − М.:
Металлургия, 1975. − 536 с.
. Бринза,
В.Н. Охрана труда в прокатном производстве [Текст] /В.Н. Бринза. − М.:
Металлургия, 1986. − 208 с.
. ГОСТ 5639 -
82. Методы выявления и определения величины зерна [Текст] / М.: Издательство
стандартов, − 1982.
29. ГОСТ 2615 - 54. Сортамент ленты и проволоки высокого омического
сопротивления из жаростойких сплавов [Текст] / М.: Издательство стандартов, −
1954.
30.
Кондратков Д.А., Чеглов А.Е., Заверюха А.А. Способ производства изотропной
электротехнической стали с фосфором [Текст] /Пат. RU №2262540 С1 Кл. C21D8/12. Заявл. 12.10.2004. Опубл.
20.10.2005.
. Миндлин
Б.И., Чеглов А.Е., Барыбин В.А. Способ производства холоднокатаных полуготовых
и готовых полос из изотропных электротехнических сталей [Текст] /Пат. RU № 2288282 С1 Кл. C21D8/12. Заявл.
22.04.2005. Опубл. 27.11.2005.
. Кондратков
Д.А., Чеглов А. Е.,Слюсарь Н.И., Заверюха А.А. Способ производства изотропной
электротехнической стали [Текст] /Пат. RU № 2270262 С1 Кл. C21D8/12. Заявл. 12.10.2004. Опубл.
20.02.2006.
. Чеглов
А.Е., Слюсарь Н.И., Заверюха А.А. Способ холодной прокатки полос изотропной
электротехнической стали [Текст] /Пат. RU № 2271255 С1 Кл. В21В1/28. Заявл. 18.08.2004. Опубл.
10.03.2006.
. Чеглов А.Е.
Миндлин Б.И. Барыбин В.А. Способ термической обработки холоднокатаных полос
изотропной электротехнической стали [Текст] /Пат. RU №2278171 С2 Кл. C21D8/12. Заявл. 13.09.2004. Опубл.
20.06.2006.
. Новиков,
И.И. Теория термической обработки металлов [Текст] /И.И. Новиков. М.:
Металлургия, 1978.-392 с.
. Алешин,
А.С. Вопросы безопасности в дипломных проектах и работах. Общие методические
указания по содержанию и выполнению раздела безопасности труда для студентов
инженерно-технических специальностей. [Текст] /А.С. Алешин. Липецк: ЛипПИ,
1990.
. Башнин,
Ю.А. Технология термической обработки [Текст] /Ю.А. Башнин, Б.К. Ушаков, А.Г.
Секей. М.: Металлургия, 1986.-424 с.
38. Рысин, С.А. Вентиляционные установки машиностроительных заводов
[Текст] / С.А. Рысин. - М.: Машиностроение, 1960. - 556 с.
39. СНиП
23-05-95. Строительные нормы и правила. Естественное и искусственное освещение.
Нормы проектирования [Текст] /Минстрой России.-М.: Информрекламиздат, 1995.-35
с.
. СанПиН
2.2.4.548-96. Гигиенические требования к микроклимату производственных
помещений: Санитарные правила и нормы [Текст] / М.: Информационно-издательский
центр Минздрава России, 1997.-30 с.
. НПБ 105-95.
Нормы пожарной безопасности. Категорирование помещений и зданий по
взрывопожарной и пожарной опасности [Текст] / СПб.: СПбВПТШ МВД РФ, 1977.-77 с.
. Гольдштейн,
М.И. Специальные стали [Текст] / М.И. Гольдштейн, С.В. Грачев, Ю.Г. Векслер. -
М.: Металлургия, 1985. - 408 с.
. Мозберг,
Р.К. Материаловедение [Текст] / Р.К. Мозберг. - М.: Высш. Шк., 1991. - 448 с.
. Солнцев,
Ю.П. Материаловедение [Текст] / Ю.П. Солнцев, Е.И. Пряхин. - СПб.: ХИМИЗДАТ,
2004. - 736 с.
. Гуляев,
А.П. Металловедение [Текст] / А.П Гуляев. - М.: Металлургия, 1986. - 544 с.
Похожие работы на - Проект термического отделения для непрерывного обезуглероживающего и рекристаллизационного отжига изотропной электротехнической стали четвертой группы легирования
|