Материальный баланс производства

  • Вид работы:
    Контрольная работа
  • Предмет:
    Другое
  • Язык:
    Русский
    ,
    Формат файла:
    MS Word
    668,87 kb
  • Опубликовано:
    2011-07-15
Вы можете узнать стоимость помощи в написании студенческой работы.
Помощь в написании работы, которую точно примут!

Материальный баланс производства














Контрольная работа № 1 по промышленной технологии

Мат.баланс вариант 2

При производстве мази метилурациловой 10% получено 197,0 кг готового продукта, что соответствует выходу 98,5%. Составьте материальный баланс и определите расходные нормы для получения 150,0 кг готового продукта.Methyluracili 10%    Состав: метилурацила 10 г 1 ч 10.0

Содержание метиурацила в 150,0 кг готового продукта :

,0       -        197,0

Х       -        150             Х = 7,61 кг

Материальные потери = 10,0 - 7,61 = 2,39

Уравнение на цинка оксид:   10.0 = 7,61 + 2,39

К расходный = 150 / 197 = 0,7614

Расходные нормы (кг) для ПРОИЗВОДСТВА 100 кг ПРИСЫПКИ:

Метилурацил: 10,0г*0,7614=7,614 г

ИТОГО:     7,614 г.

Тепловые процессы вариант 6

Выберите правильный(ые) ответ(ы):

. измельчители могут быть классифицированы по:

а) только способу измельчения твердых тел

б) только по периодичности работы машин

в) только по конструкции машин

› г) все выше перечисленное

. к недостаткам процесса фильтрования под вакуумом относят:

›а) невозможность фильтрования масляных растворов

в) повышение сопротивления фильтра с течением времени

с) невозможность фильтрования водных растворов

› d) невозможность фильтрования спиртовых извлечений

. скорость оседания твердых частиц в жидкой среде зависит от:

а) плотности частиц

›в) плотности дисперсионной среды

› с) размера частиц

› d) абсолютной вязкости жидкой среды

мази и суппозитории вариант 5

.раскройте понятие «кремы». Дайте их характеристику и классификацию. Приведите номенклатуру лекарственных препаратов-кремов.

Кремы (Cremores) - полужидкие препараты, содержащие лекарственные средства, масла, жиры и другие вещества, но менее вязкие, чем мази. Применяются наружно. Представляют собой лекарственную форму «мягкой мази», которая по своему составу и физическим особенностям занимает промежуточное положение между пастой и мазью. Основа крема - жиры или жироподобные вещества, способные смешиваться с водой. В результате этого образуется равномерная густая и полужидкая масса - эмульсия типа «масла в воде». Естественными представителями такой эмульсии являются, молоко, сливки, сметана. Их действие связано с возможностью испарения воды, что приводит к охлаждению кожи. Искусственный охлаждающий крем (кольдкрем, Unguentum leniens seu emoliens) содержит в равных частях жировое вещество (ланолин, воск, спермацет), воду или розовую воду, растительное масло (чаще всего миндальное). Кремы применяют при воспалительных процессах, сухости кожи, снижении её эластичности. Наносят крем на поражённый участок тонким слоем, лёгкими, скользящими, осторожными движениями. Иногда его слегка втирают в поражённую кожу. Вода, находящаяся в креме, охлаждает кожу. Жировые вещества препятствуют пересушиванию кожи, делая её более мягкой и эластичной. Кремы различаются по назначению: жирные, служащие для смягчения кожи; нежирные, предназначенные для защиты кожи от внешних влияний; лечебные кремы. По количеству содержащихся в них жиров крем разделяются на жирные, полужирные и безжирные.

Жирными кремами называются смеси, имеющие в своём составе не менее 30% жирных, жироподобных веществ и восков; полужирные - густые или жидкие эмульсии <#"536399.files/image001.gif">

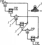
- весы;

- автокар;

- камера Купина;

- реактор для плавления Т-2;

- дистилляционный аппарат;

- фильтр;

- реактор для получения мази;

- мерник с водой очищенной;

- сито;

- реактор для получения основы;  

- дозатор мази;

- упаковка в коробки и контроль

- гомогенизатор.

Описание технологического процесса

Вазелин взвешивают в бидонах на весах (1) и припомощи актокара (2) загружают в камеру Купина (3) и плавят в бидонах, далее при помощи вакуума расплавленный вазелин в реактор (5) для изготовления основы, реактор имеет с паровую рубашку, мешалку. Эмульгатор Т-2 взвешивают на весах (1) и расплавляют в реакторе (4) и перекачивают в реактор (5) к расплавленному вазелину далее в реактор вводят воду очищенную (вода нагревается до 80-95ºС из мернике (13), воду получают на аппарате (12) при включенной мешалке реактора. Затем основу перемешивают турбинной мешалкой до однородности. Готовую расплавленную основу по обогреваемому трубопроводу переводят в реактор для приготовления мази (7), фильтруют через друк-фильтр (6).

Ментол загружают в реактор (7), который снабжен мешалками, приспособленные для работы в вязких средах. Добавляют основу из реактора (5) и включают, при этом происходит циркуляция смеси и измельчение частиц серы по типу удара и истирания. Далее вводят остальную основу из реактора (5) одновременно перемешивая при помощи мешалки и включенном гомогенизаторе - гомогенизация мази.

Экстрактор смеситель представляет каскад отдельно расположенных смесительных и отстойных камер


Конструкция позволяет осуществить рециркуляцию любой из фаз, а регулирование уровня раздела на выходе тяжелого реагента можно производить при помощи специальной камеры, находящейся под дополнительным давлением воздуха.

Обоснование важности стадии гомогенизации:

Данная стадия обеспечивает получение качественной и стабильной продукции, простое перемешивание в реакторе не позволяет достигнуть однородности цастиц и их равномерного распределения в мази.

Стандартизация мази Внутрицеховой контроль мази осуществляется на каждой стадии и операции, особенно перед ее фасовкой. Окончательное заключение по всем показателям качества готовой продукции дает ОТК.

Мазь стандартизируют по качественному и количественному содержанию ментола (определение подлинности).

Степень дисперсности устанавливается с помощью электронного микроскопа с окуляр-микрометром при условии окраски дисперсной фазы (водорастворимыми индикаторами). Другие испытания проводятся в соответствии с требованиями действующей НТД на мазь.

Готовую мазь после контроля качества фасуют при помощи дозатора (10) в банки стеклянные или тубы, которые закупориваются крышками или бушонами. На банку наклеивается этикетка с необходимой маркировкой.

Готовые банки передаются на упаковку их в картонные пачки (11), пачки укладывают в коробки.

Хранение   Сроки и условия хранения мази устанавливаются нормативной документацией. Хранить в заполненных доверху емкостях (во избежание испарения водной фазы) и при температуре не ниже нуля и не выше 30-40ºС (во избежание расслоения эмульсий) при высоких и низких температурах часто расслаиваются, теряют однородность.

. составьте технологическую схему производства суппозиториев «нео-анузол» с указанием аппаратуры для каждой технологической стадии.

Состав на 1 суппозиторий: висмута нитрата основного 0,075

Цинка оксида 0,2

Танина 0,05

Резорцина 0,005

Йода 0,0005

Метиленового синего 0,003

Жировой основы 2,5

Состав жировой основы: гидрогенизированный жир 60 ч.

Масло какао 30 ч.

ТЕХНОЛОГИЧЕСКАЯ СХЕМА ПРОИЗВОДСТВА СУППОЗИТОРИЕВ «НЕУ-АНУЗОЛ»


АППАРАТНАЯ СХЕМА ПРОИЗВОДСТВА СУППОЗИТОРИЕВ «НЕУ-АНУЗОЛ»

- весы;

,8,9 - реактор;

- фильтр-друк;

, 10а -насос;

- аквадистиллятор;

- сборник-мерник для воды очищенной;

- емкость для приготовления раствора;

- мерник;

- суппозиторная машина Servac-200S;

- упаковка суппозиториев в пачки, контроль;

- упаковка в картонные коробки, контроль.    

Приготовление основы. В соответствии со схемой (рис.) отвешивают на весах 1 все компоненты прописи. Затем в реактор 2 из нержавеющей стали емкостью 1000 л с паровой рубашкой и якорной мешалкой загружают ПЭО, предварительно пустив в рубашку реактора пар. После полного расплавления ПЭО в реакторе 2 добавляют в него эмульгатор и сплав доводят до температуры 60-70 °С. В последнюю очередь в реактор загружаютводу очищенную рассчитанное количество, включают мешалку и перемешивают жировую основу в течение 40 мин. После этого отбирают пробу для определения температуры плавления и времени деформации приготовленной основы. Если температура плавления основы больше или меньше заданной, ее исправляют путем добавления парафина или гидрожира. Добавляемый компонент вводят в подогретую до 60-70 °С основу при включенной мешалке, так как в менее теплой основе возможна кристаллизация препарата, что приводит к неоднородности жировой основы.

Приготовленную ПЭО-основу пропускают через друк-фильтр 3, с помощью сжатого воздуха подают в реактор 8 по мере необходимости, где происходит уже приготовление суппозиторной массы. В качестве фильтрующего материала в друк-фильтре применяется латунная сетка (имеет в 1 см- 20X20 отверстий) или бельтинг-полотно.

Введение в основу лекарственных веществ. Висмута нитрат вводят в жировую основу в виде раствора-концентрата. Растворение которого производят в емкости 6, в качестве растворителя используют дистиллированную воду, получаемую в аппарате 4 и хранящуюся в сборнике 5. Раствор-концентрат фильтруют через бязевый мешок в специальной емкости 7, откуда он и подается в реактор 8 для введения в основу.

Жировую основу передавливают из реактора 2 через друк-фильтр 3 в реактор 8, включают мешалку и насос 10. Температуру ПЭО-основы доводят до 45-48 °С пуском пара или воды в рубашку реактора. Через верхний люк реактора тонкой струйкой загружают сначала необходимое количество жировой основы , раствор-концентрат висмутат натрия, затем небольшими порциями суспензию-концентрат резорцина и танина. Реактор 9 и насос 10а, в которых происходило растирание суспензии-концентрата анестезина, «промывают» ПЭО-основой, взятой из общего количества, и сливают в реактор 8, где происходит задел массы. Во избежание оседания порошков через спускной кран реактора 7 по окончании загрузки концентратов сливают 30-40 кг массы и возвращают в реактор (через насос 10). Массу перемешивают в течение 45 мин и сдают на анализ, после чего приступают в формовке.

Формование и упаковка свечей на полностью автоматизированной линии. Автоматизированная линия фирмы обеспечивающей полную автоматизацию производства суппозиториев «Servac-200S» 11.

На автомате установлены 3 рулона с пленкой ПВХ из которых формуются (чеканятся) чашеобразные половины, которые в дальнейшем соединяются в комплектную форму термосваркой. При этом наверху каждой формы остается открытым наполнительное отверстие, через которое наполнительная игла вливает жидкую суппозиторную массу. Дозирование проводится при помощи точно работающего насоса. Далее упаковка герметически закрывается и снабжается между отдельно сваренными суппозиториями дополнительными поперечными ребрами жесткости

(холодное тиснение). Далее от ленты нарезают полоски по определенному количеству суппозиториев Отрезанная полоска поступает на охладительный участок после пробега которого покидает как готовая упаковка (рис.).


Упаковка суппозиториев Готовые полоски укладываются в картонные пачки, вкладывают листовку-вкладыш, проставляют номер серии и срок годности (12), далее упаковки складывают в картонные коробки (13).

Хранят готовую продукцию в сухом, защищенном от света месте на основании приказов МЗ РФ.

Таблетки вариант 9

Выберите правильный(ые) ответ(ы):

. к технологическим свойствам порошков НЕ относятся:

а) насыпная масса

в) текучесть

с) прессуемость

д) гигроскопичность

е) фракционный состав

. сахар в таблеточном производстве применяют в качестве:

а) связывающего вещества

в) антифракционного вещества

с) наполнителя

д) пролонгатора

. назначение разрыхляющих веществ в таблеточном производстве:

а) обеспечивают точность дозирования лекарственных веществ

в) улучшают прессуемость таблеток

с) уменьшают силу выталкивания таблетки из матрицы

д) обеспечивают распадаемость таблеток

. к достоинствам прессованных покрытий относятся:

а) влагонепроницаемость покрытий

в) небольшой расход материала для покрытий

с) небольшие размеры и масса таблеток

д) быстрота нанесения покрытий

установите соответствие (5-8)

вспомогательные вещества назначение

.лактоза а а) наполнитель

.аэросил а в) антифракционное вещество

. твин-80 с с) разрыхлитель

8. сахароза в

9. требования, НЕ предъявляемые ГФХI к таблеткам:

а) механическая прочность

б) точность дозирования

с) локализация действия лекарственных веществ

д) распадаемость

. точность дозирования при прессовании зависит от:

а) точности настройки объема матричного гнезда

в) однородности гранул по размеру частиц

с) однородности гранул по форме частиц

д) величины давления прессования

.Для определения прочности таблеток на истирание используют прибор:

а) барабанный истиратель

в) «качающаяся» корзинка

д) «вращающаяся» корзинка

д) пресс-гранулятор

. время распадаемости таблеток, покрытых водорастворимой оболочкой, составляет:

а) 15 мин

в) 30 мин

с) 45 мин

д) 1 час

. анализ гранулята осуществляют по следующим показателям:

а) средняя масса гранулы и отклонения от нее с целью определения однородности

в) гранулометрический состав

с) насыпная плотность

д) сыпучесть

е) влагосодержание

ф) прессуемость

выберите правильный(ые) ответ (ы):

. в качестве связывающего вещества в производстве таблеток используют все, КРОМЕ:

а) твин 80

б) воду очищенную

с) аэросил

д) альгинат натрия

е) спирт этиловый

. гранулят опудривают с целью:

а) улучшения прессуемости

в) предотвращения расслаивания

с) улучшения сыпучести

д) предотвращения адгезии к пуансонам

е) увеличения объема таблетируемой массы

. анализ таблеток кальция лактата по 0,5 показал следующие результаты:

прочность на истирание - 95%

распадаемость 3 мин

за 45 мин в раствор перешло 90% действующего вещества

содержание действующего вещества в таблетках о,54 г (возможны отклонения по ГФ 11 5%)

таблетки забракованы согласно требованиям ГФ 11 по:

а)прочности

в) содержанию действующего вещества

д) тесту растворения

материальный баланс расходный норма

капсулы и микрокапсулы вариант 4

выберите правильный(ые) ответ(ы)

. методы получения мягких капсул:

а) макания

в) роторно-матричный

с) штамповка

д) капельный

е) конденсации

. время распадения желатиновых капсул, регламентируемое ГФ11, составляет не более:

а) 15 мин

в) 30 мин

с) 20 мин

д) 10 мин

е) 40 мин

. вещества, входящие в состав массы для изготовления капсульной оболочки:

а) желатин в) вода очищенная

с) глицерин

д) нипагин

е) крахмал

способы получения желатиновых капсул

а) обработка желатиновых капсул поливинилацетатом

в) введение в желатиновую массу натрий- кмц

с) введение в желатиновую массу стеариновой кислоты

д) введение в желатиновую массу ацетилфталилцеллюлозы

е) введение в желатиновую массу поливинилпирролидона

. микрокапсулы получают методами:

а) коацервации

в) напыления в псевдоожиженном слое

с) полимеризации

д) макания

е) конденсации

ампулы вариант 5 задача

рассчитайте количество растворов кислоты аскорбиновой 5% и прогестерона 1% в масле, требующееся для наполнения 10000 шт. ампул емкостью соответственно 5 мл и 1 мл.

Решение (на основании норм наполнения ампул):

Раствора кислоты аскорбиновой 5%:      1 мл - 1.1 * 10000 = 11000 мл

Прогестерона 1% в масле:              1 мл  -        1.15 * 10000 = 1150 мл

мл     -        5.5 * 10000 = 55000 мл

Похожие работы на - Материальный баланс производства

 

Не нашли материал для своей работы?
Поможем написать уникальную работу
Без плагиата!
Без нейросетей!