Электроснабжение завода цветной металлургии
СОДЕРЖАНИЕ
мощность нагрузка
трансформатор электробезопасность
Введение
1.
Общая часть
.1
Краткая характеристика предприятия, нагрузок его цехов
.2
Система электроснабжения предприятия
.
Расчетная часть
.1
Расчет электрических нагрузок цеха, завода
.2
Компенсация реактивной мощности
.3
Выбор системы внутреннего электроснабжения
.4
Выбор системы внешнего электроснабжения
.5
Расчет токов короткого замыкания
.6
Выбор оборудования
.7
Релейная защита и автоматика
.
Охрана труда
.1
Общие положения по электробезопасности.
.2
Действие электрического тока на организм человека
Перечень
ссылок
ВЕДЕНИЕ
Электроэнергия является самым распространенным
видом энергии в производстве.
Первое место по количеству применяемой энергии
принадлежит промышленности, а именно 60% из всей вырабатываемой энергии. С
помощью электроэнергии приводятся в действие станки и механизмы, освещаются
помещения, осуществляется автоматическое управление технологическими
процессами.
За все эти годы существования энергетика
развивалась ускоренными темпами, производство электроэнергии с начала века
возросло в несколько сот раз, при этом больше всего используются тепловые
электростанции, затем гидравлические и атомные (АЭС).
Первые дешевле в строительстве, хотя и
проигрывают вторым в стоимости.
Планировался рост мощности АЭС, но после
известной аварии на ЧАЭС эти планы не реализуются и перспективы развития АЭС
тщательно анализируются, требуется значительно увеличить их надежность.
Системы электроэнергии промышленных предприятий,
имеющих много особенностей, всегда разрабатываются так, чтобы питание
потребителей было бесперебойным, качественным и сопровождалось оптимальными
затратами при сооружении и эксплуатации.
В настоящем проекте предусматривается реализация
теоретических предложений и рекомендаций в электроснабжении среднего по
мощности предприятия с небольшим количеством (до 10) цехов.
Условия на проект приведены в задании, состоящем
из 2-х листов.
Задан вид, план предприятия, категория и
установленная мощность всех цехов (по одному из цехов сведения о потребителях
заданы подробно).
Приведены данные о возможном источнике питания
предприятия. Необходимо выполнить электроснабжение, дойдя до сборных шин
низкого напряжения цеховых подстанций.
При выполнение проекта следовать
рекомендованному графику работы.
Проект должен содержать пояснительную записку
(20-30 листов) и 2 чертежа.
I. ОБЩАЯ ЧАСТЬ
1.1 Краткая характеристика
предприятия и его электропотребителей
Общие сведения приведены в разделе
"Исходные данные" задания и в таблицах задания; задан план завода в
определенном масштабе.
Цехов на заводе разных категорий, в том числе
категории 1. Завод работает по определенной технологии.
Графики нагрузки для данной отрасли берем из ЛЗ
(Таб.24.2-24.6), рис. 1
Из графиков выясняем две нужные в последующем
величины:
-коэффициент заполнения графика
(1.1)
-
время
использования максимума нагрузки (1.2)
ч
Нагрузки цехов в пределах от несколько сотен кВт
до нескольких тысяч кВт.
Во всех цехах потребители рассчитаны на
напряжение 380 вольт, только в цехах 1,9 и 3 высоковольтные потребители.
Режим работы разный (табл. 1 задания)
Электроосвещение (внутреннее и внешнее). Система
электроснабжения 3-х фазная, напряжением 380/220 В внутри цехов и 6-10 кВ между
цехами
Рис. 1.1 - График нагрузки завода
.2 Система
электроснабжения
предприятия
Ориентируясь на установленные мощности
потребителей можно заключить, что предприятие средней мощности, категории 1.
Следовательно, структура сети такая - нужно
иметь главную подстанцию ГП, от которой кабельными линиями на повышенном
напряжении 10 кВ напитывать цеховые трансформаторные подстанции ЦТП. На ГП
возможна установка повышающих трансформаторов (это решится при выборе внешней
схемы); сборные шины одинарные, но секционированные.
Количество линий и трансформаторов на ГП и на
ЦГП - не менее 2-х для ответственной категорий, предусматривается взаимное
резервирование при использовании релейной защиты и средств автоматики.
II.
РАСЧЕТНАЯ ЧАСТЬ
2.1
Расчет
нагрузок
Заданы установленные активные мощности
потребителей цеха и установлены суммарные активные мощности остальных цехов.
Нужно определить расчетную полную мощность
каждого цеха и всего завода, эти мощности необходимы для расчета сечения
питающих линий и силовых трансформаторов; согласно рекомендациям (методических
указаний) расчетную мощность цеха определяем методом упорядоченных диаграмм, а
остальных цехов - методом коэффициента спроса (он задан)
2.1.1. Расчет нагрузки цеха
Активная расчетная мощность
определяется по формуле:
(2.1)
Где
-
коэффициент использования задан в задании
для индивидуальных потребителей
(2.2)
Или
Примечание: для потребителей не прерывного
режима ПВ%=100
Потребители объединяем в группы: с переменным и
постоянным графиком работы (эти сведения указаны в задании), для последней
,
а для первой коэффициент максимума определяется в зависимости от группового
коэффициента использования
(2.3)
И эффективного числа
электроприемников
группы
(2.4)
Для частых случаев
определяется
с учетом рекомендаций Л1
- это справочная графическая зависимость (Л1,
рис. 2.15.)
Соответствующая реактивная мощность определяется
по формуле:
(2.5)
Полная мощность по формуле:
(2.6)
Расчетный ток узла электроснабжения по формуле:
(2.7)
Расчет нагрузки цеха 1
Расчет нагрузки на стороне 0,4 кВ
Потребители с переменным графиком нагрузки:
Краны:
Сварочные трансформаторы
Итого
Так как
,
,
, то
Коэффициент максимума активной мощности
Максимальная активная нагрузка
Максимальная реактивная нагрузка
Потребители с постоянным графиком нагрузки:
Станки:
Вентиляторы:
Итого:
Так как
, то
Нагрузка осветительных приемников
Средние мощности группы потребителей напряжением
0,4 кВ:
Максимальные мощности группы потребителей
напряжением 0,4 кВ
Принимаем 2 трансформатора по 630 кВА
Потери в трансформаторе
Расчет нагрузки на стороне 6-10 кВ
Насосы:
кВт
Расчетные (максимальные) мощности всех
приемников узла электроснабжения (подстанции):
Расчетный ток подстанции на стороне 6 кВ:
Данные по цеху 1 сведены в таблицу2.1
Таблица 2.1.- Сведения по цеху
|
Наименование
потребителей
|
кВТ
|
кВт
|
n кВт
|
∑ кВт
|
|
кВт
|
Cos
|
tg
|
квар
|
|
|
кВт
|
квар
|
кВА
|
кВА
|
|
1.Краны,ПВ=0,4
|
110
|
55
|
2
|
110
|
0,5
|
55
|
0,8
|
0,75
|
41,25
|
|
|
|
|
|
-
|
|
2.
.Сварочные тр-ры, ПВ=0,4
|
19
|
9,5
|
4
|
38
|
0,5
|
19
|
0,9
|
0,44
|
8,3
|
|
|
|
|
|
-
|
|
Итого,
пер. режим
|
-
|
-
|
6
|
148
|
0,5
|
74
|
-
|
-
|
49,55
|
6
|
1,6
|
118,4
|
54,5
|
|
-
|
|
3.Станки
|
12
|
12
|
14
|
168
|
0.8
|
134,4
|
0,7
|
1,02
|
137,1
|
14
|
1
|
134,4
|
137,1
|
|
-
|
|
4.Вентиляторы
|
20
|
20
|
5
|
100
|
0,61
|
61
|
0,9
|
0,48
|
29,5
|
5
|
1
|
61
|
29,5
|
|
-
|
|
5.Освещение
|
70
|
70
|
-
|
70
|
0,8
|
56
|
0,8
|
0,75
|
42
|
-
|
0,8
|
56
|
42
|
|
-
|
|
Итого
0,4 кВ
|
-
|
-
|
-
|
268
|
-
|
195,4
|
-
|
-
|
166,6
|
-
|
-
|
195,4
|
166,6
|
406,2
|
-
|
|
Силовые
транс-ры
|
-
|
-
|
-
|
-
|
-
|
-
|
-
|
-
|
-
|
-
|
-
|
25,2
|
138,6
|
|
2 630
|
|
Насос
10кВ
|
520
|
520
|
4
|
2080
|
0,7
|
1456
|
0,7
|
1,02
|
1485
|
|
1
|
1456
|
1485
|
|
|
|
Итого,
участок
|
-
|
-
|
|
|
-
|
1110
|
|
|
980
|
|
|
1110
|
980
|
1481
|
|
|
Итого,
цех (2 участка)
|
-
|
-
|
|
|
-
|
2221
|
|
|
1960
|
|
|
2221
|
1960
|
2962
|
|
2.1.2 Расчет нагрузки остальных цехов
Расчётные мощности
и
определяются
по формулам:
Расчетные мощности Рм и Qм определяются
соответственно по формулам:
Рм = Кс
Рн
(2.8)
Qм = Рм
tg
(2.9)
Результаты сведены в таблицу 2.2.
Мощность завода определяется по
формуле:
(2.10)
где КРМ - коэффициент
разновременности максимальных нагрузок цехов; принимается 0.9 - 1, РМО
и QМО - мощности освещения территории завода;
РМО
= 0.02
РМ
QМО = 0.02
QМ
Цех
9


Где
- экономически обоснованное сечение
кабеля
- плотность тока
Цех 3


Цех 17


Выбираем 2 трансформатора по 1000
кВА
Максимальная мощность с учетом
потерь в трансформаторах
В случае отключения одного
трансформатора, можно будет отключить от питания группу потребителей 3-й
категории, что составляет 25% потребителей цеха.
Цех 19


Выбираем 2 трансформатора по 1000
кВА
Максимальная мощность с учетом потерь
в трансформаторах
В случае отключения одного
трансформатора, можно будет отключить от питания группу потребителей 3-й
категории, что составляет 25% потребителей цеха.
Таблица
2.2 - Сведения по остальным цехам
|
Потребитель
|
Рн
кВт
|
Категория
|
Кс
|
Рм
кВт
|
cosφ
|
tgφ
|
Qм квар
|
Sм кВА
|
кВт
|
кВт
|
|
Цех
1
|
-
|
2
|
-
|
2220,8
|
-
|
-
|
1959,7
|
2961,9
|
25,2
|
138,6
|
|
Цех
9
|
1300
|
3
|
0,77
|
1001
|
0,75
|
0,88
|
882,8
|
1334,7
|
-
|
-
|
|
Цех
3
|
1900
|
1
|
0,89
|
1691,9
|
0,7
|
1,02
|
1725,2
|
2415,6
|
-
|
-
|
|
Цех
17
|
1220
|
2
|
0,84
|
1024,8
|
0,7
|
1,02
|
1045,3
|
1557,6
|
20
|
110
|
|
Цех
19
|
1180
|
1
|
0,85
|
1003
|
0,7
|
1.02
|
1023
|
1526
|
20
|
110
|
|
Завод
без КУ
|
-
|
1
|
-
|
7042,3
|
0,72
|
0,98
|
6867,4
|
9541,3
|
-
|
-
|
|
КУ
|
-
|
-
|
-
|
-
|
-
|
-
|
1400
|
-
|
-
|
-
|
|
Завод
с КУ
|
-
|
1
|
-
|
7042,3
|
0,72
|
0,98
|
5467,4
|
8630,3
|
-
|
-
|
Ток завода
2.2 Компенсация
реактивной мощности
Этот вопрос важен тем, что
непосредственно связан с качеством электроэнергии, ее
экономией и надежностью эл. снабжения.
По известным РP и QP завода
энергосистема определяет и передает заводу оптимальную величину реактивной
мощности QЭ. Суммарная
мощность компенсирующих устройств завода должна
составлять:
QK = QM
K - QЭ; QK = 1373 квар (2.11)
где К - коэффициент
несовпадения максимума активной нагрузки энергосистемы с максимумом реактивной
мощности завода ( методические указания ) К
= 0,9 - для нашего случая - для предприятия цветной металлургии (Л1, стр.13).
В
качестве средств компенсации нужно использовать синхронные двигатели. На остальную мощность QK - QСД нужно
установить конденсаторные батареи, они могут устанавливаться
на низкой стороне цеховой подстанции завода. Мощность батарей на низкой стороне определяется на основании
экономических расчетов ( Л1,стр.68 ).
Мощность
батарей округляется до ближайшей стандартной, с учетом наличия одной или
двух секций сборных шин.
Результаты расчетов сведены в
таблицу 2.3.
Таблица 2.3 - Выбор НКБ
|
Цех
|
SМ кВА
|
SНТ
кВА
|
Qм квар
|
Qт квар
|
QНК1 квар
|
QНК2
квар
|
|
|
Установки
|
|
|
|
|
|
|
|
|
|
НН
|
ВН
|
|
1
|
2961,8
|
2
|
1959,7
|
480,5
|
0
|
0
|
0
|
-
|
0
|
8
|
|
9
|
1334,7
|
-
|
882,8
|
-
|
0
|
0
|
0
|
-
|
0
|
-
|
|
3
|
2415,6
|
-
|
1725,2
|
-
|
0
|
0
|
49.96
|
-
|
0
|
8
|
|
17
|
1557,6
|
2*1000
|
1045,3
|
1228,7
|
0
|
0
|
222.5
|
-
|
0
|
-
|
|
19
|
1526
|
2*1000
|
1023
|
1246,6
|
0
|
0
|
194
|
|
0
|
-
|
|
Гп
|
-
|
-
|
-
|
-
|
-
|
-
|
-
|
-
|
-
|
12
|
В таблице:
QТ
-
наибольшая реактивная мощность, которую целесообразно передать через
трансформаторы.
(2.12)
QBK
-
некомпенсированная мощность по стороне высокого напряжения (ВН)
QBK = QP -
QHK + ∆QT (2.13)
Конденсаторы по стороне ВН
нужно установить на каждый ЦТП, но можно и свести на ГП.
После
расчета компенсации нужно найти новую мощность завода, уменьшив реактивную
мощность на величину мощности установленных КУ.
2.3 Выбор системы внутреннего
электроснабжения
Выбор подстанции и трансформатора
Силовые трансформаторы на
предприятиях устанавливаются на главной подстанции
(ГП), если она будет трансформаторной, а не распределительной, и на цеховых
трансформаторных подстанциях (ТП).
Выбор центра
нагрузки
Всегда подстанцию нужно
располагать в центре нагрузки. На плане цеха за эту точку принимается центр
тяжести фигуры цеха (для прямоугольника - это пересечение диагоналей, а при
сложной фигуре она делится на прямоугольники и общий центр определяется по
центрам отдельных составляющих прямоугольников по правилу - общий центр 2-х
прямоугольников делит расстояние между центрами на части обратно
пропорциональные площадям).
Центр нагрузки всего завода
имеет координаты:
(2.14)
(2.15)
где X и Y -
координаты центра каждого цеха;
SM - мощность
цехов.
Xo = 45 мм
Yo
=
25 мм
В центре нагрузки располагаем
главную подстанцию ГП, а местоположение
ЦТП смещаем к стене цеха ближе
расположенной к ГП (см. лист 1 граф. части; оси координат провести по центру
цехов).
Выбор
трансформаторов
Рекомендации следующие:
1. При
плотности нагрузки меньше 0,2 кВА/м2 целесообразно использовать
трансформаторы мощностью до 1000 кВА, при плотности большей - использовать
трансформаторы 1000 кВА, 1600 кВА, 2500 кВА.
2. Следует
предполагать коэффициент загрузки:
Кз = 0,65 ÷
0,7 - для 2-х трансформаторных подстанций, для потребителей категории 1;
Кз = 0,7 ÷
0,8 - для 1-ой трансформаторной подстанций, для потребителей категории 2;
Кз = 0,9 ÷
0,95 - для 1-ой трансформаторной подстанции, для потребителей категории 3.
3. Намеченные
трансформаторы учитываются при рассмотрении реактивной мощности;
4. Намеченные
трансформаторы проверятся на систематическую перегрузку
KП.СИС
n
SНТ
≥
SМ (2.16)
где KП.СИС
-
определяется суммарной 2-х частей;
А) за счет летней недогрузки
(1% перегрузки допускается на каждый процент недогрузки, но в сумме не больше
15%);
Б) за счет суточной перегрузки
( графики, рис 5,48, Л2).Максимум Кп.сист =1,2 - для трансформаторов внутренней
установки и Кп,cист- 1,3
-для наружной.
. Двухтрансформаторные
подстанции нужно еще проверить на аварийную перегрузку
Кп.доп-Sнт≥Sм
(2.17)
где Кп.доп = 1.4
Sм- расчетная
максимальная мощность, из которой можно исключить категорию 3. При выборе
трансформаторов для главной подстанции за расчетную мощность принимается не
средняя, а максимальная.
Результаты сведены в таблицу
2.4. В ней К1П.Ф - фактический коэффициент перегрузки при
отключении потребителей категории 3
Таблица 2.4
-
Выбор трансформаторов
|
N.
|
|
Sм
|
SСР
|
Sнт
|
|
|
|
|
|
|
п/ст
|
Категория
|
кВА
|
кВА
|
кВА
|
Кз.г.
|
|
Ки.
доп
|
Кп.ф
|
К'п.ф
|
|
1
|
2
|
812
|
-
|
2*630
|
0.9
|
0.65
|
1,4
|
1.29
|
1.29
|
|
9
|
3
|
1334,7
|
-
|
-
|
|
-
|
|
-
|
-
|
|
3
|
1
|
2415,6
|
-
|
-
|
|
-
|
|
-
|
-
|
|
17
|
2
|
1557,6
|
-
|
2*1000
|
|
0.78
|
|
1.55
|
1,17
|
|
19
|
1
|
1525
|
-
|
2*1000
|
|
0.76
|
|
1.52
|
1.14
|
Техническое
обоснование схемы
Внутренняя схема начинается от
ГП и заканчивается цеховыми подстанциями.
Цехи ответственной категории
записываем 2-мя линиями, цехи категории 3 достаточно запитать одной линией.
Наиболее надежно применить радиальную схему, но при благоприятном расположении
цехов (в ряд от ГП) можно применить и магистральную запитку ТП. Общепринято
применять на территории завода кабельную сеть.
Для магистралей расчетный ток
участка определяется по сумме, проходящих по нему токов потребителей. Кабели
выбираем в такой последовательности:
1. Определяем
экономически выгодное сечение SЭ.
-,(2.18)
берётся ближайшее стандартное
где jЭ
- экономическая плотность тока, табл. 2.26 Л2; jЭ
=
1.2 А/мм2 - при ТМ=8395ч для алюминиевых жил.
2. Выбранное
сечение проверяется (с поправками на допустимый ток) по нагреву в нормальном и
аварийном режиме с учетом допустимой перегрузке.
3.Выбранное сечение проверяется
по потере напряжения:
(2.19)
где -
1%
-
длина кабеля на 1% потери напряжения, справочная величина.
Для каждого намеченного
варианта показываем план завода с указанием подстанций
и кабельных трасс и электрическую однолинейную схему (принятый вариант
показан на чертеже, лист 1)
Результаты
расчетов сведены в таблицу 2.5
Таблица
2.5 - Выбор внутренней схемы
|
Вариант
|
км
|
Iм А
|
jЭ
А/мм2
|
SЭ
мм2
|
Iдоп А
|
1%
км
|
∆U %
|
∆PОЛ кВт/км
|
Кол.
тыс. грн./км
|
|
Радиальная
ГП → ТП 1 ГП → ТП 9 ГП → ТП 3 ГП → ТП 17 ГП →
ТП 19
|
0,288
0,252
0,216
0,162
0,441
|
290,4
130.8 236.8 152 149.6
|
1,2
|
120
120 95 70 70
|
2*185
185 2*155 2*130 2*130
|
920
920 860 780 780
|
0,25
0,02 0,2
0,12 0,3
|
54
54 50 41 41
|
5,486
5,486 4,888 4,303 4,303
|
2.4 Выбор системы внешнего
электроснабжения
Внешняя
схема начинается от шин 10 кВ ГП и заканчивается на ободных шинах районной
подстанции. Т.к. на заводе есть цехи ответственной категории, то питающих линий
должно быть в 2.
При
использовании напряжения Uн = 35 кВ. необходимо на главной подстанции устанавливать
силовые трансформаторы.
2.4.1
Техническое обоснование
Возможны варианты внешней
схемы: Вариант 1- кабельные линии Uн
= 35 кВ длиной l = 4 км;
Вариант 2-
воздушные
линии Uн = 35 кВ длиной l = 4 км;
Вариант
3- кабельные линии Uн = 110 кВ длиной l = 11 км;
Вариант 4-
воздушные линии
Uн = 110 кВ длиной l = 11 км.
Принципиальные
схемы с оборудованием показаны на рис.2.1
Трансформаторы на ГП выбраны в
вопросе 2.3.
Линии выбираем аналогично
выбору внутренней схеме.
Результаты сведены в таблицу
2.7.
Рис. 2.1.- Внешние схемы.
Если на п/ст ЭС напряжение 10
кВ, то В3, В4, Т1, Т2 исключаются.
Таблица.2.7 -
Расчет внешних схем.
|
Вариант
|
l, км
|
Iм, А
|
JЭ,
А/мм2
|
Sэ, мм2
|
Тип
кабеля
|
Iдоп, А
|
∆l 1%,
км
|
∆U, %
|
∆Рол,
кВт/км
|
|
1
|
4
|
1,2
|
70
|
ААБ-35
|
205
|
3020
|
0,47
|
35
|
|
2
|
4
|
145/2
|
1,2
|
70
|
АС-35
|
265
|
1650
|
0,66
|
125
|
Экономическое
обоснование
Каждый вариант связан с
большими затратами, поэтому лучший выбираем технико-экономичным сравнением,
учитывая что кабельные линии дороже воздушных (как правило), более
высоковольтное оборудование дороже, но при этом потери энергии и сечения
проводов ниже.
Стоимостные показатели
вариантов:
n
- количество; l - длинна линии,
км; Koл -
стоимость линии [4]. табл. 26.1 - 26.4;
Ко.об - стоимость комплекта
(ячейки) коммутирующего оборудования [4], табл. 26.28 - 26.33; с выключателем -
4000 грн., с разъединителем - 1000 грн.;
Ко.т - стоимость намеченного к
установке трансформатора [4], табл. 26.14 - 26.23;
∆Рх - потери холостого
хода;
∆Рк - потери короткого
замыкания;
Nа.л.,
Nа.об., Nа.т.
- норма амортизационных отчислений соответственно на линии (разное значение для
воздушных и кабельных), оборудование, трансформаторы [6], табл. 11;
∆Рол - потери мощности на
1 км линии, кВт/км (табл. 2.5);
Расчет готовых затрат сведен в
табл. 2.6. Принятый вариант схемы показан на чертеже, лист 1
Таблица
2.6 - Выбор варианта внутренней схемы
|
Наименование
операции
|
Вариант
1
|
Вариант
2
|
|
1.
Капитальные затраты, грн. K
= KЛ
+
KОБ КЛ
= n
l
КОЛ KОБ
=
n
К0Бб где n
- количество
|
3744960
1400000 78540
|
3220720
875760 78540
|
|
2.
Эксплуатационные расходы, грн. Э = ЭА+ЭП 2.1
Амортизационные отчисления ЭА = NАЛ
KЛ
+
NАОБ KОБ
2.2
Стоимость потерьЭП = ∆W
- C0
2.3
Потери энергии в линиях, кВт ч ∆W
= ∆PОЛ
τП
l
n
( )2
|
316217,8
182698 133519,8 961862,53
|
331647,7
143981,7 183514,8 1416362,3
|
|
3.
Годовые затраты, грн. З = К / 8 + Э
|
784338
|
734237,7
|
|
Принимаем
вариант
|
|
v
|
2.5 Расчет токов короткого замыкания
Токи короткого замыкания (ТКЗ)
рассчитывают для проверки стойкости к ним оборудования и чувствительности
релейной защиты (вопрос 2.7). Принято рассчитывать токи короткого трехфазного
замыкания как наибольшие. Определяют два значения ТКЗ:
IПО
- действующее значение периодической составляющей; по ней проверяют
оборудование на нагрев. IУ
-
ударный (мгновенный максимальный) ток КЗ;
IУ
=
КУ
IПО
где КУ - ударный
коэффициент (от 1до 2) определяется по обстоятельствам по табл.6.Л.1
В нашем случае (сеть 10 кВ) КУ=1,369
Составляем расчетную схему для точки КЗ, где
показываем элементы цепи, имеющие большое сопротивление (система, линии,
трансформаторы, если есть); По расчетной схеме составляем схему замещения,
учитывают обычно только реактивное сопротивление.
Б
= 100 МВА; UБ = 10.5 кВ (среднее
значение для сборных шин);
Вычисляем базовые токи:
IБ = 
= 5.6 кА (2.20)
Вычисляем сопротивление системы:
Х1
= 
= 0.14 (2.21)
Вычитаем сопротивление линии 1:
X2 = ХО
l1
=
0.1 (2.22)
где Хо = 0.4 Ом/км - для воздушных линий; Хо =
0.08 Ом/км - для кабельных линий;
Сопротивление линии 2:
X3 = ХО
l2
= 0.03 (2.23)
Определяем результирующее сопротивление до точки
К1:
Хрез.1
= Х1+Х2 = 1.34 (2.24)
Определяем результирующее сопротивление до точки
К2:
Хрез.2
= Х1+Х2+Х3 = 1.6 (2.25)
Вычисляем токи короткого замыкания в точке К1:
IП.О.=
= 1.2кА (2.26)
ίу1 =
IП.О
ку= 2.7 кА
(2.27), где кУ =1.369
Вычисляем токи короткого замыкания в точке К2:
IП.О.С =
= 3.5 кА (2.28)
ίу2 =
IП.О.С
кУ = 6.7 кА (2.29)
Результаты сведены в таблицу
2.8.
Таблица 2.8 -
Расчет ТКЗ.
|
IБ
|
Х1
|
Х2
|
Х3
|
∑Х1
|
∑Х2
|
IП.О кА
|
ίу1 кА
|
IП.О.С кА
|
ίу2 кА
|
|
5.6
|
0.14
|
0.1
|
0.03
|
1.34
|
1.6
|
1.2
|
2.7
|
3.5
|
6.7
|
2.6 Выбор оборудования
Необходимо выбрать для одного
присоединения коммутирующее оборудование, измерительные трансформаторы тока и
проверить кабель по стойкости к ТКЗ, для сборных шин выбираем трансформатор
напряжения. Все перечисленное оборудование выбирается по длительному режиму и
проверяется на действие ТКЗ. По ПУЭ кабели можно не проверять, если есть
резерв. Выбор коммутирующего оборудования и ТТ сведен в таблицу 2.9.
Трансформаторы тока нужно еще
проверить по вторичной нагрузке на точность, т.е. выбрать допустимое сечение
соединительных проводов (они входят в нагрузку).В таблице 2.10 указаны
подсоединяемые к ТТ приборы (в соответствии с ПУЭ), их нагрузка.
Таблица
2.9 - Выбор оборудования.
|
Расчетные
данные
|
Каталожные
данные
|
|
Выключатель
масляный ВМПЭ-10-630-20УЗ
|
Трансформатор
тока ТПЛ-10-400-КУЗ
|
|
Uн =
10 кВ
|
10
кВ
|
10
кВ
|
|
IМ =
145 А
|
630
А
|
400
А
|
|
IП.О =
3.5 кА
|
20
кА
|
-
|
|
ίу =
6.7 кА
|
52
кА
|
74.5
кА
|
Таблица
2.10 - Сведения о нагрузке ТТ.
|
Приборы
|
Тип
|
Нагрузка,
ВА
|
|
|
Фаза
А
|
Фаза
В
|
Фаза
С
|
|
Амперметр
Счетчик активный Счетчик реактивной энергии Итого
|
Э-335
И-680 И-676
|
0,5
2,5 2,5 5,5
|
-
- 2.5 2.5
|
-
2.5 2.5 5.0
|
Как
видно, условия выбора выполняется для всего намеченного оборудования, оно
заключается в том, что бы допустимые параметры были больше расчетных.
.7 Релейная защита и автоматика
Выбор релейной
защиты
Релейная защита дает команду на
отключение коммутирующего аппарата (при
опасных повышении тока или напряжения), на ТП есть присоединение вводов, трансформаторов,
двигателей. Вводы имеют защиту установленную на ГП значит выбираем РЗ для
двигателей (до 1000 кВт) и для трансформаторов. По ПУЭ двигатели нужно защищать от внешних КЗ, от перегрузки, от замыканий на
землю, применяют обычно максимальные токовые защиты. Трансформаторы
нужно защищать от замыканий на землю на низкой стороне трансформаторов.
Линии напряжения 6 - 35 кВ
нужно защищать от междуфазных коротких замыканий, перегрузки и однофазных
замыканий на землю при токе замыкания более
10А. Конденсаторные установки напряжением 6-10 кВ нужно защищать от междуфазных
коротких замыканий (предохранителями или МТЗ) и однофазных замыканий на землю
при токе замыкания на землю более 20А.
Расчет ПЗ двигателей
Намечаем отсечку, защиту от
перегрузки, защиту от замыкания на землю при токе замыкания на землю
больше
10 А
Номинальный ток двигателя
определяем

(2.30)
Ток срабатывания реле отсечки
(2.31)
Где
= 1.8 для реле РТ-40 коэффициент
надежности
=
для схемы неполной звезды
= 5 - коэффициент пуска
Чувствительность отсечки проверяем
по формуле:
Где
коэффициент трансформации ТТ, она не
должна быть меньше 2.
Для отсечки принимаем реле РТ-40
Ток срабатывания защиты от
перегрузки определяем по формуле
Где
- коэффициент возврата, для реле
РТ-40 рекомендуется 0,85
Выдержка времени должна быть больше
времени пуска
Результаты режима приведены в
таблице 2.11. Защита чувствительна.
Табл. 2.11. -
Расчет защит
|
От
КЗ
|
От
перегрузки
|
|
,
А
|
|
,
А
|
|
,
А
|
,
с
|
|
43,7
|
100/5
|
33.4
|
13
|
5.2
|
≥
|
Защиту от замыканий на землю не
используем, т.к. ток замыкания на землю
меньше
10 А
Где l
- общая длина линий, присоединенных к сборным шинам
Выбор релейной
защиты
Назначение автоматики- дополнять работу релейной
защиты с целью обеспечения качественного электроснабжения.
Виды автоматики:
Автоматическое включение резерва - АВР
Автоматическая токовая разгрузка - АТР
Автоматическое повторное включение - АПВ
Автоматическая частотная разгрузка - АЧР
Для подстанции ТР-1 обязательными являются АВР
трансформаторов на контакторах
2-0
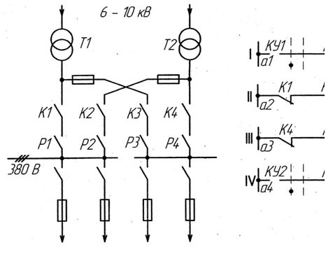
На примере разберем схему АВР трансформаторов на
контакторах.
Рис. 2.4 - АВР трансформаторов, схема на
контакторах. Работа схемы АВР трансформаторов.
В нормальном режиме включены контакторы К1 и К4.
При исчезновении напряжения на секции 1 0,4 кВ отключается контактор К1 и
своими блок - контактами обеспечит включение контактора К2, т.е. к оставшемуся
в работе трансформатору Т2 будет подключена секция 1. Принципиально также схема
работает на отключение контактора К4 и включение контактора КЗ при исчезновении
напряжения на секции 2.
III. ТЕХНИКА БЕЗОПАСНОСТИ
.1 Общие требования по
электробезопасности
Электробезопасность это система организационных
и технических мероприятий и средств, обеспечивающих защиту людей от опасного и
вредного воздействия электрического тока, электрической дуги, электромагнитного
поля и статического электричества.
Поражение человека воздействием тока или дуги
возможно в случаях:
- однофазного
прикосновения неизолированного от земли человека к неизолированным токоведущим
частям электроустановки, находящейся под напряжением;
- одновременного
прикосновения человека к двум токоведущим неизолированным частям
электроустановки, находящейся под напряжением;
- приближения
на опасное расстояние человека не изолированного от земли к токоведущим, не
защищенным изоляцией частями электроустановки, находящейся под напряжением;
- прикосновения человека не изолированного от
земли, к металлическим корпусам электроустановок, оказавшимся случайно под
напряжением;
- включения
человека, находящегося в зоне растекания тока при замыкании на землю в
электрической сети, на шаговое напряжение;
- прохождение тока молнии при грозовом разряде;
- прохождение импульсивного тока при быстром
разряде электрической емкости;
- воздействие
пламени электрической дуги;
- в процессе
освобождения человека, оказавшегося под напряжением, без применения
индивидуальных средств защиты.
Электрический ток при прохождении через тело
человека производит термическое, химическое и биологическое воздействие на
органы и ткани, чем нарушает нормальную жизнедеятельность.
Биологическое действие тока проявляется в
опасном возбуждении нервной системы, может сопровождаться параличом мышц
грудной клетки и параличом сердечных мышц. В результате паралича возможна
смерть. Степень поражения зависит от значения тока, пути его прохождения и
длительности.
При длительности в секунду допустимый ток
примерно 50 мА.
Перечень основных мероприятий по
электробезопасности:
- защита
от случайных прикосновений;
- применение
блокировок, ограждений,
- установка
заземляющих разъединителей;
- устройство
защитного отключения;
- применение
разделяющих трансформаторов;
- применение
предупредительной сигнализации;
- защита
персонала от воздействия электромагнитных полей - обычных и ВЧ;
- использование коллективных и индивидуальных
средств защиты.
3.2 Действие электрического тока на
организм человека
Электрический ток, действуя на организм
человека, может привести к различным поражениям: электрическому удару, ожогу,
металлизации кожи, электрическому знаку, механическому повреждению,
электроофтальмии (табл. 1).
Табл.3.-Характеристика воздействия на человека
электрического тока различной силы
|
Сила
тока, мА
|
Переменный
ток 50 - 60 Гц
|
Постоянный
ток
|
|
0,6
- 1,5
|
Легкое
дрожание пальцев рук
|
Не
ощущается
|
|
2
- 3
|
Сильное
дрожание пальцев рук
|
Не
ощущается
|
|
5
- 7
|
Судороги
в руках
|
3yд.
Ощущение нагревания
|
|
8
- 10
|
Руки
с трудом, но еще можно оторвать от электродов. Сильные боли в руках, особенно
в кистях и пальцах
|
Усиление
нагревания
|
|
20
- 25
|
Руки
парализуются немедленно, оторвать их от электродов невозможно. Очень сильные
боли. Затрудняется дыхание
|
Еще
большее усиление нагревания, незначительное сокращение мышц рук
|
|
50
- 80
|
Паралич
дыхания. Начало трепетания желудочков сердца
|
Сильное
ощущение нагревания. Сокращение мышц рук. Судороги. Затруднение дыхания
|
|
90
- 100
|
Паралич
дыхания и сердца при воздействии более 0,1 с.
|
Паралич
дыхания
|
Электрический удар ведет к
возбуждению живых тканей; В зависимости от патологических процессов, вызываемых
поражением электротоком, принята следующая классификация тяжести электротравм
при электрическом ударе:
· электротравма I
степени - судорожное сокращение мышц без потери сознания;
· электротравма II
степени - судорожное сокращение мышц с потерей сознания,"
· электротравма III
степени - потеря сознания и нарушение функций сердечной деятельности или
дыхания (не исключено и то и другое);
· электротравма IV
степени - клиническая смерть.
Степень тяжести электрического
поражения зависит от многих факторов: сопротивления организма, величины,
продолжительности действия, рода и частоты тока, пути его в организме, условий
внешней среды.
Исход электропоражения зависит
и от физического состояния человека. Если он болен, утомлен или находится в
состоянии опьянения, душевной подавленности, то действие тока особенно опасно.
Безопасными для человека считаются переменный ток до 10 мА и постоянный - до 50
мА.
Ø Электрический ожог
различных степеней - следствие коротких замыканий- в электроустановках и
пребывания тела (как правило, рук) в сфере светового (ультрафиолетового) и
теплового (инфракрасного) влияния электрической дуги; ожоги III и IV степени с
тяжелым исходом - при соприкосновении человека (непосредственно или через
электрическую дугу) с токоведущими частями напряжением свыше 1000 В.
Ø Электрический знак
(отметка тока) - специфические поражения, вызванные механическим, химическим
или их совместным воздействием тока. Пораженный участок кожи практически
безболезнен, вокруг него отсутствуют воспалительные процессы. Со временем он
затвердевает, и поверхностные ткани отмирают. Электрознаки обычно быстро
излечиваются.
Ø Металлизация кожи -
так называемое пропитывание кожи мельчайшими парообразными или расплавленными
частицами металла под влиянием механического или химического воздействия тока.
Пораженный участок кожи приобретает жесткую поверхность и своеобразную окраску.
В большинстве случаев металлизация излечивается, не оставляя на коже следов.
Электроофтальмия - поражение глаз ультрафиолетовыми лучами, источником которых
является вольтова дуга. В результате электроофтальмии через несколько часов
наступает воспалительный процесс, который проходит, если приняты необходимые
меры лечения.
В условиях производства поражение электротоком
чаще всего является следствием того, что люди прикасаются к токоведущим частям,
находящимся под опасным напряжением.
ПЕРЕЧЕНЬ ССЫЛОК
1. Липкин А.Ю.
"Электроснабжение промышленных предприятий и установок", Высшая
школа, 1990г.
2. Методические указания.
"Электроснабжение промышленных предприятий", ММТ 2006г.
. Федоров А.А.
"Электрический справочник по электроснабжению промышленных
предприятий", том 1 и 2. Энергия 1980 - 1981г.