Модернизация системы приготовления бурового раствора
Федеральное
государственное автономное образовательное учреждение высшего профессионального
образования
«СИБИРСКИЙ
ФЕДЕРАЛЬНЫЙ УНИВЕРСИТЕТ»
ИНСТИТУТ
НЕФТИ И ГАЗА
Кафедра:
«Машины и оборудование нефтяных и газовых промыслов»
КУРСОВОЙ
ПРОЕКТ
МОДЕРНИЗАЦИЯ
СИСТЕМЫ ПРИГОТОВЛЕНИЯ БУРОВОГО РАСТВОРА
Пояснительная
записка
Красноярск
2009
Техническое задание
Рассчитать обсадные колонны и выбрать буровое
оборудование для скважины, проект которой показан на рисунке.
Произвести расчет циркуляционной системы.
Модернизация системы приготовления бурового
раствора.
Рисунок - Схема обсадных колонн
Содержание
Введение
.
Значение буровых растворов при бурении скважин
.
Оборудование для приготовления буровых растворов
.
Система приготовления бурового раствора
.
Расчет обсадных колонн
.1
Расчет эксплуатационной колонны
.2
Расчет промежуточной колонны
.3
Выбор бурового оборудования
.
Гидравлические расчеты при промывке скважины
.1
Гидравлические потери
.
Патентно информармационый обзор
.
Экологические проблемы при бурении скважин
Список
использованной литературы
Введение
Циркуляционная система буровых установок
включает в себя наземные устройства и сооружения, обеспечивающую промывку
скважин путем многократной пренудительной циркуляции бурового раствора по
замкнутому кругу насос - забой скважины - насос. Многократная замкнутая
циркуляция даетзначительную экономическую выгоду благодаря сокращения расхода
химических компонентов и других ценных материалов, входящих в состав буровых
растворов. Важно также отметить, что замкнутая циркуляция предотвращает
загрязнения окружающей среды стоками бурового раствора, содержащие химически
агрессивные и токсичные компоненты.
Циркуляционные системы буровых установок состоят
из взаимосвязанных устройств и сооружений, предназначенных для выполнения
следующих основных функций приготовления буровых растворов, очистки бурового
раствора от выбуренной породы и других вредных примесей, прокачивания и
оперативного регулирования физико механических свойств бурового раствора. В
состав циркуляционной системы входят также всасывающие и напорные линии
насосов, емкости для хранения раствора и необходимых для приготовления
материалов, желоба, отстойники, контрольно-измерительные приборы и др. Циркуляционные
системы монтируются из отдельных блоков, входящих в комплект поставки буровых
установок. Блочный принцип изготовления обеспечивает компактность
циркуляционной системы и упрощает ее монтаж и техническое обслуживание.
Важнейшие требования, предъявляемые к
циркуляционным системам буровых установок это качественное приготовление,
контроль и поддержания необходимых для данных геолого технических условий
состава и физико-механическихсвойств бурового раствора. Привыполнении этих
требований достигается высокие скорости бурения и в значительной мере
предотвращаютя многие аварии и осложнения в скважине.
Буровой раствор циркулирует по замкнутой
системе, т.е. раствор, закачиваемый в скважину, выходит из нее и снова должен
закачиваться в скважину. Но параметры выходящего из скважины бурового раствора
совсем не те, которые были при закачке. В нем будет выбуренная порода в виде
отдельных частиц, а также часть породы, например глина, может растворяться в
растворе. Кроме того, в раствор могут попасть минерализованные подземные воды и
газ, а также могут воздействовать повышенная температура и давление, которые
изменяют его физические свойства. В ряде случаев часть раствора поглощается
пластами и при бурении приходится периодически добавлять свежий раствор.
Поэтому циркуляционная система буровой установки
должна быть оборудована устройствами для очистки выходящего раствора газа,
выбуренной породы, песка и ила, а очищенный раствор нужно восстанавливать, т.
е. довести до требуемых вязкости, плотности, водоотдачи и других параметров,
которыми он обладал до закачки в скважину. В ряде случаев в зависимости от
буримых пород необходимо изменять свойства раствора.
1. Значение буровых растворов при бурении
скважины
В результате бурения скважины на нефтегазоносных
площадях должен быть создан долговечный, прочный изолированный канал,
связывающий продуктивный горизонт с дневной поверхностью. Решающее значение при
проводке скважины имеют буровые промывочные и тампонажные растворы. От их
способности выполнять свои функции в различных геолого-технических условиях
зависит не только эффективность буровых работ, но и срок службы скважины.
Тяжелые осложнения в процессе бурения, а в
некоторых случаях ликвидации скважины, нарушение режима эксплуатации нефтяных и
газовых месторождений,связанные со значительным ущербом народному хозяйству,
могут быть обусловлены низким качеством буровых и растворов, отсутствием
надежных методов и средств управления ими. Все это обуславливает
целесообразность затрат на повышение качества этих систем.
Различают физические и химические свойства
бурового раствора. В свою очередь, физические свойства делятся на
термодинамические, коллоидно-реологические, фильтрационные, теплофизические и
электрические (рис. 1).
Основная технологическая операция промывки
скважины - прокачивание бурового раствора по ее стволу. Однако для выполнения
этой операции необходимо реализовать вспомогательные операции: приготовление
раствора, его утяжеление, обработку химическими реагентами, очистку от шлама и
газа и др.
Технологическое оборудование для промывки
скважины (рис 2) представляет собой ряд взаимосвязанных систем: приготовление и
обработки бурового раствора, очистки его от шлама и газа, циркуляции. Каждая
система включает ряд блоков или несколько единиц оборудования.
Рис. 1 - Классификация основных свойств бурового
раствора
Эффективность работы каждого блока зависит от
качества работы всех систем.
Для обеспечения необходимых свойств буровые
растворы обрабатывают химическими реагентами. Различают первоначальную
обработку бурового раствора, когда его готовят к началу бурения, и
дополнительную обработку для поддержания и ли изменения свойств в процессе
проводки ствола скважины.
Обработка химическими реагентами приводится для
обеспечения тех или иных качественных показателей, но основное ее назначение -
стабилизация бурового раствора как дисперсной системы либо изменению
структурнго-механических свойств этой системы.
Рис. 2 - Классификационная схема
технологического оборудования для промывки скважины
Реагенты, применяемые для обработки буровых
растворов, по характеру действия и назначению можно разделить на две группы:
электролиты и защитные высокомолекулярные вещества. Кроме того, для
регулирования свойств буровых растворов используют добавки, которые делятся на
поверхностно-активные вещества, снижающее поверхностное натяжение на границе с
газом и нефтью; пеногасители; утяжелители и смазочные добавки.
2. Оборудование для приготовления буровых
растворов
Конструкция оборудования для приготовления
буровых растворов зависит от применяемых исходных материалов - глин,
утяжалителей и химических реагентов. Для приготовления растворов, из сухих
порошкообразных материалов требуется лишь тщательное перемешивание и создание
условий для полного смачивания твердых частиц. Для приготовления растворов из
комовых материалов или влажных порошков необходимо предварительное дроблении
кусков или слипшихся комков. Процессы дробления исходных твердых материалов и
перемешивания их с водой осуществляется в механических или гидравлических
мешалках.
Наиболее прогрессивным и экономичным является
оборудование приготовления растворов из сухих порошкообразных материалов.
В связи с возрастающим применением
порошкообразных материалов в последние годы преимущественное распространение
получили гидравлические устройства. По сравнению с механическими глиномешалками
они обладают более высокой производительностью, обеспечивают необходимое
качество буровых растворов и экономное расходование материалов для их приготовления.
Положительно зарекомендовали себя
гидроэжекторные смесители блоков приготовления бурового раствора (БПР).
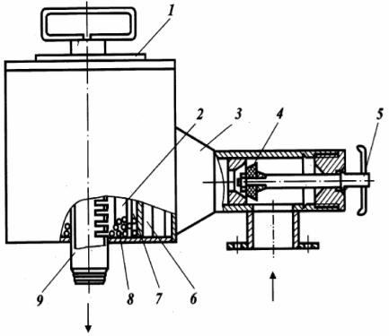
Выносной гидроэжекторный смеситель 9 (рис.1)
представляет собой струйный аппарат, в котором для образования гидросмеси
порошкообразных материалов используется кинетическая энергия жидкости. Буровые
насосы под давлением не более 4МПа нагнетают жидкость по трубе 12 в сопло 11
смесителя, снабженными сменными штутцерами диаметром 30 мм для работы с
глинопорошками и диаметром 20 мм для работы с утяжелителями. В следствии
сужения струи скорость жидкости в сопле увеличивается, а давление падает. Из
сопла жидкость с пониженным давлением поступает в камеру всасывания.
В результате создаваемого разряжения в камеру
всасывания из силоса 1 по шлангу 7 засасывается порошкообразный материал,
который увлекается жидкостью в камеру смешения и далее в конический
расходящийся насадок (диффузор). При прохождении по диффузору скорость потока
уменьшаестя, а давление возрастает и полученый раствор по патрубку 10 сливается
в приемную емкость циркуляционной системы. За один цикл смешения плотность
раствора возрастает на 0,30-0,35 г/см3.
Рис. 3 - Конструктивная схема блока
приготовления бурового раствора
При недостаточной плотности бурового раствора
проводится повторное смешение. Гидроэжекторный смеситель имеет относительно
низкий КПД, однако обладает высокой надежностью благодаря отсутствию подвижных
частей. Блоки для приготовления бурового раствора рассчитаны для работы с
бестарными и затареными глинопорошками. Основная масса глинопорошков
доствляются автоцементовозами и под действием сжатого воздуха перегружается по
трубе 3 в силос 1. Перед подачей в гидроэжекторный смеситель порошкообразные
материалы разрыхляются воздухом, нагнетаемый в силос по аэродорожкам 6 системе
аэрирования 5. Избыточный воздух выносится в атмосферу через фильтр 2,
установленный на крышке силоса. Нижняя часть силоса имеет конусообразную форму
и снабжена разгрузочным устройством 4, регклирующим подачу материала в
гидроэжекторный смеситель. Материалы, используемые в небольших количествах,
доставляются в затареном виде и засыпаются в воронку 8, из которой поступают в
камеру гидроэжектора. Воронка снаюжена разгрузочным клапаном для регулирования
подачи материалов.
Гидравлический диспергатор ДГ-1 (рис. 4)
используется для тонкого измельчения твердых и жидких фаз бурового раствора. Он
состоит из камеры 2, входной дугообразной 1 и сливного патрубка 4. На концах
входной трубы с помощью накидных гаек установлены сменные насадки из твердых
сплавов или металлокерамических материалов. Диаметр насадок выбирают в
зависимости от подачи буровых насосовя, используемые для нагнетания бурового
раствора в диспергатор:
Подача буровых насосов, л/с 16 20
24 28 32 38
Диаметр насадок, мм 11-12 12-13 14
14-15 15-16 17
Рис. 4 - Гидравлический диспергатор
Встречные высокоскоростные потоки раствора,
выходящие из насадок 3, приводят к гидродинамической кавитации. Ультразвуковые
колебания, создаваемые в кавитирующем растворе, усиливают диспергирование
твердых и жидких фаз. В приемных емкостях циркуляционной ситемы устанавливают
гидравлические и механические перемешиватели, обеспечимвающие равномерное
распределение компонентов бурового раствора и предотвращающие его расслоение.
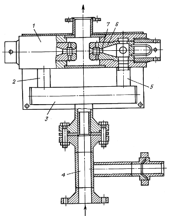
Гидравлический перемешиватель действует подобно
гидромонитору. Раствор посредством бурового или центробежного насоса подается в
приемный патрубок 1 (рис. 5) гидравлического перемешивателя. Оттуда раствор
поступает в ствол 2, вращающейся на шарикоподшипниках замкового типа. Между
приемным патрубком и стволом устанавлены уплотнения, предотвращающие утечку и
попадание раствора а подшипники. На конце ствола при помощи накидной гайки 3
устанавливается конически сходящая насадка 4 для повышения скорости, дальности
действия и силы удара раствора, выбрасываемого из ствола.
Рис. 5 - Гидравлический перемешиватель
На рисунке 3 показана конструкция
самовращающегося перемешивателя ПГС. Реактивная пара сил, возникающая при
высокоскоросном истечении раствора из насадок 4, расположенных на
противоположно направленных колонах 6, приводит во вращение крестовину 5.
Благодаря этому перемешивание и размывание сгустков происходят по всему объему
бурового раствора.
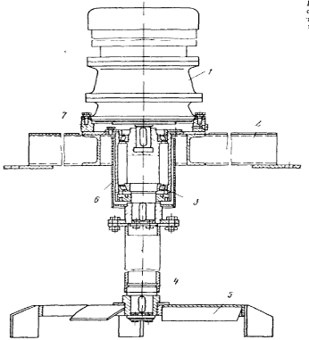
Механический перемешиватель (рис. 6), состоящий
из мотор-редуктора 1, вала 4 и мешалки 5, устанавливается на раме 2, которая
крепится болтами к верхней площадке емкости для бурового ратсвора. Вал
составной конструкции вращается на конических подшипниках 3, установленных в
стакане 7 и защищенных от попадания раствора кожухом 6. Мешака распологается на
небольшом расстоянии от дна емкости и при вращении создает потоки,
перемешивающий буровой ратсвор и припятствующий осаждению утяжелителей.
Рис. 6 - Механический перемешиватель
Диспергатор ДГ-2 (рис. 7) предназначен для
диспергирования твердой и эмульгирования жидких фаз в буровых растворов и
других жидкостей специального назначения при их приготовлении. Применяются при
строительстве и капитальном ремонте скважин в нефтяной и газовой
промышленности, а также в других отраслях при работе с насосами высокого
давления. Обеспечивают сокращение расхода материалов и ускорение приготовления
и утяжеления буровых растворов
Рис. 7 - Гидравлический диспергатор типа “струя
в струю” ДГ-2:
- корпус; 2,5 - патрубки; 3 - коллектор; 4 -
выходной патрубок; 6 - сопло; 7 - насадка.
Диспергатор ДШ-100 (рис. 8) предназначен для диспергирования
твердой и эмульгирования жидких фаз в буровых растворов и других
технологических жидкостей при их приготовлении. Применяются при строительстве и
капитальном ремонте скважин в нефтяной и газовой промышленности, а также в
других отраслях при работе с насосами низкого давления.
Рис. 8 - Диспергатор циклонный шаровый ДШ-100:
- крышка; 2 - внутренняя камера; 3 - патрубок; 4
- клапан; 5 - запорное устройство; 6 - наружняя камера; 7 - щелевидное сопло; 8
- мелющие тела; 9 - фильтр.
Приимущества этих диспергаторов в следующем:
низкая энергоемкость процесса диспергирования, безопасность работ, сокращение
расходов материалов, простота обслуживания и эксплуатации.
Механические двухвальные мешалки применяют для
приготовления и утяжеления буровых растворов из комовых материалов, а также для
приготовления жидких химических реагентов.
Буровые растворы в двухвальных мешалках можно
приготовлять из любых комовых материалов вплоть до смержихся кусков глины или
утяжелителя. Высокое качество приготовления растворов сочетается с низкой
производительностью. При загрузке глиномешалки комовой глины выход суспензии
составляет
, а при загрузке
глинопорошка -
.
На буровых двухвальные мешалки монтируют на
высоких деревянных или стальных основаниях. Поэтому приготовленная суспензия
сливается в желоб самотеком. Твердые материалы в мешалки в большинстве случаев
подается на вогонетками, которые передвигаются по наклонному рельсовому пути с
помощью канатов и системы блоков, связанных с валами мешалки. Вагонетки
загружают у основания рельсового пути вручную; выгрузку их в приемную воронку
мешалки осуществляется механически.
На многих буровых предприятиях двухвальные мешалки
используют для приготовления жидких химических реагентов из бурового угля и
щелочи или других твердых компонентов.
При переходе на сухие порошки необходимость в
применении двухвальных мешалкок отпадает.
Разновидностью механических мешалок являются
фрезерно-струйные мельницы (ФСМ), разработанные Воронежским
инженерно-строительным институтом для приготовления и утяжеления буровых
ратворов из комовых материалов.
Фрезерно-струйная мельница ФСМ-3 состоит из
следующих основных узлов: ротора, приемного бункера, предохранительной приемной
плиты, диспергирующей рифленой плиты, ловушки и лопатка для отвода готовой
суспензии. Она является машиной непрерывного действия сравнительно высокой
производительности.
Суспензия, полученая во фрезерно-струйной
мельнице, имеет нераспустившиеся твердые частицы и требуют дополнительного
перемешивания или многократной циркуляции по схеме мельница-резервуар-мельница.
Это является существенным недостатком.
буровой раствор скважина
оборудование колонна
3. Система приготовления бурового раствора
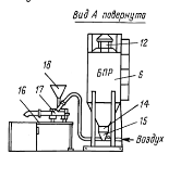
Для осуществления такого технологического
процесса описанного на рисунке 9, оборудование связывают в единую систему.
Рис 9 - Схема приготовления бурового раствора
Приготавливают новую порцию бурового раствора в
последней емкости ЦС, на которой устанавливают гидроэжекторные смесители с
воронками и гидравлический диспергатор. Буровые насосы обвязывают с блоком
приготовления раствора таким обоазом, чтобы они могли подавать раствор в
диспергатор по линии высокого давления, в гидроэжекторные смесители - по линии
низкого давления (до 4МПа). Схема движения жидкости может быть следуйщей:
а) емкость ЦС - буровой насос - линия высокого
давления через задвижку 13 - гидравлический диспергатор - емкость ЦС;
б) емкость ЦС - буровой насос - линия высокого
давления через задвижку 13 - диспергатор - гидроэжекторный смеситель - емкость
ЦС;
в) емкость ЦС - буровой насос - линия низкого
давления через задвижку 10 - гидроэжекторный смеситель - емкость ЦС;
г) емкость ЦС - буровой насос - линия низкого
давления через задвижку 10 - емкость ЦС;
Первый этап приготовления бурового раствора -
это расчет компонентного состава. Для водоглинестого состава обычно используют
два-три компонента: глинопорошок и глину; глинопорошок, воду и порошкообразный
барит. Количество глинопорошка для получения неутяжеленой водоглинестой
суспензии выбирают по справочникам.
На гидроэжекторном смесители устанавливают
штуцер в соответствии с подачей насосов:
Подача насоса, л/с
35 15-35 15
Диаметр штуцера в эжекторном смесителе, мм
40 25 20
Воздух для аэрации порошка в бункере БПР подают
в течении 5-7 минут при давлении воздуха 0,02-0,03 МПа.
Буровой насос включают по схеме емкость -
гидравлический диспергатор - гидроэжекторный смеситель - емкость. При этом
значение давления на выкиде насоса должно составлять 13-15 МПа, а вакуума в
камере эжекторного смесителя - не менее 0,02 МПа.
После предварительной аэрации открывают
воздушный вентиль и подают воздух в гофрированный рукав БПР. Таким способом
регулируют величину вакуума в камере гидроэжекторного смесителя в пределах
0,008-0,012 МПа.
Затем открывают запорную заслонку разгрузочного
отверстия бункера и вводят в циркулирующую воду через эжекторный гидросмеситель
оасчетное количество глинопорошка, после чего запорную заслонку закрывают, прекращают
доступ воздуха в камеру гидроэжектора и диспергируют водноглинестую суспензию в
течении пяти-восьми циклов круговой циркуляции через диспергатор.
Приготовленную водоглинестую суспензию разбавляют водой до расчетного объема и
тщательно перемешивают.
При необходимости приготовления утяжеленого
бурового раствора выполняют третий этап - утяжиление приготовленной
водоглинестой суспензии. Все элементы операции с порошкообразным баритом
аналогично описаны выше. Процесс утяжеления заканчивается перемешиванием
раствора после введения в него расчетного количества барита. Интенсивность
утяжеления водоглинестой суспензии регулируют величиной вакуума в камере
эжекторного гидросмесителя с помощью воздушного вентиля в соответствии со
справочниками.
В случае необходимости регулируют
технологические свойства приготовленного бурового раствора путем введения через
воронку гидроэжекторного смесителя химических реагентов.
Прогрессивная технология приготовления буровых
растворов позволяет предельно механизировать этот трудоемкий процесс по всей
цепочке - от производителя материалов до циркуляционной системы буровой
установки.
4. Расчет обсадных колонн
Рисунок 3 - Схема обсадных колонн.
.1 Расчет эксплуатационной колонны
Диаметтр эксплуатационной колонны
.
Плотность цементного раствора
.
Плотность бурового раствора
.
Интервал с АВПД = 4000 - 3500 м.
Пластовое давление в период ввода скважины в
эксплуатацию
.
Пластовое давление при окончании эксплуатации
.
Колонна должна быть зацементирована до устья.
Найдем избыточные наружные давления на
заключительной стадии эксплуатации скважины. Поскольку колонна зацементирована
по всей длине, избыточное наружное давление у устья
.
На глубине
:
(5.1)
где h - высота верхнего цементируемого участка в
обсадной колонне, м;
, коэффициент
нагрузки;
, ускорение
свободного падения, м /с2.
На глубине
:
.
(5.2)
Для определения избыточных внутренних давлений в
период проверки герметичности колонны опресовкой, вычислим наибольшее давление
у устья в начальный период эксплуатации.
(5.3)
где
,
средняя плотность пластовой нефти, кг/м3.
Давление у устья при опресовке колонны :
(5.4)
Избыточное внутреннее давление на глубине
:
(5.5)
Построим эпюры избыточных наружных и внутренних
давлений.
Рисунок 4- Эпюра избыточных наружных и
внутренних давлений.
Вычислим необходимую прочность труб на разрыв в
устьевом сечении:
(5.6)
где
коэффициент
запаса прочности на разрыв, для труб диаметром 114 - 219 мм.
Вычислим необходимую прочность труб на разрыв у
башмака колонны:
(5.7)
Во избежание смятия во избежание смятия нижнюю
секцию необходимо составить из труб, критическое давление которых:
(5.8)
где
коэффициент
запаса прочности на смятие для секций эксплуатационной колонны.
Эту секцию можно составить из труб критическое
давление которых
, а внутреннее
давление при котором напряжение в теле трубы достигает предела текучести
Это
трубы группы прочности М, с толщиной стенки 12,1 мм. Вес одного метра труб
Длина нижней секции перекрывающей продуктивный
пласт равно длине интервала с АВПД = 4000 - 3500 = 500 м.
Вес нижней секции:
(5.9)
Во избежание смятия для второй снизу секции
необходимы трубы для которых:
(5.10)
где
.
коэффициент запаса прочности на смятие.
Эта секция составляется из труб группы прочности
К с толщиной стенок
, для которых
и
Третью секцию составим из труб группы прочности
Д , с толщиной стенок
, для которых
и
Допустимая глубина спуска третьей секции:
(5.11)
Тогда длина второй секции:
Вес второй секции:
Четвертая секция составляется из труб группы
прочности Д с
,
для которых
и
Допустимая глубина спуска этой секции:
(5.12)
Округлим это значение до 2550 м, трубы имеют
фиксированную длину 12,5м.
Длина третьей секции:
Вес третьей секции:
В нижнем сечении четвертой секции напряжение
осевого растяжения:
(5.13)
Определим фактический коэффициент запаса
прочности на смятие:
где
предел
текучести, МПа.
Так как неравенство выполняется, то коэффициент
запаса прочности на смятие достаточен.
Глубина верхнего сечения четвертой секции:
(5.14)
Вычислим допустимую длину четвертой секции:
(5.15)
где
допустимая
растягивающая нагрузка при которой напряжение в теле трубы достигает предела
текучести, кН.
(5.16)
Достаточной является длина четвертой секции
Вес четвертой секции:
Таблица 1 - Конструкция эксплуатационной колонны
|
Номер
секции
|
Интервал
глубин, м.
|
Группа
прочности
|
Толщина
стенки, мм.
|
Вес
секции, кН.
|
|
1
|
4000-3500
|
500
|
М
|
12,1
|
227,85
|
|
2
|
3500-3070
|
430
|
К
|
12,1
|
195,95
|
|
3
|
3070-2550
|
520
|
Д
|
12,1
|
236,96
|
|
4
|
2550-0
|
2550
|
Д
|
10,6
|
236,96
|
|
Итого:
|
|
4000
|
|
|
1690,6
|
.2 Расчет промежуточной колонны
Глубина спуска
Наружний диаметр промежуточной колонны
.
В интервале 3500-700м. залегают проницаемые
песчаники с пластовым давлением 68 МПа; выше пластовые давления
гидростатические.
Герметичность колонны предполагается проверить
опресовкой буровым раствором с плотностью
.
Избыточное наружное давление на устье
На глубине
:
(5.17)
Избыточные внутренние давления в период
опресовки за один прием. Наибольшее давление на устье в случае закрытого
превентора после начала нефтегазоводопроявления:
(5.18)
Давление у устья при опресовке колонны:
(5.19)
Избыточное давление у башмака колонны:
(5.20)
Строим эпюры избыточных наружных и внутренних
давлений
Рисунок 5 - Эпюры избыточных нарыжних и
внутренних давлений.
Первую снизу секцию составим из труб группы
прочности Л исполнения Б с толщиной стенок
,
для которых
Вторую секцию составим из труб группы прочности
Е исполнения Б с толщиной стенок
,
для которых 

Допустимая глубина спуска второй секции:
(5.21)
Округляем до
Длина первой секции:
Вес первой секции :
Третью секцию составим из труб группы прочности
К исполнения Б с
толщиной стенок
,
для которых 
Допустимая глубина спуска третьей секции:
(5.22)
Вес второй секции:
Четвертую секцию составим из труб группы
прочности Д исполнения Б с толщиной
,
для которых 

Допустимая глубина спуска четвертой секции:
(5.23)
Округлим до 1825 м, тогда длина третьей секции:
Вес третьей секции:
Пятую секцию составим из труб группы прочности Д
исполнения Б с толщиной стенок
, для которых
Допустимая глубина спуска пятой секции:
(5.24)
Округлим до 1762,5
Длина четвертой секции :
Вес четвертой секции:
(5.25)
Достаточной является длина пятой секции
тогда
вес пятой секции:
Таблица 2 - Конструкция промежуточной колонны
|
Номер
секции
|
Интервал
глубин, м.
|
Длина
секции, м.
|
Группа
прочности
|
Толщина
стенки, мм.
|
Вес
секции, кН.
|
|
1
|
3500-2425
|
1075
|
М
|
13,8
|
819,85
|
|
2
|
175
|
Е
|
13,8
|
134,97
|
|
3
|
2250-1825
|
425
|
К
|
13,8
|
327,78
|
|
4
|
1825-1762,5
|
62,5
|
Д
|
13,8
|
28,48
|
|
5
|
1762,5-0
|
1762,5
|
Д
|
12,1
|
803,17
|
|
Итого:
|
|
3500
|
|
|
2114,25
|
.3 Выбор бурового оборудования
Наибольшую нагрузку БУ будет испытывать при
спуске 245-мм промежуточной колонны.
Максимальная вертикальная нагрузка от веса
промежуточной колонны:
Для бурения данной скважины наиболее рационально
использовать установку
.
5. Гидравлические расчеты при промывке скважины
Исходные данные:
Диаметр самой крупной частицы остающейся во
взвешенном состоянии:
(6.1)
где
-
динамическое напряжение сдвига;
-
экспериментальный коэффициент, значение которого зависят от диаметра.
(6.2)
где
-
диаметр наибольшей частицы, оставшейся во взвешенном состоянии; а - коэффициент
обтикания частицы.
Поскольку 2,1<3, режим обтекания ламинарный.
Из справочников, найдем найдем эксперементальную функцию
;
она будет равна
.
Найдем скорость падения частицы:
(6.4)
Для плоских частиц коэффициент формы частицы
.
- коэффициент
сопротивления движению, зависящий от конфигурации частицы.
Требуемая скорость подъема частиц шлама
:
(6.5)
- диаметр скважины;
d - наружний диаметр бурильных труб;
-
скорость проходки;
- объемная доля
твердых частиц.
Приняв
;
в
скважине с параметрами
; d=127 мм,
.
Найдем:
(6.6)
Если принять
,
что очень близка к полученому значению.
Необходимая скорость восходящего потока бурового
раствора
Определив скорость
,
необходимую для транспортирования шлама к устью скважины, можно вычислить
требуемый расход бурового раствора, обеспечивающий вынос частиц разбуриваемой
породы.
(6.7)
- площадь сечения
кольцевого пространства между стенками скважины и бурильных труб.
Если форма частиц шлама близка к правильному
многограннику, то минимально необходимое значение расхода при ламинарном режиме
течения бурового раствора, обеспечивающее качественную очистку ствола скважины,
можно определить:
(6.8)
- пластическая
(структурная) вязкость;
- характерный
размер частиц шлама;
- число
Рейнольдса, характеризующее режим обтекания частицы средой.
(6.9)
(6.10)
(6.11)
(6.12)
(6.13)
- параметр Архимеда;
-
параметр Хедстрема для частицы;
- число Хедстрема
для кольцевого сечения;
- коэффициент
влияния формы частицы и стенок канала при ламинарном обтекании;
-
коэффициент влияния формы и стенок канала при турбулентом обтекании;
Параметры Архимеда и Хедстрема
(6.14)
(6.15)
Критический параметр
(6.16)
При
(6.17)
Если
,
то качественная очистка ствола скважины возможна при ламинарном режиме течения
бурового раствора в затрубном пространстве скважины.
.1 Гидравлические потери
Вычислим гидравлические потери давления при
бурении скважины роторным способом глубиной 3000 м с промывкой глинистым
раствором для следующих условий: в скважину до глубины 1700 м спущена обсадная
колона наружным диаметром
и средним
внутренним диаметром
; ниже скважина
бурилась долотами
; по данным
кавернометрии средний диаметр открытого ствола
;
бурилбная колона включает УБТС-146 длиной
и
внутренним диаметром
, стальные
бурильные трубы ТБВК диаметром 114,3 мм ( внутренний диаметр
),
наименьший внутренний диаметр высаженных концов 76 мм;бурильный замок ЗУК-146
диаметром
(наименьший
внутренний диаметр
); ведущую трубу
112х112 мм с диаметром проходного канала 74 мм, средняя длина одной трубы 12 м;
стояк диаметром 114 мм; буровой рукав диаметром проходного канала 90 мм и
короткий нагнетательный трубопровод диаметром 114 мм от стояка до буровых
насосов; реологические характеристики бурового раствора:
режим
бурения
Скорость течения в участках циркуляционной
системы при
определяется:
(6.18)
где
-
площадь сечения кольцевого пространства между стенками скважины и бурильных
труб,
.
В кольцевом пространстве между скважиной и УБТ
В кольцевом пространстве между скважиной и
бурильными трубами
В бурильных трубах
В УБТ
В кольцевом пространстве между обсадной колонной
и бурильными трубами
Число Хедстрема найдем из выражения:
(6.19)
В бурильных трубах
В УБТ
В кольцевом пространстве между скважиной и УБТ
В кольцевом пространстве между скважиной и
бурильными трубами
В кольцевом пространстве между обсадной колонной
и бурильными трубами
Критическое число Рейнольдса находим из
выражения
(6.20)
Находим число Рейнольдса для соответствующих
участков циркаляционой системы
Критическая скорость течения находим из
выражения
(6.21)
Для всех участков циркуляционной системы

Гидравлические потери находим
(6.22)
(6.23)
(6.24)
где
-
коэффициент гидравлических сопротивлений труб;
- длина труб;
- для труб
круглого поперечного сечения;
- для кольцевого
пространства;
для УБТ на 10-15%
меньше, чем для стальных труб.
В бурильных трубах
В УБТ
В кольцевом пространстве между скважиной и УБТ
(6.25)
(6.26)
где
-
безразмерный коэффициент, определяемый по кривым а зависимости от числа
Сен-Венана - Ильюшина.
В кольцевом пространстве между скважиной и
бурильными трубами
где Sen - число Сен-Венана - Ильюшина.
В кольцевом пространстве между обсадной колонной
и бурильными трубами
Потери давления в бурильных замках найдем из
выражения
(6.27)
(6.28)
где число замков
Потери давления в сужениях кольцевого
пространства бурильными замками
(6.29)
(6.30)
т.е
пренебрежимо
малы.
Потери давления в элементах наземной обвязки
(6.31)
где
-
коэффициент сопротивлений элемента циркуляционной системы,находим из таблицы.
Поскольку
,
гидравлическая мощность на забое согласно графику должна быть
Перепад давления на насадках
(6.32)
где
-
наибольшее давление, которое может создавать насос при подаче Q;
-
гидравлические потери в кольцевом пространстве скважины;
-
гидравлические потери в бурильных трубах, УБТ и бурильных замках.
с учетом
;
ориентировачно принимаем
.
Суммарная площадь выходных сечений насадок
долот, необходимая для реализации перепада
при
и
,
по формуле
(6.33)
где
-
коэффициент расхода, зависящий от конфигурации насадки, отношения длины
проходного канала к диаметру и числа Рейнольдса.
Средняя скорость истечения бурового раствора из
долотных насадок
Перепад давления в промывочных насадках из
выражения (6.33)
Потери давления на всех участках циркуляционной
системы по уравнению
(6.34)
где
-
перепад давления в забойном двигателе.
.
6. Патентно информационный обзор
Патент №193397
Гидромешалка
Известны гидромешалки различных типов
приготовления глинестого раствора, например, содержащие емкость с
нагнетательным трубопроводом, снабженные гидромониторами.
Особенностью описываемой гидромешалки является
то, что она снабжена лабиринтным устройстовом, расположенным в емкости со
стороны слива, и инжекторными насосами. Это обеспечивает чередования
нисходящего и восходящего движений потока, что интенсифицирует размыв глины и
повышает качество раствора.
Патент №108527
Гидромешалка
Гидромешалка для диспергирования комовой глины и
приготовления глинестого раствора для бурильных работ в виде горизонтального
сосуда, снабженного магистральной трубой подачи воды, отличающейся тем, что, с
целью исключения механических измельчительных и перемешивающих механизмов, она
выполнена с гидромониторными устройством, расположенным в сосуде и состоящим из
соединительного с грязевым насосом нагнетательного кольца и ряда от него
размывных трубок, примыкающих к продольным стенкам сосуда.
Патент №2234974
Мешалка
Изобретение относится к устройствам для
перемешивания и суспендирования материалов в жидкости. Мешалка содержит корпус
цилиндрический с отражательными планками, установленными на его внутренней
поверхности. На верхней поверхности дискового ротора закреплены конфузоры,
большим сечением обращенные в сторону вращения ротор. Дисковый ротор на
периферии снабжен буртиком, высота которого равна большему диаметру конфузора.
Устройство позволяет осуществить эффективное перемешивание суспензий с
одновременным диспергированием твердых частиц материала, находящихся в
жидкости.
Патент №946626
Гидромешалка
Изобретение относится к устройствам для
перемешивания твердых веществ с жидкостями, может применяться при бурении и
эксплуатации нефтяных скважин, для перемешивания глинистых и цементных
растворов.
Цель изобретения - повышение производительности
и надежности работы устройства.
Поставленная цель достигается тем, что
устройство, содержащее напорный трубопровод, камеру смешения, снабжено полым
клапаном со штоком, установленным в выходном отверстии емкости, при этом шток
клапана соединен с напорным трубопроводом.
Патент №1076135
Гидромешалка
Цель изобретения - интенсификация процесса
перемешивания, уменьшение потребляемой мощности и повышение качества получаемой
продукции.
Поставленная цель достигается тем, что в
гидродинамической роторной мешалке, содержащей вал, на котором закреплен ротор,
выполненный из двух рядов наклонных лопаток с противоположном углом наклона, и
охватывающий его статор, ротор дополнительно снабжен радиальными лопатками,
ряды которых размещены между рядами наклонных лопаток, при этом горизонтальные
кромки лопаток, соседних рядов смещены одни относительно других.
7. Экологические проблемы при бурении скважин
Нефтедобывающая промышленность является
источником загрязнения и нарушения земель, выбросов загрязняющих веществ в
атмосферу и водный бассейн.
Причиной загрязнения являются, как правило,
грубые нарушения технологий добычи, переработки и системы распределения нефти и
нефтепродуктов, различные аварийные ситуации.
Общая масса нефтепродуктов, ежегодно попадающих
в моря и океаны, приблизительно оценивается в 5-10 млн. т. Нефтепродукты,
попадая в воду, наносят серьезный ущерб водным живым организмам.
Основное вредное воздействие нефтедобывающий промышленности
направлено на атмосферный воздух. Большая часть выбросов приходится на жидкие и
газообразные вещества.
Среди загрязняющих веществ, образующихся в
процессе добычи нефти, преобладают углеводороды, оксид углерода, твердые
вещества.
По статистическим данным, нефтедобывающая
промышленность дает 1/12 всех выбросов в России от промышленных стационарных
источников, 1/10 объема всех выбросов жидких и газообразных веществ.
Максимальное отрицательное воздействие на
окружающую природную среду при геологоразведочном бурении заключается в
химическом загрязнении при утечке жидкостей из устьев скважин, миграции
химреагентов и нефти из буровых амбаров, разливов ГСМ в местах хранения
топлива, стоянок транспорта и дизельных агрегатов.
Утечка нефти и минерализованных пластовых вод
формирует стойкий очаг химического загрязнения прилегающей территории.
Помимо этого при испытании скважин происходит
сжигание попутного газа, приводившее к локальному загрязнению атмосферы.
Таким образом, на стадии разведки сейсмикой и бурением
техногенное воздействие на окружающую среду носит преимущественно точечный,
очаговый и линейный характер.
Наиболее масштабный этап работ, в течение
которого создается вся инфраструктура нефтегазодобывающего комплекса, оказывает
локальное и даже региональное воздействие на окружающую среду.
В хозяйственную деятельность вовлекаются
значительные земельные ресурсы. На 100 га отводимых под нужды нефтедобычи
земель 40 га становятся не пригодными для использования по своему назначению.
Можно выделить следующие специфические виды
отрицательного воздействия на природную среду за время обустройства
месторождений:
деградация и уничтожение почвенного покрова в
результате минерализации земель и засыпки привозным грунтом при строительстве
технологических объектов;
уничтожение растительности на обширных площадях
(в том числе и по причине антропогенных гарей);
нарушение гидрологического режима территорий,
приводящее впоследствии к прогрессирующему подтоплению или осушению земель;
значительное химическое и биологическое
загрязнение всех природных сред, включая подземные горизонты.
Источниками химического загрязнения в этот
период являются буровые амбары, разливы нефти и минерализованных вод при
испытаниях скважин, склады химреагентов и прочие производственные объекты.
Наибольшую экологическую опасность представляют
буровые амбары, содержащие отходы бурения. Многие из них находятся в
водоохранных зонах и представляют серьезную угрозу речным, озерным и болотным
экосистемам. Как правило, отходы промыслового бурения скважин имеют 3-й класс
опасности (умеренно опасные).
Среди геологических процессов, носящих
антропогенный характер, можно выделить геотермические (промерзание грунтов и
подземных вод или, напротив, протаивание в районах с очаговым и реликтовым
распространением многолетнемерзлых пород) и гидролитогенные (понижение или
повышение уровня грунтовых и подземных вод, а также их химическое загрязнение).
Этап эксплуатации месторождения с точки зрения экологии является наиболее
протяженным во времени периодом техногенного воздействия, исчисляемым
десятилетиями. В это время происходит не только усугубление экологической
ситуации непосредственно на месторождениях, но и возникает новая реальная
угроза техногенных катастроф, связанных с транспортом добытой нефти. Основным видом
отрицательного воздействия на природные комплексы во время эксплуатации
месторождений является химическое загрязнение. Наибольшую опасность
представляют нефтезагрязненные и засоленные земли и водные поверхности.
Экологические проблемы на завершающей стадии
освоения месторождения, когда осуществляется его ликвидация
(послеэксплуатационный период), сходны по характеру с проблемами этапа
геологоразведочного бурения, но многократно превышают их по масштабам. Основную
угрозу представляют стойкие очаги химического загрязнения среды:
нерекультивированные разливы нефти, брошенные буровые амбары и полигоны
хранения отходов, подтекающие скважины с разрушенным устьем, технологические
емкости с ГСМ и пр.
Нерациональная разработка месторождений приводит
к их преждевременному истощению. К сожалению, запасы нефти на Земле не
безграничны. Уже в наши дни эта проблема является не абстракцией, а
реальностью.
Список использованной литературы.
1.
Абубакиров, В.Ф. Буровое оборудование. Справочник, в 2 томах /В.Ф. Абубакиров,
И.Л. Архангельский, Ю.Г. Буримов и др. - М. Недра, 2003.- 494с.
.
Басарыгин, Ю.М. Бурение нефтяных и газовых скважин. Учеб. пособие для вузов /
Ю.М. Басарыгин, А.И. Булатов, Ю.И. Проселков - М. ООО «Недра - Бизнесцентр»
2002.- 632с.
.
Вадецкий, Ю.В. Бурение нефтяных и газовых скважин: учебник для нач.
проф.образования / Ю.В. Вадецкий. - М.Издательский центр «Академия», 2003.-
352с.
.
Ильский, А.Л. Расчет и конструирование бурового оборудования: учеб. пособие для
вузов /А.Л. Ильский, Ю.В. Миронов, А.Г. Чернобыльский - М. Недра 1985.- 452с.
.
ОАО « Уралмаш». Каталог бурового оборудования. - Екатеринбург 2005.
.
ОАО «Бурсервис ЛТ». Все о буровом оборудовании. - Москва 2007.
.
Л.Г. Чичеров, Г.В. Молчанов, А.М. Рабинович и др. Расчет и конструирование
нефтепромыслового оборудования: Учеб. пособие для вузов/ М.: Недра, 1987.-422
с.