Моделирование процессов обработки информации
Аннотация
Для решения поставленной задачи моделирования процессов обработки
информации, используется язык GPSS World student version, позволяющий
достаточно достоверно воссоздать систему массового обслуживания, обрабатывающую
заявки, и представить процесс моделирования и его результат.
Для выбора наилучшего результата, отражающего оптимальную работу системы,
используются статистические данные, полученные по набору задаваемых значений
времени обработки заявок на ЭВМ.
Содержание
Введение
.Основная часть
1.1 Описание моделируемой системы
.2 Структурная схема модели системы и ее описание
.3 Временная диаграмма и ее описание
.4 Q-схема системы и ее описание
.5 Укрупненная схема моделирующего алгоритма и описание ее
блоков
.7 Математическая модель и ее описание
.8 Описание машинной программы решения задачи
.9 Результаты моделирования и их анализ
.10 Сравнение результатов имитационного моделирования и
аналитического расчета характеристик
.11 Описание возможных улучшений в работе системы
Заключение
Список литературы
Приложение 1
Введение
Данная курсовая работа по теме: "Моделирование процессов обработки
информации" имеет следующее задание (вариант 24): "Вычислительная
система включает три ЭВМ. В систему в среднем через 30с поступают задания,
которые попадают в очередь на обработку к первой ЭВМ, где они обрабатываются
около 30с. После этого задание поступает одновременно на вторую и третью ЭВМ.
Вторая ЭВМ может обрабатывать задание за 14±5с, а третья - за 16±1с. Окончание
обработки задания на любой из этих ЭВМ означает снятие его с решения с той и
другой машины. В свободное от решения основных задач время вторая и третья ЭВМ
заняты обработкой фоновых задач.
Смоделировать 4 ч работы системы. Определить емкость накопителей перед
всеми ЭВМ, исключающую потери заданий вследствие переполнения накопителей.
Определить коэффициенты загрузки второй и третьей ЭВМ фоновыми задачами, если
фоновая задача решается 2 мин".
Целью этой курсовой работы является закрепление знаний по математическим
методам, а также программным средствам системного моделирования в ходе
построения и изучения имитационных моделей процессов функционирования систем,
поиск и выбор наилучшего результата моделирования, удовлетворяющего требованиям
наибольшей эффективности системы, что зависит от вида конкретной системы и ее
характеристик. При более глубоком рассмотрении системы задача оформляется в
рамках получения наибольшего экономического эффекта от проектируемой системы,
однако это не входит в задачу данной курсовой работы. Анализ результатов
моделирования в ходе курсовой работы производится при изменении временных
характеристик системы (поступления заявок - информации от датчиков).
Необходимость и актуальность решения задач имитационного моделирования
говорит сама за себя. Только благодаря проведению предварительного
моделирования системы можно предсказать наиболее вероятное поведение системы в
сложных ситуациях, увидеть характер изменения параметров системы в случайные
моменты времени, определить интересующие нас характеристики, внести необходимые
коррективы в разрабатываемую систему.
1. Основная часть
1.1 Описание
моделируемой системы
Поставленная в этой курсовой работе задача относится к классу задач
теории систем массового обслуживания (СМО). При решении этой задачи
используется непрерывно-стохастическая модель (вычислительный центр),
включающую одну ЭВМ, обрабатывающую только поступающие заявки и передающую эти
заявки на две другие ЭВМ, которые тоже обрабатывают эти заявки, а когда
свободны от их выполнения занимающиеся обработкой фоновых задач.
1.2 Структурная
схема модели системы и ее описание
Для описания процессов протекающих в моделях систем массового
обслуживания для наглядности и лучшего понимания системы используют структурные
схемы, которые отражают физическую структуру системы. Ниже приведена
структурная схема (рис 1).
Рисунок 1. Структурная схема процесса функционирования ВЦ.
Анализ условия задачи и структурной схемы позволяет сказать, что в
процессе взаимодействия пользователей с ВЦ возможны следующие ситуации:
1) режим обслуживания заданий, когда
вторая и третья ЭВМ обрабатывают задание, поступившее от первой ЭВМ;
2) режим обслуживания фоновых задач,
когда вторая и третья ЭВМ обрабатывают фоновые задачи.
1.3
Временная диаграмма и ее описание
Более детально процесс функционирования ВЦ можно представить на временной
диаграмме (рис. 2.).
На диаграмме:
·
ось 1 - моменты
прихода заданий в ВЦ;
·
ось 2 -
пребывание заданий в накопителе, установленном перед первой ЭВМ;
·
ось 3 - обработка
заданий в первом ЭВМ;
·
оси 4, 5 -
пребывание заданий во втором и третьем накопителях;
·
оси 6,7 -
пребывание фоновых задач в накопителях;
·
оси 8,9 -
обработка заданий во второй и третьей ЭВМ;
·
t1,t2,t5 - моменты
поступления заданий в ВЦ;
·
t3,t4 - моменты поступления фоновых задач на обработку в ВЦ.
Пунктиром на временной диаграмме указано поведение фоновых задач в
процессе работы ВЦ.
С помощью временной диаграммы можно выявить все особые состояния системы,
которые необходимо будет учесть при построении детального моделирующего
алгоритма. Все описанное выше есть, по сути, этап построения концептуальной
модели системы.
Рис. 2. Временная диаграмма процесса функционирования ВЦ.
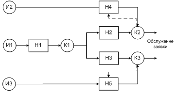
1.4 Q-схема системы и ее описание
Для описания СМО, как непрерывно-стохастических процессов, используют Q-схемы, отражающие элементы и
структуру СМО. В соответствии с построенной концептуальной моделью и символикой
Q-схем структурную схему данной СМО (рис. 1) можно представить в виде,
показанном на рис. 3, где И - источник, К - канал, Н - накопитель.
Рис. 3 Структурная схема ВЦ в символике Q-схем.
Источник И1 имитирует процесс прихода заданий в ВЦ. Задания (в терминах
Q-схем - заявками) поступают в накопитель Н1 перед каналом К1, соответствующему
первой ЭВМ (рис.1).
Заявки, обслуженные каналом К1, поступают в накопители Н2 и Н3, а затем
обслуживаются каналами К2 и К3, соответствующими второй и третьей ЭВМ.
Источники И2 и И3 имитируют процесс прихода фоновых задач в ВЦ. Фоновые
задачи поступают в накопители Н4 и Н5, а затем, если каналы К2 и К3 свободны,
обслуживаются ими. При поступлении заданий от источника И1, обслуженных каналом
К1, обслуживание фоновой задачи приостанавливается, она отправляется обратно в
накопитель и начинается обработка задания, после чего обслуживание фоновой
задачи возобновляется.
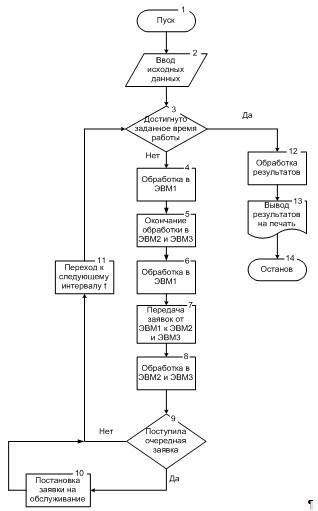
1.5 Укрупненная схема моделирующего алгоритма и описание ее
блоков
Известно [1], что существует две разновидности схем моделирующих
алгоритмов: обобщенная (укрупненная) схема, задающая общий порядок действий, и
детальная схема, содержащая уточнения к обобщенной схеме.
Обобщенная схема моделирующего алгоритма данной задачи, построенная с
использованием "принципа
t",
представлена на рис. 4.
Необходимо отметить, что в исходной постановке данную задачу можно решить
только методом имитационного моделирования. Для решения одним из аналитических
методов, базирующихся на теории массового обслуживания, ее следует
предварительно упростить, что, естественно, скажется на точности и
достоверности полученных результатов.
Рис. 4. Обобщенная схема моделирующего алгоритма процесса
функционирования ВЦ.
1.6 Блок-схема моделирующего алгоритма и ее описание
Для языка программирования GPSS существует своя символика блок-схем. В
этой символике блок-схема имеет вид, показанный на рис. 5.
В блок-схеме приняты сокращения:
·
Och1, Och2, Och3 -
соответственно накопители перед первой, второй и третьей ЭВМ;
·
РК1, РК2, РК3 -
соответственно первая, вторая и третья ЭВМ;
·
Fon1, Fon2 - соответственно накопители для фоновых задач для
второй и третьей ЭВМ;
·
Term1, Term2 - метки, отправляющие задания после исполнения на
удаление из системы;
·
Р1 - параметр,
используемый для слежения за оставшимся временем обработки фоновых задач.
1.7
Математическая модель и ее описание
Для данной СМО будут справедливы формулы:
(4)
(5)

и
,
- коэффициенты загрузки ЭВМ1, ЭВМ2 и ЭВМ3;
и
- суммарное время занятости ЭВМ1, ЭВМ2 и ЭВМ3;
- время решения задачи на
-й ЭВМ,
=1,2,3;
Nф1, Nф2 - число обработанных фоновых задач для второй и третьей ЭВМ;
tобр - время обработки фоновой задачи;
T -
общее имитируемое время работы ВЦ.
Согласно заданию общее имитируемое время работы ВЦ T=14400сек.
Принимая во внимание, что время обработки всех заявок одинаково и равно
30 сек., а время генерации постоянно и равно 30сек, используя формулы (1), (2),
(3), получаем:
Кз1=30*(14400/30)/14400=1
Кз2=14*(14400/30)/14400=0,466
Кз3=16*(14400/30)/14400=0,533
Однако из условия следует, что та ЭВМ, которая быстрее завершает
обработку, вызывает завершение обработки на другой ЭВМ, следовательно, загрузка
обеих ЭВМ будет определяться следующим соотношением:
Коэффициент загрузки фоновыми задачами определяется теми условиями, что
незанятое время ЭВМ тратят на обработку фоновых задач и коэффициенты загрузки
основными задачами равны между собой, т.е. Кф1=Кф2=1-0,466=0,534.
1.8
Описание машинной программы решения задачи
Для решения задач имитационного моделирования разработаны специальные
программные средства. Программные средства такого рода содержат операторы,
специально разработанные для применения в решения задач имитационного
программирования, они позволяют решать задачи имитационного моделирования
достаточно точно и без особой громоздкости и сложности, которой потребовал бы
любой универсальный язык программирования (С++, Pascal, Delphi
и т.п.).
Для решения данной задачи я выбрал язык имитационного моделирования GPSS
World, поскольку он удобен, содержит достаточное количество операторов и
функций для построения данной задачи, позволяет выдавать простые и понятные
отчеты, по которым можно делать заключения о состоянии системы.
Для большей наглядности в программе в качестве времени генерации фоновых
задач взята величина 200±30сек.
Текст самой программы приводится в приложении 1.
1.9
Результаты моделирования и их анализ
вычислительный центр алгоритмический программный
Язык GPSS позволяет выдать отчет, который
является результатом работы построенной программы. В этом отчете содержится
основная интересующая нас информация о работе модели системы:
1.10
Сравнение результатов имитационного моделирования и аналитического расчета
характеристик
Из отчета видно, что коэффициенты загрузки первой, второй и третьей ЭВМ
соответственно равны КЗ1=0,998, КЗ2=0,990 и КЗ3=0,990.
Отклонение значения коэффициентов от единицы, скорее всего, связано с
особенностями процесса моделирования, реализуемого программой GPSS World.
Результаты моделирования показывают, что обработано на каждой ЭВМ по 60
фоновых задач. Используя формулы (4) и (5) получаем, что коэффициенты загрузки
ЭВМ равны: Кф1=Кф2=60*120/14400=0,5. В то время как
аналитически полученный результат для данных величин составил 0,534.
Это отклонение целиком и полностью зависит от отклонения в значениях
коэффициентов загрузки второй и третьей ЭВМ основными заданиями.
А для коэффициентов загрузки основными задачами КЗ2 и КЗ3
для второй и третьей ЭВМ соответственные результаты равны: КЗ2=КЗ3=0,990-0,5=0,490.
Такие незначительные отклонения (0,490-0,466=0,024) от аналитических
расчетов возможны из-за присутствия случайного разброса частоты обработки для
второй ЭВМ, так как в аналитических расчетах было взята средняя величина
14сек., хотя обработка зависит как от величины 14±5сек, так и от величины
16±1сек, отсюда следует, что обработка могла бы занять от 9 до 17сек.
1.11
Описание возможных улучшений в работе системы
Для данной системы возможным улучшением является увеличение скорости
обработки на второй и третьей ЭВМ для увеличения количества обработанных
фоновых задач.
|
Время обработки на второй
ЭВМ
|
Время обработки на третьей
ЭВМ
|
Количество обработанных
фоновых задач
|
|
14±5
|
16±1
|
60
|
|
7±5
|
8±1
|
71
|
|
3±2
|
4±1
|
90
|
|
21±5
|
24±1
|
20
|
При уменьшении времени обработки на второй и третьей ЭВМ в два раза
получаем 18%-прирост, при уменьшении в 4 раза - 56%-прирост, при увеличении
времени обработки в 1,5 раза - 66%-уменьшение количества обработанных фоновых
задач, т.е. целесообразность увеличения или уменьшения скорости обработки
второй и третьей ЭВМ напрямую зависит от необходимости обработки большего или
меньшего количества фоновых задач.
Вторым возможным улучшением может быть увеличение скорости обработки
первой ЭВМ для увеличения количества обработанных основных задач, при условии
увеличения интенсивности их поступления.
Заключение
Основной целью данной курсовой работы является построение и исследование
модели СМО с помощью ЭВМ, используя методы имитационного моделирования.
Моделирование на ЭВМ проводилось с помощью программного средства GPSS World
Student version. Для оптимизации данной системы необходимо определится с тем,
что необходимо оптимизировать: если это увеличение количества обработанных
фоновых задач, то увеличить скорость обработки второй и третьей ЭВМ, если
увеличивается интенсивность поступления основных задач, то уменьшить время
обработки на первой ЭВМ, при этом если необходимо проделать и то и другое, то
необходимо применить эти два улучшения.
Отвечая на поставленный в задании вопрос, хочу заметить, что емкость
накопителей перед всеми ЭВМ, исключающая потери заданий вследствие переполнения
накопителей составляет 1 задание, при этом заявки не задерживаются в
накопителе. Из данного заключения можно сделать вывод о том, что можно обойтись
без накопителей для основных заданий. Для фоновых же задач емкость накопителей
определяется в первую очередь частотой их появления. Для использованного в
программе промежутка времени между появлением фоновых задач необходим
накопитель емкостью, позволяющей хранить 12 фоновых задач.
Коэффициент загрузки второй и третьей ЭВМ фоновыми задачами составляет КЗ2=КЗ3=0,5.
Применение ЭВМ для моделирования реальных процессов является очень
выгодным в стоимостном и временном выражении, откуда следует, что актуальность
этого не вызывает никаких сомнений и эти тенденции ведут к повсеместному
увеличению использования ЭВМ для моделирования процессов работы различных
систем.
Список литературы
1.
Советов Б.Я.,
Яковлев С. А. Моделирование систем. - М.:Высш. шк.,1995.
2.
Советов Б.Я.,
Яковлев С.А. Моделирование систем. Практикум. - М.:Высш. шк.,1999.
3.
Вентцель Е.С.
Теория вероятностей. - М.:Наука, 1969.
4.
Вентцель Е.С.
Исследование операций. - М.:Радио и связь,1972.
Приложение 1