|
Вал привода
|
параметры
|
|
  
|
|
|
|
|
Ведущий
|
5,5
|
36,5
|
1440
|
150,7
|
|
Промежуточный
|
5,23
|
138,7
|
384
|
37,7
|
|
Ведомый
|
5,13
|
543,7
|
96
|
9,42
|
2. Расчет плоскоременной
передачи
Исходные данные:
Ременная передача расположена между
электродвигателем и редуктором, угол наклона линии, соединяющей центры шкивов
не превышает 60º.
Регулируемое натяжение ремня
периодическое
.1. Диаметр ведущего шкива:
к=5,5 ÷ 6,5
Диаметр шкива принимаем по
стандартному ряду
.2. Диаметр ведомого шкива:
электродвигатель
привод редуктор вал
Диаметр ведомого шкива принимаем по
стандартному ряду
-принимается 0,01÷0,02 коэффициент
скольжения для передач с регулируемым натяжением 0,01, с автоматическим 0,02
.3. Определяем передаточное
отношение:
Отношение
допускается
3%
.4. Определяем межосевое расстояние:
.5. Угол обхвата ремнем малого
шкива:
º=
º
.6. Определяем длину ремня в мм:
.7. Скорость ремня (линейная):
.8. Окружная сила:
.9. Из таблиц выбираем ремень Б-800
с числом прокладок z=3, толщиной прокладки δ○=1,5,
Р○=3
Н/мм-наибольшая допускаемая нагрузка на 1 мм. толщины прокладки, выполняем
условие δ≤0,025d
≤5
2.10. Допустимая рабочая нагрузка на
1мм. ширины прокладки в Н/мм:
где
-коэффициент обхвата ремнем ведущего
шкива;
-коэффициент, учитывающий влияние
скорости ремня;
-коэффициент режима работы для
скребкового конвейера;
-коэффициент учитывающий угол
наклона линии центров передачи равен 1 при угле до 60º.
2.11. Ширина ремня в мм.:
; по стандартному ряду принимаем b=63 мм
.12. Определяем предварительное
натяжение ремня:
где
σ- напряжение от
предварительного натяжения ремня, оптимальное значение которого равно 1,8 МПа;
δ- толщина ремня;
b- ширина
ремня.
.13. Определяем натяжение ветвей:
ведущей
- ведомой
.14. Определяем напряжение от силы
.15. Определяем напряжение изгиба:
где
для резинотканевых ремней.
.16. Определяем напряжение от
центробежной силы:
ρ=1100÷1200
- переводной коэффициент.
.17. Определяем максимальное
натяжение в ремне:
где:
- напряжение от силы
;
- напряжение от изгиба;
-напряжение центробежной силы.
Условие
выполнено.
Расчетное max напряжение
не должно превышать предела выносливости
, которое принимаем для
резинотканевых ремней.
.18. Определяем нагрузки на валы:
.19 Проверяем долговечность ремня:
≤[U]=10
.1. Выбор материала, термообработки и твердости:
для шестерни: Ст. 45, термообработка улучшение,
твердость НВ 230.
для колеса: Ст. 45, термообработка улучшение, НВ
200.
Для шестерни твердость НВ 230, а для колеса НВ
200, чтобы уравновесить выносливость.
.2. Допускаемое контактное напряжение:
для шестерни
для колеса
где:
- предел контактной выносливости при
базовом числе циклов для Ст. 45 с НВ ≤350 и термообработкой улучшение
-коэффициент долговечности при
длительной эксплуатации редуктора принимаем
-коэффициент безопасности.
Для косозубых колес рассчитанное
контактное напряжение определяют по формуле:
Требуемое условие
выполнено.
.3. Определяем межосевое расстояние
из условия контактной выносливости зубьев:
- коэффициент получаемый в
результате преобразования
для
косозубых колес;
- коэффициент учитывающий
неравномерность распределения нагрузки по ширине венца.
принимаем
для несимметричного расположения колес, т. к. ременная передача вызывает
дополнительную деформацию изгиба ведомого вала редуктора;
-коэффициент ширины венца;
÷
для косозубых колес
принимают
0,4.
Ближайшее значение
по
стандартному ряду равно 112 мм.
.4. Определяем число зубьев шестерни
и колеса:
принимаем 22, где
=(0,01÷0,02)
=(0,01÷0,02)*112=1,12÷2,24,
берем
=2,
берем
предварительно.
принимаем 88
.5. Учитываем значение угла наклона
зубьев:
.6.1. Определяем основные размеры
шестерни и колеса делительные диаметры:
для шестерни
для колеса
.6.2. Проверяем межосевое
расстояние:
.6.3. Определяем диаметры вершин
зубьев:
.6.4. Определяем ширину колеса и
шестерни:
Определяем коэффициент шестерни по
диаметру:
Определяем окружную скорость колес и
степени точности передач:
При такой скорости для косозубых
колес следует принять 8 степень точности.
Определяем коэффициент нагрузки:
По таблице 3,5[1] при
и НВ≤350
и несимметричном расположении колес относительно опор
=1,155 -
коэффициент неравномерности распределения нагрузки по длине зуба.
При
и 8 степени точности
. По таблице
для косозубых колес при
.
.7. Проверяем величину контактных
напряжений:
3.8. Определяем силы, действующие в
зацеплении:
окружная
радиальная
осевая
.9. Проверяем зубья на выносливость
по напряжениям изгиба:
где коэффициент нагрузки
При
и НВ≤350 по таблице
по таблице
3,8
, тогда
.
- коэффициент учитывающий форму зуба
и зависящий от эквивалентного числа зубьев:
для шестерни:
для колеса:
.10. Определяем допускаемое
напряжение изгиба:
По таблице 3.9 для Ст 45
термообработка улучшение при НВ≤350
для шестерни:
для колеса:
Коэффициент безопасности
, поэтому 
для шестерни 
для колеса
Находим отношение
для шестерни
для колеса
Определим коэффициент
и
- коэффициент торцового перекрытия
n- степень
точности зубчатых колес.
Условие прочности по напряжению
изгиба:
условие выполнено.
4. Проектный
расчет валов редуктора
Проектный расчет выполняем по напряжениям
кручения.
4.1. Определяем диаметр выходного
конца ведущего вала при допускаемом напряжении кручения
принимаем
по
стандартному ряду.
Принимаем под подшипники
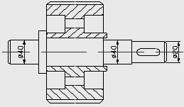
Шестерню выполняем заодно свалом,
конструкция ведущего вала изображена на рисунке.
.2. Определяем диаметр выходного
конца ведомого вала:
при
Принимаем ближайшее большее значение
из стандартного ряда
.
Диаметр вала под подшипники:
,
Принимаем диаметр буртика:
Принимаем диаметр вала под
колесом:45 мм.
5. Конструктивные размеры шестерни
и колеса
.1. Шестерня выполнена заодно с валом ее размеры
определены:
,
,
.2. Колесо кованное:
,
,
По таблице 10.1. определяем диаметр
ступицы:
Длина ступицы:
(1,2÷1,5)
=(1,2÷1,5)45=54÷67,5
принимаем
60 мм.
Толщина обода:
(2,5÷4)
= (2,5÷4)*2=5÷8
принимаем
Толщина диска:
6. Конструктивные размеры
корпуса редуктора
.1. Толщина стенок корпуса и крышек:
принимаем
(таб.
10.2);
во всех
случаях
принимаем 8 мм.
.2. Толщина фланцев поясов и крышки:
.
.3. Толщина нижнего пояса корпуса:
.4.1. Диаметр фундаментных болтов:
(0,03÷0,036)
+12=(0,03÷0,036)*108+12=15,24÷16
мм.
Принимаем болты с резьбой М=16мм.
.4.2. Диаметр болтов крепящих крышку
гнезда к корпусу:
(0,7÷0,75)
(0,7÷0,75)*16=11,2÷12
мм.
Принимаем болты с резьбой М=12мм.
.4.3. Диаметр болтов крепящих крышку
к корпусу:
(0,5÷0,6)
(0,5÷0,6)*16≈8÷10
мм.
Принимаем болты с резьбой М=10мм.
7. Выбор подшипников
Намечаем радиальные шарикоподшипники средней
серии. Габариты подшипников выбираем по диаметру вала в месте посадки
подшипника:
,
Параметры подшипников.
|
Условные обозначения подшипников
|
Д
|
В
|
грузоподъемность
|
|
размеры
мм.
|

|
|
|
306
|
30
|
72
|
19
|
28,1
|
14,6
|
|
308
|
40
|
90
|
23
|
41,0
|
22,4
|
8. Проверка шпоночных соединений
Принимаем призматические шпонки со скругленными
торцами, размеры сечений шпонок и пазов, длины шпонок принимаем по ГОСТ
23360-78. Материалы шпонок Ст 45 нормализированная.
Условие прочности:
- при стальной ступице 100÷120 МПа;
- при чугунной ступице 50÷70 МПа.
Ведомый вал:
шпонка под колесом d=45 мм.; bхh=14х9;
;
условие выполнено.
шпонка выходного конца ведомого
вала:
условие выполнено.
Ведущий вал:
шпонка выходного конца ведущего
вала:
условие выполнено.
Все шпонки пригодны.
9. Выбор сорта масла
Смазывание зубчатого зацепления производится
окунанием зубчатого колеса в масло, заливаемого внутрь корпуса редуктора из
расчета 0,5-0,8 литра на 1 кВт передаваемой мощности или с уровнем погружения
зубчатого колеса в масленую ванну на 1-1,5 зуба колеса.
Объем масляной ванны определяем из
расчета
передаваемой
мощности:
V=0.25*5.13≈1.3
По таб. 10.8. устанавливаем вязкость
масла.
При контактных напряжениях равных
и окружной
скорости
Рекомендуемая вязкость масла
.По таб.
10.10. принимаем индустриальное масло тип И-30А (ГОСТ-20799-75).
Камеры подшипников заполняем
пластичным смазочным материалом УТ-1. Периодически пополняем смазочный материал
через пресс масленки.
Используемая литература
1. С. А. Чернавский
"Курсовое проектирование деталей машин" М. Машиностроением 1988 Г.
2. Кривошеев А. И.
методические указания к курсовому проектированию по деталям машин. Орел 2003 г.
. Дунаев О. П. Детали машин,
курсовое проектирование; М. высшая школа. 2002 г.
|
Формат
|
Зона
|
Позиция
|
Обозначение
|
Наименование
|
Кол.
|
Примечание
|
|
|
|
|
|
|
|
|
|
|
|
Документация
|
|
|
|
|
|
|
|
|
|
|
|
|
|
Сборочный
чертеж
|
|
|
|
|
|
|
|
|
|
|
|
|
|
Сборочные
единицы
|
|
|
|
|
|
|
|
|
|
|
|
1
|
|
Крышка
отдушина
|
1
|
|
|
|
|
|
|
|
|
|
|
|
|
Детали
|
|
|
|
|
|
|
|
|
|
|
|
2
|
|
Крышка
корпуса
|
1
|
|
|
|
3
|
|
Корпус
редуктора
|
1
|
|
|
|
4
|
|
Вал-шестерня
|
1
|
|
|
|
5
|
|
Вал
|
1
|
|
Колесо
|
1
|
|
|
|
7
|
|
Крышка
|
1
|
|
|
|
8
|
|
Крышка
|
1
|
|
|
|
9
|
|
Крышка
|
1
|
|
|
|
10
|
|
Крышка
|
1
|
|
|
|
11
|
|
Втулка
|
2
|
|
|
|
12
|
|
Втулка
|
2
|
|
|
|
13
|
|
Кольцо
|
2
|
|
|
|
14
|
|
Пробка-коническая
|
3
|
|
|
|
15
|
|
Рэм-болт
|
2
|
|
|
|
|
|
|
|
|
|
|
|
|
|
|
|
|
|
|
|
Стандартные
изделия
|
|
|
|
|
|
|
|
|
|
|
|
|
|
Подшипник
|
|
|
|
|
17
|
|
№306
|
2
|
|
|
|
18
|
|
№308
|
2
|
|
|
|
|
|
ГОСТ3383-75
|
|
|
|
|
|
|
Болт
|
|
|
|
|
19
|
|
М
12 x 70
|
6
|
|
|
|
20
|
|
М
10 х 50
|
4
|
|
|
|
|
|
ГОСТ
7198
|
|
|
|
|
22
|
|
Гайка
М10
|
4
|
|
|
|
|
|
ГОСТ
5015-70
|
|
|
|
|
23
|
|
Винт
М6
|
2
|
|
|
|
|
|
ГОСТ
|
|
|
|
|
24
|
|
Щтифт
10х40
|
2
|
|
|
|
|
|
ГОСТ
3123-70
|
|
|
|
|
25
|
|
Шайба
М10
|
4
|
|
|
|
|
|
ГОСТ
6402-70
|
|
|
|
|
26
|
|
Шпонка
|
|
|
|
|
|
|
14х9х50
|
3
|
|
|
|
|
|
ГОСТ
2336-78
|
|
|
|
|
|
|
|
|
|
|
|
|
|
|
|
|
|
|
|
|
Сборочный
чертеж
|
|
|
|
|
|
|
|
|
|
|
|
|
|
|
|
|
|
|
|
|
|
|
|
|
|
|
|
|
|
|
|
|
|
|
|
|
|
|
|
|
|
|
|
|
|
|
|
|
|
|
|
|
|
|
|
|
|
|
|
|
|
|
|
|
|
|
|
|
|
|
|
|
|
|
|
|
|
|
|
|
|
|
|
|
|
|
|
|
|
|
|
|
|
|
|
|
|
|
|
|
|
|
|
|
|
|
|
|
|
|
|
|
|
|
|
|
17
|
|
|
|
|
|
|
18
|
|
|
|
|
|
|
20
|
|
|
|
|
|
|
|
|
|
|
|