Технология изготовления детали 'Корпус'
Содержание
Введение
. Основная часть
.1 Литье по выплавляемым моделям
. Разработка технологии изготовления
.1 Анализ технологичности детали "Корпус"
.2 Определение размеров отливки с учетом усадки сплава
.3 Расчет литниково-питающей системы
. Разработка конструкции пресс-формы
.1 Выбор плоскости разъема
.2 Расчет размеров пресс-формы
.3 Выбор модельного состава и расчет его количества на
программу
.4 Приготовление модельного состава
.5 Изготовление моделей
. Разработка технологии изготовления оболочковой формы
.1 Подбор исходных формовочных материалов
.2 Приготовление огнеупорной оболочки на жидком стекле
.3 Изготовление оболочковой формы
.4 Удаление модельного комплекта
.5 Формовка, прокалка и контроль качества оболочек
.6 Заливка форм, выбивка, очистка и контроль качества отливо
.7 Возможные дефекты отливок
.8 Расчет потребного количества исходных материалов для
приготовления оболочек на программу
Заключение
Список использованной литературы
Введение
Литейное производство является одной из основных заготовительных баз
машиностроения. Во всех отраслях машиностроения и приборостроения используются
литые заготовки. Литьем получают заготовки практически любой сложной
конфигурации с минимальными припусками на обработку резанием, высокими
служебными свойствами. Основным направлением совершенствования и развития
производства машин является расширение использования известных и создание новых
технологических процессов, позволяющих уменьшить расход материалов и энергии,
снизить затраты труда, повысить производительность и улучшить условия труда,
устранить вредное воздействие на окружающую среду и, в конечном счете, повысить
качество и эффективность производства. В производстве литых заготовок для
деталей машин и приборов значительное место занимают так называемые специальные
способы литья: по выплавляемым моделям, в керамические формы, в кокиль, под
давлением, центробежное литьё, электрошлаковое литье и другие, позволяющие
получить отливки повышенной точности, с чистой поверхностью, минимальными
припусками на обработку, а иногда и полностью исключающие ее, с высокими
служебными свойствами. Технологические процессы получения отливок этими
способами в сравнении с литьем в песчаные формы отличаются меньшей материала и
энергоемкостью, меньшими трудозатратами, позволяют существенно улучшить условия
труда и уменьшить вредное воздействие на окружающую среду. Эти процессы, как
правило, осуществляются на автоматизированных или автоматических литейных
установках и линиях. Совершенствование и разработка новых технологических процессов,
повышение качества и эффективности производства должны основываться на изучении
сущности, и использовании закономерностей физико-химических процессов,
происходящих при подготовке литейной формы к заливке, заполнении ее расплавом,
затвердевании и охлаждении отливки.
1. Основная часть
1.1 Литье по
выплавляемым моделям
Сущность литья по выплавляемым моделям, заключается в использовании
точной неразъемной разовой модели, по которой из жидких формовочных смесей
изготовляется неразъемная оболочковая форма. Перед заливкой расплава модель
удаляется из формы выплавлением, выжиганием, растворением или испарением; для
удаления остатков модели и упрочнения форма может быть нагрета до высоких
температур, что улучшает ее заполняемость расплавом.
Основные операции технологического процесса: модель или звено моделей 2
изготовляют в разъемной пресс-форме 1, рабочая полость которой имеет
конфигурацию отливки с припусками на усадку и обработку резанием
(рис. 1.1, а). Модель изготовляют из материалов, имеющих невысокую температуру
плавления (воск, стеарин, парафин), способных растворяться (карбамид) или
сгорать без образования твердых остатков (полистирол). Готовые модели или
звенья моделей собирают в блоки 3 (рис. 1.1, б). Блок моделей состоит из
звеньев, центральная часть которых образует модели питателей и стояка. Модели
чаши и нижней части стояка изготовляют отдельно и устанавливают в блок при его
сборке. Блок моделей погружают в емкость с жидкой формовочной смесью -
суспензией для оболочковых форм, состоящей из пылевидного огнеупорного
материала, например кварца пылевидного, и связующего (рис. 1.1, в). В
результате на поверхности модели образуется тонкий (менее 1 мм) слой 4
суспензии. Для упрочнения этого слоя, увеличения его толщины на него наносят
слои огнеупорного зернистого материала 5 (кварц, электрокорунд, зернистый
шамот) (рис. 1.1, г). Операции нанесения суспензии и обсыпки повторяют до
получения на модели оболочки требуемой толщины (3 - 10 слоев).
Каждый
слой покрытия высушивают на воздухе или в парах аммиака 6, что зависит от
связующего (рис. 1.1, д). После сушки оболочковой формы модель удаляют из нее
по вышеприведённым методам. На рис. 1.1, е показан процесс удаления
выплавляемой модели в горячей воде 7 (Т
=373К).
Рисунок
1.1 - Последовательность изготовления многослойной оболочковой формы по
выплавляемым моделям.
Так
получают многослойную оболочковую форму по выплавляемой модели. Для упрочнения
перед заливкой оболочковую форму помещают в металлический контейнер и засыпают
огнеупорным материалом 8 (кварцевым песком, мелким боем использованных
оболочковых форм) (рис. 1.1, ж). Для удаления остатков моделей из формы и
упрочнения связующего контейнера с оболочковой формой помещают в печь 9 для
прокаливания (рис. 1.1,э). Форму прокаливают при температуре 1223 - 1273 К.
Прокаленную форму 10 извлекают из печи и заливают расплавом (рис. 1.1, и).
После затвердевания и охлаждения отливки до заданной температуры форму выбивают,
отливки очищают от остатков керамики и отрезают от них литники.
Во
многих случаях оболочки прокаливают в печи до засыпки огнеупорным материалом, а
затем для упрочнения их засыпают предварительно нагретым огнеупорным
материалом. Это позволяет сократить продолжительность прокаливания формы перед
заливкой.
Малая
шероховатость поверхности формы при достаточно высокой огнеупорности и
химической инертности материала позволяет получать отливки с поверхностью
высокого качества.
После
очистки отливок от остатков оболочковой формы шероховатость их поверхности
характеризуется величиной R
=40
10 мкм, а
в отдельных случаях достигает R
=2,5 мкм.
Если
сравнивать данный вид литья с литьём в песчаные формы то можно отметить
следующие достоинства процесса: отсутствие операций разъема моделей и формы,
использование для изготовления моделей материалов, позволяющих не разбирать
форму при удалении модели, высокая огнеупорность материалов формы, нагрев ее до
высоких температур перед заливкой, что улучшает заполняемость, дают возможность
получить отливки сложнейшей конфигурации (что
невозможно при литье в кокиль), максимально приближающиеся к конфигурации
готовой детали практически из любых сплавов. Коэффициент точности отливок по
массе (КТМ) может достигать 0,85-0,95, что резко сокращает объемы обработки
резанием, отходы металла в стружку. Точность отливок соответствует 8-11-му
квалитетам СТ СЭВ 145-75, а припуски на обработку резанием для отливок размером
до 50 мм составляют около 1,4 мм, а размером до 500 мм - около 3,5 мм. Поэтому,
собственно, литье по выплавляемым моделям относится к прогрессивным материала-
и трудосберегающим технологическим процессам обработки металлов.
Однако
литьё по выплавляемым моделям в отличие от кокильного литья и литья под
давлением - процесс многооперационный.
Манипуляторные
операции при изготовлении и сборке моделей, нанесении суспензии на модель и
другие достаточно сложны и трудоемки, что осложняет автоматизацию процесса.
Процесс
состоит из ряда длительных операций, определяющих производительность: послойное
формирование и сушка слоев оболочковой формы на модели, прокаливание формы.
Вследствие большого числа операций, технологических факторов, влияющих на
размеры полости формы и соответственно отливки, снижается ее точность. Качество
отливок, получаемых данным способом, существенно зависит от стабильности
качества исходных материалов для изготовления моделей, суспензии, формы, а
также от стабильности режимов технологического процесса. Это осложняет
автоматизацию управления технологическим процессом.
Указанные
выше особенности технологического процесса изготовления отливок в керамических
оболочковых формах определяют три важнейшие проблемы его развития: сокращение
числа операций технологического процесса и их длительности, автоматизация
манипуляторных операций; реализация резервов повышения точности отливок;
создание систем автоматизированного управления технологическим процессом.
Особенности
формирования отливок в оболочковой форме обусловлены тем, что, как правило,
перед заливкой форму нагревают до сравнительно высоких температур. Эти
особенности заключаются в следующем.
1. Небольшие теплопроводность, теплоемкость и плотность материалов
оболочковой формы и повышенная температура формы снижают скорость отвода
теплоты от расплава, что способствует улучшению заполняемости формы. Благодаря
этому возможно получение сложных стальных отливок, с толщиной стенки 0,8-2мм.
Улучшению заполняемости формы способствует, также и малая шероховатость ее
стенок.
2. Невысокая интенсивность охлаждения расплава в нагретой
оболочковой форме приводит к снижению скорости затвердевания отливок,
укрупнению кристаллического строения, возможности по явления в центральной
части массивных узлов и толстых (6-8 мм) стенок усадочных дефектов - раковин и
рыхлот. Тонкие же стенки (1,5-3 мм) затвердевают достаточно быстро, и осевая
пористость в них не образуется. Для уменьшения усадочных дефектов необходимо
создавать условия для направленного затвердевания и питания отливок. Для
улучшения кристаллического строения отливок используют термическую обработку.
3. Повышенная температура формы при заливке способствует развитию на
поверхности контакта отливка - форма физико-химических процессов, которые могут
привести к изменению структуры поверхностного слоя отливки, появлению дефектов
на её поверхности.
. Стремление получить отливки с чистой, гладкой поверхностью
вызывает необходимость использования огнеупорных материалов с малыми размерами
зерна основной фракции (<<005). Это снижает газопроницаемость оболочковой
формы до нескольких единиц, создаёт опасность образования воздушных
"мешков" в форме при её заполнении, приводит к снижению заполняемости
формы и образованию дефектов отливки из-за незаполнения формы.
На основе производственного опыта можно указать следующие преимущества
способа литья в оболочковые формы по выплавляемым моделям: 1) возможность
изготовления практически из любых сплавов отливок сложной конфигурации,
тонкостенных, с малой шероховатостью поверхности, высоким коэффициентом
точности по массе, минимальными припусками на обработку резанием; резким
сокращением отходов металла в стружку; 2) возможность создания сложных
конструкций, объединяющих несколько деталей в один узел, что упрощает
технологию изготовления машин и приборов; 3) возможность экономически выгодного
осуществления процесса в единичном (опытном), серийном и массовом
производствах, что важно при создании новых машин и приборов; 4) уменьшение
расхода формовочных материалов для изготовления 1 т отливок, снижение
материалоемкости производства; 5) улучшение условий труда и уменьшение вредного
воздействия литейного процесса на окружающую среду.
Наряду с преимуществами способ обладает и следующими недостатками: 1)
процесс изготовления формы многооперационный, трудоемкий и длительный; 2)
большое число технологических факторов, влияющих на качество формы и отливки, и
соответственно сложность управления качеством; 3) большая номенклатура
материалов, используемых для получения формы (материалы для моделей, суспензии,
обсыпки блоков, опорные материалы); 4) сложность манипуляторных операций
изготовления моделей и форм, автоматизации этих операций; 5) повышенный расход
металла на литники и поэтому невысокий технологический выход годного (ТВГ).
Указанные преимущества и недостатки определяют эффективную область
использования литья в оболочковые формы по выплавляемым моделям:
1) изготовление отливок, максимально
приближающихся по конфигурации к готовой детали, с целью снижения трудоемкости
обработки труднообрабатываемых металлов и сплавов резанием, замены трудоемких
операций сварки или пайки для повышения жесткости, герметичности, надежности
конструкций детали,
2) узла, обработки давлением
труднодеформируемых сплавов;
3) изготовление тонкостенных
крупногабаритных отливок повышенной точности с целью снижения массы конструкции
при повышении ее прочности, герметичности и других эксплуатационных свойств;
4) изготовление отливок повышенной
точности из сплавов с особыми свойствами и структурой.
2. Разработка технологии изготовления
2.1 Анализ
технологичности детали "Корпус"
Деталь "Корпус" считается технологичной и приемлемой для
изготовления способом литья по выплавляемым моделям. При определении
технологичности я руководствовался следующими параметрами:
массой (отливка не превышает 300 кг).
материалом (отливки из чугуна
получают с максимальным приближением к готовой детали и с минимальными
припусками на механическую обработку).
серийностью (производство серийное
[6]).
соотношением толщины стенок (не
превышает 1:4).
по отсутствию разъемов модели (модель
не разъёмная).
На рисунке 2.1 показана отливка корпус.
Рисунок 2.1 - Корпус
Получение детали корпус возможно с использованием двух стержней, без
механической обработки. При помощи стержней выполняем так называемую
"горловину" отливки и боковое отверстие. Остальные внутренние полости
детали, изготавливаем с использованием рельефной матрицы. Конструкция отливки
позволяет это сделать.
2.2 Определение размеров отливки с учетом усадки сплава
литье корпус сплав огнеупорный
Далее приступаем к определению размеров отливки с учетом усадки сплава.
Принимаем линейную усадку сплава из чугуна марки СЧ 18 равную 1% .
Пересчитываем все размеры с учетом линейной усадки и заносим результаты в
таблицу 2.1.
Расчёт габаритных размеров отливке производим по следующей формуле:
(2.1)
где
- размер с учётом усадки;
- номинальный размер;
- усадка 1%
|
|
|
150
|
151,5
|
|
150
|
151,5
|
|
125
|
126,25
|
|
49
|
49,49
|
|
55
|
55,55
|
|
80
|
80,8
|
|
50,7
|
51,3
|
|
112
|
113,12
|
|
36
|
35,64
|
|
34
|
33,66
|
После этого определяем тип литниковой системы, и её массу.
2.3 Расчет
литниково-питающей системы
Определяем размеры литниково-питающей системы. Данная деталь имеет массу
10 кг, поэтому для нее выбираем третий тип литниковой системы, который
предназначен для изготовления крупных и сложных отливок и представляет собой
прибыльную надставку. Для определения размеров литниковой системы необходимо
рассчитать массу жидкого металла исходя из выхода годного, который принимается
70-75%, для литниковых систем третьего типа.
, (2.2)
где
ТВГ = 60% - технологический выход годного.
Масса
металла на Л.С.:
лс=Q-Qд
(2.3)
где
Qд - масса детали, кг
Определим
сумму площадей питателей по формуле:
, (2.4)
где
Q - масса металла в форме;
μ = 0,6-0,8 - коэффициент затрат литниковой системы;
τ - время заполнения формы, с;
ρ = 7200 - плотность чугуна в твёрдом состоянии;
g = 9,81 м/с2
- ускорение свободного падения;
Нср
- средний гидростатический напор металла, м.
Время
заполнения формы металлом определим по следующей формуле:
τ = S ·
, (2.5)
где
S = 2,1-2,3 - эмпирический коэффициент;
δ - преобладающая толщина стенки отливки = 20мм = 0,02м.
Средний
гидростатический напор рассчитаем так:
Нср
= Нст -
, (2.6)
где Нст - высота стояка до края отливки; h - высота части отливки до питателя; hо - общая высота отливки.
Так как Л.С. третьего типа, определим диаметр прибыльной надставки:
(2.7)
где
Vy - объём питаемого узла ,м3
Определим
объём питаемого узла отливки:
(2.8)
Следовательно,
диаметр прибыльной надставки равен 80мм.
Рассчитаем высоту прибыли используя ТВГ. Так, как масса отливки равна
10кг, следовательно, масса прибыли равна: 100% - 70% = 30% от массы отливки.
Это составляет 3 кг. Отсюда объём прибыли равен:
Вычислим
высоту прибыли из формулы объёма цилиндра:
(2.9)
Принимаем
высоту прибыльной надставки с учётом угла наклона
равной
120мм.
3. Разработка
конструкции пресс-формы
.1 Выбор
плоскости разъема
Пресс-форма - это инструмент для изготовления, модели. От точности модели
зависит точность размеров полости формы и соответственно размеров отливки.
Поэтому главное требование к пресс-форме заключается в том, чтобы в ней можно
было получить модели отливки с заданной точностью размеров и шероховатостью
поверхности. Точность размеров модели и качество воспроизведения ее
конфигурации зависят от точности размеров полости пресс-формы и ее конструкции.
Конструкция пресс-формы должна быть такой, чтобы модель можно было легко и
быстро, без деформаций и повреждений извлечь из рабочей полости пресс-формы,
чем меньше разъемов имеет пресс-форма, тем выше точность моделей. Поэтому
всегда стремятся делать минимальное число разъемов. Однако для получения
сложных моделей приходится делать несколько разъемов, чтобы модель можно было
извлечь из пресс-формы. По конструкции и методам изготовления обычно различают
пресс-формы для единичного и мелкосерийного, серийного и массового
производства. В серийном и массовом производстве применяют многогнёздные
пресс-формы. В моём случае модель проста по конфигурации, но сравнительно
большая по габаритным размерам. Относится к серийному производству (20000 шт.).
Исходя из вышесказанного, пресс-форму будем изготавливать с одной рабочей
полостью (гнездом), т. е. для получения одной модели, так как габариты детали
не позволяют сделать больше моделей в одной пресс-форме, без увеличения её
массы, тем самым, делая пресс-форму не грузоподъёмной.
С одной вертикальной плоскостью разъёма, которая будет проходить вдоль
детали. На рисунке 3.1 представлен главный вид чертежа детали с указанной на
ней линией разъёма пресс-формы.
Рисунок 3.1 - Поверхность разъема пресс-формы
Левая и правая разъёмные матрицы соединяются
между собой при помощи кольца сверху и крышки снизу. Данную конструкцию
пресс-формы можно охарактеризовать как относительно быструю и простую для
разборки и сборки, а также ремонта и замены стержня (для разборки достаточно
снять кольцо и крышку без использования каких-либо инструментов).
На рисунке 3.2 показана схема пресс-формы.
1- питатель; 2- верхнее кольцо; 3- верхний стержень; 4- боковой стержень;
5- крышка; 6- левая полуформа; 7- правая полуформа; 8- полость.
Рисунок 3.2 - Схема пресс-формы
Конструкцию пресс-формы упрощают исключением числа вспомогательных
элементов и механизмов. Сборку, установку стержней, разборку пресс-формы и
удаление моделей выполняют вручную.
В серийном производстве пресс-формы изготавливают из стали и алюминиевых
сплавов. Для получения по одной пресс-форме достаточного количества
качественных моделей она должна обладать необходимой долговечностью, иметь
такую конструкцию, чтобы ее можно было просто и быстро изготовить, а материалы
для нее были не дефицитными.
В моём случае пресс-форма изготавливается из стали Сталь 35
ГОСТ 1050-88. Данный материал недефицитен, и обладает необходимой
долговечностью.
Существует три способа изготовления пресс-формы это: 1) литьём;
2)механообработкой; 3) комбинированный способ. Для данной пресс-формы наиболее
рациональным способом получения является комбинированный.
После сборки пресс-формы, мы запрессовываем модельный состав в рабочую
полость через питатели (1) в левой и правой матрицах (6,7). После затвердевания
модели, снимаем верхнее кольцо (2) и нижнюю крышку (5), стержни (3,4)), затем
разнимаем боковые полуформы (6 и 7) и извлекаем модель. Приступаем к
определению размеров нашей пресс-формы.
3.2 Расчет
размеров пресс-формы
После выбора плоскости разъема пресс-формы приступаем к ее проектированию.
Для этого вначале рассчитаем размеры ее внутренних и наружных полостей по
следующим формулам:
Двн
= До (1 +
+ 0,5 δо; (3.1)
где
До - размер отливки, мм;
Двн,
Дн - внутренние и наружные размеры пресс-формы, мм;
δо = 0,8 -
допуск на размер отливки;
yобщ - суммарная линейная усадка, определяемая по формуле:
yобщ = yм ± yо - yф, (3.3)
где
yм = 2,0 %
- усадка модели;
yо =1,2 % - свободная усадка металла отливки;
yф = 0,2 % - относительное расширение формы перед
заливкой.
Подставляем данные в формулу и получаем значение суммарной линейной
усадки: yобщ =3%.
Оформляем размеры пресс-формы в виде таблицы 3.1.
Таблица 3.1 - Размеры пресс-формы
|
Наружные размеры отливки,
мм
|
Размеры пресс-формы, мм
|
|
150
|
153,6
|
|
150
|
153,6
|
|
125
|
127,8
|
|
49
|
49,5
|
|
80
|
81,46
|
|
112
|
114,4
|
|
36
|
36,2
|
|
Внутренний размер отливки,
мм
|
Размеры пресс-формы, мм
|
|
27
|
27
|
|
35
|
35,22
|
|
36
|
36,2
|
Изготавливать пресс-форму будем из стали 35 ГОСТ 1050-88 комбинированным
методом (литьем и механической обработкой). Далее переходим к выбору модельного
состава и расчету его количества.
3.3 Выбор
модельного состава и расчет его количества на программу
Для получения отливки необходимо изготовить ее модель. Для получения
моделей в свою очередь используют различные модельные составы: выплавляемые,
растворяемые, выжигаемые. Любой модельный состав должен удовлетворять
определенным требованиям.
В расплавленном состоянии модельный состав должен обладать хорошей
жидкотекучестью для четкого воспроизведения конфигурации модели при заполнении
полости пресс-формы и легкого и полного удаления из оболочковой формы. Усадка
состава при охлаждении и его расширении при нагреве должны быть минимальными и
стабильными, чтобы точность моделей и соответственно отливок была высокой.
Модельный состав не должен прилипать к поверхности пресс-формы; химическое
взаимодействие его с материалом пресс-формы недопустимо. После затвердевания в
пресс-форме модельный состав должен обладать прочностью и твердостью,
достаточными для того, чтобы модели не деформировались и не ломались на
последующих операциях технологического процесса.
В качестве исходных материалов для выплавляемых моделей будем
использовать парафин и стеарин.
Парафин получают при возгонке нефти, бурого угля, сланцев. Это белая
масса с кристаллической структурой, он пластичен, недорог, недефицитен.
Стеарин смесь жирных кислот; продукт переработки растительных и животных
жиров. Это дорогой и дефицитный материал.
Парафиностеариновый модельный состав ПСЭ70-25-5 относится к легкоплавким.
Данный модельный состав один из наиболее используемых на производстве. Он
хорошо смачивается суспензией на связующих растворах этилсиликата, имеет
невысокую температуру плавления, низкую зольность, достаточную жидкотекучесть.
К недостаткам относят низкую температуру размягчения, невысокую прочность и
твердость, нестабильную и высокую усадку. Для устранения усадочного дефекта в
модельный состав при его приготовлении замешиваем 7..10 % воздуха. В таблице
3.2 приведена характеристика модельного состава.
Таблица 3.2 - Модельный состав ПСЭ75-25-5
|
Содержание компонентов, %
|
Свойства
|
|
Парафин
|
Стеарин
|
Этилцелюлоза
|
Температура плавления, С
|
Температура пасты, С
|
Плотность, кг/м3
|
Усадка, %
|
Прочность, МПа
|
Зольность, %
|
Расход на 1т годного литья,
кг
|
|
70
|
25
|
5
|
50
|
20
|
860
|
1,5
|
2,8
|
0,05
|
100
|
Рассчитаем потребность в модельном составе на программу.
Общее количество модельного состава на заданную программу определяется
исходя из следующих положений:
Потери модельного состава по модели
должны составлять 5-7%;
По оболочке 10-15%;
Потери на выход годного 45-70%;
Расчет массового количества каждого из двух компонентов проводим по
следующим пунктам:
1) Определяем массу модельного состава на изготовление одной модели
без учёта технологических потерь. системы вместе с отливками по формуле:
m=
,(3.4)
где V- суммарный объем модели и прибыльной
надставки;
ρ- плотность модельного состава = 860
кг/м3.
V=0,00147+0,00044=0,00191
,кг
Определим массу модельного состава
, (3.5)
где
N=20000шт.
1,6426
20000=32852
)Определяем потери модельного материала по модели:
P
= 32852
0,07 =
2299,64 (кг).(3.6)
)Определяем потери модельного материала по оболочке.
Р
= 32852
0,1 =
32852,2 (кг). (3.7)
)Определяем потери модельного материала на выход годного:
Р
= 32852
0,45 =
14783 (кг).(3.8)
)Определим количество модельного материала вместе с потерями:
Р
= 32852+2299,64+32852,2+14783 = 53220,24 (кг).(3.9)
) Определим необходимое количество модельного материала с учётом
возврата:
M= 53220,24
0,9 = 47898,216 (кг).(3.10)
)Тогда необходимое количество модельного материала равно:
M=
53220,24-47898,216 =5322,024 (кг). (3.11)
)Определяем необходимое количество каждого компонента:
Парафин
= 5322,024
0,7 = 3725,4 (кг).(3.12)
Стеарин
= 5322,024
0,25 = 1330,5 (кг).(3.13)
Этилцелюлоза
= 5322,024
0,05 = 266,1 (кг). (3.14)
3.4
Приготовление модельного состава
После выбора модельного состава необходимо его приготовить. Заливать наш
модельный состав мы будем в пастообразном состоянии, что позволит снизить
усадку. Приготавливают пастообразный модельный состав при непрерывном
перемешивании в шестеренном смесителе. Воздух замешивается в модельный состав в
количестве 8..12 % по объему. В процессе перемешивания в шестеренном смесителе
модельный состав интенсивно охлаждается, переходя в пастообразное состояние.
Эти смесители (рис.3.3) имеют большую производительность и надежность,
обеспечивая получение пасты высокого качества.
На рисунке 3.3 показан смеситель для приготовления пастообразного
модельного состава.
1-вал; 2-шестерня; 3-перегородка; 4-отверстие; 5-привод;
Рисунок 3.3 - Схема шестеренного смесителя для приготовления
пастообразного модельного состава
3.5
Изготовление моделей
Процесс изготовления моделей включает подготовку пресс-формы; заполнение
пресс-формы модельным составом; выдержку для затвердевания и охлаждения модели;
разборку пресс-формы и извлечение модели; выдержку модели до окончания усадки.
При подготовке пресс-формы ее рабочую полость и поверхность разъема
очищают от остатков модельного состава, наносят смазочный материал -
трансформаторное масло. Перед заливкой пресс-форму нагревают до температуры
295..300 К.
Заполнение пресс-формы модельным составом осуществляется запрессовкой под
давлением поршня автоматическими шприцами (рис. 3.4), которые устанавливаются
на карусельных автоматах для изготовления моделей.
На рисунке 3.4 показан автоматический поршневой шприц.
-трубопровод; 2-полость; 3-пружина; 4-отверстие; 5-обратный клапан;
6-каналы; 7-поршень; 8-крышка; 9-пневмоцилиндр; 10-пужина; 11-цилиндр;
Рисунок 3.4 - Схема устройства автоматического шприца для запрессовки
пастообразных модельных составов
Охлаждаясь, модели изменяют свои размеры из-за усадки даже после
извлечения из пресс-формы. Если на такую модель нанести суспензию, то может
произойти растрескивание оболочки. Поэтому процесс усадки необходимо ускорять
охлаждением в проточной воде или сжатым воздухом.
После этого модели собирают в блоки. Так как у нас производство серийное,
то применяем пайку. Для сборки моделей пайкой используют электрические
паяльники с плоским широким жалом.
Далее приступаем к разработке технологии изготовления оболочковой формы.
4. Разработка технологии изготовления оболочковой формы
4.1 Подбор
исходных формовочных материалов
Требования к формам. Оболочковая форма должна отвечать следующим
требованиям: обладать достаточной прочностью, выдерживать динамический и
статический напор расплава, не деформироваться при заливке, затвердевании и
охлаждении отливки; быть огнеупорной, т. е. не разупрочняться при прокаливании,
и особенно при заливке; иметь газопроницаемые стенки, чтобы в полостях формы не
возникало противодавления воздуха, (такое явление приводит к браку отливок по
недоливу); быть химически инертной к модельному составу и металлу отливки;
иметь достаточную податливость, чтобы не препятствовать усадке сплава;
обеспечивать получение отливок с поверхностью требуемой шероховатости и высокой
точностью размеров, массы и конфигурации.
Для приготовления оболочковых форм мы будем использовать следующие
исходные материалы: огнеупоры, связующие, растворители и поверхностно активные
вещества.
Для изготовления оболочковой формы используют огнеупорные материалы -
мелкодисперсную основу суспензии, обсыпку и опорный материал. В качестве
огнеупорной основы суспензии будем использовать маршаллит - измельченный
кварцевый песок с содержанием кварца 96..98%. Для обсыпки слоя суспензии
применяем кварцевый песок с минимальным количеством примесей. Для всех слоев
оболочки можно использовать песок марки Об1К, оболочка при этом получается
более прочной и термостойкой. В качестве опорных материалов используем сухой
кварцевый песок и шамотный порошок фракций 0315 и 063, применение которого
позволяет снизить брак, повысить точность размеров отливки.
В качестве связующего материала будем использовать жидкое стекло, которое
удовлетворяет следующим требованиям: смачивает поверхность модели; не
растворяет модель и не вступает в реакцию с составляющими модельного состава;
имеет достаточную вязкость. В качестве растворителей используем хлористый
аммоний, который при взаимодействии со связующим образует растворитель -
гидроксид аммония. Поверхностно-активные вещества вводят в обмазку с целью
понижения междуфазной энергии и улучшения смачивания суспензией поверхности
моделей. Можно использовать ДС-РАС или сульфонал.
4.2
Приготовление огнеупорной оболочки на жидком стекле
После того как мы определились с материалами для изготовления огнеупорной
формооболочки необходимо ее приготовить. Вначале подготавливаем жидкое стекло,
чтобы у него была необходимая плотность (ρ = 1290..1300 кг/м3) и соответствующий
модуль (М = 3,0..3,5 - содержание SiO2
= 23 % и Na2O = 6,5..7,5 %). Подготовка жидкого стекла включает в себя
смешивание с водой и добавление 5..8 % раствора хлористого аммония в количестве
30 г на 100 г жидкого стекла. В результате протекает следующая реакция:
Na2O · n SiO2 · m H2O + 2 NH4Cl → 2 NaCl +
2 NH4OH + SiO2 ↓
Как мы видим в ходе протекания реакции, выпадает осадок в виде
творожистой массы, занимающей до 1/3 объема. Эта масса под влиянием гидроксида
аммония (NH4OH) полностью растворяется через 4..8 часов. Затем смешиваем
его с маршалитом в пропорции 55:45. После этого вводим в обмазку поверхностно
активные вещества в количестве 0,03..0,05 % и перемешиваем. Также необходимо
приготовить закрепитель для мокрого твердения, который представляет собой
18..20%-ый водный раствор хлористого аммония.
4.3 Изготовление оболочковой формы
Оболочковые формы, упрочнённые сыпучим огнеупорным материалов, наиболее
часто используют в производстве. Преимуществами таких форм являются пониженные
требования по прочности и термостойкости к собственно оболочковой форме;
возможность предотвращения резкого охлаждения формы перед заливкой. После
изготовления парафиностеариновых моделей наносят суспензию окунанием в ванну.
Блок погружают, чтобы с поверхности моделей могли удалиться пузырьки воздуха.
После этого слой суспензии сразу обсыпают песком; время между нанесением
суспензии и обсыпкой должно быть не более 10 секунд. После выдержки суспензия
подсыхает, и песок не соединяется с ней. Суспензию в ванне непрерывно
перемешивают с небольшой скоростью для устранения оседания огнеупорного
материала. Для нанесения песка на слой суспензии используем погружение блока в
слой кипящего песка. Представлена схема установки для обсыпки блока моделей в
слое кипящего песка.
1-емкость с песком; 2-полость сжатого воздуха; 3-блок моделей.
Рисунок 4.1 - Схема установки для обсыпки блока моделей в кипящем слое
После нанесения каждого слоя оболочки его необходимо высушивать. Для
ускорения этого процесса будем обрабатывать слои парами аммиака по следующей
реакции:
Na2O · n SiO2 · m H2O + NH4Cl → 2 NaCl +
NH3 ↑ + H2О + SiO2 ↓(гель)
В результате реакции образуется коллоидный раствор кремнезема, который
связывает зерна маршалита. Продолжительность сушки и обсыпки каждого слоя
суспензии 50..60 минут, из них 20..30 минут сушка на воздухе, 10..20 минут в
парах аммиака и 10..20 минут - выветривание паров аммиака.
Сушку производим в многоярусных сушилах.
4.4 Удаление
модельного комплекта
После самой длительной операции в общем, цикле изготовления оболочковой
формы приступаем к удалению моделей. Наибольшее распространение получил способ
удаления выплавляемых моделей погружением в горячую ванну с модельным составом,
что позволяет повысить прочность оболочковой формы благодаря пропитке ее
модельным составом. При прокаливании оболочковой формы воскообразный состав в
ее порах коксуется и дополнительно упрочняет форму. Однако качество возврата
ухудшается вследствие его перегрева.
4.5 Формовка,
прокалка и контроль качества оболочек
Будем использовать холодный способ формовки. Оболочковую форму после
удаления модели помещаем в контейнер. Контейнер изготавливают из жаростойкой
стали, толщина стенки равна 5 мм. Дно контейнера приваривают к корпусу. Шов
соединения выполняется внахлёстку без скоса кромок, односторонним, дуговой
полуавтоматической сваркой в защитных газах плавящимся электродом. Шов по
замкнутой линии. Катет шва равен 5 мм
(ГОСТ 14806-80-Н1-П-З). Так как производство серийное целесообразнее помещать в
контейнер несколько, заранее изготовленных, оболочковых форм, поэтому контейнер
изготавливаем с учётом помещения в него ещё одного блока оболочковой формы, так
как показано на рисунке 4.2. Транспортировка контейнера осуществляется краном.
1 - контейнер; 2 - отливка.
Рисунок 4.2 - Схема расположение отливок в контейнере.
Затем форму засыпаем огнеупорным материалом, уплотняем её вибрацией на
вибростоле, и прокаливаем. Для предотвращения разрушения оболочковой формы при
заливке ее заформовываем в сыпучие огнеупорные материалы. В качестве опорных
материалов используем сухой кварцевый песок, шамотный порошок, размолотые и
просеянные через сито с ячейкой 2мм остатки оболочки после очистки отливок.
Главное требование к опорным материалам - высокая огнеупорность. Прокаливание
оболочковых форм необходимо для полного удаления из формы остатков модельного состава,
испарения остатков воды и продуктов гидролиза связующего, а также спекания
связующего и огнеупорного пылевидного материала.
Режим прокалки следующий:
) нагрев со скоростью 150оС в час во избежание термических
напряжений до температуры 950..1000оС;
2) выдержка 1..2 часа;
3) охлаждение.
Общая продолжительность прокалки 6..8 часов.
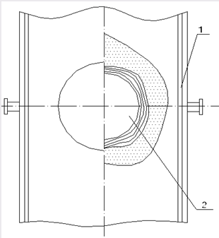
На рисунке 4.3 показана схема оболочковой формы в контейнере.

Рисунок 4.2 - Схема оболочковой формы в сборе
Перед
заливкой необходимо произвести контроль качества формы. Наиболее важными
свойствами являются прочность и газопроницаемость. Испытание на прочность
производим на любой разрывной машине, снабженной приспособлением для изгиба,
имеющей цену деления силоизмерителя не менее 0,5 Н. Образцы для испытания имеют
следующие параметры 20
40
3 мм в
прокаленном и сыром состоянии
Газопроницаемость
определяют на стандартном приборе, используя прокаленные образцы в виде диска
диаметром 50 мм и высотой 3 мм.
.6
Заливка форм, выбивка, очистка и контроль качества отливок
Заливку
форм производят сразу после прокалки - в горячие формы, что способствует
улучшению структуры отливок. Затем формы охлаждают до температуры выбивки
300..400 оС. Продолжительность выдержки отливки в форме определим по
формуле:
, (4.1)
где
К - эмпирический коэффициент, К = 20;
Q -
Металлоемкость формы, Q = 0, 0211 т.
Подставляем
данные в формулу (4.1):
= 3 (ч)
После
выдержки отливки в форме в течение данного времени, производим выбивку на
провальной решетке опрокидыванием контейнера.
Затем
производим предварительную очистку отливок от оболочки формы на вибрационных
установках. Отделение отливок от литниковой системы выполняем путем ударной
вибрации, в результате чего отливке сообщается колебательное движение, металл
разрушается в зоне питателя. Последний обычно имеет пережим - концентратор
напряжений.
После
этого проводим окончательную очистку отливок, чтобы удалить остатки формы.
Качественность
отливок оценивается по размерам, массе отливки, состоянию поверхности.
4.7 Возможные дефекты отливок
Дефекты отливок условно подразделяют на поверхностные, внутренние,
отклонения размеров и конфигурации, несоответствия по химическому составу,
структуре и механическим свойствам.
Дефекты поверхности у отливки "Корпус" могут возникнуть
вследствие недостаточной подготовки поверхности пресс-формы, плохого качества
поверхности моделей, плохого смачивания поверхности моделей суспензией,
пробивания первого слоя суспензии песком при обсыпке.
К внутренним дефектам отливки относятся усадочные раковины, возникающие в
результате недостаточного питания при затвердевании; газовые раковины,
образующиеся вследствие недостаточной газопроницаемости оболочковой формы.
Отклонения размеров и конфигурации отливки от заданных могут вызваны
нестабильностью усадки пастообразного модельного состава из-за содержащегося в
нем воздуха.
Несоответствие химического состава и структуры отливок заданным могут
быть вызваны отклонениями в составе шихтовых материалов, нарушениями режимов
плавки сплава и режимов охлаждения отливки в форме. Этот дефект ведет за собой
последующий - несоответствие механических свойств.
4.8 Расчет
потребного количества исходных материалов для приготовления оболочек на программу
Охарактеризуем выбранные формовочные материалы:
Маршаллит - огнеупорная основа суспензии, содержит
96-98% SiO
. Получают измельчением в струйных мельницах. Вредная
примесь Fe;
Жидкое стекло - связующее. Используют при плотности
1300 кг/м
и модуле 3…3,5.
Кварцевый песок применяется для обсыпки слоя
суспензии. Вредные примеси: окислы Fe, щелочные и щелочноземельные
металлы. Требуемая зернистость 0315, 04, 063.
Хлористым аммонием разбавляют жидкое стекло для
получения необходимого модуля. Также его используют для закрепления
Рассчитаем количество материалов на программу по следующим соотношениям:
Количество маршалита:
на 1 (т) - 400 (кг)
на 224,0 (т) - x (кг)
x = 89600 (кг).
Количество жидкого стекла:
на 1 (т) - 300 (кг)
на 224,0 (т) - х (кг)
х = 67200 (кг).
Кварцевого песка:
на 1 (т) - 600 (кг)
на 224,0 (т) - х (кг)
х = 134400 (кг).
Хлористого аммония:
на 1 (т) - 80 (кг)
на 224,0 (т) - х (кг)
х = 17920 (кг).
Заключение
Производство отливок по выплавляемым моделям находит широкое применение в
различных отраслях машиностроения.
Использование литья в оболочковые формы для получения заготовок деталей
машин взамен изготовления их из кованых заготовок или проката позволяет в
среднем уменьшить отход металла в стружку на 34-90 %, снизить трудоемкость
обработки резанием на 25-85%, себестоимость изготовления деталей; на 20-80%.
Однако, следует учитывать, что экономическая эффективность существенно
зависит от выбора номенклатуры отливок, изготавливаемых этим способом. Только
при правильном выборе номенклатуры деталей можно достичь высокой экономической
эффективности производства.
Список использованной литературы
1.Рубцов Н. А. "Специальные виды литья". - М.:
Машиностроение
.Степанов Ю. А. "Технология литейного
производства".
"Спецвиды литья". - М.: Машиностроение, 1981 г. -
285 с.
."Литье по выплавляемым моделям". Монография / под
редакцией Ю. Я. Шкленника / - М.: Машиностроение, 1981 г. - 315 с.
.Степанов Ю. А. "Литье по выплавляемым моделям". -
М.: Машиностроение, 1981 г. - 214 с.
. Берг П. П. "Контроль качества литья". - М.:
"Машгиз", 1969 г. - 117 с.