Эксплуатация скважин различными методами

  • Вид работы:
    Дипломная (ВКР)
  • Предмет:
    Геология
  • Язык:
    Русский
    ,
    Формат файла:
    MS Word
    1,34 Mb
  • Опубликовано:
    2011-10-26
Вы можете узнать стоимость помощи в написании студенческой работы.
Помощь в написании работы, которую точно примут!

Эксплуатация скважин различными методами

1. ОЗНАКОМЛЕНИЕ С РАЙОНОМ ПРАКТИКИ

1.1 Орогидрография

Жирновское нефтегазовое месторождение расположено в среднем течении реки Медведица, в 340 км к северу от г. Волгограда и в 120 км от г. Камышина.

В административном отношении месторождение расположено в пределах Жирновского района, административным центром которого является г. Жирновск.

Ближайшими населенными пунктами являются: г. Жирновск, р.п. Линево, села: Александровка, Андреевка, Бахметьевка, Медведицкое.

Ближайшая железнодорожная станция Медведица расположена на железнодорожной магистрали Камышин - Москва в 35 км от г. Жирновска и соединена с ним асфальтированной дорогой.

Оба берега реки Медведицы покрыты смешанным лесом.

В создании современных форм рельефа большую роль сыграла река Медведица, которая пересекает площадь в направлении, близком к меридиальному, разделяя ее почти на две равные части, резко отличающиеся друг от друга морфологически.

Левобережье представляет собой слабовсхолмленную поверхность, имеющую уклон с востока на запад. Левобережье пересечено рядом сильно разработанных балок и оврагов почти широтного направления, дающих хорошие обнажения юрских песков и глин, неустойчивость которых явилась причиной глубокой эродированности всего левобережья.

Правобережье представляет собой природную поверхность хорошо выраженных холмов и гряд, изрезанных глубокими оврагами с крутыми склонами ( до 70 % ). Основным элементом рельефа является водораздел рек Медведицы и Щелкана, тянущийся почти в меридиальном направлении.

Абсолютные отметки водораздельного хребта достигают значений 242,5-269,5 м, к востоку наблюдается постепенное понижение рельефа.

Ширина русла реки Медведица меняется от 30 до 150 м. Течение слабое, в рацоне города имеются броды. Ширина долины достигает 5 км. Крупнейшими левобережными притоками р. Медведицы является река Перевозиха, и овраги Кленовый, Соленый и др.

Климат района резко континентальный.

2.ФОНТАННАЯ ЭКСЛУАТАЦИЯ СКВАЖИН

2.1 Оборудование ствола и устья скважины

Колонная головка

Она предназначена для обвязки устья скважины с целью герметизации межтрубных пространств, а также для подвески обсадных колонн и установки фонтанной арматуры. Существуют одно-, двух-, трех-, четырех- и пятиколонные головки; требования, предъявляемые к конструкциям колонных головок, следующие: надежная герметизация межтрубных пространств; возможность контроля за давлениями во всех межтрубных пространствах; быстрое и надежное закрепление подвески обсадных колонн; возможность крепления к одной колонной головке различных обсадных колонн, т. е. универсальность; быстрый и удобный монтаж; минимально возможная высота.

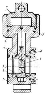
Обсадная колонна 10 вворачивается в специальную муфту 7. Герметичность соединения корпуса головки 1 и муфты 7 достигается муфтой 2 и двумя кольцами 3 из специальной нефтестойкой резины. Плотность посадки достигается за счет прижатия муфты полукольцами 5 и фланцем 4, который болтами притягивается к фланцу корпуса. Муфта 7 заканчивается фланцем 6 для присоединения к нему фонтанной арматуры.

Рис. 2.1.1. Конструкция простейшей колонной головки для одной обсадной колонны

Фонтанная арматура

Фонтанная арматура предназначена для подвески одной или двух колонн фонтанных труб; для герметизации и контроля пространства между фонтанными трубами и обсадной колонной; для проведения технологических операций при освоении, эксплуатации и ремонте скважины; для направления продукции скважины в выкидную линию на замерную установку; для регулирования режима работы скважины и осуществления глубинных исследований.

Фонтанная арматура подвергается действию высоких температур и давлений. Однако по своим эксплуатационным характеристикам (дебит, давление, температура, газовый фактор и др.) фонтанные скважины бывают различными. Поэтому возникает необходимость иметь фонтанные арматуры, рассчитанные на различные условия работы.

Для охвата всех возможных условий в фонтанных скважинах по давлению приняты следующие стандарты: арматуры на 7, 14, 21, 35, 70 и 105 МПа рабочего давления, причем арматура на 7, 14, 21 и 35 МПа испытывается на двойное рабочее давление, а арматура на 70 и 105 МПа - на полуторакратное давление. Собственно фонтанная арматура состоит из двух элементов: трубной головки и фонтанной ёлки. Трубная головка предназначена для подвески фонтанных труб. Обычно она представляет собой крестовину с двумя боковыми отводами с установленной на ней переходной катушкой, в которую вворачивается верхний резьбовой конец фонтанных труб. При применении двух рядов труб устанавливаются две крестовины с переходными катушками. На нижней катушке подвешивается первый ряд труб (большого диаметра), а на верхней катушке - второй ряд труб (меньшего диаметра). На верхнем фланце катушки укрепляется собственно фонтанная ёлка.

Трубная головка подвергается давлению затрубного газа, которое может быть больше, чем давление в фонтанной ёлке. Поэтому трубная головка рассчитывается и испытывается на давление примерно в 1,5 раза большее, чем фонтанная ёлка.

Фонтанные ёлки по конструкции делятся на крестовые и тройниковые. Характерным узлом крестовой арматуры является крестовина 6 с двумя боковыми отводами, каждый из которых может быть рабочим, а второй запасным. Для тройниковой фонтанной ёлки характерным узлом являются тройники 7, к которым присоединяются выкидные линии - верхняя и нижняя. Это продиктовано безопасностью работы и возможностью предотвращения открытого фонтанирования. Тройниковые арматуры, как правило, применяются в скважинах, дающих вместе с нефтью абразивный материал - песок, ил. При разъедании песком верхнего тройника скважина может быть переведена на работу через нижний отвод. При этом промежуточная (между отводами) задвижка или кран закрывается; и верхний тройник, и отвод могут быть отремонтированы. При применении в этих условиях крестовой арматуры разъедание крестовины приводит к необходимости перекрытия скважины центральной задвижкой для замены крестовины. Однако крестовые арматуры более компактны, высота их меньше, обслуживание, которое заключается в снятии показаний манометров, смене штуцеров и осуществляется с мостков без лестниц. Тройниковые арматуры имеют большую высоту и требуют для обслуживания специальных вспомогательных сооружений.

Фонтанные арматуры шифруются следующим образом:

АФТ-65Кр-140, что означает: арматура фонтанная, тройниковая с проходным сечением 65 мм, крановая на 14 МПа рабочего давления.

АФК-50-210 - арматура фонтанная крестовая диаметром 50 мм на рабочее давление 21 МПа

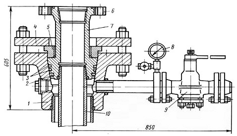
Рис. 2.1.2 Фонтанная крестовая арматура (4АФК-50-700) высокого давления (70 МПа) для однорядного подъемника: 1 - вентиль, 2 - задвижка, 3 - крестовина, 4 - катушка для подвески НКТ, 5 - штуцер, 6 - крестовины ёлки, 7 - буфер, 8 - патрубок для подвески НКТ, 9 - катушка

Штуцеры.

Они являются элементом фонтанной елки и предназначены для регулирования режима работы фонтанной скважины и ее дебита. Штуцеры устанавливаются на обеих выкидных линиях арматуры и подразделяются на нерегулируемые и регулируемые. Более просты и надежны нерегулируемые штуцеры. По мере износа штуцера установленный режим ра^боты скважины нарушается и штуцер необходимо менять. Для этого работу скважины переводят временно на запасной отвод, на котором установлен штуцер заданного диаметра, и одновременно меняют изношенный штуцер в основном рабочем отводе. В связи с этим предложено много конструкций так называемых быстросменных штуцеров

Простейший штуцер выполняется в виде диафрагмы с отверстием заданного диаметра, зажимаемой между двумя фланцами выкидной линии. Применяются регулируемые штуцеры, в которых проходное сечение плавно изменяют перемещением конусного штока в седле из твердого материала. Перемещение осуществляется вращением маховика, на штоке которого имеется указатель, показывающий эквивалентный диаметр проходного кольцевого сечения регулируемого штуцера.

Рис. 2.1.3. Фонтанная тройниковая арматура кранового типа для подвески двух рядов НКТ (2АФТ-60 x 40 х КрЛ-125): 1 - тройник; 2 - патрубок для подвески второго ряда НКТ; 3 - патрубок для подвески первого ряда НКТ

Рис. 2.1.4 Штуцер быстросменный для фонтанной арматуры высокого давления (ЩБА-50-700): 1 - корпус, 2 - тарельчатая пружина, 3 - боковое седло, 4 - обойма, 5 - крышка, 6 - нажимная гайка, 7 - прокладка, 8 - гайка боковая. 9 - штуцерная металлокерамическая втулка

Если разность давлений велика, применяют несколько последовательно соединенных штуцеров, в каждом из которых частично снижается давление.

2.2 Освоение добывающих скважин

Освоение скважины - комплекс технологических операций по вызову притока и обеспечению ее продуктивности, соответствующей локальным возможностям пласта. После проводки скважины, вскрытия пласта и перфорации обсадной колонны, которую иногда называют вторичным вскрытием пласта, призабойная зона и особенно поверхность вскрытого пласта бывают загрязнены тонкой глинистой взвесью или глинистой коркой. Кроме того, воздействие на породу ударных волн широкого диапазона частот при перфорации вызывает иногда необратимые физико-химические процессы в пограничных слоях тонкодисперсной пористой среды, размеры пор которой соизмеримы с размерами этих пограничных слоев с аномальными свойствами. В результате образуется зона с пониженной проницаемостью или с полным ее отсутствием.

Цель освоения - восстановление естественной проницаемости коллектора на всем протяжении вплоть до обнаженной поверхности пласта перфорационных каналов и получения продукции скважины, соответствующей ее потенциальным возможностям. Различают методы освоения пластов с высоким начальным давлением, когда ожидаются фонтанные проявления, н с малым давлением (на разработанных площадях), когда угрозы открытого фонтанирования нет и предполагается механизированный способ эксплуатации. Такие явления не только выводят из строя саму скважину, но и приводят к истощению самого месторождения.

Можно выделить шесть основных способов вызова притока:

тартание, поршневание, замена скважинной жидкости на более легкую, компрессорный метод, прокачка газожидкостной смеси, откачка глубинными насосами.

Перед освоением на устье скважины устанавливается арматура или ее часть в соответствии с применяемым методом и предлагаемым способом эксплуатации скважины. В любом случае на фланце обсадной колонны должна быть установлена задвижка высокого давления для перекрытия при необходимости ствола скважины.

Тартание - это извлечение из скважины жидкости желонкой, спускаемой на тонком (16 мм) канате с помощью лебедки. Желонка изготавливается из трубы длиной 8 м, имеющей в нижней части клапан со штоком, открывающимся при упоре на шток. В верхней части желонки предусматривается скоба для прикрепления каната. Диаметр желонки обычно не превышает 0,7 диаметра обсадной колонны. За один спуск желонка выносит жидкость объемом, не превышающим 0,06 м3.

Поршневание. При поршневании (свабировании) поршень или сваб спускается на канате в НКТ. Поршень представляет собой трубу малого диаметра (25 - 37,5 мм) с клапаном, в нижней части открывающимся вверх. На наружной поверхности трубы (в стыках) укреплены эластичные резиновые манжеты (3 - 4 шт.), армированные проволочной сеткой. При спуске поршня под уровень жидкость перетекает через клапан в пространство над поршнем. При подъеме клапан закрывается, а манжеты, распираемые давлением столба жидкости над ними, прижимаются к стенкам НКТ и уплотняются. За один подъем поршень выносит столб жидкости, равный глубине его погружения под уровень жидкости. Глубина погружения ограничена прочностью тартального каната и обычно не превышает 75 - 150 м. Поршневание в 10 - 15 раз производительнее тартания. Устье при поршневании также остается открытым, что связано с опасностями неожиданного выброса.

Замена скважинной жидкости. Замена осуществляется при спущенных в скважину НКТ и герметизированном устье, что предотвращает выбросы и фонтанные проявления. Выходящая из бурения скважина обычно заполнена глинистым раствором. Производя промывку скважины (прямую или обратную) водой или дегазированной нефтью, можно получить уменьшение забойного давления на величину

,

где ρ1- плотность глинистого раствора; ρ2 - плотность промывочной жидкости; L - глубина спущенных НКТ; β - средний угол кривизны скважины.

Таким способом осваиваются скважины с большим пластовым давлением Pпл > ρ2ּgּLּcosβ и при наличии коллекторов, хорошо поддающихся освоению. Как видно из формулы , при смене глинистого раствора (ρ1 = 1200 кг/м3) на нефть (ρ2 = 900 кг/м3) максимальное снижение давления составит всего лишь 25 % от давления, создаваемого столбом глинистого раствора. Этим по существу и ограничиваются возможности метода. Замена жидкости в скважине проводится с помощью насосных агрегатов, а иногда и буровых насосов. В некоторых случаях, когда по опыту освоения скважины данного месторождения имеется уверенность в безопасности, применяют дополнительно поршневание для отбора части жидкости из скважины и дальнейшего снижения забойного давления.

Компрессорный способ освоения. Этот способ нашел наиболее широкое распространение при освоении фонтанных, полуфонтанных и частично механизированных скважин. В скважину спускается колонна НКТ, а устье оборудуется фонтанной арматурой. К межтрубному пространству присоединяется нагнетательный трубопровод от передвижного компрессора.

Освоение ведется с непрерывным контролем параметров процесса при герметизированном устье скважины. Поэтому этот способ наиболее безопасен и позволяет быстро получить значительные депрессии на пласт, что особенно важно для эффективной очистки призабойной зоны скважины. Однако применение компрессорного способа освоения ограничено в скважинах, пробуренных в рыхлых и неустойчивых коллекторах. В некоторых районах возникает необходимость освоения скважин глубиной 4500 - 5500 м, а увеличение глубины также ограничивает использование компрессорного способа.

Для более полного использования пластовой энергии, выноса жидкости с забоя и возможных промывок скважин башмак НКТ опускают до верхних перфорационных отверстий. Чтобы оттеснить уровень жидкости до башмака НКТ, особенно при больших глубинах, нужны компрессоры, развивающие давление в несколько десятков мегапаскалей. Это осложняет освоение. Поэтому в колонне труб на заранее определенной глубине делают так называемое пусковое отверстие (пусковые муфты или пусковой клапан). Опускающийся в межтрубном пространстве уровень жидкости обнажает это отверстие, нагнетаемый газ поступает через него в НКТ и разгазирует столб жидкости выше отверстия. Если давление внутри НКТ на уровне отверстия после разгазирования обозначить Р1, то забойное давление Рс будет равно

,

где Н - глубина забоя (до верхних перфораций); L - глубина пускового отверстия; ρ1 - плотность скважинной жидкости; β - средний угол кривизны скважины.

Забойное давление до нагнетания газа равно

.

Вычитая из , найдем депрессию на пласт

.

Чем больше давление, развиваемое компрессором, тем на большей глубине L может быть предусмотрено пусковое отверстие или башмак НКТ, а следовательно, больше ΔР при прочих равных условиях.

Освоение скважин закачкой газированной жидкости. Освоение скважин путем закачки газированной жидкости заключается в том, что вместо чистого газа или воздуха в межтрубное пространство закачивается смесь газа с жидкостью (обычно вода или нефть). Плотность такой газожидкостной смеси зависит от соотношения расходов закачиваемых газа и жидкости. Это позволяет регулировать параметры процесса освоения. Поскольку плотность газожидкостной смеси больше плотности чистого газа, то это позволяет осваивать более глубокие скважины компрессорами, создающими меньшее давление.

Для такого освоения к скважине подвозится передвижной компрессор, насосный агрегат, создающий по меньшей мере такое же давление, как и компрессор, емкости для жидкости и смеситель для диспергирования газа в нагнетаемой жидкости. При нагнетании газожидкостная смесь движется сверху вниз при непрерывно изменяющихся давлении и температуре. Процесс этот сложный. Однако можно записать уравнение баланса давлений с усредненными параметрами смеси и расхода.

При закачке газожидкостной смеси (ГЖС) на пузырьки воздуха действует архимедова сила, под действием которой они всплывают в потоке жидкости. Скорость всплытия зависит от размеров газовых пузырьков, вязкости жидкости и разности плотностей: чем мельче пузырьки, тем меньше скорость их всплытия. Обычно эта скорость относительно жидкости составляет 0,3 - 0,5 м/с. Поэтому скорость движения жидкости вниз должна быть больше скорости всплытия пузырьков газа. Иначе газ не достигнет башмака НКТ и давление на забое не снизится. Для создания достаточно больших скоростей жидкости необходимы большие расходы. Поэтому при закачке ГЖС предпочтительно это делать не через кольцевое пространство, а через НКТ, так как малое их сечение позволяет получить достаточно большие нисходящие скорости при умеренных объемных расходах жидкости. Считается, что для успешного осуществления процесса достаточно иметь нисходящую скорость жидкости порядка 0,8 - 1 м/с.

Запишем баланс давлений при закачке ГЖС в кольцевое пространство в тот момент, когда давление на насосе будет максимально. Рассмотрим случай, когда НКТ до башмака заполнены жидкостью, а затрубное пространство заполнено ГЖС; причем обе системы движутся со скоростями, соответствующими темпу нагнетания ГЖС.

Обозначим:

ат - удельные потери на трение в НКТ при движении по ним жидкости, выраженные в м столба жидкости;

ак - удельные потери на трение в кольцевом пространстве, выраженные в м столба ГЖС.

При обратной промывке давление у башмака НКТ со стороны кольцевого пространства равно

.


,

где ρсм - среднеинтегральное значение плотности ГЖС в кольцевом пространстве; ρж - плотность скважинной жидкости; L - длина НКТ; β - средний угол отклонения ствола скважины от вертикали; Рк - давление нагнетания на устье скважины в кольцевом пространстве; Ру - противодавление на выкиде; g - ускорение свободного падения.

Очевидно, Рт = Рсм, поэтому, приравнивая и решая относительно L, получим


Формула определяет предельную глубину спуска башмака НКТ при заданных параметрах процесса (ρж, ρсм, Рк, Ру, ат, ак). Решая формулу (4.39) относительно Рк, получим давление на устье скважины, необходимое для закачки ГЖС при заданной глубине L спуска НКТ:

.

Величины Ру, L, ρж, β обычно известны. Величины ат, ак и ρсм определяются: ат - по обычным формулам трубной гидравлики, а ак и ρсм - сложными вычислениями с использованием ЭВМ для численного интегрирования дифференциального уравнения движения ГЖС.

При освоении скважины газированной жидкостью к устью присоединяется через смеситель линия от насосного агрегата, ко второму отводу смесителя - выкидная линия компрессора. Сначала запускается насос и устанавливается циркуляция. Скважинная жидкость (глинистый раствор) сбрасывается в земляной амбар или другую емкость. При появлении на устье нагнетаемой чистой жидкости (вода, нефть) запускается компрессор, и сжатый газ подается в смеситель для образования тонкодисперсной ГЖС. По мере замещения жидкости газожидкостной смесью давление нагнетания увеличивается и достигает максимума, когда ГЖС подойдет к башмаку НКТ. При попадании ГЖС в НКТ давление нагнетания снижается.

Освоение кважинными насосами. На истощенных месторождениях с низким пластовым давлением, когда не ожидаются фонтанные проявления, скважины могут быть освоены откачкой из них жидкости скважинными насосами (ШСН или ПЦЭН), спускаемыми на проектную глубину в соответствии с предполагаемыми дебитом и динамическим уровнем. При откачке из скважины жидкости насосами забойное давление уменьшается, пока не достигнет величины Рс < Рпл, при которой устанавливается приток из пласта. Такой метод эффективен в тех случаях, когда по опыту известно, что скважина не нуждается в глубокой и длительной депрессии для очистки призабойной зоны от раствора и разрушения глинистой корки.

В заключение необходимо отметить, что в различных нефтяных районах вырабатывались и другие практические приемы освоения скважин в соответствии с особенностями того или иного месторождения. В качестве примера можно указать и на такой прием, когда при компрессорном методе в затрубное пространство, заполненное нагнетаемым воздухом, подкачивают некоторое количество воды для увеличения плотности смеси и снижения давления на компрессоре. Это позволяет осуществить продавку скважины при большей глубине спуска НКТ.

3. ЭКСПЛУАТАЦИЯ СКВАЖИН ГЛУБИННЫМИ НАСОСАМИ

3.1Характиристика и условия работы насосных штанг

Обычные штанги выпускаются четырех номинальных размеров по диаметру тела штанги: 16, 19, 22 и 25 мм. Концы штанги имеют утолщенные головки с квадратным сечением для захвата специальными ключами при свинчивании и развинчивании колонны штанг. Штанги соединяются штанговыми муфтами.

Кроме штанг нормальной длины (8 м) выпускаются укороченные штанти длиной 1; 1,2; 1,5; 2; 3м стандартных диаметров. Укороченные штанги необходимы для регулировки длины всей колонны штанг с таким расчетом, чтобы висящий на них плунжер перемещался в цилиндре насоса в заданных пределах. Верхний конец колонны штанг заканчивается утолщенным полированным штоком, проходящим через сальниковое уплотнение устья скважины.

Рис. 3.1.1. Насосная штанга и соединительная муфта

В зависимости от условий эксплуатации штанги выпускаются с различной прочностной характеристикой. Для их изготовления используются стали марки 40 или никель-молибденовые стали марки 20НМ с термообработкой и последующим поверхностным упрочнением токами высокой частоты (ТВЧ). В табл. приводятся характеристики штанг и условия их использования в скважинах.

Несмотря на то что верхние сечения штанг обычно бывают наиболее нагруженными, практика показывает, что поломки и обрывы штанг случаются и в нижних сечениях. При использовании насосов больших диаметров (56, 70, 95 мм), особенно при откачке вязких жидкостей и при больших скоростях плунжера (Sn > 30) нижние штанги могут испытывать продольный изгиб и, как следствие, отвороты и поломки. В таких случаях прибегают к установке «утяжеленного низа», состоящего из 2 - 6 тяжелых штанг или труб общей массой 80 - 360 кг. Это улучшает условия работы нижней части колонны штанг, но одновременно сокращает предельную глубину подвески насоса.

При креплении штанг рекомендованы следующие предельные крутящие моменты:

Диаметр штанг, мм ………………………… 16 19 22 25

Крутящий момент, Н-м …………………….. 300 500 700 1000

Таблица

Характеристики штанг

HP - нормальный размер, мм; ПО - предельное отклонение, мм

Прочностные характеристики штанг и условия их использования

Частые спуски и подъемы штанг приводят к увеличению частоты обрывов штанг. Соответствующими инструкциями регламентируются правила хранения, перевозки и сборки штанг и штанговых колонн.

3.2 Уравновешивание СК

На нефтяных промыслах в эксплуатации имеются СК различных типоразмеров и конструкций. В настоящее время СК выпускаются по ГОСТ 5866 - 76. В механическом и кинематическом отношении они достаточно совершенны (рис. 10.9). В отличие от предыдущих СК новые конструкции имеют не откидную головку балансира, а поворотную, что облегчает работу бригады подземного ремонта н сокращает возможность травматизма. Кроме того, предусматривается плавное, механизированное перемещение кривошипных противовесов и ряд других изменений. ГОСТ 5866 - 76 предусматривает широкий ассортимент СК (табл. X.5). В шифре СК указывается грузоподъемность, максимальный ход и допустимый момент на валу редуктора.

Новые СК имеют только роторное уравновешивание, двухступенчатые редукторы с шевронными зубчатыми колесами с зацеплением Новикова (кроме СК2 и СКЗ, для которых допускается эвольвентное зацепление).

Тихоходный вал редуктора имеет два шпоночных паза, расположенных под углом 90°. Это позволяет переставлять кривошип на 90º и перераспределять зону износа зубьев редуктора на менее изношенные участки. Такая мера увеличивает сроки службы редуктора.

Новые СК изготавливаются при более жестких технических требованиях к балансировке деталей, точности их изготовления и центровки плоскостей балансира, кривошипов и вертикальности движения канатной подвески.

Рис. 3.2.1 Схема балансирного станка-качалки:

- канатная подвеска; 2 - балансир с поворотной головкой; 3 - опора балансира; 4 - стойка; 5 - шатун; 6 - кривошип; 7 - редуктор; 8 - ведомый шкив; 9 - клиноременная передача; 10 - электромотор; 11 - ведущий шкив; 12 - ограждения; 13 - салазки поворотные для электромотора; 14 - рама, 15 - противовес, 16 - траверса, 17 - тормозной шкив

Предусмотрено механизированное плавное перемещение кривошипных противовесов, при котором достигается лучшее уравновешивание СК.

Качалки оборудованы двухколодочным тормозом с ручным приводом. Тормозной барабан закреплен на трансмиссионном валу редуктора. С помощью тормоза балансир и противовесы качалки могут быть зафиксированы в любом положении. Электродвигатель устанавливается на салазках, наклон которых регулируется для достижения необходимого натяжения тиксо-тропных ремней трансмиссионной передачи. Изменение длины хода балансира достигается перестановкой пальца шатуна на кривошипе, а изменение числа качаний достигается сменой шкива на валу электродвигателя на другой размер.

Кроме описанных балансирных станков-качалок существует много других индивидуальных приводов для штанговых насосных установок, не получивших, однако, широкого распространения. К числу таких приводов можно отнести безбалансирные станки-качалки, в которых возвратно-поступательное движение штанг осуществляется с помощью цепи или канатов, перекинутых через шкивы-звездочки, укрепленные на наклонной к устью скважины пирамиде-опоре. Канатная подвеска (или цепь) прикрепляется к штангам, а другим концом к кривошипу редуктора.

Существуют балансирные СК с гидропневматическим и пневматическим уравновешиванием. Эти станки более компактные, чем обычные балансирные, имеют более плавный ход, меньшие инерционные нагрузки. Однако они сложнее в изготовлении, дороже и, несмотря на некоторое уменьшение габаритных размеров, более металлоемки. Уравновешивание в них достигается как за счет использования роторных противовесов, так и за счет сжатия воздуха в специальном цилиндре с перемещающимся в нем поршнем. Кроме того, на СК с пневматическим уравновешиванием обязательно имеется небольшой одноцилиндровый компрессор для подкачки воздуха в систему уравновешивания.

Разработаны гидравлические качалки, состоящие из длинного цилиндра и движущегося в нем поршня, соединенного непосредственно с колонной штанг. Цилиндр устанавливается вертикально над устьем скважины. Возвратно-поступательное движение поршня и штанг достигается путем переключения золотниковым устройством нагнетаемой силовым насосом жидкости в полости цилиндра. В качестве силового используется обычно шестеренчатый насос с приводом от электродвигателя. Уравновешивание осуществляется за счет противоположного по фазе перемещения насосных груб с гидравлической подвеской. Гидравлические качалки очень компактны, имеют массу в 2 - 2,5 раза меньшую, чем обычные балансирные СК, плавный ход, однако существенным их недостатком является перемещение НКТ, дополнительные уплотнительные сальниковые элементы и длинные силовые цилиндры, изготовление которых требует совершенной технологии.

4. МЕТОДЫ УВЕЛИЧЕНИЯ НЕФТЕОТДАЧИ ПЛАСТОВ

4.1 Законтурное и внутриконтурное заводнение

Законтурное заводнение.

Скважины располагают в законтурной водоносной части пласта.применение законтурной системы разработки возможно тогда, когда водонефтяной контакт при достижимых перепадах давления может перемещаться. Воздействие на пласт в этом случае осуществляется через систему нагнетательных скважин, расположенных за внешним контуром нефтеносности. Линия нагнетания располагается примерно в 300-800 м от контура нефтеносности для создания более равномерного воздействия на него, предупреждения образования языков обводнения и локальных прорывов воды в эксплуатационные скважины.

Рис. 4.1.1. Принципиальная схема законтурного заводнения. 1 - добывающие скважины; 2 - нагнетательные скважины

Законтурное заводнение целесообразно:

при хорошей гидродинамической связи нефтеносного пласта с областью размещения нагнетательных скважин;

при сравнительно малых размерах залежи нефти, когда отношение площади залежи к периметру контура нефтеносности составляет 1,5-1,75 км. При больших значениях создаваемое давление в законтурной части практически не оказывает влияние на пластовое давление в центре залежи, в результате там наблюдается быстрое падение пластового давления;

при однородном пласте с хорошими коллекторскими свойствами как по толщине пласта, так и по площади.

Законтурное заводнение имеет и недостатки. К их числу можно отнести следующие:

повышенный расход энергии (дополнительные затраты мощностей насосных установок) на извлечение нефти, так как нагнетаемой воде приходится преодолевать фильтрационное сопротивление зоны пласта между контуром нефтеносности и линией нагнетательных скважин;

замедленное воздействие на залежь из-за удаленности линии нагнетания;

повышенный расход воды вследствие ее оттока во внешнюю область пласта за пределы линии нагнетания;

повышенный расход воды вследствие ее оттока во внешнюю област область пласта за пределы линии нагнетания;

повышенный расход воды вследствие ее оттока во внешнюю област область пласта за пределы линии нагнетания;

Внутриконтурное заводнение.

Применяют в основном при разработке нефтяных залежей с очень большими площадными размерами. Внутриконтурное заводнение не отрицает законтурное заводнение, а в необходимых случаях внутриконтурное заводнение сочетается законтурным.

Рис. 4.1.2. Схемы внутриконтурного заводнения. 1 - нагнетательные скважины; 2 - добывающие скважины а) с разрезанием залежи; б) осевое

Для полноценного разрезания нефтеносной площади нагнетательные скважины располагают рядами. При закачке в них воды по линиям рядов нагнетательных скважин образуется зона повышенного давления, которая препятствует перетокам нефти из одной площади в другую. По мере закачки очаги воды, сформировавшиеся вокруг каждой нагнетательной скважины увеличиваются в размерах и, наконец, сливаются, образуя единый фронт воды, продвижение которого можно регулировать так же, как и при законтурном заводнении. В промежутках проектные водонагнетательные скважины вводят в эксплуатацию как нефтедобывающие, осуществляя в них форсированный отбор. По мере появления в «промежуточных» скважинах закачиваемой воды, они переводятся под нагнетание воды.

Добывающие скважины располагают рядами параллельно рядам водонагнетательных скважин. Расстояние между рядами нефтедобывающих скважин и между скважинами в ряду выбирают, основываясь на гидродинамических расчетах, с учетом особенностей геологического строения и физической характеристики коллекторов на данной разрабатываемой площади.

В практике применяют следующие виды внутриконтурного заводнения. Осевое, когда нагнетательные скважины разрезают залежь по оси складки. Применяется для спокойных пологозалегающих антиклинальных складок. В этом случае представляется возможность вместо нескольких линий нагнетания иметь одну. Очаговое, когда воздействию заводнения подвергаются отдельные участки залежи

4.2 Влажное внутрипластовое горение

В случае обычного (сухого) внутрипластового горения, осуществленного нагнетанием в пласт только воздуха, вследствие его низкой теплоемкости по сравнению с породой пласта происходит отставание фронта нагревания породы от перемещающегося фронта горения. В результате этого основная доля генерируемой в пласте теплоты (до 80% и более) остается позади фронта горения, практически не используется и в значительной мере рассеивается в окружающие породы. Эта теплота оказывает некоторое положительное влияние на процесс последующего вытеснения нефти водой из неохваченных горением смежных частей пласта. Очевидно, что использование основной массы теплоты в области позади фронта горения, т. е. приближение генерированной в пласте теплоты к фронту вытеснения нефти, существенно повышает эффективность процесса.

Процесс влажного внутрипластового горения заключается в том, что в пласт вместе с воздухом закачивается в определенном количестве вода, которая, соприкасаясь с нагретой движущимся фронтом горения породой, испаряется. Увлекаемый потоком газа пар переносит теплоту в область впереди фронта горения, где вследствие этого развиваются обширные зоны прогрева, выраженные в основном зонами насыщенного пара и сконденсированной горячей воды.

Внутрипластовое парогенерирование - одна из важнейших особенностей влажного горения, в значительной мере определяющая механизм процесса вытеснения нефти из пластов. Диапазон соотношений закачиваемых в пласт объемов воды и воздуха лежит в пределах от 1 до 5 м3 воды на 1000 м3 воздуха, т. е. Водовоздушное отношение должно составлять порядка (1-5)∙103 м3/м3. Конкретные значения водовоздушного отношения определяются многими геолого-физическими и технологическими условиями осуществления процесса.

Эффективность и управляемость метода внутрипластового горения можно существенно повысить, добавляя к нагнетаемой водовоздушной смеси определенные агенты, катализаторы, добавочное топливо (жидкое или газообразное), изменяя режим и ситемы нагнетания рабочих агентов (воды и воздуха) в пласт (циклическое воздействие) с целью сокращения удельного расхода воздуха и повышения теплового воздействия на пласт.

При повышенных водовоздушных отношениях метод влажного горения переходит в другие модификации внутрипластового горения с заводнением. Фронт горения может прекратить существование, а закачиваемый кислород воздуха будет поступать в зону насыщенного пара, вступать в экзотермические реакции с нефтью и поддерживать так называемое сверхвлажное горение.

Недостатком при реализации влажного внутрипластового горения в малопроницаемых пластах является необходимость бурения нагнетательных скважин-дублеров для раздельного нагнетания воздуха и воды, так как при совместной их закачке резко снижается приемистость (в 4-10 раз).

5. БУРЕНИЕ СКВАЖИН


В нефтегазовой отрасли бурят скважины следующего назначения:

Эксплуатационные - для добычи нефти, газа и газового конденсата.

Нагнетательные - для закачки в продуктивные горизонты воды (реже воздуха, газа) с целью поддержания пластового давления и продления фонтанного периода разработки месторождений, увеличения дебита эксплуатационных скважин, снабженных насосами и воздушными подъемниками.

Разведочные - для выявления продуктивных горизонтов, оконтуривания, испытания и оценки их промышленного значения.

Специальные - опорные, параметрические, оценочные, контрольные - для изучения геологического строения малоизвестного района, определения изменения коллекторских свойств продуктивных пластов, наблюдения за пластовым давлением и фронтом движения водонефтяного контакта, степени выработки отдельных участков пласта, термического воздействия на пласт, обеспечения внутрипластового горения, газификации нефтей, сброса сточных вод в глубокозалегающие поглощающие пласты и др.

Структурно-поисковые - для уточнения положения перспективных нефте-газоносных структур по повторяющим их очертания верхним маркирующим (определяющим) горизонтам, по данным бурения мелких, менее дорогих скважин небольшого диаметра.

5.2 Применяемые промывочные жидкости

При бурении вращательным способом в скважине постоянно циркулирует поток жидкости, которая ранее рассматривалась только как средство для удаления продуктов разрушения (шлама). В настоящее время она воспринимается, как один из главных факторов обеспечивающих эффективность всего процесса бурения.

При проведении буровых работ циркулирующую в скважине жидкость принято называть - буровым раствором или промывочной жидкостью (Drilling mud, drilling fluid).

Буровой раствор кроме удаления шлама должен выполнять другие, в равной степени важные функции, направленные на эффективное, экономичное, и безопасное выполнение и завершение процесса бурения. По этой причине, состав буровых растворов и оценка его свойств становился темой большого объема научно-практических исследований и анализа.

В настоящее время в мировой практике наблюдается тенденция роста глубин бурения скважин, а как следствие, и увеличение опасности возникновения при этом различных осложнений. Кроме того, постоянно ужесточаются требования более полной и эффективной эксплуатации продуктивных пород. В этой связи буровой раствор должен иметь состав и свойства, которые обеспечивали бы возможность борьбы с большинством из возможных осложнений и не оказывали негативного воздействия на коллекторские свойства продуктивных горизонтов.

6. ПОДЗЕМНЫЙ РЕМОНТ СКВАЖИН

6.1Ликвидация песчяных пробок гидробуром

Гидробур состоит из долота 6 ударного типа для разрушения пробки, желонки 5, плунжерного насоса / для циркуляции жидкости в зоне удаления пробки.

Принцип действия гидробура следующий. После упора инструмента на забой плунжер насоса 2 под действием собственного веса и силы инерции двигается вниз, вытесняя жидкость из корпуса 3 через отверстия клапана 4. При подъеме инструмента плунжер перемещается вверх, в результате чего жидкость всасывается из корпуса желонки 8 через клапан 9. При этом в желонку через трубу 7 всасывается жидкость с частицами песка, которые после выхода из трубы 7 оседают на дне желонки. Для удаления песка из желонки на поверхности необходимо снять долото.

Способы очистки скважин от песчаных пробок желонками и гидробурами малоэффективны и применяются для неглубоких скважин при небольшой мощности пробок.

Способы промывки подразделяются на прямые, обратные и комбинированные в зависимости от направления ввода жидкости в скважину.

Выбор промывочной жидкости зависит от геолого-эксплуатационной характеристики продуктивного пласта. Наиболее удобный промывочный агент - вода. Однако во многих случаях ее использование может осложнить освоение и эксплуатацию скважины. Иногда применяют нефть и реже промывочную жидкость (при промывках скважин с высоким пластовым давлением). При сильных поглощениях промывочной жидкости используют аэрированную жидкость.

При проведении промывки устье скважины обвязывают специальной арматурой. Для промывки скважин применяют буровые насосы или передвижные насосные агрегаты УК-100x200 Ë АзИНМАШ-32М.

но быть достаточным для преодоления всех гидравлических сопротивлений.

Общее гидравлическое сопротивление как при прямой, так и при обратной промывке

Ó·˘ = hx + h2 + h3 + h4

где hi - сопротивление при движении нисходящего потока жидкости; h2 - сопротивление при движении восходящего потока жидкости; h3 - потеря напора для уравновешивания разности удельных весов жидкости в трубах и затрубном пространстве; hA - потери напора в вертлюге и шланге.

6.2 Техника и технология извлечения упавшего ЭЦН

Перед производством работ по расхаживанию и вытяжке ловильного инструмента в скважине необходимо дополнительно проверить:

·       крепление и состояние кронблока и талевого блока;

·       крепление неподвижного (мертвого) конца талевого каната и ходового конца на барабане лебедки подъемника;

·       состояние талевого каната;

·       состояние механизмов талевой системы (тормозную систему, укладку каната и т.д.);

·       исправность мачты, состояние фундаментов, центровку относительно устья и крепление оттяжек;

·       состояние якорей (мертвяков);

·       состояние оборудования и инструмента, соответствие их производимым работам по размерам и грузоподъемности и т.д.

·       исправность индикатора веса.

Перед спуском в скважину ловильного инструмента составляется эскиз общей его компоновки и ловильной части с указанием основных размеров.

Перед началом аварийных работ с приложением повышенных нагрузок на подъемный агрегат, персонал, за исключением работающего за пультом управления лебедкой, должен быть удален от устья скважины на расстояние, превышающее высоту мачты на 10 метров.

Помощники бурильщика во время расхаживания инструмента должны следить за состоянием грузовых (силовых) якорей.

Ликвидация аварий с подземным оборудованием скважин производится под руководством инженера или мастера по сложным работам.

Запрещается производить аварийные работы, связанные с расхаживанием и натяжками инструмента без индикатора веса, независимо от глубины скважины.

Запрещается создавать осевую нагрузку выше допустимой, указанной в техническом паспорте подъемного агрегата.

o   Перед началом ловильных работ производится обследование состояния «головы» аварийного оборудования спуском свинцовой (битумной) печати, производится проверка возможности подачи циркуляции, в случае ее отсутствия производится ее вызов. Производится осмотр поднятой части аварийной компоновки.

o   Соединение с находящимся в скважине оборудованием производится различными ловильными инструментами в зависимости от характера аварии, типа труб или оставленного скважинного оборудования, глубины нахождения и состояния «головы» аварийного оборудования. После соединения с аварийным оборудованием, производят работы по расхаживанию аварийного оборудования, которое, как правило, бывает прихвачено.

·       Расхаживание колонны труб производят при растяжении на длину не более 0,3-0,5 м за один прием, при этом трубы оставляют под натяжкой. Продолжительность натяжки зависит от конструкции и диаметра спущенных труб и глубины скважин, характера и места прихвата. Если после 2-3 натяжек (величину натяжек контролируют по индикатору веса) удается поднять трубы по 0,03-0,05м, то это свидетельствует о возможности освобождения прихваченных труб при расхаживании. В противном случае расхаживание прекращают. Дальнейшие работы по освобождению НКТ производят по специальному плану.

o   Извлечение оборванных НКТ из скважины производят при последовательном выполнении следующих операций:

o   спускают свинцовую печать и определяют состояние оборванного конца труб;

o   в зависимости от характера оборванного участка (разрыв, смятие, вогнутость краев и т.п.) спускают ловильный инструмент соответствующей конструкции для выправления конца трубы.

o   Извлечение прихваченных цементом труб производят в следующей последовательности:

o   Отворачивают и поднимают свободные от цемента трубы.

o   Опускают и офрезеровывают зацементированные трубы при помощи трубного или кольцевого фрезера. Длина фрезера с направлением должна быть не менее 10 метров.

o   Офрезерование и отворот труб производят с таким расчетом, чтобы конец оставшейся в скважине трубы был офрезерован. Фрезерование труб должно осуществляться при интенсивной промывке скважины и осевой нагрузке на фрезер не более 10-20 кН (1-2т)

o   Извлечение из скважины отдельных предметов осуществляют после предварительного обследования свинцовыми печатями характера и места их нахождения. В качестве ловильного инструмента применяют труболовки, колоколы, метчики, овершоты, магнитные фрезеры, фрезеры-пауки. Ловильные работы производят с промывкой. Извлекаемые предметы предварительно офрезеровывают. В случае, если предмет не удается извлечь из скважины, его офрезеровывают или дробят на мелкие куски, захватывают ловильными инструментами и поднимают из скважины.

o   Извлекают из скважины канат, кабель и проволоку при помощи удочки, крючка и др. Спускаемые в скважину ловильные инструменты должны иметь ограничители, диаметр которых не должен превышать диаметр шаблона для размера обсадной колонны.

o   Решение о прекращении работ по ликвидации аварии принимает технологическая служба НГДУ по согласованию с геологической службой и Госгортехнадзором. В особо ответственных случаях это решение утверждает руководство объединения.

При расхаживании и подъеме труб следует вести наблюдения за показаниями индикатора веса. Нагрузка на крюк не должна превышать величину грузоподъемности установленного оборудования.

В противном случае необходимо применять гидравлические домкраты.

7. МЕТОДЫ ВОЗДЕЙСТВИЯ НА ПРИЗАБОЙНУЮ ЗОНУ ПЛОСТА

7.1 Реагенты, применяемые при солянокислотной обработки

Обработка скважин соляной кислотой нашла наиболее широкое распространение вследствие своей сравнительной простоты, дешевизны и часто встречающихся благоприятных для ее применения пластовых условий.

В нефтесодержащих породах нередко присутствуют в тех или иных количествах известняки, доломиты или карбонатные цементирующие вещества. Такие породы соляная кислота хорошо растворяет, при этом происходят следующие основные реакции.

При воздействии на известняк


При воздействии на доломит

ствол скважина насосный гидробур


Хлористый кальций (CaCL2) и хлористый магний (MgCL2) - это соли, хорошо растворимые в воде - носителе кислоты, образующейся в результате реакции. Углекислый газ (CO2) также легки удаляется из скважины, либо при соответствующем давлении (свыше 7,6 МПа) растворяется в той же воде.

В количественных соотношениях реакция соляной кислоты с известняком запишется следующим образом:


Таким образом, при взаимодействии с известняком 73 г чистой НСL при полной ее нейтрализации растворяется 100 г известняка. При этом получается 111 г растворимой соли хлористого кальция, 18 г воды и 44 г углекислого газа. Таким образом, на 1 кг известняка надо израсходовать следующее количество чистой НСL - 730 г.

Аналогично для второй реакции воздействия НСL на доломит при взаимодействии 146 г чистой НСL с 184,3 г доломита [CaMg (CO3)2] при полной нейтрализации получается 111 г растворимой соли хлористого кальция; 95,3 г MgCL2; 36 г воды (Н2О) п 88 г углекислоты. Для растворения 1 кг доломита потребуется кислоты - 4,914 л 15%-ного раствора HCL.

Однако в кислоте всегда присутствуют примеси, которые при взаимодействии с ней могут образовать не растворимые в растворе нейтрализованой кислоты осадки. Выпадение этих осадков в порах пласта снижает проницаемость ПЗС. К числу таких примесей относятся следующие.

. Серная кислота H2SO4 в растворе при ее взаимодействии с хлористым кальцием СаСL2 образует гипс (CaS04×2H2O), который удерживается в растворе лишь в незначительпых количествах. Основная масса гипса выпадает в осадок в виде волокнистой массы игольчатых кристаллов.

. Некоторые реагенты, вводимые в раствор кислоты в качестве антикоррозионных добавок (например, ингибитор ПБ-5).

. Фтористый водород и фосфорная кислота, которые при некоторых технологических схемах производства соляной кислоты в ней присутствуют и при реагировании с карбонатами образуют в пласте нерастворимые осадки фтористого кальция (CaF2) и фосфорнокислого кальция [Сa3 (РO4)2].

Для обработки скважин обычно готовится раствор соляной кислоты с содержанием чистой НСL в пределах 10 - 15%, так как при большом ее содержании нейтрализованный раствор получается очень вязким, что затрудняет его выход из пор пласта. Температура замерзания 15 %-ного раствора НСL равна минус 32,8 °С.

. Ингибиторы - вещества, снижающие коррозионное воздействие кислоты на оборудование, с помощью которого раствор НСL транспортируют, перекачивают и хранят. Обычно ингибиторы добавляются в количестве до 1 % в зависимости от типа ингибитора и его исходной концентрации. В качестве ингибиторов используют:

формалин (0,6%), снижающий коррозионную активность в 7 - 8 раз;

уникол - липкую темно-коричневую жидкость (например, уникол ПБ-5) (0,25 - 0,5%), снижающую коррозионную активность в 30 - 42 раза. Однако поскольку уникод не растворяется в воде, то из нейтрализованной (отреагированной) кислоты он выпадает в осадок, поэтому его концентрацию уменьшают до 0,1 %, что снижает коррозионную активность только до 15 раз.

Для высоких температур и давлений разработан ингибитор - реагент И-1-А (0,4%) в смеси с уротропином (0,8%), снижающий коррозионную активность (при t = 87 °С и Р = 38 МПа) до 20 раз. Ингибитор катапин А считается одним из лучших. При дозировке 0,1 % от объема рабочего кислотного раствора он в 55 - 65 раз снижает коррозионную активность раствора, при 0,025% (0,25 кг на 1 м3 раствора) - в 45 раз. Однако его защитные свойства сильно ухудшаются при высоких температурах. Поэтому при t = 80 - 100 °С его дозировка увеличивается до 0,2 % с добавкой 0,2 % уротропина. Кроме того, катапин А является хорошим катионоактивным ПАВ.

Имеются и другие реагенты, используемые для снижения коррозионной активности раствора НСL.

. Интенсификаторы - поверхностно-активные вещества (ПАВ), снижающие в 3 - 5 раз поверхностное натяжение па границе нефти - нейтрализованная кислота, ускоряющие и облегчающие очистку призабойной зоны от продуктов реакции и от отреагировавшей кислоты. Добавка ПАВ увеличивает эффективность кислотных обработок. Некоторые ингибиторы, такие как катапин А, катамин А, мервелан К (0), одновременно выполняют роль интенсификаторов, так как являются и активными ПАВами. В качестве интенсификаторов используют также такие ПАВы, как ОП-10, ОП-7, 44 - 11, 44 - 22 и ряд других. Учитывая потерю ПАВ на поверхности породы в результате абсорбции в головной части нагнетаемого раствора НСL, концентрацию реагента увеличивают примерно в 2 - 3 раза.

. Стабилизаторы - вещества, необходимые для удерживания в растворенном состоянии некоторых продуктов реакции примесей раствора НСL с железом, цементом и песчаниками, а также для удаления из раствора соляной кислоты вредной примеси серной кислоты и превращения ее в растворимую соль бария


В этом случае раствор НСL перед закачкой в скважину обрабатывают раствором хлористого бария (BaCL2). Образующийся сернокислый барий (BaSO4) легко удерживается в растворе и удаляется из пор пласта в жидком состоянии вместе с другими продуктами реакции.

Добавление плавиковой кислоты (HF) в количестве 1 - 2 % предупреждает образование геля кремниевой кислоты, закупоривающего поры коллектора, и способствует лучшему растворению цементной корки. Уксусная кислота (СН3СООН) удерживает в растворенном состоянии соли железа и алюминия и сильно замедляет реакцию раствора НСL с породой, что позволяет закачать концентрированный раствор НСL в более глубокие участки пласта.

Для приготовления рабочего раствора в расчетное количество воды вводят сначала ингибитор и стабилизатор, затем техническую соляную кислоту. После перемешивания добавляют хлористый барий, снова перемешивают до исчезновения хлопьев хлористого бария, что контролируется анализом проб. Затем добавляют интенсификатор, перемешивают снова и далее дают возможность раствору отстояться до полного осветления и осаждения сернокислого бария.

Растворы НСL готовят с обязательным соблюдением правил по технике безопасности, которые предусматривают наличие специальной одежды, резиновых перчаток и очков. Особые меры предосторожности необходимы при обращении с фтористоводородной кислотой (HF), пары которой ядовиты.

Соляную кислоту перевозят в гуммированных железнодорожных цистернах или автоцистернах. Иногда для защиты железа цистерн от коррозии их внутри окрашивают в несколько слоев химически стойкой эмалью (ХСЭ-93). Фтористоводородную кислоту транспортируют в эбонитовых 20-литровых сосудах.

Различают несколько видов обработки соляной кислотой скважин, вскрывших карбонатные коллекторы: кислотные ванны, простые кислотные обработки и обработки под давлением ПЗС, термокислотные обработки, кислотные обработки через гидромониторные насадки, серийные поинтервальные кислотные обработки.

7.2 Технология термокислотной обработки

Этот вид воздействия на ПЗС заключается в обработке забоя скважины горячей кислотой, нагрев которой происходит в результате экзотермической реакции соляной кислоты с магнием или некоторыми его сплавами (МЛ-1, МА-1 п др.) в специальном реакционном наконечнике, расположенном на конце НКТ, через который прокачивается рабочий раствор НСL. При этом происходит следующая реакция.

Хлористый магний (MgCL2) остается в растворе.

При взаимодействии 73 г чистой НСL с 24,3 г Mg происходит полная нейтрализация раствора, при которой выделяется 461,38 кДж тепловой энергии. Легко подсчитать, что при взаимодействии 1000 г магния выделится 18987 кДж теплоты.

Для растворения 1 кг Mg потребуется 18,61 л 15%-ного раствора НСL.

Необходимое количество 15%-ной соляной кислоты для получения различных температур раствора (на 1 кг Mg) приведено ниже.

Таблица 7.2.1

Количество НСL, л

50

60

70

80

100

Температура раствора, °С

120

100

85

75

60

Остаточная концентрация НСL, %

9,6

10,5

11

11,4

12,2


Из уравнения баланса теплоты


следует что при реализации всей выделившейся теплоты Q кДж на нагрев V л раствора, имеющего теплоемкость Cv (кДж/л×°С), нагрев раствора произойдет на Dt °С или


Принимая приближенно теплоемкость раствора 15%-ной НСL, равной теплоемкости воды, т. е. Сv = 4,1868 кДж/л×°С , получим

На столько градусов увеличится температура раствора при полном использовании теплоты на нагрев только продуктов реакции. (По некоторым данным температура раствора может достигать 300 °С).

При таком расчете получается только тепловой эффект и полностью нейтрализованная кислота. Чтобы сохранить активность раствора кислоты для взаимодействия с породой, его количество на 1 кг Mg надо брать не 18,61 л, а больше, однако при этом и температура раствора получится ниже, так как общий объем продуктов реакции увеличится.

В табл. приведены количества 15 %-ной кислоты на 1 кг магния и получаемые при этом температура и остаточные концентрации НСL.

Обычно в наконечники загружают от 40 до 100 кг магния в зависимости от обрабатываемого интервала пласта и желаемой температуры. При этом прокачивается от 4 до 10 м3 15 %-ного раствора НСL.

Существуют два вида обработки.

Термохимическая обработка ПЗС - обработка горячей кислотой, при которой для растворения магния подается избыточное количество кислоты для растворения карбонатов породы пласта так, чтобы сохранялась концентрация НСL 10 - 12 %.

Термокислотная обработка ПЗС - сочетание термохимической и непрерывно следующей за ней кислотной обработки ПЗС. Причем кислотная обработка может быть как обычной, так и под давлением.

Скорость прокачки раствора НСL должна быть такой, чтобы в течение всего процесса на выходе наконечника была одинаковая запланированная температура и постоянная остаточная кислотность раствора. Это условие трудно выполнимо, так как при прокачке кислоты через магний непрерывно изменяются его масса, поверхность соприкосновения с кислотой, температура реакционной среды, концентрация кислоты и др. Это затрудняет расчет режима прокачки кислоты.

С помощью опытных прокачек в поверхностных условиях определили, что при давлениях на глубине установки реакционного наконечника, превышающих 3 МПа, рекомендуется применять магний в виде стружки, причем чем больше давление, тем магниевая стружка должна быть мельче и тоньше. При давлениях ниже 3 МПа - в виде брусков квадратного и круглого сечения. Причем чем ниже давление, тем площадь поперечного сечения этих брусков может быть больше. Так, при давлении до 1 МПа используются бруски с площадью 10 - 15 см2. При давлении от 1 до 3 МПа размеры брусков уменьшают так, чтобы площадь сечения каждого была 1 - 5 см2 .

Термохимические солянокислотные обработки ПЗС эффективны в скважинах с низкими пластовыми температурами, в призабойной зоне которых наблюдается отложение твердых углеводородов (смолы, парафины, асфальты). Этот вид обработки может быть применен как для карбонатных коллекторов, так и для терригенных при достаточно высокой их карбонатности

8. СБОР И ПОДГОТОВКА СКВАЖИННОЙ ПРОДУКЦИЙ

8.1 Устройство и работа сепараторов

Отделение нефти от газа и воды производится с целью:

·   получения нефтяного газа, который используется как химическое сырье или как топливо;

·   уменьшения перемешивания нефтегазового потока и снижения за счет этого гидравлических сопротивлений;

·   уменьшения пенообразования (оно усиливается выделяющимися пузырьками газа);

·   уменьшения пульсаций давления в трубопроводах при дальнейшем транспорте нефти от сепараторов первой ступени до установки подготовки нефти (УПН).

Движение газонефтяной смеси по промысловому трубопроводу сопровождается пульсациями давления, например, если поток имеет пробковую структуру, то происходит попеременное прохождение пробок нефти и пробок газа. Возникающие циклические нагрузки на трубопровод приводят к возникновению трещин и разрушению трубопровода.

Сепараторы условно можно подразделить на следующие категории:

. по назначению: замерные и сепарирующие;

. по положению в пространстве: вертикальные, горизонтальные и наклонные;

4. по характеру основных действующих сил: гравитационные, инерционные, центробежные, ультразвуковые и т.д.

5. по технологическому назначению:

·   двухфазные - применяются для разделения продукции скважин на жидкую и газовую фазу;

·   трехфазные - служат для разделения потока на нефть, газ и воду;

·   сепараторы первой ступени сепарации - рассчитаны на максимальное содержание газа в потоке и давление I ступени сепарации;

·   концевые сепараторы - применяются для окончательного отделения нефти от газа при минимальном давлении перед подачей товарной продукции в резервуары;

·   сепараторы-делители потока - используются, когда необходимо разделить выходящую из них продукцию на потоки одинаковой массы;

·   сепараторы с предварительным отбором газа: раздельный ввод жидкости и газа в аппарат увеличивает пропускную способность данных аппаратов по жидкости и газу;

6. по рабочему давлению:

·   высокого давления - более 4 МПа;

·   среднего давления - 2.5 - 4 МПа;

·   низкого давления - до 0.6 МПа;

·   вакуумные - (давление ниже атмосферного).

ПРИНЦИПИАЛЬНОЕ УСТРОЙСТВО СЕПАРАТОРОВ

Нефтегазовая смесь под давлением через патрубок поступает к раздаточному коллектору (4), имеющему по всей длине щель для выхода смеси (рисунок 4.1). Из щели нефтегазовая смесь попадает на наклонные плоскости (10), увеличивающие путь движения нефти и облегчающие выделение окклюдированных пузырьков газа. В верхней части сепаратора установлена каплеуловительная насадка (3) жалюзийного типа. Капли нефти, отбиваемые в жалюзийной насадке, стекают в поддон и по дренажной трубе направляются в нижнюю часть сепаратора. За насадкой по ходу потока газа установлена перегородка с большим числом отверстий, выполненных по принципу пропуска равных расходов, выравнивающая скорость движения газа.

В сепараторе любого типа различают четыре секции. Рассмотрим их на примере вертикального гравитационного сепаратора.

Рисунок 8.1 - Схема вертикального сепаратора

I - основная сепарационная секция, служащая для отделения нефти от газа; на работу этой секции большое влияние оказывает конструкция ввода продукции скважин (5) (тангенциальный, радиальный, использование насадок-диспергаторов, диспергирующих газожидкостный поток и создающих высокую поверхность раздела фаз, увеличивая дисперсность системы. В результате этого происходит интенсивное выделение газа из нефти).

 - осадительная секция, в которой происходит дополнительное выделение пузырьков газа, увлеченных нефтью из I секции. Для более интенсивного выделения окклюдированных пузырьков газа, нефть направляют тонким слоем по наклонным плоскостям, увеличивая тем самым длину пути движения нефти и эффективность ее сепарации. Наклонные плоскости могут быть изготовлены с небольшим порогом, способствующим выделению газа из нефти (это происходит благодаря разрушению газо-жидкостных структур за счет волнового движения).

III - секция сбора нефти, занимающая самое нижнее положение в сепараторе и предназначенная для сбора и вывода нефти из сепаратора; нефть может находиться здесь или в однофазном состоянии или в смеси с газом - в зависимости от эффективности работы I и II секций и времени прибывания нефти в аппарате.


Слой пены оказывает значительное сопротивление выделению газа из всплывающих пузырьков.

Поэтому продолжительность пребывания нефти в сепараторе при наличии слоя пены в сепараторе может быть увеличена в несколько раз. При достижении определенной высоты пена может подхватываться потоком газа и уноситься из сепаратора. Замечено, что тяжелые нефти более склонны к пенообразованию, чем легкие.

IV - каплеуловительная секция расположена в верхней части сепаратора и служит для улавливания мельчайших капелек жидкости, уносимых потоком газа. Каплеуловительная секция конструктивно может быть различной и работа ее может основываться на одном или нескольких принципах, например:

·   столкновение потока газа с различного рода препятствиями: прилипание капель жидкости, силы адгезии;

·   изменение направления потока: силы инерции;

·   изменение скорости потока;

·   использование центробежной силы;

·   использование коалесцирующей набивки (металлические сетки) для слияния мелких капель жидкости в более крупные.

Итак:

Перемещаясь в сторону пониженного давления, газ в виде пузырьков, расширяющихся и соединяющихся в более крупные, увлекает нефть и, в то же время, опережает ее. Процесс этот продолжается до входа в сепаратор. Перед входом в сепаратор продукция скважины всегда состоит из двух фаз - жидкой и газовой. Соотношение между объемами фаз зависит от состава нефти в пластовых условиях, давления насыщения и давления в сепараторе.

Если, например, в скважину поступает из пласта нефть, то к нефтегазовому сепаратору подойдут газ, выделившийся из нефти вследствие снижения давления от давления насыщения до давления, установленного в сепараторе, и оставшаяся нефть с окклюдированным газом, т.е. пузырьками газа, захваченными нефтью или не успевшими из нее выделиться.

Основной процесс в нефтегазовом сепараторе - отделение свободного газа и выделение из нефти окклюдированного газа.

Кроме сепарации газа в сепараторе происходят и другие процессы: очистка газа от частиц жидкости и подъем пузырьков газа окклюдированных в слое нефти, находящейся в секции сбора жидкости.

Из всех типов сепараторов (гравитационные, инерционные (жалюзийные), центробежные и ультразвуковые) сравнительно легко поддаются расчету только гравитационные, жалюзийные и гидроциклонные.

8.2 Виды нефтяных эмульсий

При извлечении из пласта, движении по насосно-компрессорным трубам в стволе скважины, а также по промысловым трубопроводам смеси нефти и воды, образуется в одонефтяная эмульсия - механическая смесь нерастворимых друг в друге и находящихся в мелкодисперсном состоянии жидкостей.

В эмульсиях принято различать дисперсионную (внешнюю, сплошную) среду и дисперсную (внутреннюю, разобщенную) фазу. По характеру дисперсионной среды и дисперсной фазы различают два типа эмульсий: «нефть в воде» и «вода в нефти». Тип образующейся эмульсии, в основном, зависит от соотношения объемов фаз, а также от температуры, поверхностного натяжения на границе «нефть-вода» и др.

Одной из важнейших характеристик эмульсий является диаметр капель дисперсной фазы, так как от него зависит скорость их осаждения.

Для разрушения эмульсий применяются следующие методы:

гравитационное холодное разделение;

внутритрубная деэмульсация;

термическое воздействие;

термохимическое воздействие;

электрическое воздействие;

·   фильтрация;

- разделение в поле центробежных сил.

Рис. 8.2.Горизонтальный газонефтяной сепаратор гидроциклонного типа: 1 - емкость; 2 - однотомный гидроциклон; 3 - направляющий патрубок; 4 - секция перетока; 5 -каплеотбойник; 6 - распределительные решетки; 7 - наклонные полки; 8 - регулятор уровня

Рис. 8.3 Принципиальная схема отстойника непрерывного действия

Гравитационное холодное разделение применяется при высоком содержании воды в пластовой жидкости. Отстаивание производится в отстойниках периодического и непрерывного действия.

Сущность метода внутритрубной деэмульсации заключается в том, что в смесь нефти и воды добавляется специальное вещество -деэмульгатор в количестве 15...20 г на тонну эмульсии. Деэмульгатор разрушает бронирующую оболочку на поверхности капель воды и обеспечивает тем самым условия для их слияния при столкновениях. В последующем эти укрупнившиеся капельки относительно легко отделяются в отстойниках за счет разности плотностей фаз.

Термическое воздействие заключается в том, что нефть, подвергаемую обезвоживанию, перед отстаиванием нагревают. При нагревании, с одной стороны, уменьшается прочность бронирующих оболочек на поверхности капель, а, значит, облегчается их слияние, с другой стороны, уменьшается вязкость нефти, в которой оседают капли, а это увеличивает скорость разделения эмульсии.

Нагревают эмульсию в резервуарах, теплообменниках и трубчатых печах до температуры 45...80 °С.

Термохимический метод заключается в сочетании термического воздействия и внутритрубной деэмульсации.

Электрическое воздействие на эмульсии производится в аппаратах, которые называются электродегидраторами. Под действием электрического поля на противоположных концах капель воды появляются разноименные электрические заряды. В результате капельки притягиваются друг к другу и сливаются. Затем они оседают на дно емкости.

Фильтрация применяется для разрушения нестойких эмульсий. В качестве материала фильтров используются вещества, не смачиваемые водой, но смачиваемые нефтью. Поэтому нефть проникает через фильтр, вода нет.

Обессоливание

Обессоливание нефти осуществляется смешением обезвоженной нефти с пресной водой, после чего полученную искусственную эмульсию вновь обезвоживают. Такая последовательность технологических операций объясняется тем, что даже в обезвоженной нефти остается некоторое количество воды, в которой и растворены соли. При смешении с пресной водой соли распределяются по всему ее объему и, следовательно, их средняя концентрация в воде уменьшается.

При обессоливании содержание солей в нефти доводится до величины менее 0,1 %.

Стабилизация

Под процессом стабилизации нефти понимается отделение от нее легких (пропан-бутанов и частично бензиновых) фракций с целью уменьшения потерь нефти при ее дальнейшей транспортировке.

Стабилизация нефти осуществляется методом горячей сепарации или методом ректификации. При горячей сепарации нефть сначала нагревают до температуры 40...80 "С, а затем подают в сепаратор. Выделяющиеся при этом легкие углеводороды отсасываются компрессором и направляются в холодильную установку. Здесь тяжелые углеводороды конденсируются, а легкие собираются и закачиваются в газопровод.

При ректификации нефть подвергается нагреву в специальной стабилизационной колонне под давлением и при повышенных температурах (до 240 °С). Отделенные в стабилизационной колонне легкие фракции конденсируют и перекачивают на газофракционирующие установки или на ГПЗ для дальнейшей переработки.

К степени стабилизации товарной нефти предъявляются жесткие требования: давление упругости ее паров при 38 °С не должно превышать 0,066 МПа (500 мм рт. ст.).


9.1 Исследование скважин на установившемся режиме

была получена формула радиального притока жидкости к скважине

,

Если e = e(r), то

,

В главе было показано, что формулы справедливые, строго говоря, для совершенных скважин, остаются справедливыми и для скважин несовершенных (перфорированных), но при подстановке в них вместо радиуса скважины rс приведенного радиуса rпр.

Из формул видно, что дебит жидкости q зависит от депрессии Рк - Рс, которая является независимым аргументом. Группу постоянных величин, входящих в эти формулы, можно обозначить А. Таким образом,

, или

,

Тогда дебит будет равен

.

Формулы определяют дебит жидкости в пластовых условиях. На практике дебит q измеряется при стандартных условиях и не в объемных единицах, а в т/сут.

Учитывая усадку нефти, т. е. вводя объемный коэффициент bн, и плотность нефти при стандартных условиях ρн, а также переходя от секунд к суткам, можем формулу переписать так:

,

Введем обозначение

,

Тогда

,

где Q - дебит скважины при стандартных условиях, т/сут; К - коэффициент продуктивности, т/(сут×Па).

Формула (6.8) получила название формулы притока. Из нее видно, что приток линейно зависит от депрессии или при постоянном давлении на контуре от давления на забое скважины.

 ,

т. е. коэффициент продуктивности есть суточный дебит скважины, приходящийся на единицу депрессии. Подставляя в значения А из и раскрывая значение e, можем записать

,

Если известно пластовое давление в скважине, то индикаторную линию можно строить в функции депрессии DР = Рк - Рс, т. е. [Q(Dp)]. Если пластовое давление неизвестно, то индикаторную линию строят в функции забойного давления рс, т. е. [Q(Рc)]. Экстраполируя индикаторную линию до пересечения с осью ординат, можно определить пластовое давление как ординату Р, соответствующую нулевому значению дебита (рис. 6.1). Экстраполяция индикаторной линии до пересечения с осью дебитов дает величину так называемого потенциального дебита Qпот, т. е. дебита при нулевом давлении на забое скважины.Кроме того, индикаторные линии не всегда получаются прямыми, как это следует из формулы притока. Искривление индикаторной линии в сторону оси давления означает увеличение фильтрационного сопротивления по сравнению со случаем фильтрации, описываемым линейным законом Дарен. Это объясняется тремя причинами.

Рис. 9.1. Построение зависимости Q(Рc) по четырем фактическим точкам

. Образованием вокруг скважины области с двухфазной фильтрацией при забойном давлении ниже давления насыщения. Чем больше эта разница, тем больше радиус области двухфазной (нефть+газ) фильтрации и, следовательно, больше фильтрационное сопротивление.

. Изменением проницаемости и раскрытости микротрещин в породе при изменении внутрипластового давления.

. Превышением скоростей движения жидкости в призабойной зоне критических значений, при которых линейный закон Дарси нарушается.

Искривление в сторону оси дебитов объясняется неодновременным вступлением в работу отдельных прослоев или пропластков и разными значениями в них пластовых давлений. Это можно пояснить на примере двухслойного пласта. Если пластовое давление в первом пропластке Рк1 а во втором Рк2 причем Рк1 > Рк2, то при всех забойных давлениях Рс, лежащих в пределах Рк1 > Рс > Рк2, приток будет только из первого пропластка. При снижении Рс до величины Рс < Рк2 < Рк1 будут работать оба пропластка, т. е. дебит непропорционально возрастет. Если бы в реальных скважинах процессы фильтрации были обратимы, т. е. расход при отборе был бы равен расходу при поглощении в условиях численного равенства депрессии и репрессии, то это не могло обусловить кривизну индикаторной линии, так как известно, что алгебраическая сумма линейных уравнений всегда дает результирующее линейное.

Однако по целому ряду причин процессы фильтрации необратимые, и в частности потому, что на забое всегда имеются взвесь, илистые и глинистые осадки, которые при возникновении репрессии закрывают поры, т. е. работают как обратный клапан: выпускают жидкость из пласта в скважину и задерживают в обратном направлении. Наличие многих прослоев сглаживает ход результирующей индикаторной линии, плавно загибающейся в сторону оси дебитов.

При любом виде искривления индикаторной линии ее всегда можно аппроксимировать уравнением

,

Это уравнение называют общим уравнением притока.

При n = 1 уравнение описывает прямолинейную индикаторную линию. При 1 > n > 1/2 - индикаторные линии с искривлением в сторону оси P, при n > 1/2 - индикаторные линии с искривлением в сторону оси Q.

Случай линейной фильтрации является аналогом ламинарному течению жидкости в трубной гидравлике. Ламинарное течение с энергетической точки зрения наиболее экономичное, поэтому в общем уравнении притока n больше единицы быть не может.

При n = 1/2 приток имеет четко выраженное турбулентное течение жидкости, когда коэффициент трения l не зависит от числа Re. Таким образом, индикаторная линия с искривлением в сторону оси дебитов (n > 1) физически невозможна. В противном случае это означало бы существование течения жидкости с энергетической точки зрения более экономичного, чем в случае ламинарного течения. Поэтому индикаторные линии с искривлением в сторону оси дебитов, когда n > 1, просто считали дефектными.

С появлением скважинных дебитомеров удалось установить истинные причины искривления индикаторных линий. При n ¹ 1 коэффициент К в общем уравнении притока теряет свой физический смысл коэффициента продуктивности и превращается просто в коэффициент пропорциональности или в угловой коэффициент.

При прямой индикаторной линии коэффициент продуктивности К может быть найден по любым двум фактическим точкам как

 ,

Зная К, можно определить гидропроводность e = kh/m. Для этого надо решить формулу (6.10) относительно e

 ,

Зная по геофизическим данным или по результатам глубинной дебитометрии h, а по лабораторным данным m, можно определить проницаемость k в районе данной скважины. Если имеется ряд фактических замеров дебитов Qi и соответствующих этим дебитам замеров забойного давления Pi, то по этим данным можно определить все постоянные коэффициенты общего уравнения притока. Поскольку их три (К, Pк, n), то нужно иметь по крайней мере замеры дебитов и давлений при трех режимах эксплуатации. Полагая, что индикаторная линия описывается уравнением вида, то для каждого режима будем иметь

 

Деля уравнение 1 на 2, сокращая на К и логарифмируя правую и левую часть, найдем


или

 ,

Решая 2 с 3 аналогично, найдем

 ,

Деля (6.15) на (6.16) и сокращая на n, найдем:

 ,

Левая часть, число N, известна, так как Q1, Q2, Q3 известны. Неизвестно Pк. Его аналитическое определение представляет сложности, так как уравнение трансцендентное. Поэтому Pк может быть найдено графоаналитически. Задаваясь несколькими произвольными, но близкими к реальным значениям Pк, вычисляем отдельно М - правую часть равенства и строим график зависимости М(Рк) . Находя на этом графике точку пересечения А прямой N = const с линией М(Pк), получаем абсциссу этой точки, т. е. такое значение Pк, при котором N = M. Дальнейшее определение коэффициентов К и n трудностей не представляет.

Рис. 9.2. Графоаналитический метод определениявеличины Рк.

Решая уравнение относительно искомого n и подставляя в него уже найденное Pк, найдем

 ,

И далее, из любого 1, 2, 3 уравнений, подставляя в них уже найденные Pк и n, определим К.

 ,

Поскольку точки Qi и Pi всегда дают разброс, то из уравнений системы получится три разных значения К. Рекомендуется принять среднее арифметическое.

В подземной гидравлике обосновывается описание процесса фильтрации так называемой двучленной формулой

.

По существу это есть аппроксимация индикаторной линии полиномом второй степени. При малых Q второе слагаемое в мало. При увеличении Q оно увеличивается пропорционально квадрату Q. Уравнение преобразуется в прямую делением всех членов на Q:

 .

Рис. 9.3. Индикаторная линия при двучленной формуле притока

Имея фактические точки, т. е. Qi, и Pci, и строя по ним график в координатах у = (Pк - Рc) / Q и x = Q, получаем прямую, не проходящую через начало координат и отсекающую на оси у отрезок a, b - угловой коэффициент этой линии (рис. 9.3):

 .

 следовательно,

.

Таким образом, в случае аппроксимации криволинейной индикаторной линии двучленной формулой необходимо по фактическим точкам перестроить индикаторную линию в координатах у = (Рк - Рc)/Q, х = Q, определить отрезок а и далее согласно формуле найти искомые параметры: гидропроводность e или проницаемость k. В случае фильтрации в пласте газированной жидкости, т. е. при Рпл < Рнас, параметры пласта определяют по формуле установившегося радиального притока газированной жидкости, которая решается относительно искомой e.

Формула имеет вид

 ,

где Нк и Нс - функции, учитывающие изменение газонефтенасыщенности и фазовой проницаемости для жидкости при изменении давления. Остальные обозначения прежние.

В заключение необходимо заметить, что использование формул установившегося радиального притока для определения гидропроводности пласта e = kh/m дает значения этого параметра, характерные для призабойной зоны пласта, так как в этой зоне происходит наибольшее падение давления.

9.2 Гидропрослушивание пластов

Цель исследования пластов по методу гидропрослушивания - изучение параметров пласта, линий выклинивания пласта, тектонических нарушений. Сущность метода заключается в наблюдении изменении уровня жидкости или давления в скважинах, обусловленным изменением отбора жидкости в соседних скважинах. Фиксируя начало прекращения или изменения отбора жидкости в «возмущающей» скважине и начало изменения давления в «реагирующей» скважине по времени пробега «волны давления» от одной скважины до другой, можно судить о свойствах пласта. При известном расстоянии между скважинами и зафиксированном времени пробега «волны давления» определяют пьезопроводность пласта.

Если при гидропрослушивании в скважине не отмечается реагированием на изменении отбора в соседней скважине, то это указывает на наличие между скважинами непроницаемого экрана. Таким образом, гидропрослушивание позволяет выявить особенности строения пласта, которые не всегда представляется возможным установить в процессе разведки и геологического изучения месторождения.

СПИСОК ИСПОЛЬЗАВАННОЙ ЛИТЕРАТУРЫ

1. Бухаленко Е. И., Абдуллаев Ю. Г. Монтаж, обслуживание и ремонт нефтепромыслового оборудования. М., Недра, 1974.

. Валиханов А. В., Хисамутдинов Н. И., Ибрагимов Г. 3. Подземный ремонт насосных скважин. М., Недра, 1978.

. Григорян А. Г. Прострелочные и взрывные работы в скважинах. М., Недра, 1980.

. Казак А. С., Рост Н. И., Чичеров Л. Г. Погружные бесштанговые насосы для добычи нефти. М., Недра, 1973.

. Казак А. С. Новое в развитии техники и технологии механизированных способов добычи нефти. М., изд. ВНИИОЭНГ, 1974.

. Муравьев В. М. Спутник нефтяника. М., Недра, 1977.

. Петров А. И. Глубинные приборы для исследования скважин. М., Недра, 1980.

. Справочная книга по добыче нефти. Под ред. проф. Ш. К. Гиматудинова. М., Недра, 1974.

. Справочная книга по текущему и капитальному ремонту скважин/ А. Д. Амиров, А. К. Карапетов, Ф. Д. Лемберанский. М., Недра, 1979.

. Техника и технология добычи нефти и газа/И. М. Муравьев, М. Н. Базлов, А. И. Жуков и др. М., Недра, 1971.

. Чекалюк Э. Б. Термодинамика нефтяного пласта. М., Недра, 1965.

. Шошин В. Д. Нефтяники страны. М., Недра, 1976.

Похожие работы на - Эксплуатация скважин различными методами

 

Не нашли материал для своей работы?
Поможем написать уникальную работу
Без плагиата!
Без нейросетей!