Производство алюминия из вторичного сырья

  • Вид работы:
    Дипломная (ВКР)
  • Предмет:
    Другое
  • Язык:
    Русский
    ,
    Формат файла:
    MS Word
    523,60 kb
  • Опубликовано:
    2011-09-30
Вы можете узнать стоимость помощи в написании студенческой работы.
Помощь в написании работы, которую точно примут!

Производство алюминия из вторичного сырья

ВВЕДЕНИЕ

При выплавке сплавов цветных металлов на заводах часто используются современные типы дуплекс-процесса. В качестве первого плавильного агрегата, например, может быть индукционная тигельная печь средней частоты для проведения скоростной плавки, а в качестве второго агрегата используется канальная индукционная печь промышленной частоты или тигельная с укороченным индуктором для накопления металла, регулирования его химсостава и теплосохранения.

Глава 1. Технология плавки цветных металлов

В связи с быстрым развитием автомобилестроения, самолетостроения и других новейших направлений машиностроения в гражданских и оборонных отраслях, значительно возросла выплавка сплавов цветных металлов. Мировая тенденция развития печных агрегатов для производства сплавов цветных металлов характеризуется следующими положениями:

печи на коксе практически не используются из-за высокого загрязнения сплавов, трудности получения отливок высокого качества, низкой экологичности и высокого энергопотребления;

сокращается использование пламенных отражательных печей ввиду повышения угара металла и насыщения его газами, особенно при использовании легковесной садки и существенного загрязнения продуктами сгорания топлива;

по сути прекратилось применение электродуговых печей также по причине большого угара металла, трудности регулирования химсостава и гомогенности сплава, а также из-за больших затрат энергии при теплосохранении расплава;

печи сопротивления используются только как теплосохраняющие и практически не применяются как плавильные агрегаты из-за низкой производительности;

быстро расширяется сфера применения индукционных печей: тигельных и канальных на промышленной частоте, тигельных плавильных на средней частоте и тигельных с укороченным индуктором для выдержки металла, - которые используются во всех видах выплавки цветных металлов, процессах теплосохранения и разливки.

Тигельные печи средней частоты вытесняют индукционные печи промышленной частоты и применяются для скоростных плавок малыми партиями. Канальные индукционные печи промышленной частоты наиболее эффективны как теплосохраняющие и разливочные. Крупные канальные индукционные печи используются для выплавки и накопления отдельных марок цветного металла в ночное время, когда стоимость электроэнергии самая низкая, а в дневное время обеспечивается непрерывная разливка или литье в крупные формы.

При выплавке сплавов цветных металлов на заводах часто используются современные типы дуплекс-процесса. В качестве первого плавильного агрегата, например, может быть индукционная тигельная печь средней частоты для проведения скоростной плавки, а в качестве второго агрегата используется канальная индукционная печь промышленной частоты или тигельная с укороченным индуктором для накопления металла, регулирования его химсостава и теплосохранения.

В некоторых случаях применяется триплекс-процесс выплавки цветных металлов. Он объединяет три связанных процесса - выплавку, теплосохранение, разливку, что позволяет точно контролировать состав и температуру сплава и в полной мере использовать производительность литейного участка.

Обобщая результаты сравнения различных плавильных агрегатов для плавки цветных металлов с точки зрения технико-экономической эффективности, экологической безопасности и технологических возможностей, можно сделать вывод, что индукционный метод плавки наиболее полно отвечает требованиям современного производства. Методы пламенного и электродугового нагрева по многим критериям уступают индукционной плавке. Только возможность использования в качестве загрузки с высоким содержанием примесей является технологическим преимуществом пламенных и электродуговых плавильных агрегатов. Однако в качестве главного аргумента в пользу плавильных установок с топливным нагревом обычно приводится низкая стоимость энергии. Но если принять во внимание не только прямые расходы, но и расходы на обслуживающий персонал, накладные расходы и затраты на достижение высокого качества продукции, затраты на утилизацию и обогащение ядовитых в известной степени солевых шлаков, образующихся при использовании флюсов во время плавки цветных металлов, то во многих случаях практически исчезает и это преимущество методов пламенного нагрева.

Среди известных конструкций индукционных печей наиболее эффективны тигельные индукционные печи средней частоты. Они не имеют недостатков, свойственных канальным индукционным печам, связанных с необходимостью систематической очистки каналов, затрудненным переходом с плавки одной марки металла на другую, а также с необходимостью заполнения рабочих каналов горячим расплавом даже при длительных остановках. Тигельные печи допускают быстрый переход с одной марки на другую. Тигель менее чувствителен к охлаждению, а его состояние можно визуально контролировать. Тигельная печь работает в садочном режиме с холодной завалкой шихты и обеспечивает интенсивное перемешивание металла, что позволяет ускорить плавление твердых кусков и усреднить температуру и химсостав ванны расплава металла.

Глава 2. Техника безопасности при производстве алюминия из вторичного сырья

В производственных помещениях, характеризующихся значительными влаговыделениями, выделениями гигроскопической пыли, хлора и хлористого водорода, должна быть исключена возможность образования конденсата за счет применения соответствующих систем вентиляции межэтажных перекрытий и кровли.

Не допускается устройство внутренних водостоков в зданиях преобразовательных подстанций, электролизных и литейных корпусах, а также в производственных зданиях обезвоживания карналлита.

Хранение технологических материалов должно осуществляться в складах, отсеках, бункерах и на специально оборудованных площадках. При этом должна быть исключена возможность их смешивания.

Выгрузка и загрузка технологических материалов (сырье, флюсы, отходы производства, «обороты», топливо и др.), транспортирование их на дальнейшую переработку, а также упаковка, складирование, отгрузка готовой продукции должны быть механизированы.

Расстояние между параллельно установленными барабанами вращающихся печей должно быть не менее трех их диаметров.

Переработка вторичного сырья (лома цветных металлов) должна осуществляться с соблюдением требований инструкции, утвержденной техническим руководителем организации.

Ширина рабочих проходов между габаритами оборудования с интенсивным теплоизлучением или штабелями металла у литейных конвейеров должна быть не менее 1,5 м.

Инструменты, приспособления, погружные части центробежных насосов, заборники вакуум-ковшей, сифонов и другого оборудования для работы с расплавами должны быть просушены и прогреты (непосредственно перед погружением в расплав) до температуры, исключающей возможность выброса расплава.

Литейные вакуум-ковши, тигли, короба, изложницы, кристаллизаторы, кокильные формы, шламовницы и другие емкости для расплава должны быть очищены от мусора и просушены перед заливкой в них расплава.

Уровень расплава в ковшах для транспортирования его между цехами, участками и отделениями должен быть ниже верхней кромки ковша не менее чем на 200 мм.

Площадки для естественного охлаждения коробов с расплавом должны располагаться не ближе 5 м от основных транспортных проездов и постоянных рабочих мест.

Запорная и регулирующая арматура на трубопроводах воздуха и топлива должна размещаться вне зоны обслуживания смотровых окон и отверстий для установок горелок и форсунок.

Содержание влаги в шихтовых материалах, перерабатываемых в металлургических агрегатах, регламентируется технологической инструкцией, утвержденной техническим руководителем организации.

Загрузка в металлургические агрегаты шихтовых материалов, влажность которых превышает величину, установленную технологической инструкцией, не допускается.

Кожухи электропечей и их металлоконструкции, которые могут оказаться под напряжением, должны быть заземлены. Токоведущие части электропечей должны быть изолированы или ограждены.

Проверка сопротивления изоляции конструктивных элементов основного и вспомогательного технологического и электротехнического оборудования относительно «земли», а также сопротивления заземляющих устройств должна проводиться по графику, утвержденному техническим руководителем организации.

Результаты замеров сопротивления изоляции и сопротивления заземляющих устройств заносятся в специальный журнал.

Вытяжные системы и аспирационные установки должны обеспечивать удаление пыли, газов, паров и аэрозолей от мест их образования так, чтобы содержание вредных веществ в воздухе рабочей зоны не превышало предельно допустимые концентрации (ПДК).

Воздух аспирационных установок, выбрасываемый в атмосферу, должен соответствовать требованиям санитарных норм.

Составные части производственного оборудования, в том числе энергетические трубопроводы, рукава и электрокабели, должны быть защищены от возможного попадания на них расплава.

Проектом должно быть предусмотрено оснащение агрегатов и аппаратов системами контроля и сигнализации, извещающими о пуске, остановке и нарушениях режима работы оборудования.

Плавильные печи должны быть оборудованы приямками или специальными емкостями, обеспечивающими прием всего расплава при возможных авариях.

Места приема расплава должны быть сухими.

Эксплуатация металлургических агрегатов при отклонениях манометрического режима от величин, установленных технологической инструкцией, утвержденной техническим руководителем организации, не допускается.

При отключении технологического оборудования аварийными кнопками должна быть предусмотрена соответствующая защита против дистанционного включения.

Конструкция рабочих площадок и сопряжений их с металлургическими агрегатами должна исключать просыпание материала с верхних площадок на нижние.

Производственный персонал, обслуживающий хлораторы, электролизеры, плавильные электрические печи и другое технологическое оборудование (установки), должен иметь соответствующую квалификационную группу.

Эксплуатация гидротехнических сооружений хвостохранилищ, шламохранилищ и гидроотвалов металлургических производств должна соответствовать требованиям Правил безопасности гидротехнических сооружений накопителей жидких промышленных отходов, утвержденных постановлением Госгортехнадзора России от 28.01.02 № 6, зарегистрированным Минюстом России 16.04.02 г., рег. № 3372 (Российская газета, 08.06.02, № 103).

Производство глинозема

Эксплуатация и техническое обслуживание технологического оборудования по производству глинозема из природного сырья должны соответствовать требованиям инструкции по эксплуатации технологического оборудования глиноземного производства, утвержденной техническим руководителем организации.

На печах спекания шихты и кальцинации глинозема узлы перегрузки материала из печей в холодильники и из холодильников на конвейеры должны быть оборудованы устройствами, исключающими просыпание горячего продукта. Зоны возможного выброса горячего материала должны быть ограждены.

Печи спекания и кальцинации должны быть оборудованы средствами контроля продольного смещения барабана печи и домкратами для его перемещения вверх-вниз.

Приводной механизм вращения печей спекания и кальцинации должен быть оборудован резервным двигателем с независимым источником питания.

На газоходах отходящих газов печей спекания и кальцинации должны быть установлены автоматические газоанализаторы для контроля содержания в них окиси углерода.

При розжиге горелок печей барабанного типа подается сначала воздух для вентиляции барабана, а затем топливо на горящий факел.

Выключение горелок проводится в обратном порядке.

В схеме управления вращающихся печей должно быть предусмотрено отключение привода барабана с рабочих мест у загрузочного и разгрузочного узлов.

Обезвоживание карналлита и производство флюсов

Процесс обезвоживания карналлита во вращающихся печах и печах «кипящего слоя» (КС) должен проводиться под разрежением в соответствии с технологической инструкцией, утвержденной в установленном порядке.

Шуровка материала в печах производится при разрежении в печи, исключающем выбросы пламени, газов и материала в рабочую зону через открытые люки.

Не допускается открывание люков на топках и газораспределительных камерах во время работы печей КС.

Лестницы, переходные и рабочие площадки для обслуживания стационарных карналлитовых электропечей непрерывного действия (СКН) и хлораторов должны быть электроизолированы от земли и расположены таким образом, чтобы исключалась возможность случайного прикосновения работающих к заземленным конструкциям здания. Сопротивление изоляции должно контролироваться постоянно действующими устройствами сигнального типа и составлять не менее 0,5 кОм.

Энергетические трубопроводы из металла и газоходы отсоса производственных и санитарно-технических газов на границах рабочих площадок СКН и хлораторов должны иметь электроизоляционные вставки.

Управление печами СКН и хлораторами должно производиться с центрального щита управления, а гидравлической системой миксеров печей СКН - с пульта управления, расположенного непосредственно на рабочей площадке в зоне видимости леток миксеров.

Электрооборудование печей СКН и хлораторов должно иметь следующие блокировки, снимающие напряжение технологического тока, при:

переключении ступеней напряжения трансформатора;

замене электродов;

переключении миксеров;

открывании дверей шкафа переключателя ступеней напряжения на трансформаторе;

подаче напряжения на привод механизма наклона миксера.

При отключении трансформаторов электропечей с помощью автоматической защиты сетей повторное включение должно производиться только с пульта после выявления и устранения причин, вызывающих это отключение.

Ошиновка печей СКН и хлораторов в зонах их обслуживания должна быть ограждена.

Гибкие шинные пакеты, соединяющие электроды с жестким шинопроводом, не должны касаться кожуха, рабочих площадок и конструкций здания при повороте миксера во всем секторе вращения.

Перед сливом расплава и шлама из миксера, а также шлама через нижние летки хлоратора напряжение с электродов должно быть снято.

Ковши для приема безводного карналлита должны быть установлены на ровную площадку и сняты с крюка грузоподъемного механизма перед сливом расплава из миксеров печей СКН и хлораторов.

При производстве работ на миксерах, печах СКН и хлораторах с применением грузоподъемных механизмов, а также при заливке, перемешивании расплава и удалении шлама напряжение с электродов должно быть снято.

Каждый хлоратор должен быть оборудован сигнализацией, срабатывающей при падении давления хлора в подводящих хлоропроводах ниже величины, установленной технологической инструкцией, утвержденной техническим руководителем организации.

Барабаны для разливки флюсов должны быть предварительно очищены от мусора, посторонних предметов и просушены.

Место для разливки флюсов должно быть оборудовано вытяжной вентиляцией.

Заполненные барабаны с флюсом разрешается транспортировать после полного затвердевания расплава.

Ковши для транспортирования расплавленного карналлита по открытым коридорам и проездам должны быть оборудованы плотно закрывающимися крышками. Не допускается перевозка расплава в коробах.

Глава 3. Альтернативные способы получения алюминия из вторсырья

В процессе плавления металлического алюминия на поверхности образуется пенистый шлак, представляющий собой смесь продуктов взаимодействия алюминия с воздухом. Смесь включает оксид и нитриды алюминия, некоторые другие компоненты. Перед выпуском плавки и разливкой шлак удаляется.

В процессе удаления шлака с поверхности он уплотняется в грязеобразные комки, которые могут представлять собой как маленькие куски (не более 2,5 см в диаметре) так и агломераты с диаметром ~30 см. Содержание чистого металла (или сплава) в шлаке может меняться от 30 до 95 % (по массе) в зависимости от многих факторов: состава сплава, метода получения расплава, аккуратности удаления шлака. Считается, что в шлаке остается 1-2 % общего количества расплавленного алюминия.

В силу высокого содержания алюминия в шлаке и постоянного характера потерь делаются попытки перерабатывать шлак с целью максимального выделения алюминия. Обычно применяемые методы включают сбор, измельчение, сортировку и последующее плавление с использованием солевых флюсов.

Флюсы как правило представляют собой смесь хлористого натрия и хлористого калия с небольшим количеством (1-5%) криолита. Флюс смешивается со шлаком, загружается во вращающиеся печи, нагреваемые выше температуры плавления алюминия и флюса. Солевой флюс эффективно смачивает неметаллические компоненты шлаками способствует отделению алюминия от неметаллических фракций. Расплавленный металл сливается из печей, а остаток направляется в отвал. Практикуется выброс остатков в тех местах, где позволяет рельеф местности.

Заводы по производству и переработке алюминия в США в результате переработки алюминийсодержащих шлаков производят более 200 000 т солевого остатка ежегодно. Выброс этих остатков в окружающую среду вызывает серьезную критику, так как грунтовые воды выщелачивают соли из остатка. Кроме того, использование солевых флюсов приводит к образованию корродирующих паров, которые необходимо подвергать очистке.

Предложены различные процессы для выделения алюминия из печного шлака; процессы с использованием флюсования, бесфлюсовые процессы выделения; процессы, в которых шлаковые съемы используются без дополнительной переработки в различных металлургических процессах.

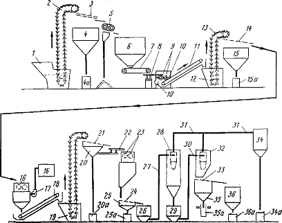
Процесс, предложенный Д. Монтанья (патент США 3999980, 28 декабря 1976 г., Министерство внутренних дел США), предназначен для выделения алюминия из отходов производства, например шлаков, а также консервных банок и другой упаковки, без использования флюсов путем нагревания выше температуры плавления алюминия, но ниже 800 °С в атмосфере, инертной к расплавленному алюминию. После полного расплавления алюминия нагреваемые материалы аккуратно перемешиваются для агломерации расплавленного алюминия и осаждения его на дне сосуда. После этого алюминий удаляется, в печи остается инертный остаток. В качестве инертного газа обычно используют аргон. Схема такого процесса показана на рис. 4.

Шлак, получаемый при переработке расплавленного алюминия 1, подвергается размельчению в устройстве 2 (например, в барабанном измельчителе). Эта стадия может быть опущена, если шлак находится в виде мелких гранул, без больших комков, которые могут затруднить проведение последующих операций. Размолотый шлак с размером частиц около 5 см подается по линии 3 в плавильную печь 4. Печь может обогреваться любым типом топок, обеспечивающих температуру »750°С, и должна иметь конструкцию, позволяющую создавать защитный слой инертного газа - аргона, вводимого по линии 5 в процессе нагревания.

Кроме того, печь должна иметь устройство для аккуратного перемешивания шлака после расплавления алюминия. Перемешивание может осуществляться лопастной мешалкой из стали, покрытой защитным слоем карбида кремния, перемещающейся вертикально от верхней к нижней части печи. При использовании такой конструкции скорость вращения составляет 5-20 об/мин.

Возможно противоположное решение, когда перемешивание создается вращением самой печи. Перемешивание должно продолжаться до полной агломерации алюминия в расплавленную глобулу и сбора всей массы металла на дне печи. Как правило достаточно 2-15 мин для выполнения этой операции.

После измельчения и истирания по линии 9 шлак подается на просеивание 10, где делится на мелкую и крупную фракции. Мелкая фракция, представляющая собой в основном оксид алюминия, удаляется из процесса. Грубая фракция 12 содержит значительное количество алюминия и возвращается в печь для дополнительного выделения металла. Можно проводить этот процесс без размола, просеивания и стадии рециклизации, но это снижает общий выход алюминия.

В процессе, предложенном П. Н. Папафингосом и Р. Т. Лэнсом (патент США 4030914, 21 июня 1977 г., фирма «Алумакс Милл Прод акте Инк.»), алюминиевый шлак, окалина и съемы с расплава подвергают плавлению в присутствии флюсов, содержащих хлориды натрия или калия, или их смесь в комбинации с хлоридом кальция, доля которого в составе флюса может изменяться от 1 до 50%.

Удаление алюминиевого шлака происходит вместе со значительным количеством расплавленного алюминия, большая часть которого включена в массу шлака и предохраняется от дальнейшего окисления. Часть металлического алюминия, однако, находится на поверхности комков и подвержена действию воздуха. В процессе удаления шлака из печи при температуре 650 °С металлический алюминий, вступающий в контакт с воздухом, подвергается быстрому окислению. Так как в процессе окисления выделяется тепло, при работе с расплавленным и палурасплавлен-иым алюминием возникает пламя, эта реакция называется алюминотермией.

Существующие методы работы с алюминием включают процессы, использующие алюминотермию для создания высокой температуры. При этом создаются благоприятные условия для стекания алюминия и отделения его от массы шлака. Известны также процессы, в которых используется охлаждение, позволяющее освободить включения металлического алюминия из массы шлака.

При использовании методов алюминотермии, помимо значительных потерь металла в результате его окисления происходит выделение большого количества дыма» - мелких частиц оксида алюминия, диспергированных в воздухе - представляющего опасность для здоровья работающих.
Согласно методу П. Н. Папафингоса и Р. Т. Лэнса, (патент США 4039173,
2 июля 1977 г., фирма «Алумакс Милл Продактс Инк.»), шлак, в основном оксиды и нитриды алюминия, и вкрапленный металлический алюминий быстро переносят из плавильной печи в охлаждаемый барабан; температура менее чем за 3 мин падает ниже 200 °С выделение алюминия происходит после полного охлаждения.

В большом числе известных способов для выделения металлического алюминия из алюминиевого шлака проводится нагрев под флюсом, состоящим из различных солей или их смесей, обычно хлоридов щелочных и щелочноземельных металлов. В ряде стран используются фториды.

При флюсовании металлический алюминий, защищенный флюсом, удаляется из шлака путем стекания или с использованием соответствующих разделяющих устройств. Остающаяся солевая масса состоит из флюсов, основных компонентов алюминиевого шлака - оксидов алюминия, частиц или кусков металлического алюминия, а также большого числа примесей, плотность которых меньше плотности алюминия и образуют частицы с большим количеством пор и незначительной плотностью. Обычно солевой остаток охлаждается с образованием больших кусков, очень твердых и трудно поддающихся переработке.

Куски солевого остатка размалываются специальными машинами или вручную Для выделения включений металлического алюминия. Обычно алюминий присутствует в виде вкраплений, от совсем небольших до имеющих толщину гк 10 см. После выделения алюминия, остаток обычно направляют в отвал, поскольку сам он не находит никакого применения, а выделение содержащихся в нем солей очень трудоемко и экономически иеоправдано.

Отвалы солевых остатков приводят к возникновению серьезных экологических проблем. В условиях действия влаги создается опасность выщелачивания солей и попадания их в сельскохозяйственные, промышленные и питьевые воды. Сброс солеи в карьер и другие естественные хранилища не может считаться безопасным методом удаления, так как есть возможность попадания солей в грунтовые и повеох-иостные воды.

Окись и алюминиевая пыль, имеющие размеры, например, <0,12 см, проходят через двойное сито 3 в бункер 4 и собираются как конечный товарный продукт - порошкообразный оксид алюминия с низким содержанием металлов.

Порошок, собираемый в бункере 4, содержит различный процент алюминия. Контейнер 4а предназначен для приема порошка оксида алюминия из бункера 4. Остающийся на ситах шлак подается на магнитный сепаратор 5, где удаляются железосодержащие материалы, после чего шлак подается в бункер 6. Далее по транспортеру 7 шлак поступает к вибрационному дозатору 8, затем к первой паре размалывающих барабанов 9. Барабаны смонтированы с определенным усилием сжатия друг относительно друга, создаваемым пружиной 10.


Барабаны имеют определенный зазор, который меньше размера проходящих частиц; при прохождении шлака барабана могут упруго раздвигаться.

Например, для шлака с размером частиц от 0,25 до 0,6 см, подающегося на барабаны, зазор между роликами должен быть порядка 0,12 см. Зазор может соответствующим образом изменяться, чтобы быть меньше размера самых небольших проходящих частиц. Барабаны сжимают проходящий шлак и обеспечивают разрушение связей между металлом и неметаллическими компонентами. Давление пружины может регулироваться независимо от зазора и должно увеличиваться или уменьшаться пропорционально размеру частиц шлака.

Размолотый шлак из барабанов подается по наклонному транспортеру 11 в бункер 12, питающий ковшевой подъемник 13, далее шлак поступает на одинарное вибрационное сито 14, где отсеиваются алюминиевая и неметаллическая пыль. Порошок с сита 14 попадает в нижележащий бункер 15 и контейнер 15а, затем подается в молотковую мельницу 16 для отбивки от металла остатков оксида алюминия. В этом отношении предварительное сжатие шлака барабанами 9 очень важно, так как оно способствует отделению оксида от металла в молотковой мельнице,

На этой стадии нет необходимости разрушать поступающие частицы, цель заключается в получении частиц шлака с более высоким содержанием алюминия, в которых на поверхности металла практически не содержится оксида алюминия.

Воздушный сепаратор 17, соединен с нижней частью корпуса мельницы 16 и отводит часть порошка из мельницы в отдельно расположенный пылеуловитель с тканевыми фильтрами 16а.

Шлак из молотковой мельницы по транспортеру 18 подается в бункер 19, из которого подъемником транспортируется алюминиевый концентрат и оксид не выведенный воздушным сепаратором 17, на одинарное вибрационное сито 21. Образующийся относительно богатый металлом концентрат может подаваться на другой магнитный сепаратор (не показан) и далее в вибрационный питатель 22.

Размолотые неметаллические вещества и мелкие частицы алюминия (если они присутствуют) просеиваются через сито 21 в бункер 20 и в качестве готового продукта, поступают в контейнер 20а. В процессе эксплуатации установлено, что при умеренном сжатии барабанами удаляется 7-8 % исходного оксида алюминия, а при дальнейшем размоле на мельнице 16, дополнительно удаляется значительное количество неметаллических компонентов (оксидов)- И-12% от исходного.

Шлак или алюминиевый концентрат, подаваемые к вибрационному питателю 22 являются товарным продуктом, не требующим дальнейшей переработки. Последующая очистка повышает чистоту, однако удорожает стоимость материала. Получаемая на этой стадии чистота достаточна для выплавления металла в слитках. Использование стружечных печей заменяет применявшийся ранее способ выплавки металла с загрузкой более бедных алюминием фракций во вращающиеся печи; для последнего характерны все отмеченные выше недостатки.

Концентрат из дозатора 22 может направляться в валки 23, где частицы концентрата превращаются в пластинки.

Валки 23, имеющие фиксированные крепления, прессуют концентрат в пластинки толщиной 0,15 см. Зазор между валками 23 выбирается соответствующим образом и может изменяться в зависимости от размера частиц в бункере /. Пластинки падают на расположенное снизу сито 24, при этом отсеиваемый порошок алюминия и оксида попадает в бункер 25 и контейнер 25а.

На этом этапе пластинки содержат больше металла, чем концентрат в дозаторе 22. После сита 24 они могут использоваться как готовый продукт, не требующий дальнейшей переработки. Для приготовления слитков пластинки более предпочтительны, чем концентрат, так как имеют большую плотность и при загрузке в стружечную печь быстрее погружаются ниже ее верхнего уровня. Это важно для предотвращения возгорания металла при контакте с воздухом.

При необходимости дополнительной очистки продукта иа сите 24, пластинки подаются в молотковую мельницу 26, где они размалываются и по линии 27 подаются иа разделение в циклон 28. Циклон является широко известным устройством, куда частицы помола подаются таким образом, что создают в центре область низкого давления. Выпадающие здесь алюминий и оксид проходят по линии 31 к отдельно расположенному пылеуловителю с тканевыми фильтрами 34, соединенному с контейнером 34а, аналогичным 20а, 25а и др. Более тяжелые металлические частицы из циклона попадают иа мельницу 29, откуда продукт по линии 30 подается ко второму циклону 32, аналогичному 28. Оттуда алюминиевая и оксидная пыль попадают в линию 31 и в камеру пылеуловителя 34.

Металлический концентрат, который может иметь вид гранул, из циклона 32 подается иа сито 33. Гранулы алюминия на сите имеют более высокую чистоту по сравнению с пластинками, подаваемыми в мельницу 26, так как прошли разделение компонентов в циклонах 28 и 32, и в результате отделения порошка алюминия и оксида на сите 33, направляемых в бункер 35 и контейнер 35а. Гранулы алюминия с сита 33 подаются в бункер 36, затем в контейнер 36а в качестве конечного продукта.

Глава 4. Обзор моделей плавильных печей для алюминия

Плавильная печь сопротивления САТ

Плавильные печи сопротивления САТ предназначены для переплава и перегрева алюминия и его сплавов, поддержание температуры расплавленного металла перед разливкой в формы. Печи сопротивления могут использоваться для плавки и поддержания температуры цинка и его сплавов. Конструктивно печь выполнена шахтной, в шахту которой помещен графитовый тигель или тигель из жаропрочного чугуна.

Нами выпускаются печи следующих моделей:

·              Печь сопротивления для плавки алюминия, цинка САТ-0,16 <#"529722.files/image002.gif">


комплектация плавильных печей сопротивления

В комплект поставки электропечей входят:

·              Электропечь в нефутерованном виде

·              Шкаф управления

·              Комплект ЗИП

·              Техническая документация

Индукционные печи средней частоты нового поколения

В.И. Лузгин, А.Ю. Петров, Л.И. Фаерман Российская электротехнологическая компания, г. Екатеринбург

Российской электротехнологической компанией (ЗАО «РЭЛТЕК») разработаны и освоены в производстве индукционные плавильные системы средней частоты (250¸ 10000 Гц) нового поколения с печами емкостью до 10 тонн. Разработка производилась специалистами НТЦ - РЭЛТЕК в сотрудничестве с рядом ведущих организаций России и с использованием мирового опыта проектирования подобных систем.

В литейном производстве наблюдается устойчивая тенденция в увеличении объемов использования индукционных тигельных печей (ИТП).

В настоящее время в чугунолитейном производстве России насчитывается порядка 2740 плавильных агрегатов, в том числе 76% вагранок, 23% - индукционных электропечей и миксеров и около 1% - электродуговых печей переменного и постоянного тока. На большинстве предприятий основные фонды амортизированы до 70-80%, поэтому выбор рациональной и экологичной технологии плавки различных металлов, а также типа плавильного агрегата является чрезвычайно актуальной задачей для многих предприятий, т.к. в рыночных условиях решающей становится технико-экономическая эффективность процесса плавки. В главе 3 рассмотрена технико-экономическая эффективность среднечастотной плавки для черной и цветной металлургии.

Глава 4. ТЕХНИКО-ЭКОНОМИЧЕСКАЯ ЭФФЕКТИВНОСТЬ СРЕДНЕЧАСТОТНОЙ ПЛАВКИ ЧЕРНЫХ И ЦВЕТНЫХ МЕТАЛЛОВ

Для плавки чугуна и стали наибольшее распространение получили плавильные агрегаты, использующие огневые методы - печи-вагранки и электронагрев - индукционные и дуговые печи. Индукционные печи средней частоты (ИПСЧ) обладают несомненными техническими и экономическими преимуществами, обусловленными эффектом внутреннего нагрева шихты вихревыми токами и потерями на перемагничивание ферромагнетиков в сильных электромагнитных полях повышенной частоты. Индукционный метод обеспечивает выделение теплоты непосредственно в металле без теплопередачи излучением или конвекцией, сопровождаемых значительными потерями, поэтому индукционные печи имеют значительно более высокий технологический КПД, чем агрегаты, работающие на топливе.

Однако с учетом потерь при выработке и распределении энергии в сфере энергоснабжения индукционные печи расходуют первичной энергии 1500-1700 кВт×ч на тонну выплавляемого чугуна при потреблении электроэнергии 520-560 кВт×ч/т. По этому показателю ИПСЧ приближаются к вагранкам с холодным и горячим дутьем, которые потребляют 1250-1700 кВт×ч/т, причем, наименьший расход энергии достигается в газовых вагранках (ГВ) и составляет 60% от потребления первичной энергии ИПСЧ [1].

По сравнению с индукционными печами промышленной частоты (ИППЧ) плавка чугуна на средней частоте также имеет преимущества, состоящие в следующем:

расход электроэнергии вдвое меньше, чем в ИППЧ, работающих в непрерывном цикле плавки с частичным сливом металла и периодической дозагрузки шихты;

садочный режим плавки, т.е. без использования переходящего от плавки к плавке остатка жидкого металла («болота») позволяет исключить предварительную сушку шихты и связанные с ней затраты, кроме этого, сократить расходы на футеровку, т.к. долговечность футеровки при садочном режиме плавки возрастает, и, наконец, исключить непроизводительные затраты труда, электроэнергии и материалов, связанные с невозможностью отключения ИППЧ на время перерывов в работе литейного производства;

допустимая удельная мощность, подводимая к металлу, в 3 раза выше, чем в ИППЧ (ИПСЧ - 1000 кВт×ч/т, ИППЧ - 300 кВт×ч/т), что обеспечивает короткие циклы плавки (40-45 минут), повышает теплотехнический КПД и позволяет оптимизировать процесс образования центров кристаллизации, благодаря одноразовому нагреву металла и меньшей средней температуре в течение плавки, чем у ИППЧ, работающим с «болотом»;

возможность работы в режиме стабилизации активной мощности на всем цикле плавки, начиная с «холодного» состояния шихты, при котором передача активной мощности на средних частотах происходит за счет ферромагнитных свойств шихты, и заканчивая расплавом металла, когда активная мощность подводится за счет протекания вихревых токов в узком слое ванны расплава, что позволяет повысить эффективность использования установленной мощности электрооборудования при высоких показателях качества потребляемой электроэнергии.

По сравнению с дуговыми печами переменного тока (ДСП) и дуговыми печами постоянного тока (ДППТ) индукционная плавка на средней частоте имеет более высокие показатели технико-экономической эффективности. Потребление электроэнергии на тонну выплавляемого чугуна в ДСП несколько выше, чем в ИПСЧ и составляет 600-800 кВт×ч/т. В ДППТ этот показатель лучше - 475-550 кВт×ч/т. Однако широко известные недостатки электродуговой плавки значительно снижают эффективность этого метода. К ним относятся:

интенсивные пыле- и газовыбросы, что требует дополнительных затрат на устройство газоочистки, особенно в густонаселенных регионах;

значительный расход графитовых электродов;

угар металла и легирующих элементов;

В целом, технико-экономическая эффективность того или иного метода плавки может быть оценена относительной себестоимостью одной тонны жидкого чугуна, которая учитывает такие статьи затрат, как стоимость шихтового материала, стоимость огнеупоров и электродов, стоимость энергозатрат, стоимость содержания и эксплуатации оборудования, удельные капвложения. В таблице 1 приведена себестоимость 1 т жидкого чугуна для различных плавильных агрегатов относительно себестоимости плавки в газовой вагранке, а также расход энергии на тонну выплавляемого чугуна [2].

Таблица 1

ТИП ПЛАВИЛЬНОГО АГРЕГАТА

ОТНОСИТЕЛЬНАЯ СТОИМОСТЬ 1 т ЧУГУНА

РАСХОД электроэнергии, кВт×ч/т

ГВ

1,0

50-70

ДСП

2,0

600-800

ДППТ

1,8

475-550

ИППЧ

2,0

1200-1300

ИПСЧ

1,4

500-600

алюминий вторсырье печь индукционный

Индукционные печи средней частоты получили широкое распространение не только в технологических процессах плавки, но и выдержки, а также разливки металла. Стремительно расширяется применение среднечастотных в производстве жаропрочных и высоколегированных сталей, прецизионных сплавов, в производстве цветных и драгоценных металлов. Это объясняется технологическими особенностями, которые делают применение ИПСЧ особенно эффективными.

ще в большей степени технико-экономическая эффективность индукционной плавки на средней частоте проявляется при использовании ИПСЧ в «дуплекс-процессах». Особенность дуплексной плавки в том, что ИПСЧ служит в качестве печи ожидания, в которой производится выдержка металла и доведение его до нужных параметров, а плавка металла может осуществляться в печах другого типа.

На рисунке 1 показана теплоэнергетическая эффективность печей разного типа на стадии плавки и выдержки чугуна в печах разного типа.

Рисунок 1

Как видно из приведенной гистограммы, на этапе плавки эффективность коксовой вагранки и индукционной печи (ИПСЧ) примерно одинакова и несколько ниже, чем в электродуговой печи постоянного типа (ДППТ). На этапе выдержки металла эффективность ИПСЧ намного выше, чем в вагранках и дуговых печах, поэтому в дуплексных процессах наиболее экономичным является использование в качестве второго плавильного агрегата индукционных печей. Дуплекс-процесс плавки чугуна может быть организован комбинацией плавильных агрегатов различного типа.
На рисунке 2 приведена гистограмма энергетических расходов различных видов плавильных агрегатов относительно энергозатрат коксовой вагранки.

Рисунок 2

Как видно из рисунка 2, самой дешевой плавкой по энергозатратам является одиночная плавка в индукционной печи средней частоты со средним расходом электроэнергии 560 кВт×ч/т. Далее идет дуплексная плавка КВ + ИПСЧ. В коксовой вагранке производится разогрев и плавка чугуна до температуры 1370 °С с удельным расходом кокса 13,3%, а затем металл переливается в ИПСЧ и догревается в температурном диапазоне 1300 - 1550 °С с удельным расходом 106 кВт×ч/т. Энергозатраты при такой комбинации оборудования на 25% ниже, чем при одиночной плавке в КВ. Примерно на том же уровне по энергозатратам находится дуплексная плавка ДППТ + ИПСЧ. При этом дуговая печь расходует 544 кВт×ч/т для получения расплава чугуна с температурой 1370 °С, а в индукционной печи производится догрев и выдержка металла (1300 ¸1500 °С) с расходом энергии 106 кВт×ч/т [3].

В литейном производстве сегодня наиболее распространены коксовые вагранки, однако по экономическим соображениям, техническим возможностям и экологической безопасности КВ не отвечают современным требованиям. Альтернативой КВ является газовая вагранка. Современные тенденции по ценам на газ (100 $ за 1000 м3) и кокс (200 $ за 1 тонну) во всем мире в пользу газа. Следовательно, ГВ по затратам на энергоносители более экономичны, чем КВ. К тому же, газ используется полностью, а кокс сгорает при образовании 10% СО и имеет меньшую теплотворную способность. Поэтому затраты на получение равного количества теплоты из газа почти вдвое ниже. Однако затраты на огнеупоры выше в ГВ, чем в КВ примерно в 1,6 раза, а приведенная себестоимость чугуна лишь на 10% ниже по сравнению с КВ. В связи с этим, совершенно очевидно, что наибольшую технико-экономическую эффективность и экологическую безопасность для организации дуплекс-процесса плавки и выдержки чугуна имеет комбинация плавильных агрегатов ГВ + ИПСЧ.

Комплекс плавильных агрегатов дуговая печь + индукционная печь реализует технологию дуплексной плавки металла, в котором дуговая печь используется в качестве плавильной, а индукционная печь - в качестве теплосохраняющей. Электродуговая печь позволяет плавить шихту низкого качества, плохо отсортированную, содержащую в больших количествах ржавый стальной лом большими кусками. Однако в электродуговой печи трудно регулировать химический состав металла и сочетать теплосодержание и непрерывную плавку. В дуплексной плавке при использовании индукционной печи в качестве второго агрегата решается задача уравновешивания противоречия между количеством производимого металла и потребляемого литейными цехами, а также завершается процесс рафинирования и модификации чугуна.

Из всего вышеизложенного следует, что при организации дуплексной плавки любой комбинацией плавильных агрегатов самым экономичным является использование в качестве второго плавильного агрегата для догрева и теплосохранения металла индукционной печи средней частоты.

В индукционных печах возможно получение чугуна разнообразного состава, при этом использование в качестве шихты отходов кузнечного, прокатного листоштамповочного, токарно-фрезерного переделов существенно снижает производственные затраты при получении чугуна требуемых марок. В индукционных печах можно выплавлять чугун с содержанием стального скрапа и стружки (самого дешевого шихтового материала) вплоть до 100% благодаря хорошей возможности легирования. Напротив, в газовых вагранках применение стального лома ограничено 40-60%, т.к. управление процессом науглероживания бескоксовой плавки весьма затруднительно. А использование стальной и чугунной стружки вообще исключено из-за большого угара. Для получения серого чугуна и высокопрочного чугуна с шаровидным графитом (ЧШГ), имеющим целый ряд преимуществ перед другими сплавами, необходимо точно управлять химическим составом по многим элементам и, прежде всего, по углероду, сере, марганцу, хрому, фосфору и др., поскольку в ИПСЧ плавка ведется с так называемым "холодным" шлаком, практически не участвующим в химических реакциях, управление химическим составом сплава по ходу плавки производится добавлением легирующих материалов и точным управлением температурой расплава. Сочетание этих возможностей позволяет реализовать технологию получения отливок, в которых значительно снижены внутренние напряжения и существенно повышены прочностные характеристики. По этой методике на стадии легирования расплава, полученного из шихты с содержанием 40-80% стального лома, при повышении температуры до 1450°С добавляется углерод, что позволяет достичь его содержания в расплаве 3,8-3,9%. Затем расплав догревается до температуры 1530-1550°С и выдерживается при этой температуре 10-30 минут. На стадии выдержки происходит процесс науглероживания расплава, скорость которого зависит от интенсивности электромагнитного перемешивания и способа организации циркуляционных потоков внутри ванны расплава. Кроме этого, на стадии выдержки происходит очистка от неметаллических включений и дегазация расплава, а также протекает процесс "созревания" металла. При использовании этой методики в производстве отливок не только повышается прочность, но и уменьшается их сжатие, не превышающее 0,3%, что в конечном итоге приводит к снижению напряжения в отливках, а это позволяет избежать энергозатратной операции их отжига. Подобное производство отливок со сниженным напряжением невозможно организовать без использования индукционных печей.

Характеристики чугуна в значительной мере зависят от содержания вредных примесей и, прежде всего, серы. Для модификации на ЧШГ серый чугун должен иметь низкое содержание серы. В вагранках выплавить металл с низким содержанием серы невозможно, и требуется десульфуризация расплава. Известные способы десульфуризации чугуна требуют установки специальных устройств или индукционных миксеров. Поэтому при получении серого чугуна требуемых марок или для модификации на ЧШГ используются "дуплекс-процессы". В дуплекс-процессе плавка металла ведется в коксовых или газовых вагранках с возможным содержанием в шихте большой доли первичных материалов. Затем осуществляется перелив расплава в ИПСЧ, и вводятся добавки, позволяющие десульфиризировать чугун, точно вывести его химический состав. Кроме этого, в ИПСЧ обеспечивается выдержка металла при заданном температурном режиме. Однако себестоимость плавки чугуна в любом случае получается меньше при моно-процессе, и наиболее полно технологическим требованиям подготовки чугуна соответствует индукционный метод плавки в ИПСЧ.

Весьма существенным преимуществом плавки в ИПСЧ по сравнению с вагранками и дуговыми печами является пониженное на 25-30% содержание газа (азота, водорода, кислорода) в расплаве металла, а также значительное уменьшение содержания неметаллических примесей. Это повышает прочность отливок и уменьшает каверны на их поверхности, что позволяет снизить отходы металла при дальнейшей обработке на 20-25% и уменьшить металлоемкость оборудования.

Прочность и все другие свойства сплавов, в конечном счете, определяются их чистотой от примесей, формой, размером и распределением зерен, т.е. структурой. При этом в понятие структуры включается как микроструктура, так и макроструктура - наличие в металле газовых и усадочных раковин, пористости, трещин, неметаллических включений и т.д. Таким образом, задача повышения качества металла сводится к получению соответствующей структуры, свободной от каких-либо дефектов. Измельчение зерна кристаллической структуры достигается повышением скорости зарождения центров кристаллизации, которая регулируется вводом модификаторов. Эффективность действия модификаторов возрастает при максимально равномерном распределении в объеме металла, и чем больше энергия извне будет внесена в расплав для перемешивания, тем выше эффект модифицирования. В индукционных печах имеется возможность управления процессами электромагнитного перемешивания, изменением частоты возбуждения тока в обмотках индуктора, организацией пульсирующего и бегущего электромагнитного поля в ванне расплава металла и управления удельным силовым давлением, а также перераспределением мощности по высоте индуктора.

Благодаря садочному режиму работы в ИПСЧ, при котором металл не подвергается многократному перегреву, и щадящему температурному режиму выдержки чугуна в период разливки, в расплаве сохраняются центры кристаллизации, что также способствует формированию мелкозернистой структуры в отливках.

Таким образом, с производственно-технологической точки зрения для литейного производства ИПСЧ имеют существенные преимущества по сравнению с вагранками и дуговыми печами. Более высокая удельная мощность позволяет быстрее нагревать чугун (со скоростью 30-35 °С/мин.), а потери исходного материала из-за угара снижаются. Циркуляция расплава под действием электромагнитных сил в индукционной тигельной печи приводит к равномерному температурному распределению и хорошему перемешиванию. В сочетании с отсутствием загрязняющих веществ это обеспечивает высокую точность химического состава металла, расплавленного индукционным методом. Перегрев расплава, труднодостижимый при использовании вагранок, можно успешно реализовать в индукционных печах. Эти технологические преимущества дают наибольшую гарантию качества чугуна и возможность получения высокопрочных специальных чугунов, а также обеспечивают более высокое качество литых изделий.

Глава 5. КОНСТРУКЦИИ ИНДУКЦИОННЫХ ТИГЕЛЬНЫХ ПЕЧЕЙ СРЕДНЕЙ ЧАСТОТЫ НОВОГО ПОКОЛЕНИЯ

Российской электротехнологической компанией разработан ряд индукционных тигельных печей средней частоты для скоростных плавок черных и цветных металлов, отвечающих современным требованиям металлургического и литейного производства. Наилучшие показатели эффективности ИПСЧ во многом определяются оптимальным выбором геометрических параметров индуктора частоты тока возбуждения и удельной активной мощности для плавки определенного металла, а также физическими характеристиками и толщиной футеровки.

Для плавки черных металлов заводом "РЭЛТЕК" производятся тигельные печи серии ИПП емкостью от 60 до 400 кг, работающие на частоте 2400 Гц. Технические характеристики этих печей приведены в таблице 2.

Таблица 2

ТИП ОБОРУДОВАНИЯ

ЕМКОСТЬ ТИГЛЯ, т

НОМИНАЛЬНАЯ ЧАСТОТА ТОКА ИНДУКТОРА, Гц

НОМИНАЛЬНАЯ АКТИВНАЯ МОЩНОСТЬ, кВт

ВРЕМЯ ПЛАВКИ ЧУГУНА, мин.

УДЕЛБНЫЙ РАСХОД ЭЛЕКТРОЭНЕРГИИ, кВт ч/т

ИПП-0,06-2,4

0,06

2400

100

45

540

ИПП-0,16-2,4

0,16

2400

160

55

550

ИПП-0,25-2,4

0,25

2400

250

55

550

ИПП-0,40-2,4

0,40

2400

75

560


При высоких удельных мощностях 800-1000 кВт/т обеспечивается высокая скорость подъема температуры металла (оптимальные ее значения 30¸35 °С/мин), что позволяет сократить циклы плавки чугуна до 45 минут при удельном расходе электроэнергии примерно 560 кВт ч/т. Печи данной серии имеют прочную конструкцию, каркас которой выполнен из нержавеющей стали. Индуктор изготавливается из прямоугольной медной трубки. Толщина стенки трубки выбрана, исходя из условий прочности и минимизации электротехнических потерь. Витки индуктора фиксируются на вертикальных изоляционных стойках. Изоляция индуктора выполнена так, чтобы обеспечивался выход влаги наружу при просушивании "мокрых" футеровок. Подиумная часть печи выполняется из литого армированного жаропрочного бетона. Расположение индуктора относительно тигля выбрано так, чтобы максимально уменьшить износ футеровки в верхней зоне при сохранении гарантированного перемешивания металла.

Для данных объемов и рабочей частоты в конструкции печей не предусмотрена установка магнитопроводов, поэтому для уменьшения нагрева полями рассеяния корпусные элементы выполнены из немагнитных металлов.

Индукционные печи серии ИППМ рассчитаны на объемы плавки черных металлов от 1 до 10 тонн. Печи этой серии работают на частотах 200¸1000 Гц, их технические характеристики приведены в таблице 3.

Таблица 3

ТИП ОБОРУДОВАНИЯ

ЕМКОСТЬ ТИГЛЯ, т

НОМИНАЛЬНАЯ ЧАСТОТА ТОКА ИНДУКТОРА, Гц

НОМИНАЛЬНАЯ АКТИВНАЯ МОЩНОСТЬ, кВт

ВРЕМЯ ПЛАВКИ ЧУГУНА, мин.

УДЕЛБНЫЙ РАСХОД ЭЛЕКТРОЭНЕРГИИ, кВт ч/т

ИППМ-1,0-1,0

1,0

1000

750

60

540

ИППМ -2,5-0,5

2,5

500

1100

80

560

ИППМ -6,0-0,25

6,0

250

7000

60

530

 

Отличительной особенностью конструкции этих печей является то, что по внешней стороне индуктора устанавливаются магнитопроводы, позволяющие повысить напряженность магнитного поля в зоне расплава металла и увеличить КПД печи и, как следствие, снизить расход электроэнергии до 500¸520 кВт ч/т. Для снижения теплопотерь в печах этой серии установлена над тиглем крышка с гидравлическим механизмом поворота.

Важное значение для обеспечения надежности и необходимого ресурса работы индукционных печей имеет технология выполнения и выбор огнеупорной футеровки. Условия работы футеровки в индукционных тигельных печах очень сложные - на подвергается большим механическим воздействиям, особенно в печах большого объема, из-за активного перемешивания наблюдается большой абразивный износ.

Поэтому толщина футеровки существенно влияет на показатели эффективной работы печи, ее стремятся сделать, по возможности, более тонкой, следовательно, она работает при больших температурных градиентах. Кроме этого, футеровка должна быть шлакоустойчивой, т.к. индукционные печи работают с "холодным" шлаком, активно взаимодействующим с материалом футеровки.

Для плавки черных металлов футеровку индукционных печей выполняют из кварцитовой набивной массы. К достоинствам этого материала следует отнести высокую абразивную стойкость, малое изменение объема при разогреве, низкую стоимость. Однако известные недостатки: низкая термическая стойкость, образование довольно легкоплавких соединений при взаимодействии с расплавом, относительно низкая предельная температура (1640°С) - вызывают необходимость поиска материалов с более высокими характеристиками. Особый интерес среди огнеупоров нового поколения вызывают низкоцементные и керамические огнеупорные бетоны.

Низкоцементные бетоны обладают высокими показателями, которые превосходят прочие огнеупорные материалы по плотности, пористости, огнеупорности, термостойкости, шлакоустойчивости, не теряют своей механической прочности с повышением температуры.

Низкоцементные бетоны подразделяются на три класса - это низкоцементные огнеупорные бетоны, наливные вибрационные тиксотропные огнеупорные массы и керамические бетоны. Керамические бетоны по ряду показателей значительно превосходят прочие бетоны, прежде всего, по прочностным характеристикам (максимальные sизг. = 90 Н/мм2, sсж.. = 550 Н/мм2).

Применение керамобетонов в виде фасонных изделий для футеровки индукционных печей показало, что стойкость футеровки возрастает более, чем в 10 раз по сравнению с аналогичными изделиями, полученными другими способами.

Предприятием "РЭЛТЕК" освоена технология механизированной вибронабивки керамобетона в индукционных печах серии ИТП емкостью 1-10 тонн, и разработан комплекс механизмов для реализации этого метода в производственных условиях заказчика.Для контроля состояния тигля в процессе эксплуатации печи при набивке футеровки устанавливаются датчики прогара, которые позволяют определить место нахождения дефектов, пор и трещин, а также оценить общее состояние и степень износа футеровки по электрическим параметрам.

Автоматизация процесса загрузки и слива металла в индукционных печах большого объема обеспечивается применением специальных механизмов. В конструкции печей серии ИПП и ИППМ предусмотрена установка гидравлического механизма наклона печи, который позволяет осуществить подъем-переворот печного агрегата на угол 90-110° и обеспечить полное опоражнивания тигля от металла и шлаков. Для предотвращения аварийных ситуаций гидропривод снабжен резервным насосом и гидравлическим тормозом, предотвращающим падение печи на опоры при прорыве шлангов гидросистемы.

Все эти мероприятия позволяют резко увеличить межремонтный срок службы индукционной печи, значительно снизить количество аварий в процессе эксплуатации и максимально облегчить интеграцию этих агрегатов в существующую оснастку литейных цехов.

ЛИТЕРАТУРА

1.Эльтермап В. М. Охрана окружающей среды на химических и нефтехимических предприятиях. М.: Химия, 1985. 160 с,

2.Лейкан И. И. Рассеивание вентиляционных выбросов химических предприятий. М.: Хнмня, 1982. 224 с.

3.Перегуд Е. А. Санитарно-химическин контроль воздушной среды. Л.: Химия, 197S. 336 с.

4.Наркевич И. П., Печковский В. В. Утилизация и ликвидация отходов в технологии неорганических веществ, М,; Химия, 1984, 240 с.

5.Экологические проблемы химического предприятия/О. Г. Воробьев, О. С. Балабеков, Ш, М. Молдабеков, Б. Ф. Уфимцев. Алма-Ата: Казахстан, 1984. 172 с.

6.С. Калверт, М. Треиюу и др. Защита атмосферы от промышленных загрязнении/Под ред. С, Калверта и Г. М. Инглунда. В 2-х т. М.: Металлургия, 1988, 1470 с,

7.Техника защиты окружающей средьт/Н. С, Торочешников, А. И. Родионов, Н. В. Кедьцев, В. Н. Клушин. М.: Химия, 1981. 368 с,

8.Стадницкий Г. В., Родионов А. И. Экология. М.; Высшая школа, 1988. 272 с.

9.Ужов В. Н., Вальдберг А. Ю. Очистка газов мокрыми фильтрами. М,: Химия, 1972, 248 с.

10.Страус В. Промышленная очистка газов: Пер. с англ. М,: Химия, 1981. 616 с.

11.Быстрое Г. А., Гслыгерин В. М„ Титов Б. И. Обезвреживание и утилизация отходов в производстве пластмасс. Л,; Химия, 1982. 264 с.

12.Т. А. Семенова, И. Л. Лейтес, Ю. В. Аксельрод и др. Очистка технологических газов/Под ред. Т. А. Семеновой. М; Химия, 1977. 488 с.

13.Кузнецов И. Е., Троицкая Т. М. Защита воздушного бассейна от загрязнения вредными веществами. М.: Химия, 1979. 344 с.

14.Алтыбаев М. А. Разработка и внедрение хемосорбционной очистки промышленных газов от сернистых и фосфорных соединений в псевдоожи-женном слое с утилизацией продуктов очистки: Дне. ... д-ра техн. наук, Ташкент, 1989. 406 с.

15.Очистка газов в производстве фосфора и фосфорных удобрекий/Э. Я. Та-рат, О. Г, Воробьев, О. С. Балабеков, В. И. Быков, О. Г. Ковалев/Под ред. Э. Я. Тарата. Л.: Химия, 1979. 208 с.

16.А. А. Соколовский, Т. И, Унанянц. Краткий справочник по минеральным удобрениям, -М.: Химия, 1977. 376 с.

17.Абсорбция и пылеулавливание в производстве минеральных удобрений/ И. П. Мухленов, О. С. Ковалев, А. Ф. Туболкин, О. С. Балабеков и др./ Под ред. И. П. Мухленова и О. С. Ковалева. М.: Химия, 1987. 208 с.

18.Бесков С. Д. Технохимические расчеты. М.: Высшая школа, 1966. 520 с.

19.Коузов П. А., Малыгин А. Д., Скрябин Г. М. Очистка от пыли газов и воз-духа в химической промышленности. Л,: Химия, 1982. 256 с.

20.Бродский Ю. Н, Определение эк он ом ико-экологи ческой эффективности систем газоочистки и пылеулавливания//Хиническое н нефтяное машиностроение. 1986. № 2. С. 3-4.

2!. Stalrmand С. J, Chemical Engineer, СЕ. 310 (1965).

22.Карнаухов И. А., Доронин В. И.. Цирульников П. Г. Экономический анализ технологических параметров каталитического обезвреживания газовых выбросов//Хим. пром-сть. 1988. № I. С. 55-56.

23.Кафиров В. В. Принципы создания безотходных химических производств, М.: Химия, 1982. 288 с.

24.Харлампович Г. Д., Кудряшова Р, И. Безотходные технологические процессы в .химической промышленности. М.: Химия, 1978. 280 с.

Похожие работы на - Производство алюминия из вторичного сырья

 

Не нашли материал для своей работы?
Поможем написать уникальную работу
Без плагиата!
Без нейросетей!