Получение хлора при электролизе хлорида алюминия

  • Вид работы:
    Курсовая работа (т)
  • Предмет:
    Химия
  • Язык:
    Русский
    ,
    Формат файла:
    MS Word
    118,39 kb
  • Опубликовано:
    2010-10-15
Вы можете узнать стоимость помощи в написании студенческой работы.
Помощь в написании работы, которую точно примут!

Получение хлора при электролизе хлорида алюминия

1. Электролиз хлорида алюминия

Комбинирование двух способов позволяет не только перерабатывать боксит с высоким содержанием кремния, но и заменить едкий натр более дешевым карбонатом натрия. Комбинированный способ применяют также для одновременной переработки низко- и высококремнистого боксита, а также с целью исключения процесса каустификации соды, которую можно использовать при спекании.

Основной целью переработки нефелинов является отделение Al2O3 от кремнекислоты и щелочи. При переработке нефелинов получают обычно три продукта: глинозем, поташ (или соду) и известково-кремниевые шламы, используемые для производства портланд-цемента. Переработка нефелинов аналогична переработке боксита методом спекания. Предложены и гидрохимические способы переработки нефелинов.

Переработка алунитов осуществляется восстановительно-щелочным способом в печах кипящего слоя. Принципиальной особенностью этого способа является обезвоживание и восстановительный обжиг алунитов. При этом в раствор переходят алюминат натрия и сульфаты щелочных металлов: раствор выпаривают, и сульфаты щелочных металлов выпадают в осадок. Раствор алюмината натрия далее перерабатывают по способу Байера.

Получение криолита

Процесс получения синтетического криолита состоит из стадий термической обработки плавикового шпата серной кислотой в цилиндрических вращающихся печах при 350°С, улавливания печных газов водой, очистки растворов от кремнекислоты и выделения криолита.

Основные реакции процессов:

CaF2 + H2SO4 → 2HF + CaSO4 (15.з)

SiO2 + 6HF →H2SiF6 + 2H2O

HF и H2SiF6 — газообразные продукты, улавливаемые водой. Для обескремнивания полученного раствора в него вначале вводят расчетное количество соды:

H2SiF6 + Na2CO3 → Na2SiF6 + CO2 + H2O (15.и)

Труднорастворимый Na2SiF6 отделяют, а оставшийся раствор плавиковой кислоты нейтрализуют избытком соды и гидроксидом алюминия с получением криолита:

12HF + 3Na2CO3 + 2Al(OH)3 → 2(3NaF·AlF3) + 3CO2 + 9H2O (15.к)

Таким же путем могут быть раздельно получены NaF и AlF3, если обескремненный раствор плавиковой кислоты нейтрализовать рассчитанным количеством Na2CO3 или Al(OH)3.

Электроды и другие материалы

С помощью электродов электрический ток подводят к шихте или электролиту. Поэтому электрод должен отличаться хорошей электропроводимостью и химической стойкостью при повышенной температуре, а также высокой чистотой. В большинстве случаев, в частности и при получении алюминия, электрод может и сам участвовать в электрохимических и химических процессах.

Различают два типа угольных электродов: прессованные обожженные и самообжигающиеся.

Для их изготовления мелкие угольные зерна смешивают с углеродистым связующим (пеком). Полученную пластичную массу прессуют и подвергают длительному обжигу без доступа воздуха при 1300 — 1400°С. Прессование электродов под высоким давлением ведут в формах нужных размеров. Прессованные необожженные электроды называют "зелеными" электродами. При обжиге происходит коксование связующего и отдельные зерна твердого углеродистого материала соединяются в общую массу.

Графитовые электроды получают путем дополнительной термической обработки обожженных угольных электродов при высокой температуре. Самообжигающиеся электроды коксуют непосредственно в самом электролизере за счет тепла, выделяющегося при прохождении тока через сырую углеродистую массу, набиваемую в металлический кожух электрода. При этом из массы удаляются летучие вещества.

Обожженные прессованные блоки применяют в качестве анодов, как при получении электролитического алюминия, так и в процессе его рафинирования.

Электролиз криолит-глиноземного расплава

В соответствии с современными данными о структуре расплавленных солей можно считать, что криолит-глиноземные расплавы являются однородными, упорядоченными в ближнем порядке системами из ионов Na+, Al3+, F-, O2-. Процесс разложения глинозема при электролизе с инертными по отношению к кислороду анодами (например, из платины) может быть в общем виде представлен реакцией

2Al2O3 → 4Al + 3O2 (15.л)

На практике электролиз криолит-глиноземного расплава проводят на анодах из углеродистых материалов, поэтому конечными анодными продуктами являются не кислород, а СО и СО2.

Суммарная реакция разложения глинозема в промышленных электролизерах может быть представлена в виде:

2Al2O3 + 3C → 4Al + 3CO2 (15.м)

Al2O3 + 3C → 2Al + 3 CO

Значения э.д.с. этих реакций, рассчитанные по термодинамическим данным, равны 1,167 и 1.034 В. Экспериментально найденное значение э.д.с. в алюминиевых электролизерах при плотности тока 10 кА/м2 (1 А/см2) лежит в пределах 1,4 — 1,8 В. Различие между фактической и расчетной э.д.с. отдельные авторы объясняют хемосорбцией кислорода на угольных электродах, который сохраняется и после отключения тока.

В криолит-глиноземном расплаве возможно существование различных катионов и анионов, причем каждый из таких ионов может принимать участие в электрохимических или промежуточных химических процессах, протекающих в электролизере.

Выход по току при электролизе криолит-глиноземного расплава не достигает 100% и составляет 85 — 90%. Это объясняется возможностью обратного растворения катодного металла в электролите и образованием соединений одновалентного алюминия, так называемых субсоединений:

2Al + Na3AlF6 → 3AlF + 3NaF

Одновалентный алюминий вновь легко окисляется на аноде, что снижает долю тока, расходуемого на обычные анодные процессы.

Другими побочными реакциями могут быть разряд ионов Na+ на катоде и дальнейшее его взаимодействие с электролитом с образованием субфторидов натрия (Na2F).

Необходимая температура электролита — от 940 до 960°С. При этой температуре электролит как бы "перегрет" на 10 — 30°С по отношению к температуре начала кристаллизации

Межэлектродное расстояние в процессе электролиза криолит-глиноземного расплава — весьма важный параметр. Оно определяет не только температуру расплава, но и напряжение на ванне при постоянных силе тока и составе электролита. Для поддержания напряжения 4,2 — 4,5 В межэлектродное расстояние должно быть в пределах 4 — 5 см.

Состав электролита

Глинозем и криолит являются основными составляющими электролита при производстве алюминия электролизом. Многочисленные попытки заменить криолит другими расплавленными средами не привели к положительным результатам. Преимущества криолита заключаются в хорошей растворимости в нем глинозема и отсутствии элементов с более положительным потенциалом, чем алюминий, которые, разряжаясь на катоде могли бы загрязнять металл. Криолит-глиноземные расплавы характеризуются достаточной электропроводимостью, сравнительно небольшим давлением насыщенного пара. Плотность электролита меньше плотности расплавленного алюминия, что позволяет применять в качестве катода алюминий, располагаемый под слоем электролита.

Все физико-химические свойства электролита существенно зависят от содержания Al2O3, которое изменяется в процессе электролиза. По мере уменьшения содержания Al2O3 растут температура начала кристаллизации, плотность и электропроводность электролита, уменьшается его вязкость.

Конструкция и эксплуатация электролизеров

Современный электролизер состоит из пяти основных частей: корпуса ванны, катода, анода, катодного токоподвода и анодного токоподвода

Корпус ванны изготавливают из стальных листов, футеруют угольными блоками 4 и плитами 6.

В работающей ванне образуется корка застывшего электролита — гарниссаж 5, которая предохраняет футеровку от разрушения расплавленным электролитом.

Катодом служит расплавленный алюминий, который расположен на дне электролизера в виде слоя высотой 0,1 — 0,2 м. Подвод тока к расплавленному алюминию через угольные блоки 4 осуществляется с помощью стержней 3. Введенные в блоки стальные стержни для улучшения контакта заливают чугуном или утрамбовывают углеродистой массой.

В качестве анодов в электролизерах применяются угольные блоки 4. Многоанодные электролизеры на большинстве заводов теперь заменены одноэлектродными, что значительно упростило регулирование работы электролизеров.

Аноды подвешивают на железную раму 12 с помощью стальных штырей 16, которые одновременно служат для подвода тока. На углах анодной рамы закреплены тяги, соединенный с подъемным механизмом. С помощью подъемного механизма анод по мере его сгорания можно опускать вниз.

В современных электролизных цехах ванны расположены в два или четыре ряда. В связи с применением электролизеров большой мощности предлагают располагать ванны в один ряд в двухэтажном здании. Число последовательно соединенных в серии алюминиевых ванн может достигать 160.

С увеличением мощности агрегатов снижаются удельные капитальные вложения, повышается производительность труда, но с увеличением токовой нагрузки возрастает и отрицательное влияние электромагнитных и гидродинамических сил. С повышением мощности ванн удельные капитальные затраты и себестоимость алюминия достигают минимальных значений в интервале 150 — 175 кА при ширине анода в 3 м.

В настоящее время свыше 80% цеховых затрат приходится на долю сырья, основных материалов и электроэнергии.

Рафинирование алюминия

Извлекаемый из электролизных ванн алюминий часто не является конечным продуктом, его называют алюминием-сырцом или черновым алюминием. Он содержит в виде примесей газы (Н2), глинозем, карбид и нитрид алюминия, углерод и некоторые металлы (кремний, железо, медь). В зависимости от чистоты исходных материалов содержание примесей в алюминии составляет 0,15 — 0,50%. Примеси ухудшают механические свойства алюминия и его коррозионную стойкость, а также снижают его электропроводимость.

Для очистки от включений натрия и других щелочных и щелочноземельных металлов жидкий алюминий может подвергаться хлорированию.

На современных заводах повышение чистоты первичного алюминия достигают посредством продувки газами, вакуумированием, обработкой флюсами. Известно комбинированное рафинирование, в котором совмещена продувка газом, вакуумирование и восстановление. Вакуумирование алюминия в миксере непосредственно перед разливкой считается наиболее надежным способом удаления водорода.

Предусмотрен выпуск алюминия различных марок. В процессе электролиза получают алюминий технической чистоты 99,5 — 99,85%. Металл высокой чистоты (99,95 — 99,995% Al) получают путем электролитического рафинирования технического металла, а металл особой чистоты (не менее 99,999% Al) — в результате специальной очистки.

Процесс промышленного электролитического рафинирования осуществляется в электролизере, особенностью которого является наличие в нем трех жидких слоев. Нижний слой служит анодом. Он состоит из рафинируемого алюминия, в который с целью его утяжеления добавляют 30 — 40 масс. % меди. При анодной поляризации медь в этих условиях не растворяется. Плотность анодного сплава должна быть выше 3,0·103 кг/м3.

Средний слой является расплавленным электролитом (смесь фторидов и хлоридов бария, натрия, алюминия, кальция, магния) с плотностью 2,7·103 кг/м3. Один из возможных составов электролита (в масс. %): 60 BaCl2, 23AlF3, 12 — 17 NaF, до 4% NaCl. Температура плавления такого электролита 720 — 730°С.

Третий, верхний, слой представляет собой расплавленный рафинированный алюминий (плотность 2,35·103 кг/м3), который служит катодом.

В процессе электролиза такие примеси в рафинируемом металле, как Cu, Fe, Si, Zn, Ti, остаются в анодном сплаве, Na, Ca, Mg переходят в электролит.

Выход алюминия по току при рафинировании в промышленных условиях (плотность тока 4,5 — 7,5 кА/м2 (0,45 — 0,75 А/см2)) составляет 95 — 98%.

Срок работы электролизера для рафинирования алюминия 4 — 5 лет. Современные промышленные ванны для получения рафинированного алюминия рассчитаны на силу тока 25 — 70 кА. Удельный расход электроэнергии постоянного тока 17370 — 19830 кВт·ч/т. Расход материалов на получение 1 т рафинированного алюминия составляет (в кг): алюминий сырец 1020 — 1030, графит 12 — 17, медь 10 — 16, хлорид бария 27 — 41, криолит 16 — 23, фторид алюминия 4 — 13.

Электролитическое рафинирование алюминия является одним из наиболее энергоемких процессов в металлургии легких металлов, причем 93 — 95% используемой энергии расходуется на поддержание теплового режима электролизера.

Важными задачами являются снижение удельного расхода электроэнергии и изыскание новых футеровочных материалов взамен магнезита, обеспечивающих повышение срока службы электролизеров и уменьшение перехода примесей в алюминий.

Для производства полупроводниковых материалов требуется алюминий чистотой 99,9999 — 99, 999990% Al, что не достигается при электролитическом рафинировании. Глубокую очистку алюминия осуществляют с помощью зонной плавки или дистилляции через субфторид. Очистка путем зонной плавки основана на различной растворимости примесей в твердом и жидком алюминии. При затвердевании кристаллы алюминия содержат меньше примесей, чем жидкая фаза.

Метод дистилляции алюминия основан на взаимодействии алюминия с AlF3 при высокой температуре (1000 — 1050 °С) с образованием летучего монофторида. Парообразный AlF, попадая затем в "холодную" зону (700 — 800 °С), распадается.

Для получения металла чистотой 99,999% иногда используют процесс электролитического рафинирования в органических средах. Для обеспечения чистоты 99,9999% проводят дополнительную зонную перекристаллизацию. Первый процесс протекает в электролите, содержащем AlF3·2Al(C2H5)3 и толуол (1:1), при 100°С. Катодная плотность тока 30 А/м2 и напряжение на ваннах 1,0 — 1,5 В, межэлектродное расстояние 3 см, выход по току близок к 100%.

Электролиз хлорида алюминия

Классический способ получения алюминия электролизом криолит-глиноземных расплавов имеет ряд недостатков, главными из которых являются высокий расход электроэнергии и углеродистых материалов и вредные выделения фторидов. Наиболее перспективным процессом, конкурирующим с классическим способом, может быть электролиз хлорида алюминия.

Технологическая схема предусматривает восстановительную электроплавку алюминий содержащего сырья с получением сплава состава (в %): Al — 50, Fe — 30, Si — 10, Ti — 5, C — 5. Далее путем хлорирования сплава при 13000С хлоридом алюминия получают AlCl, из которого диспропорционированием при 700°С выделяют AlCl3 и металлический алюминий.

2. Получение хлора при электролизе хлорида алюминия

Получение алюминия путем электролиза хлорида алюминия в расплаве или в присутствии электролита представляет большой интерес и теоретически вполне возможно. Однако этот экономически выгодный процесс никогда не был реализован на практике. Это связано с наличием многих нерешенных практических проблем, например высокой коррозионной активностью электролита, содержащего галогениды щелочных и (или) щелочноземельных металлов, необходимостью использования хлорида алюминия определенной степени чистоты поддержания точной его концентрации в электролизере и других.

Для осуществлений этого процесса имеются препятствия как технического так и экономического характера. Одной из многих проблем является переработка и удаление газов, выходящих из электролизера.


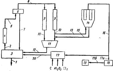
Рис. 1. Схема рециркуляции в обработки отходящих газов процесса электролитического получения алюминия из хлористого алюминия

Присутствие этих компонентов в отходящем газе приводит не только к нежелательным потерям компонентов расплава, но и обусловливает высокую коррозионную активность газа, что препятствует его повторному использованию без дополнительной обработки. Кроме того, здесь возникают проблемы, связанные с засорением труб, через которые проходят отходящие газы, например в результате конденсации в них галогенидов щелочных и (или) щелочноземельных металлов или других вышеупомянутых соединений.

Переработка отходящих газов связана и с другими проблемами, в частности с трудностями при конденсации таких газов для использования их в химических реакциях или хранения в жидком виде.

Алюминий получают в электролизере 3 путем электролиза хлорида алюминия, Растворенного в расплаве хлоридов щелочных или щелочноземельных металлов или их смеси; температура внутри электролизера обычно составляет около 700 °С. При работе электролизера алюминий удаляется в расплавленном виде как показано стрелкой 1, а отходящие газы, состоящие в основном из хлора с малыми количествами азота и хлоридов щелочных и (или) щелочноземельных металлов, а также хлорида алюминия, унесенных из расплава, удаляются из электролизера как показано стрел-

Типичный состав отходящих газов, %: С1 91,5 сл., N 1,8, хлоридов щелочных и (или) щелочноземельных металлов 4,8, хлорида алюминия 1,9 сл., кислорода; хлориды щелочных и щелочноземельных металлов находятся в газообразном состоянии и в виде очень мелких частиц, образующих дым.

После выделения и удаления из электролизера 3 отходящий газ приведенного состава, находящийся при температуре около 700 °С, охлаждают, обычно пропуская через теплообменник 4, до заданной температуры при которой будет происходить селективная конденсация всех хлоридов щелочных и щелочноземельных металлов, не сопровождающаяся конденсацией или десублимацией хлорида алюминия.

В теплообменнике температура отходящего газа снижается примерно до 150— 200 °С, в результате происходящей конденсации образуются маленькие капли жидкости или туман. Охлажденные отходящие газы по линии 5 подаются в зону коалесценции, которая на схеме представлена противозапотевающим устройством 6. В нем происходит коалесценция сконденсировавшихся капель хлоридов щелочных и щелочноземельных металлов, а также части хлорида алюминия; жидкая фаза отделяется от отходящего газа.

Коалесцированная жидкая фаза, обычно содержащая 0, 16 — 3,3 г/л растворенного хлорида алюминия при стандартных условиях (0,1 МПа, 25 °С), по линии 22 возвращается непосредственно в электролизер 3 для возмещения потерь компонентов расплава.

Обедненные отходящие газы, содержащие 0,06 г/л. газообразного хлорида алюминия, по линии 8 подаются в зону конденсации с конденсатором 9, который может представлять собой трубчатый теплообменник или псевдоожиженный слой хлорида алюминия, работающий при более низких температурах, которые часто ниже 100 °С. При этом происходит десублимация остаточного хлорида алюминия и его предвари-тельное отделение, после чего он по линии 10 направляется в сборник 11, где собирается в кристаллическом виде.

Полученный таким образом хлорид алюминия по линии 12 может быть снова подан на электролиз в тот же самый или в другой электролизер. Оставшиеся относительно чистые отходящие газы по линии 13 направляют в мешочные фильтры или в фильтровальные узлы, в которых происходит улавливание всех оставшихся твердых примесей, в особенности имеющих малые размеры.

Твердая фаза, отделенная в мешочных фильтрах 14, состоит главным образом из хлорида алюминия. Если он имеет достаточную чистоту, то по линии 15 он может быть подан в сборник //, а оттуда в случае необходимости возвращен в электролизер 3.

Отходящие газы после фильтра 14 содержат относительно чистый газообразный хлор и некоторые количества азота; по линии 16 их направляют к месту утилизации. Такой газообразный хлор, возможно содержащий другие хлористые соединения, может быть направлен в зону получения хлорида алюминия 17, где он реагирует с алюминийсодержащим материалом в присутствии восстановителя, например угля. По меньшей мере часть хлора и углерода в этой реакции может быть в связанном состоянии например в виде четыреххлористого углерода или карбонилхлорида. В другом варианте газообразный хлор по линии 17а можно направить в конденсатор 18 и полученный жидкий хлор по линии 17 транспортировать к месту хранения 19. Наличие линии 20, позволяет использовать хлорид алюминия, полученный в зоне 17, в том же самом или в другом электролизере 3.

3. Исследование и разработка безотходной технологии утилизации алюминийфторуглеродсеросодержащих отходов алюминиевого производства

При производстве алюминия электролизом растворенного глинозёма в расплаве фтористых солей при температуре =960°С происходит хроническое образование высокотоксичных алюминийфторуглеродсеросодержащих отходов — отработанной угольной футеровки электролизёров и тонкодисперсного шлама с содержанием углерода 25-70%, фтора 6-16%, алюминия 4-10%, натрия 6-19%, серы 0,1-1,3%, цианидов до 1% и других компонентов [1. 2.].

Наибольшую опасность в твердых отходах представляют водорастворимые фториды, например, NaF и цианиды.

Известно несколько разработанных способов утилизации рассматриваемых отходов. Однако до промышленной реализации доведены лишь некоторые из них, по которым не полностью утилизируется отработанная футеровка из-за низкой эффективности или по экономическим соображениям [1-5]. Алюминийфторуглеродсеросодержащие шламы в настоящее время не перерабатываются и в значительных количествах хранятся на полигонах, загрязняя окружающую среду. По самым скромным оценкам, в мире накопилось несколько десятков миллионов тонн таких отходов, которые можно отнести к техногеннымм видам металлургического сырья.

Рассматриваемые отходы содержат в своем составе ценные компоненты, при переработке которых можно получить существенный экономический и экологический эффект.

Для эффективной утилизации отходов необходимо исследовать и разработать безотходную технологию, наносящую минимальный экологический ущерб окружающей среде, имеющую низкие капитальные затраты на ее реализацию и позволяющую получать прибыль. Этому посвящена данная работа.

В исследованиях в качестве отходов использовали алюминийфторуглеродсеросодержащий шлам Красноярского алюминиевого завода (ОАО "РУСАЛ Красноярск"), отобранный со шламового поля с влажностью 30% и высушенный при температуре 100°С. Шлам представляет собой механическую смесь пыли электрофильтров, шлама "мокрой" ступени газоочистки, хвостов флотации угольной пены и содержит, % масс. 8,15А1; 0,15 Si; 0,97 Fe; 0,01 Ti; 0,76 Са; 0,27 Mg; 6,46 Na; 1,06 К; 7,085 R (R = Na+K в пересчете на Na); 1,25 S; 10,31 F; 51,6 C; 58,11 п.п.п. (потери при прокаливании). По крупности шлам имеет частицы размером менее 0,05 мм 74,19% и более 0,2 мм 4,37%. Для разработки технологии переработки алюминийфторуглеродсеросодержащих отходов алюминиевого производства и их обезвреживания представляет интерес исследовать поведение при нагреве содержащихся в них фторидов в смеси с СаС03 и Na2C03 и углерода, предполагая, что при этом углерод будет сгорать в воздухе, а фториды прореагируют по следующим химическим реакциям:

2NaF + СаСОз = CaF2 + Na2C03; (1)

2Na3AlF6 + бСаСОз = Na20-Al203 + 6CaF2 + 2Na2C03 + 4C02T; (2)

2A1F3 + 3CaC03 = 3CaF2 + A1203 + 3C02;(3)

2A1F3 + 4Na2C03 = Na20-Al203 + 6NaF + 4C02; (4)

CaF2 + Na2C03 = 2NaF + CaO + C02T; (5)

CaF2 + Na2C03 = 2NaF + CaC03. (6)

С этой целью были приготовлены согласно стехиометрическим коэффициентам в вышеприведенных реакциях следующие смеси веществ марки ч.д.а. крупностью менее 0,08 мм:

2NaF + СаСОз (1), 2Na3AlF6 + 6СаС03 (2), 2A1F3 + ЗСаСО3 (3),

2A1F3 + 4Na2C03 (4), CaF2 + Na2C03 (5).

Указанные смеси и используемый в исследованиях алюминийфтроруглеродсеросодержащий шлам проанализированы дифференциально-термическим (ДТА) и термогравиметрическим (TG) методами.

Рис. 1. Термогравиметрический анализ смесей фторидов с известняком и содой.

1, 1' - смесь NaF + СаС03; 2, 2' - смесь A1F3 + СаС03; 3, 3' - смесь Na2C03 + CaF2;

4, 4' - смесь Na3AlF6 + CaC03; 5, 5' - смесь A1F3 + Na2C03.

1, 2, 3, 4, 5 - кривые ДТА; Г, 2', 3', 4', 5' - кривые TG

Проведенные исследования подтвердили предположение, что фториды разлагаются известняком и содой при температуре 600-650°С по вышеприведенным реакциям (1-6).

По кривым 1, Г видно, что реакция 1 начинается при температуре 420°С, но идет очень медленно. С повышением температуры скорость ее увеличивается, достигая максимума при 530-590°С, и при 600°С она практически заканчивается полным переходом растворимого в воде NaF в нерастворимый CaF2, о чем свидетельствует большой эндотермический эффект на кривой ДТА. При нагревании смеси 2NaF + СаС03 до температуры 620°С практически не наблюдается убыль веса (кривая Г). Это указывает на то, что протекает обменная химическая реакция взаимодействия NaF и СаС03 с образованием CaF2 и Na2C03. Однако при температуре более 620°С образовавшиеся CaF2 и Na2C03, по-видимому, взаимодействуют между собой с образованием снова NaF по реакциям 5 и 6, о чем свидетельствует изменение угла наклона кривой ДТА (кривая 1). Причем до температуры 750°С преимущественно протекает реакция 6, так как на кривой TG (1') отмечается небольшая убыль веса, а при температуре более 750°С в основном идет реакция 6 с образованием, кроме NaF, СаО и улетающего в атмосферу углекислого газа, что резко увеличивает убыль веса (кривая Г).

Реакция 2 между криолитом и известняком начинается при температуре 320°С и заканчивается при температуре 620°С с полным переходом алюминия в алюминат натрия. Образовавшиеся при этом CaF2 и Na2C03 реагируют также между собой при температуре более 620°С по реакциям 5 и 6 (кривые 2 и 2'). Реакция 3 между фторидом алюминия и известняком начинается при температуре 540°С, идет активно и при 710-730°С заканчивается полностью (кривые 3 и 3').

Фторид алюминия начинает реагировать с содой по реакции 4 при температуре 490°С, а с известняком — по реакции 3 при температуре 540°С, и заканчивается реакция 4 при температуре 590-600°С, что видно из кривых ДТА и TG (кривые 4 и 4'). Поэтому следует ожидать, что сода, образовавшаяся по реакциям 1, 2 прореагирует с A1F3 с образованием алюмината натрия, а не оксида алюминия по реакции 3.

На кривой ДТА шлама (кривая 6) в области температур 350-915 °С наблюдается большой экзотермический эффект с максимумом при 620"С, относящийся, по-видимому, к горению углеродистой массы, которому соответствует убыль массы образца (кривая 6'). Видно, что углерод в шламе горит в широком температурном интервале, что свидетельствует о присутствии в шламе различных его модификаций. Нами установлено, что теплотворная способность углеродистого шлама составляет 12544,8-14635,6 кДж/кг (3000-3500 ккал/кг).

Предварительно расчетом было установлено, что молярные отношения в шламе R:A1 = R2O: AI2O3 = 1,02 ед., т.е. для образования алюмината натрия (Na2O.Al2O3) в спеке вводить дополнительно щелочь в шихту для спекания не следует. Поэтому исследования проводили по спеканию шлама только с известняком.

В отходах алюминиевого производства содержатся, как было отмечено выше, от 0,1 до 1,3% серы в виде, главным образом, растворимых сульфатов щелочных металлов (Na2S04 и K2SO4), которые при спекании не взаимодействуют с глинозёмом и не образуют алюмината, т.е. являются инертными по отношению к глинозёму [6]. Поэтому важно при спекании серу перевести в нерастворимую форму — CaSO4, а сульфаты натрия и калия в активную форму — карбонаты по химическим реакциям:

(Na,K)2S04 + 2С + СаСОз = (Na,K)2C03 + CaS + 2C02; (7)

CaS+ 2O2 = CaS04. (8)

При выщелачивании спека сера уходит в осадок в виде CaS04. Из стехнометрических коэффициентов реакций 7, 8 видно, что для образования в спеке CaS04 и CaS в шихте должно быть молярное отношение Са: S = 1,0. Поэтому в шихтах для спекания шлама нами выдерживалось это отношение.

Образующиеся по реакции 7, 8 карбонаты щелочных металлов взаимодействуют с AIF3 по реакции 4, образуя в спеке легкорастворимые алюминаты — (Na,K)20- AI2O3. Без добавки в шихты известняка для связывания серы в CaS04 щелочь в составе сульфатов не образует алюминатов и снижает извлечение глинозёма из спека (отходов).

Для исследования влияния режимов спекания и состава шихты на качество получаемого спека нами были рассчитаны и приготовлены шихты, состоящие из алюминийфторуглерод-серусодержащего шлама ОАО "РУСАЛ Красноярск" и известняка марки ч.д.а. с различными молярными отношениями Ca:F2(oт 0,86 ед. до 1,10 ед.) и постоянными Ca:S = 1,0 ед., R:A1 = 1,02 ед. Характеристика шихт приведена в табл. 1.

Методика опытов заключалась в следующем. Предварительно высушенные при температуре 100°С и измельченные до крупности -0,08 мм материалы шихты тщательно перемешивали и спекали, при температурах 550-800"С. Приготовленные шихты помещали на огнеупорных пластинках слоем 1,0-1,5 см. Подъем температуры до заданной осуществляли со скоростью 15-20°С/мин., затем следовала выдержка в течение 1 часа. Спеки охлаждали вместе с печью до 200°С, а далее до комнатной температуры на воздухе. Затем спеки измельчали до крупности -0,08 мм и выщелачивали по стандартной методике содощелочным раствором, содержащим 5,7 г/дм3 Na2Oк (каустической) и 8,4 г/дм3 Na2Oу (углекислой), при отношении жидкого к твердому 20, температуре 70 °С в течение 7 мин.

Таблица 1 Характеристика исследуемых шихт из алюминийфторуглеродсеросодержащих отходов и известняка

Номер шихты

Мол. отн. Са: F2, ед

Содержание, % (в пересчете на оксиды)



А1203

R20

СаО

ппп

1

0,86

12,29

7,62

12,13

55,27

2

0,90

12,10

7,51

12,81

55,09

3

1,04

7,33

13,83

54,83

4

1,10

11,55

7,16

14,79

54,56


Таблица 2 Показатели спекания шихт при различных температурах

Номер шихты по табл. 1

Мол. отн. в шихте Ca:F2, ед.

Температура спекания, °С

Извлечение в р-р при выщелачивании спека, %

Содержание в спеке (в пересчете на оксиды) %




А1203

R20

А1203

R20

CaO

1

0,86

650

68,72

97,85

27,06

16,90

26,90

2

0,90

650

74,04

97,12

26,11 j

16,58

28,28

3

1,04

550

71,58

96,62

25,11

15,80

29,81

3

1,04

600

77,40

97,91

25,89

16,06

30,30

3

1,04

650

80,67

97,32

25,89

16,06

30,30

3

1,04

750

77,26

97,65

25,89

16,06

30,30

3

1,04

74,18

96,92

26,01

16,06

30,44

4

1,10

650

75,23

97,38

24,78

15,36

31,74


Показатели спекания исследуемых шихт приведены в табл. 2, из которой видно, что оптимальными режимами для спекания являются температура 600-650°С и молярные отношения в шихте Ca:F2 = 1,04; Ca:S = 1,0; R:A1 = 1,02. При этих режимах достигается максимальное извлечение глинозёма и щелочей из спека в раствор, равное соответственно 77,40-80,67% и 97,30-97,90%.

Снижение температуры спекания менее 600°С нецелесообразно, так как приводит к неполному выгоранию углерода из отходов, неполному протеканию вышеуказанных химических реакций, результатом которых является образование в спеке легкорастворимых алюминатов щелочных металлов и нерастворимого фторида кальция (CaF2). Все это ухудшает качество спека, снижает эффективность переработки и обезвреживания экологически опасных алюми-нийфторуглеродсеросодержащих отходов алюминиевого производства.

Увеличение температуры спекания более 650°С также нежелательно, так как при этом развиваются вторичные реакции 5, 6, приводящие к переходу в спеке нерастворимого CaF2 в растворимый NaF и, за счет этого, к уменьшению извлечения глинозёма из спеков, снижению эффективности переработки отходов и образованию водорастворимого фтора.

При уменьшении молярного отношения в шихте Ca:F2 ниже 1,04 ед. для полного разложения фторидов по реакциям 1-4, образования алюминатов щелочных металлов и связывания фтора в нерастворимый CaF2 при спекании известняка недостаточно. Это обуславливает снижение качества спека и эффективности переработки отходов, ухудшение экологии.

Увеличение молярного отношения Ca:F2 более 1,04 приводит к повышению удельных расходных коэффициентов на 1 тонну перерабатываемых отходов (по известняку, шихте, спеку) без улучшения качества получаемого спека и снижению эффективности переработки отходов.

Следует отметить, что спекание алюминийфторуглеродсеросодержащих отходов с известняком при температуре 600-650°С позволяет извлечь алюминий, присутствующий в отходах в составе криолита (Na3AJFg) или AIF3, но не позволяет извлечь металлический алюминий и оксид алюминия из отходов, так как для их полного извлечения необходима температура спекания более 1150°С [6]. Учитывая, что количество последних в отходах незначительно, то этими потерями можно пренебречь.

Кроме того, при выщелачивании спеков из алюминийфторуглеродсеросодержащих отходов алюминиевого производства получаются флюоритовые шламы, содержащие, % масс: 9-1 А1203, 54-55 СаО; 31-32 F; 0,5-0,6 R20; 0,5-0,6 Si02; 3-4 Fe203; 0,5-0,6 MgO; 0,2-0,3 SO3; 6-8 п.п.п., пригодные для производства фтористых солей, т.е. являющиеся товарным продуктом, которые можно реализовать в качестве флюоритового сырья на предприятия по производству фтористых солей.

Результаты проведенных исследований позволили предложить способ переработки техногенного алюминийсодержащего сырья, включающий приготовление шихты из алюминийф-торуглеродсеросодержащих отходов алюминиевого производства и известняка с молярными отношениями Ca:F2 = 0,8-1,2, Ca:S = 1,0 , спекание при температуре 550-800°С и выщелачивание полученного спека, на который получено положительное решение о выдаче патента.

Этот способ позволяет эффективно переработать и утилизировать до настоящего времени широко не используемых экологически опасных алюминийфторуглеродсеросодержащих отходов алюминиевого производства. При этом упрощается аппаратурно-технологическая схема спекания, снижается температура спекания, повышается качество спека за счет увеличения его пористости и связывания алюминия в нем в легкорастворимые алюминаты щелочных металлов, практически устраняется расход топлива на спекание за счет сгорания углерода отходов (топливо необходимо лишь при розжиге печи), эффективно обезвреживаются отходы алюминиевого производства, а именно детоксифицируются цианиды и связываются растворимый фтор в нерастворимый фторид кальция.

Результаты проведенных исследований с учетом промышленной практики позволили разработать безотходную технологию переработки и утилизации алюминийфторуглерод-серосодержащих отходов алюминиевого производства с получением следующих товарных продуктов: гидроксида алюминия или глинозёма, содопродуктов и флюоритового шлама, пригодного для производства фтористых солей [7]

Литература

1. Экологические аспекты производства алюминия электролизом Аналитический обзор / А.Г. Акшиц, П.В. Поляков, А.В. Кучеренко, В.А. Крюковский, Л.А. Сафарова. — Новосибирск: Изд. ГПНТБ СО АН СССР, 1991. - 92 с.

2. Истомин С.П. Проблемы использования фторсодержащих отходов криолитовых и алюминиевых заводов // Цветные металлы, 2002. — №1. — с. 63-67.

3. Петров С.И., Утков В.А., Тесля В.Г. Переработка углеродфторсодержащих отходов производства алюминия // Материалы межвузовской конференции "Металлургия легких металлов на рубеже веков. Состояние и стратегия развития". — Санкт-Петербург, 2001. — с. 100.

4. Переработка и повторное использование отработанной подины: Практика использования в Китае // Light Metals, 1994. - с. 269-273.

5. Современные способы переработки, обезвреживания и утилизации отработанной футеровки алюминиевых электролизёров. НТЦ "Сибирский алюминий". — Санкт-Петербург, 1999. - 21 с.

6. Лайнер А.И., Еремин Pi.И., Лайнер Ю.А., Певзнер И.З. Производства глинозёма. - М.: Металлургия, 1978. — 344 с.

7. Беляев А.И. Металлургия легких металлов. — М.: Металлургия, 1970

Похожие работы на - Получение хлора при электролизе хлорида алюминия

 

Не нашли материал для своей работы?
Поможем написать уникальную работу
Без плагиата!
Без нейросетей!