Противообледенительная система авиационных силовых установок
Министерство
образования и науки Российской Федерации
Федеральное
агентство по образованию
ИРКУТСКИЙ
ГОСУДАРСТВЕННЫЙ ТЕХНИЧЕСКИЙ УНИВЕРСИТЕТ
КАФЕДРА СМ и
ЭАТ
ПРОТИВООБЛЕДЕНИТЕЛЬНАЯ
СИСТЕМА АВИАЦИОННЫХ СИЛОВЫХ УСТАНОВОК
наименование
темы
ОТЧЁТ
По лабораторной
работе №4 по дисциплине
«Силовые
установки»
Выполнили: студенты гр. ЭЛ-06-1
В.О. Клемешов
И.В. Наумов
.О. Ушаков
Принял:
В.А. Одаареев
Иркутск,
2010г
Содержание
1. Противообледенительные системы: общие сведения
.1 Условия обледенения
.2 Предъявляемые требования
.3 Классификация противообледенительных систем
.3.1 Воздушно-тепловые противообледенительные системы
.3.2 Электротепловые противообледенительные системы
.3.3 Прочие виды противообледенительных систем
.4 Предотвращение обмерзания агрегатов
.5 Сигнализаторы обледенения
.6 Эксплуатация противообледенительных систем
. Воздушная и противообледенительная система ДТРД Д-30
.1 Воздушная система
.1.1 Отбор воздуха для наддува лабиринтных уплотнений
масляных полостей
.1.2 Отбор воздуха на охлаждение узлов турбины
.1.3 Перепуск воздуха за IV и V ступенями второго каскада
компрессора
.1.4 Перепуск воздуха за X ступенью второго каскада
компрессора
.1.5 Отбор воздуха на самолетные нужды
.2 Противообледенительная система ДТРД Д-30
.2.1 Перекрывная заслонка
.2.2 Электромеханизм МП-5И
.2.3 Принцип действия электромеханизма МП-5И
.2.4 Система сигнализации обледенения двигателя Д-30
.2.5 Датчик обледенения ДО-202М
.2.6 Электромагнитный кран М782000
.2.7 Сигнализатор давления СДУ2-0,15
.2.8 Электрическая схема системы сигнализации обледенения
. Противообледенительная система ТВД АИ-20
.1 Противообледенительная система агрегатов двигателя АИ-20
.2 Система обогрева лопастей винтов
.3 Сигнализатор обледенения СО-12АМ
.3.1 Принцип действия
.1.2 Технические данные сигнализатора обледенения СО-12АМ
.1.3 Конструкция сигнализатора
Список литературы
Приложение А
Лабораторная работа №4
Противообледенительная система силовых установок
Цель работы: изучить воздушную и противообледенительную систему
авиационной силовой установки на примере ТВД АИ-20М и ДТРД Д-30.
1. Противообледенительные системы:
общие сведения
1.1 Условия
обледенения
На обледенение силовых установок оказывает влияние ряд факторов,
основными из которых являются температура и относительная влажность воздуха,
водность облаков, средний диаметр капель, скорость и высота полета летательного
аппарата. Метеорологические условия, способствующие обледенению,
характеризуются наличием переохлажденных капель воды или кристаллов льда,
взвешенных в воздухе в виде облаков, тумана, дождя, мокрого снега и т. п.
Летательный аппарат выводит содержащиеся в обтекаемом потоке воздуха
переохлажденные капли воды из неустойчивого равновесия, и последние замерзают
на его поверхностях.
При обледенении ГТД лед образуется на неподвижных поверхностях входного
канала воздухозаборника, лопатках направляющего аппарата, обтекателе передней
части двигателя, лопатках первой ступени компрессора, а также на носке входного
диффузора (переднего капота), на входных патрубках продува генераторов и на
других воздухозаборниках, расположенных на капоте двигателя.
Различают следующие виды льдообразований:
- прозрачный лед в виде стекловидной пленки с гладкой поверхностью. Он
образуется при полетах в зоне переохлажденного дождя или мороси. Отложение
такого льда наблюдается чаще всего в интервале температур окружающего воздуха
±5°С;
- малопрозрачный лед шероховатой, зернистой или кристаллической
структуры. Такой лед образуется при полетах в облаках, содержащих большое
количество переохлажденных капель различного размера, в диапазоне температур от
0 до минус 10°С;
кристаллический лед, отлагающийся в небольших количествах при
температуре ниже -10°С и при полете в облаках, состоящих из очень мелких капель
переохлажденной воды. Иногда этот вид льда называют инеем.
смешанные виды льдообразований. Наибольшую опасность
представляют ледяные наросты неправильной формы, образующиеся при полете в зоне
выпадения дождя и снега.
В отличие от летательных аппаратов, обледенение которых наступает при
отрицательных температурах, ГТД могут подвергаться обледенению при температуре
окружающей среды до 5-10°С. При работе двигателя на земле или малых скоростях
полета во входном канале происходит засасывание воздуха и расширение его, в
результате чего температура воздуха понижается и может достигнуть значений, при
которых наступает обледенение. В силовых установках с ПД и ТВД вначале
наступает обледенение винта, которое начинается с втулки или обтекателя втулки
винта.
Образование льда на поверхности входного канала и непосредственно на
входе в компрессор уменьшает расход воздуха и понижает тягу двигателя. В
результате увеличивается удельный расход топлива, что приводит к неустойчивой
работе компрессора и тряске двигателя, а также перегреву лопаток соплового
аппарата и турбины. В ГТД с осевым компрессором интенсивное льдообразование
происходит во входном направляющем аппарате, а также на лопатках первого ряда
ротора и статора компрессора. Лед может сорваться и вызвать повреждение
компрессора.
Для обеспечения нормальной работы двигателя в условиях обледенения
необходимо создание специальных средств защиты, т. е. создание
противообледенительных систем. Принцип действия большинства этих систем основан
на том, что при включении их в работу температура защищаемых поверхностей поднимается
до положительной и образование льда на них становится невозможным.
1.2
Предъявляемые требования
К числу требований, предъявляемых к ПОС, относятся такие:
- обеспечение безопасности полета в любых условиях обледенения и на всех
режимах работы двигателей;
- надежность и эффективность работы при различных
метеорологических условиях в широком диапазоне скоростей и высот полета,
неограниченность времени работы;
возможность регулирования интенсивности обогрева в зависимости
от температуры наружного воздуха и интенсивности обледенения;
безопасность включения системы при стоянке и рулении
летательного аппарата;
воздухозаборники двигателей и все выступающие детали в их
каналах должны иметь противообледенительную систему непрерывного действия, не
допускающую льдообразования на защищаемых поверхностях как на земле, так и в
полете;
наличие сигнализаторов начала обледенения и указателей
интенсивности обледенения, минимальное время срабатывания датчиков, высокая чувствительность
и отсутствие ложных срабатываний;
безопасность в пожарном отношении;
минимальный расход энергии;
отсутствие мешающего действия на работу радио- и навигационного
оборудования;
малые вес и габариты;
быстрая готовность к действию, желательно автоматическое
включение и выключение от специальных сигнализаторов начала обледенения;
простота ухода и эксплуатации, возможность контроля исправности
системы на земле и в полете.
1.3
Классификация противообледенительных систем
Для защиты силовых установок от обледенения наибольшее распространение
получили тепловые системы. В зависимости от источников энергии они
подразделяются на воздушно-тепловые и электротепловые. В первых используют
тепловую энергию воздуха, отбираемого от компрессора двигателя. Чем выше
температура и давление воздуха за компрессором, тем эффективнее работают эти
системы. В случае небольшого расхода воздуха через двигатель (ПД, ТВД) горячий
воздух может быть получен при помощи теплообменников, обогреваемых выходящими
газами.
ПОС могут быть постоянного действия и циклические. Системы постоянного
действия не допускают образования льда на защищаемых поверхностях. Они
применяются для предохранения от обледенения воздухозаборников двигателей и
деталей, расположенных в воздухозаборном канале, скопление льда на которых и
последующее его удаление может нарушить нормальную работу двигателя или вызвать
его повреждение. Системы циклического действия периодически сбрасывают
образующийся на защищаемых поверхностях слой льда.
1.3.1
Воздушно-тепловые противообледенительные системы
Типичной воздушно-тепловой ПОС постоянного действия является система,
показанная на рисунке 1.1. В этой системе предусмотрен подвод горячего воздуха
от компрессора в кольцевую камеру, расположенную на глубине 200-250 мм в носке
воздухозаборника. Камера отделена от подкапотного пространства двигателя
герметической перегородкой. При открытии заслонки 6 горячий воздух поступает в
камеру 1. Пройдя по кольцевому каналу, воздух выбрасывается в подкапотное
пространство. Для создания равномерного температурного поля подвод горячего
воздуха в кольцевую камеру может осуществляться в нескольких точках по
окружности. Понижение температуры и увеличение количества поступающего воздуха
обеспечиваются эжектором, посредством которого происходит подсасывание воздуха
из подкапотного пространства, смешение его с воздухом, поступающим от
компрессора, и подача в обогреваемые полости.
Обогрев носка воздухозаборника может быть выполнен по схеме, изображенной
на рисунке 1.2. Здесь горячий воздух подводится в кольцевую камеру А, из
которой по щелевым каналам 1 проходит в полость Б, обогревая обшивку 2 носка
воздухозаборника. Воздух отводится в атмосферу через патрубок 3, расположенный
в нижней части воздухозаборника.
1 - противообледенительная камера; 2 - фланец для выхода воздуха; 3 -
эжектор; 4 - трубопровод; 5 - электромеханизм; 6 - заслонка; 7 - перегородка
Рисунок 1.1 - Схема противообледенительной системы воздухозаборника
1 - щелевые каналы; 2 - обшивка носка воздухозаборника; 3 - отводной
патрубок
Рисунок 1.2 - Схема обогрева носка воздухозаборника
1 - трубопровод; 2 - лопатки направляющего аппарата; 3 - передняя часть
обтекателя
Рисунок 1.3 - Схема обогрева входной части двигателя
Рисунок 1.4 - Схема циркуляции воздуха в носке лопаток направляющего
аппарата
Для защиты от обледенения элементов конструкции, расположенных во входном
тракте двигателя (обтекатель, лопатки входного направляющего аппарата,
воздухоразделительные перегородки и т. п.), используется воздух, отбираемый от
компрессора двигателя (рисунок 1.3). В рассматриваемой схеме горячий воздух по
трубопроводу 1 поступает внутрь лопаток 2 направляющего аппарата (схема
циркуляции воздуха в лопатках показана на рисунке 1.4), обогревает их, а затем
подходит к передней части обтекателя 3. Далее по кольцевому каналу,
образованному наружной стенкой и внутренним дефлектором, воздух проходит вдоль обтекателя
и выбрасывается через отверстия во входной канал двигателя.
Обогрев лопаток направляющего аппарата может производиться и таким
способом, как это показано на рисунке 1.5. Здесь воздух по специальным
отверстиям из-за одной из ступеней компрессора направляется во внутреннюю
полость ротора двигателя, а затем через отверстия в диафрагмах дисков проходит
в полость А. Из этой полости воздух подходит к нижним цапфам лопаток, проходит
по внутреннему каналу в теле лопатки, а затем через отверстия в верхней ее
части выходит в воздушный тракт двигателя.
Рисунок 1.5 - Схема обогрева лопаток входного направляющего аппарата
двигателя
К недостаткам воздушно-тепловых систем необходимо отнести их
незначительную эффективность при работе двигателей на режимах, близких к режиму
малого газа, из-за понижения расхода и температуры воздуха. Особенно это
относится к двигателям с низкой степенью повышения давления. Кроме того, при
включении воздушно-тепловой системы уменьшается мощность (тяга) и повышается
температурный режим двигателя, увеличивается удельный расход топлива. Для ТРД
уменьшение тяги почти прямо пропорционально количеству отбираемого воздуха. ТВД
более чувствителен к отбору воздуха: на 1% отбираемого системой воздуха приходится
снижение мощности ТВД на 1,5-2% и ухудшению экономичности на 1-1,5%.
Максимальное количество воздуха, которое может быть отобрано от двигателей, не
должно превышать для ТРД - 12%, для ДТРД - 7%, и для ТВД - 5%.
Применение воздушно-тепловой системы целесообразно для воздухозаборников
с радиусами закруглений входных кромок более 6-8 мм.
При острых носках сверхзвуковых воздухозаборников эти системы становятся
малоэффективными, что вызывает необходимость перехода к электротепловым ПОС.
1.3.2
Электротепловые противообледенительные системы
Электротепловые системы не имеют недостатков, присущих воздушно-тепловым.
Несмотря на это, они длительное время не находили применения из-за
необходимости значительных по мощности источников электрической энергии.
Эти системы состоят из нагревательных элементов, программного механизма,
источников энергии, контакторов и электропроводки.
Нагревательный элемент обычно выполняют в виде тонкой, укладываемой по
секциям металлической фольги, токопроводящих лаков, ленточных нагревателей,
изготовленных напылением и изолированных эпоксидной смолой, проволок, или в
виде токопроводящего слоя резины. Эти элементы, расположенные между слоями
изоляции, называют нагревательными пакетами. Для предохранения от механических
повреждений и эрозии пакет после закрепления на защищаемой от обледенения
поверхности закрывают снаружи накладкой.
Конструкция нагревательного пакета позволяет получить наиболее выгодное
распределение энергии по обогреваемому профилю, а также дает возможность,
изменяя толщину слоев изоляции, направить поток тепла в нужном для обогрева
направлении. Электротепловая система обладает более высоким коэффициентом
использования тепла. Располагаемая энергия практически не зависит от режимов
работы двигателя, высоты и скорости полета, температуры окружающего воздуха.
Кроме того, систему можно установить на любых по размерам и форме частях
силовой установки. Эти системы применяют для защиты от обледенения воздушных
винтов и сверхзвуковых воздухозаборников.
Они питаются от генераторов постоянного или переменного (желательно
трехфазного) тока. С точки зрения простоты конструкции лучшей является система
постоянного тока, однако удельный вес ее значительно больше (на единицу
мощности).
Электротепловые системы могут быть постоянно или периодически
(циклически) нагреваемыми. Циклические системы разрешают льдообразование в
допустимых пределах и должны обеспечивать полное удаление льда за один цикл.
Системы с постоянным нагревом применяют обычно для защиты агрегатов, требующих
небольшой мощности, или там, где по условиям работы на защищаемых поверхностях
не допускается льдообразование (например, воздухозаборники двигателей).
При циклическом нагреве вся защищаемая от обледенения поверхность делится
на несколько секций, состоящих из нагревательных пакетов. Каждая секция
посредством специального устройства (программного механизма) на некоторое время
подключается к источникам энергии, а затем нагрев ее прекращается. При таком
нагреве значительно экономится электрическая энергия, так как на режиме остывания
на защищаемой поверхности образуется небольшой слой льда, резко уменьшающий
снятие тепла с поверхности набегающим потоком воздуха.
При циклическом обогреве энергия расходуется на таяние только
незначительной части льда, необходимой для нарушения сцепления отложившегося
льда с защищаемой поверхностью. В дальнейшем оттаявший лед уносится набегающим
потоком воздуха. Лед должен сбрасываться достаточно быстро. Это условие
особенно строго необходимо выполнять для воздушных винтов ТВД или ПД, так как
обледенение лопастей приводит к увеличению их сопротивления и снижению несущих
свойств. Кроме того, асимметричное сбрасывание льда приводит к разбалансировке
винта и увеличению вибраций. Для быстрого и полного сбрасывания льда с лопастей
необходимо применять весьма большие удельные мощности при возможно меньшем
времени обогрева. При условии одновременного сброса льда по всей длине лопасти
желательно удельную мощность обогрева изменять от максимального значения у
корня до минимального на конце лопасти.
1.3.3 Прочие
виды противообледенительных систем
Для защиты силовых установок от обледенения, кроме отмеченных выше, могут
применяться следующие тепловые системы:
- с обогревом защищаемых поверхностей маслом. Этот способ аналогичен
обогреву горячим воздухом, однако конструктивно значительно сложнее. В
настоящие время он применяется для защиты от обледенения отдельных элементов
ТВД (например, ребер лобового картера). Система не находит широкого
распространения вследствие ограниченного запаса тепловой энергии;
- с обогревом лопаток ротора компрессора двигателя вихревыми
токами (токами Фуко). Система может быть применена в случае стальных лопаток и
некоторых конструктивных изменений ступеней компрессора.
На некоторых типах летательных аппаратов для защиты воздушных винтов от
обледенения применяют жидкостную систему противообледенения, основанную на
принципе смачивания поверхностей, подверженных обледенению, специальными
жидкостями. Некоторые из этих жидкостей препятствуют сцеплению капель воды и
кристаллов льда с защищаемой поверхностью, другие растворяют кристаллы льда,
образуя состав с более низкой температурой замерзания, чем температура
наружного воздуха. Указанный способ защиты вследствие существенных недостатков
(большой расход жидкости, малая эффективность из-за неполного смачивания
защищаемых поверхностей, пожарная опасность) не получил широкого
распространения.
Для защиты от обледенения вращающихся деталей силовой установки
(например, воздушных винтов) разрабатывают специальные кремнийорганические
соединения, которые имеют небольшую силу сцепления со льдом. Благодаря этому
ледяная корка, достигая определенной толщины, сбрасывается с защищаемых
поверхностей центробежной силой. Предполагается, что и на неподвижных
поверхностях летательного аппарата (крыло, хвостовое оперение и т. п.) при
помощи указанных покрытий в комбинации с подогревом можно достигнуть снижения
потребной мощности тепловых систем.
При выборе типа противообледенительной системы необходимо учитывать ее
вес, возможность конструктивного выполнения нагревательного пакета на
защищаемой поверхности, его преимущества по отношению к другим типам пакетов,
возможность наиболее экономного использования энергии, отбираемой от двигателя,
расположение источников энергии относительно обогреваемых поверхностей, степень
влияния отбора энергии на характеристики летательного аппарата.
1.4
Предотвращение обмерзания агрегатов
При эксплуатации топливных систем наблюдаются случаи обмерзания некоторых
агрегатов и деталей, размещенных в баках и в заборных магистралях. Это, прежде
всего, топливные фильтры, обратные клапаны, устройства для обеспечения питания
двигателей топливом при действии отрицательных перегрузок, предохранительные
сетки. Основной причиной обмерзания этих агрегатов является кристаллизация
переохлажденных капель эмульсионной воды в результате соударения их с холодной
поверхностью фильтра или другими агрегатами топливной системы.
Все сорта авиационных топлив обладают гигроскопичностью (способностью
поглощать влагу). Содержание растворенной воды в топливе зависит от его
химического состава, температуры, а также влажности окружающего воздуха. Чем
ниже молекулярный вес топлива и чем больше в нем ароматических углеводов, тем
ниже его гигроскопичность. С повышением влажности воздуха содержание
растворенной воды в топливе увеличивается.
При уменьшении температуры окружающего воздуха происходит понижение
температуры топлива в баках. Установлено, что при 4-5-часовых беспосадочных
полетах на высоте 7000-9000 м независимо от времени года и температуры воздуха
на земле температура топлива в мягких баках понижается до минус 15-20°С, а в
металлических - до минус 35-40°С. При охлаждении топлива содержание воды в нем
не может превысить ее растворимости при данной температуре и избыток воды
выделяется из топлива в свободном состоянии. Выделившиеся капли первоначально
находятся во взвешенном состоянии, равномерно распределяясь по всему объему
топлива. Под действием вибраций конструкции летательного аппарата и топливных
баков происходит слияние мелких капель в более крупные, которые оседают и
скапливаются в нижнем слое топлива, образуя эмульсию. Чем продолжительнее
полет, тем больше охлаждается топливо и, следовательно, большая часть
растворенной воды выделится и будет находиться в топливе в виде эмульсии.
Образование переохлажденных капель эмульсионной воды в топливах
происходит сравнительно редко и только при благоприятных условиях. В
большинстве случаев выделившаяся из топлива вода сразу замерзает, превращаясь в
кристаллы льда.
Кристаллы льда в топливе могут появиться в результате осыпания инея со
стенок баков. Конденсация влаги из воздуха вследствие понижения температуры
происходит не только на стенках баков, но и на поверхности охлажденного
топлива. Причем влага, конденсирующаяся на поверхности топлива, не сразу
замерзает, а вначале распространяется в топливе и только через некоторый
промежуток времени, когда она сильно охладится, начинается процесс ее
кристаллизации с образованием льда.
Для предупреждения образования в топливе переохлажденных капель воды и
кристаллов льда применяют различные способы. Наиболее простым из них является
добавление к топливу специальных присадок, увеличивающих растворимость воды в
топливе или образующих с водой смеси с низкой температурой замерзания (спирты,
эфиры). Среди специальных присадок широкое распространение получил
этилцеллозольв. Смешиваясь с водой, он образует антифриз с температурой
замерзания минус 55-60°С. Для предохранения от образования кристаллов льда в
зависимости от температуры окружающего воздуха и продолжительности полета
достаточно добавить его в топливо от 0,1 до 0,3%.
Существует метод периодической очистки топливных фильтров от обмерзания
путем кратковременной подачи в них небольших количеств противообледенительной
жидкости (этиловый и метиловый спирты, ацетон). Управление подачей жидкости
осуществляется автоматически от специальных датчиков, срабатывающих при
достижении определенного перепада давлений на фильтре в результате забивания
его кристаллами льда. Время, необходимое для удаления льда с поверхности
фильтра при включении системы, не превышает 20-30 сек. Недостаток этого метода
состоит в том, что он не устраняет образования кристаллов льда в топливе и их
отложения в других местах топливной системы до фильтров.
Для уменьшения количества растворенной в топливе воды и предохранения фильтров
от обледенения применяют такие методы, как вымораживание топлива, подогрев
фильтров в полете или кратковременная подача теплого топлива в систему,
продувка над поверхностью топлива ссушенного воздуха, центрифугирование топлива
с целью отделения кристаллов льда.
Способ вымораживания топлива весьма простой, но требует затраты времени
на дополнительную фильтрацию топлива. Подогрев топлива горячим воздухом,
отбираемым от компрессора, или горячим маслом широко применяется в транспортной
авиации зарубежных стран. Другие перечисленные выше способы защиты требуют
значительной затраты энергии, поэтому применяются редко.
1.5
Сигнализаторы обледенения
В полете экипаж о начавшемся обледенении может судить по осаждению льда
на отдельных частях летательного аппарата, по тряске двигателей, уменьшению
скорости полета и т. п. Для определения интенсивности обледенения на некоторых
типах летательных аппаратов в поле зрения летчика устанавливают визуальный
указатель обледенения. Он представляет собой небольшую профилированную стойку,
снабженную штырем, разделенным по длине на участки по 10 мм. При помощи этого
указателя можно оценить толщину слоя льда и интенсивность обледенения.
Для предупреждения летчика о начавшемся обледенении обычно используется
сигнализатор мембранного типа (рисунок 1.7). Он состоит из двух основных
частей: дифференциального манометра с двумя герметическими камерами 5, 6 и
заборника полного и статического давлений. Приемник давления может
устанавливаться в воздухозаборниках двигателей, передних кромках крыла и других
подверженных обледенению частях летательного аппарата. Работа сигнализатора
основана на использовании упругих свойств чувствительного элемента -
металлической гофрированной мембраны 8, замыкающей и размыкающей электрические
контакты 7, что происходит при изменении скоростного напора воздушного потока,
омывающего заборник сигнализатора.
1 - заборные отверстия; 2 - обогреватель заборника сигнала; 3 - отверстие
для приема статического давления; 4 - жиклер; 5 - камера, воспринимающая
статическое давление; 6 - камера, воспринимающая полное давление; 7 - контакты
цепи питания сигнальной лампы; 8 - мембрана; 9 - сигнальная лампа
Рисунок 1.7 - Схема сигнализатора обледенения мембранного типа
Камера 6 при помощи отверстий 1 воспринимает полное давление набегающего
потока воздуха. Камера 5 воспринимает статическое давление через отверстие 3,
расположенное на боковой поверхности заборника. В полете при отсутствии льда на
поверхностях летательного аппарата, а, следовательно, и на датчике
сигнализатора в отверстиях 1 создается полное давление воздушного потока, которое
передается в камеру 6. Под действием разности давлений мембрана прогибается и
удерживает контакты 7 в разомкнутом достоянии. При полете в зоне обледенения
отверстия 1 закупориваются пленкой льда, в результате чего прекращается доступ
полного давления в камеру 6. Давление в камерах 5 и 6 через жиклер 4
выравнивается, мембрана возвращается в исходное положение, замыкая контакты 7
цепи питания сигнальной лампы «Обледенение» 9 и обогревателя 2 заборника
сигнализатора. Под действием тепла, выделяемого обогревателем, лед стаивает,
отверстия в заборнике открываются. Восстановившийся перепад давлений в камерах
размыкает контакты, выключая при этом сигнальную лампу и обогреватель заборника
сигнализатора. Если к этому времени летательный аппарат не выйдет из зоны обледенения,
то датчик полного давления снова подвергается обледенению и цикл вновь
повторяется.
Недостатком сигнализаторов мембранного типа является запаздывание в
выдаче сигнала начала обледенения, а также невозможность замера скорости
нарастания льда и регистрации вида обледенения.
Среди других типов сигнализаторов обледенения находит применение
радиоактивный сигнализатор (рисунок 1.8). Датчик сигнализатора включает в себя
источник β-излучения (стронций 90 и иттрий 90) и счетчик радиоактивного
излучения. Электронный блок обеспечивает питание счетчика напряжением 450 В и
усиливает сигнал, получаемый от счетчика. Блок задержки преобразует
периодический сигнал в непрерывный при входе летательного аппарата в зону
обледенения.
Рисунок 1.8 - Блок-схема радиоактивного сигнализатора обледенения
Принцип действия прибора основан на торможении β-излучения слоем льда, нарастающим на
выносном цилиндрическом штыре. Датчик работает следующим образом. Поток β-частиц, непрерывно излучаемых
радиоактивным источником, попадает на счетчик. Импульсы напряжения, снимаемые
со счетчика, регистрируются электронным блоком. Изменение потока β-частиц в электронном блоке
преобразуется в изменение напряжения. Если напряжение превысит определенный уровень,
срабатывает релейная схема, контакты которой включают световую сигнализацию,
предупреждающую летчика об обледенении. Одновременно включается обогревательный
элемент датчика, что обеспечивает удаление льда с поверхности штыря. После того
как лед удален, прибор возвращается в исходное состояние. Процесс повторяется
до тех пор, пока самолет находится в зоне обледенения. Толщина льда на штыре
датчика, при которой срабатывает сигнализатор, находится в пределах 1 мм.
На некоторых типах летательных аппаратов устанавливают сигнализаторы
обледенения, в основу работы которых положена электропроводность льда,
оседающего на поверхности датчика. При оседании на поверхности датчика льда
происходит замыкание контактных колец датчика. Так как к одному из колец подведено
напряжение от бортовой сети, а к другому присоединена управляющая сетка
тиратрона, то при замыкании цепи на сетку поступит напряжение, достаточное для
отпирания тиратрона. Это приводит к срабатыванию системы, т. е. включению
обогрева датчика и сигнальной лампы «Обледенение». В блоке слежения
сигнализатора имеются устройства, предохраняющие систему от ложных срабатываний
при полетах в дождь, от преждевременных отключений, случайных замыканий цепи.
Заслуживает внимания система сигнализации, построенная на следующем
принципе. В качестве датчика используют цилиндрический зонд, который
специальным генератором поддерживается в условиях осевых вибраций при
резонансной частоте. При полете в зоне обледенения в канале датчика
накапливается лед, что снижает резонансную частоту датчика. Изменение частоты
ниже определенной величины воспринимается системой управления, которая выдает
предупредительный сигнал «Обледенение» и включает на несколько секунд систему
обогрева датчика. Время подогрева выбирают достаточным для удаления льда и
подготовки датчика к последующему циклу работы.
На иностранных самолетах получил распространение сигнализатор
обледенения, состоящий из стержня, выдвинутого в набегающий поток и вращаемого
электродвигателем. В процессе обледенения образовавшийся лед счищается
металлическим ножом. При увеличении крутящего момента до определенной величины
система срабатывает, включая сигнализацию. Подключив к сигнализаторам рабочие
механизмы противообледенительной системы, можно обеспечить автоматическое управление
системой, разгрузив экипаж от излишних операций в полете и повысив
эффективность защиты летательного аппарата от обледенения.
1.6
Эксплуатация противообледенительных систем
Уход за системой противообледенения не вызывает особых затруднений.
Работу системы проверяют в сроки, указанные регламентом технического
обслуживания, после длительной стоянки (более двух месяцев) летательного
аппарата и после проведения работ, связанных с демонтажем отдельных элементов
противообледенительной системы. Если летательный аппарат оборудован
воздушно-тепловой системой, то проверку ее работы на земле производят на
режимах работы двигателей от 0,2 номинального до номинального включительно.
Работу системы контролируют по загоранию ламп, сигнализирующих об открытии
кранов подачи воздуха, или по температуре воздуха, поступающего в систему.
Проверку противообледенительной системы воздухозаборников можно производить при
неработающих двигателях путем визуального контроля за перекладкой каждой
заслонки из закрытого положения в открытое и обратно. При этом необходимо
убедиться, что заслонка и ее электромеханизм двигаются плавно, без заеданий, и
люфты в тягах управления заслонкой отсутствуют.
Проверку противообледенительных систем электротеплового типа можно
производить как от бортовых генераторов (при работающих двигателях), так и от
аэродромных источников энергии. Работу системы контролируют по амперметрам и
времени включения и выключения сигнальных ламп. Во избежание перегрева, в
результате которого возможна деформация защищаемых от обледенения поверхностей,
противообледенительные системы на земле включают на время, не превышающее
указанного в инструкции по эксплуатации данного типа летательного аппарата.
Если при этом режим работы сигнальных ламп не выдерживается или показания амперметра
не соответствуют установленным, необходимо выключить систему и проверить
исправность контакторов программного механизма и нагревательных элементов.
Состояние наружных поверхностей противообледенителей проверяют путем
визуального осмотра, в результате которого убеждаются в отсутствии механических
повреждений, коробления обшивки, прогара и других дефектов.
Отрицательные температуры окружающего воздуха и повышенная водность
приводят к обмерзанию воздухозаборников двигателей при стоянке летательного аппарата.
Кроме того, из-за малого радиального зазора между лопатками и корпусом
компрессора (турбины) иногда наблюдаются случаи примерзания лопаток к корпусу.
Поэтому перед запуском двигателя при подготовке силовой установки к полету
необходимо осмотреть входной канал двигателя, направляющий аппарат и первые
ступени компрессора. В случае обнаружения на этих поверхностях льда, снега или
инея рекомендуется прогреть и просушить входной канал горячим воздухом.
Для некоторых типов двигателей с низкой степенью повышения давления за
компрессором при работе на режиме малого газа или близком к нему тепловой
энергии может быть недостаточно, чтобы устранить обледенение. В этом случае
рекомендуется ограничивать или же полностью избегать опасных в отношении
обледенения режимов работы двигателя.
Полеты в условиях обледенения необходимо производить с постоянно
включенными противообледенительными системами двигателей и воздушных винтов. Их
следует включать до входа в зону обледенения и выключать после выхода
летательного аппарата из этой зоны. Необходимо помнить, что электротепловая
система имеет тепловую инерцию значительно меньшую, чем воздушно-тепловая, а
это значит, что воздушно-тепловую систему необходимо в опасных для обледенения
случаях включать заблаговременно, чтобы защищаемые поверхности смогли как
следует прогреться.
2. Воздушная и противообледенительная
система ДТРД Д-30
Кроме основного газовоздушного тракта, в двигателе имеется ряд
вспомогательных воздушных коммуникаций, с помощью которых осуществляется отбор
воздуха из наружного и внутреннего контуров двигателя для обеспечения
потребностей двигателя и самолета.
2.1 Воздушная
система
2.1.1 Отбор
воздуха для наддува лабиринтных уплотнений масляных полостей
Наддув лабиринтных уплотнений масляных полостей осуществляется воздухом,
отбираемым из канала наружного контура двигателя.
Воздух отбирается из-за IV
ступени первого каскада компрессора и из канала наружного контура двигателя и
используется для наддува полостей лабиринтного уплотнения подшипников ротора
первого и второго каскада компрессора, полостей лабиринтного уплотнения
подшипников первой и второй турбины, приводов двух стартер-генераторов
СТГ-12ТМО-1000, приводов датчиков числа оборотов роторов первого и второго
каскада компрессора.
Использованный воздух стравливается в проточную часть компрессора; в
масляную полость входного корпуса; в полость, образованную кожухом вала
компрессора и внутренним кожухом камеры сгорания (данная полость суфлируется с
каналом наружного контура двигателя); в полость верхней коробки приводов; в
полость правой коробки приводов; в атмосферу через сопло двигателя.
2.1.2 Отбор
воздуха на охлаждение узлов турбины
Для охлаждения турбины отбор воздуха осуществляется из внутреннего
(высокого давления) и наружного (низкого давления) контуров двигателя. Воздух
высокого давления охлаждает сопловые и рабочие лопатки I ступени, диски I, II и
III ступеней с передней и задней сторон. Воздух низкого давления охлаждает диск
IV ступени, наружные кольца сопловых аппаратов I, II, III и IV ступеней и детали задней опоры (роликового подшипника)
вала второй турбины.
Охлаждающий воздух высокого давления, отбираемый из полости камеры
сгорания перед жаровыми трубами, подается во внутренние полости дефлекторов
сопловых лопаток, охлаждает сопловые лопатки и диски I II и III
ступени. Использованный воздух выходит в проточную часть турбины.
Охлаждающий воздух низкого давления из наружного контура охлаждает
коллектор термопар и их контактные устройства, детали задней опоры второй
турбины и диск IV ступени турбины.
Наружные кольца сопловых аппаратов I, II, III и IV ступеней находятся в
проточной части наружного контура и охлаждаются протекающим в нем воздухом.
К автомату запуска, на дренажную систему двигателя и к эжектору датчика
обледенения воздух подводится из канала наружного контура двигателя.
Отработанный воздух отводится на срез сопла.
2.1.3
Перепуск воздуха за IV и V ступенями второго каскада компрессора
Для обеспечения устойчивой работы двигателя на малых оборотах во втором
каскаде компрессора за IV и V ступенями предусмотрен перепуск воздуха в канал
наружного контура двигателя. Через отверстия в кольцах направляющих аппаратов
IV и V ступеней второго каскада компрессора воздух поступает в две отдельные
кольцевые полости, образованные корпусом перепуска, из которых через шесть
дроссельных заслонок (по три заслонки на каждую ступень) выходит в канал
наружного контура двигателя.
Управление дроссельными заслонками автоматическое, осуществляется двумя
гидроцилиндрами, в которые поступает топливо высокого давления от
насоса-регулятора НР-30 через центробежным регулятор ЦР-2В.
2.1.4
Перепуск воздуха за X ступенью второго каскада компрессора
Для улучшения запуска двигателя за X ступенью второго каскада компрессора
предусмотрен перепуск воздуха через клапан 24 в канал наружного контура при
запуске двигателя.
Закрытие клапана прекращение перепуска воздуха производится автоматически
под действием перепада давлений в каналах внутреннего и наружного контуров
двигателя при достижении оборотов ротора второго каскада компрессора 6000±250
об/мин.
2.1.5 Отбор
воздуха на самолетные нужды
Для наддува пассажирской кабины самолета воздух отбирается из полости
корпуса перепуска за IV ступенью второго каскада компрессора.
На противообледенительную систему крыла и киля самолета воздух отбирается
из полости корпуса перепуска за V ступенью второго каскада компрессора.
На обогрев воздухозаборника самолетного канала при оборотах ротора
второго каскада компрессора выше 9400 об/мин воздух отбирается из полости
корпуса перепуска за V ступенью второго каскада компрессора, а при оборотах
ротора второго каскада компрессора ниже 9400 об/мин - из коллектора,
расположенного в задней части внешней полости камеры сгорания, т. е. за X
ступенью второго каскада компрессора.
Переключение отбора воздуха из-за V или X ступеней второго каскада
компрессора осуществляется дроссельной заслонкой автоматически с помощью
гидроцилиндра. В гидроцилиндр подается топливо под высоким давлением от
насоса-регулятора НР-30 через центробежный регулятор ЦР-2В.
Для наддува гидробака самолета и на замер статического давления после
второго каскада компрессора воздух отбирается из полости диффузора камеры
сгорания, т. е. после X ступени второго каскада компрессора. Штуцер замера
статического давления в эксплуатации не используется и закрывается заглушкой.
2.2
Противообледенительная система ДТРД Д-30
В случае возникновения условий обледенения двадцать три (из 26-и) лопаток
ВНА первого каскада компрессора и кок двигателя обогреваются воздухом,
отбираемым из-за XI или VI ступени второго каскада компрессора
в зависимости от режима работы двигателя. Переключение отбора производится
автоматически в зависимости от режима работы двигателя. Остальные три лопатки
обогреваются маслом, из них одна лопатка обогревается маслом, поступающим по
внутренней полости лопатки для смазки роликовых подшипников первого каскада
компрессора и ротора второй турбины, и две лопатки обогреваются маслом,
откачиваемым из полости роликоподшипника первого каскада компрессора и
проходящим через внутренние полости этих лопаток.
Противообледенительная система двигателя включает:
- стакан и трубопровод 21 (см. рисунок 2.1) отбора воздуха из-за XI ступени;
- стакан и трубопровод 16 отбора воздуха из-за VI ступени 2-го каскада компрессора;
распределительную заслонку 19;
трубопровод 15;
электрозаслонку 14;
агрегаты системы сигнализации обледенения.
Распределительная заслонка 19 автоматически переключает отбор воздуха
из-за XI ступени на отбор из-за VI ступени второго каскада компрессора.
Отбор воздуха из-за VI ступени
производится на оборотах ротора второго каскада выше 8700±150 об/мин. Ниже этих оборотов отбор
производится из-за XI ступени.
К теплоизолированному коллектору 9 воздух поступает по трубопроводу 15
после открытия заслонки 14. Из коллектора воздух проходит в полости М внутри
лопаток направляющего аппарата, обогревая их. Пройдя полости М, воздух
поступает на обогрев наружной обечайки кока 1 и через отверстия в обечайке
выходит в воздушный тракт компрессора.
Открытие электрозаслонки 14 и подача горячего воздуха на обогрев входных
кромок лопаток ВНА и кока производится электромеханизмом ЭПВ-150МТ (или МП-5И)
заслонки вручную специальным тумблером, или автоматически по сигналу
"ОБЛЕДЕНЕНИЕ", выдаваемому сигнализатором обледенения ДО-206 (или
ДО-202М) через блок автоматики БА-13 на электромеханизм ЭПВ-150МТ (или МП-5И).
- кок; 2, 3, 20,
31, 32, 37, 39 - отверстие для прохода воздуха; 4, 5 - клапан перепуска; 6 -
патрубок отбора воздуха; 38 7, 11, 13, 15, 16, 17, 18, 21, 22, 24, 27, 29, 30,
33, 35, 36,- воздухотрубопровод; 8 - стакан отбора воздуха; 9 -
теплоизолированный коллектор; 10 - отверстие для балансировочного болта; 12 -
передний дренажный бачок; 14 - электрозаслонка; 19 - распределительная
заслонка; 23 - заслонка аварийного выключения турбины ППО; 25 - регулирующая
заслонка; 26, 28 - воздушный фильтр; 34 - задний дренажный бачок
Рисунок 2.1 - Система отбора воздуха и противообледенительная система
двигателя
2.2.1
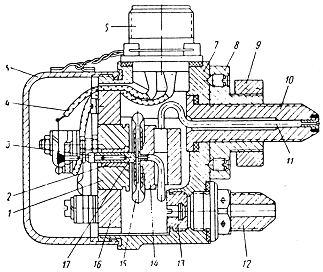
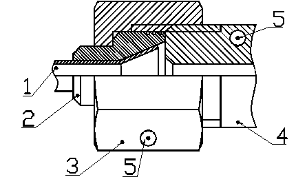
Перекрывная заслонка
Перекрывная заслонка с электромеханизмом МП-5И предназначена для подачи
горячего воздуха на обогрев лопаток входного направляющего аппарата первого
каскада компрессора и кока двигателя в случае возникновения условий их
обледенения. Открытие и закрытие заслонки производится электромеханизмом МП-5И
автоматически по электрическому сигналу, выдаваемому датчиком обледенения
ДО-202М или вручную специальным тумблером. Возвратно-поступательное движение
ходового винта электромеханизма МП-5И при помощи двух тяг и выступа оси
заслонки преобразуется во вращательное движение заслонки.
Перекрывная заслонка с электромеханизмом устанавливается на корпусе
первого каскада компрессора с правой стороны и крепится на трех шпильках к
переднему фланцу корпуса четвертой ступени через кронштейн.
Перекрывная заслонка (рисунок 2.2) состоит из корпуса с заслонкой,
электромеханизма МП-5И, угольника с кронштейном и крышкой, фланца и тяг
соединения заслонки с электромеханизмом.
Корпус 4 заслонки изготовлен из титанового сплава, в центральной части
имеет сквозное отверстие, перекрываемое заслонкой 5. В корпус установлены две
бронзовые втулки, которые являются подшипниками оси 12 заслонки и два штифта 16
для фиксирования фланца 7 и угольника 11. В корпусе также имеются два отверстия
для болтов 3 крепления кронштейна 1 к корпусу заслонки и четыре отверстия для
болтов 17, стягивающих корпус заслонки с фланцами трубопроводов подвода и
отвода горячего воздуха.
К корпусу 4 заслонки крепятся винтами фланец 7 и угольник 11, которые
центрируются по цилиндрическим выступам корпуса. К фланцу 7 крепится на четырех
шпильках электромеханизм 6, к угольнику 11 крепится двумя винтами кронштейн 10,
паз которого является направляющим качения двух роликов 2, образующих ось
соединения двух тяг 13 и 14.
Подвижные соединения тяг с ходовым винтом электромеханизма и осью
заслонки закрываются крышкой 9, которая крепится шестью винтами угольнику 11.
Выступающий конец оси 12 заслонки соединен болтом 8 с тягой 13, состоящей
из гильзы, штока тяги, пружины и двух шайб. Шток тяги с закрепленной на конце
шайбой имеет возможность перемещаться в гильзе до полного сжатия пружины,
опорными поверхностями для пружины являются шайбы, одна из которых закреплена
на конце штока тяги, а вторая закреплена в конце гильзы развальцовкой. Гильза и
тяга имеют ушки, которыми тяга крепится к выступу оси 12 заслонки и тяге 14.
1 - кронштейн; 2 - ролики; 3 - болты крепления кронштейна; 4 - корпус
заслонки; 5 - заслонка; 6 - электромеханизм МП-5И; 7 - фланец; 8 - болт; 9 -
крышка; 10 - кронштейн; 11 - угольник; 12 - ось заслонки; 13, 14 - тяги; 15 -
ходовой винт электромеханизма; 16 - штифты; 17 - болты; 18 - заглушка вместо
фланцев трубопроводов
Рисунок 2.2 - Перекрывная заслонка с электромеханизмом
2.2.2
Электромеханизм МП-5И
Электромеханизм состоит из следующих конструктивных элементов:
- электродвигателя постоянного тока Д-2ЛИ;
- редуктора с передаточным числом;
ходового винта;
двух концевых выключателей;
малогабаритного штепсельного разъема, стоящего из розетки и
вилки.
Основные технические данные:
- Номинальное напряжение питания - 27 В.
- Скорость вращения якоря электродвигателя - 5700±10%.
Момент на валу электродвигателя - 20 г·см.
Номинальная осевая нагрузка на ходовой винт, действующая против
направления его движения - 5 кг.
Максимальная осевая нагрузка - 8 кг.
Рабочий ход ходового винта для заслонки - 18 мм.
Допустимый максимальный рабочий ход ходового винта - 40±1,5 мм
Скорость движения ходового винта при номинальной нагрузке,
действующей против направления его движения, и номинальном напряжении - 12,5±5% мм/сек.
Потребляемый ток при нагрузке на ходовой вин 5 кг - не более
0,20 А.
Потребляемый ток при нагрузке на ходовой винт 8 кг - не более
0,23 А.
Вес агрегата - не более 0,58 кг.
Режим работы - повторно-кратковременный: выпуск и уборка
ходового винта, перерыв 1 мин. Таких циклов 3, после чего перерыв до полного
охлаждения.
Срок службы - 2250 циклов (выпуск и уборка) при номинальной
нагрузке, 250 циклов при максимальной нагрузке.
1 - ходовой винт; 2 - сдвоенное зубчатое колесо; 3 - корпус; 4 - крышка;
5 - подшипник; 6 - зубчатое колесо-гайка; 7 - втулка направляющая; 8 - шпилька;
9 - концевой выключатель выпуска; 10 - пружина пластинчатая; 11 - кулачок
уборки; 12 - кулачок выпуска; 13 - болт; 14 - кожух; 15 - концевой выключатель
уборки; 16 - кронштейн корпуса; 17 - винт; 18 - направляющая; 19 - уголок; 20 -
ось неподвижная; 21, 22 - сдвоенные зубчатые колеса; 23 - зубчатое колесо
электродвигателя; 24 - электродвигатель
Рисунок 2.3 - Электромеханизм МП-5И
Электродвигатель Д-2ЛИ представляет собой реверсивную машину постоянного
тока с возбуждением от постоянного магнита, состоит из якоря, корпуса и двух
щитов (со стороны коллектора и привода). Электрическая схема механизма
приведена на рисунке 2.4.
Редуктор состоит из четырех ступеней прямозубой цилиндрической передачи
(рисунок 2.3). На вал электродвигателя посажено зубчатое колесо 23, с которым
сцеплено сдвоенное зубчатое колесо 22, сидящее свободно на оси 20. С зубчатым
колесом 22 находится в зацеплении сдвоенное зубчатое колесо 2, с которым
сцеплено сдвоенное зубчатое колесо 21, сидящее свободно на оси 20. С зубчатым
колесом 21 сцеплено зубчатое колесо, конструктивно выполненное заодно с гайкой
6, имеющей внутреннюю трапецеидальную резьбу для соединения с ходовым винтом 1.
Гайка 6 посажена на двух специальных радиально-упорных подшипниках 5. Весь
редуктор заключен в корпус 3 и закрыт крышкой 4, которая имеет направляющую
втулку 7 и четыре шпильки 8 для крепления электромеханизма.

на уборку ходового винта к клемме В подается «+», а к клемме Б подается
«-»
Рисунок 2.4 - Электрокинематическая схема механизма МП-5И
На конец ходового винта 1 насажен кулачок 11, который скользит по
направляющей 18, препятствуя вращению ходового винта. Направляющая 18 входит в
паз кронштейна 16 корпуса и крепится к нему тремя винтами 17, два из которых
крепят также уголок 19.
Кулачок 11 своим срезом скользит по одной из граней уголка 19, создавая,
таким образом, дополнительное направление для ходового винта в крайнем убранном
положении.
К кронштейну 16 крепятся болтами 13 с гайками концевые выключатели 15 и
9. Регулирование момента срабатывания механизма осуществляется путем
перемещения концевых выключателей в пазах кронштейна. Концевой выключатель 9
выпуска штока срабатывает от кулачка 12.
К концевым выключателям 15 и 9 крепятся пластинчатые пружины 10, которые
передают давление кулачков 11 и 12 на кнопки концевых выключателей.
К нижней части корпуса четырьмя винтами крепится электродвигатель 24.
Концевые выключатели электродвигателя закрыты кожухом 14 с приваренными к нему
втулками. Кожух крепится к корпусу четырьмя винтами, которые контрятся
проверкой и пломбируются. К корпусу также крепится малогабаритный штепсельный
разъем.
2.2.3 Принцип
действия электромеханизма МП-5И
Вращение выходного вала электродвигателя передается через редуктор на
гайку б (см. рисунок 2.3). В паре гайка 6 и ходовой винт 1 вращательное
движение преобразуют в поступательное. Ходовой винт 1, перемещаясь на «Выпуск»,
перемещает кулачки 11 и 12, в выемку которых входит выступ направляющей 18. При
подходе к крайнему выпущенному положению профиль кулачка 12 нажимает на язычок
пластинчатой пружины, которая, нажимая на кнопку концевого выключателя 9,
отключает питание электродвигателя.
При переключении двухполюсного выключателя электродвигатель вращается в
обратном направлении. Ходовой винт начинает движение на «Уборку», при этом
кулачок 12 освобождает кнопку концевого выключателя 9 и цепь «Выпуск»
подготовлена снова к выпуску ходового винта.
Движение ходового винта 1 на «Уборку» продолжается до тех пор, пока
кулачок 11 через пластинчатую пружину 10 не нажмет на кнопку второго концевого
выключателя 15 уборки, который разорвет цепь уборки, после чего ходовой винт
останавливается.
Буртик ходового винта и гайка (зубчатое колесо 6) являются гарантийными
упорами убранного и выпущенного положений. Ходовой винт в крайних положениях не
должен доходить до упоров. Движение ходового винта до одного из упоров выводит
электромеханизм из строя, что свидетельствует о несоблюдении полярности
подключения. Электромеханизм допускает в заводских условиях регулирование хода
штока перемещением кулачка 12 вдоль ходового винта 1. Фиксация установленного
положения кулачка осуществляется направляющей 18, закрепляемой винтами 17 на
кронштейне 16 корпуса.
противообледенительный система обогрев лопасть
2.2.4 Система
сигнализации обледенения двигателя Д-30
Система сигнализации обледенения предназначена для автоматического
управления перекрывной дроссельной заслонкой подачи горячего воздуха к лопаткам
входного направляющего аппарата первого каскада компрессора и к коку двигателя
в условиях обледенения.
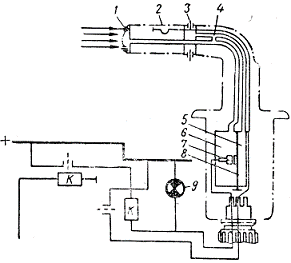
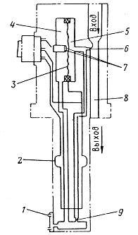
В систему сигнализации обледенения входят (рисунок 2.5) датчик
обледенения ДО-202М, электромагнитный кран М782000 и сигнализатор давления
СДУ2-0,15.
1 - датчик обледенения ДО-202М; 2 - электромагнитный кран М782000; 3 -
сигнализатор давления СДУ2-0,15; 4 - заборник воздуха к эжектору датчика
обледенения из-за первого каскада компрессора
Рисунок 2.5 - система сигнализации обледенения
2.2.5 Датчик
обледенения ДО-202М
Датчик обледенения ДО-202М (рисунок 2.6) предназначен для выявления
обледенения элементов входного устройства двигателя (лопатки ВНА и кок) и
сигнализации о наличии обледенения во входном канале двигателя.
Датчик устанавливается на кронштейне, расположенном на переходнике в
передней части двигателя, с левой стороны, и крепится к нему на шести шпильках.
Приемник датчика входит во входной канал двигателя.
Технические данные:
- Напряжение питания датчика - 27±10% В.
- Интервал температур внешней среды, в которой может находиться
датчик без потери своих характеристик - от -20 до +60 °С.
Система питания - трехпроводная.
Максимальный ток нагрузки контактов диффманометра датчика - не
более 50 мА.
Ток, потребляемый нагревателем датчика при напряжении 30 В - не
более 20 А.
Вес датчика - не более 1,5 кг.
1 - отверстия в носке датчика; 2 - нагреватель; 3 - мембрана; 4 - камера
полного давления; 5 - камера статического давления; 6 - отверстие, соединяющее
полость эжектора с камерой статического давления; 7 - контакты; 8 - эжектор; 9
- калиброванное отверстие (жиклер)
Рисунок 2.6 - Функциональная схема датчика обледенения ДО-202М
Принцип действия датчика обледенения основан на использовании упругих
свойств чувствительного элемента диффманометра, размыкающего электрические
контакты 7 при определенном изменении скоростного напора воздуха, омывающего
заборник датчика. Камера полного давления 4 воспринимает полное давление
набегающего потока воздуха во входном канале двигателя через отверстия 1 на
носке приемника датчика. Статическая камера 5 воспринимает статическое давление
через отверстие 6 и полость эжектора 8.
При отсутствии скоростного напора, т. е. при неработающем двигателе,
контакты 7 находятся в замкнутом состоянии. Во время работы двигателя, когда
носок приемника датчика обдувается потоком воздуха, в камерах 4 и 5 полного и
статического давлений устанавливается разность давлений, прогибающая мембрану 3
и размыкающая контакты 7, которые находятся во время работы двигателя в
разомкнутом состоянии.
При определенных атмосферных условиях на носке приемника датчика
образуется лед, который затягивает отверстия 1 и перекрывает доступ воздуха в
камеру 4 полного давления. Давление в камере 4 полного давления выравнивается с
давлением в статической камере 5 путем отсоса воздуха из камеры статического
давления через калиброванное отверстие 9 и полость эжектора 8.
При выравненных давлениях в статической и динамической камерах контакты 7
диффманометра замыкаются, включая при этом через реле электромеханизм МП-5И
перекрывной заслонки на открытие подачи горячего воздуха к лопаткам ВНА и коку
двигателя, нагреватель 2 датчика обледенения и сигнальную лампу «обледенение».
За счет тепла, выделяемого нагревателем 2 датчика обледенения, лед
стаивает, отверстия в носке приемника датчика открываются, и восстановившийся
перепад давлений в камерах размыкает контакты диффманометра, включая при этом
электромеханизм МП-5И на закрытие заслонки.
Для обеспечения необходимого перепада полного и статического давлений
набегающего потока воздуха при малой скорости полета и на режиме «малый газ» в
датчике обледенения применен эжекционный отсос из камеры статического давления
манометра. Эжекционный отсос уменьшает давление в статической камере, в
результате чего перепад между полным и статическим давлением увеличивается. Это
осуществляется прохождением через эжектор воздуха с большей скоростью за счет
наличия перепада давлений на входе и выходе эжектора. Воздух к эжектору датчика
обледенения подводится из-за первого каскада компрессора.
При достижении избыточного давления воздуха за компрессором первого
каскада 0,15 кг/см2, сигнализатор давления СДУ2-0,15 размыкает свои контакты и
выключает через реле электромагнитный кран М782000, закрывая подвод воздуха к
эжектору.
Датчик обледенения ДО-202М (рисунок 2.7) состоит из трех основных частей:
приемника датчика, электрического дифференциального манометра и корпуса с
эжектором.
Приемник 9 датчика представляет собой полый, обтекаемой формы кожух 16, к
которому припаяны колпачок 15, фланец 8, крышка 12 с трубками 10 и 11 и
заглушка 14. Колпачок 15 имеет восемь отверстий малого диаметра. В нижней части
кожуха 16 и крышке 12 имеется сквозное щелевое отверстие, служащее для подвода
напора воздуха через отверстия колпачка и трубку 10 в камеру а полного давления
диффманометра. В полость кожуха помещен нагреватель, который состоит из стального
каркаса 17 и изолятора 18.
1 - корпус; 2 - колодка; 3 - штуцер; 4 - эжектор; 5 - мембрана; 6 -
регулировочный винт; 7 - упор; 8 - фланец; 9 - приемник датчика; 10, 11 -
трубки; 12 - крышка; 13 - жиклер; 14 - заглушка; 15 - колпачок; 16 - кожух; 17
- каркас; 18 - изолятор; а - камера полного давления; б - камера статического
давления
Рисунок 2.7 - Датчик обледенения ДО-202М (разрез)
Электрический дифференциальный манометр состоит из упора 7 с припаянной к
нему мембраной 5 (к мембране припаян платиновый контакт) и колодки 2 с
регулировочным винтом 6, к которому припаян второй платиновый контакт.
Вращением винта производится регулировка манометра размыкания контактов
диффманометра при определенной величине давления.
Корпус 1 имеет продольное отверстие переменного сечения, в полость
которого вставлен эжектор 4, выполненный в виде трубки Вентури. Трубка
(эжектор) имеет отверстие диаметром 1 мм, служащее для сообщения с камерой б
статического давления диффманометра. В верхнюю часть корпуса ввернут угловой
штуцер 3 подвода воздуха к эжектору из-за первого каскада компрессора.
В отверстие, соединяющее камеру б статического давления с камерой а
полного давления, впаян жиклер 13, который служит для отсоса воздуха из
статической камеры после того, как отверстия колпачка 15 закроются льдом.
2.2.6
Электромагнитный кран М782000
Электромагнитный кран (рисунок 2.8) предназначен для управления подачей
воздуха из-за первого каскада компрессора в эжектор датчика обледенения
ДО-202М.
Электромагнитный кран устанавливается на корпусе первого каскада
компрессора, с левой стороны, и крепится с помощью хомутика и кронштейна к
переднему фланцу корпуса третьей ступени на двух шпильках.
1 - корпус крана; 2 - переходник; 3 - пружина; 4, 5 - втулки; 6 -
переходник; 7 - штифт; 8 - штепсельный разъем;
- клапан; 10 - валик; 11 - штуцер входной; 12 - тяга; 13 - сальник; 14 -
гайка; 15 - переходник регулировочный;
- электромагнит
Рисунок 2.8 - Электромагнитный кран М782000
Технические данные:
- Условный диаметр проходного сечения - 8 мм.
- Напряжение питания электромагнита - 27±10% В.
Сила тока включения - 10 А.
Сила тока удерживания (при напряжении 27 В) - 0,5 А.
Время срабатывания - не более 2 сек.
Время нахождения электромагнита под током при удерживании крана
в открытом положении - не более 8 час.
Вес сухого агрегата - 0,6 кг.
Электромагнитный кран состоит из воздушного крана и электромагнита.
Корпус 1 воздушного крана посредством переходника 6 соединен с электромагнитом
16, а клапан 9 посредством тяги 12 и регулировочного переходника 15 соединен с
подвижным якорем электромагнита.
При отсутствии напряжения в электромагните отверстие выходного штуцера
корпуса 1 перекрывается клапаном 9, поджимаемым к штуцеру пружиной 3.
Тяга 12 клапана уплотняется сальником 13, установленным между втулками 4
и 5. Втулка 5 закреплена в корпусе гайкой 14, а втулка 4 поджимает сальник к
втулке 5 посредством пружины 3.
На корпусе крана установлены и закреплены болтами входной штуцер 11 и
переходник 2.
При подаче напряжения на клеммы штепсельного разъема 8 якорь
электромагнита 16 втягивается, клапан 9 открывается, соединяя отверстия
входного штуцера 11 и штуцера корпуса 1 крана.
В конечном положении якорь, нажимая на штырек, включает тонкую
удерживающую обмотку электромагнита, которая рассчитана на длительную работу
под током.
Закрытие клапана происходит при обесточивании электромагнита, при этом
клапан 9 под давлением пружины 3 перекрывает выходное отверстие штуцере корпуса
1.
2.2.7 Сигнализатор
давления СДУ2-0,15
Сигнализатор давления (рисунок 2.9) предназначен для размыкания
электрической цепи электромагнитного крана М782000 при достижении избыточного
давления за первым каскадом компрессора 15 кг/см2.
Сигнализатор давления устанавливается на корпусе первого каскада
компрессора, с левой стороны, и крепится на двух шпильках с помощью кронштейна
к переднему фланцу корпуса третьей ступени.

Рисунок 2.9 - Сигнализатор давления СДУ2-0,15 (разрез)
Технические данные:
- Напряжение питания сигнализатора - 27±10% В.
- Допустимая сила тока на контакты сигнализатора - не более 1,5 А.
Интервал температур внешней среды для нормальной работы
сигнализатора - от -60 до +120°С.
Вес сигнализатора - 0,4 кг.
Сигнализатор давления состоит из основания 7, корпуса 5 и деталей
механизма с чувствительным элементом.
Основание 7 несет на себе заглушку 13 с сеткой, штепсельную вилку 6,
штуцер 12 (статического давления) и штуцер 10 с трубкой 11 (избыточного
давления). Корпус 5 крепится к основанию на резьбе. Внутри основания на
кронштейне 16 смонтирован механизм с чувствительным элементом, который
закреплен при помощи втулки 1.
Чувствительным элементом сигнализатора является упругая гофрированная
мембранная коробка 15, давление во внутреннюю полость которой подается через
штуцер 10 и трубку 11. Для предохранения коробки от разрушения при действии
перегрузочного давления служит упор 14.
В отверстие втулки 1 кронштейна запрессована втулка 2, в которой свободно
перемещается шток 17. Шток постоянно соприкасается с одной стороны с центром
мембранной коробки 15, а с другой стороны - через изоляционный наконечник 3 с
пластинчатой пружиной.
При достижении избыточного давления за первым каскадом компрессора 0,15
кг/см2 гофрированная мембранная коробка 15, деформируясь под действием этого
давления, переместит шток 17, который в свою очередь, действуя на контактное
устройство, разомкнет электрическую цепь и отключит электромагнитный кран
М782000.
2.2.8
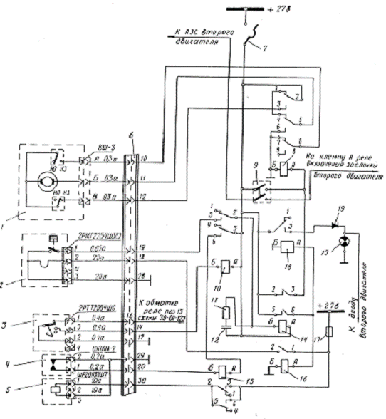
Электрическая схема системы сигнализации обледенения
Электрическая схема системы сигнализации обледенения приведена на рисунке
2.10.
Питание агрегатов системы сигнализации обледенения двигателя
осуществляется через автомат 7 защиты сети (АЗС-5).
При включении АЗС-5 подается плюс на клемму 2 реле 8, на клеммы 2, 5 и А
реле 14, на клеммы 5 и А реле 10 и клемму 2 реле 18. В период запуска двигателя
при достижении ротором второго каскада компрессора оборотов 4300-4500 об/мин
срабатывает центробежный регулятор 3 (ЦР-2В) и замыкает свои контакты, через
которые минус через штырь 17 штепсельного разъема 6 двигателя, через штыри 2 и
3 центробежного регулятора 3, через штырь 14 штепсельного разъема 6 двигателя
поступает на клемму Б реле 10.
Реле 10 срабатывает и включает контактами 5-6 реле 15 включения
электромагнитного крана 5 (реле включается при условии замкнутых контактов
сигнализатора давления 4). Питание на кран подается от предохранителя 17 через
контакты 3-2 и 5-6 реле 15.
При включении крана 5 подается воздух из-за первого каскада компрессора к
эжектору датчика обледенения 2.
Контакты датчика обледенения как на неработающем двигателе, так и при
запуске двигателя срабатывания центробежного регулятора ЦР-2В находятся в
замкнутом состоянии.
При срабатывании центробежного регулятора 3 и включении крана 5 (подаче
воздуха на эжектор датчика обледенения) контакты датчика обледенения
размыкаются и датчик готов к длительной работе.
При достижении избыточного давления перед сигнализатором 0,15 кг/см2
контакты сигнализатора давления размыкаются и выключают электромагнитный кран
5, при этом подача воздуха к датчику обледенения прекращается.
При отсутствии обледенения в момент запуска двигателя и на режимной
работе контакты датчика обледенения 2 разомкнуты; сигнальная лампочка 13, реле
14 и электромеханизм перекрывной заслонки находятся в отключенном состоянии.
При обледенении отверстия на носке приемника датчика затягиваются льдом и
контакты датчика замыкаются, при этом включается реле 14, которое контактами
6-5 включает реле 18 включения сигнальной лампы обледенения и реле 16 включения
обогрева датчика обледенения, а контактами 3-2 включает реле 8 включения
электромеханизма перекрывной заслонки.
Перекрывная заслонка открывается, и горячий воздух поступает на обогрев
лопаток ВНА и кока двигателя. По мере стаивания льда с приемника датчика
обледенения и раскупоривания отверстий на носке приемника датчика, сигнал
обледенения снимается, и подача горячего воздуха на обогрев лопаток ВНА и кока
двигателя прекращается. До тех пор, пока условия обледенения для двигателя
существуют, датчик обледенения будет периодически включать электромеханизм
перекрывной заслонки. Кроме этого, в системе предусмотрено ручное управление
электромеханизмом 1 перекрывной заслонки выключателем 9, при включении которого
включается реле 8.
Реле 8 контактами 3-2 и 6-5 включает электромеханизм 1 на открытие
перекрывной заслонки.
1 - электромеханизм МП-5И; 2 - датчик обледенения ДО-202М; 3 -
выключатель центробежного регулятора ЦР-2В; 4 - сигнализатор давления
СДУ2-0,15; 5 - электромагнитный кран М782000; 6 - штепсельный разъем двигателя;
7 - автомат защиты сети АЗС-15; 8 - реле включения перекрывной заслонки; 9 -
выключатель ВГ-15 ручного включения заслонки; 10 - реле подготовки цепи
включения заслонки по окончании запуска; 11 - сопротивление; 12 - конденсатор;
13 - сигнальная лампа обледенения СЛМ-61; 14 - промежуточное реле; 15 - реле
включения электромагнитного крана; 16 - реле включения обогрева датчика
обледенения; 17 - предохранитель ИП-20; 18 - реле промежуточное;
- диод
Рисунок 2.10 - Принципиальная электрическая схема системы сигнализации
обледенения

3. Противообледенительная система ТВД
АИ-20
На двигателе АИ-20 применяется комбинированная противообледенительная
система. Для обогреа входного устройства двигателя используется
воздушно-тепловая система, горячий воздух в которую поступает при помощи
теплообменников, обогреваемых выходящими газами. Для обогрева лопастей
воздушного винта применяется электротепловая система.
Далее рассмотрены основные агрегаты противообледенительной системы ТВД
АИ-20.
3.1 Противообледенительная
система агрегатов двигателя АИ-20
С целью предотвращения обледенения деталей двигателя, расположенных во
входном тракте - передних кромок ребер лобового картера, передних кромок
лопаток входного направляющего аппарата компрессора, воздухозаборника 13 (см.
рисунок 3.1) подвода полного давления воздуха в КТА и воздухоотводящей трубы 2
продувки термопатрона КТА - предусмотрена специальная система.
Противообледенительная система ТВД АИ-20 включает в себя сигнализатор
обледенения СО-4А (или СО-12АМ) 1, клапан перепуска горячего воздуха 7 с
элекгромеханизмом МП-5И, трубопроводы подачи горячего воздуха 3, 6, 11 и 12 и
каналы обогрева 10 маслом внутренних полостей ребер лобового картера.
Горячий воздух для противообледенительной системы отбирается после Х
ступени компрессора 9 и по трубопроводу 12 подводится к клапану перепуска
горячего воздуха.
В условиях обледенения сигнализатор СО-4А выдает сигнал о начале
обледенения. При этом вручную включается электромеханизм МП-5И, который откроет
заслонку 8 клапана.
1 - сигнализатор
обледенения; 2 - труба подвода воздуха для продувки термопатрона КТА; 3, 6, 11,
12 - трубопровод подачи горячего воздуха; 4 - кольцевая полость подачи горячего
воздуха на обогрев лопаток ВНА; 6 - лопатка ВНА; 7 - клапан перепуска горячего
воздуха; 8 - заслонка; 9 - Х ступень компрессора; 10 - канал обогрева маслом
лобового картера; 13 - воздухозаборник подвода полного давления к КТА; 14 - штуцер
отбора горячего воздуха на обогрев самолетного воздухозаборника
Рисунок 3.1 - Схема противообледенительной системы
Горячий воздух по трубопроводам 6 через два входных отверстия в лобовом
картере поступит в кольцевую полость 4 и, пройдя через внутренние полости
лопаток 5 входного направляющего аппарата, обогревает передние кромки и выходит
в воздушный тракт двигателя.
На трубопроводе имеется штуцер 14 с калиброванным отверстием для подвода
горячего воздуха на обогрев передней кромки самолетного воздухозаборника.
3.2 Система
обогрева лопастей винтов
Для обогрева лопастей винтов ТВД АИ-20 применяется электротепловая
противообледенительная система циклического действия (рисунок 3.2). Источником
питания для этой системы служат генераторы переменного тока (напряжение 115 В,
частота 400 Гц). Управляющие контакторы включаются от импульсов, выдаваемых
программным механизмом (ПМК). Последний обеспечивает работу
противообледенителей винтов по заданному циклу. Работу противообледенительной
системы контролируют по загоранию сигнальной лампы, подключенной к одной из
секций, или по показаниям амперметров, включенных в цепь генераторов.
При работе циклических ПОС на лопастях воздушного винта допускается
толщина льда не более 3 мм.
На рисунке 3.2 представлена принципиальная схема электротепловой ПОС
циклического действия для самолета с четырьмя ТВД. Система имеет две поочередно
включаемые секции, в каждую из которых входят по два симметрично расположенных
винта, диаметром 4,5 м.
НЭл и НЭо - нагревательные элементы лопасти и обтекателя; К - контактор;
РК - распределительная коробка; ПМК - программный механизм коммутационный
Рисунок 3.2 - Схема электротепловой ПОС воздушных винтов
Потребляемая мощность ПОС при двух секциях в расчетном режиме составляет
13-16 кВт. Управление ПОС осуществляется двумя автономными программными
механизмами.
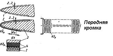
Нагревательные элементы укладывают в выфрезерованные углубления, крепят,
выдерживая заданный профиль лопасти. Для защиты от механических повреждений и
увеличения прочности НЭ закрывается внешней металлической оковкой (рисунок
3.3). Толщина пакета НЭ не превышает 2-5 мм.
Коллекторный узел для передачи электрической энергии на винт выполнен в
виде контактной пары: токоприемных вращающихся вместе с валом винта колец 2
(рисунок 3.4) и скользящих по ним токоподводящих неподвижных контактных щеток
1.
Передача электроэнергии с корпуса винта на подвижную лопасть
обеспечивается электропроводом, выполненным в виде петли, позволяющей изменять
углы лопасти.
1 -
отфрезерованное углубление на защищаемой поверхности лопасти; 2 - оковка; 3 -
тело лопасти; 4 - внутренняя электротеплоизоляция и наружная электроизоляция
Рисунок 3.3 - Компоновка пакета НЭ на внешней поверхности лопасти
1 - контактные щетки;
2 - контактные кольца токоприемника; 3 - текстолитовые изоляционные шайбы; 4 -
электропровод НЭ лопасти и обтекателя винта; 5, 6 - узлы крепления заднего
диска обтекателя винта; 7 - корпус токосъемника
Рисунок 3.4 - Схема и общий вид коллекторного узла электротепловой ПОС
воздушного винта
3.3
Сигнализатор обледенения СО-12АМ
Сигнализатор обледенения СО-12АМ предназначен для выявления условий
обледенения наружных элементов конструкции двигателя и для сигнализации наличия
таких условий.
3.3.1 Принцип
действия
Работа сигнализатора обледенения основана на использовании упругих
свойств чувствительного элемента - металлической гофрированной мембраны,
замыкающей и размыкающей электрические контакты при изменении величины
скоростного напора воздушного потока, омывающего заборник сигнализатора.
СО-12АМ представляет собой дифференциальный манометр с двумя герметичными
камерами, соединенными жиклером 5 (рисунок 3.5).
Камера 2 воспринимает давление набегающего потока воздуха во входной
части двигателя через отверстая 1. Под давлением набегающего потока понимается
сумма давлений воздушного напора и окружающей среды.
Камера 4 воспринимает статическое давление через отверстия 3,
расположенные на боковой поверхности заборника. Камеры 2 и 4 разделены между
собой мембраной 9.
Заборник динамического давления имеет 20 отверстий диаметром 0,7 мм. При
отсутствии скоростного напора (динамического давления), т. е. когда двигатель
не работает, контакты находятся в замкнутом состоянии. Во время работы
двигателя, когда заборник сигнализатора обдувается воздухом, в камерах
дифференциального манометра за счет скоростного напора устанавливается разность
давлений, прогибающая мембрану и, следовательно, размыкающая контакты, которые
затем во время работы двигателя остаются в разомкнутом состоянии.
- отверстие полного давления; 2 - камера полного давления; 3 - отверстия
статического давления; 4 - камера статического давления; 5 - жиклер; 6 -
прерыватель; 7 - штепсельный разъем; 8 - обогреватель; 9 - мембрана
Рисунок 3.5 - Пневматическая схема СО-12АМ
В полете при наличии условий обледенения отверстия 1 в заборнике
закупориваются пленкой льда, и поступление динамического давления в камеру 2
дифференциального манометра прекращается. Давление в камерах 2 и 4
выравнивается через жиклер 5 и мембрана возвращается в исходное положение,
замыкая контакты. При этом включаются и замыкают свои рабочие контакты
электромагнитные реле, питающие параллельно сигнальную лампу «Обледенение» и
нагревательные элементы сигнализатора.
Под действием тепла, выделяемого нагревателями, лед на заборнике тает,
отверстия открываются и восстановившийся перепад давлений в камерах
дифференциального манометра размыкает контакты электрической цепи, выключающие
электромагнитное промежуточное реле, которое в свою очередь отключает питание
от сигнализационной цепи и от нагревателей. Сигнализатор принимает исходное
положение.
Если к этому времени самолет не выведен из зоны обледенения, то отверстия
1 динамического давления снова подвергнутся обледенению и цикл повторится.
Таким образом, при прохождении самолетом зоны обледенения сигнальная
лампа будет загораться периодически.
Оттаивание отверстий заборника в СО-12АМ происходит не более 90 сек. с
момента включения обогревателей. Процесс замораживания отверстий динамического
давления продолжается не более 150 сек., а полный цикл
замораживания-размораживания - не более 240 сек.
При появлении первого сигнала обледенения летчик вручную включает систему
обогрева входной части двигателя и выключает ее после выхода самолета из зоны
обледенения, т. е. по прекращении включений сигнальной лампы «Обледенение».
Для предохранения нагревательного элемента сигнализатора от перегрева
включение нагревателя на бортсеть самолета должно производиться при наличии динамического
напора не менее 250 мм вод. ст., что достигается подводом питания к катушке
реле включения нагревателей от генераторов СТГ-12ТМ. (т. е. схемой
предусматривается возможность включения нагревателей только при работе
двигателя).
3.1.2
Технические данные сигнализатора обледенения СО-12АМ
Источник питания - бортсеть постоянного тока напряжением 27 В ± 10%.
Интервал температур внешней среды, в которой может находиться СО-12АМ без
потери своих характеристик - от +60 до -60°С.
Система питания - однопроводная.
Максимальный ток нагрузки контактов при напряжении 27 в - не более 0,6 А.
Максимальный ток нагревателей при температуре 20±5°С - не более 7 А.
Вес - не более 0,75 кг.
3.1.3
Конструкция сигнализатора
Сигнализатор (рисунок 3.6) состоит из двух основных частей: заборника 1
динамического и статического давлений и электрического дифференциального
манометра 2, закрепленных на патрубке 3.
Заборник выполнен в виде полого цилиндра, на переднюю часть которого
напрессован и припаян колпачок 4, имеющий 20 отверстий диаметром 0,7 мм для
восприятия скоростного воздушного напора, поступающего в камеру динамического
давления по двум трубкам 5.
В нижней части колпачка 4 имеется три отверстия диаметром 0,5 мм для
стока воды. Внутри заборника помещен нагреватель, предназначенный для создания
цикличной работы СО-12АМ, т. е. для освобождения отверстий диаметром 0,7 мм от
пленки льда через определенные периоды времени. На задней части корпуса 7
заборника смонтирован тройник 8, в котором выполнена камера статического
давления, соединяемая с обтекаемым потоком воздуха восемью отверстиями 10
(диаметром 2,5 мм), расположенными на боковой поверхности патрубка 3.
Одновременно камера статического давления нагревателя соединяется с камерой
статического давления 11 дифференциального манометра резиновой трубкой 12 и
штуцерами 13.
Камеры динамического и статического давления соединены между собой
калиброванным отверстием (жиклером), через которое происходит выравнивание
давлений в камерах при закупоривании пленкой льда заборных отверстий в
колпачке.
На кольце в заборнике смонтирована клемма подвода питания нагревателя
заборника, который представляет собой нихромовую спираль.
Дифференциальный манометр состоит из мембраны 20, закрепленной в
основании 21 гайкой 22. Мембрана изготовляется из бериллиевой бронзы и является
чувствительным элементом дифференциального манометра. К центру мембраны припаян
серебряный подвижный контакт 23, контактирующий с серебряным контактом 24
регулировочного винта 25, предназначенного для изменения предварительного
натяжения мембраны, что позволяет отрегулировать требуемый перепад давлений, необходимый
для размыкания контактов.
- заборник; 2 - дифференциальный манометр; 3 - патрубок; 4 - колпачок
заборника; 5 - трубка; 6 - нагреватель; 7 - корпус; 8 - тройник; 9 - проходник;
10 - отверстия диаметром 2,5 мм; 11 - камера статического давления; 12 -
резиновая трубка; 13 - штуцер; 14 - пружина; 15 - клемма; 16 - уплотнение; 17 -
контактная гайка; 18 - штепсельный разъем; 19 - бандаж; 20 - мембрана; 21 -
основание дифференциального манометра; 22 - гайка; 23 - подвижный контакт; 24 -
контакт; 25 - регулировочный винт; 26 - прокладки; 27 - винт; 28 -
обогреватель; 29 - изолятор; 30 - резиновая прокладка; 31 - кожух; 32 -
контровка; 33 - гайка; 34 - резиновая прокладка
Рисунок 3.2 - Сигнализатор обледенения СО-12АМ
Регулировочный винт 25 изолирован от корпуса изоляционными прокладками
26.
Основание дифференциального манометра крепится к патрубку четырьмя
винтами 27. В колене патрубка вмонтирован обогреватель 28, выполненный в виде
полого цилиндра, изолированного слюдой и намотанной на него нихромовой
проволокой. По наружному диаметру обмотка нагревателя также изолирована слюдой.
Для вывода провода из камеры статического давления применен изолятор 29.
Резиновая прокладка 30 служит для герметизации камеры динамического
давления. Стальной кожух 31 соединяется с основанием при помощи резьбы и
контрится двумя штифтами. Гайка 33 предназначена для герметизации камеры
статического давления при помощи резиновой прокладки 34.
Список литературы
1.
Техническая инструкция по эксплуатации ТВД АИ-20
. Техническая
инструкция по эксплуатации ДТРД Д-30
.
Методическое указание по выполнению лабораторных работ по дисциплине «Силовые
установки»
Приложение А
-
трубопровод с развальцовкой; 2 - ниппель; 3 - накидная гайка; 4 - штуцер; 5 -
контровочные отверстия
Рисунок
А1 - Схема крепления трубопровода к штуцеру агрегата
-
трубопровод; 2 - резиновая прокладка; 3 - болт с контрящей пластиной; 4 - хомут
Рисунок
А2 - Схема крепления трубопровода