|
Види коливань
|
Кутові коливання
|
Лінійні прискорення
|
|
амплітуда
|
швидкість
|
частота
|
|
|
Повздовжні
|
φk
|
2,5
|
Ω φk
|
8,25
|
fφk
|
1,1
|
αy
|
1,4
|
|
Поперечні
|
γk
|
1,8
|
Ω γk
|
6,3
|
fγk
|
0,8
|
αx
|
0,4
|
|
Горизонтальні
|
ψk
|
1,2
|
Ω ψk
|
1,6
|
fψk
|
0,6
|
αz
|
0,82
|
Середні параметри коливання корпусу танків
визначені під час руху по середньо-пересічній місцевості зі швидкістю 1 - 20
км/год. Горизонтальні коливання корпусу зумовлені періодичними змінами напрямку
руху (низькочастотна складова), а також нерівномірністю натягу гусениці, стан
поверхні, дорожніми умовами на трасі руху бронеоб'єкта (високочастотна
складова). Характер горизонтальних кутових коливань у значній мірі залежить від
досвіду і майстерності механіка-водія.
Горизонтальні кутові коливання (рис.5), як
і поздовжні погіршують умови знаходження цілей і ведення стрільби з ходу, та є
основною причиною розсіювання снарядів і куль за напрямком.
Рис.5. Горизонтальні кутові коливання.
Поперечні коливання (рис.6), як і
поздовжні, визначаються профілем місцевості, швидкістю і плавністю руху і
динамічними властивостями підвіски.
Рис.6. Поперечні кутові коливання (γ - коливання).
Як видно із табл.1, амплітуда і швидкість
поперечних кутових коливань приблизно в два рази менше за амплітуду і швидкість
поздовжніх кутових коливань.
Аналіз розглянутих причин розсіювання
снарядів під час стрільби з ходу показує, що для забезпечення високої
ймовірності враження цілі необхідно істотно зменшити амплітуди і швидкості
кутових коливань як озброєння так і поля зору прицілу.
Це досягається безпосередньо введенням в
склад комплектів управління озброєння стабілізаторів гармати, башти і лінії
прицілювання.
1.3
Теоретичні основи побудови стабілізаторів поля зору
1.3.1
Стабілізація поля зору у вертикальній площині
Принцип стабілізації поля зору (лінії
прицілювання) у вертикальній площині пояснимо на прикладі перископічного
приладу спостереження, наприклад прицілу, що складається (рис.7) з верхнього
ВДз та нижнього НДз дзеркал, які встановлюються під кутом 45° до оптичної осі
приладу [17].
Припустимо, що у початковому положенні
прицілу (рис.7, а) промінь АО1 який іде від цілі,
падає на ВДз під кутом АО1 N = 45°. У цьому випадку відбитий
від дзеркала промінь збігається з оптичною віссю O1O2.
Потрапляючи на НДз, промінь відбивається та йде по оптичній осі O2О3
в об'єктив приладу спостереження.
а б в
Рис.7. Принцип стабілізації поля зору у
вертикальній площині:
а - початкове положення
прицілу;
б - нахил прицілу в
поздовжній площині на φк;
в - нахил прицілу в
поздовжній площині на φк з одночасним поворотом
верхнього дзеркала.
Під час руху танка корпус прицілу, а разом
з ним і перископічна система дзеркал повертатимуться у поздовжній площині на
довжину кутів поздовжніх коливань корпусу танка φк. Зміна положення перископічної системи приведе до зміни
(рис.7, б) кута падіння променя АО1 на верхнє дзеркало на
величину значення φк, тобто кут АО1
= 45° + φк. Одночасно на величину
значення φк зміниться і кут відбиття
NО1Б. Відбитий від ВДз промінь O1Б не
збіжиться з оптичною віссю прицілу, що приведе до переміщення зображення у полі
зору. У випадку великих амплітуд поздовжніх кутових коливань корпусу танка
відбитий від верхнього дзеркала промінь O1Б може взагалі на
потрапити на нижнє дзеркало, тобто ціль буде втрачено.
Для того щоб промінь O1Б, зміщений
на кут φк відносно осі O1О2,
після його відбиття від ВДз знову збігся з оптичною віссю O1О2
прицілу, необхідно повернути верхнє дзеркало навколо його осі.
Припустимо, що ВДз повернуте на кут а
у бік, протилежний нахилу корпусу прицілу (рис.7, в). Зміна положення
верхнього дзеркала приведе до зміни кута падіння на нього променя АО1
на величину значення а. Згідно з рисунком, кут падіння АО1N
' - (45° + <φк - а). Зміна кута падіння
призведе, у свою чергу, до зміни і кута відбиття.
Промінь O1Б', відбитий
від верхнього дзеркала під кутом N 'О1Б'= (45° + <φк - а), зміститься відносно променя O1Б на
кут β, наближаючись до оптичної осі прицілу. Знайдемо значення кута β. Із рис.7, в маємо: β = N О1 Б -
N О1 Б'.
Беручи до уваги, що
N О1Б' - N 'О1Б' - а; N О1Б
= 45° + φк; N 'О1Б'= 45° + φк - а, одержуємо:
β = 45° + φк [ (45° + φк - а) - а] = 2а. (1.1)
Отже, під час повороту ВДз на кут а
у бік, протилежний нахилу прицілу, відбитий від нього промінь повертається на
кут 2а, наближаючись тим самим до оптичної осі приладу.
Для того щоб зображення цілі не
перемістилось у поле зору прицілу під час нахилення його корпусу на кут φk, потрібен точний збіг променя O1Б з
оптичною ціллю O1O2, тобто гранично слід мати β = φк. Ґрунтуючись на рівнянні
(1.1), знаходимо кут повороту ВДз, при якому ціль залишиться нерухомою у полі
зору прицілу: а = φк/2.
Таким чином, для виконання умови
стабілізації поля зору (лінії прицілювання) у вертикальній площині верхнє
дзеркало прицілу необхідно повертати зустрічно поворотам його основи (прицілу)
на кут, що дорівнює половині кута повороту прицілу (корпусу танка).
1.3.2
Стабілізація поля зору в горизонтальній площині
У початковому положенні приладу
спостереження (рис.8), тобто коли кут повороту башти відносно цілі ψб = 0, світловий промінь А потрапляє на
верхнє дзеркало і, збігаючись з оптичною віссю О1О2О3
надходить в об'єктив приладу (промінь Б).
Під час повороту башти у горизонтальній
площині відносно цілі на кут ψб на верхнє дзеркало падає
потік косих променів А', повернутих щодо оптичної осі АО1
на кут ψб. Промінь О1О2,
який відбивається від верхнього дзеркала і лежить згідно з законом
геометричної оптики у площині А'О1N, повернутій відносно
площини АО1N на кут АО1N ' = ψб, виявляється відхиленим від оптичної осі О1О2
на кут ψб. Відбиваючись від
нижнього дзеркала, промінь О1О'2 отримує напрямок О'2Б'.
Рис.8. Принцип стабілізації поля зору в
горизонтальній площині.
Промінь О'2Б' лежить у
площині О1О'2 N ', повернутій відносно
площини О1О2 N, на кут ψб. Отже, і промінь О'2 Б' виявляється повернутим
на кут ψб відносно променя О2Б - зображення цілі
змістилось у горизонтальній площині.
Внаслідок невеликої перископічності
приладів спостереження лінійним зміщенням О1О'2 відбитого
від верхнього дзеркала променя можна знехтувати, тобто О2≈О'2.
Для компенсації зміщення зображення цілі
необхідно повернути нижнє дзеркало так, щоб його нормаль N ' зайняла
положення N " ≈ N, тобто повернути нормаль N '
навколо точки O2 = O'2. Це досягається
поворотом нижнього дзеркала відносно поздовжньої осі у на кут аНДз
= ψб.
Таким чином, для виконання умови
стабілізації поля зору (лінії прицілювання) у горизонтальній площині нижнє
дзеркало приладу спостереження необхідно повертати навколо поздовжньої осі
зустрічно поворотам його основи на кут, що дорівнює куту повороту приладу
спостереження (башти танка).
1.4
Методи стабілізації поля зору приладів спостереження
Розглянуті принципи стабілізації поля зору
(лінії прицілювання) приладу спостереження можуть бути реалізовані двома
способами: за рахунок механічного або електромеханічного зв'язків дзеркал з
гіроскопічними датчиками кута.
Стабілізатори з механічними зв'язками
називаються силовими, з електромеханічними - індикаторними
[3,4,10,14,15,16].
1.4.1
Силові стабілізатори поля зору
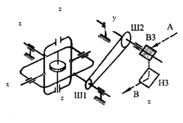
У разі силової стабілізації поля зору
приладу спостереження (рис.9) верхнє дзеркало за допомогою стрічкової передачі
зв'язується з зовнішньою рамкою гіроскопа. Діаметри шківів відносяться як 1: 2.
Якщо тепер основу прицілу повернути відносно стабілізованої зовнішньої рамки
гіроскопа на кут φк, то шків Ш2 та
зв'язане з ним верхнє дзеркало повернуться щодо нерухомого шківа Ш1
на кут φк /2. Кут повороту
верхнього дзеркала відносно основи приладу буде при цьому таким: аВДз
=φк/2.
Силова стабілізація поля зору в горизонтальній площині в принципі
виконується так само, як і у вертикальній. У цьому випадку гіроскоп
встановлюється таким чином, щоб вісь його зовнішньої рамки була паралельною осі
обертання башти. За допомогою спеціальної передачі 1: 1 зовнішня рамка
зв'язується з нижнім дзеркалом приладу спостереження.
Рис.9. Силовий стабілізатор поля зору у
вертикальній площині.
Для одночасної стабілізації поля зору у
двох площинах можуть застосовуватись або два гіроскопічні датчики кута, або
двоплощинна гіроскопічна платформа. Кінематична схема двоплощинного
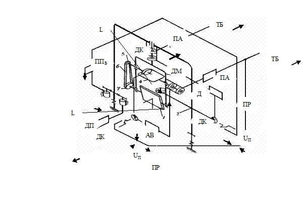
гіростабілізатора поля зору наведена на рис.10.
Рис.10. Двоплощинний стабілізатор поля
зору.
Двоплощинний стабілізатор поля зору має у
своєму складі:
1
гіроскопічний
датчик кута;
2
обертовий
трансформатор ОТ, ротор якого встановлений на осі зовнішньої рамки ЗРГДК
гіроскопа, а статор з'єднаний з основою;
3
підсилювач
Пс;
4
виконавчий
двигун ВД;
5
редуктор
Ред;
6
верхнє
дзеркало ВДз приладу спостереження, вісь обертання якого паралельна осі ЗРгдк;
7
нижнє
дзеркало НДз приладу спостереження
8
обертовий
трансформатор ОТЗЗ зворотного зв'язку, ротор якого встановлений на
осі дзеркала ВДз, а статор з'єднаний з основою.
Якщо спільна для дзеркала і датчика кута
основа повернеться відносно осі зовнішньої рамки ЗРГДК, паралельної
осі обертання дзеркала ВДз, то разом з основою повернеться і статор ОТ.
Оскільки ротор ОТ залишиться разом з ЗРГДК нерухомим, то на виході
ОТ з'явиться сигнал, пропорційний кутовому повороту основи (приладу
спостереження). Цей сигнал Uy підсилюється у
підсилювачі Пс і надходить на виконавчий двигун ВД. Останній через редуктор
повертає дзеркало у напрямку, протилежному напрямку повороту основи.
Під час руху об'єкта коливання його
корпусу передаються приладу спостереження. Встановлена на ньому гірорама
завдяки властивості стійкості зберігає з певною точністю кутові положення осей
платформи та рами незмінними. Оскільки верхнє дзеркало кінематичної рами
зв'язане з рамою передачею 1: 2, а нижнє - з платформою передачею 1: 1, то під
час поворотів корпусу приладу в поздовжній вертикальній площині на кути ±φк та в горизонтальній на кути ±ψб верхнє дзеркало синхронно повертається відносно
корпусу приладу спостереження на кути +0,5φк, а нижнє - на кути +ψб. У результаті такого руху дзеркал промінь,
відбитий від їх поверхонь, збігається з оптичною віссю приладу спостереження і
точно спрямовується у вихідну зіницю окуляра, виконуючи тим самим стабілізацію
поля зору.
1.4.2
Індикаторні стабілізатори поля зору
У разі індикаторної стабілізації поля зору гіроскоп та
дзеркало приладу спостереження роз'єднані, а зв'язок між ними здійснюється
через слідкувальний привод дистанційної передачі кута.
Рис.11. Індикаторний стабілізатор поля
зору:
ЗРгдк - зовнішня рамка гіроскопічного
датчика кута;
ОТ - обертовий трансформатор; Пс -
підсилювач;
ВД - виконавчий двигун; ОТЗЗ -
обертовий трансформатор зворотного зв'язку;
Ред - редуктор; ВДз - верхнє дзеркало; НДз
- нижнє дзеркало.
Разом із дзеркалом повертається і ротор ОТЗЗ,
статор якого відносно основи є нерухомим. Сигнал UЗЗ подається на
вхід привода і діє зустрічно сигналу Uy гіроскопа. Крутість
характеристики ОТ3З удвічі вища, ніж крутість характеристики ОТ.
Внаслідок цього при повороті ВЗ на кут 0,5φк сигнал зворотного зв'язку
UЗЗ стане рівним сигналу керування Uy і
відпрацювання кута припиниться - поле зору є стабілізованим у разі повернутого
приладу спостереження.
1.5
Висновки до розділу
Аналіз умов ведення бойових дій, із
залученням великої кількісті протитанкових засобів показав, що для ефективної
боротьби з ними необхідно вести вогонь на велику відстань з ходу. Під час руху
по пересіченій місцевості ефективність стрільби падає, тому що корпус танка
здійснює інтенсивні коливання в трьох площинах. Це впливає на умови
спостереження за полем бою, на точність прицілювання під час стрільби. Отже,
з'явилась необхідність стабілізувати поле зору приладу спостереження шляхом
уведення в його склад стабілізатора лінії прицілювання. На танках, які знаходяться
на озброєнні Збройних Сил України встановлюються двоплощинні силові
стабілізатори поля зору. Вони забезпечують стабілізацію поля зору в двох
площинах і цим самим покращують умови ведення стрільби як з місця, так і з
ходу. Однак кожна система стабілізації має свою похибку, тому і в такому
стабілізаторі поля зору, як САР вона також присутня. В основному похибка
стабілізатора поля зору виникає через наявність зовнішніх збурень у вигляді
кутових коливань та прискорень. Через наявність помилки системи виникає
необхідність її визначення та введення необхідних засобів для її зменшення, а
тим самим підвищення якості цієї системи.
2.
Дослідження систем стабілізації поля зору сучасних танкових прицілів на основі
електромеханічних гіроскопів
2.1
Методика визначення точності стабілізаторів поля зору на основі
електромеханічних гіроскопів
Основним показником якості СПЗ є точність утримання
(стабілізації) поля зору приладу спостереження під час коливань корпусу
об'єкта, що рухається. Розглянемо основні фактори, що впливають на
характеристики точності СПЗ [10,14].
2.1.1
Режим стабілізації під час випадкових зовнішніх збурень
Основним способом ведення стрільби з танка
в умовах сучасного бою є стрільба з ходу. Зовнішні збурення, зумовлені
безперервними випадковими коливаннями корпусу танка, що рухається, викликають
відхилення стабілізованого озброєння від заданого наводкою напрямку. Ці
відхилення, так само як і коливання корпусу, мають випадковий характер і
являють собою помилку стабілізації, яка знижує імовірність влучення у ціль під
час стрільби з ходу. Чим меншою буде помилка, тим вищою буде точність
стабілізації, а отже, кращою - якість системи.
Якщо, однак, подати випадкові зовнішні
впливи як суму гармонічних збурень, то вимушені коливання, що встановлюються в
системі, і є реакцією на кожну гармоніку, можна розглядати як усталений режим.
Підсумовуючи реакції СТО на гармонічні складові випадкових зовнішніх збурень,
отримуємо випадковий процес кутових відхилень стабілізованого озброєння -
помилки стабілізації.
Реалізації помилок стабілізації Δφ (t) (рис.12, а) знаходять експериментально
шляхом осцилографування сигналів обертових трансформаторів датчиків кутів СО та
СБ. Може бути застосований і метод кінозйомки віддаленої цілі - помітного
точкового орієнтира - за допомогою кінокамери, яка встановлюється на
стабілізованому озброєнні (гарматі).
Рис.12. Методи оцінки точності стабілізації за реалізацією
випадкового процесу кутових коливань стабілізованого озброєння (а) та за
спектральною щільністю збурення та амплітудно-фазовою частотною характеристикою
системи регулювання (б).

На основі отримуваних реалізацій
визначають середню квадратичну похибку σφ стабілізації, яка є
мірою якості стабілізатора танкового озброєння та лінії прицілювання. Для
обчислення σφ часовий інтервал t реалізації
випадкового процесу Δφ (t) розбивають на N однакових
частин Δt. Для кожного Δti,. інтервалу знаходять абсолютне значення Δφi похибки. Відповідно до теорії випадкових функцій
обчислюють середню квадратичну похибку стабілізації:
Одиницею вимірювання похибки стабілізації
прийнята одна тисячна: 1 тис. = 0,06°=10-3рад.
Як бачимо, експериментальне визначення
точності стабілізації досить трудомістке, потребує спеціальної апаратури і
певної кваліфікації обслуговуючого персоналу. Тому експериментальна оцінка
якості стабілізаторів озброєння проводиться тільки на полігонах під час
випробувань танків.
Під час проектування і розрахунку
стабілізаторів озброєння та приладів спостереження їх реакція на випадкові
збурювальні впливи - точність стабілізації - оцінюється математичними методами.
Для цього досліднику достатньо знати амплітудно-фазочастотну характеристику
системи за зовнішнім збуренням і спектральною щільністю Sy (ω) збурювального впливу.
Спектральна щільність SΔφ (ω) похибки стабілізації, яка
характеризує інтенсивність похибки за спектром частот, розраховується як

де
- квадрат модуля АФЧХ системи за
зовнішнім збуренням.
Як правило, спектральну щільність SΔφ (ω) похибки стабілізації
знаходять графоаналітичним методом. Порядок розрахунків при цьому такий:
визначають амплітудно-фазочастотну
характеристику АФЧХ, використовуючи передавальну функцію Wу (р) стабілізатора,
і замінюють у ній оператор р на уявну змінну jω:
Wу (р) →
= P (ω) + Q (ω),
де P (ω), Q (ω) - дійсна та уявна частини
АФЧХ;
обчислюють квадрат модуля АФЧХ за її
дійсною та уявною частинами:
= P2 (ω) + Q2 (ω),
і, задаючись частотами ω від 0 до ∞, будують графік
= F (ω) (рис.13, б);
знаходять у спеціальному довіднику графік Sy
(ω) спектральної щільності потрібного збурювального впливу. Такі
спектральні щільності є результатом обробки на ЕОМ реалізацій збурювальних
впливів, що отримуються експериментально для найбільш імовірних трас бойового
застосування танків;
накладають графік Sy (ω) на графік
, як показано на рис.13, б;
перемножуючи однойменні ординати Sy (ωi) та
на кожній із частот ωi, отримують графік спектральної щільності SΔφ (ω) похибки стабілізації;

знаходять середнє квадратичне значення
похибки стабілізації
де значення
визначається планіметруванням площі,
обмеженої кривою спектральної щільності SΔφ (ω) та віссю абсцис;
якщо похибка не відповідає вимогам
технічних умов, проводять коригування параметрів стабілізаторів танкового
озброєння та лінії прицілювання.
2.1.2
Силова стабілізація поля зору
Структурна схема силового СПЗ наведена на
рис.13. Основою СПЗ є структурна схема тристепеневий гіроскоп. Зв'язок
гіроскопа з верхнім дзеркалом урахований безінерційною ланкою з передавальним
коефіцієнтом 1/2.
Як вихідний сигнал розглядаємо кут аВДз
повороту дзеркала приладу спостереження.
Рис.13. Структурна схема силового
стабілізатора поля зору.
В ідеалі (абсолютно точному СПЗ) кут
повороту дзеркала повинен дорівнювати половині кута φ0 коливань його основи: аВДз = φ0/2. Проте у реальних умовах на рамки гіроскопа діють
збурювальні моменти Мх, Му, внаслідок чого
зовнішня рамка змінюватиме своє первинне положення на довжину кута а,
вносячи тим самим деяку похибку у роботу СПЗ: аВДз = (а+φ0) /2,де а - відхилення зовнішньої рамки гіроскопа від
заданого положення. Моменти Мх, Му, що діють на
рамки гіроскопа, визначаються, як

правило, тертям у їх опорах, статичною і
динамічною неврівноваженістю карданових підвісів:

де Мтрx, Мтру - моменти
тертя в опорах рамок; Мнх, Мну - динамічні моменти
незрівноваженості рамок; Мнх', Мну' - статичні
моменти незрівноваженості рамок.

Формування моментів тертя та динамічної
незрівноваженості визначаються роботою СПЗ на рухливій основі, тобто кутовими і
лінійними коливаннями корпусу танка. Розкриваючи значення складових моментів Мх,
Му для стабілізатора поля зору у вертикальній площині, маємо:

де lнQн
- неврівноваженість карданова підвісу;
рφ0 - швидкість коливань основи у вертикальній площині;
рγк - швидкість коливань основи у горизонтальній
площині;
аz - вертикальні лінійні
прискорення; ах - горизонтальні лінійні прискорення.
Беручи до уваги передавальні функції СПЗ
за кожним із збурювальних моментів, знаходимо помилку гіроскопічного задавача:
Відзначимо, що моменти неврівноваженості Мнх,
Мну діють на рамки гіроскопа постійно, викликаючи зростаюче
уведення (відхилення) дзеркала приладу спостереження. Швидкість такого уведення
може періодично усуватись навідником.
Кутові відхилення зовнішньої рамки, що
залежать від кутових φ0, γк та лінійних аz, ах коливань
основи, є випадковими функціями часу і визначають власне помилку
гіроскопа-задавача, а отже, і СПЗ у цілому.
Знання спектральних щільності кутових
коливань та лінійних прискорень дозволяє знайти імовірнісні характеристики
кожної із складових помилки СПЗ, а за ними визначити середньоквадратичне
значення сумарної помилки стабілізатора:
2.2
Дослідження двоплощинних стабілізаторів поля зору сучасних танкових прицілів на
основі електромеханічних гіроскопів
Стабілізатори лінії прицілювання силового
типу, одно - і двоплощинні. широко застосовуються в прицілах, які
встановлюються на вітчизняних танках різноманітних марок і модифікацій. Так,
наприклад, одноплощинні стабілізатори стоять у прицілі ТПД 2-49, ТПДК-1, які
встановлюються на танки Т-64А, Т-72.
З появою різноманітної протитанкової зброї
та високоточних комплексів керованого озброєння з'явилась необхідність у більш
точному наведенні і утриманні центральної прицільної марки на цілі. Одно
площинна стабілізація поля зору цього не забезпечувала і в прицілах,
пристосованих для стрільби артилерійськими і керованими снарядами були
встановлені двоплощинні силові стабілізатори лінії прицілювання.
Розглянемо два типи двоплощинного
стабілізатора поля зору з розв’язаними гіроскопами та просторовим шарніром.
2.2.1
Двоплощинна гіроскопічна рама з розв'язаними гіроскопами
Можливий варіант двоплощинної гірорами з
розв'язаними гіроскопами наведений на рис.14.
Гіроскопічна рама складається з платформи
П, на якій встановлюються два двоступеневих гіроскопи ГВ і ГГ, рамки
яких розвернуті одна відносно одної на кут 90°. Обидва гіроскопи, як правило,
конструктивно виконані однаково, тобто їх кінематичні моменти тертя в опорах
рівні. Платформа П розміщена в рамі Р, яка змонтована на основі О.
Рис.14. Двоплощинна гірорама з розв'язаними гіроскопами.
Вказана кінематика забезпечує кожному
гіроскопу 3 ступеня свободи, Розглянемо ступені свободи гіроскопа
вертикалі:
перший ступінь - обертання ротора навколо
осі Y у підшипниках рамки ротора;
другий ступінь - поворот гіроскопа ГВ
разом з рамкою навколо осі Z;
третій ступінь - поворот ротора і рамки з
платформою П і рамою Р навколо осі X.
Розглянемо ступені свободи гіроскопа
горизонталі:
перший ступінь - обертання ротора навколо
осі Y в підшипниках рамки ротора;
другий ступінь - поворот гіроскопа ГГ
разом з рамкою навколо осі X;
третій ступінь - поворот ротора і рамки з
платформою П і рамою Р навколо осі Z.
Використовуючи двоплощинну гірораму даного
типу якості задатчик кутового положення озброєння, її доцільно встановлювати
таким чином, щоб осі обертання роторів були паралельні осі каналу ствола
гармати YГ, вісь обертання рами - паралельно осі цапф гармати ХГ.
Така орієнтація (рис.15) дає протилежний напрямок векторам кінематичних
моментів НП гіроскопів HГг і НГв
і таким чином забезпечує стабілізацію рами і платформи при
поздовжньо-кутових і горизонтально-кутових коливаннях корпусу
бронеоб'єкта. З метою перетворення кутових відхилень гармати і башти в
пропорційні електричні сигнали на осях рами платформи встановлюються ротори
індукційних датчиків, наприклад поворотні трансформатори ПГг
і ПГв, статори яких з'єднуються відповідно з основою і рамою
гірорами.
Рис.15. Орієнтація двоплощинної гірорами в бронеоб'єкті.
Для зміни просторового положення платформи
гірорама оснащується системою наведення, до складу якої входять електромагніти
наведення ЕМНВ і ЕМНГ, ротори яких знаходяться на
осях гіроскопів ГВ і ГГ, а статори закріплені на
платформі.
Робота системи наведення грунтується на
властивості прецесії. Під час дії моменту наведення Мнв на рамку гіроскопа ГВ
платформа П разом з рамою Р прецесує навколо осі X, тобто повертається в
вертикальній площині. Під час подання сигналу управління на електромотор ЕМНГ,
момент наведення, який прикладається до рамки гіроскопа ГГ, викликає
прецесію платформи навколо осі Z - поворот в горизонтальній площині. Підвищення
точності стабілізації гіроскопічної рами досягається введенням в її конструкцію
системи розвантаження.
Система розвантаження забезпечує усунення
завалів рамок гіроскопів ГВ і ГГ відносно платформи,
збереження взаємної перпендикулярності всіх трьох осей кожного гіроскопа,
створення моментів розвантаження, що протидіють зовнішнім збуренням.
Схема розвантаження двохосьової гірорами
складається з датчиків розвантаження ДРВ, ДРГ,
підсилювачів і електродвигунів розвантаження ЕРв, ЕРГ. Датчики
розвантаження вимірюють кути β1 і β2 повороту рамок гіроскопів ГВ, ГГ відносно
платформи і перетворюють їх в електричні сигнали, які підсилюються
підсилювачами і подаються на електродвигуни розвантаження.
Електродвигуни розвантаження ЕРВ,
ЕРГ формують на рамі і платформі моменти розвантаження МРВ,
МРГ, які за знаками протилежні моментам зовнішньої дії Мx
та Mz.
Таким чином, система розвантаження зменшує
сумарні моменти, діючі на гірораму, і тим самим розвантажує її. Щоб
найбільш повно компенсувати дію зовнішніх збурюючих моментів намагаються
максимально зменшити інерційність системи розвантаження і по можливості збільшити
її передаточний коефіцієнт.
Під час встановлення гірорами в прицілі як
гіроскопічного задатчика стабілізатора поля зору верхнє дзеркало прицілу
з'єднують з зовнішньою рамкою гірорами. З'єднання здійснюється за допомогою
стрічково-рейкової передачі з передатним коефіцієнтом 1: 2, а нижнє дзеркало
з'єднують з платформою за допомогою стрічкової передачі з коефіцієнтом 1: 1.
2.2.2
Двоплощинна гіроскопічна рама з просторовим шарніром
Рис.16. Двоплощинна гіроскопічна рама з просторовим шарніром.
Гірорама складається з зовнішньої рами НР,
корпусу К і двох однакових триступеневих гіроскопів Г1 і Г2,
встановлених у корпусі гірорами. Корпус має два ступеня свободи: обертання
навколо осі X в опорах зовнішньої рами і обертання навколо осі Z разом з
зовнішньою рамою, яка рухомо закріплена на основі.
Гіроскоп Г1 встановлений у
кардановому підвісі так, що вісь X його зовнішньої рами паралельна осі X, а
вісь Y, внутрішньої рами паралельна осі Z гірорами. Гіроскоп Г2 по
відношенню до гіроскопу Г1 повернутий навколо осі Y гірорами на 90°.
Вісь Х2 його зовнішньої рами паралельна осі Z, а вісь Y2
внутрішньої рами паралельна осі X гірорами.
Ротори гіроскопів обертаються в протилежні
боки. Отже вектори кінетичних моментів гіроскопів направлені зустрічно.
Внутрішні рамки гіроскопів пов'язані між
собою просторовим шарніром Ш і можуть прокручуватися відносно осей гіроскопів
тільки з однаковою швидкістю і тільки в протилежних напрямках.
Гірорама орієнтується в танку так, що її
вісь X паралельна осі цапф гармати, вісь Z паралельна осі обертання башти.
Розглянемо роботу гірорами на прикладі
стабілізації відносно осі X. Будемо вважати, що гіроскопи Г1 і Г2
абсолютно однакові. Це значить, що однакові їх кінетичні моменти, моменти
інерцій і відповідні коефіцієнти в'язкого тертя. Розглянемо стабілізацію
гірорами відносно осі X (Рис.16). При поздовжніх кутових коливаннях корпусу
танка на зовнішню рамку гірорами діє момент сил тертя Мх. Під дією
цього моменту зовнішня рамка разом з корпусом гірорами почне прокручуватися за
основою з деякою швидкістю ωх. Моменту Мх
протидіють: інерційний момент Мjx й момент тертя Мfx.
Під час поворотів корпусу гірорами
гіроскопи Г1 і Г2 завдяки своїм стабілізуючим
властивостям намагаються зберегти своє початкове положення в просторі осей Z1
та Z2 роторів гіромоторів. Ротори гіроскопів намагаються докрутити в
один і той же бік відносно корпусу на кут, рівний за величиною, та Протилежний
по напрямку кута повороту корпусу. Але шарнір Ш заклинюється і не допускає
такого переміщення. Ось чому гіроскопи рухаються разом з зовнішньою рамкою й
корпусом, здійснюючи переносний рух зі швидкістю ωх, призводять до виникнення на рамках гіроскопа гіроскопічних
моментів Мгу і Мгх. Гіроскопічний момент Мгу
діє на внутрішню рамку гіроскопа Г2. Ці моменти протилежні.
Просторовий шарнір Ш не перешкоджає
прецесійному руху рамок гіроскопів, які під дією сумарного моменту МгΣ починають прецесувати в різні боки з однаковою швидкістю.
Шарнір при цьому переміщується в просторі за напрямом сили Fх.
Прецесійний рух внутрішньої рамки
гіроскопа Г1 зі швидкістю ωу викликає на його
зовнішній рамці гіроскопічний момент Мгх, а прецесійний рух
зовнішньої рамки гіроскопа Г2 зі швидкістю ωх викликає на його внутрішній рамці гіроскопічний момент Мгу.
Через те що моменти рівні між собою і направлені в один і той же бік, то
просторовий шарнір заклинюється й прецесійний рух рамок під дією вказаних
моментів не виникає. Дія моментів Мгх1і Мгу2 передається
через опори гіроскопів і корпус на зовнішню рамку гірорами. В результаті на
зовнішній рамці виникає сумарний гіроскопічний момент, який направлений проти
діючого на гірораму виникаючого моменту стабілізує гірораму відносно осі X.
Стабілізація гірорами відносно осі 2 проходить аналогічно. Для підвищення
точності стабілізації гірорами з просторовим шарніром застосовуються спеціальні
системи розвантаження. У випадку, коли гірорама є одночасно й силовим
стабілізатором лінії прицілювання, система розвантаження особливо необхідна. У
цьому випадку збурюючі моменти з боку об'єктів регулювання достатньо великі, а
точність стабілізації недостатня.
Для розвантаження гірорами по осях X і Y
застосовуються системи розвантаження аналогічні за складом й принципом дії
гірорами з розв'язаними гіроскопами. Кожна система складається з індукційного
датчика, підсилювача електродвигуна розвантаження.
Індукційний датчик виміряє кут прецесії
зовнішньої рамки гіроскопа, перетворює його в пропорційну напругу, яка
підсилюється і перетворюється підсилювачем та подається на електродвигун
розвантаження. Електродвигун розвантаження створює на зовнішній рамці момент
розвантаження, діючий проти зовнішнього обурюючого моменту. Збільшуючи момент
розвантаження, можна збільшити сумарний стабілізуючий момент розвантаження і забезпечити
необхідну точність стабілізації.
Наведення гірорами здійснюється за
допомогою спеціальних електромагнітів наведення (електродвигунів). Для
наведення гірорами відносно осі X електродвигун чи електромагніт з'єднується з
зовнішньою рамою гіроскопа Г2 чи внутрішньої рамою гіроскопа Г1.
Управління електромагнітами
(електродвигунами) здійснюється за допомогою спеціальних потенціометрів чи
реостатів, встановлених у пульті навідника.
У випадку, коли двоплощинна гірорама з
просторовими шарнірами є силовим стабілізатором лінії прицілювання, її зовнішню
раму з’єднують з верхнім дзеркалом з передатним коефіцієнтом 1: 2, а корпус
з’єднують з нижнім дзеркалом за допомогою стрічкової передачі 1: 1.
Дана гірорама дозволяє одержати значно
більшу точність стабілізації лінії прцілювання ніж звичайні гірорами з
розв'язаними гіроскопами. Основна її перевага - повна незалежність від
поперечних кутових коливань основи.
До недоліків гірорами з просторовим
шарніром необхідно віднести її конструктивну технологічну складність.
2.3
Розрахунок точності систем стабілізації поля зору на основі електромеханічних
гіроскопів
2.3.1
Розрахунок точності двоплощинної гіроскопічної рами з розв'язаними гіроскопами
На рис.17 зображена структурна схема
двоплощинної гірорами, яка застосовується в прицілах [10].
Рис.17. Структурна схема силового
стабілізатора лінії прицілювання.
Розглядаючи роботу гірорами під час
стабілізації у вертикальній площині, можна сказати, що на неї діють такі
зовнішні збурення:
1
швидкість
поздовжніх кутових коливань φк;
2
швидкість
горизонтальних кутових коливань ψк;
3
горизонтальне
лінійне прискорення αz;
4
поздовжнє
лінійне прискорення аx.
Це призводить до виникнення похибки
стабілізації а гірорами.

Із структурної схеми визначимо
передавальну функцію Wx (p) двоплощинної гірорами:
де Кр - передавальний
коефіцієнт рамки;
Кг - передавальний коефіцієнт
гіроскопа;
Н - головний кінематичний
момент гіроскопа.
Момент збурення Мх складається
з моменту тертя МТР і моменту неврівноваженості МН
і може бути знайдений за формулою:

Виходячи із формули похибку стабілізатора
гармати а при дії на рамку збурюючого моменту Мх визначимо
за виразом:
1=MxWx
(p) =Mx/H2p.
В виразі зробимо заміну Мх правою
частиною згідно формули. Отримаємо:

Для знаходження помилки гірорами під час
дії на неї моменту
М визначимо передаточну функцію Wу
(р):
Момент Му що прикладений
до рамки гіроскопа, визначається сумою моментів тертя MТР і
неврівноваженості МН:

Таким чином помилка стабілізації гірорами
при дії на неї моменту збурення Му буде визначатись із
виразу:

На основі рівнянь і сумарна похибка aΣ стабілізації гірорами при впливі моментів
збурення Мх та Му буде дорівнювати:
Знайдемо значення кожної складової, на
основі яких визначимо сумарну помилку стабілізації гірорами σaΣ.
Задамо вихідні дані чисельних параметрів: f
= 20 г·см·с - коефіцієнт в'язкого тертя; fх = 135 г·см·с -
коефіцієнт в'язкого тертя; Н = 4180 г·см·с - кінетичний момент; fx1=fу1
= 40 г·см·с - коефіцієнт в'язкого тертя; mp = 2000
г - вага рами; lнх = 0.1 см - плече нерівноваги; тг
= 400 г - вага гіроскопа; lну1 = lну = 0,08 см
- плече нерівноваги.

Таким чином, складова від
повздовжньо-кутового коливання σaΣ (φk) буде дорівнювати:
Підставимо в формулу вибране значення Sφk з табл.1 і знайдемо значення першої складової
похибки aΣ:

Аналогічно визначаємо складові від
горизонтальних кутових коливань:
Для визначення складових від лінійних
вертикальних прискорень скористаємось графоаналітичним способом:
Визначаємо квадрат модуля амплітудно-фазочастотної характеристики
, для кожного значення частоти ω від 0 до 20. Після цього зводимо отримані результати в
табл.2, та відображаємо залежність на графіку (рис.18)
Таблиця 2
Залежність квадрата модуля
амплітудно-фазочастотної характеристики від значень частоти ω:
|
ω
|
1
|
2
|
3
|
4
|
5
|
|
5,446·10-101,361·10-106,051·10-113,404·10-112,178·10-11
|
|
|
|
|
|
|
ω
|
6
|
7
|
8
|
9
|
10
|
|
|
|
|
|
|
ω
|
11
|
12
|
13
|
14
|
15
|
|
4,501·10-123,782·10-123,222·10-122,779·10-122,42·10-12
|
|
|
|
|
|
|
ω
|
16
|
17
|
18
|
19
|
20
|
|
2,127·10-121,884·10-121,681·10-121,509·10-121,361·10-12
|
|
|
|
|
|
Рис.18. Квадрат модуля аплітудно - фазочастотної характеристики.
Для побудови графіка спектральної
щільності прискорень задамо її за допомогою нормального закону розподілення
відповідно до теорії вірогідності занесемо значення у відповідності до значень
частоти ω до табл.3 і побудуємо графік спектральної щільності прискорень
(рис. 19):
де σ=4; mo=12 (в залежності від
побудови графіка спектральної щільності прискорень).
Таблиця 3
Залежність спектральної щільності
прискорень від значень частоти ω:
|
ω
|
1
|
2
|
3
|
4
|
5
|
|
2,273·10-34,382·10-37,935·10-30,0130,022
|
|
|
|
|
|
|
ω
|
6
|
7
|
8
|
9
|
10
|
|
0,0320,0460,060,0750,088
|
|
|
|
|
|
|
ω
|
11
|
12
|
13
|
14
|
15
|
|
0,0970,10,0970,0880,75
|
|
|
|
|
|
|
ω
|
16
|
17
|
18
|
19
|
20
|
|
0,060,0460,0320,0220,013
|
|
|
|
|
|
Рис. 19. Графік спектральної щільності
прискорень.
Для отримання значень спектральної
щільності гірорами перенесемо графік спектральної щільності прискорень на
графік квадрата модуля амплітудно-фазочастотної характеристики в масштабі. У
разі перемноження ординати двох графіків на кожному із значень частоти ω отримаємо спектральну щільність помилки гірорами (рис. 20).
Отримані значення спектральної щільності гірорами занесемо до табл.4.
Таблиця 4
Залежність спектральної щільності гірорами
від значень частоти ω:
|
ω
|
1
|
2
|
3
|
4
|
5
|
|
1,24·10-126·10-134,8·10-134,6·10-134,7·10-13
|
|
|
|
|
|
|
ω
|
6
|
7
|
8
|
9
|
10
|
|
4,9·10-135,1·10-135,1·10-135,1·10-134,8·10-13
|
|
|
|
|
|
|
ω
|
11
|
12
|
13
|
14
|
15
|
|
4,4·10-133,8·10-133,1·10-132,4·10-131,8·10-13
|
|
|
|
|
|
|
ω
|
16
|
17
|
18
|
19
|
20
|
|
1,3·10-138,605·10-145,443·10-143,254·10-141,838·10-14
|
|
|
|
|
|
Рис. 20. Графік спектральної щільності
гірорами.
Методом інтегрування розрахуємо площу,
замкнену під кривою ΔS (аz) і осями координат:

рад2.
Для визначення складової похибки від
лінійних вертикальних прискорень σ (аz) обчислимо значення
дисперсії:

де P - площа, замкнена під кривою ΔS (аz) і осями координат; m - маштаб;
Аналогічно за допомогою графоаналітичного
способу знайдемо складову σа (ах) від лінійних
горизонтальних прискорень:
Визначаємо квадрат модуля амплітудно-фазочастотної характеристики
, для значень частоти ω від 0 до 20. Після цього зводимо отримані результати в
табл.5, та зобразимо залежність на графіку (рис.21).
Таблиця 5
Залежність квадрату модуля
амплітудно-фазочастотної характеристики від значень частоти ω:
|
ω
|
1
|
2
|
3
|
4
|
5
|
|
6,09·10-71,522·10-76,767·10-83,806·10-82,436·10-8
|
|
|
|
|
|
|
ω
|
6
|
7
|
8
|
9
|
10
|
|
1,692·10-81,243·10-89,515·10-97,518·10-96,09·10-9
|
|
|
|
|
|
|
ω
|
11
|
12
|
13
|
14
|
15
|
|
5,033·10-94,229·10-93,603·10-93,107·10-92,707·10-9
|
|
|
|
|
|
|
ω
|
16
|
17
|
18
|
19
|
20
|
|
2,379·10-92,107·10-91,88·10-91,687·10-91,522·10-9
|
|
|
|
|
|
Рис.21. Квадрат модуля
амплітудно-фазочастотної характеристики.
Для побудови графіка спектральної
щільності прискорень задамо її за допомогою нормального закону розподілення
відповідно до теорії вірогідності та занесемо значення у відповідності до
значень частоти ω у табл.6. Побудуємо
графік спектральної щільності прискорень (рис.22):
,
де: σ=4; mo=12 (в залежності від
побудови графіка спектральної щільності прискорень).
Таблиця 6
Залежність спектральної щільності
прискорень від значень частоти ω:
|
ω
|
1
|
2
|
3
|
4
|
5
|
|
2,273·10-96,7·10-105,4·10-105,1·10-105,3·10-10
|
|
|
|
|
|
|
ω
|
6
|
7
|
8
|
9
|
10
|
|
5,5·10-105,7·10-105,8·10-105,7·10-105,4·10-10
|
|
|
|
|
|
|
ω
|
11
|
12
|
13
|
14
|
15
|
|
4,9·10-104,2·10-103,5·10-102,7·10-102·10-10
|
|
|
|
|
|
|
ω
|
16
|
17
|
18
|
19
|
20
|
|
1,4·10-109,622·10-116,086·10-113,639·10-112,055·10-11
|
|
|
|
|
|
Рис.22. Графік спектральної щільності
прискорень.
Для отримання значень спектральної
щільності гірорами перенесемо графік спектральної щільності прискорень на
графік квадрата модуля амплітудно-фазочастотної характеристики в масштабі. У
разі перемноження ординати двох графіків на кожному із значень частоти ω отримаємо спектральну щільність помилки гірорами (рис.23).
Отримані значення спектральної щільності гірорами занесемо до табл.7.
Таблиця 7
Залежність спектральної щільності гірорами
від значень частоти ω:
|
ω
|
1
|
2
|
3
|
4
|
5
|
|
1,38·10-96·10-134,8·10-134,6·10-134,7·10-13
|
|
|
|
|
|
|
ω
|
6
|
7
|
8
|
9
|
10
|
|
4,9·10-135,1·10-135,1·10-135,1·10-134,8·10-13
|
|
|
|
|
|
|
ω
|
11
|
12
|
13
|
14
|
15
|
|
4,4·10-133,8·10-133,1·10-132,4·10-131,8·10-13
|
|
|
|
|
|
|
ω
|
16
|
17
|
18
|
19
|
20
|
|
1,3·10-138,605·10-145,443·10-143,254·10-141,838·10-14
|
|
|
|
|
|
Рис.23. Графік спектральної щільності
гірорами.

Методом інтегрування розрахуємо площу,
замкнену під кривою ΔS (аx) і осями координат:
Для визначення складової похибки від
лінійних вертикальних прискорень σ (аz) обчислимо значення
дисперсії:

де P - площа, замкнена під кривою ΔS (аz) і осями координат;
- масштаб;
Значення складових похибок:




Аналізуючи значення складових похибок, ми
можемо зробити висновок, що основний вплив на сумарну похибку стабілізації
здійснюють горизонтальні кутові коливання, що діють на корпус.
Обчислимо сумарну помилку стабілізації із
виразу:
Таким чином, сумарна помилка стабілізації
двоплощинної гірорами з розв’язаними гіроскопами дорівнює 0,53 т.п.
2.3.2
Розрахунок точності двоплощинної гіроскопічної рами з просторовим шарніром
На рис.24 зображена структурна схема
двоплощинної гірорами з просторовим шарніром, яка застосовується в прицілах
1Г46.
Рис.24. Структурна схема силового
стабілізатора лінії прицілювання.
Розглядаючи роботу гірорами при
стабілізації в вертикальній площині можна сказати, що на неї діють такі
зовнішні збурення: швидкість поздовжніх кутових коливань φк; швидкість горизонтальних кутових коливань ψк; горизонтальне лінійне прискорення αz; поздовжнє лінійне прискорення аx. Це
призводить до виникнення похибки стабілізації а гірорами. Із структурної
схеми визначимо передавальну функцію Wx (p) двоплощинної
гірорами:

де Кр - передавальний
коефіцієнт рамки; Кг - передавальний коефіцієнт гіроскопа; Н
- головний кінематичний момент гіроскопа.
Момент збурення Мх складається
з моменту тертя МТР і моменту неврівноваженості МН
і може бути знайдений із виразу:
х=MТР+MH=
fxpφk + mplHXaz.
Виходячи із формули, похибку стабілізатора
гармати а при дії на рамку збурюючого моменту Мх визначимо
за виразом
1=MxWx
(p) =Mx/2H2p.
В виразі зробимо заміну Мх правою
частиною згідно формули. Отримаємо

Для знаходження помилки гірорами при дії
на неї моменту М визначимо передаточну функцію Wу (р)
Момент Му, що
прикладений до рамки гіроскопа, визначається сумою моментів тертя MТР
і неврівноваженості МН
Му =MТР+MH=
fy1pψk + mplHY1ax.
Таким чином, помилка стабілізації гірорами
у разі дії на неї моменту збурення Му буде визначатись із
виразу:

На основі рівнянь і сумарна похибка aΣ стабшізації гірорами у разі впливу моментів
збурення Мх та Му буде дорівнювати:
Знайдемо значення кожної складової, на
основі яких визначимо сумарну помилку стабілізації гірорами σaΣ.
Задамо вихідні дані чисельних параметрів:
f = 20 г·см·с - коефіцієнт
в'язкого тертя;
fх = 135 г·см·с - коефіцієнт
в'язкого тертя;
Н = 4180 г·см·с -
кінетичний момент;
fx1 = fу1
= 40
г·см·с - коефіцієнт в'язкого тертя;
mp = 2000 г - вага
рами;
lнх = 0.1 см - плече
нерівноваги;
тг = 400 г - вага гіроскопа;
lну1 = lну
= 0,08
см - плече нерівноваги.

Таким чином, складова від
поздовжньо-кутового коливання σaΣ (φk) буде дорівнювати:
Підставимо в формулу вибране значення Sφk з табл.1 і знайдемо значення першої складової
похибки aΣ:

Аналогічно визначаємо складові від
горизонтальних кутових коливань:
Для визначення складових від лінійних
вертикальних прискорень скористаємось графічним способом:
Визначаємо квадрат модуля амплітудно-фазочастотної характеристики
, для значень частоти ω від 0 до 20. Після цього зводимо
отримані результати в табл.8, та зобразимо залежність на графіку (рис.25).
Таблиця 8
Залежність квадрату модуля
амплітудно-фазочастотної характеристики від значень частоти ω:
|
ω
|
1
|
2
|
3
|
4
|
5
|
|
1,361·10-103,404·10-111,513·10-118,509·10-125,446·10-12
|
|
|
|
|
|
|
ω
|
6
|
7
|
8
|
9
|
10
|
|
3,782·10-122,779·10-128,509·10-121,681·10-121,361·10-12
|
|
|
|
|
|
|
ω
|
11
|
12
|
13
|
14
|
15
|
|
1,125·10-129,455·10-138,056·10-136,946·10-136,051·10-13
|
|
|
|
|
|
|
ω
|
16
|
17
|
18
|
19
|
20
|
|
5,318·10-134,711·10-134,
202·10-133,771·10-133,404·10-13
|
|
|
|
|
|
Рис.25. Квадрат модуля
амплітудно-фазочастотної характеристики.
Для побудови графіку спектральної
щільності прискорень задамо її за допомогою нормального закону розподілення
відповідно до теорії вірогідності занесемо значення у відповідності до значень
частоти ω у табл.9 та побудуємо графік спектральної щільності прискорень
(рис.26):
,
де: σ=4; mo=12 (в залежності від
побудови графіка спектральної щільності прискорень).
Таблиця 9
Залежність спектральної щільності
прискорень від значень частоти ω:
|
ω
|
1
|
2
|
3
|
4
|
5
|
|
2,273·10-34,382·10-37,935·10-30,0130,022
|
|
|
|
|
|
|
ω
|
6
|
7
|
8
|
9
|
10
|
|
0,0320,0460,060,0750,088
|
|
|
|
|
|
|
ω
|
11
|
12
|
13
|
14
|
15
|
|
0,0970,10,0970,0880,75
|
|
|
|
|
|
|
ω
|
16
|
17
|
18
|
19
|
20
|
|
0,060,0460,0320,0220,013
|
|
|
|
|
|
Рис.26. Графік спектральної щільності
прискорень.
Для отримання значень спектральної
щільності гірорами перенесемо графік спектральної щільності прискорень на
графік квадрату модуля амплітудно-фазочастотної характеристики у масштабі. При
перемноженні ординати двох графіків на кожному із значень частоти ω отримаємо спектральну щільність помилки гірорами (рис.27).
Отримані значення спектральної щільності гірорами занесемо до табл.10.
Таблиця 10
Залежність спектральної щільності гірорами
від значень частоти ω:
|
ω
|
1
|
2
|
3
|
4
|
5
|
|
3,1·10-131,5·10-131,2·10-131,14·10-131,18·10-13
|
|
|
|
|
|
|
ω
|
6
|
7
|
8
|
9
|
10
|
|
1,22·10-131,22·10-131,28·10-131,26·10-131,2·10-13
|
|
|
|
|
|
|
ω
|
11
|
12
|
14
|
15
|
|
1,08·10-139,4·10-147,8·10-146,2·10-144,6·10-14
|
|
|
|
|
|
|
ω
|
16
|
17
|
18
|
19
|
20
|
|
3,2·10-142,2·10-141,3·10-148,134·10-154,594·10-15
|
|
|
|
|
|
Рис.27. Графік спектральної щільності
гірорами.
Методом інтегрування розраховуємо площу,
замкнену під кривою
ΔS (аz) і осями координат:

Для визначення складової похибки від
лінійних вертикальних прискорень σ (аz) обчислимо значення
дисперсії:
де P - площа, замкнена під кривою ΔS (аz) і осями координат;
-масштаб.
Аналогічно за допомогою графоаналітичного
способу знайдемо складову σа (ах) від лінійних поперечних
прискорень:
Визначаємо квадрат модуля амплітудно-фазочастотної характеристики
, для значень частоти ω від 0 до20. Після цього зводимо
отримані результати до табл.11, та відображаємо залежність на графіку (рис.28)
Таблиця 11
Залежність квадрату модуля амплітудно-фазочастотної
характеристики від значень частоти ω:
|
ω
|
1
|
2
|
3
|
4
|
5
|
|
1,52·10-73,806·10-81,692·10-89,515·10-96,09·10-9
|
|
|
|
|
|
|
ω
|
6
|
7
|
8
|
9
|
10
|
|
4,229·10-93,107·10-92,379·10-91,88·10-91,522·10-9
|
|
|
|
|
|
|
ω
|
11
|
12
|
13
|
14
|
15
|
|
1,258·10-91,057·10-99,009·10-107,768·10-106,767·10-10
|
|
|
|
|
|
|
ω
|
16
|
17
|
18
|
19
|
20
|
|
5,947·10-105,268·10-104,699·10-104,217·10-103,806·10-10
|
|
|
|
|
|
Рис.28. Квадрат модуля
амплітудно-фазочастотної характеристики.
Для побудови графіку спектральної
щільності прискорень задамо її за допомогою нормального закону розподілення
згідно теорії вірогідності занесемо значення у відповідно до значень частоти ω до табл.12 та побудуємо графік спектральної щільності прискорень
(рис.29):
,
де σ=4; mo=12 (в залежності від
побудови графіка спектральної щільності прискорень).
Таблиця 12.
Залежність спектральної щільності
прискорень від значень частоти ω:
|
ω
|
1
|
2
|
3
|
4
|
5
|
|
2,273·10-34,382·10-37,935·10-30,0130,022
|
|
|
|
|
|
|
ω
|
6
|
7
|
8
|
9
|
10
|
|
0,0320,0460,060,0750,088
|
|
|
|
|
|
|
ω
|
11
|
12
|
13
|
14
|
15
|
|
0,0970,10,0970,0880,75
|
|
|
|
|
|
|
ω
|
16
|
17
|
18
|
19
|
20
|
|
0,060,0460,0320,0220,013
|
|
|
|
|
|
Рис.29. Графік спектральної щільності
прискорень.
Для отримання значень спектральної
щільності гірорами перенесемо графік спектральної щільності прискорень на
графік квадрату модуля амплітудно-фазочастотної характеристики в масштабі. При
перемноженні ординати двох графіків на кожному із значень частоти ω отримаємо спектральну щільність помилки гірорами (рис.30).
Отримані значення спектральної щільності гірорами занесемо до табл.13.
Таблиця 13
Залежність спектральної щільності гірорами
від значень частоти ω:
|
ω
|
1
|
2
|
3
|
4
|
5
|
|
3,46·10-101,66·10-101,34·10-101,28·10-101,32·10-10
|
|
|
|
|
|
|
ω
|
6
|
7
|
8
|
9
|
10
|
|
1,36·10-101,42·10-101,44·10-101,42·10-101,34·10-10
|
|
|
|
|
|
|
ω
|
11
|
12
|
13
|
14
|
15
|
|
1,22·10-101,06·10-108,8·10-116,8·10-115·10-11
|
|
|
|
|
|
|
ω
|
16
|
17
|
18
|
19
|
20
|
|
3,6·10-112,4·10-111,5·10-119,096·10-125,138·10-12
|
|
|
|
|
|
Рис.30. Графік спектральної щільності
гірорами.
Методом інтегрування розрахуємо площу,
замкнену під кривою
ΔS (аx) і осями координат:

рад2.
Для визначення складової похибки від
лінійних вертикальних прискорень σ (аz) обчислимо значення
дисперсії:
де P - площа, замкнена під кривою ΔS (аz) і осями координат;
- масштаб;
Значення складових похибок:




Аналізуючи значення складових похибок, ми
можемо зробити висновок, що основний вплив на сумарну похибку стабілізації
здійснюють горизонтальні кутові коливання, що діють на корпус.
Обчислимо сумарну помилку стабілізації із
виразу:
Таким чином, сумарна помилка стабілізації двоплощинної
гірорами з просторовим шарніром дорівнює 0,21 т.п.
2.4
Висновки до розділу
На основі проведеного аналізу
точності систем стабілізації поля зору сучасних танкових прицілів на основі
електромеханічних гіроскопів можна стверджувати про перевагу двоплощинної
гірорами з просторовим шарніром у порівнянні із двоплощинною гірорамою з
розв’язаними гіроскопами за показниками точності.
Значення сумарної помилки даного типу
гірорами коливається в границях 0,21 т.п. Що стосується поліпшення
проблеми точностних характеристик конструктора стикаються з проблемами
пов’язаними із збільшенням вагогабаритних характеристик, що в свою чергу
призводить до труднощів при виготовленні та збільшення їх вартості. Тому
альтернативним та принциповим рішенням поліпшення точностних характеристик є
застосування нових типів матеріалів, технологій і, нарешті, нових типів
гіроскопів.
3.
Дослідження систем стабілізації поля зору перспективних танкових прицілів на
основі волоконно-оптичних гіроскопах
3.1
Тенденції розвитку датчиків чутливості стабілізаторів поля зору (гіроскопів)
Термін гіроскоп, який можна
перевести як "спостерігач обертань" (від грец. gyros - круг, gy-reuo
- кружляюся, обертаюся і scopeo - дивлюся, спостерігаю), був запропонований у
1852 році французьким вченим Леоном Фуко для винайденого ним приладу,
призначеному для демонстрації обертання Землі навколо своєї осі. Для цього Фуко
використав швидкообертовий пристрій, який названий кардановим підвісом, а тому
довгий час слово "гіроскоп" використовувалося для позначення
швидкообертового симетричного твердого тіла [17].
Згідно з законами класичної ньютонівської механіки, швидкість
повороту осі гіроскопа в просторі обернено пропорційна його власній кутовій
швидкості і, отже, вісь швидкообертового гіроскопа повертається так повільно,
що на деякому інтервалі часу її можна використовувати як покажчик незмінного
напряму в просторі.
Гіроскопічні прилади можна розділити на
вимірювальні та силові [10,14]. Силові служать для створення моментів сил,
прикладених до основи, на якій встановлений гіроприлад, а вимірювальні
призначені для визначення параметрів руху основи (вимірюваними параметрами
можуть бути кути повороту основи, проекції вектора кутової швидкості і тощо).
3.1.1
Класичні електромеханічні гіроскопи
Найпростішим гіроскопом, з незвичайними
властивостями якого ми знайомі ще з дитинства, є дзига. Парадоксальність
поведінки дзиги полягає в її опорності змінити напрям осі обертання. через дію
зовнішньої сили вісь дзиги (гіроскопа) починає рухатися (прецесувати) в
напрямі, перпендикулярному вектору сили. Саме через цю властивість дзига, що
обертається, не падає, а її вісь описує конус навколо вертикалі. Цей рух
називається регулярною прецесією важкого твердого тіла.
Основною кількісною характеристикою ротора
механічного гіроскопа є його вектор власного кінетичного моменту, званого також
моментом кількості руху або моментом імпульсу:
H=CΩ, (3.1)
де: С - момент інерції ротора
гіроскопа щодо осі власного обертання;
Ω - складова вектора абсолютної кутової швидкості ротора, яка
направлена по осі власного обертання.
Повільний рух вектора власного кінетичного
моменту гіроскопа під дією моментів зовнішніх сил називається прецесією
гіроскопа і описується векторним рівнянням:
ωН = М, (3.2)
де ω - вектор кутової
швидкості прецесії;
Н - вектор власного
кінетичного моменту гіроскопа;
М - ортогональна до
моменту імпульсу Н складова вектора моменту зовнішніх сил, прикладених
до гіроскопа.
Момент сил, прикладених з боку ротора до
підшипників вісі власного обертання ротора, що виникає під час зміни напряму
осі, називається гіроскопічним моментом і описується рівнянням:
Мg =-М=Hω. (3.3)
Похибка гіроскопа вимірюється швидкістю
відходу його вісі від первинного положення. Згідно з рівнянням (3.2), величина
відходу, званого також дрейфом, виявляється пропорційною моменту сил М щодо
центру підвісу гіроскопа:
. (3.4)
Відхід
зазвичай вимірюється в кутових градусах
на момент одиниці часу.
З формули (3.4) витікає, що вільний
гіроскоп функціонує ідеально лише в тому випадку, якщо зовнішній момент М
дорівнює нулю. При цьому вісь власного обертання в точності збігатиметься з
необхідним напрямом інерціального простору - напрямом на нерухому зірку.
На практиці будь-які засоби, використовувані для підвішення
ротора гіроскопа, є причиною виникнення небажаних зовнішніх моментів невідомої
величини і напряму. На перший погляд формула (3.4) тривіальна і визначає
очевидні шляхи підвищення точності гіроскопа: треба зменшити шкідливий момент
сил М і збільшити кінетичний момент гіроскопа Н. Однак будь-яке
істотне просування на цьому шляху вимагає вирішення складних проблем як в
області теорії, так і в області технології. Формула (1.5) дає можливість
оцінити рівень вимог, що стоять перед розробниками гіроскопів. Припустимо, що
ротор гіроскопа являє собою однорідний сталевий циліндр радіусу r = 3 см
і висотою h = 2 см. Маса такого ротора т = 0,458 кг, вага Р=
4,5H, момент інерції ротора гіроскопа щодо осі симетрії С= тr2/2
= 2,06 · 10-4 кг · м2. За кутової швидкості Ω = 60 000 об/хв кінетичний момент гіроскопа Н= 1,3 Н · м
·с. Якщо центр мас нашого гіроскопа зміщений від центру карданового підвісу на
величину l= 1 мкм, то шкідливий момент М - Pl = = 4,5 · 10-6
H · м. Згідно формулі (3.4), уведення даного гіроскопа складає:
град/год. (3.5)
Кращі сучасні гіроскопи, про які мова піде
нижче, мають випадковий відхід на рівні 10-4-10-5 град/год.
Вісь гіроскопа з похибкою 10-5
град/год здійснює повний оберт на 360° за 4 тис. років! З наведеного вище
прикладу виходить, що точність балансування класичного гіроскопа з похибкою 10-5
град/год повинна бути краще за одну десятитисячну частку мікрона
(10-10 м), тобто зсув центру мас ротора з центра підвішення не
повинен перевищувати величину діаметра атома водню, що нереально.
Вперше урівноважений гіроскоп знайшов
практичне (на жаль, негуманне) застосування в пристрої для стабілізації курсу
торпеди, винайденому в 80-х роках позаминулого сторіччя інженером Обрі.
Гіроскоп Обрі встановлювався в кардановому підвісі так, щоб його вісь обертання
була паралельна поздовжній осі торпеди. Ротор гіроскопа приводився до обертання
за декілька секунд до пострілу, коли вісь торпеди була вже направлена на ціль.
Під час руху торпеди гіроскоп продовжував зберігати початковий напрям і у разі
виникнення відхилень торпеди повертав її кермо так, щоб забезпечити незмінність
курсу. Аналогічні прилади в різних варіантах виконання і під різними
найменуваннями в 20-х роках минулого сторіччя почали використовувати також на
літаках для вказання курсу (гіроскопи напряму, гіронапівкомпаси), а пізніше для
керування рухом ракет, та стабілізації артилерійського озброєння.
3.1.2
Нові типи гіроскопів
Постійно зростаючі вимоги до точнісних і
експлуатаційних характеристик гіроскопічних приладів стимулювали учених і
інженерів багатьох країн світу не тільки до подальших удосконалень класичних
гіроскопів з ротором, що обертався, але і до пошуків принципово нових ідей, що
дозволяють вирішити проблему створення чутливих датчиків для індикації і вимірювання
з великою точністю кутових рухів об'єкта в просторі [11,15].
На сьогодні час відомо більше ста різних
явищ і фізичних принципів, що дозволяють вирішувати гіроскопічні завдання, тому
зупинимося тільки на найцікавіших напрямах, за допомогою яких отримані найбільш
значні практичні результати та наведемо коротко характеристику деяких найбільш
цікавих гіроскопів для стабілізаторів поля зору.
Зупінімся коротко на характеристиці деяких
найбільш цікавих гіроскопів для стабілізаторів поля зору.
3.1.2.1
Гіроскопи з газостатичною опорою підвісу
Газостатичні опори підвісу застосовуються
для підвищення точності, надійності і динамічних властивостей гіроприладів.
У цих гіроскопах розробники замінили
кулькові підшипники, які застосовуються в традиційному кардановому підвісі,
газовою подушкою, що повністю усунуло вплив зношення матеріалу опор під час
роботи і дозволило майже необмежено збільшити час роботи приладу. Жорсткість
аеродинамічного підвісу не менша, ніж звичайних кулькоподібних підшипників. До
недоліків газових опор слід віднести досить великі втрати енергії на роботу
зовнішніх джерел газа і можливість раптової відмови через випадковий контакт
поверхонь опори між собою.
3.1.2.2
Поплавкові гіроскопи
Поплавковим гіроскопом (ПГ) є класичний
роторний гіроскоп, в якому для розвантаження підшипників підвісу всі рухомі
елементи врівноважені в рідині з великою питомою вагою так, щоб вага ротора
разом з кожухом врівноважувалася гідростатичними силами. Завдяки цьому у багато
разів знижується сухе тертя в осях підвісу і збільшується ударна і вібраційна
стійкість приладу. Герметичний кожух, що виконує роль внутрішньої рамки
карданового підвісу, називається поплавком. Конструкція поплавка повинна бути
максимально симетричною. Ротор гіроскопа всередині поплавка обертається на
повітряній подушці в аеродинамічних підшипниках із швидкістю 30 - 60 тис.
обертів у хвилину. ПГ з великим в'язким тертям рідини називається також
інтегруючим гіроскопом.
ПГ до теперішнього часу залишається одним
з найбільш поширених типів гіроскопів і, безумовно, найбільш ширше застосування
знайдуть найближчими роками, оскільки грунтується на добре відпрацьованих
технологіях, могутній виробничій базі. Але нові розробки ПГ, мабуть,
недоцільні, оскільки подальше підвищення точності потребує створення більш
високих технологій і навряд чи буде економічно виправданим.
3.1.2.3
Кільцеві лазерні гіроскопи
Кільцевий лазерний гіроскоп (КЛГ), званий
також квантовим гіроскопом, створений на основі лазера з кільцевим резонатором,
в якому по замкнутому оптичному контуру одночасно розповсюджуються зустрічні
електромагнітні хвилі. Довжини цих хвиль визначаються умовами генерації, згідно
з якими на довжині периметра резонатора повинне укластися ціле число хвиль,
тому на нерухомій основі частоти цих хвиль збігаються. Під час обертання
резонатора лазерного гіроскопа шлях, що проходять промені по контуру, стає
різним і частоти зустрічних хвиль стають неоднаковими. Хвильові фронти променів
інтерферують один з одним, створюючи інтерференційні смуги. Обертання
резонатора лазерного гіроскопа приводить до того, що інтерференційні смуги
починають переміщуватися зі швидкістю, пропорційній швидкості обертання
гіроскопа. Інтегрування за часом вихідного сигналу лазерного гіроскопа,
пропорційного кутовій швидкості, дозволяє визначити кут повороту об'єкта, на
якому встановлений гіроскоп.
До переваг лазерних гіроскопів слід
віднести перш за все відсутність ротора, що обертається, підшипників, схильних
до дії сил тертя. У даний час розроблені лазерні гіроскопи, що мають точність
на рівні 2·10 - 3…5·10-1 град/год.
3.1.2.4
Волоконно-оптичні гіроскопи
Значні досягнення в області розробки і
промислового випуску світловодів з мінімальним значенням погонного загасання і
інтегральними оптичними компонентами даних призвели до початку робіт над волоконно-оптичним
гіроскопом (ВОГ), котрий є волоконно-оптичним інтерферометром, в якому
розповсюджуються зустрічні електромагнітні хвилі. Найбільш поширений варіант
ВОГ - багатовиткова котушка оптичного волокна. Досягнута в лабораторних зразках
точність ВОГ наближається до точності КЛГ. ВОГ через простість конструкції є
одним з найбільш дешевих середньої та високої точності гіроскопів, і можна
сподіватися, що він витисніть КЛГ у діапазоні точності 10-2 град/год
і нижче.
Волоконний оптичний гіроскоп (ВОГ) відноситься
до оптично-електронних приладів, створення і розвиток яких став можливим
завдяки останнім досягненням в області елементної бази квантової електроніки.
ВОГ відноситься до оптичних гіроскопів, принцип дії яких заснований на
вихровому (обертальному) ефекті Саньяка [7,15]. Цей прилад у ряді випадків може
повністю замінити складні і дорогі електромеханічні (роторні) гіроскопи і
двовісьові гіроскопічні платформи і рами.
Можливість створення реального
високочутливого ВОГ з'явилася лише з промисловою розробкою одномодового
діелектричного світловода з малим загасанням, а також інших компонентів на
інтегральних оптичних схемах. Сама ідея ВОГ "визріла" в процесі робіт
по розробці кільцевого лазерного гіроскопа (КЛГ). У КЛГ чутливим елементом є
кільцевий резонатор, що самозбуджується, з активним газовим середовищем і
дзеркалами, що відбивають, тоді як у ВОГ пасивний багатовитковий діелектричний
контур світловода збуджується "зовнішнім" джерелом світлового
випромінювання.
3.2
Переваги волоконно-оптичних гіроскопів
Переваги
волоконно-оптичних гіроскопів у порівнянні з кільцевими лазерними гіроскопами:
а) у ВОГ відсутня синхронізація типів
коливань, які зустрічно прямують, поблизу нульового значення кутової швидкості
обертання, а це дозволяє вимірювати дуже малі кутові швидкості без необхідності
конструювати складні в настройці пристрою зсуви нульової точки;
б) конструкція ВОГ цілком виконується на
інтегральних оптичних схемах, що полегшує експлуатацію і підвищує надійність;
в) ВОГ вимірює швидкість обертання основи,
тоді як КЛГ фіксує приріст швидкості;
г) ефект Саньяка у ВОГ виявляється на
декілька порядків сильніше із-за малих втрат в оптичному волокні і більшою у
порівнянні з довжиною оптичного контура КЛГ довжиною волокна світловода;
д) конфігурація ВОГ дозволяє відчувати
реверс напряму обертання.
Переваги
волоконно-оптичних гіроскопів у порівнянні з класичними (електромеханічними)
гіроскопами:
а) підвищена надійність і дешевизна під
час виготовлення у зв'язку з відсутністю механічних елементів, що обертаються,
і підшипників;
б) практично миттєва готовність до роботи,
оскільки не витрачається час на розкручування ротора;
в) малі габарити і маса конструкції,
завдяки можливості створення ВОГ повністю на інтегральних оптичних схемах;
г) висока чутливість приладу (точність),
що досягається при невисокій вартості виробництва і відносній простоті
технології виготовлення;
д) незначне споживання енергії при
стандартному низьковольтному електроживленні;
е) великий динамічний діапазон вимірювання
кутових швидкостей одним і тим же приладом;
ж) нечутливість до великих лінійних
прискорень і працездатність в умовах високих механічних перевантажень;
з) висока перешкодостійкість, нечутливість
до могутніх зовнішніх електромагнітних дій завдяки діелектричній природі
волокна;
и) слабка схильність проникаючої
гама-нейтронної радіації;
к) здатність працювати в інерціальній
системі керування і стабілізації об'єкту без гіромеханічних похибок.
3.3
Принцип дії волоконно-оптичного гіроскопа
На початку XX сторіччя фізики різних країн
провели ряд експериментів зі світловим світловодом, використовуючи установки,
які згодом стали основою для створення сучасних оптичних гіроскопів. До них, в
першу чергу, відноситься волоконно-оптичний гіроскоп (ВОГ).
У оптичних гіроскопах немає ротора. Ці
прилади носять назви гіроскопічних тому, що можуть виконувати ті ж функції, що
і гіроскоп (тобто використовуючи переклад з грецького слова
"гіроскоп" - покажчик обертання). Основним елементом оптичного
гіроскопа - є замкнутий оптичний контур, по якому розповсюджуються світлові
промені, що зустрічно прямують.
У ВОГ замкнутий оптичний контур створений
багатовитковою котушкою оптичного волокна.
Принцип дії оптичних гіроскопів заснований
на "вихровому" ефекті Саньяка, який відкритий цим вченим у 1913р.
Розглянемо зміст вихрового ефекта. Якщо в замкнутому оптичному контурі в
протилежних напрямах розповсюджуються два світлових променя, то при нерухомому
контурі фазові набіги обох променів, що пройшли весь контур, будуть однаковими.
Під час обертання контура навколо вісі, перпендикулярної до площини контура,
фазові набіги променів неоднакові, а різниця фаз променів пропорційна кутовій
швидкості обертання Ω контура Q.
На рис.31. зображений ідеальний кільцевий
оптичний контур радіусу RK. Промінь світла приходить у точку А
і за допомогою дзеркал 31 і 32 розщеплюється
на два променя, один з яких розповсюджується у контурі за годинниковою
стрілкою, а інший проти годинникової стрілки.
Рис.31. Ефект Саньяка в кільцевому
оптичному контурі.
За допомогою цих же дзеркал, після
розповсюдження в контурі, промені об'єднуються і прямують одним шляхом. При
нерухомому контурі шляху проходження променів однакові і рівні:
(3.6)
де с - швидкість світла;
- час проходження периметра контура променем.
Обидва променя приходять у точку А
на розщеплювач у фазі. Якщо контур (основа) обертається з постійною кутовою
швидкістю Ω, то промінь, який розповсюджується за
годинниковою стрілкою, перш ніж потрапляє на розщеплювач, що переміщається,
пройде шлях:

(3.7)

Це викликано тим, що за час проходження променем по замкнутому
контуру розщеплювач, який знаходився раніше в точці А, піде в точку В.
Для променя, що розповсюджується проти годинникової стрілки, шлях буде:
. (3.8)
Як видно, шляхи розповсюдження променів,
що протилежно рухаються, різні. Оскільки швидкість світла величина постійна, це
еквівалентно різному часу проходження променів, що розповсюджуються у
протилежних напрямах замкнутого контура, які обертається, τ+ і τ-. Різниця часу
розповсюдження променів, або відносне запізнювання зустрічних хвиль:
(3.9)
або в наближенні першого порядку (по RK
відносно с)
.
(3.10)
Вважаючи, що
- площа всього контура, вираз запишеться
у вигляді:

(3.11)
Якщо відносне запізнювання зустрічних хвиль, яке з’явилось
під час обертання, виразити через різницю фаз зустрічних хвиль, то вона складе:

(3.12)
де
- кутова швидкість хвиль випромінювання;
- довжина хвиль випромінювання;
v - частота
випромінювання.
Різниця фаз
називається фазой Саньяка, та як видно із
формули, вона пропорційна кутової швидкості обертання Ω оптичного контура.
Як уже згадувалось, у ВОГ контур створений багатовитковою котушкою
оптичного волокна. Якщо довжина нитки оптичного волокна L, та вона
накручена на циліндр радіуса R, то фаза Саньяка для ВОГ складає:

(3.13)
де N - число витків в котушці контура;
SB - площа витка контура;
Ω - кутова швидкість основи з
розташованим на ній контуром.
Вимірюючи електронним пристроєм різницю фаз, можна отримати
інформацію про кутову швидкість обертання підстави (об'єкту), на якій
закріплений оптичний контур. Інтегруючи виміряний сигнал, отримують кут
повороту основи (об'єкту). Ця інформація потім використовується для управління
і стабілізації об'єктів (дзеркал).
3.4
Основні елементи волоконно-оптичного гіроскопа
На рис.32. представлена схема пристрою
ВОГ. Випромінювання лазерного діода (світловий випромінювач 1) подається на
світлоподільник 2 та поділяються на два променя. Два променя, що обійшли контур
в протилежних напрямах, рекомбінують на світлоподільнику 2 і змішуються у
фотодетекторі 3.
Як відомо основними елементами ВОГ є
волоконний контур, світловий випромінювач і фотодетектор. Наявність цих
елементів необхідна, але недостатня для конструкції даного гіроскопа. Залежно
від конструктивних особливостей конкретного типу ВОГ використовуються самі
різні типи оптичних елементів і електронних систем обробки сигналу. Так, разом
із згаданими вище трьома оптичними елементами в конструкціях ВОГ застосовують
поляризатори, фазові пластинки, ротатори (обертаючі площини поляризації),
фазові і частотні модулятори, з'єднувачі і світлоподільники променів,
просторові фільтри, дзеркала, інтегральні оптичні схеми тощо.
Розглянемо основні елементи ВОГ:
Рис.32. Принципова схема ВОГ.
1 - світловий випромінювач, 2 -
світлоподільник, 3 - фотодетектор, 4 - електронний пристрій обробки.
Волоконно-оптичний контур виготовляють з
одного з трьох видів оптичного волокна, використаних у ВОГ: багатомодового, одномодового
і одномодового зі стійкою поляризацією.
Ступінчасті багатомодові світлопроводи, у
якого показник заломлення осердя постійний, мають велику дисперсію світлового
імпульсу (50 нс/км) і відносно вузьку смугу пропускання (10.20 Мгц · км).
Багатомодові світлопроводи застосовувалися на початковій стадії розвитку ВОГ,
проте властиві ним недоліки, зокрема, погані дисперсійні характеристики,
привели до того, що багатомодовий світлопровід був витиснений одномодовим.
В останні роки для виготовлення ВОГ розробники
все частіше використовують так зване одномодове волокно (a /λ =5…10, де а - радіус світловедучого осердя, λ - довжина хвилі світла із стійкою поляризацією), що дозволяє
зменшити втрати, зберегти поляризацію моди на великих довжинах світловода, позбавитись
причин невзаємностей (відсутність дисперсії мод та зменшення дисперсії
матеріалу), проте вимагає розробки прецизійних з'єднувачів, поляризаторів,
фільтрів, фазових модуляторів та інших елементів, побудованих безпосередньо на
одномодовому оптичному волокні.
Збереження поляризації досягають
спеціальними методами виготовлення одномодового волокна: методом індуктованого
двопроменезаломлення матеріалу волокна, або методом введення геометричної
еліптичності в осерді волокна, або комбінацією цих двох методів.
Як світловий випромінювачи в конструкціях
ВОГ використовують, як правило, напівпровідникові лазери (лазерні діоди - ЛД),
світлодіоди (СД) і суперлюмінісцентні діоди (СЛД).
ЛД привабливі для виготівників ВОГ малими
габаритами і масою, високим коефіцієнтом корисної дії, твердотільною
конструкцією, прямим струмовим накачуванням і малою вартістю. Шляхом уведення
різних домішок у матеріал напівпровідника ЛД можна перекривати необхідний
діапазон довжин хвиль випромінювання.
СД у порівнянні з ЛД простіші в конструктивному
виконанні, володіють меншою температурною залежністю потужності випромінювання
і мають високі показники надійності. СД генерують некогерентне випромінювання і
спектральний розподіл лінії випромінювання принаймні на порядок ширше за лінію
випромінювання ЛД. Широкий спектр випромінювання СД дуже сприятливий для ВОГ,
оскільки за рахунок малої довжини когерентності дозволяє компенсувати вплив
ефекту Керра і зворотнього релеєвского розсіяння. Але коефіцієнт введення
випромінювання СД в світловоди з низькою числовою апертурою значно менше, ніж
для ЛД.
СЛД знаходяться в проміжку між ЛД і
СД. СЛД - це лазерний діод з ширшою смугою переходу для генерації більшого
числа типів коливань (мод) і противідбивним покриттями граней. Відомо, що у
звичайного інжекційного лазерного діода ширина спектру випромінювання складає
0,01.0,1 нм, а в суперлюмінісцентному діоді 20.50 нм. Тому СЛД використовуються
в багатьох конструкціях ВОГ завдяки достатньо гарною сполученості зі
світловодом - майже такой, яка досягається у ЛД із застосуванням додаткових
лінз для належного фокусування світла. Це необхідно для того, щоб випромінювач
інжектував в одномодовий волоконний світловід достатню оптичну потужність,
близько 100 і більше мікроват.
Фотодетектор ВОГ перетворює оптичну інтерференційну
картину на його вході у вихідний електричний сигнал. Оскільки інтенсивність
інтерференційного оптичного сигналу залежить від співвідношення фаз двох
променів, що інтерферують, амплітуда електричного сигналу, лінійно пов'язана з
інтенсивністю оптичного сигналу, відображає згадані фазові співвідношення. У
свою чергу, відповідно до ефекту Саньяка, різниця фаз двох променів пропорційна
кутовій швидкості обертання ВОГ. Ця специфіка застосування фотодетектора у ВОГ
накладає певні вимоги на параметри і характеристики фотодетектора. Перш за все
фотодетектор повинен володіти дуже високою чутливістю або високим дозволом з
тим, щоб "відчувати" такі градаційні зміни інтенсивності
випромінювання, які відповідають різниці оптичних коливань порядку 10-7 рад,
що еквівалентно кутовій швидкості обертання ВОГ приблизно 10-2.10-3
град/год.
Для суттєвого підвищення чутливості до
малих змін інформативного параметру, тобто фази Саньяка, у волоконний контур
розміщують фазовий модулятор, який дає взаємний зсув π/2 між двома променями, які рухаються протилежно. В такій схемі
інтенсивність випромінювання на фотодетекторі при малих кутових швидкостях
змінюється лінійно. У разі нехтування постійною складовою вихідного струму і
введення фазового зсуву π/2 вихідний струм фотодетектора
при малих значеннях зміни фази Саньяка Δφс визначається із виразу:

, (3.14)
де Dф =ηq/ηf - коефіцієнт перетворення фотодетектора;
η - квантова ефективність фотодетектора;
q - заряд
електрона;
f - частота
оптичного випромінювання.
Таким чином, значення вихідного струму фотодетектора прапорційно
фазі Саньяка, яка в свою чергу, прапорційна кутовій швидкості обертання
волоконного контура (основи).
Виявлення кутової швидкості обертання волоконного контура
значенням 1 град/год вимагає реєстрації фази (різниці фаз променів, які
рухаються на зустріч) з роздільною здатністю порядка 10-5 рад.
Фотодетектор також повинен забезпечувати необхідний динамічний
діапазон і швидкодію, відповідати умовам сумісності зі світловодами і
електронними пристроями, споживати малу енергію, мати малі габарити і масу,
бути дешевим. Спектральна характеристика фотодетектора повинна бути узгоджена з
довжиною хвилі світлового випромінювача. Окрім цього характеристики
фотодетектора повинні бути якнайменше залежні від змін навколишніх умов (температура,
вібрація, удари тощо).
Указаним вимогам у даний час найповніше відповідають твердотілі
напівпровідникові фотодіоди (ФД), р-i-n-фотодіоди і лавинні фотодіоди (ЛФД).
ФД властиві якісна спектральна і інтегральна чутливість, вони
володіють високою квантовою ефективністю і малою інерційністю, параметри ФД
стабільні в часі. Принцип роботи ФД заснований на фотовольтовому ефекті, який
полягає в тому, що під час опромінювання неоднорідного напівпровідника світлом
виникає фотострум (або фото-ЕДС). ФД сконструйовані на основі
р-n переходів, а фотозбуджені електрони і дірки, області переходу,
що утворюються усередині, і в об'ємі напівпровідника дифундують до переходу,
утворюючи фотострум.
Для утворення вільної електронно-діркової пари з обох боків від
p-n-перехода необхідно, щоб енергія поглиненого фотона була більше ширини
забороненої зони. Утворення і дифузія пар "електрон-дірка"
супроводжується появою потенціалу в перерізі переходу. Під дією електричного
поля переходу електрон рухається у напрямі n-області, а дірка - у напрямі
р-області. Таким чином, відбувається, розщеплювання пар. Надлишок електронів в
n-области і дірок в р-области приводить до того, що n-область заряджає
негативно, а р-область - позитивно. На розімкнених кінцях детектора з'являється
електрорушійна сила.
Фотодіод з р-i-n-структурою (p-i-n-фотодіод) має досить широку
область власної провідності (i-область), яка розташована між двома областями
напівпровідника протилежного знаку провідності (р-n). У i-области розподілено
сильне однорідне електричне поле, що сприяє збільшенню чутливості фотодіода.
Лавинний фотодіод (ЛФД) є твердотільним аналогом фотоелектронного
помножувача. У ньому використовується механізм ударної іонізації в області
сильного поля зворотньозміщеного переходу.
Множення струму відбувається унаслідок зіткнення
електронно-діркових пар, що виникають в результаті фотоіонізації, з атомами
кристалічних грат напівпровідника. Цей ефект під впливом сильного поля зсуву в
умовах лавини породжує велику кількість електронно-діркових пар. У результаті
струм істотно збільшується навіть на надвисоких частотах.
ЛФД характеризуються порівняно з ФД або р-i-n-фотодіодом великим
темновим струмом, а, отже, і нижчою чутливістю, проте мають вищу квантову
ефективність.
Частотний модулятор переводить фазу Саньяка в зміну різниці частот
променів, що протилежно рухаються, при компенсації фази Саньяка різницева
частота пропорційна кутовій швидкості обертання основи ВОГ.
Частотні модулятори засновані на акустикооптичному ефекті, який
полягає в тому, що під час проходження у середовищі ультразвукових коливань у
ній з'являються області з механічною напругою (області стиснення і
розрідження), це приводить до зміни коефіцієнта заломлення середовища.
Викликані ультразвуковою хвилею зміни коефіцієнта заломлення середовища
утворюють центри дифракції для падаючого світла. Частотний зсув діафрагмованого
світла визначається частотою ультразвукових коливань. Якісною відмінністю
частотних модуляторів під час використання у ВОГ є зображення вихідного сигналу
у цифровій формі.
Фазові модулятори переводять фазу Саньяка в зміни амплітуди
змінного сигналу, що виключає низькочастотні шуми і полегшує вимірювання
інформативного параметра.
У складі реальних конструкцій ВОГ для підвищення чутливості за
допомогою фазомодуляційної схеми вносять штучний фазовий зсув. Два променя, що
протилежно рухаються, проходять через фазовий модулятор з тимчасовою затримкою,
відповідною часу розповсюдження променя у волоконному контурі ВОГ. Між двома
променями, що направлені протилежно один до одного, з'являється фазовий зсув,
який змінюється з частотою f0 (частотою фазової модуляції).
Синхронний підсилювач (детектор) виділяє складову електричного коливання на
частоті f0. Амплітуда цієї складової пропорційна синусу фази
Саньяка, а фаза вказує напрям обертання. Отже, з'являється можливість
вимірювати малі кутові швидкості обертання основи ВОГ і визначати напрям
обертання.
У реальних конструкціях ВОГ часто виникає необхідність управління
або стабілізації поляризації і фази оптичного випромінювання у різних точках
волоконного контура, у вхідних і вихідних оптичних ланцюгах. Для цього
використовуються деякі оптичні елементи.
Поляризатор і аналізатор - оптичні елементи, що здійснюють одне і
те ж фізичне перетворення; вони відрізняються лише за способом їх застосування.
Поляризатор перетворює неполяризований світловий промінь у
лінійно-поляризований уздовж вісі поляризації. Аналізатор пропускає складову
вектора електричного поля уздовж своєї вісі.
Одним з видів поляризаторів (аналізаторів) є поляроїдная плівка,
що складається з кристалів аппатита, введених у пластик. Кристали аппатита
поглинають складову електричного поля одного напряму і пропускають ортогональну
складову. Іншим широко використовуваним поляризатором (аналізатором) є призма
Ніколя, виготовлена з двох кальцитових або кварцевих призм, склеєних разом.
Фазові пластинки вносять фіксовану різницю фаз між компонентами,
паралельними її вісям. Вони застосовуються для перетворення лінійної
поляризації променя по колу або, навпаки для внесення необхідного фазового
зрушення і для компенсації небажаного фазового зрушення в оптичних елементах.
Фазові пластинки часто виготовлюють з одноосних діелектричних кристалів,
наприклад, кальциту.
Оптичний ротатор здійснює операцію обертання площини поляризації
променя на необхідний кут. Одним з широко використовуваних ротаторів є
фарадеєвський ротатор, заснований на ефекті Фарадея, що полягає в обертанні
площини поляризації оптичного променя під дією магнітного поля.
Для використання в якості датчика чутливості в двохплощинному
стабілізаторі поля зору найбільш точно відповідає компанування
волоконно-оптичного гіроскопа типу ВГ910.
3.5
Волоконно-оптичний гіроскоп ВГ910
Рис.33. Принципово-оптична схема
конструкції ВГ 910.
Оптичним волокном є одномодовий світловід
із стійкою поляризацією. Зовнішні по відношенню до жили шари волокна
виконуються з легованого кварцу для надання йому певних оптичних і механічних
властивостей: довжина поляризаційного биття 5 мм, втрати 12 дб/км, діаметр
кварцевої оболонки - 45мкм; діаметр полімерного покриття 150мкм.- фазовый
модулятор додає до фази Саньяка змінний синусоїдальний фазовий зсув і являє
собою ділянку волоконного контура, намотану на п’єзокерамічний циліндр
діаметром 18 мм і висотою 4 мм. Робоча частота модуляції (резонансна) 80 кгц.
Волоконний біконічний відгалужувач (2 х 2)
є пристроєм, що здійснює оптичний зв'язок між волокнами. Випромінювання, що
розповсюджується в одному з волокон, рівномірно і без втрат розподіляється між
двома волокнами. Відгалужувачем є два волокна, спаяних між собою безпосередньо
на кінцях контура і розпаяних на кварцевих підкладках для забезпечення вібро -
і термостійкості. Надмірні втрати у відгалужувачі <1дб. Волоконно-оптичний
кристалічний поляризатор виконаний у вигляді біконічного переходу (потоншення)
на ділянці волокна, зарощеного анізотропним монокристалом, є елементом, що
пригнічує одну з поляризаційних мод, яка розповсюджуються по волокну контура,
на З0дб. Випромінювальний модуль СЛД є кристалом суперлюмінісцентного
світлодіода, оптично узгодженим з волокном. СЛД володіє яскравістю, яка
порівнюється з яскравістю лазерного джерела, маючи при цьому низьку
когерентність (що використовується у ВОГ для зменшення шуму). Довжина хвилі
випромінювання 820нм, оптична потужність у волокні більш 50мкВт.
Фотоприймальний модуль містить p-i-n-фотодіод, узгоджений з вихідним відрізком
волокна. Мала ємкість фотодіода дозволяє здійснювати перетворення оптичного
сигналу на частотах до 1мГц. Фотоприймач приєднаний до швидкісного підсилювача
фотоструму. Волоконно-оптичний гіроскоп ВГ910 (волоконний датчик обертання)
(рис.34.) застосовується як чутливий елемент (2 шт.) у двовісьовому
гіроскопічному стабілізаторі дослідного зразка [15].
Рис.34. Конструкція ВГ910.
- PZT фазовий модулятор; 2 -
волоконно-оптичний зварний відгалужувач; 3 - волоконно-оптичний поляризатор; 4
- волоконний чутливий контур; 5 - вихідний роз'єм (на рис.34. не
проглядається); 6 - плата фотоприймального модуля; 7 - фотоприймальний модуль;
8 - випромінювальний модуль СЛД; 9 - плата електронної обробки сигналів.
Конструктивно ВОГ (рис.34) являє собою
цільноволоконний варіант кільцевого оптичного інтерферометра Саньяка,
виконаного за зварною технологією і розміщеного в герметичному корпусі.
Волоконно-оптичний контур являє собою котушку оптичного волокна завдовжки 100м
і діаметром 70мм.
Основні технічні характеристики ВГ910
наступні:
діапазон вимірювань ± 200 град/с
чутливість 5°/год
зрушення нуля
масштабний коефіцієнт значення 50 мВ/°/с
±20%
габарити
80мм х 20мм
вага не больш 120г.
Живлення ВОГ здійснюється від трьох джерел
постійного струму +5 В, +12 В, - 12 В. Споживана електрична потужність менше
1,5 Вт.
Прилад призначений для експлуатації в
таких умовах:
за температури навколишнього середовища
від мінус 30°С до плюс 70°С;
після циклічної дії температур від мінус
40° С до плюс 80° С;
під час дії вібрації в діапазоні частот
від 20 до 2000 Гц з віброперевантаженням до 6 g;
під час дії ударних навантажень до 90g;
при дії лінійних прискорень до 90g.
Середнє напрацювання ВОГ повністю складає
15000 годин, а середній термін служби і зберігання складає 15 років.
Всі вузли і компоненти ВГ910 встановлені в
корпусі, виконаному з алюмінієвого сплаву (рис.34.). Підведення живлення до
елементів ВОГ і знімання сигналу здійснюється через роз'єм 5, сполучаючий ВОГ з
платою оброблювальної електроніки 9. Вона встановлена на верхній кришці
приладу. Внутрішня порожнина корпусу ВОГ заповнюється інертним газом.
Герметизація здійснюється кремнієорганічним герметиком і механічним підтиском
кришки і корпусу. Для орієнтації ВГ910 на об'єкті використовується настановна
поверхня.
Як уже згадувалося, принцип дії ВОГ
заснований на залежності часу розповсюдження світла по замкнутому контуру, що
обертається, від напряму обходу (ефект Саньяка). При багатократному обході
контура ефект акумулюється.
Коефіцієнт пропорційності між кутовою
швидкістю обертання приладу і фазою Саньяка називається оптичним масштабним
коефіцієнтом контура (ОМК) - для ВОГ рівний 3 мрад /с, і його величина визначає
діапазон вимірюваних кутових швидкостей. Інформацію про фазу Саньяка і,
відповідно, про кутову швидкість обертання отримують з сигналу інтерференції
зустрічних хвиль.
Точність вимірювання визначається якістю
оптичних компонентів, яка виявляється у максимальному заглушенні всіх
механізмів виникнення сигналу, окрім корисного, тобто унаслідок обертання.
Оптична побудова ВГ910 забезпечує оптимальну оптичну фільтрацію. Для цього
випромінювання проходить поляризаційний фільтр і на відгалужувачі розділяється
на два зустрічних променя волоконного контура. Після обходу контура промені
змішуються (інтерферують) на тому ж відгалужувачі і знову проходять
поляризаційний фільтр, що забезпечує ідентичність (взаємність) оптичних шляхів.
Другим відгалужувачем сигнал інтерференції відводиться на фотоприймальний пристрій.

Для підвищення чутливості використовується
пьезокерамічний фазовий модулятор (PZT фазовий модулятор). При живленні його
змінною напругою створюється додатковий зсув фаз за рахунок періодичного
розтягування ділянки волоконного контура.
(3.10)
де М - амплітуда модуляції;
- частота модуляції;
Під час роботи модулятора вихідний сигнал ВОГ має вигляд:
(3.11)
де
- функція Бесселя порядку n, де
аргументом є індекс модуляції М;
QB - сигнал
квадратурної перешкоди;
φс - фаза Саньяка.
З виразу видно, що основними складовими
сигналу є такі:
перша гармоніка частоти модуляції;
друга гармоніка;
постійна складова;
сигнал квадратурної перешкоди.
Вони залежать від амплітуди модуляції (М)
і кутової швидкості. Квадратурний сигнал також виявляється на першій гармоніці
частоти модуляції, проте він не залежить від обертання і зсунутий по фазі на
90° щодо сигналу обертання.
Під час обертання ВГ910 з'являється сигнал
на першій гармоніці. Його перетворення у пропорційну обертанню напругу
здійснюється спеціалізованим електронним блоком ОЕ121.
ВГ910 починає виробляти напругу
пропорційне обертанню відразу після подачі напруги живлення. На межі діапазону
вимірювань (Q"qmax) вихідна характеристика приладу відрізняється від
лінійної і може бути приблизно представлена виразом, який також відображає
температурну поведінку сигналу приладу:
, (3.12)
де
- швидкість обертання ВОГ навколо осі
чутливості;
SF -
масштабний коефіцієнт приладу;
- температурна складова початкового зрушення;
N - шумова
складова сигналу;
- температурна складова масштабного коефіцієнта;
р - параметр
нелінійності.
SF є
множення ОМК (~3мрад/град/с) і коефіцієнта перетворення електронного блока (~15
В/мрад). Нелінійність перетворення наростає квадратично на межах діапазону
вимірювань до 10-15 %. Вона коректується квадратичною апроксимацією до рівня
0,3.1 %. За малих швидкостей обертання нелінійність дуже мала. Складова S
(t°) визначається характеристиками електронних складових елементів
електронного блока і є добре відтворною функцією температури з розмахом 3.6%.
Зсув нуля і дрейф нуля ВОГ обумовлюється
декількома механізмами електронного і оптичного походження. Початковий зсув
нуля (1°/с) і лінійний температурний дрейф (0,001град/с на 1град/с) виникають
із-за похибки плати обробки. Нерегулярна щодо компоненту температурного дрейфу
визначається якістю оптичної фільтрації і ступенем заглушення квадратурної
перешкоди.
Шум приладу є наслідком квантових шумів
світлового потоку і теплових шумів фотоприймального підсилювача. Він приводить
до розкиду свідчень, залежного від часу вимірювань.
Під час особливо прецизійних вимірювань за
допомогою ВОГ необхідно враховувати залишкову похибку, обумовлену магнітним
полем і вібраціями. Магнітна чутливість ВОГ носить векторний характер і
обумовлена ефектом Фарадея. Вектор магнітної чутливості лежить у площині
контура і просторово стабільний. Для оцінок приймається, що магнітне поле
впливає на зсув нуля з коефіцієнтом 0,5.2 град/год/Гаусс. Механічні вібрації
впливають на вихідний сигнал ВОГ через збурення параметрів чутливого
волоконного контура. При цьому виникає динамічний зсув нуля, який пропорційний
зміні (тимчасовою похідною) прискорення приладу з коефіцієнтом 0,5.3
град/год/g/c. За постійних (навіть дуже великих) прискорень складові зсуву g1
і g2 відсутні.
Для підвищення точності системи
використовується температурна корекція свідчень. Враховуються температурні
складові початкового зсуву нуля і масштабного коефіцієнта. За постійної
температури ВОГ має багатогодинну стабільність нуля на рівні 5 град/год і
стабільність масштабного коефіцієнта 0,1 %.
3.6
Стабілізатор поля зору прицілу дослідного зразка
Гіроскопічний стабілізатор на основі ВОГ
призначений для використання в різних областях техніки з метою вимірювання або
контролю кутової швидкості рухомих об'єктів. Він є аналоговим перетворювачем
кутової швидкості обертання у вихідний електричний сигнал (напругу). Вихідна
напруга пропорційна кутовій швидкості і визначається як різниця потенціалів між
відповідними контактами поля вихідного роз'єму (вихід загальний сигналу).
Двовісний гіроскопічний стабілізатор поля
зору повинен знаходиться в частині приладу, що обертається, - в блоці головки
[15]. За прийнятою класифікацією його можливо буде класифікувати як
індикаторно-силовий гіростабілізатор, в якому для управління двигунами
стабілізації використовуються електричні сигнали датчиків кутової швидкості, -
волоконно-оптичних гіроскопів. Оскільки гіроскопічні моменти волоконно-оптичні
гіроскопи не створюють, то тому стабілізація головного дзеркала блоку головки
повністю здійснюватиметься за рахунок моментів, що створюються двигунами
стабілізації.
Головне дзеркало блоку головки повинно
розташовуватись на зовнішній рамі гіростабілізатора, а його вісь обертання
(горизонтальна) бути пов'язаною з віссю обертання внутрішньої рами карданового
підвісу гіростабілізатора стрічкової передачі з передавальним відношенням 2: 1.
У цьому гіростабілізаторі, на відміну від
гіростабілізатора виробу 1Г46, немає стабілізованої щодо двох осей платформи. У
даній конструкції кожен із двох волоконно-оптичних гіроскопів установлений на
відповідній рамі карданового підвісу гіростабілізатора таким чином, що його
вісь чутливості паралельна з віссю стабілізації.
Рис.35. Функціонально-кінематична схема блоку головки прицілу.
1 - головне дзеркало; 2 - корпус
гіростабілізатора; 3 - зовнішня рама;
ДПБГ - двигун приводу блоку
головки; ДКГ, ДКВ, ДКБГ - датчик кута;
ПРНГ, ПРНВ,
ППБГ - посилювачі;
ПАКг, ПАКв, ПАКБГ - перетворювач
"амплітуда-код";
L1, L2 - волоконно-оптичний
гіроскоп; ЛВ - лінія візування;
UПНВ, UПНГ - сигнали пульта наведення
(відповідно в вертикальній та горизонтальній площинах);
ТБО - танковий балістичний
обчислювач.
У корпусі 2 гіростабілізатори в кулькоподібній підшипниковій
опорі підвішена зовнішня рама. На цій опорі закріплено головне дзеркало 1 і
волоконно-оптичний гіроскоп, вісь чутливості L2 якого
паралельна з віссю обертання зовнішньої рами (осі стабілізації по горизонту або
інакше - по напряму). На осі обертання зовнішньої рами 3 встановлені ротори
двигуна стабілізації ДМГ і датчика кута горизонтального
наведення лінії прицілювання (візування) ДКГ Статори ДМГ
і ДКГ закріплені в корпусі 2 гіростабілізатора.
Волоконно-оптичний гіроскоп (L2)
через підсилювач розвантаження і наведення по горизонту (ПРНГ)
електрично пов'язаний з обмотками двигуна стабілізації ДМГ, що
керують його роботою.
Указаний ланцюжок становить канал
стабілізації по горизонталі (по напряму).
У зовнішній рамі 3 в кулькоподібній
підшипниковій опорі встановлена внутрішня рама 4, на якій закріплений
волоконно-оптичний гіроскоп з віссю чутливості L1. Вона (вісь
чутливості) паралельна з віссю обертання головного дзеркала 1, тобто осі
стабілізації по вертикалі або інакше - по висоті. На осі обертання внутрішньої
рами 4 встановлені ротори двигуна стабілізації ДМВ і датчика кута
наведення лінії прицілювання (візування) по вертикалі (по висоті) ДКВ,
статори яких закріплені на зовнішній рамі 3. На осі обертання внутрішньої рами
4 закріплений шків 5, що стрічковою передачею 6 пов'язаний з шківом 7,
установленим на осі обертання дзеркала 1. Діаметр шківа 7 у два рази більший за
діаметр шківа 5, цим забезпечується передача від осі обертання внутрішньої рами
4 до вісі обертання головного дзеркала 1 з передавальним відношенням 1: 2 або
до лінії візування (ЛВ) - з передавальним відношенням 1: 1.
Волоконно-оптичний гіроскоп (L1)
через підсилювач розвантаження і наведення по вертикалі (ПРНВ)
електрично пов'язаний з обмотками двигуна стабілізації ДМВ,
що керують, становлячи канал стабілізації по вертикалі (висоті).
Процес стабілізації поля зору (головного
дзеркала 1) відбувається таким чином. Під руху танка по пересіченій місцевості
сили тертя в опорах та інші збурювальні моменти прагнуть захопити зовнішню або
внутрішню раму карданового підвісу гіростабілізатора від початкового (заданого)
положення, тобто зрештою змінити положення лінії прицілювання (візування) по
горизонталі та по вертикалі. У момент початку відхилення відповідної рами, її
волоконно-оптичний гіроскоп, що має вісь чутливості паралельну з віссю
обертання рами, виробляє електричний сигнал, пропорційний до кутової швидкості
відхилення. Даний електричний сигнал (напруга) надходить на вхід відповідного
підсилювача розвантажування і наведення (ПРНГ або ПРНВ),
і після посилення - на обмотку двигуна стабілізації (двигуна розвантажування ДМГ
або ДМВ), що розвиває момент по осі відповідної рами, що
керує. Момент двигуна стабілізації в сталому режимі врівноважуватиме
збурювальні моменти та тим самим утримуватиме відповідну раму карданового
підвісу (отже, і головне дзеркало) в незмінному стані.
Наведення стабілізованої лінії
прицілювання (візування) на ціль проводиться по електричних сигналах (UПНГ
і UПНВ), що видаються з пульта наведення. Наведення по
вертикалі (висоті) проводиться розворотом рукояток пульта наведення навколо
горизонтальної осі, а наведення по горизонталі (напряму) - разворотом корпусу
пульта наведення навколо вертикальної осі. У цьому разі обертаються розташовані
в пульті наведення потенціометри, від величини кута повороту яких залежать
значення електричних сигналів UПНВ (наведення по вертикалі) і
Uпнг (наведення по горизонталі). Електричний сигнал наведення лінії
прицілювання по вертикалі (UПНВ) надходить на вхід
підсилювача розвантажування і наведення по вертикалі (ПРНВ),
а сигнал наведення лінії прицілювання по горизонталі (UПНГ) -
на вхід підсилювача розвантажування і наведення по горизонталі ПРНГ).
Посилені в підсилювачах електричні сигнали наведення надходять на обмотки
керування двигунів стабілізації, відповідно до ДМВ і ДМГ,
що відіграють у даному випадку роль безредукторних двигунів відпрацювання.
Ротор відповідного двигуна починає
обертатися, повертаючи ту раму карданового підвісу, на вісь обертання якої він
закріплений. Швидкість кутового повороту рами (отже, і головного дзеркала)
пропорційна до значення електричних сигналів наведення, тобто кутам повороту
рукояток і корпусу пульта наведення.
У процесі наведення лінії прицілювання на
ціль стабілізація поля зору відбувається як розглянуто вище, оскільки фактично
наведення лінії прицілювання відбувається за рахунок різницевого електричного
сигналу (напруга) між сигналами UПНВ UПНГ і
вихідного сигналу волоконно-оптичного гіроскопа вертикалі (горизонталі) на
вході підсилювача ПРНВ (ПРНГ).
Режим перекидання стабілізованої лінії
прицілювання (візування) в даному гіростабілізаторі становить процес наведення
стабілізованої лінії прицілювання, але із значно більшою кутовою швидкістю, він
відрізняється від аналогічного режиму в раніше розглянутих гіростабілізаторах.
Визначається він рівнем електричного
сигналу Uпнв (UПНГ), що подається на вхід підсилювача ПРНВ
(ПРНГ) під час відхилення важелів (корпусу) пульта наведення
до упору.
Ще одна особливість даного
гіростабілізатора - це відсутність пристрою, що аретує, має на увазі жорстку
фіксацію рухомих вузлів один щодо одного, а також щодо корпусу. Вирішення
завдань, аналогічним завданням аретування, у даному гіростабілізаторі покладено
на режим електричного аретування. Цей режим заснований на використанні
властивостей замкнутих слідкуючих систем, функціональними елементами яких у
даному разі є датчики кутів наведення лінії прицілювання (ДКВ, ДКГ),
підсилювачі розвантаження і наведення (ПРНВ, ПРНГ)
і двигуни стабілізації (ДМВ, ДМГ). Електричні
зв'язки між елементами даних спостережних систем на рис.35 показані пунктиром.
У разі невикористання стабілізатора поля
зору під час експлуатації танка сигнали з ДКВ (ДКГ),
що свідчать про відхилення головного дзеркала (тобто рам карданового підвісу)
від нульового положення, перемикаються на вхід підсилювача ПРНВ
(ПРНГ), звідки надходять на двигуни стабілізації ДМВ
(ДМГ). Двигун, як і в разі наведення лінії прицілювання,
проводить розворот внутрішньої (зовнішньої) рами карданового підвісу до тих
пір, поки сигнал на виході датчика кута ДКВ (ДКГ)
буде дорівнювати нулю.
На днищі корпусу 2 гіростабілізатори
встановлений упор, що обмежує повороти зовнішньої рами 3 (отже, і головного
дзеркала 1) по горизонталі на кути ±5° щодо нульового положення. У корпусі
зовнішньої рами 3 встановлено два упори (верхній і нижній), що обмежують
повороти внутрішньої рами 4 по вертикалі (по висоті) на кути 15 вниз і 60°
вгору щодо нульового положення. Головне дзеркало 1 за рахунок стрічкової
передачі в цьому разі повертається по вертикалі на кути 7°30' вниз і 30° вгору.
Як згадувалося, даний гіростабілізатор
установлений у блоці голівки. У корпусі блоку головки є так зване вхідне вікно
приладу. Корпус гіростабілізатора жорстко пов'язаний з корпусом блоку головки,
тому для спрощення на рис.35 вони показані єдиним корпусом 2. Під час наведення
лінії прицілювання приладу по горизонталі її положення "відстежує"
корпус 2 (з вхідним вікном) блоки голівки. Це виконується спостережною
системою, що включає датчик кута наведення лінії прицілювання по горизонту, - ДКГ,
підсилювач приводу блоку голівки ППБГ і двигун приводу блока
головки - ДПБГ Режим стеження аналогічний до режиму
електричного аретування, тільки в даному разі двигун ДПВГ
проводить розвороту в горизонтальній площині корпусу 2 блока голівки (і
гіростабілізатора) щодо зовнішньої рами 3 карданового підвісу
гіростабілізатора, для того щоб вихідний сигнал ДКГ
дорівнював нулю.
У блоці голівки також установлені пристрої
перетворення аналогових електричних сигналів у цифрову форму, так звані
перетворювачі "амплітуда - код" (ПАК), що в комплексі зі
вживаними датчиками кута (ДКВ, ДКГ, ДКБГ)
є перетворювачами "кут - амплітуда - код". Дані перетворювачі
забезпечують дистанційну передачу результатів вимірювань через контактний
пристрій (ОКП), що обертається, без втрати точності.
У ролі датчиків кута ДКВ, ДКГ,
ДКБГ у даному гіростабілізаторі застосовуються індукційні
перетворювачі кута ІПУ-Д, що працюють як первинний датчик у комплекті з
перетворювачами "амплітуда - код" ПАК-20. Перетворювачі ІПУ-Д
є двовідліковими та мають канали точного відліку (ТВ) і грубого відліку (ГВ).
Випускаються двох класів точності - 0,1 і 0,15. Як безредукторні двигуни
стабілізації в даному гіростабілізаторі застосовуються моментні двигуни з
постійними магнітами типу ДМГ і ДМВ. Як
наголошувалося, зміна температури гіростабілізатора, отже і встановлених у
ньому волоконно-оптичних гіроскопів, спричиняє похибки даних гіроскопів,
еквівалентні додатковій швидкості обертання відповідної рами карданового
підвісу. Для підтримки високої точності гіростабілізатора під час роботи в широкому
діапазоні температур експлуатації та тривалих (до 8 годин) періодів
безперервної роботи, волоконно-оптичні гіроскопи (L1 і L2)
поміщені в середину блоків термостатування (термостати). У середині цих блоків
за допомогою систем автоматичного термостатування підтримується постійна
температура (близько плюс 60°С).
3.7
Фактори, які впливають на точність волоконно-оптичного гіроскопа
Вимірювання кутової швидкості за допомогою
ВОГ засноване на "невзаємному" ефекті Саньяка. У кільцевому
інтерферометрі виникає різниця фаз (φс) зустрічних хвиль, що
пропорційна швидкості обертання. В оптичному середовищі (хвилеводі) існують
інші невзаємні ефекти (Фарадея, Керра, термооптичний та інші), що приводять до
зсуву нуля і його дрейфу [7,15]. Для аналізу точності ВОГ необхідно дослідити
всі фактори, що викликають зсув нуля:
Поляризаційний зсув нуля;
Амплітудний зсув нуля;
Магнітооптичний зсув нуля;
Термооптичний зсув нуля;
Нелінійний зсув нуля.
3.7.1
Поляризаційний зсув нуля
Поляризаційний зсув виникає, коли
поляризація зустрічних хвиль, що трансформуються на дефектах волокна, не
однакова на якихось ділянках хвиль і набуває різних фазових набігів.
Поляризаційний зсув усувається, якщо датчик працює тільки в одній лінійній
поляризації та одній просторовій моді.
Послідовність елементів контура можна
вважати одним одномодовим елементом. Для обгрунтування "взаємності"
схеми "мінімальної конфігурації" використовують теорему Лоренця - у
відсутності магнітного поля і нелінійності середовища статичний коефіцієнт
передачі одномодового оптичного елементу не залежить від направлення
розповсюдження світла.
Якщо пропускання представити у вигляді ρ3 ~ 1 + cos (φ c + φ п), тоді зсув:
φ п ~ р ε Σ qi qN - i sinψ i N - i.
Його середнє значення дорівнює нулю, а
середньоквадратичне значення <φп2>1/2=Ѕ р ε <q2>√N. Дисперсія <q2>
пов'язана з часткою потужності, що розсіюється на одному дефекті в ортогональну
моду. Інтегральний параметр збереження стану поляризації H = <q2>
N та φ п ≅ р ε H/ √N ≅ 2µРад.
Залежність поляризаційного зсуву нуля від температури
квазіперіодична. Її амплітуда визначається параметром Н, а період -
швидкістю зміни різниці фаз ψ i,j = ∆в
Li - ∆в Lj.
За низької температури Н параметр
збільшується із-за посилення жорсткості оболонки, за високої - із-за розширення
бобіни (алюмінієвої). Зміна ψ i,j визначається розширенням
котушки. Якщо волокно прогрівається однорідно і не подовжується, то
двопроменезаломлення волокна змінюється тільки під дією температури і однаково
по довжині волокна (для кварцевої бобіни). Приріст різниці фаз δψi,j = δ (∆β Li - ∆β Lj) ≅ δ∆β (Li - Lj) при цьому |Li - Lj
|~ L Д. Період зміни проведемо оцінювання із умов δ∆β L Д = 2 π. Двопроменезаломлення визначається температурой: ∆β∝ (Т0 - Т). Тоді d ∆в/dT =∆β/ (Т - Т0) =2π/LБ/ (Т - Т0) і д
Т= (Т 0 - Т) (LБ/LД) ~20°С.
3.7.2
Амплітудний зсув нуля
На відміну від поляризаційного зсуву
амплітудна модуляція виникає тільки тоді, коли дефекти знаходяться ближчим ПЗТ
до середини волокна. Сигнал модуляції (квадратурний) зсунутий по фазі щодо
сигналу обертання на π/2 і пропорційний δ∆φ m cos (ω m τ/2) H/N1/2. Оскільки синхронний
детектор не точно узгоджений по фазі, сигнал амплітудної модуляції частково
(~1/30). Оскільки синхронний детектор не точно узгоджений по фазі, а сигнал
амплітудної модуляції частково (φа). Власна частота контура
(fк=1/2τ≅ 1 МГц) багато більше частоти ПЗТ (80 кГц), тому cos (ωmτ/2) =1 і φа ~ 2µРад. Відношення поляризаційного і амплітудних зсувів φп/φа ≅ (р ε) / (xδ∆φm) ~ 1 не залежить від
параметра Н.
Амплітудний зсув також квазіперіодична
функція температури. Він пропорційний Н, а період 100 єС. 200 єС.
Оцінимо масштаб температурних варіацій
амплітудного зсуву нуля при розтягуванні першого намотаного шару волокна.
Довжина волокна в одному шарі дорівнює Ls = L/s. Відносна
зміна довжини шару волокна - α ал δТ. Різниця фаз δ (∆β Ls) змінюється із-за зміни подвійного променезаломлення як 102
Ls ∆β αалδТ. Період зміни зсуву δТ = 2 π/ (102 Ls
∆β α ал) ≅0.1єС.
3.7.3
Магнітооптичний зсув нуля
У датчиках спостерігається відтворюваємий
відклик на магнітне поле ортогональний площині контура. Установлено, що цей
відгук майже не залежить від α P і
визначається кількістю витків ~10-9 рад / виток·Э.
"Нефарадеївський" зсув пов'язаний з розчеплюванням траєкторій
зустрічних хвиль δx~10-9 µ/Э у
поперечному магнітному полі. Розщеплювання виникає у хвиль поляризованих в
площині контура із-за взаємодії компоненти електричного поля (Ez)
з магнітним полем. Воно приводить до того, що зустрічні хвилі поширюються по
контурах різного діаметра (δx), а на одному витку
різниця фазових набігів дорівнює φ⊥/N = 12HVλ/n ~ 2·10-9 рад /
виток·Э. Із-за випадкового скручування кожна з поляризаційних мод поляризована
в площині контуру приблизно на половині довжини, що усереднює зсув у два рази і
робить його незалежним від α P.
3.7.4
Термооптичний зсув нуля
Термооптичний зсув виникає із-за
неоднорідної зміни оптичної довжини, коли ділянка із змінною довжиною
розташована в контурі несиметрично. Під час зміни температури ділянки завдовжки
(dz), що знаходиться на відстані z від відгалужувача зустрічні хвилі
набувають різниці фазових набігів dφ = ∂ dψ/∂ t τ, де τ = (2z - L) n/c - запізнювання зустрічних хвиль в точці z.
∂dψ/∂T = [k ∂n/∂T + k n α (z, t)] dz,
α (z, t) - температурний коефіцієнт подовження волокна.
Намотування (квадрупольне) починається з середини, шари укладаються парами
симетрично щодо середини.
Під час намотування в 6 шарів першим
починає розтягуватися шар I, розташований поблизу середини контуру.
Запізнювання зустрічних хвиль в цьому шарі мала і мале різниця фазових набігів
під час його розтягування. Тому за квадрупольного намотування термооптичний
зсув нуля виходить значно меншим, ніж за простого намотування, де першим
починає розтягуватися шар, розміщений поблизу відгалужувача. Наступним починає
розтягуватися шар II, також розміщений поблизу середини контура, але з іншого
боку. Термооптичний зсув, що виникає під час його розтягування має протилежний
знак і компенсує зсув, що виник при розтягуванні шару I. При розтягуванні
наступної пари шарів картина повторюється. У результаті замість великої петлі в
температурній залежності зсуву для простого намотування, виходить декілька
маленьких петель.
Зсув під час квадрупольного намотування
менший ніж під час намотування в два шари в квадрат числа шарів М
Ωал, кв
(M) / Ωал (2) = 2/ [M (M - 1)]
3.7.5
Нелінійний зсув нуля
Фазовий модулятор, що модулює різницю фаз зустрічних хвиль на
робочій (резонансні) частоті може створити і додаткову модуляцію на другій
гармоніці. Наприклад, із-за нелінійності п'єзоелектричного перетворювача (ПЗТ),
наявність другої гармоніки в живленні ПЗТ або із-за вигинистих коливань ділянок
волокна в контурі або на поверхні ПЗТ. Нелінійні спотворення під час згинальних
коливань волокна ілюструються рисунком.
Рис.36. Згинальні коливання вільної
ділянки волокна на ПЗТ
У фазовому модуляторі ділянка волокна,
намотана на ПЗТ, здійснює поздовжні коливання.
У цьому разі він подовжується один раз за
період, що спричиняє модуляцію різниці фаз зустрічних хвиль на частоті коливань
ПЗТ.
У цей час вільні ділянки здійснюють
поперечні коливання, за яких волокно подовжується двічі за період, що
призводить до модуляції на подвоєній частоті та до зсуву φ із-за нелінійності перетворення
φ ≅ (s/2) [1 - J3
(m) /J1 (m)] sin ζ
Нелінійну компоненту можна ідентифікувати
за характерним сплескам в температурних залежностях зсуву нуля та квадратурного
сигналу.
Під час зміни температури змінюється
резонансна частота ПЗТ і частота згинальних коливань волокна. У разі збігу
частот вимушені коливання волокна зсунуті на π/2 щодо коливань ПЗТ.
|
Параметр
|
Формули
|
Оцінки для ВГ910 (L = 100 м, D = 0.07 м)
|
|
Зрушення фаз із-за ефекту Саньяка
|
φс = (2πLD/λс) ·Ω = ОМК·Ω
|
φс ≅1.3 10-5 рад при Ω = 15 град/год
|
|
Оптичний масштабний коефіцієнт
|
ОМК = 2πLD/ λ с ≅0.025 LD
|
ОМК ≈ 0.18 сек
|
|
Поляризаційний зсув нуля
|
φП ≈ р ε H/N1/2 ΩП = φП/ОМК
|
φП = 2 10-6рад,ΩП ≈10-5 рад/с ≈ 2 град/год р = 0.2, ε =3· 10 - 2, Н = 1 %, N = L/Lд = 1000,Lд = 0.1 м
|
|
Температурний масштаб поляризаційного зсуву
нуля
|
δТ = (Т0 - Т)
(LБ/L Д)
|
δТ ≈20°С Т0
= 800°С, Т = 20°С, LБ = 3 мм, LД = 0.12 м
|
|
Амплітудний (квадратурний) зсув нуля
|
φ α≈xδΔφm H/N1/2
|
φ α≈2 10-6рад, Ωα = φ α/ОМК ≈ 10-5
рад/с ≈ 2 град/год x = 0.03, δΔφm = 0.2, H = 1 %, N =
L/Lд = 1000
|
|
Температурний масштаб амплітудного зсуву нуля
|
δ Т = 0.06 LБ/
(Lα ал)
|
δ Т ≈0.1° С.
Проста намотка в 6 шарів L Б = 3 мм, αал ≈2 10-5 К-1
|
|
Максимальний фарадеевский зсув нуля
|
φ"м ≈0.3
VH L LБ t
|
φ"м ≈4
10 - 6рад, Ω''м = φ"м/ОМК ≈ 4 105 рад/с ≈8
град/год VН = 2 10-4 м - 1 (Н = 1 Э), t = 0.2 м - 1,
LБ = 3 мм
|
|
Фарадєєвський зсув нуля при α р ≈45°
|
φ" = 2φ"м · cos2 (αC) · (2αP - π/2)
|
φ" ≈ 4·10-6,
Ω" ≈4·10-5 рад/с ≈0.8 град/год φ"м ≈4·10-6, αC = 45°, 2αP - π/2 ≈0.1
|
|
Магніто-індукційний (нефарадеєвський) зсув нуля
|
φ┴ = 6 VHλ/nN
|
φ┴ ≈10 - 9
H N = 10 - 6 (Н = 1 Е, N = 1000), Ω┴м = φ┴/ОМК =1 град/год, N - число витків, VН = 2 10-4
м-1 (Н = 1 Е)
|
|
Термооптичний зсув нуля при намотуванні в 2
шари
|
φал (2) = (k n2/c)
αалdT/dt L2/4
|
φал (2) ≈3·10-6
рад, (dT/dt ≈ 0.1°С/сек ≈ 360°С/год), Ωо = К (2) dT/dt, Кал (2) ≈ 1 (o/год) /
(°С/год), α ал =2 10 5/°С,
|
|
Термооптичний зсув нуля, просте намотування, M
шарів
|
Ωал, пр (M) /Ωал (2) = (2/3) (M + 1) /M
|
Ωал, пр (M) /Ωал (2) = 0.78 (M = 6)
|
|
Термооптичний зсув нуля, квадрупольне
намотування, M шарів
|
Ωал, кп (M) /Ωал (2) = 2/ [M (M - 1)]
|
Ωал, кп (M) /Ωал (2) = 0.15 (M = 6)
|
|
Нелінійний зсув нуля
|
φнл≈s/4
|
φнл ≈ 2.5 10 - 6
рад, φнл ≈2.5 град/год s =
10-4 - індекс модуляції на 2-ій гармониці
|
3.8
Розрахунок точності стабілізатора поля зору на основі ВГ910
Для визначення середньоквадратичної
похибки необхідно врахувати вплив всіх невзаємностей та ефектів окрім корисного
(фази Саньяка):
3.9
Висновки до розділу
На основі проведеного аналізу можна стверджувати
про доцільність використання волоконно-оптчні гіроскопи в якості гіроскопічного
задавача лінії прицілювання, оскільки вони за своїми технічними
характеристиками мають вагомі переваги в порівнянні з електромеханічними
гіроскопами.
Значення сумарної помилки даного типу
стабілізатора на основі волоконно-оптичних гіроскопів коливається в межах 0,014
т.п., що забезпечує задану точність пропонованого стабілізатора.
Розробка конструкції ВОГ і доведення його до серійних зразків
не просте завдання. Розробляючи ВОГ, вчені та інженери зазнають труднощів.
Перша пов'язана з технологією виробництва елементів ВОГ. На цей час недостатньо
якісного одномодового волокна, що зберігає напрям поляризації, виробництво
світлоподільників, поляризаторів, фазових і частотних модуляторів, просторових
фільтрів, інтегральних оптичних схем знаходиться на початковій стадії розвитку.
Кількість розроблених спеціально для ВОГ випромінювачів і фотодетекторів
обмежено. Другу пов'язують з тим, що при простоті приладу і високій чутливості,
його до кутової швидкості обертання він в той же час надзвичайний чутливий до
дуже малих зовнішніх і внутрішніх збурень і нестабільностей, що призводить до
паразитних дрейфів, тобто до погіршення точності приладу. До згаданих збурень
відносяться температурні градієнти, акустичні шуми і вібрації, флуктуації
електричних і магнітних полів, оптичні нелінійні ефекти флуктуації
інтенсивності та поляризації випромінювання, шуми дробів у фотодетекторі,
теплові шуми в електронних ланцюгах тощо.
Конструкторами і розробниками ВОГ обидва ці завдання
вирішуються. Удосконалюється технологія виробництва елементів у ВОГ, теоретично
і експериментально досліджуються фізична природа збурень і нестабильностей,
створюються і випробовуються різні схемні варіанти ВОГ з компенсацією цих
збурень, розробляються фундаментальні питання використання інтегральної оптики.
4.
Техніко-економічна оцінка
Питання техніко-економічного обгрунтування розробок в галузі
військової техніки є дуже складними, оскільки повинні враховувати існуючий
технічний рівень конкуруючих зразків озброєння, об'єми виробництва й інші
чинники. При створенні нових і модернізації існуючих комплексів озброєння,
проводиться оцінка технічного рівня, що дозволяє обрати правильні напрямки
конструкторських робіт і визначити їхню ефективність. Існуючі методи оцінки
технічного рівня військової техніки в багатьох випадках носять суб'єктивний
характер. У зв'язку з цим, розробка аналітичних методів, що відбивають комплекс
озброєння в цілому і його складені системи окремо, представляє складну технічну
проблему. У поданій дипломній роботі запропоновані аналітичні методи аналізу,
що із високим ступенем достовірності дозволяють досліджувати стабілізатори поля
зору та надавати пропозиції щодо поліпшення їх точностних характеристик.
На основі проведеного аналізу точності двоплощинний
стабілізатор поля зору на основі волоконно-оптичних гіроскопів має сумарне
значення похибки котре коливається в межах 0,14 т.п. У порівнянні із
показниками точності стабілізаторів поля зору на основі електромеханічних
гіроскопів перевищує в 1,5 рази. Окрім цього, стабілізатори поля зору мають:
підвищену надійність у зв'язку з відсутністю механічних
елементів, що обертаються, і підшипників, що значно полегшує його виробництво
та зменшує вартість;
практично миттєву готовність до роботи, оскільки не
витрачається час на розкручування ротора;
незначне споживання енергії, що має важливе значення у разі
використанні на борту рухомих об’єктів.
На другому місці по значимості після технічних переваг для
потенційних покупців (Збройних Сил України) є ціна танка (іноді навіть
навпаки). По експертним оцінкам іноземних фахівців вартість системи управління
вогнем (у яку входять і прицільно-наглядові комплекси) сучасного бойового танка
складає до 40% від загальної вартості танка. Тому важливим чинником є
здешевлення прицільно-наглядових комплексів при одночасних вимогах підвищення
їх точності, надійності, ресурсу і терміну служби.
З закритих джерел відомо що вартість виготовлення
волоконно-оптичного гіроскопа ВГ910 приблизно становить 800-900 у. о., та
трьохступеневого елетромеханічного гіроскопа 2200 у. о., що в 2,5 рази дешевше.
Якщо порівнювати вартість виготовлення стабілізаторів поля зору на їх основі,
то 7000-8000 у. о. та 28000-32000 у. о. відповідно, що в 4 рази дешевше. При
порівнянні вартості прицілів то, 20000 у. о. та 87000 у. о., що майже в 4,5 раз
дешевше. Всі ці переваги дозволяють створити прості високоточні конструкції ВОГ
для систем управління на дешевих інтегральних оптичних схемах при іх масовому
виробництві. Наприклад, за даними зарубіжних технічних джерел відомо, що ще в
90-х роках минулого сторіччя в США передбачалося замінити близько 50% всіх
електромеханічних гіроскопів, які використовувались в системах навігації,
управління і стабілізації, на волоконно-оптичні гіроскопи.
На основі проведення техніко-економічної оцінки можна
стверджувати, що використання волоконно-оптичних гіроскопів в якості датчиків
чутливості технічно доцільно та економічно виправдано.
5.
Екологія та охорона навколишнього середовища
У даний час дуже важливими є дослідження, які прямо або
побічно можуть вплинути на екологічну обстановку, дозволять поліпшити
технологічні параметри приладів і механізмів, у виробничому процесі
виготовлення яких використовуються шкідливі хімічні речовини і матеріали.
У даній дипломній роботі були проведені дослідження проблем
поліпшення точностних характеристик систем стабілізації поля зору шляхом
застосування нових типів датчиків чутливості - волоконно-оптичних гіроскопів.
Застосування в танкобудуванні якісніших і точніших приладів
поза сумнівом сприятливо відіб'ється на екологічній обстановці навколишнього
середовища. Волоконно-оптичні гіроскопи можуть повністю витиснити складні і
дорогі електромеханічні (роторні) гіроскопи і тривісні гіростабілізовані платформи,
які крім шкідливої дії на навколишнє середовище (використання змащувальних
матеріалів рухомих частин, високі електромагнітні поля, шкідливе виробництво)
мають набагато низький термін служби, а отже вищі вимоги до їх утилізації.
Використання новітніх технічних розробок дозволить значно
підвищити якість приладів, що випускаються, і тим самим знизити вимоги щодо
екологічного контролю за виробництвом і експлуатацією пристроїв, що володіють
унікальними властивостями в порівнянні з використовуваними раніше.
Питання, розглянуті раніше дозволяють зробити висновок про
невисоку вартість виробництва і конструювання гіроскопів під час масового
виготовлення, відносну простоту і знижену шкідливость технології. Важливе
значення має низьке споживання енергії під час використання волоконно-оптичних
пристроїв і напівпровідникових приладів, що входять до складу ВОГ, оскільки
отримання додаткової енергії на борту завжди пов'язане з використанням
генераторних пристроїв, що володіють низькими екологічними характеристиками.
Застосування паливно-мастильних матеріалів підвищує вірогідність виникнення
аварійних пожежних ситуацій і, як наслідок цього, екологічних катастроф.
Використання ВОГ помітно знижує вимоги що ставляться до
утилізації відпрацьованих механізмів, оскільки під час виробництва цих приладів
використовується значно менша кількість шкідливих речовин і матеріалів.
Тривалий термін роботи і високі ремонтні якості ВОГ також можуть сприятливо
позначитися на їх використанні, оскільки використання ненадійних механічних приладів
негативно впливає на екологічну обстановку.
Зроблені в роботі висновки дозволять продовжити дослідження в
області підвищення як технічних, так і виробничо-експлуатаційних характеристик
приладів що поза сумнівом сприятливо позначиться на збільшенні терміну служби,
зниженні вартості і поліпшенні екологічної обстановки, пов'язаної з їх роботою.
Висновки
У роботі був проведений аналіз проблеми
поліпшення якісних характеристик гіростабілізаторів поля зору сучасних та
перспективних танкових прицілів. На основі виконаної роботи можна зробити
висновки про те, що волоконний оптичний гіроскоп може бути застосований в
якості чутливого елемента (датчика) обертання в інерціальних системах
управління і стабілізації. Механічні гіроскопи мають так звані гіромеханічні
похибки, які особливо сильно виявляються під час маневрування носія (танка).
При поліпшенні точностних характеристик стабілізаторів поля зору на основі
електромеханічних гіроскопів конструктора мають ряд складнощів, пов’язаних із
виготовленням та його вартістю. Перспектива використання дешевого оптичного
датчика обертання, який здатний працювати без гіромеханичних помилок в
інерціальній системі управління, є основною причиною особливого інтересу до
оптичного гіроскопа. Цей прилад може повністю замінити складні та дорогі
електромеханічні (роторні) гіроскопи і тривісні гіростабілізовані платформи.
Можливість створення реального високочутливого ВОГ з'явилася
лише з промисловою розробкою одномодового діелектричного світлопровода з малим
загасанням. Саме конструювання ВОГ на таких світлопроводах визначає унікальні
властивості приладу. Такі як:
· потенційно висока чутливість (точність)
приладу, яка вже зараз на експериментальних макетах 0,1 град/год і менш;
· малі габарити і маса конструкції, завдяки
можливості створення ВОГ повністю на інтегральних оптичних схемах;
· невисоку вартість виробництва і
конструювання при масовому виготовленні і відносна простота технології;
· незначне споживання енергії, що має
важливе значення у разі використанні ВОГ на борту рухомих об’єктів;
· великий динамічний діапазон вимірюваних
кутових швидкостей (зокрема, наприклад, одним приладом можна вимірювати
швидкість повороту від 1 град/год до 300 град/с);
· відсутність механічних елементів
(роторів), що обертаються, і підшипників, що підвищує надійність і здешевлює їх
виробництво;
· практично миттєву готовність до роботи,
оскільки не витрачається час на розкручування ротора;
· нечутливість до великих лінійних
прискорень і отже, працездатність в умовах високих механічних перевантажень;
· високу перешкодостійкість, низьку
чутливість до могутніх зовнішніх електромагнітних дій завдяки діелектричній
природі волокна;
· слабку схильність проникаючої
гама-нейтронной радіації, особливо в діапазоні 1,3 мкм.
Ці властивості ВОГ привертають пильну увагу розробників
систем управління, так як дозволяють створити прості високоточні конструкції
повністю на дешевих твердих інтегральних оптичних схемах при масовому
виробництві. На мою думку, завдяки унікальним технічним можливостям ВОГ
інтенсивно розвиватимуться.
Список
літератури
1. Бабаев А.А. Стабилизация оптических приборов. - Л.:
Машиностроение. Ленинградское отделение, 1975.
2. Брозгуль П.И., Смирнов Е.Л. Вибрационные гироскопы. -
М.: Машиностроение, 1970.
. Гироскопические системы. Гироскопические приборы и
системы. Ч.2. Под ред.Д.С. Пельпора - М.: Высшая школа, 1971.
. Гироскопические системы. Теория гироскопов и
гиростабилизаторов Ч.1. Под ред. Д.С. Пельпора - М.: "Высшая школа",
1986.
. Никитин Е.А., Шестов С.А., Матвеев В.А.
Гироскопические системы. Ч.3. Под ред.Д.С. Пельпора - М.: Высшая школа, 1988.
. Котовсий В.И. Стабылызатори танкового вооружения -
М.: Воениздат, 1961.
7. Шереметьев
А.Г. Волоконный оптический гироскоп. - М.: Радио и связь, 1987.
8. Окоси
Т.А. Волоконно-оптические датчики. Перевод с японского.
. Мартиненко
Ю.Г. Тенденции развития современной гироскопии. Соросовский обозрев. журн. №11,
М.:, 1997.
10. Аблесімов О.К. Автоматичне керування рухомими
об’єктами і технологічними процесами. - Х.: НТУ "ХПІ", 2008.
11. Малеев
П.И. Новые типы гироскопов. Л.: "Судостроение", 1971.
12. Пельпор
Д.С., Колосов Ю. А, Рахтеенко Е.Р. Расчет и проектирование гироскопических
стабилизаторов. - М.: "Машиностроение", 1972.
. Орлов
В.А., Петров В.И. Приборы наблюдения ночью и при ограниченной видимости - М.:
Воениздат, 1989.
. Корнеев
В.В. Основы автоматики и танковые автоматические системы. - М.: Воениздат,
1989.
. Глущенко
А.Р. Гиростабилизаторы танковых прицелов. - Черкассы: Чабаненко Ю.А., 2005.
. Белоновский
А.С. Электрооборудование и автоматика бронетанковой техники. Ч.1. - М.:
Воениздат, 1972.
. Бобаева
Н.Ф. Основы теории гироскопов и современные гироскопические приборы. - Л.:
СПЗЧ, 1972.