Устройства приема и обработки сигналов
Санкт-Петербургский Государственный
Политехнический Университет
Кафедра радиотехники и
телекоммуникаций
Курсовая работа
“Устройства приема и обработки
сигналов”
Выполнил:
Кильдеев Р.Ф.
Гр.5092/1
Преподаватель:
Борисенко А.Л.
Санкт-Петербург 2009г
Содержание
Анализ исходных данных и предварительный выбор структурной схемы
устройства
Выбор первых каскадов радиоприемного устройства осуществлен, исходя
из назначения тракта радиочастоты
Выбор активного элемента для первого УРЧ
Расчетная часть
Список литературы
Приложения
Анализ
исходных данных и предварительный выбор структурной схемы устройства
В качестве возможного прототипа рассмотрим схемы, выполненные
на микросхеме К174ХА2, предназначенной для использования в радиоприемниках с АМ
[4], в частности, схема приемника, обеспечивающая чувствительность 3-5 мкВ
(выше заданной), но на фиксированную частоту (не удовлетворяет ТЗ) [4, рис.4.19
б] и схема для приема сигналов частотой до 10 МГц с чувствительностью 0,1 мкВ
(выше заданной) [4, рис.4.19 г].
Выбор первых
каскадов радиоприемного устройства осуществлен, исходя из назначения тракта
радиочастоты
обеспечение заданной чувствительности;
обеспечение заданной избирательности по зеркальному каналу
(ЗК);
обеспечение заданной избирательности по каналу промежуточной
частоты.
1. Заданная чувствительность Еа = 10мкВ; при этом
собственные шумы приемника не должны превышать порога Nпр:
=
=312,
где шумовая полоса
= 1,1 * П;
- минимально допустимое отношение
напряжения полезного сигнала к среднеквадратическому значению шума на выходе
линейного тракта - рекомендовано для АМ-радиовещания 20 дБ. Ориентировочное
значение коэффициента шума линейного тракта (с одним УРЧ):
=5,1
где
,
,
,
- коэффициенты шума ВЦ, УРЧ, ПрЧ и УПЧ;
,
,
- коэффициенты передачи ВЦ, УРЧ и ПрЧ по
мощности (для ориентировочного расчета берутся из таблиц). Последним слагаемым
можно пренебречь, т.к. шумовые и усилительные параметры УПЧ не оказывают
заметного влияния на общий коэффициент шума линейного тракта.
=1,5;
=0,6;
=2
;
=100;
=4
;
=50;
типовое =2-4дБ (1,6раз)
Итак, при структуре с одним УРЧ
<
, и имеется достаточный запас на случай
применения еще одного УРЧ.
2 Для выбора
структурной схемы преселектора использованы нормированные графики [1, стр.21],
откуда для заданного ослабления по ЗК 50 дБ определяется обобщенная расстройка ξ = 23дБ
(14 раз), и схема вида (№3):
ВЦ УРЧ-Р
Проверка: полоса пропускания преселектора, исходя из исходных
данных (при
=110)
= 8 МГц / 110 = 72кГц
·
крутизна
характеристики избирательности преселектора:
=31,9;
число колебательных контуров: m=
/20 = 1,6; округляем до целого m=2, таким образом, для обеспечения заданного ослабления по
ЗК достаточно применить два элемента преселектора: одноконтурную ВЦ и
резонансный УРЧ. Величину ослабления по ЗК можно распределить равномерно (при
этом следует учесть, что с уменьшением добротности контура расширяется полоса
пропускания).
Так как за прототип принята схема приемника на микросхеме,
содержащей свой УРЧ, следует учесть чувствительность микросхемы: по паспорту
минимальный уровень сигнала на входе 20 мкВ, поэтому первый УРЧ необходим также
и для обеспечения такого уровня на входе микросхемы.
3 Согласно
ТЗ на выходе линейного тракта необходимо получить сигнал UвыхЛТ=100 мВ. Значит, коэффициент передачи всего линейного тракта
по напряжению должен быть:
4 Ослабление
по соседнему каналу обеспечивается в тракте промежуточной частоты. Требование σск = 40 дБ исключает применение распределенной схемы
построения; выбирается схема тракта ПЧ с ФСИ на fпч.
прием обработка сигнал радиочастота
Выбор
активного элемента для первого УРЧ
На умеренно высоких частотах наибольшее распространение
получила схема с ОЭ (в случае применения биполярного транзистора), позволяющая
при небольшом уровне собственных шумов получить максимальный коэффициент по
мощности [2, стр.214]. В качестве нагрузки применяется резонансный
колебательный контур, перестраиваемый в том же диапазоне, что и ВЦ,
индуктивность катушки берется такой же, как в контуре ВЦ [2, стр.223]. Рекомендуется
использовать типовой режим работы транзистора. Транзистор выбирают из условия fгр > 3*fсигн., что обеспечивает
слабую зависимость параметров транзистора от частоты. Для термостабилизации
режима работы применяется Rэ (создается обратная связь по постоянному току). Выбранный
режим по постоянному току обеспечивается делителем Rб1, Rб2. Для согласования выхода
УРЧ и входа следующего каскада (т.е. УРЧ микросхемы, имеющей Rвх=3кОм) применяется
согласующий трансформатор.
В качестве активного элемента можно выбрать, например,
транзисторы КТ307А-Г (fгр=250МГц), КТ312Б, В (fгр=120МГц), КТ315 (fгр=200МГц).
Для расчета необходимо знать не только параметры, данные в
справочнике, но и зависимости Y-параметров от частоты. Выбираем транзистор КТ312Б (паспорт и
графики указанных зависимостей - Приложение 2). При этом следует учитывать
эффективное увеличение емкости Скб (эффект Миллера), которое играет основную
роль в спаде усиления. Для устранения этого явления строим УРЧ по каскодной
схеме ОЭ-ОБ [1, стр.218].
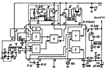
Структурная схема линейного тракта приемного устройства:
В состав микросхемы К174ХА2 входят следующие блоки:
усилитель сигналов радиочастоты с системой АРУ;
смеситель;
усилитель промежуточной частоты с системой АРУ;
гетеродин.
Исходя из этого, расчету подлежат входная цепь (ВЦ), УРЧ с
резонансным контуром, согласующие элементы, контур гетеродина, элементы
согласования ФСИ с микросхемой.
Расчетная
часть
I. Выбор числа поддиапазонов и их границ:
1) коэффициент перекрытия:
= 8/3 = 2,67
) число поддиапазонов
= 1, т.е. можно не разбивать на поддиапазоны.
) крайние частоты с запасом (1-3) %: f ‘min = 2,9 МГц; f ‘max = 8,2 МГц
) коэффициент перекрытия с запасом
= 2,83
II. Расчет входной цепи (ВЦ):
При выборе структурной схемы решено применять одноконтурную ВЦ.
Известно [1, стр.157], что внутриемкостная связь с антенной, хотя и дает
высокую избирательность и достаточно большой коэффициент передачи по
напряжению, но имеет большую неравномерность параметров по диапазону, например,
при
коэффициент передачи меняется
пропорционально квадрату частоты - эта связь используется в низкокачественных
приемниках; при
коэффициент передачи примерно постоянный,
но зависит от емкости антенны, и для антенн с малой емкостью (малогабаритных)
имеет низкое значение.
Наибольшее распространение в заданном диапазоне получила ВЦ с
индуктивной связью с антенной, работающая в режиме удлинения
. При этом коэффициент передачи падает с
частотой, но, т.к. коэффициент передачи УРЧ растет с частотой, то в целом для
преселектора он изменяется мало. Таким образом, применяем схему ВЦ с
индуктивной связью с антенной и транзистором [1, рис.4.7], работающую в режиме
удлинения.
Исходные данные для расчета: f ‘min = 2,9
МГц; f ‘max = 8,2 МГц;
f пр =
465 кГц; полоса пропускания П=1,8 кГц;
эквивалентные емкости: С э = (46…249) пФ;
параметры антенны: RА=
20-500 Ом - принимаем 400 Ом
LА= 20 мкГн
СА=
50-300пФ
) Выбор конденсатора переменной емкости КПЕ: согласно выбранной
структурной схеме необходим трехсекционный КПЕ; для диапазона 1,5-6 МГц емкость
КПЕ выбирается [2] в переделах 4.8 - 150…250 пФ. Выбираем С min = 7 пФ; С max = 210 пФ.
) Емкость схемы:
) Тогда для выбранного блока конденсаторов индуктивность контура:
=2,53*104* (2,83*2,83-1) / (8,2*8,2* (210-7) = 19 мкГн
) Индуктивность катушки связи зависит от степени удлинения (т.е.
от соотношения наименьшей частоты диапазона и резонансной частоты антенны),
следовательно, выбираем коэффициент удлинения kудл =1,8 (с учетом того, что с ростом kудл падает коэффициент передачи ВЦ, хотя
растет его равномерность в пределах диапазона, kудл =1,2…2).
Индуктивность связи с антенной:
=2,53*104*1,8*1,8/ (2,9МГц*2,9МГц*50пФ) =195 мкГн
) Определяем коэффициент связи с антенной и коэффициент включения
ВЦ к входу УРЧ для получения требуемого ослабления по ЗК (dэ=1/60=0,017) так, чтобы на fмин и fмакс были равны суммы затуханий, вносимых
антенной и входом УРЧ:
, где
=
14,39
=
=0,04
0,04*√14,39=0,17
) Коэффициент связи с антенной, обеспечивающий допустимую
расстройку контура входной цепи (полагаем, что антенна и входная емкость УРЧ
вносят одинаковую расстройку, причем, суммарная расстройка не превышает
половины полосы пропускания.
,
где
=fмин /fАмакс =2,9/1,61=1,8
fмакс/fАмин =8,2/0,65=12,6
где fАмин=
=0,159/√ (195мкГн*300пФ) =0,65 МГц
fАмакс=
=0,159/√ (195мкГн*50пФ) =1,61 МГц
=0, 197
Конструктивно выполнимый коэффициент связи
= 0,5-0,6
) Выбираем kсвА min {k1, k2, k3} = 0,16
) Индуктивность связи с входом УРЧ выбираем так, чтобы она
образовывала контур совместно с Свх транзистора, настроенный на частоту
выше
при верхней настройке гетеродина [1,
стр.162] (Свх=20пФ для транзистора КТ312 с учетом работы каскада на
высокой частоте):
=15,2мкГн
Принимаем
=15 мкГн
) Находим коэффициент связи между катушками L и L свУРЧ, необходимый для получения mвх:
kсвУРЧ=
=0,04*√
(19/15) =0,045
) Используемая в расчетах емкость контура Ск, помимо
емкости переменного конденсатора С, включает в себя внесенные
емкости антенной цепи и нагрузочного каскада, а также емкости катушки
индуктивности и монтажа.
Емкость контурного конденсатора равна:
Сп = Ссх - См - СL mвх2*Свх = 23-10-5-0,04*0,04* 20=10 пФ,
где емкость монтажа СМ = 8-10пФ; собственная емкость
катушки СL = 4-10 пФ (для КВ) - [2, табл.2.11];
) Рассчитываем для крайних частот коэффициент передачи входной
цепи:
На f=2,6 МГц К0ВЦ=0,16
На f=8,2 МГц К0ВЦ=0,114
Таким образом, выбранный kудл=1,8 дал достаточную равномерность
коэффициента передачи ВЦ.
) Определяем ослабление:
по ЗК (
=2fп=,930МГц)
=
=14 =22,9 дБ (для достижения заданного еще необходимо 50-23=27дБ)
по СК
=
= 1,009=0,078 дБ
(как и предполагалось, заданное ослабление 40дБ будет
обеспечено в тракте ПЧ с ФСИ).
·
по
каналу промежуточной частоты заданное ослабление 70дБ (3162,2раза).
=60* (0,465/8-8/0,465) = 1009
σ пч = mпрес * 10 log (1+
2) = 2*10log (1+1009*1009) =120= 41,6 дБ,
что недостаточно.
Для того, чтобы получить необходимое ослабление 70дБ, необходимо в
антенную цепь включить фильтр - пробку [2, стр.174], рассчитанный на fпч:
емкость конденсатора выбирается из Cф =
(200….600) пФ = 500пФ
индуктивность 
=235 мкГн
III. Расчет УРЧ
В качестве нагрузки усилителя использован резонансный контур,
значения элементов которого равны значениям элементов контура ВЦ: LкУРЧ = 18 мкГн; СкУРЧ =
(7…210) пФ. Связь с входом следующего каскада трансформаторная. Коэффициент
трансформации выбираем так, чтобы добротность контура позволила достичь
ослабление ЗК не менее 27 дБ, т.е. Qэ= 85 (Qк = 110).
Сопротивление контура:
собственное
= 110*6,28*8,2МГц*19мкГн = 100 кОм
эквивалентное
= 85*6,28*8,2*19=77 кОм
Пересчитанное сопротивление входного каскада УРЧ микросхемы:
Rвх м/сх=77*100 / (100-77) =335 кОм (Rэ= Rк // Rвх м/сх)
Коэффициент трансформации: N=√ (Rвх м/сх / rвх) = √ (335/3) =10,5
Требуемый коэффициент усиления УРЧ:
=
=175
Реализуем выбранную ранее каскодную схему на транзисторах одной
марки, и задаемся одним и тем же значением крутизны.
) Задаем I к = 3 мА, тогда
, откуда:
= 15/3 - 2-2= 1 кОм
)
=3*1 = 3 В, Uб1 = Uэ1 + Uбэ1 = 3+0.6=3,6 В
Выбираем сопротивления R1 и R2 делителя, задающего рабочую точку, исходя
из значения тока, протекающего через делитель Iдел1 = 1 мА:
= 3,6В/1мА=3,6 кОм
R1 =
= (15-3,6) В/1мА=11,4 кОм
)
=3* (1+2) =9В
Uб2 = Uэ2 + Uбэ2 =9+0,6=9,6В
Iдел2 = 1 мА
=9,6/1=9,6кОм
R3 =
= (15-9,6) /1=5,4кОм
) Емкость блокировочного конденсатора:
Сэ=500/ (2*3.14*fмин*Rэ) = С1=С2=500/6,28/2,4МГц/1 кОм =33 нФ
Для транзисторного усилительного каскада
=35*53=1800, поэтому значение требуемого
коэффициента усиления получаем с помощью неполного включения контура m=0.1
IV. Расчет согласующих
элементов микросхемы и ФСИ
Выбираем фильтр, удовлетворяющий ТЗ, т.е. обеспечивающий
ослабление по СК не менее 40 дБ.
В качестве такого фильтра может быть принят пьезокерамический
фильтр на среднюю частоту 465 кГц ФП1П-60.01 (Приложение 3) имеющий
относительное затухание при расстройке ∆f ск = 9кГц, равное 50дБ.
Схема согласования:
Номинальное значение характеристических сопротивлений:
выходного wб =2 кОм
входного wк =3 кОм.
Показатель связи фильтра с усилителем:
=27,5,
где
=2*0,01*465/2=4,65, d = 0,01 - конструктивное затухание контура. Индуктивность
контурной катушки:
=0,01/ (3,14*465*103*26,5*16,7*10-6)
=15,5мкГн,
где g22 - выходная проводимость предыдущего каскада (выход
микросхемы).
Индуктивности катушек согласующего трансформатора:
= 1,5*2*103/ (3,14*465*103*0,9*0,9)
=2,53мГн,
где k2 = 0,9 - коэффициент связи
=1,5/ (3,14*465*103*0,33*10-3) =3,1мГн
где g11 - входная проводимость каскада УПЧ микросхемы (RвхУПЧ=3кОм)
Коэффициент включения
=
√ (0,5* (28,5) 3*10-3*16,7*10-6)
= 0,8.
Индуктивность катушки связи фильтра с контуром
= 15,5*10-6* (0,8/0,9) 2=12,3мкГн
Емкость контура
=1/ (4*3,14*3,14*0,465*0,465*15,5) - 10=7,5нФ
V. Расчет контура на выходе УПЧ
Согласно типовым схемам к выходу УПЧ (вывод 7 микросхемы) необходимо подключить контур:
Емкость контура выбираем: Ск=1000пФ
Эквивалентная емкость: Скэ=Ск+Свых+См=1000+5+5=1010 пФ
Индуктивность:
=1/ (2*3,14*465) 2/1010=116мкГн
VI. Расчет контура гетеродина
Контур гетеродина, входящего в состав микросхемы, подключают
как внешний элемент.
) Этот контур должен перестраиваться в диапазоне частот с
учетом запаса по перекрытию:
fгмин = fмин + fпч = 2,9 + 0,465 = 3,365 МГц
fгмакс = fмакс + fпч = 8,2 + 0,465 = 8,665 МГц
) коэффициент перекрытия по частоте kдГ= fгмакс / fгмин = 8,665/3,365 = 2,57
) коэффициент перекрытия по частоте контура преселектора kд=2,83 > 1,7,
следовательно, число точек точного сопряжения - три.
=2,9*2,83^0.067 = 3109 кГц
=2,9*2,83^0.05 = 4879 кГц
=2,9*2,83^0.933 = 7654 кГц
) схема сочетания контура преселектора и гетеродина (аналогичная
схема применена в [4, рис.4, 19в])
) расчет вспомогательных величин
a = (f1+f2+f3) / fмин = 5,394
b= (f1* f2+ f2*f3+ f1* f3) / f2мин = 9,07
с= f1* f2*f3/ f3мин = 4,76
e=fпч / fмин = 0,16
d=a+2*e=5,72
j=0.5* (b*d-c) /e = 147,2
m=ad+e2-b+j=169
n= (e2*j+c*d) /m=0,18
Задаем С1Г=10пФ (в нее входит емкость монтажа)
x=C1Г-С1=10
z =
-x= (7+20) *2,83*2,83/147,2+10 = 11,47*10-9
C2Г =
-x=1211 пФ
C3Г=
=11,6 пФ
подстроечный конденсатор емкостью 3…10 пФ)
) Минимальная и максимальная емкости контура, соответствующие
максимальной и минимальной частотам настройки гетеродина:
=
[1211* (20+7)] / (10+1211+7) +11.6= 38.2 пФ
=1211*297/ (1211+297) +11.6=250.1 пФ
Проверка правильности расчета:
Коэффициент перекрытия по частоте контура гетеродина через
полученные емкости:
=√ (250.1/38.2) =2,56
= (2,56-2.57) / (2.57-1) =0,01 < 0.05
=1/ (2*3,14*3,14*8.665) 2*38,2) =8 мкГн
Проверка диапазона частот гетеродина:
=3561 кГц
=9133 кГц
Погрешность сопряжения (при трех точках сопряжения) определяют по
номограмме [5] для kд=2,83 и fпч / f макс = 0,465/8.2 = 0,056:
=0,15%, что удовлетворяет полученным результатам.
VII. Система АРУ
Согласно исходным данным необходимо обеспечить эффективность
АРУ Δвх. сигн., дБ / Δвых. сигн., дБ = 80/12.
Используемая микросхема в своем составе имеет систему АРУ,
построенную на базе двух усилителей постоянного тока: один управляет УРЧ,
другой - УПЧ. Это позволяет создать двухпетлевое АРУ, применив два диодных
детектора, которые построены согласно типовой схеме включения микросхемы [4,
рис.4.13 г] Управляющие характеристики представлены на рисунках 4.15 а, б [4].
Из них видно, что можно достичь глубины регулировки усиления УПЧ более 60 дБ,
УРЧ - более 40, что позволяет обеспечить требуемую эффективность.
|
Сопротивления
|
|
Емкости
|
|
R1
|
11,4 кОм
|
С1
|
(7…210) пФ
|
|
R2
|
3,6 кОм
|
С2
|
(10…30) пФ
|
|
R3
|
5,4 кОм
|
С3
|
33 нФ
|
|
R4
|
9,4 кОм
|
С4
|
500 пФ
|
|
R5
|
1 кОм
|
С5
|
33нФ
|
|
R6
|
8,2 кОм
|
С6
|
33Ф
|
|
R7
|
39кОм
|
С7
|
(7…210) пФ
|
|
R8
|
12кОм
|
С8
|
(10…30) пФ
|
|
Индуктивности
|
С9
|
1200 пФ
|
|
L1
|
195 мкГн
|
С10
|
(7…210) пФ
|
|
L2
|
19 мкГн
|
С11
|
1000пФ
|
|
L3
|
15 мкГн
|
С12
|
5мкФ х15В
|
|
L4
|
235 мкГн
|
С13
|
3300пФ
|
|
L5
|
8 мкГн
|
С14
|
50мкФ х15В
|
|
L6
|
8 мкГн
|
С15
|
25мкФ х15В
|
|
L9
|
С16
|
1000пФ
|
|
L10
|
12 мкГн
|
С17
|
7,5нФ
|
|
L11
|
2,53 мГн
|
С18
|
0,1мкФ
|
|
L12
|
3,1 мГн
|
С19
|
0,1 мкФ
|
|
L13
|
116 мкГн
|
С20
|
0,01мкФ
|
|
|
С21
|
0,1мкФ
|
|
|
Z1
|
Фильтр
|
|
|
|
ФП1П-60.01
|
Список
литературы
1. "Проектирование
радиоприемных устройств" под редакцией А.П. Сиверса, Москва,
"Советское радио", 1976 г.
2. В.Д.
Екимов, К.М. Павлов "Проектирование радиоприемных устройств",
"Связь", 1970
. Ю.П.
Алексеев "Бытовая радиоприемная и звуковоспроизводящая аппаратура",
Москва, "Радио и связь", 1994 г.
. Д.И.
Атаев, В.А. Болотников "Аналоговые интегральные микросхемы для бытовой
радиоаппаратуры. Справочник", Москва, МЭИ, 1991 г.
. Н.В.
Бобров "Расчет радиоприемников", Москва, "Радио и связь",
1981
6. Сайты www.radioradar.net/news/electronics_news; www.silabs.com.
Приложения
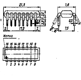
Микросхема К174ХА2 предназначена для
использования в радиовещательных супергетеродинных приемниках I-III классов с
амплитудной модуляцией. Эта микросхема содержит следующие узлы: усилитель
высокой частоты. двойной балансный смеситель с отдельным гетеродином и
усилитель промежуточной частоты с АРУ. Ее функциональная схема и схема
подключения приведены на рис.1 (1 - УВЧ; 2 - гетеродин; 3 - смеситель; 4 - УПЧ;
5 - УПТ АРУ УВЧ; 6 - УПТ АРУ УПЧ).
.1
Основные технические характеристики
|
Напряжение
питания. В, не более
|
9
|
|
Ток
потребления, мА
|
6.13
|
|
Чувствительность
при соотношения сигнал/шум 20 дБ на частоте 1060 кГц. мкВ, не более
|
20
|
|
Выходное
напряжение, мВ
|
60
|
Конструктивно микросхема К174ХА2 оформлена в корпусе
238.16-1. Его габариты приведены на рис.2.
.2
Предельные эксплуатационные данные
|
Напряжение
питания, В
|
16
|
|
Частота
входного сигнала, МГЦ
|
30
|
|
Ток
потребления, мА
|
16
|
|
Температура
окружающей среды,°С
|
-25. +56
|