Основы химии
Министерство
образования РФ
Череповецкий
Государственный Университет
Инженерно-технический
институт
Кафедра химии
Основы химии
Череповец
Практикум содержит теоретический материал, описание экспериментальных
установок, приборов и реактивов, порядок выполнения работ, алгоритмы обработки
экспериментальных данных, вопросы для контроля знаний. Содержание и объем
практикума соответствует государственному стандарту дисциплины
"Химия" для инженерно-технических специальностей вузов. Работа № 8
составлена С.А. Утенковой, Г.А. Котенко, работа № 9 - О.А. Калько, Н.В.
Куниной, работа № 10 - О.А. Калько, Г.А. Котенко, работа № 11 - О.А. Калько.
Рассмотрено на заседании кафедры химии 23 апреля 1999года, протокол № 6.
Одобрено редакционно-издательской комиссией Инженерно-технического института
ЧГУ 24 апреля 1999 года, протокол № 9.
Рецензенты: Л.Ю. Кудрявцева - канд. техн. наук, доцент кафедры ПЭ;
Г.В. Козлова - канд. хим. наук, доцент кафедры химии
Составители: Г.А. Котенко - канд. хим. наук, доцент;
О.А. Калько - канд. техн. наук;
С.А. Утенкова
Н.В. Кунина
Научный редактор: Г.А. Котенко - канд. хим. наук, доцент
СОДЕРЖАНИЕ
Работа № 8. Окислительно-восстановительные реакции
Работа № 9. Гальванические элемент
Работа № 10. Электролиз водных
растворов электролитов
Работа № 11. Коррозия металлов
Литература
РАБОТА № 8. ОКИСЛИТЕЛЬНО-ВОССТАНОВИТЕЛЬНЫЕ РЕАКЦИИ
1.
Цель работы: Формирование навыков составления уравнений
окислительно-восстановительных реакций, расчета эквивалентных масс окислителя и
восстановителя, определения направления протекания
окислительно-восстановительных реакций.
2. Основные теоретические положения
Степень окисления
Степень окисления элемента в соединении - это число
электронов, смещенных от атома данного элемента к другим атомам (положительная
степень окисления) или от других атомов к атому данного элемента (отрицательная
степень окисления).
Степень окисления (СО) обозначают арабской цифрой со знаком "+"
или "-" перед ней, цифру ставят над символом элемента. В отличие от
СО заряд иона обозначают так: сначала арабская цифра, затем знак заряда.
Например:
СО
- 
, заряд
иона СО2+, РО
.
окислительный гальванический электролиз коррозия
Большинство
элементов проявляют переменную степень окисления. При этом она может быть
выражена как целым, так и дробным числом. В соединениях с неполярными связями, в
металлах, а также в простых веществах степень окисления равна нулю (N
, Fe0,Mn0, S0,C0).
Некоторые
элементы в соединениях проявляют постоянные СО.
Например:
1) фтор - "-1";
2) кислород - "-2", за исключением пероксидов
("-1") и фторида кислорода OF2("+2");
3) водород-
"+1", кроме гидридов металлов ("-1")
,
,
и т.д.;
) щелочные
металлы (I группа главная подгруппа) "+1";
) металлы
II группы главной подгруппы, а также Zn и Cd
"+2";
) галогены
в галогенидах "-1";
) сера
в сульфидах "-2".
Для вычисления СО элемент в соединении следует пользоваться правилом,
согласно которому алгебраическая сумма СО элементов в электронейтральных
молекулах равна нулю, а в сложных ионах - заряду иона.
Пример:
а) вещество H3AsO4
СО элементов: +1·х - 2
тогда +1·3 + х+(-2)·4 = 0 ® х = +5, таким образом СО мышьяка в данном соединении +5;
б) ион Cr2O72 -
СО элементов: х - 2,
тогда х·2+(-2)·7 = - 2 ® х = +6, таким образом СО хрома в данном ионе равна +6;
Окислительно-восстановительные реакции (ОВР)
ОВР называются такие процессы, в результате которых
изменяется СО одного или нескольких элементов, входящих в состав исходных
реагирующих веществ.
Окисление - процесс отдачи электронов, при этом СО элемента повышается.
Восстановление - процесс присоединения электронов, при этом СО элемента
понижается.
Вещество, отдающее электроны, называется восстановителем, а вещество,
присоединяющее электроны, называется окислением.
В ОВР окисление и восстановление взаимосвязаны. Здесь окислитель из
окисленной формы (Ох) переходит в восстановленную (Red), а восстановитель из восстановленной формы (Red) - в окисленную. Оба процесса
протекают одновременно. В общем виде это выглядит так:
Например:

В данной реакции свинец повышает свою СО, окисляется и является
восстановителем.
Pb0 - 4е- → Pb4+
СО кислорода понижается. Он восстанавливается, т.е. является окислителем:
O0 + 2e ® O2 -
Типичными окислителями являются
неметаллы с высокой электроотрицательностью, а также другие вещества, в состав
которых входят атомы с максимальной СО. Восстановители - это вещества,
содержащие атомы металлов и неметаллов в низшей степени окисления. Вещества
обладают окислительно-восстановительной двойственностью, если в их составе есть
атомы в промежуточной СО.
Например, для соединений, содержащих S:
) минимальная СО "-2" - Н2S может быть только восстановителем;
) максимальная СО "+6" - Na2SO4 может быть только окислителем;
) промежуточная СО "0", "+4" - S, Na2SO4 - окислительно-восстановительная двойственность.
Классификация ОВР
1. Межмолекулярные - реакции, в которых окислитель и восстановитель
входят в состав различных веществ.
2. Внутримолекулярные - окислитель и восстановитель являются
различными элементами, входящими в состав одного и того же вещества
3. Реакции диспропорционирования (самоокисления-cамовосстановления). Здесь окислитель
и восстановитель - один и тот же элемент в составе одного вещества.
Методы составления уравнений ОВР
Для подбора коэффициентов в ОВР применяют два метода:
1. Ионно-электронного баланса (метод полуреакций);
2. Электронного баланса.
При составлении ОВР следует помнить:
1. Число атомов каждого элемента в результате реакции остается
постоянным;
2. Число электронов, принятых окислителем, равно числу электронов,
отданных восстановителем.
1. Метод ионно-электронного баланса применяется, если ОВР протекает
в растворе. При подборе коэффициентов следует соблюдать определенную последовательность действий:
) Записать схему реакции, определить СО элементов, выявить
окислитель и восстановитель
Исходная схема реакции может не включать в себя некоторые побочные
соединения. Их следует внести в схему реакции самостоятельно при окончательном
подборе коэффициентов.
Например:
2) Составить ионно-электронные полуреакции. Для этого атомы,
изменяющие СО, записывают в составе частиц, имеющихся в растворе.
Следует учитывать, что сильные электролиты в растворе полностью
диссоциируют на ионы: малорастворимые вещества, неэлектролиты и слабые
электролиты существуют преимущественно в виде молекул. Для данного примера:
Тогда
3) Сбалансировать число атомов всех элементов в обоих частях
полуреакций, добавляя соответствующие частицы (молекулы или ионы).
Число атомов водорода и кислорода в водных растворах балансируют при помощи
Н2О, Н+, ОН-:
а) если исходный ион или молекула содержит больше атомов кислорода, чем
продукт реакции, то
в кислой среде избыток атомов кислорода связывается ионами Н+
в молекулы Н2О,
в нейтральной или щелочной среде - молекулами Н2О в группы ОН-;
б) если исходный ион или молекула содержит меньше атомов кислорода, чем
продукт реакции, то
в кислой и нейтральной среде недостаток атомов кислорода компенсируется
молекулами Н2О с образованием Н+,
в щелочной среде - за счет ионов ОН- с образованием молекулы Н2О.
Для данного примера:
H2O2 ® O2
+ 2H+
Cr2O72- + 14H+® 2Cr3+ + 7H2O
) Сбалансировать число принятых и отданных электронов: коэффициенты перед
электронами переносятся в качестве множителей "крест на крест". Если
коэффициенты кратны друг другу, их следует сократить на наибольшее общее
кратное (в некоторых случаях допускается умножение на целое число).
H2O2 - 2е ® [O2 + 2H+]2+
[Cr2O72- + 14H+]
+ 6e® [2Cr3+ + 7H2O]6+
5) Умножая на полученные коэффициенты составные части уравнений
полуреакций, записать суммарное уравнение и если требуется, сократить подобные
слагаемые
3H2O2 + Cr2O72-
+ 14H+ ® 3O2 + 6H+ + 2Cr3+ +
7H2O + ¼
6) Коэффициенты из суммарного уравнения перенести в молекулярное
3H2O2 + K2Cr2O7
+ 4H2SO4 ® 3O2 + Cr2(SO4)3
+ 7H2O + ¼
7) Сбалансировать атомы других элементов и включить в уравнение
недостающие вещества.
Порядок уравнивания атомов:
металлы, не принимавшие участие в ОВР;
кислотные остатки;
атомы водорода;
атомы кислорода. Если число атомов кислорода в левой и правой части
совпадает, то уравнение составлено правильно
3H2O2 + K2Cr2O7
+ 4H2SO4 ® 3O2 + Cr2(SO4)3
+ 7H2O + K2SO4
2. Метод электронного баланса является универсальным, то есть применяется
для любых окислительно-восстановительных реакций. Он основан на сравнении
степеней окисления атомов в исходных и конечных веществах:
) Записать схему реакции, определить СО элементов, выявить окислитель и
восстановитель.
Например:
)
Составить уравнения полуреакций электронного баланса:
Fe2+ - 1е ® Fe3+
Mn7+ + 5e ® Mn2+
3)
Сбалансировать число отданных и принятых электронов. В случае нечетных
коэффициентов их следует удвоить. Если в составе молекулы содержится четное
число атомов
Fe2+ - 1е ® Fe3+ ½´5½´10
Mn7+ + 5e ® Mn2+
½´1½´2
Далее
поступают как в первом методе.
Итоговое
уравнение:
Влияние
рН среды на окислительно-восстановительные свойства некоторых веществ
ОВР
могут протекать в кислой (избыток Н+), нейтральной (Н2О)
или щелочной (избыток ОН-)среде. рН влияет на интенсивность и
глубину протекания окислительно-восстановительных процессов.
Для
создания кислой среды обычно используют Н2SO4, для щелочной - КОН или NaOH. В таблице
1 приведены некоторые примеры влияния рН среды на образующиеся продукты
реакции.
Таблица
1 Продукты ОВР некоторых окислителей и восстановителей
*Г = Сl, Br, J
Направление протекания ОВР
Направление
протекания ОВР определяют двумя способами:
1. По знаку изменения свободной энергии Гиббса реакции DG. Если DG < 0, идет прямая реакция. Если DG > 0, самопроизвольно протекает
обратная реакция. Для окислительно-восстановительных реакций:
,
Где
n - число электронов, участвующих в реакции; F -
число Фарадея, 96480 Кл/моль-экв; Е0 - электродвижущая сила
процесса.
2. По величине электродвижущей силы реакции:
Е0 = Е0восстановления - Е0окисления
Где Е0восстановления, Е0окисления
- стандартные потенциалы процессов восстановления и окисления соответственно.
Значения Е0ох/Red содержатся в справочных таблицах и
записаны относительно процесса восстановления. Условие самопроизвольного
протекания ОВР в прямом направлении: Е0 > 0 или Е0восстановления
> Е0окисления.
Пример: Определить направление реакции:
SO42- + Cr3+ + H2O® SO32- + Cr2O72- + H+
По справочнику:
Е0(SO42- + H2O/ SO32- + 2ОН -) = -0,93 В
Е0(Cr2O72- + 14H+/ 2Cr3+ + 7H2O) =
1,33 В
Для данной системы SO42- является окислителем. Cr3+ - восстановителем:
ЕОВР = Е0SO42-/ SO32- - Е0Cr2O72-/ 2Cr3 = -0,93 - 1,33 = -2,26
Значит самопроизвольно будет протекать обратная реакция:
SO32- + Cr2O72-
+ H+® SO42- + Cr3+ + H2O
3. Экспериментальная часть
Опыт 1. Влияние рН среды на протекание
окислительно-восстановительных реакций:
а) окисление Fe (II) до Fe (III) в кислой и
щелочной среде.
Свежеприготовленный раствор FeSO4
(полученный растворением взятых в избытке опилок в разбавленной Н2SO4) разделить на 2 пробирки. К содержимому первой
пробирки прилить раствор NaOH.
Во вторую пробирку добавить 2 мл 1 М раствора Н2SO4 и несколько капель бромной воды, затем добавить 2
капли раствора К4[Fe(CN)6]. Записать наблюдения.
Составить уравнения реакций и объяснить результаты опытов;
б) восстановление перманганата калия сульфитом натрия.
Налить в 3 пробирки по 3 см3 0,1 М раствора перманганата
калия. В первую пробирку прилить 2 см3 1 М раствора Н2SO4, во вторую - 2 см3 дистиллированной воды;
в третью - 2 см3 раствора NaOH. В каждую пробирку добавить по 2 - 3 микрошпателя сульфита натрия.
Записать наблюдения. Используя метод ионно-электронного баланса, составить
уравнения окислительно-восстановительных реакций. Рассчитать эквивалентные
массы окислителя и восстановителя. На основании редокс-потенциалов сделать
вывод о том, в какой среде глубже протекает окислительно-восстановительный
процесс.
Опыт 2. Окисление сульфата хрома(III) пероксидом водорода.
В пробирку с 2 - 3 каплями раствора сульфата хрома(III) добавить по каплям 1 М раствор
гидроксида калия сначала до получения осадка, а затем до его растворения в
избытке щелочи. К прозрачному зеленому раствору добавить 4 - 5 капель
3-процентного раствора пероксида водорода. Написать уравнение реакции
превращения тетрагидроксохромата(III)
калия в хромат калия. Составить ионно-электронные полуреакции, подобрать
стехиометрические коэффициенты. Определить эквивалентные массы окислителя и
восстановителя. С помощью редокс - потенциалов установить термодинамическую
вероятность протекания процесса.
Опыт 3. Окислительные свойства соединений хрома (VI):
а) окисление сероводорода и сульфита натрия дихроматом калия в кислой
среде.
Внести в 2 пробирки по 4 - 5 капель раствора дихромата калия, подкислить
его раствором Н2SO4 и добавить в первую пробирку
сероводородной воды, во вторую - по каплям раствор сульфита натрия. Записать
наблюдения. Составить уравнения реакций методом ионно-электронного баланса. С
помощью редокс-потенциалов объяснить возможность протекания реакций;
б) окисление хлороводорода дихроматом калия.
Опыт проводить в вытяжном шкафу!
К раствору дихромата калия (3 - 4 капли) добавить 10 - 12 капель
концентрированного раствора соляной кислоты. Смесь нагреть. Указать какой газ
выделяется. Составить уравнение реакции. Методом электронного баланса подобрать
коэффициенты;
в) термическое разложение дихромата аммония (демонстрационный опыт).
На лист асбеста в вытяжном шкафу поставить фарфоровую чашку с насыпанным
в нее в виде горки дихроматом аммония. Поднести к верхушке пламя горелки и
сильно нагреть кристаллы до начала протекания реакции. Затем горелку отставить.
Наблюдать " извержение вулкана". Составить уравнение химической
реакции, уравнять ее методом электронного баланса. Указать, к какому типу
окислительно-восстановительных реакций относится данная реакция.
Опыт 4. Реакция диспропорционирования.
Кристаллик йода обработать небольшим количеством 2 М раствора NaOH при слабом нагревании. Записать
наблюдения. Составить уравнение окислительно-восстановительной реакции, методом
ионно-электронного баланса подобрать коэффициенты. Указать, какие свойства
проявляет йод и щелочь в данной реакции, к какому типу
окислительно-восстановительных реакций относится данная реакция.
Опыт 5. Окисление йодида калия пероксидом водорода.
Налить в пробирку 2 см3 раствора йодида калия, добавить
несколько капель 20-процентного раствора Н2SO4. Перемешивая содержимое пробирки, прилить 1 - 2 см3
3-процентного раствора Н2О2. Наблюдать изменение окраски.
Добавить 5 - 6 капель свежеприготовленного раствора крахмала. Записать
наблюдения, объяснить наблюдаемые явления. Составить уравнение
окислительно-восстановительной реакции, подобрать коэффициенты методом
ионно-электронного баланса. Оценить термодинамическую вероятность протекания
процесса.
4. Контрольные вопросы и задания
1. Определить степени окисления всех элементов в следующих
соединениях: Li2S, BeCO3, Na2B4O7, Mn(NO3)2, AlF3, Na2HPO4, Ca3(PO4)2, Zn(ClO4)2, KMnO4, K2CrO4, ZnSO4, Cr2(SO4)3, Zn3(AsO4)2.
2. Дать определение понятий "окисление",
"восстановление", "окислитель", "восстановитель".
. Определить, к какому типу относятся следующие ОВР:
а)
Mg(NO3)2 ® MgN + NO2 + O22O2 +
CO2 ® Na2CO3 + O24 + C ® BaS + CO
б) KOH
+ Cl2 ® KClO3 + KCl + H2O(NO3)2
® Hg
+ NO2 + O22O + FeS ® Cu2S + SO2
+ FeO
в) J2O5
+ CO ® CO2 + J26 + H2 ® S + HF+ H2O ® HJO3 + J2
+ HCl
4. Составить уравнения полуреакций с учетом рН среды:
5. Определить число электронов в полуреакциях:
а) СlO4- + 8Н+ +/- xe ® Сl- + 4Н2О
б) Сr2О72 - + 14Н+ +/- xe ® 2Cr3+ + 7H2O
в) Br2
+ 6H2O +/- xe ® 2BrO3- + 12H+
г) Sb + 4OH- + /- xe ® SbO2- + 2H2O
6. Составить ионно-электронные уравнения
окислительно-восстановительных реакций, протекающих по схемам:
a) K2Cr2O7,
H2S, H2SO4 ® Cr3+, SO32
-;
б) H2SO3, H2S, NaOH ® S2O32
-;
в) SO2, CI2, H2O
® SO42
-, Cl-;
г) KNO2, KMnO4, H2O ® NO3-;
д) КNО2, KMnO4, KOH ® NO3-;) KNO2, KMnO4,
H2SO4 ® NO3-;
ж) Сu2О, HNO3 ® NO2;
з) FeSO4, KClO3, H2SO4
® Cl - ;
и) СuС12, SO2, H2O
® Cu+;
к) CrCI3, Br2, KOH ®
. Вычислить ЭДС и определить направление
протекания реакции:
a) Fe2+ + ClO3- + Н+ « Fe3+ + Сl- + Н2O
Е0 (Fe3+/Fe2+) = 0,77B
Е0 (СlO3- + 6Н+/Сl- + 3Н2О) = 1,45В
б) JO3- + SO32 - + Н+ « J2 + SO42
- + Н2O
Е0 (SO42 - + H2O/ SO32
- + 2OH-) = -0,93В0 (2JO3- + 12H+/J2
+ 6H2O) = 1,19В) NO3- + Fe2+ + H+
« NO
+ Fe3+ +H2O
Е0 (NO3- + 4H+/NO + 2H2O)
= 0,96 В
Е0 (Fe3+/Fe2+) = 0,77B
8. Вычислить молярную массу эквивалента
окислителя (восстановителя), принимающего участие в процессе:
a) Cl2O ® HCI; б)КСlO3 ® KCl в)Н2С2О4
® СО2;
г) KJ ® J2; д) Н2О2 ® Н2О; e) H2S ® H2SO4;
9. Какая масса йода выделяется из раствора KJ при действии на него раствора FeCl3, содержащего 0,325 кг хлорида железа (III)?
10. Составить уравнения
окислительно-восстановительных реакций, указать восстановитель и окислитель:
As2S3 + HNO3
+ ¼ ® H2SO4 + H3AsО4 +
NO2S + HNO3 ® Cu(NO3)3 + NO
+ H2SO4 + ¼5H8O3 +KMnO4
® CO2
+ MnO2+KOH + ¼+ HNO3 ® A1(NO3)3
+ N2O + ¼е(CrO2)2 + KOH + KNO3 ® Fе2O3
+ K2CrО4 + KNO2 + ¼3AsО3 + Zn + HCl
® AsH3
+ ZnCl2 + ¼
РАБОТА № 9. ГАЛЬВАНИЧЕСКИЕ ЭЛЕМЕНТЫ
1. Цель работы: Формирование навыков измерения и
расчета электродвижущих сил гальванических элементов.
2. Основные теоретические
положения
Химическими источниками тока (ХИТ) называются устройства, служащие для
преобразования энергии химических реакций в электрическую энергию. Действие ХИТ
основано на самопроизвольном протекании окислительно-восстановительных реакций,
при этом электроны от восстановителя к окислителю перелаются по внешней цепи
(металлический проводник).
Различают три основных вида ХИТ: гальванические
элементы (ГЭ), аккумуляторы и топливные элементы.
Гальваническим элементом называют ХИТ однократного использования,
в котором реагенты (окислитель и восстановитель) входят непосредственно в
состав гальванического элемента и расходуются в процессе его работы. Принцип
действия гальванического элемента рассмотрим на примере медно-никелевого
элемента: медная и никелевая пластины погружены в растворы своих сульфатов
(рис. 1).
Для предотвращения прямого взаимодействия реактивов
растворы NiSO4 и CuSO4 разделены
пористой перегородкой или находятся в разных сосудах, а электрический контакт
обеспечивается электролитическим мостиком (раствор КС1).
При контакте металла с раствором на межфазной границе возникает двойной
электрический слой и устанавливается равновесие:
1) Ni « Ni2+ + 2e,
2) Сu « Сu2+ + 2е
Каждому
равновесию отвечает определенное значение равновесного потенциала Е
и Е
. В
стандартных условиях (Р = 1 атм, Т = 298К активность ионов Меn+ в растворе равна 1)
стандартный потенциал никелевого электрода Е0
= -0,25 В, а медного - Е0
= 0,34 В.
Рис.
1. Схема медно-никелевого гальванического элемента
-
пористая перегородка
При
замыкании внешней цепи в силу разности потенциалов электроны с никелевого
электрода будут переходить на медный электрод, В цепи появится электрический
ток. Переход электронов нарушит равновесия на границах
"металл-раствор". Чтобы вернуться в состояние равновесия, никелевый
электрод начнет окисляться, а ионы меди - восстанавливаться.
1) Ni0 -2е ® Ni2+,
2) Сu2+ + 2е ® Cu0
Данные процессы будут продолжаться до тех пор, пока не
выровняются потенциалы электродов или не растворится весь никель (или не
высадится на медном электроде вся медь). Электрод, который окисляется при
работе ХИТ называется анод (имеет меньшее значение потенциала и обозначается
"-"), а электрод, на котором при
эксплуатации происходит восстановление, называется катод (имеет большее
значение потенциала, обозначается "+"). Суммарная химическая реакция,
протекающая в гальваническом элементе, называется токообразующей. Для Cu-Ni элемента
CuSO4 + Ni ® NiSO4 + Сu
Гальванический элемент принято записывать схематично.
Границу раздела "металл-раствор" обозначают одной вертикальной
чертой, а границу между растворами - двумя чертами. Схема Cu-Ni элемента, например, записывается в виде:
(-) Ni êNiSO4 êê CuSO4 ê Cu (+)
Основной характеристикой работы гальванического
элемента является электродвижущая сила (ЭДС) - максимальная разность
потенциалов между электродами, которая может быть получена при работе элемента.
E = Eкатод - Eанод, В (1)
ЭДС гальванического элемента связана с изменением
энергии Гиббса токообразующей реакции DG уравнением:
(2)
где
n - число электронов, участвующих в электродной
реакции; F -постоянная Фарадея, равная 96484 Кл/моль. Выражение
(2) показывает связь между химической и электрической формами энергии и дает
возможность теоретического расчета ЭДС по термодинамическим данным участников
реакции. Для расчета ЭДС по уравнению (1) необходимо использовать значения
электродных потенциалов, установившихся в указанных условиях. Потенциал
металлического электрода Е
зависит от природы металла, температуры и активности
ионов Men+ в
растворе. Связь Е
, с указанными характеристиками устанавливается уравнением
Нернста:
где
Е0
- потенциал металлического электрода в стандартных
условиях, В (значения Е0
,
содержатся в справочной литературе); R-универсальная газовая
постоянная, 8,314 Дж/моль.К; Т- абсолютная температура, К; n -
число электронов, принимающих участие в процессе; а
- активность ионов Меn+ в растворе, моль/дм3.
Для
разбавленных растворов а
, может быть принята равной молярной концентрации
ионов [Меn+ ]. Тогда
при Т = 298 К, с учетом численных значений констант и перехода из натурального
логарифмирования к десятичному, уравнение Нернста имеет вид:
(3)
Аккумуляторами
называют ХИТ, в которых осуществляется многократный переход химической энергии
в электрическую и наоборот. Процесс накопления энергии идет под воздействием
внешнего источника тока и называется заряд аккумулятора, а процесс превращения
химической энергии, в электрическую идет самопроизвольно и называется разряд
аккумулятора. Топливные элементы - это ХИТ, в которых окислитель и
восстановитель хранятся вне элемента и в процессе работы подаются к электродам,
которые не участвуют в токообразующей реакции. Такие элементы могут работать
длительный промежуток времени.
3.
Экспериментальная часть
Приборы и реактивы: иономер в режиме измерения ЭДС,
железная, никелевая, цинковая, кадмиевая и медная пластины, четыре химических
стакана вместимостью 100 см3, наждачная бумага, фильтровальная
бумага, растворы FеSO4, NiSO4, ZnSO4, CdSO4 и CuSO4 с концентрациями: 0,1 М; 0.25 М; 0.5 М; 1 М; солевой
мостик (П-образная трубка, заполненная насыщенным раствором КС1 в смеси с
агар-агаром).
Порядок выполнения работы
Получить у преподавателя виды электродов и значения
концентраций растворов MeSO4 и CuSO4 для трех гальванических элементов (одна концентрация
для MeSO4 и три концентрации для CuSO4 или наоборот). Подготовить прибор для измерения ЭДС.
Пластинки металлов зачистить наждачной бумагой, промыть дистиллированной водой
и промокнуть фильтровальной бумагой. Электрод, изготовленный из одного из
перечисленных металлов, присоединить к клемме "Изм.", а медный - к
клемме "Всп." потенциометра. В четыре стакана налить по 50 см3
растворов соответствующих солей. Меняя концентрации солей, можно составить 3
гальванических элемента.
Для каждого гальванического элемента в стаканы с
растворами сульфатов металлов опустить соответствующие пластины. Оба раствора
соединить с помощью солевого мостика. Снять показания ЭДС с прибора (например
11,5) и сделать пересчет в вольты:
Опыт
повторить два раза (Еi). Экспериментальные данные занести в таблицу 2.
4.
Обработка экспериментальных данных
Записать
схему и электродные реакции гальванического элемента.
По
результатам для каждого опыта вычислить среднее арифметическое значение ЭДС по
формуле
По
уравнению (3) рассчитать значения электродных потенциалов при всех указанных
преподавателем концентрациях [Меn+].
Таблица 2 Экспериментальные и расчетные данные
|
№ ГЭ
|
Концентрация ионов металла
в растворе [Меn+],
моль/дм3
|
Теоретическое значение
электродного потенциала Е ЭДС
гальванического элементаП, %
|
|
|
|
|
|
Эксперим.
|
Теор. ET
|
|
|
Меn+
|
Cu2+
|
Е Е ЕiЕсред.
|
|
|
|
|
|
|
1
|
|
|
|
|
|
|
|
|
|
2
|
|
|
|
|
|
|
|
|
|
3
|
|
|
|
|
|
|
|
|
Теоретические значения ЭДС ET для каждого случая вычислить по
уравнению (1) и оценить относительную погрешность опыта. Расчетные и
экспериментальные данные занести в таблицу 2. По полученным данным построить
графики зависимости ЭДС от концентрации ионов. Заполнить метрологическую карту
и сформулировать основные выводы.
5. Контрольные вопросы и задания
1. Электродный потенциал системы Sn/Sn2+ равен -
0.281 В. Определить концентрацию ионов Sn2+ в растворе.
2.Электродный потенциал системы Со/Со2+ уменьшился на 116 мВ.
3.Как изменится концентрация ионов Со2+ в растворе?
4.Какой потенциал приобретет платиновая пластинка, опущенная в 1 М раствор
подкисленного перманганата калия?
5.Составить схемы двух гальванических элементов, в одном из которых цинк -
анод, а в другом цинк - катод?
6.При какой концентрации ионов Cu2+ потенциал медного электрода будет равен стандартному потенциалу
водородного электрода?
7.Вычислить потенциал водородного электрода, опущенного в 0.1 М раствор
гидроксида натрия.
8.Какой должна быть концентрация уксусной кислоты (a = 0.01). чтобы потенциал водородного
электрода был равен - 0.05 В?
9.Составить схему, записать реакции на электродах и рассчитать ЭДС
гальванического элемента, составленного из меди, находящейся в растворе 0.1 М CuSO4. И кадмия, опущенного в раствор 0.01 М CdSO4.
10. Вычислить потенциал водородного электрода, опущенного в 0.05 М раствор
серной кислоты.
11. Определить стандартную ЭДС гальванического элемента, при работе которого
протекает реакция
2Al + 3CuSO4 « 3Cu + Al2(SO4)3
12.Свинцовый электрод в растворе нитрата свинца (II) имеет потенциал -0.20 В. Вычислить концентрацию ионов Рb2+ (в моль/дм3).
12. ЭДС элемента Даниэля-Якоби равна 1.12 В.
Концентрация ионов цинка Zn2+ равна 0.01 М. Определить
концентрацию ионов меди Си2+.
РАБОТА № 10. ЭЛЕКТРОЛИЗ ВОДНЫХ
РАСТВОРОВ ЭЛЕКТРОЛИТОВ
1. Цепь работы:
Формирование навыков расчета характеристик электролиза с использованием законов
Фарадея и записи электродных реакций.
2. Основные теоретические положения
Электролизом называются процессы, происходящие на
электродах под действием электрического тока, подаваемого от внешнего
источника. В этом случае происходит превращение электрической энергии в
химическую. Электролиз осуществляют в специальных устройствах - электролизерах.
Это два электрода, опущенные в сосуд, заполненный ионным проводником (электролитом).
Электроды присоединяют к полюсам внешнего источника тока. На отрицательном
электроде (катоде) происходят восстановительные процессы, а на положительном
электроде (аноде) - окислительные (рис.2).
Чтобы осуществить электролиз, между электродами необходимо
создать определенную разность потенциалов, которую называют потенциал
разложения. DЕ0разл.
- это минимальная необходимая разность
потенциалов между анодом и катодом, при которой начинается электролиз данного
соединения
DЕ0разл. = Е0а
- Е0к
где Е0а - стандартный
окислительно-восстановительный потенциал реакции на аноде, В; Е0к
- аналогичная характеристика реакции на катоде, В.
Рис. 2 Устройство и работа электролизера:
А - анод, К -
катод, Э -электролит, Аn - анионы, Кt - катионы
Электродные реакции
1. На К: Ох + nе® Red
2. На А: Red- nе® Ох
где Ох - окисленная форма; Red - восстановленная форма.
Для оценки эффективности работы электролизера
пользуются понятием выход продукта по току h. Иначе, это коэффициент полезного- действия электролизера.
На практике пользуются выражением для расчета h:
(1)
где mопыт - масса вещества, испытавшего
превращение на электроде, при прохождении определенного количества
электричества, найденная экспериментально, г; mтеор - масса вещества, вычисленная по закону Фарадея, при том же
количестве электричества, г.
Количественные законы электролиза
Первый закон
Фарадея
Количество вещества, испытавшего
электрохимическое превращение на электроде, прямо пропорционально количеству
прошедшего через электролизер электричества.
, л
где
m(V) - масса (объем) вещества, испытавшего превращение на
электроде; J - сила тока. А: t - время
электролиза, с: кэ - электрохимический эквивалент, который равен
отношению молярной массы эквивалента вещества MЭ (молярного объема эквивалента вещества VЭ) к постоянной Фарадея.
Расчет
МЭ и VЭ для
веществ, участвующих в окислительно-восстановительном процессе, необходимо
вести по формулам
где
М - молярная масса вещества, г/моль; Vм - молярный объем при данных физических условиях,
л/моль; ne - число электронов, принятых окислителем или отданных
восстановителем.
Второй закон Фарадея
Массы веществ, прореагировавших на
электродах при одинаковом количестве электричества, относятся друг к другу как
молярные массы их эквивалентов.
при J·t = const
Иначе,
это закон эквивалентов для электрохимических превращений.
Электродные реакции при электролизе водных растворов электролитов
Характер
протекания электродных процессов зависит от многих факторов, важнейшими из
которых являются состав электролита, материал электродов и режим проведения
электролиза (температура, напряжение, плотность тока и др.). Какие именно
электрохимические реакции будут протекать у электродов, прежде всего,
определяется значением электродных потенциалов соответствующих
электрохимических систем в условиях электролиза. Из нескольких возможных
процессов будет протекать тот, осуществление которого требует меньшего
количества энергии. Это означает, что:
1) на катоде в первую очередь восстанавливаются
те частицы (ионы или молекулы), которые обладают наибольшим значением
окислительно-восстановительного потенциала;
2) на аноде в первую очередь окисляются
частицы, имеющие наименьшее значение окислительно-восстановительного
потенциала.
При рассмотрении электролиза водных растворов
электролитов необходимо учитывать, что, кроме ионов электролита и материала
анода, во всяком водном растворе имеются молекулы Н2О и ионы H+, ОН-, которые также могут испытать электрохимическое превращение
на электродах. Рассмотрим эти процессы подробнее.
Катодное восстановление
В воднььх растворах электролитов у отрицательного
электрода восстановлению могут подвергнуться катионы электролита (чаще всего
это ионы металлов Меn+) и
молекулы воды по следующим схемам:
а) Men+ + nе ® Me,
б) 2Н2О + 2е ® Н2 + 2ОН-
Потенциал выделения водорода из нейтральных растворов
(рН = 7) по схеме (б) имеет значение
Е(2Н
О / Н
+
2ОН
) = -0,059·7 = -0,41 В
Таким
образом, на катоде при электролизе нейтральных водных растворов электролитов
возможны три случая:
)
если Е
> - 0,41 В. то на катоде будет
наблюдаться выделение металла по схеме (а). Такие металлы находятся в ряду
напряжении, начиная приблизительно с олова;
)
если Е
< -0,41 В, то металл
восстанавливаться не будет, а произойдет выделение водорода по схеме (б). К
таким металлам относятся металлы, стоящие в ряду напряжений до титана;
)
если Е
=0,41 В (от - 0.50 до - 0.32 В), то в растворе
наблюдается совместное восстановление и ионов металла, и молекул воды. Это
металлы средней части ряда напряжений - Zn, Cr, Fe, Cd, Ni, Co.
Например, при электролизе водного раствора CdSO4 катодный процесс может быть записан уравнением:
Электрохимическое выделение водорода из кислых
растворов (рН < 7) происходит вследствие разряда ионов водорода
2H+ + 2e ® H2
В случае же щелочных сред (рН > 7) восстановление
идет, как и в нейтральных растворах, по схеме (б).
При рассмотрении катодных процессов на практике
следует сравнивать не стандартные значения потенциалов, a E(Ox / Red),
вычисленные по уравнению Нернста при данных условиях.
Анодное окисление
При рассмотрении анодных процессов следует иметь в
виду, что материал анода в ходе электролиза может окисляться. В связи с этим
различают электролиз с инертным анодом и электролиз с активным анодом. Инертным
называется анод, материал которого не окисляется в ходе электролиза. Такие
аноды изготавливают из материалов с высоким значением электродного потенциала
(чаще всего это графит, уголь, платина). Активным называется анод, материал
которого окисляется в ходе электролиза (металлические аноды). В случае
электролиза с активным анодом всегда происходит окисление материала анода по
схеме
Me - ne ® Men+
Этот процесс называется анодным растворением металла.
На инертном аноде при электролизе водных растворов электролитов могут
конкурировать процессы:
а) окисление воды по схемам
2H2O + 4e ® O2 + 4H+, при рН < или = 7;
Е° (О2+4Н+/2Н2О) =
1,23 В;
ОН- - 4е
® О2 + 2Н2О, при
рН > 7;
Еo
(О2+2Н2О/4ОН-) = 0,40 В;
б) окисление других ионов, находящихся в растворе
(чаще всего анионы кислотных остатков) по схеме
Red - nе ® Ох.
Процесс
образования газообразного кислорода на инертном электроде в нейтральных и
кислых растворах связан с определенными кинетическими трудностями. Это приводит
к возрастанию окислительно-восстановительного потенциала выделения О2.
Превышение потенциала разложения частицы над стандартным потенциалом называется
перенапряжением DЕ (в данном случае кислородное перенапряжение DЕ
). Величина DЕ зависит от
материала электрода. Так для графитового анода с учетом перенапряжения Еo
(О2 + 4Н+/2Н2О) = 1,52 В, а для гладкого
платинового - 1.68 В.
В
зависимости от значений стандартных потенциалов различных анионов возможны
следующие процессы на инертном аноде:
1) если в растворе содержатся анионы
кислородсодержащих кислот (SО42-, CО32-, NО3-, РО43-, ClО4-), а также ионы F , то происходит окисление воды по схеме (а), т.к. их потенциалы больше,
чем 1.68 В;
2) если в растворе находятся анионы, не
содержащие кислород, такие как Сl-, Вr-, J-, S2- и т.д., то вместо Н2О
окисляются данные ионы по схеме (б), т.к. их потенциалы меньше, чем 1,52 В.
Например, в водном растворе KCI на графитовом электроде будет выделяться газообразный
хлор по реакции 2Сl- - 2е
® Сl2, так как E° =
1.36 < 1.52 В.
3. Экспериментальная часть
Приборы и реактивы: секундомер; термометр; барометр;
прибор для электролиза воды; сосуд для электролиза; электроды: графитовые,
медные, цинковый, железный; JIATP;
источник постоянного тока; наждачная бумага; фильтровальная бумага; весы ВЛА;
электролиты: № 1 - состав: CuSO4·5Н2О
- 250 г/л, H2SO4 - 50 г/л, С2Н5ОН - 50 г/л; № 2 - 1 М
раствор KJ; № 3 - 0,5 М раствор Na2SO4; № 4 - 3 М раствор NaOH; № 5 - состав: ZnSO4·7Н2О
- 215 г/л, Al2(SO4)3·18H2O - 30 г/л, Na2SO4·10Н2О - 50 г/л. декстрин - 10 г/л.
Порядок выполнения работы
Опыт 1. Определение электрохимического эквивалента
меди
В сосуд для электролиза на 3/4 объема налить
электролит № 1.
Перед началом опыта катод (более тонкий электрод) очистить
наждачной бумагой, промыть дистиллированной водой и хлороформом, быстро
высушить на воздухе и взвесить на аналитических весах с точностью до четвертого
знака после запятой. Закрепить оба медных электрода в крышке стакана.
Подключить электроды к полюсам источника тока так, чтобы толстый электрод был
анодом. Плотность тока не должна превышать 20 мА/см2. В противном
случае осаждается черный, плохо держащийся на электроде порошок меди. Получить
у преподавателя указания на время электролиза и силу тока (0.5 - 1.0 А),
провести эксперимент. По истечении заданного времени установку отключить, катод
промыть дистиллированной водой и хлороформом, высушить и взвесить. Опыт
повторить при тех же условиях. Записать уравнения процессов, протекающих на
аноде и катоде. Рассчитать прирост массы катода по формуле: m = mкон - mнач. Опытную величину электрохимического
эквивалента найти по формуле:
Т
еоретическую
величину электрохимического эквивалента меди рассчитать по формуле:
Вычислить
относительную погрешность опыта:
Экспериментальные
и расчетные данные внести в таблицу 3.
Таблица 3 Экспериментальные и расчетные данные
|
№ Опыта
|
Сила тока J,
А
|
Время электролиза t,
с
|
Масса катода, г
|
Прирост массы катода, г
|
Электрохимический
эквивалент
|
П, %
|
|
|
|
до опыта mнач
|
после опыта mкон
|
mопыт
|
mтеор
|

|
|
|
|
|
|
|
|
|
|
|
|
|
Опыт 2. Электролиз водного раствора йодида калия
Налить в U-образную трубку (1) (рис. 3) электролит № 2, к которому добавить по 3 - 4 капли раствора крахмала и
фенолфталеина. В раствор погрузить графитовые электроды (2) и провести
электролиз в течение 7-10 минут. Наблюдать выделение пузырьков газа и изменение
окраски растворов у электродов. Установить, какие продукты выделяются при
электролизе данного раствора, записать уравнения реакций. Промыть электроды,
погрузив катод в 5-процентный раствор HCl, а анод в 5-процентный раствор NaHSO3
на 3-5 мин, а затем промыть их водой. Также промыть водой и трубку.
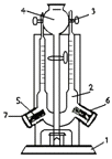
Рис. 3. Прибор для проведения электролиза
Опыт 3. Электролиз водного раствора сульфата натрия
U-Образную Трубку (1) (рис. 3) заполнить электролитом № 3,
прибавив несколько капель раствора метилового оранжевого, опустить в нее
графитовые электроды (2) и пропускать электрический ток в течение 7 минут.
Наблюдать выделение пузырьков газа на электродах и изменение окраски раствора.
Записать уравнения катодного и анодного процессов.
Опыт 4. Газометрический метод определения выхода
продуктов электролиза по току
Эксперимент проводится с помощью прибора для
демонстрации электролиза воды типа ОХ-2 (рис. 4). Основным элементом прибора
является U-образный сосуд (2), служащий
электролизером. К сосуду припаяны два эвдиометра (3) с кранами для сбора
выделяющихся при электролизе газов: водорода и кислорода. Электролизер имеет
два боковых патрубка (6), в которых установлены резиновые пробки (7) с
электродами (5) из нержавеющей стали. Электроды выполнены в виде гофрированных
цилиндров. На стойке прибора закреплена колба (4) с краном. Колба служит для
заливки электролизера раствором. Электролизер устанавливается на подставке (1)
с пружинным зажимом и снабжается в нижней части краном для слива жидкости.
Перед началом выполнения работы надеть защитные очки!
Подключить прибор к источнику постоянного тока
последовательно через ЛАТР и амперметр постоянного тока с пределом измерения до
2 А. Колбу (4) заполнить до половины емкости электролитом № 4. Одновременно
открыть оба крана колбы и при открытых кранах эвдиометров перепустить раствор в
электролизер, при этом эвдиометры заполняются по высоте до кранов. Закрыть
краны эвдиометров, оставив открытым кран колбы. Реостатом установить заданную
преподавателем силу тока и провести электролиз. Через указанное преподавателем
время установку отключить. Записать наблюдения и электродные реакции.
Рис. 4. Прибор для демонстрации электролиза воды
Измерить объемы выделившихся газов, температуру и
давление. Результаты записать в таблицу 4. Опыт повторить при тех же условиях.
После отключения прибора промыть дистиллированной
водой колбу, эвдиометры и электролизер.
Объем выделившихся газов при нормальных условиях
вычислить по формуле:
где
Р - давление газа, определяемое по формуле Р = Рб - Рн2о; Т - температура в лаборатории; Р°,
Т° - давление и температура нормальных условий.
Таблица 4 Барометрическое давление Рб,
мм.рт.ст.
|
№ Опыта
|
Сила тока J,
А
|
Время электро-лиза t,
с
|
Объем газа в лабораторных
условиях
|
Фактический объем газа при
н.у., см3
|
Теоретический объем газа
при н.у., см3
|
Выход по току h, %
|
|
|
|
Vн2
|
Vо2
|
V (н2)V (о2)V (н2)V (о2)Н2О2
|
|
|
|
|
|
|
|
|
|
|
|
|
|
|
|
|
Давление насыщенного водяного пара при данной
температуре (см.: Химия. Лабораторный практикум. Ч.1. Череповец: ЧГУ, 1998. С.
20, табл. 1) Рн2о, мм рт.ст.
Теоретические объемы газов при н.у. по закону Фарадея
рассчитать по уравнению (2), а коэффициент выхода по току для водорода и
кислорода вычислить по формуле (1). Данные занести в таблицу 4, заполнить
метрологическую карту.
Опыт 5. Электрохимическое цинкование, определение
электрохимического эквивалента и выхода цинка по току
Железный электрод зачистить наждачной бумагой, промыть
дистиллированной водой, хлороформом, быстро высушить и взвесить на
аналитических весах с точностью до четвертого знака после запятой. Собрать
установку для электролиза. Сосуд для электролиза заполнить на 3/4 объема
электролитом № 5. Электроды укрепить на медных контактах (анодом служит
цинковая пластина, а катодом - взвешенная железная) и опустить в электролит.
Получить у преподавателя величины силы тока и времени электролиза. Установить
при помощи ЛАТРа силу тока и включить секундомер. Через заданное время
установку отключить, катод извлечь из электролита, промыть дистиллированной
водой и хлороформом, высушить и взвесить. Полученные данные записать в таблицу
5. Опыт повторить при тех же значениях J и t.
Таблица 5 Экспериментальные и расчетные данные
|
№ Опыта
|
Сила тока J,
А
|
Время электролиза t,
с
|
Масса катода, г
|
Масса цинкового покрытия, г
|
Электрохи-мический
эквивалент
|
П, %
|
Выход по току h, %
|
|
|
|
до опыта mнач
|
после опыта mкон
|
mопыт
|
mтеор
|

|
|
|
|
|
|
|
|
|
|
|
|
|
|
|
Опытную величину массы цинкового покрытия вычисляют по
формуле:
mопыт = mкон - mнач, г
Теоретическую массу цинкового покрытия вычисляют по
первому закону Фарадея:
Электрохимический
эквивалент и относительную погрешность вычислить аналогично опыту 1.
Коэффициент выхода по току h рассчитать для обоих опытов по
уравнению (1) и усреднить.
Сделать
основные выводы, записать реакции на электродах и суммарную реакцию, заполнить
метрологическую карту.
4.
Контрольные вопросы
1.
Почему суммарные реакции электролиза протекают в направлении увеличения энергии
Гиббса?
2. Рассмотреть электродные процессы при электролизе расплава КС1 с
инертными электродами.
3. Что такое потенциал разложения вещества? Как рассчитать эту
характеристику?
4. Рассмотреть электродные процессы при электролизе водного раствора K2SO4. Назвать соли, у которых электролиз водных растворов
проходит так же.
5. Какие процессы протекают на платиновых
электродах при электролизе водных растворов: a) CuSO4; б) H2SO4; в) Pb(NO3)2?
6. При электролизе водного раствора Na2SO4 pH в одном из при
электродных пространств возрос. К какому полюсу источника тока присоединен этот
электрод?
7. В какой последовательности и почему
будут восстанавливаться катионы в водном растворе, содержащем Fe2+, Ag+ , Cu2+, Pb2+?
8. В водном растворе, содержащем ионы Сu2+ И Hg2+, восстанавливается ион меди. Чем это может быть объяснено?
9. Сколько времени необходимо для
осаждения в ходе электролиза всей меди из 200 см3 0.2 М раствора CuSO4 при силе тока 2 А?
10.Вычислить электрохимический эквивалент металла, если за 10 минут
электролиза при силе тока 5 А выделилось 1.517 г этого металла.
11.Проведение научного эксперимента требует расхода чистого водорода 500 см3
в минуту при н.у. Вычислить силу тока для получения необходимого количества
газа электролизом.
12.Для полной очистки электролизом 2 дм3 раствора от ионов Hg2+ ток силой 0.5 А пропускали 40 минут.
Какова исходная концентрация ионов Hg2+ в электролите?
РАБОТА № 11. КОРРОЗИЯ МЕТАЛЛОВ
1. Цель работы: Формирование знаний и навыков
изучения процессов коррозии металлов и способов защиты от нее.
2. Основные теоретические положения
Коррозия - это самопроизвольный процесс разрушения
металлов в результате воздействия окружающей среды. При этом металл из
свободного состояния переходит в химически связанное (оксид, гидроксид, соль и
др.). Причина коррозии: термодинамическая неустойчивость системы "металл-окружающая среда" (DG < 0).
Коррозия наносит огромный ущерб промышленности. Около
10 % выпускаемых ежегодно металлов безвозвратно теряется вследствие коррозии.
При этом металлы рассеиваются в окружающей среде, что препятствует их возврату
в производственные циклы.
По характеру разрушения поверхности металла различают
равномерную (общую) коррозию и местную коррозию. В первом случае вся
поверхность металла подвергнута коррозии, во втором - поражены лишь отдельные
участки. Наиболее опасна местная коррозия. Т.к. она может создавать не только
макродефекты, но и микродефекты (невидимые глазом).
Оценку скорости протекания коррозии проводят двумя
способами:
1) как отношение массы прокорродировавшего
металла к площади поверхности металла за определенный промежуток времени:

2) как
отношение толщины потерянного вследствие коррозии металла к заданному
промежутку времени:

Оба
метода оценки скорости коррозии применяются в случае равномерной коррозии. По
механизму протекания коррозионные процессы делят на химическую и
электрохимическую коррозию.
Химическая коррозия
Такой вид коррозии наблюдается в средах, не проводящих
электрический ток. В зависимости от природы среды различают газовую
(высокотемпературную) коррозию и коррозию в неэлектролитах (обычно это
агрессивные органические жидкости). В этом случае происходит самопроизвольное
окисление металла путем непосредственного перехода электронов от металла на
окислитель. В результате химической коррозии металл покрывается пленкой
продуктов окисления (чаще всего это оксиды или гидроксиды).
nMe(тв) + m/2O2газ = MenOm(тв) « MenOm(раствор)
Природа продуктов оказывает существенное влияние на
скорость химической коррозии. Защитное действие пленки продукта тем выше, чем
лучше ее сплошность и ниже диффузионная способность. Сплошность пленки принято
оценивать при помощи фактора Пиллинга-Бэдвордса (a), который определяют как отношение объема
образовавшегося продукта коррозии Vпрод к объему израсходованного на
этот процесс металл VМе:
Металлы,
у которых a < 1, не могут создать сплошные пленки, покрывающие
всю его поверхность. Поэтому через несплошности в слое продукта окислитель
свободно проникает к поверхности металла и коррозия продолжается. Если a лежит в пределах от 1,2 до 1,6, то образуются сплошные и устойчивые
слои продукта, защищающие металл от дальнейшей коррозии. При a > 1.6 пленки легко отделяются от поверхности металла и.
следовательно, не препятствуют его дальнейшему разрушению.
Пример:
1. Окисление алюминия ( a = 1.31)
2А1 + 3/2О2 = А12О3 -
сплошная пленка
Металл устойчив к коррозии.
2. Окисление железа ( a = 2.02)
nFe + m/2O2 = FenOm - несплошная (рыхлая) пленка
Металл неустойчив к коррозии.
Электрохимическая коррозия.
Электрохимическая коррозия наблюдается в
электропроводящих средах:
1в электролитах;
2во влажных газах (в атмосфере);
3в почве.
Здесь разрушение металла происходит под действием
возникающих на поверхности макро- или микрогальванических элементов. Металл
является анодом и окисляется, а окислитель - катодно восстанавливается:
(-) Me - ne ® Men+
(+) Ох + mе ® Red
Оба процесса протекают на различных участках
поверхности (анодных и катодных) изделия. Различная химическая активность
поверхности изделия может возникнуть:
- при контакте двух разных металлов (сборные детали,
эвтектические сплавы);
4 при контакте металла и соединения с
полупроводниковыми свойствами (неметаллические примеси и включения);
5 при различных концентрациях
электролита или окислителя в растворе.
Основными окислителями при данном виде коррозии
являются:
а) вода с растворенным в ней кислородом или влажный
воздух.
Процесс восстановления идет по схеме О2 +
2Н2О + 4е ®
4ОН-.
В этом случае говорят, что идет коррозия с кислородной
деполяризацией. Потенциал кислородного электрода:
Е (2Н2О + О2/4ОН-) = 1,25 + 0,015 lg Рo2 -
0,059 рН;
б) ионы Н + в кислой среде.
Восстановление окислителя идет по схеме: 2H+ + 2e ® H2 - коррозия с водородной
деполяризацией.
Потенциал водородного электрода:
Е (Н+/Н2) = -0,059 pH + 0,03 1g Pн2.
В зависимости от величины потенциала металла возможны
следующие случаи:
)если Е (Меn+/Me)
> E (О2 + 2Н2О/4ОН-), то электрохимическая коррозия
невозможна. Металл устойчив к коррозии;
2) если Е (Меn+/Ме) < E (О2 + 2Н2О/4ОН- ), но Е (Меn+/Me)
> Е (Н+ /Н2), то будет протекать коррозия с
кислородной деполяризацией. Продуктом коррозии в этом случае будет являться
гидроксид металла Ме(ОН)n
который при обезвоживании может перейти в оксид MexOy;
3) если Е (Меn+/Me)
< Е (Н+ /Н2), то в зависимости от рН среды может
происходить коррозия и с кислородной, и с водородной деполяризацией. При
коррозии с водородной деполяризацией наиболее вероятными продуктами являются Н2
и соответствующая соль MexAny.
Защита металлов от коррозии
Снизить скорость коррозии металлов в агрессивных
средах можно несколькими способами, например, изменив потенциал металла, снизив
концентрацию окислителя и др. Выбор способа защиты металла определяется его
стоимостью и эффективностью воздействия.
Все методы защиты условно делят на несколько групп.
Рассмотрим наиболее важные из них.
. Легирование: в металл вводят компоненты (металлы или
неметаллы), вызывающие его пассивацию. Пассивация - это состояние повышенной
коррозионной устойчивости, вызванное кинетическим торможением анодного процесса.
Достигается за счет образования на поверхности металла защитных пленок.
. Защитные покрытия: поверхность металла изолируется
от агрессивной среды при помощи материалов, устойчивых к коррозии в данных
условиях. Защитные покрытия Могут быть как металлическими, так и
неметаллическими (лак, краски, пластмассы и пр.), при этом покрытие должно быть
сплошным и плотно прилегающим к изделию. Нарушение целостности металлического
покрытия может привести или к сохранению основного металла, или к его усиленной
коррозии, т.к. при контакте металлов с различной активностью в
электропроводящей среде начнет работать гальванический элемент.
. Протекторная защита: к защищаемому металлу
присоединяют другой металл, имеющий более отрицательное значение потенциала
(протектор). Создастся гальванический элемент, в котором протектор (анод)
разрушается, а на катоде (защищаемый металл) происходит восстановление
окислителя.
. Обработка
окружающей среды: в агрессивную среду вводят специальные вещества, замедляющие
коррозию - ингибиторы. Действие ингибитора заключается в том, что он
адсорбируется на поверхности металла и пассивирует его. Для защиты черных
металлов применяют нитрит дициклогексиламмония (НДА), карбонат
дициклогексиламмония (КЦА). смесь мочевины или уротропина с нитритом натрия
(УНИ); для защиты сплавов черных металлов в контакте с цветными - соли нитро- и
динитробензойной кислот с аминами.
Вещества, усиливающие коррозию, называются
активаторами. Так, например, сильнодействующим активатором является ион хлора,
поэтому коррозия в морской воде идет значительно быстрее, чем в пресной.
3. Экспериментальная часть
Приборы и реактивы: микрогальванометр; графитовые
электроды; наждачная бумага; фильтровальная бумага; металлы: Fe,
А1, Сu, Zn, Sn, Mg; растворы:
5-процснтный KCl, 2н H2SO4, 1 M CuSO4, уротропин, гексацианоферрат (III) калия.
Порядок выполнения работы
Опыт 1. Обнаружение микрогальванических пар на
поверхности металла
Три металлические пластинки (железную, алюминиевую,
магниевую) тщательно зачистить наждачной бумагой, промыть водой и высушить
между полосками фильтровальной бумаги. На поверхность всех пластинок нанести
пипеткой в нескольких местах по одной капле 5-процентного раствора хлорида
калия. По очереди, прикасаясь к поверхности каждой пластинки в месте нанесения капли
угольными наконечниками, которые соединены со стрелочным гальванометром, можно
обнаружить электрический ток.
Объяснить проведенные опыты. Указать и мотивировать
характер изменения коррозионной способности металла с уменьшением примесей в
нем.
Опыт 2. Влияние образования гальванических пар па
течение химических процессов
В маленький стаканчик внести 1 см3 2н
серной кислоты и полоску чистого цинка. Наблюдается ли выделение водорода?
Коснуться медной проволокой полоски цинка. Как
изменяется интенсивность выделения Н2 и на каком металле он
выделяется? Отсоединить медную проволоку от цинка и убедиться, что
интенсивность выделения Н2 снова изменяется.
Объяснить наблюдаемые явления, учитывая, что цинк и
медь образуют гальваническую пару. Записать схему образовавшегося
гальванического элемента и электрохимические процессы, происходящие при его
работе.
Опыт 3. Коррозия оцинкованного и луженого железа
В две пробирки налить на 1/2 их объема
дистиллированной воды и добавить по 1-2 см3 2н серной кислоты и 2 -
4 капли K3[Fe(CN)6]. Гексацианоферрат (III) калия используется для обнаружения
в растворе ионов Fe2+, с которыми дает интенсивно синий
осадок (турнбулевая синь). Две железные проволоки очистить наждачной бумагой.
Одной проволокой плотно обмотать кусочек цинка, другой - олова. Опустить
металлы в приготовленные растворы и наблюдать изменение окраски. Объяснить
наблюдаемый эффект. Записать схемы образовавшихся гальванических элементов и
электрохимические процессы, происходящие при их работе. Записать уравнение
качественной реакции обнаружения в растворе ионов Fe2+.
Опыт 4. Активирующее действие ионов хлора
Поместить в две пробирки по куску алюминиевой
проволоки и прилить (1/2 объема) раствор сульфата меди, подкисленный серной
кислотой. В одну из пробирок добавить несколько капель раствора хлорида калия.
В какой из них реакция протекает более интенсивно? Почему? Записать схему
образовавшегося гальванического элемента и электрохимические процессы,
происходящие при его работе.
Опыт 5. Ингибиторы коррозии
В две пробирки налить по 2 - 4 см3 2н
раствора серной кислоты и по 2 - 4 капли раствора гексацианоферрата (III) калия. В одну из пробирок добавить
3 капли 5-процентного раствора уротропина. В обе пробирки поместить очищенные
от оксидной пленки железные пластинки. В каком сосуде образуется большее
количество осадка? Почему? Записать соответствующие уравнения реакций.
Опыт 6. Протекторная защита металла
В две пробирки налить (1/2 объема) 2н серной кислоты и
по 3 - 4 капли раствора гексацианоферрата (III) калия. В одну пробирку поместить несоединенные между
собой пластинки железа и цинка, а в другую - такие же пластинки, но соединенные
между собой.
Пронаблюдать, в каком случае происходит коррозия
железа. Записать схемы образовавшихся гальванических элементов и
электрохимические процессы, происходящие при их работе.
4. Контрольные вопросы и задания
1. Что называется коррозией? Какие виды коррозии
известны?
2.Каковы особенности электрохимической коррозии? В чем ее отличие от
химической коррозии?
3.Объяснить, почему при химической коррозии цинк более устойчив к коррозии,
чем железо?
4.Сравнить стойкость железа в контакте с алюминием и оловом при
электрохимической коррозии.
5. На железной трубе установлен медный кран. К чему
это может привести во влажной атмосфере? Записать уравнения реакций.
6. В поверхностном слое стального
изделия находятся вкрапления углерода. Написать электродные реакции,
протекающие в ходе электрохимической коррозии в нейтральной и кислой средах.
7. Объяснить, почему к стенкам паровых
котлов иногда припаивают цинковые пластины. Записать уравнения реакций.
8. Возможна ли коррозия железа с
выделением водорода в растворе с активностью ионов Fе2+, равной 10 моль/дм3 и рН среды,
равной 2?
9. Возможна ли коррозия меди с
кислородной деполяризацией в
10.растворе с активностью ионов Cu2+, равной 10 - 3 моль/дм3 при рН =7?
10. В раствор HCI опущены две цинковые пластины, одна из которых
покрыта никелем. В каком случае коррозия интенсивнее? Записать уравнения
реакций.
ЛИТЕРАТУРА
1. Ахметов Н.С. Общая и
неорганическая химия. М.: Высш. школа, 1981.
2. Новиков Г.И. Основы общей химии. М:
Высш. школа, 1988.
3. Угай А. Общая и неорганическая
химия. М.: Высш. школа,1997.527 с.
4. Глинка Н.Л. Общая химия. Л.: Химия,
1986. 720 с.
5. Фролов В.В. Химия. М.: Высш. школа,
1986. 543 с.
6.3айцев О.С. Задачи, упражнения и
вопросы по химии. М: Химия, 1996.
7.Задачник по общей химии для
металлургов / Под ред. Б.Т. Коршунова М.: Высш. школа, 1977. 255 с.
8.Глинка Н.Л. Задачи и упражнения по
общей химии. Л.: Химия. 1988. 271 с.
9.Кудрявцев А. А.
Окислительно-восстановительные реакции. М.: Знание, 1971. 44 с.
10.Метелев А.К., Никишина Э.К. и др.
Общая химия: Учеб. пособие по лабораторным работам. Л.: СЗГШ. 1973. 87 с.
11.Практические работы по физической
химии / Под ред. К. П.
Мищенко, А.А. Равделя. A.M. Пономаревой. Л.: Химия, 1982. 400 с.
12. Лабораторный практикум по общей
химии / Под ред. С.А.Погодина. М.: Высш. школа, 1972. 192 с.
13. Иванова М.А., Кононова М.А.
Химический демонстрационный эксперимент / Под ред. С.А. Щукарева. М.:
Высш.школа, 1984.208 с.
14.Практикум по неорганической химии /
Под ред. Н.А. Остапксвича. М.: Высш. школа, 1987. 239 с.
15.Физическая химия. Теоретическое и
практическое руководство/ Под ред. Б.П. Никольскою. Л.: Химия, 1987, 880 с.
16. 3айцев О.С. Исследовательский
практикум по общей химии. М: Изд-во МГУ, 1994. 480 с.
17. Руководство к лабораторным работам
по общей химии / Под ред. А.Ф. Богоявленского. М.: Высш. школа, 1972. 192 с.