Оценка и прогнозирование приформовываемости верха обуви к стопе
ОГЛАВЛЕНИЕ
ВВЕДЕНИЕ
ОБЩАЯ ХАРАКТЕРИСТИКА РАБОТЫ
ГЛАВА 1. ПРИФОРМОВЫВАЕМОСТЬ ВЕРХА
ОБУВИ К СТОПЕ В СИСТЕМЕ ЭРГОНОМИЧЕСКИХ ПОКАЗАТЕЛЕЙ КАЧЕСТВА ОБУВИ
.1 Эргономические свойства и их роль
в формировании качества обуви
.2 Приформовываемость верха обуви к
стопе как критерий удобства обуви в носке
.3 Анализ методов и средств оценки
способности верха обуви приформовываться к стопе
Выводы по главе 1
ГЛАВА 2. РАЗРАБОТКА СПОСОБОВ И
СРЕДСТВ ОЦЕНКИ ПРИФОРМОВЫВАЕМОСТИ ВЕРХА ОБУВИ К СТОПЕ В ЛАБОРАТОРНЫХ УСЛОВИЯХ
.1 Разработка требований и
технического задания на прибор для определения приформовываемости верха обуви к
стопе
.2 Разработка приборной базы и
методики оценки приформовываемости верха обуви к стопе в лабораторных условиях
.2.1 Устройство и принцип работы
прибора для определения приформовываемости верха обуви к стопе
.2.2 Методика оценки
приформовываемости верха обуви к стопе в лабораторных условиях
.3 Исследование факторов, влияющих
на приформовываемость верха обуви к стопе
Выводы по главе 2
ГЛАВА 3. ИССЛЕДОВАНИЕ УПРУГО -
ПЛАСТИЧЕСКИХ СВОЙСТВ МАТЕРИАЛОВ И СИСТЕМ МАТЕРИАЛОВ ДЛЯ ВЕРХА ОБУВИ
.1 Анализ методов оценки
упруго-пластических свойств материалов и систем материалов для верха обуви при
растяжении
.2 Обоснование выбора методов
испытаний и исследуемых материалов
.3 Экспериментальное исследование
упруго-пластических свойств материалов и систем материалов для верха обуви в
режимах с кратковременным деформированием и длительным отдыхом
.3.1 Разработка автоматизированного
комплекса для оценки упруго-пластических свойств материалов при растяжении
.3.2 Упруго-пластические свойства
материалов для верха обуви при одноосном растяжении
.3.3 Упруго-пластические свойства
материалов для верха обуви при двухосном растяжении
.3.4 Упруго-пластические свойства
систем материалов, имитирующих верх обуви
.4 Экспериментальное исследование
упруго-пластических свойств материалов и систем материалов для верха обуви в
режимах с длительным деформированием и отдыхом
.4.1 Реологические свойства
материалов для верха обуви при одноосном и двухосном растяжении
.4.2 Реологические свойства систем
материалов для верха обуви
.4.3 Моделирование процессов
релаксации деформации обувных материалов и систем материалов для верха обуви
.5 Снижение размерности признакового
пространства. Выбор наиболее информативных показателей, характеризующих
упруго-пластические свойства материалов и систем для верха обуви
Выводы по главе 3
ГЛАВА 4. ВЛИЯНИЕ РЕЖИМОВ
ТЕХНОЛОГИЧЕСКОЙ ОБРАБОТКИ И ЦИКЛИЧЕСКОГО ХАРАКТЕРА НАГРУЖЕНИЯ НА
УПРУГО-ПЛАСТИЧЕСКИЕ СВОЙСТВА СИСТЕМ МАТЕРИАЛОВ ДЛЯ ВЕРХА ОБУВИ
.1 Влияние режимов технологической
обработки на упруго-пластические свойства систем материалов для верха обуви
.2 Исследование упруго-пластических
свойств систем материалов при многократном растяжении
.2.1 Разработка метода испытания систем
материалов при многократном растяжении
.2.2 Экспериментальное исследование
систем материалов при многократном растяжении
Выводы по главе 4
ГЛАВА 5. РАЗРАБОТКА МЕТОДИК РАСЧЕТА
И ПРОГНОЗИРОВАНИЯ ПРИФОРМОВЫВАЕМОСТИ ВЕРХА ОБУВИ К СТОПЕ С УЧЕТОМ СВОЙСТВ МАТЕРИАЛОВ
ЗАГОТОВКИ
.1 Математическая модель зависимости
упруго-пластических свойств систем материалов от свойств входящих в них
комплектующих
.2 Разработка методики расчета
приформовываемости верха обуви к стопе с учетом упруго-пластических свойств
материалов заготовки
.3 Исследование приформовываемости
верха обуви к стопе в экспериментальной носке
.4 Разработка методики
прогнозирования приформовываемости верха обуви к стопе
Выводы по главе 5
БИБЛИОГРАФИЧЕСКИЙ СПИСОК
ПРИЛОЖЕНИЕ А Методы оценки
приформовываемости верха обуви к стопе
ПРИЛОЖЕНИЕ Б Методы оценки
упруго-пластических свойств материалов для верха обуви
ПРИЛОЖЕНИЕ В Диалоговые окна
программного обеспечения автоматизированного комплекса для оценки
упруго-пластических свойств материалов
ПРИЛОЖЕНИЕ Г Корреляционный анализ
показателей упруго-пластических свойств материалов, полученных при различных
методах испытания
ПРИЛОЖЕНИЕ Д Графики зависимости ε
= f (τ)
ПРИЛОЖЕНИЕ Е Программный продукт для
обработки экспериментальных данных по релаксации деформации обувных материалов
Е.1 Описание работы программного
продукта для обработки экспериментальных данных по релаксации деформации
обувных материалов
Е.2 Текст программы для обработки
экспериментальных данных по релаксации деформации обувных материалов
Е.3 Моделирование процессов
релаксации деформации в обувных материалах и системах материалов
ПРИЛОЖЕНИЕ Ж Снижение размерности
признакового пространства методом главных компонент
ПРИЛОЖЕНИЕ З Результаты тарирования
устройства для определения деформационных характеристик материалов при
многократном растяжении
ПРИЛОЖЕНИЕ И Комплексная оценка и
регрессионный анализ экспериментальных данных
ПРИЛОЖЕНИЕ К Результаты
экспериментальной носки обуви
ВВЕДЕНИЕ
Проблема качества выпускаемой продукции является
одной из наиболее актуальных во всем мире. С ее решением связаны задачи
повышения благосостояния общества, роста эффективности экономики, широкого
выхода на внешний рынок и интеграции страны в мировую экономическую систему. В
условиях развития рыночных отношений качество продукции является определяющим
фактором конкурентоспособности товара.
Наиболее целесообразный путь повышения качества
- управление им, что требует умения правильно измерять и оценивать важнейшие
показатели качества, а также достоверно прогнозировать количественные
характеристики свойств продукции на стадии технологической подготовки
производства. В связи с этим улучшение потребительских свойств продукции,
метрологическое обеспечение качества и совершенствование испытательной базы
республики, оснащение испытательных лабораторий и центров современным
испытательным оборудованием в настоящее время являются одними из наиболее
важных задач государственного управления в области качества [2,3].
Качество обуви определяется широким комплексом
свойств [4-12], среди которых одно из первых мест по значимости занимают
эргономические свойства, обуславливающие удобство пользования изделием [13].
Однако в настоящее время из всего комплекса
единичных показателей эргономических свойств лишь отдельные достаточно полно
изучены и используются при оценке качества обуви. Стандартизированы и широко
применяются на практике такие показатели качества, как водопромокаемость и
водопроницаемость обуви [14], удельное поверхностное и объемное электрическое
сопротивление системы материалов верха и низа обуви [15], масса [16] и гибкость
обуви [17]. В ряде научных работ разработаны методики и инструментарий оценки
опорной жесткости и приформовываемости низа обуви к стопе [18], изгибной
жесткости, жесткости и упругости геленочной части [19], распорной жесткости
[20]. Большинство других эргономических показателей качества изучено крайне
мало, отсутствуют методы и средства их количественного измерения, что не
позволяет в полной мере осуществлять всестороннюю оценку уровня качества
производимой обуви.
К числу таких показателей качества относится и
показатель "приформовываемость верха обуви к стопе", характеризующий
способность верха обуви в процессе носки принимать и сохранять индивидуальные
особенности стопы человека без значительных изменений своей внутренней формы и
внешнего вида. Низкая приформовываемость верха обуви к стопе на уровне
сенсорного восприятия вызывает ощущение дискомфорта, а также может служить
причиной заболевания стоп. Слишком высокая приформовываемость верха обуви может
привести к потере формы изделия. Вопросы, связанные со способностью верха обуви
приформовываться к стопе, становятся особенно актуальными в настоящее время в
связи со значительным дефицитом натурального сырья и постоянным ростом объемов
производства обуви с верхом из искусственных и синтетических материалов.
Однако, несмотря на важность данного показателя
качества, до сих пор отсутствуют методы и приборы его количественного
измерения; не изучены конструктивные и технологические факторы, влияющие на
способность верха обуви приформовываться к стопе; не выявлены взаимосвязи между
свойствами материалов заготовки и приформовываемостью верха готовой обуви. В
результате этого при производстве обуви часто возникают проблемы, связанные с
установлением оптимальных режимов технологического процесса производства и
рациональным подбором комплектующих верха обуви, обеспечивающих выпуск
продукции с необходимым уровнем потребительских свойств. Это значительно
усложняет решение проблемы проектирования и производства высококачественной,
конкурентоспособной обуви, и обуславливает необходимость разработки
научно-обоснованных методов и средств оценки и прогнозирования
приформовываемости верха обуви к стопе, позволяющих уже на стадии
конструкторско-технологической подготовки производства осуществлять оценку
качества обуви по данному показателю.
Учитывая это, в работе впервые разработаны
методики расчета и прогнозирования приформовываемости верха обуви к стопе с
учётом особенностей упруго-пластических свойств материалов заготовки, практическое
использование которых позволяет уже на стадии конструкторско-технологической
подготовки производства оценить степень влияния технологических и
эксплуатационных факторов на величину данного показателя качества и разработать
рекомендации по рациональной комплектации пакетов верха обуви и оптимальным
режимам их технологической обработки с целью выпуска продукции повышенной
комфортности.
Разработаны новые методика и прибор для
определения приформовываемости верха обуви к стопе, позволяющие в лабораторных
условиях быстро и объективно осуществлять оценку качества обуви по показателю
«приформовываемость верха обуви к стопе» без использования трудоемкого метода
оценки данного показателя качества в экспериментальной носке.
ГЛАВА 1. ПРИФОРМОВЫВАЕМОСТЬ ВЕРХА ОБУВИ К СТОПЕ
В СИСТЕМЕ ЭРГОНОМИЧЕСКИХ ПОКАЗАТЕЛЕЙ КАЧЕСТВА ОБУВИ
1.1 Эргономические
свойства и их роль в формировании качества обуви
Одним из самых объективных и обобщающих
показателей научно-технического прогресса и уровня организации производства
является качество продукции [21, с.3]. Улучшение качества продукции является
важным резервом роста экономической эффективности производства и повышения
производительности труда, поэтому в условиях развития рыночных отношений и
обостряющейся конкуренции товаропроизводителей на мировых рынках задачи
повышения качества продукции имеют приоритетное значение.
Согласно ГОСТ 15467-79 [22] (СТ СЭВ 3519-81) под
качеством продукции понимается совокупность свойств продукции, обуславливающих
ее пригодность удовлетворять определенные потребности в соответствии с ее
назначением. Улучшение всех этих свойств в товаре и означает повышение его
качества.
Однако чтобы улучшить качество, необходимо уметь
оценивать его количественно. В соответствии с ГОСТ 15467-79 [22] количественной
характеристикой одного или нескольких свойств продукции, определяющих ее
качество, рассматриваемой применительно к определенным условиям ее создания и
эксплуатации или потребления, является показатель качества продукции.
В настоящее время наиболее полная классификация
показателей качества обуви предложена в работе [5]. Разработанная авторами
иерархическая структурная схема содержит 5 уровней и включает в себя 327
показателей качества различной степени комплексности.
Одно из первых мест по значимости среди всего
комплекса потребительских показателей качества занимают эргономические
показатели [5, с. 49, 21, с. 5-7 , 23, с. 13 - 15], так как все чаще
потенциальные потребители обращают внимание на качественные характеристики
продукции, обеспечивающие ее удобство и комфорт в эксплуатации (рисунок 1.1).
Согласно РД 50-149-79 [13] эргономические
показатели характеризуют систему «человек-изделие-среда» и обуславливают
эффективность деятельности человека в этой системе, удобство пользования
изделием.
К эргономическим показателям качества относятся
следующие групповые показатели [5, с. 27-28, 12]:
Рисунок 1.1 - Номенклатура потребительских
показателей качества обуви
антропометрические, которые характеризуют
соответствие изделия форме и размерам тела человека, т.е. соответствие формы и
размеров ноги и обуви;
гигиенические, характеризующие соответствие
изделия санитарно-гигиеническим нормам и рекомендациям, обеспечивающим
комфортные условия микроклимата внутриобувного пространства;
физиологические, которые характеризуют
соответствие изделия силовым и энергетическим возможностям человека;
психофизиологические, характеризующие
соответствие изделия особенностям функционирования органов чувств человека.
В соответствии с классификацией, предложенной в
работе [5, с.28], групповой показатель “антропометрического соответствия”
подразделяется на три показателя:
соответствие обуви форме стопы и голени
(впорность), которая оценивается такими единичными показателями, как
рациональность носочной части обуви, рациональность формы и высоты каблука,
рациональность формы и высоты берец (голенищ), рациональность конструктивных
линий и расположения швов;
соответствие обуви размерам стопы и голени
(соразмерность), состоящий из таких показателей 5-го уровня, как соответствие
длины обуви (размера) длине стопы, соответствие периметра обуви в пучках
(полноты) обхвату стопы, соответствие ширины голенищ сапог обхвату голени;
регулируемость геометрических размеров обуви,
оцениваемая такими единичными показателями 5-го уровня, как наличие вкладышей,
амортизирующих прокладок, наличие приспособлений, позволяющих регулировать
обхватные размеры обуви, диапазон изменения обхватных размеров.
Групповой показатель гигиенического соответствия
состоит из двух показателей: влажность внутриобувного пространства, температура
внутриобувного пространства и стопы, которые могут сами выступать в роли
единичных показателей гигиенических свойств обуви, так как могут быть
непосредственно измерены в обуви. Однако чаще они выступают в роли комплексных
показателей, которые косвенно оцениваются рядом единичных показателей [5, с.
28].
Влажность внутриобувного пространства
оценивается такими единичными показателями, как влагопоглощение (сорбционная
способность), паропроницаемость, влагоотдача, влагопроводность, намокаемость,
водопроницаемость в статических и динамических условиях, воздухопроницаемость и
т.д.
Температура внутриобувного пространства и стопы
оценивается такими единичными показателями, как суммарное тепловое
сопротивление обуви, коэффициент температуропроводности, коэффициент
теплоотдачи, показатель тепловых потерь, относительная скорость охлаждения
и.т.д. [5, с. 29].
Групповой показатель физиологического
соответствия подразделяется на два показателя:
соответствие конструкции обуви силовым
возможностям человека, который характеризует силовое взаимодействие системы “стопа-обувь”,
т.е. в основном распределение давления;
соответствие конструкции обуви энергетическим
возможностям человека, который характеризует влияние конструкции обуви на
затраты энергии человеком при стоянии и ходьбе в обуви, связанные с
дополнительным напряжением мышц для компенсации влияния обуви на биомеханику
стопы.
Показатель “соответствие конструкции обуви
силовым возможностям человека” в работе [12] предлагается оценивать такими
единичными показателями, как приформовываемость низа обуви к стопе, изгибная
жесткость, приформовываемость верха обуви к стопе, опорная жесткость, распорная
жесткость, жесткость и упругость геленочной части, амортизационная способность.
Показатель соответствия конструкции обуви
энергетическим возможностям человека оценивается такими единичными
показателями, как масса обуви, устойчивость к скольжению, перекатываемость,
устойчивость, удерживаемость.
Показатель психофизиологического соответствия в
работе [5, с.31 - 32] предложено подразделять на два:
удобство пользования, который оценивается такими
единичными показателями, как удобство одевания и снятия обуви, удобство
пользования отдельными элементами обуви и среднее время на одевание и снятие
обуви;
воздействие на органы чувств, который
оценивается такими единичными показателями, как бесшумность при ходьбе,
способность аккумулировать и выделять запахи и др.
Из всего комплекса обозначенных единичных
показателей эргономических свойств лишь отдельные достаточно полно изучены и
используются при оценке качества обуви [14 - 20]. Большинство физиологических
показателей качества, в том числе и приформовываемость верха обуви к стопе,
изучены крайне мало, отсутствуют приборы и методы их количественного измерения.
Это обуславливает необходимость их всестороннего исследования, разработки новых
и совершенствование существующих приборов и лабораторных методов их измерения в
целях обеспечения более полной и объективной оценки эргономического уровня
качества обуви.
1.2 Приформовываемость
верха обуви к стопе как критерий удобства обуви в носке
Одним из наиболее важных показателей качества
обуви, характеризующих удобство её пользования, является приформовываемость
верха обуви к стопе.
Понятие “приформовываемость верха обуви к стопе”
впервые было введено Зыбиным Ю.П. и характеризует способность верха обуви
принимать и сохранять индивидуальные особенности стопы носчика без значительных
изменений внутренней формы и внешнего вида обуви.
Приформовываемость верха обуви к стопе
выражается в количественном изменении размеров и формы верха обуви, преимущественно
в области плюснефалангового сочленения, в процессе ее эксплуатации.
Форма и размеры стопы изменяются в процессе
ходьбы, соответственно изменяется форма и размеры обуви. При опоре на пучки
стопа, изгибаясь в плюснефаланговом сочленении, расширяется в этом участке,
увеличиваясь по периметру и ширине [24, с.158].
Согласно исследованиям Макухи В.И., обхват стопы
в пучках увеличивается при стоянии на 2 %, а при опоре на пучки - на 4 - 4,5%
от обхвата в пучках на весу. Обхват в пучках изменяется от наименьшего при
переносе стопы до наибольшего при опоре на пучки [25, с.151].
По другим данным [24, с.158, 26, с.108], когда
стопа опирается на пучки, ее обхват в плюснефаланговом сочленении увеличивается
на 5-7% от размера стопы в висячем положении. По данным работы [27] ширина в
плюснефаланговом сочленении во время ходьбы у женщин изменяется на 8-11 мм, или
примерно на 7-10% исходного размера.
В результате расширения стопы детали верха
испытывают давление, которое становится особенно заметным в тесной, узкой
обуви. Под влиянием давления стопы детали верха (преимущественно союзка)
подвергаются растяжению в поперечном направлении. Таким образом, растяжение и
сжатие союзок обуви в продольном направлении при изгибании стопы дополняется
растяжением в поперечном направлении под давлением стопы [28, с.41-42]. В
результате таких воздействий обувь в течение определенного периода
деформируется и принимает форму стопы человека.
Лиокумович В.Х. отмечает [9, с.66], что следует
различать положительные деформации, обеспечивающие соответствие обуви
особенностям ноги человека и существенно не изменяющие её форму при
эксплуатации, и отрицательные, в значительной мере влияющие на внутреннюю форму
обуви и во многом ухудшающие её внешний вид.
Различают две стадии изменения формы обуви в
процессе эксплуатации. На первой стадии, при разнашивании новой обуви,
потребитель воздействует на обувь, слегка ее деформирует, приспосабливает к
своим особенностям. На этой стадии изменение формы почти не сказывается на
изменении внешнего вида изделия. Такая деформация (приформовываемость) является
положительной, необходимой.
Дальнейшая деформация приводит к увеличению
первоначальных размеров верха обуви в поперечном направлении (растаптыванию),
образованию складок материала верха в области плюснефалангового сочленения и
голеностопного сустава, которые в процессе носки вызывают постоянное сжатие
стопы и потертости кожи [9, с.69].
Известно, что приформовывание верха обуви к
стопе происходит примерно за 2-3 недели носки обуви; далее союзка лишь незначительно
растягивается в поперечном направлении [26, с.111]. Очевидно, чем быстрее
происходит приформовывание верха обуви к стопе, тем меньше неприятных ощущений
испытывает носчик, тем комфортнее обувь [5, с.30].
При недостаточной приформовываемости обувь
остается постоянно тесной и неудобной в эксплуатации, что приводит к
потертостям, а при длительном периоде носки и к затруднению кровоснабжения
стопы [9, с.67].
Приформовываемость верха обуви к стопе тесно
связана с показателем формоустойчивости обуви. Формоустойчивость - это
способность обуви сохранять форму, приданную ей колодкой в процессе формования,
в течение требуемого промежутка времени в определенных условиях эксплуатации.
Таким образом, формоустойчивость и приформовываемость - взаимно исключающие свойства
обуви.
Важным моментом при оценке способности верха
обуви приформовываться к стопе является определение допустимых пределов
изменения размеров и формы верха обуви.
В работах [29-31] отмечается, что
приформовывание верха обуви к стопе должно происходить в пределах одной смежной
полноты, в противном случае можно говорить о низкой формоустойчивости обуви.
Нарушение этого условия приводит, во-первых, к дискомфортным условиям для
стопы, так как не обеспечивается соответствие конкретной полноты обуви такой же
полноте стопы. Во-вторых, происходит смещение размерно-полнотного ассортимента
обуви в сторону меньших или больших полнот, что, в свою очередь, вызывает
неудовлетворительное обеспечение населения удобной обувью.
Согласно данным работы [32] на деформацию верха
обуви в процессе эксплуатации влияют следующие факторы: соотношение формы и
размеров стопы и обуви в соответствующих сечениях; изменение размеров стопы при
ходьбе; механика ходьбы человека; конструкция обуви; свойства материалов верха
и низа обуви; климатические условия носки обуви и т.д.
Существенное влияние на способность верха обуви
приформовываться к индивидуальным особенностям стопы оказывают
упруго-пластические свойства материалов, из которых состоит заготовка. При
этом, по мнению ряда авторов [9, 33 - 36], именно величина пластической
деформации является наиболее важным фактором, определяющим изменение размера
верха обуви в процессе носки и, следовательно, ее приформовываемость.
Как отмечается в работе [33], материалы для
верха обуви должны обладать достаточно большим остаточным удлинением, чтобы
изготовленная из них обувь могла приформоваться по стопе, не вызывая вредных
для нее напряжений и деформации. При отсутствии этого свойства обувь жмет даже
после длительного периода носки, кровоснабжение стопы в большей или меньшей
степени затруднено.
Авторы работы [35] считают, что величины
остаточных деформаций систем материалов, определяемых при двухосном растяжении,
не должны превышать 3-5%, но и не быть меньше 2-2,5%. При этом условии
обеспечивается некоторое увеличение поперечных размеров обуви (до 1,5 - 3%),
создающие удобства для стопы вследствие приформовывания обуви, без дальнейшего
растаптывания, которое приводит к потере формы.
В работах [24, с.142, 37] способность материалов
приспосабливаться к индивидуальным особенностям стопы связывается также с
такими свойствами материалов, как мягкость, растяжимость, релаксационные
свойства.
Обувь из натуральной кожи легко приформовывается
к стопе, так как обладает достаточной растяжимостью и остаточным удлинением.
Гораздо хуже приформовывается (или совсем не приформовывается) обувь из
искусственных и синтетических материалов [9, с.67].
Исследования в области остаточного удлинения и
связанного с этим давления на стопу в процессе носки [33, 38-39] показали, что
в обуви с верхом из искусственных и синтетических материалов давление на стопу
значительно выше, чем в кожаной обуви, что связано с ограниченной растяжимостью
и небольшой пластической деформацией искусственных материалов.
В результате этого обувь с верхом из
искусственных и синтетических материалов при эксплуатации плохо
приформовывается к стопе, и, как отмечается в работе [9, с.67], у носчика
создается впечатление, что он ежедневно надевает и носит новую пару обуви.
Кроме того, материалы для верха обуви должны
обнаруживать приспособляемость к дневному ритму изменений размеров стоп [9,
32]. В течение дня при ходьбе размеры стоп увеличиваются в обычных условиях в
среднем на 4-5% (при более интенсивной ходьбе - до 10%), а ночью, во время
отдыха, после снятия напряжения их первоначальные размеры восстанавливаются.
Обувь из кожи, в отличие от обуви с верхом из
синтетических и искусственных материалов, легко поглощает потовыделения и
увеличивает свою площадь, а после отдыха (сушки) сокращается, то есть, способна
менять свои размеры с изменением размеров ноги.
Таким образом, анализ литературных источников
показал, что приформовываемость верха обуви к стопе является одним из наиболее
важных эргономических свойств обуви, оказывающих значительное влияние на удобство
обуви в носке и обеспечивающих необходимый комфорт и нормальные условия
функционирования стопы. Определение способности верха обуви приформовываться к
стопе является важным этапом при оценке качества готовой обуви.
1.3 Анализ методов и
средств оценки способности верха обуви приформовываться к стопе
Несмотря на то, что приформовываемость верха
обуви к стопе является одним из наиболее важных показателей качества обуви,
определяющих ее удобство в носке, до настоящего времени он мало изучен, не
разработаны инструментальные методы его оценки. О способности верха обуви
приформовываться к стопе до сих пор судят лишь по результатам опытных носок и
визуальным наблюдениям.
Известен ряд работ [28, 35, 40-43], посвященных
исследованию деформации верха обуви в процессе носки. Наиболее
распространенными методами количественной оценки изменения размеров верха обуви
в опытной носке являются методы, основанные на определении изменения размеров
линий [40], сеток [41-42], кругов [28], нанесенных на заготовку, а также контуров
отдельных сечений верха обуви [28].
Исследования, проведенные в работе [40]
показали, что в процессе носки обуви с верхом из различных систем материалов
наблюдается увеличение размеров верха обуви в области плюснефалангового
сочленения в поперечном направлении (до 6%) и сокращение (до 3%) - в
продольном. Наиболее значительное изменение размеров верха обуви происходит
преимущественно в первые 30 дней носки, в последующий период носки размеры
верха меняются незначительно.
Аналогичный характер изменения размеров верха
обуви был получен при исследовании в опытной носке текстильной [41] и
бесподкладочной [42] обуви.
В работах Любича М.Г. осуществлялось
исследование изменения формы обуви в процессе ее носки с помощью нанесения
сетки из кругов на союзки и берцы; при сопоставлении контуров продольного и
поперечных сечений передней части обуви, надетой на стопу, до и после
определенного периода носки; с использованием фотосъемки обуви до и после
носки; сопоставлением гипсовых слепков внутренней полости ношеной обуви с
затяжной колодкой, на которой эта обувь была изготовлена [28, с.47-55].
Следует отметить, что получаемые в процессе
данных исследований контуры проекций обуви были пригодны для фиксирования лишь
ощутимых, видимых невооруженным взглядом отклонений (например, подъем носка
ношеной обуви), а недостатком метода гипсовых слепков является значительная
продолжительность сушки слепка внутри обуви и намокание внутренних деталей
из-за влажности гипсовой массы.
В целом, обозначенные выше методы оценки деформации
верха обуви обладают невысокой точностью и не позволяют проследить динамику
изменения деформации верха обуви во времени (при ходьбе).
В работах [32, 43] деформацию верха обуви при
ходьбе определяли методом тензометрирования при помощи ртутных [32] и гибких
эластичных угольно-графитно-сажевых [43] датчиков.
При этом Т.Е. Акуловой и Ю.П. Зыбиным [32] было
установлено, что наибольшее растяжение в поперечном направлении союзка
испытывает в области внутреннего пучка и мизинца при любых положениях стопы.
Величина максимального дополнительного растяжения при ходьбе в области
внутреннего пучка колеблется от 2,1 до 6,4%, а суммарная величина растяжения
союзки (от одевания обуви на стопу и дополнительного растяжения при ходьбе)
составляет от 3,2 до 14%.
Недостатками метода тензометрирования являются
наобходимость использования сложной измерительной аппаратуры, а также
значительные затраты времени на проведение измерения и расшифровку полученных
осциллограмм. Крепление тензодатчиков к образцу с помощью клея увеличивает
жесткость системы материалов и тем самым вносит погрешность в измерения. Кроме
того, на показания ртутных датчиков оказывает влияние много различных факторов
(например, температура окружающей среды), что также снижает надежность
полученных результатов.
В целом, существенным недостатком рассмотренных
методов опытной носки является большая затрата времени и материальных средств
на проведение испытаний. Кроме того, данные методы не позволяют полностью
исключить влияние на получаемые результаты различий в условиях эксплуатации
обуви, индивидуальных особенностей носчика (походка, степень потливости стопы),
а также ряда других факторов, что и обусловило необходимость разработки
лабораторных методов оценки деформации верха обуви.
В настоящее время международным стандартом ISO
17695:2004 [44] регламентируется метод испытания верха обуви на
деформируемость, который предполагает однократную деформацию образцов,
вырезанных из верха обуви, шариковым наконечником диаметром 20 мм на расстояние
10 мм. Однако следует отметить, что данный метод мало применим для оценки
приформовываемости верха обуви к стопе, так как не учитывает циклического
характера воздействия стопы на верх обуви в процессе эксплуатации и оценивает
степень пригодности комплекта материалов по величине силы приложения толкателя,
в то время как приформовываемость верха обуви к стопе определяется в основном
величиной остаточной деформации.
В ряде работ [36, 45 - 48] способность верха
обуви приформовываться к стопе предложено оценивать по изменению упруго-пластических
свойств материалов, подвергшихся длительным усталостным испытаниям.
Как отмечается в работе [45], изменения
упруго-пластических свойств материалов для верха обуви, сопутствующие
усталостным процессам, оказывают решающие влияние на поведение материалов во
время носки обуви и позволяют судить о комфорте в носке обуви, изготовленной из
этих материалов.
В работе [36] отмечается, что мерой
приформовывания материала к стопе может служить пластическая составляющая
деформации в зависимости от времени:
Ζ = f
(εp
, t) (1.1)
где Ζ
- способность материала приформовываться;
εp
- пластическая деформация материала;
t - время,
необходимое для получения деформации.
Авторами был предложен метод оценки способности
материалов приформовываться к стопе с учетом реальных условий производства и
использования обуви. Пластическую деформацию определяли в ходе циклического
растяжения образцов на универсальной разрывной машине при постоянном напряжении
0,5 МПа с регистрацией гистерезиса при 1, 100, 500, 1000 и 1500 циклах. Перед
испытанием образцы предварительно подвергались термической обработке и
растяжению на 10%, имитирующим процесс формования изделий, а также
многократному изгибу в течение 10 тыс. циклов.
В ходе исследований было установлено, что
значения максимальной пластической деформации очень хорошо коррелировали с
оценкой способности верха обуви приформовываться к стопе, основанной на
результатах носки обуви. Материалы с пластической деформацией 10-15%
удовлетворяют требованиям, предъявляемым к их способности приформовываться к
стопе (таблица А.1). Отклонения в обе стороны неблагоприятны, причем более
низкие значения указывают на худшее приспособление материала к стопе, более
высокие - на тенденцию к деформации обуви [36].
В работах [45 - 46] помимо величины пластической
деформации, для характеристики способности верха обуви приформовываться к стопе
используются такие показатели как растягивающее усилие при удлинении, модуль
Юнга, упругое удлинение, отношение пластической и эластической деформаций,
полученные в ходе циклического растяжения на 8% предварительно отформованных
образцов.
Отмечается, что показатели, полученные после
одного цикла деформации, характеризуют эластопластические свойства материала
новой обуви, после 1000 циклов - свойства материала ношеной обуви с
относительно стабилизированной деформацией. Промежуточные показатели - после
100 циклов - характеризуют эластопластические свойства материалов в начальный
период носки.
Показатели пластической деформации и отношения
пластической деформации к эластической у материалов на тканевой основе и
натуральной кожи значительно изменяются в интервале 1 - 100 циклов деформации,
а при дальнейшем циклическом растяжении стабилизируются. У материалов на
нетканой основе значения данных показателей снижается после 100 и 1000 циклов
деформации. Это значит, что материалы на нетканой основе деформируются
непрерывно во время носки, проявлением этой тенденции может быть деформация
обуви. Материалы на тканевой основе и натуральная кожа в начальный период носки
обуви значительно деформируются, а затем деформация проявляется в
незначительной степени [45].
Исследование влияния циклического растяжения
материалов верха на их упруго-пластические свойства в диапазоне небольших
удлинений (2%) осуществляли Хилл и Шатлворт. Описанный ими метод в последствии
был применен Кингом и Пиккерингом с той лишь разницей, что величина
циклического растяжения составляла 5%, а образцы перед растяжением
предварительно увлажняли и растягивали на 15%, имитируя операцию затяжки [47].
Отмечалось, что соотношение остаточной и упругой деформаций у синтетических
материалов всегда ниже, чем у различных сортов натуральной кожи, что и служит
основной причиной лучшей приформовываемости изделий из натуральной кожи к стопе
при носке.
Важной является оценка способности материалов
приформовываться по величине полной работы деформации Аобщ, и по ее
составляющим - работе упругого деформирования А1 и работе пластической
деформации А2 [48]. Данные величины определяются на основе анализа
гистерезисных кривых, полученных в ходе нагружения и разгрузки материалов.
Площадь под кривой разгрузки соответствует работе А1, площадь между кривыми
нагрузки и разгрузки - работе А2.
Материал при малых величинах Аобщ и А1 и высоких
значениях А2 всегда хорошо формуется и приформовывается. Для материалов верха
обуви необходимо наличие работ А1 и А2, так как при Аобщ, равном работе А1,
материал ведет себя как упругое тело и из него невозможно сформировать изделие
нужной формы, а в носке он давит на стопу и создает ощущение дискомфорта. При
Аобщ, равном А2, материал «растекается», и изделие из него не обладает
сколько-нибудь пригодной формоустойчивостью [48, с.17 - 18].
Однако в указанных выше работах исследовались
только свойства одиночных материалов, в то время как заготовка представляет
собой систему, состоящую из разнородных по свойствам и строению материалов;
циклическое нагружение образцов осуществлялось преимущественно в условиях
одноосного растяжения, что не согласуется с реальным характером деформации
деталей верха обуви в процессе эксплуатации обуви [49, с.4, 50, с.96].
Рассмотренные методы дают лишь косвенную оценку приформовываемости верха обуви
к стопе и не позволяют оценить ее количественно.
Как отмечалось выше, в настоящее время не
разработано лабораторных методов оценки приформовываемости верха обуви к стопе,
однако известен ряд методов [51-59] количественной оценки формоустойчивости
обуви. Учитывая то, что приформовываемость и формоустойчивость - взаимообратные
свойства, обусловленные изменением размеров верха обуви, то анализ методов
оценки формоустойчивости обуви представляет определенный интерес.
В комплексном методе оценки формоустойчивости
обуви [51-52] изменение формы обуви в процессе эксплуатации описывалось
комплексом количественных показателей, определяемых для ее носочно-пучковой
части: площадью поверхности отформованной заготовки верха обуви S,
объемом обуви V, суммарной высотой
складкообразования верха обуви Нс, максимальной величиной смещения верха
заготовки на наружную (внутреннюю) сторону обуви Ymax,
на основе которых затем определялся комплексный показатель формоустойчивости.
Комплексная оценка формоустойчивости отличается
значительными затратами времени на проведение измерений и сложностью расчетов
показателей, поэтому ее применение без полной автоматизации неперспективно.
В связи с этим авторами [53] был разработан
экспресс-метод оценки формоустойчивости обуви только по одному базовому
показателю - внутреннему объему контролируемого участки обуви. Для измерения
объема используется тонкостенная резиновая оболочка, изготовленная по форме
носочно-пучковой части затяжной колодки, которую устанавливают в обувь и
заполняют жидкостью до давления, соответствующего средней величине давления
стопы на обувь. Сравнивая полученный в ходе испытания объем с объемом
носочно-пучковой части затяжной колодки, определяют абсолютное или
относительное изменение внутреннего объема обуви, которое и характеризует ее
формоустойчивость.
Существенным недостатком данного метода является
то, что он оценивает изменение объема носочно-пучковой части обуви в целом и не
позволяет получить информацию об изменениях размеров верха обуви по основным
стандартным сечениям.
В Каунасском политехническом институте
разработаны профилографический [54] и контурографный [55-56] методы оценки
формоустойчивости обуви, основанные на совмещении контуров ряда сечений
(профилей) обуви и сравнении площадей соответствующих сечений до и после
изменения формы обуви (рисунок 1.2). После совмещения профилограмм измеряют
площади тех участков, которые образуются в результате разницы профилей,
возникающей от изменения формы обуви.
P(l)
- первоначальный профиль сечения обуви; Q(l)
- профиль сечения обуви после изменения формы; ±ΔЅ
- отклонения площади профилограммы от первоначальной
Рисунок 1.2 - Определение показателей изменения
формы при контурографном методе оценки формоустойчивости
Показатель формоустойчивости обуви, Ф, %, в
соответствующем сечении вычисляют по формуле:
(1.2)
где
- сумма площадей, образующихся
вследствие отклонения площади профилограммы от первоначальной;
S -
первоначальная площадь сечения (на колодке).
Оценка формоустойчивости обуви по
относительной величине площади, заключенной между совмещенными контурами
сечения, особенно эффективна при сложном изменении формы поперечного контура,
когда отдельные его участки значительно меняют своё расположение без заметного
изменения периметра или площади сечения (т.е. имеет место коробление верха
обуви).
Для реализации контурографного
метода разработан прибор [56], позволяющий с помощью измерительного щупа
снимать контуры поперечных и продольных сечений обуви, преобразовывать их в
электрический сигнал и обрабатывать полученную информацию в автоматическом
режиме на специальном вычислительно-управляющем устройстве.
К недостаткам данного метода следует
отнести необходимость применения сложной, специальной аппаратуры, а также
сложность точного совмещения одноименных контуров сечений обуви.
Оптический метод, предложенный в
работе [57], позволяет получать профилограммы не контактным способом, а при
помощи проектора. Недостатками данного метода являются сложность используемого
оборудования, зависимость фокусного расстояния от зрения и перенапряжение
органов зрения обслуживающего персонала при длительной работе.
Цибизовой Е.А. и Калитой А.Н. в
работах [58-59] разработан системный подход к проблеме формоустойчивости обуви,
основанный на выделении и классификации производственных и эксплуатационных
факторов, влияющих на формоустойчивость обуви. Установлены математические
зависимости между показателями изменения физико-механических свойств материалов
верха обуви и периметром поперечного сечения обуви в пучках, позволяющие прогнозировать
формоустойчивость обуви на стадии конструкторско-технологической подготовки
производства.
Следует отметить, что все выше
перечисленные методы оценки формоустойчивости позволяют количественно оценить
изменение размеров обуви, однако получаемые при этом результаты имеют
неодинаковую точность. Большинство этих методов не получили широкого
практического применения и используются главным образом при проведении
отдельных исследований. Кроме того, ни один из обозначенных методов не
моделирует те воздействия на обувь, которые обуславливают изменение ее размеров
и формы в процессе носки.
В связи с этим в ЦНИИКПе была
проведена работа по созданию метода оценки формоустойчивости обуви в
динамических условиях [60]. Для проведения испытаний использовалось приспособление
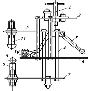
(рисунок 1.3, а) в комплекте с машиной для циклических испытаний конструкции
А.Ю. Зыбина.
В процессе испытаний закрепленная в
приборе обувь подвергалась повторному изгибу и одновременно испытывала
растяжение в пучках, сообщаемое распорным устройством (рисунок 1.3, б).
а)
б)
- прижимной винт; 2,6 - плиты
верхнего узла приспособления; 3,7 - плиты нижнего узла приспособления; 4 -
направляющие; 5 - приспособление для закрепления обуви; 8 - стойка; 9 - валик
для подъема носочной части обуви; 10 - разъемный зажим для закрепления
распорного устройства; 11 - стойка с полусферой для распрямления носочной части
обуви после каждого изгиба; 12 - калиброванная пружина; 13 - полый цилиндр; 15
- цилиндрический вкладыш; 14 - пуансон
Рисунок 1.3 - Приспособление для
испытания обуви в динамических условиях
Испытания проводились при угле
изгиба обуви 250 и скорости деформирования 110 циклов в минуту. Растягивающее
усилие верха обуви в пучках составляло 170 Н. Замер полной и остаточной
деформации верха обуви после отдыха в течение 30 минут осуществлялся по
предварительно нанесенным на союзку линиям в сечении 0,68-0,72 Дст (Дст - длина
стопы) с помощью миллиметровой ленты с точностью до 0,5 мм.
Данный метод наиболее полно из всех
существующих методов отражает реальные воздействия, испытываемые верхом обуви в
процессе эксплуатации, однако не совсем подходит для оценки приформовываемости
верха обуви к стопе, так как используемое распорное устройство не достаточно
точно имитирует механическое взаимодействие стопы с верхом обуви в области
плюснефалангового сочленения. Как известно, в процессе эксплуатации, величина
давления, испытываемого деталями верха со стороны стопы, не остаётся
неизменной, а постепенно снижается в результате приформовывания верха обуви к
стопе. Таким образом, предложенный в методе способ сохранения постоянства
растягивающего усилия не отражает реального характера взаимодействия верха
обуви со стопой в процессе эксплуатации. Кроме того, конструкция используемого
распорного устройства существенно отличается от внутренней формы обуви, что
отражается на объективности получаемых результатов.
Буркиным А. Н. и другими авторами
разработан способ определения формоустойчивости обуви [61], суть которого
заключается в определении изменения первоначального объема носочно-пучковой
части обуви после её многоциклового изгибания. Измерение внутреннего объема
обуви в носочно-пучковой части при этом осуществлялось путем заполнения ее
рабочим телом, разделенным на несколько зон, в каждую из которых нагнеталась
жидкость с давлением, соответствующим средней величине давления стопы на данный
участок обуви. Данный способ достаточно сложен в реализации и, также как и
метод [53], позволяет оценить изменение размеров носочно-пучковой части обуви в
целом, а не в отдельных стандартных сечениях.
В работе [62] был разработан метод
оценки формоустойчивости материалов и систем материалов в динамических
условиях. Плоским образцам сообщалось двухосное циклическое растяжение на 12%.
Величину остаточной деформации определяли путем измерения гибкой миллиметровой
лентой базовых линий, предварительно нанесенных на два взаимно перпендикулярных
диаметра.
Параллельно в работе осуществлялись
испытания формоустойчивости верха обуви лабораторным методом в динамических
условиях по методу, описанному в работе [60] и в опытной носке (через 60-100
дней носки). Установлено, что разработанный метод оценки формоустойчивости
материалов и систем материалов, имитирующих верх обуви, в динамических условиях
обеспечивает получение результатов, согласующихся с показателями
формоустойчивости верха обуви, определенной лабораторным методом и в процессе
эксплуатации.
Таким образом, анализ литературных
данных показал, что приформовываемость верха обуви к стопе является одним из
наиболее важных эргономических свойств обуви, обеспечивающих её удобство и
комфорт в носке. Однако, несмотря на это, данное свойство обуви изучено крайне
мало, не исследованы конструктивные и технологические факторы, влияющие на
способность верха обуви приформовываться к стопе, отсутствуют объективные
методы оценки данного показателя с учетом механических свойств материалов
заготовки. Это обуславливает необходимость более глубокого изучения данного
вопроса и выявления факторов, оказывающих наибольшее влияние на величину
данного показателя качества.
В последние годы в мировой практике
складывается устойчивая тенденция к росту объемов производства обуви с верхом
из искусственных и синтетических материалов, характеризующихся низкой способностью
приформовываться к стопе, а также появился широкий круг новых материалов для
верха обуви, свойства которых ещё недостаточно изучены. Учитывая это,
становится особенно актуальной разработка научно-обоснованных методов расчета и
прогнозирования приформовываемости верха обуви к стопе, позволяющих уже на
стадии конструкторско-технологической подготовки производства осуществлять
оценку качества обуви по данному показателю и изготавливать продукцию с
заданным уровнем потребительских свойств.
Анализ авторских свидетельств и
патентов показал, что в настоящее время отсутствуют методы и приборы для
определения приформовываемости верха обуви к стопе. Испытания обуви в опытной
носке позволяют количественно оценить способность верха обуви приформовываться к
стопе, однако отличаются значительными затратами времени и материальных
средств. Существующие лабораторные способы оценки изменения размеров верха
обуви, как правило, требуют применения сложного измерительного оборудования и
не отражают в полной мере реального механического взаимодействия стопы с верхом
обуви в процессе эксплуатации. Методы оценки показателя приформовываемости
верха обуви по результатам испытания материалов в динамических условиях
обладают рядом существенных недостатков и позволяют получить лишь косвенную
оценку способности верха обуви приформовываться к стопе.
В связи с эти возникает
необходимость в разработке новых приборов и методов количественной оценки
приформовываемости верха обуви к стопе в лабораторных условиях, позволяющих в
максимальной степени моделировать те механические воздействия стопы на верх
обуви, которые и обуславливают его приформовывание в процессе эксплуатации
изделия.
Выводы по
главе 1
. Анализ литературных данных
показал, что проблема повышения качества отечественной обуви является
актуальной задачей, решение которой в значительной степени связано с
разработкой количественных методов оценки показателей качества продукции. Особо
важную роль при оценке качества обуви играют эргономические показатели,
определяющие удобство пользования изделием.
. Обзор литературных источников по
теме диссертационной работы показал, что приформовываемость верха обуви к стопе
является одним из наиболее важных эргономических показателей качества обуви,
обеспечивающих её удобство и комфорт в носке. Поэтому, определение способности
верха обуви приформовываться к стопе является важным этапом при оценке качества
готовой обуви.
. Установлено, что, несмотря на
важность данного показателя качества, он изучен крайне мало, не достаточно
исследованы конструктивные и технологические факторы, влияющие на способность
верха обуви приформовываться к стопе, отсутствуют объективные методы оценки
данного показателя с учетом механических свойств материалов заготовки.
. Отмечено, что верх обуви из
натуральной кожи легко приформовывается к стопе, значительно хуже
приформовывается верх обуви из искусственных и синтетических материалов.
Учитывая то, что в настоящее время в промышленности значительно возрастают
объемы производства обуви с верхом из искусственных и синтетических материалов,
вопросы, связанные с разработкой научно-обоснованных методов расчета и
прогнозирования приформовываемости верха обуви к стопе, становятся особенно
актуальными.
. Анализ литературных источников,
авторских свидетельств и патентов показал, что о способности верха обуви
приформовываться к стопе до сих пор судят в основном по результатам опытных
носок, существенными недостатками которых являются большие затраты материальных
средств и времени на их проведение. Известные лабораторные методы оценки
изменения размеров верха обуви имеют ряд существенных недостатков и в
большинстве случаев не позволяют моделировать те механические воздействия,
которые обуславливают приформовывание верха обуви к стопе в процессе носки.
. Недостаточная изученность
вопросов, связанных с приформовываемостью верха обуви к стопе и отсутствие
количественных методов оценки данного показателя качества, вызывают
необходимость более детального изучения данного вопроса, разработки
инструментальных методов и средств оценки приформовываемости верха обуви к
стопе в лабораторных условиях, а также научно-обоснованных способов её расчета
и прогнозирования на стадии конструкторско-технологической подготовки
производства.
ГЛАВА 2. РАЗРАБОТКА СПОСОБОВ И
СРЕДСТВ ОЦЕНКИ ПРИФОРМОВЫВАЕМОСТИ ВЕРХА ОБУВИ К СТОПЕ В ЛАБОРАТОРНЫХ УСЛОВИЯХ
Одной из наиболее важных проблем
комплексной оценки качества обуви является возможность его количественного
измерения, так как именно количественная форма анализируемых вариантов является
необходимым условием объективности и точности принимаемых решений.
Однако, как уже отмечалось в главе
1, для показателя «приформовываемость верха обуви к стопе» в настоящее время
отсутствуют методы и приборы его количественного измерения. Поэтому, в целях
обеспечения полной и объективной оценки качества обуви, важной задачей является
разработка методики и прибора для определения приформовываемости верха обуви к
стопе, которые как можно более точно позволяли бы моделировать работу верха
обуви в процессе ее эксплуатации потребителем.
2.1
Разработка требований и технического задания на прибор для определения
приформовываемости верха обуви к стопе
С учетом недостатков известных
приборов и методов оценки изменения размеров верха обуви, выявленных в главе 1,
было составлено техническое задание на разработку нового прибора для
определения приформовываемости верха обуви к стопе.
Основной областью применения
разрабатываемого прибора служат научно-исследовательские лаборатории,
испытательные центры и лаборатории обувных фабрик.
К разрабатываемому прибору
предъявляются следующие требования:
возможность испытания обуви
различных родовых групп, видов, размеров и высоты каблука;
простота в обслуживании и удобство
снятия показаний;
высокая надежность в эксплуатации;
удобная установка и фиксация обуви в
приборе;
условия испытания на приборе должны
максимально точно моделировать механическое взаимодействие стопы с обувью в
области плюсно-фалангового сочленения в процессе эксплуатации. Исходя из этого:
• нагружение верха обуви должно
производиться периодически, имитируя нагрузку при ходьбе. Периодичность
циклического воздействия на верх обуви должна быть увязана с темпом ходьбы
человека;
• прибор должен оснащаться сменными
нагружающими пуансонами, размеры и форма которых должны соответствовать размерам
головок плюсневых костей стоп соответствующих родовых групп, оказывающих
наиболее активное воздействие на верх обуви в процессе ходьбы;
• конструкция прибора должна
обеспечивать постоянство амплитуды хода деформирующих пуансонов в процессе
испытания. Амплитуда хода деформирующих пуансонов должна быть увязана с
изменением обхватных параметров стоп в области пучков в процессе движения
человека;
• конструкцией прибора должна
предусматриваться регулировка элементов нагружения и фиксации испытываемой обуви;
прибор должен содержать механизм
измерения, обеспечивающий высокую точность регистрации изменения размеров верха
обуви в процессе испытания.
2.2
Разработка приборной базы и методики оценки приформовываемости верха обуви к
стопе в лабораторных условиях
.2.1
Устройство и принцип работы прибора для определения приформовываемости верха
обуви к стопе
С учетом сформулированных в разделе
2.1 требований в соавторстве с Горбачиком В. Е., Угольниковым А. А. и Меницким
И. Д. была разработана конструкция и изготовлен прибор для определения
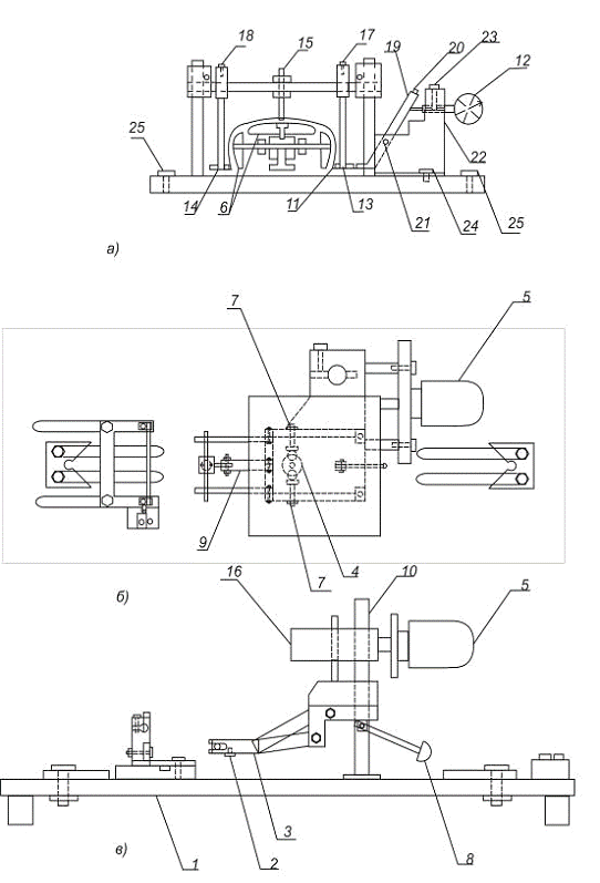
приформовываемости верха обуви к стопе [1-А], внешний вид которого представлен
на рисунке 2.1
Схема разработанного прибора
представлена на рисунке 2.2.
Прибор для определения
приформовываемости верха обуви к стопе содержит основание 1, смонтированную на
нём стойку 2 с механизмом циклического нагружения, механизм измерения
остаточной деформации верха обуви и механизм фиксации обуви в приборе.
Механизм циклического нагружения
состоит из электродвигателя 3, редуктора 4, регулирующих тяг 5, деформирующих
элементов 6, боковых упоров 7 и пяточного упора 8. Деформирующие элементы 6
выполнены в соответствии с внутренней формой обуви и расположены на расстоянии
0,62 - 0,73 Дст от наиболее выпуклой точки пяточной части обуви, так как именно
в этой области происходит наибольшая деформация союзки при ходьбе.
Рисунок 2.1 - Прибор для определения
приформовываемости верха обуви к стопе
Для того чтобы деформирующие
элементы не заклинивали в обуви, конструкцией прибора предусматривается наличие
стелечного упора 9, при помощи которого регулируется зазор между деформирующими
элементами и низом обуви.
Регулирующие тяги 5 и стяжка 10 механизма
циклического нагружения позволяют изменять положение деформирующих элементов 6
как в горизонтальной плоскости, так и в зависимости от высоты каблука
испытываемого образца обуви. Пяточный упор 8 выполнен в виде винта, что
позволяет регулировать расстояние до деформирующих элементов в зависимости от
размера обуви.
Периодичность циклического
воздействия на верх обуви в процессе испытания достигается путем передачи
вращательного движения от электродвигателя 3 через редуктор 4, эксцентрик 11,
два боковых упора 7 и регулирующие тяги 5 на деформирующие элементы 6. При этом
боковые упоры 7 выполняют двойную функцию, осуществляя регулирование положения
деформирующих элементов в соответствии с внутренними размерами обуви различных
полнот, а также регулирование амплитуды хода колебательных движений
деформирующих элементов в процессе испытаний.
Прибор осуществляет циклическое растяжение верха
обуви с частотой 100 циклов в минуту, что соответствует ускоренному темпу
ходьбы человека и позволяет значительно сократить время испытания.
Рисунок 2.2 - Схема прибора для определения
приформовываемости верха обуви к стопе
Для закрепления обуви в приборе
используется механизм фиксации, стоящий из двух призм 12 (рисунок 2.2), которые
крепятся съемными болтами на основании 1 и могут свободно передвигаться в
продольном направлении, что позволяет испытывать обувь различных размеров.
Средство для регистрации остаточной деформации
(рисунок 2.2, в) выполнено в виде нерастяжимой гибкой нити 13, огибающей верх
обуви, и соединенного с ней индикатора часового типа 14, позволяющего
определить изменение периметра верха обуви в области плюснефалангового
сочленения с точностью до 0,1 мм. Для подвода нити к измеряемой поверхности и
ее крепления применяются штоки 15 и 16, для поддержания нити и расположения ее
в плоскости измерения в верхней части обуви применяется шток 17. Регулировка
положения штоков 15 и 16 по высоте и ширине в зависимости от толщины подошвы и
ширины обуви в измеряемом сечении осуществляется при помощи винтов 18 и 19.
В процессе работы механизма нить крепится к лапке
штока 15, пропускается через направляющие отверстия в лапке штока 16 и
коромысле 20, после чего зажимается в верхней части коромысла винтом 21.
Коромысло 20 имеет одинаковые плечи и качается вокруг винта 22, который крепит
коромысло к корпусу 23. В зажим, располагающийся в верхней части корпуса 23,
вставляется индикатор 14, который приводится в соприкосновение с коромыслом 20
и закрепляется в зажиме корпуса при помощи винта 24. При изменении периметра
верха обуви происходит натяжение нити, в результате чего коромысло 20
отклоняется от своего первоначального положения на величину, регистрируемую
индикатором часового типа.
Механизм измерения фиксируется на основании 1
винтами 25, и может перемещаться по направляющим в продольном направлении, что
позволяет выводить его из рабочей зоны во время работы прибора, а также при
установке или снятии обуви в приборе.
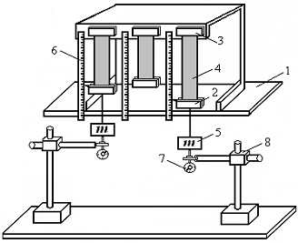
Соответствие конструкции деформирующих пуансонов
внутренней форме обуви достигалось за счет того, что они изготавливались из
затяжных колодок, на которых производилась обувь. Для этого по гребню колодки
наносилась граничная линия α,
а на следе колодки проводилась поперечная линия β
на расстоянии 0,68Дст от наиболее выпуклой точки пяточного закругления (рисунок
2.3, а). От линии β на
расстоянии 20 мм намечались две линии пропила γ
и ζ,
по которым колодка разрезалась вдоль плоскости, перпендикулярной плоскости
следа. Из центрального участка распиленной колодки (рисунок 2.3,б)
изготавливались три пуансона: верхний, расположенный на расстоянии 35 мм от
плоскости следа колодки, и два боковых, отстоящих от граничной линии α
на расстояние 20 мм.
Для закрепления деформирующих элементов на тягах
механизма нагружения в верхнем пуансоне по граничной линии предусмотрено
наличие двух сквозных отверстий, а на боковых пуансонах по одному отверстию,
параметры которых обозначены на рисунке 2.3, в, г.
Рисунок 2.3 - Конструкция деформирующих
элементов
Такая конструкция деформирующих
элементов обеспечивает плотное прилегание пуансонов к внутренней поверхности
обуви, в максимальной степени моделирует реальное взаимодействие стопы с верхом
обуви в области пучков при ходьбе, а также позволяет осуществлять быструю смену
пуансонов в зависимости от фасона и внутренних размеров носочно-пучковой части
испытываемой обуви.
Новизна разработанного прибора подтверждена
патентом на изобретение № 4471, выданным национальным центром интеллектуальной
собственности РБ, и представленным в приложении Б.
2.2.2 Методика оценки
приформовываемости верха обуви к стопе в лабораторных условиях
При разработке методики
испытания [2 -А., 3 - А.] исходили из того, что при нормальном подборе
поперечных размеров обуви к размерам стопы уже при надевании обуви союзка из
материалов различной тягучести растягивается в поперечном направлении в области
внутреннего пучка на 3,5 - 7%. В различных положениях стопы при ходьбе
растяжение союзки в области пучков колеблется от 1,5 до 4%. Таким образом,
суммарное растяжение верха обуви (от надевания обуви на стопу и растяжения при
ходьбе) колеблется в пределах 5 - 11 % [26, с.109].
Учитывая это, величина
растяжения верха обуви в процессе испытания принималась равной 8%, что
соответствует средним значениям деформации верха обуви в области пучков в
процессе ходьбы.
Данная величина деформации
верха обуви достигается в два этапа. На первом этапе с помощью регулировки
положения боковых упоров обеспечивается деформация верха обуви на 4-5%, что
соответствует изменению размеров верха обуви в процессе её одевания на стопу.
На втором этапе осуществляется
циклическая деформация верха обуви в области пучков в результате вращательного
движения эксцентрика. С учётом конструктивных особенностей прибора (величина
эксцентриситета е = 1,5 мм, плечо тяги l
=100 мм), амплитуда колебательного движения деформирующих пуансонов является
величиной постоянной и составляет 6 мм, что соответствует деформации верха
мужской обуви среднего размера примерно на 4%. В среднем на такую величину
изменяются поперечные размеры союзки в области пучков в различных фазах шага.
Приформовываемость верха обуви к
стопе,
, %,
определялась по формуле:
(2.1)
где L - периметр
верха обуви в сечении 0,68Дст после числа циклов испытания N и времени
отдыха τ, мм;
- периметр верха обуви в сечении
0,68Дст до испытания, мм.
Для обоснования режимов
испытания обуви на приборе было исследовано влияние числа циклов нагружения
(рисунок 2.4) и времени отдыха (рисунок 2.5) на величину остаточной деформации
верха обуви с различным сочетанием комплектующих заготовки.
Установлено, что основное
изменение поперечных размеров верха обуви происходит уже в течении 10000 циклов
растяжения. При последующем нагружении величина остаточной деформации верха
обуви изменяется незначительно, а после 20000 циклов растяжения для большинства
исследованных образцов стабилизируется.
В процессе отдыха основное
снижение остаточной деформации верха обуви происходит в течение 24 часов после
окончания испытаний.
Учитывая это, показатель
«приформовываемость верха обуви к стопе» определялся после циклического
нагружения обуви в течение 20000 циклов и 24 часов отдыха образцов.
Испытание обуви на приборе для
определения приформовываемости верха обуви к стопе осуществляется в следующей
последовательности:
На испытываемом образце обуви
намечается линия середины пучков,
- нубук+ткань+кожподкладка; 2 - натуральная кожа
(жесткая) + ткань+ трикотаж; 3 - натуральная кожа (мягкая)+ткань+трикотаж; 4 -
искусственная кожа+кожподкладка
Рисунок 2.4 - Зависимость
для обуви
клеевого метода крепления низа с различным сочетанием комплектующих заготовки
- нубук+ткань+кожподкладка; 2 -
натуральная кожа (жесткая) + ткань+ трикотаж; 3 - натуральная кожа
(мягкая)+ткань+трикотаж; 4 - искусственная кожа+кожподкладка
Рисунок 2.5 - Зависимость
для обуви
клеевого метода крепления низа с различным сочетанием комплектующих заготовки
расположенная на расстоянии 0,68 Дст от наиболее выпуклой точки пяточного
закругления. По намеченной линии осуществляется замер периметра поперечного
сечения верха обуви.
Механизм циклического нагружения прибора
поднимается по стойке вверх. При помощи стелечного упора устанавливается зазор
между деформирующими элементами и стелькой, равный 1,5-2 мм. Пяточный упор
устанавливается в соответствии с высотой каблука и размером обуви.
Испытываемый образец обуви надевается на
исполнительный механизм прибора и плотно прижимается к пяточному упору.
Механизм циклического нагружения опускается вниз до тех пор, пока подошва не
будет плотно прилегать к основанию, и фиксируется в таком положении при помощи
стопорного винта на стойке.
Базирующие призмы плотно придвигаются к носочной
и пяточной частям обуви и закрепляются болтами.
Боковыми упорами регулируется положение
деформирующих элементов таким образом, чтобы они плотно прилегали к внутренним
стенкам обуви, а также устанавливается необходимая амплитуда их колебания.
Осуществляется циклическое нагружение верха
испытываемой обуви.
По окончании испытания фиксируется величина
остаточной деформации верха обуви. Для этого деформирующие элементы при помощи
боковых упоров возвращаются в исходное положение и производится замер периметра
верха обуви по намеченной линии середины пучков. Дальнейшее изменение периметра
верха обуви осуществляется при помощи механизма измерения, который
располагается в плоскости измерения таким образом, чтобы нерастяжимая гибкая
нить лежала точно по линии, намеченной на верхе обуви в сечении 0,68Дст.
Индикатор часового типа устанавливается на «0». Показания индикатора снимаются
через 24 часа отдыха образца.
- На основании полученных данных определяется
величина приформовываемости верха обуви к стопе по формуле (2.1).
2.3 Исследование
факторов, влияющих на приформовываемость верха обуви к стопе
В соответствии с разработанной в п. 2.2.2 методикой
было проведено исследование приформовываемости 23 образцов мужской обуви
различной конструкции и сочетания комплектующих заготовки.
Краткая характеристика испытываемых моделей и
полученные экспериментальные данные, представлены в таблице 2.1.
Таблица 2.1- Характеристика исследуемых образцов
обуви и данные, полученные в ходе их испытания на приборе
|
Номер
и рисунок модели
|
Описание
модели
|
Исходный
периметр союзки в сечении 0,68Дст, L0, мм
|
Периметр
в сечении 0,68Дст после испытания, L, мм
|
|
метод
крепления
|
материал
верха
|
материал
меж- подкладки
|
материал
подкладки
|
|
|
|
1
|
2
|
3
|
4
|
5
|
6
|
7
|
|
1
|
клеевой
|
натуральная
кожа (жесткая)
|
трикотаж
|
свиная
подкладочная кожа
|
152,0
|
153,9
|
|
2
|
клеевой
|
натуральная
кожа (жесткая)
|
ткань
|
свиная
подкладочная кожа
|
152,0
|
154,0
|
|
3
|
клеевой
|
натуральная
кожа (мягкая)
|
ткань
|
свиная
подкладочная кожа
|
154,0
|
156,9
|
|
4
|
клеевой
|
нубук
|
ткань
|
свиная
подкладочная кожа
|
149,0
|
151,3
|
|
5
|
клеевой
|
натуральная
кожа (жесткая)
|
ткань
|
трикотаж
|
155,0
|
157,0
|
|
6
|
клеевой
|
натуральная
кожа (жесткая)
|
трикотаж
|
трикотаж
|
153,0
|
155,1
|
|
7
|
клеевой
|
натуральн.
кожа (мягкая)
|
ткань
|
трикотаж
|
164,0
|
167,4
|
|
8
|
клеевой
|
натуральная
кожа (мягкая)
|
ткань
|
трикотаж
|
155,0
|
157,7
|
|
9
|
клеевой
|
натуральная
кожа (жесткая)
|
трикотаж
|
свиная
подкладочная кожа
|
158,0
|
159,6
|
|
10
|
клеевой
|
натуральная
кожа (жесткая)
|
ткань
|
яловка
подкладочная
|
167,5
|
|
11
|
клеевой
|
натуральная
кожа (мягкая)
|
-
|
свиная
подкладочная кожа
|
159,0
|
161,0
|
|
12
|
клеевой
|
натуральная
кожа (мягкая)
|
ткань
|
свиная
подкладочная кожа
|
170,0
|
172,0
|
|
13
|
клеевой
|
нубук
|
-
|
свиная
подкладочная кожа
|
168,0
|
169,0
|
|
14
|
клеевой
|
натуральная
кожа (мягкая)
|
ткань
|
ткань
|
148,0
|
150,0
|
|
15
|
клеевой
|
натуральная
кожа (мягкая)
|
ткань
|
ткань
|
141,0
|
143,0
|
|
16
|
клеевой
|
натуральная
кожа (жесткая)
|
ткань
|
ткань
|
159,0
|
160,3
|
|
17
|
клеевой
|
натуральная
кожа (жесткая)
|
ткань
|
трикотаж
|
144,0
|
145,0
|
|
18
|
клеевой
|
натуральная
кожа (мягкая)
|
ткань
|
искусствен.
кожа на тка невой основе
|
135,0
|
135,7
|
|
19
|
клеевой
|
искусствен.
кожа на тка невой основе
|
-
|
свиная
подкладочная кожа
|
153,0
|
153,4
|
|
20
|
строчечно-литьевой
|
натуральная
кожа (жесткая)
|
ткань
|
ткань
|
153,0
|
156,5
|
|
21
|
строчечно-литьевой
|
натуральная
кожа (жесткая)
|
ткань
|
трикотаж
|
147,0
|
150,5
|
|
22
|
строчечно-литьевой
|
нубук
|
ткань
|
трикотаж
|
130,0
|
133,3
|
|
23
|
строчечно-литьевой
|
натуральная
кожа (жесткая)
|
ткань
|
трикотаж
|
143,0
|
146,0
|
Значения показателя приформовываемости верха
исследуемых образцов обуви представлены на рисунке 2.6.
НК(ж) - натуральная кожа жесткая; НК(м) -
натуральная кожа мягкая; Нб - нубук; Тк - ткань; Тр - трикотаж; Кп -
кожподкладка; ИК - искусственная кожа.
Рисунок 2.6 - Приформовываемость верха обуви в
лабораторных условиях
Анализ полученных экспериментальных данных
показал, что величина приформовываемости верха исследуемой обуви колеблется в
пределах 0,23 - 2,54 % и существенно зависит от свойств комплектующих, способа
формования и конструктивных особенностей заготовки.
Наиболее высокие значения исследуемого параметра
отмечаются в образцах обуви строчечно-литьевого метода крепления низа
внутреннего способа формования. Для данных видов обуви приформовываемость
составила в среднем 2,2 %, что в 1,2 - 4,0 раза превышает значение данного
показателя для обуви обтяжно-затяжного способа формования и клеевого метода
крепления низа. Очевидно, что менее значительная вытяжка заготовки в процессе
формования способствует сохранению большего запаса пластических свойств в
структуре материалов и обеспечивает лучшую приформовываемость верха обуви к
стопе в процессе носки.
Одним из наиболее существенных факторов,
влияющих на способность верха обуви приформовываться к стопе, является состав и
свойства комплектующих заготовки. При этом результаты исследований показали,
что в наибольшей степени величина исследуемого показателя зависит от
упруго-пластических свойств материалов наружных деталей верха.
Наилучшей способностью приформовываться к стопе
отличается обувь с верхом из натуральной кожи. Значение показателя
«приформовываемость» для данных образцов обуви составило 0,6 - 2,5 %, что в 2 -
8 раз превышает величину приформовываемости обуви с верхом из искусственных
кож. При этом приформовываемость образцов обуви, где в качестве материала верха
использовался мягкий кожтовар в 1,3 - 1,8 раза превышает приформовываемость
обуви с верхом из жестких на ощупь кож.
Значительно меньшее влияние на способность верха
обуви приформовываться к стопе оказывают материалы межподкладки и подкладки
обуви. Образцы обуви с межподкладкой из трикотажных и нетканых полотен
обеспечивают более высокие значения показателя приформовываемости, чем образцы
обуви с межподкладкой из ткани.
Результаты полученных экспериментальных данных
также показали, что наличие швов в области пучков в значительной степени
снижает способность верха обуви приформовываться к стопе. Так, при сходном
сочетании комплектующих заготовки, величина показателя приформовываемости
образцов с цельнокроеными союзками в среднем в 1,5 раза превышает значение данного
показателя для образцов с овальной вставкой на союзке. Еще более заметной
становится эта разница при наличии в конструкции заготовки крупных декоративных
швов.
Таким образом, разработанные методика и прибор
для определения приформовываемости верха обуви к стопе позволяют в лабораторных
условиях количественно оценить способность верха обуви приформовываться к
стопе, а также выявить основные факторы, оказывающие влияние на величину
данного показателя качества обуви.
Разработанные методика и прибор для определения
приформовываемости верха обуви к стопе прошли апробацию в испытательной
лаборатории ОТК ОАО «Красный Октябрь», в результате которой было получено
подтверждение о возможности их практического использования при оценке качества
готовой обуви (приложение Б).
Выводы по главе 2
. Разработана конструкция и изготовлен прибор
для количественного определения приформовываемости верха обуви к стопе,
позволяющий в максимальной степени моделировать реальное механическое
взаимодействие стопы с верхом обуви в области пучков при ходьбе.
Новизна разработанного прибора подтверждена
патентом на изобретение № 4471, выданным национальным центром интеллектуальной
собственности РБ [1- А.].
. Разработана методика оценки приформовываемости
верха обуви к стопе в лабораторных условиях, обоснованы режимы испытания
образцов на приборе для определения приформовываемости верха обуви к стопе.
. Исследована приформовываемость верха различной
обуви в лабораторных условиях и выявлены основные факторы, влияющие на величину
данного показателя качества. Установлено, что величина приформовываемости верха
обуви существенно зависит от свойств комплектующих, способа формования и
конструктивных особенностей заготовки.
. Показано, что обувь внутреннего способа
формования значительно лучше приформовывается к стопе, чем обувь
обтяжно-затяжного способа формования, а использование в области пучков швов,
соединяющих различные детали, приводит к снижению способности верха обуви
приформовываться к стопе.
. Выявлено, что наиболее значительное влияние на
величину приформовываемости верха обуви к стопе оказывают упруго-пластические
свойства материалов заготовки. При этом наиболее высокие значения исследуемого
показателя отмечаются в обуви с верхом из эластичных натуральных кож,
наименьшие - в обуви с верхом из искусственной кожи.
Использование в качестве материала межподкладки
трикотажных и нетканых полотен обеспечивает более высокие значения показателя
приформовываемости, чем межподкладка из ткани.
ГЛАВА 3. ИССЛЕДОВАНИЕ УПРУГО-ПЛАСТИЧЕСКИХ
СВОЙСТВ МАТЕРИАЛОВ И СИСТЕМ МАТЕРИАЛОВ ДЛЯ ВЕРХА ОБУВИ
Как отмечалось в главе 2, упруго-пластические
свойства материалов заготовки являются определяющим фактором, обуславливающим
способность верха обуви приформовываться к стопе в процессе эксплуатации.
Учитывая это, в целях разработки методики расчета и прогнозирования данного
показателя качества, представляет значительный интерес анализ существующих
методов оценки и экспериментальное исследование упруго-пластических свойств
материалов и систем материалов для верха обуви при различных видах деформации.
3.1 Анализ методов
оценки упруго-пластических свойств материалов и систем материалов для верха
обуви при растяжении
В процессе производства и эксплуатации обуви
материалы заготовки подвергаются механическим воздействиям, значительно меньшим
разрывных. Поэтому оценка их упруго-пластических свойств осуществляется в ходе
одноцикловых испытаний, при которых деформирование образцов происходит по циклу
«нагрузка-разгрузка-отдых». Одноцикловые испытания позволяют изучить закономерности
изменения деформационно-напряженного состояния материалов при действии
сравнительно небольших усилий и после их прекращения, что во многом определяет
стабильность размеров и формы изделия во времени.
При изготовлении и эксплуатации обуви материалы,
входящие в заготовку верха, подвергаются растяжению, сжатию, изгибу, кручению.
Однако преобладающим видом воздействия является растяжение [50, с.94]. Поэтому
одноцикловые испытания на растяжение являются одними из основных методов оценки
технологической и эксплуатационной пригодности материалов. Для реализации
данных испытаний в настоящее время существует много различных методов, краткая
классификация которых представлена на рисунке 3.1.
В соответствии с обозначенной классификацией,
методы испытаний различаются по характеру деформации и её направлению, по
режиму деформирования и отдыха (релаксации), по задаваемому и поддерживаемому
параметру испытания, способу установления задаваемого и поддерживаемого
параметра [63, с.66].
ε, σ,
Р - заданные постоянные относительная деформация, напряжение, давление; εр,
σр,-
разрывные значения относительной деформации и напряжения; α,
β
- доли; L0 - первоначальная
длина образца; t - время
действия нагрузки, отдыха.
Рисунок 3.1 - Классификация методов испытаний
материалов при одноцикловом растяжении
Среди всех существующих методов испытаний
наиболее распространенными и часто используемыми в научных исследованиях
являются методы испытания материалов в режимах с кратковременной и смешенной
релаксацией. При этом испытания в условиях одноосного растяжения наиболее часто
используются на практике для оценки качества обувных материалов [64 - 79]. Они
позволяют получить широкий круг показателей, всесторонне характеризующих
упруго-пластические свойства материалов. Определение отдельных показателей
стандартизировано в ряде отечественных и зарубежных стандартов.
Анализ стандартов стран СНГ, международных
стандартов серии ISO
и ряда стандартов отдельных зарубежных стран, представленный в таблице 3.1,
показал, что различие в структуре и свойствах материалов, применяемых в обувном
производстве, обусловило особенности их испытаний на растяжение. Отмечаются
существенные различия не только в условиях испытаний, размерах и форме
используемых образцов, но и в комплексе определяемых при этом показателей.
Таблица 3.1 -Методы оценки упруго-пластических
свойств материалов при одноосном растяжении
|
Наименован.
стандарта, № лит-го. источн.
|
Материалы
|
Форма
и размеры образцов (мм)
|
Оборудование
|
Режимы
испытания
|
Определяемые
показатели
|
|
1
|
2
|
3
|
4
|
5
|
6
|
ГОСТ 938.11 - 69 [64] натуральные
кожи
с lp b a 25 50 10
20 разрывная машина σ = 10 МПа τнагр =
10±0,5 мин. τотд = 30
мин. v = 100± 10
мм/мин. • полное удлинение, %:
где lр- длина
рабочей части образца, мм; Δlполн -
удлинение, соответствующее заданному напряжению, мм. • остаточное удлинение,
%:
|
где
Δlост = lост - lр
-остаточная деформация рабочей части пробы материала, мм; lост -
длина рабочей части образца после снятия нагрузки и отдыха, мм. • упругое
удлинение, %: εупр = εполн - εост
|
|
|
PN - 88/P - 22131
[65]
|
натуральные
кожи
|
|
разрывная
машина
|
σ = 10 МПа τнагр =
10±0,5 мин. τотд = 30
мин. v = 100± 10
мм/мин.
|
|
|
NF G 52-003
[66]
|
натуральные
кожи
|
с lp
b
a ст 25 50
10 20 м 10 20 5 1 б 45 100 20 40
|
разрывная
машина
|
σ = 10 МПа τнагр = 2
мин. τотд = 2
мин.
|
•
относительное общее удлинение, %: - для стандартных образцов А1 = 2,5 (Д1 -
40) - для малых образцов А1 = 10 (Д1 - 10) где Д1 - расстояние между точками
А и Б при действии напряжения σ=10 МПа, мм. •
относительное остаточное удлинение, %: - для стандартных образцов Аr = 2,5 (Д2
- 40) - для малых образцов Аr = 10 (Д2 - 10) где Д2 -
расстояние между точками А и Б после отдыха, мм. • временное удлинение, %: Аt= А1 - Аr.
|
|
ISO 3376 - 1976 (Е) [67]
|
натуральные
кожи
|
|
разрывная
машина
|
величина
σ
выбирается произвольно
|
•
относительное общее удлинение, %.
|
TGL 12972/06 -
81 [68] искусственные кожи
разрывная машина lусл = 0,8 lразр τнагр = 60±2
сек. τотд = 15
мин; 24 ч. v = 100±10
мм/мин. • остаточное удлинение, %:
где L0 -
свободная длина образца, мм;
L1 -
свободная длина образца при заданном удлинении, мм;
|
L2 - свободная длина образца
после снятия нагрузки и отдыха, мм;
|
|
|
DIN 53360-82 [69]
|
искусственные
кожи
|
|
Прибор,
состоящий из двух зажимов. Нижний зажим имеет приспособление для подвешивания
грузов
|
Р
= 25; 100; 125 Н. τнагр = 30
мин. τотд = 30
мин.
|
•
полное удлинение, %; • остаточное удлинение, %.
|
|
|
|
|
|
|
|
ГОСТ 8847-85 [70] трикотажные
полотна
устройства
марок ПР-2, ПР-3 Р = 6 Н. τнагр = 10 мин. τотд = 30
мин. v = 400±20
мм/мин • растяжимость при нагрузках, меньше разрывных, %:
где Lн - длина
растянутой элементарной пробы, мм;
L0 - зажимная
длина элементарной пробы, мм.
• необратимая деформация, %:
где Lк - длина
элементарной пробы после испытания, мм.
|
|
|
искусственный
мех на трикотажной основе
|
|
разрывная
машина (при определении растяжимости)
|
Р
= 30 Н
|
|
|
|
|
релаксометр
«стой ка» (при определении необратимой деформации)
|
Р
= 2±0,025 кг τнагр = 60
мин. τотд = 20
ч.
|
|
DIN 53835.Т 13
- 83 [72] ткани, трикотажные полотна • ткани:
• трикотаж:
любая
машина для испытания на растяжение εу = 2 ÷50 % от
исходной длины образца; τнагр = 60
мин. τотд = 15
мин. v = 20 мм/с •
полное удлинение, %; • остаточное удлинение, %; • упругое удлинение, %; •
отношение удлинений: Dε =
;
|
•
сила растяжения, F, соответствующая заданной
деформации, Н.
|
[73, с.155], [74] синтетические и
искусственные кожи, текстильные материалы • СК, ИК:
• ткани:
• трикотаж:
• неткан.
полотна:
разрывная
машина • СК: σ = 5 МПа τнагр =
10±0,5 мин. τотд = 30
мин. v = 100± 10
мм/мин. • ИК, текстильные материалы: σ при Δlу=0,75 lразр τнагр = 5
мин. τотд = 30 мин.
v = 100± 10
мм/мин. • полное удлинение, %:
;
• остаточное удлинение, %:
;
• упругое удлинение, %: εупр = εполн - εост; •
пластичность, %:
;
• упругость, %: У = 100 - П;
• рассеивание (диссепация)
механической энергии, Дж: ΔW = Δ А = А1 -
А2;
|
где
А1 и А2 - работа при и после растяжения пробы материала, Дж.
|
|
|
[77,
с. 316 - 318]
|
искусственные
кожи, ткани
|
|
прибор
для растяжения с неподвижн. нижним и подвижн. верхним зажимами
|
Δlу=0,75 lразр τнагр = 5
ч. τотд = 1 ч.
|
•
полное удлинение, %; • остаточное удлинение, %; • упругое удлинение, %.
|
|
[78
- 79]
|
натуральные
кожи
|
|
прибор
ПД
|
ε = 15 %; τнагр = 15
мин. τотд = 5
мин, 1сутки, 7 суток.
|
•
остаточная деформация, %.
|
|
[48,
с.14]
|
натуральные
и искусственные кожи
|
с lp
b
a 25 50 10
20
|
разрывная
машина
|
ε = 2, 5, 7
%
|
•
остаточная деформация, %; • упругая деформация, %; • соотношение εост/ εупр.
|
Отечественными стандартами в настоящее время
предусмотрена оценка упруго-пластических свойств при одноосном растяжении
только для натуральных кож [64] и трикотажных полотен [70]. При этом
определяемый круг показателей зачастую оказывается недостаточным для
объективной характеристики технологических и эксплуатационных свойств материалов.
Что касается искусственных, синтетических кож и
большинства текстильных материалов для верха обуви, то оценка их
упруго-пластических свойств отечественными стандартами не регламентируется
вообще и предусмотрена лишь в стандартах отдельных зарубежных стран [68 - 69,
71 - 72].
Помимо стандартных методов испытаний в научных
исследованиях используется также большое число разнообразных методов оценки
упруго-пластических свойств обувных материалов [73 - 79], краткая
характеристика которых представлена в таблице 3.1.
Данные методы отличаются значительным
разнообразием условий и параметров испытания образцов, а также их формой и
размерами. Испытание материалов чаще всего осуществляется на разрывных машинах
[73 - 77]. Для характеристики упруго-пластических свойств материалов помимо
стандартных показателей дополнительно используются такие показатели как
пластичность, упругость, рассеивание (диссипация) механической энергии [73 -
76], соотношение εост/ εупр,
отражающее интенсивность пластических преобразований в материалах под действием
нагрузки, и обуславливающее их способность формоваться и приформовываться [48,
с.14].
Следует отметить, что большинство рассмотренных
методов не нашли широкого применения и используются главным образом в отдельных
научных исследованиях в зависимости от поставленных целей.
Как известно, преимущественным видом растяжения,
возникающим в деталях верха обуви при её изготовлении и эксплуатации, является
двухосное растяжение. В связи с этим испытания материалов в условиях одноосного
растяжения не всегда позволяют объективно охарактеризовать действительное
поведение материала в сложных условиях его технологической обработки и службы.
Это обусловило создание целого ряда методов испытаний обувных материалов,
основанных на сообщении образцам двухосного растяжения [80 - 99 ]. Основным
отличительным признаком данных методов является принцип приложения
деформирующих усилий: в плоскости образца, путем давления на образец мембраны,
сферического или плоского тела.
Некоторые из этих методов стандартизированы.
Причем, как показал анализ нормативно-технической документации различных стран
(таблица 3.2), зарубежные стандарты предусматривают гораздо более полную оценку
упруго-пластических свойств материалов при двухосном растяжении по сравнению со
стандартами стран СНГ.
Таблица 3.2 -Методы оценки упруго-пластических
свойств материалов при двухосном растяжении
|
Наименован.
стандарта, № лит-го. источн
|
Материалы
|
Форма
и размеры образцов (мм)
|
Оборудование
|
Режимы
испытания
|
Определяемые
показатели
|
|
1
|
2
|
3
|
4
|
5
|
6
|
ГОСТ 29078 - 91 [80] натуральные
кожи
прибор ПОИКhз = 8 мм ≡
εм = 21 %• пластичность, %: Р
=
= 12,5 hо
|
где
hо -
остаточная деформация, мм; hз - заданная деформация,
мм.
|
|
|
|
БДС 12787 - 80 [81]
натуральные кожи
тензометр
«Балли» (гидравлический способ продавливания) Р = 5, 10, 15 бар •
линейное (радиальное) удлинение, %: ε =
=
где Δв -
изменение длины дуги выгиба (рисунок В.1):
Δв = в - 2 r = 2rh∙arcα
• плоскостное удлинение образца
(относительное полное приращение площади пробы), %:
εА =
=
=
где ΔАw - изменение
поверхности выгиба - разница между поверхностью выгиба Аw и испытуемой
поверхностью А в любой момент испытания на продавливание:
ΔАw = Аw - А = π (r2 + h2) - πr2 = π h2
т. к. диаметр рабочей поверхности
составляет 50мм, то εА = 0,16 h2.
|
•
остаточное линейное и остаточное плоскостное удлинение, %, определяемое через
30 сек. после снятия давления по приведенным выше формулам.
|
|
|
IUZTCS.SZP10 (IUP/3) [82]
|
|
|
|
|
|
|
DIN 53323 - 74 [83]
|
|
|
|
|
|
|
TGL 38728 - 81 [84]
|
натуральные
и искусственные кожи
|
|
тензометр
«Балли» (пневматический способ продавливания)
|
в
любой момент нагружения τотд = 30 сек.
|
|
IUZTCS.SZP 11 [85] натуральные
кожи
куполообразный
пластометр, сферический пуансон с радиусом сферы 51,6 ± 0,3 мм. 1) в н.у.: εобщ =15% ≡
h = 13,59 мм;
τнагр = 24 ч.
τотд = 24 ч.;
7 суток 2) горячее формование: h = 13,59 мм; τнагр = 60
мин при t = 800С +
120 мин в н.у. τотд = 24 ч.;
7 суток • процент посадки (степень сохранности формы), %:
где А0 - первоначальная площадь
образца, мм2;
А1 - площадь растянутого на сфере
образца, мм2;
А2 - площадь образца после отдыха,
мм2;
h1 - высота
сферы при фиксированном подъеме пуансона на 13,59 мм, что соответствует
деформации образца по площади 15%;
|
h2 - высота сферы после
снятия нагрузки и отдыха образца, мм.
|
PN -72/ О -
91131 [86] натуральные и искусственные кожи
разрывная
машина; приставка для формования образцов hо = 12,2 мм;
τнагр = 60
мин. при t = 60 ± 20С
+ 15 мин. в н.у. τотд = 15
мин.; 7 дней. • коэффициент сохранения формы, %:
где h0 - общая
деформация образца, мм;
h1 -
остаточная высота полусферы через 15 мин. отдыха, мм;
|
h2 - остаточная высота
полусферы через 7 дней отдыха, мм.
|
|
|
TGL 37428 - 82 [87]
|
синтетические
кожи на нетканой основе (СК); искусственные кожи на тканевой основе (ИК)
|
|
формующий
прибор, измеритель высоты
|
СК
: εобщ = 22 ±
0,5 % ИК: εобщ=16,5 ±
0,5 % τнагр = 20
мин. в н.у. + 15 мин. при t = 1500С + 20 мин в н.у. τотд = 5
мин.; 72 ч.
|
•
высота изогнутости, мм: h = hп/с - tобр hп/с -
высота полусферы, мм; tобр - толщина образца, мм.
• плоскостное удлинение образца (относительное полное приращение площади
пробы), %; • остаточное плоскостное удлинение, %; • эффект стабилизации =
|
|
|
ГОСТ
28239 - 89 [88]
|
трикотажные
полотна
|
|
устройство
марки СЧД - 1
|
Р
= 1000 ± 10 г.; τнагр = 60
мин.; τотд = 60
мин.
|
•
абсолютное значение остаточной стрелы прогиба образца.
|
|
|
[93]
|
натуральные
и искусственные кожи
|
|
тензометр
«Балли»
|
Р
= 0,7 МПа; τотд = 30
мин.
|
•
линейное (радиальное) удлинение, %; • плоскостное удлинение образца, %; •
остаточное линейное (плоскостное) удлинение, %; • условная пластичность, %.
|
|
|
[89]
|
|
|
прибор
В3030, разрывная машина
|
величина
деформации выбирается произвольно
|
•
полное удлинение, %; • остаточное удлинение, %; • коэффициент
формоустойчивости:
|
|
|
[90
- 91]
|
материалы
и системы материалов для верха обуви
|
|
прибор
В 3030, разрывная машина
|
•
НК: ε = 20%; •
ИК, текстильные материалы: ε = 10%; • системы мат-лов: ε = 15%. τнагр = 5
мин; τотд = 30
мин.
|
•
остаточное удлинение (радиальное или по высоте отформованной поверхности); •
коэффициент формоустойчивости.
|
|
[92]
|
|
|
прибор
В 3030, разрывная машина
|
Р
= 0,5 Рразр τнагр = 5
мин. τотд = 30
мин.
|
•
полное удлинение, %; • остаточное удлинение, %;
|
|
|
|
|
|
|
|
|
|
|
[95 - 96] натуральные и
искусственные кожи
ПОИК • hз = 8 мм; τнагр = 30
сек. τотд = 5 сек. •
остаточная деформация, hост, мм; • показатель
формоустойчивости (обратимая деформация), %:
;
где hз - заданная
деформация, мм.
|
|
|
[97
- 98]
|
дублированные
текстильные мат-лы
|
|
|
•
hз = 0,4 hразр; τнагр = 30
сек. τотд = 30
сек.
|
|
|
[78
- 79]
|
натуральные
кожи
|
|
куполообразный
пластометр
|
ε = 15 %; τнагр = 15
мин. τотд = 5
мин, 1сутки, 7 суток.
|
•
остаточная деформация, %.
|
В настоящее время в отечественной промышленности
стандартизирован только метод испытания натуральных кож на продавливание
сферическим пуансоном на приборе ПОИК [80]. В стандартах зарубежных стран для
характеристики упруго-пластических свойств натуральных и искусственных кож
используется метод продавливания эластичной мембраной гидравлическим [81 - 83]
или пневматическим [84] способом на тензометрах «Балли», сферическим пуансоном
[85 - 87]. При этом испытания могут осуществляться как в нормальных условиях,
так и при повышенной температуре [85 - 87].
Для оценки упруго-пластических свойств
используются показатели: линейное (радиальное) удлинение; плоскостное удлинение
образца; остаточное линейное и остаточное плоскостное удлинение; отношение
остаточного плоскостного удлинения к общему (таблица 3.2).
Определение показателей упруго-пластических
свойств при двухосном растяжении для текстильных материалов стандартизировано
только для трикотажных полотен для верхних изделий по ГОСТ 28239 - 89 [88].
В ряде научных работ разработаны методы оценки
упруго-пластических свойств материалов, основанные на сообщении образцам двухосного
симметричного [89, 92] и несимметричного [90-91, 95 - 99, 78 - 79] растяжения
на приборах В3018, В 3030 конструкции А. Ю. Зыбина [89 - 92], тензометрах
«Балли» [93, 94, с.25], ПОИК [95 - 98], куполообразном пластометре [78 -79],
ластометре [99], отличающиеся от стандартных методов условиями и режимами
испытания образцов (таблица 3.2). При этом для характеристики технологической
пригодности материалов дополнительно вводятся такие показатели как: коэффициент
формоустойчивости [89 - 91, 95 -98], условная пластичность [93].
Обувные материалы имеют ярко выраженный
релаксационный характер поведения при деформации. В связи с этим существенным
недостатком методов испытания в режимах с кратковременной и смешенной
релаксацией является то, что оценка упруго-пластических свойств осуществляется
на образцах, не достигших технического равновесия (или состояния, близкого к
нему), а, следовательно, носят в определенной степени условный характер.
Поэтому в научных исследованиях получили широкое распространение методы испытания
материалов с режимом длительной релаксации.
К таким методам относятся испытания на
релаксацию напряжений и релаксацию деформации. Применительно к оценке
эксплуатационных свойств материалов верха обуви наибольший интерес представляют
испытания на релаксацию деформации (ползучесть).
Следует отметить тот факт, что имеется
сравнительно мало работ, посвященных изучению релаксации деформации натуральных
и искусственных кож [101 -109]. Более глубоко изучалась релаксация деформации
текстильных материалов [63, 110-121].
Для испытаний на ползучесть при одноосном
растяжении применяют приборы и установки УР-2М, релаксометры типа «Стойка»,
релаксометры Шалова, Бродтмана, Бобета, Р-5, РТ-6, прибор ПР-2 и
др.[63,с.108-115; 77, с.68]. Измерение перемещения (удлинения) пробы материала
проводят различными способами с использованием измерительных приборов: линейки,
оптического микроскопа, электромеханического датчика перемещения. Регистрация
изменяющегося размера пробы может быть осуществлена потенциометром, компьютером
и другими приборами.
Для исследования ползучести при двухосном
растяжении используются релаксометр Флетчера (для определения составных частей
деформации трикотажа при двухосном растяжении в плоскости образца), релаксограф
МТИ (ПРД-5 - пульсатор, релаксограф двухосный пятиручейный), разработанный
Кобляковым А.И. совместно с А.И. Новиковым, для определения составных частей
деформации материалов при двухосном сложном растяжении способом продавливания,
автоматизированный комплекс «Relax»,
разработанный в МГУДТ [122 - 124]. Компоненты деформации устанавливают по
величине стрелы прогиба или по изменению площади образца.
Наиболее часто употребляемыми дискретными
характеристиками релаксации деформации являются: полная деформация,
быстрообратимая (условно-упругая), медленнообратимая (условно-эластическая) и
остаточная (условно-пластическая) деформации, доли быстрообратимой,
медленнообратимой и остаточной деформации в полной деформации материала [63,
с.65 - 66, 73, с.217 - 218 , 100, с.169].
Как известно, результаты испытаний во многом
зависят от выбранных параметров [50,с.88]. Однако анализ литературных данных,
представленный в таблице 3.3, показал что, несмотря на это, в настоящее время
не установлено единых параметров, при которых необходимо изучать изменение деформационных
свойств различных материалов во времени. Различные авторы определяют компоненты
деформации материалов при различном времени действия нагрузки и времени отдыха
после разгрузки. Отсутствует единство взглядов на величину нагрузки,
прилагаемой к образцам, и на их размеры, что приводит к невозможности получения
сопоставимой оценки реологических свойств различных материалов, входящих в
заготовку верха обуви.
Кроме того, следует отметить, что изучение
реологических свойств текстильных материалов наиболее часто осуществляется в
условиях одноосного растяжения, что не согласуется с реальным характером работы
данных материалов при производстве и эксплуатации обуви и, следовательно, не
позволяет получить объективную оценку их технологической пригодности. Практически
не изучен характер кинетики релаксационных процессов и
Таблица 3.3 - Методы исследования релаксации
деформации материалов
|
№
лит. источника
|
Наимен.
материала
|
Вид
деформации
|
Форма
и размеры образцов (мм)
|
Оборудование
|
Режимы
испытания
|
Определяемые
показатели
|
|
1
|
2
|
3
|
4
|
5
|
6
|
7
|
[101] натуральные кожи одноосное
релаксометр
типа «стойка» σ = 9,81
МН/м2 (1кг/мм2) τнагр =7
суток. τотд = 14
суток. • деформация
в любой момент времени ε(τ), %;
•
мгновенный модуль упругости:
,
где ε0
-деформация в первый момент после растяжения;
• длительный модуль упругости:
,
где εk -
установившаяся (конечная) деформация;
|
•
время релаксации.
|
|
|
[102]
|
нат.
кожа+покладка
|
одноосное
|
|
релаксометр
типа «стойка»
|
σ= 9,81 МПа
(1кг/мм2) τнагр =30
сек или 3 ч. τотд = 1
сутки.
|
•
остаточная деформация εост, %.
|
|
[103]
|
натуральные
кожи
|
одноосное
|
|
установка,
состоящая из релаксометра, измерит-го и записывающего устройств [104]
|
σ = 0,981;
4,905; 9,81; 14,715; 24,525 МН/м2; Р=14,715; 73,575; 145,15 Н; τнагр = 2
ч.; τотд = 1 ч.
|
•
зависимость ε = f(τ); • общая
деформация, εобщ, %; •
условно-остаточная деформация, εост, %.
|
|
[105]
|
натуральные
кожи
|
одноосное
|
|
прибор
конструкции Шейниса Е.С.
|
σ = 0,5;
0,75 кг/мм2; τнагр =30
мин.; τотд = 30
мин. (τнагр(отд):
15; 30 сек, 1; 2; 3; 4; 7; 10; 15; 20; 30 мин)
|
•
мгновенная деформация, εмгн, %;
|
[105] натуральные кожи двухосное
констистомер
Гёпплера σ = 2 кг/мм2;
τнагр =30
мин. (τнагр: 0; 30;
70 сек, 3; 6; 15; 30 мин); τотд = 30 мин. (τотд: 0; 60
сек, 15; 30 мин) • текучесть, εт, %; • упругая деформация, εупр., %; •
упругое последействие, εупр.посл, %;
• остаточная деформация, εост, %. в
условиях двухосного растяжения: • относительный прирост площади, %:
=
где А0 - первоначальная площадь
образца (755 мм2); ΔА -
абсолютный прирост площади в мм2; А1 - площадь образца в данный момент времени,
мм2, А1=2πrη= площади
сферического сегмента высотой η и радиусом r:
|
где
η -
величина прогиба образца в данный момент времени, мм; α - радиус
образца (15,5 мм).
|
искусственные
и синтетические кожи
|
двухосное
(стальным шариком d=6,5 мм)
|
|
прибор,
разраб. на кафедре Шахтинского технологич. института бытового обслуживания
|
Р
= 2; 3,5; 5; 6,5; 8 Н τнагр =30
мин. τотд = 60
мин. (τнагр(отд):
6; 30; 60; 120 сек, далее через каждые 5 мин.)
|
•
зависимость h = f(τ); •
полная деформация, h, мм; • условно-упругая
деформация, hу, мм; •
условно-эластическая деформация, hэл, мм; •
условно-пластическая деформация, hпл, мм; •
доли составляющих полной деформации: Δ hу, Δ hэл, Δ hпл.
|
[107] синтетические кожи одноосное
установка,
состоящая из релаксометра, измерительного и записывающего устройств [108] σ=9,81·106Н/м2
(1кг/мм2) τнагр =120
мин. τотд = 120
мин. • зависимость ε = f(τ); •
мгновенная деформация ε0, %
(определяется через 5 сек. после приложения нагрузки); • мгновенный модуль
упругости: Н = σ / ε0; •
релаксационный модуль: Е(τ) = Нf(τ) =
,
|
где
Е∞ - релаксирующая часть; α, k -
параметры материала; Е∞ - равновесный модуль упругости при τ = ∞.
|
[109] искусствен. кожи одноосное
релаксометр
типа «стойка» Р = 0,05 ÷ 0,95 Рразр; τнагр =120
ч.; τотд = 120 ч.
•
зависимость ε = f(τ); • полная
деформация, %: εполн =
где l1 - длина
рабочего участка образца при последнем замере под нагрузкой, мм; l0 -
первоначальная длина рабочего участка, мм;
• быстрообратимая (условно-упругая)
деформация, %: εупр. =
где l2 - длина
рабочего участка сразу (через 1- 2 с) после снятия нагрузки, мм;
• медленнообратимая
(условно-эластическая) деформация, %: εэл. =
где l3 -длина
рабочего участка при последнем замере деформации после снятия нагрузки, мм;
• остаточная (условно-пластическая)
деформация, %: εпл. =
;
• доля быстрообратим. дефор-ции: Δεупр =
;
• доля медленнообратимой деформации:
Δεэл. =
;
|
•
доля остаточной деформации: Δεпл. =
|
|
|
[110
- 113]
|
ткани
|
одноосное
|
•
ткани шерстяные: • ткани,
нетканые полотна: •
трикотаж:
|
Релаксометр
РТ - 6
|
Р
= 0,25 Рразр; τнагр =1
ч.; τотд = 2 ч.
|
|
|
[63,с.65-66];
[114]
|
трикотаж
|
|
|
релаксометр
типа «стойка»
|
Р
= 0,05 Рразр; τнагр =1
ч.; τотд = 2 ч.
|
|
|
[115]
|
трикотаж
|
|
|
релаксометр
типа «стойка»
|
Р
= 2; 3; 4; 5; 8 и 10 % от Рразр; τнагр =1; 10; 60; 120; 180
мин; τотд = 2;
24; 48 ч.
|
|
|
[116
- 118]
|
ткани,
трикотаж, нетканые полотна
|
|
|
релаксометр
Р - МТИЛП
|
•
ткань: Р = 0,25 Рразр; • трикотаж: Р = 0,05Рразр; τнагр = 60
мин; τотд =
120мин. • нетканые полотна: Р = 0,10 Рразр; τнагр =60
мин; τотд = 20
мин.
|
|
|
[119]
|
трикотаж
|
одноосное
|
|
динамометр
РТ - 250
|
Р
= 2; 4; 6; 8; 10; 12 кг.; τнагр = 120 мин; τотд =
120мин. (τотд: 15
сек, 5; 15; 30; 60; 90; 120 мин)
|
|
|
[120]
|
дублированные
и триплированные текстил. мат-лы
|
одноосное
|
|
релаксометр
типа «стойка»
|
Р
= 0,25 Рразр; σ = 10
МПа/мм2; ε = 0,15lраб; τнагр = 60
мин; τотд =
120мин.
|
|
[121] ткани одноосное
установка
для одноосного растяжения Р = 0,05 ÷ 0,4 Рразр; τнагр = 60
мин.; τотд = 120
мин.
•
условно-мгновенн. модуль упругости, Н/м2:
,
где ε1 -
условно-мгновенная деформация, %;
• модуль запаздывающей
упругости,Н/м2:
,
где ε1 -
задержанная во времени деформация, %;
• кажущаяся вязкость, пз:
;
|
•
истинная вязкость, пз:
|
[122 - 124] натуральные
кожи, текстильные мат-лы, системы материалов двухосное
установка
«RELAX» Р =
4,91 ÷ 29,43 Н; τнагр = 30
сек.; τотд = 5 - 15
сек. • модуль мгновенной упругости, МПа:
;
• модуль высокоэластичности, МПа:
;
• коэффициенты вязкости быстрого η1 и
медленного η2 процессов
релаксации:
,
;
• постоянные времени быстрого Т1 и
медленного Т2 процессов релаксации; •равновесный модуль упругости, МПа:
;
• коэффициент пластической вязкости:
,
где ε3 -
условно-пластическая деформация, %;
Δt - время
развития пластич. деформации (время нагружения).
|
•
спектры времен релаксации.
|
реологические свойства систем материалов для
верха обуви.
Таким образом, анализ существующих методов
оценки упруго-пластических свойств материалов показал, что в настоящее время
отсутствуют единые подходы к методологии определения упруго-пластических
свойств различных материалов для верха обуви. Используемые методики существенно
отличаются по способу и условиям нагружения материалов, размерам и форме
используемых образцов, комплексу показателей, используемых для оценки качества
исследуемых материалов, что значительно влияет на объективность получаемых
результатов и не позволяет получить сравнительную характеристику
упруго-пластических свойств различных по структуре материалов, составляющих
заготовку верха обуви.
Кроме того, большинство методов предназначены
для исследования упруго-пластических свойств одиночных материалов, в то время
как заготовка верха обуви представляет собой систему разнородных по строению
материалов, свойства которой будут значительно отличаться от свойств входящих в
неё комплектующих. Все это обуславливает необходимость:
унификации существующих методов испытаний материалов
на основе их экспериментального сопоставления и разработки единых подходов к
оценке упруго-пластических свойств различных по структуре материалов для верха
обуви с целью выявления оптимальных методов и получения сопоставимых
результатов;
создания новых научно-обоснованных методов
оценки упруго-пластических свойств материалов и систем материалов для верха
обуви;
снижения размерности признакового пространства и
выделения минимального количества наиболее информативных показателей,
позволяющих получить наиболее полную и качественную информацию о комплексе
упруго-пластических свойств исследуемых материалов, что позволит существенно
упростить и сократить сроки проведения испытаний, а также уменьшить
материальные затраты на их выполнение.
3.2 Обоснование выбора
методов испытаний и исследуемых материалов
Как обозначалось выше, для характеристики
упруго-пластических свойств обувных материалов используется большое число
различных показателей, методики определения которых существенно отличаются для
различных по структуре материалов. Для исследования упруго-пластических свойств
материалов были выбраны методы испытаний и показатели, наиболее часто
используемые в научных исследованиях и производстве при оценке качества
материалов и определяемые при различных видах деформации.
Наиболее часто упруго-пластические свойства
материалов определяются при одноосном растяжении на динамометрах в режиме со
смешенной релаксацией. Этот метод широко используется для оценки качества
материалов в процессе их производства и при подборе комплектующих на стадии
проектирования обуви.
Так как при производстве и эксплуатации обуви
преобладающим видом деформации является двухосное растяжение, то представляет
интерес исследование упруго-пластических свойств обувных материалов при
двухосном растяжении сферическим пуансоном. Данный метод наиболее точно
имитирует реальные воздействия, испытываемые материалами заготовки в процессе
производства обуви.
Для исследования упруго-пластических свойств
натуральных и искусственных кож выбран также метод двухосного растяжения
сферическим пуансоном на приборе ПОИК. Это наиболее простой и оперативный
метод, не требующий значительных материальных затрат и времени, вследствие чего
часто используемый при оценке технологической пригодности материалов.
Учитывая то, что продолжительность процессов
формования обуви при производстве и степень сохранности ее формы в процессе
носки в значительной степени определяются реологическими свойствами материалов,
то для их всесторонней оценки представляет значительный интерес исследование
процессов релаксации деформации, протекающих в образцах под действием нагрузки
постоянной величины в условиях одноосного и двухосного растяжении.
Для исследования были отобраны натуральные,
искусственные и синтетические кожи различных структур, наиболее часто
используемые в промышленности для наружных деталей верха обуви, а также
различные по строению текстильные материалы для межподкладки и подкладки обуви.
Ряд исследуемых текстильных материалов был
разработан в УО «Витебский государственный технологический университет».
Характеристика исследуемых материалов представлена в таблице 3.4
Таблица 3.4 - Характеристика исследуемых
материалов
|
Наименование
материалов
|
Толщина,
мм
|
|
1
|
2
|
|
Для
наружных деталей верха
|
|
Яловка
|
1,3
|
|
Полукожник
эластичный
|
1,4
|
|
Яловка
эластичная NEVROR
|
1,1
|
|
Яловка
эластичная Наппа
|
1,4
|
|
Яловка
эластичная Nero
|
1,5
|
|
Винилискожа-Т
обувная
|
0,8
|
|
Искусственная
кожа на тканевой основе «Metlak» с
лаковым покрытием
|
0,9
|
|
Искусственная
кожа на тканевой основе «CAPRETTO P
UNDRUSH»
|
1,0
|
|
Синтетическая
кожа на нетканой основе «Неве»
|
1,0
|
|
Синтетическая
кожа на нетканой основе марки 2
|
1,0
|
|
Синтетическая
кожа на нетканой основе «Syn-baby»
|
0,8
|
|
Синтетическая
кожа на нетканой основе «POSITANO NAT
BRUSH»
|
1,0
|
|
Для
межподкладки
|
|
Трикотаж
для межподкладки с термоклеевым покрытием (поверхностная плотность 172 г/м2)
|
0,4
|
|
Трикотаж
для межподкладки с термоклеевым покрытием (поверхностная плотность 130 г/м2)
|
0,4
|
|
Термобязь
|
0,3
|
|
Нетканый
материал «Спанбонд» с термоклеевым покрытием (поверхностная плотность 80 г/м2)
|
0,25
|
|
Для
подкладки
|
|
Ткань
обувная подкладочная
|
0,2
|
|
Трикотаж
для подкладки экспериментальный (поверхностная плотность 292 г/м2)
|
0,6
|
|
Трикотаж
для подкладки экспериментальный (поверхностная плотность 185 г/м2)
|
0,4
|
|
Ткань
экспериментальная подкладочная
|
0,3
|
|
Тик-саржа
|
0,4
|
|
|
|
Примечание 1 - Основные характеристики трикотажа
для межподкладки обуви (поверх. пл-ть 172 г/м2): переплетение - уток 3 - трико
с обвивкой; состав: х/б - 15,4 текс (54 %), п/э - 9,3 текс (46 %); термоклеевое
покрытие: сэвилен.
Примечание 2 - Основные характеристики трикотажа
для подкладки обуви (поверх. пл-ть 292 г/м2): состав: х/б - 15,4 текс (38,5 %);
п/э - 12 текс (61,5 %);термоклеевое покрытие: сэвилен.
Примечание 3 - Основные характеристики трикотажа
для подкладки обуви (поверх. пл-ть 185 г/м2): переплетение: уток 6 - трико с
обвивкой; состав: х/б - 15,4 текс ( 73 %); п/э - 9,3 текс (27 %).
Примечание 4 - Основные характеристики ткани
экспериментальной для подкладки обуви: состав: основа - хлопкоэластичная нить
(33 текс), уток - хлопкоэластичная нить (33 текс); переплетение: полотняное;
поверхностная плотность 151 г/м2.
3.3 Экспериментальное
исследование упруго-пластических свойств материалов и систем материалов для
верха обуви в режимах с кратковременным деформированием и длительным отдыхом
.3.1 Разработка
автоматизированного комплекса для оценки упруго-пластических свойств материалов
при растяжении
Как отмечалось ранее, показатели
упруго-пластических свойств материалов при растяжении определяются в ходе
одноцикловых испытаний при воздействии на образец сил, меньших разрывных.
Наиболее часто такие испытания реализуются на разрывных машинах с получением
графика зависимости Р=f(Δl).
При этом в большинстве случаев, диаграммы растяжения строят либо вручную по
показателям, снятым визуально с измерительных шкал машины, либо получают на
бумаге с помощью устройств для записи диаграмм растяжения разрывной машины. В
обоих случаях неизбежны существенные ошибки измерений и большие затраты времени
на получение исходной информации о характере растяжения материалов. Контроль за
параметрами испытания (пуск и останов машины, своевременная фиксация величины
задаваемой нагрузки и времени нагружения и т.п.) также осуществляется вручную,
что может отразиться на величинах определяемых показателей. Кроме того, расчет
показателей, характеризующих упруго-пластические свойства материалов, на основе
полученных графиков зависимости Р=f(Δl)
сопровождается значительными затратами времени и существенной погрешностью
расчетов.
С целью получения точной информации о наиболее
важных характеристиках упруго-пластических свойств испытываемых материалов в
соавторстве с Горбачиком В. Е., Фурашовой С. Л., Давыдько А. П., Ковалевым А.
Л. был разработан измерительный автоматизированный комплекс, позволяющий
осуществлять измерение, хранение и обработку исходных данных о механических
свойствах материалов [4 - А.].
Автоматизированный комплекс состоит из разрывной
машины «Frank»
(Германия), персонального компьютера со специальным программным обеспечением,
предназначенным для получения оцифрованных данных эксперимента и отдачи команд
по проведению эксперимента, а также блока оцифровки данных, который имеет канал
двусторонней связи с ПЭВМ, четыре аналоговых канала для оцифровки данных
эксперимента и две линии по управлению разрывной машиной (рисунок 3.2).
Разрывная машина «Frank»,
имеет выходные сигналы по напряжению в пределах 0 -5 В по нагрузке и
относительному удлинению, а также входные сигналы для управления перемещением
зажима материала.
Рисунок 3.2 - Структурная схема автоматизированного
комплекса
Для управления экспериментом и получения
исходных данных используется ПЭВМ, включающая аппаратную часть в виде
системного блока, монитора, клавиатуры, «мыши», и программную - специальное
программное обеспечение для получения оцифрованных данных эксперимента и отдачи
команд по его проведению.
Основным связующим элементом всего комплекса
является блок оцифровки данных, который имеет канал двусторонней связи с ПЭВМ -
RS232C,
а также четыре аналоговых канала для оцифровки данных эксперимента, один 4-х
разрядный цифровой и две линии по управлению пуском- реверсом-остановом
перемещения зажима разрывной машины. Блок оцифровки данных, настраиваемый с
помощью ПЭВМ, может изменять: разрядность получаемых данных, период
дискретизации сигналов, количество используемых каналов и возможность
синхронизации работы по внешнему строб-сигналу.
Основой «блока АЦП» является микросхема АЦП
AD7893-5.-5 это высокоскоростной и удобный в работе 12 битный АЦП с временем
конвертирования 6 мс. На чипе интегрирован усилитель, часы и высокоскоростной
последовательный интерфейс передачи информации. Входной диапазон сигнала,
подаваемого на АЦП, составляет от 0 В до +5 В. АЦП имеет низкую потребляемую
мощность: 25 мВт. При этом используются интегральный стабилизатор питания на
2,5 В и интегральный коммутатор на четыре аналоговых канала.
Для управления работой блока, возможности
накопления информации во внутренней памяти, приема настроек и передачи
оцифрованных данных используется микроконтроллер типа MCS51
- AT89C52.
В ходе испытаний материалов на растяжение,
усилия, возникающие при деформации образца и соответствующие им значения
удлинений регистрируются датчиком разрывной машины каждые 250 микросекунд и
преобразуются посредством аналогового устройства в цифровые значения, которые
передаются ПЭВМ. Полученный массив данных хранится и обрабатывается при помощи
программы, написанной на языке программирования «DELPHI».
Основное диалоговое окно программы представлено
на рисунке 3.3.
Рисунок 3.3 - Диалоговое окно «Режим испытаний»
Программа позволяет осуществлять 5 режимов
испытаний: растяжение образцов до разрыва; растяжение до заданной нагрузки +
выдержка; растяжение до заданного удлинения + выдержка; растяжение до заданной
нагрузки + выдержка + разгрузка; растяжение до заданного удлинения + выдержка +
разгрузка (рисунок 3.3). В зависимости от выбранного режима испытания с
клавиатуры вводятся следующие параметры: величина задаваемой нагрузки, Н;
заданное удлинение, см; начальная (рабочая) длина образца, см; время выдержки в
нагруженном состоянии, сек.
Полученные в ходе эксперимента данные могут
отображаться в виде трех зависимостей: нагрузка от времени; удлинение от
времени; нагрузка от удлинения, и быть представлены на экране монитора в графическом
(рисунок 3.3) или цифровом виде (рисунок Г.1).
Выполнение всех параметров эксперимента (запуск
испытания, останов машины, необходимое время выдержки в нагруженном состоянии,
дальнейшее продолжение испытаний) осуществляется в автоматическом режиме.
Блок обработки массива исходных данных (рисунок
Г.2) позволяет осуществлять вывод на экран монитора и печать графиков
зависимости Р = f(l)
по отдельно взятому испытанию и по серии испытаний (рисунок Г.3), а также на
основании полученных в ходе эксперимента петель гистерезиса, образованных
кривыми растяжения и разгрузки материалов, осуществлять расчет ряда
характеристик их упруго-пластических свойств (рисунок Г.4).
Разработанная программа обеспечивает хранение и
быструю обработку большого объема исходной информации о механических свойствах
исследуемых материалов, производит расчет показателей упруго-пластических
свойств как по одному отдельно взятому опыту, так и по усредненным значениям
серии испытаний.
Автоматизированный комплекс дает возможность
полной автоматизации эксперимента, обеспечивает регистрацию значений с большой
точностью и позволяет осуществлять расчет большого количества показателей,
характеризующих механические свойства исследуемых материалов, что способствует
объективной оценке их качества и технологической пригодности.
.3.2
Упруго-пластические свойства материалов для верха обуви при одноосном
растяжении
Стандартизированные методы испытаний являются
основным критерием при оценке качества материалов.
Как отмечалось ранее, в настоящее время среди
комплекса показателей упруго-пластических свойств для натуральных кож при
одноосном растяжении в соответствии с требованиями ГОСТ определяются лишь
величины полной и остаточной деформации [64]. Для искусственных и синтетических
кож, а также текстильных материалов, в рамках существующих стандартов
определяются в основном характеристики механических свойств при разрыве [125,
70, 126-127]. Упруго-пластические свойства при этом характеризуются лишь
частично, хотя именно эти свойства в ряде случаев непосредственно определяют
качество изделий. В связи с этим для оценки упруго-пластических свойств
искусственных кож и текстильных материалов использовались общепринятые в
научных исследованиях методики [73, с.155].
Испытания проводились на автоматизированном комплексе
при скорости движения верхнего зажима v
= 100 ± 10 мм/мин с автоматической записью кривой растяжения материалов Р=f(Δl).
В соответствии с рекомендациями ГОСТ [64, 125, 70, 126-127] образцы
выкраивались в двух направлениях: для натуральных кож вдоль и поперек хребтовой
линии, для искусственных, синтетических кож, трикотажных и нетканых полотен
вдоль (00) и поперек (900) рулона, для тканей - по основе (00) и утку (900).
Учитывая значительную анизотропию механических свойств искусственных материалов
для верха обуви [128], для синтетических, искусственных кож и текстильных
материалов раскрой образцов осуществлялся также в диагональном направлении (под
углом 450).
Для характеристики упруго-пластических свойств
исследуемых материалов использовались показатели полной и остаточной деформации
образцов.
Полная и остаточная деформация натуральных кож
определялись в соответствии с ГОСТ 938.11 - 69 «Кожа. Метод испытания на
растяжение»[64] при напряжении σ
= 10 МПа, времени выдержки в нагруженном состоянии 10 мин. и времени отдыха -
30 мин. Размеры образцов имели форму двусторонней лопаточки с рабочей зоной 50 ×
10 мм. Замеры величины остаточной деформации производились штангенциркулем с
точностью до 0,05 мм.
Расчет величин полной εполн,
%, и остаточной εост, %,
деформации осуществлялся по формулам:
(3.1)
где lр- длина
рабочей части образца, мм;
Δlполн -
удлинение, соответствующее заданному напряжению, мм.
, (3.2)
где Δlост= lост - lр
-остаточная деформация рабочей части пробы материала, мм;
lост -длина
рабочей части образца после снятия нагрузки и отдыха, мм.
Полная и остаточная деформация
текстильных материалов определялись при сообщении образцам нагрузки,
соответствующей удлинению, равному 75 % от разрушающего [73, с.155]. Время
выдержки образцов под нагрузкой было принято 5 мин., остаточная деформация
определялась через 60 мин после снятия действующей нагрузки. Разрывное
удлинение определялось: для тканей в соответствии с ГОСТ 3813-72 [126], размеры
рабочей зоны образцов составляли 50×200 мм; для трикотажных
полотен - по ГОСТ 8847 - 85 [70], размеры рабочей зоны образцов принимались
равными 50×100 мм; для
нетканых полотен - в соответствии с ГОСТ 15902.3-79 [127] с рабочей зоной
образцов 50×100 мм.
Полная и остаточная деформация
искусственной кожи на тканевой основе определялись при условиях, аналогичных
условиям испытания текстильных материалов. Условия испытания синтетической кожи
на нетканой основе соответствовали условиям испытания натуральной кожи, однако
напряжение на образцах принималось равным 5 МПа [73, с.155]. Размеры образов
искусственных и синтетических кож в соответствии с ГОСТ 17316-71 [125]
составляли 20×220 мм, с
рабочей зоной 20×100 мм.
Пластические свойства материалов
оценивались показателем пластичности П, %, определяемым по формуле [73, с.152]:
(3.3)
где εост -
относительная остаточная деформация материала, %;
εполн - относительная полная
деформация материала, %.
Наряду с показателями полной,
остаточной деформации и пластичности для всех исследуемых материалов
определялся коэффициент удлинения материала А, %/Н, являющийся универсальной
характеристикой деформационных свойств материалов, а для материалов наружных
деталей верха обуви также условный модуль упругости Еу, МПа.
Коэффициент удлинения численно равен
относительной деформации пробы любого вида материала при действии на нее силы Р
= 100 Н [76, с.22].
Условный модуль упругости, Еу, МПа,
определялся по формуле:
Еу =
(3.4)
где σу - условное
напряжение, МПа.
В соответствии с ГОСТ [64] условный
модуль упругости для кож определялся при напряжении σу = 10 МПа.
Для синтетических кож на нетканой основе условный модуль упругости определялся
при напряжении σу =5МПа, а
для искусственных кож на тканевой основе - при деформации образца εу= 0,75∙εразр [73,
с.155].
Погрешность определения
упруго-пластических свойств исследуемых материалов не превышала 5 %.
Данные экспериментальных
исследований материалов для наружных деталей верха, полученные в соавторстве с
Горбачиком В. Е. [5-А., 6-А., 7-А., 8-А., 9-А.], представлены в таблице 3.5.
Анализ полученных экспериментальных
данных показал, что среди исследованных натуральных кож наиболее высокими
значениями полной и остаточной деформации характеризуются эластичные кожи.
Условный модуль упругости эластичных кож примерно в 1,5 раза ниже, чем у кож
хромового дубления.
Остаточные деформации искусственных
кож на тканевой основе колеблются в пределах 1,7 - 5 % и несущественно
отличаются для различных видов кож. В группе синтетических материалов на
нетканой волокнистой основе наиболее высокими пластическими свойствами
характеризуется синтети-
Таблица 3.5 - Упруго-пластические свойства
материалов для наружных деталей верха обуви при стандартных методах испытаний
|
Наименование
материала
|
Направление
раскроя, град
|
Полная
деформация, εполн, %
|
Остаточная
деформация, εост, %
|
Пластичность,
П, %
|
Коэффициент
удлинения А, %/Н
|
Условный
модуль упругости Еу, МПа
|
|
Яловка
|
0
90
|
26,50
22,50
|
10,10
7,00
|
38,11
31,12
|
21,50
20,00
|
37,74
44,40
|
|
Полукожник
эластичный
|
0
90
|
36,50
60,00
|
13,50
26,00
|
36,99
43,30
|
29,75
50,67
|
27,40
16,67
|
|
Яловка
эластичная NEVROR
|
0
90
|
42,66
44,67
|
18,13
18,40
|
42,50
41,19
|
38,00
34,16
|
23,44
22,39
|
|
Винилискожа-
Т обувная
|
0
45 90
|
9,26
38,50 9,33
|
1,65
2,20 1,40
|
17,84
5,71 15,01
|
3,88
26,00 7,37
|
235,38
33,97 127,83
|
|
ИК
«Metlak»
|
0
45 90
|
14,33
39,25 20,00
|
1,70
4,70 2,57
|
11,86
11,97 12,84
|
6,67
34,00 12,00
|
84,18
18,35 60,67
|
|
ИК
«CAPRETTO
P
UNDRUSH»
|
0
45 90
|
15,00
34,50 18,00
|
2,83
5,25 3,00
|
18,83
15,21 16,66
|
4,00
26,50 13,00
|
108,77
25,17 52,63
|
|
СК
«Неве»
|
0
45 90
|
38,67
52,25 82,50
|
11,52
13,97 20,33
|
29,78
26,75 24,64
|
38,67
52,25 82,50
|
12,93
9,57 6,06
|
|
СК
марки 2
|
0
45 90
|
5,60
33,70 53,40
|
0,70
3,76 5,32
|
12,50
11,16 9,96
|
5,60
33,70 53,40
|
89,29
14,84 9,36
|
|
СК
с лаковым покрытием «Syn-baby»
|
0
45 90
|
7,75
14,67 31,00
|
1,36
2,90 7,30
|
17,58
19,77 23,55
|
11,50
20,00 37,50
|
63,49
34,89 16,13
|
ческая кожа «Неве». Ее пластичность составляет
25 - 30 %, что в 1,3 - 1,7 раз превышает пластичность СК «Syn-baby»
и в 2 - 2,5 раза пластичность синтетической кожи марки 2. Наибольшей жесткостью
и низкими деформационными свойствами отличается синтетическая кожа «Syn-baby».
Данные таблицы 3.5 показывают, что направление
раскроя незначительно влияет на величину упруго-пластических свойств
натуральных кож. Деформационные свойства образцов, выкроенных вдоль и поперек
хребта, в большинстве случаев отличаются между собой незначительно.
Для искусственных и синтетических кож характерна
резкая анизотропия упруго-пластических свойств. Синтетические кожи на нетканой
основе имеют максимальные значения полного и остаточного удлинений в поперечном
направлении, минимальные - в продольном направлении. Полная деформация
образцов, выкроенных поперек рулона, в 2 - 9 раз превышает деформацию образцов,
выкроенных вдоль рулона.
Для искусственных кож наиболее высокие значения
общих и остаточных удлинений отмечаются в диагональном направлении, минимальные
- в продольном, что обусловлено наличием в их структуре тканевой основы.
Величина остаточной деформации образцов, выкроенных по диагонали в 1,3 - 2,5
раза превышает значение остаточной деформации образцов ИК, выкроенных под углом
00 и 900.
Что касается показателя пластичности, то его
величина для искусственных и синтетических кож незначительно меняется при
изменении направления раскроя, и в большинстве случаев выше у образцов,
выкроенных вдоль рулона.
Практически для всех исследуемых материалов
наиболее высокие значения условного модуля упругости отмечаются у образцов,
выкроенных в продольном направлении. Наименьшая жесткость у искусственных кож
на тканевой основе проявляется при раскрое по диагонали, у синтетических кож на
нетканой основе и большинства натуральных кож - при раскрое поперек рулона или
хребтовой линии.
Данные экспериментальных исследований
текстильных материалов для верха обуви, полученные в соавторстве с Горбачиком
В. Е., Сакович А. П. [9 - А.], представлены в таблице 3.6.
Анализ экспериментальных данных показывает, что
характер упруго-пластических свойств текстильных материалов определяется их
строением и существенно зависит от направления раскроя.
Трикотажные и нетканые полотна обладают лучшими
деформационными свойствами, чем ткани. Полная деформация трикотажных полотен
более чем в 3 раза превышает значение данного показателя для тканей. Величина
остаточной деформации трикотажных и нетканых полотен колеблется в пределах 9 -
77 %, тканей - 3 - 11 % в зависимости от направления раскроя.
Таблица 3.6 - Упруго-пластические свойства
текстильных материалов при стандартных методах испытаний
|
Наименование
материала
|
Направление
раскроя, град
|
Полная
деформация, εполн, %
|
Остаточная
деформация, εост, %
|
Пластичность,
П, %
|
Коэффициент
удлинения А, %/Н
|
|
Трикотаж
межподкладочный (поверх. пл-ть 172 г/м2)
|
0
45 90
|
34,30
61,70 146,80
|
8,96
20,40 62,10
|
26,12
33,10 42,30
|
13,00
67,33 129,00
|
|
Трикотаж
межподкладочный (поверх. пл-ть 130 г/м2)
|
0
45 90
|
32,50
45,67 99,00
|
9,34
15,93 53,37
|
28,74
34,88 53,91
|
17,25
43,33 99,00
|
|
Термобязь
|
0
45 90
|
10,38
26,10 11,55
|
3,63
7,45 3,01
|
34,94
28,55 26,06
|
5,00
31,75 10,50
|
|
Нетканый
материал «Спанбонд» (поверх. пл-ть 80 г/м2)
|
0
45 90
|
45,00
49,00 68,50
|
10,28
14,05 21,86
|
22,84
28,67 31,91
|
15,40
40,67 78,50
|
|
Ткань
обувная подкладочная
|
0
45 90
|
21,63
38,38 17,67
|
5,85
19,33 6,50
|
27,10
50,36 36,70
|
5,58
23,90 7,15
|
|
Трикотаж
для подкладки (поверх. пл-ть 292 г/м2)
|
0
45 90
|
38,58
49,50 74,50
|
12,75
15,14 19,00
|
33,05
30,59 25,54
|
9,00
36,50 63,00
|
|
Трикотаж
для подкладки (поверх. пл-ть 185 г/м2)
|
0
45 90
|
41,00
53,00 42,00
|
11,78
19,05 19,02
|
28,74
35,94 45,29
|
27,17
41,50 35,60
|
|
Ткань
экспериментальная подкладочная
|
0
45 90
|
19,75
36,75 28,38
|
5,20
11,09 11,12
|
26,32
30,18 39,18
|
8,00
35,50 18,00
|
|
Тик-саржа
|
0
45 90
|
14,00
28,19 12,34
|
3,84
8,39 3,62
|
27,42
29,76 29,34
|
7,83
24,44 8,00
|
Для тканей наилучшие деформационные свойства и
наиболее высокие значения остаточных деформаций наблюдаются в диагональном
направлении. Остаточная деформация образцов, выкроенных в диагональном
направлении, для большинства исследуемых тканей превышает остаточную деформацию
продольных и поперечных образцов в среднем в 2 раза.
Для трикотажных и нетканых полотен наименьшие
значения полной и остаточной деформаций характерны для продольного направления.
Общая деформация образцов трикотажных межподкладочных полотен, выкроенных вдоль
утка, в 3 - 4 раза превышает деформацию продольных образцов, остаточная
деформация при изменении направления раскроя от продольного к поперечному
возрастает в 6 - 8 раз. Менее существенно эта разница проявляется у трикотажных
подкладочных полотен и нетканого материала.
Пластичность большинства исследуемых тканей
колеблется в пределах 23 - 35%, и несущественно изменяется с изменением
направления раскроя. Для трикотажных межподкладочных полотен характерна ярко
выраженная анизотропия пластичности. Пластичность поперечных образцов более чем
в 2
раза превышает пластичность образцов, выкроенных
вдоль основы. Менее выражена анизотропия пластичности у трикотажных полотен для
подкладки и нетканого материала.
Следует отметить тот факт, что стандартные
методы испытаний в большинстве случаев не позволяют получить сопоставимых
данных об упруго-пластических свойствах различных материалов, входящих в
заготовку верха обуви, так как предусматривают их испытания в различных
условиях.
Величина показателей упруго-пластических свойств
в значительной степени зависит от таких факторов, как величина нагрузки, время
нахождения образца в нагруженном состоянии и время отдыха после разгрузки.
Существенное влияние на значения показателей оказывает также масштабный фактор.
Однако, несмотря на важность обозначенных параметров испытания, в стандартных
методах испытаний отсутствует единый подход к их величине, вследствие чего
сопоставление упруго-пластических свойств разнородных по структуре материалов
значительно затруднено.
Кроме того, для большинства искусственных,
синтетических кож и текстильных материалов величины действующих при испытаниях
нагрузок оказываются значительно выше усилий, реально испытываемых данными
материалами в процессе производства и эксплуатации обуви, что отражается на
объективности оценки их технологических и эксплуатационных свойств.
Исследования, проведенные в работе [5 - А.], показали, что для многих
современных синтетических кож нормируемая величина напряжения в 0,5 МПа
оказывается критической, так как находится в области разрывных нагрузок. В
результате этого может отмечаться преждевременное разрушение материалов в
процессе испытаний. Отдельные виды синтетических кож вообще не выдерживают
обозначенных условий испытаний, вследствие чего оценка их упруго-пластических
свойств в рамках существующих методик не представляется возможной.
Так как в заготовке материалы верха, подкладки и
межподкладки работают как единая система и подвергаются одинаковым силовым
воздействиям, то целесообразно использовать единый подход к оценке
упруго-пластических свойств различных материалов.
Как известно, наибольшее силовое воздействие
заготовка верха обуви испытывает при формовании. В связи с этим, исследование
упруго-пластических свойств всех материалов представляется целесообразным
осуществлять при действии нагрузки, равной 50 % от разрушающей, так как
примерно такие напряжения испытывают материалы верха при формовании заготовки
на колодке в процессе производства обуви. Это позволит создать сопоставимые
условия испытаний различных материалов, поскольку каждый из образцов будет
получать одинаковую долю напряжения от предельно для него возможного.
Учитывая вышеизложенное, наряду со стандартными
методами испытаний, упруго-пластические свойства материалов определялись при
величине нагрузки, равной 50 % от разрушающей [5 - А., 6 - А., 7 - А.]. Во
избежание влияния масштабного фактора размеры всех образцов принимались равными
200×40
мм, с рабочей длиной - 150 мм, которые рекомендуются в качестве оптимальных для
испытания материалов и систем в работе [129].
С целью выявления оптимальных режимов испытания,
в соавторстве с Горбачиком В. Е. в работе [10 - А.] были исследованы
упруго-пластические свойства различных по строению материалов и систем при
времени действия нагрузки τнагр
= 0; 5 и 10 минут. Замеры величины остаточной деформации осуществлялись через
0,5; 5; 30; 60; 120 и 1440 минут после снятия действующей силы. По результатам
испытания строились графики зависимости εост
= f (τ)
(рисунок 3.4).
В ходе эксперимента было установлено, что
увеличение времени выдержки образцов под нагрузкой с 0 до 5 минут приводит к
росту остаточной деформации в 1,4-2 раза. Дальнейшее увеличение времени
выдержки под нагрузкой оказывает незначительное влияние на рост остаточной
деформации.
С увеличением времени отдыха образцов после
снятия внешней действующей силы отмечается существенное снижение величины
остаточной деформации у всех исследованных материалов и систем (в 1,5 - 3
раза). Наибо- лее интенсивное снижение остаточной деформации отмечается в
течение первых 60 минут отдыха образцов, в дальнейшем её величина изменяется
незначительно.
- τнагр
= 0 мин; 2 - τнагр = 5 мин; 3 - τнагр
= 10 мин.
Рисунок 3.4 - Кривые зависимости εост
= f (τ)
искусственной кожи «Metlak»
Таким образом, для объективной характеристики
упруго-пластических свойств обувных материалов и их систем в качестве оптимальных
были рекомендованы следующие режимы испытания: время выдержки образцов в
нагруженном состоянии - 5 минут, время отдыха после снятия нагрузки - 60 минут.
Для характеристики упруго-пластических свойств
использовались показатели полной и остаточной деформации, пластичности,
коэффициента удлинения и условного модуля упругости, определяемого при
нагрузке, равной 0,5 от разрывной.
На основе анализа петель гистерезиса, полученных
в ходе растяжения материалов (рисунок 3.5), определялся ряд дополнительных
показателей, характеризующих упруго-пластические свойства материалов:
нагрузка, возникающая при деформации пробы на
заданную величину - Р0, Н;
Рисунок 3.5 - График зависимости Р = f
(Δl)
работа, затрачиваемая на растяжение образца
материала (соответствующая площади фигуры ОАВ, рисунок 3.5) - Sр,
Дж:
Sр=
(3.5)
работа, высвобожденная исследуемым
телом при снятии внешней силы (площадь фигуры САВ) - S2, Дж:
S2 =
(3.6)
рассеивание (диссипация)
механической энергии в материале - S1,Дж:
S1 =
-
(3.7)
Z =
∙100%
(3.8)
Данные экспериментальных
исследований материалов наружных деталей верха представлены в таблице 3.7.
Анализ полученных данных показал,
что общие тенденции, выявленные при стандартных условиях испытаний, проявляются
и при испытаниях материалов в одинаковых условиях.
Наиболее высокими значениями
условного модуля упругости и низкой деформационной способностью среди
исследованных материалов характеризуются искусственные кожи на тканевой основе.
Натуральные и синтетические кожи отличаются более высокими значениями полной и
остаточной деформации, чем искусственные кожи, и значительно меньшей
жесткостью.
Значения показателей
упруго-пластических свойств большинства исследуемых материалов находятся в тех
же пределах, что и при стандартных условиях испытаний. Лишь у синтетической
кожи «Неве» отмечаются более низкие (в 2 - 2,5 раза) значения показателей
полной и остаточной деформации. Пластичность натуральных кож колеблется в
пределах 27 - 47%, что в среднем почти в 2 раза превышает пластичность
синтетических кож, и более чем в 3 раза пластичность искусственных кож на
тканевой основе.
Характер анизотропии
упруго-пластических свойств материалов сохраняется тем же, что и при
стандартных условиях испытания.
Таблица 3.7 - Упруго-пластические свойства
материалов для наружных деталей верха обуви при единых условиях испытания
|
Наименование
материала
|
Направление,
град
|
Полная
деформация, εполн, %
|
Остаточн.
деформация, εост, %
|
Пластичность,
П, %
|
Коэффициент
удлинения А, %/Н
|
Условный
модуль упругости Еу, МПа
|
Нагрузка
при растяжении, Р0, Н
|
Работа
растяжения, Sр, Дж
|
Рассеивание
механич. энергии, S1, Дж
|
Высвобожденная
работа, S2, Дж
|
Относит.
затраченная энергия, Z, %
|
|
Яловка
|
0
90
|
18,55
37,67
|
5,25
14,33
|
28,30
38,04
|
13,33
18,00
|
18,55
18,47
|
178,95
361,85
|
2,29
7,67
|
2,00
6,74
|
0,29
0,93
|
87,34
87,89
|
|
Полукожник
|
0
90
|
28,00
53,07
|
7,47
17,73
|
26,68
33,41
|
18,52
35,70
|
18,46
6,82
|
289,48
202,63
|
4,53
5,68
|
3,87
5,04
|
0,67
0,64
|
85,26
88,78
|
|
Яловка
эластичная NEVROR
|
0
90
|
42,22
38,20
|
20,11
17,67
|
47,63
46,22
|
25,33
17,70
|
14,87
21,14
|
276,32
355,32
|
5,80
8,46
|
5,21
7,73
|
0,60
0,73
|
89,73
91,36
|
|
Винилискожа-
Т обувная
|
0
45 90
|
11,33
37,00 10,89
|
1,98
2,65 1,11
|
17,48
7,16 10,19
|
4,67
23,33 8,70
|
104,52
19,78 49,84
|
378,95
234,21 173,69
|
2,34
4,77 0,90
|
2,23
4,34 0,82
|
0,11
0,43 0,08
|
95,50
91,01 91,20
|
|
ИК
«Metlak»
|
0
45 90
|
8,33
31,00 18,00
|
0,82
4,27 2,40
|
9,84
13,76 13,33
|
3,33
21,33 8,67
|
93,02
16,51 55,23
|
278,95
184,21 357,90
|
1,66
3,10 4,11
|
1,46
2,70 3,80
|
0,20
0,40 0,31
|
87,66
87,11 92,50
|
|
ИК
«CAPRETTO
P
UNDRUSH»
|
0
45 90
|
9,33
29,00 12,66
|
0,93
4,27 2,00
|
9,97
14,72 15,79
|
2,70
18,00 8,00
|
114,23
23,82 46,77
|
426,32
276,32 236,84
|
3,14
4,24 1,55
|
2,77
3,81 1,39
|
0,37
0,43 0,16
|
88,22
89,86 89,68
|
|
СК
«Неве»
|
0
45 90
|
19,00
30,78 32,22
|
5,95
7,43 7,55
|
31,32
24,15 23,43
|
12,67
24,00 35,70
|
17,66
10,05 7,56
|
134,21
123,68 97,37
|
2,42
3,27 2,71
|
2,26
3,04 2,55
|
0,16
0,23 0,16
|
93,25
92,88 93,98
|
|
СК
марки 2
|
0
45 90
|
13,50
38,67 62,59
|
1,97
4,47 6,53
|
14,59
11,56 10,43
|
5,33
21,67 41,3
|
45,32
10,72 6,31
|
244,74
165,79 157,90
|
2,70
5,27 6,76
|
2,41
4,64 5,84
|
0,28
0,63 0,92
|
89,46
88,07 86,35
|
|
СК
с лаковым покрытием «Syn-baby»
|
0
45 90
|
7,67
13,78 26,11
|
1,20
2,71 6,27
|
15,65
19,67 24,01
|
2,33
6,67 17,10
|
67,55
34,61 17,01
|
165,79
152,63 142,11
|
1,31
1,97 3,02
|
1,16
1,84 2,83
|
0,15
0,13 0,19
|
88,33
93,45 93,81
|
Наиболее высокие значения энергии, затрачиваемой
на растяжение образцов до нагрузки 0,5Рразр, отмечаются у натуральных кож.
Работа, совершаемая при деформации натуральных кож, колеблется в пределах 2,3
-8,46 Дж и может существенно изменяться в зависимости от направления раскроя.
Величина данного показателя у искусственных
материалов для верха обуви несколько ниже и составляет: для синтетических кож
1,3 - 6,7 Дж, для искусственных кож - 0,9 - 4,5 Дж.
В процессе выдержки образцов под нагрузкой
происходит существенное рассеивание механической энергии, что свидетельствует
об активно протекающих в материалах процессах перестройки внутренней структуры,
в результате которых и возникают остаточные деформации. Диссипация механической
энергии натуральных кож колеблется в пределах 2,0 - 7,7 Дж, и значительно
превышает величину данного показателя для СК и ИК. В целом, в условиях
одноосного растяжения, на процессы механического преобразования структуры
материалов, сопровождающегося превращением механической энергии в тепловую,
затрачивается 87 - 95% всей энергии цикла.
Данные экспериментальных исследований
текстильных материалов приведены в таблице 3.8.
Анализ полученных результатов показывает, что
общие закономерности, выявленные при стандартных условиях испытаний,
проявляются также и при единой методике испытаний, и лишь в отдельных случаях
наблюдаются существенные отличия, связанные с иными условиями работы
материалов.
Как и при стандартных условиях испытаний,
наилучшие деформационные свойства тканей проявляются в диагональном
направлении. Для трикотажных полотен наиболее низкие деформационные свойства
проявляются в продольном направлении и существенно возрастают с изменением
направления раскроя в сторону утка. При единых условиях испытаний полная деформация
продольных и поперечных образцов тканей, как правило, на 2 - 5 % ниже, чем при
стандартных испытаниях, а для образцов, выкроенных под углом 450, наоборот, на
1 - 5 % выше. Для трикотажных межподкладочных полотен отмечается снижение
величины полной деформации по сравнению со стандартными условиями испытаний по
всем направлениям раскроя на 3 - 16% в зависимости от вида материала.
Существенные различия в значениях показателей
упруго-пластических свойств, полученных по двум методикам, отмечаются у нетканого
материала. Величина полной деформации по единой методике в 3 - 5 раза ниже
значения данного показателя, полученного при стандартных испытаниях.
Для большинства исследуемых материалов величина
остаточной деформации мало отличается от значений, полученных при стандартных
условиях испытаний.
Таблица 3.8 - Упруго-пластические свойства
текстильных материалов при единых условиях испытаний
|
Наименование
материала
|
Направление,
град
|
Полная
деформация, εполн, %
|
Остаточная
деформация, εост, %
|
Пластичность,
П, %
|
Коэффициент
удлинения А, %/Н
|
Нагрузка
при растяжении, Р0, Н
|
Работа
растяжения, Sр, Дж
|
Рассеивание
механич. энергии, S1, Дж
|
Высвобожденная
работа, S2, Дж
|
Относит.
затраченная энергия, Z, %
|
|
Трикотаж
межподкладочный (поверх. пл-ть 172 г/м2)
|
0
45 90
|
23,33
75,50 130,00
|
3,62
24,67 53,04
|
15,52
32,68 40,80
|
16,67
84,67 137,33
|
150,00
81,58 92,11
|
2,44
2,92 2,12
|
2,18
2,75 2,02
|
0,26
0,17 0,10
|
89,24
94,14 95,14
|
|
Трикотаж
межподкладочный (поверх. пл-ть 130 г/м2)
|
0
45 90
|
28,11
42,66 86,33
|
8,15
15,10 46,66
|
28,99
35,39 54,04
|
24,00
51,33 95,11
|
118,42
75,01 69,75
|
2,39
2,18 3,22
|
2,17
2,07 3,13
|
0,22
0,11 0,09
|
90,77
94,85 97,11
|
|
Термобязь
|
0
45 90
|
8,80
31,53 10,88
|
2,73
11,00 3,55
|
31,02
34,89 32,63
|
7,33
33,78 11,67
|
132,92
85,54 118,44
|
0,73
0,91 0,52
|
0,71
0,87 0,49
|
0,02
0,04 0,03
|
97,67
95,08 93,70
|
|
Нетканый
материал «Спанбонд» (поверх. пл-ть 80 г/м2)
|
0
45 90
|
8,88
15,73 19,18
|
1,56
3,50 4,58
|
17,56
22,25 23,88
|
28,44
53,00 -
|
61,85
48,69 38,16
|
0,54
0,79 0,62
|
0,49
0,72 0,57
|
0,05
0,07 0,05
|
90,42
91,19 91,36
|
|
Ткань
обувная подкладочная
|
0
45 90
|
15,43
38,17 14,67
|
4,37
20,20 5,79
|
28,33
52,92 39,47
|
6,67
27,33 7,00
|
397,37
250,0 315,79
|
4,25
3,62 3,02
|
4,15
3,45 2,83
|
0,10
0,17 0,19
|
97,76
95,20 93,65
|
|
Трикотаж
для подкладки (поверх. пл-ть 292 г/м2)
|
0
45 90
|
27,50
52,53 86,50
|
6,17
15,87 26,07
|
22,44
30,21 30,14
|
12,00
46,00 78,00
|
276,32
142,11 134,21
|
4,51
3,30 4,69
|
4,14
3,07 4,52
|
0,37
0,23 0,17
|
91,82
93,15 96,42
|
|
Трикотаж
для подкладки (поверх. пл-ть 185 г/м2)
|
0
45 90
|
36,55
46,88 40,88
|
9,46
14,32 18,60
|
25,88
30,54 45,49
|
28,00
46,77 36,66
|
127,65
98,70 135,55
|
2,35
2,26 1,98
|
2,11
2,08 1,94
|
0,24
0,18 0,04
|
89,66
91,88 97,88
|
|
Ткань
экспериментальная подкладочная
|
0
45 90
|
10,98
37,66 24,83
|
2,08
8,09 7,29
|
18,95
21,48 29,35
|
6,66
36,33 21,00
|
215,82
114,49 173,71
|
1,16
1,25 1,52
|
1,07
1,17 1,39
|
0,09
0,08 0,13
|
91,84
93,31 91,26
|
|
Тик-саржа
|
0
45 90
|
15,05
30,55 11,22
|
3,68
9,73 3,17
|
24,45
31,84 28,25
|
8,66
25,66 8,33
|
328,95
197,37 257,90
|
2,04
1,93 1,12
|
1,96
1,81 1,05
|
0,08
0,12 0,07
|
95,89
93,97 93,66
|
Как правило, отмечается некоторое уменьшение
данного показателя для образцов, выкроенных по основе и утку, и увеличение для
образцов, выкроенных по диагонали. Для нетканого полотна остаточная деформация
колеблется в пределах 1,5 - 4%, что в 4 - 6 раза ниже значения данного
показателя, полученного при стандартных условиях испытаний.
Значения пластичности текстильных материалов
колеблются примерно в тех же пределах, что и при стандартных условиях испытаний
и лишь в отдельных случаях на 3 - 10 % отклоняются в большую или меньшую
сторону.
Наиболее высокую способность сопротивляться
заданной деформации проявляют ткани. Гораздо ниже величина условной нагрузки у
трикотажных полотен для подкладки и межподкладки обуви. Наименее жестким среди
исследованных текстильных материалов является нетканый материал. Наиболее
высокие усилия возникают при деформации продольных образцов, наименьшие - при
деформации образцов, выкроенных по утку и диагонали.
Анализ образованных в ходе растяжения и
разгрузки материалов петель гистерезиса показал, что работа, затрачиваемая на
деформацию текстильных материалов до нагрузки 0,5 Рраз, колеблется в пределах
0,5 - 4,5Дж.
Наименьшая её величина отмечается у нетканого
полотна и термобязи, что связано с низкой прочностью одного, и малой
деформационной способностью другого. Наиболее высокие значения энергии
затрачиваются на деформацию трикотажных полотен (2 - 4,5 Дж), что в 2 - 3 раза
превышает значение данного показателя у подкладочных тканей.
Величина относительной затраченной текстильными
материалами энергии составляет 90 - 97%. При этом у тканей наибольшие затраты
энергии в цикле характерны для продольных образцов, а у трикотажных полотен и
нетканого материала - в поперечном.
В ходе корреляционного анализа экспериментальных
данных (таблица Д.1, Д.2) было выявлено, что между показателями
упруго-пластических свойств материалов, полученных при стандартных и одинаковых
условиях испытаниях, существует тесная, значимая связь (коэффициент корреляции
колеблется в пределах 0,8 - 0, 95). Это свидетельствует о достаточной
информативности обоих методов испытаний и позволяет рекомендовать методику
испытания образцов при одинаковых условиях для оценки качества материалов в тех
случаях, когда невозможно использовать стандартные методы исследований.
3.3.3
Упруго-пластические свойства материалов для верха обуви при двухосном
растяжении
Упруго-пластические свойства материалов при
двухосном растяжении определялись двумя способами: при растяжении сферическим
пуансоном на приборе В 3030 и при растяжении сферическим пуансоном на приборе
ПОИК [11 - А.].
Исследование упруго-пластических свойств
материалов по первому способу проводилось с использованием автоматизированного
комплекса для измерения и обработки результатов испытаний. Образцы с рабочим
диаметром 60 мм подвергались двухосному растяжению сферическим пуансоном на
приборе В 3030, установленному на разрывной машине «Frank».
Испытание проводилось при скорости движения верхнего зажима 100 мм/мин.
Величина относительной деформации образцов в
соответствии с методикой [90 - 91] принималась равной:
для натуральных, искусственных и синтетических
кож - 20%;
для тканей и нетканых материалов - 10%.
Образцы трикотажных полотен деформировались на
30%, учитывая их высокие деформационные свойства.
Высота подъема пуансона, соответствующая
заданному относительному удлинению, определялась из формулы:
ε =
(3.9)
где ε -
относительное удлинение образца по меридиану, %;
h - высота
подъема полусферы, мм;
R - радиус
полусферы, R=25 мм.
[130].
При заданной величине деформации 20%
высота подъема полусферы h составляла 15 мм; при величине
деформации 10 % - h = 10 мм; при величине деформации 30
% - h = 18 мм.
Время выдержки образцов под
нагрузкой принималось равным 5 мин.
В ходе испытания осуществлялась автоматическая
запись кривых растяжения и разгрузки образцов и их обработка.
Для характеристики
упруго-пластических свойств материалов при двухосном растяжении использовались
показатели остаточной высоты полусферы hост, мм, и
пластичности П, %.
Учитывая то, что в процессе отдыха
образцы не всегда сохраняют форму полусферы, показатель пластичности
определялся по формуле:
П = 
(3.10)
где h - высота
полусферы при фиксированном подъеме пуансона, мм;
hост -
остаточная высота полусферы после прекращения действия нагрузки и отдыха
образца, мм.
Замер остаточной высоты полусферы образцов
осуществлялся через 60 мин. после снятия нагрузки при помощи
электронно-цифрового штангенрейсмаса с точностью до 0,01 мм. Погрешность
определения упруго-пластических свойств исследуемых материалов при двухосном
растяжении не превышала 5 %
На основании полученных в ходе испытания кривых
растяжения и разгрузки материалов дополнительно определялись следующие
показатели: нагрузка, возникающая при деформации пробы на заданную величину
деформации - Р0, Н; работа, затраченная на растяжение образца материала - Sр,
Дж; работа, высвобожденная исследуемым телом при снятии внешней силы - S2,
Дж; рассеивание (диссипация) механической энергии в материале S1,
Дж; относительная затраченная энергия Z,
%, по формулам (3.5) - (3.8).
Показатели упруго-пластических свойств
исследуемых материалов представлены в таблице 3.9.
Анализ экспериментальных данных показал, что
наиболее высокие значения остаточной высоты полусферы характерны для
натуральных кож, наименьшие - для искусственных кож на тканевой основе.
Пластичность натуральных кож при двухосном растяжении сферическим пуансоном
составляет 44,5 - 60 %, что в 1,5 - 3 раза превышает пластичность искусственных
и большинства синтетических кож.
Величина пластичности синтетических кож на
нетканой основе колеблется в широких пределах. Так, пластичность СК марки 2
соизмерима с пластичностью искусственных кож на тканевой основе, в то время как
пластичность СК «Неве» приближается по величине к пластичности натуральных кож
и в 5 раз превышает значение данного показателя у СК марки 2.
Наиболее высокую способность сопротивляться
заданной деформации проявляют искусственные кожи на тканевой основе. Работа,
совершаемая при деформации искусственных кож, в 1,5 - 5 раз превышает значение
данного показателя для натуральных и синтетических кож.
Как следует из данных таблицы 3.9, работа
пластической деформации искусственных кож на тканевой основе в 2-3 раза
превышает значение данного показателя для натуральных и синтетических кож.
Относительная затраченная энергия у натуральных кож составляет 63 - 69%, у
искусственных и синтетических кож - 69-78%.
Таблица 3.9 - Показатели упруго-пластических
свойств материалов при двухосном растяжении на приборе В3030
|
Наименование
материала
|
Остаточная
высота полусферы hост, мм
|
Пластичность
П, %
|
Нагрузка
при растяжении, Р0, Н
|
Работа
растяжения, Sр, Дж
|
Рассеивание
механич. энергии, S1, Дж
|
Высвобожден
работа, S2, Дж
|
Относительная
затраченная энергия, Z, %
|
|
Материалы
для наружных деталей верха
|
|
Яловка
легкая
|
7,26
|
48,4
|
197,9
|
0,75
|
0,52
|
0,23
|
69,33
|
|
Полукожник
эластичный
|
6,68
|
44,5
|
137,9
|
0,53
|
0,33
|
0,20
|
63,34
|
|
Яловка
эластичная NEVROR
|
8,95
|
59,7
|
361,2
|
1,14
|
0,80
|
0,34
|
69,90
|
|
Винилискожа-
Т
|
3,23
|
21,5
|
395,8
|
1,42
|
0,98
|
0,44
|
70,32
|
|
ИК
«Metlak»
|
3,64
|
24,3
|
521,2
|
2,18
|
1,70
|
0,48
|
78,00
|
|
ИК
«CAPRETTO
P
UNDRUSH»
|
5,05
|
33,7
|
729,8
|
3,06
|
2,41
|
0,65
|
78,65
|
|
СК
«Неве»
|
7,17
|
47,8
|
148,9
|
0,73
|
0,57
|
0,16
|
78,31
|
|
СК
марки 2
|
3,13
|
20,9
|
204,1
|
0,60
|
0,27
|
69,30
|
|
СК
«Syn-baby»
|
5,03
|
33,5
|
341,8
|
1,49
|
1,12
|
0,37
|
74,95
|
|
Текстильные
материалы для межподкладки и подкладки обуви
|
|
Трикотаж
межподкладочный (поверх. пл-ть 172 г/м2)
|
8,03
|
44,61
|
228,34
|
1,17
|
0,91
|
0,26
|
77,72
|
|
Трикотаж
межподкладочный (поверх. пл-ть 130 г/м2)
|
8,90
|
49,44
|
155,86
|
1,06
|
0,87
|
0,19
|
81,92
|
|
Термобязь
|
6,33
|
63,3
|
85,92
|
0,26
|
0,16
|
0,10
|
61,78
|
|
Нетканый
материал «Спанбонд» (поверх. пл-ть 80 г/м2)
|
5,15
|
51,50
|
61,10
|
0,20
|
0,16
|
0,04
|
79,45
|
|
Ткань
обувн. подкладочная
|
5,57
|
55,70
|
86,11
|
0,23
|
0,13
|
0,10
|
55,09
|
|
Трикотаж
для подкладки (поверх. пл-ть 292 г/м2)
|
7,53
|
41,83
|
198,43
|
0,75
|
0,56
|
0,19
|
74,69
|
|
Трикотаж
для подкладки (поверх. пл-ть 185 г/м2)
|
8,13
|
45,17
|
121,94
|
0,71
|
0,57
|
0,14
|
80,71
|
|
Ткань
экспериментальная подкладочная
|
3,15
|
31,50
|
29,64
|
0,06
|
0,04
|
0,02
|
68,17
|
|
Тик-саржа
|
4,85
|
48,50
|
108,1
|
0,29
|
0,17
|
0,12
|
58,33
|
Анализ результатов испытания текстильных
материалов показал, что пластические свойства тканей при двухосном растяжении
сферическим пуансоном колеблются в значительных пределах: 31,5 -63,3 %.
Наиболее высокие пластические свойства отмечаются у термобязи. Ее пластичность
составила 63,3 %, что в 1,1 - 1,3 раза превышает пластичность ткани обувной
подкладочной и тик-саржи, и в 2 раза - пластичность ткани экспериментальной.
Нагрузка, необходимая для деформации большинства
исследуемых тканей на 10 % колеблется в пределах 86 - 108 Н. Значения полной и
высвобожденной работы, диссипации механической энергии и относительной
затраченной энергии незначительно отличаются для различных видов тканей.
Существенные отличия в показателях
упруго-пластических свойств от большинства исследованных тканей отмечаются у
ткани экспериментальной. Нагрузка, необходимая для деформации данного
материала, и работа растяжения соответственно в 3 и 4 раза ниже, чем у
остальных тканей, а величина относительной затраченной энергии на 6,5 - 13 %
выше.
Величина пластичности нетканого полотна,
значения его полной работы растяжения и диссипации механической энергии
сопоставимы со значениями данных показателей большинства исследованных тканей.
Однако, величина относительной затраченной в цикле растяжение - разгрузка
энергии на 17 - 24 % выше.
Пластические свойства трикотажных полотен
отличаются незначительно и колеблются в пределах 41 - 49 %. Как правило,
пластичность трикотажных межподкладочных полотен на 3,4 - 7,6 % выше
пластичности трикотажных полотен для подкладки обуви.
Наиболее высокой способностью сопротивляться
заданной деформации отличаются трикотажные полотна с поверхностной плотностью
172 и 292 г/м2, наименьшие значения нагрузки отмечаются у трикотажных полотен с
поверхностной плотностью 130 и 185 г/м2.
Для трикотажных межподкладочных полотен
характерны более высокие (в среднем в 1,5 раза) значения полной работы
растяжения и диссипации механической энергии, чем для трикотажных полотен для
подкладки. В целом, относительная затраченная энергия трикотажных полотен при
двухосном растяжении сферическим пуансоном составляет 75 - 82 %.
Исследование упруго-пластических свойств
материалов для наружных деталей верха обуви на приборе ПОИК осуществлялось в
соответствии с ГОСТ 29078 - 91 [80]. Остаточная деформация определялась после
трехкратного продавливания зажатого по кругу образца металлическим стержнем с
полусферическим концом радиусом 5 мм на высоту h,
равную 8 мм, что соответствует меридиальному удлинению образца 21 %.
Величина пластичности П, %, рассчитывалась по
формуле:
П =
(3.11)
где hо
- остаточная деформация, мм;
hз - заданная
деформация, мм.
Результаты испытания, полученные в соавторстве с
Костылевой В. К., Горбачиком В. Е. [11 - А.], представлены в таблице 3.10.
Таблица 3.10 - Упруго-пластические свойства
материалов для наружных деталей верха обуви при двухосном растяжении на приборе
ПОИК
|
Наименование
материала
|
Остаточная
деформация, hост, мм
|
Пластичность,
П, %
|
|
Яловка
легкая
|
3,5
|
43,70
|
|
Полукожник
эластичный
|
3,7
|
46,90
|
|
Яловка
эластичная NEVROR
|
4,5
|
56,25
|
|
Яловка
эластичная Наппа
|
4,6
|
57,50
|
|
Яловка
эластичная Nero
|
5,0
|
62,50
|
|
Винилискожа
-Т обувная
|
3,4
|
42,20
|
|
ИК
«Metlak»
|
3,1
|
38,75
|
|
ИК
«CAPRETTO
P
UNDRUSH»
|
3,6
|
45,30
|
|
СК
«Неве»
|
4,0
|
50,00
|
|
СК
марки 2
|
2,3
|
28,75
|
|
СК
«Syn-baby»
|
3,4
|
42,20
|
|
СК
«POSITANO
NAT
BRUSH»
|
3,6
|
44,40
|
Анализ экспериментальных данных, показал, что
общие тенденции, выявленные при оценке упруго-пластических свойств материалов
на приборе В3030, сохраняются и при испытаниях на приборе ПОИК. Однако отмечаются
некоторые отличия в значениях показателей упруго-пластических свойств,
полученных по двум обозначенным методикам, что связано с существенными
различиями в условиях испытания материалов. Так, значения пластичности
искусственных кож на тканевой основе примерно в 2 раза, а синтетических кож в
1,3 - 1,5 раза выше, чем при испытании на приборе В3030.
Несмотря на это, корреляционный анализ (таблица
Д.3) показал наличие тесной связи (коэффициент корреляции 0,84) между
величинами остаточной деформации и пластичности, полученными на приборах В3030
и ПОИК, что свидетельствует о достаточной информативности обоих методов.
Таким образом, оба рассмотренных метода в равной
степени могут быть использованы для достоверной оценки упруго-пластических
свойств материалов при двухосном растяжении.
3.3.4
Упруго-пластические свойства систем материалов, имитирующих верх обуви
Исследование упруго-пластических свойств систем
материалов осуществлялось при одноосном растяжении и двухосном растяжении
сферическим пуансоном по методикам, описанным в п. 3.3.2 - 3.3.3.
Системы составлялись из материалов, существенно
отличающихся по своему строению и свойствам. В качестве материалов для наружных
деталей верха обуви использовались яловка эластичная art.
NEVROR, синтетическая
кожа на нетканой основе марки 2 и искусственная кожа на тканевой основе
«Метлак», для межподкладки - термобязь, термотрикотаж для межподкладки обуви
(поверхностная плотность 172 г/м2) и нетканое полотно «Спанбонд» с термоклеевым
покрытием. В качестве материалов подкладки были выбраны: ткань обувная
подкладочная, трикотажное полотно (поверхностная плотность 292 г/м2) и ткань
экспериментальная.
Из указанных материалов составлялись системы
верх + межподкладка и верх + межподкладка + подкладка с учетом реального
расположения материалов в пакете верха обуви. Как известно, при раскрое
материалов верха и межподкладки обуви наименьшая тягучесть должна быть в
продольном направлении, а у материалов текстильной подкладки - в поперечном.
Так как приформовываемость верха обуви к стопе характеризуется изменением
поперечных размеров обуви в области плюснефалангового сочленения, то были
выбраны следующие направления раскроя образцов: натуральная, искусственная,
синтетическая кожи и материалы для межподкладки раскраивались в направлении наибольшей
тягучести (под углом 900), а подкладочные материалы - в направлении наименьшей
тягучести (под углом 00).
Дублирование систем осуществлялось на прессе
ДВ-2-0 в течение 10 сек. при давлении 0,3-0,4 МПа и температуре 120 0С. Для
дублирования материалов подкладки, не имеющих термоклеевого покрытия,
использовался латексный клей, что практикуется на предприятиях при производстве
обуви.
Для испытания образцов использовался
автоматизированный комплекс для измерения и обработки результатов испытаний.
Испытание систем материалов осуществлялось при
постоянной величине деформации, равной 15 %. Примерно такие деформации наиболее
часто возникают при формовании заготовок верха обуви в процессе производства.
Время выдержки образцов в нагруженном состоянии
и время отдыха образцов после снятия внешнего усилия принималось равным
соответственно 5 и 60 мин.
Данные, характеризующие упруго-пластические
свойства систем материалов при различных методах испытания, представлены на
рисунках 3.6 - 3.7 и в таблицах 3.11 - 3.12.
-верх;
-
верх + термобязь;
- верх +
термотрикотаж;
- верх + нетканый
материал;
- верх +
межподкладка + ткань обувная;
- верх +
межподкладка+ трикотаж;
- верх +
межподкладка + ткань экспериментальная
Рисунок 3.6 - Пластичность систем материалов при
одноосном растяжении
-верх;
-
верх + термобязь;
- верх +
термотрикотаж;
- верх + нетканый
материал;
- верх +
межподкладка + ткань обувная;
- верх +
межподкладка+ трикотаж;
- верх +
межподкладка + ткань экспериментальная
Рисунок 3.7 - Пластичность систем материалов при
двухосном растяжении
Данные рисунков 3.6 - 3.7, полученные в
соавторстве с Горбачиком В. Е. [12 - А.], показывают, что пластические свойства
систем материалов в значительной степени превосходят пластические свойства
отдельных комплектующих системы. При этом с увеличением количества элементарных
слоев системы отмечается возрастание ее пластичности.
Таблица 3.11 - Упруго-пластические свойства
систем материалов для верха обуви при одноосном растяжении
|
Наименование
системы материалов
|
Остаточная
деформация, εост, %
|
Пластичность,
П, %
|
Условный
модуль упругости, Еу, МПа
|
Нагрузка
при растяжении, Р0, Н
|
Работа
растяжения, Sр, Дж
|
Рассеивание
механической энергии, S1, Дж
|
Высвобожденная
работа, S2, Дж
|
Относительная
затраченная энергия, Z, %
|
|
1
|
2
|
3
|
4
|
5
|
6
|
7
|
8
|
9
|
|
ИК
«Metlak» +
термобязь +ткань обувная
|
3,39
|
22,58
|
92,48
|
887,82
|
7,86
|
6,92
|
0,94
|
88,04
|
|
ИК
«Metlak» +
термобязь + трикотаж
|
3,04
|
20,29
|
52,77
|
633,25
|
5,96
|
5,20
|
0,76
|
87,29
|
|
ИК
«Metlak» +
термобязь +ткань эксприментальная
|
3,19
|
21,24
|
84,60
|
862,94
|
6,79
|
5,81
|
0,98
|
85,60
|
|
ИК
«Metlak» +
трикотаж + ткань обувная
|
2,76
|
18,38
|
59,47
|
606,58
|
5,88
|
5,20
|
0,68
|
88,46
|
|
ИК
«Metlak»+
трикотаж +трикотаж
|
2,53
|
16,89
|
29,70
|
374,18
|
3,03
|
2,53
|
0,50
|
83,31
|
|
ИК
«Metlak»+
трикотаж + ткань экспериментальная
|
2,64
|
17,62
|
55,49
|
599,32
|
5,27
|
4,36
|
0,91
|
82,68
|
|
ИК
«Metlak» +
нетканый материал + ткань обувная
|
2,83
|
18,89
|
65,59
|
608,29
|
6,04
|
5,32
|
0,72
|
88,05
|
|
ИК
«Metlak» + нетканый
материал + трикотаж
|
2,66
|
17,71
|
33,08
|
377,15
|
3,24
|
2,74
|
0,50
|
84,5
|
|
ИК
«Metlak» +
нетканый материал + ткань эксперим.
|
2,74
|
18,25
|
63,66
|
611,17
|
5,50
|
4,60
|
0,90
|
83,61
|
|
Яловка
эласт. + термобязь +ткань обувная
|
4,18
|
27,78
|
80,40
|
820,12
|
7,40
|
6,58
|
0,82
|
88,90
|
|
Яловка
эласт. + термобязь + трикотаж
|
3,58
|
23,87
|
32,58
|
410,47
|
3,95
|
3,58
|
0,37
|
90,57
|
|
Яловка
эласт. + термобязь + ткань экспериментальная
|
3,76
|
25,04
|
72,70
|
785,18
|
6,15
|
5,47
|
0,68
|
88,96
|
|
Яловка
эласт. + трикотаж + ткань обувная
|
3,26
|
21,77
|
45,48
|
504,3
|
5,50
|
4,84
|
0,66
|
88,06
|
|
Яловка
эласт.+трикотаж+трикотаж
|
2,85
|
19,00
|
20,60
|
284,31
|
2,45
|
1,99
|
0,46
|
81,05
|
|
Яловка
эласт. + трикотаж + ткань экспериментальная
|
3,03
|
20,20
|
39,39
|
460,91
|
4,37
|
3,58
|
0,79
|
82,00
|
|
Яловка
эласт. + нетканый материал + ткань обувная
|
3,40
|
22,67
|
46,41
|
518,78
|
5,67
|
5,05
|
0,62
|
89,03
|
|
Яловка
эласт. + нетканый материал + трикотаж
|
3,00
|
20,00
|
18,12
|
236,79
|
2,39
|
1,98
|
0,41
|
82,85
|
|
Яловка
эласт. + нетканый материал + ткань экспериментальная
|
3,27
|
21,77
|
45,10
|
487,06
|
4,71
|
3,94
|
0,77
|
83,68
|
|
СК
марки 2 + термобязь + ткань обувная
|
2,62
|
17,43
|
66,44
|
717,52
|
6,45
|
5,72
|
0,73
|
88,72
|
|
СК
марки 2 + термобязь + трикотаж
|
2,19
|
14,57
|
30,13
|
3,92
|
3,50
|
0,42
|
89,32
|
|
СК
марки 2 + термобязь + ткань экспериментальная
|
2,42
|
16,10
|
54,44
|
620,56
|
6,08
|
5,25
|
0,83
|
86,38
|
|
СК
марки 2 + трикотаж +ткань обувная
|
2,17
|
14,43
|
41,92
|
477,92
|
5,27
|
4,61
|
0,66
|
87,46
|
|
СК
марки 2 + трикотаж+трикотаж
|
1,32
|
8,77
|
11,29
|
155,84
|
1,68
|
1,31
|
0,36
|
78,34
|
|
СК
марки 2 + трикотаж + ткань экспериментальная
|
1,80
|
12,00
|
36,91
|
442,89
|
4,21
|
3,40
|
0,81
|
80,84
|
|
СК
марки 2 + нетканый материал + ткань обувная
|
2,24
|
14,90
|
48,22
|
491,88
|
5,45
|
4,73
|
0,72
|
86,76
|
|
СК
марки 2 + нетканый материал + трикотаж
|
1,78
|
11,87
|
14,83
|
186,80
|
2,05
|
1,56
|
0,49
|
76,16
|
|
СК
марки 2 + нетканый материал + ткань экспериментальная
|
2,15
|
14,33
|
40,80
|
440,61
|
4,26
|
3,49
|
0,77
|
81,86
|
|
|
|
|
|
|
|
|
|
|
|
|
|
|
|
|
|
Таблица 3.12 - Упруго-пластические свойства
систем материалов для верха обуви при двухосном растяжении
|
Наименование
системы материалов
|
Остаточная
высота полусферы hост, мм
|
Пластичность,
П, %
|
Нагрузка
при растяжении, Р0, Н
|
Работа
растяжения, Sр, Дж
|
Рассеивание
механической энергии, S1, Дж
|
Высвобожденная
работа, S2, Дж
|
Относительная
затраченная энергия, Z, %
|
|
1
|
2
|
3
|
4
|
5
|
6
|
7
|
8
|
|
ИК
«Metlak» +
термобязь +ткань обувная
|
6,02
|
46,3
|
572,76
|
1,95
|
1,47
|
0,48
|
75,29
|
|
ИК
«Metlak» +
термобязь + трикотаж
|
4,27
|
32,85
|
449,70
|
1,37
|
0,98
|
0,39
|
71,53
|
|
ИК
«Metlak» +
термобязь +ткань экспериментальная
|
5,22
|
40,15
|
491,22
|
1,40
|
1,02
|
0,38
|
73,01
|
|
ИК
«Metlak» +
трикотаж + ткань обувная
|
4,53
|
34,8
|
487,34
|
1,67
|
1,25
|
0,42
|
74,85
|
|
ИК
«Metlak»+
трикотаж +трикотаж
|
4,07
|
31,31
|
396,46
|
1,41
|
1,00
|
0,41
|
70,92
|
|
ИК
«Metlak»+
трикотаж + ткань экспериментальная
|
4,4
|
33,85
|
431,91
|
1,53
|
1,07
|
0,49
|
69,93
|
|
ИК
«Metlak» +
нетканый материал + ткань обувная
|
4,75
|
36,54
|
546,87
|
1,98
|
1,48
|
0,50
|
74,75
|
|
ИК
«Metlak» +
нетканый материал + трикотаж
|
4,13
|
31,77
|
407,73
|
1,52
|
1,07
|
0,45
|
70,39
|
|
ИК
«Metlak» +
нетканый материал + ткань экспериментальная
|
4,52
|
34,77
|
458,53
|
1,54
|
1,12
|
0,42
|
72,73
|
|
Яловка
эласт. + термобязь +ткань обувная
|
8,33
|
64,08
|
567,01
|
1,85
|
1,42
|
0,43
|
76,9
|
|
Яловка
эласт. + термобязь + трикотаж
|
8,07
|
62,08
|
428,70
|
1,29
|
0,95
|
0,34
|
73,64
|
|
Яловка
эласт. + термобязь + ткань экспериментальная
|
8,23
|
63,31
|
486,54
|
1,37
|
1,00
|
0,37
|
72,99
|
|
Яловка
эласт. + трикотаж +ткань обувная
|
7,22
|
55,54
|
490,86
|
1,64
|
1,18
|
0,46
|
71,95
|
|
Яловка
эласт. + трикотаж + трикотаж
|
6,93
|
53,31
|
321,07
|
0,98
|
0,65
|
0,33
|
66,33
|
|
Яловка
эласт. + трикотаж + ткань экспериментальная
|
7,10
|
54,62
|
366,50
|
1,15
|
0,79
|
0,36
|
68,70
|
|
Яловка
эласт. + нетканый материал + ткань обувная
|
7,50
|
57,69
|
529,95
|
1,74
|
1,30
|
0,44
|
74,71
|
|
Яловка
эласт. + нетканый материал + трикотаж
|
7,27
|
55,92
|
356,29
|
1,17
|
0,82
|
0,35
|
70,08
|
|
Яловка
эласт. + нетканый материал + ткань экспериментальная
|
7,35
|
56,54
|
393,94
|
1,24
|
0,90
|
0,34
|
72,58
|
|
СК
марки 2 + термобязь + ткань обувная
|
4,58
|
35,23
|
502,54
|
1,73
|
1,29
|
0,44
|
74,57
|
|
СК
марки 2 + термобязь + трикотаж
|
4,00
|
30,77
|
376,03
|
1,25
|
0,88
|
0,37
|
70,40
|
|
СК
марки 2 + термобязь + ткань экспериментальная
|
4,07
|
31,31
|
387,00
|
1,28
|
0,94
|
0,34
|
73,44
|
|
СК
марки 2 + трикотаж +ткань обувная
|
3,92
|
30,15
|
427,92
|
1,57
|
1,10
|
0,46
|
70,06
|
|
СК
марки 2 + трикотаж + трикотаж
|
3,70
|
28,46
|
246,32
|
0,89
|
0,54
|
0,35
|
60,67
|
|
СК
марки 2 + трикотаж + ткань экспериментальная
|
3,82
|
29,38
|
291,03
|
0,98
|
0,66
|
0,32
|
67,35
|
|
СК
марки 2 + нетканый материал + ткань обувная
|
4,27
|
32,85
|
461,11
|
1,66
|
1,23
|
0,43
|
74,10
|
|
СК
марки 2 + нетканый материал + трикотаж
|
3,80
|
29,23
|
253,94
|
0,96
|
0,63
|
0,33
|
65,63
|
|
СК
марки 2 + нетканый материал + ткань экспериментальная
|
4,03
|
31,00
|
319,55
|
1,10
|
0,76
|
0,34
|
69,09
|
|
|
|
|
|
|
|
|
|
|
|
|
|
|
|
Так, в условиях одноосного растяжения,
дублирование деталей верха межподкладкой приводит к росту пластичности,
особенно заметному в системах с верхом из синтетической и искусственной кожи (в
1,4 - 1,8 раза).
Введение третьего слоя - подкладки,
дополнительно увеличивает пластичность систем. При этом отмечается
незначительный (в 1,05 - 1,2 раза) рост пластичности систем с верхом из яловки
эластичной и искусственной кожи на тканевой основе, и более существенное (в 1,4
- 2,3 раза) увеличение данного показателя у систем с верхом из синтетической
кожи.
Данные тенденции проявляются и при испытании
систем в условиях двухосного растяжения.
Анализ данных таблиц 3.11 - 3.12 показывает, что
упруго-пластические свойства систем материалов в значительной степени
определяются свойствами ее комплектующих. При этом наибольшее влияние на
величину показателей упруго-пластических свойств систем оказывает материал
верха.
При одноосном растяжении пластичность тройных
систем с верхом из яловки эластичной в среднем в 1,2 раза превышает
пластичность аналогичных систем с верхом из искусственной кожи «Метлак». При
использовании в качестве материала верха синтетической кожи вместо яловки эластичной
величина пластичности систем снижается примерно в 1,5 - 1,6 раза. Среди
текстильных материалов наибольшую величину пластичности тройных систем
обеспечивают межподкладка из термобязи и подкладка из ткани обувной, наименьшую
- межподкладка и подкладка из трикотажных полотен.
Наиболее высокой жесткостью среди исследованных
систем материалов характеризуются системы с верхом из искусственной кожи на
тканевой основе. Нагрузка, необходимая для их деформации на 15 %, в 1,1 - 1,5
раза превышает значение данного показателя для систем с верхом из яловки
эластичной и в 1,3 - 2,4 раза для систем с верхом из синтетической кожи.
Использование в качестве материалов межподкладки
и подкладки тканей значительно увеличивает жесткость систем, по сравнению с
системами, где для межподкладки и подкладки применялись трикотажные и нетканые
полотна. Так, при одноосном растяжении жесткость систем с межподкладкой из
термобязи в 1,4 - 2 раза превышает жесткость аналогичных систем с межподкладкой
из трикотажного и нетканого полотна. А применение в качестве подкладки ткани
обувной вместо трикотажного полотна увеличивает жесткость систем в 1,5 - 2,5
раза.
Диссипация механической энергии систем
материалов при одноосном растяжении колеблется в пределах 2 - 7 Дж, что
составляет 80 - 90 % всей энергии, затрачиваемой образцами в цикле «растяжение
- разгрузка». При этом наиболее высокие значения относительной затраченной
энергии отмечаются в системах с верхом из искусственной кожи и яловки
эластичной, межподкладкой из термобязи и подкладкой из ткани обувной
подкладочной.
В условиях двухосного растяжения разница в
свойствах систем с различным составом комплектующих выражена более резко, чем
при одноосном растяжении.
Как и при одноосном растяжении, наиболее
высокими пластическими свойствами характеризуются системы с верхом из яловки
эластичной, межподкладкой - из термобязи и подкладкой из ткани обувной.
Наименьшие значения пластичности отмечаются у систем с верхом из синтетической
кожи, межподкладкой и подкладкой из трикотажных полотен.
Пластичность систем с верхом из яловки
эластичной при двухосном растяжении в среднем в 1,6 раза превышает пластичность
систем с верхом из искусственной кожи «Метлак» и более чем в 1,8 раза
пластичность систем с верхом из синтетической кожи марки 2.
Менее существенное влияние на пластические
свойства систем материалов оказывают материалы межподкладки и подкладки. Так,
пластичность систем с межподкладкой из термобязи в 1,1 - 1,3 раза превышает
пластичность аналогичных систем с межподкладкой из трикотажного полотна. Использование
в качестве материала подкладки тканей взамен трикотажного полотна обеспечивает
более высокие пластические свойства систем.
Характер зависимости жесткости систем от
жесткости ее комплектующих при двухосном растяжении сохраняется тем же, что и при
испытании образцов в условиях одноосного растяжения. В условиях двухосного
растяжении отмечается менее значительное рассеивание механической энергии в
процессе растяжения и разгрузки образцов, чем при одноосном растяжении.
Величина относительной затраченной энергии систем материалов при двухосном
растяжении составила лишь 61 - 77 %.
Таким образом, анализ полученных данных показал,
что наиболее высокими пластическими свойствами характеризуются системы с верхом
из яловки эластичной, межподкладкой из термобязи и подкладкой из ткани обувной
подкладочной. Однако системы с подобным составом комплектующих обладают самой
высокой жесткостью, что с точки зрения силового взаимодействия стопы с обувью
будет вызывать значительные энергозатраты, необходимые для приформовывания
верха обуви к стопе в начальный период носки.
Наименее жесткими и пластичными являются системы
с верхом из синтетической кожи, межподкладкой и подкладкой из трикотажных
полотен.
Оптимальным комплексом упруго-пластических
свойств с точки зрения приформовываемости верха обуви к стопе, обладают системы
с верхом из яловки эластичной, межподкладкой из нетканого материала или
трикотажного полотна и подкладкой из трикотажного полотна.
3.4
Экспериментальное исследование упруго-пластических свойств материалов и систем
материалов для верха обуви в режимах с длительным деформированием и отдыхом
.4.1 Реологические
свойства материалов для верха обуви при одноосном и двухосном растяжении
Исследование релаксации деформации основывается
на длительном растяжении образцов нагрузкой постоянной величины с последующей
их разгрузкой и фиксацией в течение опыта изменения величины деформации
материалов.
Исследование реологических свойств материалов в
условиях одноосного растяжения осуществлялось на релаксометре-стойка,
принципиальная схема которого представлена на рисунке 3.8.
- опорная поверхность; 2 - нижний зажим; 3 -
верхний зажим; 4 - образец; 5 - система грузов; 6 - измерительная линейка; 7 -
индикатор часового типа; 8 - магнитная стойка
Рисунок 3.8 - Схема релаксометра типа «стойка»
Верхний край образца 4 закреплялся в неподвижном
зажиме 3 релаксометра. Второй край образца фиксировался в свободном нижнем
зажиме 2, к которому прикладывалось заданное усилие при помощи системы грузов
5.
Регистрация значений деформации в период
нагружения производилась с помощью измерительной линейки 6 и индикатора
часового типа ИЧ-2М 7, а в период отдыха - при помощи штангенциркуля с
точностью до 0,05 мм. Индикатор крепился на магнитной стойке 8, а его датчик
приводился в контакт с системой грузов и отслеживал их перемещение.
Как известно, при раскрое материалов верха и
межподкладки обуви наименьшая тягучесть должна быть в продольном направлении, а
у материалов текстильной подкладки - в поперечном. Так как приформовываемость
верха обуви характеризуется изменением поперечных размеров обуви в области
плюснефалангового сочленения, то, учитывая это, были выбраны следующие
направления раскроя образцов: материалы для наружных деталей верха обуви и для межподкладки
раскраивались в направлении наибольшей тягучести (под углом 900), а
подкладочные материалы - в направлении наименьшей тягучести (под углом 00).
Для исключения влияния масштабного фактора
размеры образцов принимались равными 200 ×
40 мм с рабочей длиной 150 мм, которые рекомендуются в качестве оптимальных для
испытания материалов в работе [129].
Величина действующей на образцы нагрузки
задавалась вне связи с разрывной, что соответствует условиям работы пакета
верха обуви в процессе ее эксплуатации.
Для материалов наружных деталей верха обуви
величина нагрузки принималась равной 100 Н, при которой согласно исследованиям,
проведенным в работах [13 - А., 14 - А.] в соавторстве с Горбачиком В. Е.,
характер реологических свойств материалов проявляется в наилучшей степени. Так
как многие текстильные материалы не всегда выдерживают данную нагрузку и в
отдельных случаях происходит разрушение их структуры, то испытание материалов
для межподкладки и подкладки обуви осуществлялось при меньшей величине нагрузки,
равной 30 Н. Согласно данным работы [131] именно при такой нагрузке величина
деформации верха обуви при испытании в лабораторных условиях близка к величине
деформации верха обуви в процессе носки.
Фиксация величины деформации в процессе
нагружения материалов и в процессе их отдыха после снятия действующей внешней
силы осуществлялась в моменты времени τ
= 0,08; 0,3; 0,5; 1; 2; 3; 5; 10; 30; 60; 90 мин. Для периода отдыха
дополнительно осуществлялся замер величины деформации через сутки после
разгрузки образцов.
На основании полученных экспериментальных данных
определялась величина относительной деформации образцов ε,
%, в каждый момент времени τ
по формуле (3.12) и строились графики зависимости ε
= f (τ).
ε =
(3.12)
где l - длина
рабочего участка образца в момент времени τ, мм;
lр -
первоначальная длина рабочего участка образца, мм.
Для характеристики реологических
свойств материалов использовались показатели:
полная деформация, %:
εполн = ε90 (3. 13)
где ε90 -
относительная деформация образца при последнем замере под нагрузкой, %;
быстрообратимая (условно-упругая)
деформация, %:
εупр. =
; (3. 14)
где ε0,08
-деформация образца через 0,08мин. после снятия нагрузки, %;
медленнообратимая
(условно-эластическая) деформация, %:
εэл. =
(3. 15)
где ε1440
-деформация образца при последнем замере в период отдыха, %;
остаточная (условно-пластическая)
деформация, %:
εпл. =
(3. 16)
доля быстрообратимой деформации:
Δεупр =
(3.17)
доля медленнообратимой деформации:
Δεэл. =
(3.18)
Δεпл. =
(3.19)
Графики зависимости ε = f (τ) для
материалов наружных деталей верха обуви представлены на рисунках Е.1, Е.14.
Анализ полученных зависимостей
показал, что под действием нагрузки у всех исследуемых материалов отмечается нарастание
деформации во времени, интенсивность которого существенно отличается для
различных по структуре материалов. У натуральных кож и искусственных кож на
тканевой основе происходит быстрый рост деформации в течение первых 5 минут
нагружения, в дальнейшем ее величина изменяется незначительно. У синтетических
кож на нетканой основе заметный рост деформации происходит в течение всего
периода нагружения.
В процессе отдыха образцов, после
снятия действующей внешней силы, характерно значительное снижение величины
деформации для всех исследуемых материалов. При этом наиболее интенсивно
релаксация деформации протекает в первые 5-10 минут отдыха. В течение
последующих 60 минут интенсивность релаксационных процессов снижается, а по
истечении 90 минут после разгрузки величина деформации большинства образцов
изменяется несущественно.
Показатели реологических свойств
материалов для наружных деталей верха обуви, полученные в соавторстве с
Горбачиком В. Е, Скоковым П. И [15 - А.], представлены в таблице 3.13.
Таблица 3.13 - Величина полной
деформации материалов для наружных деталей верха и ее составляющих при
одноосном растяжении
|
Наименование
материала
|
Полная
деформация, εполн, %
|
Составляющие
деформации, %
|
Доли
составляющих деформации, %
|
|
|
εупр
|
εэл
|
εпл
|
Δεупр
|
Δεэл
|
Δεпл
|
|
Яловка
легкая
|
16,51
|
11,32
|
2,41
|
2,78
|
68,6
|
14,6
|
16,8
|
|
Полукожник
эластичный
|
22,85
|
16,94
|
2,38
|
3,53
|
74,1
|
10,4
|
15,4
|
|
Яловка
эласт. NEVROR
|
14,68
|
10,50
|
1,17
|
3,01
|
71,5
|
8,0
|
20,5
|
|
Яловка
эласт. Наппа
|
26,71
|
14,61
|
6,97
|
5,13
|
54,7
|
26,1
|
19,2
|
|
Яловка
эласт. Nero
|
23,16
|
13,53
|
3,43
|
6,20
|
58,4
|
14,8
|
26,8
|
|
Винилискожа-Т
|
12,43
|
9,18
|
2,80
|
0,45
|
73,9
|
22,5
|
3,6
|
|
ИК
«Metlak»
|
12,31
|
9,36
|
2,30
|
0,65
|
76,0
|
18,7
|
5,3
|
|
ИК
«CAPRETTO
P
UNDRUSH»
|
13,46
|
11,51
|
1,68
|
0,27
|
85,5
|
12,5
|
2,0
|
|
СК
«Неве»
|
48,39
|
30,47
|
9,37
|
8,55
|
63,0
|
19,4
|
17,7
|
|
СК
марки 2
|
54,39
|
43,81
|
5,70
|
4,88
|
80,5
|
10,5
|
9,0
|
|
СК
«Syn-baby»
|
26,77
|
16,99
|
5,47
|
4,31
|
63,5
|
20,4
|
16,1
|
|
СК
«POSITANO
NAT
BRUSH»
|
51,81
|
31,91
|
12,37
|
7,53
|
61,6
|
23,9
|
14,5
|
Анализ полученных данных показал, что величина
полной деформации синтетических кож на нетканой основе в большинстве случаев в
2 - 3,5 раза превышает деформацию натуральных кож, и более чем в 3,5 раза -
деформацию искусственных кож на тканевой основе.
В структуре искусственных кож на тканевой основе
преобладают упругие и высокоэластические компоненты деформации. Их совокупная
величина составляет 95 - 98 % в общей деформации, что на 10 - 15 % превышает
значение данного показателя для натуральных и синтетических кож.
Доля пластической компоненты деформации
натуральных кож составляет 15 - 26 %, что в 3 - 10 раз превышает значение
данного показателя для искусственных кож на тканевой основе. Пластическая
составляющая деформации синтетических кож колеблется в широких пределах. Её
величина у синтетических кож марок «Syn-baby»
и «Неве» сопоставима с пластической составляющей натуральных кож, и в 2 раза
превышает значение данного показателя для синтетической кожи марки 2.
Графики зависимости ε
= f (τ)
текстильных материалов для межподкладки и подкладки обуви представлены на
рисунках Е.2 и Е.3.
Анализ полученных зависимостей показал, что, как
и у материалов для наружных деталей верха обуви, у всех текстильных материалов
при действии внешней силы отмечается нарастание деформации во времени. При
этом, если у тканей наиболее существенные изменения деформации отмечаются в
первые 2 - 5 минут нагружения, а в последующем ее величина изменяется
незначительно, то для трикотажных полотен заметный рост деформации продолжается
в течение всего периода нагружения.
Наиболее интенсивно процесс ползучести протекает
у нетканого полотна, что связано с особенностями строения данного материала. За
период действия внешней силы его деформация по сравнению с мгновенной
деформацией в начальный момент нагружения возрастает почти в 2 раза.
После снятия внешнего усилия у всех
исследованных текстильных материалов отмечается снижение деформации. Наиболее
интенсивно релаксация деформации текстильных материалов протекает в течение
первых 30 минут отдыха. В дальнейшем интенсивность релаксационных процессов
значительно снижается.
Показатели реологических свойств текстильных
материалов представлены в таблицах 3.14 и 3.15.
Таблица 3.14 - Величина полной деформации и ее
составляющих текстильных материалов для межподкладки обуви при одноосном
растяжении
|
Наименование
материала
|
Полная
деформация, εполн, %
|
Составляющие
деформации, %
|
Доли
составляющих деформации, %
|
|
|
εупр
|
εэл
|
εпл
|
Δεупр
|
Δεэл
|
Δεпл
|
|
1
|
2
|
3
|
4
|
5
|
6
|
7
|
8
|
|
Трикотаж
межподкладочный (поверх. пл-ть 172 г/м2)
|
98,59
|
37,17
|
16,65
|
44,77
|
37,7
|
16,9
|
45,4
|
|
Трикотаж
межподкладочный (поверх. пл-ть 130 г/м2)
|
57,98
|
24,37
|
10,34
|
23,27
|
42,0
|
17,8
|
40,1
|
|
Термобязь
|
6,47
|
2,89
|
2,58
|
1,00
|
44,7
|
39,9
|
15,5
|
|
Нетканый
материал «Спанбонд» (поверх. пл-ть 80 г/м2)
|
24,20
|
13,97
|
5,11
|
5,12
|
57,7
|
21,1
|
21,2
|
Таблица 3.15 - Величина полной деформации и ее
составляющих текстильных материалов для подкладки обуви при одноосном
растяжении
|
Наименование
материала
|
Полная
деформация, εполн, %
|
Составляющие
деформации, %
|
Доли
составляющих деформации, %
|
|
|
εупр
|
εэл
|
εпл
|
Δεупр
|
Δεэл
|
Δεпл
|
|
Ткань
обувная подкладочная
|
4,23
|
2,50
|
1,06
|
0,67
|
59,1
|
25,1
|
15,8
|
|
Трикотаж
для подкладки (поверх. пл-ть 292 г/м2)
|
12,05
|
9,05
|
1,03
|
1,97
|
75,1
|
8,5
|
16,3
|
|
Трикотаж
для подкладки (поверх. пл-ть 185 г/м2)
|
15,71
|
11,48
|
2,61
|
1,62
|
73,1
|
16,6
|
10,3
|
|
Ткань
экспериментальная подкладочная
|
5,96
|
3,38
|
2,18
|
0,40
|
56,7
|
36,6
|
6,7
|
|
Тик-саржа
|
5,67
|
3,10
|
1,75
|
0,82
|
54,7
|
30,9
|
14,5
|
Анализ экспериментальных данных показал, что
наиболее высокими деформационными свойствами среди исследованных текстильных
материалов отличаются трикотажные полотна, наименьшими - ткани.
Полная деформация трикотажных полотен для
межподкладки в 2,5 раза превышает значение данного показателя у нетканого
материала, и более чем в 9 раз - у термобязи. Деформация трикотажных полотен
для подкладки обуви превышает деформацию тканей для подкладки более чем в 2
раза.
Наиболее высокими пластическими свойствами в
группе текстильных материалов для межподкладки обуви отличаются трикотажные
полотна. Доля их пластической составляющей в 2 раза превышает значение данного
показателя у нетканого материала, и почти в 3 раза - у термобязи.
Преобладание быстрообратимой компоненты
деформации характерно для нетканого полотна. Доля условно-упругой составляющей
деформации данного материала на 15 - 20 % превышает значение условно-упругой
составляющей трикотажных полотен и тканей.
Наиболее высокие значения условно-эластической
компоненты деформации отмечаются у термобязи. Ее доля в полной деформации в
среднем в 2 раза выше, чем у трикотажных и нетканых полотен для межподкладки
обуви.
Среди исследованных текстильных материалов для
подкладки обуви наиболее высокими упругими свойствами отличаются трикотажные
полотна. Доля их условно-упругой составляющей деформации на 15 - 20 % превышает
долю упругой компоненты тканей. В то же время для тканей характерны более
высокие значения (в 1,5 - 4 раза) условно-эластической компоненты деформации,
чем для трикотажных полотен. Пластическая составляющая текстильных материалов
для подкладки обуви колеблется в пределах 10 - 16 %, и лишь у ткани
экспериментальной ее величина почти в 2 раза ниже.
Учитывая то, что союзка обуви в процессе эксплуатации
подвергается преимущественно двухосному растяжению, в соавторстве с Горбачиком
В. Е. и Скоковым П. И. была разработана методика, позволяющая исследовать
релаксацию деформации обувных материалов при двухосном растяжении [16 - А., 17
- А.].
Для испытания материалов использовался
модернизированный прибор ЖНЗО-2 [131], принципиальная схема работы которого
представлена на рисунке 3.9.
- образец материала; 2 - стакан; 3 - пуансон; 4
- измерительный шток; 5 - грузовой шток; 6 - система грузов; 7 - ручка; 8 -
индикатор перемещений
Рисунок 3.9 - Схема нагружения материалов на
приборе ЖНЗО-2
Образцы 1 диаметром 80 мм с рабочим диаметром 60
мм, закрепляются в кольцевом зажиме стакана 2 бахтармяной стороной вверх.
Деформация образца происходит в результате продавливания его сферическим
пуансоном 3 диметром 25 мм, закрепленным на измерительном штоке 4. Форма и
размер пуансона соответствуют головке первой плюсневой кости взрослого
человека, которая в процессе движения наиболее интенсивно воздействует на
материалы верха обуви. Нагружение образцов осуществляется в результате
перемещения вниз грузового штока 5 с грузами 6 при помощи ручки 7, соединенной
с грузовым штоком через рычаг. Для отслеживания величины деформации образца (стрелы
прогиба h) используется
индикатор перемещений часового типа 8 с точностью до 0,01 мм.
Величина действующей нагрузки, как и при
одноосном растяжении, для материалов наружных деталей верха обуви принималась
равной 100 Н, а для текстильных материалов - 30 Н.
Регистрация стрелы прогиба h
образцов в период нагружения и остаточной стрелы прогиба h'
образцов в период отдыха осуществлялась в моменты времени τ
= 0,08; 0,3; 0,5; 1; 2; 3; 5; 10; 30; 60; 90 мин. Для периода отдыха
дополнительно осуществлялся замер остаточной стрелы прогиба через сутки (1440
мин.) после разгрузки образцов. Замер величины h'
производился при помощи электронно-цифрового штангенрейсмаса с точностью до
0,01 мм.
С целью получения сопоставимых данных о
реологических свойствах материалов, полученных при различных видах деформации,
определялась величина относительной деформации образцов по меридиану в заданные
моменты времени τ по формуле:
, (3.20)
где εм
-относительная деформация материала по меридиану, %;
r - радиус
пуансона, мм (r = 12,5 мм);
R - радиус
рабочей зоны образца;
δ- толщина
материала, мм;
j
- угол перегиба материала у края кольцевого зажима, рад.
В соответствии со схемой растяжения
образцов (рисунок 3.10) тангенс угла j
определялся как:
tgφ =
(3.21)
где h - стрела
прогиба материала, мм.
Тогда: - при h< r+ δ угол j рассчитывался по формуле:
(3.22)
при h > r+ δ угол j определялся как:
(3.23)
Рисунок 3.10 - Схема растяжения
материала
На основании полученных
экспериментальных данных строились графики зависимости ε = f (τ),
представленные на рисунках Е.4 - Е.5, Е.14.
Анализ полученных зависимостей
показал, что общие тенденции в характере изменения деформации различных
материалов, выявленные при испытании в условиях одноосного растяжения,
проявляются и при двухосном растяжении образцов.
Для натуральных и искусственных кож
характерен быстрый рост деформации в первые 2 - 5 минут нагружения и
незначительное ее увеличение в течение последующего времени нагружения. Для
большинства синтетических кож отмечается значительный рост величины деформации
в течение всего периода нагружения.
В отличие от одноосного растяжения,
у материалов наружных деталей верха обуви скорость протекания релаксационных
процессов в период отдыха при двухосном растяжении несколько ниже. В течение 30
минут после разгрузки образцов отмечается значительное снижение величины их
деформации, и лишь затем темпы релаксации деформации большинства исследуемых
материалов существенно снижаются.
Характер кинетики релаксации
деформации текстильных материалов для межподкладки и подкладки обуви при
двухосном растяжении сохраняется таким же, как и при одноосном растяжении.
Показатели реологических свойств
материалов для наружных деталей верха обуви при двухосном растяжении
представлены в таблице 3.16.
Анализ полученных
экспериментальных данных показал, что в условиях двухосного растяжения наиболее
высокими деформационными свойствами характеризуются синтетические кожи марки 2
и Неве. Величина их полной деформации в 1,2 - 2 раза превышает деформацию
натуральных кож и в 1,6 - 2,1 раза - искусственных кож на тканевой основе.
Исключение составляет СК «Syn-baby»,
деформационная способность, которой существенно ниже и приближается по величине
к деформации искусственных кож.
Таблица 3.16 - Величина полной деформации
материалов для наружных деталей верха и ее составляющих при двухосном
растяжении
|
Наименование
материала
|
Полная
деформация, εполн, %
|
Составляющие
деформации, %
|
Доли
составляющих деформации, %
|
|
|
εупр
|
εэл
|
εпл
|
Δεупр
|
Δεэл
|
Δεпл
|
|
Яловка
легкая
|
9,61
|
6,66
|
1,78
|
1,17
|
69,3
|
18,5
|
12,2
|
|
Полукожник
эластичный
|
12,24
|
5,41
|
4,5
|
2,33
|
44,2
|
36,8
|
19,0
|
|
Яловка
эласт. NEVROR
|
10,21
|
5,65
|
1,85
|
2,71
|
55,3
|
18,1
|
26,5
|
|
Яловка
эласт. Наппа
|
11,20
|
2,47
|
4,42
|
4,31
|
22,0
|
39,5
|
38,5
|
|
Яловка
эласт. Nero
|
5,79
|
1,84
|
2,04
|
1,91
|
31,7
|
35,3
|
33,0
|
|
Винилискожа-Т
|
9,22
|
6,44
|
2,11
|
0,67
|
69,8
|
22,9
|
7,3
|
|
ИК
«Metlak»
|
7,93
|
6,49
|
1,22
|
0,22
|
81,8
|
15,4
|
2,8
|
|
ИК
«CAPRETTO
P
UNDRUSH»
|
7,03
|
5,56
|
1,21
|
0,26
|
79,1
|
17,2
|
3,7
|
|
СК
«Неве»
|
14,92
|
8,77
|
4,18
|
1,97
|
58,8
|
28,0
|
13,2
|
|
СК
марки 2
|
14,85
|
12,81
|
1,95
|
0,09
|
86,3
|
13,1
|
0,6
|
7,46
|
5,42
|
1,46
|
0,58
|
72,7
|
19,6
|
7,8
|
|
СК
«POSITANO
NAT
BRUSH»
|
9,64
|
6,57
|
2,07
|
1,00
|
68,2
|
21,5
|
10,3
|
Вид деформации оказывает
значительное влияние на реологические свойства материалов. Сравнительный анализ
данных таблиц 3.13 и 3.16 показал, что при двухосном растяжении доля упругой
компоненты деформации у большинства исследованных материалов ниже, а доля эластической
компоненты выше, чем при одноосном растяжении. Что касается пластической
составляющей деформации, то, как правило, у натуральных и искусственных кож ее
доля при двухосном растяжении выше, чем при одноосном растяжении, а у
синтетических кож на нетканой основе наоборот - ниже.
Доля условно-упругой
составляющей искусственных кож на тканевой основе составляет 70 - 82 %, что в
1,2 - 1,8 раза превышает значение данного показателя у натуральных кож.
Величина условно-пластической составляющей натуральных кож, наоборот, в 2 - 7
раз превышает значение условно-пластической компоненты деформации искусственных
кож, что и обуславливает лучшую формуемость заготовок с верхом из натуральных
кож в процессе производства обуви.
Показатели реологических
свойств синтетических кож на нетканой основе колеблются в широких пределах.
Так, реологические свойства синтетической кожи «Неве» при двухосном растяжении
близки к свойствам натуральных кож, а значения показателей реологических
свойств синтетической кожи «Syn-baby»
сопоставимы со значениями аналогичных показателей искусственных кож на тканевой
основе.
Следует отметить, что в
наибольшей степени быстрообратимые процессы релаксации проявляются у
синтетической кожи марки 2. Их величина в общей деформации данного материала
составляет 86,3 %, что в 1,2 раза превышает долю условно-упругой составляющей
деформации СК «Syn-baby»
и почти в 1,5 раза - синтетической кожи «Неве». Доля условно-пластической
компоненты деформации СК «Неве» в 1,7 раза превышает значение данного
показателя у СК «Syn-baby»
и в 22 раза - у СК марки 2.
Показатели реологических свойств текстильных
материалов для межподкладки и подкладки обуви при двухосном растяжении
представлены в таблице 3.17.
Таблица 3.17 - Величина полной деформации и ее
составляющих текстильных материалов при двухосном нагружении
|
Наименование
материала
|
Полная
деформация, εполн, %
|
Составляющие
деформации, %
|
Доли
составляющих деформации
|
|
|
εупр
|
εэл
|
εпл
|
Δεупр
|
Δεэл
|
Δεпл
|
|
Трикотаж
м/подклад. (пов.пл-ть 172 г/м2)
|
8,76
|
7,29
|
0,74
|
0,73
|
83,2
|
8,4
|
8,3
|
|
Трикотаж
м/подклад. (пов.пл-ть 130 г/м2)
|
8,9
|
6,24
|
1,57
|
1,09
|
70,1
|
17,6
|
12,2
|
|
Термобязь
|
6,34
|
3,52
|
0,85
|
1,97
|
55,5
|
13,4
|
31,1
|
|
Нетканый
материал «Спанбонд» (пов.пл-ть 80 г/м2)
|
8,48
|
5,12
|
1,975
|
1,385
|
60,4
|
23,3
|
16,3
|
|
Ткань
обувная подкладочная
|
4,55
|
2,81
|
0,95
|
0,79
|
61,8
|
20,9
|
17,4
|
|
Тик-саржа
|
5,11
|
3,33
|
0,78
|
1,0
|
65,2
|
15,3
|
19,6
|
|
Ткань
экспериментальная
|
7,31
|
4,61
|
1,45
|
1,25
|
63,1
|
19,8
|
17,1
|
|
Трикотаж
подклад. (пов.пл-ть 292 г/м2)
|
9,48
|
7,64
|
1,44
|
0,4
|
80,6
|
15,2
|
4,2
|
|
Трикотаж
подклад. (пов.пл-ть 185 г/м2)
|
12,43
|
9,41
|
2,025
|
0,995
|
75,7
|
16,3
|
8,0
|
Анализ полученных данных показал, что в условиях
двухосного растяжения общая деформация текстильных материалов для межподкладки
и подкладки обуви колеблется в пределах 4,5 - 12,5 %. Как и при одноосном
растяжении, наиболее высокими деформационными свойствами отличаются трикотажные
и нетканые полотна, полная деформация которых в 1,2 - 2,7 раза превышает
деформацию тканей.
Для трикотажных полотен характерно преобладание
упругих составляющих деформации. Их величина составляет 70 - 83 % от общей
деформации образцов, что в 1,1 - 1,5 раза превышает значение данного показателя
у тканей. Величина пластической составляющей трикотажных полотен при двухосном
растяжении значительно ниже (в 1,4 - 7 раз), чем у тканей.
Сравнительный анализ реологических свойств
текстильных материалов, полученных при различных видах деформации, показал, что
при испытании образцов в условиях двухосного растяжения величина
условно-упругой составляющей деформации всех исследуемых материалов оказывается
значительно выше, а условно-эластической составляющей деформации в большинстве
случаев ниже, чем при одноосном растяжении.
В условиях двухосного растяжения пластические
свойства тканей проявляются в наибольшей степени. Обратная картина характерна
для трикотажных полотен, у которых доля пластической компоненты деформации при
двухосном растяжении в 1,3 - 5 раз ниже, чем при одноосном растяжении.
3.4.2 Реологические
свойства систем материалов для верха обуви
Исследование релаксации деформации систем
материалов, имитирующих верх обуви, осуществлялось в условиях одноосного и
двухосного растяжения по методикам, описанным в п. 3.4.1 при действии на
образцы нагрузки равной 100 Н.
Графики зависимости ε
= f (τ)
систем материалов для верха обуви, полученные при одноосном растяжении, представлены
на рисунках Е.6 - Е.9, при двухосном растяжении - на рисунках Е.10 - Е.13.
Анализ полученных экспериментальных зависимостей
показал, что у систем материалов сохраняется тот же характер изменения
деформации во времени, что и у одиночных материалов, составляющих данные
системы: в процессе нагружения под действием внешней силы отмечается рост
величины деформации, а в процессе отдыха после разгрузки образцов - ее заметное
уменьшение.
Кинетика релаксационных процессов, протекающих в
системах материалов, в значительной степени определяется сочетанием и
свойствами их комплектующих. Так, у систем, состоящих из материалов с высокими
деформационными свойствами (синтетические кожи, трикотажные и нетканые полотна)
вне зависимости от вида растяжения отмечается существенных рост величины
деформации в течение всего периода нагружения. В системах, где присутствуют
ткани и материалы на тканевой основе наблюдается значительный рост деформации в
течение первых 5 минут нагружения, а в дальнейшем её величина изменяется несущественно.
Вид растяжения не оказывает существенного
влияния на интенсивность релаксационных процессов, протекающих в системах
материалов в период нагружения.
В период отдыха в условиях одноосного растяжения
отмечаются более высокие темпы релаксации деформации систем материалов, чем при
двухосном растяжении. Наиболее значительное снижение величины деформации при
одноосном растяжении происходит в первые 10 - 30 минут после разгрузки
образцов, в то время как в условиях двухосного растяжения интенсивное уменьшение
деформации отмечается в течение более длительного периода (30 - 60 минут) после
снятия внешней действующей силы.
Величины полной деформации систем материалов и
её составляющих представлены в таблице 3.18.
Анализ полученных экспериментальных данных показал,
что реологические свойства систем материалов в значительной степени
определяются сочетанием и свойствами их комплектующих.
Дублирование деталей верха межподкладкой и
подкладкой приводит к значительному снижению общей деформационной способности
систем по сравнению с одиночными материалами, а также к изменению соотношения
условно-упругой, условно-эластической и условно-пластической составляющих
деформации. С увеличением количества элементарных слоев системы в большинстве
случаев отмечается рост доли условно-пластической и условно-эластической
компоненты деформации и снижение доли условно-упругой составляющей.
Величина полной деформации систем материалов
верх + межподкладка + подкладка при обоих видах растяжения колеблется в
пределах 2 - 12% и существенно зависит от сочетания комплектующих системы.
Наиболее высокими деформационными свойствами отличаются системы с верхом из
синтетической кожи марки 2, межподкладкой и подкладкой из трикотажных полотен.
Наиболее низкая тягучесть характерна для систем, где в качестве материала верха
использовалась искусственная кожа на тканевой основе, для межподкладки -
термобязь, а для подкладки - ткань обувная.
Анализ составляющих полной деформации систем
материалов для верха обуви показал, что наиболее высокими пластическими
свойствами характеризуются системы с верхом из яловки эластичной, доля
условно-пластической компоненты деформации которых при одноосном растяжении
Таблица 3.18 - Величина полной деформации систем
материалов и ее составляющих при различных видах растяжения
|
Наименование
системы материалов
|
Одноосное
растяжение
|
Двухосное
растяжение
|
|
Полн.
дефция, εполн, %
|
Составляющие
деформации, %
|
Доли
составляющих деформации,%
|
Полн.
дефция, εполн, %
|
Составляющие
деформации, %
|
Доли
составляющих деформации,%
|
|
|
εупр
|
εэл
|
εпл
|
Δεупр
|
Δεэл
|
Δεпл
|
|
εупр
|
εэл
|
εпл
|
Δεупр
|
Δεэл
|
Δεпл
|
|
1
|
2
|
3
|
4
|
5
|
6
|
7
|
8
|
9
|
10
|
11
|
12
|
13
|
14
|
15
|
|
Яловка
эласт. + термобязь
|
6,58
|
2,38
|
2,20
|
2,00
|
36,2
|
33,4
|
30,4
|
8,96
|
4,24
|
2,39
|
2,33
|
47,3
|
26,7
|
26,0
|
|
ИК
«Metlak» +
термобязь
|
4,12
|
0,92
|
2,13
|
1,07
|
22,3
|
51,7
|
26,0
|
7,03
|
2,60
|
3,59
|
0,84
|
37,0
|
51,1
|
11,9
|
|
СК
марки 2 + термобязь
|
8,05
|
4,18
|
2,67
|
1,20
|
51,9
|
33,2
|
14,9
|
11,58
|
7,78
|
3,36
|
0,44
|
67,2
|
29,0
|
3,8
|
|
Яловка
эласт. + трикотаж
|
20,30
|
11,57
|
3,93
|
4,80
|
57,0
|
19,4
|
23,6
|
9,66
|
4,73
|
2,89
|
2,04
|
49,0
|
29,9
|
21,1
|
|
ИК
«Metlak»+
трикотаж
|
10,09
|
4,89
|
3,33
|
1,87
|
48,5
|
33,0
|
18,5
|
7,75
|
4,59
|
2,55
|
0,61
|
59,2
|
32,9
|
7,9
|
|
СК
марки 2 + трикотаж
|
36,4
|
26,1
|
6,17
|
4,13
|
71,7
|
17,0
|
11,3
|
12,3
|
9,35
|
2,54
|
0,41
|
76,0
|
20,7
|
3,3
|
|
Яловка
эласт. + нетканый материал
|
10,17
|
4,10
|
3,24
|
2,83
|
40,3
|
31,9
|
27,8
|
9,12
|
5,01
|
2,10
|
2,01
|
54,9
|
23,0
|
22,0
|
|
ИК
«Metlak» +
нетканый материал
|
6,13
|
2,34
|
2,40
|
1,39
|
38,2
|
39,2
|
22,7
|
7,48
|
4,13
|
2,58
|
0,77
|
55,2
|
34,5
|
10,3
|
|
СК
марки 2 + нетканый материал
|
35,90
|
24,43
|
6,74
|
4,73
|
68,1
|
18,8
|
13,2
|
12,06
|
9,05
|
2,57
|
0,44
|
75,0
|
21,3
|
3,6
|
|
ИК«Metlak» +
термобязь+ткань обувн
|
2,09
|
0,66
|
0,81
|
0,62
|
31,6
|
38,8
|
29,7
|
3,86
|
1,64
|
1,62
|
0,60
|
42,5
|
42,0
|
15,5
|
|
ИК
«Metlak» +
термобязь + трикотаж
|
2,65
|
0,72
|
1,23
|
0,70
|
27,2
|
46,4
|
26,4
|
5,24
|
2,78
|
1,81
|
0,65
|
53,1
|
34,5
|
12,4
|
|
ИК
«Metlak» +
термобязь +ткань экспр.
|
2,57
|
0,97
|
0,87
|
0,73
|
37,7
|
33,9
|
28,4
|
4,84
|
2,44
|
1,77
|
0,63
|
50,4
|
36,6
|
13,0
|
|
ИК
«Metlak» +
трикотаж + ткань обувная
|
3,09
|
0,59
|
1,83
|
0,67
|
19,1
|
59,2
|
21,7
|
5,78
|
3,11
|
1,85
|
0,82
|
53,8
|
32,0
|
|
ИК
«Metlak»+
трикотаж +трикотаж
|
4,80
|
2,00
|
1,80
|
1,00
|
41,7
|
37,5
|
20,8
|
6,45
|
3,66
|
2,10
|
0,69
|
56,7
|
32,6
|
10,7
|
|
ИК
«Metlak»+
трикотаж + ткань эксперим
|
4,25
|
1,55
|
1,80
|
0,90
|
36,5
|
42,4
|
21,2
|
6,16
|
3,68
|
1,81
|
0,67
|
59,7
|
29,4
|
10,9
|
|
ИК«Metlak» + неткан
мат-л +ткань обувная
|
2,17
|
0,90
|
0,70
|
0,57
|
41,5
|
32,3
|
26,3
|
4,99
|
2,73
|
1,53
|
0,73
|
54,7
|
30,7
|
14,6
|
|
ИК«Metlak» +неткан.
материал + трикотаж
|
3,53
|
1,53
|
1,13
|
0,87
|
43,3
|
32,0
|
24,6
|
5,83
|
3,08
|
2,09
|
0,66
|
52,8
|
35,8
|
11,3
|
|
ИК«Metlak» +неткан.
мат-л + ткань экспер.
|
2,86
|
1,36
|
0,77
|
0,73
|
47,6
|
26,9
|
25,5
|
5,67
|
3,21
|
1,77
|
0,69
|
56,6
|
31,2
|
12,2
|
|
Яловка
эласт. + термобязь +ткань обувн.
|
2,99
|
0,66
|
1,26
|
1,07
|
22,1
|
42,1
|
35,8
|
6,34
|
3,18
|
1,38
|
1,78
|
50,2
|
21,8
|
28,1
|
|
Яловка
эласт. + термобязь + трикотаж
|
4,13
|
1,40
|
1,43
|
1,30
|
33,9
|
34,6
|
31,5
|
7,03
|
3,65
|
1,53
|
1,85
|
51,9
|
21,8
|
26,3
|
|
Яловка
эласт. + термобязь + ткань экспер
|
3,59
|
0,92
|
1,50
|
1,17
|
25,6
|
41,8
|
32,6
|
6,95
|
3,91
|
1,16
|
1,88
|
56,3
|
16,7
|
27,1
|
|
Яловка
эласт. + трикотаж + ткань обувн.
|
5,77
|
2,37
|
1,83
|
1,57
|
41,1
|
31,7
|
27,2
|
7,18
|
3,34
|
2,25
|
1,59
|
46,5
|
31,3
|
22,1
|
|
Яловка
эласт. + трикотаж + трикотаж
|
9,54
|
4,34
|
2,90
|
2,30
|
45,5
|
30,4
|
24,1
|
8,96
|
3,85
|
3,20
|
1,91
|
43,0
|
35,7
|
21,3
|
|
Яловка
эласт. + трикотаж + ткань экспер
|
7,64
|
3,91
|
1,80
|
1,93
|
51,2
|
23,6
|
25,3
|
8,68
|
4,31
|
2,49
|
1,88
|
49,7
|
28,7
|
21,7
|
|
Яловка
эласт. + нетканый материал + ткань обувная
|
5,49
|
2,09
|
1,63
|
1,77
|
38,1
|
29,7
|
32,2
|
6,75
|
3,33
|
1,73
|
1,69
|
49,3
|
25,6
|
25,0
|
|
Яловка
эласт. + нетканый материал + трикотаж
|
7,72
|
3,59
|
1,93
|
2,20
|
46,5
|
25,0
|
28,5
|
7,40
|
3,79
|
1,95
|
1,66
|
51,2
|
26,4
|
22,4
|
|
Яловка
эласт. + нетканый материал + ткань экспериментальная
|
6,43
|
2,83
|
1,60
|
2,00
|
44,0
|
24,9
|
31,1
|
7,17
|
4,01
|
1,46
|
1,70
|
55,9
|
20,4
|
23,7
|
|
СК
марки 2 + термобязь + ткань обувная
|
3,67
|
1,80
|
1,04
|
0,83
|
49,0
|
28,3
|
22,6
|
7,01
|
3,45
|
3,18
|
0,38
|
49,2
|
45,4
|
5,4
|
|
СК
марки 2 + термобязь + трикотаж
|
4,59
|
2,69
|
1,03
|
0,87
|
58,6
|
22,4
|
19,0
|
7,86
|
4,53
|
2,98
|
0,35
|
57,6
|
37,9
|
4,5
|
|
СК
марки 2 + термобязь + ткань эксперим.
|
4,32
|
2,25
|
1,17
|
0,90
|
52,1
|
27,1
|
20,8
|
7,08
|
3,83
|
2,91
|
0,34
|
54,1
|
41,1
|
4,8
|
|
СК
марки 2 + трикотаж +ткань обувная
|
7,15
|
3,52
|
2,36
|
1,27
|
49,2
|
33,0
|
17,8
|
8,64
|
5,58
|
2,63
|
0,43
|
64,6
|
30,4
|
5,0
|
|
СК
марки 2 + трикотаж + трикотаж
|
11,79
|
7,59
|
2,53
|
1,67
|
64,4
|
21,5
|
14,2
|
11,67
|
8,88
|
2,39
|
0,40
|
76,1
|
20,5
|
3,4
|
|
СК
марки 2 + трикотаж + ткань эксперим
|
8,51
|
4,64
|
2,54
|
1,33
|
54,5
|
29,8
|
15,6
|
11,05
|
7,71
|
2,93
|
0,41
|
69,8
|
26,5
|
3,7
|
|
СК
марки 2 + неткан. мат-л +ткань обувная
|
6,92
|
3,72
|
1,80
|
1,40
|
53,8
|
26,0
|
20,2
|
7,35
|
3,65
|
3,31
|
0,39
|
49,7
|
45,0
|
5,3
|
|
СК
марки 2 + неткан материал + трикотаж
|
8,47
|
5,00
|
2,00
|
1,47
|
59,0
|
23,6
|
17,4
|
8,46
|
4,78
|
3,32
|
0,36
|
56,5
|
39,2
|
4,3
|
|
СК
марки 2 + неткан. мат-л + ткань экспер.
|
7,10
|
4,07
|
1,76
|
1,27
|
57,3
|
24,8
|
17,9
|
7,56
|
3,79
|
3,43
|
0,34
|
50,1
|
45,4
|
4,5
|
|
|
|
|
|
|
|
|
|
|
|
|
|
|
|
|
|
|
|
|
|
|
|
|
|
|
|
в среднем в 1,2 раза превышают величину данного
показателя у аналогичных систем с верхом из искусственной кожи, и почти в 2
раза - у систем с верхом из синтетической кожи марки 2. В полной деформации
систем с верхом из синтетической кожи марки 2 наоборот преобладает
условно-упругая составляющая деформации. Её доля при одноосном растяжении
составляет 49 - 64% , что в 1,3 - 2,5 раза превышает величину данного
показателя у систем с верхом из яловки эластичной и искусственной кожи «Metlak».
Системы, где в качестве материалов межподкладки
и подкладки используются ткани, характеризуются более высокими значениями долей
условно-пластической и условно-эластической компонент деформации и более низкой
долей условно-упругой компоненты, чем системы с межподкладкой и подкладкой из
трикотажных и нетканых полотен.
Вид растяжения оказывает значительное влияние на
величину полной деформации систем материалов и её составных частей.
В большинстве случаев в условиях двухосного
растяжения величина полной деформации тройных систем оказывается выше, чем при
одноосном растяжении. Это особенно заметно в системах с верхом из искусственной
кожи «Metlak», деформация
которых при двухосном растяжении в 1,5 - 2 раза превышает значение данного
показателя при одноосном растяжении. При этом разница в деформационных
свойствах систем с различным сочетанием комплектующих в условиях двухосного
растяжения проявляется в меньшей степени, чем при одноосном растяжении
образцов.
При двухосном растяжении доля условно-упругой
составляющей деформации систем материалов, как правило, выше (в 1,2 - 2 раза),
а доля условно-пластической составляющей значительно ниже (в 1,2 - 4 раза), чем
при одноосном растяжении. В наибольшей степени это проявляется в системах с
верхом из синтетической кожи марки 2, доля условно-пластической составляющей
которых при одноосном растяжении в среднем в 4 раза превышает значение данного
показателя, полученного в условиях двухосного растяжения. Доля
условно-эластической компоненты деформации исследуемых систем материалов
незначительно изменяется в зависимости от вида растяжения и колеблется в
пределах 20 - 40 %.
3.4.3 Моделирование
процессов релаксации деформации обувных материалов и систем материалов для
верха обуви
Изучение кинетики релаксационных процессов,
протекающих в материалах при нагружении, носит длительный и трудоемкий
характер. Учитывая это, особую значимость приобретает возможность их
моделирования, что позволит обоснованно прогнозировать поведение материалов во
время производства и эксплуатации обуви.
Простейшим способом моделирования релаксационных
явлений является установление математических зависимостей на основе экспериментальных
данных, однако этот метод не позволяет дать физического обоснования изучаемых
процессов. Поэтому, наиболее часто описание релаксационных процессов в
упруго-вязко-пластических материалах осуществляется с использованием
механических моделей, представляющих собой различные комбинации соединенных
между собой идеально-упругих элементов, подчиняющихся закону Гука (гуково
тело), и вязких элементов, подчиняющихся закону вязкого течения Ньютона
(ньютонова жидкость). С помощью принятых механических моделей составляются
реологические уравнения состояния исследуемых материалов.
В механических моделях идеально-упругое тело,
подчиняющееся закону Гука, изображается в виде спиральной пружины (рисунок
3.11, а), для которой зависимость между напряжением и деформацией выражается
уравнением:
(3.24)
где σ -
напряжение, МПа;
ε - относительная линейная
деформация, %;
Е - модуль упругости, МПа.
Ньютонова жидкость изображается в
виде поршня, движущегося в цилиндре, заполненном вязким маслом (рисунок 3.11,
б). Уравнение для вязкого элемента выражается законом Ньютона - для идеальной
жидкости внутреннее напряжение пропорционально скорости деформации:
(3.25)
где η -
коэффициент пропорциональности (вязкости), пуазы;
- скорость деформации, м/сек.
Простейшая схема структуры
упруго-вязкого материала изображается состоящим из одного упругого элемента и
одного вязкого, соединяемых либо последовательно (модель Максвелла) (рисунок
3.11, в), либо параллельно (модель Кельвтна-Фойгта) (рисунок 3.11, г).
а)
б)
в)
г)
д)
Рисунок 3.11 -
Механические модели упруго-вязкой среды
Используя различные комбинации простых элементов
можно создать механические модели, свойства которых с той или иной степенью
точности описывают реальное поведение конкретных материалов. При этом
правильный выбор модели и математическое описание её свойств позволяют более
глубоко изучить закономерности деформации материалов и прогнозировать их
поведение в определенных условиях эксплуатации.
В настоящее время известно много различных
механических моделей, описывающих релаксационные процессы, протекающие в
упруго-вязких материалах. При этом сложность структуры этих материалов,
индивидуальные особенности отдельных их видов приводят к тому, что в одних
случаях для выражения их свойств ближе подходят одни модели, в других - другие.
Так, объединенная модель А, предложенная рядом ученых - Т. А. Алфреем, Л. И.
Френкелем, Ю. Н. Образцовым и другими для описания свойств текстильных
материалов, состоит из элемента Кельвина-Фойгта, вставленного между двумя
элементами модели Максвелла, и дает хорошее совпадение с эмпирическими данными
преимущественно в области малых напряжений[100,с.179].
Для выражения механических свойств нитей при
растяжении применялась обобщенная модель Г. Н. Кукина и А. Н. Соловьева,
состоящая из трех последовательно соединенных и видоизмененных звеньев модели
Кельвина-Фойгта [100, с.180]. Обобщенная трехкомпонентная модель
Кельвина-Фойгта использовалась Кобляковым А. Н. [63, с.126] для описания
ползучести трикотажных полотен, а Бузовым Б. А. и Петропавловским Д. Г. [118] -
для количественного описания релаксации деформации тканей. Данная механическая
модель хорошо описывает процесс деформирования при напряжении в пробе
материала, не превышающем 10 % разрывного.
Для клееных нетканых материалов Тихомировым В.
Б. и Самойловой Л. В. [133 - 134] предложена модель, состоящая из
последовательно соединенных упругого элемента и элемента Кельвина-Фойгта.
Ю. П. Зыбиным предложена модель деформации
натуральной кожи как волокнисто-сетчатого материала, которая позднее была
усовершенствована Н. А. Шестаковой [135, с.238]. Предлагаемая модель состоит из
упругих элементов, соединенных с элементами Кельвина-Фойгта и имитирующих
волокна кожи. В свою очередь элементы образуют ромбовидную плоскую фигуру,
имитирующую сетчатую структуру.
В работах [122 - 123, 136, с.81] для описания
релаксационных свойств кож предложена модель, состоящая из последовательно
соединенных двух элементов Кельвина-Фойгта и вязкого элемента.
Таким образом, в настоящее время не создано
универсальных моделей, позволяющих описать релаксационные явления в различных
по структуре материалах, что значительно усложняет решение вопросов, связанных
с прогнозированием поведения данных материалов и их эффективным использованием
в процессе производства обуви. Кроме того, отсутствуют литературные данные о
применении механических моделей при описании релаксационных процессов в
искусственных и синтетических кожах. Не изучена возможность использования
механических моделей при описании кинетики релаксационных явлений в системах
материалов для верха обуви, что представляет наибольший практический интерес.
Учитывая это, важным является поиск адекватной
механической модели, позволяющей с достаточной степенью точности описать
закономерности изменения деформации во времени для различных материалов,
составляющих пакет верха обуви, а также их систем.
С этой целью, была изучена возможность
использования обобщенной трехкомпонентной модели Кельвина-Фойгта (рисунок 3.11,
д) для описания релаксации деформации исследуемых в работе материалов и их
систем.
Данная механическая модель наиболее точно из
всех известных моделей отражает высокоэластический механизм деформации,
характерный для обувных материалов. Первый элемент модели соответствует
начальной фазе релаксации, второй элемент - замедленной фазе релаксации с
временем релаксации до 2 - 4 ч, и третий - фазе с заторможенными процессами,
время релаксации которых исчисляется десятками, сотнями и тысячами часов.
Для трехкомпонентной обобщенной механической
модели зависимость деформации от времени при постоянном напряжении выражается
уравнениями следующего вида:
для периода нагружения
ε = а1
+
+
(3.26)
для периода отдыха
ε = ε1
+ ε 2
+ ε 3
(3.27)
где τ1, τ2, τ3 (Т1, Т2,
Т3) - среднее время релаксации (запаздывания) быстропротекающих, замедленных и
заторможенных процессов;
а1, а2, а3 - деформация со средним
временем релаксации τ1, τ2, τ3;
ε1, ε2, ε3 - деформация
со средним временем запаздывания Т1, Т2, Т3.
Расчет параметров обозначенной
механической модели осуществлялся поэтапно по методике, предложенной в работе
[63, с.127 - 130]. Для этого, на экспериментальной кривой (рисунок 3.12)
выделялись три участка, первый из которых описывает быстропротекающие процессы
релаксации и характеризует условно-упругую составляющую общей деформации.
Второй участок кривой отображает медленнопротекающие релаксационные процессы и
соответствует условно-эластической компоненте деформации, а третий участок -
соответствует заторможенным процессам релаксации или условно-пластической
составляющей деформации.
- экспериментальная кривая
релаксации деформации;
- теоретическая кривая релаксации,
построенная с помощью четырехкомпонентной механической модели;
- теоретическая кривая релаксации,
построенная с помощью обобщенной трехкомпонентной модели Кельвина-Фойгта.
Рисунок 3.12-Аппроксимация кривой
релаксации деформации системы СК марки 2+термобязь+ткань обувная при двухосном
растяжении с использованием трех- и четырехкомпонентной механических моделей
Уравнение (3.27) преобразуется в
следующее:
ε = ε1е -
+ ε2 е -
+ ε3 е -
(3.28)
где ε1, ε2, ε3 -
деформация соответственно с быстротекущими, замедленными и заторможенными
процессами релаксации;
б1, б2, б3 - константы,
характеризующие скорость релаксации частей деформации.
б1 =
; б2 =
; б3 =
;
Из формулы (3.28) видно, что,
начиная с некоторого момента времени ti, значения
компонент, характеризующих быстро- и медленнопротекающие процессы деформации,
будут пренебрежительно малы по сравнению со значением ε3 е -
. Тогда
деформации с заторможенными процессами релаксации составят:
ε = ε3 е -
(3.29)
Логарифмируя равенство (3.29),
получаем уравнение:
lg ε= lg ε3 - 0,4343б3
t, (3.30)
которое может быть представлено в
виде уравнения прямой
у1 = h + lt (3.31)
где у1=lg ε; l= - 0, 4343
б3; h = lg ε3 .
Аналитическим путем, используя метод
наименьших квадратов, рассчитываются характеристики (постоянные) h и l:
h =
; (3.32)
l =
(3.33)
Определяются параметры ε3,, б3:
ε3 = 10 h; б3 = - l/0,4343; Т3=
1/ б3
Параметры компонент модели,
описывающих замедленные и быстропротекающие процессы релаксации, находятся
аналогичным образом и в той же последовательности, что и для заторможенных
процессов.
При определении параметров компонент
замедленных процессов релаксации из уравнения (3.28) исключаются компоненты
быстрообратимой части деформации, в результате чего оно примет следующий вид:
ε = ε2 е -
+ ε3 е -
(3.34)
Обозначив ε - ε3 е -
= ε´ и
прологарифмировав выражение (3.34) получим уравнение прямой
lgε´= lg ε2 - (б2· lgе) t или у2 = с+
dt (3.35)
Уравнение прямой, аппроксимирующей
зависимость быстрообратимой компоненты деформации от времени, будет иметь
следующий вид:
ε 1е -
= ε -- ε2 е -
- ε3 е -
(3.36)
lgε´´= lg ε1 - 0,4343б1
t или у3 = g+ ft (3.37)
где ε´´= ε -- ε2 е -
- ε3 е -
Аналогичным образом определяются
параметры механической модели для периода нагружения [63, с.130-133].
Следует отметить, что нахождение
параметров данной механической модели является достаточно трудоемким процессом
и требует значительных затрат времени. Учитывая это, в соавторстве со Скоковым
П. И и Горбачиком В. Е был разработан программный продукт для обработки
экспериментальных данных по релаксации деформации материалов [18 - А], который
позволил:
количественно описать изучаемые
релаксационные процессы в материалах с помощью обобщенной трехкомпонентной
модели Кельвина-Фойгта;
в автоматическом режиме произвести
расчет всех параметров данной механической модели;
определить величину полной
деформации исследуемых материалов и ее составных частей;
рассчитать величину деформации
образцов в любой момент времени и определить отклонение полученных расчетных
значений деформации от эмпирических.
Блок-схема этапов обработки экспериментальных
данных по релаксации деформации материалов, описание работы программного
продукта и исходный текст программы представлены в приложениях Ж.1 - Ж.2.
Разработанный программный продукт позволяет
значительно упростить процесс обработки экспериментальных данных, быстро и с
высокой степенью точности осуществлять расчет основных характеристик
вязко-упругих свойств материалов и прогнозировать величину деформации в любой
момент времени.
В ходе автоматизированной обработки полученных в
работе экспериментальных данных (приложение Ж.3) было выявлено, что
трехкомпонентная модель Кельвина - Фойгта с высокой степенью точности описывает
релаксацию деформации всех исследуемых материалов и систем в период нагружения.
Отклонения расчетных значений от эмпирических были несущественны и не превышали
3 % (таблицы Ж.3.1- Ж.3.3).
Значительно хуже с использованием данной модели
описываются релаксационные процессы в период отдыха (таблицы Ж.3.1- Ж.3.3).
Наиболее высокие отклонения расчетных значений от эмпирических при этом
отмечались при описании замедленных и заторможенных процессов релаксации. Как
показано на рисунке 3.12, на участке кривой, характеризующей заторможенные
процессы релаксации, у ряда материалов и большинства систем наблюдается
существенное несовпадение теоретической и экспериментальной кривой релаксации.
Наиболее низкая точность аппроксимации экспериментальных кривых на данном
участке отмечается при описании релаксационных процессов в системах материалов
с верхом из синтетической и искусственной кожи, полученных при двухосном
растяжении. В отдельные моменты времени отклонения расчетных значений от
эмпирических достигали 12 - 21%, что свидетельствует о невысокой объективности
получаемой при помощи данной механической модели прогностической оценки
релаксационных свойств систем материалов.
Учитывая это, для повышения точности
аппроксимации экспериментальных кривых было предложено в обобщенную
трехкомпонентную модель Кельвина - Фойгта дополнительно ввести еще одно звено,
а кривую релаксации деформации разбивать уже не на три, а на четыре участка
(рисунок 3.12).
В этом случае, первый и четвертый участки кривой
будут характеризовать соответственно условно-упругую и условно-пластическую
компоненты деформации, а два центральных участка - условно-эластическую
деформацию с быстрой и условно-эластическую деформацию с медленной скоростью
релаксации.
Уравнение, описывающее зависимость деформации от
времени для четырехкомпонентной механической модели, примет вид:
для периода нагружения:
ε = а1
+
+
+
(3.38)
- для периода отдыха:
ε = ε1
+ ε2
+ ε3
+ ε4
(3.39)
Расчет параметров данных
реологических уравнений осуществлялся в той же последовательности, что и для
обобщенной трехкомпонентной модели Кельвина-Фойгта.
С помощью четырехкомпонентной
механической модели были описаны процессы релаксации деформации материалов и
систем, у которых отмечались наибольшие несовпадения расчетных и эмпирических
значений деформации при использовании трехкомпонентной модели Кельвина-Фойгта.
Как видно на рисунке 3.12,
применение механической модели, состоящей из последовательно соединенных
четырех звеньев Кельвина-Фойгта, даёт значительно лучшее совпадение
теоретической кривой релаксации с эмпирическими данными.
Сравнительный анализ величин
деформации, рассчитанных с использованием трех- и четырехкомпонентных
механических моделей, представленный в таблице 3.19, показал, что
четырехкомпонентная модель позволяет получить более точное количественное
описание процессов релаксации деформации исследованных в работе материалов и их
систем. Отмечаются значительно меньшие отклонения расчетных значений деформации
от экспериментальных.
Данная механическая модель может
быть рекомендована в качестве универсальной модели, позволяющей с достаточной
степенью точности описать процессы релаксации деформации в обувных материалах и
системах материалов для верха обуви, и использоваться на практике для
определения и прогнозирования их реологических свойств.
3.5
Снижение размерности признакового пространства. Выбор наиболее информативных
показателей, характеризующих упруго-пластические свойства материалов и систем
для верха обуви
Как указывалось ранее,
упруго-пластические свойства обувных материалов и их систем могут характеризоваться
одновременно значениями нескольких количественных показателей, определяемых по
различным методикам и при различных видах деформации. При этом исходное число
рассматриваемых, т.е. замеряемых на исследуемых объектах, признаков довольно
велико, что существенно усложняет процесс обработки, наглядного представления и
интерпретации полученной в ходе исследований информации.
В таких случаях часто возникает
необходимость в снижении размерности признакового пространства и выделении
наиболее информативных признаков с точки зрения полноты и точности описания
изучаемой характеристики. Чем меньшее число признаков используется для
характеристики изучаемого явления, тем проще, нагляднее и содержательнее
интерпретация окончательных результатов [137, с.5].
Наиболее распространенным методом
снижения размерности признакового пространства является метод главных компонент
[137-139].
Таблица 3.19 - Сравнительный анализ расчетных
значений деформации, полученных с использованием трех- и четырехкомпонентной
механических моделей
|
Момент
времени, τ мин
|
Значения
показателей
|
|
СК
марки 2 + термобязь + ткань обувная (двухосное растяжение)
|
СК
марки 2 +трикотаж + ткань экспериментальная (двухосное растяжение)
|
ИК
«CAPRETTO
P
UNDRUSH»
(одноосное растяжение)
|
|
εэксп, %
|
4-х
компонент. модель
|
3-х
компонент. модель
|
εэксп, %
|
4-х
компонент. модель
|
3-х
компонент. модель
|
εэксп, %
|
4-х
компонент. модель
|
3-х
компонент. модель
|
|
|
εрасч,%
|
∆,%
|
εрасч,%
|
∆,
%
|
|
εрасч,%
|
∆
, %
|
εрасч,%
|
∆
, %
|
|
εрасч,%
|
∆,
%
|
εрасч,%
|
∆,
%
|
|
1
|
2
|
3
|
4
|
5
|
6
|
7
|
8
|
9
|
10
|
11
|
12
|
13
|
14
|
15
|
16
|
|
0,08
|
3,56
|
3,537
|
0,59
|
3,536
|
0,60
|
3,34
|
3,404
|
-1,99
|
3,348
|
-0,33
|
1,95
|
1,942
|
0,42
|
1,942
|
0,40
|
|
0,30
|
3,21
|
3,221
|
-0,50
|
3,235
|
-0,92
|
2,85
|
2,802
|
1,82
|
2,841
|
0,46
|
1,80
|
1,814
|
-0,75
|
1,813
|
-0,72
|
|
0,50
|
3,04
|
3,032
|
0,13
|
3,024
|
0,38
|
2,56
|
2,564
|
-0,33
|
2,560
|
-0,16
|
1,72
|
1,714
|
0,35
|
1,714
|
0,33
|
|
1,00
|
2,67
|
2,711
|
-1,48
|
2,667
|
0,17
|
2,22
|
2,298
|
-3,43
|
2,217
|
0,21
|
1,45
|
1,521
|
-4,87
|
1,526
|
-5,24
|
|
2,00
|
2,26
|
2,272
|
-0,69
|
2,275
|
-0,80
|
1,97
|
2,006
|
-1,75
|
1,989
|
-0,87
|
1,19
|
1,282
|
-7,74
|
1,302
|
-9,43
|
|
3,00
|
1,94
|
1,964
|
-1,04
|
2,030
|
-4,44
|
1,81
|
1,810
|
0,22
|
1,865
|
-2,81
|
1,07
|
1,146
|
-7,07
|
1,177
|
-9,99
|
|
5,00
|
1,62
|
1,584
|
2,45
|
1,685
|
-3,78
|
1,63
|
1,578
|
2,90
|
1,670
|
-2,76
|
0,99
|
0,997
|
-0,69
|
1,030
|
-4,08
|
|
10,00
|
1,23
|
1,235
|
-0,19
|
1,216
|
1,38
|
1,37
|
1,369
|
-0,17
|
1,351
|
1,21
|
0,87
|
0,848
|
2,55
|
0,832
|
4,34
|
|
30,00
|
1,00
|
0,998
|
-0,01
|
0,890
|
10,79
|
1,15
|
1,152
|
0
|
1,004
|
12,85
|
0,70
|
0,700
|
-0,02
|
0,624
|
10,88
|
|
60,00
|
0,86
|
0,859
|
0
|
0,865
|
-0,75
|
0,97
|
0,974
|
0
|
0,957
|
1,76
|
0,60
|
0,600
|
0
|
0,596
|
0,65
|
|
90,00
|
0,75
|
0,793
|
-5,44
|
0,850
|
-13,03
|
0,77
|
0,874
|
-13,09
|
0,939
|
-21,42
|
0,50
|
0,547
|
-9,32
|
0,586
|
-17,09
|
|
1440,00
|
0,38
|
0,380
|
0
|
0,378
|
0,53
|
0,41
|
0,410
|
0
|
0,407
|
0,77
|
0,27
|
0,270
|
0
|
0,268
|
0,64
|
Метод главных компонент - это метод
преобразования исходной последовательности взаимосвязанных переменных xij
в новое множество независимых переменных Fj,
называемых главными компонентами, каждая из которых представляет собой
ортогональную линейную комбинацию непосредственно измеренных на объектах
исходных признаков.
Fj = l1j x1 + l2j x2 + ……+ lmj xm= Lj́ X;
(j= 1, …, m) (3.40)
(j,k = 1, …, m, i ≠ k)
где Fj -j-тая главная
компонента. Максимально возможное число главных компонент равно количеству
исходных признаков;
lj1, lj2, …,ljm - факторные
нагрузки, характеризующие существенность влияния каждого фактора в вариации
данного признака (параметры модели, подлежащие определению).
Линейные комбинации выбираются таким
образом, что среди всех возможных линейных нормированных комбинаций исходных
признаков первая главная компонента F1 обладает
наибольшей дисперсией. Графически это выглядит как ориентация новой
координатной оси у1 вдоль направления наибольшей вытянутости эллипсоида
рассеивания объектов исследуемой выборки в пространстве признаков х1,…, хm. Вторая
главная компонента имеет наибольшую дисперсию среди всех оставшихся линейных
преобразований, некоррелированных с первой главной компонентой. Она
интерпретируется как направление наибольшей вытянутости эллипсоида рассеивания,
перпендикулярное первой главной компоненте. Следующие главные компоненты
определяются по аналогичной схеме.
Учитывая то, что главные компоненты
упорядочены по степени рассеяния в изучаемой совокупности объектов, т.е. первая
главная компонента определяет максимальную дисперсию исходного массива
признаков Х, а дисперсии последующих убывают с ростом номера компоненты, то
метод главных компонент позволяет осуществить переход к пространству меньшей
размерности используя минимальное число первых главных компонент, объясняющих
наибольшую долю суммарной дисперсии исходных признаков.
Метод главных компонент позволяет
решать следующие задачи:
понижение размерности анализируемого
пространства признаков и описание исследуемого процесса числом главных
компонент, значительно меньшим, чем число исходных признаков. При этом,
выделенные главные компоненты содержат в среднем больше информации, чем
отдельные непосредственно замеряемые признаки;
выявление скрытых, но объективно
существующих закономерностей, определяемых воздействием внутренних и внешних
причин;
классификация (группирование)
объектов на основе сжатого признакового пространства, выявление исходных
признаков, наиболее тесно связанных с найденными главными компонентами;
прогнозирование значений интересующих
параметров на основе уравнения регрессии, построенного по выделенным главным
компонентам.
Снижение размерности исходного
признакового пространства методом главных компонент осуществляется в следующей
последовательности:
• Формируется матрица исходных
данных размерностью m × n, в которой
каждая строка соответствует одному из объектов (i = 1,2,…, n), а каждый
столбец - одному из признаков (j = 1,2,…, m).
Таблица 3.20 - Матрица исходных
данных
|
Номер
объекта
|
Номер
признака
|
|
1
|
2
|
3
|
…
|
m
|
|
1
2 3 ... … … n
|
х12
х22 х32 … … … хn2
|
х13
х23 х33 … … … хn3
|
…
… … … … … …
|
х1m х2m х3m … … … хnm
|
В случае, когда признаки, характеризующие объект
наблюдения, имеют различную размерность, осуществляется стандартизация исходных
значений переменных (z
- преобразование) по формуле:
zij =
(3.41)
обувь верх стопа
приформовываемость
где
- среднее арифметическое значение
признака;
sхj - дисперсия
признака.
;
(3.42)
Стандартизированные переменные
характеризуются следующими свойствами:
; sхj = 1 (3.43)
• Основным объектом преобразований в
методе главных компонент является корреляционная матрица из коэффициентов
корреляции Пирсона, полученная путем обработки массива исходных данных Х.
Выделение общих факторов и сжатие информации сводится к воспроизведению с той
или иной степенью точности исходной корреляционной матрицы, т.е.
предполагается, что редуцированная корреляционная матрица получена с
использованием тех же объектов, но описанных меньшим числом переменных. Таким
образом, фактически под сжатием информации понимается уменьшение размерности
корреляционной матрицы, а не самих данных.
Коэффициенты корреляции между
рассматриваемыми признаками рассчитываются по формуле:
, j = 1,…..m, k = 1,…..m (3.44)
с учетом равенств (3.43) формула
(3.44) примет вид:
=
(3.45)
По коэффициентам корреляции
составляется матрица R корреляции между признаками
размером m × m, которая
является исходным элементом для дальнейших расчетов:
(3.46)
• Для нахождения параметров модели
(3.40) определяются собственные значения и соответствующие им собственные
векторы построенной корреляционной матрицы.
Собственными значениями квадратной
матрицы R порядка m называются
такие значения λj, при
которых система следующих m уравнений имеет нетривиальное
решение:
RLj = λjLj (3.47)
где Lj
-собственные векторы матрицы R, соответствующие λj; j=1,… m.
Преобразуя равенство (3.47) получают
уравнение вида:
(R - λjI) Lj =0 (3.48)
где I - единичная
матрица.
Уравнение (3.48) имеет нетривиальные
решения при условии, что определитель матрицы (R - λI )обращается
в нуль, т.е.:
= 0 или
= 0 (3.49)
Так как порядок матрицы R равен m, то ∆(λ) является
многочленом m-ой степени
относительно λ, т.е.
∆(λ) = λ m + а1 λ m-1+ …+ аm-1 λ + аm (3.50)
Корни уравнения ∆(λ) = 0 дадут
собственные значения λ1, λ2, … , λm, при
которых исходная система уравнений имеет нетривиальные решения.
Собственные векторы Lj,
соответствующие этим собственным значениям, образуют факторы Fj. Элементы
собственных векторов lj1, lj2, …,ljm получили
название факторных нагрузок, которые представляют собой значения коэффициентов
корреляции между соответствующими признаками и факторами. Чем теснее связь
данного признака с рассматриваемым фактором, тем выше значение факторной
нагрузки. Положительный знак факторной нагрузки указывает на прямую (а
отрицательный знак - на обратную) связь данного признака с фактором.
Данные о факторных нагрузках
позволяют сформулировать выводы о наборе исходных признаков, отражающих тот или
иной фактор, и об относительном весе отдельного признака в структуре каждого
фактора.
В соответствии с определением
главные компоненты занумерованы в порядке убывания их дисперсий, т.е. S (F1) > S (F2) > …
> S (Fm), причем:
S (Fj) = ∑(
Lj́
X)2
= Lj́RLj
(3.51)
Умножив равенство (3.47) на Lj́ и
сопоставив его с (3.51) получим, что:
S (Fj)= λj (3.52)
Таким образом, величина λj
представляет собой не что иное, как часть суммарной дисперсии совокупности
преобразованных данных, объясненную главной компонентой Fj.
Если переменные стандартизированы,
то λ1 > λ2 > …
> λ m , т. е.
первые несколько членов разложения дают основной вклад в объяснение вариации
величин исходных данных. В этом случае компоненты с малыми величинами
собственных значений могут при анализе не учитываться и совокупность будет
адекватно представлена с помощью первых k компонент.
Решение о том, сколько последних
главных компонент можно без особого ущерба изъять из рассмотрения, сократив тем
самым размерность исследуемого пространства, выносится на основании величины
показателя полноты факторизации γ, %, характеризующего долю
суммарной дисперсии, объясняемой первыми k
компонентами:
=
(3.53)
где Sk - вклад
первых k компонент в
суммарную дисперсию признаков;
Sm - суммарная
дисперсия всех признаков.
• Интерпретация выявленных главных
компонент.
Для интерпретации компонент
необходимо приписать каждой из них некоторый содержательный смысл, связанный с
предметной областью. Содержательный смысл компоненты выявляется на основе
признаков, имеющих высокие факторные нагрузки. На основе анализа величин
факторных нагрузок выделяются признаки, наиболее тесно связанные с полученными
главными компонентами.
Прямое факторное решение не всегда
позволяет дать достаточно четкую содержательную интерпретацию компонент.
Факторные нагрузки для рассматриваемой главной компоненты могут быть близкими
по величине и одинаковыми по знаку у многих признаков, так что трудно
однозначно определить, какая компонента стоит за выделенной комбинацией
признаков. В этом случае, для повышения интерпретируемости компонент используют
их вращение, которое позволяет сделать матрицу факторных нагрузок более
«контрастной» за счет увеличения нагрузок по одним признакам и уменьшения по
другим, что способствует более отчетливому выявлению групп признаков,
определяющих ту или иную компоненту. Главным компонентам дается название в
зависимости от того, с какой группой признаков они наиболее тесно связаны.
В результате применения метода
главных компонент получается информация об исследуемом явлении в сжатом виде.
Снижение размерности изучаемого в
работе признакового пространства осуществлялось с использованием прикладного
пакета программ «STATISTICA» [19 - А.].
На основании экспериментальных
данных об упруго-пластических свойствах исследуемых материалов и систем,
полученных в разделах 3.3, 3.4, формировались матрицы исходных данных для
материалов верха, текстильных материалов для подкладки и межподкладки и систем
материалов для верха обуви, представленные в приложении И, в таблицах И.2, И.6,
И.10.
При снижении размерности
признакового пространства для материалов наружных деталей верха учитывалось 18
показателей упруго-пластических свойств, для текстильных материалов - 16
показателей, для систем материалов - 14 показателей. Перечень показателей
упруго-пластических свойств, учитываемых в ходе снижения размерности исходного
признакового пространства, представлен в таблице И.1.
Учитывая то, что исследуемые
признаки имеют различную размерность, осуществлялась стандартизация исходных
данных. На основании полученных нормированных значений рассчитывались
коэффициенты корреляции между изучаемыми признаками и формировались
корреляционные матрицы для материалов наружных деталей верха, текстильных
материалов и систем материалов, представленные в таблицах И.3, И.7, И.11.
Анализ полученных коэффициентов
корреляции показал, что в большинстве случаев между изучаемыми показателями
упруго-пластических свойств наблюдается тесная корреляционная связь,
следовательно, данные избыточны с точки зрения представленной информации, и
можно осуществить снижение размерности исходного признакового пространства с
использованием метода главных компонент.
В ходе анализа внутренней структуры
полученных корреляционных матриц были получены собственные значения главных
компонент, величины относительного и накопленного вклада главных компонент в
дисперсии всех признаков, представленные в таблицах И.4, И.8, И.12.
На рисунке 3.13 показано, как
меняется доля суммарной дисперсии, заключенной в первых k главных
компонентах. Из рисунка видно, что на первые две компоненты приходится основная
доля (74 - 79 %) процента дисперсии исходных данных. Для наружных материалов
верха (рисунок 3.13, а) и систем материалов (рисунок 3.13, в) в первых четырех
компонентах аккумулируется около 95 % суммарной дисперсии исходных признаков,
для текстильных материалов (рисунок 3.13, б) 97,7% суммарной дисперсии
приходится на первые пять главных компонент. Вклад последующих компонент в
суммарную дисперсию признаков незначителен, а, следовательно, их можно
исключить из дальнейшего рассмотрения.
Таким образом, для достоверной
характеристики упруго-пластических свойств исследуемых объектов вполне
достаточно использования первых двух главных компонент. Однако, в целях
получения более полной информации об изучаемом явлении, оценка
упруго-пластических свойств материалов для наружных деталей верха обуви и
систем материалов осуществлялась по четырем первым главным компонентам, а для
текстильных материалов - по пяти компонентам.

а) б)
в)
Рисунок 3.13 - Накопленная дисперсия
первых k главных
компонент
Как указывалось выше, для облегчения
интерпретации выделенных главных компонент необходимо более тесно привязать их
к определенным группам наблюдавшихся признаков, что достигалось путем
ортогонального вращения осей главных компонент по методу Varimax. Матрицы
факторных нагрузок главных компонент после операции вращения представлены в
таблицах И.5, И.9, И.13.
Анализ нагрузок исходных признаков
на выделенные главные компоненты показал, что для материалов наружных деталей
верха обуви первая главная компонента, имеющая наиболее существенный вклад в
общую дисперсию признаков, тесно связана положительными весами с такими
показателями как: остаточная деформация и пластичность при двухосном растяжении
на приборе ПОИК (коэффициент корреляции составил 0,953), остаточная деформация
и пластичность при двухосном растяжении на приборе В3030 (r = 0,883),
доля условно-пластической компоненты деформации при двухосном растяжении (r = 0,835).
Это позволяет интерпретировать первую главную компоненту как агрегированную
характеристику пластических свойств материалов при двухосном растяжении. При
этом наибольшей значимостью обладает показатель пластичности на приборе ПОИК.
Вторая главная компонента имеет
сильную обратную связь с долей условно-эластической компоненты деформации при
одноосном растяжении (r = -0,945) и показателем
относительной затраченной энергии при одноосном растяжении (r = -0,747).
Третья главная компонента прямо и сильно связана с долей условно-пластической
компоненты деформации при одноосном растяжении (r = 0,802), а
четвертая главная компонента отмечена высокой факторной нагрузкой на показатель
доли условно-эластической компоненты деформации при двухосном растяжении (r = 0,915).
Три последние главные компоненты могут быть интерпретированы как характеристики
реологических свойств материалов при одноосном и двухосном растяжении.
Таким образом, в качестве наиболее
информативных параметров при оценке упруго-пластических свойств материалов для
наружных деталей верха обуви целесообразно использовать следующие показатели:
пластичность на приборе ПОИК с относительной долей суммарной дисперсии 58,16 %,
доля условно-эластической компоненты деформации при одноосном растяжении с
относительной долей суммарной дисперсии 18,43 %, доля условно-пластической
компоненты деформации при одноосном растяжении с относительной долей суммарной
дисперсии 10, 41 %, и доля условно-эластической компоненты деформации при
двухосном растяжении с относительной долей суммарной дисперсии 7,94 %.
Анализ данных, представленных в
таблице И.9 показал, что у текстильных материалов для подкладки и межподкладки
обуви первая главная компонента объединяет признаки, характеризующие
пластические свойства материалов при одноосном растяжении. Коэффициент
корреляции главной компоненты с обозначенными показателями составил в среднем
0,93. Наиболее значимым является показатель пластичности, определенный при
растяжении материалов до нагрузки 0,5 Рраз (r = 0,931).
Вторая главная компонента характеризуется сильной обратной связью с долей
условно-эластической компоненты деформации при одноосном растяжении (r = - 0,950)
и долей условно-пластической компоненты деформации при двухосном растяжении (r = - 0,878).
Третья главная компонента текстильных материалов прямо и сильно связана с
величиной относительной затраченной энергии при одноосном растяжении (r = 0,855),
четвертая главная компонента имеет сильную положительную связь с долей
условно-эластической составляющей деформации при двухосном растяжении (r = 0,960).
Пятая главная компонента может быть представлена как характеристика
пластических свойств материалов при двухосном растяжении, так как отмечена
высокой факторной нагрузкой с показателем пластичности, определенным на приборе
В3030 (r = - 0,957).
Таким образом, наиболее
информативными показателями для оценки упруго-пластических свойств текстильных
материалов можно считать: пластичность при одноосном растяжении до нагрузки 0,5
Рраз с относительной долей суммарной дисперсии 50,59 %, долю
условно-эластической компоненты деформации при одноосном растяжении с
относительной долей суммарной дисперсии 23,41 %, относительную затраченную
энергию при одноосном растяжении до нагрузки 0,5 Рраз с долей суммарной дисперсии
10,37 %, долю условно-эластической компоненты деформации при двухосном
растяжении с относительной долей суммарной дисперсии 6,94 % и пластичность при
двухосном растяжении на приборе В 3030 с относительной долей суммарной
дисперсии 6,42 %.
Для систем материалов анализ
факторных нагрузок на главные компоненты, представленных в таблице И.13,
показал, что первая главная компонента имеет тесную положительную связь с
показателями остаточной деформации и пластичности при двухосном растяжении на
приборе В 3030 (r = 0,983), долей
условно-пластической компоненты деформации при двухосном растяжении (r = 0,967),
остаточной деформацией и пластичностью при одноосном растяжении (r = 0,838).
Вторая главная компонента связана положительными весами с величиной диссипации
механической энергии при двухосном растяжении (r = 0,933),
относительной затраченной энергией при двухосном растяжении (r = 0,857) и
величиной диссипации механической энергии при одноосном растяжении (r = 0,833).
Третья главная компонента имеет сильную обратную связь с величиной доли
условно-упругой составляющей деформации при двухосном растяжении (r = -0,832),
а четвертая главная компонента характеризуется положительной связью с
показателем доли условно-эластической компоненты деформации при одноосном растяжении
(r = 0,953).
Для характеристики
упруго-пластических свойств систем материалов наиболее информативными
показателями являются: пластичность при двухосном растяжении на приборе В3030 с
относительной долей суммарной дисперсии 59,03 %, относительная затраченная
энергия при двухосном растяжении с относительной долей суммарной дисперсии 20,4
%, доля условно-упругой составляющей деформации при двухосном растяжении с
относительной долей суммарной дисперсии 10,18 % и доля условно-эластической
компоненты деформации при одноосном растяжении с относительной долей суммарной
дисперсии 5,27 %.
Таким образом, применение метода
главных компонент позволило из большого перечня исходных признаков выделить
наиболее информативные показатели, характеризующие упруго-пластические свойства
материалов заготовки и их систем [19 - А.].
Выводы по
главе 3
. Проведены систематизация и анализ
существующих методов исследования упруго-пластических свойств материалов для
верха обуви.
Обозначена необходимость разработки
единых подходов к методологии оценки упруго-пластических свойств различных по
структуре материалов, составляющих заготовку верха обуви, с целью получения
сопоставимых результатов, а также необходимость создания новых
научно-обоснованных методов оценки упруго-пластических свойств материалов,
максимально приближающих условия испытания образцов к реальным условиям работы
материалов в процессе производства и эксплуатации обуви.
. Разработан автоматизированный
комплекс для оценки упруго-пластических свойств материалов, позволяющий в
автоматическом режиме получать информацию о комплексе упруго-пластических
свойствах обувных материалов с целью объективной оценки их технологической
пригодности.
. Проведено комплексное исследование
и получены новые данные об упруго-пластических свойствах широкого круга
современных материалов для верха, подкладки и межподкладки обуви с
использованием различных методик, основанных на различных видах деформации,
которые позволяют обеспечить их эффективное использование в ходе
технологического процесса производства обуви.
Установлено, что в отличие от
искусственных кож на тканевой основе, обладающих низкими по сравнению с
натуральными кожами пластическими свойствами, пластические свойства современных
синтетических кож на нетканой основе могут колебаться в широких пределах и в
отдельных случаях быть сопоставимы с пластическими свойствами натуральных кож.
. Исследованы упруго-пластические
свойства систем материалов с различным сочетанием комплектующих при различных
видах деформации.
Установлено, что наибольшее влияние
на упруго-пластические свойства систем материалов оказывает материал верха.
Системы материалов с верхом из натуральной кожи, межподкладкой и подкладкой из
ткани обладают более высокими показателями пластических свойств, чем системы с
верхом из искусственных и синтетических кож, межподкладкой и подкладкой из
трикотажных полотен.
. Разработан метод исследования
релаксации деформации обувных материалов и систем при двухосном растяжении с
использованием серийно выпускаемого прибора ЖНЗО - 2, обеспечивающий
возможность изучения релаксационных процессов в материалах без использования
сложного специального оборудования.
. Исследована кинетика
релаксационных процессов в различных по структуре материалах и системах
материалов для верха обуви в условиях одноосного и двухосного растяжения.
Показано, что реологические свойства
материалов определяются их строением. Реологические свойства систем материалов
в значительной степени зависят от свойств их комплектующих.
. Разработан программный продукт для
обработки экспериментальных данных по релаксации деформации обувных материалов
и систем, позволяющий быстро и с высокой степенью точности рассчитать величину
полной деформации образцов и ее составных частей, описать изучаемый процесс с
помощью обобщенной трехкомпонентной модели Кельвина - Фойгта и произвести
расчет её параметров для периодов нагружения и отдыха, прогнозировать величину
деформации образцов в любой момент времени.
. Осуществлено моделирование
процессов релаксации деформации различных по структуре материалов и систем
материалов для верха обуви.
Установлено, что использование
четырехкомпонентной механической модели дает более точное количественное
описание процессов релаксации деформации исследованных в работе материалов и их
систем, по сравнению с трехкомпонентной моделью Кельвина - Фойгта.
. С использованием метода главных
компонент выполнено сокращение размерности исходного признакового пространства
и выявлены наиболее информативные показатели, характеризующие
упруго-пластические свойства материалов и систем материалов для верха обуви.
Установлено, что для характеристики
упруго-пластических свойств материалов наружных деталей верха наиболее
целесообразно использовать показатели: пластичность на приборе ПОИК, доля
условно-эластической компоненты деформации при одноосном и двухосном
растяжении, доля условно-пластической компоненты деформации при одноосном
растяжении.
Наиболее информативными показателями
для оценки упруго-пластических свойств текстильных материалов являются:
пластичность при одноосном растяжении до нагрузки 0,5 Рраз, доля
условно-эластической компоненты деформации при одноосном и двухосном
растяжении, относительная затраченная энергия при одноосном растяжении до
нагрузки 0,5 Рраз и пластичность при двухосном растяжении на приборе В 3030.
Для систем материалов наиболее
информативными показателями являются: пластичность при двухосном растяжении на
приборе В3030, относительная затраченная энергия при двухосном растяжении, доля
условно-упругой составляющей деформации при двухосном растяжении и доля
условно-эластической компоненты деформации при одноосном растяжении.
ГЛАВА 4.ВЛИЯНИЕ РЕЖИМОВ
ТЕХНОЛОГИЧЕСКОЙ ОБРАБОТКИ И ЦИКЛИЧЕСКОГО ХАРАКТЕРА НАГРУЖЕНИЯ НА
УПРУГО-ПЛАСТИЧЕСКИЕ СВОЙСТВА СИСТЕМ МАТЕРИАЛОВ ДЛЯ ВЕРХА ОБУВИ
4.1 Влияние
режимов технологической обработки на упруго-пластические свойства систем
материалов для верха обуви
Как известно, в процессе
производства верх обуви подвергается формованию на колодке, а также
предварительной и окончательной тепловой или влажно-тепловой обработке, в результате
которой материалы заготовки значительно изменяют свои упруго-пластические
свойства. Это может существенно повлиять на способность верха обуви в процессе
эксплуатации приформовываться к стопе. Поэтому необходимо изучить влияние
технологических факторов на характер изменения упруго-пластических свойств
систем материалов для верха обуви и учитывать это при прогнозировании
приформовываемости верха обуви к стопе.
С этой целью системы материалов, имитирующие
верх обуви, подвергались операциям формования и термофиксации, моделирующим
реальный технологический процесс производства мужских полуботинок клеевого
метода крепления на СООО «СанМарко» (г. Витебск).
Системы материалов формировались в соответствии
с методикой, описанной в разделе 3.3.4. В качестве материалов наружных деталей
верха обуви были использованы яловка эластичная. Наппа и Nero,
синтетическая кожа на нетканой основе марки «POSITANO
NAT BRUSH».
Для межподкладки применялись термобязь, термотрикотаж для межподкладки обуви
(поверхностная плотность 172 г/м2) и нетканое полотно «Спанбонд» с термоклеевым
покрытием. В качестве материалов подкладки были выбраны тик-саржа и трикотажное
полотно для подкладки обуви (поверхностная плотность 292г/м2) с термоклеевым
покрытием. Общий диаметр образцов составлял 90мм с рабочим диаметром 60 мм.
Последовательность и режимы технологической
обработки образцов представлены на рисунке 4.1.
Формование образцов осуществлялось на приборе,
разработанном на кафедре «Конструирование и технология изделий из кожи» УО
«ВГТУ», обеспечивающем двухосное растяжение образцов сферическим пуансоном
[140].
Рисунок 4.1 - Схема технологической обработки
образцов
В процессе формования образцы деформировались на
15%. Примерно такие деформации наиболее часто возникают при формовании
заготовок на колодке в процессе производства обуви.
Высота поднятия сферического пуансона,
соответствующая данной величине деформации образцов, определялась из формулы
(3.9) и составила Н = 15,3 мм.
Оценка упруго-пластических свойств систем
материалов после технологической обработки осуществлялась по величине
остаточной стрелы прогиба образцов hост
, мм, замеры которой производились через 0,5; 60 ; 1440 минут и 7 суток после
освобождения образцов из зажимов прибора в соответствии со схемой,
представленной на рисунке 4.2, с помощью электронно-цифрового штангенрейсмаса с
точностью до 0,01 мм.
Рисунок 4.2 - Схема замера остаточной стрелы
прогиба образцов
Анализ полученных экспериментальных данных,
представленных на рисунке 4.3, показал, что величина остаточной стрелы прогиба
исследуемых систем материалов после операций формования и термообработки
колеблется в пределах 12,5 - 15,4 мм и существенно снижается с увеличением
времени отдыха образцов после снятия внешних деформирующих усилий.
|
|
-
0,5 мин.;
|
|
-
60 мин.;
|
|
-
1440 мин.;
|
|
-
7 суток
|
1 - верх + термобязь + подкладка; 2 - верх +
трикотаж + подкладка; 3 - верх + нетканый материал + подкладка
Рисунок 4.3 - Упруго-пластические свойства
систем материалов после технологической обработки в момент времени τ
Интенсивность протекания релаксационных
процессов в период отдыха в значительной степени определяется составом
комплектующих системы. Так, в течение 7 суток отдыха системы с верхом из кожи Nero
сохраняют до 84 - 90% остаточной деформации, приобретенной в ходе формования, в
то время как системы с верхом из кожи Наппа - только 77- 84%. Наиболее
значительные релаксационные процессы отмечаются у систем с верхом из
синтетической кожи, величина остаточной стрелы прогиба которых в течение
первого часа отдыха снижается в 1,07 -1,12 раза, в течение последующих 7 суток
отдыха в среднем в 1,27 раза, в результате чего они сохраняют лишь около 78 %
остаточной деформации, полученной ими в ходе формования и термообработки.
Наибольшая величина остаточной стрелы прогиба
после 7 суток пролежки наблюдалась у систем, где в качестве материала верха
использовалась натуральная кожа Nero.
Ее величина составила 12,76-13,26 мм, что в 1,08-1,13 раза превышает значение
данного показателя у систем с верхом из натуральной кожи Наппа и в 1,3 раза у
систем с верхом из синтетической кожи «POSITANO
NAT BRUSH».
Системы, где в качестве межподкладки
использовалась термобязь, обладают более высокими значениями остаточной стрелы
прогиба, чем системы с межподкладкой из нетканых и трикотажных полотен.
Использование в качестве материала подкладки трикотажного полотна также
обеспечивает более высокие значения остаточной стрелы прогиба, чем подкладка из
тик-саржи.
4.2 Исследование
упруго-пластических свойств систем материалов при многократном растяжении
В процессе носки верх обуви в области пучков
подвергается циклическим деформациям растяжения. Под действием этих деформаций
в материалах заготовки происходит постепенное накапливание остаточных
деформаций, что приводит к изменению формы и размеров верха обуви и
обуславливает его приформовываемость к стопе. В связи с этим для объективной
оценки приформовываемости верха обуви к стопе в процессе эксплуатации особый
интерес представляет изучение влияния циклических деформаций на упруго-пластические
свойства систем материалов, имитирующих заготовку верха обуви.
Анализ литературных источников показал, что
работ, посвященных изучению данного вопроса крайне мало [141 - 145, 36, 48,
62], несмотря на то, что знание показателей свойств при данном виде нагружения
имеет большое практическое значение при оценке качества материалов и обуви.
Первые исследования обувных материалов при
многократном растяжении проводились в МТИЛПе под руководством Ю.П. Зыбина [141,
с.47 - 49]. Исследование материалов осуществлялось при одноосном растяжении с
сохранением постоянства напряжения при каждом повторном цикле или постоянства
величины деформации при каждом цикле. Однако данные испытания больше
характеризовали свойства самого материала, в частности его долговечность и выносливость,
и мало отражали его поведение при реальных условиях эксплуатации.
В работе [142] изучался характер проявления
остаточных деформаций в искусственной коже под действием динамических нагрузок.
При этом испытание образцов осуществлялось в условиях одноосного растяжения, в
то время как при производстве и эксплуатации обуви преобладающим является
двухосное растяжение.
Авторами работ [143 -145] изучались компоненты
деформации и релаксационная способность различных текстильных материалов при
многократном пространственном растяжении. Испытания образцов осуществлялось при
постоянной амплитуде давления, что не соответствует реальным условиям
нагружения материалов в процессе носки обуви. Кроме того, для исследований
использовалось достаточно сложное специальное оборудование.
В ряде работ зарубежных авторов [36, 48]
осуществлялось исследование упруго-пластических свойств натуральных и
синтетических кож при циклическом растяжении в диапазоне небольших деформаций,
близких к условиям эксплуатации верха обуви: ε
= 2, 5, 7 %. Однако, при этом образцы подвергались одноосному растяжению, что
не согласуется с реальным характером деформации деталей верха обуви в процессе
ее эксплуатации. Испытывались, как правило, одиночные материалы, в то время как
заготовка представляет собой систему, состоящую из различных по структуре и
свойствам материалов. Очевидно, что свойства системы будут существенно
отличаться от свойств одиночных материалов.
Метод испытания материалов и систем в условиях
многократного двухосного растяжения, разработанный в ЦНИИКПе [62], наиболее
точно моделировал реальное механическое взаимодействие стопы с обувью в
процессе носки, однако не учитывал того, что в процессе производства заготовка
верха обуви подвергается технологической обработке, которая существенно
изменяет свойства систем материалов.
Большинство обозначенных
методов не получили широкого практического применения и используются, главным
образом, при проведении отдельных исследований. Кроме того, практически ни
одним из перечисленных методов невозможно в полной мере смоделировать те
механические воздействия на обувь, которые обуславливают ее приформовываемость
в процессе носки. В связи с этим возникла необходимость в разработке нового
метода, позволяющего испытывать системы материалов в динамических условиях,
максимально моделирующих реальные условия работы пакета верха обуви в процессе
эксплуатации.
4.2.1 Разработка метода
испытания систем материалов при многократном растяжении
Согласно ряду научных исследований [25, с.151,
24, с.158, 26, с.108], в процессе ходьбы стопа увеличивает свои размеры в
области пучков примерно на 6-10 %. В результате данного изменения
осуществляется комплексное механическое воздействие на верх обуви: стопа давит
на него и растягивает. Данное воздействие носит циклический характер. Так как в
процессе ходьбы преобладающим видом деформации является двухосное растяжение,
то, в целях создания условий нагружения, максимально моделирующих механическое
взаимодействие стопы с обувью, испытания образцов необходимо осуществлять именно
при данном виде деформации.
В зависимости от задаваемого и поддерживаемого
постоянным в каждом цикле параметра растяжения выделяют многоцикловые испытания
с сохранением заданной циклической нагрузки (Р = const)
или заданной циклической деформации (ε
= const). Учитывая то, что
в процессе эксплуатации величина давления, испытываемого деталями верха со
стороны стопы, не остается неизменной, а постепенно снижается по мере
накопления в структуре материалов остаточных деформаций, циклические испытания
с сохранением постоянства амплитуды заданной циклической деформации в большей
степени моделируют работу верха обуви.
С учетом обозначенных положений в соавторстве с
Горбачиком В. Е. был разработан новый метод испытания систем материалов при
многократном растяжении [20 - А., 21 - А., 22 - А.].
Для испытания образцов использовалось устройство
для определения деформационных характеристик материалов [146], позволяющее
осуществлять двухосное многократное растяжение образцов с постоянной амплитудой
заданной циклической деформации, внешний вид которого представлен на рисунке
4.4.
Условия испытания образцов на
обозначенном устройстве были максимально приближены к реальным условиям работы
верха обуви в процессе носки. Образцам диаметром 90 мм с рабочим диаметром 60
мм, прошедшим предварительную технологическую обработку, сообщалось двухосное
растяжение на величину относительной деформации 8 %, что соответствует средним
значениям деформации верха обуви в области пучков в процессе ходьбы. Форма и
размер (r = 12,5 мм)
сферического пуансона, с помощью которого осуществлялась деформация образцов,
соответствовали головке первой плюсневой кости взрослого человека, которая в
процессе движения наиболее интенсивно воздействует на материалы верха обуви.
Скорость механического воздействия на образцы составляла 90 циклов в минуту,
что соответствует ускоренному темпу ходьбы человека и позволяет существенно
сократить время испытания.
Кинематическая схема устройства для определения
деформационных характеристик материалов при многократном растяжении
представлена на рисунке 4.5.
Принцип работы устройства заключается в
следующем. От двигателя 5
Рисунок 4.4 - Устройство для определения
деформационных характеристик материалов при многократном растяжении
Рисунок 4.5 - Кинематическая схема устройства
для определения деформационных характеристик материалов при многократном
растяжении
посредством ременной передачи 4 вращательный
момент передается на червячный редуктор 3, который приводит в движение
эксцентрик 10. Толкатель 11 от эксцентрика посредством коромысла 1 сообщает
пуансону 7 движение вверх-вниз. Совершая движение вниз, пуансон оказывает
давление на образец , закрепленный в стакане 8, расположенном на основании
устройства 9, и деформирует его.
Учитывая то, что в процессе ходьбы
осуществляется комплексное силовое и деформационное взаимодействие стопы с
обувью, то для объективной характеристики способности систем материалов,
имитирующих заготовку верха обуви, приформовываться было изучено совокупное
влияние обозначенных параметров на свойства систем материалов.
Для того чтобы проследить характер изменения
усилия, возникающего в образцах в процессе деформации, на верхней балке
устройства были наклеены тензодатчики (R=200
Ом).
Подключение осуществлялось по полумостовой схеме (рисунок 4.6). Сигнал
подавался на усилитель 8 АНЧ, а затем на осциллограф Н-115, по размаху шлейфа
которого фиксировалась величина усилия, возникающего в образцах в ходе
испытания.
D1 - активный
датчик; D2 -компенсационный
датчик
Рисунок 4.6 - Электрическая схема установки для
многократного растяжения материалов
В процессе тарирования прибора (рисунок К.1)
было установлено, что одно деление на шкале осциллографа соответствуют усилию,
равному 17,6 Н.
Особенностью испытания предварительно
отформованных образцов является то, что в результате технологической обработки
они принимают сферическую форму. В связи с этим расчет величины продавливания
образцов, соответствующей их относительной деформации на 8%, осуществлялся в
следующей последовательности:
• На основании величины исходной стрелы прогиба
отформованных образцов hисх,
численно равной остаточной стреле прогиба образцов после операций
технологической обработки hост,
определялась их остаточная абсолютная деформация по меридиану Lисх,
мм.
В соответствии со схемой растяжения образцов
(рисунок 4.7):
Lисх=
Рисунок 4.7 - Схема растяжения систем материалов
Lисх=
(4.1)
где R
- радиус рабочей зоны образца (соответствует радиусу формующего пуансона), R=30
мм;
δ - толщина
образца, мм;
β - угол перегиба
образца у края кольцевого зажима, рад:
(4.2)
Так как hисх
< R + δ,
то угол β
определяется по формуле:
(4.3)
• Рассчитывалась величина абсолютной деформации
образца L, мм,
соответствующая его относительной деформации на 8%, по формуле:
L = 1,08Lисх =
L =
(4.4)
где R - радиус
рабочей зоны образца, мм;
r - радиус
пуансона, мм (r = 12,5 мм);
δ- толщина
образца, мм;
φ- угол перегиба образца
у края кольцевого зажима, рад.
Так как:
tgφ =
(4.5)
то: - при Н < r+δ
угол j
определяется по формуле:
(4.6)
- при Н > r+δ угол j определяется по формуе:
(4.7)
• Путем последовательных подстановок, используя
равенства (4.4), (4.6), (4.7) определялась стрела прогиба образца Н, мм,
соответствующая его меридиальной деформации L,
по формуле:
Н =
;
(4.8)
• Рассчитывалась величина
продавливания отформованного образца ΔН, мм, необходимая для его
деформации на 8%, по формуле:
ΔН = Н - hисх (4.9)
Упруго-пластические свойства систем материалов
после многократного растяжения оценивались величиной относительной остаточной
циклической стрелы прогиба образцов Нц, %, определяемой по формуле:
, % (4.10)
где
-
остаточная циклическая стрела прогиба образца после определенного числа циклов
нагружения и пролежки, мм;
hисх - исходная
стрела прогиба отформованного образца, мм.
Замеры остаточной циклической стрелы прогиба
образцов производились по схеме, представленной на рисунке 4.8, при помощи
электронно-цифрового штангенрейсмаса с точностью до 0,01 мм.
Для установления оптимальных параметров
испытания было исследовано влияние числа циклов нагружения и времени отдыха
образцов на их упруго-пластические свойства.
Рисунок 4.8 - Схема замера остаточной
циклической стрелы прогиба образцов
Образцы систем материалов, прошедших
предварительную технологическую обработку подвергались 100, 1000, 3000, 5000,
10000, 20000 и 30000 циклам повторного двухосного растяжения, в ходе которых
определялись усилия, возникающие в образцах при их деформировании, а также
относительная остаточная циклическая стрела прогиба по истечении 60 минут отдыха
образцов. Графики зависимости Нц =f
(N) и Р=f
(N) представлены на
рисунках 4.9 и 4.10.
Анализ экспериментальных данных, представленных
на рисунках 4.9, 4.10, показал, что с увеличением числа циклов испытания в
образцах отмечается накапливание остаточной деформации, что свидетельствует о
способности исследуемых систем материалов приформовываться к стопе. Наиболее
интенсивный рост относительной остаточной циклической стрелы прогиба отмечается
в первые 1000 циклов нагружения. В последующем темпы нарастания данного
показателя существенно снижаются, а после 20000 циклов нагружения его величина
изменяется незначительно у большинства исследованных систем материалов.
С увеличением числа циклов нагружения отмечается
значительное снижение (в 1,4 - 1,8 раза) усилий, испытываемых системами
материалов в процессе их деформации, что также свидетельствует о способности
верха обуви в процессе эксплуатации прирабатывается к стопе, в результате чего
носчик на уровне сенсорного восприятия будет ощущать меньший дискомфорт. Наиболее
интенсивное снижение величины усилий при деформации систем материалов
отмечается в течение первых 5000 - 10000 циклов нагружения. После 20000 циклов
нагружения их величина изменяется незначительно, а в отдельных случаях
стабилизируется.
Таким образом, упруго-пластические свойства
систем материалов наиболее целесообразно определять после 20000 циклов
нагружения образцов. Однако при необходимости, в целях сокращения времени
испытания, можно ограничиваться и 10000 циклами растяжения.
Учитывая то, что отличительной особенностью
обувных материалов является релаксационный характер их поведения при
деформации, замеры остаточной циклической стрелы прогиба образцов
осуществлялись через 0,5, 30 минут, 1, 3, 24 часа, 3 и 7 суток после
прекращения действия внешней силы. Графики зависимости Нц =f
(τ)
представлены на рисунке 4.11.
Рисунок 4.9 - Графики зависимости Нц = f
(N) систем материалов
Рисунок 4.10 - Графики зависимости Р = f
(N) систем материалов
Рисунок 4.11 - Графики зависимости Нц = f
(τ)
систем материалов
В ходе анализа полученных экспериментальных
зависимостей было установлено, что с увеличением времени отдыха образцов после
снятия внешних деформирующих усилий отмечается значительное снижение (в 1,3 -
1,7 раза) относительной остаточной циклической стрелы прогиба у всех
исследованных систем материалов. Наиболее интенсивно релаксационные процессы
протекают в течение первых 24 часов отдыха образцов. В дальнейшем величина
относительной остаточной циклической стрелы прогиба образцов изменяется
незначительно. Учитывая это, рекомендовано упруго-пластические свойства систем
материалов после многоцикловых испытаний определять через 24 часа отдыха
образцов.
Таким образом, метод испытания систем
материалов, прошедших предварительную технологическую обработку, при
многократном растяжении предусматривает проведение следующих этапов:
замеряется исходная стрела прогиба отформованной
системы материала hисх;
рассчитывается величина продавливания образца ΔН,
мм, необходимая для его деформации на 8%;
образец заправляется в рабочий стакан внутренней
стороной вверх и устанавливается в устройство; пуансон фиксируется в положении,
при котором величина продавливания образца составит ΔН;
- образец подвергается 20000 циклам нагружения,
при этом по данным осциллографа фиксируется величина давления пуансона на
образец в первом и последнем циклах нагружения;
- образец вынимается из зажимов
стакана, осуществляются замеры остаточной циклической стрелы прогиба
через 0,5
минут и 24 часа отдыха;
рассчитывается относительная
остаточная циклическая стрела прогиба образца по формуле (4.10).
4.2.2 Экспериментальное
исследование систем материалов при многократном растяжении
В соответствии с методом, описанным в п. 4.2.1,
образцы систем материалов, прошедшие предварительную технологическую обработку,
подвергались многократному двухосному растяжению, в ходе которого были получены
данные о величинах и характере изменения усилий, возникающих при деформации
образцов, и их относительной остаточной циклической стрелы прогиба,
представленные на рисунках 4.12 - 4.13.
- 0,5 мин.;
- 24 часа;
- верх + термобязь + подкладка; 2 -
верх + трикотаж + подкладка; 3 - верх + нетканый материал + подкладка
Рисунок 4.12 - Относительная остаточная
циклическая стрела прогиба систем материалов в момент времени τ
- 1 цикл;
- 20000
цикл
- верх + термобязь + подкладка; 2 -
верх + трикотаж + подкладка; 3 - верх + нетканый материал + подкладка
Рисунок 4.13 - Величина усилий,
возникающих при деформации систем материалов
Анализ экспериментальных данных,
представленных на рисунке 4.13, показал, что величина усилий, возникающих при
деформации исследованных систем материалов на 8 %, колеблется в значительных
пределах и существенно зависит от сочетания комплектующих систем. Наиболее
высокой жесткостью характеризуются системы с верхом из натуральной кожи Nero, для
которых величина усилий в первом цикле нагружения составила 915-1100 Н, что в
1,1 - 1,3 раза превышает значение данного показателя для систем с верхом из
натуральной кожи Наппа и более чем в 1,3 раза - для систем с верхом из
синтетической кожи «POSITANO».
У систем с межподкладкой из
термобязи отмечаются более высокие значения усилий при деформации, чем у систем
с межподкладкой из трикотажного и нетканого полотна. Использование в качестве
материала подкладки трикотажного полотна вместо тик-саржи приводит к снижению
жесткости систем в 1,1 - 1,5 раза.
В процессе нагружения образцов
отмечается уменьшение величины усилий, испытываемых системами материалов, в 1,4
- 1,8 раза. При этом наиболее существенное снижение усилий при деформации
отмечается в системах с межподкладкой из трикотажного полотна (в 1,6 - 1,8
раза), наименьшее - в системах с межподкладкой из термобязи и нетканого
материала (в 1,4 - 1,6 раза).
Таким образом, с точки зрения
силового взаимодействия обуви со стопой наибольшей распорной жесткостью будет
отличаться обувь с верхом из натуральной кожи Nero,
межподкладкой из термобязи и подкладкой из тик-саржи. Наименьшие энергозатраты,
необходимые для приформовывания верха обуви к стопе в начальный период носки,
будут возникать в заготовках из синтетической кожи, межподкладкой и подкладкой
из трикотажных полотен.
Анализ данных, представленных на
диаграмме 4.12, показал, что по истечении 20000 циклов растяжения относительная
остаточная циклическая стрела прогиба исследованных систем материалов составила
21,6 - 29,9 %.
В течение последующих 24 часов
отдыха образцов отмечается значительное снижение (в 1,15 - 1,45 раза) величины
данного показателя у всех исследованных систем материалов. При этом наиболее
интенсивно релаксационные процессы протекают в системах с верхом из
синтетической кожи «POSITANO» и натуральной кожи Наппа. За 24
часа отдыха значение относительной остаточной циклической стрелы прогиба данных
систем материалов уменьшилось в 1,2 - 1,45 раза. Системы с верхом из
натуральной кожи Nero отличаются более высокой
способностью сохранять накопленные в процессе многократного растяжения
остаточные деформации. Величина их относительной остаточной циклической стрелы
прогиба в течение суток пролежки снизилась в среднем только в 1,2 раза.
При фиксированных материалах верха и
подкладки наиболее существенное снижение относительной остаточной циклической
стрелы прогиба образцов в процессе отдыха отмечается у систем с межподкладкой
их трикотажного полотна, наименьшее - у систем с межподкладкой из термобязи.
Величина относительной остаточной
циклической стрелы прогиба исследованных систем материалов после суток отдыха
колеблется в пределах 17,9 - 23,4 % и в значительной степени определяется
свойствами их комплектующих.
Наиболее высокие значения данного
показателя характерны для систем с верхом из натуральной кожи Nero, наименьшие
- для систем с верхом из СК «POSITANO». При фиксированном
материале верха наименьшая величина относительной остаточной циклической стрелы
прогиба отмечается у систем, где в качестве материала межподкладки
использовалась термобязь, а для подкладки - тик-саржа. Наилучшей способностью
накапливать остаточные деформации в процессе многократного растяжения
характеризуются системы с межподкладкой и подкладкой из трикотажных и нетканых
полотен.
Таким образом, анализ полученных
экспериментальных данных показал, что с точки зрения приформовываемости верха
обуви к стопе наилучшим комплексом упруго-пластических свойств характеризуются
системы с верхом из натуральной кожи, межподкладкой и подкладкой из трикотажных
полотен. Наихудшей способностью приформовываться характеризуются системы с
верхом из синтетической кожи «POSITANO»,
межподкладкой из термобязи и подкладкой из тик-саржи.
Выводы по
главе 4
. Изучено влияние технологических
режимов обработки на упруго-пластические свойства систем материалов для верха
обуви.
Показано, что величина остаточной
стрелы прогиба образцов после операций формования и термообработки существенно
зависит от сочетания комплектующих системы. Наибольшее её значение отмечается в
системах с верхом из натуральной кожи, межподкладкой - из термобязи и
подкладкой из трикотажного полотна. Наименьшее значение остаточной стрелы
прогиба характерно для систем с верхом из синтетической кожи, межподкладкой из
трикотажного полотна и подкладкой из тик-саржи.
. Разработан метод испытания систем
материалов при многократном растяжении, максимально моделирующий реальные
условия работы пакета верха обуви в процессе эксплуатации.
Установлены математические
зависимости, позволяющие рассчитать величину продавливания образцов,
соответствующую заданной величине их деформации.
3. Исследован характер изменения упруго-пластических
свойств систем материалов в зависимости от числа циклов нагружения и времени
отдыха, и определены оптимальные параметры испытания образцов при многократном
растяжении.
Показано, что с увеличением числа циклов
испытания в образцах отмечается накапливание остаточной деформации и снижение
величины усилий, испытываемых образцами в процессе деформирования, что
свидетельствует о способности исследуемых систем материалов приформовываться к
стопе. Наиболее интенсивное изменение обозначенных показателей отмечается в
первые 10 - 20 тыс. циклов нагружения образцов.
Наиболее значительное снижение относительной
остаточной циклической стрелы прогиба образцов отмечается в течение 24 часов
отдыха после снятия внешних деформирующих усилий.
Рекомендовано упруго-пластические свойства
систем материалов определять после 20000 циклов нагружения и 24 часов отдыха
образцов после снятия деформирующих усилий.
. Исследованы упруго-пластические свойства
систем материалов с различным сочетанием комплектующих при многократном
растяжении.
Установлено, что наилучшей способностью
накапливать остаточные деформации в процессе многократного растяжения
характеризуются системы с верхом из натуральных кож, межподкладкой и подкладкой
из трикотажных полотен. Наихудшим комплексом упруго-пластических свойств с
точки зрения приформовываемости верха обуви к стопе обладают системы с верхом
из синтетических кож, межподкладкой и подкладкой из тканых материалов.
ГЛАВА 5. РАЗРАБОТКА МЕТОДИК РАСЧЕТА И
ПРОГНОЗИРОВАНИЯ ПРИФОРМОВЫВАЕМОСТИ ВЕРХА ОБУВИ К СТОПЕ С УЧЕТОМ СВОЙСТВ
МАТЕРИАЛОВ ЗАГОТОВКИ
Разработанные в главе 2 прибор и методика
позволяют в лабораторных условиях количественно оценить способность верха
готовой обуви приформовываться к стопе. Однако не менее важное значение имеет
возможность правильно оценивать и прогнозировать данное свойство обуви на
стадии её разработки, что позволит осуществлять выпуск продукции с заданным
уровнем потребительских свойств. В связи с этим возникает необходимость в
разработке научно-обоснованных методов расчета и прогнозирования
приформовываемости верха обуви к стопе на стадии конструкторско-технологической
подготовки производства.
5.1 Математическая
модель зависимости упруго-пластических свойств систем материалов от свойств
входящих в них комплектующих
Как было показано в предыдущих главах,
достаточную приформовываемость верха обуви к стопе в процессе носки можно
обеспечить путем рационального подбора комплектующих с необходимым комплексом
упруго-пластических свойств. В связи с этим важно идентифицировать форму
зависимости между упруго-пластическими свойствами заготовки верха обуви и
свойствами входящих в нее материалов.
Для нахождения зависимости между
упруго-пластическими свойствами систем материалов для верха обуви и свойствами
материалов верха, межподкладки и подкладки использовался множественный
регрессионный анализ.
Так как упруго-пластические свойства
характеризуются широким кругом показателей, определяемых при различных видах
деформации, то для их оценки был использован комплексный метод [147, с.8 - 9],
позволяющий получить итоговую оценку упруго-пластических свойств исследуемых
материалов и систем одним числом.
Для этого, на основе наиболее информативных
единичных показателей, установленных в разделе 3.5 с помощью метода главных
компонент, определялся комплексный безразмерный показатель упруго-пластических
свойств материалов и систем [19 - А.] по формуле:
(5.1)
где Кi -
относительный единичный показатель упруго-пластических свойств;
mi - весомость
i -го
показателя свойств, определяемая по относительной величине вклада
соответствующей главной компоненты в дисперсию всех признаков.
n - число
учитываемых при комплексной оценке показателей.
Относительные единичные показатели
определялись путем сравнения упруго-пластических свойств исследуемых материалов
и систем с лучшим (максимальным Хmax или минимальным Xmin) значением
показателя в данной группе объектов по формулам:
, или
(5.2)
где Хi -
абсолютное значение единичного показателя упруго-пластических свойств.
Из приведенных формул выбиралась та,
при которой увеличению Кi соответствует улучшение
приформовываемости верха обуви к стопе.
Значения относительных единичных
показателей и комплексных показателей упруго-пластических свойств исследованных
материалов для наружных деталей верха, текстильных материалов для межподкладки
и подкладки обуви и систем материалов представлены в таблицах Л.1 - Л.3.
На основании рассчитанных
комплексных показателей формировалась матрица исходных данных (таблица Л.4) и
осуществлялся множественный регрессионный анализ с использованием прикладного
пакета программ «STATISTICA», результаты которого представлены
в таблице Л.5.
В ходе регрессионного анализа между
свойствами системы материалов и ее комплектующих была получена математическая
зависимость следующего вида:
= 0,74
+ 0,20
+ 0,23
(5.3)
где
,
,
,
- безразмерные комплексные
показатели упруго-пластических свойств соответственно систем материалов для
верха обуви, материалов верха, межподкладки и подкладки обуви.
Полученная математическая модель
является адекватной, так как расчетный критерий Фишера превышает табличное
значение, все коэффициенты уравнения значимы, так как имеют уровень значимости
р<0,05 (таблица Л.5).
5.2
Разработка методики расчета приформовываемости верха обуви к стопе с учетом
упруго-пластических свойств материалов заготовки
С учетом математической зависимости
(5.3) были рассчитаны комплексные показатели упруго-пластических свойств систем
материалов, подвергавшихся в главе 4 технологической обработке и циклическому
нагружению, и определены безразмерные относительные показатели
упруго-пластических свойств данных систем после операций технологической
обработки (
) и
многократного растяжения (
) по
формулам:
(5.4)
где
- остаточная стрела прогиба i-ой системы
материалов после операций технологической обработки, мм;
- максимальное значение остаточной
стрелы прогиба в исследуемой группе объектов, мм.
(5.5)
где
- относительная остаточная
циклическая стрела прогиба i-ой системы материалов после
многократного растяжения, %;
- максимальное значение
относительной остаточной циклической стрелы прогиба в исследуемой группе
объектов, %.
Значения полученных относительных
показателей упруго-пластических свойств систем материалов представлены на
рисунке 5.1.
В ходе регрессионного анализа
полученных данных между показателями упруго-пластических свойств систем
материалов до и после технологической обработки была установлена математическая
зависимость следующего вида (рисунок Л.1):
(5.6)
Коэффициент детерминации составил R2 = 0,86,
что свидетельствует о достаточной информационной способности полученной модели,
и позволяет учитывать влияние технологических факторов при прогнозировании
способности систем материалов для верха обуви приформовываться к стопе.
- верх+термобязь+тик-саржа; 2 - верх
+ трикотаж+тик-саржа;3 - верх +неткан. м-л+тик-саржа; 4 - верх +
термобязь+трикотаж; 5 - верх + трикотаж+трикотаж;6 - верх+ неткан. м-л+
трикотаж
Рисунок 5.1 - Показатели упруго-пластических
свойств систем материалов до и после операций технологической обработки и
многократного растяжения
Установлено также наличие тесной
корреляционной связи (r = 0,87) между относительными
показателями упруго-пластических свойств систем материалов до и после
циклических испытаний (рисунок Л.2). Взаимосвязь между обозначенными
показателями с достаточной степенью точности (коэффициент детерминации R2 = 0,80)
описывается линейной зависимостью следующего вида:
(5.7)
Полученная математическая модель
позволяет учитывать циклический характер нагружения при оценке способности
систем материалов, имитирующих пакет верха обуви, приформовываться к стопе.
Для установления связи между приформовываемостью
верха обуви и упруго-пластическими свойствами систем материалов, имитирующих
заготовку, в производственных условиях СООО «СанМарко» (г. Витебск) были
изготовлены 5 пар опытных образцов мужских полуботинок клеевого метода
крепления с различным сочетанием комплектующих заготовки и осуществлено их
испытание на приборе для определения приформовываемости верха обуви к стопе в
соответствии с методикой, описанной в разделе 2.2.
Изготавливались мужские полуботинки
модели 2443, 42-го размера средней полноты (рисунок М.1) в соответствии с
принятым на предприятии технологическим процессом производства обуви клеевого
метода крепления. При производстве опытных образцов использовались следующие
сочетания комплектующих заготовки:
• первая пара: верх - натуральная
кожа Nero,
межподкладка - термобязь, подкладка - тик-саржа;
• вторая пара: верх - натуральная
кожа Nero,
межподкладка - экспериментальное трикотажное полотно производства УО «ВГТУ»
(поверхностная плотность 172 г/м2), подкладка - экспериментальное трикотажное
полотно производства УО «ВГТУ» (поверхностная плотность 292 г/м2);
• третья пара: верх - натуральная
кожа Наппа, межподкладка - термобязь, подкладка - экспериментальное трикотажное
полотно производства УО «ВГТУ» (поверхностная плотность 292 г/м2);
• четвертая пара: верх - натуральная
кожа Наппа, межподкладка - нетканый материал «Спанбонд» (поверхностная
плотность 80 г/м2), подкладка - экспериментальное трикотажное полотно
производства УО «ВГТУ» (поверхностная плотность 292 г/м2);
• пятая пара: верх - синтетическая
кожа на нетканой основе «POSITANO NAT BRUSH»,
межподкладка -термобязь, подкладка-тик-саржа.
Данные, полученные в ходе испытания
опытных образцов обуви, представлены в таблице 5.1
Таблица 5.1 - Приформовываемость
верха опытных образцов обуви в лабораторных условиях
|
Наименование
пакета верха обуви
|
Исходный
периметр верха обуви в сечен. 68Дст, L0, мм
|
Периметр
верха обуви в сечении 0,68Дст после испытания, L , мм,
|
Приформовываемость
верха обуви к стопе, , %,
|
|
НК
Nero +
термобязь + тик-саржа
|
163,0
|
166,5
|
2,15
|
|
НК
Nero +
трикотаж + трикотаж
|
163,0
|
167,0
|
2,45
|
|
НК
Наппа + термобязь + трикотаж
|
163,0
|
165,5
|
1,53
|
|
НК
Наппа + неткан. м-л + трикотаж
|
163,0
|
166,0
|
1,84
|
|
СК
POSITANO +
термобязь+тик-саржа
|
161,0
|
162,5
|
0,93
|
В ходе корреляционно-регрессионного анализа
(рисунок Л.3) установлена аналитическая зависимость между приформовываемостью
верха готовой обуви и относительным показателем упруго-пластических свойств
систем материалов с аналогичным сочетанием комплектующих после многоцикловых
испытаний:
=
, R2 = 0,976
(5.8)
Полученная математическая модель
позволяет уже на стадии конструкторско-технологической подготовки производства,
используя лабораторные методы испытания систем материалов, имитирующих
заготовку, осуществлять расчет величины приформовываемости верха готовой обуви
к стопе.
Таким образом, методику расчета
величины приформовываемости верха обуви к стопе можно представить в следующем
виде:
этап Определяются
упруго-пластические свойства материалов, входящих в заготовку верха обуви. В
качестве единичных показателей упруго-пластических свойств рекомендуется
использовать:
для материалов наружных деталей
верха обуви - пластичность на приборе ПОИК, долю условно-эластической и
условно-пластической компоненты деформации при одноосном растяжении и долю
условно-эластической компоненты деформации при двухосном растяжении;
для текстильных материалов
межподкладки и подкладки обуви - пластичность при одноосном растяжении до
нагрузки 0,5 Рразр, долю условно-эластической компоненты деформации при
одноосном растяжении, величину относительной затраченной энергии при одноосном
растяжении до нагрузки 0,5 Рраз, долю условно-эластической компоненты
деформации при двухосном растяжении и пластичность при двухосном растяжении на
приборе В3030.
Рассчитываются комплексные
показатели упруго-пластических свойств материалов для наружных деталей верха,
подкладки и межподкладки обуви по формулам (5.1, 5.2).
этап На основании комплексных
показателей упруго-пластических свойств материалов верха, межподкладки и
подкладки определяется комплексный показатель упруго-пластических свойств
систем материалов по следующей зависимости:
= 0,74
+ 0,20
+ 0,23
(5.9)
где
,
,
,
- комплексные показатели
упруго-пластических свойств материалов верха, межподкладки, подкладки и систем
материалов.
этап Определяется безразмерный
относительный показатель упруго-пластических свойств систем материалов после
операций технологической обработки по формуле:
(5.10)
этап Рассчитывается относительный
показатель упруго-пластических свойств систем материалов после многоциклового
растяжения по формуле:
(5.11)
этап Определяется приформовываемость
верха обуви по уравнению:
=
(5.12)
Для оценки степени соответствия
разработанной методики действительным условиям определялись отклонения
расчетных значений приформовываемости верха обуви от экспериментальных,
значения которых для исследованных пакетов верха обуви представлены в таблице
5.2.
Таблица 5.2 - Оценка соответствия
разработанной методики расчета
|
Наименование
пакета верха обуви
|
Приформовываемость
верха обуви, %
|
|
экспериментальная
|
расчетная
|
Δ, %
|
|
НК
Nero +
термобязь + тик-саржа
|
2,15
|
2,10
|
2,33
|
|
НК
Nero +
трикотаж + трикотаж
|
2,45
|
2,42
|
1,22
|
|
НК
Наппа + термобязь + трикотаж
|
1,53
|
1,61
|
5,23
|
|
НК
Наппа + неткан. м-л + трикотаж
|
1,84
|
1,66
|
9,78
|
|
СК
POSITANO+термобязь+тик-саржа
|
0,93
|
0,97
|
Среднее отклонение расчетных значений
приформовываемости от экспериментальных, определяемое по формуле (5.13), для
исследованных пакетов верха обуви составило 4,57 % что является
удовлетворительным, так как не превышает допустимых пределов.
(5.13)
где уi -
фактическое значение функции;
- расчетное (по модели) значение
функции;
n - объем
совокупности.
Таким образом, разработанная
методика позволяет уже на стадии конструкторско-технологической подготовки
производства с достаточной степенью точности осуществлять расчет
приформовываемости верха обуви на основании данных об упруго-пластических
свойствах материалов заготовки.
5.3
Исследование приформовываемости верха обуви к стопе в экспериментальной носке
В предыдущих главах были разработаны
методика определения приформовываемости верха обуви к стопе в лабораторных
условиях и методика расчета данного показателя качества на стадии
конструкторско-технологической подготовки производства с учетом
упруго-пластических свойств материалов заготовки.
Для того чтобы выявить, насколько
объективно данные методики могут характеризовать приформовываемость верха обуви
к стопе в реальных условиях ее эксплуатации, была организована
экспериментальная носка изготовленных опытных образцов мужской обуви.
Оценка приформовываемости верха
обуви к стопе осуществлялась по изменению периметра верха обуви в сечении
0,68Дст после определенного периода носки. Для этого на союзку правой полупары
предварительно наносились метки, по которым в процессе эксплуатации с помощью
гибкой миллиметровой ленты производился замер периметра верха обуви.
Приформовываемость верха обуви к стопе Пв.об, %, определялась по формуле:
Пв.об =
(5.14)
где Li - периметр
союзки в сечении 0,68Дст после определенного периода носки, мм;
L0 - исходный
периметр союзки, мм.
В качестве носчиков были выбраны
мужчины одной возрастной группы (20-25 лет), примерно одинакового роста и веса,
без патологических дефектов стоп. Обязательным условием при подборе носчиков
было соответствие полноты обуви обхватным параметрам стопы носчиков.
Наблюдения за процессом носки обуви
велись на протяжении 8 недель. В течение первой недели носки замер периметра
верха обуви производился каждый день. В последующий период носки замеры
осуществлялись один раз в неделю.
Заключение по результатам
экспериментальной носки опытных образцов обуви представлено в приложении М.
Данные, полученные в ходе
экспериментальной носки опытных образцов обуви по истечении срока наблюдений,
представлены на рисунке 5.2.
Анализ полученных экспериментальных
данных показал, что в процессе носки отмечается существенное увеличение
периметра верха обуви в области пучков, вследствие чего верх обуви
приформовывается к стопе.
Рисунок 5.2 - Приформовываемость
верха обуви к стопе в экспериментальной носке
Основное приформовывание верха обуви
происходит уже в первые 2 - 3 недели носки обуви, что полностью согласуется с
литературными данными, посвященными вопросам приформовываемости верха обуви к
стопе. В последующие 3 - 4 недели отмечается лишь незначительное изменение
периметра верха обуви в области пучков, а после 7 недель носки данная величина
полностью стабилизируется для всех исследуемых образцов.
Величина приформовываемости верха
обуви к стопе в ходе экспериментальной носки составила 3,1 - 4,7 %.
Наилучшую способность
приформовываться к стопе проявила обувь с верхом из натуральной кожи Nero,
межподкладкой и подкладкой из трикотажных полотен, что совпадает с результатами
испытания систем материалов с аналогичным сочетанием комплектующих при
многократном растяжении. При этом носчик на уровне сенсорного восприятия не
испытывал значительного дискомфорта в носке. Значительно хуже приформовывалась
обувь с верхом из синтетической кожи.
В обуви, где в качестве материала
межподкладки использовалась термобязь, а для подкладки - тик-саржа, в процессе
носки отмечалось образование грубых складок в области пучков, что, несмотря на
достаточную приформовываемость верха обуви, привело к значительному ухудшению
ее внешнего вида (рисунок М.2). Использование в качестве материала межподкладки
нетканого и трикотажного полотен способствовало лучшей приформовываемости верха
обуви к стопе при сохранении хорошего внешнего вида. Учитывая это, было
рекомендовано использование нетканого материала в качестве материала
межподкладки мужской обуви осенне-весеннего ассортимента.
Результаты исследований были
внедрены в производство, что подтверждается актами внедрения, представленными в
приложении Н. В нескольких моделях СООО «Марко» и ОАО «Красный Октябрь»
осуществлялась замена используемых в качестве материалов межподкладки
трикотажного полотна и термобязи на нетканый материал. В результате снижения
материальных затрат на 1-цу продукции вследствие более низкой цены нетканого
материала, а также экономии энергоресурсов вследствие более низких
температурных режимов дублирования нетканого полотна, был достигнут фактический
экономический эффект в размере 1009,576 тыс. руб. в расчете на 3814 пар обуви в
ценах на 01.01.2007 г.
Сравнительный анализ показателей
приформовываемости, полученных в ходе лабораторных испытаний опытных образцов
обуви (таблица 5.1) и их экспериментальной носки, показал, что в лабораторных условиях
характер зависимости величины приформовываемости верха обуви от сочетания
применяемых комплектующих сохраняется тем же, что и в реальных условиях носки
обуви. Однако, абсолютные значения показателя приформовываемости при
лабораторных испытаниях в среднем в 2 раза ниже, по сравнению с данными
экспериментальной носки.
Корреляционно-регрессионный анализ
полученных экспериментальных данных показал, что между приформовываемостью
верха обуви в лабораторных условиях и приформовываемостью в экспериментальной
носке существует тесная корреляционная связь (r = 0,94).
Исследуемые параметры связаны между собой линейной зависимостью следующего
вида:
Пв.об. = 1,99 + 1,01 ּ
(5.15)
Таким образом, разработанный в главе
2 метод оценки приформовываемости верха обуви к стопе позволяет быстро и
объективно оценивать данный показатель качества в лабораторных условиях и
исключить необходимость использования трудоемкого метода определения
приформовываемости верха обуви к стопе в опытной носке.
Разработанная методика расчета
приформовываемости верха обуви к стопе с учетом свойств материалов заготовки
прошла опытно-промышленную апробацию на СООО «СанМарко», что подтверждено актом
о практическом использовании результатов исследования (приложение Н).
Экономический эффект от замены оценки приформовываемости верха обуви к стопе в
экспериментальной носке на расчетный метод оценки данного показателя качества
составил 41 930 руб. в расчете на 1 пару обуви в ценах на 1.12.2007г.
5.4
Разработка методики прогнозирования приформовываемости верха обуви к стопе
Следует отметить тот факт, что в
процессе эксплуатации важную роль играет время, в течение которого верх обуви
приформовывается к индивидуальным особенностям стопы носчика. Чем быстрее
происходит приформовывание верха обуви к стопе, тем меньше неприятных ощущений
испытывает носчик в процессе ее эксплуатации, тем комфортнее обувь. Поэтому,
наряду с расчетом величины приформовываемости верха обуви к стопе, представляется
важным разработка методики прогнозирования времени, в течение которого верх
обуви приформуется к стопе в степени, достаточной для обеспечения комфортных
условий носки обуви.
С этой целью была изучена кинетика
накопления остаточной деформации верха обуви к стопе в процессе носки и
относительной остаточной деформации систем материалов при многократном
растяжении, и получено математическое описание зависимостей
и
по известным
теоретическим законам распределения с помощью редактора электронных таблиц «Microsoft Excel».
Относительная остаточная деформация
систем материалов при многократном растяжении определялась как отношение разницы
деформации образцов до и после многократного растяжения, определяемых по
формулам (4.5), (4.8), к деформации образцов до циклического растяжения,
выраженное в процентах. Полученные значения относительной остаточной деформации
систем материалов представлены на рисунке 5.3.
Рисунок 5.3 - Относительная
остаточная деформация систем материалов для верха обуви при многократном
растяжении
Результаты аппроксимации
обозначенных выше зависимостей представлены в таблице М.1.
В ходе анализа полученных данных
было установлено, что процесс накопления относительной остаточной деформации
систем материалов при многоцикловом растяжении наиболее точно описывается
степенной зависимостью вида:
(5.16)
где N - число
циклов нагружения образцов;
d, c -
коэффициенты уравнения для i-го вида системы.
Для описания кинетики накопления
относительной остаточной деформации верха обуви в экспериментальной носке
наиболее предпочтительным является использование логарифмической функции,
имеющей общий вид:
= а ∙ln (n) + b (5.17)
где n - число
дней носки обуви;
а, b -
коэффициенты уравнения для i-го сочетания комплектующих верха
обуви.
Приравнивая уравнения (5.16) и
(5.17), можно аналитически установить взаимосвязь между числом дней носки обуви
n и
количеством циклов испытания N систем материалов в лабораторных
условиях:
а ∙ln (n) + b =
тогда
n =
(5.18)
Взаимосвязь между величинами n и N
устанавливалась также с помощью графического метода (рисунок 5.4). Построение
точек прогнозирующей кривой между величинами n и N
осуществлялось в следующем порядке: произвольному значению на оси у на графиках
функций
и
соответствуют
точки П′ и П″. Проекции данных точек на оси n и N дают пару
соответствующих точек (N П, n П), по
которым в осях nN (IV четверть
координатной плоскости) получаем точку прогнозирующей кривой П с координатами N П и n П. Таким
способом были построены прогнозирующие кривые для всех исследованных пакетов
верха обуви, представленные на рисунке 5.4.
В ходе аппроксимации полученных
кривых было установлено, что переменные n и N связаны
между собой линейной зависимостью следующего вида:
Рисунок 5.4 - Построение
прогнозирующих кривых между параметрами n и N
для пакета материалов НК Nero + термобязь
+ тик-саржа:
n = 0,0004 N + 0,4571, R2 = 0,998
(5.19)
для пакета материалов НК Nero + трикотаж
+ трикотаж:
n = 0,0006 N + 1,4883, R2 = 0,969
(5.20)
для пакета материалов НК Наппа +
термобязь + трикотаж:
n = 0,0004 N + 0,4752, R2 = 0,986
(5.21)
для пакета материалов НК Наппа +
нетканый материал + трикотаж:
n = 0,0005 N + 0,333, R2 = 0,995
(5.22)
для пакета материалов СК POSITANO + термобязь
+ тик-саржа:
n = 0,0004 N + 0,171, R2 = 0,989
(5.23)
Как видно из полученных
зависимостей, значения коэффициентов регрессии и свободного члена для систем
материалов с различным сочетанием комплектующих близки между собой, поэтому
возможно использование единой прогнозирующей прямой для всех пакетов верха
обуви, имеющей вид:
n = 0,00046 N + 0,5849
(5.24)
Как отмечалось в главе 1,
приформовывание верха обуви к стопе должно происходить в пределах одной смежной
полноты. Учитывая то, что разница в обхватных параметрах стопы в сечении 0,68Дст
между смежными полнотами для повседневной обуви составляет 8 мм, то оптимальное
изменение периметра верха обуви в процессе эксплуатации, обеспечивающее
достаточный уровень приформовываемости верха обуви к стопе и не приводящее к
потере его формы, составит около 4 мм или ≈ 2, 5 % по отношению к
периметру верха обуви среднего размера в сечении 0,68 Дст.
Так как это значение критерия
сохраняется неизменным и для лабораторных испытаний, то, используя зависимость
(5.16), можно определить предельное значение N min числа
циклов растяжения на устройстве для многоцикловых испытаний, обеспечивающее
необходимое значение величины приформовываемости:
,5 =
→ Nmin =
(5.25)
Подставляя равенство (5.25) в
уравнение (5.24) находим минимальное время носки обуви, необходимое для
достаточного приформовывания верха обуви к стопе:
n min = 0,00046
+ 0,5849
(5.26)
В таблице 5.3 представлена
сравнительная оценка прогнозируемого и экспериментального времени
приформовывания верха обуви к стопе при величине Пв.об = 2,5 %.
Таблица 5.2 -Оценка соответствия
разработанной методики прогнозирования
|
Наименование
пакета верха обуви
|
Время
приформовывания верха обуви к стопе, дни
|
|
экспериментальное
|
прогнозируемое
|
Δ, %
|
|
НК
Nero +
термобязь + тик-саржа
|
3,0
|
2,91
|
3,10
|
|
НК
Nero +
трикотаж + трикотаж
|
1,5
|
1,64
|
8,54
|
|
НК
Наппа + термобязь + трикотаж
|
6,0
|
5,61
|
6,95
|
|
НК
Наппа + неткан. м-л + трикотаж
|
5,0
|
5,08
|
1,57
|
|
СК
POSITANO +
термобязь+тик-саржа
|
10,5
|
10,61
|
1,04
|
Среднее отклонение расчетных значений от
экспериментальных составило 4,24 %, следовательно, разработанная методика
позволяет с высокой степенью точности осуществлять прогнозирование
приформовываемости верха обуви к стопе.
Таким образом, зная лабораторную кривую
накопления остаточной деформации для произвольной системы материалов, можно,
использую прогнозирующую прямую, построить кривую накопления величины
приформовываемости верха обуви в экспериментальной носке, а также, задавшись
необходимым значением приформовываемости, рассчитать время, в течение которого
будет достигнута данная величина в процессе эксплуатации.
Выводы по главе 5
. Рассчитаны комплексные показатели
упруго-пластических свойств материалов и систем на основе наиболее
информативных единичных показателей, установленных с помощью метода главных
компонент.
Получена математическая зависимость между
комплексными показателями упруго-пластических свойств систем материалов и
входящих в них комплектующих.
. Определены математические зависимости между
относительными показателями упруго-пластических свойств систем материалов до и
после технологической обработки и многократного растяжения, позволяющие
учитывать влияние технологических факторов и циклического характера нагружения
при оценке способности систем материалов, имитирующих пакет верха обуви,
приформовываться к стопе.
. Выявлена тесная корреляционная связь и
установлена математическая зависимость между приформовываемостью верха обуви и
относительным показателем упруго-пластических свойств систем материалов с
аналогичным сочетанием комплектующих после многоцикловых испытаний.
. Исследована приформовываемость верха обуви к
стопе в экспериментальной носке. Установлено, что основное приформовывание
верха обуви происходит в первые 2 - 3 недели носки обуви. В последующие 3 - 4
недели отмечается лишь незначительное изменение периметра верха обуви в области
пучков.
Показано, что наилучшей способностью
приформовываться к стопе характеризуется обувь с верхом из натуральной кожи,
межподкладкой и подкладкой из трикотажных и нетканых полотен, что полностью
согласуется с результатами испытаний систем материалов при циклическом
нагружении. Значительно хуже приформовывается обувь с верхом из синтетической
кожи, подкладкой и межподкладкой из тканых материалов.
. Установлено, между приформовываемостью верха
обуви в лабораторных условиях и приформовываемостью верха обуви в
экспериментальной носке существует тесная корреляционная связь, что
свидетельствует об объективности разработанного метода оценки
приформовываемости верха обуви в лабораторных условиях и позволяет использовать
его для оценки качества готовой продукции.
. Разработана методика расчета
приформовываемости верха обуви к стопе, которая позволяет уже на стадии
конструкторско-технологической подготовки производства с высокой степенью
точности осуществлять оценку качества обуви по данному показателю с учетом
особенностей упруго-пластических свойств материалов заготовки и изготавливать
обувь с заданным уровнем потребительских свойств.
. Разработана методика прогнозирования
приформовываемости верха обуви к стопе, которая позволяет на стадии
конструкторско-технологической подготовки производства с высокой степенью
точности определить время носки обуви, в течение которого верх обуви
приформуется к стопе.
ЗАКЛЮЧЕНИЕ
Основные научные результаты
. Разработаны новые методика и прибор для
определения приформовываемости верха обуви к стопе, впервые позволяющие
количественно оценить данный показатель качества в лабораторных условиях и
исключить необходимость использования трудоёмкого метода определения
приформовываемости верха обуви к стопе в опытной носке [1-А., 2-А., 3-А.].
Новизна прибора подтверждена патентом РБ на изобретение № 4471.
. Проведены систематизация и анализ существующих
методов исследования упруго-пластических свойств материалов для верха обуви.
. Разработан автоматизированный комплекс для
измерения и оценки упруго-пластических свойств обувных материалов и их систем,
который позволяет полностью автоматизировать процесс проведения эксперимента,
обеспечивает регистрацию выходных значений с высокой точностью и осуществляет
расчет широкого круга показателей, характеризующих упруго-пластические свойства
исследуемых объектов, что способствует объективной оценке их качества и
технологической пригодности [4 - А.].
. Получены новые данные об упруго-пластических
свойствах широкого круга современных материалов для верха, подкладки и
межподкладки обуви с использованием различных методик, основанных на различных
видах деформации, которые позволяют обеспечить их эффективное использование в
ходе технологического процесса производства обуви [5 - А., 6 - А., 7 - А., 8 -
А., 9 - А., 11 - А., 12 - А., 13 - А. 14 - А., 15 - А., 16 - А., 17 - А.].
. Разработан метод исследования реологических
свойств материалов и систем при двухосном растяжении с использованием серийно
выпускаемого прибора ЖНЗО-2, позволяющий изучать релаксационные явления в
материалах без применения сложного специального оборудования [16-А., 17-А.].
. Разработан программный продукт для обработки
экспериментальных данных по релаксации деформации материалов, позволяющий
быстро и с высокой степенью точности производить расчет основных показателей
реологических свойств изучаемых объектов, осуществлять моделирование и
прогнозирование релаксационных процессов в материалах [15 - А., 18 - А.].
. Разработан метод испытания систем материалов
для верха обуви при многократном растяжении, позволяющий максимально приблизить
условия испытания образцов к реальным условиям работы верха обуви в процессе
носки, и, как следствие, более объективно оценить технологические и
эксплуатационные свойства применяемых комплектующих [20-А.,21-А.,22-А.].
. Впервые разработана методика расчета
приформовываемости верха обуви к стопе, позволяющая на стадии
конструкторско-технологической подготовки производства осуществлять оценку
качества обуви по данному показателю с учетом особенностей упруго-пластических
свойств материалов заготовки, а также разработать рекомендации по рациональной
комплектации пакетов верха обуви и оптимальным режимам их технологической
обработки, обеспечивающие выпуск продукции повышенной комфортности [19 - А.]
. Разработана методика прогнозирования
приформовываемости верха обуви к стопе, позволяющая на стадии
конструкторско-технологической подготовки производства определить время носки
обуви, в течение которого произойдет приформовывание верха обуви к стопе.
Рекомендации по практическому использованию
результатов
. Учитывая простоту и надежность в
использовании, низкие затраты времени на проведение испытаний, разработанные
прибор и методика определения приформовываемости верха обуви к стопе могут быть
практически использованы в научно-исследовательских лабораториях и
испытательных центрах при оценке качества обуви, что подтверждается справками о
возможном практическом использовании полученных результатов.
. Методики расчета и прогнозирования
приформовываемости верха обуви к стопе могут быть использованы на стадии
конструкторско-технологической подготовки производства при подборе
комплектующих для верха обуви. Практическое использование разработанных методик
позволит осуществлять рациональную комплектацию пакетов верха обуви, оптимизировать
технологические режимы их обработки и достичь значительного социального эффекта
за счет выпуска продукции повышенной комфортности.
. Рекомендации по рациональной комплектации
пакетов верха обуви внедрены на обувных предприятиях СООО«Марко», ОАО«Красный
Октябрь», что подтверждается актами о внедрении в производство. Экономический
эффект от замены термобязи и трикотажного полотна, используемого в качестве
материала межподкладки обуви, на нетканый материал в ценах на 01.01.2007г.
составит 26470 тыс.руб. при годовом выпуске 100000 условных пар обуви.
. Разработанная методика расчета
приформовываемости верха обуви к стопе с учетом свойств материалов заготовки
прошла опытно-промышленную апробацию на СООО «СанМарко», что подтверждено актом
о практическом использовании результатов исследования. Экономический эффект от
замены оценки приформовываемости верха обуви к стопе в экспериментальной носке
на расчетный метод оценки данного показателя качества составил 41 930 руб. в
расчете на 1 пару обуви в ценах на 1.12.2007г.
. Результаты диссертационного исследования
внедрены в учебный процесс УО «ВГТУ» в курсах «Конфекционирование материалов
для обуви», «Материаловедение изделий из кожи», «Конструирование изделий из
кожи», о чем имеются соответствующие акты внедрения.
ПРИЛОЖЕНИЕ А
Методы оценки приформовываемости верха обуви к
стопе
Таблица А.1 - Сравнительный анализ пластической
деформации материалов с результатами опытной носки обуви
|
Материалы
|
Пластическая
деформация, %
|
Оценка
способности приформовывания материала по стопе на основе результатов носки
обуви
|
|
Полимерный
|
1,2
|
Приформовывание
незначительное
|
|
С
тканевой прокладкой
|
3,1
|
Приформовывание
незначительное
|
|
С
прокладкой из нетканого материала
|
6,3
|
Приформовывание
заметно в носке
|
|
Двухслойные
с основой из нетканого материала
|
5,0
- 7,5
|
Приформовывание
заметно в носке
|
|
Выросток
хром. дубления с облагороженной лицевой поверхностью
|
10,2
- 12,6
|
Приформовывание
правильное, обувь приобретает форму наиболее благоприятную для
физиологических функций стопы
|
|
Выросток
хромового дубления, наппа
|
11,0
- 15,9
|
Приформовывание
хорошее (иногда требуется применение более прочных подкладочных материалов)
|
|
Двухслойный
с основой из неимпрегнированного нетканого материала
|
22,4
|
Чрезмерная
деформация обуви
|
ПРИЛОЖЕНИЕ Б
Методы оценки упруго-пластических свойств
материалов для верха обуви
А - испытуемая поверхность;
r - радиус
испытуемой поверхности А;
h - высота
полусферического выгиба над средней точкой испытуемой поверхности, измеряемая в
любой момент времени испытания на продавливание;
rh - радиус
выгиба - это радиус сферы, часть поверхности которой образует испытываемый
материал:
rh =
;
α - угол края выгиба - это
угол между касательной у края выгиба и горизонтальной зажимной поверхностью.
α = 
;
в - длина дуги выгиба - это длина
каждой дуги выгиба, проходящей через вершину полусферического выгиба
в =
= 2rh∙arcα
Рисунок В.1 - Схематическое
изображение геометрических величин образца при испытании
ПРИЛОЖЕНИЕ В
Диалоговые окна программного обеспечения
автоматизированного комплекса для оценки упруго-пластических свойств материалов
Рисунок Г.1 - Диалоговое окно «Режим испытания»:
вывод полученных экспериментальных данных на экран монитора в цифровом виде
Рисунок Г.2 - Диалоговое окно блока обработки
массива исходных данных
Рисунок Г.3 - Диалоговое окно «Вывод графиков
зависимости Р = f (l)
исследуемых материалов»
Рисунок Г.4 - Диалоговое окно «Показатели упруго-пластических
свойств материалов»
ПРИЛОЖЕНИЕ Г
Корреляционный анализ показателей
упруго-пластических свойств материалов, полученных при различных методах
испытания
Таблица Д.1 - Корреляционный анализ показателей
упруго-пластических свойств материалов для наружных деталей верха обуви,
полученных при стандартных и единых условиях нагружения
|
Стандартные
условия испытаний
|
Единые
условия испытаний материалов
|
|
εполн
|
εост
|
П
|
А
|
Еу
|
|
εполн
|
0,73*
|
0,54*
|
0,33
|
0,90*
|
-
0,66*
|
|
εост
|
0,55*
|
0,82*
|
0,75*
|
0,63*
|
-
0, 55*
|
|
П
|
0,26
|
0,80*
|
0,92*
|
0,24
|
-
0,37
|
|
А
|
0,68*
|
0,47*
|
0,30
|
0,87*
|
-
0,68*
|
|
Еу
|
-
0,57*
|
-
0,42
|
-
0,30
|
-
0,61*
|
0,93*
|
Таблица Д.2 - Корреляционный анализ показателей
упруго-пластических свойств текстильных материалов, полученных при стандартных
и единых условиях нагружения
|
Стандартные
условия испытаний
|
Единые
условия испытаний материалов
|
|
εполн
|
εост
|
П
|
А
|
|
εполн
|
0,88*
|
0,89*
|
0,48*
|
0,94*
|
|
εост
|
0,86*
|
0,95*
|
0,65*
|
0,86*
|
|
П
|
0,56
|
0,72*
|
0,87*
|
0,45*
|
|
А
|
0,86*
|
0,86*
|
0,53*
|
0,99*
|
Таблица Д.3 - Корреляционный анализ показателей
упруго-пластических свойств материалов для наружных деталей верха обуви,
полученных на приборах В3030 и ПОИК
|
Испытания
на приборе В3030
|
Испытания
на приборе ПОИК
|
|
hост
|
П
|
|
hост
|
0,84
|
0,84
|
|
П
|
0,84
|
0,84
|
ПРИЛОЖЕНИЕ Д
Графики зависимости ε
= f (τ)
- яловка легкая; 2 - яловка эласт. art.
NEVROR; 3 - полукожник
эласт.; 4 - винилискожа-Т; 5 - ИК «CAPRETTO
P UNDRUSH»;
6 - ИК «Metlak»; 7 - СК «Syn-baby»;
8 - СК «Неве»; 9 - СК марки 2.
Рисунок Е.1 - Кривые релаксации деформации
материалов для наружных деталей верха обуви при одноосном растяжении
-ткань обувная подкладочная; 2-тик-саржа;
3-ткань экспериментальная; 4-трикотаж для подкладки (поверх. пл-ть 292 г/м2); 5
-трикотаж для подкладки (поверх. пл-ть 185 г/м2)
Рисунок Е.2 - Кривые релаксации деформации
текстильных материалов для подкладки обуви при одноосном растяжении
- термобязь; 2 - нетканое полотно «Спанбонд»; 3
- трикотаж для межподкладки (поверх. пл-ть 130 г/м2); 4 - трикотаж для
межподкладки (поверх. пл-ть 172 г/м2)
Рисунок Е.3 - Кривые релаксации деформации
текстильных материалов для межподкладки обуви при одноосном растяжении
- яловка легкая; 2 - яловка эласт. art.
NEVROR; 3 - полукожник
эласт.; 4 - винилискожа-Т; 5 - ИК «CAPRETTO
P UNDRUSH»;
6 - ИК «Metlak»; 7 - СК
марки 2; 8 - СК «Неве»; 9 - СК «Syn-baby».
Рисунок Е.4 - Кривые релаксации деформации
материалов для наружных деталей верха обуви при двухосном растяжении
- термобязь; 2 - нетканое полотно «Спанбонд»; 3
- трикотаж для межподкладки (поверх. пл-ть 130 г/м2); 4 - трикотаж для
межподкладки (поверх. пл-ть 172 г/м2); 5 - ткань обувная подкладочная; 6 -
тик-саржа; 7 - ткань экспериментальная; 8 -трикотаж для подкладки (поверх.
пл-ть 292 г/м2); 9 - трикотаж для подкладки (поверх. пл-ть 185 г/м2)
Рисунок Е.5 - Кривые релаксации деформации
текстильных материалов для межподкладки и подкладки обуви при двухосном
растяжении
- ИК «Metlak»
+ термобязь; 2 - ИК «Metlak»
+ трикотаж; 3 - ИК «Metlak»
+ неткан. мат-л; 4 - Яловка эл. + термобязь; 5 - Яловка эл. + трикотаж; 6 - Яловка
эл. + неткан. мат-л; 7 - СК марки 2 + термобязь; 8 - СК марки 2 + трикотаж; 9 -
СК марки 2 + неткан. мат-л.
Рисунок Е.6 - Кривые релаксации деформации
систем материалов верх + межподкладка при одноосном растяжении
- термобязь + ткань обувн.;
2-термобязь+трикотаж; 3 - термобязь + ткань эксперим.; 4 - трикотаж+ткань
обувн.; 5-трикотаж+трикотаж; 6 -трикотаж + ткань эксперим.; 7 - неткан.
мат-л+ткань обувн.; 8 - неткан. мат-л+трикотаж; 9 - неткан. мат-л+ткань
эксперим
Рисунок Е.7 - Кривые релаксации деформации
систем материалов Яловка эластичная + межподкладка + подкладка при одноосном
растяжении
- термобязь + ткань обувн.; 2 - термобязь +
трикотаж; 3 - термобязь + ткань эксперим.; 4 - трикотаж+ткань обувн.; 5 -
трикотаж+трикотаж; 6 -трикотаж+ткань эксперим.; 7 - неткан. мат-л+ткань обувн.;
8 - неткан. мат-л+трикотаж; 9 - неткан. мат-л+ткань эксперим
Рисунок Е.8 - Кривые релаксации деформации
систем материалов ИК «Metlak»
+ межподкладка + подкладка при одноосном растяжении
- термобязь + ткань обувн.; 2 - термобязь +
трикотаж; 3 - термобязь + ткань эксперим.; 4 - трикотаж+ткань обувн.; 5 -
трикотаж+трикотаж; 6 -трикотаж+ткань эксперим.; 7 - неткан. мат-л+ткань обувн.;
8 - неткан. мат-л+трикотаж; 9 - неткан. мат-л+ткань эксперим
Рисунок Е.9 - Кривые релаксации деформации
систем материалов СК марки 2 + межподкладка + подкладка при одноосном
растяжении
- Яловка эл. + термобязь; 2 - ИК «Metlak»
+ термобязь; 3 - СК марки 2 + термобязь; 4 - Яловка эл. + трикотаж; 5 - ИК «Metlak»
+ трикотаж; 6 - СК марки 2 + трикотаж; 7 - Яловка эл. + неткан. мат-л; 8 - ИК «Metlak»
+ неткан. мат-л; 9 - СК марки 2 + неткан. мат-л
Рисунок Е.10 - Кривые релаксации деформации
систем материалов верх + межподкладка при двухосном растяжении
- термобязь + ткань обувн.; 2 - термобязь +
трикотаж; 3 - термобязь + ткань эксперим.; 4 - трикотаж+ткань обувн.; 5 - трикотаж+трикотаж;
6 -трикотаж+ткань эксперим.; 7 - неткан. мат-л+ткань обувн.; 8 - неткан.
мат-л+трикотаж; 9 - неткан. мат-л+ткань эксперим
Рисунок Е.11 -Кривые релаксации деформации
систем материалов Яловка эластичная + межподкладка + подкладка при двухосном
растяжении
- термобязь + ткань обувн.; 2 - термобязь +
трикотаж; 3 - термобязь + ткань эксперим.; 4 - трикотаж+ткань обувн.; 5 -
трикотаж+трикотаж; 6 -трикотаж+ткань эксперим.; 7 - неткан. мат-л+ткань обувн.;
8 - неткан. мат-л+трикотаж; 9 - неткан. мат-л+ткань эксперим
Рисунок Е.12 - Кривые релаксации деформации
систем материалов ИК «Metlak
+ межподкладка + подкладка при двухосном растяжении
- термобязь + ткань обувн.; 2 - термобязь +
трикотаж; 3 - термобязь + ткань эксперим.; 4 - трикотаж+ткань обувн.; 5 -
трикотаж+трикотаж; 6 -трикотаж+ткань эксперим.; 7 - неткан. мат-л+ткань обувн.;
8 - неткан. мат-л+трикотаж; 9 - неткан. мат-л+ткань эксперим
Рисунок Е.13 - Кривые релаксации деформации
систем материалов СК марки 2 + межподкладка + подкладка при двухосном
растяжении
- одноосное растяжение;
- двухосное
растяжение
1 - яловка эластичная art.
Nero; 2 - яловка
эластичная art. Наппа;
3 - СК
«POSITANO NAT BRUSH»;
Рисунок Е.14 - Кривые релаксации деформации
материалов для наружных деталей верха обуви при одноосном и двухосном
растяжении
ПРИЛОЖЕНИЕ Е
Программный продукт для обработки
экспериментальных данных по релаксации деформации обувных материалов
Е.1 Описание работы программного продукта для
обработки экспериментальных данных по релаксации деформации обувных материалов
Рисунок Е.1.1 - Блок-схема этапов
автоматизированной обработки экспериментальных данных по релаксации деформации
материалов
Программа для обработки экспериментальных данных
по релаксации деформации обувных материалов и систем поддерживает многоэкранный
интерфейс. Общение с пользователем происходит через головное меню и диалоговые
окна.
Головное меню (рисунок Ж.1.2) содержит следующие
группы: Файл, Ввод и редактирование, Исследование, Помощь, Печать.
Рисунок Е.1.2 - Головное меню
• Группа Файл предусматривает стандартные
операции записи-чтения документов.
• Группа Ввод и редактирование данных (рисунок
Ж.1.3) позволяет осуществлять ввод экспериментальных данных одного опыта.
Значения деформации в определенный момент времени вводятся поэтапно для
периодов нагружения и отдыха образца. В окне предусмотрена возможность
корректировки введенных значений, а также в случае необходимости их полного или
частичного удаления.
Рисунок Е.1.3 - Диалоговое окно «ввод и
редактирование данных»
Для ускорения процесса ввода данных
предусмотрена командная кнопка «Копировать». Её использование эффективно в тех
случаях, когда замеры деформации для различных опытов осуществляются в одинаковые
промежутки времени. При нажатии данной кнопки в окне текущего опыта
автоматически выводятся экспериментальные данные предыдущего опыта, в
результате чего отпадает необходимость повторного ввода значений времени τ.
Величина деформации корректируется посредством активизации команды «Изменить».
• Группа Исследование (рисунок Ж.1.4) -
предполагает обработку исходного массива данных. Для этого из массива исходных
данных формируется выборка опытов, которые затем обрабатываются при помощи ряда
командных кнопок.
Рисунок Ж.1.4 - Диалоговое окно «Исследование»
Нажатием командной кнопки «Усреднить. Произвести
расчет» производится расчет средних значений деформации в определенный момент
времени для всех опытов, находящихся в выборке, и открывается путь для их
дальнейшей обработки.
Командная кнопка «Расчет параметров» позволяет
произвести расчет основных параметров механической модели Кельвина-Фойгта для
периодов нагружения и отдыха, а также величины полной деформации материала,
составляющих деформации и их долей.
Командная кнопка «Сравнение результатов»
позволяет в расположенных ниже текстовых полях последовательно вывести
экспериментальные и расчетные значения деформации в заданные моменты времени, а
также рассчитать величину отклонения полученных расчетных значений от
экспериментальных.
Кнопка «Расчет деформации для заданного значения
времени» позволяет, используя математическое описание процесса релаксации,
рассчитать величину деформации образца в любой момент времени.
Нажатием кнопок «Построение графика»
осуществляется построение и вывод на экран монитора кривых релаксации
деформации для всех необходимых опытов (рисунок Ж.1.5). При этом предусмотрена
возможность вывода на экран графиков в полном масштабе и только их головной
части.
Рисунок Ж.1.5 - Диалоговое окно «Зависимость
деформации от времени»
Для расчета показателей вязко-упругих свойств
материалов в текстовом поле диалогового окна «Исследование» необходимо с
клавиатуры ввести значение напряжения, при котором осуществлялось испытание
образцов. При нажатии кнопки «Расчет параметров» осуществляется расчет основных
характеристик вязко-упругих свойств материалов: мгновенного, высокоэластичного
и равновесного модулей упругости, коэффициентов вязкости быстрого и медленного
процессов релаксации, пластической вязкости, постоянных времени быстрого и
медленного процессов релаксации.
• Группа Печать (рисунок Ж.1.6, а) - позволяет
получить следующие виды отчетов: в табличной форме значения полной деформации и
ее составных частей, а также значения показателей вязко-упругих свойств
материалов (рисунок Ж.1.6, б); графики зависимости ε
= f (τ)
(рисунок Ж.1.6, в).
а)

б) в)
Рисунок Ж.1.6 - Ниспадающее меню группы «Печать»
• Группа Помощь предполагает краткое описание
всех основных функций программы.
Программа функционирует в операционной среде WINDOWS.
Программирование осуществлялось на языке Visual
Basic.
Е.2 Текст программы для обработки
экспериментальных данных по релаксации деформации обувных материалов
Dim k As IntegerMode As IntegerSub
calculateIfFlag1_Nagr(j As Integer)
Dim i As Integer
'готовим промежуточные значения для
использования метода наименьших квадратов
For
i = 0 To
aN(j)
- 1 'расчитали логарифмы деформации
ln_aP(i) = Log(aP(i))
aTT(i) = aT(i) * aT(i)
Next
For i = 0 To aN(j) - 1 'расчитали произведения
времени на лог. деформации
aTlnP(i) = aT(i) * ln_aP(i)
Next
'готовимся к расчету сумм (времен, логарифмов
деформации, квадратов времен, произведений времени на лог. деформации)
SaT = 0
Sln_aP = 0
SaTT = 0
SaTlnP = 0i = 0 To aN(j) - 1 'суммируем
Sln_aP = Sln_aP + ln_aP(i)
SaTT = SaTT + aTT(i)
SaTlnP = SaTlnP + aTlnP(i)
Next
'расчитываем коэффициенты и находим искомые
параметры
aL = (aN(j) * SaTlnP - SaT * Sln_aP)
/ (aN(j) * SaTT - SaT * SaT)
aH = (Sln_aP - SaT * aL) / aN(j)
Nagr_aTeta(j) = -aL
Nagr_aE(j) = Exp(aH)
'готовимся к сравнению экспер. и теоретич.
значений
Nagr_abcN(j) = aN(j) + bN(j) + cN(j) 'посчитали
общее количество точекi = 0 To aN(j) - 1 'заполнили массивы экспер.значений
деформации времен от начальн. периода
Nagr_abcP(j, i) = aaPe(j, i)
Nagr_abcT(j, i) = aaT(0, i)
SumP1(j, i) = aaPe(j, i)
Next
For
i = aN(j)
To aN(j)
+ bN(j)
- 1 заполн. массивы экспер.значений деформации времен от средн. периода
Nagr_abcP(j, i) = bbPe(j, i - aN(j))
Nagr_abcT(j, i) = bbT(0, i - aN(j))
SumP1(j, i) = bbPe(j, i - aN(j))
Next
For
i = aN(j)
+ bN(j)
To aN(j)
+ bN(j)
+ cN(j)
- 1 'заполнили массивы экспер. значений деформации времен от конечного периода
Nagr_abcP(j, i) = cP(j, i - aN(j) -
bN(j))
Nagr_abcT(j, i) = cT(0, i - aN(j) -
bN(j))
SumP1(j, i) = cP(j, i - aN(j) -
bN(j))
Next
For i = 0 To Nagr_abcN(j) - 1 'заполняем
массив
теоретич.значений
'P_(j, i) = divideExp(Nagr_aE(j),
Nagr_aTeta(j) * Nagr_abcT(j, i)) + divideExp(Nagr_bE(j), Nagr_bTeta(j) *
Nagr_abcT(j, i)) + divideExp(Nagr_cE(j), Nagr_cTeta(j) * Nagr_abcT(j, i))
NP_(j, i) = Pe_limit(j) -
(divideExp(Nagr_aE(j), Nagr_aTeta(j) * Nagr_abcT(j, i)) _
+ divideExp(Nagr_bE(j),
Nagr_bTeta(j) * Nagr_abcT(j, i)) _
+ divideExp(Nagr_cE(j),
Nagr_cTeta(j) * Nagr_abcT(j, i)))
Next
'RP_(j, i) = divideExp(Rel_aE(j),
Rel_aTeta(j) * Rel_abcT(j, i)) + divideExp(Rel_bE(j), Rel_bTeta(j) *
Rel_abcT(j, i)) + divideExp(Rel_cE(j), Rel_cTeta(j) * Rel_abcT(j, i))SubSub
calculateIfFlag2_Nagr(j As Integer)
Dim i As Integer
'готовим промежуточные значения для
использования метода наименьших квадратов
For i = 0 To bN(j) - 1 'расчитали логарифмы
деформации
ln_bP(i) = Log(bP(i))
bTT(i) = bT(i) * bT(i)
Next
For i = 0 To bN(j) - 1 'расчитали произведения
времени на лог. деформации
bTlnP(i) = bT(i) * ln_bP(i)
Next
'готовимся к расчету сумм (времен, логарифмов
деформации, квадратов времен, произведений времени на лог. деформации)
SbT = 0
Sln_bP = 0
SbTT = 0
SbTlnP = 0i = 0 To bN(j) - 1 'суммируем
SbT = SbT + bT(i)
Sln_bP = Sln_bP + ln_bP(i)
SbTT = SbTT + bTT(i)
SbTlnP = SbTlnP + bTlnP(i)
Next
'расчитываем коэффициенты и находим искомые
параметры
bL = (bN(j) * SbTlnP - SbT * Sln_bP) / (bN(j) *
SbTT - SbT * SbT)
bH = (Sln_bP - SbT * bL) / bN(j)
Nagr_bTeta(j) = -bL
Nagr_bE(j) = Exp(bH)SubSub
calculateIfFlag1_Rel(j As Integer)
Dim i As Integer
'готовим промежуточные значения для
использования метода наименьших квадратов
For i = 0 To aNR(j) - 1 'расчитали логарифмы
деформации
ln_aP(i) = Log(aP(i))
aTT(i) = aT(i) * aT(i)
Next
For i = 0 To aNR(j) - 1 'расчитали произведения
времени на лог. деформации
aTlnP(i) = aT(i) * ln_aP(i)
Next
'готовимся к расчету сумм (времен, логарифмов
деформации, 'квадратов времен, произведений времени на лог. деформации)
SaT = 0
Sln_aP = 0
SaTT = 0
SaTlnP = 0
For i = 0 To aNR(j) - 1 'суммируем
SaT = SaT + aT(i)
Sln_aP = Sln_aP + ln_aP(i)
SaTT = SaTT + aTT(i)
SaTlnP = SaTlnP + aTlnP(i)
Next
'расчитываем коэффициенты и находим искомые
параметры
aL = (aNR(j) * SaTlnP - SaT *
Sln_aP) / (aNR(j) * SaTT - SaT * SaT)
aH = (Sln_aP - SaT * aL) / aNR(j)
Rel_aTeta(j) = -aL
Rel_aE(j) = Exp(aH)
''готовимся к сравнению экспер. и теоретич.
значений
Rel_abcN(j) = aNR(j) + bNR(j) + cNR(j)
'посчитали общее количество точекi = 0 To aNR(j) - 1 'заполнил массивы
экспер.значений деформации времен от начальн. периода
Rel_abcP(j, i) = aaPeR(j, i)
'Rel_abcT(j, i) = aaT(j, i)
Next
For
i = aNR(j)
To aNR(j)
+ bNR(j)
- 1 'заполнили массивы экспер.значений деформации времен от среднего периода
Rel_abcP(j, i) = bbPeR(j, i -
aNR(j))
'Rel_abcT(j, i) = bbT(j, i - aNr(j))
Next
For
i = aNR(j)
+ bNR(j)
To aNR(j)
+ bNR(j)
+ cNR(j)
- 1 'заполнили массивы экспер.значений деформации времен от конечного периода
Rel_abcP(j, i) = cPR(j, i - aNR(j) -
bNR(j))
'Rel_abcT(j, i) = cT(j, i - aNr(j) -
bNr(j))
Next
For i = 0 To Rel_abcN(j) - 1 'заполняем
массив
теоретич.значений
RP_(j, i) = divideExp(Rel_aE(j),
Rel_aTeta(j) * Rel_abcT(j, i)) + divideExp(Rel_bE(j), Rel_bTeta(j) *
Rel_abcT(j, i)) + divideExp(Rel_cE(j), Rel_cTeta(j) * Rel_abcT(j, i))
NextSubSub calculateIfFlag2_Rel(j As
Integer)
Dim i As Integer
'готовим промежуточные значения для
использования метода наименьших квадратов
For i = 0 To bNR(j) - 1 'расчитали логарифмы
деформации
ln_bP(i) = Log(bP(i))
bTT(i) = bT(i) * bT(i)
Next
For i = 0 To bNR(j) - 1 'расчитали произведения
времени на лог. деформации
bTlnP(i) = bT(i) * ln_bP(i)
Next
'готовимся к расчету сумм (времен, логарифмов
деформации, 'квадратов времен, произведений времени на лог. деформации)
SbT = 0
Sln_bP = 0
SbTT = 0
SbTlnP = 0
For i = 0 To bNR(j) - 1 'суммируем
SbT = SbT + bT(i)
Sln_bP = Sln_bP + ln_bP(i)
SbTT = SbTT + bTT(i)
SbTlnP = SbTlnP + bTlnP(i)
Next
'расчитываем коэффициенты и находим искомые
параметры
bL = (bNR(j) * SbTlnP - SbT * Sln_bP) / (bNR(j)
* SbTT - SbT * SbT)
bH = (Sln_bP - SbT * bL) / bNR(j)
Rel_bTeta(j) = -bL
Rel_bE(j) = Exp(bH)SubSub
setCmdEnabled(value As Boolean)
cmd_Graf.Enabled = value
cmd_Grafik.Enabled = value
cmd_Prosm.Enabled = value
cmd_Sravn.Enabled = value
cmd_PfromT.Enabled = valueSubSub
stageCalculate(nTest As Integer, nStage As Integer, phase As Integer, j As
Integer, arr_aN() As Byte, arr_aaT() As Double, arr_aaPe() As Single)
Dim i As Integer_aN(j) =
stageCount(nTest, nStage, phase) '
DataExe2.RecordSource =
stageSelect(nTest, nStage, phase) 'нужно
изменить
параметры
DataExe2.Refresh
If Not DataExe2.Recordset.EOF Then
DataExe2.Recordset.MoveFirst
i = 0
Do While Not DataExe2.Recordset.EOF
arr_aaT(j, i) =
DataExe2.Recordset![TRel_Texp]
arr_aaPe(j, i) =
DataExe2.Recordset![TRel_Pexp]
DataExe2.Recordset.MoveNext
i = i + 1
Loop
End IfSub
'Функция выделения записей (N_Stest)в
таблице T_Stest
Private Function StestSelect() As
String
StestSelect = "Select
TSel_Ntest From T_SelTest "
End Function
'Функция выделения записей (N_zap, T_Texp,
T_Pexp) в таблице D_expRel для заданных номера опыта и стадии
'Public Function stageSelect(nTest
As Integer, stage As Integer, phase As Integer) As String
' stageSelect = "Select
TRel_Nzap, TRel_Texp, TRel_Pexp From D_expRel Where TRel_Ntest = " &
nTest & " and TRel_Stage = " & stage & " and
TRel_Phase = " & phase
'End Function
'Функция выделения записей (N_zap, T_Texp,
T_Pexp) в таблице D_exp для заданных номера опыта и стадии
'Private Function stageSelect(nTest
As Integer, nStage As Integer) As String
'stageSelect = "Select N_zap,
T_Texp, T_Pexp From D_exp Where T_test = " & nTest & " and T_Stage
= " & nStage
'End Function
'Функция определения количества опытов,
отобранных для вывода на график
'нужна для организации вывода данных
(деформация, время) в массив
Private Function StestCount() As
Integer
Dim sql
sql = "Select Count(*) As
StestCount From T_SelTest"
DataExecute.RecordSource = sql
DataExecute.Refresh
StestCount =
DataExecute.Recordset![StestCount]
End Function
'Функция определения количества записей в
заданной стадии заданного опыта
'нужна для организации вывода данных в массив
Private Function stageCount(nTest As
Integer, nStage As Integer, phase As Integer) As Integer
Dim sql
sql = "Select Count(*) As
StageCount From D_expRel Where TRel_Ntest = " & nTest & " and
TRel_Stage = " & nStage & " and TRel_Phase = " &
phase
DataExecute.RecordSource = sql
DataExecute.Refresh
stageCount =
DataExecute.Recordset![stageCount]FunctionSub Cmd_add_Click()
If Not DataTest.Recordset.EOF Then
Dim sql As String
sql = "Insert Into T_SelTest
(TSel_Ntest) values ( " & DataTest.Recordset![M_Ntest] &
")"
DataExecute.Database.Execute sql
End If
DataSelTest.Refresh
setCmdEnabled FalseSubSub
Cmd_del_Click()
Dim sql
sql = "Delete From T_SelTest
Where TSel_Ntest = " & DataSelTest.Recordset![TSel_Ntest]
DataExecute.Database.Execute sql
DataSelTest.Refresh
DataExe1.Refresh
DataExe2.Refresh
setCmdEnabled False
'cmd_Usred.Enabled = FalseSubSub
cmd_Graf_Click()_GrNagrRel.Show_Grafik = False_Razryv_T1 =
txt_T_1.Text_Razryv_T2 = txt_T_2.Text_T_Razryv = Nagr_Razryv_T2 -
Nagr_Razryv_T1_Razryv_T1 = txt_T_3.Text_Razryv_T2 = txt_T_4.Text_T_Razryv =
Rel_Razryv_T2 - Rel_Razryv_T1SubSub cmd_Grafik_Click()
'Nagr_N_nabU = 0 'Количество наборов опытов для
усреднения
Fl_Grafik = True_Razryv_T1 =
txt_T_1.Text_Razryv_T2 = txt_T_2.Text_T_Razryv = Nagr_Razryv_T2 -
Nagr_Razryv_T1_Razryv_T1 = txt_T_3.Text_Razryv_T2 = txt_T_4.Text_T_Razryv =
Rel_Razryv_T2 - Rel_Razryv_T1_GrNagrRel.ShowSubSub
cmd_PfromT_Click()Vybor_Sravn = NAGRUZ_Sravn Then_tek = txt_TforP
If T_tek > 0 Then
P_tek = Pe_limit(Nop) -
(divideExp(Nagr_aE(Nop), Nagr_aTeta(Nop) * T_tek) _
+ divideExp(Nagr_bE(Nop),
Nagr_bTeta(Nop) * T_tek) _
+ divideExp(Nagr_cE(Nop),
Nagr_cTeta(Nop) * T_tek))
txt_PfromT.Text = Format(P_tek,
"##.000")
End IfIfVybor_Sravn = RELAX_Sravn
Then_tek = txt_TforP
If T_tek > 0 Then
P_tek = (divideExp(Rel_aE(Nop),
Rel_aTeta(Nop) * T_tek) _
+ divideExp(Rel_bE(Nop),
Rel_bTeta(Nop) * T_tek) _
+ divideExp(Rel_cE(Nop),
Rel_cTeta(Nop) * T_tek))
txt_PfromT.Text = Format(P_tek,
"##.000")
End IfIfSubSub cmd_Prosm_Click() - выводим
найденные
параметры
'txt_NopSosPol As SingleSosPla As
SingleSosUpr As SingleSosEl As SingleSosElPla As SingleDolPla As SingleDolUpr
As SingleDolEl As SingleSigRas As SingleNROrg As SingleModMgn As SingleModVel
As SingleModRav As SingleKVRbys As SingleKVRmed As SingleKVRpla As SinglePostVremB
As SinglePostVremM As SingleN_clRP As ByteVybor_Sravn = NAGRUZ_Sravn Then
j = N_cl Mod Nagr_N_nabU
txt_Nop.Text = N_Sop(j)
'N_Sop(nagr_n_nabu)
txt_aE.Text = Format(Nagr_aE(j),
"##.000")
txt_bE.Text = Format(Nagr_bE(j),
"##.000")
txt_cE.Text = Format(Nagr_cE(j),
"##.000")
txt_aTeta.Text =
Format(Nagr_aTeta(j), "##.00000")
txt_bTeta.Text =
Format(Nagr_bTeta(j), "##.00000")
txt_cTeta.Text =
Format(Nagr_cTeta(j), "##.00000")
N_cl = N_cl + 1
N_clTP = 0 'исходные данные для сравнения
Nop = jIfVybor_Sravn = RELAX_Sravn
Then= N_cl Mod N_nabU_Nop.Text = N_Sop(j) 'N_Sop(nagr_n_nabu)_aE.Text =
Format(Rel_aE(j), "##.000")_bE.Text = Format(Rel_bE(j),
"##.000")_cE.Text = Format(Rel_cE(j), "##.000")_aTeta.Text
= Format(Rel_aTeta(j), "##.00000")_bTeta.Text = Format(Rel_bTeta(j),
"##.00000")_cTeta.Text = Format(Rel_cTeta(j), "##.00000")
N_cl = N_cl + 1_clTP = 0 'исходные данные для
сравнения
Nop = j= Prom_abcP(Nop,
Nagr_abcN(Nagr_N_nabU - 1) - 1)= Rel_abcP(Nop, 0)= Rel_abcP(Nop,
Rel_abcN(N_nabU - 1) - 1)= SosPol - SosElPla= SosElPla - SosPla= SosUpr /
SosPol= SosPla / SosPol= SosEl / SosPol= 1 / Rel_aTeta(Nop)= 1 /
Rel_bTeta(Nop)_SosPol = Format(SosPol, "##.000")_SosUpr =
Format(SosUpr, "##.000")_SosEl = Format(SosEl, "##.000")_SosPla
= Format(SosPla, "##.000")_DolUpr = Format(DolUpr,
"#0.000")_DolEl = Format(DolEl, "#0.000")_DolPla =
Format(DolPla, "#0.000")
SigRas = txt_SigRas.Text_aE.Text =
Format(Rel_aE(j), "##.000")_bE.Text = Format(Rel_bE(j),
"##.000")_cE.Text = Format(Rel_cE(j), "##.000")
ModMgn = SigRas / Rel_aE(j) 'SosUpr
ModVel = SigRas / Rel_bE(j) 'SosEl
ModRav = SigRas / (Rel_aE(j) +
Rel_bE(j)) '(SosUpr + SosUpr)
KVRbys = ModMgn / Rel_aTeta(Nop)
KVRmed = ModVel / Rel_bTeta(Nop)
KVRpla = (Nagr_abcT(Nop,
Nagr_abcN(Nagr_N_nabU - 1) - 1) * SigRas) / Rel_cE(j)
txt_PostVremB = Format(PostVremB,
"##.000")
txt_PostVremM = Format(PostVremM,
"##.000")
txt_ModMgn = Format(ModMgn,
"##.000")
txt_ModVel = Format(ModVel,
"##.000")
txt_ModRav = Format(ModRav,
"##.000")
txt_KVRbys = Format(KVRbys,
"##.000")
txt_KVRmed = Format(KVRmed,
"##.000")
txt_KVRpla = Format(KVRpla,
"##.000")IfSubSub cmd_Sravn_Click()dP As SingleVybor_Sravn =
NAGRUZ_Sravn Then= N_clTP Mod Nagr_abcN(Nop)_T.Text = Nagr_abcT(Nop, i)_Pe.Text
= Format(Prom_abcP(Nop, i), "##.000") 'заменил
Nagr_abcP на Prom_abcP_Pt.Text
= Format(NP_(Nop, i), "##.000")= 100 * ((Prom_abcP(Nop, i) - NP_(Nop,
i)) / NP_(Nop, i)) 'Nagr_abcP_dP.Text = Format(dP, "#0.0")_clTP =
N_clTP + 1IfVybor_Sravn = RELAX_Sravn Then= N_clTP Mod Rel_abcN(Nop)_T.Text = Rel_abcT(Nop,
i)_Pe.Text = Format(Rel_abcP(Nop, i), "##.000")_Pt.Text =
Format(RP_(Nop, i), "##.000")= 100 * ((Rel_abcP(Nop, i) - RP_(Nop,
i)) / RP_(Nop, i))_dP.Text = Format(dP, "#0.0")_clTP = N_clTP +
1IfSubSub cmd_Usred_Click()
Dim i As Integer
Dim j As Integer
Dim N_test As Integer
Dim k As Integer
N_cl = 0
Nagr_SopN_U = StestCount 'определили количество
отобранных к усреднению опытов
If Nagr_SopN_U < 10 Then
'Text1
'Определяются для трех этапов : значения
экспериментальных данных (Т и Р) а также к-во точек в этапе
(aN(j),bN(j),cN(j)). Время и деформация заносятся 'в соответствующие этапам
исходные массивы, где j - порядковый номер отобранного опыта, i - номер точки в
этом этапе
DataExe1.RecordSource =
StestSelect() 'вызвали
отобранные
опыты
DataExe1.Refresh
If Not DataExe1.Recordset.EOF Then
DataExe1.Recordset.MoveFirst
j = 0
'внешний цикл - проход по номерам отобранных
опытов
Do While Not DataExe1.Recordset.EOF
N_test =
DataExe1.Recordset![TSel_Ntest]
N_Sop_U(j) = N_test 'номер теста сохраняется в
массиве
'далее три внутренних циклов - считывание
значений данных опыта по стадиям
'заполнение массивов с количеством точек -
aN(j),bN(j),cN(j)
'заполнение массивов с опытными данными - aaT,
aaPe bbT, bbPe cN, cT, cP
'циклы организованы в процедуре stageCalculate с
нужными параметрами
stageCalculate N_test, 1,
NAGRUZ_PHASE, j, aN_U, aaTe_U, aaPe_U
stageCalculate N_test, 2,
NAGRUZ_PHASE, j, bN_U, bbTe_U, bbPe_U
stageCalculate N_test, 3,
NAGRUZ_PHASE, j, cN_U, cTe_U, cPe_U
DataExe1.Recordset.MoveNext
j = j + 1
Loop
End If 'If Not
DataExe1.Recordset.EOF
'Закончено считывание данных для усреднения
End If 'If nagr_n_nabu < 10
Nagr_N_nabU
= Nagr_N_nabU
+ 1 'Номер набора усредняемых опытов
Dim Flag1 As Boolean
Dim Flag2 As BooleanNagr_N_nabU <
21 Then
Flag1 = False
Flag2 = False
'Определяются для трех этапов : значения
экспериментальных данных (Т и Р)
'а также к-во точек в этапе (aN(j),bN(j),cN(j)).
Время и деформация заносятся в соответствующие этапам исходные массивы, где j -
порядковый номер отобранного опыта, i - номер точки в этом этапе
Dim N_Sop_ As Single ' номер отобранных опытов
N_Sop_ = 0
For j = 0 To Nagr_SopN_U - 1 'цикл по отобранным
к усреднению опытам_Sop_ = N_Sop_ + N_Sop_U(j) 'посчитали сумму
Next j
N_Sop(Nagr_N_nabU - 1) = (N_Sop_ / Nagr_SopN_U)
'посчитали средний номер для вывода
Dim Pe_prom(7) As Single '
For i = 0 To aN_U(0) - 1 ' ' цикл по точкам () в
стадии а, количество точек в массиве
Pe_prom(i) = 0
For j = 0 To (Nagr_SopN_U - 1) '
Pe_prom(i) = Pe_prom(i) + aaPe_U(j,
i) '
Next j '
aaPe_US(Nagr_N_nabU - 1, i) =
(Pe_prom(i)) / Nagr_SopN_U '
aaT(0, i) = aaTe_U(0, i)
'aaTe_U(Nagr_N_nabU - 1, i)i '
aN(Nagr_N_nabU - 1) = aN_U(0) '
For i = 0 To bN_U(0) - 1 '
Pe_prom(i) = 0
For j = 0 To (Nagr_SopN_U - 1)
Pe_prom(i) = Pe_prom(i) + bbPe_U(j,
i)
Next j
bbPe_US(Nagr_N_nabU - 1, i) =
(Pe_prom(i)) / Nagr_SopN_U
bbT(0, i) = bbTe_U(0, i)
'bbTe_U(nagr_n_nabu - 1, i)'bbTe_U
Next i
bN(Nagr_N_nabU - 1) = bN_U(0)i = 0
To cN_U(0) - 1 '
Pe_prom(i) = 0
For j = 0 To (Nagr_SopN_U - 1)
Pe_prom(i) = Pe_prom(i) + cPe_U(j,
i)
Next j
cP_US(Nagr_N_nabU - 1, i) =
(Pe_prom(i)) / Nagr_SopN_U
cT(0, i) = cTe_U(0, i)
'cTe_U(nagr_n_nabu - 1, i)
Next i(Nagr_N_nabU - 1) = cN_U(0)j =
0 To Nagr_N_nabU - 1
For i = 0 To aN(j) - 1 'заполнили массивы
экспер. значений деформации времен от начальн. периода
Nagr_abcT(j, i) = aaT(0, i) 'вставил Nagr_N_nabU
- 1 вместо j
Nexti=aN(j) To aN(j)+bN(j) - 1 заполн. массивы
экспер.знач. деформации времен от средн. периода
Nagr_abcT(j, i) = bbT(0, i - aN(j))
Nexti = aN(j) + bN(j) To aN(j) + bN(j) + cN(j) -
1 'заполнили массивы экспер.значений деформации времен от конечного периода
Nagr_abcT(j, i) = cT(0, i - aN(j) -
bN(j))
NextjDelta_cT As Single '
Delta_cT = 0.05 * (cT(0, (cN_U(0) -
1)) - cT(0, (cN_U(0) - 2)))
txt_T_1.Text = cT(0, (cN_U(0) - 2))
+ Delta_cT
txt_T_2.Text = cT(0, (cN_U(0) - 1))
- Delta_cT
Pe_limit(Nagr_N_nabU - 1) =
cP_US(Nagr_N_nabU - 1, (cN_U(0) - 1)) + 0.1 '
'''''''''''опрокидывание
массивовj
= 0 To (Nagr_N_nabU - 1) '(Nagr_SopN_U - 1) '
For i = 0 To aN_U(0) - 1 ' количесво точек в
массиве =3
aaPe(j, i) = Pe_limit(j) -
aaPe_US(j, i) '
Next i 'j 'j = 0 To (Nagr_N_nabU -
1) '(Nagr_SopN_U - 1)
For i = 0 To bN_U(0) - 1 ' количесво точек в
массиве =4
bbPe(j, i) = Pe_limit(j) -
bbPe_US(j, i) '
Next i 'jj = 0 To (Nagr_N_nabU - 1)
'(Nagr_SopN_U - 1)
For i = 0 To cN_U(0) - 1 ' количесво точек в
массиве =4
cP(j, i) = Pe_limit(j) - cP_US(j, i)
'
Next i 'j
'''''''''''конец опрокидывания
For j = 0 To (Nagr_N_nabU - 1)
'расчетная часть с-периода (конечного)
'готовим промежуточные значения для
использования метода наименьших квадратов
For i = 0 To cN(j) - 1 'расчитали логарифмы
усилий
ln_cP(i) = Log(cP(j, i)) 'в массиве первый
индекс - номер опыта
cTT(i) = cT(0, i) * cT(0, i)
Next
For i = 0 To cN(j) - 1 'расчитали произведения
времени на лог. деформации
cTlnP(i) = cT(0, i) * ln_cP(i)
Next
'готовимся к расчету сумм (времен, логарифмов
деформации, 'квадратов времен, произведений времени на лог. деформации)
ScT = 0
Sln_cP = 0
ScTT = 0
ScTlnP = 0
For i = 0 To cN(j) - 1 'суммируем
ScT = ScT + cT(0, i)
Sln_cP = Sln_cP + ln_cP(i)
ScTT = ScTT + cTT(i)
ScTlnP = ScTlnP + cTlnP(i)
Next
'расчитываем коэффициенты и находим искомые
параметры
cL = (cN(j) * ScTlnP - ScT * Sln_cP) / (cN(j) *
ScTT - ScT * ScT)
cH = (Sln_cP - ScT * cL) / cN(j)
Nagr_cTeta(j) = -cL
Nagr_cE(j) = Exp(cH)
'расчетная часть b-периода(среднего)
For i = 0 To bN(j) - 1 'заполнили массивы
экспер.значений времен и деформации
bPe(i) = bbPe(j, i)
bT(i)
= bbT(0, i)
Next
'рассчитыв. теоретич. значения добавки
деформации от части уравнения, описывающего c-период
For i = 0 To bN(j) - 1 '
Next
For
i = 0 To
bN(j)
- 1 'заполнили массив скорректированных значений деформации
bP(i) = bPe(i) - cP_(j, i)
If bP(i) < 0 Then
bP(i) = 0.001 'Flag2 = True'''отладка
050306
End If
NextFlag2 = False Then
calculateIfFlag2_Nagr j
Else
MsgBox "Данные
нужно
корректировать
3эN",
vbExclamation, "Внимание"
setCmdEnabled False
Exit Sub
End If
'расчетная часть a-периода (начального)
For i = 0 To aN(j) - 1 'заполнили массивы
экспер.значений деформации и времен
aPe(i) = aaPe(j, i)
aT(i) = aaT(0, i)
Next
'Nagr_P_max = aPe(0)
'рассчитываем теорет. значения добавок
деформации от части уравнения, описывающего c и b-период
For i = 0 To aN(j) - 1 '
cP_(j, i) = Nagr_cE(j) / Exp(aT(i) *
Nagr_cTeta(j))
bP_(i) = Nagr_bE(j) / Exp(aT(i) *
Nagr_bTeta(j))
Next
For
i = 0 To
aN(j)
- 1 'заполнили массив скорректированных значений деформации
aP(i) = aPe(i) - cP_(j, i) - bP_(i)
If aP(i) < 0 Then
aP(i) = 0.00001 'Flag1 = True
End If
NextFlag1 = False Then
calculateIfFlag1_Nagr j
Else
MsgBox "Данные
нужно
корректировать
2эN",
vbExclamation, "Внимание"
setCmdEnabled False
Exit Sub
End If
Next j
'''''''''''
setCmdEnabled True
MsgBox "Количество отобранных опытов
превышает 20", vbExclamation, "Внимание"
setCmdEnabled FalseIf 'If
nagr_n_nabu < 21
'найдем предельные деформацию и время_T_max =
Nagr_abcT(0, Nagr_abcN(0) - 1)_P_max = 0
N_cl = 0 'обнулим количество щелчков
Nagr_P_max = 0j = 0 To Nagr_N_nabU -
1Pe_limit(j) > Nagr_P_max Then_P_max = Pe_limit(j)Ifj_T_kon = Nagr_T_maxj =
0 To Nagr_N_nabU - 1
For i = 0 To Nagr_abcN(j) - 1
Prom_abcP(j, i) = Pe_limit(j) -
Nagr_abcP(j, i)
Next ij
''''''''''''''пошла
релаксация
SopN_U = StestCount 'определили количество
отобранных к усреднению опытовSopN_U < 10 Then
'Определяются для трех этапов : значения
экспериментальных данных (Т и Р)
'а также к-во точек в этапе (aN(j),bN(j),cN(j)).
Время и усилия заносятся в соответствующие этапам исходные массивы, где j -
порядковый номер отобранного опыта, i - номер точки в этом этапе
DataExe1.RecordSource =
StestSelect() 'вызвали
отобранные
опыты
DataExe1.Refresh
If Not DataExe1.Recordset.EOF Then
DataExe1.Recordset.MoveFirst
j = 0
'внешний цикл - проход по номерам отобранных опытов
Do While Not DataExe1.Recordset.EOF
N_test =
DataExe1.Recordset![TSel_Ntest]
N_Sop_U(j) = N_test 'номер теста сохраняется в
массиве
'далее три внутренних циклов - считывание
значений данных опыта по стадиям
'заполнение массивов с количеством точек - aN(j),bN(j),cN(j)
'заполнение массивов с опытными данными - aaT,
aaPe bbT, bbPe cN, cT, cP
'циклы организованы в процедуре stageCalculate с
нужными параметрами
stageCalculate N_test, 1,
RELAX_PHASE, j, aN_UR, aaTe_UR, aaPe_UR
stageCalculate N_test, 2, RELAX_PHASE,
j, bN_UR, bbTe_UR, bbPe_UR
stageCalculate N_test, 3,
RELAX_PHASE, j, cN_UR, cTe_UR, cPe_UR
DataExe1.Recordset.MoveNext
j = j + 1
Loop
End If 'If Not
DataExe1.Recordset.EOF
'Закончено считывание данных для усредненияIf
'If N_nabU < 10
N_nabU = N_nabU + 1 'Номер набора усредняемых
опытов
Text1.Text = N_nabU
'занесение имен материалов в массив
DataExe1.RecordSource =
StestSelect() 'вызвали
отобранные
опыты.Refresh
If Not DataExe1.Recordset.EOF Then
DataExe1.Recordset.MoveFirst
N_test = DataExe1.Recordset![TSel_Ntest].RecordSource
= "Select M_Mat from Main Where M_Ntest =" & N_test.Refresh
If Not DataExe2.Recordset.EOF Then
DataExe2.Recordset.MoveFirst
Stroka_Mat(N_nabU - 1) =
DataExe2.Recordset![M_Mat]
End If
End If 'If Not DataExe1.Recordset.EOF
занесение
именN_nabU
< 21 Then
Flag1 = False
Flag2 = False_Sop_ = 0
For j = 0 To SopN_U - 1 'цикл по отобранным к
усреднению опытам_Sop_ = N_Sop_ + N_Sop_U(j) 'посчитали сумму
Next j
N_Sop(N_nabU - 1) = (N_Sop_ / SopN_U) 'посчитали
средний номер для выводаi = 0 To aN_UR(0) - 1 'цикл по точкам () в стадии а,
количесво точек в массиве
Pe_prom(i) = 0
For j = 0 To (SopN_U - 1) '
Pe_prom(i) = Pe_prom(i) + aaPe_UR(j,
i) '
Next j '
aaPeR(N_nabU - 1, i) = (Pe_prom(i))
/ SopN_U '
aaT(0, i) = aaTe_UR(0, i) '
Next i '
aNR(N_nabU - 1) = aN_UR(0) 'i = 0 To
bN_UR(0) - 1 'bN_U(k) - 1 '(bN_U(N_nabU - 1) - 1) ''' '
Pe_prom(i) = 0
For j = 0 To (SopN_U - 1)
Pe_prom(i) = Pe_prom(i) + bbPe_UR(j,
i)
Next j
bbPeR(N_nabU - 1, i) = (Pe_prom(i))
/ SopN_U
bbT(0, i) = bbTe_UR(0, i)
'bbTe_U(N_nabU - 1, i) 22.20
'bbT(N_nabU - 1, i) = bbTe_U(0, i)
'bbTe_U(N_nabU - 1, i)
Next i
bNR(N_nabU - 1) = bN_UR(0)i = 0 To
cN_UR(0) - 1 'cN_U(k) - 1 '(cN_U(N_nabU - 1) - 1) ''''
Pe_prom(i) = 0
For j = 0 To (SopN_U - 1)
Pe_prom(i) = Pe_prom(i) + cPe_UR(j,
i)
Next j
cPR(N_nabU - 1, i) = (Pe_prom(i)) /
SopN_U
cT(0, i) = cTe_UR(0, i)
'cTe_U(N_nabU - 1, i)22.02
'cT(N_nabU - 1, i) = cTe_U(0, i)
'cTe_U(N_nabU - 1, i)
Next i(N_nabU - 1) = cN_UR(0)j = 0
To N_nabU - 1
For i = 0 To aNR(j) - 1'заполн. массивы
экспер.значений деформации времен от начального периода
Rel_abcT(j, i) = aaT(0, i)
Nexti = aNR(j) To aNR(j) + bNR(j) - 1 'заполнили
массивы экспер.значений деформации времен от среднего периода
Rel_abcT(j, i) = bbT(0, i - aNR(j))
Nexti = aNR(j) + bNR(j) To aNR(j) + bNR(j) +
cNR(j) - 1 'заполнили массивы экспер.значений деформации времен от конечного
периода
Rel_abcT(j, i) = cT(0, i - aNR(j) -
bNR(j))
Nextj_cT = 0.01 * (cT(0, cN_UR(0) -
1) - cT(0, cN_UR(0) - 2))
'txt_T_3.Text = cT(N_nabU - 1, 2) +
Delta_cT
'txt_T_4.Text = cT(N_nabU - 1, 3) -
Delta_cT
txt_T_3.Text = cT(0, cN_UR(0) - 2) +
Delta_cT
txt_T_4.Text = cT(0, cN_UR(0) - 1) -
Delta_cT
'''''''''''
For j = 0 To (N_nabU - 1)
'расчетная часть с-периода (конечного)
'готовим промежуточные значения для использования
метода наименьших квадратов
For i = 0 To cNR(j) - 1 'расчитали логарифмы
деформации
ln_cP(i) = Log(cPR(j, i)) 'в массиве первый
индекс - номер опыта
cTT(i) = cT(0, i) * cT(0, i)
Next
For i = 0 To cNR(j) - 1 'расчитали произведения
времени на лог. деформации
cTlnP(i) = cT(0, i) * ln_cP(i)
Next
'готовимся к расчету сумм (времен, логарифмов
деформации, 'квадратов времен, произведений времени на лог. деформации)
ScT = 0
Sln_cP = 0
ScTT = 0
ScTlnP = 0
For i = 0 To cNR(j) - 1 'суммируем
ScT = ScT + cT(0, i)
Sln_cP = Sln_cP + ln_cP(i)
ScTT = ScTT + cTT(i)
ScTlnP = ScTlnP + cTlnP(i)
Next
'расчитываем коэффициенты и находим искомые
параметры
cL = (cNR(j) * ScTlnP - ScT * Sln_cP) / (cNR(j)
* ScTT - ScT * ScT)
cH = (Sln_cP - ScT * cL) / cNR(j)
Rel_cTeta(j) = -cL
Rel_cE(j) = Exp(cH)
'расчетная часть b-периода(среднего)
'bNr(j) = количество точек найдено ранее
For i = 0 To bNR(j) - 1 'заполнили массивы
экспер.значений времен и деформации
bPe(i) = bbPeR(j, i)
bT(i) = bbT(0, i)
Next
'рассчитыв. теоретич. значения добавки
деформации от части уравнения, описывающего c-период
For i = 0 To bNR(j) - 1 '
cP_(j, i) = Rel_cE(j) / Exp(bT(i) *
Rel_cTeta(j))
Next
For i = 0 To bNR(j) - 1 'заполнили массив
скорректированных значений деформации
bP(i) = bPe(i) - cP_(j, i)
If bP(i) < 0 Then
Flag2 = True
End If
Next
If Flag2 = False Then
calculateIfFlag2_Rel j
Else
MsgBox "Данные
нужно
корректировать
3эR",
vbExclamation, "Внимание"
setCmdEnabled False
Exit Sub
End If
'расчетная часть a-периода (начального)
'aN(j) = количество точек найдено ранее
For i = 0 To aNR(j) - 1 'заполнили массивы
экспер.значений деформации и времен
aPe(i) = aaPeR(j, i)
aT(i) = aaT(0, i)
Next
'P_max = aPe(0)
'рассчит. теоретич. значения добавок деформации
от части ур-я, описывающего c- и b-период
For i = 0 To aNR(j) - 1 '
cP_(j, i) = Rel_cE(j) / Exp(aT(i) *
Rel_cTeta(j))
bP_(i) = Rel_bE(j) / Exp(aT(i) *
Rel_bTeta(j))
Next
For i = 0 To aNR(j) - 1 'заполнили массив
скорректированных значений деформации
aP(i) = aPe(i) - cP_(j, i) - bP_(i)
If aP(i) < 0 Then
Flag1 = True
End If
NextFlag1 = False Then
calculateIfFlag1_Rel j
Else
MsgBox "Данные
нужно
корректировать
2эR",
vbExclamation, "Внимание"
setCmdEnabled False
Exit Sub
End If
Next j
'''''''''''
setCmdEnabled True
MsgBox "Количество отобранных опытов
превышает 20", vbExclamation, "Внимание"
setCmdEnabled False
'N_nabU = 0 'Количество отобранных опытов для
расчета
End If 'If N_nabU < 21Sub
DataSelTest_Reposition()
If DataSelTest.Recordset.RecordCount
> 0 Then
Cmd_del.Enabled = True
'cmd_Rpar.Enabled = True
Else
Cmd_del.Enabled = False
'cmd_Rpar.Enabled = False
End IfSubSub DataTest_Reposition()
If DataTest.Recordset.RecordCount
> 0 Then
Cmd_add.Enabled = True
Else
Cmd_add.Enabled = False
End IfSubSub Form_Load()_NROrg.Left
= 0_NROrg.Top = 0_NROrg.Width = 15000_NROrg.Height = 10000.DatabaseName =
Scr_Gmenu.dbName
DataSelTest.DatabaseName =
Scr_Gmenu.dbName
DataExecute.DatabaseName =
Scr_Gmenu.dbName
DataExe1.DatabaseName =
Scr_Gmenu.dbName
DataExe2.DatabaseName =
Scr_Gmenu.dbNamesql As String
sql = "Select M_Ntest, M_mat,
M_Perform From Main Order By M_Ntest DESC"
DataTest.RecordSource = sql
sql = "Select TSel_Ntest From
T_Seltest Order By TSel_Ntest"
DataSelTest.RecordSource = sqlSubSub
OptStage_N_Click()_Sravn = NAGRUZ_Sravn_cl = 0SubSub OptStage_R_Click()_Sravn =
RELAX_Sravn_cl = 0
End Sub
Е.3 Моделирование процессов релаксации
деформации в обувных материалах и системах материалов
Таблица Ж.3.1 - Отклонения расчетных значений
деформации от экспериментальных при описании релаксации деформации материалов
для наружных деталей верха обуви
|
Наименование
материала
|
период
|
Отклонение
расчетных значений деформации от экспериментальных, %, в момент времени τ, мин
|
|
|
0,08
|
0,3
|
0,5
|
1
|
2
|
3
|
5
|
10
|
30
|
60
|
90
|
1440
|
|
1
|
2
|
4
|
5
|
6
|
7
|
8
|
9
|
10
|
11
|
12
|
13
|
14
|
15
|
|
одноосное
растяжение
|
|
Яловка
легкая
|
нагружение
|
-0,5
|
0,6
|
-0,2
|
1,3
|
0
|
-0,1
|
0,1
|
0,5
|
0,2
|
-0,2
|
0,1
|
-
|
|
отдых
|
0
|
-0,1
|
0
|
0,3
|
1,6
|
-1,1
|
-3,4
|
0,9
|
3,5
|
-1,0
|
-3,6
|
0,2
|
|
Полукожник
эластичный
|
нагружение
|
-2,5
|
0,3
|
0,4
|
0,3
|
0,2
|
0
|
-0,2
|
0
|
0,1
|
-0,1
|
0
|
-
|
|
отдых
|
-0,2
|
0,3
|
-0,2
|
-1,9
|
-2,4
|
-3,8
|
-2,8
|
0,3
|
3,8
|
-1,9
|
-3,3
|
0,2
|
|
Яловка
эластичная NEVROR
|
нагружение
|
1,9
|
-1,3
|
0,1
|
0
|
0,1
|
0,2
|
-0,2
|
0
|
0,1
|
-0,1
|
0
|
-
|
|
отдых
|
0,1
|
-0,1
|
0
|
0,2
|
1,3
|
-1,3
|
-0,5
|
0,2
|
2,2
|
-0,2
|
-2,9
|
0,1
|
|
Яловка
эластичная Наппа
|
нагружение
|
-0,4
|
0,2
|
-0,1
|
-0,1
|
0
|
0
|
0
|
0
|
0
|
0
|
-
|
|
отдых
|
-0,2
|
0,3
|
-0,1
|
-0,2
|
-1,0
|
-0,8
|
-0,6
|
0,4
|
2,5
|
-1,9
|
-3,6
|
0,2
|
|
Яловка
эластичная Nero
|
нагружение
|
-0,3
|
0,2
|
0
|
-0,2
|
0
|
0,1
|
0,1
|
0
|
0
|
0
|
0
|
-
|
|
отдых
|
-0,2
|
0,4
|
-0,1
|
-0,7
|
-0,3
|
-0,2
|
-0,2
|
0,1
|
2,8
|
-1,2
|
-4,4
|
0,2
|
|
Винилискожа
-Т обувная
|
нагружение
|
3,2
|
-2,6
|
0,3
|
-0,1
|
0,1
|
0,1
|
0
|
0
|
0
|
-0,1
|
0
|
-
|
|
отдых
|
0,3
|
-0,6
|
0,3
|
-9,9
|
-10,4
|
-17,5
|
-10,8
|
-0,9
|
5,4
|
-1,7
|
-5,7
|
0,3
|
|
ИК
Metlak
|
нагружение
|
2,8
|
-1,2
|
0,3
|
0,1
|
-0,1
|
-0,1
|
0
|
0,3
|
0
|
0
|
0
|
-
|
|
отдых
|
-0,4
|
0,6
|
-0,2
|
-3,1
|
0,8
|
-1,8
|
0,2
|
0,1
|
3,0
|
-1,2
|
-5,9
|
0,3
|
|
ИК
CAPRETTO
P UNDRUSH
|
нагружение
|
-2,8
|
0,6
|
0,9
|
0,5
|
0,1
|
-0,2
|
-0,1
|
0
|
0,1
|
-0,1
|
0
|
-
|
|
отдых
|
0,4
|
-0,7
|
0,3
|
-5,0
|
-9,4
|
-9,9
|
-4,1
|
4,3
|
10,9
|
0,7
|
-17,1
|
0,6
|
|
СК
Неве
|
нагружение
|
-0,5
|
0,3
|
-0,1
|
-0,4
|
-0,1
|
0,3
|
0,2
|
0
|
-0,1
|
0,1
|
0
|
-
|
|
отдых
|
0
|
0
|
0
|
-0,8
|
1,2
|
0,7
|
-1,3
|
0,2
|
7,1
|
0,3
|
-9,4
|
0,4
|
|
СК
марки 2
|
нагружение
|
-3,1
|
1,4
|
-0,5
|
-1,8
|
-2,6
|
-1,2
|
1,0
|
1,7
|
0,3
|
-0,2
|
0
|
-
|
|
отдых
|
-1,4
|
2
|
-0,6
|
1,0
|
0
|
-2,3
|
-2,7
|
1,2
|
1,9
|
0,6
|
-4,6
|
0,2
|
|
СК
Syn-baby
|
нагружение
|
0,2
|
-0,1
|
0
|
1,0
|
2,3
|
3,1
|
3,2
|
3,4
|
0
|
0
|
0
|
-
|
|
отдых
|
0
|
0
|
0
|
-0,1
|
-2,8
|
-1,3
|
-0,6
|
0,4
|
3,8
|
-2,6
|
-4,3
|
0,2
|
|
СК
«POSITANO
NAT
BRUSH»
|
нагружение
|
-2,6
|
0,7
|
-0,1
|
0,5
|
-0,3
|
-0,8
|
0,1
|
0,6
|
-0,2
|
0,1
|
0
|
-
|
|
отдых
|
-0,4
|
0,6
|
-0,2
|
1,6
|
1,0
|
-1,2
|
-3,0
|
1,0
|
5,5
|
1,4
|
-7,7
|
0,3
|
|
двухосное
растяжение
|
|
Яловка
легкая
|
нагружение
|
-0,5
|
0,4
|
-0,1
|
-0,4
|
-0,1
|
0,1
|
0,2
|
0
|
-0,2
|
0,2
|
-0,1
|
-
|
|
отдых
|
0,3
|
-0,3
|
0,1
|
-0,7
|
-0,2
|
1,4
|
-0,6
|
0
|
4,3
|
-1,5
|
-5,2
|
0,3
|
|
Полукожник
эластичный
|
нагружение
|
-0,4
|
0,4
|
-0,1
|
-0,4
|
-0,1
|
0,4
|
0,1
|
0
|
0,1
|
-0,1
|
0
|
-
|
|
отдых
|
-0,3
|
0,4
|
-0,1
|
0,3
|
1,7
|
-1,7
|
-2,2
|
1,0
|
-2,9
|
-2,1
|
-4,8
|
0,2
|
|
Яловка
эластичная NEVROR
|
нагружение
|
0,1
|
-0,1
|
0
|
-0,1
|
0
|
0,1
|
0
|
0
|
0,1
|
0
|
0
|
-
|
|
отдых
|
0
|
-0,1
|
0
|
-1,0
|
-2,1
|
-3,6
|
-2,5
|
0
|
3,1
|
0,7
|
-4,9
|
0,2
|
|
Яловка
эластичная Наппа
|
нагружение
|
-0,7
|
0,2
|
0,5
|
0,3
|
-0,1
|
-0,2
|
0
|
0,3
|
0,1
|
-0,2
|
0,1
|
-
|
|
отдых
|
0
|
0
|
0
|
-1,8
|
-0,6
|
-1,2
|
-1,8
|
0,6
|
4,3
|
-0,9
|
-4,5
|
0,2
|
|
Яловка
эластичная Nero
|
нагружение
|
-0,1
|
0,1
|
0
|
-0,3
|
-0,2
|
0
|
0,2
|
0,1
|
-0,2
|
0,1
|
-
|
|
отдых
|
-0,2
|
0,3
|
-0,1
|
-1,0
|
0,9
|
0,2
|
-1,8
|
0,4
|
4,7
|
-0,9
|
-4,3
|
0,2
|
|
Винилискожа
-Т обувная
|
нагружение
|
-0,5
|
0,5
|
-0,1
|
-0,4
|
0,1
|
0,2
|
0,2
|
-0,1
|
0
|
0
|
0
|
-
|
|
отдых
|
0,5
|
-0,8
|
0,4
|
2,9
|
4,0
|
-5,7
|
-6,9
|
2,0
|
2,8
|
-0,4
|
-2,9
|
0,1
|
|
ИК
Metlak
|
нагружение
|
5,9
|
-0,7
|
0,9
|
0,9
|
0,3
|
-0,2
|
-0,6
|
0
|
0,2
|
-0,3
|
0,1
|
-
|
|
отдых
|
-0,3
|
0,3
|
-0,1
|
2,0
|
1,6
|
-2,8
|
-4,2
|
1,4
|
2,9
|
-1,2
|
-2,9
|
0,2
|
|
ИК
CAPRETTO
P UNDRUSH
|
нагружение
|
-0,6
|
0,4
|
-0,1
|
-0,4
|
-0,1
|
0,3
|
0,3
|
-0,1
|
0
|
0,2
|
-0,1
|
-
|
|
отдых
|
-1,5
|
1,8
|
-0,4
|
-1,6
|
1,7
|
1,6
|
-2,6
|
0,5
|
2,2
|
-2,8
|
-5,5
|
0,3
|
|
СК
Неве
|
нагружение
|
-0,5
|
0,6
|
-0,2
|
0
|
1,1
|
0,4
|
0,3
|
-0,1
|
0,1
|
0
|
0
|
-
|
|
отдых
|
-0,7
|
1,0
|
-0,3
|
-1,4
|
0,4
|
1,0
|
-2,1
|
0,6
|
0,5
|
-2,9
|
-5,1
|
0,3
|
|
СК
марки 2
|
нагружение
|
-0,4
|
0,5
|
-0,2
|
0,3
|
-0,2
|
0,2
|
0,5
|
-0,2
|
0
|
0,4
|
0
|
-
|
|
отдых
|
-2,1
|
3,2
|
-0,9
|
1,5
|
2,3
|
-3,6
|
-3,3
|
1,3
|
1,8
|
0,1
|
-4,1
|
0,2
|
|
СК
Syn-baby
|
нагружение
|
-0,7
|
0,7
|
-0,2
|
0,1
|
0,3
|
0,3
|
-0,2
|
0
|
0
|
0,3
|
-0,1
|
-
|
|
отдых
|
-0,9
|
1,2
|
-0,4
|
-1,5
|
3,3
|
-2,0
|
-2,0
|
0,6
|
1,2
|
0,8
|
-3,0
|
0,1
|
|
СК
«POSITANO
NAT
BRUSH»
|
нагружение
|
-3,1
|
1,6
|
-0,4
|
-0,8
|
-0,2
|
0,4
|
0,4
|
-0,1
|
0,1
|
-0,1
|
0
|
-
|
|
отдых
|
-0,6
|
1,0
|
-0,3
|
0,8
|
1,3
|
-1,4
|
-3,7
|
1,1
|
4,7
|
-2,2
|
-3,7
|
0,2
|
Таблица Ж.3.2 - Отклонения расчетных значений деформации
от экспериментальных при описании релаксации деформации текстильных материалов
для подкладки и межподкладки обуви
|
Наименование
материала
|
период
|
Отклонение
расчетных значений деформации от экспериментальных, %, в момент времени τ, мин
|
|
|
0,08
|
0,3
|
0,5
|
1
|
2
|
3
|
5
|
10
|
30
|
60
|
90
|
1440
|
|
1
|
2
|
4
|
5
|
6
|
7
|
8
|
9
|
10
|
11
|
12
|
13
|
14
|
15
|
|
одноосное
растяжение
|
|
Трикотаж
для межподкладки (пов.пл-ть 172 г/м2)
|
нагружение
|
0,2
|
-0,1
|
0
|
0,1
|
0
|
0
|
-0,1
|
0
|
0,1
|
-0,1
|
0
|
-
|
|
отдых
|
-0,1
|
0,1
|
0
|
-0,2
|
-0,8
|
-1,4
|
-0,5
|
0,4
|
2,2
|
-1,8
|
-3,5
|
0,2
|
|
Трикотаж
для межподкладки (пов.пл-ть 130 г/м2)
|
нагружение
|
-0,2
|
0,2
|
0
|
0
|
0,5
|
0,9
|
1,4
|
1.0
|
0,1
|
-0,1
|
0
|
-
|
|
отдых
|
0
|
-0,1
|
0
|
-0,8
|
-1,1
|
-1,7
|
-0,7
|
0,3
|
1,0
|
-0,7
|
-1,1
|
0,1
|
|
Термобязь
|
нагружение
|
-0,4
|
0,2
|
0
|
-0,5
|
0,1
|
0,2
|
0,2
|
-0,1
|
0,1
|
-0,1
|
0
|
-
|
|
отдых
|
0,1
|
-0,1
|
0,1
|
-0,8
|
-5,0
|
-3,3
|
-3,0
|
1,1
|
0,6
|
-2,8
|
-4,1
|
0,2
|
|
Нетканый
материал «Спанбонд»
|
нагружение
|
-0,5
|
0,6
|
-0,2
|
0
|
0,7
|
1,0
|
0,8
|
-0,3
|
0,5
|
-0,2
|
0
|
-
|
|
отдых
|
-0,2
|
0,3
|
-0,1
|
0,7
|
2,0
|
-2,4
|
-2,5
|
1,1
|
2,8
|
-1,0
|
-5,5
|
0,3
|
|
Ткань
обувная подкладочная
|
нагружение
|
4,9
|
-0,8
|
0,3
|
0,1
|
-0,1
|
-0,2
|
0
|
0
|
0
|
0
|
-
|
|
отдых
|
-0,3
|
0,6
|
-0,3
|
-4,0
|
-2,8
|
-0,9
|
0,1
|
0
|
-1,1
|
-2,9
|
-6,1
|
0,3
|
|
Трикотаж
для подкладки (пов. пл-ть 292 г/м2)
|
нагружение
|
-0,3
|
0,3
|
-0,1
|
-1,2
|
-0,5
|
0,3
|
0,6
|
0,5
|
-0,5
|
0,3
|
-0,1
|
-
|
|
отдых
|
0
|
0
|
0
|
0,4
|
1,2
|
-0,4
|
-1,6
|
0,5
|
0,8
|
-0,6
|
-2,0
|
0,1
|
|
Трикотаж
для подкладки (пов. пл-ть 185 г/м2)
|
нагружение
|
-0,4
|
0,2
|
0
|
-0,1
|
0
|
0,1
|
0
|
0
|
0
|
0
|
0
|
-
|
|
отдых
|
0
|
0
|
0
|
-2,2
|
-2,6
|
0,5
|
2,1
|
-0,3
|
1,1
|
-0,2
|
-0,9
|
0
|
|
Ткань
экспериментальная подкладочная
|
нагружение
|
-6,0
|
0,4
|
0,5
|
0,5
|
0,3
|
0
|
-0,3
|
0,2
|
0,1
|
-0,1
|
0
|
-
|
|
отдых
|
0,4
|
-0,6
|
0,3
|
4,1
|
-4,6
|
-4,2
|
-3,9
|
2,0
|
4,0
|
-2,7
|
-5,9
|
0,3
|
|
Тик-саржа
|
нагружение
|
-0,4
|
0,1
|
0
|
-0,3
|
0
|
0,2
|
0
|
0
|
-0,1
|
0,1
|
0
|
-
|
|
отдых
|
0,6
|
-0,6
|
0,2
|
1,6
|
0,6
|
-2,8
|
0
|
0,5
|
2,9
|
-6,9
|
-13,3
|
0,7
|
|
двухосное
растяжение
|
|
Трикотаж
для межподкладки (пов.пл-ть 172 г/м2)
|
нагружение
|
0,1
|
-0,1
|
0
|
-0,1
|
-0,7
|
0,5
|
0,4
|
0,5
|
-0,1
|
0,1
|
0
|
-
|
|
отдых
|
-0,4
|
0,5
|
-0,1
|
1,3
|
-0,4
|
-1,3
|
-0,6
|
0,4
|
2,2
|
-1,2
|
-4,8
|
0,2
|
|
Трикотаж
для межподкладки (пов.пл-ть 130 г/м2)
|
нагружение
|
0,1
|
-0,1
|
0
|
-0,1
|
-0,1
|
0,1
|
0,1
|
0,1
|
0
|
-0,1
|
0
|
-
|
|
отдых
|
-2,5
|
0,6
|
0
|
0
|
1,3
|
-0,7
|
-0,7
|
0,2
|
2,6
|
1,9
|
-6,2
|
0,2
|
|
Термобязь
|
нагружение
|
-1,4
|
1,4
|
-0,6
|
-0,7
|
0,3
|
0,5
|
0,4
|
-0,1
|
-0,1
|
0,1
|
-0,1
|
-
|
|
отдых
|
0,3
|
-0,4
|
0,1
|
0
|
-0,1
|
-0,2
|
-0,7
|
0,2
|
1,8
|
0,6
|
-2,6
|
0,1
|
|
Нетканый
материал «Спанбонд»
|
нагружение
|
0,4
|
-0,6
|
0,2
|
1,3
|
0
|
-0,3
|
0,4
|
0
|
-0,1
|
0,1
|
0
|
-
|
|
отдых
|
0
|
0,1
|
0
|
-0,4
|
-0,8
|
-0,4
|
-2,2
|
0,8
|
-1,4
|
-4,2
|
-5,9
|
0,3
|
|
Ткань
обувная подкладочная
|
нагружение
|
1,7
|
-0,7
|
0
|
0,1
|
-0,2
|
-0,3
|
0,3
|
0
|
0,1
|
-0,1
|
0
|
-
|
|
отдых
|
-0,8
|
1,2
|
-0,3
|
0,6
|
0,8
|
-1,6
|
-1,0
|
0,6
|
-0,1
|
0,1
|
-9,2
|
0,4
|
|
Трикотаж
для подкладки (пов. пл-ть 292 г/м2)
|
нагружение
|
0,1
|
-0,1
|
0
|
-0,1
|
0
|
0
|
0
|
0,1
|
0
|
-0,1
|
0
|
-
|
|
отдых
|
-0,1
|
0,2
|
-0,1
|
-1,3
|
1,1
|
1,0
|
-2,0
|
0,5
|
-0,1
|
-4,8
|
-14,8
|
0,7
|
|
Трикотаж
для подкладки (пов. пл-ть 185 г/м2)
|
нагружение
|
0,5
|
-0,1
|
0
|
0
|
0
|
0
|
0
|
0,1
|
0
|
0
|
0
|
-
|
|
отдых
|
-0,4
|
0,7
|
-0,2
|
0,4
|
0,8
|
-0,4
|
-1,5
|
0,3
|
1,4
|
0
|
-1,5
|
0,1
|
|
Ткань
экспериментальная подкладочная
|
нагружение
|
-0,2
|
0,2
|
-0,1
|
0
|
0
|
0,1
|
0
|
0
|
0,1
|
-0,1
|
0
|
-
|
|
отдых
|
-1,0
|
2,5
|
-0,5
|
-0,7
|
0,7
|
-0,6
|
0
|
0
|
2,3
|
-0,2
|
-2,4
|
0,1
|
|
Тик-саржа
|
нагружение
|
-0,1
|
0,1
|
0,2
|
0,1
|
0,3
|
0,4
|
-0,1
|
0
|
0,1
|
0
|
-
|
|
отдых
|
-0,2
|
0,2
|
-0,1
|
0,1
|
0,6
|
0,7
|
-1,7
|
0,4
|
2,9
|
0
|
-3,9
|
0,2
|
Таблица Ж.3.3 - Отклонения расчетных значений
деформации от экспериментальных при описании релаксации деформации систем
материалов для верха обуви
|
Наименование
системы материалов
|
период
|
Отклонение
расчетных значений деформации от экспериментальных, %, в момент времени τ, мин
|
|
|
0,08
|
0,3
|
0,5
|
1
|
2
|
3
|
5
|
10
|
30
|
60
|
90
|
1440
|
|
1
|
2
|
4
|
5
|
6
|
7
|
8
|
9
|
10
|
11
|
12
|
13
|
14
|
15
|
|
одноосное
растяжение
|
|
Яловка
эласт. + термобязь
|
нагружение
|
0,7
|
-0,7
|
0,1
|
0,8
|
0,6
|
0,2
|
-1,2
|
0,1
|
0
|
0
|
0
|
-
|
|
отдых
|
-0,9
|
1,7
|
-0,6
|
-2,4
|
-2,4
|
-2,3
|
-3,0
|
1,0
|
2,1
|
0,7
|
-3,1
|
0,1
|
|
ИК«METLAK»
+термобязь
|
нагружение
|
-1,5
|
0,2
|
0,4
|
-0,4
|
-1,2
|
0,4
|
0,6
|
-0,1
|
-0,4
|
0,4
|
-0,1
|
-
|
|
отдых
|
0
|
0
|
0
|
-0,7
|
-0,4
|
-2,3
|
-4,0
|
1,3
|
2,9
|
0,4
|
-4,2
|
0,2
|
|
СК
марки 2 + термобязь
|
нагружение
|
0
|
0
|
0
|
0,1
|
0
|
0,5
|
0,4
|
-0,1
|
0
|
0
|
0
|
-
|
|
отдых
|
0
|
0
|
0
|
-1,5
|
-2,7
|
-1,9
|
-2,3
|
1,1
|
5,8
|
-4,5
|
-7,3
|
0,4
|
|
Яловка
эласт. + трикотаж
|
нагружение
|
0
|
0
|
0
|
0
|
0,1
|
0,1
|
-0,1
|
0
|
0
|
0
|
0
|
-
|
|
отдых
|
-1,6
|
1,6
|
-0,2
|
-0,7
|
0,9
|
-0,3
|
0
|
0
|
4,4
|
-0,5
|
-6,3
|
0.3
|
|
ИК«METLAK»
+трикотаж
|
нагружение
|
0
|
0
|
0
|
-0,7
|
0,3
|
0,3
|
0,5
|
-0,1
|
0,1
|
-0,1
|
0
|
-
|
|
отдых
|
-2,2
|
3,4
|
-1,0
|
1,1
|
1.6
|
-3,6
|
-3,3
|
1,2
|
2,1
|
0,6
|
-3,4
|
0,1
|
|
СК
марки 2 + трикотаж
|
нагружение
|
0,2
|
-0,3
|
0,1
|
-0,3
|
-0,1
|
0,8
|
0,5
|
0,3
|
-0,4
|
0,2
|
0
|
-
|
|
отдых
|
-2,5
|
3,2
|
-0,6
|
1,7
|
-2,9
|
-1,5
|
2,5
|
-0,2
|
6,1
|
-1,3
|
-4,9
|
0,2
|
|
Яловка
эласт. + неткан. мат-л
|
нагружение
|
0,4
|
-0,6
|
0,1
|
0,7
|
0,1
|
0
|
-0,1
|
0,4
|
0,1
|
-0,1
|
0
|
-
|
|
отдых
|
-0,3
|
0,5
|
-0,2
|
-1,0
|
-0,5
|
-3,7
|
-2,5
|
1,0
|
2,1
|
0,5
|
-3,6
|
0,1
|
|
ИК«METLAK» +
неткан. мат-л
|
нагружение
|
0,2
|
-0,3
|
0,1
|
-1,2
|
-0,3
|
1,6
|
1,2
|
-0,3
|
0,1
|
-0,1
|
0
|
-
|
|
отдых
|
0,2
|
-0,3
|
0,1
|
-1,3
|
-3,3
|
-4,6
|
-3,0
|
1,5
|
5,6
|
-0,5
|
-7,9
|
0,4
|
|
СК
марки 2 + неткан. мат-л
|
нагружение
|
-0,5
|
0,7
|
-0,3
|
0,1
|
0,1
|
0,5
|
0,8
|
1,1
|
0,1
|
0
|
0
|
-
|
|
отдых
|
-0,9
|
1,2
|
-0,3
|
2,4
|
0,5
|
-1,3
|
-3,9
|
1,4
|
-0,8
|
0,3
|
-1,3
|
0
|
|
Яловка
эласт. + термобязь + ткань обувная
|
нагружение
|
0,5
|
-0,6
|
0,2
|
-0,5
|
0,1
|
0,6
|
0,8
|
-0,2
|
0,5
|
-0,3
|
0,1
|
-
|
|
отдых
|
-0,4
|
0,5
|
-0,2
|
0,7
|
0,6
|
-1,2
|
-1,5
|
0,4
|
3,3
|
0
|
-3,5
|
0,2
|
|
Яловка
эласт. + термобязь + трикотаж
|
нагружение
|
0,7
|
-0,8
|
0,2
|
0,8
|
0,2
|
0,2
|
0,4
|
-0,1
|
0
|
0
|
0
|
-
|
|
отдых
|
0
|
0,1
|
0
|
-2,9
|
-0,8
|
-2,6
|
-1,4
|
0,2
|
1,2
|
-1,1
|
-4,4
|
0,2
|
нагружение
|
0
|
0
|
0
|
-0,4
|
0,5
|
0,7
|
0,8
|
-0,2
|
0
|
0
|
0
|
-
|
|
отдых
|
1,1
|
-1,4
|
0,6
|
1,2
|
-1,5
|
-0,7
|
-2,4
|
0,8
|
3,2
|
0
|
-4,1
|
0,2
|
|
ИК«METLAK» +термо-
бязь + ткань обувная
|
нагружение
|
0,8
|
-0,9
|
0,3
|
-0,4
|
0,4
|
0,5
|
0,2
|
0
|
0,1
|
-0,1
|
0
|
-
|
|
отдых
|
-0,5
|
0,6
|
-0,2
|
1,2
|
-0,1
|
-1,8
|
-2,0
|
0,6
|
4,2
|
-0,4
|
-4,2
|
0,2
|
|
ИК«METLAK»
+термобязь + трикотаж
|
нагружение
|
0,7
|
-1,0
|
0,3
|
1,6
|
0,7
|
1,6
|
-0,3
|
0
|
0,3
|
-0,3
|
0,1
|
-
|
|
отдых
|
-0,6
|
1,0
|
-0,3
|
1.0
|
1,6
|
-2,2
|
-2,6
|
0,9
|
2,4
|
0,7
|
-4,4
|
0,2
|
|
ИК«METLAK» +термо-
бязь + ткань эксперим.
|
нагружение
|
0,6
|
-0,9
|
0,3
|
0,7
|
1,0
|
1,9
|
0,7
|
-0,2
|
-0,5
|
0,5
|
-0,1
|
-
|
|
отдых
|
-0,9
|
1,5
|
-0,5
|
-0,4
|
-1,8
|
-1,1
|
-2,3
|
0,9
|
3,7
|
-1,5
|
-4,2
|
0,2
|
|
СК
марки 2 + термобязь + ткань обувная
|
нагружение
|
0,5
|
-0,8
|
0,2
|
1,0
|
0,2
|
0
|
0
|
0
|
0
|
0,1
|
0
|
-
|
|
отдых
|
0,5
|
-0,7
|
0,3
|
-1,5
|
0,6
|
-0,9
|
-3,1
|
1,0
|
7,0
|
0,1
|
-9,1
|
0,4
|
|
СК
марки 2 + термобязь + трикотаж
|
нагружение
|
2,2
|
-0,5
|
0,8
|
0,9
|
0,8
|
-0,2
|
-0,6
|
0
|
0,2
|
-0,1
|
0
|
-
|
|
отдых
|
-0,2
|
0,3
|
-0,1
|
0,2
|
-2,5
|
-2,2
|
-2,6
|
1,0
|
5,9
|
0
|
-8,2
|
0,4
|
|
СК
марки 2 + термобязь + ткань эксперим.
|
нагружение
|
0,6
|
-1,0
|
0,3
|
-0,1
|
0,6
|
0,6
|
0,4
|
-0,1
|
0,3
|
-0,2
|
0,1
|
-
|
|
отдых
|
-0,2
|
0,4
|
-0,1
|
0,4
|
-1,1
|
-1,8
|
-2,5
|
0,9
|
5,4
|
-2,3
|
-4,9
|
0,3
|
|
Яловка
эласт + трикотаж + ткань обувная
|
нагружение
|
-0,2
|
0,2
|
-0,1
|
0,1
|
0,2
|
0
|
0
|
0
|
0,4
|
-0,4
|
0,1
|
-
|
|
отдых
|
-0,1
|
0,1
|
0
|
0
|
-1,4
|
-0,7
|
0
|
0,2
|
1,1
|
-0,8
|
-4,9
|
0,2
|
|
Яловка
эласт + трикотаж + трикотаж
|
нагружение
|
0,3
|
-0,4
|
0,1
|
-0,1
|
0,3
|
0,2
|
0
|
0
|
-0,4
|
0,3
|
-0,1
|
-
|
|
отдых
|
-0,2
|
0,4
|
-0,1
|
1,5
|
-2,4
|
-0,9
|
-1,9
|
0,9
|
1,1
|
-2,2
|
-4,2
|
0,2
|
|
Яловка
эласт + трикотаж + ткань эксперим
|
нагружение
|
0,2
|
-0,2
|
0,1
|
-0,3
|
0,2
|
0,2
|
0,4
|
-0,1
|
-0,3
|
0,4
|
-0,1
|
-
|
|
отдых
|
-0,2
|
0,3
|
-0,1
|
-2,8
|
-2,4
|
-1,6
|
-1,8
|
0,5
|
3,5
|
0,9
|
-4,8
|
0,2
|
|
ИК«METLAK» +трико-
таж + ткань обувная
|
нагружение
|
0,4
|
-0,4
|
0,1
|
-0,8
|
0,5
|
0,4
|
0
|
0
|
-0,6
|
0,7
|
-0,2
|
-
|
|
отдых
|
-1,7
|
2,3
|
-0,6
|
1,1
|
2,5
|
-2,2
|
-3,1
|
1,1
|
8,2
|
-3,2
|
-7,0
|
0,4
|
|
ИК«METLAK»
+трикотаж + трикотаж
|
нагружение
|
0
|
0,8
|
1,0
|
4,4
|
-0,4
|
-0,9
|
-0,6
|
0
|
-0,3
|
0,2
|
-0,1
|
-
|
|
отдых
|
-0,1
|
0,2
|
-0,1
|
-0,6
|
-1,3
|
-3,2
|
-0,2
|
0,6
|
4,7
|
-3,6
|
-7,9
|
0,4
|
|
ИК«METLAK»
+трико-таж + ткань эксперим.
|
нагружение
|
0,1
|
-0,1
|
0
|
0,1
|
1,0
|
0,6
|
-0,6
|
0
|
0
|
0
|
0
|
-
|
|
отдых
|
-0,2
|
0,4
|
-0,2
|
-0,7
|
-1,5
|
-2,2
|
-2,2
|
0,9
|
6,9
|
0,1
|
-10,1
|
0,4
|
нагружение
|
0,1
|
-0,2
|
0,1
|
0
|
0,1
|
0,3
|
0,2
|
0
|
0,1
|
-0,1
|
0
|
-
|
|
отдых
|
-0,2
|
0,3
|
-0,1
|
-2,7
|
0,2
|
-0,1
|
-2,2
|
0,7
|
7,8
|
-2,2
|
-11,0
|
0,5
|
|
СК
марки 2 + трикотаж + трикотаж
|
нагружение
|
2,3
|
2,0
|
3,5
|
2,5
|
0,4
|
-0,3
|
-0,3
|
0,7
|
0
|
0
|
0
|
-
|
|
отдых
|
-0,1
|
0,2
|
-0,1
|
0,7
|
0
|
-0,8
|
-1,7
|
0,5
|
5,0
|
-1,1
|
-5,3
|
0,3
|
|
СК
марки 2 + трикотаж + ткань эксперим.
|
нагружение
|
0,1
|
-0,2
|
0
|
-0,4
|
0,2
|
0,2
|
0,1
|
0
|
-0,1
|
0,1
|
0
|
-
|
|
отдых
|
-0,2
|
0,3
|
-0,1
|
-3,0
|
-2,1
|
-2,4
|
-3,1
|
1,2
|
5,7
|
-0,7
|
-7,6
|
0,3
|
|
Яловка
эласт. + неткан. мат-л + ткань обувная
|
нагружение
|
0,4
|
-0,6
|
0,2
|
0,3
|
0,1
|
0,3
|
0,1
|
0
|
0
|
0
|
0
|
-
|
|
отдых
|
-0,7
|
1,1
|
-0,4
|
-2,8
|
-0,2
|
-0,7
|
0
|
0,1
|
3,2
|
-1,9
|
-4,8
|
0,2
|
|
Яловка
эласт. + неткан. мат-л + трикотаж
|
нагружение
|
0,4
|
-0,4
|
0,1
|
-0,1
|
-0,6
|
0,4
|
0,1
|
0
|
0,1
|
-0,1
|
0
|
-
|
|
отдых
|
-2,4
|
3,0
|
-0,6
|
1.4
|
0,8
|
0,2
|
-3,0
|
0,7
|
4,3
|
-0,4
|
-4,4
|
0,2
|
|
Яловка
эласт. + неткан. мат-л + ткань эксперим.
|
нагружение
|
0,1
|
-0,1
|
0,1
|
0,3
|
0,2
|
0,2
|
0,5
|
-0,1
|
0,1
|
-0,1
|
0
|
-
|
|
отдых
|
0,5
|
-0,5
|
0,2
|
1,7
|
0,2
|
-2,0
|
-1,2
|
0,5
|
3,1
|
0
|
-4,0
|
0,2
|
|
ИК«METLAK» +неткан.
мат-л + ткань обувная
|
нагружение
|
-0,6
|
1,1
|
3,6
|
3,5
|
0,7
|
-0,4
|
-1,0
|
0,5
|
0,2
|
-0,2
|
0,1
|
-
|
|
отдых
|
0,2
|
-0,3
|
0,1
|
-0,8
|
-2,4
|
-1,7
|
-1,5
|
0,5
|
5,6
|
1,0
|
-6,8
|
0,3
|
|
ИК«METLAK» +
неткан. мат-л + трикотаж
|
нагружение
|
0,9
|
-0,5
|
0,1
|
0,2
|
0,4
|
0,7
|
-0,9
|
0
|
-0,1
|
0,1
|
0
|
-
|
|
отдых
|
-0,2
|
0,3
|
-0,1
|
0,2
|
-0,2
|
-1,9
|
-1,5
|
0,9
|
1,9
|
-1,7
|
-10,2
|
0,4
|
|
ИК«METLAK»+ неткан.
мат-л + ткань эксперим.
|
нагружение
|
0,5
|
-0,7
|
0,2
|
0,7
|
0,3
|
0,9
|
0,7
|
-0,2
|
0
|
0,2
|
-0,1
|
-
|
|
отдых
|
-0,9
|
1,5
|
-0,5
|
2,0
|
-1,2
|
-1,6
|
-2,0
|
0,9
|
3,8
|
-0,1
|
-7,3
|
0,3
|
|
СК
марки 2 + неткан. мат-л + ткань обувная
|
нагружение
|
-0,1
|
0,2
|
-0,1
|
0
|
0,2
|
0,8
|
0,1
|
0,2
|
0,1
|
-0,1
|
0
|
-
|
|
отдых
|
0,1
|
-0,1
|
0
|
-2,8
|
-0,5
|
-3,5
|
-2,6
|
0,9
|
5,4
|
1,9
|
-8,2
|
0,3
|
|
СК
марки 2 + неткан. мат-л + трикотаж
|
нагружение
|
0,3
|
-0,5
|
0,2
|
0,2
|
0,2
|
0,5
|
-0,1
|
0
|
-0,1
|
0,1
|
0
|
-
|
|
отдых
|
-0,4
|
0,6
|
-0,2
|
3,7
|
-0,5
|
-3,2
|
-2,3
|
1,3
|
6,2
|
-2,0
|
-8,3
|
0,4
|
|
СК
марки 2 + неткан. мат-л + ткань эксперим
|
нагружение
|
0,3
|
-0,4
|
0,2
|
0,3
|
-0,1
|
0,4
|
0,2
|
0
|
-0,3
|
0,3
|
-0,1
|
-
|
|
отдых
|
-0,3
|
0,4
|
-0,2
|
-0,3
|
-2,2
|
-2,2
|
-1,6
|
0,8
|
6,1
|
-1,3
|
-7,6
|
0,4
|
|
двухосное
растяжение
|
|
Яловка
эласт. + термобязь
|
нагружение
|
0
|
-0,1
|
0
|
0,9
|
0,4
|
0,1
|
0,2
|
0
|
0
|
0
|
0
|
-
|
|
отдых
|
-0,8
|
1,1
|
-0,4
|
-2,5
|
0,4
|
-1,7
|
0,8
|
-0,1
|
2,0
|
-2,2
|
-3,3
|
|
ИК«METLAK»
+термобязь
|
нагружение
|
2,2
|
-1,9
|
0,3
|
-0,4
|
0,5
|
0,2
|
-0,1
|
0
|
0
|
0
|
0
|
-
|
|
отдых
|
-1,1
|
1,7
|
-0,6
|
-0,9
|
-0,8
|
-2,4
|
-1,8
|
0,9
|
4,4
|
-1,4
|
-7,2
|
0,3
|
|
СК
марки 2 + термобязь
|
нагружение
|
0,2
|
-0,3
|
0,1
|
-0,3
|
-0,3
|
-0,1
|
0,1
|
0,2
|
0,2
|
-0,2
|
0
|
-
|
|
отдых
|
-1,7
|
2,7
|
-0,9
|
1,0
|
-2,3
|
-4,7
|
-2,1
|
1,4
|
16,4
|
-1,3
|
-16,5
|
0,8
|
|
Яловка
эласт. + трикотаж
|
нагружение
|
2,2
|
-0,5
|
1,6
|
1,2
|
-0,1
|
0,1
|
0,5
|
0
|
0
|
0
|
0
|
-
|
|
отдых
|
0,2
|
-0,4
|
0,2
|
0,3
|
1,6
|
-2,6
|
-2,4
|
0,8
|
2,6
|
-0,3
|
-3,6
|
0,2
|
|
ИК«METLAK»
+трикотаж
|
нагружение
|
0,6
|
-0,7
|
0,2
|
-0,5
|
-0,1
|
0,3
|
0,4
|
-0,1
|
-0,3
|
0,3
|
-0,1
|
-
|
|
отдых
|
-1,1
|
1,7
|
-0,5
|
0,6
|
-1,4
|
-2,5
|
-0,4
|
0,6
|
8,3
|
1,0
|
-13,4
|
0,6
|
|
СК
марки 2 + трикотаж
|
нагружение
|
1,2
|
1,5
|
1,3
|
0,7
|
0
|
0,4
|
-0,4
|
0
|
0
|
0
|
0
|
-
|
|
отдых
|
0
|
0
|
0
|
-1,0
|
-0,8
|
-2,7
|
-0,9
|
0,6
|
14,5
|
-2,6
|
-12,9
|
0,6
|
|
Яловка
эласт. + неткан. мат-л
|
нагружение
|
0,1
|
-0,2
|
0
|
0
|
-0,6
|
-0,4
|
0,1
|
0
|
0
|
0
|
0
|
-
|
|
отдых
|
-0,8
|
1,1
|
-0,3
|
0,2
|
0,2
|
-0,7
|
-2,1
|
0,7
|
4,7
|
0,7
|
-6,4
|
0,3
|
|
ИК«METLAK» +
неткан. мат-л
|
нагружение
|
1,1
|
-1,1
|
0,2
|
-0,5
|
-0,1
|
0
|
0,1
|
0,2
|
0
|
0
|
0
|
-
|
|
отдых
|
-1,1
|
1,3
|
-0,4
|
0,7
|
0,2
|
-1,9
|
-1,2
|
0,7
|
4,3
|
-5,2
|
-8,3
|
0,5
|
|
СК
марки 2 + неткан. мат-л
|
нагружение
|
0,1
|
-0,2
|
0,1
|
0,3
|
-0,4
|
0,3
|
0,4
|
0
|
-0,2
|
0,1
|
0
|
-
|
|
отдых
|
0
|
-0,1
|
0
|
-2,3
|
-0,2
|
-3,6
|
-0,9
|
0,9
|
11,1
|
-5,5
|
-14,6
|
0,8
|
|
Яловка
эласт. + термобязь + ткань обувная
|
нагружение
|
0,7
|
-0,5
|
0,1
|
-0,3
|
0
|
0,2
|
0,2
|
0
|
-0,1
|
0,1
|
0
|
-
|
|
отдых
|
0,4
|
-0,5
|
0,2
|
0,5
|
0
|
-1,5
|
-0,1
|
0,2
|
4,5
|
0,7
|
-5,9
|
0,2
|
|
Яловка
эласт. + термобязь + трикотаж
|
нагружение
|
0,5
|
-0,5
|
0,1
|
0,1
|
0,2
|
0,2
|
-0,2
|
0,4
|
0
|
0
|
0
|
-
|
|
отдых
|
-2,3
|
3,4
|
-0,7
|
-0,5
|
-0,3
|
0,4
|
-0,5
|
0,1
|
4,2
|
0,3
|
-5,2
|
0,2
|
|
Яловка
эласт. + термобязь + ткань эксперим.
|
нагружение
|
1,0
|
-1,2
|
0,3
|
-0,5
|
0,2
|
0,3
|
0,5
|
-0,1
|
-0,1
|
0,2
|
0
|
-
|
|
отдых
|
-0,6
|
0,9
|
-0,3
|
-1,2
|
-0,2
|
-1,5
|
-0.4
|
-,3
|
3,6
|
-0,7
|
-3,8
|
0,2
|
|
ИК«METLAK» +термо-
бязь + ткань обувная
|
нагружение
|
1,6
|
-1,6
|
0,4
|
-0,5
|
0,1
|
0,5
|
0,3
|
-0,1
|
0,1
|
-0,1
|
0
|
-
|
|
отдых
|
-1,6
|
2,0
|
-0,5
|
1,7
|
0,8
|
-2,6
|
-2,3
|
1,1
|
9,3
|
-1,3
|
-11,1
|
0,5
|
|
ИК«METLAK»
+термобязь + трикотаж
|
нагружение
|
1,8
|
-2,2
|
0,6
|
0,3
|
-0,2
|
0,7
|
0,6
|
-0,1
|
0,2
|
-0,2
|
0
|
-
|
|
отдых
|
-0,5
|
0,8
|
-0,3
|
-0,4
|
-0,7
|
-2,5
|
-1,9
|
1,0
|
4,0
|
-1,8
|
-7,0
|
|
ИК«METLAK» +термо-
бязь + ткань эксперим.
|
нагружение
|
0,9
|
-1,2
|
0,4
|
0,9
|
0,4
|
0,4
|
0,4
|
-0,1
|
-0,1
|
0,1
|
0
|
-
|
|
отдых
|
-1,3
|
1,1
|
-0,2
|
0,2
|
1,2
|
-0,7
|
-1,0
|
0,3
|
9,1
|
0,7
|
-10,9
|
0,5
|
|
СК
марки 2 + термобязь + ткань обувная
|
нагружение
|
1,0
|
-1,2
|
0,3
|
0
|
0,1
|
0,4
|
0,4
|
-0,1
|
0
|
0,2
|
0
|
-
|
|
отдых
|
0,6
|
-0,9
|
0,4
|
0,2
|
-0,8
|
-4,4
|
-3,9
|
1,4
|
10,8
|
-0,8
|
-13,0
|
0,5
|
|
СК
марки 2 + термобязь + трикотаж
|
нагружение
|
1,7
|
-2,0
|
0,4
|
0
|
0,5
|
0,2
|
-0,3
|
0
|
-0,1
|
0,1
|
0
|
-
|
|
отдых
|
-0,8
|
1,3
|
-0,4
|
-1,2
|
0,6
|
-3,1
|
-2,4
|
1,1
|
7,1
|
1,7
|
-11,3
|
0,5
|
|
СК
марки 2 + термобязь + ткань эксперим.
|
нагружение
|
1,1
|
-1,1
|
0,2
|
-0,4
|
-0,1
|
0,3
|
0,1
|
0
|
0,1
|
-0,1
|
0
|
-
|
|
отдых
|
-1,2
|
1,7
|
-0,5
|
-0,6
|
1,8
|
-3,4
|
-2,9
|
1,3
|
10,0
|
-2,5
|
-11,2
|
0,6
|
|
Яловка
эласт. + трикотаж + ткань обувная
|
нагружение
|
1,3
|
-1,5
|
0,3
|
-0,2
|
0,1
|
0,4
|
0
|
0
|
0,3
|
-0,2
|
0,1
|
-
|
|
отдых
|
-0,8
|
1,0
|
-0,3
|
0,5
|
1,0
|
-1,7
|
-1,2
|
0,5
|
8,3
|
-2,8
|
-7,5
|
0,4
|
|
Яловка
эласт. + трикотаж + трикотаж
|
нагружение
|
0,6
|
-0,9
|
0,3
|
0,3
|
0,3
|
0,3
|
0,3
|
0
|
0
|
0
|
0
|
-
|
|
отдых
|
0
|
0,1
|
0
|
0,6
|
-1,8
|
-3,7
|
-2,8
|
1.0
|
4,0
|
-0,1
|
-4,5
|
0,2
|
|
Яловка
эласт. + трикотаж + ткань эксперим
|
нагружение
|
0,4
|
-0,5
|
0,2
|
2,6
|
0,6
|
0,4
|
0,2
|
0
|
0,1
|
-0,1
|
0
|
-
|
|
отдых
|
-0,4
|
0,5
|
-0,2
|
-0,2
|
0,3
|
-1,9
|
-2,0
|
0,7
|
4,0
|
-0,3
|
-4,7
|
0,2
|
|
ИК«METLAK» +трико-
таж + ткань обувная
|
нагружение
|
1,8
|
-2,0
|
0,5
|
0,7
|
-0,5
|
0,1
|
0,4
|
-0,1
|
0,1
|
0
|
0
|
-
|
|
отдых
|
0,7
|
-0,7
|
0,3
|
0,6
|
1.2
|
-0,4
|
-2,3
|
0,7
|
6,0
|
2,4
|
-10,6
|
0,4
|
|
ИК«METLAK»
+трикотаж + трикотаж
|
нагружение
|
1,4
|
-1,6
|
0,4
|
0,2
|
-0,1
|
0,5
|
0,1
|
0
|
0,1
|
0
|
0
|
-
|
|
отдых
|
0,2
|
-0,3
|
0,2
|
-1,1
|
-2,4
|
-3,1
|
-2,7
|
1,0
|
9,0
|
-1,6
|
-10,7
|
0,5
|
|
ИК«METLAK»
+трико-таж + ткань эксперим.
|
нагружение
|
0
|
0
|
0
|
0,6
|
0,4
|
0,5
|
-0,4
|
0
|
-0,1
|
0,1
|
0
|
-
|
|
отдых
|
-0,1
|
0,3
|
-0,1
|
-0,5
|
-1,5
|
-1,6
|
-2,3
|
0,7
|
8,4
|
2,2
|
-11,8
|
0,5
|
|
СК
марки 2 + трикотаж + ткань обувная
|
нагружение
|
1,7
|
-1,4
|
0,2
|
-0,6
|
-0,3
|
0,1
|
0,3
|
0
|
0,1
|
-0,1
|
0
|
-
|
|
отдых
|
-0,8
|
1,2
|
-0,4
|
-3,2
|
-0,6
|
-0,8
|
-2,6
|
0,9
|
11,2
|
2,9
|
-15,3
|
0,6
|
|
СК
марки 2 + трикотаж + трикотаж
|
нагружение
|
1,3
|
-1,7
|
0,5
|
0
|
0,5
|
0,6
|
0,3
|
-0,1
|
0,1
|
0
|
0
|
-
|
|
отдых
|
-0,5
|
0,8
|
-0,3
|
-2,2
|
-2,7
|
-1,1
|
0,2
|
0,2
|
11,2
|
-0,1
|
-14,3
|
0,7
|
|
СК
марки 2 + трикотаж + ткань эксперим
|
нагружение
|
1,2
|
-1,6
|
0,4
|
-0,2
|
0,2
|
0,8
|
0,5
|
-0,2
|
-0,1
|
0,2
|
0
|
-
|
|
отдых
|
-0,3
|
0,5
|
-0,2
|
0,2
|
-0,9
|
-2,8
|
-2,8
|
1,2
|
12,9
|
1,8
|
-21,4
|
|
Яловка
эласт. + неткан. мат-л + ткань обувная
|
нагружение
|
2,2
|
-2,5
|
0,5
|
-0,3
|
-0,1
|
0,3
|
0,2
|
0
|
-0,1
|
0,1
|
0
|
-
|
|
отдых
|
-0,4
|
0,5
|
-0,2
|
-0,2
|
0,3
|
-1,9
|
-2,0
|
0,7
|
4,0
|
-0,3
|
-4,7
|
0,2
|
|
Яловка
эласт. + неткан. мат-л + трикотаж
|
нагружение
|
1,4
|
-1,4
|
0,3
|
-0,5
|
0,3
|
0,3
|
0,2
|
0
|
0,1
|
-0,1
|
0
|
-
|
|
отдых
|
-1,2
|
1,5
|
-0,3
|
0,4
|
0,6
|
0,8
|
-2,6
|
0,6
|
2,3
|
0,7
|
-4,1
|
0,2
|
|
Яловка
эласт. + неткан. мат-л + ткань эксперим.
|
нагружение
|
1,4
|
-1,3
|
0,3
|
-0,5
|
-0,1
|
0,4
|
0,3
|
-0,1
|
0,1
|
0
|
0
|
-
|
|
отдых
|
-0,8
|
0,9
|
-0,3
|
-0,7
|
-0,2
|
0,1
|
-0,7
|
0,1
|
1,6
|
0,2
|
-2,0
|
0,1
|
|
ИК«METLAK» +неткан.
мат-л + ткань обувная
|
нагружение
|
1,7
|
-1,7
|
0,4
|
-0,6
|
0,2
|
0,4
|
0,3
|
-0,1
|
-0,1
|
0,1
|
0
|
-
|
|
отдых
|
-0,1
|
0,1
|
0
|
-3,2
|
-0,1
|
-3,5
|
-2,3
|
0,7
|
5,5
|
0,1
|
-6,3
|
0,3
|
|
ИК«METLAK» +
неткан. мат-л + трикотаж
|
нагружение
|
1,9
|
-1,9
|
0,4
|
-0,4
|
0,1
|
0,4
|
0,1
|
0
|
0,2
|
-0,2
|
0,1
|
-
|
|
отдых
|
-1,1
|
1,7
|
-0,5
|
-0,5
|
0,4
|
-0,2
|
-1,6
|
0,5
|
8,7
|
-2,4
|
-9,4
|
0,5
|
|
ИК«METLAK»+ неткан.
мат-л + ткань эксперим.
|
нагружение
|
1,6
|
-1,4
|
0,3
|
-0,6
|
0,1
|
0,4
|
0,3
|
-0,1
|
0,1
|
0
|
0
|
-
|
|
отдых
|
-0,4
|
0,6
|
-0,2
|
-0,1
|
-2,6
|
-1,9
|
-1,2
|
0,6
|
12,4
|
3,9
|
-15,7
|
0,6
|
|
СК
марки 2 + неткан. мат-л + ткань обувная
|
нагружение
|
2,2
|
-1,5
|
0,1
|
-0,3
|
0,1
|
0,3
|
-0,2
|
0
|
0
|
0
|
0
|
-
|
|
отдых
|
-0,4
|
0,8
|
-0,3
|
-1,4
|
0,9
|
-3,4
|
-2,9
|
1,1
|
13,9
|
-3,4
|
-11,8
|
0,6
|
|
СК
марки 2 + неткан. мат-л + трикотаж
|
нагружение
|
0,7
|
-0,8
|
0,2
|
-0,4
|
0,1
|
0,5
|
0,2
|
-0,1
|
0,2
|
-0,1
|
0
|
-
|
|
отдых
|
-1,0
|
1,5
|
-0,5
|
-0,1
|
-0,5
|
-0,8
|
-2,5
|
1,0
|
11,6
|
-4,2
|
-12,7
|
0,7
|
|
СК
марки 2 + неткан. мат-л + ткань эксперим.
|
нагружение
|
0,9
|
-0,8
|
0,2
|
-0,1
|
0,2
|
0,2
|
0
|
0
|
-0,1
|
0,1
|
0
|
-
|
|
отдых
|
-0,4
|
0,6
|
-0,2
|
0,2
|
-1,2
|
-2,6
|
-1,3
|
0,8
|
11,2
|
-4,7
|
-8,2
|
0,5
|
ПРИЛОЖЕНИЕ Ж
Снижение размерности признакового пространства
методом главных компонент
Таблица И.1 - Перечень показателей
упруго-пластических свойств, учитываемых при снижении размерности признакового
пространства.
|
Условн.
обознач. показателя
|
Наименование
показателя
|
Материалы
для наружных деталей верха обуви
|
Текстильн
мат-лы для межподкладки и подкладки обуви
|
Системы
материалов для верха обуви
|
|
1
|
2
|
3
|
4
|
5
|
|
Х1
|
Остаточная
деформация, εост, %,
при стандартных методах испытания в условиях одноосного растяжения
|
+
|
+
|
-
|
|
Х2
|
Пластичность,
П, %, при стандартных методах испытания в условиях одноосного растяжения
|
+
|
+
|
-
|
|
Х3
|
Остаточная
деформация, εост, %,
при Р = 0,5 Рраз, в условиях одноосного растяжения
|
+
|
+
|
-
|
|
Х4
|
Пластичность,
П, %, при Р = 0,5 Рраз, в условиях одноосного растяжения
|
+
|
+
|
-
|
|
Х5
|
Рассеивание
механической энергии, S1, Дж, при одноосном
растяжении до Р = 0,5 Рраз
|
+
|
+
|
-
|
|
Х6
|
Относительная
затраченная энергия, Z, %, при одноосном
растяжении до Р = 0,5 Рраз
|
+
|
+
|
-
|
|
Х7
|
Остаточная
деформация, εост, %,
при одноосном растяжении до ε = 15 %
|
-
|
-
|
+
|
|
Х8
|
Пластичность,
П, %, при одноосном растяжении до ε = 15 %
|
-
|
-
|
+
|
|
Х9
|
Рассеивание
механической энергии, S1, Дж, при одноосном
растяжении до ε = 15 %
|
-
|
-
|
+
|
|
Х10
|
Относительная
затраченная энергия, Z, %, при одноосном
растяжении до ε = 15 %
|
-
|
-
|
+
|
|
Х11
|
Остаточная
высота полусферы hост, мм, при двухосном растяжении
на приборе В3030
|
+
|
+
|
+
|
|
Х12
|
Пластичность,
П, %, при двухосном растяжении на приборе В3030
|
+
|
+
|
+
|
|
Х13
|
Рассеивание
механической энергии, S1, Дж, при двухосном
растяжении на приборе В3030
|
+
|
+
|
+
|
|
Х14
|
Относительная
затраченная энергия, Z, %, при двухосном
растяжении на приборе В3030
|
+
|
+
|
+
|
|
Х16
|
Пластичность,
П, %, при двухосном растяжении на приборе ПОИК
|
+
|
-
|
-
|
|
Х17
|
Доля
условно-упругой компоненты деформации при одноосном растяжении, Δεупр, %
|
+
|
+
|
+
|
|
Х18
|
Доля
условно-эластической компоненты деформации при одноосном растяжении, Δεэл, %
|
+
|
+
|
+
|
|
Х19
|
Доля
условно-пластической компоненты деформации при одноосном растяжении, Δεпл, %
|
+
|
+
|
+
|
|
Х20
|
Доля
условно-упругой компоненты деформации при двухосном растяжении, Δεупр, %
|
+
|
+
|
|
Х21
|
Доля
условно-эластической компоненты деформации при двухосном растяжении, Δεэл, %
|
+
|
+
|
+
|
|
Х22
|
Доля
условно-пластической компоненты деформации при двухосном растяжении, Δεпл, %
|
+
|
+
|
+
|
Таблица И.2 - Матрица «показатели - объекты» для
материалов наружных деталей верха обуви
|
Номер
объекта
|
Показатель
|
|
Х1
|
Х2
|
Х3
|
Х4
|
Х5
|
Х6
|
Х11
|
Х12
|
Х13
|
Х14
|
Х15
|
Х16
|
Х17
|
Х18
|
Х19
|
Х20
|
Х21
|
Х22
|
|
1
2 3 4 5 6 7 8 9
|
18,40
7,00 26,00 2,57 1,40 3,00 5,32 20,33 7,30
|
41,19
31,12 43,30 12,84 15,01 16,66 9,96 24,64 23,55
|
17,67
14,33 17,73 2,40 1,11 2,00 6,53 7,55 6,27
|
46,22
38,04 33,41 13,33 10,19 15,79 10,43 23,43 24,01
|
7,73
6,74 5,04 3,80 0,82 1,39 5,84 2,55 2,83
|
91,36
87,89 88,78 92,50 91,20 89,68 86,35 93,98 93,81
|
8,95
7,26 6,68 3,64 3,23 5,05 3,13 7,17 5,03
|
59,7
48,4 44,5 24,3 21,5 33,7 20,9 47,8 33,5
|
0,80
0,52 0,33 1,70 0,98 2,41 0,60 0,57 1,12
|
69,90
69,33 63,34 78,00 70,32 78,65 69,30 78,31 74,95
|
4,50
3,50 3,70 3,10 3,40 3,60 2,30 4,00 3,40
|
56,3
43,7 46,9 38,8 42,2 45,3 28,8 50,0 42,2
|
71,5
68,6 74,1 76,0 73,9 85,5 80,5 63,0 63,5
|
8,0
14,6 10,4 18,7 22,5 12,5 10,5 19,4 20,4
|
20,5
16,8 15,4 5,3 3,6 2,0 9,0 17,7 16,1
|
55,3
69,3 44,2 81,8 69,8 79,1 86,3 58,8 72,7
|
18,1
18,5 36,8 15,4 22,9 17,2 13,1 28,0 19,6
|
26,5
12,2 19,0 2,8 7,3 3,7 0,6 13,2 7,8
|
|
•
среднее • медиана • ср.квадрат отклонение • средняя квадратич. ошибка
•ассиметрия • эксцесс
|
10,15
7,00 9,01 3,00 0,87 -0,87
|
24,25
23,55 12,12 4,04 0,58 -1,03
|
8,40
6,53 6,59 2,20 0,53 1,43
|
23,87
23,43 12,92 4,31 0,61 -0,90
|
4,08
3,80 2,40 0,80 0,16 -1,28
|
90,62
91,20 2,64 0,88 -0,24 -1,03
|
5,57
5,05 2,06 0,69 0,26 -1,18
|
37,1
33,7 13,7 4,57 0,26 -1,17
|
1,00
0,80 0,67 0,22 1,38 1,49
|
72,46
70,32 5,29 1,76 -0,24 -0,87
|
3,50
3,50 0,60 0,20 -0,48 1,79
|
44,8
43,7 7,60 2,53 -0,49 1,65
|
73,0
73,9 7,38 2,46 0,21 -0,39
|
15,2
14,6 5,18 1,73 0,03 -1,68
|
11,8
15,4 6,89 2,30 -0,3 -1,76
|
68,6
69,8 13,6 4,54 -0,55 -0,41
|
21,1
18,5 7,31 2,44 1,42 1,92
|
10,3
7,8 8,36 2,79 0,88 0,26
|
Таблица И.3 - Корреляционная матрица для
материалов наружных деталей верха обуви
|
Показатель
|
Х1
|
Х2
|
Х3
|
Х4
|
Х5
|
Х6
|
Х11
|
Х12
|
Х13
|
Х14
|
Х15
|
Х16
|
Х17
|
Х18
|
Х19
|
Х20
|
Х21
|
Х22
|
|
Х1
|
1,00
|
0,82*
|
0,77*
|
0,65
|
0,38
|
0,10
|
0,73*
|
0,73*
|
-0,60
|
-0,41
|
0,59
|
0,61
|
-0,40
|
-0,41
|
0,74*
|
-0,90
|
0,76*
|
0,80
|
|
Х2
|
|
1,00
|
0,92*
|
0,92*
|
0,55
|
-0,00
|
0,87*
|
0,87*
|
-0,50
|
-0,55
|
0,73*
|
0,74*
|
-0,39
|
-0,48
|
0,77*
|
-0,90
|
0,60
|
0,94*
|
|
Х3
|
|
|
1,00
|
0,91*
|
0,80*
|
-0,27
|
0,81*
|
0,81*
|
-0,66
|
-0,68
|
0,49
|
0,50
|
-0,31
|
-0,65
|
0,82*
|
-0,75
|
0,42
|
0,85*
|
|
Х4
|
|
|
|
1,00
|
0,70*
|
-0,01
|
-0,94
|
0,93*
|
-0,44
|
-0,42
|
0,72
|
0,72
|
-0,43
|
-0,50
|
0,84*
|
-0,71
|
0,29
|
0,90*
|
|
Х5
|
|
|
|
|
1,00
|
-0,45
|
0,54
|
0,54
|
-0,53
|
-0,54
|
0,11
|
0,11
|
-0,09
|
-0,71
|
0,63
|
-0,25
|
-0,14
|
0,52
|
|
Х6
|
|
|
|
|
|
1,00
|
0,12
|
0,12
|
0,21
|
0,61
|
0,47
|
0,45
|
-0,59
|
0,63
|
0,16
|
-0,16
|
0,15
|
0,14
|
|
Х11
|
|
|
|
|
|
|
1,00
|
1,00*
|
-0,37
|
-0,20
|
0,84*
|
0,84*
|
-0,45
|
-0,44
|
0,82*
|
-0,74
|
0,36
|
0,89*
|
|
Х12
|
|
|
|
|
|
|
|
1,00
|
-0,37
|
-0,20
|
0,84*
|
0,84*
|
-0,45
|
-0,44
|
0,82*
|
-0,74
|
0,36
|
0,89*
|
|
Х13
|
|
|
|
|
|
|
|
|
1,00
|
0,70*
|
-0,07
|
-0,07
|
0,55
|
0,15
|
-0,70
|
0,55
|
-0,47
|
-0,50
|
|
Х14
|
|
|
|
|
|
|
|
|
|
1,00
|
0,03
|
0,02
|
-0,02
|
0,47
|
-0,33
|
0,50
|
-0,40
|
-0,46
|
|
Х15
|
|
|
|
|
|
|
|
|
|
|
1,00
|
1,00*
|
-0,39
|
-0,07
|
0,47
|
-0,70
|
0,41
|
0,78*
|
|
Х16
|
|
|
|
|
|
|
|
|
|
|
|
1,00
|
-0,37
|
-0,10
|
0,47
|
-0,71
|
0,43
|
0,79*
|
|
Х17
|
|
|
|
|
|
|
|
|
|
|
|
|
1,00
|
-0,44
|
-0,74
|
0,44
|
-0,34
|
-0,42
|
|
Х18
|
|
|
|
|
|
|
|
|
|
|
|
|
|
1,00
|
-0,28
|
0,24
|
0,03
|
-0,42
|
|
Х19
|
|
|
|
|
|
|
|
|
|
|
|
|
|
|
1,00
|
-0,65
|
0,33
|
0,77*
|
|
Х20
|
|
|
|
|
|
|
|
|
|
|
|
|
|
|
|
1,00
|
-0,85
|
-0,89
|
|
Х21
|
|
|
|
|
|
|
|
|
|
|
|
|
|
|
|
|
1,00
|
0,51
|
|
Х22
|
|
|
|
|
|
|
|
|
|
|
|
|
|
|
|
|
|
1,00
|
Таблица И.4 - Собственные значения главных
компонент для материалов наружных деталей верха обуви
|
Главная
компонента
|
Собственные
значения
|
%
общей дисперсии
|
Кумулят.
собствен. знач.
|
Кумулят.
%
|
|
1
|
10,468
|
58,157
|
10,468
|
58,157
|
|
2
|
3,317
|
18,429
|
13,785
|
76,586
|
|
3
|
1,874
|
10,411
|
15,660
|
86,997
|
|
4
|
1,430
|
7,942
|
17,089
|
94,939
|
|
5
|
0,441
|
2,451
|
17,530
|
97,391
|
Таблица И.5 - Матрица факторных нагрузок главных
компонент после вращения осей для материалов наружных деталей верха обуви
|
Признак
|
Факторные
нагрузки
|
|
Фактор
1
|
Фактор2
|
Фактор
3
|
Фактор
4
|
|
Х1
Х2 Х3 Х4 Х5 Х6 Х11 Х12 Х13 Х14 Х15 Х16 Х17 Х18 Х19 Х20 Х21 Х22
|
0,493
0,771* 0,584 0,830* 0,288 0,289 0,883* 0,883* -0,026 -0,045 0,953* 0,953*
-0,311 -0,283 0,546 -0,655 0,262 0,835*
|
0,240
0,226 0,476 0,268 0,668 -0,747* 0,211 0,212 -0,091 -0,385 -0,158 -0,133 0,564
-0,945* 0,103 0,006 -0,169 0,135
|
0,391
0,298 0,487 0,421 0,553 0,083 0,371 0,371 -0,754* -0,213 -0,005 -0,016
-0,752* -0,006 0,802* -0,211 0,069 0,284
|
0,722*
0,374 0,254 0,032 -0,214 0,053 0,159 0,157 -0,378 -0,302 0,202 0,224 -0,121
-0,052 0,167 -0,667 0,915* 0,288
|
|
Общая
дисперсия Доля общей дисп.
|
7,083
0,393
|
2,969
0,165
|
3,197
0,178
|
2,561
0,142
|
Таблица И.6 - Матрица «показатели - объекты»
текстильных материалов для межподкладки и подкладки обуви
|
Номер
объекта
|
Показатель
|
|
Х1
|
Х2
|
Х3
|
Х4
|
Х5
|
Х6
|
Х11
|
Х12
|
Х13
|
Х14
|
Х17
|
Х18
|
Х19
|
Х20
|
Х21
|
Х22
|
|
1
2 3 4 5 6 7 8 9
|
3,01
62,10 53,37 21,86 5,85 12,75 11,78 5,20 3,84
|
26,06
42,30 53,91 31,91 27,10 33,05 28,74 26,32 27,42
|
3,55
53,04 46,66 4,58 4,37 6,17 9,46 2,08 3,68
|
32,63
40,80 54,04 23,88 28,33 22,44 25,88 18,95 24,45
|
93,70
95,14 97,11 91,36 97,76 91,82 89,66 91,84 95,89
|
6,33
8,03 8,90 5,15 5,57 7,53 8,13 3,15 4,85
|
63,30
44,61 49,44 51,50 55,70 41,83 45,17 31,50 48,50
|
0,16
0,91 0,87 0,16 0,13 0,56 0,57 0,04 0,17
|
61,78
77,72 81,92 79,45 55,09 74,69 80,71 68,17 58,33
|
44,70
37,70 42,00 57,70 59,10 75,10 73,10 56,70 54,70
|
39,90
16,90 17,80 21,10 25,10 8,50 16,60 36,60 30,90
|
15,50
45,40 40,10 21,20 15,80 16,30 10,30 6,70 14,50
|
55,50
83,20 70,10 60,40 61,80 80,60 75,70 63,10 65,20
|
13,40
8,40 17,60 23,30 20,90 15,20 16,30 19,80 15,30
|
31,10
8,30 12,20 16,30 17,40 4,20 8,00 17,10 19,60
|
|
•
среднее • медиана • ср.квадрат отклонение • средняя квадратич. ошибка
•ассиметрия • эксцесс
|
19,97
11,78 22,30 7,43 1,39 0,45
|
32,98
28,74 9,37 3,12 1,74 2,61
|
14,84
4,58 20,02 6,67 1,60 0,84
|
30,16
25,88 11,00 3,67 1,50 2,02
|
2,18
2,02 1,39 0,46 0,33 -1,17
|
93,81
93,70 2,82 0,94 0,05 -1,41
|
6,40
6,33 1,88 0,63 -0,35 -0,80
|
47,95
48,50 8,93 2,98 -0,14 1,08
|
0,40
0,17 0,34 0,11 0,63 -1,41
|
70,87
74,69 10,31 3,44 -0,49 -1,59
|
55,64
56,70 12,89 4,30 0,23 -0,80
|
23,71
21,10 10,32 3,44 0,34 -0,83
|
20,64
15,80 13,23 4,41 1,26 0,43
|
68,40
65,20 9,59 3,20 0,42 -1,17
|
16,69
16,30 4,41 1,47 -0,41 0,49
|
14,91
16,30 7,99 2,66 0,79 1,13
|
Таблица И.7 - Корреляционная матрица текстильных
материалов для подкладки и межподкладки обуви
|
Показатель
|
Х1
|
Х2
|
Х3
|
Х4
|
Х5
|
Х6
|
Х11
|
Х12
|
Х13
|
Х14
|
Х17
|
Х18
|
Х19
|
Х20
|
Х21
|
Х22
|
|
Х1
|
1,00
|
0,91*
|
0,97*
|
0,80*
|
0,12
|
0,30
|
0,63
|
-0,10
|
0,85*
|
0,64
|
-0,59
|
-0,50
|
0,96*
|
0,56
|
-0,41
|
-0,46
|
|
Х2
|
|
1,00
|
0,89*
|
0,88*
|
0,28
|
0,38
|
0,69*
|
-0,06
|
0,84*
|
0,63
|
-0,49
|
-0,52
|
0,88*
|
0,46
|
-0,24
|
-0,43
|
|
Х3
|
|
|
1,00
|
0,86*
|
0,18
|
0,40
|
0,68*
|
-0,07
|
0,88*
|
0,53
|
-0,64
|
-0,42
|
0,95*
|
0,57
|
-0,53
|
-0,40
|
|
Х4
|
|
|
|
1,00
|
0,18
|
0,58
|
0,70*
|
0,31
|
0,72*
|
0,35
|
-0,70*
|
-0,22
|
0,85*
|
0,21
|
-0,35
|
-0,07
|
|
Х5
|
|
|
|
|
1,00
|
0,41
|
0,41
|
-0,08
|
0,37
|
-0,07
|
0,33
|
-0,61
|
0,15
|
0,48
|
-0,01
|
-0,57
|
|
Х6
|
|
|
|
|
|
1,00
|
0,09
|
0,39
|
0,13
|
-0,46
|
-0,60
|
0,13
|
0,48
|
-0,14
|
-0,12
|
0,23
|
|
Х11
|
|
|
|
|
|
|
1,00
|
0,20
|
0,90*
|
0,59
|
-0,09
|
-0,69*
|
0,63*
|
0,65*
|
-0,50
|
-0,51
|
|
Х12
|
|
|
|
|
|
|
|
1,00
|
-0,14
|
-0,34
|
-0,30
|
0,23
|
0,12
|
-0,49
|
-0,02
|
0,60
|
|
Х13
|
|
|
|
|
|
|
|
|
1,00
|
0,69*
|
-0,24
|
-0,71*
|
0,79*
|
0,81*
|
-0,58
|
-0,66
|
|
Х14
|
|
|
|
|
|
|
|
|
|
1,00
|
0,04
|
-0,65
|
0,47
|
0,56
|
-0,07
|
-0,64
|
|
Х17
|
|
|
|
|
|
|
|
|
|
|
1,00
|
-0,36
|
-0,69*
|
0,18
|
0,37
|
-0,41
|
|
Х18
|
|
|
|
|
|
|
|
|
|
|
|
1,00
|
-0,42
|
-0,80*
|
0,12
|
0,91*
|
|
Х19
|
|
|
|
|
|
|
|
|
|
|
|
|
1,00
|
0,45
|
-0,45
|
-0,30
|
|
Х20
|
|
|
|
|
|
|
|
|
|
|
|
|
|
1,00
|
-0,57
|
-0,89*
|
|
Х21
|
|
|
|
|
|
|
|
|
|
|
|
|
|
|
1,00
|
0,13
|
|
Х22
|
|
|
|
|
|
|
|
|
|
|
|
|
|
|
|
1,00
|
Таблица И.8 - Собственные значения главных
компонент для текстильных материалов для межподкладки и подкладки обуви
|
Главная
компонента
|
Собственные
значения
|
%
общей дисперсии
|
Кумулят.
собствен. знач.
|
Кумулят.
%
|
|
1
|
8,095
|
50,593
|
8,095
|
50,593
|
|
2
|
3,746
|
23,412
|
11,841
|
74,006
|
|
3
|
1,659
|
10,371
|
13,500
|
84,376
|
|
4
|
1,111
|
6,941
|
14,611
|
91,317
|
|
5
|
1,027
|
6,421
|
15,638
|
97,738
|
Таблица И.9 - Матрица факторных нагрузок главных
компонент после вращения осей для текстильных материалов для межподкладки и
подкладки обуви
|
Признак
|
Факторные
нагрузки
|
|
Фактор
1
|
Фактор2
|
Фактор
3
|
Фактор
4
|
Фактор
5
|
|
Х1
Х2 Х3 Х4 Х5 Х6 Х11 Х12 Х13 Х14 Х17 Х18 Х19 Х20 Х21 Х22
|
0,929*
0,919* 0,927* 0,931* 0,007 0,456 0,526 0,064 0,708* 0,515 -0,758* -0,258
0,930* 0,271 -0,273 -0,182
|
0,255
0,296 0,204 0,027 0,756* -0,122 0,580 -0,226 0,548 0,432 0,561 -0,950* 0,190
0,754* -0,050 -0,878
|
-0,087
0,009 0,038 0,158 0,605 0,855* -0,148 0,172 -0,126 -0,709 -0,202 0,160 0,072
-0,117 -0,024 0,157
|
-0,147
0,030 -0,274 -0,099 0,046 0,026 -0,330 0,005 -0,371 0,072 0,195 0,002 -0,193
-0,485 0,960* 0,053
|
0,084
0,054 0,092 -0,234 0,019 -0,192 -0,335 -0,957* 0,040 0,163 0,102 -0,002
-0,099 0,326 0,018 -0,403
|
|
Общая
дисперсия Доля общей дисп.
|
6,354
0,397
|
4,252
0,266
|
1,812
0,113
|
1,597
0,100
|
1,456
0,091
|
Таблица И.10 - Матрица «показатели - объекты»
систем материалов для верха обуви
|
Номер
объекта
|
Показатель
|
|
Х7
|
Х8
|
Х9
|
Х10
|
Х11
|
Х12
|
Х13
|
Х14
|
Х17
|
Х18
|
Х19
|
Х20
|
Х21
|
Х22
|
|
1
|
2
|
3
|
4
|
5
|
6
|
7
|
8
|
9
|
10
|
11
|
12
|
13
|
14
|
15
|
|
1
2 3 4 5 6 7 8 9 10 11 12 13 14 15 16 17 18 19 20 21
|
3,39
3,04 3,19 2,76 2,53 2,64 2,83 2,66 2,74 4,18 3,58 3,76 3,26 2,85 3,03 3,40
3,00 3,27 2,62 2,19 2,42
|
22,58
20,29 21,24 18,38 16,89 17,62 18,89 17,71 18,25 27,78 23,87 25,04 21,77 19,00
20,20 22,67 20,00 21,77 17,43 14,57 16,10
|
6,92
5,20 5,81 5,20 2,53 4,36 5,32 2,74 4,60 6,58 3,58 5,47 4,84 1,99 3,58 5,05
1,98 3,94 5,72 3,50 5,25
|
88,04
87,29 85,60 88,46 83,31 82,68 88,05 84,50 83,61 88,90 90,57 88,96 88,06 81,05
82,00 89,03 82,85 83,68 88,72 89,32 86,38
|
6,02
4,27 5,22 4,53 4,07 4,40 4,75 4,13 4,52 8,33 8,07 8,23 7,22 6,93 7,10 7,50
7,27 7,35 4,58 4,00 4,07
|
46,30
32,85 40,15 34,80 31,31 33,85 36,54 31,77 34,77 64,08 62,08 63,31 55,54 53,31
54,62 57,69 55,92 56,54 35,23 30,77 31,31
|
1,47
0,98 1,02 1,25 1,00 1,07 1,48 1,07 1,12 1,42 0,95 1,00 1,18 0,65 0,79 1,30
0,82 0,90 1,29 0,88 0,94
|
75,29
71,53 73,01 74,85 70,92 69,93 74,75 70,39 72,73 76,90 73,64 72,99 71,95 66,33
68,70 74,71 70,08 72,58 74,57 70,40 73,44
|
31,10
27,16 37,74 23,30 42,74 36,47 41,47 44,57 47,55 22,07 33,74 25,63 42,28 45,49
51,49 38,07 46,50 44,01 49,32 58,61 42,90
|
38,76
46,42 35,02 55,07 36,81 42,35 32,26 31,75 27,97 43,14 34,62 41,78 31,72 30,40
23,13 29,69 25,00 24,88 28,07 22,44 36,34
|
29,67
26,42 27,34 21,68 20,45 21,18 26,27 23,68 24,48 35,79 31,48 32,59 27,21 24,11
25,29 32,24 28,50 31,10 22,62 19,95 20,83
|
42,49
53,11 50,40 53,83 56,74 59,70 54,70 52,80 56,60 50,20 51,90 56,31 46,50 43,02
49,70 49,30 51,20 55,90 49,20 57,60 54,10
|
41,97
34,45 36,60 32,00 32,54 29,40 30,70 35,80 31,20 21,80 21,80 16,70 31,30 35,70
28,71 25,63 26,40 20,40 45,40 37,90 41,10
|
15,54
12,44 13,00 14,20 10,72 10,90 14,60 11,30 12,20 28,10 26,30 27,10 22,10 21,30
21,70 25,00 22,40 23,70 5,40 4,50 4,80
|
|
22
23 24 25 26 27
|
2,17
1,32 1,80 2,24 1,78 2,15
|
14,43
8,77 12,00 14,90 11,87 14,33
|
4,61
1,31 3,40 4,73 1,56 3,49
|
87,46
78,34 80,84 86,76 76,16 81,86
|
3,92
3,70 3,82 4,27 3,80 4,03
|
30,15
28,46 29,38 32,85 29,23 31,00
|
1,10
0,54 0,66 1,23 0,63 0,76
|
70,06
60,67 67,35 74,10 65,63 69,09
|
49,23
62,68 54,52 55,20 59,15 57,50
|
33,15
23,16 29,73 24,57 23,61 24,82
|
17,76
14,16 15,63 20,23 17,36 17,81
|
64,60
76,10 69,80 49,73 56,50 50,10
|
30,40
20,50 26,50 45,00 39,24 45,40
|
5,00
3,40 3,70 5,30 4,30 4,50
|
|
•
среднее • медиана • ср.квадрат отклонение • средняя квадратич. ошибка
•ассиметрия • эксцесс
|
2,77
2,76 0,65 0,12 -0,10 0,09
|
18,46
18,38 4,31 0,83 -0,11 0,07
|
4,19
4,60 1,50 0,29 -0,29 -0,61
|
85,28
86,38 3,70 0,71 -0,70 -0,19
|
5,41
4,53 1,64 0,32 0,65 -1,32
|
41,62
34,80 12,60 2,42 0,65 -1,32
|
1,02
1,00 0,26 0,05 0,04 -0,63
|
71,36
71,95 3,54 0,68 -1,12 1,85
|
43,35
44,01 11,23 2,16 -0,27 -0,61
|
32,47
31,72 8,17 1,57 0,94 0,72
|
24,29
24,11 5,64 1,09 0,16 -0,72
|
54,15
53,11 7,27 1,40 1,27 2,61
|
32,02
31,30 8,06 1,55 0 -0,73
|
13,83
12,44 8,39 1,61 0,30 -1,35
|
Таблица И.11 - Корреляционная матрица систем
материалов для верха обуви
|
Показатель
|
Х7
|
Х8
|
Х9
|
Х10
|
Х11
|
Х12
|
Х13
|
Х14
|
Х17
|
Х18
|
Х19
|
Х20
|
Х21
|
Х22
|
|
Х7
|
1,00
|
1,00*
|
0,58*
|
0,61*
|
0,84*
|
0,84*
|
0,54*
|
-0,80*
|
0,44*
|
0,97*
|
-0,62*
|
-0,36
|
0,89*
|
|
Х8
|
|
1,00
|
0,57*
|
0,61*
|
0,84*
|
0,84*
|
0,54*
|
0,70*
|
-0,80*
|
0,44*
|
0,97*
|
-0,62*
|
-0,36
|
0,89*
|
|
Х9
|
|
|
1,00
|
0,74*
|
0,21
|
0,21
|
0,81*
|
0,84*
|
-0,64*
|
0,54*
|
0,50*
|
-0,38
|
0,11
|
0,22
|
|
Х10
|
|
|
|
1,00
|
0,34
|
0,34
|
0,75*
|
0,83*
|
-0,60*
|
0,45*
|
0,56*
|
-0,38
|
-0,03
|
0,36
|
|
Х11
|
|
|
|
|
1,00
|
1,00*
|
0,18
|
0,35
|
-0,50*
|
0,09
|
0,87*
|
-0,48*
|
-0,56*
|
0,96*
|
|
Х12
|
|
|
|
|
|
1,00
|
0,18
|
0,35
|
-0,50*
|
0,09
|
0,87*
|
-0,48*
|
-0,56*
|
0,96*
|
|
Х13
|
|
|
|
|
|
|
1,00
|
0,86*
|
-0,58*
|
0,45*
|
0,50*
|
-0,43*
|
0,12
|
0,26
|
|
Х14
|
|
|
|
|
|
|
|
1,00
|
-0,67*
|
0,47*
|
0,66*
|
-0,56*
|
0,09
|
0,40*
|
|
Х17
|
|
|
|
|
|
|
|
|
1,00
|
-0,88*
|
-0,72*
|
0,38
|
0,32
|
-0,63*
|
|
Х18
|
|
|
|
|
|
|
|
|
|
1,00
|
0,30
|
-0,12
|
-0,14
|
0,25
|
|
Х19
|
|
|
|
|
|
|
|
|
|
|
1,00
|
-0,57*
|
-0,42*
|
0,90*
|
|
Х20
|
|
|
|
|
|
|
|
|
|
|
|
1,00
|
-0,41*
|
-0,48*
|
|
Х21
|
|
|
|
|
|
|
|
|
|
|
|
|
1,00
|
-0,61*
|
|
Х22
|
|
|
|
|
|
|
|
|
|
|
|
|
|
1,00
|
Таблица И.12 - Собственные значения главных
компонент для систем материалов для верха обуви
|
Главная
компонента
|
Собственные
значения
|
%
общей дисперсии
|
Кумулят.
собствен. знач.
|
Кумулят.
%
|
|
1
|
8,264
|
59,030
|
8,264
|
59,030
|
|
2
|
2,855
|
20,395
|
11,119
|
79,425
|
|
3
|
1,425
|
10,178
|
12,544
|
89,603
|
|
4
|
0,738
|
5,273
|
13,283
|
94,876
|
|
5
|
0,263
|
1,876
|
13,545
|
96,752
|
Таблица И.13 - Матрица факторных нагрузок
главных компонент после вращения осей для систем материалов для верха обуви
|
Признак
|
Факторные
нагрузки
|
|
Фактор
1
|
Фактор2
|
Фактор
3
|
Фактор
4
|
|
Х7
Х8 Х9 Х10 Х11 Х12 Х13 Х14 Х17 Х18 Х19 Х20 Х21 Х22
|
0,838*
0,838* 0,134 0,253 0,983* 0,983* 0,119 0,297 -0,472 0,048 0,877* -0,477
-0,575 0,967*
|
0,407
0,406 0,833* 0,766* 0,067 0,067 0,833* 0,857* -0,400 0,281 0,397 -0,265 0,137
0,097
|
0,125
0,126 0,107 0,043 -0,011 -0,011 0,126 0,220 -0,002 -0,040 0,060 -0,832*
0,790* -0,039
|
0,312
0,313 0,305 0,211 0,007 0,007 0,199 0,231 -0,782* 0,953* 0,170 -0,060 -0,131
0,179
|
|
Общая
дисперсия Доля общей дисп.
|
6,010
0,429
|
3,718
0,266
|
1,432
0,102
|
2,028
0,145
|
ПРИЛОЖЕНИЕ И
Результаты тарирования устройства для
определения деформационных характеристик материалов при многократном растяжении
число делений на шкале осциллографа
Рисунок К.1 - Тарировочный график
ПРИЛОЖЕНИЕ К
Комплексная оценка и регрессионный анализ
экспериментальных данных
Таблица Л.1 - Комплексная оценка
упруго-пластических свойств материалов для наружных деталей верха обуви
|
Наименование
материала
|
Относительный
единичный показатель, Кi
|
Комплексный
показатель, К
|
|
Ппоик
m = 0,61
|
Δεэл (1) m = 0,19
|
Δεпл (1) m = 0,11
|
Δεэл (2) m = 0,09
|
|
|
Яловка
легкая
|
0,699
|
0,548
|
0,627
|
0,708
|
0,663
|
|
Полукожник
эласт.
|
0,750
|
0,769
|
0,575
|
0,356
|
0,699
|
|
Яловка
эласт. NEVROR
|
0,940
|
1,000
|
0,765
|
0,724
|
0,913
|
|
Яловка
эласт Наппа
|
0,920
|
0,307
|
0,716
|
0,332
|
0,728
|
|
Яловка
эласт. Nero
|
1,000
|
0,541
|
1,000
|
0,371
|
0,856
|
|
Винилискожа-Т
|
0,675
|
0,356
|
0,134
|
0,572
|
0,546
|
|
ИК
«Metlak»
|
0,621
|
0,324
|
0,160
|
0,851
|
0,535
|
|
ИК
«CAPRETTO
P
UNDRUSH»
|
0,725
|
0,640
|
0,075
|
0,762
|
0,641
|
|
СК
«Неве»
|
0,800
|
0,412
|
0,660
|
0,468
|
0,681
|
|
СК
марки 2
|
0,461
|
0,485
|
0,336
|
1,000
|
0,500
|
|
СК
«Syn-baby»
|
0,675
|
0,392
|
0,601
|
0,668
|
0,612
|
|
СК
«POSITANO
NAT BRUSH»
|
0,710
|
0,335
|
0,541
|
0,609
|
0,611
|
Таблица Л.2 - Комплексная оценка
упруго-пластических свойств текстильных материалов для межподкладки и подкладки
обуви
|
Наименование
материала
|
Относительный
единичный показатель, Кi
|
Комплексный
показатель, К
|
|
П0,5Рраз
m = 0,52
|
Δεэл (1) m = 0,24
|
Z0,5Рраз m = 0,11
|
Δεэл (2) m = 0,07
|
ПВ3030
m = 0,06
|
|
|
Трикотаж
м/подк. (пов.пл-ть 172 г/м2)
|
0,755
|
0,503
|
0,973
|
1,000
|
0,705
|
0,733
|
|
Трикотаж
м/подк. (пов.пл-ть 130 г/м2)
|
1,000
|
0,478
|
0,993
|
0,477
|
0,781
|
0,824
|
|
Термобязь
|
0,674
|
0,213
|
0,958
|
0,627
|
1,000
|
0,611
|
|
Нетканый
материал «Спанбонд» (пов.пл-ть 80 г/м2)
|
0,442
|
0,403
|
0,935
|
0,361
|
0,814
|
0,503
|
|
Ткань
обувная подкладочная
|
0,524
|
0,339
|
1,000
|
0,402
|
0,880
|
0,545
|
|
Трикотаж
подкл. (пов.пл-ть 292 г/м2)
|
0,415
|
1,000
|
0,939
|
0,553
|
0,661
|
0,637
|
|
Трикотаж
подкл. (пов.пл-ть 185 г/м2)
|
0,479
|
0,512
|
0,917
|
0,515
|
0,714
|
0,552
|
|
Ткань
эксперимен
|
0,350
|
0,232
|
0,939
|
0,424
|
0,498
|
0,400
|
|
Тик-саржа
|
0,452
|
0,275
|
0,981
|
0,549
|
0,766
|
0,493
|
Таблица Л.3 - Комплексная оценка
упруго-пластических свойств систем материалов для верха обуви
|
Наименование
материала
|
Относительный
единичный показатель, Кi
|
Комплексный
показатель, К
|
|
ПВ3030
m =0,62
|
Z (2) m =0,21
|
Δεупр(2) m =0,11
|
Δεэл (1) m =0,06
|
|
|
1
|
2
|
3
|
4
|
5
|
6
|
|
ИК
«Metlak» +
термобязь +ткань обувная
|
0,723
|
0,979
|
1,000
|
0,579
|
0,799
|
|
ИК
«Metlak» +
термобязь + трикотаж
|
0,513
|
0,930
|
0,800
|
0,483
|
0,630
|
|
ИК
«Metlak» +
термобязь +ткань эксперим.
|
0,627
|
0,949
|
0,843
|
0,641
|
0,719
|
|
ИК
«Metlak» +
трикотаж + ткань обувная
|
0,543
|
0,789
|
0,408
|
0,652
|
|
ИК
«Metlak»+
трикотаж +трикотаж
|
0,489
|
0,922
|
0,749
|
0,610
|
0,616
|
|
ИК
«Metlak»+
трикотаж + ткань экспериментал.
|
0,528
|
0,909
|
0,712
|
0,530
|
0,628
|
|
ИК
«Metlak» +
нетканый материал+ткань обувная
|
0,570
|
0,972
|
0,777
|
0,696
|
0,685
|
|
ИК
«Metlak» +
нетканый материал + трикотаж
|
0,496
|
0,915
|
0,805
|
0,707
|
0,631
|
|
ИК
«Metlak» +
нетканый материал +ткань экспер.
|
0,543
|
0,946
|
0,751
|
0,802
|
0,666
|
|
Яловка
NEVROR +
термобязь +ткань обувн.
|
1,000
|
1,000
|
0,846
|
0,520
|
0,954
|
|
Яловка
NEVROR +
термобязь + трикотаж
|
0,969
|
0,958
|
0,819
|
0,648
|
0,931
|
|
Яловка
NEVROR +
термобязь + ткань эксп.
|
0,988
|
0,949
|
0,755
|
0,537
|
0,927
|
|
Яловка
NEVROR +
трикотаж + ткань обувн.
|
0,867
|
0,936
|
0,914
|
0,707
|
0,877
|
|
Яловка
NEVROR +
трикотаж + трикотаж
|
0,832
|
0,863
|
0,988
|
0,738
|
0,850
|
|
Яловка
NEVROR +
трикотаж + ткань эксп.
|
0,852
|
0,893
|
0,855
|
0,970
|
0,868
|
|
Яловка
NEVROR + неткан
материал+ ткань обувная
|
0,900
|
0,972
|
0,862
|
0,756
|
0,902
|
|
Яловка
NEVROR +
нетканый мат-л + трикотаж
|
0,873
|
0,911
|
0,830
|
0,898
|
0,878
|
|
Яловка
NEVROR + неткан
материал + ткань эксперим.
|
0,882
|
0,944
|
0,760
|
0,902
|
0,883
|
|
СК
марки 2 + термобязь + ткань обувная
|
0,550
|
0,970
|
0,864
|
0,799
|
0,688
|
|
СК
марки 2 + термобязь + трикотаж
|
0,480
|
0,915
|
0,738
|
1,000
|
0,631
|
|
СК
марки 2 + термобязь + ткань экспериментал.
|
0,489
|
0,955
|
0,785
|
0,618
|
0,627
|
|
СК
марки 2 + трикотаж +ткань обувная
|
0,471
|
0,911
|
0,658
|
0,677
|
0,596
|
|
СК
марки 2 + трикотаж + трикотаж
|
0,444
|
0,789
|
0,558
|
0,969
|
0,560
|
|
СК
марки 2 + трикотаж + ткань экспериментал.
|
0,458
|
0,876
|
0,609
|
0,755
|
0,580
|
|
СК
марки 2 + нетканый мат-л + ткань обувная
|
0,513
|
0,964
|
0,854
|
0,913
|
0,669
|
|
СК
марки 2 + нетканый материал + трикотаж
|
0,456
|
0,853
|
0,752
|
0,950
|
0,602
|
|
СК
марки 2 + нетканый мат-л + ткань эксперим.
|
0,484
|
0,898
|
0,848
|
0,904
|
0,636
|
|
|
|
|
|
|
|
|
Таблица Л.4 - Матрица исходных данных для
множественного регрессионного анализа
|
  
|
|
|
|
|
0,535
0,535 0,535 0,535 0,535 0,535 0,535 0,535 0,535 0,913 0,913 0,913 0,913 0,913
0,913 0,913 0,913 0,913 0,500 0,500 0,500 0,500 0,500 0,500 0,500 0,500 0,500
|
0,611
0,611 0,611 0,733 0,733 0,733 0,503 0,503 0,503 0,611 0,611 0,611 0,733 0,733
0,733 0,503 0,503 0,503 0,611 0,611 0,611 0,733 0,733 0,733 0,503 0,503 0,503
|
0,545
0,637 0,400 0,545 0,637 0,400 0,545 0,637 0,400 0,545 0,637 0,400 0,545 0,637
0,400 0,545 0,637 0,400 0,545 0,637 0,400 0,545 0,637 0,400 0,545 0,637 0,400
|
0,799 0,630 0,719
0,652
0,616
0,628
0,685
0,631
0,666
0,954
0,931
0,927
0,877
0,850
0,868
0,902
0,878
0,883
0,688
0,631
0,627
0,596
0,560
0,580
0,669
0,602
0,636
|
Таблица Л.5 - Результаты множественного
регрессионного анализа
STAT.
MULTIPLE REGRESS. Regression Summary for Dependent Variable:
= 0.9963 RI
= 0.9925 Adjusted RI = 0.9916
|
F (3,24) = 1065.0 p < 0.0000
Std. Error of estimate: .0678
|
|
|
N = 27
|
BETA
|
St. Err. of BETA
|
B
|
St. Err. of B
|
t (24)
|
p - level
|
|
0.67420.05900.73850.064611.42450.0000
|
|
|
|
|
|
|
|
0.17080.08230.20300.09782.07540.0488
|
|
|
|
|
|
|
|
0.16390.07540.22620.10842.08650.0477
|
|
|
|
|
|
|
- линейная зависимость;
- линейная
зависимость;
- полиномиальная зависимость;
-
экспоненциальная зависимость;
- степенная зависимость
Рисунок Л.1 - Аппроксимация зависимости между
упруго-пластическими свойствами систем материалов до и после технологической
обработки
- линейная зависимость;
- линейная
зависимость;
- полиномиальная зависимость;
-
экспоненциальная зависимость
Рисунок Л.2 - Аппроксимация
зависимости между относительными показателями упруго-пластических свойств
систем материалов до и после многократного растяжения
- линейная
зависимость;
- логарифмическая
зависимость;
- полиномиальная
зависимость (3 степени);
- полиномиальная
зависимость (2 степени)
Рисунок Л.3 - Аппроксимация зависимости между
показателем упруго-пластических свойств систем материалов после многократного
растяжения и приформовываемостью верха обуви
ПРИЛОЖЕНИЕ Л
Результаты экспериментальной носки обуви
Таблица М.1 - Аппроксимация кривых накопления
остаточной деформации, полученных в ходе экспериментальной носки обуви и при
циклическом испытании систем материалов
|
Наименование
пакета верха обуви
|
Аппроксимация
кривых, полученных при циклических испытаниях систем материалов
|
Аппроксимация
кривых, полученных в ходе экспериментальной носки обуви
|
|
Линейная
функция
|
Степенная
функция
|
Логарифмическая
функция
|
Полиномиальная
функция
|
Линейная
функция
|
Степенная
функция
|
Логарифмическая
функция
|
Полиномиальная
функция
|
|
Nero+ термобязь+ тик-саржа
|
у
= 8Е-05х + 1,7687 R2 = 0,7959
|
y
= 0,5508x 0,1774 R2 = 0,9942
|
y
= 0,3669Ln(x) - 0,5633 R2 = 0,9592
|
y
= -7E-09x 2 + 0,0002x + 1,4761 R2 = 0,9532
|
у
= 0,0344х + 2,4695 R2 = 0,597
|
y
= 1,7052x 0,2442 R2 = 0,8405
|
y
= 0,6368Ln(x) + 1,6676 R2 = 0,9423
|
y
= 7E-05x3 - 0,0075x2 + 0,238x + 1,5788 R2 = 0,9141
|
|
Nero+ трикотаж+ трикотаж
|
у
= 7Е-05х + 2,9915 R2 = 0,7495
|
y
= 1,5498x 0,1004 R2 = 0,9967
|
y
= 0,3263Ln(x) + 0,8977 R2 = 0,982
|
y
= -6E-09x 2 + 0,0002x + 2,7173 R2 = 0,9283
|
у
= 0,0319х + 3,3166 R2 = 0,6397
|
y
= 2,6635x 0,1604 R2 = 0,9266
|
y
= 0,5774Ln(x) + 2,6025 R2 = 0,9656
|
y
= 6E-05x3 - 0,0064x2 + 0,2086x + 2,5364 R2 = 0,9483
|
|
Наппа+
неткан. мат-л+ трикотаж
|
у
= 9Е-05х + 1,4475 R2 = 0,8415
|
y
= 0,3448x 0,2188 R2 = 0,9956
|
y
= 0,3905Ln(x) - 1,0119 R2 = 0,941
|
y
= -6E-09x 2 + 0,0002x + 1,1738 R2 = 0,9608
|
у
= 0,0337х + 2,2417 R2 = 0,6117
|
y
= 1,5446x 0,2515 R2 = 0,8945
|
y
= 0,6202Ln(x) + 1,464 R2 = 0,9549
|
y
= 6E-05x3 - 0,0069x2 + 0,2295x + 1,3605 R2 = 0,9636
|
|
Наппа+
термобязь + трикотаж
|
у
= 9Е-05х + 1,0787 R2 = 0,8845
|
y
= 0,2358x 0,2371 R2 = 0,9566
|
y
= 0,3469Ln(x) - 1,0744 R2 = 0,8822
|
y
= -5E-09x 2 + 0,0002x + 0,8485 R2 = 0,9848
|
у
= 0,0263х + 2,1795 R2 = 0,6935
|
у
= 1,6924x 0,1888 R2 = 0,9449
|
y
= 0,4613Ln(x) + 1,6242 R2 = 0,9821
|
y
= 4E-05x3 - 0,0046x2 + 0,1539x + 1,6142 R2 = 0,9539
|
|
СК
+ термобязь + тик-саржа
|
у
= 9Е-05х + 0,5682 R2 = 0,7965
|
y
= 0,0054x 0,6349 R2 = 0,9663
|
y
= 0,4011Ln(x) - 1,9737 R2 = 0,9366
|
y
= -8E-09x 2 + 0,0003x + 0,2192 R2 = 0,9794
|
у
= 0,0347х + 1,6277 R2 = 0,6081
|
y
= 0,9087x 0,3616 R2 = 0,8579
|
y
= 0,6402Ln(x) + 0,8236 R2 = 0,9536
|
y
= 7E-05x3 - 0,0072x2 + 0,2379x + 0,7153 R2 = 0,9599
|