Технология бурения нефтяных и газовых скважин

  • Вид работы:
    Отчет по практике
  • Предмет:
    Геология
  • Язык:
    Русский
    ,
    Формат файла:
    MS Word
    1,43 Mb
  • Опубликовано:
    2012-03-20
Вы можете узнать стоимость помощи в написании студенческой работы.
Помощь в написании работы, которую точно примут!

Технология бурения нефтяных и газовых скважин

Министерство образования Республики Татарстан

Альметьевский нефтяной государственный институт









Отчёт

по учебной практике






Выполнил: ст.гр.69-13ВТ

Принял:




Альметьевск 2011

Содержание

1.   Производственная и организационная структура НГДУ

2.       Геолого-физическая характеристика объектов

3.       Бурение скважин

4.       Разработка нефтяных месторождений

5.       Система поддержания пластового давления

6.       Эксплуатация нефтяных и нагнетательных скважин

7.       Исследование скважин

8.       Методы увеличения производительности скважин

9.       Текущий и капитальный ремонт скважин

10.     Сбор и подготовка нефти, газа и воды

11.     Техника безопасности, охрана труда и окружающей среды

Список литературы

1.  
ПРОИЗВОДСТВЕННАЯ И ОРГАНИЗАЦИОННАЯ СТРУКТУРА НГДУ

Организация производственных процессов в НГДУ «Альметьевнефть»:

ОППД" отдел поддержания пластового давления и повышения нефтеотдачи пласта Главная задача-разработка и организация выполнения мероприятий, направленных на выполнение плана закачки технологической жидкости в пласт, повышение эффективности использования нагнетательного фонда скважин и другого оборудования системы ПДД контроль за своевременным выполнением мероприятий, направленных на повышение нефтеотдачи пластов, контроль за выполнением природоохранных мер при эксплуатации объектов ППД.

ЦИТС обеспечение выполнения суточных и месячных планов добычи нефти и газа, организация и контроль выполнения суточных заданий, ежедневный анализ производственной ситуации, круглосуточная организация и контроль работ всех объектив, осуществление координации с вспомогательным производством.

ТОДНиРП- технологический отдел по добыче нефти и развитию производства, Главная задача: разработка перспективных, годовых, квартальных и месячных планов добычи нефти, ввода скважин в эксплуатацию, подземных и капитальных ремонтов скважин и скважин на механизированную добычу нефти.

ОKPC - обеспечение качественного ремонта скважин от написания планов работ до окончания ремонт, разработка организационно-технических мероприятий, направленных на повышение эффективности ремонта скважин, осуществление контроля за соблюдением технологического процесса при капитальном ремонте скважин, внедрение новых технологий, материалов.

ООСС- отдел организации строительства скважин осуществляет контроль над своевременным выполнением работ по строительству скважин при условии не превышения лимита затрат.

CПСН служба по приему - сдаче нефти. Главной задачей по приему сдачи нефти, является организация приема нефти от подразделений ОАО «Татнефть» и сдачи ее на объединенных узлах учета в систему магистральных нефтепроводов АК «Транснефть».

СПБиОТ - служба промышленной безопасности и охраны труда (Основной задачей является обеспечение промышленной безопасности и охраны труда в подразделениях управления, организация и координация работы в этом направлении.

Технический отдел - осуществляет руководство работами по внедрению и эксплуатации на объектах НГДУ средств новой техники, передовой технологии.

ОМТСиКО отдел материального - технического снабжения и комплектации оборудования. Осуществляет корпоративного управления процессом материального - технического обеспечения производством.

Отдел главного энергетика - осуществляет техническое и методическое руководство энергетической службой управления, разрабатывает и контролирует внедрение мероприятий по рациональной эксплуатации энергетического и теплотехнического оборудования.

Отдел главного механика. Главной задачей является осуществление технического и методического руководства механоремонтной службы управления, обеспечения рациональной эксплуатации оборудования.

Отдел главного технолога. Главной задачей является организация выполнения планов по подготовке и перекачке нефти, выработке широкой фракции, мероприятий, направленных на улучшение качества и снижения потерь подготовленной нефти.

ТОРНиГМ - технологический отдел по разработке нефтяных и газовых месторождений. Главной задачей отдела является внедрение, утверждение технологических схем и проектов разработки месторождений.

Геологический отдел. Главной задачей геологического отдела является детальное изучение нефтяных и газовых месторождений в период разбуривания их эксплуатационными и нагнетательными скважинами.

МГС - маркшейдерско-геодезическая служба. Главной задачей МГС является своевременное и качественное проведение предусмотренного нормативными требованиями комплекса маркшейдерских работ, достаточных для обеспечения безопасного ведения работ, связанных с пользованием недрами, наиболее полного извлечения из недр запасов полезных ископаемых, обеспечения технологического цикла горных, строительно-монтажных работ, а гак же для прогнозирования опасных ситуаций при ведении таких работ.

ОВП - отдел вспомогательного производства. Главной задачей отдела является изучение социологических проблем организации труда, быта и отдыха работников, разработка социальных программ, организация их выполнения и контроль, за ходом их реализации.

СОИ - служба обработки информации. Главной задачей является внедрение и обеспечение эффективного функционирования информационной системы НГДУ, сбор первичной информации, своевременная выдача потребителям результатов вычислений.

ПООМ - производственный отдел по обустройству месторождений. Главной задачей является разработка мероприятий по своевременному вводу в эксплуатацию строящихся объектов, текущих и перспективных планов капитального строительства.

ОЭР и П - отдел экономических расчетов и прогнозирования. Главной задачей является организация и совершенствование расчетов и обоснований по прогнозированию и оперативному анализу финансовой деятельности управления, расчеты и обоснования финансового плана по самостоятельным структурным подразделениям.

ООТиЗП - отдел организации труда заработной платы. Главной задачей является создание условий для прогрессивной и эффективной трудовой деятельности за счет разработки и внедрения передовых форм организации труда.

ОКС - отдел капитального строительства. Главной задачей отдела является составление текущих и перспективных планов капитального строительства городских объектов жилищно-гражданского назначения, финансируемых ОАО «Татнефть» и другими источниками финансирования, контроль за ходом строительства и финансирования сооружаемых объектов, обеспечение своевременного ввода в эксплуатацию законченных строительством объектов.

Отдел регистрации имущества - Главной задачей отдела является представление НГДУ «Альметьевнефть» по вопросам Государственной регистрации прав на имущество и при заключении сделок (аренды, купле-продаже) с имуществом, а также учет, контроль и анализ эффективности использования имущества, принадлежащего НГДУ «Альметьевнефть» и разработка предложений по его улучшению.

ПСО - проектно - сметный отдел. Главной задачей является своевременная выдача проектно - сметой документации «Заказчику» согласно мероприятиям, разработанным по своевременному вводу в эксплуатации. Строящихся объектов, текущих и перспективных планов строительства новых, реконструкции существующих объектов собственными силами.

ЦДНГ - цеха по добыче нефти и газа. Главная задача - обеспечение разработки нефтяных и газовых месторождений.

ЦППД - цех поддержания пластового давления. Главная задача - поддержание пластового давления на объектах разработки.

ЦКППН - цех комплексной подготовки и перекачки нефти. Главная задача - прием нефти с ЦДНГ в резервуарные парки, сепарация нефти при товарных парках, выработка широкой фракции легких углеводородов, сдача подготовленной нефти

ЦКПРС - цех капитального и подземного ремонта скважин. Основной задачей является своевременная и качественная замена вышедших из строя электроцентробежных установок и подземного оборудования.

ПРЦГНО - прокатно-ремонтный цех глубинно-насосного оборудования. Основной задачей является осуществление ремонта ревизии опрессовки.

ЦПСН - цех по приему-сдаче нефти. Главной задачей является организационно-техническое обеспечение приемо-сдаточных операций нефти, обеспечение достоверности учета и контроля качества нефти.

ПРЦЭиЭ - прокатно-ремонтный цех электрооборудования и электроснабжения. Основная задача - обеспечение надежной, экономичной, безопасной работы электроустановок, проведение ремонта электрооборудования во всех подразделениях НГДУ.

ТЭЦ - теплоэнергетический цех. Главной задачей цеха является бесперебойное, рациональное обеспечение тепло энергией объектов НГДУ, ОАО «Татнефть» с минимальными затратами и предотвращением потерь энергоносителя.

ПРЦЭО - прокатно-ремонтный цех эксплуатационного оборудования. Главной задачей цеха является обеспечение надежной и бесперебойной работы нефтепромыслового оборудования.

ЦАП - цех автоматизации производства. Главной задачей является техническое обслуживание и обеспечение надежной работы КИП.

АУТТ-1 - Альметьевске управление технологического транспорта. Главной задачей АУТТ-1 является качественное и своевременное транспортное обслуживание и выполнение работ специальной техникой для предприятий, организаций и структурных подразделений НГДУ в целях обеспечения выполнения плановых заданий по добыче нефти и газа, строительству нефтяных и газовых скважин.

ЦАКЗО - цех по антикоррозийной защите оборудования. Главной задачей цеха является увеличение срока службы нефтепромыслового оборудования с помощью применения технологий по защите от коррозии.

СОЦ - Спортивно-оздоровительный цех НГДУ «АН». Главной задачей цеха является обеспечение условий для укрепления здоровья и разностороннего физического развития работников НГДУ «АН» и членов их семей.

ЦПЭ - цех производственной эстетики. Главной задачей цеха является осуществление эстетической организации производственной сферы, капитальный ремонт зданий и сооружений НГДУ, строительство объектов производственного и гражданского назначения.

База отдыха «Юность». Главной задачей является обеспечение отдыха работников НГДУ и их семей.

Центральный склад. В задачи склада входит: прием, обработка, хранение и отпуск материальных ценностей и оборудования.

УКК - Учебный курсовой комбинат. Главной задачей является: подготовка, переподготовка, повышение квалификации рабочих, обучение бригадиров и их резервов, участие в работе по профессиональной ориентации молодежи, проводимой службами подразделений.

2.ГЕОЛОГО-ФИЗИЧЕСКАЯ ХАРАКТЕРИСТИКА ОБЪЕКТОВ

Ромашкинское месторождение - расположено в 70 км к западу от г. Альметьевск Татарской ACCP; входит в Волго-Уральскую нефтегазоносную провинцию <#"525810.files/image001.gif">

Рис. 1

I - Ромашкинское месторождение:

площади: 1 - Березовская, 2 - Северо-Альметьевская, 3 - Альметьевская,  4 - Миннибаевская, 5 - Зай-Каратайская, 6 - Куакбашская,  7 - Ташлиярская, 8 - Чишминская, 9 - Алькеевская, 10 - Восточно-Судеевская, 11 - Абдрахмановская, 12 - Южно-Ромашкинская,  13 - Западно-Лениногорска, 14 - Павловская, 15 - Зеленогорская,  16 Восточно - Лениногорская, 17 - Азнакаевская, 18 - Холмовская,  19 Каракалинская, 20 - Южная, 21 - Сармановская;

II - Ново-Елховское месторождение;

III-Бавлинскоеместорождение

а - границы месторождений;


Характеристика геологического строения

Миннибаевская площадь является одной из центральных площадей Ромашкинского месторождения с размерами 19,5 х 13,3 км и общей площадью 255,6 км2. Она приурочена к западно-центральной части структуры II порядка - Южно - Татарскому своду. С запада ограничена Алтунино-Шунакским прогибом, отделяющим площадь от Ново-Елховской структуры.

Основным эксплуатационным объектом являются продуктивные отложения кыновского (Д0) и пашийского (Д1) горизонтов, залегающие в среднем на глубине 1750 - 1770 м. Эксплуатационный объект представлен переслаиванием песчаных, песчано - алевролитовых и аргиллитовых пород. Коллекторами служат хорошо отсортированные мелкозернистые песчаники и крупнозернистые алевролиты.

В разрезе кыновского и пашийского горизонтов выделяют 9 продуктивных пластов: До (кыновский горизонт), а, б1, б2, б3, в, г1, г2+3, д (пашийский горизонт).

Коллекторы пласта До приурочены к средней части кыновского горизонта и развиты преимущественно в северо-западной и центральной частях площади, залегают в виде линз и полос различной величины от весьма крупных до мелких, вскрытых одной скважиной. Средняя толщина продуктивных пластов-коллекторов составляет 16,5 м. Тип пласта До пластово-сводовый.

Корреляция пластов пашийского горизонта осуществляется с использованием репера «верхний известняк», выделяемого в кровле горизонта и репера «муллинские глины», залегающего в подошве пашийский отложений. Репер «верхний известняк» в пределах площади выделяется повсеместно, а репер «муллинские глины» на отдельных, небольших участках площади отсутствует в связи со слиянием коллекторов пласта Д1 и нижезалегающего пласта Д2. В средней части горизонта выделяется дополнительный репер «аргиллит», расчленяющий отложения пашийского горизонта на две различающиеся между собой по характеру строения пачки: верхнепашийская, включающая пласты а, б1. б2, б3, и нижнепашийская, сложенная пластами в, г1, г2+3, д.

Верхнепашийские отложения характеризуются линзовидным и полосообразным залеганием коллекторов, небольшими толщинами пластов (1-3м) и преобладающим распространением низкопродуктивных коллекторов.

Нижнепашийским отложениям присуще площадное распространение коллекторов (в, г2+3, частично д) на большей части площади представленных высокопродуктивными пластами с значительно большей толщиной (в среднем 5-7 м).

Водонефтяной контакт в пределах Миннибаевской площади прослеживается, в основном, в пластах г1, г2+3 и д. Исключение составляет Чупаевский участок (блок №7), где на границе с Алтунино-Шунакским прогибом выделяется узкая полоса водонефтяной зоны в пластах а, б, в. В пределах площади ВНК выполнен в 182 скважинах. Среднее его положение по площади в целом составляет - 1488,1 м. Отмечается понижение положения ВНК по направлению с севера на юг. Если в пределах блоков №3, №4 ВНК расположен соответственно на отметках - 1488,6 м и - 1489 м, то в северной части площади (блок №1) водонефтяной контакт выделяется на абсолютной отметке в среднем равной -1486,4 м (табл. 1.). Также заметно погружение ВНК по направлению к Алтунино-Шунакскому прогибу, где в пределах блока №7 среднее положение находится на уровне -1489,1 м.

Пористость, проницаемость и начальная нефтенасыщенность

Породы, слагающие горизонт До и Д1 по литологической характеристике делятся на две категории: песчано-алевролитовые, являющиеся коллекторами, глинисто-алевролитовые и аргиллитовые, которые представляют не коллекторы и служат непроницаемыми разделами между пластами-коллекторами.

В работе по подсчёту запасов нефти горизонтов До и Д] Ромашкинского нефтяного месторождения дифференциация на группы осуществлялась по двум параметрам: проницаемости и глинистости. За нижнюю границу принято предельное значение проницаемости, при которой пласт может обводняться пластовой (солёной) водой, равное 0,025 мкм2. Коллекторы разделены на две группы: высокопродуктивные с к > 0,100 мкм2 и малопродуктивные с 0,025мкм2 < к < 0,100 мкм2.

В первой группе коллекторов выделяются две подгруппы, критерием для деления которых служит величина глинистости, равная 2%. Первая подгруппа имеет1 глинистость менее 2% и названа «высокопродуктивными неглинистыми коллекторами». Вторая подгруппа с глинистостью более 2% называется «высокопродуктивные глинистые коллекторы». Принятое деление пород-коллекторов по величине глинистости исходит из предположения о невозможности заводнения коллекторов 2 подгруппы пресной закачиваемой водой, ввиду разбухания глинистых частици резкого снижения проницаемости, и наличии такой возможности у коллекторов 1 подгруппы.

Таблица 1.

Средние абсолютные отметки начального положения ВНК

№ блока

Кол-во скважин

Средняя отметка ВНК,  м

Среднее квадратическое отклонение, м

1 2 3 4 5 6 7

32 22 44 36 10 24 14

-1486,4  -1488,2  -1488,5  -1489,0  -1487,5  -1487,0  -1489,1

±1,9 ±1,9 ±1,9 ±2,2 ±0,7 ±1,6 ±2,1

По площади в целом

182

-1488,1

±2,2


Во второй группе пород-коллекторов с проницаемостью, изменяющейся в пределах от 0,025 мкм2 до 0,100 мкм2, преобладают разности с глинистостью более 2%, но встречается и небольшая доля пластов с глинистостью меньше 2%. Пласты, сложенные коллекторами второй группы, пресной закачиваемой водой не заводняются.

Учитывая высокую сходимость средних значений пористости, нефтенасыщенности и проницаемости, определённых по данным анализов керна и методов промысловой геофизики, хорошую корреляцию данных керна и промыслово-геофизических параметров и существенно большую полноту охвата промыслово-геофизическими исследованиями и результатами их интерпретации по площади и разрезу, чем по материалам лабораторных анализов керна, основные коллекторские параметры пласта приняты по данным интерпретации промыслово-геофизических методов.

Анализ приведённых данных показывает, что по емкостным свойствам коллекторы первой группы второй подгруппы занимают промежуточное положение между высокопродуктивными неглинистыми и малопродуктивными коллекторами, а по фильтрационным свойствам и условиям заводнения ближе к малопродуктивным. Рассматривая характер изменения абсолютной проницаемости по разрезу, можно отметить, что достаточно хорошо выявляется закономерность её увеличения по направлению сверху вниз. Аналогичная закономерность рассматривается и в изменении нефтенасыщенности пластов-коллекторов.

Наилучшими фильтрационными свойствами среди всех выделенных пластов по подгруппе «высокопродуктивных неглинистых коллекторов» отличаются пласты б3, в, г2+3 (1,032 - 1,089 мкм2), а самыми низкими - пласт Д0, где проницаемость практически в два раза ниже проницаемости рассматриваемых пластов. Проницаемость этого типа коллекторов в остальных пластах занимает промежуточное положение. Среди «высокопродуктивных глинистых коллекторов» более высокой проницаемостью обладают пласты б2, б3 и в (0,322 -0,391 мкм2). В низкопродуктивных коллекторах всех пластов коэффициент проницаемости изменяется в небольших пределах от 0,056 мкм2 до 0,056 мкм2, при среднем его значении в целом по объекту разработки равном 0,061 мкм2.

По емкостным свойствам «высокопродуктивных песчанистых коллекторов» более низкими значениями пористости характеризуются пласты Д0 и а. В оставшихся пластах данной подгруппы средние значения пористости близки между собой и изменяются в пределах от 21,3% до 22%. Емкостные характеристики пластов по каждой из двух других групп близки между собой.

Оценивая фильтрационную характеристику групп коллекторов в целом по блокам, необходимо отметить их достаточную близость, за исключением блока №5, который отличается более низкой величиной проницаемости в высокопродуктивных неглинистых коллекторах, что, очевидно, в определённой степени должно отразиться на состоянии разработки этого блока.

Характеристика коллекторских свойств и нефтегазонасыщен-ности пластов Д0 и Д1 - в табл.2.

Толщины пластов

На Миннибаевской площади, как рассматривалось выше, путём детальной послойной корреляции выделено 9 продуктивных пластов.

Верхний из них, пласт Д0, коллектором представлен на 47% площади в основном в виде одного пропластка. В отдельных скважинах количество прослоев увеличивается до двух-трёх. Толщина пласта изменяется от 0,8 до 6,2 м и в среднем составляет 1,7 м. От нижезалегающего пласта а горизонта Д1 пласт До отделен глинистой толщей, представленной пачкой зеленовато-коричневых аргиллитов толщиной 1 - 16,8 м, являющейся наиболее выдержанной по площади (выделяется во всех пробуренных скважинах). По направлению к Алтунино-Шунакскому прогибу её толщина уменьшается.

Общая толщина горизонта Д1 колеблется в пределах от 32,2 м до 56,0 м, а средние значения по блокам изменяются от 39,2 до 43м. Эффективные и нефтенасыщенные толщины в целом по горизонту изменяются соответственно от 3,6 до 41,2 м и от 1,0 до 37,2 м. Наименьшими толщинами характеризуются 5 и 7 блоки.

Разделы между выделенными в разрезе горизонта Д1 пластами сложены, в основном, глинистыми алевролитами с прослоями аргиллитов.

Пласт а коллектором представлен на 52,4% площади, из них в 27,6% скважин залегает совместно с пластом б1. Коэффициент связанности составляет (ксв) 0,171. средняя толщина пласта а равна 1,9 м, от пласта б1 он отделён глинистой перемычкой, толщиной в среднем равной 2 м при коэффициенте вариации 61,3%.

Пласт б1 является наименее выдержанным по площади. Вероятность вскрытия коллектора по блокам изменяется от 0,150 до 0,312, в средне по площади составляет 0,234. Коллекторы пласта залегают в виде небольших полос и линз. Толщина пласта по блокам в среднем колеблется от 1,4 до 2,8м. Пласт в 62,1% скважин залегает совместно с пластом аив 48,2% скважин совместно с пластом б:2. Коэффициент связанности с нижележащим пластом меняется от 0 до 0,579, соответственно на 5 и 7 блоках. Толщина глинистой перемычки между пластами 61 и б2 равна 1,6 м, коэффициент вариации составляет 58,9%.

Таблица 2.

Характеристика коллекторских свойств и нефтегазонасыщенноети пластов Д0 иД1

Метод определения

Наименование

Проницае мость, мкм2

Порис тость, доли ед.

Нефте насы щен ностъ, доли ед.

Насыщен ность связан ной во дой, доли ед.

Лабораторные исследования керна

Количество скважин,шт Количество определений,шт Среднее значение Коэффициент вариации, доли ед. Интервал изменения

33 400 0,547  0,87 н/пр-3,396

33 477 0,210  0,210 0,037-0,240

6 222 0,875  0,180 0,304-0,969

6 222 0,125  - 0,031-0,696

Геофизические исследования скважин

Количество скважин, шт Количество определений,шт Среднее значение Коэффициент вариации, доли ед. Интервал изменения Принятая при  анализе

624 2773 0,656  1,169 0,030-3,648  0,656

629 3528 0,201  0,161 0,135- 0,249  0,201

634 2736 0,843  0,108 0,55-0,945  0,843

0,157 0,157

бурение нефтяная газовая скважина

Пласт б2 отличается от вышележащего несколько большим распространением по площади (Р = 0,402) и залегает преимущественно в виде достаточно крупных полос и линз. Средняя толщина пласта по площади равна 1,9 м. По характеру залегания по отношению к смежным пластам он в 26,2% скважин вскрыт совместно с пластом б1 и в 13,5% скважин совместно с б3. Связанность с пластом 61 по блокам различна, изменяется от 0 (5 блок) до 0,722 (7 блок). Непроницаемый раздел между пластами б2 и б3 характеризуется толщиной в среднем равной 1,9 м.

Пласт б3 сложен коллектором на 55,3% площади, из них в 10% залегает совместно с пластом б2 и в 67,4% с в. По характеру распространения коллекторов по площади он представлен ещё более крупными линзами и полосами чем пласт б2. Средняя толщина его в целом по площади составляет 2,4 м. От нижележащего пласта в пласт б3 отделен наиболее выдержанной в разрезе горизонта Д1 глинистой перемычкой («аргиллит») толщиной около 4м. Основные зоны слияния пластов б3 и в выделены на 1 и 4 блоках. На остальной части площади слияний коллекторов рассматриваемых пластов либо нет (2 блок), либо они вскрыты в единичных скважинах.

Пласт г1 сложен в виде крупных линз и полос, прерывистость е уменьшается с востока на запад, вероятность встречи коллектора составляет 0,65, в 83,3% и 96,3% скважин, соответственно, перекрывается и подстилается пластами а и г2+3. Коэффициент связанности с пластом г2+3 изменяется от 0,146 до 0,425. Толщина глинистой перемычки с пластом г2+3 составляет 1,9 м.

Наиболее выдержанным из всех пластов объекта разработки является пласт г2+3 (Р = 0,939), зоны отсутствия коллекторов выделяются, в основном, в пределах первого блока. От пласта д отделен глинистым разделом с толщиной, колеблющейся в среднем от 2,4 м до 4,5 м. В 37,7% скважин, вскрывших пласты г2+3 и д, их коллекторы находятся в слиянии. Средняя толщина пласта г2+3 составляет 3,5 м.

Самый нижний из пластов горизонта Д1 - пласт д, в центральной и нижней частях площади имеет близкое к площадному распространение, в северной части (1 блок) залегают в виде полос различного направления. Пласт характеризуется наибольшей толщиной продуктивных коллекторов, в среднем равной 3,8 м, практически на всей площади распространения перекрывается коллекторами пласта г2+3.

Таблица 3.

Статистические показатели характеристик неоднородности пластов

№. блока

Количество скважин,  для определения

Коэффициент песчанистости Кп

Коэффициент расчлененности Кр

среднее значение

коэффициент вариации

среднее значение

коэффици-ент вариации

1

2

3

4

5

6

7

1  2  3   4  5   6  7

Дм+Д.   До+Д.1   До+Д.  До+Дл   До+Д(   До+Д.  До+Д1

131  161  199  166  70  170  36

0,294 0,397  0,408 0,429  0,352 0,409  0,392 0,426  0,305 0,329  0,450 0,468  0,275 0,404

0,50 0,348 0,305 0,296 0,355 0,281 0,311 0,312 0,358 0,316 0,248 0,265 0,381 0,319

3,9 4,4 5,3 5,5 4,5 4,7 4,4 4,5 3,9 4,1 4,9 5,0 3,3 4,1

0,401 0,356 0,111 0,285 0,407 0,381 0,361 0,342 0,370 0,357 0,350 0,350 0,489 0,361

В целом по площади

933

0,373 0,417

0,374 0,315

4,5 4,7

0,386 0,358


Подошвой горизонта Д1 является пачка «муллинских глин», толщиной в средне равной 6 м. На Миннибаевской площади она достаточно выдержана. Зоны слияния пласта д горизонта Д1 с коллекторами горизонта Д2 выделяются в единичных скважинах, что свидетельствует о невысокой, гидродинамической связи коллекторов горизонта Д1 и Д2.

Рассматривая в целом характер распространения коллекторов горизонта Д1 необходимо отметить невысокую (за исключением 1 и 7 блоков) связанность коллекторов верхнепашийских отложений, что исключает значительные перетоки нефти и воды между пластами. В достаточной степени изолированным от верхнепашийских и пластов г - д нижнепашийских коллекторов является пласт в. Коллекторы пластов г - д в большей степени связаны между собой. Основная доля слияний смежных пластов, как правило, вскрыта двумя и более скважинами, т.е. рассматриваемые пласты являются практически единой гидродинамической системой.

Показатели неоднородности пластов

В таблице 3 приведены статистические показатели неоднородности объекта разработки по его разрезу, по блокам и площади в целом. В числителе показаны коэффициенты песчанистости и расчлененности в продуктивной части разреза, и а знаменателе по разрезу в целом.

Наибольшей песчанистостью характеризуется объект разработки на 6 блоке, где она достигает в продуктивной части 0,45, а самая низкая в пределах 1 и 7 блоков, где пласты г - д в части скважин являются водоносными. Песчанистость в целом пот разрезу изменяется не столь значительно от 0,397 до 0,468 и в среднем по площади равна 0,417.

Расчлененность эксплуатационного объекта Миннибаевской площади в 1,5 - 2 раза выше, чем на краевых площадях Ромашкинского месторождения. По площади она также неоднозначна. Самый низкий коэффициент расчлененности в продуктивной части разреза отмечается на 1,5 и 7 блоках (3,3; 3,9; 3,9), где пласты г2+3 и д частично водоносны и наиболее высокий в пределах 2 и 6 блоков, соответственно, 5,3 и 4,9.

Таблица 4.

Свойства пластовой нефти и газа

Наименование

Пласт 1


Количество исследованных

Диапазон наименования

Среднее значение


скважин

проб



а) Нефть  Давление насыщения  газом, МПа

  57

  85

  2,20 - 9,70

  8,38

Газосодержание, м3

59

85

30,29 - 95,29

62,30

Газовый фактор при дифференциальном разгазировании в рабочих условиях, м3/т,  Р1=0,5 МПа Т1=9°С Р2=0,1 МПа Т2=9°С

   59 59

   80 80

    16,00-66,00 5,00-14,00

   43,1 6,9

Суммарный газовый фактор, м7т




49,0

Плотность, кг/м'

72

85

765,0-856,9

802,3

Вязкость, мПа • с

45

80

2,20 - 4,84

3,55

Объёмный коэффициент при дифференцированном разгазировании в рабочих условиях, доли ед.

  85

  1,0829-1,2729

  1,1587

Температура насыщения парафином, °С





Пластовая температура, °С




40

б) Газ газовой шапки на месторождении отсутствует






Высокие коэффициенты расчленённости, неоднородность объекта разработки, но песчанистости указывает на его сложное геологическое строение.

Таблица 5.

Компонентный состав нефтяного газа, разгазированной и пластовой нефти (мольное содержание, %)


Пласт

Наименование

При однократном разгазировании пластовой нефти в стандартных условиях

При дифференциальном разгазировании пластовой нефти в рабочих условиях

Пластовая нефть


выделившийся газ

нефть

выделившийся газ

нефть


Кислород Углекислый газ Редкие  В т.ч. гелий  метан  этан  пропан  изобутан  и.бутан  изопентан  н. пентан  гексаны  гептаны  Остаток (С8+ высшие) Молекулярная масса остатка Плотность Ki/'м

0,03 037 8,32  37,58 24,31  17,57  2,09  5,77  1,59  1,45 0,92   31,10 1,2930

   3,45  1,84  1,25  0,95  0,95  0,77  0,77 90,02    211,18 660,6

 0,44 9,70  45,59  21,97  14,37  1,51  4,00  0,76  0,88 0,67


0,00  0,37 2,40  12,34  7,63  7,94  1,29  4,22  1,97  1,99 59,85    143,20 802,8


Физико-химические свойства пластовой нефти и газа

Физико-химические свойства нефтей и газов исследовались в лаборатории пластовых нефтей и газов «ТатНИПИнефть». Отбор и анализ проб проводились с помощью известной аппаратуры по общепринятой методике и в соответствии с государственными стандартами. Результаты исследований нефти и газа приведены в таблицах 4, 5, 6.

Таблица 6.

Физико-химические свойства и фракционный состав разгазированной нефти


Пласт

Наименование

Кол-во исследований

Диапазон наименования

Среднее значение


скв.

проб



1)Месторождение, площадь  2) Горизонт  3) Вязкость, сП  при 20°С  при 50°С  4)Температура застывания,°С  5)Температура  насыщения парафином, °С  6) Массовое содержание  - смол селикагелевых  - серы  - асфальтенов  - парафинов  7) Объемный выход фракнии,%  -Н.К. - 100°С  - до 150°С  - до 200°С  - до 300°С

    35 30       33 34 34 28  16 16 32 32

    40 35    40 41 41 33  23 16 39 39

Ромашкинское Д   5,8 - 36,7 3,0-11,8    3,1-24,6 1,2-2,4 1,7 - 7,4 2,6 - 8,5  50,0 - 80,0 6,9-12,5 15,0-38,2 37,5 - 56,3

    21,7 7,0    15,5 1,6 - 2,7  9,0  19,4 20,4


Физико-химические свойства пластовых нефтей девонского горизонта были исследованы по 85 качественным пластовым пробам и 40 поверхностным. Параметры пластовых и поверхностных нефтей изменяются в следующих пределах:

- давление насыщения - от 2,2 МПа до 9,7 МПа, среднее значение 8,38 МПа,

- пластовым газовый фактор- от 30,29м3/т до 95,29 м3/т, среднее значение 62,30м3/т;

- плотность пластовой нефти - от 765кг/м3 до 856,9кг/м3, среднее значение 802,Зкг/м3;

- объёмный коэффициент - от 1,0829 до 1,2729, среднее значение 1,1554;

вязкость пластовой нефти - от 2,20 мПа • с до 4,84 мПа • с, среднее значение 3,55 мПа • с.

Параметры поверхностной нефти (плотность сепарированной нефти 860,6 кг/м3) по плотности нефти относятся к типу средних нефтей. Содержание серы в нефти колеблется от 1,2% до 2,4%, средне 1,6%; содержание парафинов от 2,6: до 8,5%, среднее 4,5%.

Следовательно, нефти девонского горизонта Миннибаевской площади относятся к классу сернистых и парафинистых нефтей. Среднее значение выхода светлых фракций составляет при Т = 100 °С - 9,3%, при Т = 200 °С - 24,7%, при Т = 300 °С - 46,8%.

Среднее значение состава газа, разгазированной и пластовой нефти приведены в таблице 5.

Материальный баланс распределения углеводородов. Пластовый газовый фактор в среднем по площади для девонских отложений составляет 62,30м3 /т. В процессе сбора, транспорта и подготовки нефти рабочий газовый фактор, т.е. количество выделенного газа на 1-ой и 2-ой ступенях сепарации равняется 50,10 м3/т. Потери нефти от испарения лёгких фракций при дальнейшей её подготовке составляют 3,84 м3/т, а её потери в процессе подготовки сточных вод порядка 0,022 м3/т. Таким образом, разница между пластовым газовым фактором и суммарным количеством газа, выделенным в процессе подготовки нефти, составляет 8,25м3/т. Эта разница ушла вместе с товарной нефтью.

Таблица 7.

Свойства и ионный состав пластовой воды

Наименование

Кол-во исследов. скважин

Диапазон наименования

Среднее значение

1 2 3 4 5 6 7 8 9 10 11 12

Газосодержание, м3/т  В т.ч. сероводорода,µм3/т Объёмный коэффициент,bв Вязкость µ, мПа • с  Общая минерализация, г/л Плотность р, т/м2  Сl SO4 НСОз Содержание ионов , мг / л  мг-экв / л Са++ Mg++ Na+ + K+

2 2  5 15 15 15 13 12  15 15 15

0,343 - 0,360 не обнаружено не определялся 1,8701-1,9714 244,1063-279,8230 1,1728-1,1898 152190.-174100,2 4292,15-4910,17 2,4-60,3 0,05-1,18 5,9 -- 73,3 0,12-1,18 21251,5-29567,9 1060,45-1475,84 2302.4-4695,7 271,45-386,16 64872,2-78155,4 2820,53 - 3398,06

0,352 - - 1,8722 262,0991 1,1808 164856 4649,41 48,4 1,01 48,4 0,79 23272,4 1161,29 3340,3 324,04 72815,2 3165,88


Физико-химические свойства пластовой воды

Пластовые воды продуктивных отложений терригенного девона представляют собой рассолы хлоркальциевого типа с общей минерализацией изменяющейся от 244 г/л до 262 г/л. В таблице 7. приведены данные по результатам исследований проб пластовой воды Миннибаевской площади.

3. БУРЕНИЕ СКВАЖИН

В цикл строительства скважины входят:

подготовительные работы (в ходе подготовительных работ выбирают место для буровой, прокладывают подъездную дорогу, подводят системы электроснабжения, водоснабжения и связи; если рельеф местности неровный, то планируют площадку);

монтаж вышки и оборудования (производится в соответствии с принятой для данных конкретных условий схемой их размещения; оборудование стараются разместить так, чтобы обеспечить безопасность в работе, удобство в обслуживании, низкую стоимость строительно-монтажных работ и компактность в расположении всех элементов буровой);

подготовка к бурению;

процесс бурения;

вскрытие пласта и испытание на приток нефти и газа.

Бурильная колонна (БК) соединяет долото (или забойный двигатель и долото) с наземным оборудованием (вертлюгом).

БК предназначена для следующих целей:

·   передачи вращения от ротора к долоту;

·   восприятия реактивного момента забойного двигателя;

·   создания нагрузки на долото;

·   подъема и спуска долота;

·   проведения вспомогательных работ (проработка, расширение и промывка скважины, испытание пластов, ловильные работы и т.д.).

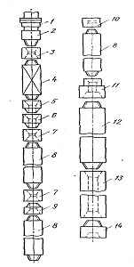
БК состоит (рис.2) из свинченных друг с другом ведущей трубы 4, бурильных труб 8 и утяжеленных бурильных труб (УБТ) 12 и 13. Верхняя часть БК, представленная ведущей трубой 4, присоединяется к вертлюгу 1 с помощью верхнего переводника ведущей трубы 3 и переводника вертлюга 2. Ведущая труба присоединяется к первой бурильной трубе 8 с помощью нижнего переводника ведущей трубы 5, предохранительного переводника 6 и муфты бурильного замка 7. Бурильные трубы 8 свинчиваются друг с другом бурильными замками, состоящими из муфты 7 бурильного замка и его ниппеля 9 или соединительными муфтами 10. УБТ 12 и 13 свинчиваются друг с другом непосредственно. Верхняя УБТ присоединяется к бурильной трубе с помощью переводника 11, а нижняя привинчивается через переводник 14 к долоту (при роторном бурении) или к забойному двигателю с долотом.

Для выноса на поверхность выбуренной породы (шлама), применяют промывочные жидкости (буровые растворы). Основная задача промывки - обеспечение эффективного процесса бурения скважин - включает в себя сохранение как устойчивости стенок скважин, так и керна.

Рис. 2. Бурильная колонна:

1 - вертлюг; 2 - переводник вертлюга; 3 - верхний переводник; 4 - ведущая труба; 5 - нижний переводник; 6 - предохранительный переводник; 7 - муфта бурильного замка; 8 - бурильная труба; 9 - ниппель;10 - соединительная муфта;11 - переводник; 12, 13 - утяжелитель бурильных труб; 14 - переводник.

Промывочная жидкость имеет кроме основной функции ряд других:

Охлаждение и смазка трущихся деталей долота

Предотвращение обвалов стенок скважины, за счет гидростати-ческого давления столба жидкости; склеивания частиц обваливающихся пород; ограничение попадания фильтрата раствора (водоотдача) в пласты

Уравновешивание пластового давления нефтегазоносных пластов.

Смазка бурильных труб, стенок скважины, обсадных труб, частей бурового насоса и т.п.

Удержание осколков выбуренной породы во взвешенном состоянии и предотвращение выпадения их на забой;

Обеспечение осаждения песка и частиц выбуренной породы в отстойных емкостях. Таким образом, раствор должен иметь две противоположные особенности: удерживать выбуренную породу во взвешенном состоянии в стволе скважины и в то же время осаждать ее в отстойных емкостях;

Передача энергии гидравлическим забойным двигателям;

Передача сигналов от забойных приборов на принимающие приборы на поверхности.

Для химической обработки промывочных жидкостей используют большое число веществ - реагентов, при малых добавках которых существенно изменяются свойства промывочной жидкости.

Все реагенты условно можно подразделить на низкомолекулярные неорганические и высокомолекулярные органические реагенты.

Существует два вида химических обработок: первичная и повторная. В зависимости от горно-геологических условий первичная обработка может быть простой или сложной.

Вскрытие пласта - это комплекс операций для сообщения продуктивного пласта со скважиной. Различают первичное и вторичное вскрытие пласта. Первичное вскрытие - это процесс углубления забоя скважины от кровли до подошвы продуктивного пласта. Вторичное - это создание перфорационных каналов после спуска и цементирования обсадной (эксплуатационной) колонны. После вскрытия пласта скважину осваивают, вызывая приток жидкости из пласта, восстанавливая (частично) продуктивные характеристики призабойной зоны. От эффективности операций вскрытия продуктивного пласта и освоения скважин зависит величина притока жидкости из пласта, т. е. эффективность последующей эксплуатации скважин.

Вторичное вскрытие продуктивного пласта производят перфораторами различных конструкций. Существует несколько типов перфораторов: гидропескоструйные, кумулятивные, пулевые, торпедные.

Конструкция эксплуатационной скважины определяется числом рядов труб, спускаемых в скважину и цементируемых в процессе бурения для успешной проводки скважин, а также оборудованием ее забоя. В скважину спускают следующие ряды труб:

направление - это колонна труб, спускаемая в скважину до некоторой глубины (5-40 м), которая цементируется от устья по всей длине и служит для надежного крепления верхних интервалов и предотвращения размыва устья скважины.

кондуктор служит для крепления верхних неустойчивых интервалов разреза, изоляции верхних водоносных горизонтов от загрязнения, а также для возможности установки на устье противовыбросового и устьевого оборудования.

промежуточная обсадная колонна предназначена для крепления и изоляции вышележащих зон, несовместимых по условиям бурения с нижележащими зонами для предотвращения осложнений и аварий при бурении последующих интервалов.

эксплуатационная колонна крепит и разобщает продуктивные пласты и вышележащие зоны геологического разреза от продуктивных пластов, обеспечивает размещение в ней оборудования для подъема жидкости или закачки необходимых агентов в пласт. Эксплуатационную колонну оборудуют элементами колонной и заколонной оснастки - пакеры, башмак, обратный клапан, центратор, упорное кольцо и т.п. Диаметр труб э/колонны выбирают в зависимости от типоразмера применяемого оборудования.

Рис. 3. Конструкция скважины:

- обсадные трубы; 2 - цементный камень; 3 - пласт; 4 - перфорация в обсадной трубе и цементном камне; I - направление; II - кондуктор; III - промежуточная колонна; IV - эксплуатационная колонна.

Конструкция забоя скважины бывает двух типов - открытого и закрытого. Открытый забой, не обсаженный колонной, используют в твердых породах, где исключены обвалы. При закрытом забое продуктивный пласт обсаживают колонной с последующим цементированием и перфорацией.

Промежуточная обсадная колонна предназначена для крепления и изоляции вышележащих зон, несовместимых по условиям бурения с нижележащими зонами для предотвращения осложнений и аварий при бурении последующих интервалов.

Обсадную колонну собирают из обсадных труб либо одного номинального размера (одноразмерная колонна), либо двух номинальных размеров (комбинированная колонна). Трубы подбирают в секции в соответствии с запроектированной конструкцией обсадной колонны.

Разобщение пластов при существующей технологии крепления скважин - завершающий и наиболее ответственный этап, от качества выполнения которого в значительной степени зависит успешное строительство скважины. Под разобщением пластов понимается комплекс процессов и операций, проводимых для закачки тампонажного раствора в затрубное пространство (т. е. в пространство за обсадной колонной) с целью создания там надежной изоляции в виде плотного материала, образующегося со временем в результате отвердения тампонажного раствора. Поскольку в качестве тампонажного наиболее широко применяется цементный раствор, то и для обозначения работ по разобщению используется термин «цементирование».

Цементирование включает пять основных видов работ: приготовление тампонажного раствора, закачку его в скважину, подачу тампонажного раствора в затрубное пространство, ожидание затвердения закачанного материала и проверку качества цементировочных работ.

Физико-химические свойства тампонажных цементов. Тампонажным цементном называется продукт, состоящий из вяжущих веществ (портландцемента, шлака, извести и т. д.), минеральных (кварцевого песка, асбеста, глины, шлака и др.) или органических (отходов целлюлозного производства и др.) добавок, дающих после затворения с водой раствор, а затем камень.

Цементы, применяемые в нефтяной промышленности, должны обладать: 1) замедленным началом схватывания; 2) ускоренным началом твердения с соответствующей этому моменту высокой прочностью; 3) низкой проницаемостью после схватывания и твердения; 4) большой текучестью; 5) тонкостью помола; 6) высокой плотностью.

Освоение скважины - комплекс технологических операций по вызову притока и обеспечению ее продуктивности, соответствующей локальным возможностям пласта. Цель освоения - восстановление естественной проницаемости коллектора на всем протяжении вплоть до обнаженной поверхности пласта перфорационных каналов и получения продукции скважины, соответствующей ее потенциальным возможностям.

Можно выделить шесть основных способов вызова притока: тартание, поршневание, замена скважинной жидкости на более легкую, компрессорный метод, прокачка газожидкостной смеси, откачка глубинными насосами.

Тартание - это извлечение из скважины жидкости желонкой, спускаемой на тонком (16 мм) канате с помощью лебедки. Желонка изготавливается из трубы длиной 8 м, имеющей в нижней части клапан со штоком, открывающимся при упоре на шток. В верхней части желонки предусматривается скоба для прикрепления каната. Диаметр желонки обычно не превышает 0,7 диаметра обсадной колонны. За один спуск желонка выносит жидкость объемом, не превышающим 0,06 м3.

Поршневание. При поршневании (свабировании) поршень или сваб спускается на канате в НКТ. Поршень представляет собой трубу малого диаметра (25 - 37,5 мм) с клапаном, в нижней части открывающимся вверх. На наружной поверхности трубы (в стыках) укреплены эластичные резиновые манжеты (3 - 4 шт.), армированные проволочной сеткой. При спуске поршня под уровень жидкость перетекает через клапан в пространство над поршнем. При подъеме клапан закрывается, а манжеты, распираемые давлением столба жидкости над ними, прижимаются к стенкам НКТ и уплотняются. За один подъем поршень выносит столб жидкости, равный глубине его погружения под уровень жидкости. Глубина погружения ограничена прочностью тартального каната и обычно не превышает 75 - 150 м. Поршневание в 10 - 15 раз производительнее тартания. Устье при поршневании также остается открытым, что связано с опасностями неожиданного выброса.

Замена скважинной жидкости. Замена осуществляется при спущенных в скважину НКТ и герметизированном устье, что предотвращает выбросы и фонтанные проявления. Выходящая из бурения скважина обычно заполнена глинистым раствором. Производя промывку скважины (прямую или обратную) водой или дегазированной нефтью.

Компрессорный способ освоения. Этот способ нашел наиболее широкое распространение при освоении фонтанных, полуфонтанных и частично механизированных скважин. В скважину спускается колонна НКТ, а устье оборудуется фонтанной арматурой. К межтрубному пространству присоединяется нагнетательный трубопровод от передвижного компрессора.

Освоение скважин закачкой газированной жидкости. Освоение скважин путем закачки газированной жидкости заключается в том, что вместо чистого газа или воздуха в межтрубное пространство закачивается смесь газа с жидкостью (обычно вода или нефть). Плотность такой газожидкостной смеси зависит от соотношения расходов закачиваемых газа и жидкости. Это позволяет регулировать параметры процесса освоения. Поскольку плотность газожидкостной смеси больше плотности чистого газа, то это позволяет осваивать более глубокие скважины компрессорами, создающими меньшее давление.

Освоение скважинными насосами. На истощенных месторождениях с низким пластовым давлением, когда не ожидаются фонтанные проявления, скважины могут быть освоены откачкой из них жидкости скважинными насосами, спускаемыми на проектную глубину в соответствии с предполагаемыми дебитом и динамическим уровнем. При откачке из скважины жидкости насосами забойное давление уменьшается, пока не достигнет величины, при которой устанавливается приток из пласта.

4. РАЗРАБОТКА НЕФТЯНЫХ МЕСТОРОЖДЕНИЙ

Разработка нефтяных месторождений - комплекс работ по извлечению <#"525810.files/image004.gif">

Рис. 4. СШНУ:

- станок-качалка; 2 - полированный шток; 3 - колонна штанг; 4 - обсадная колонна; 5 - насосно-компрессорные трубы; 6 - цилиндр насоса; 7 - плунжер насоса; 8 - нагнетательный клапан; 9 - всасывающий клапан.

Штанговый насос (рис.4) опускается в скважину ниже уровня жидкости. Состоит из цилиндра, плунжера, соединённого со штангой, всасывающих и нагнетательных клапанов. Цилиндр невставного штангового насоса опускается на колонне насосно-компрессорных труб, а плунжер - на колонне штанг внутри насосно-компрессорных труб; цилиндр вставного штангового насоса опускается вместе с плунжером на штангах и закрепляется на замковой опоре, установленной на конце насосно-компрессорных труб или на пакере; штанговый насос большого диаметра опускается целиком на колонне насосно-компрессорных труб и соединяется с колонной штанг через сцепное устройство. Существуют также: штанговые насосы с подвижным цилиндром и неподвижным плунжером, с двумя ступенями сжатия, с двумя цилиндрами и плунжерами, с камерой разрежения и др. Штанги соединяются в колонну с помощью муфт. Длина штанги 8-10 м, диаметр 12,7-28,6 мм. Используются также полые неметаллические штанги или непрерывные колонны штанг, наматываемые при подъёме на барабан. Длина колонны до 2500 м. При длине свыше 1000 м колонна штанг делается ступенчатой, с увеличивающимся кверху диаметром для уменьшения массы и достижения равнопрочности.

Станок-качалка преобразует вращение вала <#"525810.files/image005.gif">

Рис. 5. Электроцентробежная насосная установка:

- электродвигатель; 2 - протектор; 3 - центробежный насос; 4 - кабель; 5 - устьевая арматура; 6 - трансформатор; 7 - станция управления; 8 - датчик.

Направляющие аппараты стянуты в цилиндрическом корпусе насоса, а рабочие колёса зафиксированы шпонкой на валу <#"525810.files/image006.gif">

Рис. 6. Ступень электроцентробежного насоса:

- направляющий аппарат; 2 - рабочее колесо.

Электродвигатель состоит из статора, содержащего цилиндрический корпус, с запрессованными пакетами электротехни-ческой стали, в пазах которых размещена обмотка, и подвешенного на осевой опоре ротора с закреплёнными на валу стальными пакетами, где размещена короткозамкнутая обмотка типа "беличье колесо"; между пакетами расположены радиальные опоры.

Протектор содержит уплотнение вала систему компенсации температурного расширения масла, в некоторых случаях гидравличес-кий затвор с жидкостью большей плотности <#"525810.files/image007.gif">

Рис. 7. Схема проведения кислотной обработки.

В зависимости от пластовых условий на практике применяют 8-15%-ную соляную кислоту. Техническая соляная кислота поставляется заводами концентрированной, На промысле ее разбавляют водой до нужной концентрации.

Для снижения коррозии металлического оборудования в процессе СКО используют вещества, называемые ингибиторами коррозии, в качестве которых применяют формалин (CH2O), уникол ПБ-5, И-1-А с уротропином, а также сульфонол, ДС-РАС, диссольван 4411, нейтрализованный черный контакт.

Продукты взаимодействия кислоты с породой удаляются из пласта в процессе освоения скважины. Для облегчения этого процесса в кислоту добавляют интенсификаторы, снижающие поверхностное на-тяжение продуктов реакции - НЧК, спирты, препарат ДС и другие ПАВ.

Порядок добавления различных реагентов в кислоту при подготовке ее к закачке в скважину следующий: вода - ингибиторы - стабилизаторы (уксусная и плавиковая кислоты) - техническая соляная кислота - хлористый барий - интенсификатор.

Кислота нагнетается в скважину в объеме от 0,5-0,7 до 3-4 м3 на 1 м длины фильтра с помощью специальных агрегатов, например Азинмаш-30, смонтированных на автомашине КрАЗ-219, а также цементировочных агрегатов ЦА-300, ЦА-320М, 2АН-500. Время реакции кислоты с момента окончания закачки не должно превышать 6-8 ч. Результаты определяют по данным исследований скважин после обработки. Обработка считается успешной, если уменьшается коэффициент С, увеличивается дебит скважины при той же депрессии на пласт.

Торпедирование, гидравлический разрыв пласта, гидропескоструйную перфорацию и ядерные взрывы, обычно применяют в пластах, сложенных крепкими, плотными породами, имеющими небольшие проницаемость, пористость, но высокое пластовое давление.


Рис. 8. Схема проведения гидравлического разрыва пласта:

- продуктивный пласт; 2 - НКТ; 3 - эксплуатационная колона; 4 - пакер.

Давление гидравлического разрыва, ориентация и размеры образующихся при этом трещин зависят от горного давления, т. е. давления вышележащих горных пород, характера и параметров естественной трещиноватости газоносных пород, а также величины пластового давления.

В процессе гидравлического разрыва пласта должны быть созданы такие условия, при которых в пласте возникают и закрепляются трещины. Скорости нагнетания жидкости разрыва должны быть такими, чтобы закачиваемый объем превышал приемистость пласта, подвергающегося гидравлическому разрыву. Необходимая скорость закачки зависит от вязкости жидкости разрыва и параметров призабойной зоны. Из этого следует, что в низкопроницаемых породах гидравлический разрыв может быть при сравнительно малых скоростях закачки с использованием жидкостей небольшой вязкости. В высокопроницаемых породах необходимо применять жидкости разрыва большой вязкости или существенно повышать скорости нагнетания.

9. ТЕКУЩИЙ И КАПИТАЛЬНЫЙ РЕМОНТ СКВАЖИН

В процессе эксплуатации скважин фонтанным, компрессорным или насосным способом нарушается их работа, что выражается в постепенном или резком снижении дебита, иногда даже в полном прекращении подачи жидкости. Работы по восстановлению заданного технологического режима эксплуатации скважины связаны с подъемом подземного оборудования для его замены или ремонта, очисткой скважины от песчаной пробки желонкой или промывкой, с ликвидацией обрыва или отвинчивания насосных штанг и другими операциями. Все ремонтные работы в зависимости от их характера и сложности разделяют на текущий и капитальный ремонты скважин.

К текущему ремонту относятся следующие работы:

планово-предупредительный ремонт.

ревизия подземного оборудования.

ликвидация неисправностей в подземной части оборудования.

смена скважинного насоса (ПЦЭН или ШСН).

смена способа эксплуатации, переход с ПЦЭН на ШСН или наоборот и пр.

очистка НКТ от парафина или солей.

замена обычных НКТ на трубы с покрытием (остеклованные трубы).

изменение глубины подвески насосной установки.

подъем скважинного оборудования перед сдачей скважины в консервацию.

специальный подземный ремонт в связи с исследованиями продуктивного горизонта.

некоторые виды аварийных ремонтов, такие как заклинивание плунжера, обрывы штанг, обрывы скребковой проволоки или электрокабеля.

Перечисленные ремонтные работы, а также и ряд других выполняются бригадами подземного ремонта скважин, организуемыми в нефтедобывающем предприятии. Бригады подземного ремонта работают круглосуточно (три смены) либо в две смены и даже в одну. В состав одной вахты входят обычно три человека: оператор с помощником, работающие у устья скважины, и машинист, управляющий подъемной лебедкой.

К капитальному ремонту скважин относятся ремонтные работы, для выполнения которых приходится привлекать более сложную технику, вплоть до использования бурильных установок. К капитальному ремонту, в частности, относятся следующие работы:

ликвидация сложных аварий, связанных с обрывом штанг, труб, кабеля и образованием в скважине сальников.

исправление нарушений в обсадных колоннах.

изоляция пластовых вод.

работы по вскрытию пласта и освоению скважин в связи с переходом на другой горизонт.

забуривание второго ствола.

разбуривание плотных соляно-песчаных пробок на забое.

гидравлический разрыв пласта.

солянокислотные обработки скважин.

термическая обработка забоя скважин.

установка временных колонн - «летучек», намывка и установка фильтров, ликвидация прихватов труб, пакеров и смятии обсадных колонн.

операции по ликвидации скважин.

При подземном ремонте глубоких скважин применяют эксплуатационные вышки и мачты, стационарные или передвижные, предназначенные для подвески талевой системы, поддержания на весу колонны труб или штанг при ремонтных работах, проводимых на скважине.

Стационарные вышки и мачты используются крайне нерационально, т.к. ремонтные работы на каждой скважине проводятся всего лишь несколько дней в году, всё остальное время эти сооружения находятся в бездействии. Поэтому целесообразно использовать при подземном ремонте подъемники, несущие собственные мачты. Транспортной базой их служат тракторы и автомобили.

Подъемник - механическая лебедка, монтируемая на тракторе, автомашине или отдельной раме. В первом случае привод лебедки осуществляется от тягового двигателя трактора, автомашин, в остальных от самостоятельного двигателя внутреннего сгорания или электродвигателя.

Агрегат - в отличие от подъемника оснащен вышкой и механизмом для ее подъема и опускания.

10. СБОР И ПОДГОТОВКА НЕФТИ, ГАЗА И ВОДЫ

Сбор нефти и газа на промыслах - подготовка нефти <#"525810.files/image009.gif">

Рис. 9. Технологическая схема установки "Cпутник":

1 - трубопроводы от скважин; 2 - блок переключателя скважин типа ПСМ; 3 - роторный переключатель скважин; 4 - общая линия; 5 - замерная линия; 6 - отсекатели потока; 7 - гидроциклонный нефтегазовый сепаратор; 8 - регулятор давления; 9 - счётчик газа; 10, 10a - золотниковые устройства; 11 - датчик уровнемера; 12 - расходомер жидкости TOP; 13 - поршневой клапан; 14 - влагомер; 15 - гидропривод; 16 - нефтегазосборный коллектор; 17 - блок автоматики.

На некоторых месторождениях осуществляется раздельный сбор продукции безводных и обводнённых скважин. В этом случае продукция безводных скважин <http://www.mining-enc.ru/b/burovaya-skvazhina/>, не смешиваясь с продукцией обводнённых скважин, поступает на ЦПС. Также раздельно собирают продукцию скважин, если нежелательно смешение нефтей разных горизонтов, например не содержащих и содержащих сероводород. Продукция обводнённых скважин или продукция, которую нежелательно смешивать, по отдельным выкидным линиям и нефтегазосборным коллекторам транспортируется до ЦПС.

Наибольшее применение для этих целей получили блочно-комплектные замерные установки типа "Спутник" (рис.9), которые выпускаются на рабочие давления 1,6 МПа, 2,5 МПа и 4 МПа; пределы измерения дебитов скважин до 400 и до 1500 м3/сутки; количество подключаемых к установке скважин от 10 до 24.

В таких установках жидкость любой скважины, поставленной на замер, направляется через многоходовой переключатель скважин (ПСМ) в гидроциклонный сепаратор. На выходе газа из сепаратора установлен регулятор давления, поддерживающий постоянный перепад между сепаратором и счётчиком газа. Постоянный перепад давления передаётся золотниковыми механизмами на поршневой клапан. Когда датчик поплавкового уровнемера находится в крайнем нижнем положении, повышенное давление от регулятора передаётся на правую часть поршневого клапана и прикрывает его, подача жидкости прекращается и турбинный расходомер <http://www.mining-enc.ru/r/rasxodomer-/> перестаёт работать. С этого момента уровень жидкости в сепараторе повышается до крайнего верхнего положения: повышенное давление от регулятора действует на левую часть поршневого клапана и открывает его, начинается течение жидкости в системе и турбинный расходомер типа TOP отсчитывает количество прошедшей через него жидкости. Для определения обводнённости нефти на "Спутнике" установлен влагомер <http://www.mining-enc.ru/v/vlagomer/>. Расходомер TOP обеспечивает как местный отсчёт показаний, так и передачу показаний на диспетчерский пункт промыслов, для чего в составе установки "Спутник" имеется блок автоматики.

11. ТЕХНИКА БЕЗОПАСНОСТИ, ОХРАНА ТРУДА И ОКРУЖАЮЩЕЙ СРЕДЫ

) Основы законодательства по охране

Нарушение правил охраны труда карается законом в зависимости от степени опасности нарушения и наступивших последствий в дисциплинированном, административном или уголовном порядке. Кроме этого существует материальная ответственность. Материальная ответственность возникает тогда, когда в результате нарушений правил по охране труда принесён материальный ущерб государству или отдельным лицам.

) Организация работы по охране труда в отрасли.

В нефтяной промышленности в состав единой отраслевой организации разрабатывается самостоятельная подсистема «Охрана труда», состоящая из комплексных задач, вытекающих из функций охраны труда. Министерство нефтяной промышленности планирует и осуществляет мероприятия по оздоровлению и обеспечению труда работающих по улучшению санаторно-бытового обслуживания, обеспечения предприятий современными средствами безопасности, промышленной санитарией и гигиеной труда, повышением культуры производства.

Основными запасами управления является организация работы по обеспечению здоровых и безопасных условий труда, внедрению новых средств и методов, предупреждение производственного травматизма и профессиональных заболеваний и отравлений, предотвращение аварий взрывов, газонефтяных выбросов и открытых фонтанов, профилактики пожаров.

Список литературы

1.     Басарыгин - Технология бурения нефтяных и газовых скважин

2.       Будников - Контроль и пути улучшения технического состояния скважин

.         Булатов А.И Технология бурения скважин

.         Дмитриев - Геология и геохимия нефти и газа

.         Лекции Охрана окружающей среды

.         Щелкачев - Отечественная и мировая нефтедобыча, история развития, современное состояние и прогноз

Похожие работы на - Технология бурения нефтяных и газовых скважин

 

Не нашли материал для своей работы?
Поможем написать уникальную работу
Без плагиата!
Без нейросетей!