Семейство Лилейные

  • Вид работы:
    Реферат
  • Предмет:
    Биология
  • Язык:
    Русский
    ,
    Формат файла:
    MS Word
    220,69 kb
  • Опубликовано:
    2012-01-31
Вы можете узнать стоимость помощи в написании студенческой работы.
Помощь в написании работы, которую точно примут!

Семейство Лилейные

Дальневосточный государственный университет путей общения

Факультет среднего профессионального образования

Хабаровский техникум железнодорожного транспорта

Кафедра: «Вагоны»








КУРСОВОЙ ПРОЕКТ

по дисциплине “Технология ремонта вагонов”

На тему: «Ремонт колёсных пар вагона»











Хабаровск 2011

Содержание

1. Назначение и конструкция колёсной пары

. Неисправности колесной пары

. Периодичность и объем плановых ТО и ТР

.1 Общие положения

.2 Виды, сроки, порядок осмотра и освидетельствования колесных пар

. Выбор и обоснование способа устранения неисправностей

. Разработка структурной схемы технологического процесса ремонта

. Оборудование, применяемое при ремонте узла

. Организация рабочего места токаря

. Охрана труда и техника личной безопасности

Список литературы

Введение

Восстановление работоспособности вагонного парка и поддержание в технически исправном состоянии осуществляют вагоноремонтные заводы и вагонные депо при планово-предупредительном ремонте вагонов. Разработка и внедрение совершенных технологических процессов (ТП) ремонта способствует безотказности работы вагонов в эксплуатации.

Проект включает в себя два варианта производственного процесса ремонта направляющих поверхностей боковины.

В качестве первого варианта предусматривается использование ПП существующего на производстве ст. Хабаровск-II. В качестве второго варианта разрабатывается процесс ремонта этой же детали, основанный на соблюдении требований действующих технический указаний и правил ремонта. Выполнение экономических расчетов и сопоставление производственных процессов, с точки зрения правил ремонта и технических указаний, относящихся к ремонту заданной детали, служит основанием для оценки полученных результатов.

По окончании экономических расчетов делается вывод о финансовой выгодности либо уже существующего процесса ремонта, либо заново разработанного производственного процесса.

Целью курсового проекта является приобретение навыков анализа и обработки информации по проблемам вагоноремонтного производства. Также курсовое проектирование является одним из элементов процесса подготовки молодого специалиста.

Задачами данного курсового проектирования являются обучение анализу ремонтной деятельности предприятия, приобретение учащимся умений профессионально классифицировать объекты ремонта по техническим, технологическим и экономическим признакам, обучение азам проектно-конструкторской работы.

1. Назначение и конструкция колёсной пары

Колёсные пары относятся к ходовым частям и являются одним из ответственных элементов вагона. Они предназначены для направления движения вагона по рельсовому пути и восприятия всех нагрузок, передающихся от вагона на рельсы при их вращении. Работая в сложных условиях нагружения, колёсные пары должны обеспечивать высокую надёжность, так как от них во многом зависит безопасность движения поездов. Поэтому к ним предъявляют особые, повышенные требования Госстандарта, Правила технической эксплуатации железных дорог, Инструкция по освидетельствованию, ремонту и формированию вагонных колёсных пар, а также другие нормативные документы при проектировании, изготовлении и содержании. Конструкция и техническое состояние колёсных пар оказывают влияние на плавность хода, величину сил, возникающих при взаимодействии вагона и пути, и сопротивление движению.

Работая в современных режимах эксплуатации железных дорог и экстремальных условиях окружающей среды, колёсная пара вагона должна удовлетворять следующим основным требованиям: обладать достаточной прочностью, имея при этом минимальную необрессоренную массу с целью снижения тары подвижного состава и уменьшения непосредственного воздействия на рельсовый путь и элементы вагона при прохождении неровностей рельсовой колеи; обладать некоторой упругостью, обеспечивающей снижение уровня шума и смягчение толчков, возникающих при движении вагона по рельсовому пути; совместно с буксовыми узлами обеспечивать, возможно, меньшее сопротивление при движении вагона и возможно большее сопротивление износу элементов, подвергающихся изнашиванию в эксплуатации.

Колёсные пары изготавливаются в соответствии со стандартом ГОСТ 4835-80. При их производстве применяется следующие виды стали: Ст ОсВ и Ст 45. Исходные заготовки поступают квадратного сечения 215×215 либо круглый прокат Ø=230-210 мм. Их нагревают до t=1180-1220º С, затем прессуют двумя методами либо ротационным обжатием либо поперечной прокаткой. После ковки проводится гидросбив окалины и помещение заготовки в трёхкулочковую, оснащённую копировальным устройством. Далее заготовка отправляется на отрезку концов и ставятся клейма. С этого момента у оси появляется правый конец. Затем заготовку подвергаю термической обработке. После нормализации ось отправляется на правку, с последующей пескоструйной очисткой от окалины. Далее ось отправляется на торцефрезерный станок и после механической обработки, отправляется на неразрушающий контроль

При изготовлении колёсных дисков используются 2 марки стали: 45ГСФ - для пассажирских; Ст №1-Ст№3 - для грузовых. Нормативным документом является - ГОСТ 10791-89. На первом этапе заготовка представляет собой слиток массой 3-4 т. От него отрезаются прибыльная и донная части. Затем её нагревают до t=1300 ºС и делят на две части. Далее их прессуют до «блина», помещают в калибровочное кольцо в котором происходит формирование колёсного диска. Затем колесо проходит проверку на неразрушающем контроле.

Рисунок 1 - колёсная пара : 1 - ось; 2 - колёсный диск; 3 - нарезная часть; 4 - шейка оси; 5 - предподступичная часть; 6 - подступичная часть; 7 - средняя часть

Рис.2 Стальное цельнокатаное вагонное колесо

Таблица 1 - Стандартные типы осей вагонов широкой колеи (ГОСТ Р50334-92)

Тип оси

Диаметр частей оси, мм

Длина шейки, мм

Общая длина оси, мм

Нагрузка от колесной пары вагонов на рельсы, кН (тс)


шейки

предподступичной

подступичной

средней



Грузовые

Пассажирские

РУ1

130

165

194

165

176

2294

230(23,5)

176,5(18)

РУ1Ш

130

165

194

165

190

2216

230(23,5)

176,5(18)


Формируют колёсную пару путём запрессовки колёсного диска на подступичную часть оси. Существуют два способа запрессовки: горячая и холодная посадка. По причине большого количества недостатков горячей посадки, в основном применяется холодная посадка.

Колесные пары формируются в колесном цехе вагоностроительного и вагоноремонтного заводов (ВСЗ и ВРЗ) и вагонных колесных мастерских (ВКМ), оснащенных гидравлическим прессом, станками для обработки осей и колес, мостовым и консольным кранами, стендами для дефектоскопирования осей и др.

Перед запрессовкой производится обработка сопрягаемых поверхностей ступицы колеса и подступичной части оси с соблюдением требований натяга, шероховатости, овальности, волнистости.

Для плавного захода оси в ступицу колеса при запрессовке наружная часть подступичной зоны оси обтачивается на конус с разностью диаметров не более 1 мм и длиной 7 - 15 мм (запрессовочный конус).

Середина оси намечается кернером, относительно которой симметрично устанавливают колеса при запрессовке.

Подобранное по размерам колесо подается краном на карусельный станок, где производится расточка отверстия ступицы. Во избежание задиров в процессе запрессовки и снижения концентрации напряжений в оси внутренние кромки отверстия ступицы выполняют с закруглением радиусом 4 - 5 мм.

Для получения прочного прессового соединения диаметры подступичных частей оси делают на 0,1- 0,25 мм больше диаметра отверстия ступиц (натяг).

Сопрягаемые поверхности отверстий ступиц колес и подступичных частей оси обрабатывают с шероховатостью Rz 320. Процесс запрессовки колес на ось выполняется в такой последовательности: подготовленное колесо и ось подвешивают на балке пресса так, чтобы геометрические оси отверстия ступицы, плунжера пресса и вагонной оси совпадали.

Рациональное усилие запрессовки колес на ось принимается 370- 550 кН на каждые 100 мм диаметра подступичной части оси. Запрессовка производится при нормальной температуре со скоростью не более 2 мм/с.

При этом способе формирования можно вывести теоретическую диаграмму зависимости усилия запрессовки от величины продвижения колеса на оси. Рациональное усилие в конце запрессовки должно находиться в пределах 390...580 кН на каждые 100 мм диаметра подступичной части оси. Недопустимы как меньшие, так и большие величины конечных усилий запрессовки: меньшие не обеспечат необходимой прочности прессового соединения, а большие - вызовут перенапряжения материала оси и ступицы. Форма нормальной запрессовки должна быть плавной нарастающей, несколько выпуклой кривой и почти горизонтальной в конце. На каждую формируемую колёсную пару индикатор вычерчивает две диаграммы для левого и правого колёс.

Рисунок 3 - диаграмма запрессовки

Диаграмма записывается на специальной ленте с масштабом по длине 1: 2 (1 мм диаграммы по высоте соответствует усилию 25 кН).

Качество запрессовки устанавливается анализом диаграммы. При этом контролируемыми параметрами диаграммы являются конечное усилие, длина сопряжения и форма кривой.

Конечные усилия Рзк на диаграмме запрессовки определяются положением точки кривой, соответствующей концу процесса запрессовки.

При расположении начала и конца кривой выше или ниже нулевой линии (1, 2), а также при перекосе диаграммы запрессовка не бракуется. Конечное усилие в этих случаях определяется с учетом величины смещения относительно нулевой линии

На бланке диаграммы запрессовки записывают следующие данные: дата запрессовки, тип колесной пары, диаметр подступичной части оси и отверстия ступицы (с точностью до 0,01 мм), номер оси, натяг, длина ступицы, конечное усилие запрессовки, маркировка цельнокатаного колеса, правое ( со стороны маркировки на торце оси ) или левое.

Диаграмма запрессовки подписывается: мастером или начальником вагоноколесных мастерских (ВКМ), а при отсутствии начальника - старшим мастером или заместителем начальника вагонного депо (ВЧД) в линейных предприятиях; мастером или инспектором ОТК на заводе, а на заводах промышленности, кроме того, заводским инспектором приемщиком МПС. Годные диаграммы хранятся 20 лет.

В случае получения неудовлетворительной диаграммы по форме, длине сопряжения или несоответствию нормам конечного усилия запрессовки соединение бракуется, и колёсная пара подлежит расформированию. На каждой забракованной диаграмме делается отметка “брак” с указанием причины.

При отсутствии после распрессовки задиров на посадочных поверхностях разрешается повторно насаживать колеса на ту же ось без дополнительной механической обработки. Более двух раз перепрессовывать колесо на один и тот же конец оси не разрешается без дополнительной механической обработки.

После осмотра и проверки колесные пары передают на участок механической обработки поверхностей катания, обточки и накатки шеек, а затем проверяют основные размеры колесной пары.

У сформированных колесных пар проверяют: расстояние между внутренними гранями ободов колес, разницу расстояний от внутренних граней колес до торца оси с обеих сторон колесной пары и диаметры колес по кругу катания.

Обработанные колесные пары передаются на участок окраски, где они покрываются краской черного цвета на олифе, лаком или эмалью. Окраске подлежат: средняя часть оси, колеса, за исключением ободов, места соединения лабиринтных колец с предподступичными частями.

Предподступичные части оси между колесом и лабиринтным кольцом у колесных пар для подшипников качения окрашиваются после монтажа буксовых узлов.

После формирования колёсная пара клеймится

Таблица 2

№ п/п

Наимено-вание детали

Материал

Вес

Габаритные размеры

Кол-во в комплекте

Способ изгот. детали



Марка

ГОСТ





1

Ось

Ст ОсВ и Ст 45

ГОСТ 4728 - 59

410-420 кг

РУ1 194×2294 мм  РУ1Ш 194×2216 мм

1

Отливка и прокатка

2

Колесный диск

Ст №1-Ст№3

ГОСТ 10791-89

409 кг

Ш - 225

2

Отливка и прессование



2. Неисправности колесной пары

Из-за больших статических и динамических нагрузок, которые возникают в условиях эксплуатации колёсной пары, возникают различные дефекты.

Для обеспечения надёжной работы на железной дороге создана система выявления дефектов колёсных пар. Основой такой системы является выявление дефектов колёсных пар. В эксплуатации колёсная пара испытывает статические и динамические нагрузки.

Для грузовых вагонов норма статической нагрузки на рельсы от колёсной пары значительно меньше, чем у пассажирских и составляет 176,4 кН. Динамические силы взаимодействия между колесом и рельсом существенно возрастают. Как показывает анализ эксплуатации подвижного состава, это происходит в результате изменения жёсткости пути и увеличения дефектов на рельсах и колёсах. Наблюдения показали, что у поездов, которые обращаются на участках пути с железобетонными шпалами, колёса значительно чаще бракуют из-за дефектов поверхности катания колёс, чем колёса поездов, которые обращаются на участках с деревянными шпалами. Это происходит вследствие того, что жёсткость железобетонной шпалы по сравнению с деревянной в 2 раза больше, а зимой она возрастает ещё в 2 раза по сравнению с летом.

Для уменьшения дефектов тормозного происхождения применяются композиционные колодки вместо чугунных.

На прочность колеса помимо всего оказывает влияние и высокая температура, которая возникает при торможении, особенно в зоне перехода обода к диску. Температура в зоне обода и диска по мере уменьшения толщины обода, значительно увеличивается. А вследствие уменьшения толщины диска, радиальные напряжения в диске с внутренней стороны колеса к зоне перехода к ободу растут.

В последнее время увеличилось число изломов дисков колёс, из-за увеличения загрузки вагонов.

Применение роликовых подшипников в вагонных буксах привело к видоизменению шеек оси. Помимо совершенствования шеек оси, так же совершенствовались химический состав и механические свойства материала осей, а так же технология их изготовления. В 1976г. было освоено изготовление осей способом винтовой прокатки, что способствовало сокращению на 15% материала для изготовления колёсных пар.

В последние годы участились случаи образования неравномерного проката колёс. Главным образом он возникает у колёс пассажирских вагонов из-за значительной перегрузки элементов колёсной пары и рельсового пути. При скорости движения более 120 км/ч возникают наибольшие силы и ускорения буксы и при этом влияние видов дефектов колёс сказывается в меньшей степени.

Этот дефект возникает в основном из-за жёсткости пути, повышенной скорости и образования на поверхности катания колёс дефектов тормозного происхождения.

Для анализа причин появления дефектов и разработки мер по их устранению, большое значение имеет классификация, которая устанавливает связь между характеристиками износа, повреждения колёсной пары и условий эксплуатации. Качество и эффективность ремонта во многом зависит от исполнителей и организаторов производства в колёсных цехах, от их знаний передовой технологии и профессионализма.

Требования к колёсным парам в эксплуатации регламентированы:

"Инструкцией осмотрщику вагонов"

"Инструктивными указаниями по эксплуатации и ремонту вагонных букс с роликовыми подшипниками, при плановых ремонтах вагонов"

"Инструктивными указаниями по эксплуатации и ремонту колёсных пар, при плановых ремонтах вагонов"

Неисправности колесных пар.

В процессе эксплуатации происходит естественный износ, в частности равномерный прокат обода колеса возникает в результате трения его о рельсы.

Исправное содержание ходовых частей в эксплуатации обеспечивается периодическими видами ремонта (заводскими и деповскими), выполняемые в депо и на заводах, а так же текущим ремонтом. При деповском ремонте колёсных пар восстанавливаются узлы и детали (негодные заменяются новыми, а неисправные ремонтируются с доведением до альбомных размеров). Этот вид ремонта наиболее трудоёмок, требует большой затраты новых материалов и запасных частей.

Износ и повреждения колёсных пар выявляют наружным осмотром, шаблонами и измерительным инструментом.

Наружным осмотром выявляют видимые неисправности, например, трещины и отколы обода, диска и ступицы, цельнокатаных колёс.

Шаблоны применяют для проверки профиля обода цельнокатаных колёс, радиуса закруглений осей колёсных пар, а так же других деталей. Из измерительных инструментов наиболее распространены шаблоны, микрометры различных конструкций, штихмасы, линейки и угольники. Особенно широко применяют микрометры при ремонте деталей букс с роликовыми подшипниками и колёсных пар.

Для выявления трещин в металле, которые нельзя обнаружить наружным осмотром, проверяют магнитными и ультразвуковыми дефектоскопами.

Исправная работа колесных пар зависит от точности изготовления деталей и качества их обработки. Поэтому при ремонте колёс необходимо строго выполнять технические требования и соблюдать установленные размеры.

Причины и методы выявления неисправностей колёсных пар.

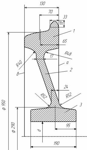
Главными неисправностями колёсных пар являются: прокат ободьев колёс; износ ободьев по толщине, а так же вертикальный подрез гребней; ползуны, выщерблины и раковины на поверхности катания; износ и повреждения шеек осей; трещины в осях; протёртость и изгиб оси; ослабление и сдвиг колеса на оси; трещины в колёсах.

Таблица 3 Наименование детали, места износов и повреждений, их причины, способы обнаружения и устранения неисправностей, допускаемые величины износа

Наименование неисправности

Основные причины возникновения повреждений

Способ обнаружения

Способ устранения

Допускаемые величины повреждений по инструкции на ремонт колёсных пар ЦВ-3429.

Равномерный прокат более допускаемого

Износ из-за действия сил трения между рельсом и колесом и тормозными колодками

Визуально и при использовании абс. шаблона

Обточка, если позволяет толщина обода

КР не более 3 мм ДР не более 5 мм ТО не более 7 мм

Неравномер-ный прокат

Неоднородная структура металла пов-ти катания и износ в результате развития пов-тного дефекта

Визуально и при наличии вертикального перемещения букс. узла и конца боковины, а также наличие неравномерности измерений абс. шаблоном

Обточка, если позволяет толщина обода

КР не более 0 мм ДР не более 0 мм ТО не более 1,5 мм

Круговой наплыв фаски, выход за боковую грань обода

Действия гориз. сил в направлении наруж. грани обода, вызывающих направленные пластичные деформации

Визуально

Обточка, если позволяет толщина обода

КР не более 0 мм ДР не более 0 мм ТО не более 0 мм

Кольцевые выработки

Износ при взаимодействии с немеет.колодками, внедрение продуктов износа в тело тонкой композиц.колодки и их воздействие на пов-ть катания как абр.материала

Визуально или толщиномером

Обточка

КР не более 0 мм ДР не более 0,5 мм (глубина), не более 10 мм (ширина) ТО не более 0,5 мм (глубина), не более 10 мм (ширина)

Тонкий гребень


Визуально, гориз.движок на расст.18 мм от вершины гребня

Авт.наплавка под слоем флюса с последующей обточкой

КР не менее 30 мм ДР не менее 30 мм ТО не менее 27 мм

Вертикальный подрез гребня

То же

Визуально по углу наклона гребня, контроль спец.шаблоном

То же

КР не более 0 мм ДР не более 0 мм ТО не более 0 мм

Остроконечный накат гребня

То же сопровождающееся пластич.деформацией. направленной к вершине гребня


Токарная и абр.обработка

КР не более 0 мм ДР не более 0 мм ТО не более 0 мм

Толщина обода менее допускаемой, тонкий обод

Длительная эксплуатация при многократной обточке

Визуально по наруж.грани обода и измерение толщиномером по кругу катания

Переформирование

КР не менее 30 мм ДР не менее 27 мм ТО не менее 24 мм

Ширина обода менее допускаемой

Обточка внутр.грани для создания измерит.базы

Кронциркуль и линейка

Переформирование

КР не менее 126 мм ДР не менее 126 мм ТО не менее 126 мм

Ползун

Скольжение, юз колеса по рельсу

На слух и визуально абс.шаблоном в месте ползуна и за его пределами

Обточка

КР не более 0 мм ДР не более 0 мм ТО не более 0,5 мм

Навар

Кратковременное заклинивание, повышение пластичности при нагреве из-за длит.торможения

На слух и визуально

Обточка, абр.обработка

КР не более 0 мм ДР не более 0 мм ТО не более 0,5 мм

Выщербины (выкрашивание металла на пов-ти катания)

Возникновение участков со структурой закалки который приводит к миктротещинам

На слух и визуально, измеряется длина иглубина

Обточка

КР не более 0 мм ДР не более 1 мм (глубина), не более 15 мм (длина) ТО не более 1 мм (глубина), не более 15 мм (длина)

Местн.уширение, раздавливание

Наличие в металле обода колеса постор.включений, несплошность

Визуально с кранциркулем илинейкой

Обточка до полного выхода дефекта

КР не более 0 мм ДР не более 0 мм ТО не более 0 мм

Поверхност.откол наруж.грани обода

Неоднородность в металле, развитие внутр.дефектов

Визуально

Обточка

КР не более 0 мм ДР не более 0 мм ТО не более 0 мм

Откол круг.наплыва

При прохождении стрел.переводов, горочн.тормозов, крив.участков пути 1:7

Визуально

Обточка

КР не более 0 мм ДР не более 0 мм ТО не более 0 мм



3. Периодичность и объем плановых ТО и ТР

В настоящее время на железной дороге используется планово-предупредительная система ремонта и технического обслуживания вагонов. Эта система устанавливает определенную периодичность ремонта и его вид в зависимости от типа вагона или от даты постройки вагона - плановый вид ремонта. Кроме плановых видов ремонта существует несколько видов ТО. ТО являются внеплановыми видами ремонта.

Для грузовых вагонов существуют следующие виды ремонта:

Капитальный ремонт - выполняется на ВРЗ:

Основные типы грузовых вагонов - 1 раз в 10 лет

Полувагоны - 1 раз в 7 лет

Деповской ремонт - производится в ВЧДР: после пробега 160 тыс. км

ТО грузовых вагонов - включает в себя технический осмотр и текущий ремонт:

ТОР - текущий ремонт с отцепкой

ТБР - текущий ремонт без отцепки

ТОР и ТБР не являются плановыми видами ремонта и зависят от технического состояния вагона.

Система ремонта по техническому состоянию включает в себя следующие виды ТО грузовых вагонов:

ТО - технический осмотр вагонов находящихся в поездах, а также ТО порожних вагонов при их подготовке к перевозкам без отцепки от состава или от группы вагонов с подачей на ремонтные пути;

ТР1 - текущий ремонт порожних вагонов при комплексной подготовке к перевозкам с отцепкой от состава или от группы вагонов и с подачей на ремонтные пути. Производится на пунктах подготовки вагонов под погрузку

ТР2 - укрупненный ремонт груженных или порожних вагонов, с отцепкой их от прибывших, транзитных поездов или сформированных составов. Выполняется на путях ТОР

Ремонт колёсных пар регламентируется инструкцией по осмотру, освидетельствованию, ремонту и формированию вагонных колесных пар ЦВ/3429.

3.1 Общие положения

Настоящая Инструкция распространяется на колесные пары вагонов железных дорог широкой колеи (за исключением колесных пар специальных вагонов, а также моторных и прицепных вагонов электро- и дизель-поездов). Ею определяются порядок и сроки осмотра, освидетельствования и ремонта колесных пар, а также устанавливаются нормы и требования, которым они должны удовлетворять при осмотре, освидетельствовании, ремонте и формировании.

В Соответствии с Правилами технической эксплуатации железных дорог каждая колесная пара должна удовлетворять требованиям настоящей Инструкции, выполнение которой обязательно для всех работников, связанных с осмотром, освидетельствованием, ремонтом, формированием и подкаткой колесных пар под вагоны.

Освидетельствование, ремонт и формирование колесных пар, а также полная ревизия букс с роликовыми подшипниками должны производиться в пунктах, имеющих соответствующее оборудование и разрешение на выполнение этих работ.

Каждая колесная пара должна иметь на оси четко поставленные знаки о времени и месте формирования и полного освидетельствования, а также клейма о приемке ее при формировании. Кроме того, на элементах колесной пары должны быть знаки и клейма, установленные соответствующими стандартами и техническими условиями.

Размеры колесных пар и их элементов при эксплуатации, ремонте и формировании должны соответствовать установленным настоящей Инструкцией нормам, а также чертежам и требованиям стандартов.

Технология ремонта и формирования колесных пар для вагонных депо (ВЧД) и вагоноколесных мастерских устанавливается Главным управлением вагонного хозяйства (ЦВ МПС), для вагоноремонтных и локомотиво-вагоноремонтных заводов - Главным управлением по ремонту подвижного состава и производству запасных частей (цтвр МПС), для вагоностроительных заводов - технологическими процессами, принятыми на этих заводах.

Перечень измерительного инструмента и шаблонов, правила пользования ими, а также порядок ведения учетных и отчетных форм по колесным парам устанавливаются МПС.

.2 Виды, сроки, порядок осмотра и освидетельствования колесных пар

Для проверки состояния и своевременного изъятия из эксплуатации колесных пар, угрожающих безопасности движения поездов, а также для контроля за качеством подкатываемых и отремонтированных колесных пар установлена система их осмотра и освидетельствования, состоящая из:

осмотра колесных пар под вагонами;

обыкновенного освидетельствования;

полного освидетельствования.

Осмотр колесных пар под вагонами должны производить осмотрщики вагонов, а при текущем отцепочном ремонте вагонов - мастера и бригадиры. Указанные лица должны ежегодно сдавать испытания в знании должностных инструкций.

Колесные пары под вагонами осматривают:

а) на станциях формирования и расформирования поездов с ходу в момент прибытия, после прибытия и перед отправлением;

б) на станциях, где графиком движения поездов предусмотрена стоянка для технического осмотра вагонов;

в) в пунктах подготовки вагонов к перевозкам и перед постановкой в поезд;

г) после крушений, аварий поездов, столкновений подвижного состава, схода с рельсов вагонов с подшипниками скольжения;

д) при текущем отцепочном и профилактическом ремонтах вагонов и единой технической ревизии пассажирских вагонов.

При осмотре колесных пар под вагонами проверяют:

а) состояние элементов колесных пар;

б) соответствие размеров и износов элементов колесных пар установленным нормам;

в) соответствие типа колесных пар и их размеров грузоподъемности и типу вагона (только при текущем отцепочном ремонте вагонов при условии выкатки колесных пар).

Обыкновенное и полное освидетельствование колесных пар разрешается производить лицам, испытанным в знании настоящей Инструкции, технологического процесса и организации ремонта колесных пар и получившим право на выполнение этих работ.

Обыкновенное освидетельствование колесных пар производится при каждой подкатке под вагон, кроме колесных пар, не бывших в эксплуатации после последнего полного или обыкновенного освидетельствования.

При обыкновенном освидетельствовании колесных пар осуществляют:

а) предварительный осмотр колесных пар до очистки с целью лучшего выявления ослабления или сдвига ступиц колес на оси и трещин в элементах;

б) очистку от грязи и смазки;

в) проверку магнитным дефектоскопом шеек и предподступичных частей осей колесных пар для подшипников скольжения;

г) проверку магнитным дефектоскопом средней, части оси;

д) проверку ультразвуковым дефектоскопом подступичных частей осей колесных пар для подшипников скольжения;

е) осмотр, а также проверку соответствия размеров и износов всех элементов установленным нормам;

ж) промежуточную ревизию букс колесных пар для роликовых подшипников.

После обыкновенного освидетельствования знаки маркирования и клеймения на колесные пары не наносятся.

Полное освидетельствование производится:

а) при формировании и ремонте со сменой элементов;

б) при опробовании ступиц колес на сдвиг на гидравлическом прессе;

в) при неясности клейм и знаков последнего полного освидетельствования на торце шейки оси;

г) после выполнения допускаемых вырубок волосовин, неметаллических включений и других пороков на оси в пределах установленных норм;

д) после крушений и аварий поездов всем колесным парам поврежденных вагонов;

е) при заводском ремонте вагонов;

колесных пар для роликовых подшипников:

ж) через одну обточку по предельному прокату или другим неисправностям ободов цельнокатаных колес;

з) при каждой обточке колесных пар с подшипниками на горячей посадке, работавших с редуктором от, торца шейки оси, и колесных пар, выкатываемых из-под шестиосных цистерн и шестиосных полувагонов; при каждой подкатке под вагон колесным парам с осями, переделанными из осей III типа;

к) после схода вагона с рельсов (колесным парам сошедшей тележки);

л) при первой обточке (а в дальнейшем на общих основаниях) - колесным парам формирования заводов Польской Народной Республики (ПНР) до 1972 г. включительно, имеющим клейма «Т/74» в овале, латинское «ТОТ», «48» или латинское «TASK070», «70» в овале, и не имеющим на торце левой шейки букв «СВК»;

м) при наличии на поверхности катания ползуна глубиной более 1 мм, навара и неравномерного проката более 2 мм у пассажирских вагонов и ползуна более 3 мм - у грузовых.

Примечание. Проверка неравномерного проката производится измерением его в сечении с максимальным износом и с каждой стороны от этого сечения на расстоянии до 500 мм;

н) при отсутствии бирки на буксе или неясности клейм на ней, обнаруженных при ремонте или подкатке колесных пар;

о) при недопустимом грении буксы или повреждении буксового узла, требующего демонтажа букс, а также отказа в работе редукторно-карданного привода от торца шейки оси, требующего демонтажа редуктора;

п) при обнаружении в буксе редукторного масла;

р) при производстве сварочных работ на кузове вагона или тележке без соблюдения требований п. 1.7 «Инструктивных указаний по эксплуатации и ремонте вагонных букс с роликовыми подшипниками»;

колесных пар для подшипников скольжения:

с) при каждой обточке, ободов цельнокатаных колес.

При полном освидетельствовании производят:

а) предварительный осмотр до очистки с целью лучшего выявления ослабления или сдвига ступицы колеса на оси и трещин в элементах;

б) демонтаж букс с роликовыми подшипниками на втулочной посадке. Разрешается не снимать с предподступичных частей осей исправные лабиринтные кольца, если колесная пара после демонтажа букс непосредственно поступает в ремонт и да монтаж;

в) демонтаж букс с роликовыми подшипниками на горячей посадке без снятия внутренних и лабиринтных колец при условии проверки осей специальным щупом ультразвукового дефектоскопа.

Внутренние и лабиринтные кольца у букс с двумя цилиндрическими подшипниками на горячей посадке снимают при их неисправности, расформировании колесных пар, а также при отсутствии специального щупа ультразвукового дефектоскопа.

Примечание. Внутренние кольца цилиндрических роликовых подшипников на горячей посадке у колесных пар, сформированных в ПНР до 1972 г. включительно, не имеющих на торце левой шейки оси букв «СВК», снимают при первой после формирования обточке поверхности катания колес с постановкой на торце левой шейки оси указанных выше букв. В дальнейшем внутренние кольца снимают у этих колесных пар на общих основаниях.

г) очистку от грязи, смазки и краски;

д) проверку магнитным дефектоскопом шеек и предподступичных частей осей колесных пар с подшипниками скольжения, а также с роликовыми подшипниками после снятия внутренних и лабиринтных колец;

е) проверку магнитным дефектоскопом внутренних колец роликовых подшипников на горячей посадке без снятия их с шейки оси.

Шейки и предподступичные части осей, с которых внутренние и лабиринтные кольца не снимались, проверяют ультразвуковым дефектоскопом со специальным щупом, а надежность посадки внутренних колец на шейке оси - специальным приспособлением;

ж) проверку дефектоскопом средней части оси;

з) проверку подступичных частей осей магнитным дефектоскопом перед запрессовкой или ультразвуковым дефектоскопом, если на колесных парах не производились прессовые работы;

и) осмотр всех элементов колесной пары, а также проверку соответствия их размеров и износов установленным нормам.

После полного освидетельствования на торцах шеек осей колесных пар, признанных годными, выбивают установленные Инструкцией клейма и знаки.

При обточке поверхности катания колесных пар для роликовых подшипников при первом предельном прокате или других неисправностях поверхности катания колес, образовавшихся после предыдущего полного освидетельствования, производится обыкновенное освидетельствование. На бирке, установленной под болтами крепительной крышки, а также на торце левой шейки оси, взбивают знак об обточке в виде буквы «О», условный номер, присвоенный ремонтному пункту, и дату (кроме колесных пар, которым в соответствии с п. 3.4 1. производится полное освидетельствование при каждой обточке).

4. Выбор и обоснование способа устранения неисправностей

Для восстановления деталей вагонов наибольшее распространение получили различные способы наплавки. В ВЧДР Хабаровск 2 на колесной паре наплавкой восстанавливаются нарезная часть и гребни колес

Основные способы наплавки:

Автоматическая наплавка порошковой проволокой

Достоинства: быстрая и качественная работа

Недостатки: Возможность наплавки деталей только определённой формы, установка специального оборудования

Полуавтоматическая наплавка порошковой проволокой

Достоинства: Возможность наплавки неравномерно изношенных поверхностей различных размеров и формы, достаточно качественная и быстрая работа.

Недостатки: установка сложного оборудования

Полуавтоматическая наплавка в среде защитных газов

установка сложного оборудования, требуется газ

Ручная дуговая покрытым металлическим электродом

Достоинства: Прост в применении и в конструкции, низкая стоимость

Недостатки: медленная и некачественная работа

Наплавка под слоем флюса

Достоинства: Возможность наплавки неравномерно изношенных поверхностей различных размеров и формы, достаточно качественная и быстрая работа, дешевизна способа.

Недостатки: Установка оборудования

Для восстановления гребней колесной пары самым оптимальным способом является наплавка под слоем флюса.

Наплавка металла - это нанесение металла на поверхность детали с помощью сварки.

По техническим признакам различают следующие виды наплавки:

по степени механизации процесса - ручная, механизированная, автоматизированная, автоматическая;

по способу защиты металла в зоне сварки - под слоем флюса, под расплавленной обмазкой электрода в вакууме и в защитном газе;

по характеру протекания процесса - непрерывные и прерывные.

Сущность наплавки под слоем флюса состоит в том, что сварочная дуга, возникающая между электродом и изделием, защищается от окисления кислородом воздуха слоем расплавленного гранулированного флюса толщиной 20-40 мм. Флюс, поступающий в зону сварочной дуги, плавится под действием выделяемого ею тепла.

Принципиальная схема полуавтоматической электродуговой наплавки деталей под слоем флюса показана на рис. 17.

Сварочный ток от источника тока по проводам подводится к контактам, касающимся сварочной проволоки и медной шины, расположенной на патроне.

Для наплавки деталей под слоем флюса выпускаются наплавочные головки различных конструкций: ПШ-5, ПШ-54, ПДШ-500, ПДШМ-500, АБС, А-409, А-580, ПАУ-1, ОСК-1252М. Наплавочная головка устанавливается на суппорт токарно-винторезного станка и перемещается при наплавке деталей с помощью ходового винта токарно-винторезного станка.

Рисунок 4 Схема установки для полуавтоматической электродуговой наплавки деталей под слоем флюса:

- патрон токарно-винторезного станка; 2 - восстанавливаемая деталь; 3 - слой шлака; 4 - наплавленный металл; 5 - флюс; 6 - электродная проволока; 7 - контакт провода от источника тока с электродной проволокой; 8 - наплавочная головка; 9 - бункер с флюсом; 10 - контакт провода от источника тока с медной шиной патрона (деталью); е - смещение электрода относительно вертикальной оси детали (эксцентриситет электрода)

колесный вагон ремонт осмотр

5. Разработка структурной схемы технологического процесса ремонта

Схема маршрутной технологии ремонта детали - это графическое изображение процесса с указанием операций в порядке технологической последовательности их выполнения и соответствующих им рабочих мест.

При разработке схемы необходимо соблюдать требования технических указаний и правил ремонта на устранение неисправностей, выявленных осмотром и обмером, а также использовать принятые понятия «операция» и «рабочее место».

Операция - это объем работ, выполняемых на данном рабочем месте.

Рабочее место - это часть производственной площади цеха (участка, отделения), где находится рабочий и расположены: основное технологическое оборудование, вспомогательное оборудование, технологическая оснастка, организационная оснастка.

Рисунок 5 - Схема маршрутной технологии ремонта направляющих буксового проема боковины.

Технологический процесс восстановления гребней колесных пар.

. Колесные пары, которым назначен ремонт с наплавкой гребней, кран - балкой с позиции дефектоскопии подаются на стенд (19), на котором с буксового узла колесной пары снимается смотровая крышка, и взамен её устанавливается специальная технологическая крышка.

. Далее колесная пара подается на позицию подготовки (25) для очистки поверхности катания колесных пар и гребней от грязи и ржавчины. Очистка производится на установке для очистки колесных пар перед наплавкой.

. После зачистки колесная пара подается мостовым краном на установку для наплавки ободьев и гребней колесных пар (30), оборудованную индукционными нагревателями для предварительного нагрева их перед сваркой до температуры 180º - 200ºС. Контроль за нагревом колеса производится цифровым контактным термометром.

. После наплавки колесная пара для равномерного и замедленного остывания колес в течение 5-6 часов до температуры не выше 50ºС помещается в термостаты (28). Установка наплавленной колесной пары на рельсы сразу после извлечения из термостата воспрещается, поэтому колесные пары устанавливаются поштучно на ложемент (24) для остывания колесных пар.

. С ложемента колесные пары подаются кран - балкой либо на путь накопления перед обточкой, либо сразу на колесотокарный станок (29) (в зависимости от занятости станка), на котором производится обточка и формирование профиля катания колес.

. Обточенная колесная пара с колесотокарного станка кран - балкой подается на позицию неразрушающего контроля для контроля наплавленных гребней и поверхности катания (см. п.10.3 данного комплекта технологической документации).

Если на перечисленных поверхностях колесной пары не обнаружены дефекты, колесная пара, которой требуется обыкновенное освидетельствование, поступает на стенд (19) для продолжения на ней работ согласно п. 9.7. данного комплекта технологической документации.

. Колесные пары, которым требуется полное освидетельствование, кран - балкой транспортируются на пути подачи колесных пар на накопительную горку перед демонтажным отделением.

. Наплавленные колеса маркируются с правой стороны от номера колеса клеймами, свидетельствующими о наплавке: «НГ» - гребень наплавлен; в одной строчке с ним наносятся цифры - год выполнения наплавки. Крышки обеих букс наплавленных колес окрашиваются красной краской.

Наплавленные колесные пары регистрируются в журнале регистрации колесных пар с наплавленными гребнями, также в журнале колесного участка формы ВУ-53 в графе 32 проставляется отметка «НГ».

. При выявлении дефектов в наплавленном гребне колесная пара повторно подается на обточку на колесотокарный станок, на котором производится полное удаление дефектов. Затем колесная пара поступает на участок наплавки гребней для повторной наплавки с последующим контролем.

В журнале регистрации колесных пар с наплавленными гребнями делается запись: «Обточено - повторно наплавлено».

Толщина гребня менее допускаемой.

Таблица 4 Карта технологического процесса

№ оп.

Наименование операции

Исполнитель

Разряд работ

Оборудование

Время на операцию, ч

Трудоём-сть опер., чел-ч

Технические условия на выполнение операции

1

2

3

4

5

6

7

8

1

Промывка

машинист моечной машины

3

Установка для сухой очистки колесных пар

0,16

0,16

Неочищенная колесная пара

2

Осмотр

бригадир

5

Фонарь, лупа, спец.шаблон

0,1

0,1

Очищенная к.п.

3

Транспорт-вка

стропольщик

3

Кран мостовой однобалочный

0,1

0,1


4

НК

дифектоскопист

4,5

Вращатель колесных пар позиции вихретоковой и магнитопорошковой дефектоскопии осей колесных пар  Установка магнитная для контроля средней части оси МДУ-КПВ модели РУ-8617

1,3

1,3

Очищенная к.п.

5

Транспортировка

стропольщик

3

Кран мостовой однобалочный

0,1

0,1


6

Наплавка

электросварщик на автоматических и полуавтоматических машинах

5

Установка для наплавки резьбы оси и гребня колёсной пары

0,6

0,6

к.п. с неисправностью

7

Транспор.-ка

стропольщик

3

Кран мостовой однобалочный

0,1

0,1


8

Мех. обработка

токарь

5

Станок колёсотокарный ''RAFAMET'' с ЧПУ

0,5

0,5

к.п. с наплавленным гребнем


. Оборудование, применяемое при ремонте узла

Таблица 5

Поз.

Наименование оборудования

Кол-во

1

2

3

1

Подъемно-поворотное устройство для колесных пар

4

2

Установка для сухой очистки колесных пар

1

3

Вращатель колесных пар позиции доочистки

1

4

Кран мостовой однобалочный

2

5

Вращатель колесных пар позиции осмотра

1

6

Вращатель колесных пар позиции вихретоковой и магнитопорошковой дефектоскопии осей колесных пар

1

7

Поворотно-локтевая стрела для дефектоскопов

1

8

Тамбур для обогрева колесных пар

1

9

Накопительная горка колесных пар

1

10

Станок колёсотокарный ''RAFAMET'' с ЧПУ

2

11

Печь для прокалки флюса

1

12

Установка для наплавки резьбы оси и гребня колёсной пары

1

13

Позиция накопления колесных пар перед наплавкой резьбы и гребня

1

14

Установка магнитная для контроля средней части оси МДУ-КПВ модели РУ-8617

1

15

Шкаф для хранения инструментов, шаблонов и т.п.

1

16

Гайковерт

1



7. Организация рабочего места токаря

Рабочее место - это часть производственной площади цеха, где находится рабочий и расположено основное технологическое оборудование (станки, машины и т.д.), вспомогательное оборудование и технологическая оснастка.

Основным оборудованием рабочего места токаря является один токарный станок. В состав вспомогательного оборудования и оснащения рабочего места токаря входят:

комплект технологической оснастки: приспособление к токарному станку для базирования к.п., набор фрез, линейка, шаблоны, щетка;

комплект технологической документации, постоянно находящемся на рабочем месте;

комплект стандартного оборудования: тумбочка для инструментов, стеллажи, напольная решетка.

Похожие работы на - Семейство Лилейные

 

Не нашли материал для своей работы?
Поможем написать уникальную работу
Без плагиата!
Без нейросетей!