Монтаж мостового крана

  • Вид работы:
    Дипломная (ВКР)
  • Предмет:
    Другое
  • Язык:
    Русский
    ,
    Формат файла:
    MS Word
    353,01 kb
  • Опубликовано:
    2011-12-08
Вы можете узнать стоимость помощи в написании студенческой работы.
Помощь в написании работы, которую точно примут!

Монтаж мостового крана

1.Организаторская часть

1.1 Описать устройство оборудования. Его технические характеристики

Рис. 1

Электрический мостовой кран общего назначение состоит из двух основных узлов: моста с механизмами передвижения и грузовой тележки с механизмами подъема и передвижение .

Мост крана сварной конструкции, мост закрытого типа состоит из четырех продольных ферм, двух главных вспомогательных, соединение в торцах поперечными балками. Механизм передвижение моста может быть с центральными или раздельными двигателями. Механизм передвижение центрального привода состоит из электродвигателя, редуктора, трансмиссии,

и ходовых колес.

Механизм передвижение открытого типа обычно устанавливают на боковых площадках моста, а в мостах закрытого типа на одной из верхних площадок моста, между главной и вспомогательной фермой.

Тележка мостового крана выполняют сваркой из листового металла или гнутых профилей. На тележке размещают механизм передвижение тележки и механизм подъема груза (один или два). Механизм передвижение тележки состоит из электродвигателя, редуктора, и ходовых колес соединенных зубчатыми муфтами и валами. Число механизмов подъема зависит от грузоподъемности крана. При грузоподъемности более 15 т то обычно два механизма подъема, один из которых называют главным, а другой вспомогательный.

Техническая характеристика мостового крана.

грузоподъемность крана, КН                                              --       500/100

пролет, м                                                                              -- 10,5

длина моста, м                                                                     --       11,1

ширина моста с буферами, м                                                        --       6,65

масса моста с механизмами передвижение, кг                   --       29 103

масса рабочей половины, кг                                      --       16.5 103

длина крановой тележки, м                                                 --       3,12

ширина крановой тележки, м                                                       --       4,4

масса крановой тележки, кг                                       --       18,0 103

.2 Организация монтажной площадки

Организация монтажной площадки - составная часть подготовки строительного производства. К этим работам относятся: освобождение строительной площадки для строительно-монтажных работ; планировка территории; перекладка существующих и прокладка новых инженерных сетей; устройство постоянных и временных работ; инвентарных временных ограждений строительной площадки; размещение передвижных и инвентарных зданий производственного, складского, вспомогательного, санитарно-бытового и общественного значения; устройство складских площадок и помещений для материалов, конструкций и оборудований; организация связи; обеспечение противопожарным водоснабжением, инвентарем, освещением и средствами сигнализации. Большую часть перечисленных работ выполняют при проектировании объекта и организации работ по его сооружению. Бытовые здания и помещения должны иметь внутренний трубопровод холодной и горячей воды, канализацию, отопление, вентиляцию, электроосвещение.

Допускается использовать временное водоснабжение из периодически наполняемых водой емкостей. При отсутствии канализации предусматривает передвижные санузлы с необходимым оборудованием. Временные коммуникации для обслуживания бытового городка - водопровод, канализацию, электросеть - прокладывают в промежутках (на границах) между бытовыми помещениями отдельных организаций. В качестве нагревательных приборов систем отопления применяют радиаторы, конвекторы и нагревательные панели, а также электрарадиаторы и отражательные переносные печи. Не допускается устанавливать местные нагревательные приборы с использованием открытого огня. Топливом для систем отопления и вентиляции может служить жидкий газ в баллонах. Электроснабжение должно осуществляться от внешних источников питания или от постоянных энергетических объектов строящегося предприятия. В неосвоенных или недостаточно освоенных районах предусматривают временные электростанции. Временную проводку магистральных сетей водопровода, канализации, паропровода и других сетей до мест присоединения разводок, включая распределительные устройства, производит генподрядчик. Временное электрообеспечение монтажной площадки осуществляется от силовой сети напряжения 380/220 В.Для питания электроустановок применяют трехфазный переменный ток частотой 50 Гц и напряжением 380 В.Расстояние от источников питания до сварочных постов должно быть не менее 30 м. Если это расстояние превышает 30 м, разводку выполняют с использованием кабеля сечением не менее 90мм и устройством зажимов для присоединения сварочных кабелей. Распределительные силовые пункты устанавливают около колонн или стен строящихся зданий. Питающие кабеля прокладывают по стенам на опорных конструкциях, на стальном канате, закрепленном на железобетонных опорах.

Обязательно выполняют заземление 3-й и 4-й жилой питающего кабеля. Временно наружную открытую проводку на монтажной площадке выполняют так, чтобы нижняя точка изолированного провода находилось на высоте не менее 2,5м над рабочим местом,3,5м над проходами и 6м над проездами. На высоте менее 2,5м от земли провода заключают в трубу или короба.

При подвешивании электрических ламп общего освещения они должны соприкасаться с токоведущими частями. Как правило высота подвески ламп должна быть не менее 2,5м от земли. Монтажная площадка должна быть освещена так, чтобы не было теней.

Особенности монтажа мостового крана в пролетных цехах ведется с применением ремонтной- монтажной балки, опирающихся на поперечную ферму каркаса здание, строительные конструкции должны быть закончены монтажом и приняты по АКТу готовности.

Все узлы крана размещены в пролете в соответствии с последовательностью их монтажа и ориентации их при установке на кране в проектное положение.

Для складирования мелкого оборудования, инструмента, монтажных приспособлений в пролете установлен инвентарный домик 3 / 6. Для производства сварочных работ монтажная площадка оборудована сварочным трансформатором, питаемым от электрораспределительного пункта.

На площадке для складирования узлов крана предусмотрен щит с противопожарным инвентарем, бочкой и водой и ящиком с песком. Через железнодорожные пути устроены временные проезды для крана. Электроснабжение площадки выполнено по временной схеме от троллей действующего крана. Электроснабжение электрических лебедок, ручных машин должны осуществятся от трех распределительных пунктов, установленных на площадке. Площадка должна быть оснащена прожекторами расположенных по углам монтажной площадки, для освещение площадок укрупнительной сборки должны быть равномерным и составлять 50 ЛК.

Рядом с монтажной площадкой предусмотрены временные сооружение, состоящие из инвентарных зданий, 4 бытовых зданий, инструменталки.

.3 Приемка подкрановых путей

Приемка подкрановых путей является наиболее ответственной операцией. Разность отметок подкрановых рельсов на соседних колонах одного ряда 0,001L, но не более 10мм,

Рис.2

Отклонение расстояние между осями подкрановых рельсов одного пролета       _ 10 мм.

Рис.3

Отклонение отметок верхних колонн подкрановых балок на двух соседних вдоль ряда, и на двух колонах в одном поперечном разрезе пролета _ 15 мм.

Рис.4

Смещение оси подкранового рельса от оси подкрановой балки _ 15 мм.

Рис.5

Взаимное смещение торцов смежных подкрановых рельсов по высоте и в плане 2 мм.

Отклонение оси подкранового рельса от прямой 15 мм на длине участка 40 м.

Смещение продольной оси подкрановой балки с разбивочной оси на опорной поверхности колоны _ 5 мм.

Установка элементов сборной конструкции должна производиться сразу в проектное положение по разбивочным осям с выверкой по рискам, нанесенные на элементы.

.4 Приемка оборудование

При приемке оборудования в монтаж производят его внешний осмотр, проверяют комплектность без разборки на сборочные единицы и детали. Комплектность оборудования должна быть установлена в технической документации. В комплект поставки должны входить: крепежными деталями и накидные гайки с ниппелями для резьбовых соединений штуцеров; регулировочные (отжимные) винты с контргайками и опорными пластинами;

Завод-изготовитель, производящий контрольную сборку оборудования, дополнительно прилагают маркировочную схему с указанием условных обозначений сопрягаемых стыков и перечня марок, на которые разбивается машина.

Приемку и сдачу оборудования осуществляется инженерно-технические работники. При этом заказчик передает монтажному управлению заводские чертежи со спецификациями, паспорт и инструкция по монтажу оборудование. К каждой единице оборудования должна прилагаться сопроводительная документация. Если монтажная организация установит некомплектность, дефекты оборудования и отклонения от технических условий на его изготовление и поставку,( при приемке или в процессе монтажа и испытаний), она обязана известить об этом заказчика. Выявленные дефекты устраняют силами и средствами предприятия- изготовителя или привлекаемой им организации.

При приемке проверяют внешним осмотром ( без разборки узлов ). В приема сдаточном АКТе делают оговорку, что полная характеристика состояния оборудования будет выявлена в процессе ревизии монтажа.

Транспортировку оборудования.

Правильная организация разгрузки и транспортировки узлов оборудования и такелажной оснастки - очень важное условие высокопроизводительного монтажа.

При любом принятом способе необходимо стремиться подавать оборудование непосредственно в зону монтажных работ.

Для доставки оборудования в зону монтажную площадку принимаем:

тягач МАЗ-5004

полуприцеп ( Фауна ) ФРГ

Характеристики транспортного средства.

грузоподъемность, т                                                            --       34,2

длина, мм                                                                             --       10,532

ширина                                                                                 --       2750

высота по кабине, мм                                                           --       3973

2. Рачетно - конструкторская часть

.1 Расчет и выбор грузоподъемных средств

расчетная схема крана

Рис.6

.1.1 Определяем требуемую грузоподъемность крана


где Gо.- масса оборудования одного полумоста.

Gо.= 14.5 т

nк. - число кранов

nк. = 1


2.1.2 Определяем требуемую высоту подъема крюка


где hф - высота шпальной клети

hф = 0,5 м

hз. - высота запаса

hз =0,5м

h- высота оборудования

h= 3 м

hc - высота стропа

hc = 3 м


2.1.3 Выбираем кран гусеничный МКГ- 20

С длиной стрелы Lст = 12.5

Грузовысотная характеристика крана

При требуемой грузоподъемности 18 т и при требуемой высоте подъема 11.5 м, вылет крюка составит 5.2 м, что удовлетворяет условию монтажа.

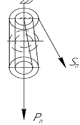
2.2 Расчет такелажной оснастки

.2.1 Расчет подъемного полиспаста

Расчетная схема полиспаста

Рис.8

.2.1.1 Определяем нагрузку на подвижный блок грузового полиспаста

Pn = Q = 290 KH

.2.1.2 Определяем нагрузку на неподвижный блок грузового полиспаста

Pn =1,1 Pn

где Рn- нагрузка на подвижный блок полиспаста

Рn = 290 KH

Pn = 1,1 290 = 319 KH

.2.1.3. По найденной нагрузке выбираем блок марки БМ - 50

грузоподъемность, т                                                                     -- 50

количество роликов                                                                      -- 3

диаметр роликов, мм                                                                    -- 474

диаметр каната, мм                                                                       -- 24

масса блока, кг                                                                              -- 760

.2.1.4 Определяем усилие в сбегающей нити грузового полиспаста

Sn=

где m -число роликов в двух блоках

m = 6

- коэффициент полезного действия полиспаста

=0.814                                                                     (Лит.1 стр.72)

Pn - нагрузка на подвижный блок

Pn = 319 КН

n==65,31кН

.2.1.5 Определяем требуемое разрывное усилие

RТР =S Kз

где S -усилие в сбегающей нити полиспаста

S = 65,31 кН

Kз- коэффициент запаса прочности каната

Kз = 5                                                                          (Лит.1 ПриложXI)

RТР = 65,31 5 = 326,55 кН

2.2.1.6 По найденному разрывному усилию выбираем канат типа ЛК-РО,конструкции 6×36 (1+7+7/7+14)+1о.с ( ГОСТ 7668-80)

Характеристика каната:

Маркировочная группа, МПа                                                       1960

Диаметр каната, мм                                                                        23.5

Разрывное усилие, кН                                                                   338

Масса 1000м,кг                                                                              2130

.2.1.7Определяем длину каната

Lk=m (H + П Др. ) + l+ l

где m=6

H-длина полиспаста в растянутом виде

H=h1+h2

где h1-величина сокращения полиспаста

h1=23 м

h2 - величина полиспаста в стянутом виде

h2=2,7 м

H=23+2,7=25,7м

Др. - диаметр ролика

Др.= 474 мм = 0,474 м

l- длина сбегающей нити

l= 35 м

l- величина запаса каната

l=10м

Lk=10(25,7+3.14 0,474) +35+10=316,88≈317м

.2.1.8. Определяем массу полиспаста

GП=Gб + Gк

где    Gб-масса двух блоков

Gб=2 317= 634кг=0,634т

G к -масса каната

Gк=

где    L=317 м

g- масса 1000м каната

g=1520 кг

G к= = 481,84 кг =0,482 т

GП = 0,482+0,634=1,116т

.2.1.9 Определяем нагрузку на неподвижный блок

= Рп + 10 Gn+ + Sn

где Рn =319 кН

Gn =1,116 т

S = 65,31кН

=319+10 1,116+65,31 = 395,47 кН

2.2.1.10. Определяем требуемое разрывное усилие каната крепящий неподвижный блок

RТР =S Kз

где S - нагрузка в одной ветви стропа

S=

где mв - число ветвей в стропе

mв=8

-угол наклона ветви к горизонту

=0°

Cos 0° = 1

S== 49,383 кН

Kз=6                                                                   (Лит.1 ПриложXI)

RТР = 49,383 6 = 296,298 кН

.2.1.11По найденному разрывному усилию выбираем канат типа ЛК-РО, конструкции 6×36 (1+7+7/7+14)+1о.с ( ГОСТ 7668-80)

Характеристика каната:

Маркировочная группа, МПа                                                       1960

Диаметр каната, мм                                                                        23,5

Разрывное усилие, кН 338,0

Масса 1000м, кг 2130

.2.1.12 Выбор лебедки типа ЛМ - 8

Характеристики лебедки

Тяговое усилие , кН                                                                           80,0

Канатоёмкость, м                                                                               350

Диаметр каната, мм                                                                           29        

Масса с канатом, т                                                                             3.1

.2.1.13 Определяем требуемую массу якоря

Расчетная схема якоря

Рис. 9

Gтр= 0.1 ( + N) Ку

где N- горизонтальная составляющая нагрузки

N=P cos

где P=Rб= 65,31 кН

-угол наклона тяги к горизонтали

=0°

 cos 0°=1

N=65,31 1= 65,31 кН

N-вертикальная составляющая нагрузки

N=P sin

где P = 65,31 кН

-угол наклона тяги к вертикале

=0

sin 0º=0

N=65,31 0 = 0 кН

f-коэффициент трения якоря о грунт

f = 0.99-длядля полу чернозема сырого          (Лит.1 стр.98)

Ку- коэффициент устойчивости от сдвига

Ку=1.5                                   (Лит.1 Прилож. XVIII)

Gтр.= 0.1 () 1.5 = 9,895 т.

.1.2.14 Определяем требуемое число блоков


где Gтр = 10т

q-масса одного блока

q=1,5т                                                                          ( Лит 1. Стр.98)

с рамой 2,8 / 4,7

n =

Принимаю n=8

.2.1.15 Определяем массу якоря

Gя =h q

где h = 8 т

q = 1,5 т

Gя = 8 1,5 = 12 т

2.2.1.16 Проверяем устойчивость якоря от опрокидывание

Якорь на опрокидывание проверять не нужно, так как плечё опрокидывания равно 0.

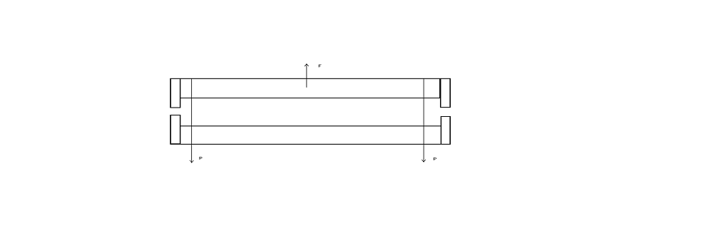
.2.2 Расчет монтажной балки

Расчетная схема монтажной балки.

Рис.10

.2.2.1 Определяем нагрузку действующая на монтажную балку в точках подвески полиспаста


где Go - масса поднимаемого оборудование

Go = 29 т

n - количество полиспастов

n = 1

Gп - масса полиспаста

Gп = 481,84 = 0,481 т

Sn - усилие в сбегающей нити полиспаста

Sn = 65,31 кН


.2.2.2 Определяем максимальный изгибающий момент в монтажной балки



.2.2.3 Находим требуемый момент сопротивление поперечного сечение монтажной балки


где - R =210 мПа                                                        (Лит.1 Прилож.XIII )


.2.2.4 Выбираем балку сплошного сечение

Принимаем швеллер № 33 - 4 шт с Wу = 484 ; Iу = 410

Схема расположение четырех швеллеров для монтажной балки.

Рис.11

.2.3 Расчет стропа основного подъема

Расчетная схема стропа

Рис.12

.2.3.1 Определяем усилие в одной ветви стропа

 

где G = 29т

m- число ветвей стропа

m=4

n - число канатов

n = 2

α - угол наклона ветви стропа к вертикали

 

α = 150 cos 15 = 0,966


2.2.3.2 Определяем требуемое разрывное усилие каната

Rтр= S∙Кз

где S -усилие в одной ветви стропа

S= 37,52 кН

Кз =6                                                                  (Лит.1 Прилож.XI )

Rтр=37,52·6=225,12кН

.2.3.3По найденному разрывному усилию выбираем канат типа          ЛК-РО,конструкции 6×36 (1+7+7/7+14)+1о.с ( ГОСТ 7668-80)

Характеристика каната:

Маркировочная группа, МПа                                                       1960

Диаметр каната, мм                                                                        20

Разрывное усилие, кН 233

Масса 1000м, кг 1520

.2.3.4 Определяем требуемую длину каната

Принимаем для строповки 2 универсальных стропа

Lк =lв×nв+nз×c                             

где nв- число ветвей в одном стропе

nв=8

lв-длина ветви стропа

 

Где hс- высота стропа

hс = 3 м

cosa = 0.961

p =3.14

nз -число заделок в стропе

nз =1

с - длина заделки каната

С=3∙l1+2×l2+l3, (м)

где l1=140мм

l2=175мм

l3=250мм

C =3×140+2×175+ 250 = 1020мм = 1 м

Lк =8×5,46+1×1=44,68м

Схема заделки стропа

Рис.13

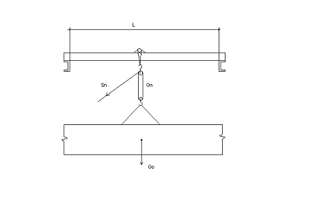
.2.4 Расчет стягивание мостов.

Расчетная схема стягивание мостов.

Рис.14

.2.4.1 Определяем силу тяги.


где - G = 29 т

α - угол наклона поверхности к горизонтали

α = 0 0

sin 0 0 = 0

cos 0 0 = 1

F - коефицент скольжение

F - 0,01


.2.4.2 Определяем силу страгивание с места

                                               P = 1,5 P

где - P = 2,9 кН

Pc = 1,5 2,9 = 4,35 кН

.2.4.3 Определяем разрывное усилие каната для тяги.


где S - нагрузка на канат

S =Pc = 4,35кН

Кз - коэффициент запаса прочности

Кз = 3,5                                                              (Лит.1 Прилож.XI )


.2.4.4 По найденному разрывному усилию выбираем канат типа ЛК- РО, конструкции 6×36 (1+7+7/7+14)+1о.с ( ГОСТ 7668-80)

Характеристика каната:

маркировочная группа, МПа                                                                -- 1960

разрывное усилия, кН                                                         -- 109,0

диаметр каната, мм                                                                       -- 13,5

масса 1000м каната, кг                                                       -- 697

R > Rтр 338,0кН > 301,875кН

.2.4.5 Выбираем рычажную лебедку типа МТМ 1,5

Характеристика лебедки :

Тяговое усилие , Тс                                                                           1.3        

Диаметр каната, мм                                                                           13.5

Масса с канатом, кг                                                                           15.5

.2.5 Расчет отводного блока

Расчетная схема отводного блока

Рис.15

.2.5.1 Определяем силу действующая на блок


где - S = 65,31 кН

α - угол между ветвями каната

45 = 0,707


.2.5.2 Определяем массу блока

Gбл = 0,1 Q

где - Q =92,34 кН = 9,234 т

Gбла = 0,1 9,234 = 0,923 т

.2.5.3 Выбираем блок типа: Б 10 - 300

грузоподъемность, т                                                                     25

количество роликов                                                                      1

диаметр роликов, мм                                                                    405

диаметр каната, мм                                                                       28,5

масса блока, кг                                                                              130

3 Технологическая часть

.1 Технологическая последовательность монтажа

.1.1 Сборка моста

Схема сборки моста

Рис.16

Установить два полумоста стенд изготовленный из подкрановых путей.

Подкатить друг другу обе половины моста, установленные на подкрановых путях, подложить под низ подкладки. Стянуть концевые балки до соприкосновение краев листов в стыках наложить и укрепить монтажными болтами верхнею и нижнею стыковые планки, строго руководствуясь маркировкой завода-изготовителя, выровнять используя струбцины каждую концевую балку, не допуская переломов при соединение концевых балок.

Рис.17

Выправить при необходимости вертикальные стыки балки в местах стыках. Проверить колею тележки и диагонали моста.

Допустимые отклонение:

отклонение колеи тележки со значении до 2500 мм -- _ 3 мм

разность диагоналей моста, мм                                -- _ 5 мм

Заварить фланцевым швом нижние стыковые планки и наложить стыковые швы на нижних и верхних поясных местах места от края до стенок, обварить по контуру верхние планки на стыках каждой балки. Наложить и обварить по контуру стыковые накладки вертикальных стенок балки.

Рис.18

3.1.2 Проверка правильности установки ходовых колес крана

Определяется величина перекоса колес в, мм. Отклонение плоскости, проходящий через середину ходовой части колеса, от вертикали определяется отвесом по отношению торцевой стороне колеса.

Допустимое отклонение по вертикали не должно превышать 0,5 мм на 1 м. Просверлить два отверстия диаметров 20 мм на каждой концевой балки моста в местах указанных на схеме 19. Натянуть струну или капроновую нить диаметром не более 0,5 мм на уровне отверстия и закрепить ее таким образом чтобы размеры (а = а) затем вставить в отверстие линейку до упора в торец реборды катка (поочередно) и домерить расстояние от конца реборды катка до струны; при правильном расположение катков полученный размер (х=а=а),

Допустимое отклонение от равенства не должно превышать 0,25 мм.

Схема выверки ходовых колес

Рис.19

Правильность собранных конструкций, а также их окончательная выверка производиться сразу же после окончание сборки блока де его сварки.

Отклонение от проектных размеров собранных металлоконструкций мостов не должно превышать величин указанных в чертежах и ТУ завода-изготовителя.

Пролет крана Lк - расстояние между серединами колес или серединами ходовых тележек механизмов передвижение моста _ 6 мм.

Стрела прогиба стержней (кривизна) между узлами ферм при длине стержня L = l / 1000.

ширина колей ходовых тележек В -- _ 3 мм.

разность диагоналей при замерах для моста Е -- _5 мм.

разность уровней отверстия по оси балансиров, расположенных на одной балке моста при пролете L - 0,00014

расстояние между осями балансиров М - 0,0003

расстояние между осями балансиров по одной концевой балки -- 0,00024.

Тоже расстояние по другой концевой балки не должно отличаться от расстояние по первой концевой балки         P - 0,00046

Рис.20

мостовой кран подвеска нагрузка

Проверка положение колес и проверка высоты центров катков.

Разность расстояние от струны, паролейных оси подкранового рельса до торца колес допускается        1 мм на 1 м.

Тележка крана, установленная на кран или на выверенный стенд, должна опираться на все колеса. При этом смещение вертикальной плоскости симметрии ходового колеса от вертикальной плоскости симметрии рельса допускается не более 2 мм.

 

Рис.21

Допустимые отклонение размеров тележки от проектных.

Отклонение по ширине колей тележки, симметричное для обеих пар колес, при ширине не более 3 мм если 2500 мм, не более 2500 и не более 3 мм.

разность диагоналей рамы тележки -- _3 мм

отклонение от горизонтальной плоскости верхней поверхности рамы тележки при ширине колеи до 2500 мм не более 3мм, свыше 2500 мм не более 8 мм.

Расстояние между осями колеи тележки, измеренное по одной стороне, не должно отличаться от размера по другой стороне более чем на 2 мм.

.1.3 Технология подъема

Строповка при монтаже кранов является наиболее ответственной операцией. Строповка моста ведется в обхват на (удавку).

Схема строповки моста

Рис.22

При подъеме тележки ее стропят за балку так, чтобы ветви стропа огибающее оборудование не нарушали его целостности.

Схема строповки тележки

Рис.23

Подъем моста целиком собранном виде, подъем ведется выше подкрановых путей в положении, когда он сориентирован вдоль пролета или под некоторым углом к его продольной оси, затем разворот в горизонтальной плоскости при помощи оттяжек сориентировав на подкрановые пути, плавно работая лебедкой производим опускание на подкрановые пути.

После монтажа моста в сборе приступают к монтажу тележки. тележку удобно поднимать теми же монтажными устройствами, которые применялись при подъеме моста. Мост крана при помощи рычажных лебедок перемещают в сторону соседнего пролета цеха. Тележку поднимают в горизонтальном положении, чуть выше моста, после этого мост при помощи рычажных лебедок возвращается в исходное положение и производят опускание тележки на направляющие которые находятся на мостовом кране в проектное положение.

Подъем кабины и перемещение возможны с использованием простых средств малой грузоподъемности, что облегчает трудоемкость монтажа. Раздельный подъем кабины машиниста предельно собранную и укомплектованную электра оборудованием установленное на специальную раму. Подъем осуществляется двумя ручными талями обеспечивая равномерный подъем. Подъем кабины для обслуживание тока провода и троллей возможен стропами пропущенными через люк в площадке моста крана строповка допускается только за элементы рамы корпуса кабины.

.2 Контроль качества монтажа

Первоначальный вид контроля, которому подвергаются все типы машин и оборудования это осмотр. При нем выявляются дефекты металла и сварных швов, проверяют соответствие изделия требованиям чертежа, а также наличие и правильность нанесения маркировки. Контроль качества монтажа должен систематически осуществляться на всех этапах монтажа.

Существует много методов контроля качества, которые можно подразделить на две группы: 1) Прямые методы контроля, непосредственно определяющие качество контролируемых работ. 2) Косвенные методы контроля, определяющие качество контролируемых работ на образцах . К прямым методам контроля относятся визуальный осмотр и инструментальная проверка, просвечивание гамма - лучами, магнитные и ультразвуковые методы дефектоскопии, гидравлическое и пневматическое испытание. При инструментальной проверке точность измерительного инструмента должна соответствовать требуемой точности установки узла или детали. Просвечивание гамма - лучами, магнитная и ультразвуковая дефектоскопия широко применяются при проверке качества сварных швов аппарата. Эти методы контроля позволяют обнаружить скрытые пороки швов без их разрушения и точно определить характер и место расположения пороков. Гидравлическое и пневматическое испытание является обязательным видом контроля для всех аппаратов и трубопроводов работающих под давлением. Этот способ позволяет одновременно проконтролировать как прочность, так и плотность всех сварных швов, фланцевых и резьбовых соединений, а также пороки основного металла. В целях безопасности применяется, как правило, гидравлическое испытание, так как при разрушении аппарата во время пневматического испытания это разрушение носит характер взрыва. Пневматическое испытание применяется в тех случаях, когда гидравлическое по каким либо причинам не применимо. Испытательное давление указывается в паспорте аппарата или оговорено в технических условиях и зависит от ряда причин: рабочего давления в аппарате, температуры аппарата при его эксплуатации, степени взрывоопасности среды, от материала из которого изготовлен корпус. При обнаружении дефектов опробование немедленно останавливают и устраняют дефекты, после чего опробование продолжают. После того как оборудование отрегулировано или, как говорят, выведено на заданный режим работы, производится сдача заказчику. К моменту сдачи аппарата должна быть полностью подготовлена и скомплектована сдаточная техническая документация.

Пооперационный контроль качества, осуществлялся разделе 3.2 .

Завершающий контроль качества, осуществлялся разделе 3.3

3.3 Испытание и сдача оборудования

Схема испытания мостового крана

Рис.24

Сдачу крана выполняют в три этапа.

. Смонтированный кран до сдачи заказчику подлежит осмотру , испытанию и регулировке. При этом проверяют качество монтажа, прочность и надежность работы крана, а также соответствии технических характеристик смонтированного оборудование, указанных на чертежах и на паспорте крана.

. Обкатка без нагрузки, при которой проверяют работу каждого механизма в отдельности, производят только после окончание всех работ. При испытании без нагрузки поверяют срабатывание концевых выключателей и блокировку механизмов при совместной их работе.

Испытание крана без нагрузки. Это испытание состоит в трехкратном передвижении тележки, подъема и опускание крюка каждого механизма при максимальной и минимальной скорости. Механизм передвижение испытывают при двукратном перемещении крана в оба конца участка длиной не менее трех баз крана. Тормоза регулируют на создание достаточного тормозного момента и остановку крана или тележки на реечный тормозной путь. После удовлетворительных результатов испытание механизмов в отдельности проводят испытание крана в целом при совмещенной работе механизмов по одному циклу.

. Испытание крана под нагрузкой это испытание выполняют в соответствии с правилами устройства и безопасности эксплуатации грузоподъемных кранов. Для проверки прочности моста крана подвергают статическому испытанию под нагрузкой, на 25 % превышающей грузоподъемности машины. При испытании, крана устанавливают под опорами подкрановых путей, а также в положении отвечающее наибольшему прогибу. Груз поднимают на высоту 200-300 мм с последующей выдержкой в таком положении 10 минут. После снятие нагрузки проверяют отсутствие остаточной деформации моста крана. Демоническое испытание поводят для каждого механизма по (три цикла), а затем по одному циклу при соответствии движение. Нагрузку при этом превышают предельный рабочий груз на 10 %.

Результат испытание оформляются АКТом. Кран, прошедший испытание и техническое освидетельствование, сдается монтажной организацией заказчику по АКТу и принимается последним в эксплуатацию. Монтажная организация при этом передает заказчику комплект чертежей, паспорт крана и АКТы приемки фундамента и подкрановых путей, АКТы испытание системы масло смазки, испытание механизмов в холостую и под нагрузкой.

3.4.1 ведомость монтажных средств и инструментов

№П/П

Наименование

Ед. изм.

количество

Примечание

1.

Оборудование грузоподъемное




1.1

Кран МКГ 20 Lст = 12,5м

шт

1

Сборка


2.оборудование транспортное




 2.1

Тягач МАЗ-5004

шт

1



Доставка оборудование




2.2

Полуприцеп: фауна 34 (ФРГ)

шт

1

Доставка оборудование


3. механизмы монтажные




3.1

Лебедка электрическая ЛМ-8

шт

1

Для подъема

3.2

Рычажная лебедка МТМ 1,5

шт

1

Сборка


4. Такелажная оснастка




4.1

Блок БМ -50

шт

1

Для полиспаста

4.2

Блок Б10 - 300

шт

1

Для сбегающей нити

 4.3

Зажим рожковый ЗРК-4

шт

5

Строп


5.Приспособление монтажные и сварочное оборудование




5.1

Лестница алюминиевая ЛС-3,7

шт

5

Сборки

5.2

Сварочный аппарат ПСО - 300

шт

1

Сборки


6. Инструменты и средства измерение




6.1

Рулетка металлическая измерительная ГОСТ 28 - 39 - 80

шт

2

Сборки

6.2

Молоток слесарный массой 1 кг

шт

2

Сборки


.4.2 Ведомость покупных монтажных средств

Таблица 2

№ П/П

Наименование

сечение

марка

ГОСТ

Ед. изм.

Кол.

примечание

1.

Швеллер

№ 33

Ст3кп

8240-72

т

4

Монтажная балка

2.

Канат

23,5 мм

ЛК-РО

7668-80

т

1

Для полиспаста

3.

Канат

23,5 мм

ЛК-РО

7668-80

т

1

Для крепление неподвижного блока

4.

Канат

20 мм

ЛК-РО

7668-80

т

1

строп

5.

Канат

13,5 мм

ЛК-РО

7668-80

т

1

Для рычажной лебедки

6.

Масло смазочное


ПРГС

12Н88-64

т

50 л

Смазка

7.

Кабель для электросварки

40

КПЭС

842-75

м

40

Сварочные работы



4.Техника безопасности

.1 Общие мероприятия

Все работы по монтажу подъемно-транспортных машин выполняют в соответствии с проектами по производству работ (ППР) или технологическими записками. Монтаж машин в зависимости от их сложности осуществляют специализированными или комплексными бригадами, работающими по данному циклу.

Контроль за соблюдением техники безопасности возлагаются на генподрядчика. Вновь поступающие рабочие могут быть допущены к работе только после прохождения ими: вводного инструктажа и инструктажа на рабочем месте. Инструктаж должен оформляться в журнале по техники безопасности. Проверку знаний по технике безопасности нужно проводить ежегодно. К работе на особо опасных и вредных производствах к которым предъявляется повышенные требования по технике безопасности, могут быть допущены лица, прошедшие обучение по утвержденной программе, сдавшие экзамены и имеющие соответствующее удостоверение. К верхолазным и другим монтажным работам допускаются лица не моложе 18 лет. Рабочих, выполняющих работы в действующем цехе с вредными условиями труда, обеспечивают средствами индивидуальной защиты.

Территорию монтажной площадки и рабочие места перед началом работ очищают от строительных материалов и мусора, а зимой- от снега и льда. Проезды, проходы и подкрановые пути следует содержать в чистоте и не загромождать. В зимнее время их необходимо очищать от снега и льда, дороги посыпать песком, шлаком или золой. На территории строительной площадки нужно определить зоны, опасные для работы и прохода людей. Опасные зоны следует ограждать и снабжать надписями и указателями (стрелками). В темное время суток, кроме ограждения, должны быть выставлены световые сигналы. Железнодорожные пути, проезды, проходы, лестницы и склады, а также все рабочие места на строительной площадке в темное время должны быть освещены. Всех работающих на монтажной площадке обеспечивают питьевой водой. Работы на открытом воздухе при низкой температуре выполняют с перерывами для обогревания. Работы, выполняемые на открытом воздухе и на высоте, прекращают при превышении установленных норм силы ветра, температуры, влажности. Работающих на монтажной площадке обеспечивают исправным монтажным инструментом и грузоподъемными механизмами, безопасным электропитанием. При обслуживании баллонов со сжатым газом, наполненные баллоны нельзя оставить в горячих местах, на солнце, а также загрязнять вентили баллонов и редуктор маслом. Подтягивать соединения редуктора при наличии давления запрещается. Шланги прочно закрепляют на редукторе и горелке хомутами. Применять проволочные крепления для шлангов нельзя. Запрещается устраивать склады в подвальных помещениях, а также оборудовать склады отоплением. Ядовитые вещества хранят в отдельных, хорошо проветриваемых помещениях. Запрещается хранить горючее и легковоспламеняющиеся жидкости в открытой таре.

.2 Меры безопасности при монтаже оборудование

При монтаже кранов с помощью монтажной балки граница опасной зоны должна проходить за пределами расположение лебедок, отводных блоков и горизонтальной проекции поднимаемого груза увеличенная на 1/3 высоту поднимаемого груза (но не менее 2 м). Укрепленную сборку оборудования и металлоконструкций производят на специальных стендах или невысоких стеллажах

В зоне производства монтажа нахождение несовершенно летних лиц не допускается, работающие в ней монтажники обязательно носят защитные каски, и при работе на высоте предохранительные пояса.

Проверив правильность строповки и убедившись в том что на нем нет посторонних предметов и не что его не удерживает, а в опасной зоне нету людей, подают сигнал о начале подъема. Сигналы машинисту грузоподъемного механизма и на оттяжках подает бригадир или слесарь-монтажник, знающий сигнализацию и поставленный бригадиром или мастером. Способы строповки элементов конструкции и оборудования должны обеспечивать их подачу к месту установки в положении близком к проектному. Элементы монтируемых конструкций или оборудования во время перемещения должны удерживаться от раскачивания и вращения гибкими оттяжками. Монтируемый элемент крана поднимают на высоту 200-300 мм, проверяют равномерность натяжение ветвей стропа и убедившись в том что поднимаемый элемент надежно обвязан продолжают подъем. При необходимости исправление строповки элемент следует опустить.

Подъем монтируемого элемента должен производиться плавно, без рывков.

.3 Противопожарные мероприятия

При производстве монтажных работ необходимо строго соблюдать правила пожарной безопасности. Проходы и запасные выходы не следует загромождать; доступ а пожарным кранам, шлангам, огнетушителям и ящикам с песком должен быть свободным.

При возникновении пожара необходимо немедленно вызвать пожарную охрану и принять меры по ликвидации огня, а также предупредить его распространение всеми имеющимися средствами. Воспламеняющиеся жидкие горючие вещества или промасленные материалы тушат с помощью пенного огнетушителя или песка. При возгорании электропроводки немедленно обесточивают линию. Горящие деревянные предметы, бумагу, спецодежду тушат водой из пожарных шлангов. Расстояние между переносным генератором и местом обработки металла, а также местоположение открытого огня должно быть не менее 10 м. На месте установки переносного генератора вывешивают предупреждающие плакаты с надписями: “Огнеопасно”, ”Не курить”, ”Не подходить с огнем”. Перед началом работ электросварщик обязан проверить изоляцию электропровода и электрадержателя, наличие и правильное заземление корпуса сварочного аппарата и рубильника, плотность соединения электропроводов с аппаратом, а также убедиться в отсутствии вблизи места сварки легковоспламеняющихся веществ. Электросварщик обязан следить за спецодеждой и обувью, обеспечивающей надежную защиту от брызг и расплавленного металла. Брезентовые куртки и брюки должны быть одеты навыпуск, карманы куртки прикрыты, ботинки плотно зашнурованы.

При прокладке и перемещении сварочных проводов необходимо применять меры против повреждений их изоляции и прикосновения с водой, маслом, стальными канатами и горячими трубопроводами. Газовые баллоны разрешается перевозить, хранить, выдавать, получать только лицам, прошедшим обучение по обращению с ними. Газовые баллоны должны быть предохранены от ударов и воздействия прямых солнечных лучей, а также удалены от отопительных приборов на расстояние не менее 1 м.

5. Список используемой литературы:

Лит 1 Матвеев В.В. «Примеры расчета такелажной оснастки» М. Стройиздат 1979г

Лит 5 Грузинов Е.В. «Монтаж технологического оборудования» М. «Стройиздат» 1963г.

Лит 3 СНиП 3.01.01-85 «Организация строительного производства» М. «Госстрой СССР» 1988г.

Похожие работы на - Монтаж мостового крана

 

Не нашли материал для своей работы?
Поможем написать уникальную работу
Без плагиата!
Без нейросетей!