Повышение эксплуатационных качеств тепловоза путём модернизации бортовой системы диагностики

  • Вид работы:
    Дипломная (ВКР)
  • Предмет:
    Транспорт, грузоперевозки
  • Язык:
    Русский
    ,
    Формат файла:
    MS Word
    1,29 Mb
  • Опубликовано:
    2012-02-19
Вы можете узнать стоимость помощи в написании студенческой работы.
Помощь в написании работы, которую точно примут!

Повышение эксплуатационных качеств тепловоза путём модернизации бортовой системы диагностики












Диплом

Тема дипломного проектирования: Повышение эксплуатационных качеств тепловоза путём модернизации бортовой системы диагностики

Введение

В настоящее время на железнодорожном транспорте находят широкое применение микропроцессорные системы управления. Достижения микропроцессорной техники позволяют, при сравнительно низкой себестоимости системы управления, реализовывать сколь угодно сложные алгоритмы управления и задавать любые взаимосвязи между сигналами.

Так например, на ОАО ХК «Коломенский завод» построен магистральный пассажирский тепловоз нового поколения ТЭП70БС с системой электроснабжения поезда. В рамках проектно-конструкторских работ специалистами Всероссийского научно-исследовательского и конструкторско-технологического института подвижного состава (ВНИКТИ, г. Коломна) создана микропроцессорная система управления, регулирования и диагностики тепловозов (МСУ-Т), а также технический проект оборудования этой системой нового локомотива. В ноябре 2003 г. успешно завершены приемо-сдаточные заводские испытания тепловоза ТЭП70БС. В настоящее время он готовится к сертификационным испытаниям в Научно-испытательном центре ВНИИЖТа (ст. Щербинка).

Детальное знакомство с основными принципами работы системы МСУ-Т представляет практический интерес в связи с тем, что ОАО ХК «Коломенский завод» планирует начать серийный выпуск тепловозов ТЭП70БС, а также постепенно перейти на выпуск серийных ТЭП70, оборудованных созданной системой.

Из ряда микропроцессорных систем управления и регулирования электрической передачей тепловозов (МСКУ-1, АСУ «Локомотив», УСТА), разработанных специалистами ВНИКТИ, система МСУ-Т отличается более совершенной элементной базой. Использование современных научно-технических разработок обеспечивает высокие потребительские качества системы МСУ-Т, которые соответствуют лучшим зарубежным аналогам.

Применение системы МСУ-Т на тепловозе позволило исключить из схемы его управления все промежуточные реле включения исполнительных аппаратов тепловоза, а также реле времени. Установка в кабине машиниста дисплейных модулей (ДМ) предоставила возможность отказаться от использования пультовых амперметров, электроманометров и термометров, за исключением приборов контроля тормозного оборудования.

Теперь, находясь в кабине, локомотивная бригада имеет возможность контролировать на ДМ практически все параметры основных и вспомогательных систем тепловоза. В случае возникновения какой-либо неисправности, а также при несанкционированной работе исполнительного аппарата и выходе за предельно допустимое значение любого из опрашиваемых параметров, на ДМ индицируется аварийно-предупредительное сообщение с указанием неисправности.

Следует отметить, что принятые технические решения позволили максимально автоматизировать процесс управления тепловозом, но, тем не менее, первоначальное задающее управляющее воздействие по изменению режима его работы всегда инициируется машинистом.

На тепловозе ТЭП70БС система МСУ-Т выполняет большой перечень функций. В частности, она бесконтактно управляет электрической схемой тепловоза во всех режимах его работы (т.е. действием исполнительных аппаратов система управляет непосредственно с помощью электронных транзисторных ключей, а все промежуточные реле исключены из электрической схемы). Пуск и остановка дизеля осуществляются по команде машиниста.

Система отслеживает все временные интервалы, которые требуются для пусковой операции в соответствии с техническими условиями на дизель. Его пуск блокируется при включенном валоповоротном механизме, отсутствии давления масла и топлива до окончания времени предпусковой прокачки маслом, при установке контроллера машиниста на позицию, отличную от нулевой, а также наличии сигнала «Пожар». Дизель автоматически останавливается тогда, когда появляется сигнал «Пожар», отсутствуют сигналы с блокировок газового пожаротушения и реле РДМ4, возникают сигналы о давлении газов в картере и «Аварийный останов дизеля».

Частота вращения коленчатого вала задается в зависимости от позиции контроллера машиниста. Автоматически снимается нагрузка с дизеля при превышении предельно допустимой температуры воды и масла, пропорционально количеству отключенных тяговых двигателей снижается мощность, снимаемая с зажимов тяговой выпрямительной установки. Турбокомпрессор защищается от помпажа при резком сбросе позиций. Это достигается за счет опережающего снижения напряжения на тяговом генераторе по сравнению с уменьшением частоты вращения коленчатого вала дизеля.

Обеспечиваются управление электроснабжением поезда, выдача сигналов задания напряжений в локальные микропроцессорные управления возбуждением тягового и вспомогательного генераторов. Формируются внешние и нагрузочные характеристики тягового генератора в зависимости от частоты вращения коленчатого вала дизеля, а также в соответствии с ТУ на дизель-генератор и тяговые двигатели. Используется вся свободная мощность силовой установки на тягу и электроснабжение поезда за счет включения в контур регулирования мощности координаты положения индуктивного датчика гидромеханического регулятора дизеля.

Автоматически ограничиваются напряжение и ток тягового генератора, тяговых двигателей в режимах тяги и электрического торможения, ведется защита силовых выпрямительных установок от перегрузок. Также автоматически выполняются контроль изоляции низковольтных и силовых цепей, сброс нагрузки при нарушении изоляции силовых цепей, управление контакторами ослабления возбуждения тяговых двигателей.

С помощью системы осуществляется управление электрическим торможением тепловоза от контроллера машиниста и от тормозного крана № 395, формирование характеристик электрического тормоза с учетом заданных ограничений, взаимодействие электрического и пневматического тормозов. Автоматически выполняется замещение электрического тормоза пневматическим при неисправностях или низкой эффективности первого. Поддерживается заданная контроллером машиниста скорость движения поезда при электрическом торможении тепловоза. Обеспечивается проверка исправности электрического тормоза на остановленном тепловозе. Также автоматически ведется защита от боксования, юза и срыва шестерни тягового двигателя002E

Система регулирует напряжение генератора электроснабжения по заданной характеристике при включенном и выключенном электроснабжении поезда. Она управляет перераспределением мощности между тяговым генератором и генератором электроснабжения поезда на рабочих позициях контроллера машиниста. Автоматически задается режим работы электропривода тормозного компрессора, регулируется напряжение стартер-генератора, работающего в режиме генератора напряжения бортовой сети тепловоза. Обеспечиваются автоматическая защита электрооборудования тепловоза в различных режимах работы, управление автопрогревом дизеля в холодное время года.

Важная функция МСУ-Т - автоматическая диагностика основного и вспомогательного оборудования тепловоза. Микропроцессорная система выдает на ДМ сообщения о неисправностях оборудования и отклонениях параметров систем тепловоза от нормы. По запросу обслуживающего персонала на ДМ отображаются параметры основного и вспомогательного оборудования тепловоза.

Таким образом, для повышения эксплуатационных качеств тепловоза, достаточно ввести в систему управления дополнительные датчики тех величин, учёт которых позволяет повысить надежность, экономичность и более эффективно использовать тепловоз.

1. Датчики, которые требуется установить на тепловоз

Таблица № 1.1

Датчики установленные на серийном тепловозе.

Датчики, которые требуется установить на тепловоз.

Датчик давления масла.

Датчик, состоя аккумуляторной батареи.

Датчик температуры воды.

Датчики состава и загрязнённости воды, масла и топлива.

Датчик температуры масла.

Датчики состояния тяговых электрических машин.

Датчик уровня топлива в баке.

Датчики параметров окружающей среды (давление, температура)

Индуктивный датчик.

Датчик состояния тормозов.


Датчики состояния экипажной части.


Для контроля состояния аккумуляторной батареи, сигналы от амперметра должны быть интегрированы по времени. После чего зависимость напряжения на батареи от ампер-часов полученных или затраченных батареей должны быть сопоставлены с образцовыми зависимостями, хранящимися в памяти микропроцессорного устройства. Результат сопоставляется и является оценкой состояния аккумуляторной батареи.

Принципы контроля состояния тяговых электрических машин, которые могут быть положены в основу работы датчика, следующие:

измерение подведённой к машине электрической мощности и расчёт выделения тепла с использованием характеристик тяговых электрических машин.

измерение температуры частей тяговых электрических машин через температуру и расход охлаждающего воздуха.

непосредственное измерение температуры, путём установки датчиков.

измерение температуры по косвенным признакам, таким как изменение характеристик тяговых электрических машин вследствие перегрева (наиболее перспективный метод).

В качестве датчиков измеряющих параметры окружающей среды используем датчики на основе резонаторов Гельмгольца. Резонаторы Гельмгольца представляют собой акустические резонаторы с сосредоточенными параметрами. Благодаря их форме колеблющейся массой системы оказывается масса газа, заключённого в трубе, в которой частицы газа движутся с относительно высокой скоростью. Акустический термометр имеет замкнутый резонатор (обычно трубчатый, заполненный газом постоянного состава) с резонансной частотой. Для получения прямого отсчета температуры в широком диапазоне ее изменения необходимо в частотно-измерительное устройство ввести блок, осуществляющий операцию возведения в квадрат. Достоинством акустических термометров является возможность достижения высокой точности измерения. Акустический манометр. Жидкость, поступающая в резонатор снизу, сжимает находящийся в нем газ до тех пор, пока давление газа не уравновесит измеряемого давления. резонансная частота прямо пропорциональна измеряемому давлению, зависимость от температуры требует применения корректирующих устройств. При давлениях выше 15-20 arm необходимо учитывать отклонение свойств сжатого газа от свойств идеального газа .

Для контроля состояния экипажной части используют акселерометры (датчики ускорения). Акселерометры относятся к одной из разновидностей струнных датчиков. Принцип действия струнных датчиков основан на зависимости собственной частоты колебаний натянутой струны от её длины, массы и силы натяжения. В конструкции датчика используется дифференциальное включение двух струн и работа в режиме заданной силы, а также автоколебательное возбуждение струн с помощью усилителей, располагаемых внутри датчика. 

2. Частотные датчики для измерения неэлектрических величин на основе LC-генераторов

Методы построения LC-генераторов. В большинстве случаев при построении частотных датчиков находят применение генераторы с параллельными LC-контурами. В реальных схемах наряду с простейшим двухэлементным контуром часто используются трех- и четырехэлементные резонансные контуры, позволяющие уменьшить связь частотозадающей цепи с усилителем, и таким образом повысить стабильность частоты. В технической литературе схемы 1 и 2 часто называют индуктивными трехточечными схемами или схемами Хартли, схемы V и VI - емкостными трехточечными схемами или схемами Колпица, а генераторы с контурами III и IV называют генераторами Лапкина и с контурами VII и VIII - генераторами Клаппа.  Таким образом, минимальные значения коэффициентов pl и р2 ограничены крутизной используемого усилителя. Чаще других при построении частотных датчиков находят применение генераторы по схеме Клаппа или Лапкина. На практике используются и другие генераторы. Полупеременный резистор позволяет установить нужную величину фактора регенерации путем регулировки связи усилителя с контуром или путем регулировки отрицательной обратной связи в самом усилителе.

Погрешности, вносимые LC-генератором в общую погрешность датчика, складываются из нестабильности и нелинейности.

Нестабильность частоты LC-генератора вызывается изменением параметров избирательной цепи (емкости, индуктивности, добротности контура) и изменением характеристик усилителя (фазового сдвига, входных и выходных емкостей и сопротивлений). В свою очередь причинами этих изменений являются изменения окружающей температуры, напряжения питания, а также нестабильность элементов генератора с течением времени. В настоящее время не составляет проблемы стабилизировать напряжение питания генератора и исключить тем самым соответствующую составляющую нестабильности частоты. Однако при испытаниях генератора имеет смысл отключать стабилизатор и снимать зависимость частоты от напряжения питания, так как эта зависимость характеризует влияние усилителя на частоту генератора. У лучших образцов LC-генераторов изменение напряжения питания на 10% вызывает изменение частоты порядка (2 / 5)10% или (2 /5) 105. У большинства LC-генераторов частота изменяется на (2/ 5) 10-2% при изменении напряжения питания на 10%.

Температурный коэффициент частоты генератора определяется в основном нестабильностью элементов LC-контура и при использовании конденсаторов и катушек индуктивности с весьма малыми температурными коэффициентами может быть снижен до величины порядка 2*10-2% на 10 град (2*10-5 1/град). Вообще же значения температурного коэффициента частоты LC-генераторов лежат в пределах (5/ 10) 10-2% на 10 град или (5/10) 10-5 1/град.

При использовании катушек индуктивности с ферритовыми сердечниками следует учесть, что температурный коэффициент магнитной проницаемости ферритов может достигать величины 5-7% на 10град. Значение температурного коэффициента имеет большой разброс от партии к партии при одной и той же марке материала и изменяется, кроме того, в диапазоне температур. Уменьшить температурный коэффициент индуктивности можно введением воздушного зазора в магнитопроводе. Зависимость индуктивности от температуры при этом уменьшается во столько же раз, во сколько индуктивность сердечника без зазора больше индуктивности сердечника с зазором. Нестабильность частоты LC-контура с катушкой индуктивности на ферритовом сердечнике с зазором может составлять примерно 0,1% на 10 град в диапазоне температур от 20 до 70° С .

При построении частотного датчика целесообразно не изменяющийся элемент контура подбирать с таким температурным коэффициентом, который скорректирует температурный коэффициент всего датчика в целом. Возможна также ручная подрегулировка этих элементов в соответствии с температурой. В силоизмерительном датчике с индуктивным первичным преобразователем подрегулировкой емкостей в зависимости от температуры окружающей среды удалось снизить температурную погрешность датчика в целом до (3/5) 10~ % на 10 град.

Для уменьшения нестабильности частоты следует по возможности изолировать генератор от влияния окружающей среды. Например, генератор описанного в работе датчика для измерения давления в трубопроводе помещался в скважину на глубину 3м, где температура в течение года колебалась в пределах 4,5 + 0,9° С. Суточный дрейф частоты такого датчика не превышал 5-10-4 (0,05%). В частотном датчике, предназначенном для кондуктометрических измерений, катушка колебательного контура генератора по схеме Клаппа и дроссель в цепи катода лампы, намотанные на кварцевой трубке, вместе с лампой и переменным конденсатором находились внутри экрана с двойными стенками, между которыми пропускалась термостатированная вода. Кратковременная нестабильность частоты такого генератора составляла величину порядка 10-8 -10-9 (10-6 - 10-7%).

При прочих равных условиях стабильность частоты тем выше, чем выше добротность контура. Добротность определяется в основном потерями в катушке индуктивности. На (рис.2.1) приведены экспериментально полученные значения добротности LC-контура при использовании катушек индуктивности с ферритовыми сердечниками в функции частоты при различных величинах воздушного зазора в магнито-проводе. Катушка индуктивности имела следующие данные: число витков обмотки 2 Х 50 из провода литцендрат 6 Х 0,07мм, сердечник броневого типа диаметром 11 мм из марганцецинкового феррита с магнитной проницаемостью Ц = 2000. Зависимости, приведенные на (рис.2.1), показывают, что диапазон наиболее выгодных рабочих частот генератора с катушками на ферритах равен 300 - - 1200 кГц. В этом диапазоне частот добротность контура составляет не менее 120 - 160.

На графике (рис.2.2) представлены кривые добротности колебательного контура в функции изменения зазора Q = / (б) для частот 500 и 760 кГц. Как видно из графика, добротность мало меняется при изменении зазора от 100 до 700 мкм. Кривые, показывающие зависимость от частоты добротностей катушек индуктивности, выполненных на броневых сердечниках из карбонильного железа, можно найти в работе.

Зависимости добротности катушек индуктивности с ферритовыми сердечниками от частоты при различных величинах воздушного зазора в магнитопроводе.

Рис.2.1

Зависимости добротности LC-контура от длины воздушного зазора в магнитопроводе катушки индуктивности с ферритовым сердечником для частот 500 и 760 кГц

Рис.2.2

Исходя из условий получения максимальной добротности, нецелесообразно выходную частоту LC-генератора выбирать ниже, чем 100-200 кГц, а также увеличивать выше нескольких мегагерц. Дальнейшее повышение частоты возможно только при использовании катушек индуктивности без ферромагнитных сердечников.

В значительной мере, как уже указывалось, погрешность от нестабильности частоты может быть уменьшена при переходе к дифференциальным датчикам. Поэтому иногда даже при использовании недифференциального датчика целесообразно применять опорный генератор, такой же, как и генератор датчика, но с постоянными элементами избирательной цепи .

Нелинейность частотных датчиков на основе LC-генераторов вызывается как нелинейностью преобразования величин L или С (или величин, обратных им) в частоту, так и нелинейностью первичного преобразователя. Так, например, емкость в емкостном преобразователе за счет наличия паразитных емкостей изменяется не строго обратно пропорционально воздушному зазору между пластинами или прямо пропорционально площади перекрывающихся пластин. В индуктивном преобразователе идеальные зависимости искажаются за счет полей рассеяния и отличного от нуля магнитного сопротивления сердечника.

Методы уменьшения погрешности линейности могут быть следующими: а) использование индуктивных преобразователей с сердечниками, имеющими высокое качество магнитной цепи, и емкостных преобразователей с малыми паразитными емкостями; б) использование специальных первичных преобразователей; в) построение дифференциальных датчиков и рациональный выбор рабочего участка их характеристики.

Высокое качество магнитной цепи или малые паразитные емкости дают возможность увеличить эффективность преобразования индуктивного или емкостного преобразователя, что в свою очередь приводит к уменьшению погрешности линейности. Обычно значение для первичного преобразователя лежит в диапазоне 0,2 - 0,8. Последнее значение относится к хорошо спроектированным преобразователям.

Для повышения линейности зависимости частоты от измеряемой величины разработаны также специальные частотные датчики. В работе предлагается строить индуктивные преобразователи для частотных датчиков в виде катушки с разомкнутой магнитной цепью и цилиндрическим сердечником из магнитно-мягких ферритов, перемещающимся по оси катушки. Линеаризация характеристики датчика в этом случае достигается профилированной намоткой катушки.

В работах предлагаются бипараметрические датчики, в которых изменение измеряемой величины приводит к одновременному изменению зазора в магнито-проводе катушки индуктивности и расстояния между пластинами конденсатора. Поскольку в таком датчике изменяются оба элемента контура, то уменьшается его погрешность линейности, однако полной линейности не достигается вследствие неравенства единице эффективности преобразования обоих первичных преобразователей.

Погрешность линейности может быть также уменьшена путем построения таких первичных преобразователей, у которых одновременно изменяется и эффективная площадь полюсов и зазор между ними. Примеры подобных преобразователей приведены на (рис.2.3). В преобразователе, показанном на (рис.2.3,а.), выполненном на основе броневого ферритового сердечника, полюсы двух половин сердечника сделаны скошенными, За счет этого при воздействии измеряемого перемещения 8 изменяются одновременно и длина воздушного зазора в магнитопроводе и эффективное сечение полюсов.

Конструкции первичных преобразователей частотных датчиков на основе LC-генераторов, обеспечивающие уменьшение погрешности линейности

Рис.2.3

Преобразователь, показанный на (рис.2.3,б.), выполнен также на основе броневого ферритового сердечника, но с постоянным зазором между двумя его половинами. Перемещается в этом преобразователе ферритовый стержень, вставленный в центральное отверстие сердечника. В преобразователе на (рис.2.3), в пластины емкостного преобразователя выполнены в виде круглых дисков с кольцевыми концентрическими выступами, что также способствует уменьшению погрешности линейности, так как с изменением δ изменяется и эффективная площадь пластин и зазор между ними. Следует, однако, заметить, что вследствие того, что изготовление и настройка подобных специальных первичных преобразователей сложнее, чем преобразователей с прямыми полюсами, на практике часто отдают предпочтение последним, а для уменьшения нелинейности уменьшают изменение зазора.

Практические значения девиации частоты датчиков с LC-генераторами лежат обычно в диапазоне 5-20%. Иногда строят датчики и с отличными от этих значений девиациями частоты, что вызывается спецификой примененных преобразователей.

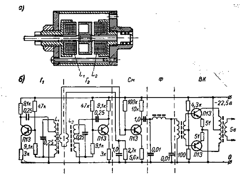
Примеры частотных датчиков на основе LC-генераторов. На (рис.2.4) показана конструкция дифференциального индуктивного первичного преобразователя и принципиальная схема датчика, предназначенного для измерения перемещений в пределах 0-400 мкм катушки индуктивности L1 и L2 контуров генераторов Г1 и Г2 размещены в разных половинах броневого оксиферового сердечника типа СБ-30. Измерительная цепь датчика содержит смеситель См, фильтр Ф и выходной усилительный каскад ВК. При изменении измеряемого перемещения от 0 до 200 мкм разность частот генераторов, являющаяся выходной частотой датчика, изменяется от 300 до 900 Гц. Начальные частоты генераторов составляют примерно10 кГц. Меняя начальный зазор в магнитопроводе датчика, можно получать значения чувствительности в пределах от 0,5 до 6 Гц/мкм. На (рис.2.5) представлен эскиз конструкции емкостного первичного преобразователя и принципиальная схема частотного датчика для измерения давления.

Конструкция индуктивного первичного преобразователя (а) и принципиальная схема (б) частотного датчика для измерения перемещений

Рис.2.4

Конструкция емкостного первичного преобразователя (а) и принципиальная схема частотного датчика давления (б)

Рис.2.5

Первичный преобразователь представляет собой фигурный стальной стакан 1, ввинчиваемый в резервуар, в котором контролируется давление. Дно стакана выполняется в виде стальной мембраны, толщина которой зависит от диапазона измеряемых давлений. На расстоянии 0,2 - 0,3мм от мембраны внутри стакана устанавливается цилиндрическая металлическая пластинка 3, укрепленная на изоляционной втулке 2, притертой к внутренней поверхности стакана. На пластинку наклеивается тонкий листок слюды 4. Особенностью схемы этого датчика является присоединение емкостного преобразователя С1 к LC-контуру через согласующий (понижающий) трансформатор L1 - L2, что уменьшает влияние емкости соединительного кабеля на частоту генератора.

Применением этого трансформатора можно достичь того, что изменение емкости кабеля будет сказываться на частоте генератора в 20-30 раз меньше, чем изменение на такую же величину емкости датчика. Уменьшение влияния емкости кабеля возможно и при присоединении к контуру емкостного преобразователя при помощи автотрансформатора.

На (рис.2.6) показана конструкция, и принципиальная схема одного канала двухканального дифференциального силоизмерительного датчика с индуктивным преобразователем. Измеряемое усилие (5 кН) деформирует овальный упругий элемент, что приводит к изменению зазоров в магнитопроводах четырех катушек индуктивности на величину 160 мкм, причем в двух катушках индуктивности зазор уменьшается, а в двух других - увеличивается. Принципиальная схема каждого из двух каналов датчика включает в себя два генератора, смеситель и выходной усилитель. Наличие двух независимых каналов увеличивает надежность работы измерительной системы. Начальные частоты генераторов лежат в диапазоне от 400 до 500 кГц. Выходная частота каждого канала при ненагруженном датчике может иметь одно из значений в диапазоне от 5 до 20 кГц и увеличивается ровно на 50 кГц при приложении к датчику номинального усилия.

На (рис.2.7) изображена схема генератора, использованного при построении частотного микрометра. Последовательный резонансный контур в этом генераторе позволяет уменьшить влияние емкости провода, соединяющего контур с остальными элементами генератора.

Конструкция индуктивного первичного преобразователя (а) и принципиальная схема (б) частотного силоизмерительного датчика

Генератор частотного микрометра с последовательным LC-контуром.

Рис.2.7

3. Измерение давления

.1 Общие сведения

Жидкие и газообразные вещества воздействуют с определенной силой на соприкасающиеся с ними тела. Величина этого воздействия, зависящая от свойств вещества и внешних факторов (температуры, сжатия и др.), характеризуется понятием давление.

Давлением называют отношение силы, действующей перпендикулярно поверхности к площади поверхности при условии равномерного распределения силы по всей площади. Различают абсолютное и избыточное давление.

Абсолютное давление - это полное давление газа или жидкости с учетом всех действующих сил, в том числе давления атмосферного воздуха. Избыточное давление - это разность между абсолютным и атмосферным давлением при условии, что абсолютное давление больше атмосферного. В технике, как правило, измеряют избыточное давление.

Абсолютное давление может быть меньше атмосферного. Если при этом их разность имеет небольшую величину, то ее называют разрежением, если она достаточно велика - вакуумом.

Для измерения избыточного давления применяют манометры, в связи, с чем это давление часто называют манометрическим. Разрежение и вакуум измеряют вакуумметрами, атмосферное давление - барометрами.

Единицей измерения давления в системе СИ является ньютон на квадратный метр (Н/м2). Однако выпускаемые приборы градуируют пока в старых единицах - миллиметрах водяного столба (мм вод. ст.), миллиметрах ртутного столба (мм. рт. ст.) и технических атмосферах (кгс/см2).

Одна техническая атмосфера равна давлению на площадь в 1 см2 столба ртути высотой 735,56 мм при температуре 0°С или столба воды высотой 10 м при температуре 4° С, т. е. 1 кгс/см2= = 735,56мм рт. ст. = 104мм вод. ст.

Вакуум измеряют в процентах атмосферного давления или в тех же единицах, что и давление. Средняя величина давления атмосферного воздуха определена в результате многочисленных измерений и составляет 760мм.рт.ст.,

3.2 Жидкостный U-образный манометр

Наиболее простой прибор для измерения избыточного давления - жидкостный U-образный манометр (рис.3.1), состоит из U-образной стеклянной трубки 1, прикрепленной к панели 2 скобами 3. Показания отсчитывают по шкале, располагаемой рядом с трубкой или за ней. Нулевую отметку шкалы устанавливают примерно посередине высоты трубки. До этого же уровня трубка заполнена жидкостью. Панель должна занимать строго вертикальное положение, чтобы уровень жидкости в правом и левом коленьях трубки был одинаковым.

Левое колено трубки соединено шлангом с объемом, где должно быть измерено давление, а правое колено оставляют открытым. Если измеряемое давление выше атмосферного, то уровень жидкости в левом колене трубки понизится, а в правом повысится. Когда прекратится перемещение жидкости, абсолютное давление в измеряемом объеме (ра) будет уравновешено суммарным давлением атмосферного воздуха (рв) и столба жидкости высотой h. Таким образом, разность уровней жидкости h пропорциональна избыточному давлению в измеряемом объеме, т. е. разности абсолютного и атмосферного давлений.

Этим же манометром можно измерять разрежение, однако в этом случае жидкость будет перемещаться в обратном направлении (уровень жидкости в левом колене будет выше, чем в правом). Если U-образный манометр используют для измерения и давления и разряжения, то его называют мановакуумметром. U-образным манометром можно измерять разность давлений. Для этого левое колено трубки соединяют с одной, а правое - со второй точками объема, между которыми необходимо измерить разность давлений. Манометр для измерения разности давлений называют дифференциальным манометром.

В качестве рабочей жидкости для манометров обычно применяют спирт, воду и ртуть, реже - масло. В случае использования спирта, масла и воды шкалу манометра градуируют в миллиметрах водяного столба, при использовании ртути - в миллиметрах ртутного столба.

Наибольшая величина давления, которая может быть измерена жидкостным манометром, зависит от высоты трубки и удельного веса жидкости. Высоту трубки нельзя брать слишком большой, так как такой манометр становится громоздким и неудобным для использования.

U-образный жидкостный манометр: трубка заполнена жидкостью, смачивающей стекло; б - форма мениска, если жидкость не смачивает стекло

Рис.3.1 Кроме того, допустимая величина давления ограничена механической прочностью стеклянной трубки.

По этим причинам спиртовые, масляные и водяные манометры изготовляют, как правило, на давления не выше 1000мм вод. ст., ртутные - на давления не выше 1500mm -рт. ст.

Точность измерения давления жидкостным манометром достаточно высокая. Например, измеряя давление, при котором высота столба жидкости превышает 100 мм, можно получить относительную погрешность менее 1 % [6].

Отсчет уровня жидкости в трубке ведут по выпуклой части мениска. Если жидкость омачивает стекло (спирт, вода), то мениск расположен выпуклой частью вниз (рис.3.1,а), а если не смачивает (ртуть), то - вверх (рис.3.1,б). Для повышения точности измерения внутренний диаметр трубки берут не менее 4-5 мм. На тепловозах U-образные манометры применяют при Испытаниях для измерения небольших давлений в системе наддува дизеля, давления охлаждающего воздуха в тяговых генераторах и коллекторных камерах тяговых электродвигателей и т. д. Но величине давления охлаждающего воздуха судят о его расходе и при необходимости корректируют.

3.3 Дифференциальный манометр

На тепловозах дифференциальным манометром (дифманометром) называют U-образный манометр, предназначенный для выполнения двух функции: измерения разрежения в картере дизеля и замыкания электрической цепи в системе управления дизелем при появлении давления, поскольку давление в картере часто указывает на серьезный дефект в дизеле (прогар поршня и др.), то замыкающий контакт дифманометра используют для включения реле, обеспечивающего остановку дизеля.

Дифференциальный манометр, применяемый на тепловозах ТЭП60, показан на (рис.3.2) Конструкция дифманометров тепловозов ТЭЗ и 2Т310Л практически такая же (несколько отличаются детали крепления).

В корпусе 1 из органического стекла просверлены два вертикальных и соединяющий их горизонтальный каналы. Выходное отверстие горизонтального канала заглушено пробкой 2. Через штуцер 4 левое колено (канал) манометра соединяют с картером дизеля. Правое колено через угольник 6 соединено с атмосферой.

Дифференциальный манометр

Рис.3.2

В него же введены два медных контакта 7, припаянных к выводным клеммам штепсельного разъема 5. Чтобы исключить возможность касания контактов и, следовательно, подачи ложного сигнала для остановки дизеля, установлена распорка 8. Шкала 3 отградуирована в миллиметрах водяного столба. Деления нанесены только на тех участках, где отсчитывают величины разрежения. Измерение величины давления не предусмотрено.

В качестве рабочей жидкости используют воду. Для улучшения электропроводности и подкрашивания воды, что облегчает считывание показаний, в лее добавляют 1-2% хромпика.

При остановленном дизеле уровень жидкости в дифманометре должен быть на отметке 0 (нуль). Нормальное разрежение-10, 60мм вод. ст. Длина контактов 7 выбрана такой, чтобы при давлении 10мм вод. ст. и более вода касалась их и замыкала электрическую цепь.

В случае резкого повышения давления вода из правого колена через угольник 6 выливается наружу. Это предотвращает повреждение дифманометра. На тепловозах ТЭП60 дифманометр устанавливают непосредственно на дизель-генераторе; на тепловозах ТЭЗ и 2ТЭ10Л - в кабине машиниста над столом помощника. Пружинные манометры. Манометры с одновитковыми трубчатыми пружинами получили наиболее широкое распространение для измерения избыточного давления в промышленных установках и на транспорте. Это объясняется простым устройством пружинных манометров, малыми габаритами и массой, высокой надежностью, широким диапазоном измеряемых давлений, простотой обслуживания и достаточно высокой точностью измерений. Предусмотрен выпуск пружинных манометров ГОСТ 8625- 69 следующих классов точности: 0,4; 0,6; 1; 1,5; 1,6; 2,5 и 4 с диаметрами корпусов 40, 60^ 100, 160, 250мм и верхними пределами измеряемых давлений от 0,6 до 1600 иге/см2. Имеются манометры с верхним пределом измеряемого давления 10000 кгс/см2.

Количество манометров, устанавливаемых на тепловозах различных типов, неодинаково. Однако можно выделить наиболее характерные точки, в которых измеряют давление. Давление воздуха измеряют в системе наддува дизеля (манометры с пределами измерения 0-2,5 кгс/см2), в тормозных цилиндрах, уравнительном резервуаре и магистрали низкого давления системы автоматики (0-10 кгс/см2), в тормозной магистрали и главном резервуаре тормозной системы (0-16 кгс/см2).

Давление масла измеряют в масляной системе дизеля до фильтра грубой очистки и после него, до фильтра тонкой очистки, в нагнетательном трубопроводе к охлаждающему устройству, в системе смазки турбокомпрессора, в масляных системах вспомогательных агрегатов: на входе в редуктор с гидромуфтой привода вентиляторов охлаждающего устройства (ТЭЗ, 2ТЭ10Л), в системах смазки переднего и заднего редукторов (2ТЭ10Л) и др. Для этих измерений используют манометры с пределами измерения О-6, 0-10 и 0-16 кгс/см2. В системе гидростатического привода вентиляторов охлаждающего устройства тепловоза ТЭП60 давление масла измеряют манометрами с пределами измерения 0- 250 кгс/см2.

Давление топлива контролируют до фильтра тонкой очистки и после него, используя манометры с пределами измерения 0- 10 кгс/см2.

Классы точности применяемых манометров 1,6 и 2,5. Диаметры корпусов - 100мм, реже - 60мм. Манометры для измерения давления в тормозной магистрали и главном резервуаре двухстрелочные. Все остальные манометры однострелочные. Типы применяемых манометров различны, но наиболее распространены однострелочные манометры типа МТК-100Б или МТК-100 (диаметр корпуса 100мм, классы точности 1,6 и 2,5) и двухстрелочные манометры типов МТП-381 и МП-2 (диаметр корпуса 100мм, класс точности 1,5 или 1,6).

Предусмотрено изготовление манометров специально для подвижного состава железнодорожного транспорта (ГОСТ 12716 - 67). В соответствии с этим стандартом будут выпускать манометры с диаметром корпуса 60 мм (классов точности 2,5 и 4) и 100 мм (классов точности 1,6 и 2,5). Верхние пределы измеряемого давления от 4 до 400 кгс/см2.

3.4 Двухстрелочные манометры

Двухстрелочные манометры типа МП-2 по ГОСТ 12716-67 уже устанавливают на тепловозах, однострелочные манометры разработаны и находятся в стадии эксплуатационных испытаний и отработки конструкции.

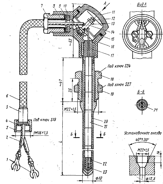
Несмотря на некоторые конструктивные отличия, принцип действия манометров с одновитковыми трубчатыми пружинами аналогичен. Основной элемент манометра (рис.3.3) - полая трубка (пружина Бурдона) 9, имеющая овальное или эллиптическое сечение и согнутая по дуге окружности. Один конец трубки, впаян в держатель 3, второй - закрыт пробкой 12. В верхней части держателя имеется плита (треугольной формы), на которой монтируют передаточный механизм, в нижней - расположен штуцер 1 с резьбой для присоединения манометра к резервуару, где необходимо измерять давление. Внутри штуцера просверлен канал, соединяющийся с внутренней полостью трубки 9. Сосок 17 предохраняет этот канал от перекрытия уплотняющей прокладкой. Держатель 3 прикреплен винтами к пластмассовому корпусу 4.

Отверстие в корпусе, через которое проходит штуцер /, закрыто резиновой шайбой 2. Для крепления манометра корпус 4 имеет фланец с тремя отверстиями. Свободный конец трубки 9 через шарнирные соединения и поводок 13 связан с хвостовиком зубчатого сектора 14. Сектор 14 может поворачиваться вокруг оси 15 и приводить во вращение трубку (маленькая шестерня) 8 .На оси трубки жестко закреплена указательная стрелка, конец которой подходит к шкале на циферблате 5. Циферблат прикреплен винтом 10 к стойке, установленной на держателе 3, и винтом 16 непосредственно к держателю. Трубка и зубчатый сектор установлены между двумя платами. Нижняя плата 11 прикреплена винтами к держателю 3, верхняя плата 6 с помощью двух стоек и винтов - к нижней плате. Оси трубки и зубчатого сектора вращаются в отверстиях плат 11 и 6. Чтобы устранить зазоры в зубчатой передаче и, следовательно, мертвый ход передаточного механизма, установлена спиральная пружинка 7. Один конец пружинки 7 прикреплен к трубке 8, а второй - к неподвижной стойке, соединяющей платы 6 и 11. Под действием момента, создаваемого пружинкой 7, зубья трубки 8 всегда прижаты к зубьям сектора 14.

Когда жидкость или газ, имеющие избыточное давление, поступают в упругую трубку 9, она деформируется. Малая ось овала увеличивается, а большая - несколько уменьшается, т. е. в сечении трубка стремится стать более круглой.

Однострелочный манометр типа МТК-100Б с трубчатой пружиной

Рис.3.3

Возникающая в результате этого сила незначительно раскручивает трубку, и свободный конец ее перемещается немного вправо и вверх. Благодаря этому на определенный угол повернутся зубчатый сектор 14, трубка 8 и стрелка, которая покажет величину давления. Такой манометр измеряет избыточное давление, так как деформация трубки определяется разностью давлений: абсолютного внутри нее и атмосферного, действующего на наружную поверхность трубки. Трубки круглого сечения не могут разгибаться под действием избыточного давления, поэтому в манометрах их не применяют.

Для измерения небольших давлений трубки изготовляют из сплавов меди, для больших давлений - из стали. Перемещение свободного конца трубки небольшое (от 2 до 15мм [5]), поэтому устанавливают передаточный механизм, обеспечивающий вращательное движение стрелки и значительно большее ее перемещение по сравнению со свободным концом трубки.

Шкала манометра концентрическая, т. е. ось стрелки находится в центре шкалы. Угол охвата шкалы 270°. Обычно диапазон измеряемого давления выбирают в таких пределах, где величина перемещения свободного конца трубки пропорциональна величине давления. Это позволяет сделать шкалу манометра равномерной.

Нулевой штрих шкалы манометра шире остальных, а первое деление в связи с этим более узкое. Объясняется это особым свойством трубки, которое называют упругим последействием. Проявляется оно в том, что после некоторого давления в трубке и последующего снижения его до нуля свободный конец трубки, а следовательно, и стрелка манометра возвращаются в исходное (нулевое) положение не сразу, а через некоторое время (минуты и даже часы). Это может ввести в заблуждение, так как стрелка манометра показывает хотя и небольшое, но все-таки отличное от нуля давление. Поэтому нулевой штрих на шкале манометра делают более широким. Протяженность нулевого штриха ограничена. Она не должна быть больше абсолютной величины допустимой основной погрешности. Для регулировки манометра в хвостовике зубчатого сектора 14 и нижней плате 11 сделаны прорези, позволяющие изменять соотношение плеч сектора 14 (перемещением поводка 13) и поворачивать весь механизм относительно центра (за счет поворота платы 11). Если измеряемое давление резко колеблется, то в штуцер 1 ввертывают демпфер 18. Отверстие внутри демпфера: имеет маленький диаметр, поэтому колебания давления после демпфера (внутри измерительной трубки манометра) становятся меньшими, чем до него. Если при колебаниях давления демпфер не устанавливать, то механизм манометра быстро изнашивается, а большая амплитуда колебаний стрелки затрудняет или вообще делает • невозможным считывание показаний манометра. При повреждении шуб™ 9 демпфер 18 сдерживает поступление измеряемой среды внутрь манометра. Кольцевой зазор между штуцером 1 и корпусом 4 позволяет измерительной среде при этом выходить наружу. Резьба на штуцере 1 трубная Va", квадрат - под ключ 17мм.

Применявшийся ранее двухстрелочный манометр типа МТП-381 имеет такое же устройство, как МП2 (рис.3.4). Манометр имеет два измерительных элемента - трубки пружинные 6 и 7, впаянные одним концом в держатель 8. Свободные концы трубок 6 и 7 закрыты заглушками и через тяги связаны с двумя независимыми передаточными механизмами.

Трубка 6 с помощью наконечника 30 и тяг 31, 32 соединена с хвостовиком зубчатого сектора 22, напрессованного на ось 21, Поворачиваясь вокруг оси, сектор 22 приводит во вращение трубку 10 и связанную с ней указательную стрелку 2. Для регулировки передаточного механизма в наконечнике 30, тяге 31 и хвостовике зубчатого сектора 22 сделаны прорези.

Аналогичным образом трубка 7 связана с зубчатым сектором 18. Сектор 18 напрессован на ось 17 и при повороте приводит во вращение трубку 11 с указательной стрелкой 1. Ось стрелки 1 проходит внутри полой оси стрелки 2 и трубки 10. Оси зубчатых секторов и трубок вращаются в отверстиях плат 14, 19 и 20, 24. Платы скреплены между собой четырьмя колонками, две из них 16 и 23 видны на рисунке. Весь механизм крепят винтами к держателю 8, а держатель 8 - к металлическому корпусу 9 манометра. Для устранения зазоров в зубчатых передачах и шарнирах тяг установлены спиральные пружинки 15 и 25.

Двухстрелочный манометр с трубчатыми пружинами

Рис.3.4

Один конец пружинок крепят к трубкам 10 и 11, другой - у пружинки 25 закреплен в кронштейне 26, у пружинки 15 - в верхней колонке, соединяющей платы 14 и 19. Манометр имеет два присоединительных штуцера 12 и 13 с резьбой М12 Х1.5 и размером под ключ 12 мм. Внутренняя полость трубки 6 через соединительную трубочку 34 и каналы в держателе 8 связана со штуцером 13; внутренняя полость трубки 7 через каналы в держателе - со штуцером 12. Штуцер 12, присоединяемый к тормозной магистрали воздухопровода, и стрелка 1, показывающая величину давления в кем, окрашены в черный цвет, штуцер 13, присоединяемый к питательной магистрали (главным резервуарам) воздухопровода, и стрелка 2 - в красный цвет.

Шкала с делениями от 0 до 16 кгс/см2 и утлом охвата 270° нанесена на циферблате 5. Циферблат крепят двумя винтами к стойкам 27 и 33.

Для предохранения стекла 3 манометра от разрушения в случае повреждения трубчатой пружины в корпусе 9 сделано отверстие, обеспечивающее сброс воздуха из внутренней полости прибора в атмосферу. Это отверстие с внутренней стороны заклеено фольгой 28, а снаружи закрыто табличкой 29. Слева у таблички под головкой крепежного винта имеется прорезь, благодаря которой при появлении давления и разрыве фольги левый край таблички выходит из-под головки винта, открывая отверстие для сброса воздуха.

В корпусе прибора предусмотрены окна 4 для освещения шкалы. При необходимости в штуцера 12 и 13 могут быть ввинчены демпферы, аналогичные демпферу 18 (см. рис.3.3).

Величина пульсации давления, особенно в топливных системах дизелей, часто достигает довольно больших значений (3- 4 кгс/см2). Причины возникновения пульсаций различны: резкое изменение частоты вращения вала насоса при пуске дизеля или быстром наборе позиций контроллера машиниста; работа подкачивающих насосов и др. В этом случае для уменьшения величины пульсации давления до допустимого значения необходимо перед манометром устанавливать дополнительный демпфер.

Пластинчатый демпфер типа Д-004 (рис.3.5,а) предназначен для использования с дистанционными манометрами типа ЭДМУ.

Демпферы: а, б -пластинчатые; в - игольчатый

Рис.3.5

Применяется он также с манометрами типа МТК-100Б (чаще всего при измерении давления в топливной системе дизеля). Поскольку резьбы на штуцере манометра МТК-100Б и демпфере Д-004 различны, их соединяют через переходник.

В корпусе 1 демпфера с помощью стопора 2 закреплен пакет специальных шайб 5, чередующихся с прокладками 4. На входе в демпфер установлен фильтр 3, представляющий собой латунную сетку. Шайбы 5 имеют по два отверстия малого диаметра (0,5мм). Взаимное расположение шайб и, следовательно, их отверстий, произвольное. Количество шайб в демпфере 12-14.

На тепловозах применяют также пластинчатый демпфер, показанный на (рис.3.5,рис.3.6). В шестигранный корпус 7 (размер под ключ 24мм) вставлен пакет из шести шайб 5, прокладок 6 и шайбы 8. Пакет закреплен с помощью стопора 4. Стопор 4 и ввернутый в корпус штуцер 1 законтрены пружиной 3. Медная прокладка 2 герметизирует соединение. Шайбы 5 имеют по одному отверстию диаметром 1мм, смещенному относительно оси на 5мм. При установке шайбы располагают так, чтобы отверстия в соседних шайбах занимали диаметрально противоположное положение. Шайба 8 имеет одно центральное отверстие диаметром 1мм. Уменьшение пульсаций в пластинчатом демпфере достигается благодаря сопротивлению, которое оказывает пакет шайб прохождению измеряемой среды.

Игольчатый демпфер (рис.3.5,в) разработан для использования с однострелочными манометрами типа МП (резьба на штуцере М20Х1.5). В корпусе 1 демпфера с помощью гайки 2 закреплен корпус 3 с ввинченной в него регулировочной иглой 4. Игла 4 стопорится в установленном положении пружиной 6, опирающейся на шайбу 7. Герметичность соединений обеспечивают уплотняющими прокладками 5, 8, 9 и 10. ,

Уменьшение пульсаций достигается благодаря сопротивлению, возникающему в кольцевом зазоре между конусом регулировочной иглы 4 и седлом корпуса 3. Зазор можно регулировать, ввертывая или вывертывая иглу с помощью ключа за наружный трехгранник. Наилучшее положение иглы такое, при котором амплитуда колебаний стрелки манометра имеет наименьшее значение.

Соединение манометра с источником давления

Рис.3.6

На корпусе 1 демпфера имеется внутренняя и наружная резьба М20Х1.5. Внутренняя резьба необходима для навинчивания демпфера на штуцер манометра, наружная - для соединения демпфера с измерительным трубопроводом.

Правильность показаний манометров определяется не только исправным состоянием приборов, но также правильностью монтажа и эксплуатации их на тепловозе. Манометры устанавливают на пультах управления в кабинах тепловозов, на щитках в машинных помещениях, имеются также отдельно стоящие манометры. Для машинных помещений предпочтительна установка манометров на амортизированных щитках, так как это уменьшает вредное воздействие на них вибрации. Место установки прибора должно обеспечивать удобство обслуживания и хорошую видимость шкалы.

Манометры необходимо выбирать таким образом, чтобы измеряемое давление составляло 1/3 - 2/3 верхнего предела шкалы. К источникам давления манометры присоединяют при помощи трубопроводов.

К манометру 1 (рис.3.6) при помощи накидной гайки 2 и ниппеля 4 присоединен компенсатор 5. Для герметизации соединения устанавливают прокладку 3 из меди или фибры. Не допускается применять для уплотнения паклю и сурик. При навертывании накидной гайки штуцер манометра необходимо поддерживать гаечным ключом. Компенсатор 5 представляет собой согнутую кольцом медную трубку. Он компенсирует деформации и перекосы трубопровода, уменьшает в местах соединений механические напряжения от вибрации. Нижний конец компенсатора присоединен к стальной трубке 6, которая прокладывается к месту измерения - трубопроводу 10. Трубка 6 и труба 10 соединены при помощи шарового соединения, состоящего из сферического наконечника 7, накидной гайки 8 и штуцера 9. Внутренний диаметр трубок 5 и 6 должен быть не менее 3мм. Штуцер для отбора давления необходимо устанавливать на прямых участках трубопровода, чтобы не было искривлений и завихрений потока, которые могут исказить результаты измерения.

3.5 Электpические дистанционные манометры

Унифицированные электрические манометры типа ЭДМУ предназначены для дистанционного измерения непулысирующего давления жидкостей и газов. Манометр состоит из приемника давления, устанавливаемого в непосредственной близости от места измерения давления, и электрического указателя, устанавливаемого обычно на пульте управления машиниста. Приемник давления соединяют с указателем электрическими проводами. Манометры питаются от сети постоянного тока напряжением 27В ±10%. Класс точности прибора в пределах рабочего участка шкалы - 4. Основные данные манометров ЭДМУ приведены в табл.3.1 Таблица 3.1

Основные данные манометров ЭДМУ

Параметры

Типы манометров


ЭДМУ-I

ЭДМУ-3

ЭДМУ-6

ЭДМУ-15Ш

ЭДМУ-80

Диапазон измерения, кгс/см2

 0-1

 0-3

 0-6

 0-15

 0-80

Рабочий участок шкалы, кгс/см2

0-0,6

0,6-2,4

1-5

2-13

5-60

Допускаемая перегрузка, кгс/см2

 1,5

 4,5

 9

 22,5

 100


На тепловозах в основном применяют манометры ЭДМУ-6 и ЭДМУ-15Ш для дистанционного измерения избыточного давления в масляной (на входе в двигатель) и топливной (после фильтра тонкой очистки) системах дизелей.

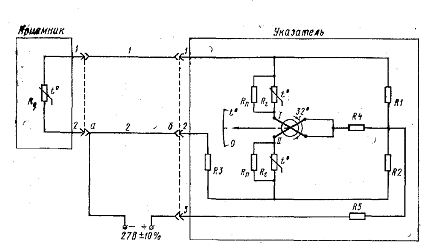
Принцип действия манометров ЭДМУ заключается в следующем (рис.3.7). Измеряемая среда, поступая в приемник давления, воздействует на чувствительный элемент - упругую мембрану, которая деформируется и через передаточный механизм передвигает контакт с, скользящий по потенциометру R. Если давление увеличивается, контакт с перемещается вниз, если уменьшается вверх. В результате каждому значению измеряемого давления соответствует определенное положение контакта с и определенное электрическое сопротивление участков ас и вс потенциометра R. На тепловозах в основном применяют манометры ЭДМУ-6 и ЭДМУ-15Ш для дистанционного измерения избыточного давления в масляной (на входе в двигатель) и топливной (после фильтра тонкой очистки) системах дизелей.

Принципиальная схема электрического дистанционного манометра ЭДМУ

Рис.3.7

Принцип действия манометров ЭДМУ заключается в следующем (рис.3.7). Измеряемая среда, поступая в приемник давления, воздействует на чувствительный элемент - упругую мембрану, которая деформируется и через передаточный механизм передвигает контакт с, скользящий по потенциометру R. Если давление увеличивается, контакт с перемещается вниз, если уменьшается- вверх. В результате каждому значению измеряемого давления соответствует определенное положение контакта с и определенное электрическое сопротивление участков ас и вс потенциометра R. Соотношение сопротивлений ас и вс измеряют магнитоэлектрическим логометром, состоящим из двух неподвижных рамок I и II, расположенных под углом 120° друг к другу, и подвижного постоянного магнита М, вращающегося в магнитном поле рамок. Рамки логометра включены в диагональ мостовой схемы Андерсена, два плеча которой образуют переменные сопротивления ас и вс, а два других плеча - нерегулируемые резисторы R1 и R2. Напряжение литания подводят ко второй диагонали моста. Резисторы R3 и R4 образуют полудиагональ. Рамки логометра имеют одинаковое число витков, но по конструктивным соображениям размеры рамки I выполнены большими, чем рамки II. Чтобы сделать сопротивление рамок одинаковым, в схему включен резистор R5. Под действием питающего напряжения в рамках логометра протекают токи иобразующие магнитные поля рамок. Взаимодействуя между собой, магнитные поля образуют результирующее поле, вдоль оси которого устанавливаются подвижной магнит М и связанная с ним указательная стрелка прибора. Величины сопротивлений резисторов выбраны' такими, что при отсутствии избыточного давления (р-0) ток в рамке 7 имеет наибольшее значение, а ток в рамке II равен нулю. Поскольку магнитное поле при этом создается только рамкой I, подвижной магнит М устанавливается вдоль ее оси, а стрелка указывает на нулевую отметку шкалы. По мере увеличения давления подвижной контакт с перемещается к точке в, сопротивление участка ас потенциометра увеличивается, а участка вс - уменьшается. В связи с этим ток и магнитный поток рамки I будут уменьшаться, а рамки II - увеличиваться. Ось результирующего магнитного поля при этом поворачивается по часовой стрелке. В том же направлении поворачивается магнит М со стрелкой, указывающей увеличение давления. При среднем значении давления (р=0,5 рмах) мостовая схема делается полностью симметричной. Благодаря равенству токов ось результирующего магнитного поля располагается под равными углами (60°) к осям рамок / и //. Когда давление достигнет максимального значения (рмах), ток в рамке 7 станет, равен нулю. Магнит М при этом располагается вдоль оси рамки //, а стрелка прибора указывает на предельную отметку шкалы (рмах). Если источник питания манометра отключен (токи в рамках равны нулю), подвижной магнит и стрелка прибора могут находиться в произвольном положении. Чтобы вернуть стрелку к нулю шкалы, установлен дополнительный неподвижный магнит т, взаимодействующий с подвижным магнитом М. Величины сопротивлений схемы ЭДМУ приведены в табл. 2.

Таблица 3.2

 Параметры

Условные обозначения


Rав

Рамка I

Рамка II

R1

R2

КЗ

R4

R5

Сопротивление, Ом

255

2X140

2Х110

1250

1250

300

2120

50

Материал провода

Константан

Медь

Константан

Медь


Резисторы R3 и R5 предназначены для регулировки прибора. Их сопротивления можно изменять соответственно от 100 до 350 Ом и от 20 до 65 Ом. Компенсацию температурных погрешностей, возникающих из-за изменения сопротивлений рамок лото-метра, обеспечивают за счет выполнения резисторов R4 и R5 из медной проволоки. Важным преимуществом рассмотренной схемы является то, что колебания питающего напряжения практически не влияют на (результаты измерения.

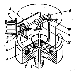
Механизм приемника давления манометра смонтирован в герметичном алюминиевом корпусе (рис.3.8). В основании 3 корпуса закреплена гофрированная мембрана 2, являющаяся чувствительным элементом приемника. Измеряемое давление подается в полость под мембраной через динамический штуцер 1 с резьбой М12Х1. При увеличении давления мембрана 2 деформируется и через шток 4 передает движение качалке 12. Качалка поворачивается и, нажимая на паводок 9, перемещает его вокруг оси 11. В поводке 9 с помощью изоляционных втулок закреплен щеткодержатель 8 со щетками (подвижным контактом) 5, которые при повороте поводка скользят по проволочному потенциометру 6. При уменьшении давления обратное движение механизма происходит под действием возвратной пружины 10.

Щеткодержатель 8 и потенциометр 6 соединены электрическими проводами с контактными штырями вилки 7, имеющей наружную резьбу М20Х1.

Приемники манометров ЭДМУ-1, ЭДМУ-3 и ЭДМУ-6 отличаются от рассмотренного наличием второго (статического) штуцера, через который можно подать противодавление или статическое давление. У приемников ЭДМУ-1 и ЭДМУ-3, кроме того, иная конструкция чувствительного элемента (выполнен в виде упругой бронзовой коробки). Ход штока у всех приемщиков оди-4-960наков (1 -1,2 мм), а характеристики чувствительных элементов различны (разная толщина мембран).

Основной элемент указателя манометра (рис.3.9) - логометр 5 закреплен на алюминиевом основании 3 с помощью двух стоек 6. К стойкам 6 крепят также циферблат 2. Шкалу указателя градуируют в килограммсила на квадратный сантиметр.

Кинематическая схема приемника давления манометра ЭДМУ-15Ш

Рис.3.8

Указатель

Рис.3.9

Кроме логометра, на основании 3 установлены резисторы R1, ..., R5 и трехконтактная вилка 4 штепсельного разъема с резьбой М20Х1. Кожух 1 указателя дюралюминиевый, брызгонепроницаемый, со стеклом для наблюдения за шкалой.

Магнитоэлектрический логометр (рис.3.10) имеет подвижную и неподвижную системы. Подвижная система логометра состоит из постоянного магнита 2, изготовленного из железо-никель-алюминий-кобальтового сплава, указательной стрелки 1 и крестовины 5 с балансировочными грузиками. Все эти элементы жестко закреплены на оси 4, имеющей на концах кобальто-вольфрамовые керны 3, опирающиеся на агатовые подпятники- Магнит 2 и один из подпятников размещены внутри медного демпфера 7, закрепленного на стойках 6 и 10.

При колебаниях подвижной системы постоянный магнит 2 перемещается внутри демпфера и под действием его магнитного потока в теле демпфера наводятся вихревые токи.

Логометр

Рис.10

Магнитное поле, созданное вихревыми токами, взаимодействует с полем магнита 2. В результате появляется сила, противодействующая повороту магнита и, следовательно, всей подвижной системы, что приводит к успокоению колебаний.

Чтобы величины вихревых токов и, следовательно, тормозящей силы были достаточно большими, демпфер изготовляют из меди-материала с малым электрическим сопротивлением.

Демпфер 7 охвачен двумя парами прямоугольных рамок I и II, расположенных под углом 120° друг к другу. Каждая пара рамок соединена последовательно. Чтобы обеспечить правильное взаимное положение рамок, на демпфере сделаны ребра и установлены пружинящие пластины 8. Постоянный магнит 11, необходимый для установки стрелки на нуль при выключенном питании, закреплен неподвижно в передней части логометра. Экран 9 из пермаллоя защищает логометр от вредного влияния внешних магнитных полей. Через экран 9 замыкаются также магнитные поля рамок I и II.

Указатели всех манометров типа ЭДМУ имеют одинаковое устройство. Они отличаются друг от друга только градуировкой шкалы.

Установка на тепловозе приемников давления показана на примере манометра ЭДМУ-15Ш (рис.3.11). Приемник 11 давления установлен на кронштейне 12 и закреплен на нем с помощью гайки 10 (резьба М18Х X1,5).

Установка приемника давления на тепловозе

Рис.3.11

Место установки приемника на дизеле или стенке кузова выбирают так, чтобы величина вибрации была возможно меньшей, а расстояние до точки измерения давления небольшим. Если необходимо измерять

пульсирующее давление, то для гашения пульсаций применяют демпфер 9 типа Д-004 (см. рис.3.5, а), который навинчивают непосредственно на штуцер приемника давления.

С местом измерения давления .приемник (см. рис.3.11) соединяют с помощью маслостойкого дюритового шланга 6 диаметром 4X12 мм. Для защиты от механических повреждений шланг заключен в металлическую оплетку. Наконечник 7 шланга с помощью накидной гайки 8 соединяют со штуцером демпфера 9 или штуцером приемника 11, если демпфер отсутствует.

В трубопроводе, где необходимо измерить давление, сверлят отверстие и приваривают грибок 1. Наконечник 5 шланга соединяют с грибком 1 с помощью пробки 3, имеющей одно осевое и два радиальных отверстия для пропуска измеряемой среды из основного трубопровода во внутреннюю полость шланга. Для герметизации соединения устанавливают медные прокладки 2. После затягивания пробку 3 контрят проволокой 4. Этим же способом контрят гайки 8, 10 и демпфер 9 (на рис.3.11 проволока не показана) .

На тепловозах ТЭП60 для гашения пульсаций давления топлива используют пластинчатый демпфер (см. рис.3.5,3.6).

Устанавливают демпфер непосредственно в месте измерения давления и через тройник присоединяют к нему гибкие шланги, идущие к двум приемникам давления. Указатели этих манометров установлены на пультах управления передней и задней кабин тепловоза.

Электрические провода к приемнику давления подключают с помощью штепсельного разъема 13 типа ШПЛМ-3. Такой же разъем используют для подключения проводов к указателю.

Если расстояние между приемником давления и указателем не превышает 15 м, то достаточно принять сечение проводов 0,5- 0,75 мм2, чтобы их сопротивление не влияло на показания прибора.

При соединении проводами штепсельных разъемов по схеме, изображенной на рис. 7, необходимо соблюдать нумерацию штырьков, обозначенную цифрами на колодочках разъемов. Для предохранения изоляции проводов от механического повреждения и попадания на нее масла и топлива применяют полихлорвиниловую трубку 16. Разъем защищают резиновым чехлом 14, который фиксируют в требуемом положении бандажом из ниток 15. Для уплотнения соединений применяют полихлорвиниловую изоляционную ленту.

Приемники давления манометров ЭДМУ-1, ЭДМУ-3, ЭДМУ-6 и ЭДМУ-80 завод-изготовитель рекомендует соединять с источниками давления медными или алюминиевыми трубопроводами диаметром 4X6 мм с использованием ниппелей и накидных гаек, а статический штуцер манометра ЭДМУ-6 - дюритовым шлангом диаметром 4X12 мм.

Электрические соединения всех манометров выполняют аналогично описанному для манометра ЭДМУ-15Ш. Ток, потребляемый одним манометром, не превышает 0,1 А при напряжении 27 В.

4. Измерение температуры

.1 Общие сведения

Температура тела характеризует его внутреннюю анергию. При изменении температуры изменяются физические свойства: размеры тела, объем жидкости, давление газа или насыщенных ларов, сопротивление проводников и полупроводников, термоэлектродвижущая сила двух проводников, изготовленных из разных материалов, и др. Это обстоятельство используют при создании приборов для измерения температуры.

Шкалы приборов градуируют в градусах международной стоградусной шкалы (°С), т. е. в градусах Цельсия, названных так по имени ученого, предложившего следующее деление шкалы. Температуру, при которой происходит таяние льда, принимают за нулевое значение - 0°С, а температуру кипения воды при нормальных условиях - 100° С. Полученный промежуток делят на 100 равных частей. Ниже точки 0°С и выше 100° С наносят деления той же величины.

Такое определение градуса имеет ряд недостатков: длина деления жидкостного термометра зависит от свойств жидкости и сорта стекла; теоретические расчеты значительно усложняет то обстоятельство, что давление газа, заключенного в постоянном объеме, не пропорционально величине температуры, измеренной в градусах Цельсия, и т. д.

Поэтому в системе СИ принята шкала абсолютных температур или шкала Кельвина (градус Кельвина - К), которая определена на основании общих физических законов и не зависит от свойств рабочего вещества термометра. Абсолютный нуль температуры по этой шкале соответствует такому состоянию вещества,. когда энергия теплового движения молекул и атомов равна нулю. Английский физик Кельвин доказал, что ни одно тело не может быть охлаждено ниже этой температуры. Абсолютный нуль температуры равен - 273, 15° С. Переход от температуры, отсчитанной в градусах Цельсия (Т°C), к температуре, отсчитанной, в градусах Кельвина (Т°К), производят по формуле. Жидкостные стеклянные термометры. Принцип действия термометров этого типа основан на свойстве тел расширяться при нагревании. Поскольку объемный температурный коэффициент расширения жидкости много больше, чем у стекла, уровень столба жидкости в стеклянной трубке изменяется при изменении температуры. Очевидно, что жидкостным термометром можно пользоваться только для измерения тех температур, при которых жидкость не превращается в пар и не затвердевает.

Наиболее распространены ртутные термометры, применяемые для измерения температур от -30 до +500°С. Температура кипения ртути 356,9° С; поэтому у термометров, предназначенных для измерения температуры выше 300° С, пространство в капилляре над ртутью заполняют инертным газом (азотом) под давлением 20-25 кгс/см2. При этом температура кипения ртути повышается до 560°С.

Для измерения температур ниже -30°С применяют органические жидкости: этиловый спирт до -130°С, толуол до -90°С, пентан до - 190°С и петролейный эфир до -130°С.

4.2 Ртутные термометры

На тепловозах в основном используют технические ртутные термометры, изготавливаемые в соответствии с ГОСТ 2823-59. Устанавливают их, как правило, временно на период проведения испытаний. Контролируют температуру воды на входе и выходе из дизеля, температуру воды до и после холодильника: надувочного воздуха, температуру масла на входе и выходе из дизеля и др. Технические ртутные стеклянные термометры (рис.4.1) выпускают двух типов: тип А - прямые и тип Б - угловые. Ртуть, заполняющая резервуар 7, при расширении поднимается по капиллярной трубке (капилляру) 2. Отсчет производят по шкале, нанесенной на прямоугольной пластине стекла молочного цвета 3. Капиллярную трубку крепят к шкальной пластине проволокой 5 диаметром 0,2-6,3 мм.

Измерительная часть термометра помещена в стеклянную оболочку 4, верхнее отверстие которой закрыто корковой пробкой 1, покрытой для герметизации гипсом и лаком.

В нижней части термометра капиллярную трубку закрепляют с помощью асбестовых пробок 6, располагаемых равномерно по .всей длине.

Установлено три размера верхней части термометров L: НО, 160, 220мм. Длина нижней части термометров: тип А-60, 80, 100, 120, 160, 200, 250, 320, 400, 500, 630, 800, 1000, 1250, 1600, 2000мм; тип Б - ПО, 130, 150, 170, 210, 250, 300, 370, 450, 550, 680, 850, 1050, 1300мм. Диаметр нижней части термометра d при l меньше или равном 630мм (тип А) и 680мм (тип Б) принят равным 8мм; для больших величин - d=9 мм. Пределы измерений и цена наименьшего деления шкалы приведены в табл. 3. Допустимые погрешности термометров не превышают одного деления. Ртутные термометры используют для местного контроля температуры. Их помещают в специальные гильзы в местах, удобных для наблюдения. При отсчете глаза наблюдателя должны быть на одном уровне с мениском жидкости в капилляре. Гильза (карман) для установки термометра (рис.4.2) состоит из трубки 3, один конец которой закрыт заглушкой 5, а второй вварен в штуцер 2. Штуцер 2, имеющий коническую резьбу, вворачивают в патрубок 4, приваренный к трубе или емкости, в которой необходимо измерять температуру.

Технические ртутные термометры

Рис.4.1

Гильза для установки ртутного термометра

Рис.4.2

Таблица 4.1

Номера термометров типовА и Б

Пределы измерений, °С

Длина верхней части термометров, мм



220

160

110



Цена наименьшего деления шкалы, °С

1

0+-50

0,5

0,5(1)

1

2

-35-+50

0,5(1)

1

1(2)

3

0-+100

1

1(2)

2

4

0-+150

1(2)

2

2(5)

5

0-+200

2

2(5)

5

6

0-+250

2(5)

5

5(10)

7

0-+300

2(5)

5

5(10)

8

0-+350

5

5(10)

10

9

0-+400

5

5 (10)

10

10

0-+450

5(10)

10

-

11

0-+500

5(10)

10

-


Чтобы исключить циркуляцию и охлаждение воздуха в гильзе, установлена резиновая пробка 1. Обычно в этом месте термометр дополнительно обматывают асбестовым шнуром. Нельзя допускать, чтобы термометр касался стенок гильзы.

Для улучшения теплопередачи при измерении температур до 150°С в гильзу можно залить немного масла (на высоту погружения резервуара термометра), а при температурах больше 150° С - засыпать мелкий песок.

Необходимо обеспечить хорошее омывание гильзы средой. Для этого гильзу располагают перпендикулярно оси трубопровода, в котором измеряют температуру. Если диаметр трубопровода небольшой, гильзу устанавливают наклонно навстречу потоку.

Для предохранения стеклянной оболочки термометра от повреждения (при установке термометра на длительное время) применяют металлические оправы, изготовляемые по ГОСТ 3029-59. Как и термометры, оправы выполняют прямыми и угловыми (с углом 90 и 135°). Для крепления у оправы имеется штуцер с резьбой.

Ртутные Стеклянные термометры обладают малой механической прочностью, их показания невозможно передавать на расстояние, из-за плохой видимости ртути в капилляре и нечеткости шкалы определить показание трудно. Термометрам свойственна тепловая инерция (запаздывание показаний), т. е. необходимость определенного времени на прогрев или охлаждение ртути до температуры окружающей среды.

Однако ртутные термометры применяются все еще широко благодаря таким положительным качествам, как простота устройства, малая стоимость, наглядность и достаточно высокая точность измерения.

4.3 Манометрические термометры

Манометрический термометр представляет собой герметичную систему, состоящую из термобаллона, устанавливаемого в месте измерения температуры; соединительного капилляра (медная или стальная трубка с внутренним диаметром 0,2-0,4 мм) и манометра. Внутренняя полость системы может быть заполнена жидкостью, газом или жидкостью и насыщенным паром. В зависимости от этого манометрические термометры называют жидкостными, газовыми или парожидкостными (паровыми).

Объем жидкости и давление газа или пара определенным образом зависит от температуры, поэтому при изменении температуры будут изменяться показания манометра, шкалу которого градуируют в градусах Цельсия. В зависимости от рабочего вещества манометрическими термометрами можно измерять температуру от -50 до +550°С [6]. Шкала жидкостных и газовых термометров равномерная, а парожидкостных - неравномерная. Однако парожидкостные термометры имеют более высокую чувствительность, меньшую инерционность и меньшие размеры термобаллонов. Для газовых и жидкостных манометрических термометров ГОСТ 8624-71 устанавливает классы точности 1; 1,5; 2,5; для парожидкостных - 1,5; 2,5 и 4.

На тепловозах наиболее широкое применение нашли парожидкостные манометрические термометры типов ТПП-071, ТПП-082 (сняты с производства) и ТПП2-В, выпускаемые в настоящее время. Используют их для измерения температуры в масляной и водяной системах дизеля, в водяной системе котла-подогревателя и др.

При изменении температуры в месте установки термобаллона изменяется давление насыщенного пара ,в нем, что в свою очередь вызывает изменение показаний прибора.

Манометрический термометр типа ТПП2-В

Рис.4.3

Зависимость давления насыщенного пара от температуры нелинейная, поэтому шкала термометра получается неравномерной с увеличением ширины делений к концу шкалы. Количество жидкости в термобаллоне выбирают таким образом, чтобы при самой низкой измеряемой температуре, когда объем жидкости увеличивается, в термобаллоне оставалось пространство, заполненное паром; а при самой высокой измеряемой температуре, когда увеличивается объем пара, оставалось определенное пространство, заполненное жидкостью.

Термометры ТПП2-В могут иметь шкалу с пределами измерения 0-120°С и 25-125°С, класс точности - 4. Для защиты капилляра от механических повреждений применяют металлическую оплетку 3, а в местах его соединения с указателем 1 и термобаллоном 9 дополнительно защищают оболочкой 2 пружинного типа либо металлорукавом. При выходе из термобаллона капилляр согнут кольцом и закреплен с помощью скобы 6 и гайки 5.

При заказе прибора длину капилляра выбирают из ряда: 1,6; 2; 2,5; 4; 6; 8; 10; 12 м. В месте установки термобаллон крепят с помощью накидной гайки 7 (резьба М18Х1.5). Прокладка 8 из фибры герметизирует соединение.

Минимальный радиус закругления в местах перегиба капилляра должен быть не менее 50 мм. Капилляр прокладывают в наиболее безопасных местах, так как его повреждение приводит к полному выходу прибора из строя.

Чтобы показания термометра были правильными, разность высот расположения указателя и термобаллона не должна превышать 1м. Термометры ТПП2-В виброустойчивые. Допускается воздействие вибрации с ускорением 15 м/с2 для указателя и 40 м/с2 для приемника в диапазоне частот от 5 до 80 Гц.

4.4 Электрические термометры сопротивления

Для дистанционного измерения температуры воды и масла дизеля на ведущей и ведомой секциях тепловоза применяют электрические термометры сопротивления. Принцип действия этих термометров основан на свойстве проводников и полупроводников менять электрическое сопротивление в зависимости от температуры. Измеряя величину сопротивления с помощью специального измерительного устройства, судят о величине температуры среды, в которую помещен приемник с чувствительным элементом (проводником или полупроводником).

Длительное время на тепловозах применялись термометры сопротивления типа ТУЭ-48 [7]. Теперь практически на всех магистральных тепловозах устанавливают полупроводниковые термометры сопротивления типа ТП-2. Термометр ТП-2 состоит из приемника типа ПП-2 и указателя типа ТУЭ-8А. Диапазон измерений температуры термометром ТП-2 от 0 до 120° С. Рабочие диапазоны от 15 до 25°С и от 75 до 90° С. Погрешности в рабочих диапазонах не превышают величин приведённых в (табл. 4.2)

Таблица 4.2

Температура воздуха, окружающего указатель, °С

+20±5

+40 ±5

-40 ±5

Погрешность, °С

±4

±5,5

±7


В диапазонах от 0 до +10°С и от +100 до +120° С погрешности не оговариваются; в остальных диапазонах они не должны превышать удвоенной величины, приведенной выше.

Термочувствительным элементом термометра ТП-2 (рис.4.4) является полупроводниковый терморезистор Rq. Приемник термометра вместе с встроенным в него терморезистором Rq устанавливают в месте измерения температуры.

Указатель прибора - магнитоэлектрический логометр - включен в диагональ мостовой измерительной схемы. Два плеча этой схемы образуют нерегулируемые резисторы R1 и R2, а два других плеча - нерегулируемый резистор R3 и терморезистор Rq, величина сопротивления которого переменна (зависит от температуры измеряемой среды). Резистор R4 образует полудиагональ моста. Вторую диагональ моста через резистор R5 подключают к источнику питания постоянного тока напряжением 27 В± ±10%. Применение мостовой измерительной схемы существенно повышает чувствительность прибора.

Принципиальная схема электрического термометра сопротивления ТП-2

Рис.4.4

Измерительный механизм логометра состоит из двух подвижных рамок I, II, жестко закрепленных на оси под углом 32° друг к другу. Рамки вращаются в неравномерном магнитном поле, создаваемом постоянным магнитом (на схеме не показан), и перемещают вдоль шкалы указательную стрелку.

Вращающие моменты рамок I и II направлены навстречу друг другу. При изменении температуры и, следовательно, величины Рис. 15. Принципиальная схема электрического термометра сопротивления ТП-2 Rq изменяются токи в рамках логометра и их моменты. Под действием большего момента рамки начнут поворачиваться по или против часовой стрелки. Поскольку магнитное поле неравномерное, вращающие моменты рамок при их перемещении будут изменяться, причем разность их по мере увеличения угла поворота (по отношению к исходному положению) будет уменьшаться. При некотором угле поворота движущий и противодействующий моменты рамок станут равны, перемещение рамок прекратится, а стрелка прибора укажет новое значение измеряемой температуры.

Из описания видно, что основная особенность логометра состоит в том, что движущий и противодействующий моменты создаются в нем одним и тем же способом (с помощью рамок), в то время как в других измерительных механизмах (амперметрах, вольтметрах и др.) противодействующий момент создают механическим путем с помощью пружины или растяжки. Применение в схеме прибора логометра позволило устранить вредное влияние на точность работы колебаний питающего напряжения. Токи в рамках логометра при этом изменяются, но соотношение их и, следовательно, показание прибора практически остаются неизменными.

При выключенном питании и отсутствии тока рамки логометра занимают произвольное положение, что может ввести в заблуждение машиниста, наблюдающего за прибором. Чтобы этого не происходило, в указателе имеются три пружинки, обеспечивающие возврат рамок в исходное (нулевое) положение при выключенном питании и подвод тока к ним при включенном питании. Эти пружинки называют «безмоментными», так как создаваемый ими момент вращения значительно меньше моментов вращения рамок I, II. Благодаря этому он не оказывает заметного влияния на показания прибора. Сопротивление медного провода рамок логометра при изменении окружающей температуры также изменяется, что вносит существенную погрешность в показания прибора.

Для температурной компенсации последовательно с рамками логометра включены терморезисторы Rt. Температурный коэффициент медного провода рамок положителен, т. е. при увеличении температуры сопротивление рамки увеличивается, а терморезисторов Rt - отрицательный, т. е. при увеличении температуры величина сопротивления Rt уменьшается. В результате суммарная величина сопротивления рамки и терморезистора остается приблизительно постоянной. Для более точной температурной компенсации устанавливают манганиновые резисторы RR. Резисторы Rl, R2, R3, R4 и #5 изготовляют также из манганина - материала, электрическое сопротивление которого мало меняется при изменении температуры. Поэтому для этих резисторов не нужно вводить температурную компенсацию.

Указатель и приемник термометра можно соединить двумя проводами (двухпроводная система), если минусовый провод источника питания подключить к точке б схемы (см. рис.4.4), или тремя проводами (трехпроводная система), если минусовый провод подключить к точке а. Трехпроводная система предпочтительна, так как при этом сопротивление провода 1, входящего в плечо моста с терморезистором Rq, компенсируется сопротивлением провода 2, входящего в плечо моста с резистором R3. Общее сопротивление соединительных проводов при двухпроводной системе не должно превышать 0,16 Ом, при трехпроводной - 1,2 Ома.

В (табл. 4.3) приведены величины сопротивления приемника Rq при нормальных условиях работы термометра и различных значениях измеряемой температуры. Нормальными условиями работы считают: температуру окружающего воздуха + 20±5°С, атмосферное давление 730-790 мм рт. ст., относительную влажность 30-80%, вибрацию 0,1-0,3 g (легкое постукивание, зуммеризация). Табл. 4 составлена с учетом сопротивления проводов, соединяющих указатель с приемником, равного 0,16 Ом. При определении погрешности указателя вместо приемника к нему подключают магазин сопротивлений, на котором устанавливают величины сопротивлений по (табл. 4.3). Температуру, указанную в (табл. 4.3), сравнивают с фактическими показаниями прибора. Напряжение питания термометра при поверке должно быть 27 В.

Теплочувствительный элемент 12 приемника (рис.4.5) состоит из одного или двух последовательно соединенных полупроводниковых терморезисторов, расположенных внутри металлического колпачка 8.

Приемник ПП-2

Рис.4.5

датчик манометр термометр электрический

Таблица 4.3

Температура, °С

Сопротивление при данной температуре, Ом

Температура, °С

Сопротивление при данной температуре, Ом

0

129,21

60

83,18

10

124,86

65

78,42

15

122,11

70

'73,85

20

118,96

75

69,50

25

115,31

80

65,42

30

111,42

85

61,63

35

107,19

90

58,15

40

102,64

95

54,96

45

97,88

100

52,07

.50

92,99

110

47,08

55

88,07

120

43,06


Электрические выводы терморезисторов разделены изоляционной прокладкой 10 и прикреплены к ней двумя бандажами из ниток 9. Свободное пространство внутри колпачка 8 заполняют компаундом. Концы выводов 11 припаяны к контактам контактной колодки 5, изготовленной из прессматериала. С противоположной стороны в колодку 5 армированы контактные штыри 2, служащие для соединения приемника со штепсельным разъемом 1.

Полупроводниковые терморезисторы имеют значительные допуски на отклонение, характеристик. Поэтому для получения требуемой характеристики приемника (см. табл. 4.3) приходится применять дополнительные шунтирующие, добавочные и подгоночные резисторы. Изготавливают их из манганинового провода, который наматывают на наружную поверхность колодки 5 и соединяют с выводами терморезисторов 12. На (рис.4.4) все резисторы приемника показаны в виде одного терморезистора Rq. Колодка 5 расположена во внутренней полости штуцера 6, имеющего резьбу М16Х1.5 для крепления приемника в месте измерения температуры и резьбу М20Х1 Для навинчивания штепсельного разъема 1.

Для герметизации внутренней полости в месте выхода штырей 2 установлена прокладка 4, а пространство над ней заполнено компаундом 3. Колпачок 8 запрессован в штуцер 6 на герметике. Кроме того, установлена свинцовая прокладка 7 и края штуцера завальцованы.

Конструкция приемника неразъемная. Допускается работа при вибрации 2^ в диапазоне частот от 15 до 80 Гц и 5g в диапазоне частот от 80 до 300 Гц. Температура измеряемой среды - от 0 до 120°С.

На основании 3 указателя (рис.4.6,а) установлены магнитоэлектрический логометр 4, резисторы мостовой измерительной схемы R1, ..., R5, Rt, Rn,' расположение которых в указателе представлено на (рис.4.6,б), и штуцер 5 с тремя контактными штырями для подключения штепсельного разъема. Резьба на штуцере М20Х1.

С помощью кронштейна 2 к магнитопроводу логометра прикреплен циферблат 6. На циферблате 6 нанесена шкала с углом размаха 210°. В диапазоне от 10 до 110° С цена деления шкалы равна 5° С. Знак Х10°С обозначает, что при отсчете показания прибора необходимо умножить на 10.

Указатель ТУЭ-8А:

а - общий вид; б -схема расположения резисторов

Рис.4.6

Логометр указателя ТУЭ-8А

Рис.4.7

Корпус 1 указателя стальной, имеет четыре отверстия с резьбой М3,5 для крепления указателя в месте установки. Допустимая величина вибрации - не более lg в диапазоне частот от 15 до 80 Гц. Температура внешней среды от -40 до +40° С.

Логометр указателя ТУЭ-8А показан на рис. 18 разделенным на два узла, что позволяет яснее представить его устройство. В собранном виде плоскость А соприкасается ' с плоскостью Б. Узлы крепят винтами 6, которые ввертывают в отверстия магнитопровода 2.

Магнитная система логометра состоит из постоянного магнита 1 цилиндрической формы с профилированным полюсным наконечником 3, магнитопровода 2 и сердечника 17. В воздушном зазоре между полюсным наконечником 3 и сердечником 17 перемещаются две прямоугольные подвижные рамки 7, жестко закрепленные на оси 18 под углом 32° относительно друг друга. Рамки 7 охватывают сердечник 17, форма которого позволяет подвижной системе .поворачиваться вокруг оси на угол 210°.

Кроме рамок, с осью 18 жестко связаны изоляционная пластина 16, указательная стрелка 14 и балансировочные грузики 15, служащие для уравновешивания подвижной системы.

Ось 18 имеет с обеих сторон керны, которые опираются на корундовые подпятники, расположенные в металлических оправках 12 и 20, закрепленных в отверстиях консоли 5. Подпятники амортизированы пружинами, воспринимающими осевые нагрузки, которые действуют на подвижную систему при сотрясениях и вибрации. При этом подвижная система перемещается в осевом направлении до тех пор, пока сила инерции не будет уравновешена усилием сжатой пружины.

Спиральные «безмоментные» пружины 8, 9, 19 служат для подвода тока к рамкам 7 и возвращения подвижной системы в исходное положение при выключенном литании. Одним концом пружины 8 и 9 соединены с токопроводящими шинками 10 и 13, которые закреплены на неподвижном изоляционном основании 11. Вторые концы пружин закреплены в разных точках на изоляционной пластине 16. К этим точкам подходят проводники от рамок 7 и соединяются с пружинками. Спиральная пружина 19 одним концом соединена с металлической пластиной, на которой закреплены рамки 7 и припаяны вторые выводы рамок. Второй конец пружины 19 соединен с токопроводящей шиной (на рисунке не видна), закрепленной на неподвижной изоляционной пластине 4. Провода, подходящие к логометру от резисторов (см. рис.4.4), припаивают к шинкам в точках а, б, в.

На тепловозах указатели термометров обычно устанавливают на пультах управления в кабинах машиниста. Приемники - на масляных, топливных и водяных трубопроводах (рис.4.8). В месте измерения температуры в трубопроводе 1 сверлят отверстие и приваривают грибок 2, в который ввертывают штуцер приемника 4. Для герметизации соединения устанавливают медную, медноаcбестовую или фибровую прокладку 3. На штепсельный разъем 5 надевают резиновый чехол 6, предохраняющий его от загрязнения. Чехол 6 крепят бандажом 7 из ниток. Приемник и штепсельный разъем контрят проволокой, используя их отверстия.

Загрязнение электрических соединений приводит к искажению показаний термометра. Поэтому все провода должны соединяться пайкой без кислоты, тщательно изолироваться и иметь надежную защиту от загрязнения. Контактные соединения в штепсельных разъемах должны быть чистыми и плотными.

Требования к расположению приемников внутри трубопровода такие же, как для гильз ртутных термометров.

4.5 Термоэлектрические термометры

Принцип действия этих термометров основан на термоэлектрическом эффекте, сущность которого заключается в следующем. Если два проводника А к Б (рис.4.9) из разнородных металлов или сплавов соединить так, чтобы они образовали замкнутую электрическую цепь, а затем изменять температуру одного из мест соединения проводников, например, спая 1, то в цепи возникнет электродвижущая сила (е) и будет протекать электрический ток (t).

Величину этой э.д.с., называемой термоэлектродвижущей силой (т-э-д.с.), можно измерить с помощью электроизмерительного, прибора, например, милливольтметра mV (рис.4.10).

Установка приемника термометра сопротивления на тепловозе

Рис.4.8

Термоэлектрическая цепь

Рис.4.9

Схема включения милливольтметра в цепь термопары

Рис.4.10

Проводники А и Б, обеспечивающие получение т.э.д.с., образуют термопару и называются электродами. Спай 1 с более высокой и переменной температурой называют рабочим концом термопары, или горячим спаем; концы 2 и 3 термопары называют свободными концами или холодным спаем. Положительным электродом считают тот, по которому ток течет от рабочего конца термопары к свободному. По ГОСТ 2729-68 на схемах положительный электрод обозначают тонкой линией, а отрицательный - утолщенной.

Величина т.э.д.с. зависит от материалов электродов и пропорциональна разности температур рабочих и свободных концов термопары. От длины и диаметра электродов т.э.д.с. не зависит. Если температуры свободных концов поддерживать одинаковыми и постоянными, то величина т.э.д.с., измеряемая милливольтметром, будет пропорциональна температуре рабочего конца термопары.. Шкалу милливольтметра в этом случае можно градуировать непосредственно в градусах Цельсия.

Для изготовления термопар можно использовать большое количество металлов и сплавов. Однако широкое практическое применение нашли только несколько типов термопар, называемых стандартными. Выбраны они были потому, что в наибольшей степени отвечали следующим требованиям:

возможности, изготовления электродов с одинаковой величиной т.э.д.с., что необходимо для их взаимозаменяемости;

химической и механической стойкости электродов в зоне температур, при которых .используется термопара;

легкости механической обработки (протяжки) электродов;

малой стоимости.

В табл. 5 приведены величины т.э.д.с. для ряда стандартных термоп-ар при температурах рабочего конца: 100°С, максимальной длительно допустимой и максимальной кратковременно допустимой. Температура свободных концов 0°С. В названии термопары, первым указан положительный электрод.

Характеристики всех термопар, кроме платино-родий - платиновой, практически линейны. Металлы для термопар берут высокой степени чистоты. Сплавы имеют следующие составы: платино-родий - 90% Pt+>10% Rh; хромель - 89% Ni + 10% Cr+l%Fe; алюмель -94,83% № + 2% Al+2% Mn + 1% Si+0,17% Fe; копель - 56% Си+44% №.

Для защиты от механических повреждений и вредного химического воздействия испытуемой среды термопары помещают в жесткие защитные оболочки (медные, стальные, нихромовые или фарфоровые. Свободные концы подключают к зажимам, расположенным в головке термопары.

Если милливольтметр подключить к такой термопаре с помощью обычных медных проводов, то погрешность измерения температуры будет очень большой, так как головка термопары находится вблизи нагретых частей ib зоне переменной температуры. Поддерживать температуру головки термопары и, следовательно, свободных концов постоянной в этом случае довольно трудно. Поэтому с помощью компенсационных проводов свободные концы термопары выносят в зону, где температура ниже и меньше изменяется. Такой зоной может быть, например, место установки милливольтметра. Если провода между зажимами 2-4 и 3-5 (рис.4.10) компенсационные, то свободными концами термопары будут зажимы 4 и 5 милливольтметра. Для получения высокой точности измерения их температуры должны быть одинаковыми и постоянными, а температура зажимов 2 и 3 может быть переменной. Чтобы компенсационные провода обладали такими свойствами, их изготовляют из материалов, обладающих теми же термоэлектрическими характеристиками, что и термопары, с которыми они применяются. Это значит, что при равных температурах соединенные между собой компенсационные провода должны развивать такую же т.э.д.с., как и основная термопара.

Для термопар из неблагородных (недорогих) металлов (медь - копель, железо - копель, яромель - копель) компенсационные провода изготовляют из тех же материалов, что и электроды термопары, но меньшего сечения. При этом температуры зажимов 2 и 3 могут быть не только переменными, (пределы колебаний не ограничивают), но и разными - на показаниях милливольтметра это не скажется.

Для термопар из благородных (дорогих) металлов (платино-родий - платина) изготовлять компенсационные провода из тех же материалов невыгодно.

Таблица 4.4

    Материал термопары  

Температура рабочего конца, °С; Термоэлектродвижущая сила, мВ;


 т. э. д. с. При 1000°С

Максимальная длительная температура

  т э.д.с.  

максимальная кратковременная температура

  т. э. д. с.  

Платинородий - платина (ПП)

0,64

1300

13,16

1600

16,77

Хромель - алюмель (ХА)

4,1

900

37,37

1100

45,16

Хромель - копель (ХК)

6,95

600

49,02

800

66,42

Железо - копель (ЖК)

5,75

600

37,41

800

51,17

Медь - копель (МК)

4,75

300 (350)

16,49

500 (600)

30,16


Поэтому в этом случае применяют недорогие материалы, «о подбирают такие пары, которые в пределах возможного изменения температуры свободных концов (примерно от 0 до 100° С) развивают такую же т.э.д.с., что и основная термопара. При этом температуры зажимов 2 и 3 должны быть одинаковыми и не выходить из пределов 0-100° С. Равенство температур зажимов 4 и 5 здесь также должно выполняться. Компенсационные провода для термопары платино-родий - платина изготовляют из меди (положительный электрод) и сплава,., состоящего из 99,4% Си+0,6 № (отрицательный электрод).

Для хромель-алюмелевых термопар компенсационные провода изготовляют из меди (положительный электрод) и константана - сплава, состоящего из 60 Си+40% № (отрицательный электрод). В тех случаях, когда по условиям эксплуатации не: представляется возможным иметь одинаковые температуры зажимов 2 и 3 или диапазон изменения температуры свободных концов термопары превышает 0-100°С, компенсационные провода выполняют из хромеля и алюмеля.

Термопары обладают рядом положительных качеств: простотой устройства; малыми размерами рабочего конца, что позволяет размещать их в трубопроводах малого диаметра с небольшой толщиной стенок; возможностью измерения температур в широких пределах с передачей показаний на достаточно большие расстояния; незначительной тепловой инерцией. Недостаток термопар - низкая точность измерения температур меньших 100- 200° С.

На тепловозах термоэлектрические термометры применяют для измерения температуры газов в цилиндрах дизеля. Называют их термоэлектрическими дизельными комплектами. Большинство тепловозов, находящихся в эксплуатации, оборудовано термоэлектрическими дизельными комплектами типа ТКД-50М. В комплект ТКД-50М входит милливольтметр типа МКД-50М со шкалой 0- 600°С, переключатель на 11 точек измерения, встроенный в общий корпус с милливольтметром, хромель-копелевые термопары типов ТХК-400М, ТХК-401М и ТХК-402М. Погрешность показаний комплекта не превышает ±2,5% от верхнего предела показаний при температуре окружающего воздуха +20±5°С.

Вместо комплекта ТКД-50М применяют термоэлектрический дизельный комплект типа ТКД-018. Устройство комплектов во многом аналогично. Термокомплект ТКД-018 обеспечивает возможность измерения в пределах от 0 до 900° С. Погрешность измерения не (превышает ±2,5% от верхнего предела шкалы. Допустимая температура окружающего воздуха от 0 до +60° С, Комплект ТКД-018 состоит из милливольтметра mV (рис.4.11) магнитоэлектрической системы типа МКД-018, переключателя П, встроенного в общий корпус с милливольтметром, уравнительных катушек Rук, хромель-алюмелевых термопар Т типа ТХА-410 (для упрощения показаны только две термопары) и медь - константановых компенсационных проводов КП. Переключатель П имеет одно холостое положение (обозначено 0), при котором он шунтирует милливольтметр, и одиннадцать рабочих положений, при которых к милливольтметру поочередно могут подключаться 11 термопар. Милливольтметр дает правильные показания только при определенной величине внешнего сопротивления. Поскольку длины компенсационных проводов могут быть разными, для получения требуемого внешнего сопротивления устанавливают уравнительные катушки (добавочные резисторы) Rук. Для комплекта ТКД-018 внешнее сопротивление, равное сумме сопротивлений термопары, компенсационных проводов и уравнительной катушки, должно быть равно 5+0,5 Ома (для комплекта ТКД-50М внешнее сопротивление должно быть равно 10±0,ГОма). При транспортировке л монтаже прибора на клеммы А устанавливают перемычку, т. е. осуществляют электрическое арретирование, которое защищает подвижную систему милливольтметра от механических повреждений. При арретировании милливольтметр замкнут накоротко. Следовательно, при перемещении подвижной системы (например, под действием вибрации или толчков) в рамке милливольтметра, перемещающейся в поле постоянного магнита, будет наводиться э.д.с., а в замкнутой накоротко цепи протекать электрический ток. В результате возникнет тормозной момент, противодействующий перемещению подвижной системы. При монтаже прибора важно правильно выполнить электрические соединения.

Принципиальная электрическая схема термоэлектрического дизельного комплекта ТКД-018

Рис.4.11

Для этого зажимы термопары, наконечники компенсационных проводов и зажимы милливольтметра* имеют маркировку «+» или «+» и «-». Термопара ТХА-410 (рис.4.12) имеет два электрода, выполненные из хромелевой (положительный электрод) ,и алюмелевой (отрицательный электрод) проволоки диаметром 1,2мм. Рабочий конец 23 выполняют путем скручивания электродов и последующей сварки. Электроды размещены внутри защитной арматуры 20 из стали Х17Н13М2Т и изолированы от нее двухканальными фарфоровыми изоляторами 21. Рабочий конец 23 изолирован фарфоровым колпачком 22, который является хорошим изолятором, но резко увеличивает тепловую инерцию термопары. Свободное пространство внутри защитной арматуры 20 заполнено порошком безводной окиси алюминия и в верхней части загерметизировано огнеупорной замазкой 17.

Корпус 16 и крышка 11 головки термопары выполнены из прессматериала АГ-4В. В корпус 16 армированы зажимы 14. Концы электродов и компенсационных проводов вставляют в отверстия зажимов. Электроды в отверстиях запаивают, а компенсационные провода зажимают винтами 12, которые контрят гайками 13. У зажима положительного электрода на корпусе головки термопары имеется знак « + » (см. вид А). Крышку 11 ввинчивают в корпус 16. Место соединения уплотняют прокладкой 15.

Компенсационные провода 2, кроме электрической изоляции, имеют защитную металлическую оплетку 6, припаянную по концам к втулкам 8 и 5. Место ввода компенсационных проводов в головку термопары уплотняют с помощью резинового уплотнительного кольца 10, шайбы 9 и штуцера 7. С противоположной стороны компенсационных проводов имеется накидная гайка 3 и прокладка 4 для соединения с одним из вводов милливольтметра. На концах проводов припаяны наконечники 1. Наконечник медного провода, соединяемого с положительным электродом, маркируют знаком « + ».

В месте установки термопары делают установочное гнездо (см. рис. 23). Термопару крепят в нем с помощью подвижного штуцера 18 и контргайки 19.

Принципиальная электрическая схема термоэлектрического дизельного комплекта ТКД-018

Рис.4.12

Длина погружаемой части L может быть равна 80, 100, 120 и 160 мм. Компенсационные провода изготовляют длиной от 2,5 до 18 м с интервалом 0,5 м. Термоэлектродвижущая сила термопары при различных значениях температуры имеет величины приведённые в (табл. 4.5)

Таблица 4.5

Температура, °С

.

.

.

0

100

200

400

600

800

900

Т. э. д. с., мВ

.

.

.

0

4,1

8,13

16.4

24,91

33,32

37,37


Погрешность термопары ТХА-410 для температур до 300°С не превышает ±4° С, а для температур больше 300° С не превышает ±1% от измеряемого значения т.э.д.с.

Измерительный механизм 2 (рис.4.13) милливольтметра МКД-018 встроен в водозащищенный корпус 1 вместе с переключателем термопар 3. На лицевой стороне корпуса расположены циферблат милливольтметра, циферблат переключателя, ручка переключателя и накидная гайка 4 корректора (назначение корректора будет рассмотрено ниже).

В отдельном отсеке корпуса, закрытом съемной крышкой 8Г расположена панель 6 с зажимами для подключения компенсационных проводов. Зажимы имеют маркировку с указанием полярности провода и номера подключаемой термопары (например, + 1, -1). К зажимам крепят также уравнительные катушки 5, представляющие собой изоляционные каркасы, на которые манганиновым проводом намотаны сопротивления определенной величины.

В нижней части корпуса 1 имеется одиннадцать вводов 7 для компенсационных проводов. Для крепления милливольтметра на тепловозе используют четыре отверстия диаметром 11 мм в приливах корпуса 1.

Измерительный механизм 12 милливольтметра (рис.4.14) монтируют на плате 8, которая установлена внутри кожуха 7 на трех резиновых амортизаторах 1, 3, 13 и закреплена винтами. Чтобы уменьшить влияние внешнего магнитного поля на показания милливольтметра, кожух 7 изготовляют из низкоуглеродистой стали.

Милливольтметр МКД-О18 со встроенным переключителем

Рис.4.13

Измерительный механизм милливольтметра:

общий вид; подвижная система; магнитная система

Рис.4.14

На переднем фланце кожуха 7 имеется шесть отверстий для крепления его к корпусу 1 (см. рис.4.13). На задней стороне кожуха установлены два зажима 9 (см. рис.4.14) для подключения проводов от переключателя. Циферблат 6 закреплен на двух стойках винтами 4. Знак XI00° С обозначает, что при отсчете показания милливольтметра необходимо умножить на 100, цена деления 20° С.

В крайних положениях стрелки имеются упоры 2. Градуировка шкалы милливольтметра должна быть такой же, как термопары. Чтобы исключить ошибки, условное обозначение градуировки (в данном случае «ХА») наносят на циферблате милливольтметра, и на термопаре. Величину внешнего сопротивления (5 Ом) также указывают на циферблате милливольтметра.

Милливольтметр - прибор магнитоэлектрической системы с неподвижной магнитной системой и подвижной рамкой. Магнитная система состоит из прямоугольного постоянного магнита 26, полюсных наконечников 24 и стального цилиндрического сердечника 25. Постоянный магнит закреплен между полюсными наконечниками с помощью немагнитной скобы 27. Полюсные наконечники и сердечник создают в зазоре равномерное машинное поле. Для подгонки градуировки милливольтметра установлен магнитный шунт 23.

В зазоре между сердечником 25 и полюсными наконечниками 24 вращается рамка 19 с укрепленной на ней стрелкой 18 и уравновешивающими грузиками 22. К рамке прикреплены также две полуоси, заканчивающиеся кернами. Керны опираются на подпятники 10 и 11. Подпятник состоит из опорного камня и металлической оправки, в которую он завальцован. Внутри оправки опорный камень амортизирован пружинкой. Применение пружинных подпятников и резиновых амортизаторов 1, 3, 13 необходимо для получения виброустойчивости милливольтметра.

Цепь для протекания электрического тока в подвижной системе следующая: контакт а, спиральная пружинка 17, проводники рамки 19, спиральная пружинка 20, биметаллический корректор 21, контакт 6. Таким образом спиральные пружинки и корректор, кроме их прямого назначения (описано ниже), используют для подвода тока в рамку.

В результате взаимодействия между магнитным потоком, создаваемым постоянным магнитом, и электрическими проводниками (рамки, по которым протекает постоянный ток под действием т.э.д.с. термопары, возникает вращающий момент, стремящийся повернуть рамку по часовой стрелке.

Величина вращающего момента зависит от величины тока в проводниках рамки, который, в свою очередь, определяется т.э.д.с. термопары и, следовательно, измеряемой температурой. Чем выше измеряемая температура, тем больший вращающий момент действует на рамку. Возникший вращающий момент уравновешивается противодействующим моментом, который создают спиральные пружинки 17 и 20, изготовленные из упругого немагнитного материала. Противодействующий момент спиральных пружинок увеличивается пропорционально углу поворота рамки. Если измеряемая температура увеличилась, увеличится вращающий момент, действующий на рамку, и она начнет поворачиваться по часовой стрелке. Однако по мере увеличения угла поворота будет увеличиваться противодействующий момент пружинок. Когда противодействующий момент станет равен вращающему, перемещение рамки прекратится, а стрелка укажет значение измеряемой температуры.

При уменьшении измеряемой температуры ток b рамке и вращающий момент уменьшаются. Под действием момента пружинок рамка поворачивается против часовой стрелки. При этом противодействующий момент пружинок уменьшится. Когда движущий и противодействующий моменты станут равны, перемещение рамки вновь прекратится. Рамку изготовляют из большого числа витков медной проволоки малого сечения, изолированной тонким слоем эмали. Для уменьшения веса рамку делают без каркаса, склеивая витки рамки специальным лаком.

Большое количество витков и малое удельное электрическое сопротивление меди позволяют получить большой вращающий момент. Однако величина сопротивления медного провода существенно зависит от температуры. Поскольку на практике температура воздуха в месте установки прибора в определенных пределах изменяется, то будет изменяться сопротивление рамки, что может внести большую погрешность в показания.

Чтобы уменьшить величину погрешности, последовательно с рамкой включают добавочный резистор 5 из манганина. Введение добавочного резистора дает не только положительные (уменьшение погрешности), но и отрицательные последствия, так как приводит к уменьшению тока и, следовательно, вращающего момента рамки. В связи с этим в милливольтметре применяют мощный постоянный магнит, т. е. стремятся увеличить вращающий момент за счет увеличения магнитного потока.

Прибор на заводе-изготовителе градуируют при определенной температуре свободных концов термопары, в данном случае при U Vj.

Во время эксплуатации прибора температура свободных концов, расположенных на зажимах 6 (см. рис.4.13), не только отличается от 0° С, но изменяется в некоторых пределах. Для введения поправок на температуру свободных концов термопары в милливольтметре имеется, механический корректор (поправка вводится вручную) и биметаллический корректор (поправка вводится автоматически). Если поправка введена правильно, то милливольтметр в отключенном положении (переключатель стоит на отметке «О») должен показывать температуру окружающего воздуха, т. е. температуру свободных концов.

Механический корректор состоит из вилки 15 (см. рис.4.14), связанной через изоляционную вставку 16 со спиральной пружинкой 17, и винта 14 с эксцентриком. При повороте винта 14 эксцентрик поворачивает вилку 15, благодаря чему изменяется момент пружинки 17 и происходит поворот рамки 19. Автоматически поправка вводится с помощью биметаллического корректора 21, выполненного в виде спирали, один конец которой соединен с пружинкой 20, а второй неподвижен. Спираль изготовлена из двух металлов с разными линейными коэффициентами расширения. При изменении окружающей температуры спираль закручивается или раскручивается. Это вызывает изменение момента пружинки 20 и перемещение рамки со стрелкой на требуемый угол.

Работу 'биметаллического корректора необходимо периодически проверять следующим образом. Ртутным термометром измеряют температуру воздуха вблизи милливольтметра. Рукоятку переключателя устанавливают в нулевое положение (цепь милливольтметра при этом замкнута накоротко, см. рис.4.11) и определяют температуру по шкале милливольтметра. Если показания ртутного термометра и милливольтметра совпадают, биметаллический корректор работает правильно. Бели не совладают, необходимо с помощью механического корректора, поворачивая винт 14, установить стрелку милливольтметра на температуру окружающего воздуха.

Погрешность милливольтметра МКД-018 не превышает ±1,5% от (верхнего предела измерения, выраженного в единицах напряжения. На тепловозах милливольтметры обычно устанавливают в машинном помещении. Если число цилиндров дизеля больше десяти, то используют два термоэлектрических комплекта.

5. Схемы включения электрических манометров и термометров

Источниками питания вспомогательных цепей и цепей управления на тепловозе служат аккумуляторная батарея и вспомогательный генератор.

Аккумуляторная батарея имеет напряжение 64 В и работает в режиме достоянного подзаряда от вспомогательного генератора (напряжение 75 В). На новых тепловозах (ТЭ109, ТЭП70, 2ТЭ116) напряжение вспомогательного генератора 110В, а аккумуляторной батареи 85-96В (в зависимости от типа батареи).

Требуемое для электрических манометров и термометров напряжение питания составляет 27 В, т. е. значительно ниже, чем у тепловозных источников литания. Это потребовало разработки таких схем включения манометров и термометров, которые обеспечили бы уменьшение напряжения питания до необходимого уровня.

На (рис.5.1,а) показана схема включения электрических манометров и термометров, примененная на тепловозах ТЭ3, а затем и на ряде других тепловозов. Для упрощения на схеме показан один манометр и один термометр, хотя количество этих приборов на тепловозе больше. Цепи приборов включены на часть аккумуляторной батареи через кнопку Ки с ручным возвратом и общий предохранитель Пр. Эта схема не обеспечивает удовлетворительной защиты приборов при возможных повреждениях в электрических цепях.

Рассмотрим в качестве примера довольно часто встречающиеся в эксплуатации случаи замыкания .на «землю» в цепях, соединяющих указатели и приемники приборов, в сочетании с замыканием па «землю» плюсового полюса аккумуляторной батареи (или - любой точки цепи управления, соединенной с «плюсом» батареи). Если замыкание на «землю» произошло в точках а и б, то аккумуляторная батарея оказывается замкнутой накоротко. Ток короткого замыкания (к. з.) через предохранитель Пр не протекает, поэтому электрическая цепь и батарея не защищены от повреждения.

Если от тока к. з. перегорит провод на участке между точкой б и минусом батареи, то цепь указателя на участке между контактами 2 и 3 окажется под напряжением 64-27 = 37 В. При этом ток, протекающий по цепи: «плюс» батареи, «земля», точка б, указатель электротермометра, Пр, Кн, батарея, может быть достаточен для повреждения указателя, но недостаточен для перегорания предохранителя Пр, рассчитанного на протекание суммарного тока приборов. При замыкании на «землю» в точках а и в приемник термометра окажется под напряжением 64 В, а цепь указателя между контактами 1 и 3 под напряжением 37 В. Аналогично при замыканиях в точках а, г и а, д.

Схема (рис. 26,б), применявшаяся - на тепловозах ТЭП60, устраняет часть недостатков предыдущей схемы. Диоды Д1 и Д2 не влияют на протекание тока в цепях приборов в нормальном режиме работы, но при рассмотренных замыканиях на «землю» они не пропускают ток через указатели, тем самым защищая их от повреждения. Предохранители Пр2 и ПрЗ включены в минусовую цепь каждого прибора и поэтому выбраны на меньший ток, чем предохранитель Пр1. Они обеспечивают защиту приемников. В условиях эксплуатации перегоревшие плавкие вставки часто заменялись медными жилками, поэтому случаев повреждения прибора было много. Общий недостаток схем (рис.5.1, а и б) - разная степень разряда элементов батареи, что ухудшает ее работу.

На тепловозах ТЭ10, 2ТЭ10, ТЭП10, опытных тепловозах ТГП50 и газотурбовозах Г1 и ГП1 применялась схема, представленная на (рис.5.1, в). При этой схеме приборы питаются от одноякорного преобразователя постоянного тока в переменный типа ПО-300 или ПО-1000, предназначенного для питания цепей радиостанции, либо от колец вспомогательного генератора. Напряжение понижают до требуемой величины трансформатором Тр и выпрямляют мостом ВМ.

Цепи приборов электрически отделены от цепей управления и аккумуляторной батареи, поэтому заземление в точках б, в, г, д не приводит к повреждению приборов. Недостатком схемы является необходимость в источнике переменного тока со стабильным напряжением.

В последнее время на тепловозах применяют более совершенную схему включения приборов (рис.5.1, с), где цепи приборов включены до резистора заряда батареи СЗБ на напряжение вспомогательного генератора 75 или 110 В через автоматический выключатель АВ и добавочные резисторы R. Величину R выбирают такой, чтобы напряжение на приборе было в пределах допуска 27 В±10%. Для манометров ЭДМУ и термометров ТП-2 требуемые величины R очень близки, поэтому их берут одинаковыми. На разных типах тепловозов принятые величины R несколько отличаются друг от друга. Например, на тепловозах 2Т310Л величину R приняли равной 470 Ом, а на ТЭП60 она равна 510 Ом.

Если цепи управления имеют напряжение МО В, то величину R следует принять равной 910 Ом. Благодаря тому, что добавочные резисторы включены и в плюсовой, и в минусовой цепях прибора, при любом замыкании на «землю» в точках а, б, в, г, д-один из добавочных резисторов ограничивает ток до некоторой допустимой для прибора величины.

Схемы включения электрических манометров и термометров

Рис.5.1

6. Техника безопасности и охрана труда на производстве

.1 Пожарная безопасность

.1.1 Горение и пожароопасные свойства веществ

Пожар - это горение, в результате которого бесполезно и безвозвратно уничтожаются или повреждаются материальные ценности, создаётся опасность для жизни и здоровья людей. Горением называется протекающий химический процесс окисления или соединения горючего вещества и кислорода воздуха, сопровождающийся выделением газа, тепла и света. Известно горение и без кислорода воздуха с образованием тепла и света. Таким образом, горение представляет собой не только химическую реакцию соединения, но и разложения.

Различают собственно горение, взрыв и детонацию. При собственно горении скорость распространения пламени не превышает десятков метров в секунду, при взрыве - сотни метров в секунду, а при детонации - тысячи метров в секунду. С наибольшей скоростью горение происходит в чистом кислороде. По мере снижения концентрации кислорода процесс горения замедляется, и наименьшая скорость горения при содержании кислорода в воздухе 14-15%. Для горения необходимы горючие материалы, окислитель и источник поджигания. В практике различают полное и неполное горение. Полное горение достигается при достаточном количестве кислорода, а неполное - при недостатке кислорода. При неполном горении, как правило, образуются едкие, ядовитые взрывоопасные смеси. Расчетами установлено, что для сгорания 1 кг древесины необходимо 5,04 куб. м воздуха, а для 1 кг нефтепродукта - 11,6. Во время пожара расходуется воздуха в два - три раза больше. При длительном горении устанавливается равновесие между скоростью горения, площадью и формой пламени. Процесс горения на практике рассматривается в условиях поджигания горючего вещества. Самовоспламенение (тепловой взрыв) возникает при внутреннем подогреве горючего вещества в результате химических процессов. Температура самовоспламенения зависит от различных факторов: состава и объёма горючей смеси, давления и др. Большинство газов и жидкостей воспламеняется при температуре 400 - 700 С, а твёрдых тел (дерева, угля, торфа и т. п.) - 250 - 450 С. Следует иметь в виду, что увеличение содержания кислорода в веществах и уменьшение содержания углерода снижают температуру самовоспламенения. Пожарная опасность горючих веществ характеризуется периодом индукции или временем запаздывания самовоспламенения.

Период индукции для одного и того же вещества неодинаков и зависит от состава смеси, температуры и давления. Следует иметь в виду, что чем ниже температура нагрева горючего вещества при самовоспламенении, тем больше период индукции. Поэтому часто за температуру самовоспламенения принимают температуру воздуха, при которой период индукции максимален. Период индукции имеет важное значение для воспламенения веществ от маломощных источников. Индукция наблюдается и для твёрдых веществ, однако она проходит более длительное время (часы, дни, месяцы). Это объясняется небольшой поверхностью окисления и переносом кислорода к твёрдым веществам за счёт диффузии, а также большой теплоёмкостью. Для горения и воспламенения важное значение имеет концентрация газов и паров в воздухе. Диапазон горения и воспламенения характеризуются нижним и верхним пределами взрываемости. Они являются важнейшей характеристикой взрывоопасности горючих веществ. Нижний предел взрыва характеризуется наименьшей концентрацией газов и паров воздуха, при котором возможен взрыв. При резком сжатии горючей смеси в ней создаётся ударная волна за счёт увеличения давления, которая вызывает воспламенение горючего вещества. Это необходимо учитывать при оценке взрывоопасности горючих веществ. При взрывах некоторых газов, паров и смесей горение переходит в особую его форму - детонацию. При этом скорость распространения пламени достигает 1000 - 4000 м/с, что превышает распространение звука. Детонация, как правило, происходит в трубах, имеющих достаточный диаметр и длину. Она может возникать при определённом подогреве смеси и сильной ударной волне, а также при специальном поджигании взрывоопасного вещества. Детонация имеет верхний и нижний концентрационные пределы. Все горючие жидкости пожароопасны. Они горят в воздухе при определённых условиях, зависящих от концентрации их паров. Горючие жидкости постоянно испаряются, образуя над сваей поверхностью насыщенные взрывоопасные пары. По температуре вспышки горючие жидкости делятся на два класса. К первому классу относятся (бензин, керосин, эфир и др.), вспыхивающие при температуре менее 45 С, ко второму классу - жидкости (масла, мазуты и др.), имеющие температуру вспышки более 45 С. В практике первый класс жидкостей принято называть легковоспламеняющимися (ЛВЖ), второй - горючими (ГЖ). Пыли и пылевоздушные смеси горючих веществ пожароопасны. В воздухе они могут образовывать взрывоопасные смеси. Увеличение влажности воздуха и сырья, из которого образуется пыль, а также повышение скорости движения воздуха, уменьшают концентрацию пыли в воздухе и снижают пожароопасность.

Взрывоопасными являются пыль сахара, крахмала, нафталина при концентрации в воздухе до 15 г/м3; торфа, красителей и т. п. при концентрации от 15 до 65 г/м3. Особо важное значение в противопожарном отношении имеет правильная эксплуатация электрических сетей и приборов. Электрическая сеть в эксплуатационном отношении должна отвечать противопожарным требованиям. При её устройстве устанавливают специальные автоматические выключатели и плавкие предохранители, защищающие её от перегрузки и от воспламенения изоляции. В практике эксплуатации электрической сети не допускается применение «жучков» вместо калиброванных вставок или защитных средств, так как это приводит к перегрузке в линии, высыханию изоляции, возникновению короткого замыкания и пожара на предприятии.

Объекты по степени возгораемости делятся на несгораемые, трудносгораемые и сгораемые. По степени пожарной опасности предприятия классифицируются на пять категорий: А, Б, В, Г, Д, (СНиП, П - 14, 2 -83).

К категории А относятся склады и другие предприятия, предназначенные для хранения, приёма и выполнения технологических операций с жидкостями, имеющими температуру вспышки до 28 С К таким предприятиям относятся склады красок и лаков, горючих газов и других материалов.

К категории Б - склады и предприятия для жидкостей с температурой вспышки 28 - 120 С. Сюда относятся хранилища и цеха, в процессе работы выделяются взрывоопасные смеси.

К категории В - склады и предприятия, связанные с хранением текстильных, трикотажных, обувных товаров, а также пиломатериалов, бумаги и других материалов.

К категории Г - склады и предприятия, связанные с переработкой и хранением несгораемых веществ в горячем состоянии, а также со сжиганием твердого, жидкого или газообразного топлива.

К категории Д - склады и предприятия по хранению несгораемых веществ и материалов в холодном состоянии, например, мясных, рыбных и других продуктов.

6.1.2 Противопожарная профилактика в зданиях и на территории предприятий

Противопожарная защита обеспечивается: правильным выбором степени огнестойкости объекта и пределов огнестойкости отделочных элементов и конструкций; ограничением распространение огня в случае возникновения очага пожара; применением систем противодымной защиты; обеспечением безопасной эвакуации людей; применением средств пожарной сигнализации, извещения и пожаротушения; организацией пожарной охраны. Противопожарная профилактика - комплекс организационных и технических мероприятий по предупреждению, локализации и ликвидации пожаров, а также по обеспечению безопасной эвакуации людей и материальных ценностей в случае пожара. Наиболее частными причинами пожаров являются нарушения правил пожарной безопасности и технологических процессов, неправильная эксплуатация электросети и оборудования, грозовые разряды. Основные вопросы пожарной безопасности объектов (предприятий) изложены в Строительных нормах и правилах. Противопожарная защита объектов зависит от назначения зданий, их огнестойкости и режима эксплуатации, количества людей, одновременно находящихся в помещении, количества горючих материалов и веществ, находящихся на предприятиях, и других факторов. Противопожарная защита зданий имеет важное значение для борьбы с пожарами и недопущением распространения огня. Распространение огня может быть линейным и объёмным. При линейном пламя перемещается по поверхности горючих веществ. Основными характеристиками линейного распространения огня являются его линейная скорость и площадь. Под линейной скоростью понимается перемещение фронта пламени в данном направлении в единицу времени. Для линейной скорости распространения огня характерна неравномерность, что необходимо учитывать в борьбе с пожарами. Она зависит от свойств горючих материалов, интенсивности передачи тепла и других условий. Наибольшей скоростью распространения горения обладают газы, а также жидкие, легковоспламеняющиеся вещества. Размеры пожаров определяются площадью зоны горения. Площадь поверхности горения имеет важное значение для тушения пожара, так как от неё зависит расход огнегасительных веществ, необходимых для тушения пожара. Под объёмным распространением пожара понимают возникновение новых очагов огня на расстоянии огня является передача его различными способами (Теплопроводностью, излечением и т. д.). Эффективной мерой против распространения пожаров являются противопожарные разрывы (таб. 6.1) и преграды, а также продуманная внутренняя планировка зданий и устройство различных противопожарных преград и отсеков, изолированных несгораемыми конструкциями.

Таблица 6.1

Степень огнестойкости одного здания

Степень огнестойкости другого здания


І, ІІ

ІІІ

ІV

V


Разрывы, м

І, ІІ ІІІ ІV V

6 8 10 10

8 8 10 10

10 10 12 15

10 10 15 15


При помощи противопожарных преград (противопожарных стен, перекрытий, дверей) можно в пределах одного здания или сооружения изолировать пожароопасные помещения от других, тем самым не допуская распространения огня. Существенное значение для проведения противопожарных мероприятий имеет генеральная планировка территории предприятий и организаций. При этом важно предусмотреть размещение отдельных зданий и сооружений и взаимосвязь между ними с соблюдением установленных противопожарных норм и правил. На территории предприятий должны быть основные и вспомогательные дороги, позволяющие свободный подъезд ко всем зданиям, сооружениям и другим объектам. Нормами установлена ширина проезда основной (6 м) и вспомогательной (4 м) дорог. Для противопожарной профилактики все здания и сооружения оборудуются молниезащитными устройствами. Согласно СНиП для защиты объектов от прямых ударов молнии устраивают молниеотводы. Большую опасность для возникновения пожаров представляет отопление помещений и сооружений. Согласно СНиП предприятия, как правило, должно быть оборудованы системой центрального водяного, парового или калориферного отопления. Установка печей в складских помещениях допускается только в том случае, когда невозможно устроить центральное отопление, а хранимые в них товары требуют поддержания определённой температуры. При этом топки печей должны быть вынесены в подсобные помещения или коридоры. Во всех случаях устройство отопления на складах и других предприятиях должно быть согласовано с органами

Государственного пожарного надзора. Противопожарными правилами и нормами при устройстве отопления предусмотрены защита стен и перегородок в местах примыкания к ним печей и дымоходов негорючими теплоизоляционными материалами, применение качественного кирпича для кладки печей, устройство надёжных фундаментов и др. Запрещается устройство горизонтальных дымоходов и прочистных отверстий в дымовых трубах. Дымовые трубы в зданиях со сгораемыми кровлями следует оборудовать искроуловителями. Дымовые и вентиляционные каналы необходимо выполнять строго вертикально, с перегородками между ними толщиной не менее чем полкирпича с тщательным швов раствором. Система вентиляции и кондиционирования воздуха в противопожарном отношении должны изготавливаться из материалов, исключающих образование искр, и иметь надёжное заземление. Для каждого объекта устанавливается определённый противопожарный режим - совокупность определённых мер и требований пожарной безопасности, установленных для объекта и подлежащих обязательному выполнению всеми работниками данного объекта. Он определён правилами, инструкциями, приказами и распоряжениями руководителя предприятия. Противопожарный режим включает содержание помещений и рабочих мест в чистоте и порядке, установление и соблюдение правил хранения товарно - материальных ценностей, выполнение технологических операций, выделение мест для отдыха и курения, порядок осмотра и закрытия помещений после окончания работы, содержание путей и порядок эвакуации людей и материальных ценностей в случае пожара и т. д.

6.1.3 Организация пожарной охраны на предприятиях

Надзор за соблюдением противопожарных правил и норм на предприятиях и в организациях осуществляют государственные и общественные органы. Государственный надзор возложен на Главное управление и пожарной охраны Министерства внутренних дел РФ и его органы на местах. Органы Госпожнадзора имеют право осуществлять проверки на предприятиях и в организациях. При выяснении нарушений и норм противопожарной безопасности они дают предписания по устранению выявленных недостатков и в необходимых случаях приостанавливают полностью или частично работу предприятий. После устранения угрозы возникновения пожара разрешают руководителям возобновить работу. Правилами пожарной безопасности предусмотрена личная ответственность руководителями предприятий и организаций за несоблюдение установленных правил и норм. Лица, допускающие нарушения и не выполняющие предписаний органов государственной и общественной противопожарной охраны, привлекаются к административной, дисциплинарной, а при грубых нарушениях - к уголовной ответственности. Органы Государственного пожарного надзора имеют право в административном порядке налагать на должностных лиц денежные штрафы до 50, а на граждан - до 10 минимальных окладов. Во всех населённых пунктах создаётся пожарно-сторожевая охрана (ПСО). Она может создаваться на крупных предприятиях. Первичным подразделением пожарно-сторожевой охраны является отделение, состоящее из 5 - 9 человек. Подразделения пожарно-сторожевой охраны оснащаются необходимой техникой для тушения пожара: автоцистернами, автонасосами, передвижными насосными станциями и т. п. Для общего руководства пожарной безопасностью на крупных предприятиях создаются пожарно-технические комиссии (ПТК), возглавляемые заместителем руководителя или главным специалистом. Эти комиссии разрабатывают мероприятия по пожарной профилактике, привлекая к работе широкий круг сотрудников и общественных активистов. На крупных предприятиях из рабочих и служащих создаются добровольные пожарные дружины (ДПД). Их состав определяется руководителем предприятия или организации. Личный состав ДПД проходит специальную подготовку по борьбе с огнём и правилами противопожарной безопасности. ДПД возглавляется командиром, который подчиняется непосредственно руководителю предприятия или организации и руководителю противопожарной технической комиссии (ТПК). Личный состав ДПД подразделяется на боевые расчёты применительно к рабочим сменам. Каждый боевой расчёт возглавляется командиром, подчиняющимся командиру ДПД и руководителю смены. Добровольные пожарные дружины контролируют выполнение противопожарных правил и норм и готовность средств пожаротушения на предприятиях, проводят разъяснительную работу среди сотрудников по вопросам пожарной безопасности, вызывают пожарные команды в случае возникновения пожара, принимают меры к его тушению. Большую противопожарную - профилактическую работу проводят добровольные противопожарные общества, создающиеся на предприятиях и в организациях.

В члены ДПО принимаются граждане РФ, достигшие 18-летнего возраста, знающие и признающие устав общества. Для членов ДПО установлена эмблема, форменная одежда и знаки различия. Для контроля за соблюдением правил пожарной безопасности избираются общественные контролёры, которые в своей работе руководствуются специальным положением. Общественным контролёрам органов Госпожнадзора совместно с советами добровольных противопожарных обществ выдаются удостоверения установленного образца. Им предоставлено право контроля по вопросам пожарной безопасности на предприятиях. На предприятиях для оповещения руководителей, членов ДПД и других работников в случае пожара разрабатывается система их вызова. При этом извещателям должен быть обеспечен свободный доступ к телефонам и другим средствам связи. Отдельные помещения предприятий (например, помещения складов) оборудуются специальной автоматической пожарной сигнализацией, которая может быть выведена к охране или взята на пульт местных органов внутренних дел.

6.1.4 Средства тушения пожаров и пожарная сигнализация

На практике различают три стадии развития пожара. Первая, или начальная стадия развития пожара, характеризуется неустойчивостью, сравнительно низкой температурой в зоне пожара, малой высотой факела пламени и небольшой площадью очага горения. Для второй стадии характерно значительное увеличение тепла , факела пламени и площади горения. Третья стадия пожара характеризуется высокой температурой, большой площадью горения, конвентивными потоками, деформацией и обрушением конструкции. Выбор средств и методов тушения пожаров зависит от стадии пожара и горючих веществ. Процесс тушения пожаров подразделяется на локализацию и ликвидацию огня. Под локализацией пожаров понимают ограничение распространение огня и создание условий для его ликвидации. Под ликвидацией пожаров понимают окончательное тушение или полное прекращение горения и исключение возможности повторного возникновения огня. Успех быстрой локализации и ликвидации пожара в его начальной стадии зависит от наличия средств тушения пожаров и умения пользоваться ими, средств пожарной связи и сигнализации для вызова пожарной команды и приведения в действие автоматических огнегасительных установок. Основными огнегасительными средствами и веществами являются вода, пена, песок, инертные газы, сухие (твёрдые) огнегасительные вещества и др. Вода - наиболее распространённое средство тушения пожаров.

Покрывая поверхность веществ, она поглощает иного тепла и охлаждает горящие вещества до температуры, при которой невозможно их горение. 1 л воды при нагревании от 0 до 100С поглощает 100 ккал тепла, а при испарении - ещё 539 ккал. Водяной пар разбавляет воздух до содержания в нём 14 - 15% кислорода, в результате чего горение прекращается. Механическое действие струи воды заключается в сбивании пламени с горящих поверхностей. Тушение пожаров может проводиться с применением компактных струй воды, либо распылением воды. При горении горючих жидкостей, электропроводов, а также некоторых химических веществ вода не применяется, в связи с образованием вредных взрывоопасных веществ, усиливающих горение. Широкое распространение для тушения пожаров всех видов нефтепродуктов и других горючих веществ получают огнегасительные составы на основе галлоидированных углеводородов (бромистого этила, тетрафтордибромэтана). Огнегасительные вещества могут подаваться в очаг горения стационарными и передвижными установками пожаротушения, а также с помощью огнетушителей. Огнетушители предназначены для тушения пожара с помощью различных огнегасительных веществ. В зависимости от огнегасительных веществ различают жидкостные, пенные, газовые и порошковые огнетушители. Жидкостные и пенные огнетушители представляют собой металлический баллон, заполненный щелочной жидкостью, внутрь которой введена стеклянная или полиэтиленовая трубка (стакан), заполненная серной кислотой.

К стеклянной трубке снаружи проведен ударник. От удара ударник разбивает трубку. Кислота, соединяясь со щелочной жидкостью, образует пену. Вследствие смешения кислоты со щелочью в баллоне происходит бурная химическая реакция с высоким давлением (до 4 атм.), благодаря которому из огнетушителя выбрасывается струя пены длиной от 8 до 12м. Продолжительность действия огнетушителя примерно 60С. Преимущество пенных огнетушителей заключается в том, что пена гасит большинство горящих веществ, в том числе горящие жидкости (масла, керосин, бензин, нефть). В практике получили распространение ручные пенные химические огнетушители ОПХ-5. Для тушения электроустановок и приборов, находящихся под током, а также многих твердых и жидких горючих веществ применяются углекислотные огнетушители типа ОУ-2, ОУ-5, ОУ-8, технические характеристики которых приведены в (табл. 6.2). Углекислотный ручной огнетушитель состоит из металлического баллона, в котором под давлением 170 кг/см2 находится жидкая углекислота, вентиля с сифонной трубкой и раструба. Вентиль снабжен предохранительной мембраной, разрывающейся при температуре 50С и при повышении давления в баллоне до 220 кг/см2. Для приведения огнетушителя в действие направляют раструб на горящий предмет и открывают вентиль. Благодаря мгновенному расширению, жидкая углекислота выбрасывается в виде снега. Время действия углекислотных огнетушителей - 25-60 с, поливная длина струи - от 1,5 до3,5м.

Таблица 6.2

Тип

ОУ-2

ОУ-5

ОУ-8

Огнетушащая способность по классу В, мІ

0,45

1,08

0,65

Вместимость корпуса

2

5

8

Давление разрыва предохранительной мембраны, мПа (кгс/смІ)

 16 - 19 (160 - 190)

Продолжительность выпуска заряда, с, при температуре 20±5 єС, не более

8

9

20

Длина углекислотноснежной струи при температуре 20±5 єС, м, не менее

1,5

3,0

3,5

Габаритные размеры

440Ч220Ч108

570Ч230Ч140

8300Ч400

Масса заряда, кг

1,4±0,1

3,5±0,1

5,6±0,1

Масса огнетушителя, кг, не более

6

13,5

20


Согласно правилам эксплуатации периодически огнетушители подлежат перезарядке (раз в три месяца). Каждое предприятие должно иметь простейший ручной пожарный инвентарь (багры, ведра, топоры, лопаты, ломы и др.), размещенный на специальном щите. Использование инвентаря для целей, не связанных с пожаротушением, запрещено. Главным управлением пожарной охраны Министерства внутренних дел РФ утверждены нормы первичных средств пожаротушения для различных предприятий. Для борьбы с пожарами важное значение имеет своевременное сообщение о возникновении пожара. Для сообщения о пожаре широкое распространение получили электрическая и автоматическая системы сигнализации. Успешная борьба с возникшим пожаром зависит от быстрой и точной передачи сообщения о пожаре и месте его возникновения местной пожарной команде. Для этого могут быть использованы электрические (ЭПС), автоматические (АПС), звуковые системы пожарной сигнализации, к которым относят гудок, сирену и др. Как средство пожарной сигнализации используется телефон и радиосвязь. Основными элементами электрической и автоматической пожарной сигнализации являются извещатели, устанавливаемые на объектах, приемные станции, регистрирующие начавшийся пожар, и линейные сооружения, соединяющие извещатели с приемными станциями. В приемных станциях, расположенных в специальных помещениях пожарной охраны, должно вестись круглосуточное дежурство. Надежная пожарная связь и сигнализация играет важную роль в своевременном обнаружении пожаров и вызове пожарных подразделений к месту пожара. По назначению пожарная связь разделяется на три вида:

связь извещения, - диспетчерская связь, - связь на пожаре. В настоящее время на предприятиях используют лучевую и кольцевую электрическую пожарную сигнализацию. Лучевая пожарная сигнализация ТОЛ-10/50 применяется на предприятиях с круглосуточным пребыванием людей и обеспечивает прием сигналов, телефонный разговор с извещателем, пуск стационарных огнегасящих установок. Кольцевая пожарная сигнализация ТКОЗ-50М рассчитана на 50 извещателей ручного действия. Станция обеспечивает прием сигнала, фиксирование его записывающим прибором и автоматическую передачу сигнала в пожарную часть. В помещениях с некруглосуточным пребыванием людей устанавливают автоматические пожарные извещатели.

Срабатывающим фактором у этих извещателей являются дым, теплота, свет или те и другие факторы вместе взятые. Предприятия должны быть хорошо оснащены средствами пожаротушения, средствами пожарной связи и сигнализации. Помимо этого, в целях сохранения материальных ценностей от возможных пожаров сотрудники предприятия также должны выполнять требования противопожарной профилактики. Территория любого предприятия должна постоянно содержаться в чистоте и систематически очищаться от отходов производства. Все производственные отходы хранят в специально отведенных местах. Промасленные обтирочные и отработанные смазочные материалы должны храниться в металлической плотно закрывающейся таре.  Ко всем зданиям и сооружениям предприятий должен быть обеспечен свободный доступ. Проезды и подъезды к зданиям и пожарным водоисточникам, а также доступы к пожарному инвентарю и оборудованию должны быть всегда свободными. Противопожарные разрывы между зданиями запрещается использовать под складирование материалов, оборудования и для стоянки автотранспорта.

Переезды и переходы через железнодорожные пути должны быть всегда свободны для проезда пожарных автомобилей. На территории предприятий применение открытого огня (костры, факелы) запрещается. Все производственные, служебные, складские и вспомогательные здания и помещения должны постоянно содержаться в чистоте. Проходы, выходы, коридоры, тамбуры, лестницы не разрешается загромождать различными предметами и оборудованием. Все двери эвакуационных выходов должны свободно открываться в направлении выхода из здания. Запрещается использовать чердачные помещения в производственных целях и для хранения материальных ценностей. Чердачные помещения должны быть постоянно закрыты на замок. Ключи от этих замков должны храниться в определенном месте, доступном для их получения в любое время суток. Деревянные конструкции чердачных помещений обрабатывают огнезащитным составом. Перепланировка любых помещений может производиться по проекту, согласованному с местными органами Государственного пожарного надзора. В производственных и административных зданиях запрещается: - допускать к работе лиц, не прошедших противопожарный инструктаж; - устанавливать на путях эвакуации производственное оборудование, мебель, шкафы, сейфы и другие предметы; - оставлять помещения с неубранными бензином, керосином и другими легковоспламеняющимися жидкостями; - оставлять после окончания работы включенные в электросеть нагревательные приборы, телевизоры, радиоприемники и т. п.; - применять бытовые электронагревательные приборы (электрические чайники, кипятильники, утюги, плитки и т. п.) в местах, не отведенных для этой цели; - сушить и хранить материалы на приборах центрального отопления; - хранить и применять без присмотра легковоспламеняющиеся и горючие жидкости; - пользоваться электропроводкой с поврежденной изоляцией, а также неисправными электроустановочными изделиями (розетками, выключателями, и т. д.); - обертывать электросветильники бумагой, тканью и другими горючими материалами, а также эксплуатировать их со снятыми колпаками (рассеивателями); - обивать стены служебных помещений тканями, не пропитанными огнезащитным составом; - производить отогревание замерзших труб различных систем паяльными лампами и любым другим способом с применением открытого пламени: - хранить бумажную макулатуру; - содержать в неисправном состоянии световые указатели «ВЫХОД».

Курение допускается только в специально отведенных местах, оборудованных урнами для окурков и емкостями с водой. В этих местах должны быть вывешены надписи «Место для курения». Электрические сети и электрооборудование должны отвечать требованиям Правил устройства электроустановок, Правил технической эксплуатации электроустановок потребителей и Правил техники безопасности при эксплуатации электроустановок потребителей. Наибольшее число пожаров на предприятиях связано с нарушением правил электротехнических установок и устройств. В большинстве случаев пожары возникают в результате коротких замыканий в электрических цепях, перегрузок проводов и электрических машин токами, на которые они не рассчитаны, искрообразования. Важнейшим условием обеспечения пожарной безопасности электротехнических установок является правильный выбор электрооборудования в зависимости от среды помещения, в которой оно должно эксплуатироваться. В помещениях с нормальной окружающей средой сопротивление изоляции электропроводок измеряют не реже одного раза в год, в сырых помещениях, а также в помещениях с едкими газами и парами - не реже двух раз в год. Переносные электролампы, переносной электроинструмент должны подключаться к сети шланговым проводом, со специальным штепсельным разъемом, имеющим заземляющий контакт. В каждом помещении, которое по окончании работ закрывается, все электричество полностью обесточивается. Под напряжением может оставаться только дежурное освещение.

Ответственность за техническое состояние и контроль за эксплуатацией, своевременным и качественным ремонтом отопительных Установок по предприятию возлагается на главного энергетика, а в цехах - на начальника цехов. Перед началом отопительного сезона котельные, калориферные установки и приборы местного отопления должны быть отремонтированы. Не допускается складывать спецодежду, промасленную ветошь, горючие материалы на нагревательные приборы и трубопроводы отопления. Спецодежду следует сушить Только в специальных помещениях. Правильно рассчитанная и выполненная вентиляционная! установка уменьшает опасность возникновения пожаров, так! как исключает возможность образования пыле газовоздушных концентраций, опасных в пожарном отношении. Неправильное устройство или нарушение правил эксплуатации систем вентиляции может служить источником быстрого распространения огня. Причиной пожаров в системах вентиляции может быть объединение в вытяжных воздуховодах определенных огнеопасных веществ, которые объединять недопустимо.

Рассмотрим случай: Пожар произошёл в центре помещения с размерами 36*72м. Скорость распространения пожара - 0,8 м/мин. Помещение имеет дверные проёмы в торцевых стенах. Пожарная нагрузка однородная и размещена равномерно по площади помещения. Прибытие подразделений и подача стволов на тушение осуществлялись в следующей последовательности: 14-я минута - 1 ствол РС-70 (d = 19 мм),          20-я минута - 2 ствола РС-70 (d =19 мм), 25-я минута - 3 ствола РС-70 (d - 19 мм) и 1 ствол РСК-50 (d, = 13 мм),                            30-я минута - 2 ствола РСК-50 (d =13 мм). Определить момент локализации пожара и его площадь, построить график требуемого и фактического расхода воды, если нормативная интенсивность подачи воды 0,15 л/(с*м).

План помещения

Рис. 6.1

Решение:

1.                   Определим путь (L), пройденный огнем за время свободного развития пожара (τсв.р =14 мин.). Так как время свободного развития больше 10 минут, расчёты будем производить по формулам, предназначенным для нахождения площади при τсв.р > 10 мин. Тогда:

L14 = 5Vлин + Vлинτ2 = 5 * 0,8 + 0,8 * 4 = 7,2 м. (6.1)

τ2 = τсв.р - 10 = 14 - 10 = 4 мин.                             (6.2)

Поскольку пожарная нагрузка однородная и равномерно размещена по площади помещения, фронт пожара будет перемещаться с одинаковой скоростью во всех направлениях, и площадь пожара на 14-й минуте будет представлять круг с радиусом

R = 7,2 метра, следовательно

S14п =πR2 = 3.14 * 7.22 = 162.7 м2.                   (6.3)

2  Определяем возможность локализации пожара первым подразделением подавшим на 14 минуте 1 ствол РС-70:

Обстановка пожара на 14 минуте

Рис.6.2.

Известно, что основным условием локализации пожара является (Qф>Qтр). Фактический расход воды (Qф) на 14 минуте известен из условия задачи и равен:

Qф14 = Nствqств = 1 * 7 = 7 л/с.                             (6.4)

Требуемый расход воды на тушение на 14 минуте определяется по формуле:


Так как пожар имеет круговую форму, локализацию осуществляют по периметру пожара, при этом площадь тушения имеет вид кольца и может быть рассчитана по формуле:

Sт14 = πhт (2Rп - hт) = 3,14*5 (2*7,2 - 5) = 147,5 м2

где hт - глубина тушения, для ручных стволов принимается равной 5 м;  Rп - радиус пожара, равный L, м. Поскольку Qф14 < Qтр14, (7 л/с < 22,1 л/с), можно сделать вывод, что первое подразделение локализовать пожар не может. Следовательно, после введения первого ствола (τ = 14 мин) пожар будет распространяться во все стороны. После введения первого ствола при Qф< Qтр линейная скорость распространения пожара будет составлять 50 % от табличного значения линейной скорости распространения пожара.

3  Определим путь, пройденный фронтом пожара на 20 минуте:

L20 = 5 Vлин + Vлин τ2 + 0,5 Vлин(τ - τсв.р) (6.6)

L20= 5*0,8 + 0,8*4 + 0,5*0,8(20 - 14) = 9,6 м.

Фронт пожара при L, равном 9,6 м, не достигает стенок помещения, следовательно, площадь пожара имеет круговую форму:

Sп20 = πR2 = 3,14 + 9,62 = 289,4 м2 .                    (6.7)

Определяем возможность локализация пожара подразделениями на 20-й минуте:

Qф20 = 1*7 + 2*7 = 21 л/с,         (6.8)

Sт20 = πhт(2Rп - hт) = 3,14*5(2*9,6 - 5) = 222,9 м2, (6.9)

Qтр20 = Sт20 Iтр = 222,9*0,15 = 33,4 л/с.             (6.10)

Так как Qф20 < Qтр20, подразделения локализовать пожар на 20 минуте не смогут. Следовательно, после 20 минут пожар будет продолжать распространяться и его площадь будет расти.

Обстановка пожара на 20 минуте

Рис. 6.3.

Определим путь, пройденный фронтом пожара на 25 минуте:

L25 = 5Vлин + Vлин τ2 + 0,5 Vлин(τ - τсв.р) = 5*0,8 + 0,8*4 + 0,5*0,8(25 - 14) = 11,6 м.

Фронт пожара при L равном 11,6 м, не достигает стенок помещения, следовательно площадь пожара по прежнему имеет круговую форму:

S = πR2 = 3,14*11,62 = 422,5 м. (6.11)

Определим возможность локализации пожара подразделениями на 25-й минуте:

Обстановка пожара на 25 минуте

Рис. 6.4.

Qф25 = 1*7 + 2*7 + 3*7 + 1*3,5 = 45,5 л/с,

Sт25 = πhт(2Rп - hт)2 = 3,14*5(2*11,6 - 5)2 = 285,7 м2,

Qтр25 = Sт25 Iтр = 285,7*0,15 = 42,8 л/с.

Так как на 25-й минуте Qф > Qтр, пожар будет локализован, следовательно, линейная скорость распространения пожара будет равна нулю. Площадь пожара на момент локализации также может быть определена по известной формуле:

Sп25 = π(5Vлин + Vлин τ2 + 0,5 Vлин(τ - τсв.р))2 =

,14(5*0,8 + 0,8*4 + 0,5*0,8(25 - 14))2 = 422,5 м2.

Для удобства построения совмещенного графика расчетные данные сведем в таблицу 6.3.

Таблица 6.3

Время, мин

Фактический расход воды, л/с

Требуемый расход воды, л/с

14 20 25 30

7,0 21,0 45,5 52,5

22,1 33,4 42,8 42,8


По данным таблицы строим график изменения требуемого и фактического расходов воды во времени.

Изменение требуемого и фактического расходов воды во времени

Рис. 6.5

6.2 Действие шума на организм человека

К настоящему времени накоплены многочисленные данные, позволяющие судить о характере и особенностях влияния шумового фактора на слуховую функцию. Течение функциональных изменений может иметь различные стадии. Кратковременное понижение остроты слуха под воздействием шума с быстрым восстановлением функции после прекращения действия фактора рассматривается как проявление адаптационной защитноприспособительной реакции слухового органа. Адаптацией к шуму принято считать случай временного понижения слуха не более чем на 10-15 дБ с восстановлением его в течение 3 мин. после прекращения действия шума. Длительное воздействие интенсивного шума может приводить к перераздражению клеток звукового анализатора и его утомлению, а затем к стойкому снижению остроты слуха. Установлено, что утомляющее и повреждающее слух действие шума пропорционально его высоте (частоте). Наиболее выраженные и ранние изменения наблюдаются на частоте 4000 Гц и близкой к ней области частот. При этом импульсный шум (при одинаковой эквивалентной мощности) действует более неблагоприятно, чем непрерывный. Особенности его воздействия существенно зависят от превышения уровня импульса над среднеквадратичным уровнем, определяющим шумовой фон на рабочем месте. В развитии профессиональной тугоухости имеют значение суммарное время воздействия шума в течение рабочего дня и наличие пауз, а также общий стаж работы. Начальные стадии профессионального поражения наблюдаются у рабочих со стажем 5 лет, выраженные (поражение слуха на все частоты, нарушение восприятия шепотной и разговорной речи) - свыше 10 лет.

Помимо действия шума на органы слуха, установлено его вредное влияние на многие органы и системы организма, в первую очередь на центральную нервную систему, функциональные изменения в которой происходят раньше, чем диагностируется нарушение слуховой чувствительности. Поражение нервной системы под действием шума сопровождается раздражительностью, ослаблением памяти, апатией, подавленным настроением, изменением кожной чувствительности и другими нарушениями, в частности, замедляется скорость психических реакций, наступает расстройство сна и т. д. У работников умственного труда происходит снижение темпа работы, ее качества и производительности. Действие шума может привести к заболеваниям желудочно-кишечного тракта, к сдвигам в обменных процессах (нарушение основного, витаминного, углеводного, белкового, жирового, солевого обменов), нарушению функционального состояния сердечно-сосудистой системы. Звуковые колебания могут восприниматься не только органами слуха, но и непосредственно через кости черепа (так называемая костная проводимость) Уровень шума, передаваемого этим путем, на 20-30 дБ меньше уровня, воспринимаемого ухом. Если при невысоких уровнях шума передача за счет костной проводимости мала, то при высоких уровнях она значительно возрастает и усугубляет вредное действие на организм человека.

При действии шума очень высоких уровней (более 145 дБ) возможен разрыв барабанной перепонки. Таким образом воздействие шума может привести к сочетанию профессиональной тугоухости (неврит слухового нерва) с функциональными расстройствами центральной нервной, вегетативной, сердечно-сосудистой и других систем, которые могут рассматриваться как профессиональное заболевание шумовая болезнь. Профессиональный неврит слухового нерва (шумовая болезнь) чаще всего встречается у рабочих различных отраслей машиностроения, текстильной промышленности и пр. Случаи заболевания встречаются у лиц, работающих на ткацких станках, с рубильными, клепальными молотками, обслуживающих прессо-штамповочное оборудование, у испытателей-мотористов и других профессиональных групп, длительно подвергающихся интенсивному шуму.

6.2.1 Нормирование уровня шума

При нормировании шума используют два метода нормирования: по предельному спектру шума; уровню звука в дБ. Первый метод является основным для постоянных шумов и позволяет нормировать уровни звукового давления в восьми октавных полосах частот со среднегеометрическими частотами 63, 125, 250, 500, 1000, 2000, 4000 и 8000 Гц. Шум на рабочих местах не должен превышать допустимых уровней, значения которых приведены в нормах ГОСТ 12.1.003-76, соответствующих рекомендациям Технического комитета акустики при Международной организации по стандартизации. Совокупность 8 допустимых уровней звукового давления называется предельным спектром. Исследования показывают, что допустимые уровни уменьшаются с ростом частоты (более неприятный шум). Второй метод нормирования общего уровня шума, измеренного по шкале А, которая имитирует кривую чувствительности уха человека, и называемого уровнем звука в дБА, используется для ориентировочной оценки постоянного и непостоянного шума, так как в этом случае мы не знаем спектра шума. Уровень звука (дБА) связан с предельным спектром зависимостью Lа =ПС+5. Для тонального и импульсного шума допустимые уровни должны приниматься на 5 дБ меньше значений, приведенных в таблице. Нормированным параметром непостоянного шума является эквивалентный по энергии уровень звука широкополосного, постоянного и неимпульсного шума, оказывающего на человека такое же воздействие, как и непостоянный шум Lэкв (дБА). Этот уровень измеряется специальными интегрирующими шумомерами или определяется расчетным путем.

6.2.2 Методы борьбы с шумом

Для борьбы с шумом в помещениях проводятся мероприятия как технического, так и медицинского характера. Основными из них являются: устранение причины шума или существенное его ослабление в самом источнике при разработке технологических процессов и проектировании оборудования; изоляция источника шума от окружающей среды средствами звуко и виброзащиты, звуко- и вибропоглощения; уменьшение плотности звуковой энергии помещений, отраженной от стен и перекрытий; рациональная планировка помещений;                      применение средств индивидуальной защиты от шума; рационализация режима труда в условиях шума; - профилактические мероприятия медицинского характера. Наиболее эффективный путь борьбы с шумом, причиной которого является вибрация, возникающая от ударов, сил трения, механических усилий и т. д. - улучшение конструкции оборудования. Наиболее эффективная мера - изменение технологии с целью устранения удара. Снижение шума и вибрации достигается заменой возвратно-поступательного движения в узлах работающих механизмов равномерным вращательным. При высоких тонах шумов эффективно демпфирование, при котором вибрирующая поверхность покрывается материалом с большим внутренним трением (резина, пробка, битум, войлок и др-) К демпфирующим материалам при этом предъявляются следующие требования: высокая эффективность, малая масса, способность прочно удерживаться на металле и предохранять его от коррозии. При невозможности достаточно эффективного снижения шума за счет создания совершенной конструкции той или иной машины следует осуществлять его локализацию у места возникновения путем применения звукопоглощающих и звукоизолирующих конструкций и материалов. Воздушные шумы ослабляются установкой на машинах специальных кожухов или размещением генерирующего шум оборудования в помещениях с массивными стенами без щелей и отверстий. Для исключения резонансных явлений кожухи следует облицовывать материалами с большим внутренним трением. Для снижения структурных шумов, распространяемых в твердых средах применяются звуко и виброизоляционные перекрытия.

Ослабление шума достигается применением под полом упругих прокладок без жесткой их связи с несущими конструкциями зданий, установкой вибрирующего оборудования на амортизаторы или специальные изолированные фундаменты. Вибрации, распространяющиеся по коммуникациям (трубопроводам, каналам), ослабляются стыковкой последних через звукопоглощающие материалы (прокладки из резины и пластмассы). Широко применяются противошумные мастики на битумной основе, Наносимые на поверхность металла. Наряду со звукоизоляцией в производственных условиях широко применяются средства звукопоглощения. Для помещений Малого объема (400-500 м3) рекомендуется общая облицовка стен и перекрытий, снижающая уровень шума на 7-8 дБ. Способность звукопоглощения характеризуется коэффициентом звукопоглощения (отношение звуковой энергии, поглощенной материалом, к энергии, падающей на него). Наиболее высокими коэффициентами звукопоглощения в широком спектре частот обладают штукатурки и плиты, минеральная вата, древесно-волокнистые плиты, камышитовые маты, войлок и пр. Эффективность звукопоглощения увеличивается при многослойном размещении поглощающих материалов с воздушными прослойками между слоями, а также перфорацией покрытий. В помещениях большого объема эффективны звукопоглощающие барьеры и объемные поглотители, подвешиваемые над шумными агрегатами, которые увеличивают звукопоглощение почти в 2 раза по сравнению с покрытием звукопоглощающими материалами потолков и стен. Поглощение аэродинамических шумов (выхлоп и всасывание воздуха пневматическими инструментами, компрессорами, вентиляторами и прочими агрегатами) осуществляется с помощью активных и реактивных глушителей. Выбор типа глушителя определяется уровнем и спектральным составом шума. Для глушения высокочастотных шумов эффективно использование активных глушителей, основанных на поглощении звуковой энергии, для низкочастотных - реактивных, основанных на принципе акустического фильтра.

Уменьшения шума можно достигнуть за счет рациональной планировки зданий, в соответствии с которой наиболее шумные помещения должны быть сконцентрированы в глубине территории в одном месте. Они должны быть удалены от помещений для умственного труда и ограждены зоной зеленых насаждений, частично поглощающих шум. Агрегаты с наиболее интенсивным шумом (выше 130 дБ) следует размещать вне территории предприятий и жилой зоны с подветренной стороны и отделять от границ населенных пунктов шумозащитной зоной или стеной. Агрегаты, создающие шум более 90 дБ, должны размещаться в изолированных помещениях. Если шумные агрегаты не могут быть звукоизолированы, для защиты персонала от прямого шумоизлучения должны применяться акустические экраны, облицованные звукопоглощающими материалами, а также звукоизолированные кабины наблюдения и дистанционного управления. Помимо мер технологического и технического характера широко применяются средства индивидуальной защиты антифоны, выполненные в виде наушников или вкладышей. Существует несколько десятков вариантов заглушей - вкладышей, наушников и шлемов, рассчитанных на изоляцию слухового прохода от шумов различного спектрального состава. Наиболее удобными и эффективными считаются вкладыши из смеси волокон органической бактерицидной ваты и ультратонких полимерных волокон из материала ФП («беруши»), позволяющие снизить уровень громкости шума на различных частотах от 15 до 31 дБ.

Отрицательное действие шумов может быть снижено путем сокращения времени их воздействия, построения рационального режима труда и отдыха, предусматривающего кратковременные перерывы в течение рабочего дня для восстановления функции слуха в тихих помещениях. Интенсивность звука определяется по логарифмической шкале громкости. В шкале - 140 дБ. За нулевую точку шкалы принят «порог слышимости» (наиболее слабое звуковое ощущение, едва воспринимаемое ухом, равное примерно 20 дБ), а за крайнюю точку шкалы - 140 дБ - максимальный предел громкости. Громкость ниже 80 дБ обычно не влияет на органы слуха, громкость от 0 до 20 дБ - очень тихая; от 20 до 40 - тихая; от 40 до 60 - средняя; от 60 до 80 - шумная; выше 80 дБ -очень шумная. Для измерения силы и интенсивности шума применяют различные приборы: шумометры, анализаторы частот, корреляционные анализаторы и коррелометры, спектрометры и др. Принцип работы шумометра состоит в том, что микрофон преобразует колебания звука в электрическое напряжение, которое поступает на специальный усилитель и после усиления выпрямляется и измеряется индикатором по градуированной шкале в децибелах.

Анализатор шума предназначен для измерения спектров шумов оборудования. Он состоит из электронного полосного фильтра с шириной полосы пропускания, равной 1/3 октавы. Большая научно-исследовательская работа по изучению источников шума, профилактики, закономерностей распространения его и влияние на организм человека проводится в Научно-исследовательском институте охраны труда РФ, Московском научно-исследовательском институте гигиены им. Ф. Ф. Эрисмана, научно-исследовательском институте строительной физики, Центральном научно-исследовательском и проектном институте по градостроительству. Основными мероприятиями по борьбе с шумом является рационализация технологических процессов с использованием современного оборудования, звукоизоляция источников шума, звукопоглощение, улучшенные архитектурно-планировочные решения, средства индивидуальной защиты.

На предприятиях и в организациях для борьбы с шумом проводятся рациональная планировка помещений, предназначенных для размещения в них машин, установка шумных машин и оборудования на специальных амортизационных и шумопогло-щающих приспособлениях, облицовка стен и потолка звукопоглощающими материалами (акустическая штукатурка и пористые плиты, минеральная вата, перфорированные конструкции и т. д.), пластиковое покрытие полов, использование декоративных драпировочных материалов.

На особо шумных производственных предприятиях используют индивидуальные шумозащитные приспособления: антифоны, противошумные наушники и ушные вкладыши типа «беруши». Эти средства должны быть гигиеничными и удобными в эксплуатации. В России разработана система оздоровительно-профилактических мероприятий по борьбе с шумом на производствах, среди которых важное место занимают санитарные нормы и правила. За выполнением установленных норм и правил осуществляют контроль органы санитарной службы, а также общественного контроля.

7. Экономическая часть

.1 Экономия эксплуатационных расходов на топливо

Экономической эффективности использование диагностической аппаратуры в условиях инфляции и связанного с ней роста цен на оборудование, материалы энергоресурсы, уровня оплаты труда, себестоимости перевозок многократно опережают рост доходов железнодорожного транспорта, существенное значение приобретает проблема использования имеющегося парка локомотивов. Экономически целесообразно удлинить срок службы оборудования и всего тепловоза в целом, что дает возможность отсрочить инвестиции в обновление парка локомотивов. Не малую роль в продлении срока службы играет использование новых устройств диагностирования электрических цепей тепловоза, Новые устройство позволяют повысить качество ремонта, снизить трудоемкость ремонтных работ а также уменьшить число внеплановых ремонтов. Расчет годовых эксплуатационных расходов на топливо В основу расчета затрат на топливо положена справка ВНИТИ 13-96-03 в соответствии с которой средний часовой расход топлива в эксплуатации для серийного тепловоза серии 2ТЭ-10В -164,59 кг/час. При годовом фонде работы грузового тепловоза 6000 ч, годовой расход топлива составил:


При цене дизельного топлива 1300 тыс.руб за 1 тонну, эксплуатационные расходы на топливо будут равны:

при том что экономия топливо после внедрения диагностических устройств составила 6 %, годовая экономия эксплуатационных расходов на топливо будет равна 16205,4 тыс.рублей.на 1 тепловоз.

7.2 Экономия эксплуатационных расходов на масло

В соответствии с данными АО "Коломенский завод", годовой расход масла дизели 1 ОД 100 составляет 1,69% от годового расхода топлива. При этом годовой расход масла дизели тепловоза 2ТЭ10В составит:


Где вм - процент расхода масла;

п - число секций.

Вмгод=164,59 0,0169 600 2=33,4 т/год.

Цена 1 т масла - 2950 тыс.руб, тогда годовые затраты на масло составят:

UM=eM- В?00 = 2950 - 33,4 = 98530. тыс.рус. на 1 тепловоз в год.

Цена 1т масла -2950 тыс.руб, тогда годовые затраты на мало составят:

Уменьшение расхода масла, от использования диагностической аппаратуры. Составила 4%.

Годовая экономия затрат на масло будет равна 3941,2 тыс. руб в год на один тепловоз.

Годовой экономический эффект Э от внедрения диагностической аппаратуры рассчитывается по формуле:


где Ci и С2 - себестоимость единицы ремонта тепловозов при использовании базовой и новой технологии ремонта в руб;

ki и К2 - удельные капитальные вложения в производственные фонды

при базовой и новой технологии ремонта в руб;

Ен - нормативный коэффициент экономической эффективности; А2 - годовая программа ремонта локомотива после внедрениядиагностической аппаратуры, ед. Величена капитальных вложении на внедрение диагностической аппаратуры рассчитывается исходя из типа и количество необходимого оборудования, технологической оснастки и оптовой цены за оборудование, монтажных работ и д.р. Капитальные вложения по годам:

Первый 80000 тыс.руб; Второй 4000 тыс.руб;

Третий 600000 тыс.руб; Срок освоения диагностической аппаратуры 1 год. Расчетный год от начала проектирования 5- и

Годовая программа ремонта тепловозов, ед.:

При базовой технологии 130;

При новой технологии 180;

Трудоемкость единица ремонта, чел,- ч: При базовой технологии 2600;

При новой технологии 2100; Себестоимость ремонта, тыс. руб:

В базовом периоде 18000; при новой технологии в новом году 16000;

Рост производительности труда за четыре года проектирования строительство и освоения аппаратуры составил:


где Р - ежегодное увеличение труда;

tc - общий срок проектирования , строительства, освоение

освоение диагностической аппаратуры.


Себестоимость единицы ремонта снизилась на:

Трудоемкость ремонта за этот период времени с учетом роста производительности труда:


где 0,6- рост заработной платы при увеличение производительности

труда на 1%;

,57- доля заработной платы в себестоимости ремонта тепловоза. В связи с увеличением программы ремонты, себестоимость по базовому варианту должна быть скорректирована. Анализ затрат позволяет выделить общехозяйственные расходы депо и часть расходов, общих для всех отраслей хозяйства. Единица себестоимости ремонта тепловоза при базовой технологии скорректированная на увеличение программы ремонта:


Материалоемкость текущего ремонта тепловозов не меняется. Удельные капитальные вложения рассчитываются по формуле:

где Kt - капитальные вложения n-го года, тыс.руб.;

tc - общий срок проектирования, создания и освоение

диагностической аппаратуры;

tn - год создания и освоения диагностической аппаратуры; tun - нормативный коэффициент приведения нормативных затрат, равный 0,1.


Удельные капитальные вложения на ремонт по вариантом будут равны: Ki=0


Снижение трудоемкости ремонта позволит высвободить рабочих:


где ti- производительность ремонта, скорректированная на рост производительности труда при базовой технологии, чел.-ч;

Таблица 7.1 Показатели эффективности внедрения диагностической аппаратуры

Показатели

Един,Измер.

Базоваятехнология

Новая




Технология

Программа ремонтов

ед

130

180

Высвобождениеработников

Чел.

-

38

Капитальныевложения

Млн.руб

1528

1250

Удельные капитальныевложения

Тыс.руб/ед

-

6900

Себестоимость единицыремонта

Тыс.руб.

17700

16000

Экономияэксплуатационныхрасходов: на топливо

Тыс.руб/ год

-

16405,4

на масло


-

3941,2

Годовой экономическойэффект

Млн.руб

-

16607

Рост производительность

%

-

4,03


Заключение

Существует два основных направления при проектирование тепловоза: Первый способ заключает в себе снижение объёма диагностики и ремонта путём увеличения коэффициентов запаса прочности. Второй способ - это снижение коэффициентов запаса прочности при непрерывном его контроле.

В современных условиях при повышенных требованиях к экономичности и снижению материалоёмкости, более перспективным представляется второе направление. При реализации его в данном дипломном проекте показано что большинство задач технической диагностики могут быть решены сравнительно простыми средствами.

датчик тепловоз диагностика манометр

Список использованных источников

1. В.З. Зюбанов Оформление графических работ и пояснительной записки при курсовом и дипломном проектировании. Краткие методические указания для студентов специальности 150700 «ЛОКОМОТИВЫ», Москва, 2002г. 47с.

. К.И Рудая. Электрическое оборудование тепловозов; Устройство и ремонт; учебник для техн. школ ж.д. транспорт-5-е изд., перераб. и доп.- М.:Транспорт, 1981г. 287с.,ил.,табл.

З.Ж локо

.Б.Н. Морожкин Измерительные приборы магистральных тепловозов. М., «Транспорт», 1975г. 72с.. ил., табл.

.О.С. Арутюнов Датчики состава свойств веществ. М., «Энергия», 1966г. 160с., ил.,табл

. Б.И. Вилькевич Справочник по электрооборудованию тепловозов. -Ташкент-«Мехнат», 1994г. 172с.,ил.,табл.

. В.Г. Быков, Б.Н. Морожкин, Г.Е. Серделевич, Ю.В. Хлебников, В.М. Ширяев Пассажирский тепловоз ТЭП70. М., «Транспорт», 1974г. 232с. ,табл.

. Электрические измерения неэлектрических величин. Изд. 5-е, перераб. и доп. Л., «Энергия», 1975г. 576с.,ил., табл.

9.     А.Л Левицкий., Ю.Г. Сибаров Охрана труда в локомотивном хозяйстве-3-е изд., перераб. и доп.-М.:Транспорт., 1989-216с.:ил.,табл.-библиогр.: 215с.

10. Ю.Г. Сибаров Д.В. Дегтярев и др. Охрана труда на ж.д. транспорте.-М.: Транспорт, 1981г.287с., ил., табл.

. В.А. Дмитриев Экономика ж.д. транспорта. Учеб.для вузов ж.д. траспорт.-М.: Транспорт, 1996г. 328с., ил., табл. Приложение

Похожие работы на - Повышение эксплуатационных качеств тепловоза путём модернизации бортовой системы диагностики

 

Не нашли материал для своей работы?
Поможем написать уникальную работу
Без плагиата!
Без нейросетей!