Исследование хозяйственной деятельности компании ООО 'Точные решения'

  • Вид работы:
    Отчет по практике
  • Предмет:
    Эктеория
  • Язык:
    Русский
    ,
    Формат файла:
    MS Word
    1,21 Mb
  • Опубликовано:
    2012-03-20
Вы можете узнать стоимость помощи в написании студенческой работы.
Помощь в написании работы, которую точно примут!

Исследование хозяйственной деятельности компании ООО 'Точные решения'

МИНИСТЕРСТВО ОБРАЗОВАНИЯ И НАУКИ РОССИЙСКОЙ ФЕДЕРАЦИИ

ФЕДЕРАЛЬНОЕ АГЕНТСТВО ПО ОБРАЗОВАНИЮ

МОСКОВСКАЯ ФИНАНСОВО-ЮРИДИЧЕСКАЯ АКАДЕМИЯ

ОРСКИЙ ФИЛИАЛ

Кафедра прикладной информатики






ОТЧЕТ

по преддипломной практике

МЕСТО ПРОХОЖДЕНИЯ ПРАКТИКИ ООО "Точные решения"

выполнил студент очного отделения 5 курса

Климёнова А.О.

руководитель практики Варкентин В.Ф.





Орск 2011

Содержание

 

Введение

1. Анализ деятельности предприятия

1.1 Основные направления хозяйственной деятельности предприятия

1.2 Описание внешней среды

1.3 Организационная структура предприятия

1.4 Характеристика финансово-экономического положения предприятия

1.5 Анализ основных направлений деятельности предприятия

1.6 Основные бизнес-процессы предприятия

2. Информационная система компании ООО "Точные решения"

Заключение

Приложение

Введение

Производственная практика является неотъемлемой частью учебного процесса. В ходе ее прохождения студент углубляет свои знания в конкретной области и закрепляет свои профессиональные навыки, которые он получает в процессе обучения на основе изучения практических ситуаций и применения имеющихся знаний.

Целью данной производственной практики является: изучение практических ситуаций, сбор и анализ материала, необходимого для составления отчёта по практике.

Задачами преддипломной практики является: ознакомление с хозяйственной деятельностью предприятия; изучение основных бизнес-процессов на предприятии; анализ системы электронной коммерции на предприятии; изучение информационной системы предприятия; изучение степени автоматизации рабочих процессов не предприятии; подбор и систематизация материалов для выполнения дипломного проекта.

В качестве объекта для прохождения преддипломной практики была выбрана компания ООО "Точные решения". Эта компания образовалась в городе Орске в 2004 году. За время своего существования она себя зарекомендовала как компанию с высоким уровнем квалификации в своей области. Главным направлением деятельности компании является продажа и последующее сопровождение программных продуктов на базе платформы 1С: Предприятие.

Первоочередными и перспективными направлениями деятельности для компании ООО "Точные решение" являются:

Продажа готовых решений на платформе 1С: Предприятие.

Разработка систем автоматизации бизнес-процессов и их сопровождение.

Изучение и внедрение на рынок новых технологий автоматизации торговли.

Качественное обслуживание клиентов.

Повышение оперативности и качества обслуживания клиентов.

В ходе прохождения практики были пройдены такие основные этапы как:

Ознакомление с уставом компании.

Общее знакомство с организацией и ее подразделениями.

Инструктаж по технике безопасности и ознакомление с условиями труда.

Ознакомление с инструктивным материалом, выполнение заданий.

1. Анализ деятельности предприятия


1.1 Основные направления хозяйственной деятельности предприятия


Компания ООО "Точные решения" начала осуществление свой деятельности в городе Орске Оренбургской области в 2004 году. Компания располагается по адресу: Оренбургская область, город Орск ул. Строителей 28Б, телефон (3536) 22-17-67, факс (3536) 22-20-79. Эта организация является официальным представителем фирмы 1С в Оренбуржье.

Компания осуществляет свою деятельность в области продвижения информационных технологий. Компания ООО "Точные решения" начала свою деятельность с реализации программ на базе технологической платформы - 1С: Предприятие 7.7, после чего появилась платформа 1С: Предприятие 8.1, а в данный момент уже используются программы на платформе 1С: Предприятие 8.2 Для автоматизации рабочего процесса у заказчиком наибольшей популярностью пользуются некоторые конфигурации на базе 1С:

1)   1С: Управление торговлей - программа, позволяющая вести учет на складах, автоматизировать задачи оперативного и управленческого учета. Правильное использование конфигурации помогает руководителю обеспечить эффективное управление современным торговым предприятием. Программу можно назвать системой поддержки принятия решений.

2)   1С: Зарплата и управление персоналом - программа, облегчающая учет операций, связанных с расчетом заработной платы и кадровым учетом. В программе можно решать ряд задач, таких как, прием сотрудников, подбор персонала, кадровый учет, составление штатного расписания, учет неявок, составление графика отпусков, учет отработанного времени и расчет заработной платы. Таким образом, продукт автоматизирует обработку большого количества информации связанной с расчетами и контролирует правильность составления документов.

3)   1С: Бухгалтерия предприятия - продукт для автоматизации бухгалтерского учета на предприятии. Осуществляет контроль движения товарно-материальных ценностей в организации. Реализуется механизм сдачи периодической бухгалтерской отчетности.

Компания ООО "Точные решения" осуществляет так же послепродажное сопровождение и обслуживание программных продуктов. Основная деятельность фирмы заключается в разработке прикладных решений для программ на базе платформы 1С. Компания занимается информационным сопровождением деятельности предприятий, что необходимо для эффективного продвижения бизнеса в нынешнее время, так как размещение информации о себе в Интернет, это своего рода реклама фирмы. Постепенно фирма расширила спектр своих услуг в области информационных технологий. На сегодняшний день в активе компании имеются сертификаты по знанию программных продуктов на базе 1С, количество которых постоянно увеличивается, что подтверждает высокую квалификацию сотрудников фирмы, что гарантирует обслуживание клиентов на высшем уровне.

Главной целью компании по предоставлению услуг в области IT - технологий является, изучение и внедрение на предприятиях новых технологий в сфере информационных систем и программного обеспечения, а так же поддержка и техническое сопровождение уже существующих систем.

Основными задачами компании "Точные решения" являются:

Расширение круга обслуживаемых клиентов, с целью создания однотипной информационной базы в восточной части Оренбургской области;

Повышение качества обслуживания клиентов;

Повышение оперативности реагирования на изменения как внутри организации так и во внешней среде;

Изменение имеющихся и разработка новых продуктов, для ведения бизнеса на оптимальном уровне;

финансовый экономический бизнес организационный

Внедрение новейших программных и аппаратных средств, для возможности автоматизировать рабочие места сотрудников, тем самым улучшить и ускорить рабочий процесс на предприятии;

Объединение обслуживаемых организаций в единую сеть, посредством технологий Интернет, для немедленного реагирования и решения возникших проблем на стороне клиента.

Информационное сопровождение деятельности предприятий в Интернет.

1.2 Описание внешней среды


Компания ООО "Точные решения" активно взаимодействует с внешней окружающей средой. Ведется мониторинг изменений и нововведений в области информационных технологий, а так же изменений и дополнений в законодательстве Российской федерации. Например, компания ООО "Точные решения" занимается продажей и обслуживанием только лицензионного программного обеспечения, что необходимо в нынешнее время. Потому что приобретая лицензионные продукты, заказчик может не переживать за качество работы программ. Многие предприятия переходят на лицензионное программное обеспечение, что позволяет избежать проблем с государственными органами, которые проводят проверки организаций на наличие установленных нелицензионных программ, что влечет за собой штрафы.

1.3 Организационная структура предприятия


Организационная структура компании ООО "Точные решения" является линейно-функциональной. В которой директор организации осуществляет руководство над всеми отделами, в свою очередь руководители отделов являются ответственными за деятельность осуществляемую в рамках своих подразделений.

На рисунке 1. представлена схема организационной структуры компании ООО "Точные решения"

Рисунок 1. - Организационная структура предприятия

Для осуществления деятельности компании привлекаются работники одной категории:

квалифицированные специалисты, которые способны осуществлять: управленческую, экономическую, консультационно-методическую деятельность, и деятельность связанную, с внедрением и разработкой программных продуктов, а так же с проектированием и установкой технических компонентов информационной системы.

Все работники являются штатными сотрудниками компании.

Для эффективной работы сотрудникам фирмы необходимо выполнить ряд функциональных обязанностей, таких как:

1)   Определение общей цели деятельности.

2)   Планирование работы компании в целом и каждого сотрудника в отдельности.

3)   Разработка прикладных программных решений по запросам клиентов.

4)   Высококвалифицированные консультационные услуги.

На 1 января 2011 года в штат сотрудников входит 17 человек.

Залогом процветания и успешного развития компании является поддержание духа корпоративного единства и забота о сотрудниках. Руководитель компании создает необходимые условия для работы персонала, тем самым заботясь о своих сотрудниках. Так же рассматриваются предложения со стороны персонала по улучшению условий труда, и внесение корректировок в планы работ. Это позволяет обеспечить объективность оценки деятельности каждого сотрудника фирмы, тем самым имеет место пересмотр заработной платы работников и их премирование по итогам выполненных работ.

Постоянно ведется контроль деятельности каждого работника, что позволяет эффективно распределять виды и количество работ между сотрудниками. По окончанию выполнения задания сотрудник обязан представить отчет о совершенных действиях.

Компания "Точные решения" - это универсальная организация по установке и сопровождению программных продуктов. Ключевыми видами деятельности фирмы являются: внедрение программного обеспечения, разработка и доработка прикладных решений для работы в программах 1С, совместное использование программ на платформе 1С с другими программными продуктами. А так же установка необходимого технического оснащения на рабочие места заказчиков и своевременный контроль за его состоянием. Обеспечение бесперебойной работы всей информационной системы заказчика, проведение необходимых профилактических мероприятий.

1.4 Характеристика финансово-экономического положения предприятия


По данным бухгалтерской отчетности компании "Точные решения" можно сделать сравнительный анализ следующих наиболее важных для организации показателей. Прибыль от результатов финансово-хозяйственной деятельности компании за 2009 год составила 2784 тыс. рублей, что на 234 тыс. рублей больше прибыли 2008 года.

Собственный капитал компании увеличился на 1980 тыс. рублей относительно 2008 года и составил 9562 тыс. рублей.

1.5 Анализ основных направлений деятельности предприятия


Компания "Точные решения"

На рисунке 2. представлены основные направления деятельности компании "Точные решения"

Рисунок 2. - Основные Бизнес - направления.

В свою очередь каждое бизнес - направление детализируется:

) К техническому обеспечению работы информационной системы относится:

Прокладка локальной сети предприятия;

Установка необходимого технического оборудования и его настройка;

Установка лицензионного программного обеспечения.

) Под программной поддержкой работы предприятия подразумевается:

Установка платформы и стандартных конфигураций 1С: Предприятие;

Разработка нового прикладного продукта на основе 1С;

Внесение изменение в стандартную конфигурацию 1С под нужды заказчика.

Переход с более поздней версии платформы на новую (если в этом есть необходимость);

) К методической поддержке относится:

Переход с более поздней версии платформы на новую (если в этом есть необходимость);

Установка последних актуальных обновлений в программы (в том числе в связи с изменениями в законодательстве);

Консультация по возникшим вопросам;

Помощь в ведении учета на предприятии;

) Информационное сопровождение деятельности предприятия подразумевает:

создание сайта предприятия;

размещение сайта на хостинге;

1.6 Основные бизнес-процессы предприятия


Для эффективной работы фирмы организуются бизнес-процессы

1)   Основные бизнес-процессы - бизнес-процессы, которые составляют основную деятельность компании и создают стабильный поток доходов.

2)   Поддерживающие бизнес-процессы - бизнес-процессы, которые обслуживают основную деятельность компании.

3)   Бизнес процессы управления - бизнес-процессы, которые управляют функционированием всей системы.

На рисунке 3. Представлены основные бизнес - процессы компании "Точные решения"

Рисунок 3. Бизнес - процессы организации

2. Информационная система компании ООО "Точные решения"


Информационная система предприятия - это взаимосвязанная совокупность средств, методов и персонала, используемых для сбора, хранения, обработки и выдачи информации в интересах достижения поставленной цели (в рамках деятельности компании). Это компьютеры, оснащенные специализированными программными средствами, которые служат технической базой и инструментом для информационных систем.

Информационное обеспечение автоматизированной системы управления представляет собой совокупность информации, необходимой для решения комплекса задач, входящих в подсистемы, то есть совокупность показателей, документов, классификаторов, словарей, массивов информации, языков записи данных, а также методов их организации, хранения и контроля, обеспечивающих взаимосвязанное решение задач подсистем управления. Основа автоматизированной системы управления - это интегрированная обработка производственно-экономической информации, охватывающая решение задач прогнозирования, планирования и управления производством с использованием современных средств.

Основными принципами построения информационного обеспечения являются:

) Принцип единой информационной базы, состоящий в том, что на машинных носителях накапливается и постоянно обновляется информация, необходимая для решения различных комплексов задач.

) Принцип одноразового ввода и накопления информации, заключающийся в том, что вся основная информация, с которой проводят работу в подсистеме, должна только один раз вводиться в подсистемы и храниться в памяти компьютера. Этот принцип является одним из основных, который и отличает автоматизированную систему управления от обычного решения отдельных задач на компьютерах. При этом в основных массивах исключается неоправданное дублирование информации, которое неизбежно возникает, если первичные информационные массивы создаются для каждой задачи отдельно.

) Принцип минимизации ввода и вывода данных, дающий возможность осуществлять обмен информацией между различными комплексами задач подсистем; он имеет решающее значение для повышения эффективности использования компьютерных средств.

) Принцип ввода изменений, заключающийся в том, что обновление информации в процессе регулярной работы ведется постепенно. Это сильно уменьшает нагрузку на вводные устройства, но в значительной степени увеличивает требования к достоверности вводимой информации.

) Принципы централизации обработки информации, предусматривающие одноразовость формирования, регистрации и ввода в подсистемы первичных данных, а также единство классификации документов, задач, реквизитов и т.д.

) Принцип гибкости информационной базы, заключающийся в том, что, помимо основных массивов, необходимо создавать и поддерживать любое количество постоянных или временных рабочих массивов. Это достигается специальным системным математическим обеспечением, позволяющим производить различные преобразования массивов. Необходимость рабочих массивов обусловливается тем, что основные массивы, будучи эталонами, не очень удобны для непосредственного использования при решении комплекса задач подсистем.

Для автоматизации системы управления на предприятии используются прикладные программные средства, при помощи которых решаются задачи по обмену и обработке информации. Как обычно, на предприятии используются программы автоматизации бухгалтерского учета, учета принимаемой и реализуемой продукции, в данном случае программного продукта. Автоматизирована система электронного документооборота как внутри организации, так и при взаимодействии с внешней средой фирмы. Автоматизированная система управления компании "Точные решения" создана решать круг задач:

учет движения товарно-материальных ценностей в компании;

проведение необходимых кассовых и банковских операций;

планирование целей и оперативное управление компанией;

учет заказов клиентов, мониторинг состояния заказа (исполнен, или находится в работе);

контроль и анализ выполнения каждой поставленной задачи;

детализированные отчеты как о работе каждого отдела, так и по сотруднику в частности.

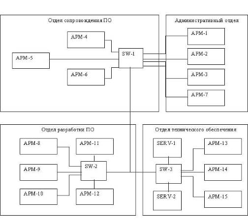
Для автоматизации работы в организации используются 15 персональных компьютеров необходимой комплектации; 2 сервера, один из которых является сервером хранения баз данных, необходимых для деятельности организации, а другой - предоставляет возможность работы в Интернет всем сотрудникам фирмы.

На рисунке 4. Представлена схема расположения автоматизированных рабочих мест (АРМ) компании "Точные решения"

Рисунок 4. Расположение автоматизированных рабочих мест.

АРМ-1 - директор;

АРМ-2 - секретарь;

АРМ-3 - менеджер по закупкам;

АРМ-4 - руководитель отдела сопровождения ПО;

АРМ-5 - консультант;

АРМ-6 - консультант;

АРМ-7 - главный бухгалтер;

АРМ-8 - программист;

АРМ-9 - программист;

АРМ-10 - программист;

АРМ-11 - руководитель отдела разработки ПО;

АРМ-12 - программист;

АРМ-13 - руководитель технического отдела;

АРМ-14 - технический специалист;

АРМ-15 - технический специалист;

SERV-2 - DNS сервер;

SW-1 - коммутатор на 8 портов;

SW-2 - коммутатор на 8 портов;

SW-3 - коммутатор на 8 портов.

Неотъемлемой частью Информационной системы любого современного предприятия является локальная вычислительная сеть. Для быстрого обмена данными внутри компании просто необходима компьютерная сеть. В зависимости от способа соединения компьютеров в сеть, типы локальных сетей подразделяются на проводные и беспроводные. Проводная сеть применяется на предприятиях, расположенных как в одном помещении, так и в нескольких зданиях и на нескольких этажах.

В компании организована локальная компьютерная сеть, в которую подключены все персональные компьютеры. Локальная вычислительная сеть - это совокупность аппаратного и программного обеспечения, позволяющего объединить компьютеры в единую распределенную систему сбора, обработки и хранения информации. Беспроводные сети строятся на основе оборудования Wi-Fi и так называемых точек доступа. Все подключаемые компьютеры должны находиться в радиусе действия такой точки. Как правило, действие такой сети ограничивается 100 метрами от точки доступа (при условии отсутствия помех - бетонных стен, зданий, перекрытий и т.д.). Улучшение качества передачи данных по сетям Wi-Fi обеспечивается увеличением количества точек доступа. Беспроводные сети выгодны небольшим предприятиям, которые арендуют офисы на непродолжительное время, так как настройка беспроводного подключения не требует прокладки кабеля, что требует дополнительных временных и материальных затрат. Такая сеть характеризуется мобильностью, высокой скоростью передачи и ограниченным радиусом действия. В нашем случае используется проводная сеть, потому что вся организация располагается в одном здании, и нет необходимости использовать беспроводные технологии.

Основные возможности локальных (компьютерных) сетей:

) Передача файлов:

Во-первых, это помогает экономить бумагу и чернила принтера.

Во-вторых, электрический сигнал по кабелю из отдела в отдел движется гораздо быстрее, чем любой сотрудник с документом, что значительно упрощает документооборот внутри организации.

) Разделение (совместное использование) файлов данных и программ: отпадает необходимость дублировать данные на каждом компьютере, т.к. в этом случае они находятся на сервере баз данных. Сеть позволяет сотрудникам работать в одной программе одновременно и видеть данные, вносимые друг другом (вход в программу под личной учетной записью, созданной для каждого сотрудника). Разделение доступа не позволяет получить доступ к информации того пользователя, у которого недостаточно для прав для чтения или изменения информации, что гарантирует сохранность данных.

) Разделение (совместное использование) принтеров и другого оборудования:

устанавливается один сетевой принтер, доступ к которому имеет каждый работник и при необходимости может напечатать нужную ему информацию

) Электронная почта: помимо экономии бумаги плюсом можно назвать и оперативности доставки. Почта используется как для внутреннего документооборота, так и для связи с внешними организациями (отправка и подтверждения заказов на продукцию поставщикам, договорные отношения с клиентами).

) Координация совместной работы: при совместном решении задач, каждый может оставаться на рабочем месте, но выполнять общую задачу, которой может заниматься все подразделение. Для руководителя своего отдела значительно упрощается задача контроля и координирования действий сотрудников, т.к. сеть создает единое, легко наблюдаемое виртуальное пространство с большой скоростью взаимодействия территориально разнесенных участников.

) Упорядочивание делопроизводства, контроль доступа к информации, защита информации: сеть также позволяет проводить единую политику безопасности на предприятии, всегда можно четко определить права доступа к документам и протоколировать все действия сотрудников. Запрет на доступ из внешней среды.

Локальная компьютерная сеть в компании организована на физической топологии "Звезда", которая представлена на рисунке 5.

Рисунок 5. Локальная компьютерная сеть, организованная в компании ООО "Точные решения"

Соединение типа "звезда". Каждый компьютер через специальный сетевой адаптер подключается отдельным кабелем к объединяющему устройству (коммутатор), который в свою очередь подсоединяется к серверу. При необходимости можно объединить вместе несколько сетей с топологией "звезда", при этом конфигурация сети получается разветвленной.

В нашем случае используется пассивная звезда - В центре сети с данной топологией содержится не компьютер, а концентратор, или коммутатор, что выполняет ту же функцию, что и повторитель. Он возобновляет сигналы, которые поступают, и пересылает их в другие линии связи.

Достоинства такой организации сети:

·              выход из строя одной рабочей станции не отражается на работе всей сети в целом;

·              хорошая масштабируемость <#"524842.files/image006.gif">

Рисунок 6. Клиент серверная модель базы данных предприятия.

Клиент - серверная база данных в современной организации разрабатывается и внедряется с целью снижения издержек на выполнение рабочих операций, снижения уровня рутинной работы, повышения производительности труда, повышения эффективности маркетинговых компаний и многого другого. Поскольку клиент серверная база данных является серьезным инструментом руководителя.

Качества клиент-серверной архитектуры:

1)      Надежность.

Сервер баз данных осуществляет модификацию данных на основе механизма транзакций, который придает любой совокупности операций, объявленных как транзакция, следующие свойства:

-              атомарность - при любых обстоятельствах будут либо выполнены все операции транзакции, либо не выполнена ни одна; целостность данных при завершении транзакции;

-              независимость - транзакции, инициированные разными пользователями, не вмешиваются в дела друг друга;

-              устойчивость к сбоям - после завершения транзакции, ее результаты уже не пропадут.

Механизм транзакций, поддерживаемый сервером баз данных, намного более эффективен, чем аналогичный механизм в настольных СУБД, т.к. сервер централизованно контролирует работу транзакций. Кроме того, в файл-серверной системе сбой на любой из рабочих станций может привести к потере данных и их недоступности для других рабочих станций, в то время, как в клиент-серверной системе сбой на клиенте, практически, никогда не сказывается на целостности данных и их доступности для других клиентов.

2)      Масштабируемость.

Масштабируемость - способность системы адаптироваться к росту количества пользователей и объема базы данных при адекватном повышении производительности аппаратной платформы, без замены программного обеспечения.

Общеизвестно, что возможности настольных СУБД серьезно ограничены - это пять-семь пользователей и 30-50 Мб, соответственно. Цифры, разумеется, представляют собой некие средние значения, в конкретных случаях они могут отклоняться как в ту, так и в другую сторону. Что наиболее существенно, эти барьеры нельзя преодолеть за счет наращивания возможностей аппаратуры.

Системы же на основе серверов баз данных могут поддерживать тысячи пользователей и сотни ГБ информации - дайте им только соответствующую аппаратную платформу.

3)      Безопасность.

Сервер баз данных предоставляет мощные средства защиты данных от несанкционированного доступа, невозможные в настольных СУБД. При этом права доступа администрируются очень гибко - до уровня полей таблиц. Кроме того, можно вообще запретить прямое обращение к таблицам, осуществляя взаимодействие пользователя с данными через промежуточные объекты - представления и хранимые процедуры. Так что администратор может быть уверен - что никакой посторонний человек не сможет проникнуть в базу и внести какие-либо изменения или причинить вред.

Бухгалтерский учет, а так же учёт движения товарно-материальных ценностей в организации ведется в программе 1С Предприятие: Бухгалтерия предприятия 8.2 Расчет заработной платы, учёт кадровых документов, ведётся с помощью конфигурации 1С Предприятие: Зарплата и управление персоналом. Помимо этих конфигураций для работы сотрудников имеется полный перечень конфигураций последних версий для платформ 1С: Предприятие 7.7., 1С: Предприятие 8.1., 1С: Предприятие 8.2 В компании используется 2 конфигурации специально разработанные сотрудниками фирмы ("Учет рабочего времени", "Биллинг").

Первая конфигурация предназначена для контроля опозданий сотрудников фирмы. У каждого сотрудника имеется в наличии именная карта доступа в систему, по которой работник обязан каждый день регистрироваться в момент своего прихода на рабочее место. В конце каждого месяца формируется отчет, по которому можно посмотреть суммарный итог всех опозданий за месяц. Таким образом, руководством поддерживается дисциплина в организации.

Вторая конфигурация предназначена для контроля за заказами клиентов, и содержит полную информацию обо всех сотрудниках фирмы, поставщиках, клиентах. Данная система автоматизирует процесс выполнения всех работ сотрудников организации. При поступлении заявок от клиентов (которые обычно сообщаются по телефону, но так же могут быть переданы с помощью факса либо по электронной почте), секретарь заносит их в "Биллинг", затем заказ устанавливается на нужный отдел и руководитель отдела распределяется поступившие заявки по своим сотрудникам. В результате чего заявка в считанные минуты попадает к сотруднику и встаёт в очередь на выполнение. Сотрудник же может вносить уточнения и корректировки в заказы клиентов, если это необходимо. Таким образом в конце месяца формируется статистика выполненных работ по контрагенту, на основе этой статистики выписывается счет клиенту на оплату услуг (стоимость оговаривается в договоре), а сотруднику начисляется зарплата в зависимости от выполненной им работы. Таким образом, конфигурация "Биллинг" автоматизирует весь рабочий процесс происходящий внутри компании.

3.      Информационная среда предприятия.

Схемы информационных потоков отражают маршруты движения информации и её объёмы, места возникновения первичной информации и использования результатной информации.

На Рисунке 7. Представлена схема информационных потоков в организации.

Рисунок 7. - Диаграмма потоков данных.

На всех АРМ установлено программное обеспечение:

) лицензионная ОС Windows;

) пакет программ Microsoft Office 2007;

) программы для удаленного управления ПК: Radmin 3.4, TeamViewer 6;

) 1С Предприятие 7.7;

) 1С Предприятие 8.1;

) 1С Предприятие 8.2;

7) почтовые клиенты (Microsoft Outlook, Mozilla Thunderbird).

Перечень используемого компьютерного оборудования установленного на автоматизированных рабочих местах представлен в таблице 1.

Таблица 1

Наименование оборудования

Количество, шт.

Компьютер intel core 2 duo

15

Монитор жидкокристаллический, 19”

15

Принтер лазерный HP

1

МФУ Samsung

1

Модем

1

Сервер Xeon 2.4

DNS сервер

1

Коммутатор 8 портов

3


На всех рабочих местах установлена стандартная комплектация компьютера.

4.      Электронная коммерция на предприятии

Использование современных информационных технологий является необходимым для работы компании ООО "Точные решения".

Если изначально активно использовалась в деятельности только электронная почта, то сейчас у фирмы есть свой сайт в Интернете (рис 8). На сайте размещена вся информация которая может заинтересовать как потенциальных клиентов, так и организации, уже находящиеся на обслуживании компании ООО "Точные решения".

Рисунок.8 Главная страница сайта компании ООО "Точные решения".

На сайте представлена подробная информация о деятельности компании, о видах услуг, оказываемых компанией и их стоимости, информация о продаваемых программных продуктах и ценах на них.


Не нашли материал для своей работы?
Поможем написать уникальную работу
Без плагиата!
Без нейросетей!