Составление документации по замене станций

  • Вид работы:
    Дипломная (ВКР)
  • Предмет:
    Информатика, ВТ, телекоммуникации
  • Язык:
    Русский
    ,
    Формат файла:
    MS Word
    705,36 kb
  • Опубликовано:
    2012-02-12
Вы можете узнать стоимость помощи в написании студенческой работы.
Помощь в написании работы, которую точно примут!

Составление документации по замене станций

Введение

Связь является важнейшей составной частью производственной инфраструктуры и инфраструктуры рынка, развитие которой серьёзно способствует укреплению в России рыночных отношений, повышению эффективности производства и улучшению благосостояния общества.

Быстро развивающиеся коммуникации в условиях жесткой конкуренции требуют от операторов связи своевременного развития и совершенствования транспортной сети, сети доступа, вторичных сетей для обеспечения широкой номенклатуры современных услуг электросвязи. В связи с ростом спроса на расширение телекоммуникационных услуг, в стране на данном этапе идет замена аналоговых станций на цифровые. Цифровая сеть по сравнению с аналоговой имеет ряд преимуществ: высокое качество передачи, эффективное функционирование, широкий спектр услуг, надежность, экономичность и т.д.

Проект представляет собой модернизацию и интеграцию существующей сети связи на основе замены существующей аналоговой сети на цифровую. Под модернизацией сети подразумевается введение в существующую сеть цифровых компонентов передачи и коммутации. Проектом предусматривается полная замена аналогового оборудования на современное цифровое.

Цель курсового проекта - составление документации в виде пояснительной записки по замене станций.

Актуальность курсового проекта состоит в том, что переход от аналоговой сети к цифровой с использование оборудования Huawei позволяет добиться более эффективного функционирования и обслуживания технических средств, повышения качества передачи информации, расширения спектра услуг, а также возможность подключения новых абонентов.

1. Структурная схема связи и краткая характеристика ее элементов

.1 Структурная схема связи до замены

Рис.1 Структурная схема связи

1.2 Структурная схема связи после замены станции


1.3 Краткая характеристика элементов сети

). РАТС АТСК - 100/2000. (Согласно «Системы коммутации» Гольдштейн Б.С. стр 79)

Оборудование АТСК- 100/2000 предназначено для станций емкостью от 100 до 2000 номеров, но допускает увеличение емкости до 4000 номеров. Используется в сельских телефонных сетях и в разных модификациях, в учрежденческих сетях некоторых ведомств. Для связи между станциями используются трехпроводные соединительные и универсальные шнуровые комплекты. АТСК - 100/2000 применяется в качестве ЦС, УС, ОС. В станциях такого типа используются следующие ступени искания: АИ, ГИ, РИ, основным коммутационным прибором является многократный координатный усилитель МКС 20*10*6, МКС 10*20*6 и МКС 10*10*12.

На АТСК- 100/2000 применяется обходное управление коммутацией по ступеням искания. Связь с другими АТС может быть организована по физическим двухпроводным цепям.

). АТС КУ. (Согласно РД 45.120-2000, п.3.)

Усовершенствованная координатная станция. Управление осуществляется с помощью общестанционных регистров и маркерах на ступенях искания. АТС КУ может передать 14 различных комбинаций цифр, за счет этого возможна попытка повторного набора через 700мс. Питание станции возможно от 58 до 66 В. Заземление относительно земли может быть ±8 В.

). АМТС

Автоматическая междугородная телефонная станция - часть телефонной сети общего пользования, представляющая собой совокупность междугородных телефонных станций, расположенных в различных зонах нумерации, телефонных узлов автоматической коммутации и каналов электросвязи, соединяющих их между собой. Между местными сетями и АМТС имеются исходящие ЗСЛ и входящие СЛМ.

). УВС

Узел входящего сообщения - узел местной аналоговой или аналого-цифровой телефонной сети, обеспечивающий автоматическое установление соединений от оконечных станций сети к оконечным станциям одного узлового района. Узел входящего сообщения используется при емкости свыше 60-70 тыс. номеров. Нумерация в таких сетях - шестизначная

). УСС

Для приема государственными организациями информации от населения в экстренных случаях, а также предоставления населению информационных услуг организуются справочные, заказные и экстренные службы. Доступ к ним от абонентов осуществляется через специальный узел входящего сообщения - узел спецслужб.

). УПАТС

Учрежденческо-производственная АТС - коммутационная станция, обеспечивающая телефонную связь между абонентами предприятия к услугам телефонной связи, а также выход на ТФОП. Цифровые УПАТс могут предоставлять ряд дополнительных видов обслуживания. Число абонентов, имеющих право выхода на ТфОП, более 128.Нагрузка составляет до 63 Эрл.

).УАТС

Учрежденческая АТС- коммутационная станция, обеспечивающая пользователям организаций внутреннюю связь по сокращенной нумерации, предоставляющая им ряд дополнительных видов обслуживания, а заранее выбранной группе абонентов - выход на телефонную сеть общего пользования Число абонентов, имеющих право выхода на ТфОП, не превышает 128. Нагрузка до 6 Эрл.

). ОПС.

Опорная станция - коммутационная станция телефонных сетей различного иерархического уровня, осуществляющая ввод и вывод трафика сети данного иерархического уровня (местный, междугородный, международный).

2. Нумерация проектируемого узла

(Согласно ОГСТфС 1986, стр 78-83).

На ГТС, в зависимости от ее емкости, следует использовать закрытую пяти-, шести-или семизначную нумерацию. На ГТС с узлами входящего сообщения используется шестизначная нумерация. Первая цифра является кодом узла, а первая и вторая цифра вместе - кодом РАТС. (Согласно ОГСТфС 1986, стр 95-96).

Каждой зоновой телефонной сети присваивается трехзначный код: АВС - код зоновой сети или междугородный код. Абоненты зоновых сетей должны иметь семизначную нумерацию для зоновой связи и десятизначную нумерацию для междугородной связи.

Абонентский номер зоновой сети (зоновый номер) состоит из двухзначного кода местной телефонной сети или кода стотысячной группы абонентов - ав (внутризонового кода) и пятизначного номера абонента в местной сети или в стотысячной группе.

Абонентский номер междугородной сети (междугородный номер) состоит из трехзначного междугородного кода и семизначного зонового номера абонента.

При автоматической междугородной телефонной связи абонент должен набирать:

- АВС ав ххххх;

где 8 - индекс выхода на АМТС, ЗТУ;

«-» сигнал (зуммер ответа АМТС);

АВС - междугородный код;

ав - зоновый номер;

авххххх - внутризоновый код;

ххххх - абонентский номер местной сети (местный номер) последние пять знаков номера при шестизначной нумерации (вххххх)

Примечания:

. В качестве «А» могут быть использованы любые цифры, кроме 1 и 2, а в качестве «В» и «С» - любые цифры.

. В качестве первого знака абонентского номера на местных телефонных сетях шестизначной нумерацией не могут использоваться цифры 8 и 0.

. В качестве «а» могут быть использованы любые цифры, кроме 8 и 0, а в качестве «в» - любые цифры, но с учетом примечания 2.

. Если абонент при местной связи для выхода на ГТС или ЦС набирает индекс выхода, то последний набирается дополнительно перед индексом выхода на АМТС (ЗТУ).

При автоматической зоновой телефонной связи абонент должен набирать:

-2 авххххх

где 2 - внутризоновый индекс;

авххххх - зоновый номер.

При организации в области городской и областной зон связь между ними осуществляется с использованием следующей нумерации. Для выхода из городской зоны в областную абонент должен набирать: 8-2авххххх, а для вывода из областной в городскую зону: 9-авххххх.

Примечание. В качестве первого знака абонентского номера местных сетей областной зоны не может использоваться наряду с цифрами 8, 0, 9.

При организации связи в области через АТУ входящая междугородная связь должна осуществляться набором стандартных междугородных номеров - АВС ав ххххх.

Примечание. При работе АМТС-3 с АТУ при наличии ПП между АМТС-3 и АТУ абонент набирает номер вида АВС 00ххххх.

Станции АМТС-3 не позволяют организацию автоматической международной связи.

Для выхода абонентов ГТС по заказным линиям и заказным и справочным службам АМТС (МТС) должна применяться трехзначная нумерация 071-070

Выход абонентов к службам АМТС по ЗСЛ должен осуществляться набором следующих номеров:

-11… 14, 18

Примечание. Номера междугородных служб распределяются следующим образом:

,13 - заказные службы;

, 14 - справочные службы;

(15 - резерв для международной службы);

- информационно-справочная служба.

Выход абонентов к международной службе (справочной и заказной), расположенной на АМТС, осуществляется:

). От абонентов своего города по заказным линиям набором номера 079, по ЗСЛ набором номера 8-10 L,

где 10 - индекс выхода на международную службу;- индекс выхода на определенную языковую группу или на другие службы.

). От абонентов зоны по ЗСЛ набором номера 8-19 L.

Вызов абонентами операторов выделенных ведомственных сетей осуществляется по двум вариантам:

Первый вариант. Вызов осуществляется набором:

- АВС 84,

где АВС - междугородный код зоны, на территории которой расположена выделенная ведомственная сеть.

Второй вариант. Вызов осуществляется набором:

- АВС 8х,

где АВС - междугородные коды, выделенные для выхода к ведомственным сетям (десять кодов);

х - двузначный номер ведомственной сети (десять номеров).

Примечание. При установлении междугородного соединения от абонента общегосударственной сети, включенного в АМТС-3 к абоненту ведомственной сети вызывающий абонент набирает десятизначный номер.

Для связи с абонентами подвижных объектов в каждой зоне выделяется внутризоновый код 90.

При работе по способу с набором собственного номера (НСН) абонент должен набрать после междугородного или зонового номера абонента или оператора ведомственной сети также собственный зоновый номер.

3.     
Функциональная схема вновь вводимой станции и ее характеристика

(Согласно «Huawei TO.doc» )

Цифровая АТС на базе цифровой коммутационной системы Huawei.

Цифровая коммутационная система с программным управлением C&C08, разработанная компанией Huawei Technologies, имеет большую емкость и соответствует Рекомендациям, Дополнениям ITU-T и европейским телекоммуникационным стандартам (ETS). Она обеспечивает интегрированные средства для доступа к коммутируемой телефонной сети общего пользования (PSTN), интеллектуальной сети (IN), цифровой сети интегрального обслуживания (ISDN) и Интернету, предоставляя широкие возможности для организации и совершенствования сетей связи.

Система С&С08 может применяться в качестве ОС,ОПТС, АМТС,MSC. Система обеспечивает интеграцию услуг голоса, данных и видео, видеоконференции, мультимедийную связь и т. д.

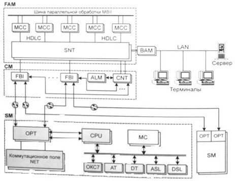
Рис. 2. Общая структура системы C&C08.

Вся система C&C08 состоит из следующих компонентов: модуля управления (AM), модуля связи (CM), модуля обработки услуг (SPM), модуля совместно используемых ресурсов (SRM; Shared Resource Module) и коммутационного модуля (SM), OFL: волоконно-оптическая линия.

Рис.2. Функциональная схема системы C&CO8.

в основном управляет установлением межмодульных соединений и обеспечивает открытую структуру управления хост-системой состоящей из центрального коммутатора и компьютерной сети. AM состоит из основного модуля управления (FAM; Front Administration Module) и вспомогательного модуля управления (BAM; Back Administration Module). управляет установлением соединений между модулями всей системы; для установления любого соединения между модулями SM и SPM требуется передача сообщений через FAM, который управляет коммутацией в реальном времени, поддерживает центральную базу данных размещения глобальных номеров, выполняет серийное искание соединительных линий и осуществляет управление ресурсами. обеспечивает взаимосвязь между коммутационной системой и открытой сетевой системой в режиме “клиент/сервер” посредством непосредственного подключения к FAM через интерфейс Ethernet. Таким образом, он является центральным элементом для соединения станции C&C08 и компьютерной сети. BAM обеспечивает интерфейсы Ethernet для доступа нескольких рабочих станций и интерфейсы V.24 (RS-232)/V.35 для подключения к центру NM и центру тарификации. BAM представляет собой ядро системы эксплуатации и технического обслуживания коммутационной системы C&C08.

МСС- плата управления связью. Две первые платы МСС0 и МСС1 работают парно в активном\ резервном режиме, используются в качестве главных процессоров АМ/СМ и для связи с BAM, SNT, CNT и платой аварийной сигнализации ALM. Остальные платы МСС предназначены для управления SM. Каждая пара плат МСС способна поддержать 12 модулей SM. При полной конфигурации Система С&С08 может поддерживать128 модулей SM.плата оптического интерфейса реализует оптическую связь между АМ/CМ и SM.

Таким образом, МСС обеспечивает соединение канального уровня между модулями, а FBI - соединение физического уровня.плата центрального коммутационного поля реализует временную коммутацию и вместе коммутационным полем SNT в SM выполняет обмен речевыми сигналами между модулями SM.плата сигнального коммутационного поля используется для внутренней коммутации информации высокоуровневого управления звеном данных HDLC внутри схемы связи АМ/СМ. модуль коммутации. Он выполняет такие функции, как управление распределенными базами данных, управление распределенными ресурсами, обработка вызовов и операции технического обслуживания. В зависимости от расстояния до модуля AM/CM модуль SM может быть местным или удаленным. В него входят следующие функциональные блоки:

МС- блок управления и связи, управляет работой SM, выполняет функции генерации и приема различных тональных сигналов, функции тестирования и специальные функции обработки вызовов, например, предоставление услуги трехсторонней связи и конференц-связи до 64 абонентов.

ОРТ- оптические интерфейсы через две пары оптических линий связи соединяются с АМ/СМ для обеспечения связи между SM и AM/CM, а также между различными SM, также предоставляют каналы для передачи сигналов техобслуживания и тестирования из модуля ВАМ в модуль SM или из модуля SM в модуль ВАМ.центральное процессорное устройство.коммутационное поле , временное, емкостью 4096*4096 канальных интервала (4К*4К). Осуществляет временную коммутацию как между двумя абонентами данного SM, так и между абонентами данного SM и AM/CM, после работает в режиме «горячего резерва».блок управления и контроля состояния абонентской и соединительной линии, процесса коммутации и обмена данными.плата выполняет функции переключения между двумя MPU и управляет их состоянием.блок, осуществляющий связь блока MPU с абонентским блоком.распределитель вызовов выполняет группировку входящих межстанционных каналов, разделение пунктов на группы в соответствии с их типами услуг и групповое управление с целью рационального использования ресурсов линий связи, сбор статистических данных./ОКС №7- модуль системы сигнализации. Есть возможность одновременного использования систем сигнализации ОКС7 и 2ВСК, легкого модернизирования оборудования вследствие совместимости разъемов плат сигнализации ОКС №7 и многочастотной сигнализации (MFC).

Интерфейсный блок- содержит разнообразные интерфейсы для преобразования формата цифровых сигналов, используемых самой коммутационной системой С&С08 в форматы:аналоговых абонентских линийцифровых соединительных линийпакетной сети-цифровой сети с интеграцией услуг (2B+D и 30B+D)

Минимальная абонентская емкость модуля SM- 304 аналоговые абонентские ASL или 152 цифровые соединительные линии DSL. Максимальная конфигурация SM, наиболее эффективно использующая ресурсы оборудования - 5472 ASL/480DТ (или 6688 только абонентских линий либо 3344 абонентов IDSN). В пределах этой емкости SM может работать как автономная станция. Дальнейшее увеличение емкости коммутационной системы производится введением дополнительных модулей SM.

Платы МС2 и ОРТ подключаются только в случае работы модуля SM в составе станции для подключения к АМ/СМ. При работе SM как автономной станции они не используются.

Система C&C08 разработана в виде модульной конструкции, допускающей поблочное добавление модулей SM/SPM в качестве компоновочных блоков. AM/CM реализует межмодульную связь распределенных коммутационных полей для образования коммутационной системы большой емкости. Вся система может обеспечивать 800 000 абонентских линий или 180 000 соединительных линий.

4.     
Расчет телефонной нагрузки

4.1 Расчет возникающей расчетной нагрузки

Расчет возникающей нагрузки производится отдельно для утреннего и вечернего ЧНН и выбирается из них максимальное значение, которое принимается за расчетную нагрузку.

Расчет утреннего ЧНН:

Уутр = Уiутр ЧНН + Уутр время, (4.1)

где Уiутр ЧНН - суммарная нагрузка для всех категорий i абонентов, имеющих максимальный ЧНН - утренний;

Уiутр ЧНН = Ni · yi,

где N - количество абонентов конкретной категории i,

уi - интенсивность нагрузки абонента категории i по таблице 4.1.

Уjутр. время - добавочная суммарная нагрузка, создаваемая во время утреннего ЧНН абонентами тех категорий j, которые имеют ЧНН не утренний, а вечерний

, (4.2)

где Уjвеч. ЧНН - суммарная нагрузка (Nj · yj) для категорий j абонентов, имеющих максимальный ЧНН вечерний;

Уjвеч. ЧНН = Nj · yj,

где N - количество абонентов конкретной категории j, уj - интенсивность нагрузки абонента категории j по таблице 4.1.

К - коэффициент концентрации нагрузки;

Т - период суточной нагрузки 24 часа, но с учетом того, что в ночное время нагрузка значительно меньше дневной, можно брать период нагрузки равный 16 часам.

При отсутствии статистических данных по величине К принимается среднее значение К=0,1, при этом:

 (4.3)

Аналогичным образом подсчитывается нагрузка в ЧНН вечерний:

Увеч = Уjвеч.ЧНН + Увеч.время (4.4)

Емкость станции до замены - 2000 номеров, расширение по подключению новых пользователей - 4000 номеров. Для определения количества номеров среди удаленных 4000 человек воспользуемся статистикой : на 100 человек приходится 39,9 телефонов (Данные для УР на 2008 год согласно <#"523416.files/image007.gif">        (4,5)

2. По табл. «Соотношение процента интенсивности внутристанционной нагрузки Kвнi от доли исходящей интенсивности нагрузки для АТС»

определяем процент интенсивности внутристанционной нагрузки Kвн от интенсивности исходящей нагрузки АТС, и рассчитываем интенсивность внутристанционной нагрузки по формуле


Так как количество станций, образующих сеть, нам не известно, рассчитать Yвн невозможно.

4.2 Определение нагрузки по направлениям

Нагрузка, распределяемая к УСС.

(Согласно РД 45.120-2000 стр28, п. 7.1.7.1)

Эта нагрузка составляет 2% от интенсивности исходящей на РАТС нагрузки, т.е.

усс = 0,02 * Yвозн р =97,85 Эрл

Нагрузка, распределяемая к АМТС (на ЗСЛ)

(Нормативно-справочная информация (НСИ) к курсовой работе по дисциплине «Теория телетрафика»)

зсл = am *N= 0,0032* 7596=24,3 Эрл

где: N - число абонентов i-й категории; aм - удельная междугородная исходящая нагрузка, определяемая по таблице в зависимости от числа жителей в городе:


Нагрузка от АМТС (на СЛМ) определяется по формуле

Yслм = Yзсл *tcлм/ tзсл = 20,4 Эрл

где: tЗСЛ =150 c - средняя длительность занятия ЗСЛ;СЛМ = 126 с - средняя длительность занятия СЛМ.

Нагрузка в направлении к АТСКУ, ОПС и УАТС

Для расчета нагрузки воспользуемся данными цифровой станции «Церера». (за не имением точных данных). Зная число СЛ и коэффициенты норм потерь, определим нагрузку по таблице Эрлангов.

Возьмем эти данные за максимум и будем распределять в каждом из направлений.

Нормы потерь: АТС-АТС= 0,01

Получили: YАТСКУ =139,8 Эрл, YОПС =139,8 Эрл, YУАТС =139,8 Эрл,

Нагрузка в направлении УПАТС

(Согласно РД 45.120-2000 стр 32, п 7.1.12.1 табл 7.7)

Для расчета также воспользуемся таблицей Эрлангов.

Если УПАТС- промышленное предприятие, то количество СЛ 53. Соответственно по табл Эрлангов, нагрузка равна YУПАТС =40,19 Эрл,

Если УПАТС- административно-хозяйственная организация, то количество СЛ 66. Соответственно по табл Эрлангов, нагрузка равна YУПАТС =51,91 Эрл.

Нагрузка в направлении УВС

Для расчета нагрузки в направлении УВС необходимо знать нагрузку на те станции, которые обслуживает этот УВС. За неимением таких данных, мы не можем посчитать эту нагрузку.

Расчет допустимых потерь.

Суммарные потери вызовов зависят от вида связи:

При местной связи потери составляют 2%, при местной связи с УПАТС - 2,5%, от абонента ОПС до абонента УСС- 0,1%,от абонента до АМТС по ЗСЛ - 2%.

Все виды суммарных нагрузок будут определены только в процессе эксплуатации станции, так как для этого необходимо знать количество вызовов, поступающих на соответствующую станцию.

5. Определение объема оборудования

(Согласно Huawei TO.doc и «ЦСК для ГТС» Карташевский, Росляков, стр 253. )

Цифровая коммутационная система C&C08 имеет модульную иерархическую структуру оборудования и состоит из одного модуля управления и связи (AM/CM; Administration Module/Communication Module) и нескольких коммутационных модулей (SM; Switching Module) или модулей обработки услуг (SPM; Service Processing Module). (Согласно «Нuawei TO», стр 11)

Пример модульной структуры аппаратных средств цифровой коммутационной системы с программным управлением C&C08:

Рис.5.1 Пример модульной структуры аппаратных средств цифровой коммутационной системы с программным управлением C&C08:

: полка линейных интерфейсов: полка центрального коммутационного поля: полка синхронизации: полка центрального процессора: полка обработки услуг: полка центрального управления связью: полка совместно используемых ресурсов

Полки для реализации различных функций составляются из соответствующих функциональных плат. Каждая полка содержит 26 стандартных позиций для плат.

Полки, выполняющие различные функции, составляют статив. Каждый статив содержит 6 или 4 полки. Стативы и полки в пределах модуля нумеруются единообразно от нижней полки к верхней, и от ближнего статива к дальнему, начиная с 0.

Разные стативы составляют модули различных типов.

Разные модули (AM/CM, SM) комбинируются требуемым образом для образования коммутационной системы с различными функциями и интерфейсами; каждый модуль в коммутационной системе может выполнять конкретные функции независимо.


В цифровой коммутационной системе C&C08 применяются стандартизированные стативы и съемные полки. Стандартный статив (шкаф) имеет размеры 2100×800×550 мм (высота × ширина × глубина) и может включать в себя шесть или четыре стандартные съемные полки размером 620×300×279 мм (высота × ширина × глубина), каждая из которых может содержать 26 стандартных сменных плат.

Такая модульная структура упрощает установку системы, ее расширение и ввод нового оборудования; следовательно, можно легко реализовать новые функции. Функциональные платы можно заменять, что обеспечивает гибкость удовлетворения требований различных систем сигнализации и обработки многочисленных сетевых протоколов. С целью расширения области применения системы возможно добавление функциональных полок и функциональных модулей для внедрения новых функций и технологий.

5.1 Расчет объема оборудования

Для определения объема оборудования необходимо знать количество стативов, число которых определяется количеством АЛ и СЛ. Т.к. новых пользователей мы будем подключать по цифровым линиям, то, число аналоговых АЛ равно 2000 (станция до замены). Зная, что на 800тыс АЛ приходится 180 тыс СЛ, найдем количество СЛ

Итого: 2000 АЛ, 450 СЛ. Следовательно, общее число стативов равно 4.

Таким образом, общая площадь, занимаемая 4 стативами модуля SM и 1 стативами модуля AM/CM, составляет 2,2 м2

5.2 Подключение удаленных пользователей

(Согласно «ЦСК для ГТС» Карташевский, Росляков, стр 265-266)

Расстояние для нового жилищного комплекса с населением в 4000 человек составляет 22км. Согласно статистике на 100 человек приходится 39,9 телефонов (Данные для УР на 2008 год согласно <http://www.expert-ural.com/4-382-4560/>), следовательно, количество телефонов для нового жилищного комплекса равно 1596.

% обработки вызовов и техобслуживания в ЦСК C&C08 осуществляется коммутационным модулем - SM. В зависимости от расстояния до модуля AC/CM, SM может быть местным и удаленным.

Для обеспечения доступа к сети удаленного жилищного комплекса Коммутационная система С&C08 имеет три основных типа удаленных модулей - RSM, RSM-II, RSA. По таблице 11.2 («ЦСК для ГТС» Карташевский, Росляков, стр 265) определяем подходящий нам модуль - RSM с емкостью 304-6688 и максимальным расстоянием - 50км.

В концепции удаленного модуля коммутации RSM лежит принцип вынесения модуля ближе к месту расположения удаленных абонентов для обеспечения их услугами связи.

Модули RSM и SM идентичны по структуре, отличаются только типом оптического интерфейса - «ближнего» для SM и «дальнего» для RSM. Модуль RSM, как и SM может осуществлять внутреннюю коммутацию и предоставлять те же интерфейсы и функции. подключается непосредственно к АМ/СМ по линиям Е1 без задействования других модулей.

Таким образом, подключение нового жилищного комплекса, удаленного на 22км от опорной станции, осуществляем с помощью установки удаленного коммутационного модуля RSM.

Поскольку цифровая коммутационная система C&C08 состоит из одного модуля управления и связи (AM/CM); и нескольких коммутационных модулей (SM); или модулей обработки услуг (SPM); и для подключения удаленных пользователей используется модуль RSM, то выбираем конфигурацию системы с модулями SPM и SM. В этом случае в одной станции можно использовать модули SPM и SM в смешанном режиме. Поэтому для расширения существующих станций, где для предоставления услуг ИКМ используются модули SM, можно выбирать как модули SM, так и модули SPM. При любом расширении новые модули не будут влиять на работу модулей SPM/SM, установленных ранее.

6. Комплектация и размещение оборудования

•       


Не нашли материал для своей работы?
Поможем написать уникальную работу
Без плагиата!
Без нейросетей!