|
Характеристики
|
Ед. измер.
|
I
|
II
|
III
|
IV
|
V
|
VI
|
|
1
|
2
|
3
|
4
|
5
|
6
|
7
|
8
|
|
Плотность, r
|
г/см3
|
1,73
|
1,82
|
1,96
|
1,97
|
2,01
|
2,68
|
|
Коэффициент
пористости, е
|
-
|
0,86
|
0,71
|
0,63
|
0,64
|
0,6
|
-
|
|
Модуль
деформации, Е
|
МПа
|
6,75
|
6,55
|
22
|
10
|
18
|
-
|
|
Угол
внутреннего трения, j
|
град.
|
26
|
20
|
24
|
24
|
26
|
-
|
|
Удельное
сцепление, с
|
кПа
|
10,5
|
42
|
95
|
11
|
9
|
-
|
|
Коэффициент
крепости, f
|
-
|
0,35
|
0,525
|
0,8
|
0,5
|
0,6
|
10,5
|
|
Коэффициент упругого
отпора, k
|
Н/см3
|
16
|
19,5
|
112,5
|
17,2
|
18,6
|
2050
|
I - насыпной грунт; II - суглинок лессовый; III - суглинок элювиальный; IV - супесь песчаная; V - супесь серая; VI - гранит.
2.
Вариантное проектирование
2.1
Описание вариантов тоннельной обделки, сооружаемых открытым способом
2.1.1
Первый вариант
Первый вариант обделки перегонного тоннеля метрополитена
представлен в виде монолитной железобетонной обделки, состоящей из двух
сдвоенных секций, изготовляемых в заводских условиях и устанавливаемых с помощью
козлового крана. Высота секций равна 5,3 м, а ширина каждой секции составляет
4,6 м. Внутренний размер назначается в соответствии с габаритом приближения
строений. Поверхность обделки отстоит от габарита на 100 мм. Толщина обделки
равная 300 мм задана исходя из опыта проектирования аналогичных по размерам и
условиям заложения перегонных тоннелей. Длина секции принимается равной 980 мм.
2.1.2
Второй вариант
Во втором варианте рассмотрен перегонный тоннель
метрополитена с обделкой двухпролетной конструктивной формы, выполненной из
монолитного железобетона в виде жесткой двухпролетной рамы. Высота секций 5,55
м, ширина 9,8 м. Внутренний размер обделки назначается аналогично первому
варианту. Толщина обделки принимается равной 400 мм, а толщина понизу равна 450
мм.
2.1.3
Третий вариант
В третьем варианте рассмотрен перегонный тоннель
метрополитена с обделкой двухпролетной конструктивной формы, выполненной из
железобетонных элементов. Обделка состоит из восьми элементов пяти типов: двух
блоков перекрытия (ребристого сечения), двух боковых стеновых, трех лотковых и
одного блока средней стенки (сплошного сечения). Ширина блоков перекрытия и
боковых стеновых 1,49 м, блоков лотка и средней стенки - 3 м.
В средней стенке обделки по условиям эксплуатации тоннелей предусматривают
проемы шириной 1,2 м и высотой 2 м, расположенные через 3 м между их осями. Эти
проемы выполняют роль ниш, предназначенных для укрытия находящихся в тоннеле
людей во время прохода поезда.
2.2
Описание вариантов тоннельной обделки, сооружаемых закрытым способом
2.2.1
Четвертый вариант
Четвертый вариант-обделка круглого очертания из блоков
сплошного сечения. Такая обделка представляет собой цилиндрическую трубу из
последовательно смонтированных колец шириной 1 м.
Внутренний радиус обделки устанавливается с учетом
строительного запаса (мм):
, (2.1)
где
- радиус габарита приближения строений
перегонных тоннелей метрополитена кругового очертания, равный 2450 мм.
Таким образом, внутренний радиус обделки принимается равный 2550
мм.
Высота сечения обделки определяется по формуле:
, (2.2)
где
- коэффициент, зависящий от материала
обделки (принимается
=7,5 для класса В30);
- коэффициент крепости грунта, равный 0,5.
Кольцо обделки состоит из трех типоразмеров: лотковых, замковых и
нормальных.
Центральный угол замкового элемента
составляет:
, (2.3)
где
- длина дуги замкового элемента, м.

Центральный угол плоского лотка определяется из условия:
, (2.4)
где
- ширина лоткового элемента, м.
Центральный угол нормальных элементов уточняется по формуле:
, (2.5)
где
- количество нормальных элементов в
кольце.
Таким образом, четвертый вариант представляет собой кольцо из
шести нормальных, одного лоткового блока с плоской внутренней поверхностью и
трех замыкающих вкладышей. Высота сечения блоков 200 мм. Связь между кольцами
отсутствует.
2.2.2
Пятый вариант
В данном варианте представлена сборная железобетонная обделка
из ребристых блоков. Эта обделка отличается от тюбинговой увеличенной толщиной
оболочки и бортов тюбинга. Продольные стыки устраиваются плоскими с монтажными
шпильками. Поперечные стыки между кольцами предусмотрены с монтажными болтовыми
связями. После завершения монтажа кольца и проведения контрольного нагнетания
болты заменяются на короткие стальные шпильки.
Длина дуги клинового замкового элемента
= 0,4 м, толщина обделки h= 0,3 м, ширина лоткового элемента
= 2,55 м.
По формулам (2.3-2.5) находим углы: клиновидного блока
лоткового блока:
смежных блоков принимаем 55,38° и 55,57°
нормального блока:
Кольцо обделки состоит из трех нормальных, двух смежных, лоткового
и ключевого блоков.
2.2.3
Шестой вариант
Шестой вариант - сборная железобетонная обделка, обжатая в
грунт. Обделка состоит из шести нормальных блоков и одного лоткового блока,
четырех бетонных вкладышей В-2 и двух вкладышей В-1. Высота сечения обделки,
как и в четвертом варианте равна 280 мм, угол нормального блока - 50°00/, лоткового блока - 54°00/. Блоки обделки соединяют
между собой металлическими шпильками М-27 длиной 170 мм (14 шт.).
Для размещения и устойчивости разжимаемых домкратов, концентрации
развивающихся усилий в необходимом направлении и избежания возможных сколов в
торцах лоткового блока предусмотрены гнезда размером 150 х 400 мм с плоскостью
упора, расположенной перпендикулярно обделке.
2.3
Выбор варианта обделки
Результат расчета стоимости строительства вариантов тоннеля
по укрупненным расценкам, приведенный в табл.2.1 показал, что наиболее низкую
стоимость имеют варианты 1 (ЦСО) и 4 (из блоков сплошного сечения).
Кроме относительно низкой стоимости, к положительным
качествам цельносекционной обделки можно отнести также стопроцентную заводскую
готовность секций, заранее покрытых с внешней стороны гидроизолирующим
составом. Это позволяет отказаться от трудоемких работ по гидроизоляции обделки
в процессе монтажа. Ее главный недостаток - сложность обеспечения должного
качества швов между секциями.
Монолитная обделка варианта 2 отличается перерасходом бетона,
длительными сроками сооружения и высокой стоимостью. В противоположность ей,
вариант 3 - обделка из сборных железобетонных элементов заводского изготовления
- позволяет вести монтаж быстрыми темпами. Кроме того, вариант 3 имеет
преимущество и над вариантом с применением цельносекционной обделки за счет
меньшей массы и габаритов блоков. Благодаря этому улучшаются условия транспортировки,
а на монтаже требуется крановое оборудование меньшей грузоподъемности.
Обделка круглого очертания из блоков сплошного сечения
отличается простотой конструкции, малым количеством типоразмеров блоков.
Однако, из-за отсутствия связей в стыках эта обделка обладает повышенной
деформативностью. Это может явиться причиной нарушения гидроизоляции швов и
неравномерной осадки колец по длине тоннеля. Конструктивные решения,
позволяющие устранить этот недостаток, повышают трудоемкость монтажа.
Таблица 2.1 - Стоимость вариантов
Вариант 5, в котором применены ребристые железобетонные
блоки, благодаря перевязке продольных стыков имеет повышенную жесткость и
устойчивость обделки как поперек, так и вдоль оси тоннеля. Обделка из ребристых
блоков удобна на монтаже и обеспечивает близкую к проектной форму в условиях
неравномерной нагрузки на кольцо и в грунтах с относительно невысоким
коэффициентом упругого отпора.
Дальнейшим развитием варианта 5 является вариант 6 - обделка
из ребристых блоков, обжатая в грунт. Благодаря разжатию, обеспечивается
немедленное включение обделки в работу с окружающим массивом, исключается
первичное и сокращается контрольное нагнетание цементного раствора за обделку.
Таким образом, для сооружения открытым способом принята
обделка по варианту 3 из сборных железобетонных элементов, а для сооружения
закрытым способом - обделка по варианту 6, обжатая в грунт.
2.4
Конструкция пути
Путь в проектируемом перегонном тоннеле устроен на лежневом
железобетонном основании. Железобетонные лежни контактируют с путевым бетонным
слоем через амортизирующие прокладки. Путь со свободно лежащем на подлежневом
основании не содержит прямых поперечных связей между лежнями под правой и левой
рельсовыми нитями. Стабильное положение лежней достигается за счет устройства в
путевом бетоне продольных и боковых упоров, исключающих возможность смещения
лежней (а, следовательно, и рельсовых плетей) в продольном и поперечном
горизонтальном (в сторону тоннельной обделки) направлениях.
С целью исключения возможности смещение рельсовых плетей
(вместе с лежнями) в сторону оси пути при изломе рельса внутренней нити кривой
в зоне продольных упоров предусмотрена установка боковых (со стороны лотка)
съемных накладок с упругими прокладками. Контакт железобетонных лежней с
путевым бетоном осуществляется через резиновые прокладки, содержащие специально
подобранные по форме и размерам рифли. При этом каждая подлежневая прокладка
состоит из двух клинообразных элементов. Наклонная поверхность этих элементов
выполнена со скосом 1: 15. Смещением при необходимости одного элемента
относительно другого обеспечивается возможность плавной регулировки положения
лежней (а, следовательно, и рельсовых нитей) в диапазоне ±10
мм в вертикальном направлении. Установка регулировочных прокладок между боковой
поверхностью лежней и путевым бетоном (со стороны тоннельной обделки) позволяет
выполнять регулировку рельсовой нити (вместе лежнями) в плане.
С левой стороны пути по направлению движения поезда
устанавливают контактный рельс, взаимодействующий с токоприемниками подвижного
состава. Его подвешивают головкой вниз на металлических кронштейнах, которые
крепят к концам лежней. Для обеспечения электробезопасности контактный рельс
сверху и по бокам закрывают защитным коробом.
3.
Статический расчет
3.1
Выбор расчетной схемы
Рисунок 3.1
- Расчетная схема обделки
прямоугольного очертания
Рисунок 3.2
- Расчетная схема обделки кругового очертания
Прямоугольная обделка состоит из восьми элементов пяти типов: двух
блоков перекрытия (ребристого сечения), двух боковых стеновых, трех лотковых и
одного блока средней стенки (сплошного сечения). Лотковые и стеновые блоки
имеют выпуски арматуры, которые на монтаже свариваются и стыки омоноличиваются.
Блоки перекрытия опираются на стеновые блоки шарнирно. Таким образом, расчетная
схема обделки прямоугольного очертания - это двухпролетная рама опертая на
упругое основание. Так как схема симметрична, то рассматриваем только половину
обделки, заменяя внутренние усилия в "разрезанных" блоках постановкой
опор (рис.3.1).
Обделка круглого очертания возводится из сборных железобетонных
элементов ребристого поперечного сечения с центрированными стыками. Расчетная
схема представляет собой многошарнирное кольцо, геометрическая неизменяемость
которого обеспечивается совместной работой с окружающим грунтом. Шарниры
устанавливаются в местах всех продольных стыков.
3.2
Определение нагрузок
На обделку тоннеля действуют вертикальные нагрузки от
собственного веса конструкций, давления расположенных выше слоев грунта, а
также горизонтальное давление грунтового массива. Кроме того, следует учесть
вертикальное давление от автомобильной нагрузки А11 и НК-80.
Мелкое заложение тоннеля не позволяет применить гипотезу
сводообразования, поэтому вертикальное давление определяется от всей толщи
грунта над выработкой:
, (3.1)
гдеgi -
объемный вес i-того слоя грунта;
hi - толщина i-того слоя грунта;
gf - коэффициент надежности по нагрузке,
равный g =
1,1.
Собственный вес конструкций принимается как распределенная по
пролету выработки нагрузка. Для обделки круглого очертания нагрузка от
собственного веса равна весу блоков G,
расположенных выше горизонтального диаметра обделки, деленному на его размер D = 5,66 м:
(3.2)
гдеgб -
объемный вес железобетона, 25 кН/м3;
Vб
- объем железобетона на кольцо, 3,66 м3.
Таким образом,
;
При расчете обделки прямоугольного очертания в качестве нагрузки
от собственного веса учитывается вес блоков перекрытий G=40,2 кН, распределенный по пролету L = 4,46 м:
(3.3)
здесь и в (3.2) gf - коэффициент надежности по нагрузке, равный gf = 1,1.
Таким образом,
Давление от автомобильной нагрузки АК и НК-80 может быть найдено
по формулам:
, (3.4)
, (3.5)
Где H - толщина слоя грунта над обделкой;
К - класс нагрузки, К=11;
- коэффициенты надежности, равные соответственно 1,4 и 1,1.
Горизонтальное давление грунта определяется по формуле:
(3.6)
где j - угол
внутреннего трения грунта.
gf - коэффициент надежности по нагрузке,
равный g =
1,2.
Над тоннелем расположены два слоя грунта - суглинок и насыпной
грунт, имеющие следующие характеристики:
·
объемный
вес g1 = 17,85 кН/м3; g2 = 16,97 кН/м3;
·
угол внутреннего трения j1 = 20°; j2 = 26°;
Над обделкой прямоугольного очертания наибольшая мощность
этих слоев составляет соответственно 3,0 м и 3,5 м. Над обделкой круглого
очертания - 5,43 м и 2,32 м. Результаты расчета нагрузок приведены в табл.3.1.
Таблица 3.1 - Нагрузки
Из полученных значений давления от автомобильных нагрузок
выбирается большее.
3.3
Расчет тоннельных обделок
Расчет тоннельной обделки выполняется методом конечных
элементов по программе TUN2, разработанной коллективом кафедры САПР МИИТа
под руководством Н.Н. Шапошникова.
В качестве конечного элемента принят прямолинейный стержень
на упругом основании, соответствующем гипотезе Винклера. Расчетная схема
обделки - ломаный стержень на упругом основании, заменяемом упругими
элементами, жесткостные характеристики которых определяются коэффициентом
упругого отпора и размерами конструкции.
Расчет начинается с построения геометрии тоннельной обделки.
Тоннельная обделка и нагрузка на нее симметричны, поэтому рассчитываем половину
обделки с учетом влияния отброшенной части.
3.3.1
Обделка кругового очертания
Исходные данные, необходимые для расчета:
·
радиус R0= 2,83 м;
·
коэффициент
упругого отпора К=1,95×104 кН/м3;
·
толщина
нормальных тюбингов Т=0,28 м;
·
толщина
лотковых тюбингов Т=0,56 м;
·
модуль
упругости для бетона В30 Е=3,25×107 кН/м2;
·
горизонтальная
нагрузка q2=80,21 кН/м;
·
суммарная вертикальная нагрузка
Sq = q1+qАК+g=149,95+29,
19+8,86=188 кН/м;
В результате проведенного расчета получена таблица внутренних
усилий (табл.3.2).
Таблица 3.2 - Усилия в элементах
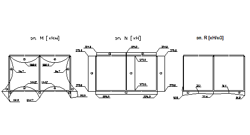
Эпюра изгибающих моментов и продольных сил, возникающих в сечениях
блоков обделки, показаны на рисунке 3.3.
Как правило, наиболее опасными являются те сечения, в которых
действуют наибольшие изгибающие моменты.
Как видно из табл.3.2 и эпюр, для нормальных блоков это сечение с
моментом, равным 50.835 кНм (продольная сила равна 312,08 кН), а для лоткового
блока - с моментом, равным 154,738 кНм (продольная сила равна 681,10 кН). Таким
образом, для того, чтобы уточнить размеры блоков, а также подобрать их
армирование, надо выполнить проверки указанных сечений по прочности.
Блоки обделки работают как внецентренно сжатые элементы.
Поэтому внутренние усилия в сечениях сводятся к продольной силе,
приложенной с эксцентриситетом e, определяемым
по формуле:
, (3.7)
Где e0 - расчетный эксцентриситет, равный отношению изгибающего момента
к продольной силе;
h - высота сечения (0,28 м для нормального блока и 0,56 м для
лоткового);
a - толщина защитного слоя растянутой арматуры, а = 0,02 м;
h - коэффициент продольного изгиба,
определяемый по формуле:
, (3.8)
Где Ncr - критическая сила при центральном
сжатии, вычисляемая по формуле:
, (3.9)
Где Eb - начальный модуль упругости бетона (Eb = 3,25×1010 Па);
Ib - момент инерции бетонного сечения;
l0 -
расчетная длина элемента обделки;
jl - коэффициент, учитывающий влияние
длительного действия нагрузки на прогиб элемента в предельном состоянии (для
тяжелого бетона jl = 2);
d - коэффициент, учитывающий относительную
величину прогиба, и равный отношению расчетного эксцентриситета е0 к
высоте сечения h.
Коэффициент d берется не менее dmin,
вычисляемого по формуле:
, (3.10)
Где Rb - расчетное сопротивление бетона сжатию в
МПа (Rb = 15,5 МПа).
Расчетная длина элемента принимается по аналогии с арочными
конструкциями. Для элементов сборных обделок она равна:
, (3.11)
Где S - длина элемента по осевой линии (S=5,334 м для лоткового блока и S=4,939 м для нормального).
Рисунок 3.4
- Расчетные сечения блоков: а - нормального, б - лоткового
Расчетные сечения блоков показаны на рис 3.4 Сечение лоткового
блока имеет простую прямоугольную форму и вычисление его момента инерции
производится по известной формуле. Несколько сложнее определяется момент
инерции сечения нормального блока:
·
площадь сечения
Ab = 0,28×1-0,14× (1-2×0,15) = 0.182
м2;
·
статический
момент относительно сжатой грани:
Sx = 0,28×1×0,14-0,14× (1-2×0,15) ×0,14/2= 0.0323
м3;
·
расстояние
от сжатой грани до центра тяжести сечения:
·
момент инерции сечения:
Дальнейший расчет производится в зависимости от значения
относительной высоты сжатой зоны x и ее предельного значения xR, при котором значения напряжений в бетоне
и арматуре одновременно достигают соответствующих расчетных сопротивлений:
(3.12)
Где ssc,u - предельное напряжение в арматуре сжатой зоны, ssc,u = 500 МПа;
Rs - расчетное сопротивление арматуры, Rs = 280 МПа;
w - характеристика сжатой зоны бетона, для
тяжелого бетона определяемая по формуле:
, (3.13)
Таким образом:
;
Сжатая зона бетона в рассчитываемом нормальном блоке располагается
в ребрах, суммарная толщина которых равна b = 30 см. Лотковый блок в поперечном сечении имеет вид
прямоугольника. Поэтому расчет обоих блоков производится как для прямоугольного
сечения шириной b. При этом высота сжатой зоны определяется
по формуле:
, (3.14)
Где As и As’ - соответственно площади растянутой и
сжатой арматуры.
Для армирования блоков примем симметричное армирование по четыре
сжатых и растянутых стрежня диаметром 10 мм из арматуры класса АII. Следовательно, площади будут равны:
Таким образом: - для нормального блока
;
;
·
для лоткового блока
;
.
Как видно, полученные значения относительных высот сжатой зоны
меньше предельного значения xR.
Поэтому проверку прочности можно произвести по формуле:
, (3.15)
Таким образом:
·
нормальный блок:
- запас 0,7%.
·
лотковый блок:
- запас 16,1%.
3.3.1
Обделка прямоугольного очертания
Обделка открытого способа работ собирается из железобетонных
блоков нескольких типов. В дипломном проекте приведен расчет одного из них -
плиты перекрытия (блок 4м-1). Основные конструктивные размеры плиты показаны на
рис.3.5.
Рабочая высота плиты h0 принята по формуле:
, (3.16)
Где q - нагрузка на плиту без учета
собственного веса (см. табл.3.1), q=q1+qАК=157 кН/м;
Rb - расчетное сопротивление бетона плиты
сжатию, Rb=15,5 МПа;
l - пролет плиты, l = 4,46 м.
Следовательно,
.
Конструктивная высота плиты hпл обычно
принимается на 15 см больше рабочей и кратной 5 см. Поэтому, hпл=75 см.
Рисунок 3.5
- Конструкция плиты перекрытия
Суммарная толщина ребер b определяется по
формуле:
(3.17)
В формуле (3.17) bпл - номинальная ширина плиты, 150 см,
остальные обозначения - те же, что и в (3.16).
Таким образом,
Конструктивная толщина ребер принимается с учетом размещения
арматуры, поэтому b = 28 см.
Толщина верхней полки плиты определяется по формуле:
(3.18)
Таблица 3.3
- Усилия в элементах прямоугольной обделки
Результаты расчета усилий в элементах обделки по принятым размерам
и нагрузкам (см. таблицу 3.1) приведен в таблице 3.3 и на рисунке 3.6.
Рисунок 3.6
- Эпюры усилий в элементах прямоугольной обделки
Плиту необходимо
рассчитать на местный изгиб полки и на общий изгиб со сжатием.
Рисунок 3.7 - Расчетная схема полки
Полка работает на местный изгиб в плоскости, перпендикулярной
плоскости общего изгиба. Опорами полки служат ребра плиты. Нагрузка,
действующая на полку, равна сумме нагрузок от давления грунта q1=124,23 кПа, подвижной
нагрузки qАК=33,13 кПа и собственного веса полки qсв=0,25 кПа (на 1 см
толщины полки). Таким образом, суммарная нагрузка составляет q=124,23+33,13+70,25=157,33 кПа.
Максимальный изгибающий момент возникает в сечении, расположенном над ребром
(см. рисунок 3.7):
На действие изгибающего момента полка рассчитывается как элемент
прямоугольного сечения с рабочей арматурой в растянутой зоне. Для армирования
полки приняты десять стержней арматуры класса А-III диаметром 8 мм c расчетным
сопротивлением Rs=355 МПа.
Несущая способность такого сечения определяется по формуле:
, (3.19)
гдеh0 - полезная высота сечения, равная расстоянию от сжатой грани
сечения до центра тяжести растянутой арматуры, h0 = 5 см;
b - расчетная ширина сечения, равная 1 м;
x - высота сжатой зоны бетона, определяемая по формуле:
, (3.20)
где As - площадь растянутой рабочей арматуры,
;
Таким образом:
;
- запас 7,8%.
В целом, плита перекрытия работает как внецентренно сжатый элемент
(см. рисунок 3.6). Опасное сечение располагается в середине пролета плиты. В
нем действуют усилия M = 3882 кНм и N = 1240 кН.
Для армирования сечения приняты четыре стержня растянутой арматуры
класса А-III диаметром 22 мм (по два в каждом ребре) и
четыре стержня сжатой арматуры того же класса диаметром 10 мм (рис.3.8). Таким
образом, площади сечений растянутой и сжатой арматуры соответственно равны:
;
Кроме указанных величин, для дальнейших расчетов понадобиться
отношение модулей упругости арматуры и бетона
,
а также следующие характеристики сечения:
·
расстояние
от сжатой грани до центра тяжести растянутой арматуры as = 0,041 м;
·
расстояние
от сжатой грани до центра тяжести растянутой арматуры a`s = 0,045 м;
·
полезная
высота сечения h0 = hпл - аs = 0,75 - 0,041 = 0,709 м;
·
площадь
бетона полки Ab1 = bпл × hf = 1,5 × 0,07 = 0,1050 м2;
·
площадь
бетона ребер Ab2 = b × (hпл - hf) = 0,28 × 0,68 = 0, 1904 м2;
·
статический
момент сечения полки относительно растянутой грани сечения, Sb1 = Ab1× (hпл - 0,5hf) = 0,105 × 0,715 = 0,075 м3;
·
статический
момент сечения ребер относительно растянутой грани сечения, Sb2 = 0,5×Ab2× (hпл - hf) = 0,5 × 0, 1904 × 0,68 = 0,065 м3;
·
статический
момент арматуры относительно растянутой грани сечения, Ss = As × as +A`s × (hпл - a`s) = 15,2×10-4 × 0,041 + 3,1×10-4 × 0,705 = = 0,00028 м3;
·
положение
центра тяжести приведенного сечения относительно растянутой грани,
·
·
собственный
момент инерции сечения полки
·
собственный момент инерции сечения ребер
·
момент инерции бетонного сечения:
·
момент инерции арматуры
Рисунок 3.8
- Расчетное сечение плиты
Расчет плиты ведется в зависимости от эксцентриситета приложения
нормальной силы, равного:
, (3.21)
Так как величина эксцентриситета, очевидно, больше ядрового
расстояния, то целью дальнейшего расчета является проверка прочности элемента.
Коэффициент влияния прогиба на прочность элемента, учитываемый в таком случае,
зависит от значения критической силы (3.8). Для железобетонных элементов она
определяется по формуле:
, (3.22)
Где j1 - коэффициент, принимаемый равным j1=2;
l0 -
расчетная длина элемента, равная пролету плиты l0=4,46 м;
jp - коэффициент, в отсутствие предварительного
напряжения принимаемый равным единице;
d - коэффициент, учитывающий относительную
величину прогиба, и равный отношению расчетного эксцентриситета еc к высоте сечения h,
.
Коэффициент d берется не менее dmin,
вычисляемого по формуле (3.10):
Таким образом:
Несущая способность внецентренно сжатого железобетонного элемента
по прочности определяется по формуле:
(3.23)
где e0 - расчетный эксцентриситет, определяемый по формуле:
, (3.24)
гдеe - расстояние от точки приложения
продольной силы до равнодействующей усилий в растянутой арматуре,
e = ec + (zc,red - as)
= 3,131 + (0,462 - 0,041) = 3,552 м.
Следовательно,
Высота сжатой зоны может быть найдена по формуле:
(3.25)
Таким образом:
- запас 3,9 %.
Значит, выбранные размеры сечения и армирование достаточны для
восприятия действующих нагрузок.
4.
Санитарно-технические устройства в эксплуатируемом тоннеле
4.1
Вентиляция тоннеля
Вентиляция тоннеля необходима для поддержания предельно
допустимых концентраций различных вредных примесей (пыли, углекислого и других
газов), а также необходимой температуры и влажности воздуха.
Так как в Новосибирске средняя температура самого холодного
месяца намного ниже 0°С, то применены два
режима вентиляции с искусственным побуждением - зимний и летний.
В зимний период вентиляционная установка, расположенная на
перегоне, работает на приток, а вентиляционные установки на станциях - на
вытяжку. Таким образом, зимой на станцию попадает теплый воздух, согреваемый
тепловыделениями от подвижного состава и оборудования. Летом вентиляционная
установка на перегоне работает на вытяжку, а станционные - на приток воздуха.
Для вентиляции тоннеля метрополитена используется обычный
наружный городской воздух, без какой - либо очистки.
Количество воздуха, которое требуется для вентиляции линии
метрополитена, определяется расчетом.
4.2
Водоотвод и водоснабжение тоннеля
В тоннель может поступать грунтовая вода, просачиваясь через
обделку, вода из служебных и производственных помещений, от мытья перегонного
тоннеля. Для удаления воды самотеком предусмотрены поперечные и продольные
уклоны верхнего строения пути.
На всем протяжении перегонного тоннеля с левой стороны пути
по направлению движения поезда устроена открытая водоотводная канава.
Поверхности бетона придан поперечный уклон не менее 2 %о и продольный от 3 %о до 36 %о.
По лоткам вода стекает к основной водоотливной установке и
откачивается насосами в систему городских водостоков.
4.3
Энергоснабжение, освещение, сигнализация и связь
Электроснабжение тоннеля осуществляется от городской сети.
Электроэнергия, поступающая от источников электроснабжения в виде трехфазного
переменного тока напряжением 6 кВ, преобразуется при помощи тяговых и
понизительных подстанций в электрический ток более низких напряжений и подается
к потребителям.
На электропоездах тяговые двигатели постоянного тока получают
электроэнергию напряжением 826В. К электропроводам санитарно-технических
установок подводят ток напряжением 380 и 220В. Для освещения тоннеля лампами
накаливания и люминесцентными лампами применяется переменный ток напряжением
220В.
Устройства СЦБ и связи, обеспечивающие пропускную способность
линии и безопасность движения поездов, потребляют электроэнергию переменного
тока напряжением 380В или 220В, устройства АТДП-220В.
Для электроснабжения используется децентрализированная
система, то есть тяговая подстанция расположена с понизительной вместе возле
станций.
Децентрализированная система электроснабжения имеет следующие
достоинства:
·
значительное
сокращение длины высоковольтной кабельной сети, так как отпадает необходимость
в высоковольтных линиях между тяговой и понизительной подстанциями;
·
значительное
сокращение длины электротяговой сети постоянного тока, идущей от тяговой
подстанции;
·
снижение
потерь напряжения в тяговой сети;
·
уменьшение блуждающих токов.
4.4
Противопожарные мероприятия
Для предотвращения возможных пожаров, а также для быстрой
ликвидации очагов пожара в тоннеле приняты специальные меры.
Конструкции обделки и устройств имеют минимальный предел
огнестойкости.
Перегон снабжен автоматической пожарной сигнализацией, при
которой сразу блокируются въезды на перегон. Так же тоннель снабжен системой
автоматического пожаротушения. Кроме того, через каждые 100 м установлены
пожарные краны с расходом воды на каждую струю по 2,5 л/с.
При срабатывании сигнализации поезд выводится из тоннеля, а
перегон обесточивается.
При этом включается система отсоса дыма и гари через вытяжную
вентиляционную установку на максимальную мощность. При работе в течении 20
минут на максимальном уровне вентиляционная - установка справляется с
выделениями газа и дыма при сгорании 12 тонн кабеля.
5.
Производство работ
5.1
Общая схема сооружения тоннеля
Для проходки перегонного тоннеля метрополитена закрытого
способа работ с возведением сборной железобетонной обжатой обделки в глинистых
грунтах предназначен комплекс КТ-5,6Д2, оснащенный экскаваторным рабочим
органом.
В состав комплекса входят:
механизированный щит,
породопогрузочная машина с ленточным транспортером,
транспортный мост с ленточным транспортером,
блокоукладчик с двуручными механизмами для установки блоков и
механизмом передвижки,
рольганг,
кран-перегружатель,
устройство для обжатия обделки,
система пылеподавления,
кран-балка для разгрузки блоков с автомобиля,
электрооборудование.
Таблица 5.1 - Технические характеристики комплекса
КТ-5,6Д2
|
Характеристика
|
Ед. изм.
|
КТ-5,6Д2
|
|
1
|
2
|
3
|
|
Эксплуатационная
производительность комплекса (не менее)
|
м/мес.
|
150
|
|
Диаметр
сооружаемого тоннеля в свету
|
мм
|
5100
|
|
Наименьший
радиус кривизны выработки на трассе перегонного тоннеля
|
м
|
400
|
|
Уклон тоннеля
(не более)
|
%
|
60
|
|
Длина комплекса
|
м
|
40
|
|
Общая масса
комплекса
|
т
|
320
|
|
Общая
установленная мощность
|
кВт
|
80
|
5.2 Конструирование и расчет щита
Применительно к щиту кругового очертания можно выбрать
следующие основные конструктивные элементы:
·
ножевое
кольцо, предназначенное для подрезания мягких грунтов и усиления несущей
конструкции щита;
·
опорное
кольцо - основная несущая часть конструкции щита, в которой размещаются щитовые
домкраты;
·
оболочка
щита, служащая для ограждения места работ по возведению обделки от вывалов
грунта;
·
щитовые
домкраты, с помощью которых производится передвижка щита;
·
вертикальные
и горизонтальные перегородки, предназначенные для увеличения жесткости щита,
разделения забоя на рабочие ячейки и установки выдвижных платформ и устройств
для крепления забоя.
5.2.1
Определение геометрических параметров щита
Основными геометрическими размерами являются диаметр и длина
щита.
Наружный диаметр щита Dщ определяется формулой:
, (5.1)
где Dщ - наружный диаметр обделки, м;
dз= (0,008-0,01) Dобд - строительный зазор между внутренним
диаметром оболочки щита и наружным диаметром обделки, м;
dо - толщина оболочки принимаемая по таблице 2.1 [19], м.
dз=0,009×5,66=0,0509
м
Тогда Dщ = 5,66+0,0509+2×0,0405 = 5,79 м
Полная длина щита определяется размерами его основных частей:
, (5.2)
где Lн - длина ножевого кольца, м;
Lок - длина
опорного кольца, м;
Lо - длина
свободной части оболочки, м.
Длина ножевого кольца необходима для размещения исполнительного
органа, её величину принимаем равной 1 м.
Длина опорного кольца зависит от длины щитового домкрата и
назначается в пределах Lок = (1,4…1,65) b; b= 1 м - ширина кольца обделки.
Длина свободной части оболочки:
, (5.3)
где m1= (1,2…2,2) b - длина
перекрытия обделки, м;
m2=0,6…0,7
м - длина выступающей части домкрата;
m3=0,15 м -
длина свободного промежутка между опорной площадкой плунжера и плоскостью
кольцевого борта обделки.
Lо =1,7×1+0,65+0,15=2,5 м, Lщ = 1+1,5+2,5=5 м
Отношение длины к диаметру характеризует маневренность щита:
, (5.4)
где
- диаметр щита опорного кольца, м;
h0 - высота
сечения сегмента опорного (ножевого) кольца, определяемая по таблице 3.1 [19],
м;
- внутренний диаметр щита по оболочке, м.
\
м
м
условие выполняется.
5.2.2
Определение сопротивлений преодолеваемых щитом
Расчет производится с целью установления необходимой мощности
щитовых и забойных домкратов и учета их влияния на несущую конструкцию щита.
Полное сопротивление, преодолеваемое щитовыми домкратами, определяется как
сумма сопротивлений:
, (5.5)
где
лобовое сопротивление щита, кН;
сопротивление трению наружной поверхности щита по грунту, кН;
сопротивление трению обделки по оболочке, кН.
При проходке механизированным щитом
.
, (5.6)
, (5.7)
где
интенсивность вертикального давления
грунта на щит, кН/м2;
высота свода обрушения или всей толщи грунта над верхом щита (при
невозможности сводообрушения),
7,75 м;
g - удельный вес грунта, среднее значение g=17,7 кН/м3;
- вес щита,
= 1540 кН;
- вес обделки, лежащей на оболочке, кН;
m1 - коэффициент трения стали по грунту, m1 = 0,4;
коэффициент трения материала обделки по оболочке,
Интенсивность активного горизонтального давления грунта, кН/м2:
, (5.8)
j - угол внутреннего трения грунта, среднее
значение j = 23°
кН/м2,
кН/м2,
кН,
кН,
кН,
кН,
кН
Полное расчётное усилие щитовых домкратов с коэффициентом запаса
составляет:
, (5.9)
Тогда
кН
Усилие одного домкрата:
, (5.10)
где n - число щитовых домкратов
кН
Принимаем 16 щитовых домкратов, с усилием при максимальном
давлении 800 - 1200 кН.
Для разработки грунта применяем щит с экскаваторным исполнительным
органом с трехзвенной стрелой. Технические характеристики данного щита
приведены в таблице 5.2.
Таблица 5.2
- Технические характеристики щита КТ-5,6Д2
5.3
Сооружение тоннеля щитовым способом
5.3.1
Разработка грунта
Механизированный щит комплекса КТ-5,6Д2 снабжен экскаваторным
органом обратная лопата, стрела которого состоит из трех шарнирно соединенных
звеньев. Трехзвенная конструкция стрелы увеличивает ее вылет, придавая ей
компактность, необходимую для раздельной разработки верхней и нижней половин
забоя при забойной горизонтальной перегородке с выдвижной площадкой.
Стрела для поворота в плане закреплена на турели, опирающейся
на две горизонтальные перегородки в опорном кольце щита. Ножевое кольцо
снабжено семью секциями выдвижного козырька.
Ковш обладает подвижностью в вертикальной плоскости.
Экскаваторный орган щита разрабатывает грунт по всему сечению забоя, сбрасывая
его вниз, где погрузочная машина через свой транспортер направляет грунт по
транспортеру транспортного моста, затем в кузов автомобиля.
С целью поддержания устойчивости забоя корпус щита оборудован
выдвижными шандорами. В процессе разработки грунта щит перемещается щитовыми
домкратами.
Цикл разработки грунта равен циклу продвижения щита.
5.3.2
Погрузка и транспортировка грунта
Грунт на щитовой транспортер грузится машиной челюстного
типа. Затем по транспортеру доставляется в хвостовой конвеер и разгружается в
самосвалы.
Необходимое количество самосвалов определяется по формуле:
, (5.11)
где Тобор - время оборота автосамосвала, мин;
, (5.12)
Тпогр - время погрузки, мин;
, (5.13)
- эксплуатационная производительность, м3/мин; V2 - емкость кузова самосвала, м3; h2 - коэффициент наполнения кузова;
, (5.14)
j = 0,8 - коэффициент использования машины
во времени;
kр = 1,5 -
коэффициент разрыхления грунта;
pm - техническая производительность машины,
м3/мин;
t2 = 2 мин
- время затрачиваемое на замену груженного самосвала порожним;
м3/мин.
мин.
Тдв - время движения, мин;
, (5.15)
l - расстояние от места погрузки до места разгрузки, м;
Vгр -
скорость движения гружёного транспортного средства, Vгр=250
м/мин;
Vпор -
скорость движения порожняка, Vпор=250 м/мин.
мин.
Тразг = 3 мин - время разгрузки самосвала;
Тман = 8 мин - время на маневры в течении рейса.
Тогда Тобор = 4+32+3+8=47 мин.
Подсчитываем необходимое количество самосвалов:
Принимаем 12 самосвалов КрАЗ-256, технические характеристики
которых приведены в таблице 5.3.
Таблица 5.3
- Характеристики КрАЗ-256
5.3.3 Определение производительности комплекса
Определим эксплутационную производительность Qэ всего проходческого
щитового комплекса. Ее рассчитывают как месячную скорость проходки с учетом
всех технологических операций и организационно-технических простоев, не
зависящих от конструкции щита:
, (5.16)
где 24 - количество суток работы в месяц;
- число смен в сутки;
Qтех -
техническая производительность;
kэ -
коэффициент использования проходческого комплекса, учитывающий все виды
простоев, в том числе затраты времени на техническое обслуживание и текущий
ремонт проходческого оборудования, равный 0,6.
, (5.17)
где kтех - коэффициент использования щита, равный 0,65;
Т - продолжительность смены, ч;
Qт -
теоретическая производительность щита, равная скорости проходки и возведения
обделки.
м/смен.
м/мес.
5.3.4
Возведение обделки
Щитовая проходка предусматривает механизированное возведение
обделки из сборных элементов. Обделку монтируют под защитой оболочки щита.
После продвижения щита и схода обделки с оболочки образуется строительный
зазор, который ликвидируется путем обжатия обделки в грунт.
Обделка перегонного тоннеля монтируется в такой
последовательности: первым устанавливается лотковый блок. В гнезда уложенного лоткового
блока устанавливаются гидродомкраты, развивающие усилие 300 кН, а затем
поочередно с правой и с левой сторон монтируются остальные блоки обделки. При
монтаже кольца маркшейдер проверяет правильность его положения в плане и
профиле. В стыки блоков устанавливаются по две металлические шпильки. Для
устойчивости кольца блоки во время монтажа поддерживаются выдвижными опорными
балками блокоукладчика. После установки последнего блока включаются
одновременно оба разжимных домкрата; производится первичное разжатие кольца в
оболочке щита. Величина разжатия ограничивается смыканием блоков в шельге
свода. Это положение фиксируется при помощи металлических прокладок и
передвигается щит до схода его оболочки с обделки тоннеля. Затем включаются оба
разжимных домкрата и выполняют вторичное и окончательное разжатие, величина
которого ограничивается зазором между лотковым блоком и ближними к нему
блоками. В образовавшиеся зазоры устанавливаются по два железобетонных вкладыша
В-2. Затем давление снимается; домкраты извлекаются из гнезд и на их место
устанавливаются вкладыши В-1. Зазоры между вкладышами и блоками заливают
цементным раствором.
5.4
Нагнетание за обделку и гидроизоляционные работы
Смонтированная в выработке обделка доводится до проектного
диаметра. В результате этой операции грунтовый контур деформируется на размер,
равный разности диаметров, что приводит к возникновению по наружной поверхности
обделки упругого отпора грунта, обжимающего кольцо.
При обжатии обделки в грунт предотвращается развитие деформаций
контура выработки за счет более быстрого включения кольца обделки в совместную
работу с окружающим грунтом. Это стабилизирует грунтовый массив вокруг тоннеля
и тем самым снижает горное давление на обделку, исключает или сводит к минимуму
осадки поверхности земли над тоннелем. Исключается необходимость первичного
нагнетания и сводится к минимуму контрольное.
Контрольное нагнетание проводят с целью повышения
водонепроницаемости обделки путем заполнения трещин от усадки, обеспечения
плотного соединения обделки с окружающим грунтом, улучшающее ее статическую
работу. Давление нагнетания 0,8-1 МПа. Контрольное нагнетание производится по
всему периметру кольца обделки на расстоянии 30 метров от щита.
Технические характеристики растворонагнетателя приведены в
таблице 5.4.
Таблица 5.4 - Технические
характеристики РН-2
Гидроизоляция стыков сборной обделки из железобетонных
ребристых блоков производится перед контрольным нагнетанием путем зачеканки
канавок и отверстий. Отверстия для нагнетания очищают и изолируют постановкой
пробки с гидроизоляционной асбобитумной шайбой.
Гидроизоляция швов осуществляется на расстоянии 30 метров от
щита путем заполнения чеканочных отверстий и канавок гидроизоляционным материалом.
Укладку замазки и чеканку швов ведут в 2-3 слоя толщиной по 2 см участками
длиной по 3 м.
5.5
Вентиляция, водоотлив и освещение в период строительства
5.5.1
Вентиляция
Требуемое количество воздуха для проветривания выработки
определяется только по числу одновременно работающих людей в тоннеле.
Необходимый объем проветривания:
, (5.18)
где b - расход воздуха на человека согласно
правилам безопасности, м3/мин;
n - наибольшее число одновременно работающих людей;
z = 1,2…1,5 - коэффициент запаса.
Qp = 6×18×1,5=162 м3/мин=2,7 м3/с
Проверка объема вентиляции по минимальной скорости движения
воздуха:
м/с, (5.19)
где Sпоп. с. - площадь поперечного сечения, м2.
> 0,1 м/с
Для подбора вентилятора необходимо определить требуемый напор, Па:
, (5.20)
где a -
коэффициент трения воздуха;
l - длина воздуховода между смежными вентиляторами, м;
d - диаметр воздуховода, м;
q - 1,2…1,3 - коэффициент местных
сопротивлений в отводах и т.д.
Па
Мощность двигателя вентилятора, кВт:
, (5.21)
где h =
0,5-0,7 - коэффициент полезного действия вентилятора.
кВт
Принимаем осевой вентилятор ВОКД-1,0. Технические характеристики
приведены в таблице 5.5.
Таблица 5.5 - Технические характеристики ВОКД - 1,0
5.5.2 Водоотвод
Водоотвод - важное условие успешного проведения подземных
работ. В случае непредвиденного поступления воды, если выработка следует под
уклон, у забоя устанавливается два насоса местного водоотлива Н-1М, а в
насосной камере устроен водоотливной комплекс.
При малых притоках воды (до 7 м3/ч) вода
откачивается из забоя насосами по трубопроводу, а затем вода собирается в
центральный водосборник, откуда перекачивается в городскую канализацию.
Таблица 5.6 - Технические характеристики насоса Н-1М
5.5.3
Освещение
Производительность труда и безопасность работ во многом
зависит от освещенности рабочих мест и откаточных путей, которая должна
составлять не менее 15 лк на уровне головки рельса и не менее 30 лк в забое.
Поэтому все выработки обеспечены стационарным электрическим
освещением.
По обеим сторонам выработки через 5 метров на высоте 3 метра
подвешены лампы мощностью 75 Вт.
Забой освещен щитовыми прожекторами и лампами освещенностью
70 лк.
5.6
Составление циклограммы работ на проходку тоннеля и монтаж обделки
Технологический цикл, осуществляемый щитовым проходческим
комплексом КТ-5,6Д2, включает механизированное выполнение следующих основных
операций:
·
разработка грунта в забое;
·
погрузка грунта;
·
возведение
сборной тоннельной обделки из железобетонных блоков;
·
транспортировка
в пределах ТПК материалов и элементов обделки;
·
наращивание
кабеля электроснабжения и коммуникаций для воды и сжатого воздуха, а также
вентиляционных труб и рельсов.
Проходка перегонного тоннеля метрополитена с применением
комплекса КТ-5,6Д2 выполняется по методу бригадного подряда сквозной
комплексной бригадой, работающей в четыре смены продолжительностью по 6 часов.
Бригада из 18 человек делится на три звена, каждое в составе:
Машинист щита и экскаваторного органа 6 разряда - 1
Помощник машиниста 5 разряда - 1
Проходчики 5 разряда - 1, 4 разряда - 3
Таблица 5.6 - График производства работ по проходке 1 м
перегонного тоннеля метрополитена с помощью механизированного комплекса
КТ-5,6Д2
5.7
Определение объемов основных работ
Подсчеты объемов основных работ сведены в таблицу, согласно
принятой технологической последовательности.
Таблица 5.7 - Объемы работ
|
Шифр норм
|
Наименование
работ
|
Ед. изм.
|
Формула
подсчета объема
|
Объем работ
|
|
|
|
|
На кольцо lк=
1 м
|
На перегон Lт
= 608 м
|
|
29-626
|
Проходка
тоннелей механизированными щитами диаметром 4,51-6 м в грунтах I I группы
|
м3
|
Sвыр=pD2щ/4 Dщ=5,79
м
|
26,33
|
16008,5
|
|
Проходка
начального участка тоннеля
|
м3
|
Lуч=lщ+lуклад=5+7=12
м Vвыр= Sвыр× Lуч=26,33×12=316 м3
|
|
29-988
|
Укладка
механическим укладчиком сборной железобетонной обделки из блоков в тоннелях
диаметром от 4,01-6 м, м3
|
м3
|
Vб=3,66
м3
|
2225,3
|
|
Металлические
шпильки l=170 мм, d=25 мм
|
шт
|
|
14
|
8512
|
|
ЕН и Р 36-2-110
|
Гидроизоляция
стыков и отверстий тоннельной обделки
|
1 м канавки
|
Vк =p×Dк Dк=5,66 м Vт=
Vк× Lт
|
17,78
|
10810,2
|
|
29-1100
|
Контрольное
нагнетание за обделку
|
м2
|
Vк =p×Dк×lк Vт= Vк× Lт
|
17,78
|
10810,2
|
|
В3-5-14
|
Укладка пути
|
м
|
lк=
1 м Lт = 608 м
|
1
|
608
|
|
29-1314
|
Бетонирование
фундамента под упор
|
м3
|
Vф=0,5×0,5×1,5=0,4 м3
|
5.8 Календарный план строительства
Для определения последовательности и сроков выполнения
горнопроходческих, строительно-монтажных, путевых и отделочных работ, включая
также работы подготовительного периода, пуско-наладочные работы и сдачу объекта
в эксплуатацию, составляется календарный план строительства перегонного тоннеля
метрополитена.
Календарный план состоит из двух частей: левой - расчетной и
правой - графической. Графическая часть представлена в виде линейного графика.
Расчетная часть приведена в виде таблице 5.8.
Таблица 5.8 - Календарный план
строительства
Таблица 5.9 - Калькуляция трудовых затрат на проходку
перегонного тоннеля
|
Шифр норм
|
Наименование
работ
|
Ед. изм.
|
Объем работ
|
На единицу
измерения
|
На весь обьем
|
Состав звена
|
|
|
|
|
Норма времени,
чел. - ч
|
Расценка, руб.
- коп.
|
Затраты труда,
чел. - ч
|
Сумма, руб.
|
|
|
36-2-35
|
Разработка
грунта механизированным щитом с экскаваторным исполнительным органом
|
м
|
608
|
4,5
|
5-35
|
2736
|
3252,8
|
Оператор щита 6
разряда-1
|
|
36-2-35
|
Погрузка породы
|
м
|
608
|
1,5
|
1-55
|
912
|
942,4
|
Проходчик 4 разряда-2
|
|
36-2-75
|
Передвижка щита
|
м
|
608
|
0,36
|
2-06
|
218,9
|
1252,5
|
Машинист щита 6
разряда-1 Помощник машиниста 5 разряда-1 Проходчики: 5 разряда-1, 4 разряда-3
|
|
По наблюдениям
отдела ВПТИ
|
Монтаж кольца с
разгрузкой и подачей блоков на место укладки и первичным обжатием
|
1 кольцо
|
608
|
6,3
|
6-82
|
3830,4
|
4146,6
|
Проходчики 5
разряда-1,4 разряда-3
|
|
Окончательное
обжатие кольца
|
1 кольцо
|
608
|
2,0
|
2-16
|
1216
|
1313,3
|
Проходчики 5
разряда-1,4 разряда-3
|
|
36-2-110
|
Гидроизоляция
стыков и отверстий тоннельной обделки
|
1м канавки
|
10810,2
|
0,34
|
0-35,5
|
3675,5
|
3837,6
|
Изолировщик 5
разряда-1,4 разряда-1, 3 разряда-1
|
|
36-2-106
|
Контрольное
нагнетание за обделку тоннеля
|
м
|
60,8
|
3,7
|
3-89
|
225
|
236,5
|
Проходчик 5
разряда-1,Нагнетальщик раствора 3 разряда-1
|
|
36-2-147
|
Наращивание
гидрокоммуникаций
|
м
|
608
|
0,25
|
0-29,6
|
152
|
180
|
Проходчик 5
разряда-1
|
|
36-2-137
|
Укладка пути
|
м
|
608
|
0,55
|
0-53,6
|
334,4
|
325,9
|
Проходчик 4
разряда-1 Крепильщик
|
|
Итого:
|
13300,2
|
15487,6
|
|
6.
Организационно-техническая подготовка строительного производства
6.1
Организация строительной площадки
Строительная площадка запроектирована в соответствии с
рекомендациями [16].
Работы по строительству перегонного тоннеля ведутся с
базисной строительной площадки, на которой размещаются только те временные
сооружения, которые непосредственно связаны со строительством объекта.
При организации строительной площадки безопасность условий
труда на всех этапах обеспечивается мероприятиями, включающими:
·
устройство
(выбор) подъездных дорог к объекту строительства в целом;
·
устройство
постоянных и временных автомобильных дорог к отдельным объектам, к местам
складирования конструкций и их возведение;
·
обеспечение
объекта санитарно-бытовыми помещениями и пунктами приема пищи, устройство
пунктов электроснабжения, мест складирования строительных конструкций,
материалов, приспособлений и оснастки;
·
освещение
строительной площадки в целом;
·
обеспечение пожарной безопасности.
Работы подготовительного периода начинаются с обустройства
строительной площадки. Место строительной площадки обносится забором, высотой
2,5 метра из железобетонных плит. От городской тепло - и водосети подводится
тепло и вода. Электроснабжение осуществляется от городской энергосети.
Под стройплощадку выбран участок, освещение которого требует
наименьших затрат рабочего времени и средств.
6.2
Временные здания и сооружения
На строительной площадке размещены следующие здания:
·
комбинат
бытовых и подсобных помещений (раздевалка, душевая, помещения для сушки одежды,
медпункт, столовая, санузел и т.д.);
·
компрессорная;
·
трансформаторная;
·
склады и навесы;
·
арматурный цех.
Нормативные показатели определения площадей бытовых помещений
на 1 человека, м2:
гардеробная - 0,6;
душевая - 0,82;
умывальник - 0,065;
сушилка - 0,2;
уборная - 0,011.
Итого: (0,6+0,82+0,065+0,2+0,011) ×25=42,4 м2
Под административно-бытовой комплекс принимаем
унифицированные типовые секции передвижного типа серии 420-02 с габаритами
9х5,4х2,5.
Под помещение для обогрева рабочих - серия 420-04 с
габаритами 6х2,7х2,5.
Под столовую принята серия 420-02 с габаритами 9х2,7х2,5.
6.3
Организация складского хозяйства
Объем хранящихся в запасе материалов должен быть достаточным
для обеспечения бесперебойной работы на объекте, но не должен быть излишне
большим, так как чрезмерные запасы строительных материалов и изделий замедляют
оборачиваемость средств, которыми располагает строительная организация, и
загромождают строительную площадку.
Площади складов на стройплощадке и других временных
сооружений производственного назначения определяется по формуле:
, (6.1)
где M - количество материальных принадлежностей для хранения на складе;
a - количество материала на 1 м2 полезной площади
склада;
k - коэффициент использования полезной площади склада.
Нормативные величины а, k взяты из приложения 2 работы [ ].
Запас материалов М, подлежащего хранению на складе,
находится по формуле:
, (6.2)
где Пп - потребность в материале на определенный
период;
Нз
- норма общих запасов материала в днях;
Д -
продолжительность расчетного периода в днях;
К1 - коэффициент неравномерности поступления материалов, для
автодорожного транспорта К1 =1,1;
К2
- коэффициент неравномерности потребления материала, К2=1,3.
Площадь склада элементов сборной обделки:

Площадь склада пиломатериалов:
Площадь склада цемента:
Площадь склада песка:
6.4
Снабжение строительства сжатым воздухом
Для снабжения строительства сжатым воздухом оборудуется
компрессорная станция высокого давления (до 1,0 мПа).
Потребное количество сжатого воздуха (м3/мин) и
производительность компрессорной станции Qк определяется по числу
потребителей сжатого воздуха с учетом 20% резерва:
, (6.3)
где k1 - коэффициент одновременности работы машин, k1=0,71;
k2 - коэффициент, учитывающий утечки сжатого воздуха из
пневматических сетей, k2=1,3;
ni - число однотипных воздухоприемников;
qi - расход воздуха единичным потребителем, м3/мин;
k4 - коэффициент, учитывающий износ механизмов, k4 =1,2.
Используя рекомендации [16]
получаем:
Qк =1,2×0,71×1,5×1,3× (1×15×1,2+3×2,5×1,2) =44,9 м/мин.
Для обеспечения равномерной (без толчков) подачи сжатого воздуха в
пневматическую сеть на выходе компрессорной станции устанавливают
воздухосборник (ресиверы), объем которых определяется по формуле:

, (6.4)
м3
Принимаем компрессор 2М 10-50/8, технические характеристики
которого приведены в таблице 6.1.
Таблица 6.1
- Технические характеристики компрессора
6.5
Тепло- и водоснабжение строительства
Расчетные расходы воды на различные нужды определяются по
соответствующим формулам. В общем случае расход воды Qобщ (л/с) определяют по
формуле:
, (6.5)
где Qпр, Qхоз, Qпож - соответственно расходы воды на
производственные, хозяйственные и противопожарные нужды.
Расход воды на производственные цели определяется по формуле:
, (6.6)
где 1,2 - коэффициент на неучтенные расходы воды;
Qср - средний производственный расход воды в смену, л;
k1 - коэффициент неравномерности потребления
воды;
k1 = 1,1 - для силовых установок;
k1 = 1,25 - для подсобных предприятий;
k1 = 1,6 - для производственных расходов;
k1 = 2 - для транспортного хозяйства;
k1 = 2,7 - для санитарно-бытовых нужд;
m = 6 ч., число часов в смену.
л/с
Расход воды на хозяйственно-бытовые нужды, л/с:
, (6.7)
где np - наибольшее количество рабочих в смену,
16 человек;
n1 - норма потребления воды на одного человека, n1 =25 л;
n2 - норма потребления воды на прием одного
душа, n2 =30 л;
k2 - коэффициент, учитывающий отношение
пользующихся душем к количеству рабочих, k2 = 0,3.
л/с
Минимальный расход воды для противопожарных целей определяется из
расчета одновременного действия двух струй из гидрантов по 5 л/с на каждую
струю, т.е.:
Qпож = 5×2=10 л/с.
Тогда
л/с
Необходимое количества тепла для отдельных предприятий,
сооружений, установок и видов работ определяется на основании опытных данных
или расчетных величин удельного расхода тепла на единицу продукции, объема
здания, определенных видов работ и бытовых нужд.
Общую потребность в тепле определяем по формуле, кДж:
, (6.8)
где Qобщ, Qг, Qсуш, Qст - количество тепла соответственно на обогрев и вентиляцию зданий,
тепляков; горячее водоснабжение; сушку одежды; воздух на станцию;
k1 и k2 - повышающие коэффициенты;
k1 =1,2 - на неучтенный расход тепла;
k2 =1,15 - на потери тепла в сети.
Максимальный часовой расход тепла для обогрева и вентиляции зданий
определяем по формуле, кДж/ч:
, (6.9)
где а - коэффициент, зависящий от расчетных температур
наружного воздуха (а=0,9 при
);
qo, qв - отопительная характеристика зданий;
tвн - расчетная температура внутри помещений, оС;
tн
- расчетная наружная температура, оС;
Vн - объем здания по наружному обмеру, м3.
кДж/ч
кДж/ч
Qобщ= (32745+16372,5) ×1,2×1,15=67782 кДж
В качестве теплоносителя для системы теплоснабжения используется
перегретая вода с температурой 70-130 оС, а в качестве
отопительно-вентиляционных агрегатов приняты калориферы. Для отвода устроены
открытые водотоки. Отработанная вода поступает через временные трубы в
городскую канализацию. Питание станции и тоннеля осуществляется через
существующие ТЭЦ, которая имеет необходимый резерв мощности.
6.6
Электроснабжение строительства
При сооружении перегонного тоннеля метрополитена закрытым
способом основными потребителями электроэнергии являются строительные машины и
механизмы, компрессор, наружное и внутреннее электрическое освещение,
водоотливные установки и т.д.
Таблица 6.2 - Характеристики
потребителей
Расчет нагрузок выполняем по установленной мощности
электроприемников и коэффициентам спроса с дифференциацией по видам
потребителей:
, (6.10)
где a - =
1,05-1,1 - коэффициент, учитывающий потери в сети;
k1, k2, k3 - коэффициенты спроса, зависящие от числа потребителей;
Pc, Pт, Pов, Pон - мощности потребителей: силовых, технологических, устройств
внутреннего и наружного освещения, кВт;
cosj - коэффициент мощности, зависящий от количества и загрузки
потребителей.
Электроснабжение выполняется трансформаторной подстанцией
КТПП-В-250-400-630/10:
мощность 630 кВт;
длина 2,32 м;
ширина 2,0 м;
масса 1800 кг.
7.
Мероприятия по охране труда
7.1
Общая часть
Опасным фактором при строительстве перегонного тоннеля
является возможный прорыв грунтовых вод, линза которых залегает на ПК84+53,40
(см. лист 2). Необходимо разработать мероприятия по ликвидации возможной
аварии.
Грунтовый массив сложен из суглинка с коэффициентом крепости f=0,5-0,55. Уклон тоннеля
считается обратным, так как идет к выходу и составляет 25%о.
Предполагаемый приток воды в тоннель - 3200 м3/ч (0,889 м3/с).
7.2
Расчет основных параметров обеспечения жизнедеятельности на период аварии
Для принятия необходимых мер безопасности необходимо определить
глубину и скорость потока воды в тоннеле.
) Определяется расходная характеристика (модуль расхода) для
всего сечения тоннеля (h/H=1), где h-глубина потока в тоннеле, Н - высота сечения тоннеля:
, (7.1)
где
- гидравлический радиус потока воды, м;
- площадь поперечного сечения тоннеля, м2;
- коэффициент Шези;
n=0,014 - коэффициент шероховатости.
Тогда
,
,
) Определяется расходная характеристика для частичного заполнения
тоннеля (h/H<1):
, (7.2)
где Qзад= 0,889 м3/ с - расход воды;
i=0,025 - гидравлический уклон потока.
) Вычисляется отношение Кн/К=5,62/2260=0,002
) По графику по установленному отношению Кн/К находим
степень наполнения сечения тоннеля водой h/H = a1=0,01.
Зная высоту сечения тоннеля, находим фактическую глубину потока в
тоннеле:
hфакт=а1H, (7.3)
hфакт=0,01×5,66=0,0566
м
) Расчетом находим скоростную характеристику для всего сечения
тоннеля (h/H=1):
, (7.4)
) По графику при известном а1 находим отношение b1 = Wн /W=0,42
) Находим скоростную характеристику для частичного заполнения
сечения тоннеля (h/H<1):
Wн= b1W, (7.5)
Wн=0,42×89,86=37,74
) Находим скорость потока в тоннеле:
, (7.6)
7.3 Общие правила поведения ИТР и рабочих при возникновении аварии
1. При прорыве воды люди, оказавшиеся в выработках на пути
движения воды, должны направляться по ближайшим выработкам в вышележащие
выработки и далее на поверхность.
. На объектах подземного строительства все рабочие и ИТР,
которые по характеру выполняемых работ могут быть застигнуты аварией в горных
выработках, должны быть заранее проинструктированы о принятых на объекте
порядка и способах оповещения об аварии.
. В качестве общего сигнала опасности используется
многократное отключение и включение рабочего освещения в горных выработках.
. При аварии каждый работник как выехавший на поверхность,
так и находившийся в это время на поверхности, обязан, узнав об аварии, лично
доложить своему начальнику (бригадиру, мастеру и т.д.) о выезде (выходе) и
выполнять обязанности согласно ПЛА или оставаться в распоряжении ответственного
руководителя работ по ликвидации аварии.
Общий порядок действий при аварии изложен в таблице 7.1.
. Ликвидация аварии
Для ликвидации аварии требуется откачка воды. Так как подача
воды в тоннель составляет 3200 м3/ч, то применяем насос Д320-50
(6НДв-60).
Таблица 7.1 - Технические характеристики насоса
Д320-50 (6НДв-60)
|
Подача, м3/ч
|
Напор, м
|
Тип
электродвига-теля
|
Мощность
электродвига-теля, кВТ
|
Частота
вращения ротора, мин-1
|
Масса агрегата,
кг
|
|
3200
|
50
|
АО2-91-4
|
75
|
1500
|
1233
|
Таблица 7.1 - Общий порядок действий при аварии
8. Расчет и организация защитных режимов производства работ в
условиях радиоактивного заражения местности
8.1
Исходные данные
Строительная площадка расположена в центральной части города.
Объект строительства - перегонный тоннель метрополитена.
Время, прошедшее от момента аварии на одном из предприятий
города до выпадения радиоактивных осадков на территории тоннельного отряда 2
часа. Уровень радиации к этому времени на объекте и в месте проживания составил
60 р/ч.
Подвалы помещений приспособлены под противорадиационные
укрытия с К=100. Рабочие и служащие проживают в одноэтажных зданиях, подвалы
которых приспособлены под противорадиационные укрытия. Время перехода или
переезда от места строительства до места работы и обратно составляет 0,5 ч.
Заданные дозы облучения:
первые сутки 25 р,
на вторые сутки 10 р,
на третьи сутки 7 р,
на четвертые сутки 5 р.
8.2
Прогнозирование радиационной обстановки на объекте
Определим, в какую зону попала строительная площадка. Закон
спада мощности дозы излучения (радиации) определяется математически:
, (8.1)
где
- уровень радиации на местности в момент
времени t после аварии, р/ч;
- уровень радиации в этой же точке через 1 час после взрыва, р/ч;
- время, на которое определяется уровень радиации после аварии,
ч.
р/ч.
Объект находится в середине зоны Б, в зоне сильного заражения. Из
облака выпали радиоактивные осадки. В результате чего оказались заражены
местность, вода, и воздушное пространство. Основным источником радиоактивного
заражения являются радиоактивные отходы, которые попали в атмосферу в
результате аварии на предприятии города. Они представляют собой смесь большого
количества изотопов различных химических элементов. Обладая способностью
ионизирующего излучения, радиоактивное заражение на местности облучает
находящихся на них людей и животных.
Для первичного обнаружения наличия радиоактивных излучений
используют измерительно-сигнальные приборы. Для измерения дозы гамма-радиации
применяют дозиметры ДП-5В, ДП-5Б, индивидуальный дозиметр ДП-22В.
8.3
Режимы работы рабочих и служащих в условиях радиоактивного заражения
В предвиденье радиоактивного заражения для каждой
категории рабочих участка заблаговременно намечен ряд вариантов режимной работы
и проживания. Для каждого режима определяют коэффициенты защищенности.
Необходимо, чтобы в вариантах учитывалась, с одной стороны, производительная
деятельность данной группы людей, а с другой - необходимость обеспечения их
защиты.
Для оценки степени защищенности людей, которые в течение
суток соблюдают определенный режим поведения, служит коэффициент защищенности C, показывающей во сколько
раз доза радиации, накопленная людьми за сутки при установленном режиме
поведения, меньше дозы, которую они получили бы, находясь непрерывно на открытой
местности.
Коэффициент защищенности можно определить по упрощенной
формуле:
, (8.2)
где
- время пребывания людей на открытой
местности, ч;
- время пребывания людей в течении суток в производственных
зданиях, жилых домах, транспортных средствах и т.д., ч;
- коэффициент ослабления радиации соответственно для
производственных зданий, жилых домов, транспортных средств и т.д.
При определении времени пребывания людей в зоне радиоактивного
заражения пользуемся графиком на рисунке 10.1. Для работы с графиком вычисляем
относительную величину:
, (8.3)
где Косл - коэффициент ослабления дозы радиации;
Dуст - установленная
доза облучения, р.
Рисунок 8.1
- График определения
продолжительности пребывания в зоне радиоактивного заражения.
Для того, чтобы исключить переоблучение людей, на объекте,
зараженном радиоактивными веществами, должны устанавливаться такие режимы их
поведения, которым бы соответствовали коэффициенты безопасной
жизнедеятельности. Коэффициентом безопасной защищенности называется значение
коэффициента защищенности при таком режиме поведения рабочих и служащих, когда
люди за сутки не получат дозу радиации выше установленной (допустимой).
Таблица 8.1 - Режимы работ
Данный коэффициент изменяется с течением времени:
, (8.4)
где
- коэффициент, определяемый с помощью
графика (рисунок 8.1) на оси ординат которого показано время в сутках, а по оси
абцисс - величина данного коэффициента для различных значений времени начала
заражения объекта;
- уровень радиации на объекте к моменту сформирования следа
облака, р/ч;
По графику (рисунок 8.2) для времени заражения объекта
, равным 2 часа находим коэффициент
. Для первых суток
=4, для вторых суток - 0.9, для третьих -
0.45, для четвертых - 0.28.
Радиация на объекте
равняется 60 р/ч. При таких данных коэффициент безопасной
защищенности будет:
для первых суток
, для вторых суток
,
для третьих суток
, для четвертых суток
Рисунок 8.2
- График для определения
коэффициента b
Из предлагаемых вариантов (в таблице 8.1) выбираем те, где
коэффициент защищенности заранее рассчитанных режимов поведения больше
коэффициента безопасной жизнедеятельности.
Для рабочих участка:
·
в
первые сутки необходимо установить режим номер пять, предполагающий двухчасовую
работу людей на открытой местности, а остальное время в противорадиационном
убежище;
·
во
вторые сутки используется режим номер четыре, согласно которому люди работают
два часа в производственных зданиях, три часа на открытой местности, а
остальное время укрываются в противорадиационных убежищах;
·
в
третьи и четвертые сутки целесообразно использовать режим номер два, согласно
которому люди работают, пять часов на открытой местности и шесть часов в
производственных зданиях, а остальное время укрываются в противорадиационных
убежищах.
Для служащих участка:
·
в
первые сутки принимают режим номер восемь, предполагающий двенадцатичасовой
рабочий день в производственных зданиях, а остальное время в жилых домах;
·
во
вторые сутки целесообразно использовать режим номер семь, согласно которому
один час могут проводить на открытой местности и одиннадцать часов в
производственных зданиях, а остальное время в жилых домах;
·
в
третьи и в четвертые сутки используется режим номер шесть, в котором люди три
часа проводят на открытой местности и девять часов в производственных
помещениях, а остальное время в укрытиях.
Каждый день в течении получаса рабочих и служащих доставляют
от жилых домов или противорадиационных укрытиях на работу и обратно в
автотранспортных средствах.
9.
Сметные расчеты
В дипломном проекте произведен расчет сметной стоимости
однопутного участка перегонного тоннеля метрополитена, сооружаемого закрытым
способом. Расчет выполнен в соответствии со СНиП IV.
Составлены локальные сметы на строительство, на эксплуатацию
машин и механизмов, на обсуживающие процессы; калькуляции на транспортные
расходы; калькуляции стоимости материалов; сводный сметный расчет.
Полная стоимость строительства перегонного тоннеля
метрополитена составляет 1713,15 тыс. рублей в ценах 1984 года. Возвратные
суммы - 13,77 тыс. руб.
Стоимость сооружения тоннеля составляет 479,24 тыс. руб. Из
них затраты на транспортные расходы - 7316,68 руб., в том числе: на
автодорожные перевозки 5761,69 рублей, на железнодорожные перевозки 1554,99
рублей.
Стоимость обслуживающих процессов - 72,29 тыс. руб.
Стоимость эксплуатации машин и механизмов - 368,12 тыс. руб.
Список
использованной литературы
1. СНиП
32-08. Метрополитены.
2. СНиП
2.03.01-84. Бетонные и железобетонные конструкции.
. СНиП
23-01-99. Строительная климатология.
. СНиП
III-4-80*. Техника безопасности в строительстве.
. СНиП
3.01.01-85*. Организация строительного производства.
. СНиП
IV-3-82. Правила определения сметной стоимости эксплуатации строительных машин.
. СНиП
IV-5--82. Часть IV. Глава 5. Сборник 29. Правила разработки единых районных
единичных расценок на строительные конструкции и работы. Тоннели и
метрополитены.
. СНиП
IV-4-82. Часть II. Правила определения сметных цен на материалы, изделия и
конструкции и сметных цен на перевозки грузов для строительства. Строительные
конструкции и детали.
. ЕНиР
на строительные, монтажные и ремонтно-строительные работы. Сборник 36. Выпуск
2. Горнопроходческие работы. Строительство метрополитенов, тоннелей и подземных
сооружений специального назначения. М.: 1981.
. Прейскурант
№06-08. Оптовые цены на железобетонные изделия. М.: 1981.
. Тоннели
и метрополитены: Учебник для вузов / В.Г. Храпов, Е.А. Демешко, С.Н. Наумов и
др. - М., 1989. - 383 с.
. В.П.
Волков, С.Н. Наумов, А.Н. Пирожкова. Тоннели и метрополитены: Учебник для
вузов. - М., 1964. - 631 с.
. Ю.С.
Фролов, Д.М. Голицинский, А.П. Ледяев. Метрополитены: Учебник для вузов. - М.,
2001. - 528 с.
. Обзорная
информация: Основные направления развития конструкций обделок, обжатых в грунт.
- М., 1985. Выпуск 1.
. Технологическая
карта: Проходка перегонного тоннеля с помощью механизированного комплекса
КТ-5,6Д2. - М., 1985. - 19 с.
. Организация
строительства и производства работ по сооружению станций метрополитена.
Методические указания к курсовому проекту. Часть I. / Сост. Е.В. Главатских,
А.К. Поправко. Новосибирск. - 1983. - 55 с.
. Проектирование
тоннельных обделок кругового очертания. Методические указания к курсовому
проекту. / Сост. Ю.Н. Третьяков, А.К. Поправко, Б.Е. Славин и др. Новосибирск.
- 1999. - 35 с.
. Проектирование
тоннелей, сооружаемых щитовым способом. Методические указания к курсовому и
дипломному проекту. Часть I. / Сост.А.К. Поправко, Б.Е. Славин, Ю.Н. Третьяков.
Новосибирск. - 1990. - 40 с.
. Проектирование
тоннелей, сооружаемых щитовым способом. Методические указания к курсовому и
дипломному проекту. Часть II. / Сост. А.К. Поправко, Б.Е. Славин, Ю.Н.
Третьяков. Новосибирск. - 1990. - 36 с.