Производство черных и цветных металлов

  • Вид работы:
    Дипломная (ВКР)
  • Предмет:
    Другое
  • Язык:
    Русский
    ,
    Формат файла:
    MS Word
    5,01 Mb
  • Опубликовано:
    2011-11-16
Вы можете узнать стоимость помощи в написании студенческой работы.
Помощь в написании работы, которую точно примут!

Производство черных и цветных металлов

Введение

Из 107 элементов Периодической системы элементов Д. И. Менделеева промышленность использует 74 элемента - металлов и несколько неметаллов, получаемых на предприятиях металлургии.

Металлургия - область науки или отрасль промышленности, охватывающая различные процессы получения металлов из руд и других материалов, а также процессы, способствующие улучшению свойств металлов и сплавов. Металлы являются основой экономики страны. В природе очень редко металлы встречаются в чистом виде. К ним относятся золото, серебро, медь. Остальные металлы находятся в виде соединений - руд, которые принято называть полезными ископаемыми. На заре развития человеческого общества люди научились получать и обрабатывать такие металлы, как медь, железо, серебро, золото, олово и свинец. По мере развития культуры число используемых человеком металлов увеличивалось. Металлы и сплавы условно принято подразделять на две основные группы - черные и цветные. Такая классификация сложилась исторически. К черным металлам относят железо и его сплавы (чугун, сталь, ферросплавы). Остальные металлы составляют группу цветных.

Объем производства черных металлов в значительной степени определяет уровень технического развития той или иной страны. Современное машиностроение является основным потребителем производимых металлургической промышленностью металлов. В любой отрасли машиностроения - тяжелом машиностроении, станкостроении, судостроении, автомобильной и авиационной промышленности, электронике и радиотехнике из черных металлов изготовляют огромное число деталей машин и приборов. Значительная доля черных металлов потребляется современным промышленным и гражданским строительством.

Большое значение в современной технике имеют и цветные металлы, которые широко применяют во всех отраслях народного хозяйства: в машиностроении, самолетостроении, радиомеханике и электронике. Все большее производство и применение цветных металлов в технике объясняется их физико-механическими и другими свойствами, которыми не обладают черные металлы и сплавы. Металлы в чистом виде применяются очень редко, за исключением меди и алюминия. Эти металлы используются в основном в электротехнической промышленности, как проводники электрического тока. Чистые металлы широко используются как компоненты (легирующие элементы) для получения сплавов. К таким металлам относятся медь, алюминий, магний, никель, титан, вольфрам, а также бериллий, германий, кремний. Наша страна имеет мощную черную и цветную металлургию, обеспечивающие потребности промышленности в металле в виде прокатной продукции. Развитие металлургии идет по пути совершенствования методов плавки и разливки металла, механизации и автоматизации производства, внедрения новых перспективных технологических процессов, обеспечивающих улучшение технико-экономических показателей и качества выпускаемой продукции.

Современное металлургическое производство представляет собой сложный комплекс различных производств, базирующийся на месторождениях руд, коксующихся углей, энергетических мощностях. Оно включает следующие комбинаты, заводы, цехи шахты и карьеры по добыче руд и каменных углей;

горно-обогатительные комбинаты, где подготовляют руды
к плавке, т. е. обогащают их;

коксохимические заводы или цехи, где осуществляют подготовку углей, их коксование и извлечение из них полезных химических продуктов:

энергетические цехи для получения сжатого воздуха (для дутья доменных печей), кислорода, а также очистки газов металлургических производств;

доменные цехи для выплавки чугуна и ферросплавов;

заводы для производства ферросплавов;

сталеплавильные цехи (конвертерные, мартеновские, электросталеплавильные) для производства стали;

прокатные цехи, в которых слитки стали перерабатывают в сортовой прокат - балки, рельсы, прутки, проволоку, а также лист и т. д.

Основой современной металлургии стали является двухступенчатая схема, которая состоит из доменной выплавки чугуна и различных способов его передела в сталь. При доменной плавке, осуществляемой в доменных печах, происходит избирательное восстановление железа из руды, но одновременно из руды восстанавливаются также фосфор и в небольших количествах марганец и кремний; железо науглероживается и частично насыщается серой. В результате из руды получают чугун - сплав железа с углеродом, кремнием, марганцем, серой и фосфором.

Передел чугуна в сталь производят в конвертерах, мартеновских и электрических печах. В этих агрегатах происходит избирательное окисление примесей чугуна таким образом, что в процессе плавки они переходят в шлак и газы. В результате получают сталь заданного химического состава.

Основной продукцией черной металлургии являются: 1) чугуны - передельный, используемый для передела на сталь, и литейный для производства фасонных чугунных отливок на машиностроительных заводах; основное количество (до 60 %) выплавляемого чугуна - передельный; 2) ферросплавы (сплавы железа с повышенным, содержанием марганца, кремния, ванадия, титана) для производства легированных сталей; 3) стальные слитки для производства сортового проката (рельсов, балок, прутков, полос, проволоки), а также листа, труб и т, д.; 4) стальные слитки для производства крупных кованых деталей машин (валок, роторов, турбин, дисков и т. д.), называемые кузнечными слитками.

Рис. 1: Схема современного металлургического производства

Основной продукцией цветной металлургии являются: 1) слитки цветных металлов для сортового проката (уголков, голос, прутков и т. д.); 2) слитки, (чушки) цветных металлов для фасонных отливок на машиностроительных заводах; 3) лигатуры - сплавы цветных металлов с легирующими элементами для производства сложных легированных сплавов для фасонных отливок; 4) слитки чистых и особо чистых металлов для нужд приборостроения, электронной техники и других специальных отраслей машиностроения.

1. Производство стали и чугуна

Производство стали.

Стали - железоуглеродистые сплавы, содержащие практически до 1,5 % углерода. Кроме углерода, сталь всегда содержит в небольших количествах постоянные примеси: марганец (до 0,8 %), кремний (до 0,4 %), фосфор (до 0,07 %), серу (до 0,06 %), что связано с особенностями технологии ее выплавки. В технике широко применяют также легированные стали, в состав которых для улучшения качества дополнительно вводят хром, никель и другие элементы. Существует свыше 1500 марок углеродистых и легированных сталей - конструкционных, инструментальных, нержавеющих и т. д.

Для массового производства стали в современной металлургии основными исходными материалами являются передельный чугун и стальной скрап (лом). По химическому составу сталь отличается от передельного чугуна меньшим содержанием углерода, марганца, кремния и других элементов. Поэтому выплавка стали - передел чугуна (или же чугуна и скрапа) в сталь - сводится к проведению окислительной плавки для удаления избытка углерода, марганца и других примесей. При выплавке легированных сталей в их состав вводят соответствующие элементы.

В настоящее время в мировом производстве около 40 % стали выплавляют кислородно-конверторным способом и около 40 % мартеновским способом; при этом за последнее время доля кислородно-конверторной стали непрерывно возрастает, а доля мартеновской стали сокращается.

Выплавка качественных сталей в электрических дуговых и индукционных печах началась в конце XIX- начале XX вв. Электросталь стоит дороже, но превосходит по качеству кислородно-конверторную и мартеновскую сталь; ее производство - около 20 % от всей массы стали - непрерывно возрастает. В связи с возрастающими требованиями к стали все большее применение получает внепечное ваккумирование, рафинирование синтетическими шлаками в ковше и другие новые прогрессивные технологические способы.

Сталь особо высокого качества выплавляют в вакуумных электрических печах, а также путем электрошлакового, плазменного переплава и других новейших методов.

Сущность процесса получения стали. Основными исходными материалами для производства стали являются передельный чугун и стальной лом (скрап). Сравнения химических составов передельного чугуна и стали показывает, что содержание углерода и примесей в стали существенно ниже, чем в чугуне.

Таким образом, для передела чугуна в сталь необходимо снизить содержание углерода и примесей. Поэтому сущностью любого металлургического передела чугуна в сталь является снижение содержания углерода и примесей путем их избирательного окисления и перевода в шлак и газы в процессе плавки. В результате окислительных реакций, осуществляемых на первом этапе передела чугуна в сталь, углерод соединяется с кислородом, образуя СО, который удаляется в атмосферу печи. Кремний, марганец, фосфор, сера образуют окислы или другие соединения, нерастворимые или малорастворимые в металле (SiO2, МnО, СаS и др.), которые в процессе плавки частично удаляются в шлак.

Однако в полной мере окислить примеси не удается, так как, несмотря на их значительно большее сродство к кислороду, чем у железа, по мере снижения содержания примесей в соответствии с законом действующих масс начинает окисляться железо. Окислы железа растворяются в железе, насыщая металл кислородом. Сталь, содержащая кислород, непригодна для обработки давлением - ковки, прокатки, так как в ней образуются трещины при деформации в нагретом состоянии.

Для уменьшения содержания кислорода в стали в процессе плавки ее раскисляют, т. е. вводят в нее элементы с большим сродством к кислороду, чем у железа. Взаимодействуя с кислородом стали, эти элементы образуют нерастворимые окислы, частично всплывающие в шлак. Для раскисления стали используют ферросплавы - ферросилиций, ферромарганец, а также алюминий. Раскисление является завершающим этапом выплавки стали.

Чугун переделывают в сталь в различных по принципу действия металлургических агрегатах. Основными их них являются кислородные конвертеры, мартеновские печи и другие электропечи. Соотношение между способами производства стали непрерывно изменяется. Объем производства стали, выплавляемой в высокопроизводительных агрегатах, кислородных конвертерах и крупных электропечах, возрастает. А стали, выплавляемой в мартеновских печах, постепенно уменьшается.

Производство стали в кислородных конвертерах.

Сущность кислородно-конверторного процесса заключается в том, что налитый в плавильный агрегат (конвертор) расплавленный чугун продувают струей кислорода сверху. Углерод, кремний и другие примеси окисляются и тем самым чугун переделывается в сталь.

Кислородно-конвертерный процесс. Это выплавка стали из жидкого чугуна в конвертере с основной футеровкой и продувкой кислородом сверху через водоохлаждаемую фурму.  

Кислородный конвертер. Устройство кислородного конвертора показано на рис.2. Его грушевидный корпус (кожух) сварен из листовой стали толщиной до 110 мм; внутри он футерован основными огнеупорными материалами общей толщиной до 1000 мм, емкостью 130 - 350 т жидкого чугуна.

Рис. 2. Схема устройства кислородного конвертера

- водоохлаждаемая фурма, 2 - горловина, 3 - грушевидный корпус (кожух), 4 - огнеупорные материалы, 5 - цапфа

В процессе работы конвертер можно поворачивать на цапфах вокруг горизонтальной оси на 360° для завалки скрапа, заливки чугуна, слива стали, шлака и т.д. Во время продувки чугуна кислородом конвертер находится в вертикальном положении. Кислород в конвертер (9 - 44 ат) подают с помощью водоохлаждаемой фурмы, которую вводят в конвертер через его горловину. Фурму устанавливают строго вертикально по оси конвертера. Ее поднимают специальным механизмом, сблокированным с механизмом вращения конвертера так, что конвертер нельзя повернуть, пока из него не удалена фурма.

Шихтовые материалы. Такими материалами для кислородно-конвертерного процесса являются жидкий передельный чугун, стальной лом, известь, железная руда , боксит, плавиковый шпат. Чугун для переработки в кислородных конвертерах должен содержать 3,7 - 4,4 % С; 0,7 - 1,1 % Mn; 0,4 - 0,8 % Si; 0,03 - 0,08 % S; <0,15 - 0,3 % Р. Известь необходима для наводки шлака. Она должна содержать более 90 % СаО и минимальное количество SiO2 и серы. Боксит и плавиковый шпат применяют для разжижения шлака.

Технология плавки. После выпуска очередной плавки конвертер наклоняют и через горловину с помощью завалочных машин загружают скрапом. Затем в конвертер заливают чугун при температуре 1250 - 1400 °С из чугуновозных ковшей. После этого конвертер в вертикальное положение, внутрь его вводят кислородную фурму и подают кислород. Одновременно с началом продувки в конвертер загружают шлакооборазующиеся материалы (известь, боксит, железную руду).

Расстояние головки фурмы от уровня металла в конвертере 0,7 - 0,3 м, в зависимости от емкости конвертера. Струи кислорода, поступающие под большим давлением в конвертер, проникают в металл, вызывают его циркуляцию в конвертере и перемешивание со шлаком. Благодаря интенсивному окислению примесей чугуна при взаимодействии с кислородом в зоне под фурмой температура достигает 2400 °С.

Окислительный период. В кислородном конвертере составляющие чугуна окисляются газообразным кислородом закиси железа (FeO), растворяющимся в металле и шлаке при продувке. В зоне контакта кислородной струи с чугуном в первую очередь окисляется железо, так как его концентрация во много раз выше концентрации примесей

Fe+1/2O2 =FeO

Закись железа растворяется в шлаке и металле, обогащая металл кислородом

FeO=Fe + O.

Окисление примесей чугуна кислородом, растворенным в металле, происходит по реакциям

Si+2O=SiO2;+O=MnO;+O=CO.

Часть примесей окисляется на границе металл - шлак окислами железа, содержащимися в шлаке:

Si+2FeO= SiO2+Fe;+Feo=MnO+Fe;+FeO=CO+Fe.

В кислородном конвертере благодаря присутствию шлаков с большим содержанием CaO и Fe, интенсивному перемешиванию металла и шлака легко удаляется из металла фосфор:

2P+5FeO+4CaO= (CaO)4P2O5+5Fe.

Образовавшийся фосфат кальция удаляется в шлак. В чугунах перерабатываемых в конвертерах, должно быть не более 0,15 % Р. При повышенном (до 0,3 %) содержании фосфора необходимо для более полного его удаления производить промежуточный слив шлака и наводить новый, что снижает производительность конвертера.

Рис. 3. Последовательность технологических операций при выплавке стали в кислородных конвертерах: а - загрузка скрапа; б- заливка жидкого чугуна; в- продувка кислородом; г- выпуск стали в ковш; д- слив шлака в шлаковую чашу

Раскиление стали. Прим выпуске стали из конвертера в ковш ее раскисляют вначале ферромарганцем, затем ферросилицием и алюминием. Затем из конвертера сливают шлак.

В кислородных конвертерах трудно выплавлять легированные стали, содержащие легкоокисляющие легирующие элементы. Поэтому в кислородных конвертерах выплавляют низколегированные стали, содержащие до 2 - 3 % легирующих элементов. Легирующие элементы вводят в ковш, предварительно расплавив их в электропечи, или легирующие ферросплавы вводят в ковш перед выпуском в него стали. Окисление примесей чугуна в кислородном конвертере протекает очень быстро: плавка в конвертерах емкостью 130 - 300 т заканчивается через 20 - 25 мин. Поэтому кислородно - конвертерный процесс производительнее плавки стали в мартеновских печах: производительность конвертера емкостью 300 т достигает 400 - 500 т/ч стали, а мартеновских печей и электропечей - не более 80 т/ч. Вследствие этого производство стали в нашей стране в основном увеличивается за счет ввода в строй новых кислородно - конвертерных цехов.

Производство стали в мартеновских печах.

Рис. 4. Схема мартеновской печи

Мартеновская печь - это пламенная отражательная регенеративная печь. Она имеет рабочее плавильное пространство, ограниченное снизу подиной (12), сверху сводом (7), а с боков передней (5) и задней (10) стенками. Подина имеет форму ванны с откосами по направлению к стенкам печи. Футеровка печи может быть основной и кислой. Если в процессе плавки стали в шлаке преобладают кислотные окислы, процесс называется кислым мартеновским процессом, а если преобладают основные окислы - основным. При высоких температурах шлаки могут взаимодействовать с футеровкой печи, разрушая ее. Для уменьшения этого взаимодействия необходимо, чтобы при кислом процессе футеровка печи была кислой, а при основном - основной. Футеровку кислой мартеновской печи изготовляют из динасового кирпича, а верхний рабочий слой подины набивают из кварцевого песка. Футеровку основной мартеновской печи выполняют из магнезитового кирпича, на который набивают магнезитовый порошок. Свод мартеновской печи не соприкасается со шлаком, поэтому его делают из динасового или магнезитохромитового кирпича независимо от типа процесса, осуществляемого в печи. В передней стенке печи находятся загрузочные окна (4) для подачи шихтовых материалов (металлической шихты, флюса) в печь. В задней стенке печи расположено сталевыпускное отверстие (9) для выпуска готовой стали. Размеры плавильного пространства зависят от емкости печи. В нашей стране работают мартеновские печи емкостью 20 - 900 т жидкой стали. Важной характеристикой рабочего пространства является площадь пода печи, которую условно подсчитывают на уровне порогов загрузочных окон. Например, для печи емкостью 900 т площадь пода составляет 115 м2. С обоих торцов плавильного пространства расположены головки печи (2). Головки печи служат для смешивания топлива с воздухом и подачи этой смеси в плавильное пространство. В качестве топлива в мартеновских печах используют природный газ или мазут. Для подогрева воздуха при работе на газообразном топливе печь имеет два регенератора (1). Регенератор представляет собой камеру, в которой размещена насадка - огнеупорный кирпич, выложенный в клетку. Температура отходящих из печи газов 1500 - 1000 °С. Попадая в регенераторы, они нагревают насадку до 1250 - 1280 °С, а охлажденные до 500 - 600 °С газы уходят из печи через дымовую трубу. Затем через один из регенераторов, например правый, в печь подают воздух, который, проходя через насадку, нагревается до 1100 - 1200 °С. Нагретый воздух поступает в головку печи, где смешивается с топливом; на выходе из головки образуется факел (7), направленный на шихту (6). Отходящие газы проходят через противоположную головку (правую), очистные устройства (шлаковики) для отделения мелких частиц шлака и пыли, уносимых из печи потоком газов, и направляются во второй (левый) регенератор, нагревая его насадку. Охлажденные газы покидают печь через дымовую трубу (8) высотой до 120 м. После охлаждения насадки правого регенератора до определенной температуры происходит автоматическое переключение клапанов, и поток газов в печи изменяет направление: через нагретый левый регенератор и головку в печь поступает воздух, а правый нагревается теплотой отходящих газов.

Температура факела пламени достигает 1750 - 1800 °С. Факел нагревает рабочее пространство печи и шихту. Факел имеет окислительный характер, что создает условия для окисления примесей шихты на протяжении всей плавки.

Разновидности мартеновского процесса.

При плавке в мартеновских печах составляющими металлической шихты могут быть стальной скрап, жидкий и твердый чугуны. В зависимости от состава металлической шихты, используемой при плавке, различают следующие разновидности мартеновского процесса:

скрап-процесс, при котором основной частью шихты является стальной скрап; применяют на металлургических заводах, где нет доменных печей, но расположенных в крупных промышленных центрах, где много металлолома; кроме скрапа в состав шихты входит 25 - 46 % чушкового пере дельного чугуна;

скрап-рудный процесс, при котором основная часть шихты состоит из жидкого чугуна (55 - 75 %), а твердая составляющая шихты - скрап и железная руда; этот процесс чаще применяют на металлургических заводах, имеющих доменные печи.

Наибольшее количество стали получают в мартеновских печах с основной футеровкой, так как в этом случае возможно переделывать в сталь различные шихтовые материалы, в том числе и с повышенным содержанием фосфора и серы. При этом используют обычно скрап-рудный процесс, как наиболее экономичный.

Кислым мартеновским процессом выплавляют качественные стали. Стали, выплавляемые в кислых мартеновских печах, содержат значительно меньшее количество растворенных газов (водорода и кислорода), неметаллических включений, чем сталь, выплавленная в основной печи. Поскольку в печах с кислой футеровкой нельзя навести основный шлак, способствующий удалению фосфора и серы, то при плавке в кислой печи применяют металлическую шихту с низким содержанием этих составляющих. Благодаря этому кислая сталь имеет более высокие показатели механических свойств, особенно ударной вязкости и пластичности, и ее используют для ответственных деталей: коленчатых валов крупных двигателей, роторов мощных турбин, шарикоподшипников, стволов орудий и т. д.

Плавка стали скрап-рудным процессом в основной мартеновской печи происходит следующим образом. После осмотра и ремонта пода печи с помощью завалочной машины загружают железную руду и известняк и после их прогрева подают скрап. По окончании прогрева скрапа в печь заливают жидкий чугун, который, проходя через слой скрапа, взаимодействует с железной рудой. В период плавления за счет окислов железа руды и скрапа интенсивно окисляются примеси чугуна:

2Fe2O3+3Si=3SiO2+4Fe;

Fe2O3+3Mn=3MnO+2Fe;

Fe2O3+6P=3Р2O5+10Fe;2O3+3C=3CO+2Fe

Окислы SiO2, MnO, Р2O5, а также CaO без извести образуют шлак с высоким содержанием MnO и FeO, а выделяющаяся окись углерода (СО) вспенивает шлак, который выпускают из печи в шлаковые чаши. Образование и спуск шлака продолжаются почти до полного расплавления шихты. В этот период плавления полностью окисляется кремний и почти полностью марганец и большая часть углерода, а также интенсивно удаляется фосфор.

По окончании расплавления шихты наступает период кипения ванны. Для этого после расплавления шихты в печь подают некоторое количество железной руды или продувают ванну кислородом, подаваемым по трубам (3) (см. рис. 4) Углерод, содержащийся в металле, начинает интенсивно окисляться, образуется окись углерода. В это время отключают подачу топлива и воздуха в печь, давление газов в плавильном пространстве печи падает и выделяющаяся окись углерода вспенивает шлак. Шлак начинает вытекать из печи через порог завалочного окна в шлаковые чаши. Эта операция называется скачиванием шлака. Вместе со шлаком удаляется значительное количество фосфора и серы. После этого вновь включают подачу топлива и воздуха, давление газов в печи возрастает, шлак перестает вспениваться, и его скачивание прекращается. Для более полного удаления из металла фосфора и серы в печи наводят новый шлак путем подачи на зеркало металла извести с добавлением боксита или плавикового шпата для уменьшения вязкости шлака.

Окислительная атмосфера в печи способствует образованию на поверхности шлак - газ окиси железа (Fе203). Окись железа диффундирует через шлак и на поверхности шлак-металл реагирует с жидким железом, восстанавливаясь до FеО, который также отдает свой кислород металлу. Поступивший в металл кислород взаимодействует с углеродом металла с образованием окиси углерода, которая выделяется в виде пузырьков, вызывая кипение ванны. Поэтому для кипения ванны шихта должна содержать избыток углерода (на 0,5 - 0,6 %) сверхзаданного в выплавляемой стали. Эта реакция является главной в мартеновской плавке, так как в процессе кипения ванны металл обезуглероживается, выравнивается его температура по объему ванны, частично удаляются из него газы и неметаллические включения, увеличивается поверхность соприкосновения металла со шлаком и облегчается удаление фосфора и серы из металла.

Начиная с расплавления шихты, до выпуска металла из печи, регулярно отбирают пробы металла и шлака для анализа химического состава. Процесс кипения считают окончившимся, если содержание углерода в металле по результатам анализов соответствует заданному, а содержание серы и фосфора минимально.

После этого приступают к раскислению металла. Металл раскисляют в два этапа: в период кипения, путем прекращения подачи руды в печь, вследствие чего раскисление происходит за счет углерода металла и подачи в ванну раскислителей - ферромарганца, ферросилиция, алюминия и окончательно раскисляют алюминием и ферросилицием в ковше при выпуске стали из печи. После отбора контрольных проб плавку выпускают из печи через сталевыпускное отверстие в задней стенке. По желобу сталь сливается в сталеразливочный ковш. При выплавке легированных сталей легкоокисляющиеся легирующие элементы вводят в ванну после раскисления перед выпуском металла из печи.

Основные технико-экономические показатели. Эти показатели производства стали в мартеновских печах следующие: производительность в сутки (т/м2-сутки), и расход топлива на тонну выплавленной стали (кг/т). Средний съем стали с 1 м2 площади пода в сутки составляет ~ 10 т/м2 в сутки, а расход условного топлива от 120 кг/т для обычной плавки до 80 кг/т для плавки с применением кислорода. Технико-экономические показатели работы мартеновских печей можно повысить путем применения печей повышенной емкости, улучшения их конструкции, интенсификации технологического процесса плавки. Увеличение емкости печей способствует более полному использованию их тепловой мощности. В нашей стране эксплуатируют экономически оптимальные мартеновские печи с ванной емкостью до 500 - 600 т.

Все более широкое применение находят двухванные мартеновские печи, позволяющие полнее использовать теплоту отходящих газов (рис. 5).

Рис. 5. Схема двухванной мартеновской печи

В этих печах имеются две ванны: в то время как в одной из них протекают процессы, требующие большой затраты теплоты (завалка, прогрев, плавление), в другой происходит продувка ванны кислородом; при этом возникающий избыток теплоты с отходящими газами используется в первой ванне. К моменту выпуска металла из одной ванны печи, в другой начинают продувку, а выделяющиеся газы направляют в первую ванну, в которой после выпуска начинают завалку шихты. Окись углерода, выделяющаяся при продувке ванны, догорает над шихтой другой ванны, благодаря чему шихта быстро нагревается и плавится. В таких печах топлива расходуется в 2 - 3 раза меньше, чем в обычных мартеновских печах, резко сокращается расход огнеупоров, повышается производительность печи.

Процесс плавки интенсифицируют широким применением кислорода, что повышает температуру в печи, ускоряет процесс окисления примесей, уменьшает продолжительность плавки и повышает производительность печи (на 20 - 25 %), снижает расход топлива. Широко применяют кислородный процесс, используя природный малосернистый высококалорийный газ, что снижает содержание серы в стали. Существенно повысить производительность мартеновских печей можно, применяя качественно подготовленные шихтовые материалы с минимальным содержанием вредных примесей, а также автоматизируя контроль и управление ходом мартеновской плавки.

Производство стали в электропечах.

Эти печи имеют преимущества по сравнению с другими плавильными агрегатами. В электропечах можно получить высокую температуру, создавать окислительную, восстановительную, нейтральную атмосферу или вакуум. В этих печах можно выплавлять сталь и сплавы любого состава, более полно раскислить металл с образованием минимального количества неметаллических включений - продуктов раскисления. Поэтому электропечи используют для выплавки конструкционных сталей ответственного назначения, высоколегированных, инструментальных, коррозионно-стойких (нержавеющих) и других специальных сталей и сплавов. Для плавки стали используются дуговыми и индукционные электропечи.

Дуговая электросталеплавильная печь. В этих печах в качестве источника теплоты используют электрическую дугу, возникающую между электродами и металлической шихтой. Дуговая электросталеплавильная печь (рис. 6.) питается трехфазным переменным током и имеет три цилиндрических электрода (9), изготовленных из графитированной массы. Электрический ток от трансформатора гибкими кабелями (7) и медными шинами подводится к электрододержателям (8), а через них к электродам (9). Между электродами и металлической шихтой (4) возникает электрическая дуга, электроэнергия превращается в теплоту, которая передается металлу и шлаку излучением. Рабочее напряжение 180 - 600 В, сила тока 1 - 10 кА. Во время работы печи длина дуги регулируется автоматически путем вертикального перемещения электродов. Печь имеет стальной сварной кожух (3). Кожух печи изнутри футерован теплоизоляционным и огнеупорным кирпичом (7), который может быть основным (магнезитовый, магнезитохромитовый) или кислым (динасовый). Подина (12) печи набивается огнеупорной массой. Плавильное пространство ограничено стенками (5), подиной (12) и сводом (6), изготовляемым также из огнеупорного кирпича и имеющим отверстия для прохода электродов. В стенках печи имеются рабочее окно (10) для управления ходом плавки и летка для выпуска готовой стали по желобу (2) в ковш.

Рис. 6. Схема дуговой электрической плавильной печи

Печь загружают при снятом своде. Механизмом (11) печь может наклоняться в сторону загрузочного окна и летки. Емкость дуговых электропечей 0,5 - 400 т. В металлургических цехах обычно используют дуговые электропечи с основной футеровкой, а в литейных цехах - с кислой.

Основная дуговая печь. Применяют два вида технологии плавки в дуговой основной печи: на шихте из легированных отходов (методом переплава) и на углеродистой шихте (с окислением примесей).

Плавку на шихте из легированных отходов с низким содержанием фосфора проводят без окисления примесей. Шихта для такой плавки, кроме пониженного содержания фосфора, должна иметь меньшее, чем в выплавляемой стали, количество марганца и кремния. По сути это переплав. Однако в процессе плавки за счет кислорода некоторые примеси (алюминия, титана, кремния, марганца, хрома) окисляются. Кроме того, шихта может содержать окислы. Поэтому после расплавления шихты металл раскисляют, удаляют серу, наводят основный шлак, при необходимости науглероживают и доводят металл до заданного химического состава. Раскисляют ферросилицием, алюминием, молотым коксом. При этом окислы легирующих элементов восстанавливаются и переходят из шлака в металл. Таким способом плавки получают легированные стали из отходов машиностроительных заводов.

Плавку на углеродистой шихте чаще применяют для производства конструкционных углеродистых сталей. Эту плавку проводят за два периода: окислительный и восстановительный. После заправки печи, удаления остатков металла и шлака предыдущей плавки, исправления поврежденных мест футеровки в печь загружают шихту: стальной лом (до 90 %), чушковый передельный чугун (до 10 %), электродный бой или кокс для науглероживания металла и 2 - 3 % извести. По окончании завалки шихты электроды опускают вниз и включают ток; шихта под электродами плавится, металл накапливается на подине печи. Во время плавления шихты начинается окислительный период плавки: за счет кислорода, окислов шихты и окалины окисляется кремний, марганец, углерод, железо. Вместе с окисью кальция, содержащейся в извести, окислы этих элементов образуют основный железистый шлак, способствующий удалению фосфора из металла.

После нагрева металла и шлака до 1500 - 1540 °С в печь загружают руду и известь. Содержащийся в руде кислород интенсивно окисляет углерод и вызывает кипение ванны жидкого металла за счет выделяющихся пузырьков окиси углерода. Шлак вспенивается, уровень его повышается; для выпуска шлака печь наклоняют в сторону рабочего окна и он стекает в шлаковую чашу. Кипение металла ускоряет нагрев ванны, удаление из металла газов, неметаллических включений, способствует удалению фосфора. Шлак удаляют, руду и известь добавляют 2 - 3 раза. В результате содержание фосфора в металле снижается до 0,01 % и одновременно за счет образования окиси углерода при кипении уменьшается и содержание углерода. Когда содержание углерода становится меньше заданного на 0,1 %, кипение прекращают и полностью удаляют из печи шлак. Этим заканчивается окислительный период плавки.

Восстановительный период плавки включает раскисление металла, удаление серы и доведение химического состава до заданного. После удаления окислительного шлака в печь подают ферромарганец в количестве, обеспечивающем заданное содержание марганца в стали, а также производят науглероживание, если выплавляют высокоуглеродистые стали (до 1,5 % С). Затем в печь загружают флюс, состоящий из извести, плавикового шпата и шамотного боя. После расплавления флюсов и образования шлака в печь вводят раскислительную смесь, состоящую из извести, плавикового шпата, молотого кокса и ферросилиция. Молотый кокс и ферросилиций вводят в порошкообразном виде. Они очень медленно проникают через слой шлака. В шлаке восстанавливается закись железа:

FeO+C=Fe+CO;

FeO+Si=Fe+SiO2

При этом содержание закиси железа в шлаке снижается и она из металла согласно закону распределения начинает переходить в шлак. Этот процесс называют диффузионным раскислением стали. Раскислительную смесь вводят в печь несколько раз. По мере раскисления и понижения содержания FеО цвет шлака изменяется и он становится почти белым. Раскисление под белым шлаком длится 30 - 60 мин.

По ходу восстановительного периода берут пробы для определения химического состава металла. При необходимости в печь вводят ферросплавы для достижения заданного химического состава металла. Когда достигнуты заданные состав металла и температура, выполняют конечное раскисление стали алюминием и силикокальцием. После этого следует выпуск металла из печи в ковш.

При выплавке легированных сталей в дуговых печах в сталь вводят легирующие элементы в виде ферросплавов. Порядок ввода определяется сродством легирующих элементов к кислороду. Никель, молибден обладают меньшим сродством к кислороду, чем железо, и их вводят в период плавления или в окислительный период. Хром легко окисляется и его вводят в восстановительный период; кремний, ванадий, титан - перед выпуском металла из печи в ковш, так как они легко окисляются.

Технико-экономические показатели. Эти показатели плавки в дуговых печах зависят от емкости печи и технологии плавки. Расход электроэнергии на 1 т стали зависит от емкости печи. С увеличением емкости печи расход электроэнергии на 1 т выплавленной стали уменьшается. Например, для печи емкостью 25 т он составляет 750 кВт - ч, а для печи емкостью 100 т - 575 кВт-ч. Расход графитированных электродов составляет 6 - 9 кг/т выплавленной стали.

Электроиндукционные печи.

Индукционная тигельная сталеплавильная печь (рис. 7.) состоит из водоохлаждаемого индуктора (5), внутри которого находится тигель (4) с металлической шихтой. Через индуктор проходит однофазный переменный ток повышенной частоты (500 - 1000 кГц). Ток создает переменный магнитный поток, пронизывая куски металла в тигле, наводит в них мощные вихревые токи, нагревающие металл (1) до расплавления и необходимых температур перегрева. Тигель может быть изготовлен из кислых (кварцит) или основных (магнезитовый порошок) огнеупорных материалов. Емкость тигля от 60 до 25 т. Ток к индуктору подводится от генератора высокой частоты - лампового (лабораторные печи) или машинного. Для уменьшения потерь теплоты при плавке можно применить съемный свод (2).

Рис. 7. Схема индукционной тигельной электрической плавильной печи

Индукционные печи имеют преимущества перед дуговыми:

) в них отсутствует электрическая дуга, что позволяет выплавлять металлы с низким содержанием углерода, газов и малым угаром элементов, это особенно важно при выплавке высококачественных сталей и сплавов;

) при плавке в металле возникают электродинамические силы, которые перемешивают металл в печи и способствуют выравниванию химического состава, всплыванию неметаллических включений;

) индукционные печи имеют небольшие габаритные размеры, что позволяет помещать их в закрытые камеры, в которых можно создавать любую атмосферу, а также вакуум. Однако эти печи имеют малую стойкость футеровки, шлак в них нагревается теплотой металла и температура его недостаточна для интенсивного протекания металлургических процессов между металлом и шлаком.

При загрузке тщательно подбирают химический состав шихты в соответствии с заданным, так как плавка протекает быстро, и полного анализа металла по ходу плавки не делают. Поэтому необходимое количество ферросплавов (ферровольфрам, ферромолибден, феррохром, никель) для получения заданного химического состава металла загружают на дно тигля вместе с остальной шихтой. После расплавления шихты на поверхность металла загружают шлаковую смесь. Основное назначение шлака при индукционной плавке - уменьшить тепловые потери металла, защитить его от насыщения газами, уменьшить угар легирующих элементов. При плавке в кислой печи после расплавления и удаления плавильного шлака наводят шлак из боя стекла (SiO2). Металл раскисляют ферросилицием, ферромарганцем и алюминием перед выпуском его из печи. Продолжительность плавки в индукционной печи емкостью 1 т около 45 мин. Расход электроэнергии на 1 т стали составляет 600 - 700 кВт.ч.

Рафирование стали в ковше жидкими синтетическими шлаками. Сущность этого метода состоит в том, что очистка стали от серы, кислорода и неметаллических включений производится при интенсивном перемешивании стали в ковше с предварительно слитым в него шлаком, приготовленном в специальной шлакоплавильной печи. Сталь после обработки жидкими шлаками обладает высокими механическими свойствами. За счет сокращения периода рафинирования в дуговых печах, производительность которых может быть увеличена на 10 - 15%. Мартеновская печь, обработанная синтетическими шлаками, по качеству близка к качеству стали, выплавляемой в электрических печах.

Разливка стали.

Выплавленную сталь выпускают из плавильной печи в разливочный ковш, из которого ее разливают в изложницы или кристаллизаторы установок для непрерывной разливки стали.

В изложницах или кристаллизаторах сталь затвердевает, и получаются слитки, которые затем подвергают обработке давлением - прокатке, ковке.

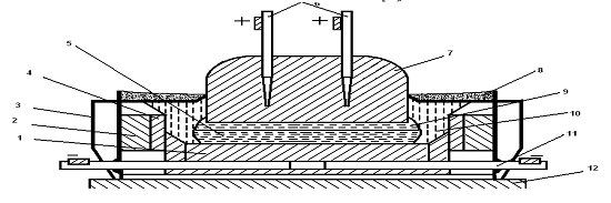
Сталеразливочный ковш (рис.8.) имеет стальной сварной кожух (1), выложенный изнутри огнеупорным кирпичом (2). В дне ковша имеется керамический стакан (3) с отверстием (4) для выпуска стали. Отверстие в стакане закрывается и открывается стопорным устройством. Стопорное устройство имеет стальную штангу (6), на конце которой укреплена пробка (5) из огнеупорного материала. На штангу надеты трубки (7) из огнеупора, предохраняющие ее от расплавления жидкой сталью. Стопор поднимают и опускают рычажным механизмом (11) вручную или с помощью гидравлического привода с дистанционным управлением. Ковш за две цапфы (8) поднимается краном. Емкость ковша выбирают в зависимости от емкости плавильной печи с учетом слоя шлака (9) (100 - 200 мм), предохраняющего зеркало металла (10) в ковше от охлаждения при разливке. Обычно емкость ковшей 5 - 260 т. Для крупных плавильных агрегатов применяют ковши емкостью 350 - 480 т.

Рис. 8. Сталеразливочный ковш

- кожух, 2 - огнеупорная футеровка, 3 - керамический стакан, 4 - выпускное отверстие, 5 - пробка, 6 - стальная штанга, 7 - огнеупорная трубка, 8 - цапфы, 9 - шлак, 10 - поверхность (зеркало) металла, 11 - рычажный механизм

Изложницы - чугунные формы для изготовления слитков. Конфигурация изложниц характеризуется формой поперечного и продольного сечений и зависит от сорта заливаемой стали и назначения слитка. Изложницы выполняют с квадратным, прямоугольным, круглым и многогранным поперечными сечениями (рис. 9.).Слитки квадратного сечения прокатывают на сортовой прокат (двутавровые балки, швеллеры, уголки и т. д.); слитки прямоугольного сечения с отношением ширины к толщине 1,5 - 3,0 - на лист; из слитков круглого сечения изготовляют трубы, колеса. Многогранные слитки используют для поковок.

Рис. 9. Виды изложниц

Для разливки спокойной стали, применяют изложницы, расширяющиеся кверху (рис. 10, б), для разливки кипящей стали - изложницы, расширяющиеся книзу (рис. 10, а).

Изложницы, расширяющиеся кверху, обычно имеют дно, а расширяющиеся книзу делают сквозными, без дна. Для предупреждения транскристаллизации дно квадратных и прямоугольных изложниц закруглено. Изложницы для разливки спокойной стали имеют прибыльные надставки (8) (рис. 10, б), футерованные изнутри огнеупорной массой (9) с малой теплопроводностью. Сталь в прибыльной надставке дольше находится в жидком состоянии и питает затвердевающий слиток металлом, благодаря чему уменьшается глубина усадочной раковины, улучшается качество слитка, уменьшаются отходы при обрезке его головной части. Размеры изложниц зависят от массы слитка. Для прокатки отливают слитки от 200 кг до 25 т; для поковок - массой до 250 т.

Экономически более целесообразна разливка стали в крупные слитки, так как при этом сокращаются затраты труда, на огнеупоры, потери металла, уменьшается продолжительность разливки. Однако масса слитка ограничивается мощностью прокатного оборудования и ухудшением качества слитка из-за неравномерности химического состава в различных его местах. Обычно углеродистые спокойные и кипящие стали разливают в слитки массой до 25 т, легированные и высококачественные стали - в слитки от 500 кг до 7 т, а некоторые сорта высоколегированных сталей в слитки массой несколько сот килограммов.

Способы разливки стали. Применяют три основных способа разливки стали: в изложницы сверху; в изложницы сифоном; на установках непрерывной разливки стали (УНРС).

Рис. 10. Разливка стали в изложницы

В изложницы сверху (рис. 10, а) сталь заливают непосредственно из ковша (1). При разливке сверху исключается расход металла на литники, проста подготовка оборудования к разливке, температура заливаемой стали может быть ниже, чем при сифонной заливке. Однако при разливке сверху сталь падает в изложницу с большой высоты, брызги металла застывают на стенках изложницы и ухудшают поверхность слитка, образуя окисные плены. Окисные плены не свариваются с телом слитка даже при прокатке, после которой необходимо зачищать поверхность заготовки для улучшения ее качества, что является очень трудоемкой операцией. При сифонной разливке (рис. 10, б) сталью заполняют одновременно несколько изложниц (от 4 до 60). Изложницы устанавливают на поддоне (6), в центре которого находится центровой литник (3), футерованный огнеупорными трубками (4), соединенный каналами, выполненными из огнеупорных пустотелых кирпичей (7), с нижними частями изложниц. Сифонная разливка основана на принципе сообщающихся сосудов: жидкая сталь (2) из ковша (1) поступает в центровой литник и через каналы заполняет изложницы (5) снизу. Этот способ разливки обеспечивает плавное, без разбрызгивания заполнение изложниц, поверхность слитка получается чистой, сокращается продолжительность разливки, можно разливать большую массу металла одновременно на несколько мелких слитков. Однако при сифонной разливке повышается трудоемкость подготовки оборудования, увеличивается расход огнеупоров, появляется необходимость в расходовании металла на литники (до 1,5 % от массы заливаемой стали), в перегреве металла в печи до более высокой температуры, так как при течении по каналам он охлаждается.

Оба способа разливки широко применяют. Для обычных углеродистых сталей используют разливку сверху; для легированных и высококачественных сталей - разливку сифоном.

Непрерывная разливка стали (НРС) (рис. 11) состоит в том, что жидкую сталь из ковша (1) через промежуточное разливочное устройство (2) непрерывно подают в водоохлаждаемую изложницу без дна - кристаллизатор (3), из нижней части которого вытягивается затвердевающий слиток (4).

Рис. 11. Схема разливки стали на машинах непрерывного литья

Перед заливкой металла в кристаллизатор вводят затравку, образующую его дно. Затравка имеет головку в форме ласточкина хвоста. Жидкий металл, попадая в кристаллизатор и на затравку, охлаждается, затвердевает, образуя корку. Затравка тянущими валками (5) вытягивается из кристаллизатора вместе с затвердевающим слитком, сердцевина которого находится в жидком состоянии. Скорость вытягивания слитка из кристаллизатора зависит от сечения слитка. Например, скорость вытягивания прямоугольных слитков сечением 150×500 мм и 300×2000 мм ~1 м/мин.

На выходе из кристаллизатора слиток охлаждается водой, подаваемой через форсунки в зоне (6) вторичного охлаждения. Из зоны вторичного охлаждения слиток выходит полностью затвердевшим и попадает в зону (7) резки, где его разрезают газовым резаком (8) на куски заданной длины. Для предотвращения приваривания слитка к стенкам кристаллизатора последний совершает возвратно-поступательное движение с шагом 10 - 50мм и частотой 10 - 100 циклов в минуту, а рабочая поверхность кристаллизатора смазывается специальными смазками. Высота кристаллизатора 500 - 1500 мм. В них получают слитки прямоугольного поперечного сечения, круглые в виде толстостенных труб. Вследствие направленного затвердевания и непрерывного питания при усадке в слитках непрерывной разливки отсутствуют усадочные раковины, они имеют плотное строение и мелкозернистую структуру. Поверхность слитка получается хорошего качества. Выход годных заготовок может достигать 96 - 98 % от массы разливаемой стали.

Современные способы повышения качества металлов и сплавов.

Развитие специальных отраслей машиностроения и приборостроения предъявляет все более жесткие требования к качеству металла: показателям его прочности, пластичности, газосодержания, анизотропии механических свойств. Улучшить эти показатели можно уменьшением в металле неметаллических включений, газов, вредных примесей. Плавка в обычных плавильных агрегатах (мартеновских и электрических, кислородных конвертерах) не позволяет получить металл требуемого качества. Поэтому в последние годы разработаны новые технологические процессы, позволяющие повысить качество металла: обработка металла синтетическим шлаком, электрошлаковый переплав (ЭШП), вакуумирование металла при разливке, плавка в вакуумных печах, вакуумно-дуговой переплав (ВДП), вакуумно-индукционный переплав (ВИП), переплав металла в электронно-лучевых и плазменных печах. Количество металла, выплавляемого этими способами, постоянно увеличивается.

Обработка металла синтетическим шлаком. Сущность процесса, заключается в ускорении взаимодействия между сталью и шлаком за счет интенсивного их перемешивания при заполнении сталью ковша.

Процесс осуществляют так: синтетический шлак, состоящий из 55 % СаО, 40 % А12О3, небольших количеств SiO2, MgO и минимума FeO, выплавляют в специальной электропечи и заливают в ковш. В этот же ковш затем заливают с некоторой высоты (обычно из электропечи) сталь. В результате перемешивания стали и шлака поверхность их взаимодействия резко возрастает, и металлургические реакции между металлом и шлаком протекают в сотни раз быстрее, чем в обычной плавильной печи. Благодаря этому, а также низкому содержанию закиси железа в шлаке, сталь, обработанная таким способом, содержит меньше серы, кислорода и неметаллических включений, улучшаются ее пластические и прочностные характеристики.

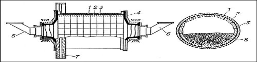
Вакуумная дегазация стали. Этот способ (рис. 12) относится к внепечным способам обработки, осуществляемым в ковше или изложнице. Ее проводят для уменьшения содержания растворенных в металле газов и неметаллических включений. Вакуумной дегазации в ковше или изложнице подвергают сталь, выплавляемую в мартеновских и электропечах. Сущность процесса заключается в снижении растворимости в жидкой стали газов при понижении давления над зеркалом металла, благодаря чему газы выделяются из металла, что приводит к улучшению его качества. Процесс осуществляется различными способами: вакуумпрованием стали в ковше, при переливе из ковша в ковш, при заливке в изложницу и др.

Рис. 12. Схема вакуумной дегазации стали в ковше

Вакуумирование в ковше выполняют в стальных, футерованных изнутри камерах. Ковш (3) с жидкой сталью (4) помещается в камеру (2), закрывающуюся герметичной крышкой (1). Вакуумными насосами в камере создается разрежение до остаточного давления 267 - 667 Н/м2 (0,267 - 0,667 кПа). Продолжительность вакуумироваиия 12 - 15 мин. При понижении давления из жидкой стали выделяются водород и азот, а при большой окисленности металла уменьшается и содержание кислорода вследствие его взаимодействия с углеродом стали. Всплывающие пузырьки газа захватывают неметаллические включения, в результате чего содержание их в стали снижается. При снижении содержания газов и неметаллических включений улучшаются прочностные и пластические характеристики стали.

Электрошлаковый переплав. ЭШП переплаву подвергают выплавленный в электродуговой печи и прокатанный на круглые прутки металл. Источником тепла при ЭШП явялется шлаковая ванна, нагреваемая за счет прохождения через нее электрического тока. Электрический ток подводится к переплавляемому электроду (1), погруженному в шлаковую ванн (2), и к поддону (9), установленному внизу в водоохлаждаемой металлической изложнице (кристаллизаторе) (7), в которой находится затравка (8) (рис. 13). Выделяющаяся теплота нагревает шлаковую ванну (2) до 1700 °С и более и вызывает оплавление конца электрода. Капли жидкого металла (3) проходят через шлак, собираются, образуя под шлаковым слоем металлическую ванн (4).

Рис. 13 Схема электрошлакового переплава.

а - кристаллизатор, б - включение установки, 1 - расходуемый электрод, 2 - шлаковая ванна, 3 - капли электродного металла, 4 - металлическая ванна, 5 - шлаковый гарнисаж, 6 - слиток, 7 - стенка кристаллизатора, 8 - затравка, 9 - поддон

Перенос капель металла через шлак, интенсивное перемешивание их со шлаком способствуют их активному взаимодействию, в результате чего происходит удаление из металла неметаллических включений и растворенных газов. Металлическая ванна, непрерывно пополняемая за счет расплавления электрода, под воздействием водоохлаждаемого кристаллизатора постепенно формируется в слиток 6. Кристаллизация металла, последовательная и направленная снизу вверх, происходит за счет теплоотвода через поддон кристаллизатора. Последовательная и направленная кристаллизация способствует удалению из металла неметаллических включений и пузырьков газа, получению плотного однородного слитка. После полного застывания слитка опускают поддон и извлекают его из кристаллизатора.

В результате электрошлакового переплава содержание кислорода в металле снижается в 1,5 - 2 раза, понижается концентрация серы и соответственно уменьшается в 2 - 3 раза загрязненность металла неметаллическими включениями, причем они становятся мельче и равномерно распределяются в объеме слитка.

Слиток отличается большой плотностью, однородностью, его поверхность - хороший качеством благодаря наличию шлаковой корочки 5. Все это обусловливает высокие механические и эксплуатационные свойства сталей и сплавов электрошлакового переплава.Слитки выплавляют круглого, квадратного, прямоугольного сечений массой до 110 т.

Вакуумно-дуговой переплав. Такой переплав применяют для удаления из металла газов и неметаллических включений. Сущность процесса заключается в снижении растворимости газов в стали при снижении давления и устранении взаимодействия ее с огнеупорными материалами футеровки печи, так как процесс ВДП осуществляется в водоохлаждаемых медных изложницах. Для осуществления процесса используют вакуумные дуговые печи с расходуемым электродом.

Рис. 14. Схема вакуумно - дугового переплава

В зависимости от требований, предъявляемых к металлу, расходуемый электрод может быть получен механической обработкой слитка, выплавленного в электропечах. Расходуемый электрод (3) закрепляют на водоохлаждаемом штоке (2) и помещают в корпус (1) печи и далее в медную водоохлаждаемую изложницу (6). Из корпуса печи вакуум-насосами откачивают воздух до остаточного давления 1,33 Н/м2. При подаче напряжения между расходуемым электродом-катодом и затравкой-анодом (8), помещенной на дно изложницы, возникает дуговой разряд. Теплотой, выделяющейся в зоне разряда, расплавляется конец электрода; капли (4) жидкого металла, проходя зону дугового разряда, дегазируются, постепенно заполняют изложницу и затвердевают, образуя слиток (7).Дуга горит между расходуемым электродом и ванной (5) жидкого металла, находящейся в верхней части слитка, на протяжении всей плавки. Благодаря сильному охлаждению нижней части слитка и разогреву дугой ванны жидкого металла в верхней его части создаются условия для направленного затвердевания слитка. В результате направленного затвердевания неметаллические включения сосредоточиваются в верхней части слитка, а усадочная раковина в слитке мала. Слитки, полученные в вакуумных дуговых печах, содержат очень небольшое количество газов, неметаллических включений, отличаются высокой равномерностью химического состава, имеют хорошую макроструктуру. Поэтому металл, полученный ВДП, отличается повышенными механическими свойствами и пластичностью. Из слитков ВДП изготовляют ответственные детали турбин, двигателей, авиационных конструкций. Емкость дуговых вакуумных печей - до 50 т.

Производство чугуна.

Материалы для доменного производства

Чугуном называется сплав железа с углеродом, который содержит более 2,14 % углерода. Около 80 % всего количества выплавляемого чугуна составляет передельный чугун, являющийся исходным продуктом для производства стали. Для производства фасонного литья на машиностроительных заводах используют литейный чугун (15-20 %), а в качестве легирующих добавок и раскислителей при выплавке стали - ферросплавы: ферромарганец и ферросилиций (1-2 %).

Для производства чугуна и стали используют руду, флюсы, топливо и огнеупорные материалы.

Руда. В природе большинство металлов находится в виде химических соединений (окислов, силикатов, карбонатов, сернистых соединений), входящих в состав различных минералов, образующих, горные породы.

Промышленной рудой называют горную породу, из которой при данном уровне развития техники целесообразно извлекать металлы или их соединения. Этот уровень определяется содержанием добываемого металла в руде. Например, для железа он составляет не менее 30 - 50 %, для меди 3 - 5 %, для молибдена 0,005 - 0,02 %. Руда состоит из минералов, содержащих металл или его соединения, и пустой породы, в состав которой входят различные примеси. Например, железная руда содержит окислы железа Fe3О4, Fе2О3, FеСО3, Fе2О3Н2О, а также пустую породу, состоящую в основном из SiO2, А12О3, СаО, МgО. Руды обычно называют по одному или нескольким металлам, которые в них содержатся. Например, железные, медные, алюминиевые, марганцевые, медно-никелевые, железомарганцевые и т. д. В зависимости от содержания добываемого материала, руды бывают богатые и бедные. Богатые железные руды содержат 45 - 50 % железа и более. Бедные руды (с малым содержанием добываемого металла) специально обрабатывают - обогащают. Обогащение состоит в удалении из руды части пустой породы. В результате получают концентрат - продукт с повышенным содержанием добываемого металла по сравнению с рудой. Использование концентрата позволяет улучшить технико-экономические показатели работы металлургических печей.

Железные руды содержат железо в различных соединениях.

Магнитный железняк (магнетит), содержащий магнитную окись железа Fе3О4, добывают в виде плотных кусковых пород (55 - 60 % железа). Пустая порода - SiO2. Наиболее крупные месторождения этой руды в нашей стране - Соколовское и Курская магнитная аномалия и др. Из стран СНГ добывают магнитный железняк в Казахстане (Сарбайское месторождение).

Красный железняк (гематит) содержит Fе2О3 и имеет красноватый цвет (55 - 60 % Fе). В нем пустая порода содержится в виде SiO2 и известняка СаСО3 Крупные месторождения этой руды в нашей стране - Криворожское, Курская магнитная аномалия, Атасуйское и др.

Бурый железняк содержит гидраты окислов железа 2Fе2О3 · ЗН2О и Fе2ОН2О (37 - 55 % Fе). Бурый железняк широко распространен в земной коре. Богатые месторождения его в нашей стране - Керченское, Аятское, Лисаковское.

Шпатовые железняки содержат FеСО3 (~ 30 - 40 % Fе). Богатые залежи шпатового железняка в нашей стране находятся в Бакальском месторождении. Мы располагаем богатейшими в мире месторождениями железных руд. Более 48 % мировых разведанных запасов железных руд приходится па долю бывшего СССР.

Марганцевые руды применяют для выплавки ферросплавов с 10 - 82 % Мn, а также передельных чугунов, содержащих до 1 % Мn. Марганец в рудах содержится в виде окислов и карбонатов: МnО2, Мn2О3, Мn3О4, МnСО3 и др. В рудах обычно содержится не более 22 - 45 % Мn. Наиболее крупные месторождения марганцевых руд в нашей стране - Чиатурское и Никопольское. По запасам марганцевых руд бывшего СССР занимает первое место в мире.

Бурый железняк (лимониты) представляет собой водную окись железа n Fe2O3 · mH2O c содержанием железа Fе до 20 - 50 %. Из бурого железняка добывается до 3 % чугуна. Пустая порода - разнообразная по составу, содержит серу и фосфор. Чаще встречается лимонит - 2 Fe2O3 · 3H2O с содержанием 57,14 железа и 25,3 % воды. Месторождение - Керченское (Крым), Лисаковское (Кустанайская область Казахстана), Алапаевское (Свердловская область).

Шпатовый железняк (сидерит) содержит железа до 30 - 40 % в виде карбоната FеСО3 (углекислая соль). Сидерит разрабатывается на Бакальском меторождении в Челябинской области (г. Бакал) с середины 18 века. Разведенные запасы сидеритов 904 млн. т. (1976 г) с содержанием железа 29 - 33 % .

Хромовые руды используют для производства феррохрома, металлического хрома и огнеупорных материалов - хромомагнезитов. Хромовые руды содержат сложные соединения хрома - хромит (FеО, Сг2О3), магнохромит (Мg, Fе) Сг2О4 и др. В рудах обычно содержится около 40% Сг2О3 . Наша страна располагает богатейшими в мире запасами хромовых руд.

Комплексные руды используют для выплавки природно-легированных чугунов. Это железомарганцевые руды, содержащие, кроме железа, до 20% Мn (Атасуйское месторождение), хромоникелевые руды с 37 - 47% Fе, до 2% Сг, до 1% Ni (Халиловское месторождение), железованадиевые руды, содержащие до 0,17 - 0,35% V.

Топливо. Основными видами топлива, применяемого в металлургических печах, являются кокс, природный газ, мазут, а так - же доменный или колошниковый газ. Для доменного процесса требуется прочное, неспекающееся твердое топливо, которое служит не только горючим для нагрева шахты и ее расплавления, но и химическим реагентом для восстановления железа из руды. Естественные виды топлива не обладают необходимыми свойствами, так как они спекаются и недостаточно прочны. Поэтому для доменной плавки применяют твердое топливо - кокс. В коксе содержится 80 - 88 % С; 8 - 12 % золы; 2- 5 % влаги; 0,5- 1,8 % S; 0,02 - 0,2 % Р и до 1,2 % летучих продуктов. Важными для доменной плавки показателями качества кокса являются зольность и содержание серы, которые должны быть минимальными. Сера - вредная примесь. В процессе плавки она может переходить в металл и ухудшать его свойства. Важное значение для хода плавки имеет размер кусков кокса - кусковатость. Размер кусков кокса должен быть 25 - 60 мм. Кокс должен обладать также высокой механической прочностью, чтобы не разрушаться в доменной печи под действием массы шихтовых материалов. Теплота сгорания кокса составляет обычно 29,3 МДж/кг.

При доменной плавке часть кокса заменяют природным газом, мазутом или пылевидным топливом.

Природный газ содержит 90 - 98 % углеводородов (СН4 и С2Н6) и до 1 % азота. Теплота его сгорания 33 - 50 МДж/кг. Мазут - тяжелый остаток, крекинга нефти. Он содержит 84 - 88 % С, 10 - 12 % Н2, небольшое количество серы и кислорода. Эти виды топлива создают восстановительную атмосферу в доменной печи и улучшают восстановление окислов железа из руды, что приводит к экономии кокса. Кроме этого, используют доменный или колошниковый газ, который является побочным продуктом доменного процесса.

Флюсы. Пустая порода железных руд содержит окислы, температура плавления которых значительно выше развиваемых в доменной печи (А12О3 2040°С, СаО - 2570°С, МgО - 2800°С). Однако при определенном количественном соотношении этих окислов образуются легкоплавкие соединения - шлаки, имеющие температуру плавления ниже 1300°С и обладающие хорошей текучестью при 1450 - 1600°С. Для перевода пустой породы руды и золы кокса в шлаки требуемого химического состава с определенными химическими свойствами в доменную печь при плавке загружают флюсы. Рекомендуется, чтобы в шлаке отношение содержания (СаО + МgО)/(SiO2 - А12О3)  1. Обычно пустая порода руды состоит в основном из SiО2 и А12О3. Суммарное содержание этих оксидов не должно превышать 1 %. Шлак называют кислым, если в его составе преобладают кислотные окислы (SiO2, Р2Оз), и основным, если в его составе преобладают основные окислы (СаО, МgО, FеO и т. д.).

Шлаки, образующиеся к процессе планки в металлургических печах, играют большую роль для получения металла с требуемыми химическим составом и свойствами.

Огнеупорные материалы. В современных металлургических агрегатах процессы плавки происходят при высоких температурах. Поэтому внутреннюю облицовку (футеровку) металлургических печей и ковшей для разливки металла делают из огнеупорных материалов, способных выдерживать нагрузки при высоких температурах, противостоять резким изменениям температур, химическому воздействию шлака и печных газов. Огнеупорными называют материалы, способные противостоять высоким температурам, не расплавляясь при определенных условиях испытания. Огнеупорность материала определяется в °С.

Огнеупорные материалы применяют в виде кирпичей разных размеров и форм, а также порошков и растворов, необходимых для заполнения швов между кирпичами при кладке печей.

По химическим свойствам огнеупорные материалы подразделяют на кислые, основные и нейтральные. Материалы, содержащие большое количество кремнезема SiO2, называют кислыми (динасовые, кварцеглинистые); содержащие основные окислы (СаО, Mg0) - основными (магнезитовые, магнезитохромитовые, доломитовые); содержащие большое количество Аl2О3 и Сг203 - нейтральными (хромомагнезитовые, высоко глиноземные, шамотные).

Если рабочее пространство плавильной печи выложено из кислых огнеупорных материалов, то печь называют кислой, а если из основных - основной.

Кварцевый песок (не менее 95 % SiO2) - кислый огнеупорный материал. Его применяют для набивки и наварки подин кислых сталеплавильных печей. Из кварцевого песка и кварцита изготовляют динасовый кирпич, содержащий 93 - 95 %. SiO2.

Огнеупорность динаса составляет 169 - 01720 °С. Этим кирпичом футеруют кислые мартеновские и электросталеплавильные печи.

Магнезитовый металлургический порошок содержит 85 - 88 % МgO. Его применяют для набивки и наварки подин основных сталеплавильных печей. Из него изготовляют магнезитовый кирпич (86 - 90 % МgO). Огнеупорность такого кирпича более 2000°С. Его применяют для кладки пода и стен основных мартеновских и электросталеплавильных печей. Он обладает высокой термостойкостью. Магнезитохромитовый кирпич содержит 60 % МgО и 8 - 13 % Сг2О3. Обладает огнеупорностью (более 2000°С), термостойкостью и шлакоустойчивостью. Применяется для кладки сводов мартеновских печей.

Доломитовый кирпич содержит 32 - 36 % МgО и 50 - 56 % СаО; применяют вместе с магнезитовым порошком для наварки подин и откосов основных сталеплавильных печей. Смолодоломитовый кирпич изготовляют из доломитового порошка с каменноугольной смолой, используют для футеровки кислородных конвертеров. Смолодоломитомагнезитовый кирпич содержит 32 - 50 % МgО, 38 - 54 % СаО и до 4 % SiO2; применяют для футеровок кислородных конвертеров. Хромомагнезитовый кирпич содержит 42 % МgО и 15 - 20 % Сг2О3. Огнеупорность его более 2000°С, применяют в мартеновских печах для кладки шлаковиков.

Шамотный кирпич - нейтральный материал. Содержит 50 - 60 % SiO2 и 30 - 42 % А12О3. Огнеупорность его 1580 - 1730°С, применяют для футеровки доменных печей, воздухонагревателей, различных ковшей и т. д.

Высокоглиноземистый кирпич содержит 72 - 95 % А12О3 и имеет огнеупорность 1820 - 1920 °С.

Углеродистый кирпич и блоки содержат до 92 % С. Обладают высокой огнеупорностью. Применяют для кладки лещади доменных печей, электролизных ванн для получения алюминия, тиглей для плавки и разливки медных сплавов.

Подготовка руд к доменной плавке.

Производительность доменной печи, расход кокса и качество получаемого чугуна зависят от состава исходных материалов для плавки - железной руды, кокса и флюсов. При увеличении содержания железа в руде, применении кокса определенной и равномерной кусковатости повышается производительность доменной печи, снижается расход кокса. Установлено, что в шихтовых материалах для доменной плавки оптимальное содержание железа должно быть 60 - 61%. Однако содержание железа в добываемых рудах значительно ниже; кроме того, многие из них содержат вредные примеси, ухудшающие качество чугуна и стали, например серу, фосфор. Поэтому перед плавкой железные руды подвергают специальной подготовке, цель которой состоит в увеличении содержания железа в шихте, повышении ее однородности по кусковатости и химическому составу. Основные методы подготовки руды к плавке следующие: дробление и сортировка по крупности; обогащение; окускование. Метод подготовки добываемой руды зависит от со качества.

Дробление и сортировка руд по крупности необходимы для получения кусков руды определенной величины, оптимальной для плавки. Куски руды дробят и сортируют по крупности на специальных агрегатах - дробилках и классификаторах.

Руды обогащают для повышения содержания железа в шихте. В результате обогащения руду подразделяют на концентрат с высоким (более 60 %) содержанием железа и хвосты - отходы с небольшим содержанием металла. Способы обогащения руд основаны на использовании различия физических свойств минералов, входящих в состав руды: плотностей ее составляющие, магнитной восприимчивости, физико - химических свойств поверхностей минералов.

Промывка руды водой позволяет отделить плотные составляющие рудных минералов от пустой рыхлой породы (песка, глины).

Гравитация (отсадка) основана на отделении руды от легкой пустой породы при пропускании струи воды через дно вибрирующего сита, на котором лежит руда. При этом легкие зерна пустой породы вытесняются в верхний слой и уносятся водой, а тяжелые, содержащие рудные минералы, опускаются вниз. Применяют также гравитационное обогащение в тяжелых средах: руду погружают в жидкость, плотность которой выше плотности пустой породы. Рудный минерал осаждается на дно, а пустая порода всплывает и удаляется.

Магнитная сепарация основана на различии магнитных свойств железосодержащих минералов и частиц пустой породы. Измельченную руду подвергают действию магнита, притягивающего железосодержащие минералы, отделяя их от пустой породы. Этим способом обогащают магнетитовые руды. Для обогащения бурых железняков их подвергают магнетизирующему обжигу при 600 - 800°С в печах с слабовосстановительной атмосферой. В результате слабомагнитная окись железа Fе2О3 переходит в магнитную закись - окись. После такого обжига руду направляют на магнитную сепарацию.

Окускование производят для переработки концентратов, полученных после обогащения, в кусковые материалы необходимых размеров. Используют два способа окускования: агломерацию и окатывание.

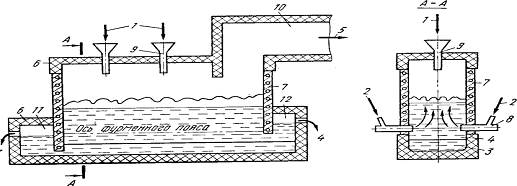
Агломерация заключается в спекании шихты, состоящей из железной руды мелких фракций (40 - 50 %), известняка (15 20 %), возврата мелкого агломерата (20 - 30 %), коксовой мелочи (4 - 6 %), влаги (6 - 9 %) на специальной машине для улучшения их металлургических свойств. Эти материалы смешиваются с измельченным твердым топливом (коксом, углем), увлажняются и подаются в агломерационную машину. Спекание выполняют на агломерационных машинах при 1300 - 1500°С. В процессе спекания из руды удаляются вредные примеси (сера, частично мышьяк), карбонаты разлагаются и получается кусковой пористый офлюсованный материал - агломерат.

Агломерационная машина ленточного типа состоит из большого числа паллетспекательных тележек с отверстиями в днище, двигающихся по направляющим рельсам (рис. 15). В загруженной паллете после зажигания газовыми горелками начинается горение топлива, причем фронт горения распространяется сверху вниз. Воздух просасывается сквозь пой шихты благодаря действию специальных вакуумных устройств, называемых эксгаустерами. Температура в слое шихты достигает 1300 - 1600 °С.

Рис. 15. Схема агломерационной машины.

- паллеты, 2 - шихтовый материал, 3 - горелка, 4 - вакуум - камеры (эксгаустер), 5 - агломерат.

В результате восстановления оксидов железа в присутствии кремнезема образуется фаялит Fе2SiO4 по реакции

304 + 3Si02 + 2СО = ЗFе2SiO4 + 2СO2.

В зоне горения фаялит, имеющий температуру плавления 1209°С, плавится и смачивает зерна шихты, благодаря чему при охлаждении образуется твердая пористая масса - агломерат. Агломерат имеет высокую пористость (до 50 %) и хорошую восстановимость. Кроме того, в процессе спекания почти полностью выжигается сера, которая удаляется в виде сернистого газа. В металлургии обычно используют офлюсованный агломерат, для чего в шихту дополнительно вводят известняк.

Окатывание применяют для обработки тонко измельченных концентратов. Шихта, состоящая из измельченных концентратов, флюса, топлива, увлажняется и при обработке во вращающихся барабанах, тарельчатых чашах (грануляторах) приобретает форму шариков-окатышей диаметром до 30 мм. Окатыши высушивают и обжигают при 1200 - 1350°С на специальных машинах.

Рис.16. Схема образования окатышей в грануляторе

- чаша, 2 - скребки, 3 - механизм изменения угла наклона чаши

После обжига окатыши приобретают высокую прочность при достаточной пористости. Использование агломерата и окатышей исключает отдельную подачу флюса - известняка в доменную печь при плавке, так как флюс в необходимом количестве входит в их состав. Это улучшает работу доменной печи, повышает ее производительность, снижает расход кокса. Шихта состоит из тонкоизмельченного концентрата (меньше 0,5мм), из известняка (флюса) и возврата (отбракованных окатышей). Для лучшего окатывания шихту увлажняют (8 - 10 %) и в ее состав добавляют связующее - бентонитовую глину (до 1,5 %). Образование окатышей диаметром 25 - 30 мм происходит в грануляторе - вращающейся со скоростью 6 - 9 об/мин неглубокой чаше. Далее окатыши подвергают сушке при температуре 200 - 400°С, а затем обжигу при 1300 - 1400°С, после чего они приобретают высокую прочность.

Выплавка чугуна.

Чугун выплавляют в вертикальных печах шахтного типа - доменных печах. Сущность процесса получения чугуна в доменных печах заключается в восстановлении окислов железа, входящих в состав руды, которую загружают в печь, окисью углерода, водородом и твердым углеродом, выделяющимися при сгорании топлива в печи.

Устройство и работа доменной печи.

Рис. 17. Схема доменной печи

Стенки печи выкладывают из огнеупорных материалов - в основном из шамота. Нижнюю часть горна и его основание (лещадь) выполняют из особо огнеупорных материалов - углеродистых (графитизированных) блоков. Для повышения стойкости огнеупорной кладки в ней устанавливают (примерно на ¾ высоты печи) металлические холодильники, по которым циркулирует вода. Для уменьшения расхода воды (для крупных печей до 70000м3 в сутки) применяют испарительное охлаждение, основанное на том, что поглощаемое тепло используется для парообразования. Кладка печи снаружи заключена в стальной кожух толщиной до 40мм. Для уменьшения нагрузки на нижнюю часть печи ее верхнюю часть (шахту) сооружают на стальном кольце, опирающемся на колонны. С увеличением полезного объема (рабочего пространства) доменных печей повышается их экономичность. Современные крупные доменные печи имеют объем 2000 - 3000м3. На Криворожском заводе с 1974 г. работает печь объемом 5000 м3.

Воздух для горения топлива вдувается через 14 - 36 фурм в верхнюю часть горна печи. В современную доменную печь для выплавки 1т чугуна вдувается около 3000м3 воздуха; его расход на крупных печах достигает 6000 7000 м3/мин, что обеспечивается быстроходными турбовоздуходувными машинами (3500 - 4500 об/мин). Воздух нагревается в специальных воздухонагревателях. Каждую доменную печь обслуживают три-четыре автоматически переключающихся воздухонагревателя.

Применение высокотемпературного дутья привело к значительной интенсификации плавки. За последние годы температура воздушного дутья была повышена до 1200 - 1300С.

Значительный эффект дало повышение давления под колошником примерно до 2,5 атм., приводящее к уменьшению скорости газа, улучшению теплообмена и интенсификации физико-химических процессов. Крупнейшим усовершенствованием явилось обогащение дутья кислородом (до 30%). Наибольший эффект дало комплексное использование этих мер при применении природного газа. Производительность печей повысилась примерно на 50%, а расход кокса снизился на 25 - 30%.

Доменная печь работает непрерывно в течение 5 - 10 лет. Для этого по мере необходимости в нее загружают отдельными порциями (колошами) шихтовые материалы, периодически выпускают чугун и шлак, непрерывно удаляют доменные газы.

Для выплавки 1т передельного (мартеновского) чугуна в среднем расходуется около 1,8 т офлюсованного агломерата, 550 кг кокса. Таким образом, печь объемом 3000м3 в сутки потребляет примерно 8500т шихтовых материалов и выплавляет около 5000 - 5500т чугуна.

В современных доменных печах все процессы по подготовке и загрузке шихтовых материалов полностью механизированы. К вспомогательным устройствам, обеспечивающим работу печи, относятся: шихтовые дворы, оборудованные погрузочно-разгрузочными устройствами; бункерные эстакады с вагон - весами для автоматического взвешивания шихтовых материалов, подъемные механизмы, доставляющие самоопрокидывающиеся тележки-скипы с шихтой к загрузочному аппарату доменной печи. Для нормальной работы печи необходимы также воздухонагреватели и другие устройства для осуществления горячего дутья, литейный двор, ковши - чугуновозы и шлаковозы, разливочные машины и т.д.

Шихтовые материалы поступают в бункера, расположенные на рудном дворе: офлюсованный агломерат с агломерационной фабрики, а кокс - от коксовых батарей коксохимического завода. Из бункеров шихтовые материалы подаются в вагон-весы, на которых взвешивают определенные порции шихты. Из вагона-весов кокс и агломерат передаются в вагонетку скипового подъемника. Скиповой подъемник представляет собой наклонный рельсовый мост, по которому движутся две вагонетки. Скип поднимается стальным канатом до верхней точки рельсового моста и опрокидывается. Через загрузочное устройство (засыпной аппарат) шихта попадает в доменную печь. Две скиповые вагонетки с помощью лебедки передвигаются по наклонному мосту к засыпному аппарату и, опрокидываясь, высыпают шихту в приемную воронку распределителя шихты. При опускании малого конуса засыпного аппарата шихта попадает в чашу а при опускании большого конуса - в доменную печь. Такая последовательность работы механизмов засыпного аппарата необходима для предотвращения выхода газов из доменной печи в атмосферу.

Для равномерного распределения шихты в доменной печи малый конус и приемная воронка после загрузки очередной порции материалов поворачиваются на угол, кратный 60°. Все механизмы засыпного аппарата и скипового подъемника Агломерат, руду, флюс и кокс, поступающие в печь в определенном соотношении, называют шихтой.

Доменные печи, как и все шахтные печи, работают по принципу противотока. Сверху сходят шихтовые материалы, а снизу им навстречу движутся газы, образующиеся в процессе горения топлива.

Вблизи фурм углерод кокса, взаимодействуя с кислородом воздуха, сгорает

С + О2 = СО2 + 393,51 кДж

При высоких температурах и в присутствии твердого углерода кокса двуокись углерода неустойчива и частично переходит и окись углерода;

СО2 + С = 2СО - 171,88 кДж.

Одновременно, на некотором расстоянии от фурм, идет реакция неполного горения углерода кокса

С - 1/2О2 = СО + 110,5 к Дж

В результате горения кокса в доменной печи выделяется теплота и образуется газовый поток, содержащий СО, СО2 и другие газы. При этом в печи немного выше уровня фурм температура становится более 2000°С. Горячие газы, поднимаясь вверх, отдают свою теплоту шихтовым материалам и нагревают их, охлаждаясь до 400 - 300°С у колошника. В зоне печи, где температура газон достигает 700 - 450°С, часть окиси углерода разлагается с образованием сажистого углерода, оседающего на шихтовых материалах

СО = СО2 + С↓

Остальная часть газа, состоящего в основном из СО, СО2, N2, Н2, СН4 (колошниковый газ), отводится из печи по трубам и после очистки используется как топливо для воздухонагревателей.

Шихтовые материалы (агломерат, кокс) опускаются навстречу потоку газов и нагреваются. В результате в них происходит целый ряд химических превращений: удаляется влага, из топлива выделяются летучие вещества, а при прогреве шихты до температуры ~ 570°С начинается основной процесс - восстановление окислов железа, содержащихся в агломерате.

Восстановление окислов железа в доменной печи. Этот процесс протекает в результате взаимодействия окислов железа с окисью углерода и твердым углеродом кокса, а также водородом. Восстановление твердым углеродом называют прямым, а газами - косвенным.

При температурах до 570°С восстановление окиси железа протекает по реакциям

ЗFe2О3 + СО = 2Ге3О4 + СО2;

3О4 + 4СО = ЗFе + 4СО2.

При более высоких температурах (750 - 900°С) окислы железа восстанавливаются наиболее интенсивно:

ЗFе2Оз + СО = 2Fе3О4 + СО2;

3О4 + СО = ЗFеО + СО2;

FeО+СО = Fе + СО2.

При этих температурах из руды, находящейся в нижней зоне шахты доменной печи, образуется твердое губчатое железо. Некоторая часть закиси железа опускается до уровня распара и заплечиков, где восстанавливается твердым углеродом кокса в результате двух одновременно протекающих реакций: СО2 + С = 2СО;

FеО + СО = Fе + СО3

FеО + C = Fe + CO

В реакциях восстановления железа участвуют также сажистый углерод и водород, особенно при введении в доменную печь природного газа.

По мере опускания шихта достигает зоны в печи, где температура составляет 1000 - 1100°С. При этих температурах восстановленное из руды твердое железо, взаимодействуя с окисью углерода, коксом и сажистым углеродом, интенсивно науглероживается благодаря способности железа в твердом состоянии растворять углерод:

ЗFе + 2СО = Ге3С + СО2;

ЗFe + С = Fе3С.

При насыщении углеродом температура плавления железа понижается и на уровне распара и заплечиков оно расплавляется. Капли железоуглеродистого сплава, протекая по кускам кокса, дополнительно насыщаются углеродом (до 4 % и более), марганцем, кремнием, фосфором, которые восстанавливаются из руды, а также серой, содержащейся в коксе. Эти процессы протекают следующим образом.

Марганец содержится в руде в виде МnО2, Мn2О3, Мп3О4. Эти соединения легко восстанавливаются до МnО. При температуре более 1000°С часть МnО восстанавливается твердым углеродом по реакциям

МnО+СО = Мn + СО2;

СО2 + С=2СО

МnО + С = Мn + СО

Одновременно марганец взаимодействует с твердым углеродом и образует карбид Мn3С, повышая содержание углерода в сплаве. Другая часть МnО входит в состав шлака.

Кремний, содержащийся в пустой породе руды в виде SiO2, температуре выше 11000С также частично восстанавливается твердым углеродом: SiO2 + С = SiO + СО;

SiO + С = Si + СО

SiO2 + 2С = Si + 2СО

Образовавшийся кремний растворяется в железе. Другая часть SiO2 также входит в состав шлака.

Фосфор содержится в рудо в виде соединений (FеО)3Р2О5 и (СаО)3Р2О5. Частично фосфат железа восстанавливается окисью углерода:

3 (РО4)2 + 16СО = 2Fе3Р + 2Р + 16СО2.

При температурах более 1000°С восстановление идет за счет твердого углерода

3(РО4)2 + 16С = ЗFе3Р + 2Р + 16СО.

При температурах выше 1300°С фосфор восстанавливается из фосфата кальция

(СаО)3Р2О5 + 5С = ЗСаО + 2Р + 5СО.

Образовавшийся фосфид железа (Fе3Р) и фосфор полностью растворяются в железе и входят в состав чугуна.

Сера присутствует в коксе и руде в виде органической серы и соединений FeS2, FеS, СаSО4. Сера летуча и поэтому часть ее удаляется с газом при нагреве шихты в печи. Сера из кокса окисляется у фурм кислородом дутья до SО2 и, поднимаясь с газами, восстанавливается твердым углеродом:SО2+2С = S + 2СО.

При этом часть серы растворяется в чугуне. Сера является вредной примесью и ухудшает качество чугуна. Для удаления серы стремятся повысит ь содержание СаО в шлаке. При этом часть серы удаляется в шлак по реакциям

FеS + СаО=СаS + FеО

FеО + С = Fе + СО

Таким образом, в результате процессов восстановления окислов железа, части окислов марганца и кремния, фосфатов и сернистых соединений, растворения в железе С, Мn, Si, Р, S в печи образуется чугун. По мере скопления чугуна и шлака их выпускают из печи. Чугун выпускают через 3 - 4 ч, а шлак через 1,0 - 1,5 ч. Чугун выпускают через чугунную летку (отверстие в кладке, расположенное выше лещади), а шлак - через шлаковую летку. Чугунную летку открывают бурильной машиной, а после выпуска чугуна закрывают огнеупорной массой. Чугун и шлак сливают по желобам, проложенным по литейному двору, в чугуновозные ковши и шлаковозные чаши, установленные на железнодорожных платформах. Емкость чугуновозных ковшей 90 - 140 т. В них чугун транспортируют в кислородно-конвертерные или мартеновские цехи для передела в сталь. Чугун, не используемый в жидком виде, поступает на разливочные машины. Из ковша чугун через передаточный желоб заполняет металлические формы-изложницы разливочной машины и затвердевает в них в виде чушек-слитков массой 45кг. Часто жидкий шлак из доменной печи не сливают в шлаковозные чаши, а для удобства дальнейшего использования подвергают мокрой грануляции: на него направляют струю воды, сод действием которой он рассыпается на мелкие гранулы.

Продукты доменной плавки.

В доменных печах получают два жидких продукта - чугун и шлак, а также колошниковый газ.

Чугун - основной продукт доменной плавки. В доменных печах получают чугун различного химического состава в зависимости от его назначения.

Передельный чугун выплавляют для передела его в сталь в конвертерах или мартеновских печах.

Он содержит 4,0 - 4,4 % С; до 0,6 - 0,8 % Si; до 0,25 - 1,0 % Мn; 0,15 - 0,3 % Р и 0,03 - 0,07 % S. Передельный чугун некоторых марок, предназначенный для передела в сталь в конвертерах, имеет пониженное содержание фосфора (до 0,07 %).

Литейный чугун используют для переплава его на машиностроительных заводах при производстве фасонных отливок. Он содержит повышенное количество кремния (до 2,75 - 3,25 %). Кроме чугуна, в доменной печи выплавляют ферросплавы.

Доменные ферросплавы - сплавы железа с кремнием, марганцем и другими металлами. Их применяют для раскисления и легирования стали. К ним относятся: доменный ферросилиций с 9 - 13 % Si и до 3 % Мn; доменный ферромарганец с 70 - 75 % Мn и до 2 % Si; зеркальный чугун с 10 - 25 % Мn и до 2 % Si.

Побочными продуктами доменной плавки являются шлак и колошниковый газ, также используемые в производстве. Из шлака производят шлаковату, шлакоблоки, цемент, а колошниковый газ после очистки от пыли используют как топливо для нагрева воздуха, вдуваемого в доменную печь, а также в цехах металлургических заводов.

Важнейшие технико-экономические показатели. Такими показателями работы доменных печей являются коэффициент использования полезного объема доменной печи (К. И. II. О) и удельный расход кокса. Коэффициент использования полезного объема печи (К. И. П. О. в м3/т) определяется как отношение полезного объема печи V (в м3) к ее среднесуточной производительности Р и тоннах выплавленного передельного чугуна.

К. И. П. O. = V/P

Чем выше производительность доменной печи, тем ниже К.И.П.О., который для большинства доменных печей в нашей стране составляет 0,5 - 0,7.

Удельный расход кокса K - отношение расхода А кокса за сутки к количеству Р в тоннах передельного чугуна, выплавленного за то же время:

Улучшение технико-экономических показателей работы доменных печей является одной из важнейших задач металлургического производства. Эта задача решается повышением производительности доменных печей путем улучшения их конструкций, способов подготовки шихты, интенсификации доменного процесса.

. Производство цветных металлов

Около 70 элементов таблицы Д. И. Менделеева составляют цветные металлы, без которых немыслимо развитие отраслей промышленности. Цветные металлы широко различаются как по свойствам, так и по способам получения. Так, галлий и цезий имеют температуры плавления 29,8 и 28,5 °С соответственно, т. е. их можно расплавить в руке, а вольфрам плавится при температуре 3400 °С. Литий, имея плотность 0,53 г/см3, не тонет ни в бензине, ни в керосине, а плотность тантала составляет 26,6 г/см3. Для производства цветных металлов применяются пирометаллургия, гидрометаллургия, электролиз, как водных растворов, так и расплавленных солей.

Все цветные металлы делят на 5 групп:

. Тяжёлые цветные металлы - это металлы, плотность которых превышает 7 г/см3. Типичные представители: медь (8,94 г/см3), никель (8,92 г/см3), свинец (11,34 г/см3), цинк (7,14 г/см3), олово (7,3 г/см3) и др.

. Легкие цветные металлы - алюминий (2,7 г/см3), магний (1,74 г/см3), кальций (1,55 г/см3), барий (3,75 г/см3), натрий (0,97 г/см3), и др.

. Благородные металлы - золото, серебро, платина,металлы платиновой группы.

. Редкие металлы. Типичные представители этой группы металлов: титан, индий, рений, галлий, вольфрам, литий, молибден и др.

. Полупроводниковые металлы: селен, мышьяк, германий и др.

Следует отметить, что приведенное деление условное. Так, например, титан и литий могут быть отнесены к легким металлам, а практически все полупроводниковые металлы - к редким.

Производство меди.

Медь - один из важнейших металлов, относится к I - й группе Периодической системы; порядковый номер 29; атомная масса - 63,546; плотность - 8,92 г/см3. температура плавления - 1083°С; температура кипения - 2595°С. По электропроводности она несколько уступает лишь серебру и является главным проводниковым материалом в электро- и радиотехнике, потребляющих 40 - 50 % всей меди. Почти во всех областях машиностроения используются медные сплавы - латуни и бронзы. Медь как легирующий элемент входит в состав многих алюминиевых и других сплавов.

Мировое производство меди в капиталистических странах около 6-7 млн. т, в том числе вторичной меди около 2 млн. т. В СССР выплавка меди за каждое пятилетие увеличивался на 30 - 40 %.

Медные руды. Медь встречается в природе главным образом в виде сернистых соединений CuS (ковеллин), Cu2S (халькозин) в составе сульфидных руд (85 - 95 % запасов), реже в виде окисных соединений Сu2О (куприт), углекислых соединений СuСО3 · Сu(ОН)2 - малахит 2СuСО3 · Сu(ОН)2 - азурит и самородной металлической меди (очень редко). Окисные и углекислые соединения трудно поддаются обогащению и перерабатываются гидрометаллургическим способом.

Все медные руды являются бедными и обычно содержат 1 - 2 %, иногда меньше 1 % меди. Пустая порода, как правило, состоит из песчаников, глины, известняка, сульфидов железа и т.п. Многие руды являются комплексными - полиметаллическими и содержат, кроме меди, никель, цинк, свинец и другие ценные элементы в виде окислов и соединений.

Примерно 90 % первичной меди получают пирометаллургическим способом; около 10 %-гидрометаллургическим способом.

Гидрометаллургический способ состоит в извлечении меди путем ее выщелачивания (например, слабыми растворами серной кислоты) и последующего выделения металлической меди из раствора. Этот способ, применяемый для переработки бедных окисленных руд, не получил широкого распространения в нашей промышленности.

Пирометаллургический способ состоит в получении меди путем ее выплавки из медных руд. Он включает обогащение руды, ее обжиг, плавку на полупродукт - штейн, выплавку из штейна черной меди, ее рафинирование, т. е. очистку от примесей.

Рис. 18. Упрощенная схема пирометаллургического производства меди

Медь извлекают из руд различными способами и в различных аппаратах. Для получения меди можно использовать пирометаллургические способы (плавка на штейн, восстановительная плавка), но некоторые руды успешно перерабатывают и гидрометаллургическими способами, например, выщелачиванием серной кислотой или нашатырным спиртом.

Рассмотрим способы извлечения меди, получивший наибольшее распространение - плавку на штейн и плавку в жидкой ванне. Разновидности этого метода применяются во многих странах, а в нашей стране этим способом получается почти вся первичная медь. Однако бывают случаи, когда руды, богатые серой (свыше 35 %), плавят и без обогащения для извлечения из них не только меди, но и серы (например, медно - серная плавка). Однако основная масса добываемой из недр земли сульфидной медной руды подвергается флотационному обогащению.

Обогащение руд флотацией.

Флотацию редко применяют к железным рудам. Обычно ее применяют при обогащении бедных руд цветных металлов и обязательно при обогащении комплексных руд, содержащих несколько цветных металлов, а также сульфидных или смешанных медных руд, содержащих около одного процента меди, непосредственно плавить которые очень дорого.

Сущность флотации состоит в избирательном прилипании некоторых минеральных частиц, взвешенных в водной среде, к поверхности пузырьков воздуха, с помощью которых эти минеральные частицы поднимаются на поверхность. Через пульпу (смесь жидкости и мелких твердых частиц) пропускают пузырьки воздуха. Вследствие различной смачиваемости частицы одних минералов, плохо смачиваемые водой (или другой жидкостью, в которой протекает обогащение), прикрепляются к пузырькам воздуха и, поднимаясь с ними на поверхность, образуют минерализированную пену и тем самым отделяются от других, хорошо смачиваемых минералов, остающихся в пульпе.

Для успешного осуществления этого метода обогащения необходимо:

а) тонко измельчить руду до размеров частиц, меньших 0,1мм, что дает возможность получить кусочки руды, состоящие из одного минерала, а не из сростков нескольких, и облегчает мелким пузырькам воздуха поднимать тяжелые минералы;

б) получить в пульпе много мелких пузырьков воздуха и создать условия для образования на поверхности пульпы устойчивой пены.

Различают следующие флотационные реагенты:

вспениватели, делающие пузырьки пены устойчивыми, не лопающимися, препятствующие их коолисценсии (сосновое масло и другие вещества, получаемые при перегонке древесины и каменного угля);

коллекторы (собиратели), уменьшающие смачиваемость определенной группы минералов водой и облегчающие их сцепление с пузырьками воздуха.

При флотации часто применяют также депрессоры (подавители), предотвращающие действие коллектора на некоторые минералы. Подавителями служат неорганические электролиты, например цианистый натрий NaCN, известь СаО, которую применяют при флотации медно-цинково-пиритных руд, так как на халькопирит CuFeS2 известь не действует, но подавляет флотируемость цинковой обманки ZnS и пирита FeS2.

А                                                         Б

Рис. 19. Схема флотации:

а - принципиальная схема механической флотационной машины (вариант); б - схема всплывания частиц; 1 - мешалка с лопастями; 2 - перегородка; 3 - схема минерализованной пены; 4 - отверстие для удаления хвосты (пустой породы); I - зона перемешивания и аэрации

В ванну флотационной машины подают пульпу - суспензию из воды, тонкоизмельченной руды (0,05 - 0,5мм) и специальных реагентов, образующих на поверхности металлсодержащих частиц пленки, не смачиваемые водой.

В результате энергичного перемешивания и аэрации вокруг этих частиц возникают пузырьки воздуха. Они всплывают, извлекая с собой металлсодержащие частицы, и образуют на поверхности ванны слой пены. Частицы пустой породы, смачиваемые водой, не всплывают и оседают на дно ванны.

Из пены фильтруют частицы руды, сушат их и получают рудный концентрат, содержащий 10 - 35 % меди. Обжиг. Рудные концентраты, достаточно богатые медью, плавят на штейн «сырыми» - без предварительного обжига, что снижает потери меди (в шлаке - при плавке, унос - с пылью при обжиге); основной недостаток: при плавке сырых концентратов не утилизируется сернистый газ SO2, загрязняющий атмосферу. При обжиге более бедных концентратов удаляется избыток серы в виде SO2, который используется для производства серной кислоты.

При плавке получают достаточно богатый медью штейн, производительность плавильных печей увеличивается в 1,5 - 2 раза.

Обжиг производят в вертикальных многоподовых цилиндрических печах (диаметр 6,5 - 7,5 м, высота 9 - 11 м), в которых измельченные материалы постепенно перемещаются механическими гребками с верхнего первого пода на второй - ниже расположенный, затем на третий и т. д.

Производительность печей невысокая - до 300 т шихты в сутки, безвозвратный унос меди с пылью около 0,5 %.

Новым, прогрессивным способом является обжиг в кипящем слое.

порошковый металлургия доменный плавка

Рис. 20. Схема обжига в кипящем слое

- транспортер, 2 - бункер, 3 - дозатор, 4 - камера печи, 5 - газораспределительная подина, 6 - воздушная коробка, 7 - пылеуловитель

Сущность этого способа состоит в том, что мелкоизмельченные частицы сульфидов окисляются при 600 - 700 °С кислородом воздуха, поступающего через отверстия в подине печи. Под давлением воздуха частицы обжигаемого материала находятся во взвешенном состоянии, совершая непрерывное движение и образуя «кипящий» слой. Обожженный материал «переливается» через порог печи. Отходящие сернистые газы очищают от пыли и направляют в сернокислотное производство. При таком обжиге резко повышается интенсивность окисления; производительность в несколько раз больше, чем в многоподовых печах.

Полученный после флотационного обогащения медный порошкообразный концентрат, содержащий 11 - 35% меди, 15 - 35% серы, 15 - 37% железа, а также немного кремнезема, окиси алюминия, окиси кальция, небольшие примеси цинка, никеля и некоторых других соединений, направляют на дальнейшую переработку.

Плавка на штейн.

Важнейшей операцией переработки медной руды является плавка на штейн. Штейном называют сплав сульфидов, образующийся при плавке медной руды, главным образом меди и железа (обычно 80 - 90%), остальное составляют сульфиды цинка, свинца, никеля, а также окислы железа, кремния, алюминия и кальция, концентрирующиеся главным образом в шлаке, но частично растворяющиеся и в штейне. Жидкие штейны хорошо растворяют в себе золото и серебро, и если эти ценные металлы есть в руде, они почти полностью концентрируются в штейне.

Целью плавки на штейн является отделение сернистых соединений меди и железа от содержащихся в руде примесей, присутствующих в ней в виде окисленных соединений. Получаемый штейн не должен содержать слишком мало меди, так как это делает непроизводительными последующие переделы, но и очень богатые медью штейны получать нельзя, так как при этом значительное количество меди теряется в шлаках.

В зависимости от химического состава руды и ее физического состояния штейн получают либо в шахтных печах, если сырьем служит кусковая медная руда, содержащая много серы, либо в отражательных или дуговых электрических печах, если исходным продуктом являются порошкообразные флотационные концентраты.

Отражательные печи отапливают мазутом, угольной пылью или газом, вдувая топливо форсунками (4 - 10 шт.) через окна, имеющиеся в торце печи. Максимальная температура в головной части печи 1550С и, постепенно снижаясь, к хвостовой части обычно бывает 1250 - 1300С. Шихту в эти печи загружают через отверстия в своде, расположенные вдоль печи у боковых стенок. При загрузке шихта ложится откосами вдоль стен, предохраняя кладку от прямого воздействия шлаков и газов. По мере нагревания шихты начинаются реакции частичного восстановления высших окислов железа и меди, окисления серы и шлакообразования.

Плавка медных концентратов в электрических печах из-за дефицита электроэнергии и возможности использования в этой операции низкосортных сернистых топлив пока не нашла широкого применения. Но для плавки кусковой медной руды еще широко применяют шахтные ватержакетные печи. Нередки случаи, когда даже богатые серой концентраты предварительно агломерируют, чтобы подвергнуть их плавке в шахтных печах. Печь эта имеет в плане прямоугольное сечение шириной около 1м и несколько метров в длину.

Основные рабочие стенки печи выполняют из полых стальных коробок, охлаждаемых изнутри водой, называемых кессонами, так как известные технические огнеупоры оказываются в этих условиях недостаточно стойкими. Во время плавки на холодные стенки настывает оплавленная шихта, предохраняющая кессон от разрушения. Шихту загружают с площадки, расположенной на уровне верхнего края кессона, подача воздуха для горения проводится через фурмы, расположенные вдоль продольных стенок в нижней части кессонов.

Выпуск штейна и шлака из печи производится совместно и непрерывно через спускной желоб, имеющий гидравлический затвор. Жидкая вязкая смесь стекает в большой овальный отстойник, называемый передним горном, футерованный хромомагнезитовым кирпичом. В нем происходит медленное расслоение штейна и шлака. Избыточный шлак сливается по желобу в противоположном конце переднего горна, а штейн по мере необходимости выпускают через летки, расположенные у лещади горна. Над печью делают футерованный огнеупорными материалами, так называемый шатер для сбора и отвода отходящих газов и направления их на пылеулавливание и газоочистку.

Переработка медного штейна

Наиболее распространены теперь цилиндрические бочкообразные конверторы. Наружный диаметр конвертора обычно 2,3 - 4 м, длина 4,3 - 10 м. Наиболее крупные конверторы выдают за один цикл процесса до 100 т меди. Воздух в конвертор подается через ряд фурм, расположенных по образующей цилиндра. Цилиндр опирается двумя прочными бандажами на четыре пары роликов. Поворот конвертора на роликах на необходимый угол для заливки штейна в горловину и выливки продуктов плавки проводится зубчатой передачей и зубчатым ободом, закрепленными на стальном кожухе. Внутри конвертор футеруется магнезитовым и хромомагнезитовым кирпичом.

Переработка штейна в конверторе протекает в два периода. В конвертор загружают кусковой кварц, заливают расплавленный штейн и продувают его воздухом. Образующийся шлак периодически сливают и в конвертор добавляют свежие порции медного штейна и кускового кварца. Температура заливаемого штейна обычно около 1200С, но за время продувки, за счет большего выделения тепла при окислении сульфидов температура повышается до 1350С. Продолжительность первого периода зависит от количества меди в штейне и составляет 6 - 20 ч. Введение в воздушное дутье добавки кислорода повышает температуру в конверторе и позволяет загружать в него холодный концентрат, заменив им некоторую часть расплавленного штейна.

Первый период заканчивается, когда в продуваемом штейне окислено сернистое железо. После этого тщательно удаляют шлак и продолжают продувку без добавки штейна и кварца. Второй период начинается, когда в конверторе остается только Cu2S, называемый белым штейном, а на некоторых заводах «белым маттом».

Второй период заканчивается, когда в конверторе весь белый штейн превращается в медь, на что обычно уходит 2 - 3 ч. В конверторе и во втором периоде образуется небольшое количество богатого медью шлака, который остается в нем после выливки черновой меди и перерабатывается в следующем цикле. Конверторные шлаки первого периода направляют для переработки в отражательные печи.

Черновую медь по окончании процесса наклоном конвертора выливают в ковш и разливают в изложницы. Полученную в конверторе медь называют черновой, т. е. еще не готовой медью, так как в ней содержится 1 - 2% железа, цинка, никеля, мышьяка, сурьмы, кислорода, серы и других примесей и растворены благородные металлы, ранее находившиеся в штейне.

Заслуживает внимания также использование принципов плавки в жидкой ванне.

Процесс плавки в жидкой ванне (ПЖВ)

Оригинальный процесс автогенной плавки сульфидных медных и медно-цинковых концентратов, названный «плавкой в жидкой ванне», начал разрабатываться в Советском Союзе в 1951 г Дальнейшие разработка и внедрение до 1986 г. велись под общим научным руководством профессора А. В. Ванюкова. В настоящее время по методу плавки в жидкой ванне работают промышленные установки на медном заводе Норильского ГМК и Балхашском горно - металлургическом комбинате.

Рис. 21. Схема печи для плавки в жидкой ванне:

- шихта; 2 - дутье; 3 - штейн; 4 - шлак; 5 - газы; 6 - кладка печи; 7 - медные литые кессоны; 8 - фурмы; 9 - загрузочная воронка; 10 - аптейк; 11 - штейновый сифон; 12 - шлаковый сифон

Содержание кислорода в дутье для обеспечения автогенного режима при плавке сухой шихты с влажностью менее 1 - 2% составляет 40 - 45%, влажной (6 - 8% влаги) 55 - 65%. В печи можно плавить как мелкие материалы, так и кусковую шихту. Крупную и влажную шихту загружают непосредственно на поверхность расплава. При необходимости сухие мелкие и пылевидные материалы могут вдуваться через фурмы. Таким образом, плавление шихты и окисление сульфидов в процессе ПЖВ осуществляются непосредственно в слое расплава.

Шлак и штейн выпускаются раздельно из нижней части ванны с помощью сифонов.

Горизонтальной плоскостью по осям фурм расплав в печи делится на две зоны: верхнюю надфурменную (барботируемую) и нижнюю подфурменную, где расплав находится в относительно спокойном состоянии.

В надфурменной зоне осуществляются плавление, растворение тугоплавких составляющих шихты, окисление сульфидов и укрупнение мелких сульфидных частиц. Крупные капли сульфидов быстро оседают в слое шлака, многократно промывая шлак за время его движения сверху вниз в подфурменной зоне. При непрерывном осуществлении процесса устанавливается динамическое равновесие между количеством поступающих с загрузкой мелких сульфидных частиц, скоростью их укрупнения и отделения от шлака. В результате одновременного протекания этих процессов устанавливается постоянное содержание сульфидов (капель) в шлаке, лежащее на уровне 5 - 10% от массы расплава. Таким образом, все процессы в надфурменной области протекают в шлако-штейновой эмульсии, в которой преобладает шлак.

Окисление сульфидов в шлако - штейновой эмульсии протекает менее интенсивно, чем в сульфидном расплаве, фокус горения растягивается, что позволяет избежать локального повышения температуры в области фурм даже при использовании чистого кислорода. Это в свою очередь облегчает задачу создания надежной и долговечной аппаратуры. При этом скорость окисления остается достаточно высокой и степень использования кислорода на окисление сульфидов практически равна 100% при любом необходимом его количестве, подаваемом в расплав. Таким образом, и при окислении сульфидов в шлако - штейновой эмульсии скорость их окисления не лимитирует производительности агрегата. Возможность интенсивного окисления сульфидов в шлако - штейновой эмульсии без большого локального повышения температуры в области фурм является важным достоинством плавки в жидкой ванне.

Отсутствие условий для образования значительных количеств мелкой сульфидной взвеси является важным достоинством плавки в жидкой ванне, создающим предпосылки для получения бедных отвальных шлаков.

Растворение тугоплавких составляющих шихты является одним из относительно медленных процессов. Энергичный барботаж ванны резко ускоряет процесс растворения кварца и компонентов пустой породы, что позволяет использовать даже сравнительно крупные флюсы. Промышленные испытания показали, что при крупности кварца около 50мм скорость его растворения не влияет на производительность печи, по крайней мере, вплоть до удельного проплава, равного 80 т/(м2 сут). Высокая скорость растворения тугоплавких составляющих является важной особенностью плавки в жидкой ванне.

Минимальное содержание магнетита в шлаках - обязательное условие совершенного плавильного процесса. Как уже говорилось, с увеличением содержания магнетита резко возрастает содержание растворенной меди в шлаках. Кроме того, повышение содержания магнетита (степени окисленности системы) приводит к снижению межфазного натяжения на границе раздела штейна и шлака.

Рафинирование меди - ее очистку от примесей - проводят огневым и электролитическим способом. Черновая медь всегда подвергается рафинированию для удаления из нее примесей, ухудшающих ее свойства, а также извлечения из нее таких ценных металлов, как золото, серебро и др. В практике рафинирование проводят последовательно, двумя принципиально различными методами: пилометаллургическим и электролитическим.

Огневое пирометаллургическое рафинирование меди проводят в отражательных печах. Весь цикл огневого рафинирования состоит из следующих операций: загрузки и расплавления, окисления примесей, удаления растворенных газов, раскисления меди и разливки. Он занимает обычно 12 - 16 ч. Удаление растворенных газов из меди принято называть «дразнением на плотность». В металлические ванны погружают сырые деревянные жерди, древесина которых выделяет газообразные углеводороды, бурно перемешивающие медь и удаляющие неметалл а также сернистый и другие газы. После удаления газов, для получения пластичной меди начинают раскисление или как принято говорить на заводах, «дразнением на ковкость».

Электролитическое рафинирование меди проводят в ваннах, наполненных раствором сернокислой меди, подкисленным серной кислотой.

Для получения бескислородной меди (МОб) и марок меди с пониженным содержанием кислорода (М1р, М2р и др.) переплавку катодов ведут в канальных индукционных электропечах со стальным сердечником, а разливку - непрерывно в защитной среде. Для меди марок с буквой ρ применяют раскисление фосфористой медью.

Медь по чистоте подразделяется на марки: М0 (99,95% Cu), М1 (99,9%), М2 (99,7%), М3 (99,5%), М4 (99%).

Производство алюминия.

В группу легких металлов, имеющих плотность меньше 5 г/см, входят Al, Mg, Ti, Be, Ca, В, Zn, К и др. Наибольшее промышленное применение из них имеют алюминий, магний, титан.

Алюминий является самым распространенным металлом в земной коре. Он преимущественно встречается в виде соединений с кислородом и кремнием алюмосиликатов. Для получения алюминия используют руды, богатые глиноземом AI2O3. Чаще всего применяют бокситы, в которых содержится, %: Аl2О3 40-60, Fе2О3 15-30, SiO2 5-15, ТiO2 2-4 и гидратной влаги 10-15.

Технологический процесс производства алюминия состоит из трех этапов: извлечение глинозема из алюминиевых руд, электролиз расплавленного глинозема с получением первичного алюминия и его рафинирование. Извлечение глинозема обычно производят щелочным способом, применяемым в двух вариантах: мокром (метод Байера) и сухом.

При мокром методе бокситы сушат, измельчают и загружают в герметические автоклавы с концентрированной щелочью, где выдерживают в течение 2-3 ч при температуре 150 - 250 °С и давлении до 3 МПа. При этом протекают реакции взаимодействия гидрооксида алюминия с едким натром:

AI2O3 + ЗН2О + 2NaOH=Na2O AI2O3 + 4Н2О

Раствор алюмината натрия Nа2О· А12О в виде горячей пульпы идет на дальнейшую переработку. Оксиды железа, титана и другие примеси, не растворяющиеся в щелочах, выпадают в осадок-шлам.

Кремнезем также взаимодействует со щелочью и образует силикат натрия: SiO2 + 2NaOH = Na2O SiO2 + 4Н2О, который, в свою очередь, взаимодействуя с алюминатом натрия, выпадает в осадок, образуя нерастворимое соединение Na2O· AI2O3 ·2SiO2·2Н2О.

Пульпа после фильтрации и разбавления водой сливается в отстойник, где из алюминатного раствора выпадает в осадок гидроксид алюминия:

Na2O· AI2O3 + 4Н2О = 2NaOH + 2A1 (ОН)3.

Гидроксид алюминия фильтруют и прокаливают при температуре до 1200°С в трубчатых вращающихся печах. В результате получается глинозем:

А1(ОН)3= AI2O3 + ЗН2О.

Сухой щелочной способ или способ спекания состоит в совместном прокаливании при температурах 1200 - 1300 °С смеси боксита, соды и извести, приводящем к образованию спека, в котором содержится водорастворимый алюминат натрия:

AI2O3 + Nа2СО3=Na2O · AI2O3 + СО2.

Известь расходуется на образование нерастворимого в воде силиката кальция СаО • SiO2. Алюминат натрия выщелачивают из спека горячей водой и полученный раствор продувают углекислотой:

Na2O AI2O3 + ЗН2О + СО2=2А1(ОН)3 +Nа2СО3.

Осадок промывают и прокаливают, получая глинозем, как и в предыдущем способе.

Алюминий получают электролизом глинозема, растворенного в расплавленном криолите Na3AlF6. Этот метод был предложен в 1886 г. одновременно Ч.Холлом в США и П.Эру во Франции и применяется до сих пор почти без изменений. Криолит получают в результате взаимодействия плавиковой кислоты HF с гидроксидом алюминия с последующей нейтрализацей содой.

Электролиз осуществляют в алюминиевой ванне-электролизере.

Рис. 22. Схема электролизера для производства алюминия:

- катодные угольные блоки; 2 - огнеупорная футеровка; 3 - стальной кожух; 4 - угольные плиты; 5 - жидкий алюминий; 6 - металлические стержни с шинами; 7 - угольный анод; 8 - глинозем; 9 - жидкий электролит; 10 - корка затвердевшего электролита; 11 - катодная токо-подводящая шина; 12 - фундамент

Ванна имеет стальной кожух прямоугольной формы, а ее стену и подину изготавливают из угольных блоков, теплоизолированных шамотным кирпичом. В футеровку подины вмонтированы стальные катодные шины, благодаря чему угольный корпус ванны является катодом электролизера. Анодами служат самообжигающиеся, вертикально расположенные угольные электроды, погруженные в расплав. При электролизе аноды постепенно сгорают и перемещаются вниз. По мере сгорания они наращиваются сверху жидкой анодной массой, из которой при нагреве удаляются летучие и происходит ее коксование. Электролит нагревается до рабочей температуры 930-950 °С. Глинозем, расходуемый в процессе электролиза, периодически загружают в ванну сверху. Благодаря охлаждению воздухом на поверхности образуется корка электролита. На боковой поверхности ванны образуется затвердевающий слой электролита (гарнисаж), предохраняющий футеровку от разрушения и теплоизолирующий ванну.При высокой температуре глинозем AI2O3, растворенный в электролите, диссоциирует на ионы: А12О3=2А13++ O2- На поверхности угольной подины, являющейся катодом, ионы восстанавливаются до металла: 2Al3++6e=2Аl

По мере уменьшения содержания глинозема в электролите его периодически загружают в ванну электролизера. Жидкий алюминий скапливается на подине электролизера и периодически удаляется с помощью вакуумных ковшей.

Кислородные ионы разряжаются на угольном аноде: 3O2-6e=3/2O2, окисляют анод, образуя СО и СО2, которые удаляются вентиляционными устройствами. Электролизные ванны соединяют последовательно в серии из 100-200 ванн.

Первичный алюминий, полученный в электролизной ванне, загрязнен примесями Si, Fe, неметаллическими включениями (AI2O3,С), а также газами, преимущественно водородом. Для очистки алюминия его подвергают рафинированию либо хлорированием, либо электролитическим способом.

Более чистый алюминий получают электролитическим рафинированием, где электролитом являются безводные хлористые и фтористые соли. В расплавленном электролите алюминий подвергают анодному растворению и электролизу. Электролитическим рафинированием получают алюминий чистотой до 99,996 %,потребляемый электрической, химической и пищевой промышленностью. Еще более чистый алюминий(99,9999 %)можно получить зонной плавкой. Этот способ дороже электролиза, мало производителен и применяется для изготовления небольших количеств металла в тех случаях, когда необходима особая чистота, например для производства полупроводников.

Производство магния.

Сырьем для производства магния служит магнезит, в основном состоящий из MgCO3, доломит MgCO3·CaCO3, карналлит-MgCl2 ·KC1 ·6Н2О.

Существуют два способа получения металлического магния: термический и электролитический. В основе первого способа лежит восстановление оксида магния углеродом или кремнием, а второго-электролиз расплавленного хлористого магния MgCl2. Более распространен электролитический способ производства металлического магния. Он состоит из двух основных процессов: получения хлористого магния из исходного сырья и его электролиза.

Хлористый магний получают обжигом магнезита или доломита и хлорированием образовавшегося оксида магния при 800 - 900°С в присутствии восстановителя (углерода):

MgCO3=MgO+CO2

MgCO3 СаСО3=MgO + CaO + 2СО2;

MgO + CI2 + С=MgCl2+CO.

Электролиз расплавленного хлорида MgCl производится в электролизерах, представляющих собой герметизированные ванны прямоугольной формы с шамотной футеровкой.


Аноды изготовляют из графита, катодами служат две стальные пластины. В качестве электролита используют расплав хлористых солей MgCl2, NaCl, KC1, CaCl2, содержащий 7-15 % MgCl2. Анодное пространство отделено от катодного огнеупорной перегородкой. После восстановления магний и хлор не должны взаимодействовать; это привело бы к сгоранию магния в хлоре

Mg + Cl2=MgCl2.

Как и при электролизе глинозема, электрический ток, проходя через электролит, нагревает его и осуществляет электрохимический процесс.

Ионы магния разряжаются на катоде: Mg 2+ + 2е = Mg. Плотность магния меньше плотности электролита, поэтому магний всплывает и скапливается на поверхности ванны. Для предупреждения окисления магния ванну закрывают керамической крышкой. Расплавленный магний периодически удаляют с помощью вакуумных ковшей и сифонов. Образующийся на аноде хлор отсасывается через хлоропровод.

После электролиза магний содержит примеси. Его подвергают рафинированию, которое осуществляют переплавкой в тигельных печах с флюсами или возгонкой. Рафинированный металл, содержащий не менее 99,9 % Mg, разливают в чушки на разливочной машине. При разливке струя магния предохраняется от окисления путем опыления металла порошком серы.

. Титан и методы порошковой металлургии

Производство титана.

Титан как элемент открыт в 1791 г. Его промышленное производство началось в 50-х годах XX века и получило быстрое развитие. Титановые сплавы имеют наиболее высокую удельную прочность среди всех металлических материалов, а также высокую жаропрочность и коррозионную стойкость и находят все более широкое применение в авиационной технике, химическом машиностроении и других областях техники. Титан используют для легирования сталей. Двуокись титана TiO2 используют для производства титановых белил и эмалей; карбид титана TiC - для особо твердых инструментальных сплавов.

Титан по распространению в природе занимает четвертое место среди металлов и входит в состав более чем 70 минералов. К основным промышленным титаносодержащим минералам относятся рутил (более 90% ТiO2) и ильменит TiO2-FeO (60%TiO2). Ильменит входит в состав титаномагнетитов - его смеси с магнитным железняком; они содержат до 20% ТiO2. К перспективным рудам относятся сфен CaO-SiO2-TiO2 (32-42% TiO 2) и перовскит СаО- TiO (60% ТiO 2).

Сырьем для получения титана являются титаномагнетитовые руды, из которых выделяют ильменитовый концентрат, содержащий 40 - 45 % ТiO2, -30 % FеО, 20 % Fе2О3 и 5 - 7 % пустой породы. Название этот концентрат получил по наличию в нем минерала ильменита FеО-ТiO2. Ильменитовый концентрат плавят в смеси с древесным углем, антрацитом, где оксиды железа и титана восстанавливаются. Образующееся железо науглероживается, и получается чугун, а низшие оксиды титана переходят в шлак. Чугун и шлак - разливают отдельно в изложницы. Основной продукт этого процесса - титановый шлак - содержит 80 - 90 % ТiO 2, 2 - 5 % FеО и примеси SiO2, А12О3, СаО и др. Побочный продукт этого процесса - чугун - используют в металлургическом производстве.

Полученный титановый шлак подвергают хлорированию в специальных печах. В нижней части печи располагают угольную насадку, нагревающуюся при пропускании через нее электрического тока. В печь подают брикеты титанового шлака, а через фурмы внутрь печи - хлор. При температуре 800 - 1250°С в присутствии углерода образуется четыреххлористый титан, а также хлориды СаС12> МgС12 и др.:

ТiO2 + 2С + 2С12 = ТiСl + 2СО

Четыреххлористый титан отделяется и очищается от остальных хлоридов благодаря различию температуры кипения этих хлоридов методом ректификации в специальиых установках.

Титан из четыреххлористого титана восстанавливают в реакторах при температуре 950 - 1000 °С. В реактор загружают чушковый магний; после откачки воздуха и заполнения полости реактора аргоном внутрь его подают парообразный четыреххлористый титан. Между жидким магнием и четыреххлористым титаном происходит реакция

ТiС12 = Тi + 2МgС12.

Производство титана является технически сложным процессом. Двуокись титана TiO2 - химически прочное соединение. Металлический титан (tПЛ = 1725 °С), обладает большой активностью. Он бурно реагирует с азотом при температуре 500-600 °С и кислородом воздуха при 1200-1300 °С, поглощает водород, взаимодействует с углеродом и т. д.

Наиболее широкое распространение получил магниетермический способ, осуществляемый по следующей технологической схеме

титановая руда ® обогащение ® плавка на титановый шлак ® получение четыреххлористого титана TiCl4 ® восстановление титана магнием

Обогащение титановых руд. Титаномагнетиты и другие бедные руды обогащают электромагнитным и другими способами, получая концентрат, содержащий до 50 % TiO2 и около 35 % Fe2O3 и FeO.

Плавку на титановый шлак проводят в электродуговой печи. Шихтой служат прессованные брикеты, состоящие из мелкоизмельченного концентрата, антрацита или угля и связующего (сульфитный щелок). В результате плавки получают богатый титановый шлак, содержащий до 80 % TiO2.

Побочным продуктом является чугун, содержащий до 0,5 % Ti.

Измельченный шлак подвергают магнитной сепарации (для удаления железосодержащих частиц), смешивают с мелким нефтяным коксом и связующим и спрессовывают в брикеты.

После обжига при 700-800°С брикеты направляют на хлорирование.

Получение четыреххлористого титана TiCl4 в герметизированных электрических печах представлено на схеме.

Рис. 24. Схема электропечи для получения четыреххлористого титана

- корпус печи, 2 - шамотная футеровка, 3 - угольная (графитная) набойка - электросопротивление, 4 - токоподводящие графитовые электроды, 5 - устройство для загрузки брикетированной шихты, 6 - брикетированная шихта, 7, 8 - патрубки для подачи хлора, 9 - отверстие для удаления парогазовой смеси

Нижнюю часть печи заполняют угольной (графитовой) насадкой, которая служит электрическим сопротивлением и нагревается при пропускании электрического тока. В реакционной зоне печи выше уровня угольной насадки развивается температура 800 - 850°С. При хлорировании образуется четыреххлористый титан по реакции TiO2+2C-T2Cl2=TiCl4+2CO. Пары четыреххлористого титана находятся в паро-газовой смеси, содержащей SiCl4 и другие хлориды; СО, С12 и другие газы.

Ее очищают от твердых частиц и охлаждают в конденсаторах, в результате чего получают жидкий четыреххлористый титан. Для более полной очистки от твердых частиц конденсат отстаивают и фильтруют.

Четыреххлористый титан отделяют от других хлоридов путем ректификации конденсата, основанной на различии температур кипения различных хлоридов. Жидкий четыреххлористый титан направляют на восстановление.

В настоящее время для получения четыреххлористого титана начинают применять другие способы хлорирования: в хлоратоpax непрерывного действия, в солевом расплаве; перспективным является хлорирование в кипящем слое.

Восстановление титана магнием из TiCl4 проводят в герметичных реакторах (ретортах) из нержавеющей стали, установленных в электрических печах сопротивления. После установки в печь из реторты откачивают воздух и заполняют ее очищенным аргоном; после нагрева до температуры 700°С заливают расплавленный магний и начинают подачу жидкого TiCl4. Титан восстанавливается магнием по реакции TiCl4+2Mg=Ti+2MgCl2. Эта реакция сопровождается выделением большого количества тепла и в реакторе поддерживается необходимая температура 800 - 900°С без дополнительного нагрева за счет регулирования скорости подачи TiCl4. Частицы восстановленного титана спекаются в пористую массу (титановая губка), пропитанную магнием и хлористым магнием. Расплав хлористого магния периодически удаляют через патрубок в дне реактора. В промышленных реакторах (емкостью до 2 т) получают титановую губку, содержащую до 60% Ti, 30 °/o Mg и 10 % MgCl2.

Рафинирование титановой губки производят методом вакуумной дистилляции. Крышку охладившейся реторты снимают и вместо нее устанавливают водоохлаждаемый конденсатор; затем реторту снова устанавливают в печь. Дистилляция проводится при 950 - 1000°С и вакууме около 10-3мм рт. ст. Примеси титановой губки Mg и MgCl2 расплавляются, частично испаряются и затем выделяются в конденсаторах. Получаемый оборотный магний возвращается в производство, MgCl2 используют для производства магния.

Получение титановых слитков. Титановые слитки получают переплавкой титановой губки в вакуумных электрических дуговых печах. Расходуемый электрод изготавливают прессованием из измельченной титановой губки. Электрическая дуга горит между расходуемым электродом и ванной расплавленного металла, постепенно заполняющего изложницу, затвердевающего и образующего слиток. Наличие вакуума предохраняет металл от окисления и способствует его очистке от поглощенных газов и примесей. Для получения слитков может быть использована дробленая титановая губка, загружаемая в печь дозатором. В этом случае дуга горит между расплавленным металлом и графитовым электродом, поднимаемым по мере заполнения изложницы металлом. Для обеспечения высокого качества слитков плавку повторяют два раза. При второй плавке расходуемым электродом служит слиток, полученный при первой плавке.

Титановые сплавы выплавляют в электрических дуговых вакуумных печах, аналогичных применяемым для переплавки титановой губки. В качестве шихтовых материалов используют титановую губку и легирующие элементы в соответствии с заданным химическим составом сплава. Из шихты прессованием при 280 - 330°С изготавливают переплавляемый (расходуемый) электрод. Плавку ведут в вакууме или в атмосфере аргона. Перед началом плавки на поддон в качестве затравки насыпают слой стружки из сплава такого же состава. Для более равномерного распределения легирующих элементов в сплаве полученный слиток переплавляют вторично.

Натриетермический способ получения титана отличается от магниетермического тем, что титан из TiCl4 восстанавливают металлическим натрием. Этот процесс проводят при относительно невысокой температуре, и титан в меньшей степени загрязняется примесями. Вместе с тем натриетермический способ технически более сложен.

Кальциееидридный способ основан на том, что при взаимодействии двуокиси титана TiO2 с гидридом кальция СаН2 образуется гидрид титана ТiH2, из которого затем выделяется металлический титан. Недостаток этого способа состоит в том, что получаемый титан сильно загрязнен примесями.

Иодидный способ применяют для получения небольших количеств титана очень высокой чистоты, до 99,99%.

Он основан на реакции Ti+2I2 « TiI4, которая при 100 - 200 °С идет слева направо (образование Til4), при 1300 - 1400 °С в обратном направлении (разложение ТiI4).

Рафинируемую титановую губку помещают в реторту и нагревают до 100 - 200°С; внутрь реторты вводят и разбивают ампулу с йодом, взаимодействующим с титаном по реакции Ti+2I2 ® TiI4. Разложение TiI4 ® Ti+2I2 и выделение титана происходит на титановых проволоках, натянутых в реторте, нагретых до 1300 - 1400°С пропусканием тока.

Порошковая металлургия - малотоннажное производство с большой перспективой. Среди многообразных способов обработки металлов порошковая металлургия занимает свое особое место, так как позволяет получать не только изделия различных форм и назначений, но и создавать принципиально новые материалы, которые другим путем получить достаточно сложно.

Устойчивый спрос на изделия из медных порошков наблюдается в машиностроении, автопроме, электротехнической промышленности, производстве нефтегазового оборудования, запорной арматуры и бытовой техники. У материалов, изготовленных методом порошковой металлургии, можно получить широчайший диапазон свойств, порой уникальных. К примеру, можно регулировать физические, механические, электрические, магнитные и др. свойства производимой продукции. И как показывает практика, эта продукция обладает высокими эксплуатационными характеристиками и более низкой себестоимостью в сравнении с аналогами, полученными методами литья, механической обработки, вырубки и, соответственно успешно конкурируют с ними. Есть целый ряд материалов и изделий, которые вне технологии порошковой металлургии не получить никаким другим способом, например, пористые бронзо-графиты и дисперсно-упрочненные композиционные материалы.

Неоспоримое, и, пожалуй, наиболее важное преимущество порошковой металлургии - это экономия металла. Например, при литье, мехобработке, вырубке из проката и прутковых заготовок коэффициент использования металла составляет от 30-60%, а у изделий из порошков он превышает 90%. Арифметика тут простая, чем больше объем производимой продукции, тем выше экономия.

Поэтому сегодня порошковая металлургия прочно занимает свою индивидуальную рыночную нишу и в России, и за рубежом. По прогнозам, емкость российского рынка порошковых изделий на медной основе составляет около 10 тыс. тонн в год, пока же у нас в стране производится и потребляется примерно 3 тыс. тонн. Но с учетом того, что Россия, вследствие высокой изношенности основных фондов, предстоит "всеобщая техническая модернизация" емкость рынка может оказаться и больше. В этих условиях открывается широкий простор для развития этого производства и наиболее приоритетным все же является внутренний рынок.

Технологические процессы порошковой металлургии нашли применение при производстве различных металлоизделий, которые известными традиционными способами изготовить было невозможно. Это твердые сплавы, пористые металлические подшипники и фильтры, фрикционные и антифрикционные материалы. Технологические процессы порошковой металлургии позволяют максимально эффективно использовать материалы, получать композиционные материалы с уникальными свойствами.

Сущность технологического процесса изготовления деталей и заготовок порошковой металлургией заключается в том, что металлы, сплавы или химические соединения металлов превращают в порошки или гранулы различной фракции. Затем их смешивают в определенной пропорции, прессуют в пресс-формах, извлекают спрессованную заготовку и в специальных печах в условиях инертной среды или вакуума спекают в течении определенного времени и получают достаточно прочное соединение порошков или гранул в виде соответствующей формы полуфабриката или уже готового изделия. Часто для придания прессованным и спеченным порошковым заготовкам определенных свойств проводят дополнительную термообработку или пластическую деформацию, а затем обрабатывают резанием.

В машиностроительной и инструментальной промышленности порошковой металлургией изготавливают твердосплавные инструменты, подшипники, зубчатые колеса, направляющие втулки, тормозные колодки и т.д. Важным преимуществом порошковой технологии является возможность изготавливать металлоизделия практически без отходов.

Технологические процессы порошковой металлургии включают следующие операции.

. Приготовление шихты и дозировка. Сначала порошки очищают химическим, гидромеханическим или магнитными способами, затем измельчают в шаровых мельницах. Шихту разделяют на фракции путём просеивания через набор сит, а при величине зерна менее 50 мкм применяют воздушную сортировку. Подготовленные порошки смешивают и дозируют по массе или объёму.

. Формование в стальных пресс - формах применяют для мелких деталей. Для изготовления крупных изделий из тугоплавких металлов (труб, стержней) применяют гидростатическое прессование. Для получения листов, полос и лент применяют прокатку. На обычных же прессах возможно прессование только простых по форме деталей. Специальные прессы применяются для изготовления сложных изделий; они имеют до 4-6 независимых рабочих перемещений.

. Механическая доработка применяется для небольшого круга материалов, имеющих сравнительно высокую прочность после формования. Механическая доработка позволяет получить на изделии сложные фасонные элементы, невозможные для прессования (резьба).

. Спекание обеспечивает сцепление частиц порошка вследствие диффузии атомов. При правильном выполнении этого процесса частицы порошка «спаиваются» (слипаются) настолько прочно, что как бы перестают существовать самостоятельно. Спекание производят при температуре примерно равной температуре плавления основного компонента сплава в водородных или вакуумных печах для защиты от окисления.

. Горячее прессование заключается в одновременном прессовании и спекании, что сокращает время операции в 20-30 раз. Оно выполняется при меньшей температуре. Но недостатком этого процесса является низкая стойкость дорогих пресс - форм. Например, графитовые пресс - формы выдерживают 3-5 прессовок при температуре 1500°С.

. Калибрование. При обычном процессе порошковой металлургии можно получить детали сравнительно невысокой точности 10-12 кв и шероховатостью RZ=20-10 мкм. Для повышения точности таких деталей выполняют калибрование в специальных пресс - формах при удельном давлении до 100 кПа и при условии достаточной пластичности материала. При этом точность размеров повышается до 8-9 кв и RA 2,5-6,3 мкм.

Каждая из указанных операций вносит свой важный вклад в формирование всех свойств конечных порошковых изделий. Возможные отклонения от приведенной типовой технологической схемы могут выражаться в совмещении операций формования и спекания при горячем прессовании, в спекании свободно насыпанного порошка (при отсутствии формования заготовки из порошка), в отсутствие какой-либо обработки после спекания и др.

Порошки, используемые в порошковой металлургии, состоят из частиц размером 0,01-500 мкм. Получают порошки металлов (или их соединений) механическим и физико-химическим методами. К основным механическим методам получения порошков относятся:

. Дробление и размол твердых материалов. Измельчение стружки, обрезков и компактных материалов проводят в шаровых, вихревых, молотковых и других мельницах, к.п.д. которых сравнительно невелик. Получают порошки Fe, Cu, Mn, латуни, бронзы, хрома, алюминия, сталей.

. Диспергирование расплава. Струю расплавленного металла диспергируют механическим способом (воздействием центробежных сил и др.) или действуя на нее потоком энергоносителя (газа или жидкости).

Получают порошки алюминия, свинца, цинка, бронзы, латуни, железа, чугуна, стали.

. Грануляция расплава. Порошок образуется при сливании расплавленного металла в жидкость (например, в воду). Получают крупные порошки железа, меди, свинца, олова, цинка.

. Обработка твердых (компактных) металлов резанием.

При станочной обработке литых металлов или сплавов подбирают такой режим резания, который обеспечивает образование частиц, а не стружки. Получают порошки стали, латуни, бронзы, магния.

Твердые тела измельчают в мельницах с мелющими телами (барабанные вращающиеся, вибрационные, планетарные мельницы), ударного действия (вихревые, струйные, центробежные) и с вращающимися частями (аттриторы, дисковые, кавитационные, молотковые, роторные) (рис. 25, 26, 27, 28). При измельчении в мельницах хрупких материалов частицы порошка имеют осколочную форму, при измельчении пластичных материалов - чешуйчатую. Измельченные порошки характеризуются наклепом (изменением структуры и свойств, вызванным пластической деформацией) и, как правило, подвергаются отжигу.

Рис. 25. Схема барабанно-шаровой мельницы:

- барабан; 2 - броневые плиты; 3 - изоляция (от шума и тепловая); 4 - торцовый фланец мельницы; 5 - входной патрубок; 6 - выходной патрубок; 7 - ведомая шестерня; 8 - шары.

Рис. 26. Схема вибромельницы:

- помольная камера; 2 - мелющие тела (металлические шары, цильпебсы); 3 - нижний вибровозбудитель; 4 - верхний вибровозбудитель; 5 соединительная муфта; 6 - упругие опоры (пружины, виброизоляторы); 7 - лепестковая муфта; 8 - подшипниковый блок; 9 - электродвигатель; 10 - опорная рама; 11 - натяжное устройство; 12 - защитный кожух.

Рис. 27. Схема вибрации

Рис. 28. Схема вертикальной центробежной мельницы со встроенным классификатором: 1 - питание мельницы фракции менее 70мм; 2 - ускоритель; 3 -отбойная плита; 4 - воздушный классификатор; 5 - выгрузка недоизмельчённого материала; 6 - недоизмельчённый материал; 7 - электропривод; 8 - выгрузка готового продукта

Другим распространенным методом получения порошков является диспергирование расплавов.

Диспергирование расплавленного металла или сплава струей сжатого газа, жидкости или механическим способом позволяет получать порошки, называемые распыленными. Процесс характеризуется высокими производительностью, технологичностью, степенью автоматизации и сравнительно малыми энергозатратами, экологически чистый. Промышленное производство порошков в нашей стране составляет в соотношении 4-5 : 1 в пользу распыленных порошков.

В настоящее время метод распыления широко используют для получения не только порошков железа, сталей и других сплавов на основе железа, но и порошков алюминия, меди, свинца, цинка, тугоплавких металлов (титана, вольфрама и др.), а также сплавов на основе этих цветных металлов. Распыление весьма эффективно при получении порошков многокомпонентных сплавов и обеспечивает объемную равномерность химического состава, оптимальное строение и тонкую структуру каждой образующейся частицы. Это связано с перегревом расплава перед диспергированием, что приводит к высокой степени его однородности на атомарном уровне из-за полного разрушения наследственной структуры твердого состояния и интенсивного перемешивания, и кристаллизацией дисперсных частиц с высокими скоростями охлаждения - от 103 - 104 до нескольких десятков и даже сотен миллионов градусов в секунду.

Методы распыления металлического расплава различаются по виду затрачиваемой энергии (нагрев индукционный или косвенный, электродуговой, электронный, лазерный, плазменный и др.), виду силового воздействия на расплав при диспергировании (механическое воздействие, энергия газовых и водяных потоков, силы гравитационные, центробежные, воздействия ультразвука и т.д.) и по типу среды для его создания и диспергирования (восстановительная, окислительная, инертная или какая-либо иная среда заданного состава, вакуум).

Сущность получения металлических порошков из расплава заключается в нарушении сплошности его потока (струи или пленки) под действием различных источников возмущений с возникновением дисперсных частиц.

Рис. 29. Схема центробежного распыления расплава

Центробежное распыление представляет собой один из основных видов диспергирования расплава. По методу вращающегося электрода распыление происходит в момент формирования расплава (рис. 29 - электрическая дуга, или электронный луч, плазма или другие источники энергии).

Образовавшаяся на торце расходуемого электрода, вращающегося со скоростью 2000-20000 об/мин, пленка расплава толщиной 10-30 мкм под действием центробежных сил перемещается к его периферии и срывается с его кромки в виде частиц-капель преимущественно размером 100-200 мкм (увеличение диаметра расходуемого электрода и скорости его вращения приводит к уменьшению размера частиц-капель).

Кристаллизация капель со скоростью охлаждения порядка 104°С/сек происходит в атмосфере инертного газа.

Рис. 30. Схема диспергирования при автономной подаче жидкого металла.

При других схемах диспергирования (рис. 30) плавление металла проводят автономно, вне зоны распыления.

Когда струю расплава подают на вращающийся со скоростью до 24000 об/мин диск, на его вогнутой поверхности образуется пленка жидкого металла, от которой затем отрываются капли-частицы преимущественно размером <100 мкм и кристаллизуются в атмосфере инертного газа со скоростью 105 - 106°С/сек.

В последнее время активно развиваются методы распыления расплавов, обеспечивающие очень высокие скорости охлаждения частиц.

Один из вариантов, обеспечивающий затвердевание жидкой капли со скоростью 107 - 108°С/с, позволяет получать так называемые РИБЗ - (распыленные и быстрозакаленные порошки), когда на пути летящей капли устанавливают охлаждаемый экран под углом 15-45° к направлению ее движения; при ударе об экран капля перемещается по его поверхности и последовательно кристаллизуется в виде частицы пластинчатой формы.

  

А                                                      Б

Рис. 31. Схема получения распыленных и быстрозакаленных порошков

На установке для сверхбыстрого охлаждения в вакууме или инертном газе (рис. 31, а) капли расплава (1) выдуваются аргоном из отверстия в графитовом тигле (2), находящемся в трубчатой индукционной печи (3), и попадают на медный крылообразный кристаллизатор (4), вращающийся со скоростью до 104 об/мин (встречная скорость движения капли и кристаллизатора до 500 м/с).

Высокоскоростное затвердевание расплава обеспечивает извлечение малых объемов металла кромкой быстровращающегося (2000-5000 об/мин) в вертикальной плоскости диска из высокотеплопроводного материала (рис. 31, б). При контакте с расплавом на кромке диска затвердевает некоторый слой металла, затем он выходит из расплава и охлаждается, после чего частица отделяется от кромки диска (скорость охлаждения 106-108°С/с).

В любом случае методы распыления при кристаллизации капли расплава со скоростью более 106°С/с приводят к получению порошков, частицы которых имеют аморфную структуру, придающую им чрезвычайно специфические свойства, позволяющие создавать уникальные материалы для различных отраслей техники.

Физико-химические способы получения порошков

. Химическое восстановление:

а - восстановление происходит из оксидов и других твердых соединений металлов.

Этот способ является одним из наиболее распространенных и экономичных способов.

Восстановителями служат газы (водород, конвертированный природный газ и др.), твердый углерод (кокс, сажа и др.) и металлы (натрий, кальций и др.). Исходным сырьем являются окисленные руды, рудные концентраты, отходы и побочные продукты металлургического производства (например, прокатная окалина), а также различные химические соединения металлов.

Таким путем получают порошки Fe, Cu, Ni, Co, W, Mo, Ti, Ta, Zr, U и других металлов и их сплавов, а также соединений с неметаллами (карбиды, бориды и др.)

б - химическое восстановление различных соединений металлов из водных растворов.

Этот способ также является одним из самых экономичных способов, позволяющий получать высококачественные металлические порошки. Восстановитель - водород или оксид углерода. Исходное сырье - сернокислые или аммиачные растворы солей соответствующих металлов.

в - химическое восстановление газообразных соединений металлов.

Порошки металлов высокой чистоты можно получить из низкокипящих хлоридов и фторидов вольфрама, молибдена, рения, ниобия или тантала по реакции

МеГх+ 0,5хН2 = Ме + хНГ

где Г - хлор или фтор.

Для получения высокодисперсных порошков металлов или их соединений (карбидов, нитридов и др.) перспективны плазмохимические методы. Восстановителем служит водород или углеводороды и конвертированный природный газ. Низкотемпературную (4000-10000°С) плазму создают в плазмотроне электрической дугой высокой интенсивности, через которую пропускают какой-либо газ или смесь газов. В плазменной восстановительной струе происходит превращение исходных материалов в конденсированную дисперсную фазу. Метод используется для получения порошков тугоплавких металлов W, Mo, Ni.

. Электролиз водных растворов или расплавленных солей различных металлов.

На катоде под действием электрического тока осаждают из водных растворов или расплавов солей чистые порошки практически любых металлов. Стоимость порошков высока из-за больших затрат электроэнергии и сравнительно низкой производительности электролизеров. Таким путем получают из водных растворов - порошки Cu, Ni, Fe, Ag, а из расплавленных сред - порошки Ta, Ti, Zr, Fe.

. Диссоциация карбонилов.

Карбонилами называют соединения элементов с СО общей формулы Меа(СО)с. Карбонилы являются легколетучими, образуются при сравнительно небольших температурах и при нагревании легко разлагаются.

В промышленных масштабах диссоциацией карбонилов производят порошки Ni, Fe, Со, Сr, Мо, W и некоторых металлов платиновой группы.

Расширение производства карбонильных порошков существенно сдерживается их высокой стоимостью, так как они в десятки раз дороже восстановленных порошков аналогичных металлов.

. Термодиффузионное насыщение.

Чередующиеся слои или смесь порошков разнородных металлов нагревают до температуры, обеспечивающей их активное взаимодействие. Получают порошки латуни, сплавов на основе хрома, высоколегированных сталей.

. Испарение и конденсация.

Для получения порошка металл испаряют и затем конденсируют его пары на холодной поверхности. Порошок является тонкодисперсным, но содержит большое количество оксидов. Получают порошки Zn, Cd и других металлов с невысокой температурой испарения.

. Межкристаллитная коррозия.

В компактном (литом) металле или сплаве при помощи химического травителя разрушают межкристаллитные прослойки. Получают порошки коррозионностойких и хромоникелевых сталей.

Формование. Цель формования порошков - получение полуфабрикатов (прутки, трубы, ленты) либо отдельных заготовок, по форме приближающихся к конечным изделиям. Во всех случаях после формования порошок из сыпучего тела превращается в пористый компактный материал, обладающий достаточной прочностью для сохранения приданной ему формы при последующих операциях.

Методы формования порошковых заготовок весьма разнообразны. По времени действия их можно подразделить на прерывистые и непрерывные, по принципам приложения давления - на постепенно возрастающие, мгновенно возрастающие и вибрационные, по направлению или схеме формования - на односторонние, двусторонние, всесторонние и центробежные, по применяемой температуре - на холодное формование при комнатной температуре и горячее при повышенной, по атмосфере - на формование на воздухе, в вакууме и в инертной среде.

К прерывистым методам относится большинство случаев формования, когда имеет место поштучное изготовление изделий: формование на разного рода прессах (гидравлических, механических, вибрационных), а также различные виды изостатического (всестороннего) формования - гидростатическое, горячее изостатическое, взрывное.

К непрерывным методам, при помощи которых можно получать изделия значительной длины, относятся клиновое формование, мундштучное (экструзия) и прокатка металлических порошков. Кроме того, к методам формования относится так называемое шликерное литье, которое практически осуществляется без приложения давления.

Прерывистые методы формования

Наиболее распространенным способом формования порошковых материалов является холодное формование в закрытых формах, называемых пресс-формами. В результате холодного формования в закрытых пресс-формах получается заготовка, по форме и размерам соответствующая готовому изделию с припусками, необходимыми для прохождения последующих операция. Процесс такого формования состоит из сборки пресс-формы, дозировки и засыпки шихты в пресс-форму, самого формования и удаления изделий из пресс-формы. Дозировку шихты производят весовым или объемным способом. При массовом производстве и использовании автоматических прессов обычно применяется объемная дозировка.

Горячее формование осуществляется в закрытых пресс-формах при повышенных и высоких температурах и возрастающем до заданной величины давлении. С повышением температуры уменьшается величина давления, необходимого для уплотнения порошка. Метод горячего формования позволяет получать изделия из порошков, не поддающихся формованию или спеканию обычными способами. При горячем формовании увеличение контакта между частицами достигается: 1) за счет их деформации внешними силами, 2) собственной температурной подвижностью атомов. При горячем формовании можно получить материал плотностью, приближающейся к теоретической, и со свойствами компактных металлов.

Горячее формование осуществляется преимущественно на гидравлических прессах. Оно производится в пресс-формах, изготовляемых из жаропрочных сплавов (для низких температур прессования - до 1000°С), либо из графита для высокотемпературного прессования.

Горячее формование применяется только в ряде специальных случаев: при производстве твердых и жаропрочных материалов, алмазно-металлических сплавов и крупных изделий весом до 500 кг (например, твердосплавных прокатных валков). Кроме того, оно применяется при производстве тонких пластин, дисков и других деталей, которые коробятся при спекании и поэтому изготовление их холодным формованием затруднительно.

Горячее формование менее производительно по сравнению с холодным, связано со значительным износом пресс-форм и трудностью подбора для них материала, способного выдерживать высокие температуры. Однако, несмотря на ряд трудностей, связанных с предотвращением окисления порошка, выбором материала пресс-формы, а также некоторым ограничением областей применения горячего формования, принципиальная ценность и перспективность метода очевидны, особенно для получения изделий большой плотности и с высокими механическими свойствами.

Непрерывные методы формования позволяют получить “протяженные” изделия (прутки, листы) методами порошковой металлургии. К непрерывным процессам формования относится формование в открытой пресс форме - клиновое или формование скошенным пуансоном; выдавливание или экструзия; а также формование в валках - прокатка. Все эти методы формования характеризуются постоянным или постепенно возрастающим давлением.

Процесс формования, названный клиновым, позволяет получить толстые листы и прямоугольные стержни большого сечения из порошковых материалов при использовании оборудования сравнительно небольшой мощности.

Процесс клинового формования происходит медленнее, чем обычное формование, однако для формования длинных пластин и прутков является рациональным и перспективным способом.

Спекание. Конечная операция порошковой металлургии - спекание - заключается в нагреве и выдержке заготовок при температуре 0,7 от температуры плавления основного компонента. Время выдержки 1-2 часа. В результате спекания между частицами порошка образуются металлические связи. Различают спекание твердой и жидкой фазы Спекание в твердой производится при температуре меньшей температуры плавления компонентов смеси. В жидкой при температуре превышающей температуру плавления одного из компонентов. При этом легкоплавкий компонент закрывает капиллярные поры. При необходимости порошковые изделия подвергают отделочным операциям.

) Калибрование получают изделия с соответствующими размерами.

) Обработка резаньем при необходимости получения отверстий, нарезание резьбы.

) Термическая для улучшения поверхностных свойств.

) Повторное прессование и спекание позволяет укрепить заготовку и придать ей соответствующие свойства.

Материалы и изделия. Круг изделий, изготавливаемых методами порошковой металлургии, весьма широк и непрерывно расширяется.

К ним относятся зубчатые колеса, рычаги, кулачки и поршни для автомобилестроения, машиностроения, энергетики, промышленности средств связи, строительной, горнодобывающей и авиакосмической промышленности

Из ленты, полученной холодной прокаткой никелевого порошка, изготавливают монеты (например, канадский пятицентовик). Порошок железа используется в качестве носителя для тонера в ксероксах, а также в качестве одного из ингредиентов изделий из зерновых продуктов и хлеба повышенной питательности. Алюминиевый порошок служит компонентом ячеистого бетона, красок и пигментов, твердого ракетного топлива.

. Технология литья

Литейное производство - отрасль машиностроения, занимающаяся изготовлением фасонных заготовок или деталей путем заливки расплавленного металла в специальную форму, полость которой имеет конфигурацию заготовки (детали). При охлаждении залитый металл затвердевает и в твердом состоянии сохраняет конфигурацию той полости, в которую он был залит. Конечную продукцию называют отливкой. В процессе кристаллизации расплавленного металла и последующего охлаждения формируются механические и эксплуатационные свойства отливок.

Литьем получают разнообразные конструкции отливок массой от нескольких граммов до 300 т, длиной от нескольких сантиметров до 20 м, со стенками толщиной 0,5-500 мм (блоки цилиндров, поршни, коленчатые валы, корпуса и крышки редукторов, зубчатые колеса, станины станков, станины прокатных станов, турбинные лопатки и т. д.).

Для изготовления отливок применяют множество способов литья:

в песчаные формы, в оболочковые формы, по выплавляемым моделям, в кокиль, под давлением, центробежное литье и др. Область применения того или иного способа литья определяется объемом производства, требованиями к геометрической точности и шероховатости поверхности отливок, экономической целесообразностью и другими факторами.

Всякое производство, в том числе и литейное, характеризуется трудоемкостью и номенклатурой выпускаемой продукции.

Различают следующие основные типы литейного производства: единичное, серийное и массовое.

Единичное производство характеризуется выпуском в небольших количествах самого разнообразного литья. Производство отдельных отливок может периодически повторяться.

Серийное производство характеризуется периодичным выпуском литья ограниченной или широкой номенклатуры значительными или небольшими партиями.

Массовое производство характеризуется непрерывным выпуском в больших количествах определенной номенклатуры литья. Примером массового производства может служить выпуск в огромных количествах однообразных отливок литейными цехами автомобильных и тракторных заводов. Серийность производства оказывает большое влияние на выбор методов изготовления форм, на характер применяемого оборудования и работу литейного цеха. Если единичное производство характеризуется применением ручных методов труда, малой механизацией производственных процессов, незначительным количеством применяемой оснастки, то в массовом и серийном рационально применять наиболее технически совершенное и высокопроизводительное оборудование, большое количество специальных приспособлений.

Основы общей технологии металлов.

Наиболее широкое применение в машиностроительном производстве имеют сплавы Fe с C, т.е. конструкционная и инструментальная стали, серый и ковкий чугун, а также цветные сплавы.

Металлы отличаются характерным металлическим блеском, ковкостью, высокой теплопроводностью и электропроводностью, непрозрачностью. При нормальной комнатной температуре все металлы(кроме ртути) являются твердыми веществами. Примерно 2/3 всех элементов представляют металлы.

В технике химически чистые металлы не используются. Это объясняется двумя причинами: во-первых, трудностью получения их в промышленном производстве и во-вторых, отсутствием в них технически полезных свойств. Значительно большее распространение получили так называемые металлические материалы.

Металлические материалы можно разделить на 2 группы:

. Технически чистые металлы.

. Сплавы.

Технически чистые металлы - металлы, в состав которых, помимо химически чистого элемента, в небольших количествах входят другие элементы. Важнейшим промышленным металлом является железо, которое в сплавах с углеродом и другими элементами относят к группе черных металлов: сталь, чугун и ферросплавы. Из общего количества выплавляемых во всем мире металлов около 94% приходится на черные. Все остальные металлы и сплавы относятся к группе цветных металлов. Их принято делить на легкие (плотность до 3г/см3) и тяжелые.Различают также благородные и редкие металлы.

Сплавы - сложные материалы, получаемые путем сплавления одного металла с другими металлами. Сплавам можно придать самые разнообразные свойства. Поэтому в технике они находят большее применение, чем технически чистые металлы. В состав металлических сплавов могут, входит также и неметаллические вещества, например, углерод, сера, фосфор, бор. Вещества, входящие в состав сплава, принято называть компонентами.

Помимо основных компонентов, в каждом сплаве всегда имеются в небольших количествах посторонние химические вещества - металлические или неметаллические. Эти вещества в большинстве случаев нежелательные и называются примесями.

Кристаллизация слитка спокойной стали сопровождается окислением примесей, их перераспределением по объему слитка и другими процессами. Совокупность всех процессов, в конечном счете, и определяет качество слитка стали. Образование структурных зон в слитках. Обычно слиток спокойной стали характеризуется наличием следующих зон (Рис. 32):

поверхностный слой (1) мелких кристаллов; зона (2) столбчатых кристаллов; внутренняя зона (3) различно ориентированных кристаллов; «конус осаждения» (4) из мелких неориентированных кристаллов внизу слитка; «мост» (5) плотного металла в верхней части слитка из хорошо сформировавшихся неориентированных кристаллов.

В верхней прибыльной части слитка сосредоточена усадочная раковина (6). Многообразие процессов, протекающих при затвердевании реального слитка, и сложность их изучения приводят к тому, что, несмотря на многолетние усилия отечественных и зарубежных металлургов, всеобъемлющая теория кристаллизации слитка спокойной стали отсутствует. До сих пор в литературе обсуждают две противоположные теории кристаллизации стали; теорию объемной кристаллизации и теорию последовательной кристаллизации стали.

Д. К. Чернов в своих классических работах первый высказал мысль о последовательной кристаллизации металла в изложницах. Теория объемной кристаллизации, предложенная Г. Тамманом, основывалась на проведенных им исследованиях с малыми количествами органических веществ (салола, бензофенола, пинерина) и на единичных опытах с легкоплавкими металлами. Выведенные при этом закономерности без достаточных оснований были перенесены на процесс кристаллизации стальных слитков.

Согласно теории объемной кристаллизации стали - металл кристаллизуется одновременно во всем объеме из-за присутствия в нем центров кристаллизации либо в виде посторонних твердых примесей, либо в виде самопроизвольно (спонтанно) возникающих «зародышей» этого металла. Образовавшиеся изолированные кристаллы в силу разности плотностей твердой и жидкой стали падают вниз в виде «дождя кристаллов».

Рис.32 Строение слитка спокойной стали

1 - слиток опрокинут через 55 мин; 2 - через 75 мин; 3 - через 105 мин после конца разливки; I, II, III - границы распространения радиоиндикаторов, введенных в контрольный слиток соответственно в те же момент

Теорию объемной кристаллизации спокойной стали долгое время поддерживали многие металлурги для объяснения образования в слитках конуса осаждения. Однако объемная кристаллизация металла в изложницах невозможна, так как требует глубокого переохлаждения, не наблюдаемого при затвердевании реальных слитков. Образование структурных зон в слитке необходимо рассматривать с позиций последовательной кристаллизации с учетом современных представлений о механизме возникновения и роста кристалла.

При заливке горячего металла в холодную изложницу находящийся в контакте с ней слой металла охлаждается, и в нем начинается обильное образование зародышей. Центрами кристаллизации являются и многочисленные выступы, имеющиеся на поверхности изложницы. Зародыши, образовавшиеся в рассматриваемой зоне, растут сначала по дендритному механизму с образованием поверхностной зоны неориентированных кристаллов. С увеличением толщины этой зоны, а также в связи с появлением газового зазора между стенкой изложницы и затвердевшим металлом отвод тепла от затвердевающего металла ухудшается и интенсивность образования новых зародышей резко снижается. Часть имеющихся благоприятно ориентированных кристаллов, т. е. кристаллов, главная ось которых растет в направлении, обратном отводу тепла (перпендикулярном к поверхности изложницы), получает преимущественное развитие. Кристаллы с другой ориентацией главных осей относительно поверхности отвода тепла быстро выклиниваются. Поэтому с увеличением расстояния от стенки изложницы в глубь металла число зерен на единицу площади уменьшается, пока не останутся только благоприятно ориентированные кристаллы, образующие при своем росте, зону столбчатых кристаллов. Развитие столбчатых кристаллов с хорошо выраженной дендритной структурой возможно только при наличии примесей и известного переохлаждения вблизи растущих граней дендритов. Отсутствие экспериментально зафиксированного переохлаждения в микрообъемах слитка не отрицает наличия переохлаждения в указанных микрообъемах и служит лишь доказательством невозможности объемной кристаллизации с выпадением кристаллов в виде «дождя».

Примеси, присутствующие в спокойной стали, оказывают двоякое влияние на развитие столбчатой структуры. С одной стороны, как уже неоднократно отмечалось, именно присутствие примесей обеспечивает условия образования хорошо развитых дендритов. С другой стороны, повышение их концентрации в жидком металле перед фронтом кристаллизации непрерывно снижает температуру ликвидуса и устраняет переохлаждение, без которого невозможно образование дендритов.

Поэтому при относительно большой степени ликвации примесей столбчатые кристаллы могут расти лишь до определенного момента, когда значительное снижение температуры ликвидуса не снимет переохлаждения металла перед фронтом дендритов. Если содержание ликвидирующих примесей относительно небольшое или по тем или другим причинам затруднена их сегрегация в такой степени, что не наступает заметное снижение температуры ликвидуса, развитие зоны столбчатых кристаллов становится неограниченным и они способны прорасти до оси слитка спокойной стали. Получается так называемая транскристаллическая структура.

Ликвация таких примесей, как фосфор и др., затруднена в присутствии, никеля и других легирующих элементов. По этой причине высокохромистые никельсодержащие стали характеризуются развитой транскристаллической структурой.

Постепенное накопление в нижних частях кристаллизующегося слитка стали, более холодного, чем в верхних, уменьшает переохлаждение у растущих граней кристаллов и обеспечивает более раннее прекращение образования зоны столбчатых кристаллов в нижних горизонтах и меньшую ее протяженность в этом месте.

Некоторое отклонение столбчатых кристаллов вверх от перпендикуляра к стенке изложницы вызвано как расположением вверху теплового центра, так и направленными сверху вниз конвективными потоками металла, обновляющими состав металла перед растущими в глубь слитка осями столбчатых кристаллов.

Скопление примесей перед фронтом растущих столбчатых кристаллов, снижая температуру ликвидуса металла, способно прекратить на время процесс кристаллизации спокойной стали, в результате чего в некоторых местах происходит оплавление ветвей дендритов. Оплавленные вершины столбчатых кристаллов бывают иногда ясно видны на темплетах слитков спокойной стали.

Механизм образования зародышей равновесных кристаллов центральной зоны слитка спокойной стали не совсем ясен. Здесь возможны два предположения. Первое сводится к тому, что зародыши всех кристаллов появляются в начальный момент кристаллизации спокойной стали, и во все время развития столбчатых кристаллов эти зародыши постепенно растут и образуют своеобразную сетку кристаллов, которая, наконец, препятствует росту столбчатых кристаллов. Согласно второму предположению, зародыши кристаллов возникают по мере продвижения фронта столбчатых кристаллов в жидком металле на центрах кристаллизации стали, которыми могут быть неметаллические включения. По-видимому, в реальных слитках спокойной стали развиваются оба изложенных механизма.

Ширина двухфазной зоны постепенно увеличивается при продвижении фронта кристаллизации к центру слитка. Часть кристаллов при развитой двухфазной области и соответственно при относительно небольшой зоне столбчатых кристаллов может опускаться в нижнюю часть слитка стали вследствие разности плотностей жидкого и твердого металла. Этот процесс получает особенно развитие в момент прекращения роста столбчатых кристаллов.

При кристаллизации слитков спокойной стали, опускающиеся свободные кристаллы образуют в нижней части слитка развитую двухфазную область, затвердевающую в виде отдельных объемов. Высокотемпературные неметаллические включения являются центрами образования первых свободных кристаллов. Эти кристаллы, скапливаясь в нижней части слитка, образуют «конус осаждения», характеризующийся повышенным содержанием высокотемпературных включений: глинозема, кремнезема и др. Жидкий металл, находящийся в верхней части слитка, вначале обеспечивает хорошее питание, в результате чего «конус осаждения», характеризуется плотной структурой.

Объемы металла в центральной части слитка, куда опускаются кристаллы, затвердевают периодически по мере накопления в них твердых кристаллов. В зоне сочленения изложницы с прибыльной надставкой объемы закристаллизировавшегося слитка спокойной стали относительно хорошо подпитываются металлом из прибыльной надставки. Преимущественное по условиям питания из прибыли положение рассматриваемой зоны приводит к образованию здесь плотной структуры - «моста», в то время как нижележащие зоны слитка характеризуются наличием большого числа пор.

В связи с меньшей плотностью жидкого металла по сравнению с твердым и продолжительным пребыванием металла в жидком состоянии в прибыльной части, откуда жидкий металл «подпитывает» затвердевающий слиток, именно в этом месте развивается усадочная раковина

Машины для разлива цинка

Машины карусельного типа работают на разливке товарного свинца и цинка и разливке меди и никеля на аноды.

Разливочные карусельные машины - вращающиеся столы с мульдами, в которые по жёлобу заливается жидкий металл.

Во время вращения стола металл затвердевает, и слитки автоматически выбрасываются из мульд (при их опрокидывании).

Рис. 33. Карусельгая машина

Карусельная машина для разливки цинка отличается от рассмотренных машин и конструктивно, и но принципу действия.

Преимущества машины: непрерывность вращения карусели, малые габаритные размеры, низкая металлоемкость, компактность конструкции. Возможность изготовления машины и запасных частей в условиях комбинатов, сравнительная легкость установки машины внутри цеха.

К недостаткам конструкции относят: малую единичную производительность и ограниченную возможность ее повышения, большое число трущихся поверхностей, малую жесткость конструкции.

Область применения ленточных машин - разливка на чашки металлов, сравнительно легко выбиваемых ударом при опрокидывании изложниц в конце машины.

Конвейерные разливочные машины имеют ряд преимуществ перед карусельными: возможность получения большой единичной производительности (удлинением конвейера); возможность более простой компоновки машины внутри цеха; более простая, менее металлоемкая конструкция, не имеющая громоздких деталей, сложного привода.

Недостатки машины: большое число шарнирных сочленений, требующих частых смазок и регулирования натяжения; малая степень использования изложниц (холостая ветвь).

Рис. 34. Ленточная машина для разливки цинка

 

Литье в песчаные формы.

Метод литья металлов и сплавов, при котором расплавленный металл заливается в форму, сделанную из плотно утрамбованного песка. Для того, чтобы песчинки были крепко связаны между собой, песок смешивают с глиной, водой и другими связующими веществами. Этот метод применяется для литья из стали, меди, бронзы и алюминия.

Рис. 35. Схема литья в песчаные формы

Литье в песчаные формы - широко используемый в промышленности метод литья. Сначала, в соответствии с чертежами, делается деревянная модель изделия, затем она утапливается в песок в нижней части стального корпуса вплоть до ее самого широкого поперечного сечения (А). Затем монтируется верхняя часть формы. К нижнему корпусу за жимами прикрепляется верхний, образуя цельную коробку, а затем туда еще досыпается и утрамбовывается песок, таким образом, чтобы он покрыл всю модель целиком. В необходимых местах фиксируются литник и выпор (В). Отдельно делают внутренний литейный стержень из песка для того, чтобы можно было создать полость внутри будущей отливки. Песок форм, который первоначально был смешан с силикатом натрия, образует силикагель, когда через него прокачивается углекислый газ. Этот - гель - имеет консистенцию сиропа и связывает песок. Затем корпус формы раскрывают и убирают деревянную модель. Стержень помещают в корпус формы, и форму опять собирают (С). Деревянный лит, ник и выпор убираются. Расплавленный металл вливается в высушенную форму через конусообразный литник. Вытесняемый воздух выходит через выпор (D). После охлаждения корпус формы раскрывается и достается отливка (Е). Литник и выпор отрезаются, а песок выбивается. В готовой отливке (F) показана полость, образованная на месте стержня.

Литье под давлением применяют преимущественно для изготовления изделий из термопластов. Осуществляют под давлением 80-140 МПа на литьевых машинах поршневого или винтового типа, имеющих высокую степень механизации и автоматизации (рис. 36). Литьевые машины осуществляют дозирование гранулир. материала, перевод его в вязкотекучее состояние, впрыск (инжекцию) дозы расплава в литьевую форму, выдержку в форме под давлением до его затвердевания или отверждения, размыкание формы и выталкивание готового изделия.

При переработке термопластов методом литья под давлением литьевую форму термостатируют (температура ее не должна превышать температуры стеклования или температуры кристаллизации), а при переработке реактопластов нагревают до температуры отверждения. Давление литья зависит от вязкости расплава материала, конструкции литьевой формы, размеров Линниковой системы и формуемых изделий. Литье при сверхвысоких давлениях (до 500 МПа) уменьшает остаточные напряжения в материале, увеличивает степень ориентации кристаллизующихся полимеров, что способствует упрочнению материала и обеспечивает более точное воспроизведение размеров деталей.

Рис. 36. Литьевая машина: 1 -материальный цилиндр; 2 - нагревательные элементы; 3-винт (шнек); 4-каналы охлаждения; 5-бункер для материала; 6-гидродвигатель; 7-редуктор; 8-гидроцилиндр узла впрыска; 9-манометр; 10, 17-неподвижные плиты; 11 - направляющие колонки; 12-литьевая форма; 13-подвижная плита; 14-колесно-рычажный механизм; 15-гидро-цилиндр узла смыкания; 16-гайки; 18-упор; 19-сопло.

Давление в литьевой форме при заполнении расплавом полимера повышается постепенно (в конце выдержки под давлением достигает 30-50% от давления литья) и распределяется по длине оформляющей полости неравномерно вследствие высокой вязкости расплава и быстрого ее нарастания при охлаждении или отверждении.

Литье под давлением позволяет изготовлять детали массой от долей грамма до нескольких килограммов. При выборе машины для формования изделия учитывают объем расплава, необходимый для его изготовления, и усилие смыкания, требующееся для удержания формы в замкнутом состоянии в процессе заполнения расплавом оформляющей полости.

Для выравнивания давления и улучшения условий заполнения формы применяют литье под давлением с предварит. сжатием расплава, инжекционное прессование, литье под давлением с наложением механический колебаний и др. методы.

Литье под давлением с предварительным сжатием расплава осуществляют на литьевой машине, сопловый блок которой снабжен краном. При закрытом кране производят сжатие расплава полимера в материальном цилиндре машины до давления литья. После открытия крана расплав под высоким давлением с большой скоростью заполняет полость литьевой формы и дополнительно нагревается за счет работы сил трения. Для предотвращения механодеструкции пластмасс скорость течения расплава по Линниковым каналам иногда ограничивают. Предварительное сжатие расплава позволяет в 1,5-2 раза уменьшить время заполнения формы и увеличить путь течения расплава до момента его застывания, что позволяет отливать длинномерные тонкостенные детали.

Изготовление оболочковых форм.

Оболочковая форма должна отвечать следующим требованиям: обладать достаточной прочностью, выдерживать динамический и статический напоры расплава, не деформироваться при заливке, затвердевании и охлаждении отливки; быть огнеупорной, т. е. не разупрочняться при прокаливании, и особенно при заливке; иметь газопроницаемые стенки, чтобы в полостях формы не возникало противодавления воздуха (такое явление приводит к браку отливок по недоливу); быть химически инертной к модельному составу и металлу отливки; иметь достаточную податливость, чтобы не препятствовать усадке сплава; обеспечивать получение отливок с поверхностью требуемой шероховатости и высокой точностью размеров, массы и конфигурации. Стенки керамической оболочковой формы состоят из огнеупорной основы (двух фракций - пылевидной и «грубой» 01-063) и связующего. По химическому составу огнеупорных материалов керамические оболочковые формы разделяют на окисные и углеродные. Окисные, в свою очередь, по химическому составу разделяют на кислые, основные, амфотерные.

Кислые окисные материалы форм на основе кристаллического кварца (SiO2) применяют наиболее широко. Они наиболее дешевы, недефицитны, используют их в массовом и крупносерийном производстве отливок средней сложности массой до 3-5 кг из углеродистых, низколегированных сталей.

Основные окислы - MgO, СаО - применяют редко, только в производстве отливок из сплавов химически высокоактивных к окислам в жидком состоянии.

Амфотерные материалы на основе окислов алюминия Al2O3 широко применяют при изготовлении отливок из жаропрочных и антикоррозионных сплавов.

Углеродные формы применяют при изготовлении отливок из титановых сплавов.

Конструкция формы. Оболочковые формы, упрочненные сыпучим огнеупорным материалом, наиболее часто используют в производстве - (рис. 37, а). Преимуществами таких форм являются: пониженные требования по прочности и термостойкости к собственно оболочковой форме; возможность предотвращения резкого охлаждения формы перед заливкой. Оболочковую форму после удаления модели прокаливают и затем формуют в горячий опорный материал. Такую форму можно быстро, с низкими энергозатратами, прокалить, а после затвердевания залитого металла также быстро охладить. В качестве опорных материалов используют кварцевый песок, шамотную крошку, бой форм. Способ используют в массовом производстве отливок небольших размеров.

При. изготовлении оболочковых форм с прочным опорным материалом (рис. 37, б) оболочку помещают в опоку, в которую заливают жидкую смесь с цементным связующим или ЖСС:

Рис. 37.Конструкция оболочковых форм

Модель удаляют до или после упрочнения. Иногда добавляют борную кислоту или буру, которые при прокаливании форм упрочняют опорный материал, уменьшают давление на оболочку. Такой способ применяют в серийном производстве отливок, к которым предъявляются повышенные требования по точности размеров и геометрической точности. Процесс изготовления отливок длительный и энергоемкий, поэтому такой способ используют редко. Истинно оболочковую форму (рис. 37, в) прокаливают и заливают без опорных материалов, при этом сокращается продолжительность прокаливания форм, упрощается выбивка форм. Такой способ наиболее скоростной и наименее энергоемкий. В направлении совершенствования и расширения использования этого способа ведутся исследовательские работы.

Материалы для изготовления форм.

Огнеупорные материалы. Для изготовления оболочковой формы используют огнеупорные материалы - мелкодисперсную основу суспензии, обсыпку и опорный материал.

Общие требования к огнеупорным материалам для оболочковых форм следующие: высокая огнеупорность (как правило, не ниже 1773 К); низкий коэффициент термического расширения (КТР); отсутствие полиморфных превращений при нагревании и охлаждении; химическая стойкость при нагревании.

Не все огнеупоры удовлетворяют этим требованиям. Например, наиболее дешевый и недефицитный материал - кварц кристаллический,- обладая достаточно высокой огнеупорностью, при нагревании претерпевает ряд полиморфных превращений, сопровождающихся, объемными изменениями. Это является причиной образования в. оболочках трещин, брака отливок.

Огнеупорные материалы различаются по размерам. Зерен. Обычно в суспензию вводят мелкозернистые огнеупоры с размером фракции 005, 0063. Для обсыпки применяют зернистые огнеупоры фракций 02, 0315 для первого и второго слоев покрытия, 063 для последующих слоев. В качестве опорного материала применяют огнеупоры более крупных фракций, крошку размером зерен 1-3 мм. Материалы, используемые для изготовления оболочковых форм, и их свойства приведены в таблице.

Кварц SiO2 - минерал с кристаллической структурой, плотностью 2650 кг/м3. Температура плавления 1986 К. Для изготовления оболочковых форм применяют пылевидный кварц природный и искусственный, кварцевые пески классов Об1 К, обогащенные, содержащие не менее 98 % SiO2. При нагреве в кварце происходят полиморфные превращения: 856 К (кв. - aкв). 1743 К (а - тридимит в а - кристобаллит). Средний КТР в интервале температур 293 - 1473 К велик и составляет (10 - 12) • 10-6 1/К. При нагреве до 846 К кварц расширяется на 1,4%, В интервале температур 1743 - 1873 К происходит интенсивное расширение кварца на ~2,8 %. Высокий и неравномерный КТР кварца служит причиной низкой термической стойкости оболочковых форм, в которых этот минерал использован в суспензии и как обсыпочный материал.

до

Пылевидный кварц - огнеупорная основа суспензии. Используют его в виде природного материала - маршалита - и искусственного. Маршалит содержит 96-98 % SiО2. Этот полифракционный материал, имеющий нестабильный химический состав, содержит органические примеси. Искусственный пылевидный кварц получают измельчением кварцевого песка в струйных пневматических мельницах. После измельчения пылевидный кварц марки ПК-2 содержит до 0,4 % Fe, которое в суспензии необходимо нейтрализовать введением добавок H2SO4 при гидролизе этилсиликата для предупреждения огеливания раствора. Однако осколочная форма частиц искусственного пылевидного кварца струйного измельчения не способствует достижению высокой прочности оболочки.

Кварцевый песок, применяемый для обсыпки слоя суспензии, должен содержать минимальное количество примесей. Для всех слоев оболочки можно применять песок марок Об1К, для второго и последующих слоев - более грубозернистые. 0315, 04, 063. При этом оболочка получается более прочной и термостойкой. Вредными примесями в кварцевых песках являются окислы железа, щелочных и щелочноземельных металлов, снижающие огнеупорность кварца.

Высокоглиноземистый шамот 3Аl2О3-SiO2 - химически и термически стойкий материал, не имеющий полиморфных превращений; получают его обжигом огнеупорной глины и последующим дроблением и рассевом на фракции. В качестве пылевидной фракции используют тонкоизмельченный шамот; для обсыпки - обычно двух фракций: 0315, 063. Применение шамота позволяет снизить брак, повысить точность размеров отливок. Плавленый кварц не испытывает полиморфных превращений и имеет КТР почти в 20 раз меньше, чем у кристаллического кварца, т. е. 0,5*10-6 1/К. Плавленый кварц дорог и дефицитен, его производство связано со значительными энергозатратами. Однако использование его для оболочковых форм перспективно и постоянно расширяется, так как позволяет повысить надежность процесса, получить истинно оболочковые формы, точные отливки.

Электрокорунд а - Аl2O3 - высокоогнеупорный химически и термически стойкий материал. Температура его плавления 2393 К, он амфотерен. Суммарное расширение при нагреве от 293 до 2273 К составляет 2 %. Различают нормальный и белый электрокорунды, содержащие до 6 и до 1,5 % примесей соответственно. Для первых слоев формы используют белый электрокорунд для последующих - нормальный. Применение электрокорунда позволяет надежно заливать металл в формы без опорных материалов. Электрокорунд дорог и дефицитен, поэтому его применяют, главным образом, при производстве отливок ответственного назначения.

Циркон ZrSiO4 используют в качестве огнеупорной основы суспензии и как обсыпочный материал. Диссоциирует он при температуре 2073К на воздухе, при 1813К в вакууме. Этот дорогой и дефицитный материал имеет ограниченное применение.

Окись магния MgO целесообразно использовать при производстве отливок из высокомарганцовистых сталей.

Окись кальция CaO обладает высокой химической стойкостью к расплавам титана, платины, урана. Окислы магния и кальция на воздухе гидратируются и карбонизируются, поэтому формы, стержни хранят при повышенных температурах или в герметической упаковке.

Связующие. Собственно связующим керамической оболочковой формы служит тугоплавкий окисел (SiO2, Al2O3 и др.), образующийся из элементоорганических соединений или неорганических солей металлов.

Требования к связующим. Связующие должны обладать следующими свойствам: смачивать поверхность модели; не растворять модель и не вступать в химическое взаимодействие с составляющими модельного состава; иметь достаточно высокую вязкость с целью получения седиментационно-устойчивой суспензии; обладать высокой адгезионной способностью к окисным огнеупорам в суспензии и обсыпочным материалам. Кроме того, окислы связующего и обсыпочных материалов не должны создавать легкоплавких эвтектик, снижающих термохимическую устойчивость формы, и должны быть инертны к заливаемым сплавам и их окислам.

Свойства некоторых, наиболее широко используемых материалов для приготовления связующих приведены в таблице. Наибольшая прочность оболочки достигается в том случае, когда окисное связующее и окисел - огнеупорная основа формы - имеют одинаковый химический состав или близкие по размерам параметры кристаллической решетки материалов. Однако допустимы и другие сочетания. Наиболее часто в практике литья по выплавляемым моделям встречаются, например, сочетания: SiO2 из связующего этилсиликата и SiO2 или Al2O3 из материалов формы. Но по причине различного КТР связующего SiO2 и огнеупорной основы Al2O3 прочность формы в момент заливки ниже.

Растворители. При приготовлении связующих из этилсиликата азотнокислых и алюмофосфатных солей применяют органические растворители. Наиболее широко применяют ацетон, спирт этиловый (ректификат, сырец, гидролизный), эфироальдегидную фракцию (ЭАФ, содержит 87% этилового спирта, остальное - альдегиды, эфиры, метиловый спирт) изопропиловый спирт.

Все растворители относятся к легкоиспаряющимся и огнеопасным материалам. Поэтому при работе с ними необходимо. Соблюдать правила пожарной безопасности. На участках (в цехе, лаборатории) приготовления связующего должна быть организована приточно-вытяжная вентиляция.

Добавки вводят в связующие растворы и суспензии для регулирования их свойств. Соляная кислота НС1 (плотность 1,19 г/см3) - катализатор гидролиза - повышает надежность протекания процесса гидролиза этилсиликата (ЭТС), способствует повышению прочности формы. Серная кислота H2SO4 (плотность 1,84 г/см3) вводится в раствор при гидролизе ЭТС для нейтрализации органических примесей (в песках, маршалите).

Поверхностно-активные вещества (ПАВ) ДС-РАС, сульфанол вводят в растворы при гидролизе ЭТС без органических растворителей (0,05-0,1 мас.%), с целью понижения междуфазной энергии (ЭТС и воды), а также улучшения смачивания суспензией поверхности моделей.

Гидролиз этилсиликата

В качестве исходного материала для приготовления связующего оболочковых форм широко применяют этилсиликат. ЭТС - смесь этиловых эфиров ортокремневой кислоты - жидкость с температурой кипения 438 К, плотностью 980-1050 кг/м3. В состоянии поставки ЭТС представляет собой смесь эфиров с различной молекулярной массой, например смесь моноэфира (С2Н5О)4Si, содержащего 28,8 % SiO2, диэфира (C2H5O)6Si2O, содержащего 35,1 % SiO2, триэфира (С2Н5O)8Si3O2, содержащего 39,7 % SiO2, и так далее (тетра, пентаэфиры).

Химический состав ЭТС в разных партиях может отличаться, поэтому каждая партия должна иметь сертификат, в котором указывается общее содержание этоксильных групп, SiO2, примесей и т. д.

Цель гидролиза состоит в придании ЭТС связующих свойств.

Сущность реакции гидролиза состоит в том, что в процессе химической реакции этоксильные группы (С2Н5О) замещаются на гидроксильные ОН. В результате реакции гидролиза получают коллоидные растворы кремнекислот (золи), из которых при сушке и прокаливании форм выделяется собственно связующее SіО2, соединяющее зерна огнеупорной основы суспензии.

Гидролиз - реакция между ЭТС и водой. Трудность ее проведения состоит в том, что ЭТС и вода взаимно не растворяются. Поэтому, как правило,- при реакции гидролиза ЭТС применяют органические растворители - спирты, ацетон, которые растворяют и ЭТС, и воду. Растворители удаляются при сушке и прокаливании форм.

Реакция гидролиза может осуществляться любым количеством воды. При гидролизе этоксильные группы (С2Н5О) замещаются (частично или полностью) гидроксилами (ОН). Например, при гидролизе моноэфира небольшим, количеством воды

Если на одну этоксильную группу приходится 0,5 моля воды, то


Это количество воды принято считать стехиометрической нормой. Одновременно с гидролизом в растворе протекает реакция поликонденсации


В результате образуются соединения характеризующиеся продольными связями в цепи


где R - этоксильная группа

В присутствии катализаторов, например НС1, могут образовываться и поперечные связи, соединяющие ионы через кислород в сетчатые структуры.

При наличии таких структур прочность связующего повышается, увеличивается и прочность формы. В итоге структура связующего имеет вид неорганического полимера. Эти растворы обладают свойствами истинных растворов. Гидролизованный раствор содержит более 18 % SiО2, его вязкость не изменяется при хранении; пленка раствора сохнет на воздухе медленно и обратимо.

При гидролизе большим количеством воды образуются различные кремниевые кислоты


Кремниевые кислоты неустойчивы и образуют золи, однако одновременно в растворах протекают реакции поликонденсации. Поэтому такие растворы представляют собой смесь коллоидных и истинных растворов. Гидролизованный раствор содержит 14-18% SiO2. При хранении таких растворов их вязкость повышается, оболочки высыхают и твердеют на воздухе более длительное время; для завершения процессов гидролиза и поликонденсации необходима сушка во влажном воздухе. При гидролизе ЭТС с большим избытком воды, например


Появляются кремниевые кислоты, которые конденсируются и образуют крупные мицеллы. Гидролизованный раствор содержит 10-12 % SiO2. Растворы имеют свойства коллоидных растворов. При хранении их вязкость быстро повышается, происходит желатинизация. Пленки высыхают на воздухе, образуя сетку трещин; прочность оболочки получается невысокой. Таким образом, в зависимости от количества воды при гидролизе получают различные по составу, физико-химическим и технологическим свойствам связующие растворы, от которых зависят свойства оболочковых форм и условия их сушки.

Скорость реакции гидролиза невелика, для повышения этой скорости раствор интенсивно перемешивают. Реакция гидролиза - экзотермическая (идет с выделением теплоты). Поэтому cocуды и аппараты, в которых ведут гидролиз, - гидролизеры - охлаждают проточной водой. Кинетика изменения температуры раствора показана на рис. 38, а.

Типы связующих растворов этилсиликата.

При приготовлении суспензии используют три, типичных варианта гидролиза ЭТС, когда количество воды в 2 раза меньше стехиометрической нормы, в 1,1 - 1,4 раза больше и значительно больше.

Соответственно при гидролизе получают растворы трех различных типов: при малом количестве воды - истинный (гомогенный), при среднем - смешанный, при большом - коллоидный раствор кремнекислот (табл).

Растворы 1 типа - истинные (гомогенные), создающие пленки связующего, которые высыхают на воздухе медленно и обратимо, т. е. способны набухать при нанесении следующего слоя суспензии. Раствор легко гидролизуется влажным аммиаком с образованием геля кремнекислоты. При этом твердение оболочки необратимо. Оболочки имеют высокую прочность.

Растворы II типа - смесь гомогенных и коллоидных растворов - создают оболочки, которые упрочняются и высыхают более длительное время, чем при гидролизе большим количеством воды. Для сушки требуется повышенная влажность воздуха, чтобы процессы гидролиза и поликонденсации были завершены. Растворы III типа (коллоидные) позволяют сушить оболочки в сухом воздухе за 2-4 ч. Стойкость гидролизованного раствора невысокая. Газопроницаемость и прочность оболочки ниже, чем в случае приготовления раствора I типа.

Разработана номограмма, по которой можно определить для заданных условий сушки содержание SiO2 в растворе, количество воды для гидролиза, растворителя, а также соляной кислоты.

Свойства оболочковых форм и режимы сушки существенно зависят, таким образом, от количества воды, принятого для гидролиза ЭТС.

Расчет количества составляющих для гидролиза

Исходными данными для расчёта количества материалов, необходимых для гидролиза, являются, во-первых, требуемый тип раствора, т. е. заданная прочность формы; устойчивость раствора; условия сушки формы, а также паспортные данные ЭТС: содержание SIO2 в ЭТС; содержание этоксильных групп С2Н5O; содержание НС1.

При расчете необходимо определить количество воды для гидролиза, растворителя и соляной кислоты.

Количество воды для гидролиза 1 кг рассчитывают по формуле В. А. Озерова и Б. Б. Шприца


Номограмма для расчета количества воды и растворителя для гидролиза этилсиликата

где М - количество молей воды па одну этоксильную группу; а э - содержание этоксильных групп (масс. %) в ЭТС (но сертификату на ЭТС); 250 - коэффициент, учитывающий молекулярные массы этоксильной группы и воды.


Количество молей воды на одну этоксильную группу назначают в зависимости от процентного содержания этоксильных групп в ЭТС и от способа сушки оболочки.

При а э = 604-65 % для воздушной сушки оболочек принимают М = 0,5-0,6, для воздушно-аммиачной сушки М=0,2-0,3. При а э = 65-72 % для воздушной сушки М = 0,6-0,8, для воздушно-аммиачной сушки М = 0,3-0,5.

Количество растворителя (кг) точнее определять по формуле


где SiO2 этс - содержание SiO2 в ЭТС, кг; SiO2 pacтв - требуемое содержание SiO2 в связующем растворе, кг; х в - количество воды, полученное расчетом, кг.

Требуемое количество k, мл, соляной кислоты плотностью 1,19 г/см3 зависит от содержания этоксильных групп в ЭТС, на 1 кг ЭТС надо k=0,114а э.

Для условий гидролиза ЭТС в присутствии органических растворителей определить количество воды, растворителя, соляной кислоты можно по номограмме. Количество растворителя определяют, исходя из условия содержания в растворе требуемого количества SiO2. На горизонтальной оси «SiO2 в ЭТС» находят точку, соответствующую содержанию «SiO2 в ЭТС», от нее проводят вертикальную линию до пересечения с одной из линий «Ацетон». По шкале справа определяют количество ацетона.

Способы гидролиза ЭТС В производстве связующие растворы на основе ЭТС приготовляют, используя следующие способы гидролиза: раздельный, совмещенный, без растворителей.

Рис. 38 Способы гидролиза этилсиликата

При раздельном гидролизе (рис. 38, а) в водоохлаждаемый бак гидролизера наливают в расчетном количестве растворитель r, подкисленную соляной кислотой воду (H2O+HCI) и перемешивают 1-2 мин. После этого, не выключая мешалки, вливают ЭТС. Перемешивание продолжают до тех пор, пока раствор не охладится до температуры 293 К. Затем раствор выдерживают 2-18 ч до окончания процесса гидролиза. Выдержка после перемешивания раствора I группы не влияет на прочность форм. Для повышения прочности форм растворы II группы после перемешивания выдерживают не более 1 -1,5 сут. для завершения процессов гидролиза и поликонденсации.

Выдержка растворов III группы отрицательно влияет на прочность форм.

Приготовленные такими способами гидролизованные растворы ЭТС используют для изготовления суспензии.

Совмещенный способ гидролиза (рис.38,6) заключается в том, что реакция гидролиза и приготовление суспензии совмещены. Для этого в бак гидролизера заливают в расчетном количестве растворитель r подкисленную воду (H2O + HCl), ЭТС и загружают пылевидный кварц (ПК-2) в количестве 2/3 расчетного. Компоненты загружают при непрерывной работе мешалки.

Перемешивают суспензию 40-60 мин при непрерывном охлаждении бака гидролизера проточной водой. Для полного протекания реакции гидролиза мешалка должна иметь частоту вращения не менее 2800 об/мин. Затем контролируют вязкость суспензии и доводят ее до требуемой, производя догрузку пылевидного кварца. Общее количество пылевидного кварца 2,5-3 части по массе на 1 часть раствора. Этим способом можно приготовлять суспензии высокого качества за короткое время, поэтому его наиболее широко используют в массовом производстве.

Гидролиз без органических растворителей (спирта, ацетона, ЭАФ и др.) (рис. 38, б), предложенный В. Н. Ивановым и Г. М. Зарецкой, ведут совмещенным способом.

В водоохлаждаемый бак гидролизера наливают расчетное количество воды, подкисленной соляной и серной кислотами, засыпают пылевидный кварц и перемешивают 0,5-1 мин при частоте вращения мешалки 2800 об/мин, затем заливают расчетное количество ЭТС и перемешивают 40-60 мин. Температура суспензии при перемешивании 300-303 К. Периодически измеряют вязкость. Вязкость суспензии по вискозиметру ВЗ-4 должна быть в пределах 70-100 с. Количество воды должно быть таким, чтобы раствор содержал 14 -16 % SiO2 Соляную кислоту вводят из расчета 0,6 - 0,8 % к связующему, а серную - обычно 0,5 - 0,7 % в зависимости от содержания железа в пылевидном кварце. Поскольку в растворе много свободной воды, суспензия плохо смачивает модели. Чтобы суспензия хорошо покрывала модели, в нее при перемешивании вводят 0,05 - 0,1 % (по массе от жидких составляющих) поверхностно-активного вещества ОП-7 или ОП-10. Это способ перспективный, так как позволяет исключить применение ацетона, спирта и других растворителей.

Приготовление суспензии при раздельном способе гидролиза. После необходимой выдержки в гидролизованный раствор при непрерывном перемешивании всыпают постепенно по частям огнеупорный материал из расчета 2-2,5 части по" массе пылевидного кварца на 1 часть гидролизованного раствора. Засыпав 2/3 по массе огнеупорного материала, проверяют вязкость суспензии, которая должна быть 35-50 с по вискозиметру ВЗ-4. Для получения суспензии необходимой вязкости, оставшийся пылевидный кварц добавляют небольшими порциями, проверяя вязкость суспензии после каждой засыпки. Готовую суспензию выдерживают для удаления воздушных пузырьков, захваченных при вводе пылевидного кварца.

В крупносерийном и массовом производстве для совмещенного гидролиза применяют автоматизированные установки (рис. 39). По трубопроводам (1) в дозаторы (2) вводят жидкие компоненты. В горизонтальную лопастную мешалку (3) непрерывно поступают подкисленная вода и растворитель, а из бункера (8) по вибролотку (7) непрерывно загружается пылевидный кварц, который дозируется по массе устройством (6). После перемешивания пылевидного кварца с водой и растворителем в мешалке (3) массу заливают последовательно в одну из пропеллерных мешалок (4), в которую по трубопроводу подается ЭТС. В мешалках проводится гидролиз ЭТС и приготовляется совмещенным способом суспензия. Готовая суспензия выдается через трубопровод (5).

Рис. 39. Схема автоматической установки

Связующий раствор готовят, разбавляя ЭТС-50 ацетоном до содержания в нем SiO2 10 %. Суспензию готовят в мешалках с частотой вращения -n=3000 об/мин. Пылевидным кварц вводят в суспензию в соотношении 70:30 твердой и жидкой фазы (по массе), вязкость суспензии должна быть 30 с по ВЗ-4. Каждый слон покрытия отвердевает за 5 мин в среде воздуха с 10 % аммиака.

Использование ЭТС-50 исключает операцию гидролиза, процесс формообразования становится более стабильным, сокращается длительность цикла изготовления оболочковых форм.

Кремнезоли - коллоидные дисперсии кремнезема в воде, стабилизированные гидроокислами щелочных, металлов или алюминия. Их используют как упрочняющие добавки в этилсиликатные связующие растворы. В золе содержится до 50 % SiO2, размер коллоидных частиц 5-20 мкм. Это позволяет для достижения требуемой прочности формы снизить в 2 раза расход ЭТС. По опыту ПО ЗИЛ суспензию готовят совмещенным способом.

. Технология обработки металлов давлением

Развитие народного хозяйства страны в значительной мере определяется ростом объема производства металлов, расширением сортамента изделий из металлов и сплавов и повышением их качественных показателей, что в значительной мере зависит от условий пластической обработки. Знание закономерностей обработки металлов давлением помогает выбирать наиболее оптимальные режимы технологических процессов, требуемое основное и вспомогательное оборудование и технически грамотно его эксплуатировать.

Металлы наряду со способностью деформироваться обладают также высокими прочностью и вязкостью, хорошими тепло- и электропроводностью. При сплавлении металлов в зависимости от свойств составляющих компонентов создаются материалы с высокой жаростойкостью и кислотоупорностью, магнитными и другими полезными свойствами.

Использование металлов человеком началось в глубокой древности (более пяти тысячелетий до н. э.). Вначале находили применение цветные металлы (медь, сплавы меди, золото, серебро, олово, свинец и др.), позднее начали применять черные - железо и сплавы на его основе.

Длительное время производство металлов носило примитивный характер и по объему было весьма незначительным. Однако в конце XIX в. мировая выплавка стали резко возросла с 0,5 млн. т в 1870 г. до 28 млн. т в 1900 г. Еще в большем объеме растет металлургическая промышленность в XX столетии. Наряду с увеличением выплавки стали появилась необходимость организовать в больших масштабах получение меди, цинка, вольфрама, молибдена, алюминия, магния, титана, бериллия, лития и других металлов.

Металлургическое производство подразделяется на две основные стадии. В первой получают металл заданного химического состава из исходных материалов. Во второй стадии металлу в пластическом состоянии придают ту или иную необходимую форму при практически неизменном химическом составе обрабатываемого материала.

Способность металлов принимать значительную пластическую деформацию в горячем и холодном состоянии широко используется в технике. При этом изменение формы тела осуществляется преимущественно с помощью давящего на металл инструмента. Поэтому полученное изделие таким способом называют обработкой металлов давлением или пластической обработкой.

Обработка металлов давлением представляет собой важный технологический процесс металлургического производства. При этом обеспечивается не только придание слитку или заготовке необходимой формы и размеров, но совместно с другими видами обработки существенно улучшаются механические и другие свойства металлов.

Прокатка, волочение, прессование, ковка, штамповка представляют собой различные виды обработки металлов давлением в пластическом состоянии.

Среди различных методов пластической обработки прокатка занимает особое положение, поскольку данным способом производят изделия, пригодные для непосредственного (в состоянии поставки) использования в строительстве и машиностроении (шпунт, рельсы, профили сельскохозяйственного машиностроения и пр.). Прокаткой получают также разнообразные виды заготовок, которые являются исходным материалом для других способов обработки. Так, горячекатаная и холоднокатаная листовая сталь, полосы и ленты в больших количествах идут для листовой штамповки. При ковке в штампах в качестве исходного продукта используют преимущественно катаную заготовку. Исходным материалом при волочении является катанка, получаемая на проволочных станах. Огромное значение прокатного производства в народном хозяйстве подтверждается ежегодным увеличением выпуска проката. Через валки прокатных станов проходит 7580% всего выплавляемого металла.

Развитие прокатного производства основывается на применении принципа непрерывности самого процесса и всех технологических операций (прокатка, термическая обработка, отделка и пр.). В данном случае большую роль играет внедрение достижений вычислительной техники и автоматизации на этой основе технологических процессов.

Наряду с непрерывным ростом прокатного производства расширяется сортамент, увеличивается выпуск эффективных металлоизделий, таких, как холоднокатаный лист, гнутые профили, прокат с упрочняющей термической обработкой, высокопрочные трубы, в том числе с защитными покрытиями, расширяется выпуск медной катанки, алюминиевой ленты, фольги и др.

Широкое развитие получает комплекс мероприятии по улучшению потребительских свойств проката: прочности, пластичности, жаростойкости и хладостойкости, надежности и долговечности и других путем легирования, термической обработки, лужения, цинкования, нанесения неорганических и органических покрытий и пр.

Увеличение производства изделий, получаемых волочением, достигается усовершенствованием отдельных операций изготовления и всего технологического процесса, применением скоростного автоматизированного оборудования, выбором соответствующего волочильного инструмента и методов подвода и качества смазки.

Огромное развитие получают процессы прессования, позволяющие изготовлять профили практически с неограниченными возможностями по форме их сечения, особенно при обработке труднодеформируемых металлов и сплавов.

Область применения ковки и штамповки в современном массовом и крупносерийном производстве непрерывно расширяется и имеет тенденцию к внедрению специальных инструментов и штампов, механизации кузнечных и транспортных операций, специализации кузнечных цехов на выпуск однотипных изделий, что дает возможность осуществлять автоматизацию процессов, создавать поточные и автоматические линии производства поковок в сочетании с автоматизацией внутрицехового транспорта. В кузнечном и штамповочном производстве продолжают совершенствоваться способы нагрева металла путем применения электронагрева - индукционного и контактного.

Термомеханическая обработка металла

Успехи машиностроения, строительства и других отраслей промышленности в значительной мере определяются достижениями в области металлургического производства. Повышение прочности в сочетании с достаточной пластичностью металлов и сплавов позволяют уменьшить массу, а, следовательно, и стоимость сооружений и машин при их эксплуатации и во многих случаях при изготовлении. Поэтому непрерывно стремятся улучшить механические характеристики металла, как в состоянии поставки, так и при последующей обработке.

Известно, что пластическое деформирование и термическая обработка меняют свойства металлов. Объединение этих операций, максимальное их сближение и создание единого процесса термомеханической обработки обеспечивают заметное повышение механических характеристик, что позволяет экономить до 15 - 40% металла и более или увеличить долговечность изделий.

Длительное время пластическую обработку рассматривали в основном как операцию формирования, хотя известно, что 10 - 20% энергии, затрачиваемой на деформацию, идет на увеличение внутренней энергии дефектов кристаллической решетки. Перед окончательной термической обработкой от этой накопленной энергии освобождались и только после этого выполняли термические операции, приводившие металл к метастабильному состоянию с высокой прочностью и вязкостью. Между тем совмещение пластической деформации и фазовых (структурных) превращений или их сочетание в определенной последовательности вызывает повышение плотности дислокации, изменяет наличие вакансий и дефектов упаковки и может быть использовано для создания оптимальной структуры металла и формирования важнейших свойств - прочности и вязкости. Это совмещение пластической деформации и термического воздействия, целью которого является формирование требуемой структуры обрабатываемого тела, называют термомеханической обработкой (ТМО).

При ТМО оба процесса - пластическая деформация и термическая обработка -- могут совмещаться в одной технологической операции, но могут проводиться с разрывом по времени. Однако фазовые превращения при этом должны выполняться в условиях повышенной плотности дефектов решетки, возникающих благодаря пластической деформации металла. В условиях ТМО сочетание пластической и термической обработок для разных материалов определяется исходным структурным состоянием, чувствительностью к этим воздействиям и последствиям воздействия.

ТМО стали выполняется главным образом по трем схемам: высокотемпературная (ВТМО), низкотемпературная (НТМО) и предварительная термомеханическая обработка (ПТМО).

ВТМО - термообработка с деформационного нагрева с последующим низким отпуском. Контролируемая прокатка, являясь разновидностью ВТМО, представляет собой эффективный способ повышения прочности, пластичности и вязкости низколегированных сталей. Основная идея этого вида обработки заключается в подборе режимов прокатки и охлаждения после прокатки, что обеспечивает получение мелкого и однородного зерна в готовом прокате. Наиболее успешно это достигается понижением температуры прокатки в последних трех - пяти проходах до 780 - 850°С при увеличении степени деформации до 15 - 20% и выше за проход.

НТМО заключается в нагреве стали до 1000 - 1100°С, быстром охлаждении до температуры метастабильного состояния аустенита (400 - 600°С) и высокой степени (до 90% и выше) деформации при этой температуре. После этого выполняется закалка на мартенсит и отпуск при 100 - 400°С. Этот способ применим к легированным сталям.

ПТМО характерна простотой выполнения технологического процесса: холодная пластическая деформация (повышает плотность дислокаций), дорекристаллизационный нагрев (обеспечивает полигонизацию структуры феррита), закалка со скоростного нагрева, отпуск, При этом перерыв между холодной деформацией и нагревом под закалку не регламентируется, что значительно упрощает технологический процесс ПТМО.

Операция ускоренного охлаждения после прокатки или другого вида пластической деформации также представляет собой термомеханическую обработку. Поэтому эта операция приобретает в ряде случаев важное значение как с точки зрения улучшения структуры металла, а, следовательно, и механических свойств, так и влияния на понижение окалинообразования и обезуглероживания.

Прокатка металлов.

Прокатка металлов является таким видом пластической обработки, когда исходная заготовка обжимается вращающимися валками прокатного стана в целях уменьшения поперечного сечения заготовки и придания ей заданной формы. Существует три основных способа прокатки: продольная, поперечная, поперечно-винтовая (или косая).

При продольной прокатке деформирование заготовки осуществляется между вращающимися в разные стороны валками. Оси прокатных валков и обрабатываемой заготовки параллельны (или пересекаются под небольшим углом). Оба валка вращаются в одном направлении, а заготовка круглого сечения - в противоположном. В процессе поперечной прокатки обрабатываемая заготовка удерживается в валках с помощью специального приспособления. Обжатие заготовки по диаметру и придание ей требуемой формы сечения обеспечиваются соответствующей профилировкой валков и изменением расстояния между ними. Данным способом производят изделия, представляющие собой тела вращения (шары, оси, шестерни и пр.).

Поперечно-винтовая или косая прокатка выполняется во вращающихся в одном направлении валках, установленных в прокатной клети под некоторым углом друг к другу. Станы косой прокатки используют при производстве труб, главным образом для прошивки слитка или заготовки в гильзу. В момент соприкосновения металла с вращающимися валками, имеющими наклон к оси обрабатываемой заготовки, возникают силы, направленные вдоль оси заготовки, и силы, направленные по касательной к ее поперечному сечению. Совместное действие этих сил обеспечивает вращение, втягивание обрабатываемой заготовки в суживающуюся щель и деформирование.

Металлургическая промышленность России выпускает разнообразные виды проката, отличающиеся по форме поперечного сечения и размерам. Все эти изделия, перечень которых называется сортаментом, как правило, стандартизованы.

Хотя сортамент прокатных изделий весьма обширен, все же представляется возможным весь прокат разбить на следующие основные четыре группы: сортовой, листовой, трубы, специальные виды проката (бандажи, колеса, периодические профили и пр.). Наиболее разнообразной является группа сортового проката, который подразделяется на простые и фасонные профили. Прокат в виде круга, квадрата, полос плоского сечения относится к простым профилям. Прокат сложного поперечного сечения относится к фасонным профилям. В зависимости от назначения фасонные профили подразделяются на профили общего или массового потребления (угловой профиль, швеллеры, двутавровые балки, шестигранные профили и др.), и профили специального назначения (рельсы железнодорожные широкой и узкой колеи, рельсы трамвайные, профили сельскохозяйственного машиностроения, электропромышленности, нефтяной промышленности и др.). В прокатных цехах производят более 1600 размеров простых профилей, более 1100 фасонных профилей общего потребления и примерно 1350 размеров профилей специального назначения.

Весь сортовой прокат подразделяется на четыре группы: сталь крупносортная, сред несортная, мелкосортная и катанка диаметром от 5,5 до 9 мм.

В зависимости от способа производства и толщины листовой прокат подразделяется на три основных группы: горячекатаные толстые листы толщиной 4 мм и более, горячекатаные тонкие листы толщиной менее 4 мм и холоднокатаные листы всех размеров. Листовой прокат из стали и цветных металлов используется в самых разнообразных отраслях промышленности. Поэтому листовую сталь часто подразделяют по назначению, так, например, свариваемая корпусная сталь судостроения (ГОСТ 5521-76), горячекатаная толстолистовая конструкционная качественная углеродистая сталь толщиной от 4 до 14мм и низколегированная сталь для котлостроения и сосудов, работающих под давлением (ГОСТ 5520-69), рулонная холоднокатаная сталь толщиной 0,02-4мм и др.

В соответствии с ГОСТом трубы, изготовляемые на прокатных станах, подразделяются на две группы: бесшовные и сварные (со швом). Помимо круглых труб производят также профильные трубы и с переменными размерами сечения по длине. Объем производства труб увеличивается с каждым годом. Наиболее заметно растет производство сварных и холоднокатаных труб.

Развитие машиностроения, создание новых отраслей промышленности повышают требования к качеству металла, вызывают необходимость расширения сортамента и увеличения производства дефицитных видов проката. Вместе с тем растет потребность расширения производства экономичных профилей. К таким видам проката можно отнести тонкостенные и широкополочные балки, тонкостенные угловые профили, швеллеры, гнутые профили и пр. Для серийного машиностроения имеет большое значение выпуск периодических профилей, использование которых обеспечивает заметную экономию металла (до 20 - 30%), повышает производительность штамповки.

Длительное время получение готового проката выполнялось по технологической схеме «слиток - готовый прокат». В этих условиях получали слиток небольшой массы и выбирался он с таким расчетом, чтобы непосредственно из него можно было получить необходимое изделие за один нагрев. Однако по мере развития машиностроения и металлургии, главным образом высокопроизводительных способов получения стали, возникла необходимость разливать сталь в слитки значительной массы-6 - 10 т и более. Получение готового проката из такого слитка за один нагрев не всегда представляется возможным. По этой причине начали строить обжимные станы, задача которых состояла в обработке слитка в заготовку. Данное обстоятельство привело к новой технологической схеме: слиток - полупродукт (заготовка) - готовый прокат.

Прокатное производство металлургического завода в соответствии с этой технологической схемой включает систему станов, обеспечивающих получение полупродукта в виде слябов, блюмов и других заготовок, и систему станов, которые выпускают готовый прокат в виде сортовой стали, горяче и холоднокатаных листов, лент, труб и пр.. Поэтому прокатные цехи, как правило, имеют в своем составе: обжимные (блюминги, слябинги) и заготовочные станы, являющиеся основными агрегатами, связывающими сталеплавильные цехи и прокатные станы, выпускающие готовый прокат; сортовые станы (рельсобалочные, крупно-, средне-, мелкосортные и проволочные); листопрокатные станы; трубные станы и др.

Наряду с такой широко распространенной технологической схемой наблюдается переход к схеме «литая заготовка - готовый прокат». Этому способствует успешное освоение разливки стали в заготовки квадратного и прямоугольного сечений, что имело распространение лишь в цветной металлургии. Непрерывное литье стальных заготовок длительное время не применялось из-за значительных трудностей выполнения технологического процесса самой разливки. Однако этот процесс обеспечивает получение химически более однородной плотной заготовки, что резко повышает выход годного. Например, на слябах спокойной углеродистой стали выход годного выше на 20%, чем при разливке в изложницы. Вместе с тем исключается необходимость иметь отделение подготовки изложниц и поддонов, а также стрипперное отделение. Применение непрерывной разливки стали снижает себестоимость металлургического передела, так как при этом устраняется необходимость в дорогостоящем оборудовании обжимных цехов, исключаются расходы на содержание обслуживающего и административного персонала. Установлено, что себестоимость проката в этих условиях снижается на 8 - 10% при улучшении во многих случаях механических свойств и других характеристик стали.

Непрерывным литьем стали изготовляют слябы сечением до 300х2030, 300х2320 мм, квадратные заготовки сечением до 320х320 мм, а также круглые полые трубные заготовки. Технологическая схема получения того или иного вида готового проката предусматривает включение всех необходимых последовательных операций обработки, начиная с подготовки слитка или заготовки для нагрева и кончая завершающей отделкой и определением качества готового проката. Вместе с тем следует иметь в виду, что технология изготовления даже одного и того же вида изделия может в какой-то мере отличаться, если производство его осуществляется на другом прокатном стане, хотя основные операции изготовления имеют много общего.

К основным технологическим операциям любой технологической схемы производства проката следует отнести: подготовку исходных материалов; нагрев перед прокаткой (кроме холодной прокатки, когда, однако, часто требуется другая операция - соответствующая термическая обработка); горячую и холодную прокатку; калибровку и производство гнутых профилей; отделку с операциями резки, правки, термической обработки, удаления поверхностных дефектов, травления и пр.

Волочение металла.

Волочение металла - это протягивание изделия круглого или фасонного профиля через отверстие волочильного очка (волоку), площадь выходного сечения которого меньше площади сечения исходного изделия. Волочение выполняется тяговым усилием, приложенным к переднему концу обрабатываемой заготовки. Данным способом получают проволоку всех видов, прутки с высокой точностью поперечных размеров и трубы разнообразных сечений.

Обработка металла волочением находит широкое применение в металлургической, кабельной и машиностроительной промышленности. Волочением получают проволоку с минимальным диаметром 0,002мм, прутки диаметром до 100мм, причем не только круглого сечения, трубы главным образом небольшого диаметра и с тонкой стенкой. Волочением обрабатывают стали разнообразного химического состава, прецизионные сплавы, а также практически все цветные металлы (золото, серебро, медь, алюминий, и др.) и их сплавы. Изделия, полученные волочением, обладают высоким качеством поверхности и высокой точностью размеров поперечного сечения. Если изделию требуется придать в основном эти характеристики, то такой вид обработки называют калибровкой.

Волочение чаще всего выполняют при комнатной температуре, когда пластическую деформацию большинства металлов сопровождает наклеп. Это свойство в совокупности с термической обработкой, используют для повышения некоторых механических характеристик металла.

Так, например, арматурная проволока диаметром 3 - 12 мм из углеродистой конструкционной, стали (0,70 - 0,90%С) при производстве ее волочением обеспечивает предел прочности 1400 - 1900 МПа и предел текучести 1200 - 1500 МПа.

Волочение выгодно отличается от механической обработки металла резанием (строганием), фрезерованием, обточкой и пр., так как при этом отсутствуют отходы металла в виде стружки, а сам процесс заметно производительнее и менее трудоемок.

Волочением можно изготовлять полые и сплошные изделия часто сложного поперечного сечения, производство которых другими способами не всегда представляется возможным (например, тонкие изделия, прутки значительной длины).

При волочении ряда профилей (квадратный, треугольный, шестиугольный и др.) используют составные волоки, которые отличаются высокой универсальностью, так как в одной и той же волоке, меняя профиль отверстия соответствующей перестановкой отдельных пластин, можно получать различные размеры профиля. Кроме составных волок при производстве прутков и главным образом труб применяют шариковые и роликовые волоки. При получении профилей сложной формы применяют дисковые волоки, в которых рабочие поверхности волочильного канала образуются поверхностями свободно вращающихся дисков (неприводных валков-роликов).

В качестве исходного материала для волочения применяют катаную и прессованную заготовки. При производстве алюминиевой, медной и другой проволоки в качестве исходной заготовки используют катанку, получаемую непосредственно из плавильной печи через кристаллизатор и непрерывный прокатный стан. Независимо от способа получения исходная заготовка перед волочением проходит тщательную предварительную подготовку, которая заключается в проведении того или иного вида термической обработки, удалении окалины и подготовке поверхности для закрепления и удержания на ней смазки в процессе волочения. Эти предварительные операции обеспечивают нормальное выполнение пластической деформации в волочильном отверстии, способствуют получению высокого качества поверхности изделия, уменьшают усилие и энергию на волочение и снижают износ волочильного инструмента.

Термическая обработка металла перед волочением снимает наклеп, придает металлу необходимые пластические свойства, обеспечивает получение наиболее оптимальной структуры. Поэтому термическую обработку выбирают такой, чтобы в сочетании с пластической деформацией она обеспечивала максимальные механические и другие характеристики обрабатываемого изделия. В зависимости от химического состава металла и назначения продукта волочения применяют отжиг, нормализацию, закалку, патентирование. Патентирование применяют для углеродистых сталей. Процесс патентирования состоит в нагреве металла выше критической точки и охлаждении его в среде с температурой 450 - 500°С. В качестве такой закалочной среды используют расплавленный свинец или соли.

В процессе получения готового изделия волочением термическую обработку для снятия наклепа и улучшения структуры металла можно выполнять несколько раз в зависимости от размеров исходного и конечного продуктов обработки и окончательных его качественных показателей. Готовый продукт тоже можно подвергать окончательной термической обработке в целях придания металлу требуемых механических свойств и структуры.

При производстве проволоки и прутков волочением большое внимание уделяют подготовке поверхности продукта обработки перед волочением. Удаление окалины в калибровочных и волочильных цехах производят механическим, химическим и электрохимическим способами, а также комбинациями этих способов. При механической очистке поверхности от окалины проволоку или пруток подвергают периодическим перегибам в разных плоскостях между роликами, после чего металл поступает на завершающую очистку стальными щетками. Такой способ экономически целесообразен, пригоден для очистки поверхности, главным образом, из углеродистой стали, окалина которой при перегибах сравнительно легко разрушается и опадает. Из механических способов, обеспечивающих достаточно успешную очистку поверхности металла, находит применение дробеструйная обработка. Под действием ударов дроби из отбеленного чугуна, стального литья или высокопрочной мелко нарезанной стальной проволоки окалина на поверхности обрабатываемого изделия разрыхляется и удаляется. Этот способ очистки поверхности металла от окалины во многих случаях не требует дополнительного травления и наиболее часто применяется в калибровочных цехах.

Химические способы удаления окалины получили широкое распространение благодаря своей надежности, хотя они менее экономичны по сравнению с механическими способами. Травление углеродистых и ряда легированных сталей производят в серной или соляной кислотах. Высоколегированные стали (кислотоупорные, нержавеющие и др.) травят в смесях кислот (серная и соляная, серная и азотная и др.). Медь и ее сплавы травят в 5 - 10%-ной серной кислоте при температуре 30 - 60°С. Травление металла в кислотах для очистки от окалины обычно производят с добавлением в ванну присадок (ингибиторов травления), которые значительно уменьшают скорость растворения основного металла, но не влияют на скорость растворения окалины, что предотвращает перетравливание. Кроме того, присадки снижают диффузию водорода (Н2) в металл, уменьшают загазованность травильных отделений, улучшают условия труда.

Непосредственно после травления металл тщательно промывают для удаления остатков раствора кислоты, солей железа, шлама, травильной присадки, грязи. Промывку производят немедленно после травления, так как задержка ведет к высыханию травильной жидкости и выделению труднорастворимых солей железа.

Обычно промывку ведут сначала в горячей воде, что обеспечивает интенсивное растворение солей, а затем для лучшего удаления шлама - в струе холодной воды из шланга под давлением около 0,7 МПа.

После удаления окалины наносят подсмазочный слой, который должен хорошо удерживать смазку при волочении и способствовать предохранению налипания металла на рабочую поверхность волоки.

После травления, промывки, нанесения подсмазочного слоя металл сушат в специальных камерах при циркуляции воздуха температурой 300 - 350°С. Сушка удаляет влагу, а также устраняет возможную травильную (водородную) хрупкость, которая может возникнуть оттого, что часть водорода, образующегося при травлении, диффундирует в металл и вызывает ухудшение его пластических свойств.

Все операции по подготовке поверхности металла к волочению выполняют в специальном изолированном помещении. Для травления и обработки поверхности проволоки и прутков существуют травильные машины периодического и непрерывного действия. Обработка в машинах непрерывного действия обеспечивает быстрое и равномерное травление изделий любых сечений. Этот способ является наиболее прогрессивным, так как в непрерывном процессе можно сочетать термическую обработку, удаление окалины и нанесение подсмазочного слоя. Такая поточная обработка обеспечивает полную автоматизацию процесса, повышает качество металла, снижает трудоемкость операций.

После процесса волочения прутки помимо термической обработки во многих случаях правят, шлифуют, полируют и в зависимости от назначения наносят на них защитные покрытия, например, цинкованием, лужением, хромированием, кадмированием, алитированием, лакировкой и др. Правку обычно выполняют на роликоправильных машинах, которые устанавливают или в потоке производства, или отдельно. Шлифовка поверхности калиброванных прутков на глубину до 0,15 - 0,30мм используется для удаления поверхностных дефектов, снятия обезуглероженного слоя, придания точных размеров поперечному сечению прутка и др.

Для регламентации технологических операций составляются технологические карты, в которых расписан весь технологический процесс по подготовке металла к волочению, маршрут волочения, способы начальной, промежуточной и окончательной термических обработок, операций отделки и пр. Так как маршрут волочения представляет собой последовательность изменения размеров поперечного сечения исходного материала на волочильном стане, а на одной установке обычно получают изделия с различными размерами поперечного сечения, то для каждого из них должен быть свой маршрут волочения.

Определяя маршрут обработки металла на станах многократного волочения, необходимо учитывать кинематику стана, т. е. вытяжки должны согласовываться с частотой вращения и размерами диаметра каждого барабана. Маршрут, принятый без учета кинематики стана, особенно для станов, работающих со скольжением не только затрудняет процесс волочения, но и делает его невыполнимым. Лишь на станах с автоматической регулировкой скоростей можно допускать некоторое несоответствие принятых вытяжек и заданных скоростей.

Прессование металла

Прессование металла - это вытеснение с помощью пуансона металла исходной заготовки (чаще всего цилиндрической формы), помещенной в контейнер, через отверстие матрицы.

Этот способ пластической обработки находит широкое применение при деформировании, как в горячем, так и в холодном состоянии металлов, имеющих не только высокую податливость, но и обладающих значительной природной жесткостью, а также в одинаковой мере применим для обработки металлических порошков и неметаллических материалов (пластмасс и др.).

Прессованием изготовляют прутки диаметром З - 250 мм, трубы диаметром 20...400 мм при толщине стенки 1,5 - 12 мм, полые профили с несколькими каналами сложного сечения, с наружными и внутренними ребрами, разнообразные профили с постоянным и изменяющимся (плавно или ступенчато) сечением по длине. Профили для изготовления деталей машин, несущих конструкций и других изделий, получаемые прессованием, часто оказываются более экономичными, чем изготовляемые прокаткой, штамповкой или отливкой с последующей механической обработкой. Кроме того, прессованием получают изделия весьма сложной конфигурации, что исключается при других способах пластической обработки.

К основным преимуществам прессования металла относятся: возможность успешной пластической обработки с высокими вытяжками, в том числе малопластичных металлов и сплавов; возможность получения практически любого поперечного сечения изделия, что при обработке металла другими способами не всегда удается; получение широкого сортамента изделий на одном и том же прессовом оборудовании с заменой только матрицы; производство изделий с высокими качеством поверхности и точностью размеров поперечного сечения, что во многих случаях превышает принятую точность при пластической обработке металла другими способами (например, при прокатке). К недостаткам получения изделий прессованием следует отнести: повышенный расход металла на единицу, изделия из-за существенных потерь в виде пресс-остатка; появление в некоторых случаях заметной неравномерности механических и других свойств по длине и поперечному сечению изделия; сравнительно высокую стоимость прессового инструмента.

Основным признаком разновидностей процесса прессования является наличие или отсутствие поступательного перемещения металла относительно стенок приемника (контейнера), за исключением небольших участков вблизи матрицы, называемых мертвыми зонами, где перемещение металла отсутствует. Наряду с наиболее распространенным методом прессования, с прямым истечением, которое используется для получения сплошных и полых изделий, широкое применение получил обратный (обращенный) метод, а также другие схемы истечения металла. Каждый из этих методов имеет определенные преимущества. Так, например, при боковом истечении металла помимо удобств приема пресс-изделия обеспечивается минимальная разница механических свойств изделия в поперечном и продольном направлениях.

Процесс прессования выполняется в условиях неравномерного всестороннего сжатия металла, что положительно сказывается на увеличении его пластичности. Поэтому прессованием можно обрабатывать металлы и сплавы с низкой природной пластичностью. Однако трехосное сжатие вызывает необходимость значительных усилий при обработке. Поэтому прессование требует повышенного расхода энергии на единицу объема деформируемого тела.

Как отмечалось, при прессовании в местах перехода контейнера в матрицу появляются так называемые мертвые углы, т. е. такие зоны, которые испытывают лишь упругую деформацию. Течение металла в мертвых зонах отсутствует, пока размер пресс-остатка не будет достаточно мал. Эти мертвые зоны при прессовании прутков большой длины в известной мере играют положительную роль, так как оказывают фильтрующее воздействие: в мертвых углах задерживаются различные загрязнения, что предохраняет от вдавливания посторонних включений в поверхностные слои изделия. При неправильно выбранном размере пресс-остатка загрязнения мертвых углов могут попасть в изделие и вызвать заметное понижение его качеств. Все это необходимо учитывать при разработке технологического процесса прессования.

Практикой установлено, что при нормальных условиях прессования минимальная высота пресс-остатка составляет 0,10 - 0,30 диаметра исходной заготовки.

Силовые условия прессования определяются свойствами деформируемого металла, температурным режимом, размерами заготовки, скоростью и степенью деформации, значением контактного трения, геометрией инструмента и др. К сожалению, еще не разработана методика, позволяющая связать все эти факторы в математическую зависимость для определения усилий прессования. Поэтому приходится пользоваться методами расчета, лишь приближенно отражающими условия деформации.

Ковка и штамповка металла.

Ковка и штамповка металла включает такие процессы получения изделий, как ковка, объемная горячая штамповка и штамповка листового и пруткового материала в холодном состоянии.

При ковке деформирование заготовки осуществляется с помощью универсального подкладного инструмента или бойков. Бойки чаще всего бывают плоскими, однако применяют вырезные и закругленные бойки. Нижний боек обычно неподвижен, верхний совершает возвратно-поступательное движение. В результате многократного и непрерывного воздействия инструмента заготовка постепенно приобретает необходимую форму и размеры.

При объемной штамповке придание заготовке заданной формы и размеров осуществляется путем заполнения металлом рабочей плоскости штампа.

Листовая штамповка является таким видом пластической обработки металла, когда для получения деталей типа колпачков, втулок и других в качестве исходного материала используют лист или ленту. При этом обработка выполняется без значительного изменения толщины заготовки.

Данными способами получают весьма разнообразные по форме и размерам изделия из металла, пластмасс и других материалов с различными степенью точности размеров, механическими и другими характеристиками и качеством поверхности. Поэтому ковочно-штамповочное производство находит широкое применение в машиностроении и приборостроении, в производстве предметов народного потребления и других отраслях народного хозяйства. Получение изделий ковкой и штамповкой позволяет максимально приблизить исходную форму заготовки к форме и размерам готовой детали и тем самым уменьшить или полностью исключить дорогостоящие операции с потерей металла в стружку.

Высокая производительность процессов обработки металлов давлением, сравнительно низкая их энергоемкость, а также незначительные потери металла при производстве изделий выгодно отличают их по сравнению, например, с обработкой металла резанием, когда требуемую форму изделия получают удалением значительной части заготовки в стружку. Существенным достоинством пластической обработки является значительное улучшение свойств металла в процессе деформирования.

Динамичный и пропорциональный рост черной и цветной металлургии, производство изделий из металлов и сплавов пластической обработкой основываются на дальнейшем развитии теории обработки металлов давлением, являющейся научной базой разработки технологических операций получения изделий из металлов и сплавов. Теория пластической обработки металлов позволяет оценить экономическую целесообразность принятого способа деформации, выявить влияние условий обработки на свойства получаемых изделий, определить силовые и энергетические параметры процесса и указать пути их рационального изменения, дает возможность управлять процессом обработки с точки зрения улучшения способности металлов пластически деформироваться.

Знание закономерностей обработки металлов давлением помогает выбирать наиболее оптимальные режимы технологических процессов, требуемое основное и вспомогательное оборудование и технически грамотно его эксплуатировать.

Значительно возрастает производство изделий листовой штамповкой, особенно в сочетании со сваркой, клепкой, закаткой, что при сокращении трудоемкости сборочных работ снижает массу машин без уменьшения их прочности. Получают дальнейшее развитие холодная высадка, холодная объемная штамповка, калибровка, выдавливание и др.

. Технология обработки металлов резаньем

Обработка резанием занимает большое место в машиностроении. Действительно, для того чтобы металлическая заготовка приобрела требуемую форму и размеры, чтобы ее поверхность была определенного качества,- одним словом, чтобы заготовка стала деталью, ее нужно обработать - снять лишний металл и отшлифовать.

Делают это при помощи различного инструмента на металлорежущих станках. С их помощью обрабатывают и огромные детали гигантских машин (например, роторы гидротурбин с диаметром рабочего колеса свыше 9м, гребные валы судов длиной до 30 м), и детали, которые без увеличительного стекла не рассмотришь. Резанием выполняют и предварительные - обдирочные и окончательные - финишные операции. Финишные операции называют тонкой или чистовой обработкой. Высокое качество поверхностей (особенно трущихся) имеет большое значение: от этого зависит долговечность изделия. Часто финишные операции приходится выполнять с большой точностью - до долей микрометра. Чтобы представить себе такой малый размер, достаточно сказать, что средняя толщина человеческого волоса -50 мкм! Основы теории резания металлов были заложены в конце XIX - начале XX в. Главный вопрос теории резания: с какой скоростью станок должен снимать стружку, чтобы стойкость резца была достаточной? Это очень важно: при больших скоростях резания резец нагревается, размягчается и может совсем выйти из строя. Чтобы этого не случилось, резец надо охлаждать. Выбор подходящего способа охлаждения также одна из важнейших задач науки о резании. Но и охлаждение помогает не всегда, а иногда даже вредит: от нагрева и охлаждения металл растрескивается. Следовательно, выбирая наилучший режим обработки детали, теории резания приходится учитывать и свойства материала изделия, и качество, форму и размеры инструмента, и условия резания, и требования к качеству поверхности и т. д. Далеко не все здесь поддается расчетам. Поэтому большая роль в науке о резании металла принадлежит, конечно, эксперименту.

Изучением теории резания металлов в нашей стране занимается специальный научный институт Экспериментальный научно ьисследовательский институт металлорежущих станков (ЭНИМС).

Типы металлорежущих станков. Нет почти ни одного завода, где не работали бы металлорежущие станки - эти замечательные помощники человека. Семья их велика и разнообразна. Тип металлорежущего станка определяется инструментом и схемой резания. Самый распространенный инструмент - резец. Им выполняют любую операцию резания. Можно сказать, что другие металлорежущие инструменты - это либо результат усовершенствования резца, либо сочетание нескольких различных резцов. Для резца наиболее характерны 2 способа резания: точение - при этом заготовка вращается, а резец поступательно движется вдоль ее оси и строгание - резец или заготовка движется поступательно. По первой схеме работают токарные станки, по второй - строгальные. Типичный инструмент для обработки отверстий -сверло. При сверлении заготовка обычно неподвижна, а сверло вращается и в то же время движется поступательно, углубляясь в металл. Так работает сверлильный станок.

Широко и разносторонне применяется фреза. Это диск с несколькими расположенными по окружности резцами. Обычно фрезой обрабатывают плоскости. При этом ей придают вращательное движение, а заготовке - поступательное. Фрезеруют детали на фрезерном станке.

Есть шлифовальные станки. На них деталь обрабатывает шлифовальный круг.

При этом инструмент вращается, а заготовка одновременно и вращается и движется (либо только движется) поступательно.

Перечисленные выше типы станков - это как бы "родоначальники" основных групп металлорежущих машин. У любого из них немало "родственников", и каждый занят своим особым делом. Познакомимся с ними на примере токарного станка. Для этого более подробно разберем его устройство.

Основанием станка служит станина. Обрабатываемое изделие зажимают либо между центрами передней и задней бабок (два приспособления, установленных по концам станины), либо в патроне, который навертывается на шпиндель (вал) передней бабки. Резец укрепляют в суппорте. В передней бабке находится коробка скоростей, напоминающая автомобильную. С ее помощью изделию придают нужную скорость вращения.

Заготовка обычно неподвижна, а сверло и вращается, и движется поступательно, углубляясь в металл. С помощью коробки скоростей токарного станка изделию, закрепленному в патроне, который навертывается на шпиндель (вал) передней бабки, придают нужную скорость вращения.

На станке есть еще ходовой валик. Он получает вращение от коробки скоростей через коробку передач и вызывает перемещение суппорта, а вместе с ним и резца. Если помимо ходового валика устанавливают ходовой винт, то станок превращается в токарно-винторезный - он может нарезать резьбу.

Вот мы и познакомились с первым "родственником" токарного станка. А вот еще один - токарно-револъверный. У него вместо задней бабки установлена револьверная (поворотная) головка. В гнезда револьверной головки (обычно их 6) вставляют различные инструменты. С их помощью на станке, не прекращая вращения шпинделя, выполняют различные операции.

Для токарной обработки коротких изделий больших диаметров применяют лоботокарный и карусельпо-токарный станки. Существует еще много разновидностей токарных станков. Столь же богаты различными "талантами" и другие типы металлорежущих станков - сверлильные, фрезерные, шлифовальные.

Основное, над чем работали и работают конструкторы, совершенствуя обработку резанием,- это повышение производительности обработки.

Изобретатели неустанно ищут материалы, повышающие стойкость инструмента. Раньше его изготовляли из обычных углеродистых сталей несложного химического состава. Потом появились более прочные стали, содержащие значительное количество вольфрама. Затем были созданы так называемые твердые сплавы (они сохраняют свою твердость при нагреве до 1000° С). В последние же годы начали делать металлокерамические инструменты с еще большей теплостойкостью.

Но это лишь один из путей. Другой - усовершенствование конструкции инструмента. Фреза, например, может выполнять такую же работу, что и резец при строгании. Но она многорезцовый инструмент, сочетание нескольких резцов. Шлифовальный круг тоже многорезцовый инструмент, он состоит из множества мелких режущих частиц, скрепленных связующим веществом. И каждая такая частица - миниатюрный резец.

Успех применения многолезвийного инструмента привел конструкторов к мысли: а почему бы не поставить два резца и не удвоить таким образом число режущих лезвий? Так появились многоинструментальные металлорежущие станки. В суппорте токарного станка стали устанавливать по нескольку резцов, а затем на противоположной стороне станины поставили второй суппорт, также с несколькими резцами.

Теперь количество инструментов, одновременно работающих на станке, иногда измеряется сотнями. Однако беспредельно увеличивать число одновременно работающих инструментов нельзя -обрабатываемое изделие и станок не выдержат нагрузки. Да и обслуживание такого станка слишком сложно. Тогда стали делать многопозиционные станки. На них одновременно можно обрабатывать несколько изделий в разных позициях.

Можно повысить производительность станка и другим путем - его специализацией. Вот один пример. Коробка скоростей токарного станка имеет сложную конструкцию. Сравните: у автомобиля коробка скоростей позволяет получить 3-4 скорости, а у станка - 24! Предположим, этот станок дает массовую продукцию - обтачивает пальцы поршня автомобильного двигателя. Их надо обточить сотни, тысячи. Станок ничего другого не делает. Для этого из 24 скоростей выбрали одну, наиболее подходящую. А остальные 23 скорости? Пропадают! Поэтому для заводов массового производства делают специальные станки, предназначенные для выполнения лишь одной определенной операции. Такой станок проще универсального: вместо 24 скоростей у него одна. Его легче обслуживать, он дешевле, а главное, производительнее.

Специальный станок работает великолепно, но... до поры до времени. Все хорошо, пока завод выпускает машину, на производство которой этот станок рассчитан. Прошло время, получено задание выпускать новую, усовершенствованную машину. Станок необходимо переделывать, а то и заменять. Придется менять станочный парк, а это сложно и дорого!

Получается, что высокопроизводительный специальный станок задерживает технический прогресс. Где же выход? И конструкторы нашли его: надо применять агрегатные станки. Принцип построения таких станков - в создании стандартных узлов - агрегатов. Из этих узлов и конструируется станок. В случае поломок или перехода на выпуск новой продукции узлы легко заменить. Теперь познакомимся с главным резервом повышения производительности станков. Это автоматизация.

С изобретением суппорта процесс резания был механизирован. Время резания значительно сократилось. Но этого мало: на холостые ходы по-прежнему затрачивалось много времени. Надо было ускорить и эту часть операции. Как это сделать? Хорошо было бы, например, совместить во времени два или несколько холостых ходов. Но человек не может одновременно выполнять несколько работ. И тогда был создан металлорежущий станок-автомат, который все рабочие и все холостые ходы выполняет без участия человека, лишь под его контролем. Производительность труда в результате очень возросла.

Достоинства специализированных станков-автоматов велики. Но есть у них и недостатки. И главный из них- "консерватизм"! Ведь такой автомат -тот же специальный станок, и его столь же трудно приспособить для производства новых изделий. Раньше с этим мирились - автоматы вначале устанавливали на автомобильных и тракторных заводах, где не так уж часто меняются выпускаемые машины.

А теперь автоматы работают повсюду, например в авиационной и радиопромышленности, где изделия особенно часто улучшаются, совершенствуются.

Мириться с "консерватизмом" автоматов стало невозможно. Потребовались новые станки, которые при автоматической работе оставались бы универсальными, могли бы обрабатывать любую деталь. Они созданы. Это станки с программным управлением.

Польза от станков с программным управлением неоценима. Их легко перестроить при запуске в производство новой детали.

Однако создание автомата, даже самого совершенного, не решает полностью проблему повышения производительности. Ведь хорошая работа автоматов будет почти сведена на нет, если деталь придется вручную перемещать от станка к станку, если она будет подолгу лежать около каждого из них в ожидании обработки и т. д. Следовательно, необходимо автоматизировать и эти работы. Задача была решена: появились станочные автоматические линии.

Металлорежущие станки

Станки металлорежущие, машины для изготовления частей других машин в основном путем снятия с заготовки стружки режущим инструментом. Многое из того, что производится в результате человеческой деятельности в настоящее время, делается на металлорежущих станках или с помощью машин, изготовленных с применением таких металлорежущих станков. Их спектр очень широк - от строгальных металлорежущих станков с ручным управлением до компьютеризованных и роботизованных систем. Более 500 разных типов существующих металлорежущих станков могут быть подразделены не менее чем на десять групп по характеру выполняемых работ и применяемому режущему инструменту: разрезные, сверлильные, фрезерные, шлифовальные, строгальные, зубообрабатывающие, протяжные, многопозиционные автоматические и др.

Режущий инструмент того или иного вида (резец, фреза и т.п.) снимает с обрабатываемого (металлического, пластмассового, керамического) изделия стружку примерно так же, как это происходит при чистке картофеля ножом. Материал режущего инструмента должен быть значительно более твердым и прочным, чем материал обрабатываемой детали.

Металлорежущий станок оборудуется механизмом, обычно состоящим из салазок, шпинделей, ходовых винтов и столов с поперечным и продольным перемещением, который позволяет перемещать инструмент относительно обрабатываемой детали. На металлорежущих станках с ручным управлением такое относительное перемещение задает оператор, пользуясь маховичками подачи для перемещения суппорта с резцедержателем. На металлорежущих станках с числовым программным управлением (ЧПУ) перемещения задаются программой последовательных команд, записанной в памяти компьютера.

Программа включает и выключает приводные механизмы, например электродвигатели и гидроцилиндры, которые осуществляют подачу суппорта с автоматическим регулированием взаимного положения обрабатываемой детали и режущей кромки.

Металлорежущие станки почти всех типов выпускаются как с ручным управлением, так и в варианте с ЧПУ. В механических мастерских бытового обслуживания, в любительских домашних, на машиностроительных заводах чаще всего встречаются разрезные, сверлильные, токарные, фрезерные и шлифовальные металлорежущие станки.

Разрезные металлорежущие станки предназначены для разрезания и распиловки сортового проката (прутков, уголков, швеллеров, балок). Режущим инструментом служат сегментная дисковая пила, абразивные диски или ножовочное полотно. Главное движение - вращение диска или возвратно-поступательное движение ножовочного полотна. Автоматические разрезные металлорежущие станки работают на разных скоростях, оборудуются устройствами периодической подачи заготовки и системами двухкоординатного управления рабочим столом.

Сверлильные станки.

Сверлильные станки, пожалуй, наиболее распространенный тип станков. Назначение - просверливание и обработка отверстий, главные движения - вращение и подача режущего инструмента (сверла). Сверло подается вручную или автоматически с переключением скорости подачи и вращения. В зависимости от материала детали и сверла, глубины сверления и диаметра отверстия частота вращения шпинделя может быть постоянной, имеющей ряд фиксированных значений или переменной.

Рис. 40. Сверлильный станок

- стол; 2 - тиски; 3 - деталь; 4 - сверло; 5 - автоматическая подача; 6 ручная подача; 7 - переключение подачи

Сверлильный станок - один из самых простых металлорежущих станков. Подача сверла может быть ручной либо автоматической. Стол вручную перемещается по вертикали (а в некоторых моделях и по радиусу).

На схеме показана типичная операция - сверление спиральным сверлом малого отверстия в массивной заготовке.

Сверлильные станки более широкого назначения оборудуются рабочим столом с двумя салазками, перемещающимися под прямым углом друг к другу, устройством ЧПУ для перемещения стола и управления подачей сверла и устройствами для автоматической смены сверла. Существуют многошпиндельные сверлильные станки, работающие одновременно с несколькими сверлами, а также применяются сверлильные бабки с несколькими шпинделями, закрепляемые в патроне одношпиндельного сверлильного станка.

Токарные станки

Токарные станки. Главным движением токарного станка является вращение заготовки, а режущие инструменты (обычно однолезвийные) регулируемо закрепляются на неподвижной станине. Резец может подаваться по направляющим вдоль или поперек оси шпинделя. Заготовка закрепляется либо в патроне шпинделя, либо в центрах передней и задней бабки. Скорость подачи может регулироваться вручную или автоматически посредством ряда клиноременных или зубчатых передач, приводящих в движение ходовой винт и поперечные салазки суппорта.

Скорость вращения заготовки регулируется в широких пределах в соответствии с выбранными режимами резания. Приводной электродвигатель может иметь как фиксированную, так и переменную частоту вращения.

На токарных станках (а они составляют основу станочного парка) обычно выполняют операции обработки цилиндрических поверхностей, поперечной обточки и обрезки, нарезания винтовой резьбы и расточки осевых отверстий.

Рис. 41 Токарный станок

- передняя бабка; 2 - планшайба; 3 - деталь (вал); 4 - резцедержатель; 5 - резец; 6 - суппорт; 7 - задняя бабка; 8 - делительная головка; 9 - поперечная подача; 10 - токарный хомутик

Универсальный токарно - сверлильный станок. Такие станки составляют основу станочного парка. Резец закреплен на поворотном суппорте, позволяющем автоматически или вручную подавать его вдоль или поперек детали, либо под углом при точении конических поверхностей. Существуют токарные станки разных видов, типов и размеров. Токарно-револьверный станок, часто применяемый для изготовления одинаковых деталей, снабжается несколькими режущими инструментами, закрепленными в поворотном (револьверном) суппорте. Блок управления револьверного токарного станка с ЧПУ дает команды движения шпинделя, поворота и перемещения револьверных суппортов, перемещения задней бабки. В тех случаях, когда очень велик вес заготовки или ее форма такова, что заготовку легче обрабатывать на горизонтальном столе, применяются большие токарно-карусельные станки. Рабочий стол такого станка вращается вместе с заготовкой, а режущие инструменты подаются либо сбоку, либо с торца заготовки.

Фрезерные станки

Фрезерные станки. Это универсальные станки с многолезвийным режущим инструментом - фрезой; главное движение - вращение фрезы. Шпиндель вертикально-фрезерных станков, несущий фрезу, вертикален, но его во многих случаях можно устанавливать под углом к заготовке. Движение стола, осуществляемое вручную или с помощью механического привода, точно контролируется по градуированным лимбам на ходовых винтах и по прецизионным шкалам с оптическим увеличением.

Фрезерная оправка (вал, несущий фрезу) горизонтально-фрезерного станка горизонтальна. Стол, на котором закрепляется обрабатываемая деталь с необходимой оснасткой, может быть либо «простым», т.е. с перемещением по трем осям, либо универсальным, т.е. допускающим и угловые повороты.

Рис. 42 Горизонтально фрезерный станок

- оправка; 2 - фреза; 3 - тиски; 4 - деталь; 5 - стол

Резание шпоночной канавки на небольшом валу. Левой рукой рабочий подает стол (вместе с деталью) в продольном направлении, а правой - по вертикали. То и другое, а также поперечная подача могут осуществляться автоматически.

На станках с ЧПУ предусматривается автоматическое управление перемещением стола и скоростью шпинделя. В некоторых случаях сам шпиндель устанавливается на салазках, допускающих его независимое перемещение в осевом или вертикальном направлении. Станок с ЧПУ такого типа позволяет серийно и с высокой точностью обрабатывать трехмерные поверхности, например, лопастей воздушных винтов и лопаток турбин.

Копировально-фрезерные станки обрабатывают сложные криволинейные поверхности, например, пуансонов и матриц для штампования листового металла, форм для литья под давлением и экструдирования. Индикаторный щуп проходит по фигурному профилю копира, а рабочая фреза передает этот профиль обрабатываемой детали.

Шлифовальные станки

Шлифовальные станки. Такие станки, главным движением которых является вращение шпинделя шлифовального круга, позволяют обрабатывать детали с высокой степенью точности и чистоты. Обрабатываемая деталь закрепляется на станочном столе, который можно перемещать в разных направлениях при помощи микрометрических винтов. Материалом абразивного круга обычно служит карбид кремния или оксид алюминия, но для обработки закаленной стали применяется карбид бора, а для шлифования стекла и керамики - природный или синтетический алмаз.

Рис. 43. Шлифовальный станок

- делительная бабка; 2 - деталь; 3 - внутренний шлифовальный круг; 4 - отсос пыли; 5 - наружный шлифовальный круг

Универсальный шлифовальный станок с наружным и внутренним шлифовальными кругами. На схеме показано шлифование внутренней фаски стальной заготовки штамповой матрицы. Делительная бабка позволяет выполнять шлифование под любым углом. Обрабатываемая деталь и шлифовальный круг вращаются в противоположных направлениях. Абразивный круг плоскошлифовального станка для обработки плоских поверхностей вращается на горизонтальной оправке над столом, на котором закреплена обрабатываемая деталь. Быстрое возвратно-поступательное перемещение стола в сочетании с более медленной поперечной подачей обеспечивает обработку всей поверхности детали. Цилиндрошлифовальные станки подобны токарным (существует шлифовальная оснастка и для токарных станков).

Обрабатываемая деталь вращается, и быстро вращающийся абразивный круг приводится в контакт с ее наружной или внутренней цилиндрической поверхностью; иногда используются два круга, обрабатывающие обе поверхности одновременно.

Бесцентровошлифовальный станок предназначен для высокоточной наружной обработки поверхностей стальных валов и труб. Деталь, вращающаяся между двумя подающими кругами и удерживаемая под шлифовальными, медленно подается, пока не будет пройдена вся длина детали.

Фасонным шлифованием называется обработка поверхности шлифовальным кругом, имеющим сложный профиль (частично сферический, ступенчатый), который передается детали. Фасонный профиль поддерживается путем «алмазки» шлифовального круга.

Прочие станки

Другие станки. К ним относятся, в частности, строгальные, протяжные и зуборезные станки.

Последние предназначаются для нарезания зубчатых колес различных типов - цилиндрических с прямыми и косыми зубьями, конических, шевронных, червячных, - применяемых в современном машиностроении.

Протяжные станки используются для точной обработки наружных и внутренних поверхностей любого профиля специальным многолезвийным инструментом, зубья которого за один проход снимают весь припуск.

Рис. 44. Продольно - строгальный станок

- деталь; 2 - резцедержатель; 3 - резец

Продольно - строгальный станок, быстрое удаление больших количеств материала. Две головки станка срезают две стружки за один проход стола. Заготовка удерживается на столе магнитными держателями. Подача осуществляется перемещением стола относительно неподвижных резцов. В моделях, предназначенных для более легких работ, резец перемещается, а заготовка неподвижна.

Многоцелевой станок (обрабатывающий центр) сходен с фрезерным, но имеет больше осей перемещения и всегда снабжается системой ЧПУ. Фрезеровальные центры допускают быстрый переход с одного процесса резания на другой, например с одного сверла на другое или со сверла на метчик (инструмент для нарезания внутренней резьбы). Многоцелевые станки, как правило, рассчитаны на выполнение совокупности таких операций, как сверление, развертывание, нарезание резьбы метчиком, подрезка, торцовое фрезерование, нарезание канавок, расточка и пр. Имеются модели с вертикальными и горизонтальными шпинделями. Многие выпускаемые станки могут выполнять точную обработку одновременно четырех или пяти сторон призматической детали.

При обработке сложных деталей, таких, как головка цилиндра или корпус редуктора, требующих выполнения некоторой последовательности разных операций, многоцелевые станки заменяют несколько станков разного типа.

Металлорежущие станки

Гибкие производственные системы

Производственная система представляет собой группу станков, последовательно обрабатывающих одну заготовку. Для массового изготовления, например, автомобильных деталей применяются специализированные производственные системы, называемые автоматическими линиями. Такая линия состоит из отдельных станков (фрезерных, сверлильных, расточных), связанных между собой системой перемещения деталей от одного станка к другому. Автоматические линии позволяют удешевить массовое производство однотипных деталей.

Однако в машиностроении преобладают серийное и единичное производства, требующие частой переналадки оборудования. Применение обычных автоматических линий в таких производствах малоэффективно. Основу комплексной механизации здесь составляют групповая технология, станки с ЧПУ, промышленные роботы, автоматические транспортно-складирующие системы. На их базе с применением координирующих компьютеров создаются быстропереналаживаемые автоматизированные комплексы, называемые гибкими производственными системами (ГПС). При изготовлении, например, головок цилиндра дизельного двигателя ГПС способна обрабатывать головки цилиндра от 5 до 100 разных размеров и типов, причем их заготовки могут поступать в случайном порядке.

Список литературы

1.   Технология конструкционных материалов: Учебник для студентов машиностроительных специальностей вузов /А. М. Дальский, Т. М. Барсукова и др.; Под редакцией А. М. Дальского. - М.: Машиностроение, 2004. - 512 с.

2.      Борисоглебский Ю. В., Ветюков М. М. Металлургия цветных металлов: Учебное пособие. - Л., изд. ЛПИ, 1986. - 88 с.

.        Технология конструкционных материалов / А. М. Дальский, Н. П. Дубинин, И. А. Арутюнова, Т. М. Барсукова и др.; Под редакцией А. М. Дальского, Н. П. Дубинина. - М.: Машиностроение, 1977. - 664 с.

.        Технология металлов. Кнорозов Б. В., Усова Л. Ф. , Третьяков А. В. И др. М.: Металлургия, 1979. - 904 с.

5.   Солнцев Ю.П., Веселов В.А., Демянцевич В.П. и др.М.: Металлургия, 1988, 512 с.

6.   Конспект лекций "Технология обработки конструкционных материалов"

7.   Металловедение. А.П. Гуляев 1986 г .

Похожие работы на - Производство черных и цветных металлов

 

Не нашли материал для своей работы?
Поможем написать уникальную работу
Без плагиата!
Без нейросетей!