Ядерное оружие: типы, физика, поражающие факторы, экологические последствия

  • Вид работы:
    Реферат
  • Предмет:
    Экология
  • Язык:
    Русский
    ,
    Формат файла:
    MS Word
    1,50 Mb
  • Опубликовано:
    2011-10-17
Вы можете узнать стоимость помощи в написании студенческой работы.
Помощь в написании работы, которую точно примут!

Ядерное оружие: типы, физика, поражающие факторы, экологические последствия















Ядерное оружие: типы, физика, поражающие факторы, экологические последствия

Содержание

Введение

Типы ядерного оружия

Атомное

Термоядерное (водородная бомба)

Конструкция, мощность ядерных боеприпасов. Виды ядерных взрывов

Последовательность событий при ядерном взрыве и поражающие факторы

Применение ядерных взрывов

Военное

Мирное

Экологические последствия применения ядерного оружия

Список литературы

Введение


Понятие ядерное оружие объединяет взрывные устройства, в которых энергия взрыва образуется при делении или слиянии ядер. В узком смысле под ядерным оружием понимают взрывные устройства, использующие энергию, выделяемую при делении тяжелых ядер. Устройства, использующие энергию, выделяющуюся при синтезе легких ядер, называются термоядерными.

Также, можно сказать, что ядерное оружие (или атомное оружие) - это совокупность ядерных боеприпасов <#"520625.files/image001.gif">

1 - корпус
- взрывной механизм
- обычное взрывчатое вещество
- электродетонатор
- нейтронный отражатель
- ядерное горючее (235U)
- источник нейтронов
- процесс обжатия ядерного горючего направленным внутрь взрывом
Рис.1. Ядерное оружие

Ядерная реакция, энергия которой используется в ядерных взрывных устройствах, заключается в делении ядра в результате захвата этим ядром нейтрона. Поглощение нейтрона способно привести к делению практически любого ядра, однако для подавляющего большинства элементов реакция деления возможна только в случае если нейтрон до поглощения его ядром обладал энергией, превышающей некоторое пороговое значение. Возможность практического использования ядерной энергии в ядерных взрывных устройствах или в ядерных реакторах обусловлена существованием элементов, ядра которых делятся под воздействием нейтронов любой энергии, в том числе сколь угодно малой. Вещества, обладающие подобным свойством, называются делящимися веществами.

Единственным встречающимся в природе в заметных количествах делящимся веществом является изотоп урана с массой ядра 235 атомных единиц массы (уран-235). Содержание этого изотопа в природном уране составляет всего 0,7%. Оставшаяся часть приходится на уран-238. Поскольку химические свойства изотопов абсолютно одинаковы, для выделения урана-235 из природного урана необходимо осуществление достаточно сложного процесса разделения изотопов. В результате может быть получен высокообогащенный уран, содержащий около 94% урана-235, который пригоден для использования в ядерном оружии.

Возможность практического использования выделяющейся при делении ядер энергии обусловлена тем, что реакция деления может иметь цепной, самоподдерживающийся характер. В каждом акте деления образуется примерно два вторичных нейтрона, которые, будучи захвачены ядрами делящегося вещества, могут вызвать их деление, в свою очередь приводящее к образованию еще большего количества нейтронов. При создании специальных условий, количество нейтронов, а следовательно и актов деления, растет от поколения к поколению.

Зависимость количества актов деления от времени может быть описана с помощью так называемого коэффициента размножения нейтронов k, равного разности количества нейтронов образующихся в одном акте деления и количества нейтронов, потерянных за счет поглощения, не приводящего к делению, или за счет ухода за пределы массы делящегося вещества. Параметр k, таким образом, соответствует количеству актов деления которое вызывает распад одного ядра. Если параметр k меньше единицы, то реакция деления не имеет цепного характера, так как количество нейтронов, способных вызвать деление оказывается меньшим, чем их начальное количество. При достижении значения k=1 количество нейтронов, вызывающих деление, а значит и актов распада, не меняется от поколения к поколению. Реакция деления приобретает цепной самоподдерживающийся характер. Состояние вещества, в котором реализуется цепная реакция деления с k=1, называется критическим. При k>1 говорят о сверхкритическом состоянии.

Зависимость количества актов деления от времени может быть представлена следующим образом:


гдеполное число актов деления, произошедших за время t с начала реакции, -число ядер, претерпевших деление в первом поколении, k-коэффициент размножения нейтронов, τ-время "смены поколений," т.е. среднее время между последовательными актами деления, характерное значение которого составляет 10-8 сек.

Если предположить, что цепная реакция начинается с одного акта деления и значение коэффициента размножения составляет 2, то несложно оценить количество поколений, необходимое для выделения энергии, эквивалентной взрыву 1 килотонны тринитротолуола (1012 калорий или 4.191012 Дж). Поскольку в каждом акте деления выделяется энергия равная примерно 180 МэВ (2.910-11 Дж), должно произойти 1.451023 актов распада (что соответствует делению примерно 57 г делящегося вещества). Подобное количество распадов произойдет в течение примерно 53 поколений делящихся ядер. Весь процесс займет около 0.5 микросекунд, причем основная доля энергии выделится в течение последних нескольких поколений. Продление процесса всего на несколько поколений приведет к значительному росту выделенной энергии. Так, для увеличения энергии взрыва в 10 раз (до 100 кт) необходимо всего пять дополнительных поколений.

Основным параметром, определяющим возможность осуществления цепной реакции деления и скорость выделения энергии в ходе этой реакции является коэффициент размножения нейтронов. Этот коэффициент зависит как от свойств делящихся ядер, таких как количество вторичных нейтронов, сечения реакций деления и захвата, так и от внешних факторов, определяющих потери нейтронов вызванные их уходом за пределы массы делящегося вещества. Вероятность ухода нейтронов зависит от геометрической формы образца и увеличивается с увеличением площади его поверхности. Вероятность же захвата нейтрона пропорциональна концентрации ядер делящегося вещества и длине пути, который нейтрон проходит в образце. Если взять образец, имеющий форму шара, то при увеличении массы образца вероятность приводящего к делению захвата нейтрона растет быстрее, чем вероятность его ухода, что приводит к увеличению коэффициента размножения. Массу, при которой подобный образец достигает критического состояния (k=1), называют критической массой делящегося вещества. Для высокообогащенного урана значение критической массы составляет около 52 кг, для оружейного плутония-11 кг. Критическую массу можно уменьшить примерно вдвое окружив образец делящегося вещества слоем материала, отражающего нейтроны, например, бериллия или природного урана.

Цепная реакция возможна и при наличии меньшего количества делящегося вещества. Поскольку вероятность захвата пропорциональна концентрации ядер, увеличение плотности образца, например в результате его сжатия, способно привести к возникновению в образце критического состояния. Именно этот способ и применяется в ядерных взрывных устройствах, в которых масса делящегося вещества, находящаяся в подкритическом состоянии переводится в сверхкритическое с помощью направленного взрыва, подвергающего заряд сильной степени сжатия. Минимальное количество делящегося вещества, необходимого для осуществления цепной реакции, зависит в основном от достижимой на практике степени сжатия.

Степень и скорость сжатия массы делящегося вещества определяют не только количество расщепляющегося материала, необходимого для создания взрывного устройства, но и мощность взрыва. Причиной этого служит тот факт, что энергия, выделяющаяся в ходе цепной реакции, приводит к быстрому разогреву массы делящегося вещества и, как результат, к разлету этой массы. Через некоторое время заряд теряет критичность и цепная реакция останавливается. Поскольку полная энергия взрыва зависит от количества ядер, успевших претерпеть деление за время, в течение которого заряд находился в критическом состоянии, для получения достаточно большой мощности взрыва необходимо удерживать массу делящегося вещества в критическом состоянии как можно дольше. На практике это достигается путем быстрого сжатия заряда с помощью направленного взрыва, так что в момент начала цепной реакции, масса делящегося вещества обладает очень большим запасом критичности.

Поскольку в процессе сжатия заряд находится в критическом состоянии, необходимо устранить посторонние источники нейтронов, которые могут дать начало цепной реакции еще до достижения зарядом необходимой степени критичности. Преждевременное начало цепной реакции приведет, во-первых, к уменьшению скорости выделения энергии, а во-вторых, к более раннему разлету заряда и потере им критичности. После того как масса делящегося вещества оказалась в критическом состоянии, начало цепной реакции могут дать акты спонтанного деления ядер урана или плутония. Однако, интенсивность спонтанного деления оказывается недостаточной для того, чтобы обеспечить необходимую степень синхронизации момента начала цепной реакции с процессом сжатия вещества и для обеспечения достаточно большого количества нейтронов в первом поколении. Для решения этой проблемы в ядерных взрывных устройствах применяют специальный источник нейтронов, который обеспечивает "впрыск" нейтронов в массу делящегося вещества. Момент "впрыска" нейтронов должен быть тщательно синхронизован с процессом сжатия, так как слишком раннее начало цепной реакции приведет к быстрому началу разлета делящегося вещества и, следовательно, к значительному уменьшению энергии взрыва.

Делящееся вещество в атомном заряде находится в подкритическом состоянии. По принципу его перевода в критическое состояние атомные заряды делятся на пушечные и имплозивного типа.

В зарядах пушечного типа две и более частей делящегося вещества, масса каждой из которых меньше критической, быстро соединяются друг с другом в надкритическую массу в результате взрыва обычного взрывчатого вещества (выстреливания одной части в другую). При создании зарядов по такой схеме трудно обеспечить высокую надкритичность, вследствие чего его коэффициент полезного действия невелик. Достоинством схемы пушечного типа является возможность создания зарядов малого диаметра и высокой стойкости к действию механических нагрузок, что позволяет использовать их в артиллерийских снарядах и минах. Преимуществом также являются простота конструкции, малые габариты и масса.

Атомные боеприпасы орудийного типа представляют собой две полусферы, разделенные между собой. При помощи заряда обычного взрывчатого вещества одно полушарие из делящегося материала докритической массы выстреливается непосредственно в другое. При их резком соединении двух полусфер начинается цепная реакция, которая приводит к ядерному взрыву.

 

Рис.2. Общее устройство атомного боеприпаса орудийного типа: 1 - корпус, 2 - обычное ВВ, 3 - детонатор, 4 - воздушный промежуток, 5 - нейтронный отражатель, 6 - докритическая масса U-235.

В зарядах имплозивного типа делящееся вещество, имеющее при нормальной плотности массу меньше критической, переводится в надкритическое состояние повышением его плотности в результате обжатия с помощью взрыва обычного взрывчатого вещества. В таких зарядах представляется возможность получить высокую надкритичность и, следовательно, высокий коэффициент полезного использования делящегося вещества. Преимуществом атомных зарядов имплозивного типа является более высокий коэффициент использования ЯВВ, а также возможность в определенных пределах менять мощность ядерного взрыва с помощью специального переключателя.

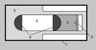
Атомные боеприпасы имплозионного типа представляют собой полую сферу из делящегося материала, которое окружено слоем обычного взрывчатого вещества. При детонации наружной внутренняя сфера сжимается до критической массы и происходит ядерный взрыв. Именно такими были устройства, взорванные над Нагасаки.

Рис.3. Атомный боеприпас имплозионного типа до (а) и после (б) взрыва.

Общее устройство: 1 - корпус, 2 - обычное ВВ, 3 - докритическая масса Pu-239, 4 - воздушная полость и зазоры, 5 - провода системы детонации, 6 - критическая масса.

Взрыв первого ядерного взрывного устройства был произведен США 16 июля 1945 г. в Аламогордо, штат Нью Мексико. Устройство представляло собой плутониевую бомбу, в которой для создания критичности был использован направленный взрыв. Мощность взрыва составила около 20 кт. В СССР взрыв первого ядерного взрывного устройства, аналогичного американскому, был произведен 29 августа 1949 г.

 

Термоядерное (водородная бомба)


Причиной взрыва служит высвобождение энергии вследствие превращения легких ядер в более тяжелые при реакции синтеза. Для начала реакции необходима очень высокая температура, что достигается взрывом обычной атомной бомбы.

1 - инициирующий ядерный заряд (с разделенным на части ядерным горючим)

- термоядерное горючее (смесь D и T)

- ядерное горючее (238U)

- инициирующий ядерный заряд после подрыва шашек обычного ВВ

- источник нейтронов. Излучение, вызванное срабатыванием ядерного заряда, порождает радиационную имплозию (испарение) оболочки из 238U, сжимающую и поджигающую термоядерное топливо

Рис.4. Термоядерное оружие

Энергия взрыва образуется в ходе реакций синтеза легких ядер, таких как дейтерий, тритий, являющихся изотопами водорода или литий. Высокие температуры нужны для того, чтобы кинетическая энергия ядер была достаточна для сближения ядер на довольно малое расстояние. Температуры, о которых идет речь, составляют около 107-108 К.

Использование реакций синтеза для увеличения мощности взрыва может быть произведено по-разному. Первый способ заключается в помещении внутрь обычного ядерного устройства контейнера с дейтерием или тритием (или дейтеридом лития). Возникающие в момент взрыва высокие температуры приводят к тому, что ядра легких элементов вступают в реакцию, за счет которой происходит дополнительное выделение энергии. С помощью подобного метода можно заметно увеличить мощность взрыва. В то же время, мощность подобного взрывного устройства по-прежнему ограничивается конечным временем разлета делящегося вещества.

Другой способ-создание многоступенчатых взрывных устройств, в которых за счет специальной конфигурации взрывного устройства энергия обычного ядерного заряда (т.н. первичный заряд) используется для создания необходимых температур в отдельно расположенном "вторичном" термоядерном заряде, энергия которого, в свою очередь, может быть использована для подрыва третьего заряда и т.д. Первое испытание подобного устройства было произведено в США 1 ноября 1952 г. В СССР подобное устройство было впервые испытано 22 ноября 1955 г. Мощность взрывного устройства, сконструированного подобным образом, может быть сколь угодно большой. Самый мощный ядерный взрыв был произведен именно с помощью многоступенчатого взрывного устройства. Мощность взрыва составила 60 Мт, причем мощность устройства была использована лишь на одну треть.

Нейтронное оружие

Как разновидность ядерных боеприпасов с термоядерным зарядом малой мощности. В качестве термоядерного горючего используются дейтерий и тритий в чистом виде или в виде гидридов металлов Достигается повышенное нейтронное излучение за счет большего расхода энергии (примерно в 5-10 раз) на создание проникающей радиации. Представляет собой тактическое оружие, рассчитанное на применение против бронетехники на малых полях сражения. Нейтронная бомба была испытана в США, Франции, Советском Союзе.

 

Конструкция, мощность ядерных боеприпасов. Виды ядерных взрывов


Основными элементами ядерных боеприпасов являются:

корпус;

система автоматики.

Корпус предназначен для размещения ядерного заряда и системы автоматики, а также предохраняет их от механического, а в некоторых случаях и от теплового воздействия.

Система автоматики обеспечивает взрыв ядерного заряда в заданный момент времени и исключает его случайное или преждевременное срабатывание. Она включает:

систему предохранения и взведения;

систему аварийного подрыва;

систему подрыва заряда;

источник питания;

систему датчиков подрыва.

Средствами доставки ядерных боеприпасов могут являться баллистические ракеты, крылатые и зенитные ракеты, авиация. Ядерные боеприпасы применяются для снаряжения авиабомб, фугасов, торпед, артиллерийских снарядов

Ядерное оружие обладает колоссальной мощностью. При делении урана массой порядка килограмма освобождается такое же количество энергии, как при взрыве тротила массой около 20 тысяч тонн. Термоядерные реакции синтеза являются еще более энергоемкими. Мощность взрыва ядерных боеприпасов принято измерять в единицах тротилового эквивалента. Тротиловый эквивалент - это масса тринитротолуола, которая обеспечила бы взрыв, по мощности эквивалентный взрыву данного ядерного боеприпаса. Обычно он измеряется в килотоннах (кТ) или в мегатоннах (МгТ).

В зависимости от мощности ядерные боеприпасы делят на калибры:

сверхмалый (менее 1кТ);

малый (от 1 до 10 кТ);

средний (от 10 до 100 кТ);

крупный (от 100 кТ до 1 МгТ);

сверхкрупный (свыше 1 МгТ).

Термоядерными зарядами комплектуются боеприпасы сверхкрупного, крупного и среднего калибров; ядерными - сверхмалого, малого и среднего калибров, нейтронными - сверхмалого и малого калибров.

Высотный ядерный взрыв - это взрыв, произведенный с целью уничтожения в полете ракет и самолетов на безопасной для наземных объектов высоте (свыше 10 км). Поражающими факторами высотного взрыва являются: ударная волна, световое излучение, проникающая радиация и электромагнитный импульс (ЭМИ).

Воздушный ядерный взрыв - это взрыв, произведенный на высоте до 10 км, когда светящаяся область не касается земли (воды). Воздушные взрывы подразделяются на низкие и высокие. Сильное радиоактивное заражение местности образуется только вблизи эпицентров низких воздушных взрывов. Заражение местности по следу облака существенного влияния на действия личного состава не оказывает. Наиболее полно при воздушном ядерном взрыве проявляются ударная волна, световое излучение, проникающая радиация и ЭМИ.

Наземный (надводный) ядерный взрыв - это взрыв, произведенный на поверхности земли (воды), при котором светящаяся область касается поверхности земли (воды), а пылевой (водяной) столб с момента образования соединен с облаком взрыва. Характерной особенностью наземного (надводного) ядерного взрыва является сильное радиоактивное заражение местности (воды), как в районе взрыва, так и по направлению движения облака взрыва. Поражающими факторами этого взрыва являются ударная волна, световое излучение, проникающая радиация, радиоактивное заражение местности и ЭМИ.

Подземный (подводный) ядерный взрыв - это взрыв, произведенный под землей (под водой) и характеризующийся выбросом большого количества грунта (воды), перемешанного с продуктами ядерного взрывчатого вещества (осколками деления урана-235 или плутония-239). Поражающее и разрушающее действие подземного ядерного взрыва определяется в основном сейсмовзрывными волнами (основной поражающий фактор), образованием воронки в грунте и сильным радиоактивным заражением местности. Световое излучение и проникающая радиация отсутствуют. Характерным для подводного взрыва является образование султана (столба воды), базисной волны, образующейся при обрушении султана (столба воды).

Последовательность событий при ядерном взрыве и поражающие факторы

Ядерное оружие предназначено для уничтожения живой силы и военных объектов противника. Важнейшими поражающими факторами для людей являются ударная волна, световое излучение и проникающая радиация; разрушающее действие на военные объекты обусловлено в основном ударной волной и вторичными тепловыми эффектами.

При детонации взрывчатых веществ обычного типа почти вся энергия выделяется в виде кинетической энергии, которая практически полностью переходит в энергию ударной волны. При ядерном и термоядерном взрывах по реакции деления около 50% всей энергии переходит в энергию ударной волны, а около 35% - в световое излучение. Остальные 15% энергии высвобождаются в форме разных видов проникающей радиации.

При ядерном взрыве образуется сильно нагретая, светящаяся, приблизительно сферическая масса - так называемый огненный шар. Он сразу же начинает расширяться, охлаждаться и подниматься вверх. По мере его охлаждения пары в огненном шаре конденсируются, образуя облако, содержащее твердые частицы материала бомбы и капельки воды, что придает ему вид обычного облака. Возникает сильная воздушная тяга, всасывающая в атомное облако подвижный материал с поверхности земли. Облако поднимается, но через некоторое время начинает медленно опускаться. Опустившись до уровня, на котором его плотность близка к плотности окружающего воздуха, облако расширяется, принимая характерную грибовидную форму.

Как только возникает огненный шар, он начинает испускать световое излучение, в том числе инфракрасное и ультрафиолетовое. Происходят две вспышки светового излучения: интенсивная, но малой длительности, при взрыве, обычно слишком короткая, чтобы вызвать значительные людские потери, а затем вторая, менее интенсивная, но более длительная. Вторая вспышка оказывается причиной почти всех людских потерь, обусловленных световым излучением.

Выделение огромного количества энергии, происходящее в ходе цепной реакции деления, приводит к быстрому разогреву вещества взрывного устройства до температур порядка 107 К. При таких температурах вещество представляет собой интенсивно излучающую ионизированную плазму. На этом этапе в виде энергии электромагнитного излучения выделяется около 80% энергии взрыва. Максимум энергии этого излучения, называемого первичным, приходится на рентгеновский диапазон спектра. Дальнейший ход событий при ядерном взрыве определяется в основном характером взаимодействия первичного теплового излучения с окружающей эпицентр взрыва средой, а также свойствами этой среды.

В случае если взрыв произведен на небольшой высоте в атмосфере, первичное излучение взрыва поглощается воздухом на расстояниях порядка нескольких метров. Поглощение рентгеновского излучения приводит к образованию облака взрыва, характеризующегося очень высокой температурой. На первой стадии это облако растет в размерах за счет радиационной передачи энергии из горячей внутренней части облака к его холодному окружению. Температура газа в облаке примерно постоянна по его объему и снижается по мере его увеличения. В момент, когда температура облака снижается до примерно 300 тысяч градусов, скорость фронта облака уменьшается до величин, сравнимых со скоростью звука. В этот момент формируется ударная волна, фронт которой "отрывается" от границы облака взрыва. Для взрыва мощностью 20 кт это событие наступает примерно через 0,1 мсек после взрыва. Радиус облака взрыва в этот момент составляет около 12 метров.

Ударная волна, формирующаяся на ранних стадиях существования облака взрыва, представляет собой один из основных поражающих факторов атмосферного ядерного взрыва. Основными характеристиками ударной волны являются пиковое избыточное давление и динамическое давление во фронте волны. Способность объектов выдерживать воздействие ударной волны зависит от множества факторов, таких как наличие несущих элементов, материал постройки, ориентация по отношению к фронту. Избыточное давление в 1 атм (15 фунтов/кв. дюйм), возникающее на расстоянии 2,5 км от наземного взрыва мощностью 1 Мт, способно разрушить многоэтажное здание из железобетона. Для противостояния воздействию ударной волны военные объекты, особенно шахты баллистических ракет, проектируют таким образом, чтобы они могли выдержать избыточные давления в сотни атмосфер. Радиус области, в которой при взрыве в 1 Мт создается подобное давление, составляет около 200 метров. Соответственно, для поражения укрепленных целей особую роль играет точность атакующих баллистических ракет.

На начальных стадиях существования ударной волны ее фронт представляет собой сферу с центром в точке взрыва. После того как фронт достигает поверхности, образуется отраженная волна. Так как отраженная волна распространяется в среде, через которую прошла прямая волна, скорость ее распространения оказывается несколько выше. В результате, на некотором расстоянии от эпицентра две волны сливаются возле поверхности, образуя фронт, характеризуемый примерно в два раза большими значениями избыточного давления. Поскольку для взрыва данной мощности расстояние, на котором образуется подобный фронт, зависит от высоты взрыва, высоту взрыва можно подобрать для получения максимальных значений избыточного давления на определенной площади. Если целью взрыва является уничтожение укрепленных военных объектов, оптимальная высота взрыва оказывается очень малой, что неизбежно приводит к образованию значительного количества радиоактивных осадков.

Ударная волна в большинстве случаев является основным поражающим фактором ядерного взрыва. По своей природе она подобна ударной волне обычного взрыва, но действует более продолжительное время и обладает гораздо большей разрушительной силой. Ударная волна ядерного взрыва может на значительном расстоянии от центра взрыва наносить поражения людям, разрушать сооружения и повреждать боевую технику.

Ударная волна представляет собой область сильного сжатия воздуха, распространяющуюся с большой скоростью во все стороны от центра взрыва. Скорость распространения ее зависит от давления воздуха во фронте ударной волны; вблизи центра взрыва она в несколько раз превышает скорость звука, но с увеличением расстояния от места взрыва резко падает. За первые 2 сек ударная волна проходит около 1000 м, за 5 сек-2000 м, за 8 сек - около 3000 м.

Поражающее действие ударной волны на людей и разрушающее действие на боевую технику, инженерные сооружения и материальные средства прежде всего определяются избыточным давлением и скоростью движения воздуха в ее фронте. Незащищенные люди могут, кроме того поражаться летящими с огромной скоростью осколками стекла и обломками разрушаемых зданий, падающими деревьями, а также разбрасываемыми частями боевой техники, комьями земли, камнями и другими предметами, приводимыми в движение скоростным напором ударной волны. Наибольшие косвенные поражения будут наблюдаться в населенных пунктах и в лесу; в этих случаях потери войск могут оказаться большими, чем от непосредственного действия ударной волны.

Ударная волна способна наносить поражения и в закрытых помещениях, проникая туда через щели и отверстия. Поражения, наносимые ударной волной, подразделяются на легкие, средние, тяжелые и крайне тяжелые. Легкие поражения характеризуются временным повреждением органов слуха, общей легкой контузией, ушибами и вывихами конечностей. Тяжелые поражения характеризуются сильной контузией всего организма; при этом могут наблюдаться повреждения головного мозга и органов брюшной полости, сильное кровотечение из носа и ушей, тяжелые переломы и вывихи конечностей. Степень поражения ударной волной зависит прежде всего от мощности и вида ядерного взрыва.При воздушном взрыве мощностью 20 кТ легкие травмы у людей возможны на расстояниях до 2,5 км, средние-до 2 км , тяжелые-до 1,5 км от эпицентра взрыва.

С ростом калибра ядерного боеприпаса радиусы поражения ударной волной растут пропорционально корню кубическому из мощности взрыва. При подземном взрыве возникает ударная волна в грунте, а при подводном - в воде. Кроме того, при этих видах взрывов часть энергии расходуется на создание ударной волны и в воздухе. Ударная волна, распространяясь в грунте, вызывает повреждения подземных сооружений, канализации, водопровода; при распространении ее в воде наблюдается повреждение подводной части кораблей, находящихся даже на значительном расстоянии от места взрыва.

Интенсивность теплового излучения облака взрыва целиком определяется видимой температурой его поверхности. На некоторое время воздух, нагретый в результате прохождения взрывной волны, маскирует облако взрыва, поглощая излучаемую им радиацию, так что температура видимой поверхности облака взрыва соответствует температуре воздуха за фронтом ударной волны, которая падает по мере увеличения размеров фронта. Через примерно 10 миллисекунд после начала взрыва температура во фронте падает до 3000°С и он вновь становится прозрачным для излучения облака взрыва. Температура видимой поверхности облака взрыва вновь начинает расти и через примерно 0,1 сек после начала взрыва достигает примерно 8000°С (для взрыва мощностью 20 кт). В этот момент мощность излучения облака взрыва максимальна. После этого температура видимой поверхности облака и, соответственно, излучаемая им энергия быстро падает. В результате, основная доля энергии излучения высвечивается за время меньшее одной секунды.

Световое излучение ядерного взрыва представляет собой поток лучистой энергии, включающей ультрафиолетовое, видимое и инфракрасное излучение. Источником светового излучения является светящаяся область, состоящая из раскаленных продуктов взрыва и раскаленного воздуха. Яркость светового излучения в первую секунду в несколько раз превосходит яркость Солнца.

Поглощенная энергия светового излучения переходит в тепловую, что приводит к разогреву поверхностного слоя материала. Нагрев может быть настолько сильным, что возможно обугливание или воспламенение горючего материала и растрескивание или оплавление негорючего, что может приводить к огромным пожарам.

Кожный покров человека также поглощает энергию светового излучения, за счет чего может нагреваться до высокой температуры и получать ожоги. В первую очередь ожоги возникают на открытых участках тела, обращенных в сторону взрыва. Если смотреть в сторону взрыва незащищенными глазами, то возможно поражение глаз, приводящее к полной потере зрения.

Ожоги, вызываемые световым излучением, не отличаются от обычных, вызываемых огнем или кипятком, они тем сильнее, чем меньше расстояние до взрыва и чем больше мощность боеприпаса. При воздушном взрыве поражающее действие светового излучения больше, чем при наземном той же мощности.

В зависимости от воспринятого светового импульса ожоги делятся на три степени. Ожоги первой степени проявляются в поверхностном поражении кожи: покраснении, припухлости, болезненности. При ожогах второй степени на коже появляются пузыри. При ожогах третьей степени наблюдается омертвление кожи и образование язв.

При воздушном взрыве боеприпаса мощностью 20 кТ и прозрачности атмосферы порядка 25 км ожоги первой степени будут наблюдаться в радиусе 4,2 км от центра взрыва; при взрыве заряда мощностью 1 МгТ это расстояние увеличится до 22,4 км. ожоги второй степени проявляются на расстояниях 2,9 и 14,4 км и ожоги третьей степени-на расстояниях 2,4 и 12,8 км соответственно для боеприпасов мощностью 20 кТ и 1МгТ.

Формирование импульса теплового излучения и образование ударной волны происходит на самых ранних стадиях существования облака взрыва. Поскольку внутри облака содержится основная доля радиоактивных веществ, образующихся в ходе взрыва, дальнейшая его эволюция определяет формирование следа радиоактивных осадков. После того как облако взрыва остывает настолько, что уже не излучает в видимой области спектра, процесс увеличения его размеров продолжается за счет теплового расширения и оно начинает подниматься вверх. В процессе подъема облако увлекает за собой значительную массу воздуха и грунта. В течение нескольких минут облако достигает высоты в несколько километров и может достичь стратосферы. Скорость выпадения радиоактивных осадков зависит от размера твердых частиц, на которых они конденсируются. Если в процессе своего формирования облако взрыва достигло поверхности, количество грунта, увлеченного при подъеме облака, будет достаточно велико и радиоактивные вещества оседают в основном на поверхности частиц грунта, размер которых может достигать нескольких миллиметров. Такие частицы выпадают на поверхность в относительной близости от эпицентра взрыва, причем за время выпадения их радиоактивность практически не уменьшается.

В случае, если облако взрыва не касается поверхности, содержащиеся в нем радиоактивные вещества конденсируются в гораздо меньшие частицы с характерными размерами 0,01-20 микрон. Поскольку такие частицы могут достаточно долго существовать в верхних слоях атмосферы, они рассеиваются над очень большой площадью и за время, прошедшее до их выпадения на поверхность, успевают потерять значительную долю своей радиоактивности. В этом случае радиоактивный след практически не наблюдается. Минимальная высота, взрыв на которой не приводит к образованию радиоактивного следа, зависит от мощности взрыва и составляет примерно 200 метров для взрыва мощностью 20 кт и около 1 км для взрыва мощностью 1 Мт.

Еще одним поражающим фактором ядерного оружия является проникающая радиация, представляющая собой поток высокоэнергетичных нейтронов и гамма-квантов, образующихся как непосредственно в ходе взрыва так и в результате распада продуктов деления. Наряду с нейтронами и гамма-квантами, в ходе ядерных реакций образуются также альфа- и бета-частицы, влияние которых можно не учитывать из-за того что они очень эффективно задерживаются на расстояниях порядка нескольких метров. Нейтроны и гамма-кванты продолжают выделяться в течение достаточно длительного времени после взрыва, оказывая воздействие на радиационную обстановку. К собственно проникающей радиации обычно относят нейтроны и гамма-кванты появляющиеся в течение первой минуты после взрыва. Подобное определение связано с тем, что за время порядка одной минуты облако взрыва успевает подняться на высоту, достаточную для того, чтобы радиационный поток на поверхности стал практически незаметен.

Гамма-кванты и нейтроны распространяются во все стороны от центра взрыва на сотни метров. С увеличением расстояния от взрыва количество гамма-квантов и нейтронов, проходящее через единицу поверхности, уменьшается. При подземном и подводном ядерных взрывах действие проникающей радиации распространяется на расстояния, значительно меньшие, чем при наземных и воздушных взрывах, что объясняется поглощением потока нейтронов и гамма-квантов водой.

Зоны поражения проникающей радиацией при взрывах ядерных боеприпасов средней и большой мощности несколько меньше зон поражения ударной волной и световым излучением. Для боеприпасов с небольшим тротиловым эквивалентом (1000 тонн и менее) наоборот, зоны поражающего действия проникающей радиацией превосходят зоны поражения ударной волной и световым излучением.

Поражающее действие проникающей радиации определяется способностью гамма-квантов и нейтронов ионизировать атомы среды, в которой они распространяются. Проходя через живую ткань, гамма-кванты и нейтроны ионизируют атомы и молекулы, входящие в состав клеток, которые приводят к нарушению жизненных функций отдельных органов и систем. Под влиянием ионизации в организме возникают биологические процессы отмирания и разложения клеток. В результате этого у пораженных людей развивается специфическое заболевание, называемое лучевой болезнью.

Для оценки ионизации атомов среды, а следовательно, и поражающего действия проникающей радиации на живой организм введено понятие дозы облучения (или дозы радиации), единицей измерения которой является рентген (р). Дозе радиации 1 р соответствует образование в одном кубическом сантиметре воздуха приблизительно 2 миллиардов пар ионов.

В зависимости от дозы излучения различают три степени лучевой болезни:

Первая (легкая) возникает при получении человеком дозы от 100 до 200 р. Она характеризуется общей слабостью, легкой тошнотой, кратковременным головокружением, повышением потливости; личный состав, получивший такую дозу, обычно не выходит из строя. Вторая (средняя) степень лучевой болезни развивается при получении дозы 200-300 р; в этом случае признаки поражения - головная боль, повышение температуры, желудочно-кишечное расстройство - проявляются более резко и быстрее, личный состав в большинстве случаев выходит из строя. Третья (тяжелая) степень лучевой болезни возникает при дозе свыше 300 р; она характеризуется тяжелыми головными болями, тошнотой, сильной общей слабостью, головокружением и другими недомоганиями; тяжелая форма нередко приводит к смертельному исходу.

Интенсивность потока проникающей радиации и расстояние на котором ее действие может нанести существенный ущерб, зависят от мощности взрывного устройства и его конструкции. Доза радиации, полученная на расстоянии около 3 км от эпицентра термоядерного взрыва мощностью 1 Мт достаточна для того чтобы вызвать серьезные биологические изменения в организме человека. Ядерное взрывное устройство может быть специально сконструировано таким образом чтобы увеличить ущерб, наносимый проникающей радиацией по сравнению с ущербом, наносимым другими поражающими факторами (нейтронное оружие).

Процессы, происходящие в ходе взрыва на значительной высоте, где плотность воздуха невелика, несколько отличаются от происходящих при проведении взрыва на небольших высотах. Прежде всего, из-за малой плотности воздуха поглощение первичного теплового излучения происходит на гораздо больших расстояниях и размер облака взрыва может достигать десятков километров. Существенное влияние на процесс формирования облака взрыва начинают оказывать процессы взаимодействия ионизированных частиц облака с магнитным полем Земли. Ионизированные частицы, образовавшиеся в ходе взрыва, оказывают также заметное влияние на состояние ионосферы, затрудняя, а иногда и делая невозможным распространение радиоволн (этот эффект может быть использован для ослепления радиолокационных станций).

Одним из результатов проведения высотного взрыва оказывается возникновение мощного электромагнитного импульса, распространяющегося над очень большой территорией. Электромагнитный импульс возникает и в результате взрыва на малых высотах, однако напряженность электромагнитного поля в этом случае быстро спадает по мере удаления от эпицентра. В случае же высотного взрыва, область действия электромагнитного импульса охватывает практически всю видимую из точки взрыва поверхность Земли.

Электромагнитный импульс возникает в результате сильных токов в ионизованном радиацией и световым излучением воздухе. Хотя оно и не оказывает никакого влияния на человека, воздействие ЭМИ повреждает электронную аппаратуру, электроприборы и линии электропередач. Помимо этого большое количество ионов <http://ru.wikipedia.org/wiki/%D0%98%D0%BE%D0%BD>, возникшее после взрыва, препятствует распространению радиоволн и работе радиолокационных станций <http://ru.wikipedia.org/wiki/%D0%A0%D0%B0%D0%B4%D0%B0%D1%80>. Этот эффект может быть использован для ослепления системы предупреждения о ракетном нападении <http://ru.wikipedia.org/wiki/%D0%A1%D0%9F%D0%A0%D0%9D>.

Сила ЭМИ меняется в зависимости от высоты взрыва: в диапазоне ниже 4 км он относительно слаб, сильнее при взрыве 4-30 км, и особенно силён при высоте подрыва более 30 км

Возникновение ЭМИ происходит следующим образом:

1.       Проникающая радиация, исходящая из центра взрыва, проходит через протяженные проводящие предметы.

2.      Гамма-кванты рассеиваются на свободных электронах <http://ru.wikipedia.org/wiki/%D0%AD%D1%84%D1%84%D0%B5%D0%BA%D1%82_%D0%9A%D0%BE%D0%BC%D0%BF%D1%82%D0%BE%D0%BD%D0%B0>, что приводит к появлению быстро изменяющегося токового импульса в проводниках.

.        Вызванное токовым импульсом поле излучается в окружающее пространство и распространяется со скоростью света, со временем искажаясь и затухая.

Под воздействием ЭМИ во всех проводниках индуцируется высокое напряжение. Это приводит к пробоям изоляции и выходу из строя электроприборов - полупроводниковые приборы, различные электронные блоки, трансформаторные подстанции и т. д. В отличие от полупроводников, электронные лампы <http://ru.wikipedia.org/wiki/%D0%AD%D0%BB%D0%B5%D0%BA%D1%82%D1%80%D0%BE%D0%BD%D0%BD%D0%B0%D1%8F_%D0%BB%D0%B0%D0%BC%D0%BF%D0%B0> не подвержены воздействию сильной радиации и электромагнитных полей, поэтому они длительное время продолжали применяться военными.

Радиоактивное заражение - результат выпадения из поднятого в воздух облака значительного количества радиоактивных веществ. Три основных источника радиоактивных веществ в зоне взрыва - продукты деления ядерного горючего, не вступившая в реакцию часть ядерного заряда и радиоактивные изотопы, образовавшиеся в грунте и других материалах под воздействием нейтронов (наведённая активность).

Оседая на поверхность земли по направлению движения облака, продукты взрыва создают радиоактивный участок, называемый радиоактивным следом. Плотность заражения в районе взрыва и по следу движения радиоактивного облака убывает по мере удаления от центра взрыва. Форма следа может быть самой разнообразной, в зависимости от окружающих условий.

Радиоактивные продукты взрыва испускают три вида излучения: альфа <http://ru.wikipedia.org/wiki/%D0%90%D0%BB%D1%8C%D1%84%D0%B0-%D1%80%D0%B0%D1%81%D0%BF%D0%B0%D0%B4>, бета <http://ru.wikipedia.org/wiki/%D0%91%D0%B5%D1%82%D0%B0-%D1%87%D0%B0%D1%81%D1%82%D0%B8%D1%86%D0%B0> и гамма <http://ru.wikipedia.org/wiki/%D0%93%D0%B0%D0%BC%D0%BC%D0%B0-%D0%B8%D0%B7%D0%BB%D1%83%D1%87%D0%B5%D0%BD%D0%B8%D0%B5>. Время их воздействия на окружающую среду весьма продолжительно. В связи с естественным процессом распада радиоактивность уменьшается, особенно резко это происходит в первые часы после взрыва. Поражение людей и животных воздействием радиационного заражения может вызываться внешним и внутренним облучением. Тяжелые случаи могут сопровождаться лучевой болезнью <http://ru.wikipedia.org/wiki/%D0%9B%D1%83%D1%87%D0%B5%D0%B2%D0%B0%D1%8F_%D0%B1%D0%BE%D0%BB%D0%B5%D0%B7%D0%BD%D1%8C> и летальным исходом. Установка на боевую часть ядерного заряда оболочки из кобальта вызывает заражение территории опасным изотопом 60Co (гипотетическая грязная бомба <http://ru.wikipedia.org/wiki/%D0%93%D1%80%D1%8F%D0%B7%D0%BD%D0%B0%D1%8F_%D0%B1%D0%BE%D0%BC%D0%B1%D0%B0>).

ядерный оружие экологический взрыв

Применение ядерных взрывов

 

Военное

Огромная разрушительная мощь ударной волны и светового излучения от ядерного взрыва сразу же привлекла к нему внимание военных. Всего лишь одно взрывное устройство оказалось способным уничтожить город-мегаполис с практически всем населением, крупные группировки незащищённых войск противника, важные объекты в его тылу (электростанции, отстоящие от городов военные базы и заводы, узлы коммуникаций). Нанесение нескольких ядерных ударов способно непоправимо нарушить экономику противника, необратимо подорвать его волю к сопротивлению и заставить его принять любые условия капитуляции. Однако непредсказуемый характер радиоактивного заражения при ядерном взрыве способен также нанести непоправимый ущерб атакующему, особенно в непосредственной близости от противника, что несколько сдерживает желание применить ядерное оружие в бою. Более серьёзным оказалось ядерное сдерживание, когда противостоящая сторона также имеет возможность нанести ядерный удар по агрессору; этот фактор послужил залогом выживания человечества во второй половине XX века - страх перед адекватным и неизбежным возмездием за применение ядерного оружия послужил и служит сейчас достаточным основанием для его неиспользования в военных целях.

Ядерное оружие существенным образом изменило культурное восприятие глобальной войны и политическую расстановку сил. Страна, обладающая ядерным оружием и подтвердившая его наличие тестовым ядерным взрывом сильно снижает угрозу внешней агрессии, что является для многих национальной безопасностью. Вместе с тем, возможность случайного возникновения конфликта в результате аварии, недоразумения, ошибки или диверсии пока недостаточно изучена.

В истории человечества ядерное оружие в боевых военных целях применялось дважды - 6 и 9 августа <http://ru.wikipedia.org/wiki/9_%D0%B0%D0%B2%D0%B3%D1%83%D1%81%D1%82%D0%B0> 1945 года <http://ru.wikipedia.org/wiki/1945_%D0%B3%D0%BE%D0%B4> США нанесли последовательно два ядерных удара по японским городам Хиросима и Нагасаки <http://ru.wikipedia.org/wiki/%D0%90%D1%82%D0%BE%D0%BC%D0%BD%D1%8B%D0%B5_%D0%B1%D0%BE%D0%BC%D0%B1%D0%B0%D1%80%D0%B4%D0%B8%D1%80%D0%BE%D0%B2%D0%BA%D0%B8_%D0%A5%D0%B8%D1%80%D0%BE%D1%81%D0%B8%D0%BC%D1%8B_%D0%B8_%D0%9D%D0%B0%D0%B3%D0%B0%D1%81%D0%B0%D0%BA%D0%B8>, уничтожив в общей сложности свыше 200 000 человек и инфраструктуру этих городов, практически полностью сокрушив любые иллюзии населения и, особенно, руководства Японии о военном успехе во Второй мировой войне. В США и СССР впоследствии неоднократно проводились войсковые учения с производством ядерных взрывов. В результате были выработаны методики и поставлена на вооружение техника, которая позволяет войскам успешно выполнять боевые задачи в условиях применения ядерного оружия. Однако объекты внутренней инфраструктуры стран вследствие своего роста, постоянно растущей зависимости от энергоснабжения и управляющей электроники с тех пор стали только уязвимее для ядерного оружия. Также и психологические последствия обмена ядерными ударами на гражданское население и вооружённые силы не вполне изучены. Так, в печати встречаются мнения, что совершенно нет необходимости уничтожать крупные города мощными, либо многократными ядерными бомбардировками - возникшая в результате применения даже маломощного ядерного заряда в современном мегаполисе неразбериха и паника по разрушительному воздействию на средства коммуникации, снабжения и управления сравнима с тем, как если бы они были уничтожены физически.

Мирное

Ядерный взрыв нашёл и несколько мирных ниш применения. Принято считать, что в общей сложности в США было проведено 27, а в СССР, в период с 1965 по 1988 годы - 135 ядерных взрывов невоенной направленности <http://ru.wikipedia.org/wiki/%D0%9C%D0%B8%D1%80%D0%BD%D1%8B%D0%B5_%D1%8F%D0%B4%D0%B5%D1%80%D0%BD%D1%8B%D0%B5_%D0%B2%D0%B7%D1%80%D1%8B%D0%B2%D1%8B_%D0%B2_%D0%A1%D0%A1%D0%A1%D0%A0> (из них 124 - непосредственно по программе ядерных взрывов в мирных целях, остальные - испытательные) с целью изучения возможностей по такому применению[1] <http://ru.wikipedia.org/wiki/%D0%AF%D0%B4%D0%B5%D1%80%D0%BD%D1%8B%D0%B9_%D0%B2%D0%B7%D1%80%D1%8B%D0%B2>. В специальной литературе [2] <http://ru.wikipedia.org/wiki/%D0%AF%D0%B4%D0%B5%D1%80%D0%BD%D1%8B%D0%B9_%D0%B2%D0%B7%D1%80%D1%8B%D0%B2> можно встретить и другие количества. В частности, для США 33 МЯВ и для СССР 169 МЯВ (возможно, в публикациях имеется путаница с терминами «количество взрывов» и «количество экспериментов» - часть экспериментов не сопровождалась ядерными взрывами). Основные сферы применения ядерных взрывов в мирных целях следующие:

·              Быстрое рытьё крупных котлованов для искусственных водохранилищ. Котлован создаётся с помощью подповерхностного подземного ядерного или термоядерного взрыва «на выброс». Достоинства метода: получившаяся ёмкость имеет большую глубину, оплавленные стенки и небольшую поверхность зеркала водоёма. Всё это минимизирует потери воды на испарение и фильтрацию в грунт. Предполагалось использовать такие искусственные резервуары в засушливых районах для хранения воды для нужд сельского хозяйства.

·              Создание подземных ёмкостей (в частности, газохранилищ и резервуаров для захоронения опасных отходов). Одним взрывом создаётся полость объёмом в десятки тысяч кубических метров.

·              Тушение масштабных пожаров на газовых месторождениях.

·              Выемка грунта и разрушение препятствий при строительстве крупномасштабных сооружений на местности (каналы).

·              Интенсификация добычи полезных ископаемых: дробление руд, воздействие на породы в районах месторождений для повышения продуктивности добычи и для снижения опасности аварий.

·              Сейсморазведка - изучение внутреннего строения Земли путём регистрации ударных волн от ядерных взрывов. Применялось в том числе и для поиска месторождений полезных ископаемых.

На первоначальном этапе (в 1950-е - 1960-е годы) с промышленным использованием ядерных взрывов связывали большие надежды, существовали проекты, где предполагалось использование сотен таких взрывов[3] <http://ru.wikipedia.org/wiki/%D0%AF%D0%B4%D0%B5%D1%80%D0%BD%D1%8B%D0%B9_%D0%B2%D0%B7%D1%80%D1%8B%D0%B2> (проекты соединения Мёртвого моря с Красным или Средиземным, канала через Панамский перешеек, канала через полуостров Малакка в Юго-Восточной Азии, обводнение впадины Каттара (Египет), соединение течения Лены с Охотским морем и проект поворота северных рек в СССР). Реализация таких проектов потребовала создания так называемых «чистых» ядерных зарядов, при взрыве которых выделяется минимум радиоактивности. В данной области были достигнуты определённые успехи, хотя полной «чистоты» добиться не удалось. На практике использование ядерных взрывов в народном хозяйстве имело место только в СССР.

Результаты советской серии экспериментов сложно оценить во всей полноте. Полные официальные данные о результатах испытаний не опубликованы, сведения о радиоактивном заражении местности неполны и нередко противоречивы. В случаях глубоких взрывов, после которых вся радиоактивность осталась под землёй, высказываются опасения о возможности последующего попадания радионуклидов на поверхность с грунтовыми водами и добываемыми полезными ископаемыми. Кроме того, в радиологии крайне слабо изучено воздействие радиоактивности, превышающей естественный фон в десятки раз, в некоторых случаях сохраняющаяся в местах взрывов. Таким образом, вопрос об экологической опасности и оправданности промышленных ядерных взрывов остаётся открытым. Под вопросом остаётся и экономический эффект - хотя изначально промышленные ядерные взрывы рассматривались именно как средство удешевления крупномасштабных работ, в действительности неясно, окупает ли достигнутая экономия все непрямые издержки (в том числе расходы на постоянный мониторинг радиологической обстановки и ликвидацию последствий последующего распространения радионуклидов, если таковое будет).

Экологические последствия применения ядерного оружия


В 1945 г. была создана атомная бомба, свидетельствуя о новых невиданных возможностях человека. В 1954 г. была построена первая в мире атомная электростанция в Обнинске, и на "мирный атом" возлагалось много надежд. А в 1986 г. произошла самая крупная в истории Земли техногенная катастрофа на Чернобыльской АЭС как следствие попытки "приручить" атом и заставить его работать на себя. В результате этой аварии выделилось больше радиоактивных материалов, чем при бомбардировке Хиросимы и Нагасаки. "Мирный атом" оказался более страшным, чем военный.

О принципиальной возможности создания оружия, использующего энергию ядерного взрыва, физики говорили еще перед началом второй мировой войны. Многие характеристики такого взрыва к тому времени уже были вычислены. После бомбардировки японских городов Хиросимы и Нагасаки ядерная война стала страшной реальностью. Общественное сознание больше всего поразило даже не количество жертв, исчисляемое сотнями тысяч, и полное разрушение за несколько мгновений двух больших городов, а те последствия, которые несла проникающая радиация. Ни один человек, перенесший ядерную бомбардировку, не мог быть уверенным в своем будущем: даже через много лет на нем или его потомках могли сказаться последствия облучения.

В конце 1989 года в СССР было опубликовано сообщение комиссии, которая занималась "очевидными сегодня" последствиями проводившихся в свое время испытаний атомной бомбы на Чукотке (50-е - 60-е годы). Поскольку чукчи живут за счет оленей, которые питаются лишайниками, кумулирующими радиоактивность, плохое состояние их здоровья объясняют тогдашним радиоактивным загрязнением: почти 100% больны туберкулезом, 90% хроническими легочными заболеваниями, значительно повышена заболеваемость раком (например, смертность от рака пищевода самая высокая в мире, частота рака печени в 10 раз выше, чем в среднем по стране). Средняя продолжительность жизни составляет всего лишь 45 лет (так как смертность среди новорожденных составляет 7-10%).

Именно в радиации, в различных проявлениях лучевой болезни ученые и общественность увидели главную опасность нового оружия, но оценить ее по-настоящему человечество смогло значительно позже. Многие годы в атомной бомбе люди видели, хотя и очень опасное, но всего лишь оружие, способное обеспечить победу в войне. Поэтому ведущие государства, интенсивно совершенствуя ядерное оружие, готовились и к его использованию, и к защите от него. Только в последние десятилетия мировое сообщество начало осознавать, что ядерная война станет самоубийством всего человечества.

Радиация не единственное и, может быть, не главное из последствий крупномасштабной ядерной войны. Пожарами в случае ядерной войны будет охвачено все способное гореть. Подсчитано, что средний заряд бомбы мощностью в 1 Мт ТНТ выжигает 250 км2 леса. Значит, для того чтобы сжечь 1 млн. км2 леса, потребуется лишь около 13 % общего ядерного потенциала планеты, существовавшего к тому времени (1970г.). При этом в атмосферу будет выброшено в виде сажи более сотни миллионов тонн биомассы (и атомарного углерода). Однако наибольшее количество сажи будет выброшено в атмосферу при пожарах в городах. Впервые такие расчеты были проведены английскими биохимиками еще в 60-е гг. Они рассчитали, что при достаточно высоком тепловом импульсе (более 20 кал/см2), возгорание всего, что может гореть, будет происходить в любых зданиях. Они доказали, в частности, что средний заряд мощностью 0,5 Мт ТНТ может полностью выжечь более 200 км2 (что в 100-200 раз больше площади, непосредственно покрываемой шаром ядерного взрыва).

В начале 80-х гг. анализом различных сценариев возможной ядерной войны начали заниматься американские ученые. В базовом сценарии, взятом за основу группой ученых во главе с К. Саганом, предполагалось, что в ядерной войне произойдет обмен ядерными ударами мощностью зарядов около 5000 Мт ТНТ, т. е. менее 30 % совокупного ядерного потенциала СССР и США, что в сотни тысяч раз больше мощности взрывного устройства, использованного при бомбардировке Хиросимы. Кроме разрушения около 1000 крупнейших городов северного полушария от возникшего огромного пожара в атмосферу поднимется такое количество сажи, что атмосфера не пропустит свет и тепло. Наряду с горением леса большой объем оптически активных аэрозолей, способных предельно поглощать солнечный свет, выделяется при пожаре городов (когда горят заводы, наполненные пластическими материалами, запасами топлива и т.д.). В этом случае возникает также эффект крупномасштабной тяги, т.е. в городах полностью выгорает практически все, что может гореть, а продукты горения выбрасываются в верхнюю часть атмосферы и нижнюю часть стратосферы. Если крупные частицы под действием силы тяжести довольно быстро оседают, то вымывание мелких частиц аэрозоля (в т. ч. сажы) из атмосферы представляет сложный и малоизученный процесс. Мелкие частицы (особенно атомарного углерода), оказавшиеся в стратосфере, могут оставаться там достаточно долго. Они то и экранируют солнечный свет. Эффективность поступления солнечного света к земной поверхности зависит не только от количества аэрозолей в стратосфере, но и от времени их вымывания. Если процесс вымывания происходит в течение нескольких месяцев, то в течение месяца земная поверхность будет получать менее 3% обычного количества солнечного излучения, в результате на Земле установится "ядерная ночь" и, как следствие, "ядерная зима". Однако целостная картина всего процесса могла быть получена только на основе анализа крупномасштабной математической модели совместной динамики атмосферы и Мирового океана. Первые модели были построены в ВЦ АН СССР еще в 70 гг., а расчеты с их использованием для основных сценариев ядерной войны проведены в июне 1983 г. под руководством академика Н. Н. Моисеева В. В. Александровым и Г. Л. Стенчиковым и др. Позднее аналогичные результаты получены в национальном центре климатических исследований США. Подобные расчеты многократно проводились в последующие годы научными учреждениями других стран. Величина падения температур не слишком зависит от мощности используемого ядерного оружия, но эта мощность очень сильно влияет на длительность "ядерной ночи". Результаты, полученные учеными разных стран, отличались в деталях, но качественный эффект "ядерной ночи" и "ядерной зимы" очень четко обозначился во всех расчетах. Таким образом, можно считать установленным следующее:

. В результате крупномасштабной ядерной войны над всей планетой установится "ядерная ночь", и количество солнечного тепла, поступающего на земную поверхность, сократится в несколько десятков раз. В результате наступит "ядерная зима", т. е. произойдет общее понижение температуры, особенно сильное - над континентами.

. Процесс очищения атмосферы будет идти многие месяцы и даже годы. Но атмосфера не вернется в первоначальное состояние - ее термогидродинамические характеристики станут совершенно иными.

Понижение температуры поверхности Земли спустя месяц после образования сажевых облаков в среднем будет значительным: 15-200С, а в удаленных от океанов точках - до 350С. Такая температура продержится несколько месяцев, за которые земная поверхность промерзнет на несколько метров, лишив всех пресной воды, тем более что прекратятся дожди. В Южном полушарии тоже наступит "ядерная зима", так как сажевые облака окутают всю планету, изменятся все циклы циркуляции в атмосфере, хотя в Австралии и Южной Америке похолодание будет менее значительно (на 10-120С).

Океан остынет на 1,5-20С, что вызовет огромную разницу температур вблизи побережья и постоянные сильнейшие штормы. Атмосфера начнет нагреваться не снизу, как сейчас, а сверху. Циркуляция прекратится, поскольку вверху окажутся более легкие и теплые слои, исчезнет источник конвекционной неустойчивости атмосферы, и выпадение сажи на поверхность будет происходить много медленнее, чем по сценарию Сагана, который не учитывал движение атмосферы, связи атмосферы и океана, выпадение осадков, изменение температуры в разных частях Земли.

До начала 1970-х гг. проблема экологических последствий подземных ядерных взрывов сводилась лишь к защитным мерам против их сейсмического и радиационного воздействия в момент проведения (т.е. обеспечивалась безопасность взрывных работ). Детально изучение динамики процессов, протекающих в зоне взрывов, велось исключительно с точки зрения технических аспектов. Малые размеры ядерных зарядов (по сравнению с химическими) и легко достижимая большая мощность ядерных взрывов привлекали военных и гражданских специалистов. Возникло ложное представление о высокой экономической эффективности подземных ядерных взрывов (понятие, подменившее менее узкое - технологической эффективности взрывов как действительно мощного способа разрушения массивов горных пород). И только в 1970-е гг. стало выясняться, что отрицательное экологическое воздействие подземных ядерных взрывов на окружающую среду и здоровье людей сводит на нет получаемую от них экономическую выгоду. В 1972 г. в США была прекращена программа использования подземных взрывов в мирных целях "Плаушер", принятая в 1963 г. В СССР с 1974 г. отказались от проведения подземных ядерных взрывов наружного действия. Подземные ядерные взрывы в мирных целях в Астраханской и Пермской областях и в Якутии.

Из них четыре взрыва на территории Якутии проведено с целью глубинного сейсмического зондирования земной коры, шесть взрывов осуществлено с целью интенсификации добычи нефти и притока газа, один - для создания подземной емкости - хранилища нефти.

Особенности комбинированного воздействия ядерно-взрывных технологий проявились в аварийных ситуациях, происшедших на Астраханском газоконденсатном, а также Осинском и Гежском нефтяных месторождениях.

На некоторых объектах, где проводились подземные ядерные взрывы, радиоактивное загрязнение зафиксировано на значительном расстоянии от эпицентров как в недрах, так и на поверхности. В окрестностях начинаются опасные геологические явления - подвижки массивов горных пород в ближней зоне, а также значительные изменения режима подземных вод и газов и появление наведенной (спровоцированной взрывами) сейсмичности в отдельных районах. Эксплуатируемые полости взрывов оказываются весьма ненадежными элементами технологических схем производственных процессов. Это нарушает надежность роботы промышленных комплексов стратегического значения, сокращает ресурсный потенциал недр и других природных комплексов. Длительное пребывание в зонах взрывов вызывает поражение иммунной и кроветворной системы человека.

Для приповерхностных подземных ядерных взрывов с выбросом грунта радиационная опасность сохраняется по сей день. На севере Пермской области (в связи с намечавшейся в 1970-е гг. реализацией проекта по переброске стока северных рек на юг) на водоразделе рек Печоры и Камы предполагалось создать участок канала с помощью 250 таких взрывов. Первый (тройной) взрыв "Тайга" был проведен 23 марта 1971 г. Заряды были заложены в рыхлых обводненных грунтах на глубине 127,2, 127,3 и 127, 6 м на расстоянии 163-167 м друг от друга. Во время взрыва возникло газопылевое облако высотой 1800 м, диаметром 1700 м. После того как оно опустилось, в рельефе местности обнажилась траншейная выемка длиной 700 м, шириной 340 м и глубиной около 15 м. Вокруг выемки образовался вал грунта высотой около 6 м и шириной около 50 м с зоной рассеянных глыб шириной до 170 м. Постепенно эта выемка заполнилась грунтовыми водами и превратилась в озеро. На протяжении многих лет радиоактивность в районе объекта "Тайга" достигла 1100 мкР/ч (более чем в 100 раз превышая уровень естественного радиоактивного фона).

Главной экологической проблемой России от Мурманска до Владивостока является массовое радиационное загрязнение и загрязнение питьевой воды.

Существует предложение использовать термоядерные взрывы "максимально малой мощности... в большой подземной камере" для наработки плутония, который затем сжигался бы в ядерных реакторах.

Последующее развитие мирных применений ядерных зарядов (так называемых "чистых" зарядов) создало условия для использования по более экологичной и экономичной схеме производства энергии, заключающейся в следующем. Энергозаряд, состоящий из малого количества делящегося материала (ДМ) - плутония-239 или урана-233, - который служит запалом, и дейтерия, который дает основную долю энергии, взрывается в прочной полости, называемый котлом взрывного сгорания (КВС). В момент взрыва корпус котла защищается толстым слоем жидкого натрия (защитной стенкой) от высокой температуры, импульсного давления и проникающей радиации. Натрий одновременно служит теплоносителем. Полученная тепловая энергия далее передается паровым турбинам для выработки электроэнергии по обычной схеме. При взрыве происходит выделенеие 43,2 МэВ энергии на 6 атомов дейтерия с образованием двух нейтронов. Эти нейтроны используются для получения плутония-239 или урана-233 (из урана-238 или тория-232) в количествах, превышающих расход ДМ при работе запала энергозаряда. Наработанный делящийся материал используется для запалов следующих энергозарядов и как топливо для реакторов вторичной ядерной энергетики. Разработчики надеются, что взрывная дейтериевая энергетика сможет давать дешевую электроэнергию и тепло, а также позволит ликвидировать топливный тупик традиционных АЭС.

Список литературы


Ярошинская А.А. Ядерная энциклопедия. М.1996

<http://www.vokrugsveta.ru/vs/article/1107/>

<http://www.arms-expo.ru/049057052048124057053056049.html>

<http://www.rhbz.ru/nuclear-weapon/action-of-a-nuclear-ammunition.html>

<http://www.krugosvet.ru/enc/nauka_i_tehnika/voennaya_tehnika/YADERNOE_ORUZHIE.html>

<http://oko-planet.su/ekstrim/ekstrimsovet/29775-yadernoe-oruzhie.html>

<http://www.flot2017.com/file/show/none/12394>

Похожие работы на - Ядерное оружие: типы, физика, поражающие факторы, экологические последствия

 

Не нашли материал для своей работы?
Поможем написать уникальную работу
Без плагиата!
Без нейросетей!