Поверочно-конструкторский расчет котла ДКВР 6,5 - 13 и экономайзера
МИНИСТЕРСТВО
НАУКИ И ОБРАЗОВАНИЯ РОССИЙСКОЙ ФЕДЕРАЦИИ
КАЗАНСКИЙ
ГОСУДАРСТВЕННЫЙ АРХИТЕКТУРНО-СТРОИТЕЛЬНЫЙ УНИВЕРСИТЕТ
Кафедра
теплоэнергетики
Курсовой
проект
на
тему: «Поверочно-конструкторский расчет котла ДКВР 6,5 - 13 и экономайзера»
Выполнил: ст. гр.
07-404
Грунина К.Е.
Проверил:
Ланцов А. Е.
г.
Содержание
Введение
. Описание котла типа ДКВР 6,5 - 13.
Циркуляция воды
. Описание топки
. Расчет объемов и энтальпий воздуха
и продуктов сгорания при α = 1
. Средние характеристики продуктов
сгорания в топке
. Энтальпия продуктов сгорания. I-θ
диаграмма
. Тепловой баланс и расход топлива
. Тепловой расчёт топки
. Описание кипятильного пучка
. Описание водяного экономайзера
. Определение невязки теплового
баланса
. Сводная таблица теплового расчета
котельного агрегата
Заключение
Литература
Введение
В данной курсовой работе выполнен
поверочно-конструкторский расчет стационарного парового вертикально
водотрубного котельного агрегата ДКВР 6,5-13 и экономайзера.
Для топочной камеры и конвективных котельных
пучков выполнен поверочный расчет.
Для водяного экономайзера - конструктивный
расчет.
Также разработан проект котельного агрегата с
экономайзером.
Исходные данные :
Поверхность нагрева, установленная за котлом -
экономайзер
Номинальная паропроизводительность котла - 6,5
т/ч
Давление пара 14 атм (ати)
Температура питательной воды (после деаэратора)
- 80 0С
Вид топлива - Тавричанский уголь марки Б3
Способ сжигания топлива - в слое
Температура наружного воздуха (в котельной) - 25
0С
Местонахождение котельной г. Артём
Расчетное потребление пара на технологические
нужды 55 т/ч
В первой главе приводится описание котла ДКВР
6,5-13, схема циркуляции воды в котле с установкой необходимой арматуры, схема
предохранительных устройств.
В главе второй производится выбор типа топки по
исходным данным, приводятся расчетные характеристики топки.
В третьей главе производится расчет объемов и
энтальпий воздуха и продуктов сгорания при α = 1. Для
этого рассчитывается теоретическое количество воздуха необходимое для полного
сгорания топлива и минимальный объем продуктов сгорания, которые получились бы
при полном сгорании топлива с теоретически необходимым количеством воздуха.
В четвертой главе находятся коэффициенты избытка
воздуха, объемы продуктов сгорания по газоходам для этого котельный агрегат
делят на самостоятельные участки: топочную камеру, конвективные пучки и
экономайзер. В пятой главе рассчитываются энтальпии продуктов сгорания также
для разных участков, тут же строится J-θ
диаграмма продуктов сгорания.
В шестой главе вычисляется полезно
израсходованное тепло в котлоагрегате, постоянный и расчетный расходы топлива.
В следующих двух главах оценивается неизвестная
температура и энтальпия газов. Решая уравнение теплового баланса, определяется
тепловосприятие поверхности нагрева (кипятильных пучков) и конечная энтальпия
среды. Далее рассчитывается коэффициент теплопередачи и температурный напор, по
уравнению теплообмена определяется вторичная величина тепловосприятия
поверхности нагрева.
В девятой главе проводится конструктивный расчет
водяного экономайзера, находится его поверхность нагрева, число и ряд труб.
В конечном итоге приводится таблица теплового
расчета котлоагрегата.
Описание топлива.
В качестве топлива котельная использует
тавричанский бурый уголь марки Б3. К марке Б3 относится уголь с содержанием
влаги менее 30%.
Бурый уголь - твердый ископаемый
уголь, образовавшийся из торфа
<#"520561.files/image001.gif">
Рис. 1. Циркуляция воды в котле ДКВР 6,5 - 13
Основные позиции (рис. 1):
-нижний барабан;
-дренажные вентили;
-вентили периодической
продувки;
-вентиль для пуска пара в
верхний барабан;
-водяной объем;
-опускные трубы конвективного
пучка, вальцованы в верхний и нижний барабаны в шахматном порядке;
-зеркало испарения;
-верхний барабан. В нем
находится котловая вода. Он заполнен примерно наполовину;
-пар;
-вентиль пара на собственные
нужды;
-сепаратор;
-главный парозапорный вентиль;
-воздушник;
-вентиль на питательной линии -
2 шт;
-обратный клапан;
-ввод питательной воды;
-рычажный предохранительный
клапан;
- трехходовой клапан манометра;
-манометр;
-пробковый кран водоуказательных
приборов (ВУП)-6 шт;
-водоуказательные приборы;
-вентили непрерывной продувки -
2 шт;
-необогреваемые опускные трубы
боковых экранов - 2 шт;
-обогреваемые трубы боковых
экранов - 2 шт. Вальцованы в верхний барабан и коллекторы. Они окружают топку с
двух сторон. Передача тепла к ним осуществляется излучением;
-нижний коллектор - 2 шт;
-нижние необогреваемые
перепускные трубы - 2 шт;
-подъемные трубы конвективного
пучка;
-питательные трубы. По ним
осуществляется подача питательной воды в верхний барабан.
На верхнем барабане котла
установлен предохранительный клапан (рис. 1. позиция 17). Назначение
предохранительного клапана (рис. 2) заключается в предохранении от взрыва
верхнего барабана котельного агрегата.
Рис. 2 Схема рычажного предохранительного
клапана
Основные позиции (рис. 2):
-клапан;
-стенки барабана котла;
-защитный корпус;
-рычажное устройство;
-грузы, регулирующие давление срабатывания
клапана и уравновешивающие давление в барабане котла;
-траектория движения пара или воды в выхлопную
трубу;
Рычажный предохранительный клапан (рис. 2) имеет
рычаг с грузом, под действием которого клапан закрывается. При нормальном
давлении в барабане котла груз прижимает клапан к отверстию. При повышении
давления клапан поднимается, и излишек давления удаляется в атмосферу.
Для предотвращения повреждений котла при упуске
воды из барабана в нижнюю его часть со стороны топки вкручиваются легкоплавкие
пробки (рис.3). Они имеют коническую форму с внешней резьбой.
Отверстие пробки заливается специальным
легкоплавким составом, состоящим из 90% свинца и 10% олова. Температура
плавления такого состава 280-310 градусов по Цельсию.
При нормальном уровне воды в котле легкоплавкий
состав охлаждается водой и не плавится. При упуске воды пробка сильно
нагревается продуктами сгорания топлива, что приводит к расплаву легкоплавкого
состава. Через образовавшееся отверстие пароводяная смесь под давлением входит
в топку. Это служит сигналом для аварийной остановки котла.
Рис. 3 Схема легкоплавкой предохранительной
пробки
Основные позиции (рис. 3):
-клеймо;
-сплав свинца и олова;
-корпус пробки.
2.
Описание топки
Способ сжигания топлива - в слое.
Слоевая топка предназначена для сжигания
твердого топлива в слое на колосниковой решетке. При слоевом способе сжигания
необходимый для горения воздух попадает к слою топлива через колосниковую
решетку.
Наиболее трудоемкими операциями при обслуживании
топок являются: подача топлива в топку, его шуровка (перемешивание) и удаление
шлака.
В данной курсовой работе заброс топлива
механизирован, он осуществляется пневмомеханическим забрасывателем (ПМЗ). Таких
забрасывателей всего два, расстояние между осями забрасывателей 1300 мм. Таким
образом, топливо равномерно распределяется по решетке.
Основным элементом слоевой топки является
колосниковая решетка, служащая для поддержания сжигаемого на ней топлива и
одновременного подвода воздуха. Колосниковая решетка собрана из отдельных
элементов - чугунных брусков или балок - колосников. В проекте процесс удаления
шлака также механизирован: применяется колосниковая решетка с ручными
поворотными колосниками (РПК). Размеры решетки таковы: ширина 2600 мм, длина
2440 мм, число секций по ширине 3, ширина средней секции 900 мм, ширина крайней
секции 850 мм, число рядов колосников по длине 8. Очаговые остатки удаляются
путем их сбрасывания в зольный бункер при повороте колосников около своей оси.
Расчетные характеристики топки занесены в
таблицу 1.
Таблица 1
Расчетные характеристики топки
|
№
п/п
|
Наименование
величин
|
Обозначение
|
Размерность
|
Величина
|
|
1
|
2
|
3
|
4
|
5
|
|
1
|
Видимое
теплонапряжение зеркала горения
|
 900
|
|
|
|
2
|
Видимое
теплонапряжение топочного объема
|
 250
|
|
|
|
3
|
Коэф.
избытка в-ха в топке
|
αТ
|
-
|
1,4
|
|
4
|
Потеря
тепла от химнедожога
|
q3
|
%
|
1
|
|
5
|
Потеря
тепла от мехнедожога
|
q4
|
%
|
7
|
|
6
|
Содержание
горючих в шлаке и провале
|
Гшл+пр
|
%
|
-
|
|
7
|
Содержание
горючих в уносе
|
Гун
|
%
|
-
|
|
8
|
Доля
золы топлива в шлаке и провале
|
ашл+пр
|
-
|
0,05
|
|
9
|
Доля
золы топлива в уносе
|
аун
|
-
|
0,95
|
|
10
|
Давление
воздуха под решеткой
|
Рв
|
мм
вод.ст.
|
60
|
|
11
|
Температура
дутьевого воздуха
|
tв
|
°С
|
25
|
3.
Расчет объемов, энтальпий воздуха и продуктов сгорания при α=1
Расчетные характеристики топлива (Тавричанский
уголь Б3):
Состав угля [6]:
Расчет объемов и энтальпий воздуха и
продуктов сгорания ведем по [5]:
Теоретическое количество воздуха
необходимое для полного сгорания топлива:
Минимальный объем продуктов
сгорания, которые получились бы при полном сгорании топлива с теоретически
необходимым количеством воздуха (α=1):
,

,

,

,

4.
Средние характеристики продуктов сгорания в топке
Коэффициент избытка воздуха на выходе из топки
принимаем из таблицы «Расчетные характеристики топки» РН 5-02, РН 5-03 [6].
Коэффициент избытка воздуха для других участков
газового тракта получаются путем прибавления к αт
присосов воздуха принимаемых по РН 4-06 [6]. котел тепло энтальпия сгорание
Для выполнения теплового расчета газовый тракт
котельного агрегата делят на самостоятельные участки: топочную камеру,
конвективные испарительные пучки и экономайзер.
Таблица 2
Средние характеристики продуктов сгорания в
поверхностях нагрева котла
|
№
п/п
|
Наименование
величин
|
Размерность
|
|
|
|
|
Топка
|
Конвективные
пучки
|
Экономайзер
|
|
1
|
2
|
3
|
4
|
5
|
6
|
|
1
|
Коэффициент
избытка воздуха перед газоходом α΄
|
-
|
1,4
|
1,45
|
1,55
|
|
2
|
Коэффициент
избытка воздуха за газоходом α΄΄
|
-
|
1,45
|
1,55
|
1,65
|
|
3
|
Коэффициент
избытка воздуха (средний) α
|
-
|
1,425
|
1,5
|
1,6
|
|
4
|
нм3/кг0,660,670,68
|
|
|
|
|
|
5
|
нм3/кг6,987,337,78
|
|
|
|
|
|
6
|
-0,120,110,107
|
|
|
|
|
|
7
|
-0,100,090,087
|
|
|
|
|
|
8
|
 + -0,220,20,194
|
|
|
|
|
|
9
|
г/нм333,832,2730,3
|
|
|
|
|
6.
Тепловой баланс и расход топлива
Таблица 4
Тепловой баланс и расход топлива
|
№
п/п
|
Наименование
величин
|
Обозначение
|
Расчетная
формула, способ определения
|
Размерность
|
Расчет
|
|
1
|
2
|
3
|
4
|
5
|
6
|
1 Располагаемое тепло
топлива 
=
;при
,
|
=0 и = ккал/кг4081,2
|
|
|
|
|
|
2
|
Температура
уходящих газов
|
По
приложению IV [6]ºС200
|
|
|
|
|
3
|
Энтальпия
уходящих газов
|
Из
диаграммы J-θ при ккал/кг513
|
|
|
|
|
4
|
Температура
холодного воздуха
|
tхв
|
Согласно
заданию
|
ºС
|
25
|
|
5
|
Энтальпия
холодного воздуха
|
 = ккал/кг59,05
|
|
|
|
|
6
|
Потери
тепла от мехнедожога
|
q4
|
По
характеристикам топки
|
%
|
7
|
|
7
|
Потери
тепла от химнедожога
|
q3
|
По
характеристикам топки
|
%
|
1
|
8 Потери тепла с
уходящими газами Q2 q2 
ккал/кг
%394,7
|
9,67
|
|
|
|
|
9
|
Потери
тепла в окружающую среду
|
q5
|
По
РН 5-01 [6]
|
%
|
2,3
|
|
10
|
Коэффициент
сохранения тепла
|
φ
|
φ
= 1 - -0,977
|
|
|
11 Потери тепла с
физическим теплом шлаков q6
где ашл - по
расчетным характеристикам топки;
|
(сt)шл -
энтальпия шлака, равная при tшл=600°С по РН4-04 [6]
133,8 ккал/кг%0,041
|
|
|
|
|
12
|
Сумма
потерь тепла
|
∑q
|
∑q = q2+ q3+q4 +q5 +q6, при
сжигании мазута и газа q4=0; q6=0
|
%
|
20,01
|
|
13
|
К.П.Д.
котлоагрегата
|
ηка
|
ηка=100 - ∑q
|
%
|
79,99
|
|
14
|
Энтальпия
насыщенного пара
|
 Из термодинамических таблиц
согласно Рнп (приложение V [6])ккал/кг666,2
|
|
|
|
|
15
|
Энтальпия
питательной воды
|
Из
термодинамических таблиц согласно (приложение V
[6])ккал/кг80,52
|
|
|
|
16 Тепло, полезно
использованное в котлоагрегате
Без пароперегревателя
|
= ( - )ккал/ч3806920
|
|
|
|
|
|
17
|
Полный
расход топлива
|
В
|
В
= ·100/( ·ηка)кг/час1166,1
|
|
|
|
18
|
Расчетный
расход топлива
|
Вр
|
Вр
= В , при
сжигании газа и мазута Вр=Вкг/час1084,5
|
|
|
7.
Тепловой расчёт топки
Таблица 5
Тепловой расчет топки
|
№
п/п
|
Наименование
величин
|
Обозначение
|
Расчетная
формула, способ определения
|
Размерность
|
Расчет
|
|
1
|
2
|
3
|
4
|
5
|
6
|
|
1
|
Объем
топочной камеры
|
Vт
|
м3
|
20,8
|
|
2
|
Полная
лучевоспринимающая поверхность нагрева
|
Нл
|
По
конструктивным характеристикам
|
м2
|
27,9
|
|
3
|
Поверхность
стен
|
Fст
|
Fст = 6 м245,38
|
|
|
4 Степень
экранирования топки ψ' Для камерных
топок ψ'=
.
|
Для
слоевых топок ψ'= -0,7
|
|
|
|
|
5
|
Площадь
зерк. гор
|
Rзг
|
По
приложению III [6]
|
м2
|
6,9
|
|
6
|
Поправочный
коэффициент
|
β
|
По
приложению VI [6]
|
-
|
0,75
|
|
7
|
Эффективная
толщина излучающего слоя
|
s
|
s = 3,6 м1,65
|
|
|
|
8
|
Абсолютное
давление газов в топке
|
р
|
Принимается
р=1,0
|
ата
|
1,0
|
|
9
|
Температура
газов на выходе из топки
|
Принимается
предварительно по приложению VII [6]ºС1000
|
|
|
|
10 Коэффициент
ослабления лучей в пламени k Для
светящегося пламени: k = - 0,5 + 1,6
/1000.
Для несветящегося пламени
k = kг (рRO2 +рH2O).
Для полусветящегося пламени:
|
k = kг (рRO2 +рH2O)+ kn μ-1,1
|
|
|
|
|
11
|
Произведение
|
k p s
|
k p s
|
-
|
0,815
|
|
12
|
Степень
черноты топочной среды
|
α
|
Принимается
по номограмме XI [6]
|
-
|
0,84
|
|
13
|
Эффективная
степень черноты факела
|
αф -0,63
|
|
|
|
|
14
|
Условный
коэффициент загрязнения
|
ζ
|
По
РН 6-02 [6]
|
-
|
0,9
|
|
15
|
Произведение
|
ψ' ζ
|
ψ' ζ
|
-
|
0,63
|
|
16
|
Параметр,
учитывающий влияние излучения горящего слоя
|
ρ
|
ρ=
Rзг/
Нл
|
-
|
0,25
|
17 Степень черноты топки аТ Для
камерных топок аТ =
Для слоевых топок:
аТ =
|
-0,64
|
|
|
|
|
18
|
Присос
холодного воздуха в топку
|
По РН 4-06
[6]-0,1
|
|
|
|
19 Коэффициент избытка
воздуха, организованно поданного в топку 
=
,
|
где
принимается
из табл.2-1,35
|
|
|
|
|
|
20
|
Температура
горячего воздуха
|
tгв
|
Принимается
согласно расчетным характеристикам топки
|
ºС
|
-
|
|
21
|
Энтальпия
горячего воздуха
|
 = ккал/кг-
|
|
|
|
22 Энтальпия холодного
воздуха
При
отсутствии подогрева воздуха
=
При наличии подогрева воздуха
|
= Δ ккал/кг48,32
|
|
|
|
23 Тепло, вносимое
воздухом в топку QВ При отсутствии подогрева
воздуха QВ =
При наличии подогрева воздуха
|
Qв = + ккал/кг48,32
|
|
|
|
|
24
|
Тепловыделение
в топке на 1 кг (1нм3)топлива
|
QТ
|
QТ =  + QВккал/кг4089
|
|
|
|
25
|
Теоретическая
(адиабатическая) температура горения
|
Qа
|
По
диаграмме J-θ согласно
величине QТ
|
ºС
|
1550
|
|
6
|
Тепловыделение
на 1 м2 поверхности нагрева
|
-
|
ккал/м2ч176604
|
|
|
|
27
|
Температура
газов на выходе из топки
|
Q”Т
|
По
номограмме I [6]
|
ºС
|
860
|
|
28
|
Энтальпия
газов на выходе из топки
|
I”Т
|
По
диаграмме J-θ согласно
величине Q”Т
|
ккал/кг
|
2130
|
|
29
|
Тепло,
переданное излучением в топке
|
Qл
|
Qл = φ (QТ - I”Т)
|
ккал/кг
|
1914
|
|
30
|
Тепловая
нагрузка лучевоспринимающей поверхности нагрева топки
|
-
|
ккал/м2ч74399
|
|
|
|
31
|
Видимое
теплонапряжение топочного объема
|
-
|
ккал/м3ч
212791
|
|
|
|
32
|
Приращение
энтальпии воды в топке
|
ΔiТ
|
ΔiТ = ккал/кг319,3
|
|
|
8.
Описание кипятильного пучка
Один из существенных недостатков котла ДКВР
6,5-13 - слабая циркуляция воды в верхних рядах кипятильных труб, объединенной
одной секцией, что обуславливается разной их тепловой нагрузкой. При больших
форсировках это приводит к опрокидыванию циркуляции или застою воды и, как
следствие этого, к пережогу кипятильных труб.
Для увеличения надежности циркуляции кипятильные
трубы котла ДКВР 6,5-13 расположены с большим углом наклона к горизонту, а сами
трубы объединены в пучки таким образом, чтобы была обеспечена четкая схема
движения воды в пароводяной смеси.
Концы труб котла вальцованы непосредственно в
барабаны. Чтобы не получилось косых вальцовочных соединений, концы труб
вставляются в радиально просверленные в барабане отверстия.
Продольно расположенные барабаны соединены
развальцованными в них гнутыми кипятильными трубами, образующими конвективный
котельный пучок, так называемого пролетного типа, т.е. омываются одним, не
меняющим своего направления, потоком дымовых газов.
Котельные пучки выполняются из стальных
бесшовных труб диаметром 51мм и толщиной стенки 2,5 мм.
Трубы в кипятильных пучках расположены в
коридорном порядке с шагом 100 мм вдоль оси, 110 мм поперек оси котла.
Результаты расчёта кипятильного пучка приведены
в таблице 6.
Таблица 6
Расчет кипятильного пучка
|
№
п/п
|
Наименование
величин
|
Обозначение
|
Расчетная
формула, способ определения
|
Размерность
|
Расчет
|
|
1
|
2
|
3
|
4
|
5
|
6
|
|
1
|
Конструктивные
характеристики:
|
|
а)расположение
труб
|
-
|
По
данным приложения I [6]
|
|
коридорное
|
|
б)диаметр
труб
|
dн /dвн
|
То
же
|
мм
|
51/46
|
|
в)поперечный
шаг
|
s1
|
То
же
|
мм
|
110
|
|
г)продольный
шаг
|
s2
|
То
же
|
мм
|
100
|
|
д)число
труб в ряду первого газохода
|
То жешт22
|
|
|
|
|
е)число
рядов труб в первом газоходе
|
То жешт14
|
|
|
|
|
ж)число
труб в ряду второго газохода
|
То жешт22
|
|
|
|
|
з)число
рядов труб во втором газоходе
|
То жешт9
|
|
|
|
|
и)общее
число труб
|
z
|
z =  + шт506
|
|
|
|
к)средняя
длина одной трубы
|
lср
|
По
конструктивным данным
|
мм
|
2600
|
|
л)конвективная
поверхность нагрева
|
Нк
|
Нк
= z
π dн
lср
|
м2
|
210,68
|
|
2
|
Среднее
сечение для прохода газов
|
Fср
|
По
конструктивным данным
|
м2
|
1,24
|
3 Температура газов
перед кипятильным пучком первого газохода
Из расчета топки (без
пароперегревателя)
|
= ºС820
|
|
|
|
|
|
4
|
Энтальпия
газов на входе
|
По
диаграмме J-θккал/кг2150
|
|
|
|
|
5
|
Температура
газов за кипятильным пучком второго газохода
|
Предварительно
принимается по приложению VIII [6]ºС310
|
|
|
|
|
6
|
Энтальпия
газов за вторым пучком
|
По
диаграмме J-θккал/кг745
|
|
|
|
|
7
|
Средняя
температура газов
|
 = 0,5( + )ºС565
|
|
|
|
|
8
|
Тепловосприятие
кипятильных пучков
|
Qб
|
Qб = φ( - +Δαкп )ккал/кг1477,5
|
|
|
|
9
|
Секундный
объем газов
|
Vсек
|
Vсек = м3
/сек6,78
|
|
|
|
10
|
Средняя
скорость газов
|
ωГ.СР
|
ωГ.СР =
Vсек
/
Fср
|
м/сек
|
5,5
|
|
11
|
Температура
насыщения при давлении в барабане котла
|
ts
|
По
приложению V [6]
|
ºС
|
194,13
|
|
12
|
Коэффициент
загрязнения
|
ε
|
Принимается
по номограмме XII [6]
|
0,012
|
|
|
13
|
Температура
наружной стенки
|
tз
|
tз = ts + ε ºС285,4
|
|
|
|
14
|
Объемная
доля водяных паров
|
Из табл.
2 -0,1
|
|
|
|
15 Коэффициент
теплообмена конвекцией αк αн Сz
Сср αк = αн Сz
Сср
по номограмме II [6]
42
,0
16 Объемная доля сухих
трехатомных газов
Из табл.1
|
-0,11
|
|
|
|
|
|
17
|
Объемная
доля трехатомных газов
|
 = + -0,2
|
|
|
|
|
18
|
Эффективная
толщина излучающего слоя
|
s
|
s = (1,87 м0,184
|
|
|
|
19
|
Суммарная
поглощательная способность трехатомных газов
|
s sм ата0,04
|
|
|
|
|
20
|
Коэф.
ослабления лучей трехатомными газами
|
kГ
|
По
номограмме IX [6]
|
-
|
3,2
|
|
21
|
Сила
поглощения газового потока
|
k p
s
|
kГ s
p, где р=1
атам ата0,128
|
|
|
|
22
|
Поправочный
коэффициент
|
а
|
По
номограмме XI [6]
|
-
|
0,13
|
23 Коэффициент
теплообмена излучением αл αн Сг а αл = αн Сг а по
номограмме XI [6] то же
из пункта 22 расчета
9,49
,96
|
0,13
|
|
|
|
24
|
Коэффициент
омывания поверхности нагрева
|
ω
|
По
приложению II [6]
|
-
|
0,9
|
|
25
|
Коэффициент
теплопередачи
|
k
|
k = 30,1
|
|
|
|
26
|
Температурный
напор на входе газов
|
 = - tsºС625,9
|
|
|
|
|
27
|
Температурный
напор на выходе газов
|
 = - tsºС115,9
|
|
|
|
|
28
|
Среднелогарифмический
температурный напор
|
Δt
|
Δt= ºС131,5
|
|
|
|
29
|
Тепловосприятие
поверхности нагрева по уравнению теплопередачи
|
QТ
|
QТ = ккал/кг769,2
|
|
|
|
30
|
Отношение
расчетных величин тепловосприятия
|
Если QТ и Qб
отличаются меньше, чем на 2%, расчет считается законченным, в противном
случае повторяется с изменением величины Q′′2кп%0,52
|
|
|
|
|
31
|
Приращение
энтальпии воды
|
Δi
|
Δi= ккал/кг246,4
|
|
|
9.
Описание водяного экономайзера
В данной курсовой работе в качестве поверхности
нагрева используется экономайзер, установленный за котлом. Для котла типа ДКВР
6,5-13 выбран чугунный экономайзер марки ВТИ.
Чугунный экономайзер собран из чугунных ребристых
труб, соединенных чугунными коленами так, чтобы питательная вода могла
последовательно пойти по всем трубам снизу вверх. Такое ее движение необходимо,
т. к. при нагревании воды падает растворимость находящихся в ней газов и они
выделяются из нее в виде пузырьков, которые постепенно продвигаются вверх, где
и удаляются через воздушный сборник. Конструкция экономайзера способствует
удалению этих пузырьков. Чтобы лучше смывать их, скорость движения воды принята
не менее 0,3 м/сек.
Чугунные ребристые трубы (рис. 6) имеют по краям
прямоугольные фланцы, которые одновременно составляют стенки, ограничивающие
газоход.
Чтобы предупредить присос воздуха, щели между
фланцами уплотнены асбестовым шнуром, уложенным в особые канавки, находящиеся
на фланцах.
Рис.6 Чугунные ребристые трубы
Число труб в горизонтальном
ряду Z1 = 4 экономайзера
определено из условия, скорости движения дымовых газов, которая равна 6,5 м/с.
Необходимо, чтобы экономайзер не засорялся золой и сажей. Так как топливо
твердое, предусматривается два обдувочных устройства для удаления сажи и золы.
Число горизонтальных рядов Z2
= 11 определено из условия получения требуемой поверхности нагрева
экономайзера. В нижней части экономайзера предусмотрена ревизия.
Одиннадцать горизонтальных рядов чугунных
ребристых труб скомпонованы в одну группу - колонку. Группа собрана в каркасе с
глухими стенками, состоящими из изоляционных плит, обшитых металлическими
листами. Торцы экономайзера закрыты съемными металлическими щитами.
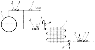
Схема подключения водяного чугунного
экономайзера к котлу показана на рисунке 7.
Рис.7 Схема включения чугунного экономайзера
Позиции (рис. 7): 1-барабан котла; 2-запорный
вентиль; 3-обратный клапан; 4-вентиль на сгонной линии; 5-предохранительный
клапан; 6-вентиль воздушника; 7-чугунный водяной экономайзер; 8-вентиль на
дренажной линии.
Для экономайзера выполнен конструкторский
расчет. Результаты расчета экономайзера приведены в таблице 7.
Таблица 7
Расчет водяного экономайзера
|
№
п/п
|
Наименование
величин
|
Обозначение
|
Расчетная
формула, способ определения
|
Размерность
|
Расчет
|
|
1
|
3
|
4
|
5
|
6
|
|
1
|
Конструктивные
характеристики:
|
|
а)диаметр
труб
|
dн /dвн
|
По
приложению I [6]
|
мм
|
76/60
|
|
б)расположение
труб
|
|
То
же
|
-
|
Коридорное
|
|
в)поперечный
шаг
|
s1
|
То
же
|
мм
|
150
|
|
г)продольный
шаг
|
s2
|
То
же
|
мм
|
150
|
|
д)относительный
поперечный шаг
|
s1 / dн
|
То
же
|
-
|
1,97
|
|
е)относительный
продольный шаг
|
s2/ dн
|
То
же
|
-
|
1,97
|
|
ж)средняя
длина одной трубы
|
lср
|
Принимается
по приложению Х [6]
|
мм
|
2500
|
|
з)число
труб в ряду колонки
|
z1
|
То
же
|
шт
|
4
|
|
и)число
рядов труб по ходу газов
|
z2
|
Принимается
в зависимости от вида топлива: а) газ, мазут z2 = 12; б)
тв.топлива с Wр >22% z2 = 14; в)
тв.топлива с Wр <22% z2 = 16.
|
шт
|
16
|
|
2
|
Средняя
скорость газов
|
ωг
|
Принимается
равной 6-8 м/сек
|
м/сек
|
7
|
|
3
|
Температура
газов на входе
|
Из расчета
кипятильных пучков котла = ºС310
|
|
|
|
|
4
|
Энтальпия
газов на входе
|
По
диаграмме J-θккал/кг745
|
|
|
|
|
5
|
Температура
газов на выходе
|
Из задания
= ºС200
|
|
|
|
|
6
|
Энтальпия
газов на выходе
|
По
диаграмме J-
θккал/кг513
|
|
|
|
|
7
|
Температура
воды на входе в экономайзер
|
t΄
|
Из
задания t΄ = t΄пв
|
ºС
|
80
|
|
8
|
Энтальпия
воды на входе в экономайзер
|
i΄
|
Согласно
расчету теплового баланса котлоагрегата (табл.4)
|
ккал/кг
|
80,52
|
|
9
|
Тепловосприятие
экон-ра по балансу
|
Qб
|
Qб =φ( - +Δαвэ )ккал/кг302
|
|
|
|
10
|
Энтальпия
воды на выходе из экономайзера
|
i΄΄
|
i΄΄ =
i΄+ Qб Вр /
Qрp
|
ккал/кг
|
160,7
|
|
11
|
Температура
воды на выходе из экономайзера
|
t΄΄
|
По
приложению V [6] при
Рк
|
ºС
|
194,13
|
|
12
|
Температурный
напор на входе газов
|
Δt΄
|
Δt΄= -
t΄΄ºС115,87
|
|
|
|
13
|
Температурный
напор на выходе
|
Δt΄΄
|
Δt΄΄= -
t΄ºС120
|
|
|
|
14
|
Средний
температурный напор
|
Δtср
|
Δtср = 0,5(Δt΄+ Δt΄΄)
|
ºС
|
117,9
|
|
15
|
Средняя
температура газов
|
θ
|
θ = 0,5( + )ºС255
|
|
|
|
16
|
Средняя
температура воды
|
t
|
t = 0,5(t΄+
t΄΄)
|
ºС
|
137,1
|
|
17
|
Объем
газов на 1 кг топлива
|
Vг
|
По
табл.2 расчета
|
нм3/кг
|
7,78
|
|
18
|
Сечение
для прохода газов
|
Fг
|
Fг = м20,65
|
|
|
19 Коэффициент
теплопередачи k kн Cv По
номограмме ХVI [6]
16,63
,3
|
1,02
|
|
|
|
20
|
Поверхность
нагрева
|
Нве
|
Нве
= м2167,04
|
|
|
21 Поверхность нагрева
одного элемента с газовой стороны Нвэ
lВ
зависимости от длины труб:
Длина,мм 1500 2000 2500 3000
Поверхность
|
нагрева,м2
2,18 2,95 3,72 4,49м23,72
|
|
|
|
|
|
22
|
Число
рядов труб по ходу газов
|
 = шт11,2
|
|
|
|
|
22
|
Число
рядов труб, принятое по конструк.соображ.
|
z2к
|
По
конструктивным соображениям
|
шт
|
11
|
|
23
|
Число
рядов труб в одной колонке
|
z΄2к
|
z΄2к = 0,5
z2к
|
шт
|
6
|
|
24
|
Высота
колонки
|
h
|
h= s2 z2к
+
600
|
мм
|
1500
|
|
25
|
Ширина
колонки
|
b
|
b= s1 z1
|
мм
|
600
|
|
26
|
Приращение
энтальпии воды
|
Δi
|
Δi= ккал/кг50,4
|
|
|
10.
Определение невязки теплового баланса
Таблица 8
Определение невязки теплового баланса
|
№
п/п
|
Наименование
величин
|
Обозначение
|
Расчетная
формула, способ определения
|
Размер-ность
|
Расчет
|
|
1
|
2
|
3
|
4
|
5
|
6
|
|
1
|
Количество
тепла, воспринятое на 1 кг топлива лучевоспринимающими поверхностями топки,
определенное из уравнения баланса
|
Q Из табл.5ккал/кг1914
|
|
|
|
|
2
|
То
же кипятильными пучками
|
Qкп
|
Из
табл.6
|
ккал/кг
|
1477,5
|
|
3
|
То
же экономайзером
|
Qэк
|
Из
табл.7
|
ккал/кг
|
302
|
|
4
|
Общее
количество полезно использованного тепла
|
Q1
|
Q1 = ηкаккал/кг3264,55
|
|
|
|
5
|
Невязка
таплового баланса
|
ΔQ
|
ΔQ= Q1 - (Qт+ Qкп + Qэк) х(1-q4 /100)
|
ккал/кг
|
170,4
|
|
6
|
Относительная
тепловая невязка
|
δ΄
|
δ΄= ΔQ×100/ ≤0,5%%-4,2
|
|
|
|
7
|
Приращение
энтальпии воды в топке
|
ΔiТ
|
Из
табл.5
|
ккал/кг
|
319,3
|
|
8
|
То
же, в кипятильных пучках
|
Δiкп
|
Из
табл.6
|
ккал/кг
|
246,4
|
|
9
|
То
же, в экономайзере
|
Δiэк
|
Из
табл.7
|
ккал/кг
|
50,4
|
|
10
|
Сумма
приращений энтальпий
|
Δi1
|
Δi1 = ΔiТ +
Δiкп
+
Δiэк
|
ккал/кг
|
616,1
|
|
11
|
Невязка
теплового баланса
|
Δi - Δi1
|
iнп - iпв - Δi1
|
ккал/кг
|
30,42
|
|
12
|
Относительная
величина невязки
|
δ2
|
δ2 = (Δi - Δi1)100/Δi
≤0,5%
|
%
|
-
4,9
|
11.
Сводная таблица теплового расчета котельного агрегата
Таблица 9
Сводная таблица теплового расчета котельного
агрегата
|
№
п/п
|
Наименование
величин
|
Размерность
|
Наименование
газохода
|
|
|
|
Топка
|
Кипятильные
пучки
|
Экономайзер
|
|
1
|
2
|
3
|
4
|
5
|
6
|
|
1
|
Температура
газов на входе
|
ºС
|
-
|
820
|
310
|
|
2
|
То
же, на выходе
|
ºС
|
860
|
310
|
200
|
|
3
|
Средняя
температура газов
|
ºС
|
-
|
565
|
255,0
|
|
4
|
Энтальпия
газов на входе
|
ккал/кг
|
-
|
2150,0
|
745
|
|
5
|
То
же, на выходе
|
ккал/кг
|
2130
|
745
|
513
|
|
6
|
Тепловосприятие
|
ккал/кг
|
1914
|
1477,5
|
302
|
|
7
|
Температура
вторичного теплоносителя на входе
|
ºС
|
-
|
-
|
80
|
|
8
|
То
же, на выходе
|
ºС
|
-
|
-
|
194,13
|
|
9
|
Скорость
газов
|
м/с
|
-
|
5,5
|
7
|
|
10
|
Скорость
воздуха
|
м/с
|
-
|
5,5
|
7
|
Заключение
Данная курсовая работа
выполнена согласно заданию с использованием необходимой справочной и
нормативной литературы.
В результате расчёта определила
расчётный расход топлива Вр = 1084,5 кг/час. По конструктивному расчёту
определила размер поверхности нагрева отдельных элементов экономайзера,
необходимые для получения принятых показателей экономичности при заданных
температурах питательной воды и характеристик топлива, Нве = 167,04 м2 , число
труб в ряду колонки z1 = 4 шт,
число рядов труб по ходу газов z2
= 16 шт.
Определила температуру среды,
расход и скорости воздуха и дымовых газов.
В результате расчета получила невязку между
тепловосприятием поверхности нагрева по уравнению теплопередачи и
тепловосприятием кипятильных пучков по уравнению баланса 0,52 %. По
определённому количеству тепла, воспринимаемого различными поверхностями
котельного агрегата по полезному теплу, нашла тепловую невязку
δ1
= 4,2 %. Также определила относительную величину тепловой невязки по энтальпии δ2
= 4,7 %.
По поверочно-конструктивному расчёту
сконструирован водяной экономайзер. Выполнена обвязка котла и экономайзера с
нанесением необходимой арматуры (предохранительные клапаны, вентиля, обратные
клапана, регулирующие клапаны, задвижки, воздушник).
Литература
1. Гусев Ю.Л. Основы проектирования
котельных установок. Издание 2, переработанное и дополненное. Издательство
литературы по строительству. Москва, 1973,248 с
2. Щёголев М.М., Гусев Ю.Л.,
Иванова М.С. Котельные установки. Издание2, приработанное и дополненное.
Издательство литературы по строительству. Москва, 1972
. Делягин Г.Н., Лебедев В.И.,
Пермяков Б.А. Теплогенерирующие установки, Москва, Стройиздат, 1986, 560 с
. СНиП II-35-76. Котельные
установки.
. Методические указания для
расчета котельного агрегата и экономайзера. К курсовой работе по ТГУ для
студентов специальности 270109-Теплогазоснабжение и вентиляция / Сост.: А. Е.
Ланцов, Г. М. Ахмерова. Казань, 2007.-26 с.
. Ланцов А.Е. Расчетные
нормали и номограммы. РИО КГАСУ, 2007