Разработка котельного агрегата ДКВр 20-13
Введение
В данной курсовой работе выполнен
поверочно-конструкторский расчет котла ДКВр 20-13 - двухбарабанного котла,
вертикально-водотрубного реконструированного.
Для топочной камеры и конвективных котельных
пучков выполнен поверочный расчет.
Для водяного экономайзера - конструктивный
расчет.
Также разрабатывается проект котельного агрегата
с экономайзером.
Исходные данные:
Поверхность нагрева, установленная за котлом -
экономайзер
Номинальная паропроизводительность котла - 20
т/ч
Давление пара - 14 атм (ата)
Температура питательной воды (после деаэратора)
- 80 0С
Вид топлива - г/д Саратов-Москва
Способ сжигания топлива - в факеле
Температура наружного воздуха (в котельной) - 25
0С
В первой главе производится расчет объемов и
энтальпий воздуха и продуктов сгорания при α=1. Для
этого рассчитывается теоретическое количество воздуха необходимое для полного
сгорания топлива и минимальный объем продуктов сгорания, которые получились бы
при полном сгорании топлива с теоретически необходимым количеством воздуха.
Во второй главе приводится описание котла ДКВР
20-13, производится выбор топочного устройства по исходным данным, приводятся
расчетные характеристики топки, определение коэффициентов избытка воздуха,
рассчитываются энтальпии продуктов сгорания для разных участков, тут же
строится J-θ
диаграмма продуктов сгорания, производится расчет теплового баланса и расхода
топлива, а также тепловой расчет топки, расчет конвективных пучков.
В третьей главе проводится конструктивный расчет
водяного экономайзера, находится его поверхность нагрева, число и ряд труб.
В четвертой главе производится определение
расчетной невязки теплового баланса.
В пятой главе составляется таблица теплового
расчета котельного агрегата.
Описание топлива:
В качестве топлива в котельном агрегате используется
природный газ, поступающий из газопровода Саратов-Москва
В качестве газообразного топлива используется
природный газ газоконденсатных и газонефтяных месторождений. Природные газы
подразделяются на три группы:
. Газы, добываемые из чисто газовых
месторождений. В основном состоят из метана и являются тощими или сухими.
Содержание тяжелых углеводородов (от пропана и выше) в сухих газах 50 мг/м3.
. Газы, которые выделяются из скважин
нефтяных месторождений совместно с нефтью. Такие газы называются попутными.
Кроме метана также газы содержат обычно свыше 150 мг/м3 тяжелых
углеводородов. Они являются жирными газами. Жирными газами называются такие
газы, которые представляют собой смесь сухого газа, пропан-бутановой фракции и
газового бензина.
. Газы, добываемые из конденсатных
месторождений. Такие газы состоят из смеси сухого газа и паров конденсата,
которые выпадают при сжижении. Пары конденсата представляют собой смесь паров
тяжелых углеводородов, содержащих С5 и выше (бензин, керосин и
лигроин).
Природный газ не имеет запаха. До подачи в сеть
его одорируют, т.е. придают резкий не приятный запах, который ощущается при 1%
концентрации.
Газообразное топливо очищают от примесей.
Природный газ состоит из метана СН4
(до 98%) и других углеводородов. Теплота сгорания 
=28000-46000 кДж/м3.
Природные газы отличаются малым содержанием балласта, отсутствием серы, окиси
углерода и пыли.
Газообразное топливо представляет
собой смесь горючих и негорючих газов, содержащих некоторое количество
примесей. К горючим газам относятся углеводороды, водород и оксид углерода.
Негорючими компонентами являются азот, диоксид углерода и кислород. Они
составляют балласт газообразного топлива.
В сравнении с твердым топливом
применение в котельных установках жидкого и газообразного топлива значительно
выгоднее т.к. упрощается его транспортировка, хранение и сжигание, а также
значительно повышается коэффициент полезного действия котла. При использовании
газа автоматизируется производство, и ликвидируются складские помещения.
Расчетные характеристики топлива:
Месторождение - г/д Саратов-Москва
Состав газа по объёму [6]:
CH4=84,5%
C2H6=3,8%
C3H8=1,9%
C4H10=0,9%
С5Н12 и
более=0,3%
N2=7,8%
CO2=0,8%
Плотность, кг/м3 (при 0 0С
и 760 мм рт. ст.),
=0,837 кг/м3

= 8550 ккал/м3 =10215
кДж/кг
1. Расчет объемов и энтальпий воздуха и
продуктов сгорания при α=1 (для
газообразного топлива)
Теоретическое количество воздуха необходимое для
полного сгорания топлива:
Минимальный объем продуктов
сгорания, которые получились бы при полном сгорании топлива с теоретически
необходимым количеством воздуха (α=1):
,
,
,
,




2. Котел. Описание котла типа ДКВр
20-13
Котельные установки - это теплогенерирующие
установки, т.е. целью их работы является получение тепловой энергии сгорания
сжигаемого в них топлива и передачи полученной теплоты теплоносителю.
Котельные установки подразделяются по роду
вырабатываемого теплоносителя на паровые и водогрейные, а по характеру
обслуживания потребителей - на отопительные, отопительно-производственные и
производственные. Котельные производственные и отопительные (предназначенные
для покрытия отопительных нагрузок) работают определенное количество дней в
году, в зависимости от характера производства и длительности отопительного
периода.
Проектируемой теплогенерирующей установкой
является котельный агрегат ДКВр 20-13.
Котел ДКВр 20-13 (первое число
после наименования котла обозначает паропроизводительность, т/ч; второе число -
давление пара в барабане котла, кгс/см² ати)
- двухбарабанный, вертикально-водотрубный с естественной циркуляцией,
реконструированный, бескаркасной конструкции. Он используется для производства
насыщенного и перегретого (при установке пароперегревателя) пара давлением 14 и
24 кгс/см2.
Котел предназначен для
производственно-отопительных и районных котельных. При сжигании газообразного
топлива компонуется камерной топкой.
Котельный агрегат ДКВр 20-13 представляет собой
два продольно-расположенных барабана, установленных друг над другом, диаметром
1000 мм и сваренных из листовой стали. Поверхность верхнего барабана должна
быть хорошо изолирована огнеупорным материалом для обеспечения требуемого срока
службы котла.
Котельный агрегат обмурован со всех сторон
тяжелыми кирпичными стенами толщиной 510 мм за исключением задней стенки
толщиной 380 мм. Котел устанавливается на бетонном основании выше уровня
чистого пола.
По боковым стенам обмуровки
котельного агрегата вмонтированы люки для осмотра котла изнутри. Штампованное
днище нижнего барабана имеет специальные лазы, закрываемые люками. Таким образом, у котла имеются четыре люка для ревизии с
правой и с левой сторон (по два на каждую) и один с фронтовой стороны между
газовыми горелками. С левой и с задней сторон можно произвести тщательный
наружный осмотр котельного агрегата, а также произвести качественную регулировку
расхода пара, благодаря смотровым площадкам, закрепленным на металлическом
каркасе, который опоясывает обмуровку котла. В данном проекте запроектировано
три смотровые площадки, подъем на которые можно осуществить по металлическим
лестницам, приваренным к каркасу площадок. В свою очередь все смотровые
площадки оборудованы перилами, установленными для предотвращения падения
служебного персонала с этих площадок.
В верхней части котельного агрегата
установлены два взрывных клапана. При нерасчетном
режиме работы котельного агрегата - взрыве, резко возрастает объем дымовых
газов. Дымовые газы свободно проходят через крупноячеистую сетку, затем
разрушают асбестовую плиту и выходят по направляющей трубе наружу.
На верхнем барабане запроектирована вся необходимая
запорно-регулирующая, предохранительная, контрольно-пропускная арматура, а
также манометр, измеряющий давление в барабане котлоагрегата. На передней части
котла установлены водоуказательные приборы.
На фронтовой части котла установлены три газомазутные
горелки типа ГМГм, через которые топливо подается в топку котельного агрегата.
Для этого во фронтальной стене обмуровки имеются расширяющиеся отверстия в
топку, необходимые для образования факела горения и раскрытия его на
необходимый угол.
По боковым сторонам за пределы вынесены трубы,
соединенные с верхними и нижними коллекторами и обоими барабанами. Эти трубы -
выносные циклоны. Выносные циклоны необходимы для разделения пароводяной смеси
соответственно на пар и воду. От выносных циклонов в верхней части котла к
верхнему барабану выходят две трубы, по которым движется пар.
С задней стороны в обмуровке имеется отверстие,
через которое из конвективной части котла выходят дымовые газы. К этому
отверстию возможно присоединение поверхностей нагрева - воздухоподогревателя
или экономайзера. По заданию необходимо рассчитать и запроектировать
поверхность нагрева - экономайзер, который соединен с котлом с помощью
специального короба.
На наружной поверхности обмуровки имеются
отверстия, в которые вмонтированы трубы периодической продувки. В нижний
барабан дополнительно подведены трубы для прогрева котла паром при растопке.
Котел ДКВр 20-13 состоит из
двух продольно-расположенных барабанов, которые соединяются между собой пучком
кипятильных (конвективных) труб. Трубы боковых экранов приварены к верхним
коллекторам. Нижние концы экранных труб приварены к нижним коллекторам. В
нижнем барабане расположены трубы периодической продувки и спускная линия.
Перед кипятильным пучком котлов
расположена топочная камера, которая для уменьшения потерь тепла с уносом и
химическим недожогом делится кирпичной шамотной перегородкой на две части:
собственно топку и камеру догорания. Дымовые газы совершают в котле
горизонтально-поперечное с несколькими поворотами движение. Это обеспечивается
установкой между кипятильными трубами чугунных перегородок, которые делят их на
первый и второй газоходы. Выход газов из камеры догорания и из котла, как
правило, асимметричен.
Вода в трубы боковых экранов
поступает одновременно из верхнего и нижнего барабанов.
В котлах ДКВр 20-13 применено двухступенчатое
испарение. Первая ступень испарения включает
конвективный пучок, фронтовой и задний экраны, а также боковые экраны заднего
топочного блока. Боковые экраны переднего топочного блока включены во вторую
ступень испарения. Сепарационными устройствами второй ступени испарения
являются выносные циклоны центробежного типа. Циркуляционные контуры второй
ступени испарения замыкаются через выносные циклоны и их опускные трубы; первой
ступени испарения - через опускную часть
конвективного пучка. Питание циркуляционного контура второй ступени испарения
осуществляется из нижнего барабана в выносные циклоны.
Газоходы разделены между собой чугунной
перегородкой по всей высоте газохода котла с окном (от фронта котла) справа.
Передняя часть нижнего барабана крепится неподвижно, а остальные части котла
имеют скользящие опоры, а также реперы, которые контролируют удлинения
элементов при температурном расширении.
Топка сформирована экранными трубами, которые
образуют соответственно: передний или фронтовой экран, левый боковой экран,
правый боковой экран (аналогично левому), задний экран топки.
Барабаны котла, рассчитанные на
давление 14 кгс/см2, имеют одинаковый внутренний диаметр (1000 мм)
при толщине стенок 13 мм. Для осмотра барабанов и расположенных в них
устройств, а также для очистки труб шарошками на заднем и переднем днищах
имеются лазы. В водяном пространстве верхнего барабана находится питательная
труба для непрерывной продувки; в паровом объеме - сепарационные устройства также устанавливается воздушный
кран и собственно паропровод, на котором установлен главный парозапорный
вентиль. Следует также отметить, что в данной работе запроектирован кран для
отвода пара на собственные нужды котельной. В верхнем барабане над
топкой установлены две легкоплавкие вставки (смесь олова и свинца), которые
плавятся при температуре около 300°С, что приводит к выпуску воды в топку,
прекращению горения топлива и предохранению барабана от перегрева. На верхнем
барабане установлена арматура: водоуказательные приборы, предохранительные
клапаны, термометр, манометр. На всех котлах ДКВР над топкой и газоходом
установлены взрывные и предохранительные клапаны. В
нижнем барабане установлены перфорированная труба для периодической продувки,
устройство для прогрева барабана при растопке и штуцер для спуска воды.
Движение топочных газов осуществляется следующим
образом: Топливо и воздух подаются в горелки, а в топке образуется факел
горения. Теплота от топочных газов в топке, за счет радиационного и
конвективного теплообмена, передается всем экранным трубам (радиационным
поверхностям нагрева), где эта теплота за счет теплопроводности металлической
стенки и конвективного теплообмена от внутренней поверхности труб передается
воде, циркулирующей по экранам. Затем топочные газы с температурой 900-1100 °С
выходят из топки и через окно справа в кирпичной перегородке переходят в камеру
догорания, огибают кирпичную перегородку с левой стороны и входят в первый
газоход, где передают теплоту конвективному пучку труб. С температурой около
600 °С топочные дымовые газы, огибая чугунную перегородку с правой стороны,
входят во второй газоход кипятильного пучка труб и с температурой около 200-250
°С, с левой стороны, выходят из котла и направляются в водяной экономайзер.
За котельным агрегатом устанавливается
поверхность нагрева - экономайзер. Экономайзер является одной из составных
частей котлоагрегата. Так как температура воды в котельном агрегате везде
одинакова и растет с увеличением давления, то без установки водяного
экономайзера глубокое охлаждение уходящих газов невозможно.
Котел оборудован устройствами и приборами,
обеспечивающими безопасную работу котельного агрегата и позволяющими безотказно
и быстро производить пуск, остановку и регулирование его работы. За нормальной
эксплуатацией котельного агрегата необходимо наблюдать и контролировать
происходящие в нем процессы. Для этого применяют различные
контрольно-измерительные приборы. Изменение давления в котельном агрегате или
отклонение уровня воды в барабане за допустимые пределы может вызвать аварийную
ситуацию, связанную с непосредственной опасностью для обслуживающего персонала.
Поэтому, согласно правилам, на паровом котле для непосредственного наблюдения и
контроля за давлением и уровнем воды в барабане установлены манометр,
водоуказательные приборы и предохранительные устройства.
Предохранительная арматура служит для
ограничения движения, расхода и направления движения среды. К ней относятся:
предохранительные клапаны на питательных линиях, автоматические быстрозапорные
клапаны на паропроводах, обратные клапаны. Обратные клапаны пропускают среду
только в одном направлении и автоматически закрываются при обратном ее
движении. Устанавливают их на входе питательной воды в парогенератор для
исключения возможности ее обратного движения из котла при падении давления в
питательном трубопроводе. Обратные клапаны устанавливают также на напорных
патрубках питательных насосов для предотвращения обратного движении воды при
остановке последних.
Питательная вода по питательным трубопроводам 15
поступает в верхний барабан 16, где смешивается с котловой водой. Из верхнего
барабана по последним рядам труб конвективного пучка 18 вода опускается в
нижний барабан 17, откуда по подпиточным трубам 21 направляется в циклоны 8. Из
циклонов по опускным трубам 26 вода подается к нижним камерам 24 боковых
экранов 22 второй ступени испарения, пароводяная смесь поднимается в верхние
камеры 10 этих экранов, откуда поступает по трубам 9 в выносные циклоны 8, в
которых разделяется на пар и воду. Вода по трубам 31 опускается в нижние камеры
20 экранов, отсепарированный пар по перепускным трубам 12 отводится в верхний
барабан. Циклоны соединены между собой перепускной трубой 25.
Рис. 1 Общая схема циркуляции
воды в котле ДКВР-20-13
1 - вторая ступень испарения; 2 - фронтовой
экран; 3 - камера; 4 - непрерывная продувка; 5 - рециркуляционные трубы; 6 -
перепускная труба из верхнего коллектора в барабан; 7, 10, 11 - верхние камеры;
8 - выносные циклоны; 9 - перепускные трубы из верхней камеры в выносной
циклон; 12 - перепускные трубы из выносного циклона в барабан; 13 - патрубок
отвода пара; 14 - сепарационное устройство; 15 - питательные линии; 16 -
верхний барабан; 17 - нижний барабан; 18 - конвективный пучок; 19, 20, 23, 24 -
нижние камеры; 21 - подпиточные трубы; 22 - боковые экраны; 25 - перепускная
труба; 26 - опускные трубы; 27, 29, 30, 31 - перепускные трубы; 28 -
пароотводящие трубы.
Экраны первой ступени испарения питаются из
нижнего барабана.
В нижние камеры 20 боковых экранов 22 вода
поступает по соединительным трубам 30, в нижнюю камеру 19 заднего экрана по
другим трубам. Фронтовой экран 2 питается из верхнего барабана - вода поступает
в нижнюю камеру 3 по опускным трубам 27.
Пароводяная смесь отводится в верхний барабан из
верхних камер 10 боковых экранов первой ступени испарения по пароотводящим
трубам 28, из верхней камеры 11 заднего экрана трубами 29, из верхней камеры 7
фронтового экрана трубами 6. Фронтовой экран имеет рециркуляционные трубы 5.
2.1 Топка. Выбор топочного устройства. Описание
топочного устройства и топочного объема
Топка - устройство, предназначенное для сжигания
топлива с целью получения теплоты. Топка выполняет функцию горения и
теплообменного аппарата - теплота излучением и конвекцией одновременно
передается от факела горения и продуктов сгорания к экранным поверхностям, по
которым циркулирует вода. Доля лучистого теплообмена в топке, где температура
топочных газов порядка 1000°С, больше чем конвективного, поэтому, чаще всего,
поверхности нагрева в топке называют радиационными.
Топочные устройства в зависимости от способа
сжигания делятся на камерные и слоевые. Выбор способа сжигания и типа топочного
устройства определяется видом топлива, его реакционными свойствами и
физико-химическими свойствами золы, а также производительностью и конструкцией
котла.
Топочное устройство должно обеспечивать
экономичность работы котла в необходимых пределах регулирования нагрузки,
бесшлаковую работу поверхностей нагрева, отсутствие газовой коррозии экранных
труб, минимальное содержание окислов азота и сернистых соединений в уходящих
газах.
Для сжигания природного газа, мазута и
пылевидного твердого топлива обычно используют камерные топки. В конструкции
камерной топки можно выделить четыре основных элемента: топочную камеру,
экранную поверхность, горелочное устройство и систему удаления шлака и золы.
Обмуровкой называют ограждения, отделяющие
топочную камеру и газоходы котельного агрегата от внешней среды. Обмуровку
выполняют из красного или диатомового кирпича, огнеупорного материала или из
металлических щитов с огнеупорами. Внутренняя часть обмуровки в топке, или
футеровка, со стороны топочных газов и шлаков, выполняется из огнеупорных
материалов: шамотного кирпича, шамотобетона и других огнеупорных масс.
Обмуровка и футеровка должны быть достаточно плотными, особо
высокоогнеупорными, стойкими к химическому воздействию шлаков и иметь малый
коэффициент теплопроводности. Несмотря на более высокую стоимость шамотного
кирпича или другого огнеупорного материала по сравнению с обычным красным
кирпичом, все эксплуатационные расходы покроют капитальные, благодаря высоким
теплофизическим свойствам, а также высокой стойкостью к продуктам сгорания.
Экранная радиационная поверхность нагрева
выполнена из стальных труб. Экраны воспринимают теплоту за счет радиации и
конвекции и передают ее воде или пароводяной смеси, циркулирующим по трубам.
Экраны защищают обмуровку от мощных тепловых потоков.
В камерных топках котлов паропроизводительностью
до 25 т/ч сжигается газообразное топливо и мазут.
Таблица №1. Расчетные характеристики топки
|
№
|
Наименование
величин
|
Обозначение
|
Размерность
|
Величина
|
|
1
|
Видимое
теплонапряжение зеркала горения
|
∙10-3 -
|
|
|
|
2
|
Видимое
теплонапряжение топочного объема
|
∙10-3 250
|
|
|
|
3
|
Коэффициент
избытка воздуха в топке
|
αт
|
-
|
1,15
|
|
4
|
Потеря
тепла от химнедожога
|
q3
|
%
|
1,5
|
|
5
|
Потеря
тепла от мехнедожога
|
q4
|
%
|
-
|
|
6
|
Содержание
горючих в шлаке и провале
|
Гшл+пр
|
%
|
-
|
|
7
|
Содержание
горючих в уносе
|
Гун
|
%
|
-
|
|
8
|
Доля
золы топлива в шлаке и провале
|
ашл+пр
|
-
|
-
|
|
9
|
Доля
золы топлива в уносе
|
аун
|
-
|
-
|
|
10
|
Давление
воздуха под решеткой
|
Рв
|
мм
вод. ст.
|
-
|
|
11
|
Температура
дутьевого воздуха
|
tв
|
оС
|
-
|
Коэффициент избытка воздуха на выходе из топки
принимаем из таблицы «Расчетные характеристики камерной топки» (РН 5-02, РН
5-03[6]).
Коэффициент избытка воздуха для других участков
газового тракта получаются путем прибавления к αт
присосов воздуха принимаемых по [6], РН 4-06.
Для выполнения теплового расчета газовый тракт
котельного агрегата делят на самостоятельные участки: топочную камеру,
конвективные испарительные пучки и экономайзер.
Таблица №2. Средние характеристики продуктов
сгорания в поверхностях нагрева котла
№ Наименование величин Размерность V
=9.52нм3/кг
V
=7,6 нм3/кгV
=1,037 нм3/кг
|
V =2,11
нм3/кг
|
|
|
|
|
|
Топка
|
Конвективные
пучки
|
Экономайзер
|
|
1
|
Коэффициент
избытка воздуха перед газоходом α’
|
-
|
1,15
|
1,20
|
1,25
|
|
2
|
Коэффициент
избытка воздуха за газоходом α”
|
-
|
1,20
|
1,25
|
1,35
|
|
3
|
Коэффициент
избытка воздуха (средний) α
|
-
|
1,175
|
1,225
|
1,30
|
|
4
|
V =V +0,0161·( -1)·Vонм3/кг2,2187482,2266762,238568
|
|
|
|
|
|
5
|
Vг=V +V +V +( -1)·Vонм3/кг12,80441813,30476614,055288
|
|
|
|
|
|
6
|
r = -0,0824720,079370,075132
|
|
|
|
|
|
7
|
r = -0,173280,167360,15927
|
|
|
|
|
|
8
|
rг=r +
r -0,2557520,246730,234402
|
|
|
|
|
Энтальпия газов, представляющая собой
произведение объема газов на их теплоемкость и температуру, возрастает с
повышением температуры.
При вычислении I-θ таблицы
рекомендуется для каждого значения коэффициента избытка воздуха α определить
величину
лишь в
пределах, немного превышающих реально возможные пределы температур в газоходах.
Величина
представляет
собой разность двух соседних по горизонтали значений
при одном α.
Результаты вычислений сводятся в
таблицу 3.
По расчетным данным таблицы 3 строится диаграмма
I-θ продуктов
сгорания.
Таблица №3. Тепловой баланс и расход топлива
|
№
|
Наименование
величины
|
Обозначение
|
Расчетная
формула, способ определения
|
Размерность
|
Расчет
|
1 Располагаемое тепло
топлива Q
Q
=Q
+Q
=cтл·tтл, при
tтл=0
|
Q =0
и Q =Q ккал/кг10215
|
|
|
|
|
|
2
|
Температура
уходящих газов
|
θ
ух
|
По
приложению IV [6]
|
оС
|
180
|
|
3
|
Энтальпия
уходящих газов
|
Iух
|
Из
диаграммы I-θ при
θ
ух
|
ккал/кг
|
843,29
|
|
4
|
Температура
холодного воздуха
|
tхв
|
Согласно
заданию
|
оС
|
25
|
|
5
|
Энтальпия
холодного воздуха
|
Iхв
|
Iхв= ух·Vо(с∙θ)хвккал/кг101,143
|
|
|
|
6
|
Потери
тепла от мех. недожога
|
q4
|
По
характеристикам топки
|
%
|
-
|
|
7
|
Потери
тепла от хим. недожога
|
q3
|
По
характеристикам топки
|
%
|
1,5
|
8 Потеря тепла с
уходящими газами Q2 q2 Q2=(Iух-
ух·Iхв)·
2=
·100 ккал/кг
%711,8
|
6,3289
|
|
|
|
|
9
|
Потеря
тепла в окружающ. среду
|
q5
|
По
РН 5-01 [6]
|
%
|
1,3
|
|
10
|
Коэффициент
сохранения тепла
|
φ
|
φ=1- -0,987
|
|
|
11 Потеря тепла с
физическим теплом шлаков q6 q6=
·100=
где: ашл - по расчетным
характеристикам топки;
|
(с∙θ)шл
- энтальпия шлака, при tшл=600оС
по РН4-04 [6] (с∙θ)шл=133,8
ккал/кг%-
|
|
|
|
|
12
|
Сумма
потерь тепла
|
Σq
|
Σq=q2+q3+q4+q5+q6,
при сжигании газа и мазута q4=0;
q6=0
|
%
|
9,1289
|
|
13
|
К.П.Д.
котлоагрегата
|
ηка
|
ηка=100-Σq
|
%
|
90,87
|
|
14
|
Энтальпия
насыщенного пара
|
i''нп
|
Из
термодинамических таблиц согласно Рнп (приложение V
[6])
|
ккал/кг
|
666,2
|
|
15
|
Энтальпия
питательной воды
|
i'пв
|
Из
термодинамических таблиц согласно t'пв
(приложение V [6])
|
ккал/кг
|
80,524
|
|
16
|
Тепло,
полезно использованное в котлоагрегате
|
Qка
|
Без
пароперегревателя Qка=D·(i''нп-
i'пв)
|
ккал/час
|
11713520
|
|
17
|
Полный
расход топлива
|
В
|
В= кг/час1146,222
|
|
|
16 Расчетный расход
топлива Вр Вр=В·
, при
сжигании газа и мазута
Таблица №4. Тепловой расчет топки
|
Наименование
величины
|
Обозначение
|
Расчетная
формула или способ определения
|
Размерность
|
Расчет
|
|
Объем
топочной камеры
|
Vт
|
По
данным приложения I [6]
|
м3
|
42,5
|
|
Полная
луче-воспринимающая поверх. нагрева
|
Нл
|
По
данным приложения I [6]
|
м2
|
65
|
|
Поверхность
стен
|
Fст
|
Fст=6 м271,27
|
|
|
|
Степень
экранирования топки
|
ψ'
|
для
камерных топок
|
для
слоевых топок
|
-
|
0,912
|
|
|
ψ'= ψ'=
|
|
|
|
|
Площадь
зерк. гор.
|
Rзг
|
По
приложению III [6]
|
м2
|
-
|
|
Поправочный
коэффициент
|
β
|
По
приложению VI [6]
|
-
|
1,0
|
|
Эффективная
толщина излучающего слоя
|
S
|
S=3,6· м
|
2,15
|
|
|
Абсолютное
давление газов в топке
|
р
|
Принимается
р=1,0
|
ата
|
1,0
|
|
Температура
газов на выходе из топки
|
θ”т
|
Принимается
предварительно по приложению VII
[6]
|
оС
|
1000
|
Коэффициент ослабления лучей в
пламени k Для светящегося
пламени: k=1,6·
Для несветящегося
пламени:
k=kг·(р
+р
),
где: kг -
коэффициент ослабления лучей трехатомными газами, определяемый по номограмме IX [6].
Для полусветящегося
пламени:
k=kг·(p
+p
)+kn·µ,
где kn -
коэффициент ослабления лучей золовыми частицами,
определяемый по номограмме Х [6];
|
µ-
концентрация золы в дымовых газах, г/нм -0,192
|
|
|
|
|
Произведение
|
k·p·s
|
-
|
0,413
|
|
Степень
черноты топочной среды
|
а
|
Принимается
по номограмме ХI
[6]
|
-
|
0,33
|
|
Эффективная
степень черноты факела
|
аф
|
β·а
|
-
|
0,33
|
|
Условный
коэффициент загрязнения
|
ζ
|
По
РН 6-02 [6]
|
-
|
1,0
|
|
Произведение
|
ψ'·ζ
|
ψ'·ζ
|
-
|
0,912
|
|
Параметр,
учиты-вающий влияние излучения горящего слоя
|
ρ
|
ρ= --
|
|
|
Степень черноты топки ат Для
слоевых топок: ат=
Для камерных топок:
|
ат= -0,287
|
|
|
|
|
Присос
холодного воздуха в топку
|
Δαт
|
По
РН 4-06 [6]
|
-
|
0,05
|
|
Коэффициент
избытка воздуха, организованно поданного в топку
|
αт
|
αт=αт״-Δαт,
где αт״
ïðèíèìàåòñÿ
èç òàáë. ¹1
|
-
|
1,15
|
|
Температура
горячего воздуха
|
tгв
|
Принимается
согласно расчетным характеристикам топки
|
оС
|
-
|
|
Энтальпия
горячего воздуха
|
Iгв
|
Iгв=αт·Vo·(c∙θ)гв
|
ккал/кг
|
-
|
|
Энтальпия
холодного воздуха
|
Iхв
|
При
отсутствии подогрева воздуха Iхв=αт·Vo·(c∙θ)хв
при наличии подогрева воздуха Iхв=Δαт·Vo·(c∙θ)хв
|
ккал/кг
|
85,583
|
|
Тепло,
вносимое воздухом в топку
|
Qв
|
При
отсутствии подогрева воздуха Qв=Iхв
при наличии подогрева воздуха Qв=Iхв+Iгв=
=Δαт·Vo·(c∙θ)хв+αт·Vo·(c∙θ)гв
|
ккал/кг
|
85,583
|
|
Тепловыделение
в топке на 1кг (1нм3) топлива
|
Qт
|
Qт=Q · +Qвккал/кг11163,68
|
|
|
|
Теоретическая
(адиабатическая) температура горения
|
Qа
|
По
I-θ
диаграмме согласно величине Qт
|
оС
|
2205
|
|
Тепловыделение
на 1 м2 поверхности нагрева
|
-
|
ккал/м2ч19686
|
|
|
|
Температура
газов на выходе из топки
|
Qт˝
|
По номограмме I
[6]
|
оС
|
1160
|
|
Энтальпия
газов на выходе из топки
|
Iт˝
|
По
I-θ
диаграмме
согласно величине Qт˝
|
ккал/кг
|
5561,6
|
|
Тепло,
переданное излучением в топке
|
Qл
|
Qл=φ·(Qт-Iт˝)
|
ккал/кг
|
5529,2
|
|
Тепловая
нагрузка лучевоспринимающей поверхности нагрева топки
|
-
|
ккал/м2ч97503
|
|
|
|
Видимое
тепло-напряжение топочного объема
|
-
|
ккал/м3ч30332
|
|
|
|
Приращение
энтальпии воды в топке
|
∆iт
|
∆iт= ккал/кг316,88
|
|
|
.2 Конвективные пучки. Общее описание
конвективных пучков
Èñïàðèòåëüíàÿ
ïîâåðõíîñòü íàãðåâà
âåðòèêàëüíî-âîäîòðóáíûõ
êîòåëüíûõ àãðåãàòîâ
ñîñòîÿò èç ðàçâèòîãî
ïó÷êà êèïÿòèëüíûõ
òðóá âàëüöîâàííûõ
â âåðõíèé è íèæíèé
áàðàáàíû, òîïî÷íûõ
ýêðàíîâ ïèòàåìûõ
âîäîé èç êîòåëüíûõ
áàðàáàíîâ ÷åðåç
îïóñêíûå è ñîåäèíèòåëüíûå
òðóáû èç êîëëåêòîðîâ.
Êîëëåêòîð âûïîëíåí
èç òðóá äèàìåòðîì
äî 219 ìì, ýêðàííûå
òðóáû ïðèñîåäèíåíû
ê íèì ñâàðêîé.
Êàê ïðàâèëî, êîòåë
ÄÊÂð èìååò òðè
öèðêóëÿöèîííûõ
êîíòóðà: îäèí,
îáðàçóåìûé êèïÿòèëüíûìè
òðóáàìè êîòëà,
è äâà, îáðàçóåìûå
ýêðàíàìè. ×àñòü
ïèòàòåëüíîé
âîäû, ïîñòóïàþùåé
â âåðõíèé áàðàáàí
êîòëà ïî ãðóïïå
êèïÿòèëüíûõ òðóá,
ÿâëÿþùèõñÿ îïóñêíûìè,
ïðîõîäèò â íèæíèé
áàðàáàí. Çäåñü
âîäà ðàçäåëÿåòñÿ
íà 3 ïîòîêà: îäèí
èç íèõ ïî ãðóïïå
êèïÿòèëüíûõ òðóá,
ÿâëÿþùèõñÿ ïîäúåìíûìè,
âîçâðàùàåòñÿ
â âåðõíèé áàðàáàí
â âèäå ïàðîâîäÿíîé
ñìåñè, à äâà äðóãèõ
ïî ñîåäèíèòåëüíûì
òðóáàì ïðîõîäÿò
â íèæíèå êîëëåêòîðû
ýêðàíîâ, çàòåì
â ýêðàííûå òðóáû
è, íàêîíåö, òàêæå
â âèäå ïàðîâîäÿíîé
ñìåñè, â âåðõíèé
áàðàáàí êîòëà.
Äðóãàÿ ÷àñòü
ïèòàòåëüíîé
âîäû, ïîñòóïàþùåé
â êîòåë, èç âåðõíåãî
áàðàáàíà ïî îïóñêíûì
òðóáàì òàêæå
ïîñòóïàåò â êîëëåêòîð.
Äëÿ îáåñïå÷åíèÿ
íàäåæíîé ðàáîòû
è ðàñ÷åòíîé ïðîèçâîäèòåëüíîñòè
êîòåëüíîãî àãðåãàòà
áîëüøîå çíà÷åíèå
èìååò ïðàâèëüíàÿ
îðãàíèçàöèÿ
äâèæåíèÿ âîäû
â èñïàðèòåëüíûõ
ïîâåðõíîñòÿõ
íàãðåâà. Íàäåæíàÿ
ðàáîòà ìîæåò
áûòü îáåñïå÷åíà
â òîì ñëó÷àå, êîãäà
âîäà, äâèæóùàÿñÿ
â êèïÿòèëüíûõ
è ýêðàííûõ òðóáàõ
ðàáîòàþùèõ ïðè
ïîâûøåííîé òåìïåðàòóðå,
ñîçäàåò íåîáõîäèìîå
îõëàæäåíèå ìåòàëëà
ýòèõ òðóá, òàê
êàê ñíèæåíèå
ìåõàíè÷åñêîé
ïðî÷íîñòè ìåòàëëà
ïðè ïîâûøåíèè
òåìïåðàòóðû ìîæåò
ïðèâåñòè ê èõ
ðàçðóøåíèþ.
Ñëåäóåò
îòìåòèòü, ÷òî
åñòåñòâåííàÿ
öèðêóëÿöèÿ â êèïÿòèëüíûõ
è ýêðàííûõ òðóáàõ
ïðîèñõîäèò ïîä
äåéñòâèåì ãðàâèòàöèîííûõ
ñèë, îáóñëàâëèâàåìûõ
ðàçíîñòüþ ïëîòíîñòåé
âîäû è ïàðîâîäÿíîé
ñìåñè.
Ïðè ðàñ÷åòå
èñïîëüçóþòñÿ
óðàâíåíèå òåïëîïåðåäà÷è
è óðàâíåíèå òåïëîâîãî
áàëàíñà, à ðàñ÷åò
âûïîëíÿåòñÿ äëÿ
1 ì3 ãàçà ïðè íîðìàëüíûõ
óñëîâèÿõ.
Òàáëèöà
¹5. Ðàñ÷åò êèïÿòèëüíîãî
ïó÷êà
|
Íàèìåíîâàíèå
âåëè÷èíû
|
Îáîçíà÷åíèå
|
Ðàñ÷åòíàÿ
ôîðìóëà, ñïîñîá
îïðåäåëåíèÿ
|
Ðàçìåðíîñòü
|
Ðàñ÷åò
|
|
Êîíñòðóêòèâíûå
õàðàêòåðèñòèêè:
|
|
|
|
|
|
à)
ðàñïîëîæåíèå
òðóá
|
-
|
Ïî
äàííûì ïðèëîæåíèÿ
I [6]
|
-
|
êîðèäîðíîå
|
|
á)
äèàìåòð òðóá
|
dí/dâí
|
Òî
æå
|
ìì
|
51/46
|
|
â)
ïîïåðå÷íûé øàã
|
s1
|
Òî
æå
|
ìì
|
110
|
|
ã)
ïðîäîëüíûé øàã
|
s2
|
Òî
æå
|
ìì
|
100
|
|
ä)
÷èñëî òðóá â ðÿäó
ïåðâîãî ãàçîõîäà
|
z Òî
æåøò22
|
|
|
|
|
å)
÷èñëî ðÿäîâ òðóá
â ïåðâîì ãàçîõîäå
|
z Òî
æåøò13
|
|
|
|
|
æ)
÷èñëî òðóá â ðÿäó
âòîðîãî ãàçîõîäà
|
z Òî
æåøò22
|
|
|
|
|
ç)
÷èñëî ðÿäîâ òðóá
âî âòîðîì ãàçîõîäå
|
z Òî
æåøò15
|
|
|
|
|
è)
îáùåå ÷èñëî òðóá
|
z
|
z=z ·z +z ·z øò616
|
|
|
|
ê)
ñðåäíÿÿ äëèíà
îäíîé òðóáû
|
lñð
|
Ïî
äàííûì ïðèëîæåíèÿ
I [6]
|
ìì
|
2600
|
|
ë)
êîíâåêòèâíàÿ
ïîâåðõíîñòü
íàãðåâà
|
Íê
|
Íê=z·π·dí·lñð
|
ì2
|
256,48
|
|
Ñðåäíåå
ñå÷åíèå äëÿ ïðîõîäà
ãàçîâ
|
Fñð
|
Ïî
äàííûì ïðèëîæåíèÿ
I [6]
|
ì2
|
1,75
|
|
Òåìïåðàòóðà
ãàçîâ ïåðåä êèïÿòèëüíûì
ïó÷êîì 1ãî ãàçîõîäà
|
θ´1êï
|
Èç
ðàñ÷åòà òîïêè
(áåç ïàðîïåðåãðåâàòåëÿ)
θ´1êï=Q˝ò-(30÷40)îÑ
|
îÑ
|
1120
|
|
Ýíòàëüïèÿ
ãàçîâ íà âõîäå
|
J´1êï
|
Ïî
äèàãðàììå J-θ
|
êêàë/êã
|
5347,17
|
|
Òåìïåðàòóðà
ãàçîâ çà êèïÿòèëüíûì
ïó÷êîì 2ãî ãàçîõîäà
|
θ˝2êï
|
Ïðåäâàðèòåëüíî
ïðèíèìàåì ïî
ïðèëîæåíèþ VIII
[6]
|
îÑ
|
310
|
|
Ýíòàëüïèÿ
ãàçîâ çà 2ûì
ãàçîõîäîì
|
J˝2êï
|
Ïî
äèàãðàììå J-θ
ïðè
θ˝2êï
è α2êï
|
êêàë/êã
|
1470,83
|
|
Ñðåäíÿÿ
òåìïåðàòóðà
ãàçîâ
|
θñð
|
θñð=0,5·(θ´1êï+θ˝2êï)
|
îÑ
|
715
|
|
Òåïëîâîñïðèÿòèå
êèïÿòèëüíûõ
ïó÷êîâ
|
Qá
|
Qá=φ·(J´1êï-J˝2êï+∆αêï·J )êêàë/êã3830,94
|
|
|
|
Ñåêóíäíûé
îáúåì ãàçîâ
|
Vñåê
|
Vñåê= ì3/ñåê15,33
|
|
|
|
Ñðåäíÿÿ
ñêîðîñòü ãàçîâ
|
ωã.ñð
|
ωã.ñð=Vñåê/Fñð
|
ì/ñåê
|
8,76
|
|
Òåìïåðàòóðà
íàñûùåíèÿ ïðè
äàâëåíèè â áàðàáàíå
êîòëà
|
ts
|
Ïî
ïðèëîæåíèþ V [6]
|
îÑ
|
194,13
|
|
Êîýôôèöèåíò
çàãðÿçíåíèÿ
|
ε
|
Ïðèíèìàåòñÿ
ïî íîìîãðàììå
XII [6]
|
 0,005
|
|
|
Òåìïåðàòóðà
íàðóæíîé ñòåíêè
òðóáû
|
tç
|
tç=ts+ε· îÑ279,733
|
|
|
Îáúåìíàÿ
äîëÿ
âîäÿíûõ ïàðîâ r
r
=0,5·(ð´
+ð˝
),
|
ãäå
ð´ è
ð˝ -ïàðöèàëüíîå
äàâëåíèå âîäÿíûõ
ïàðîâ íà âõîäå
è âûõîäå èç ïó÷êîâ
(òàáë.2)-0,17
|
|
|
|
|
|
Êîýôôèöèåíò
òåïëîîáìåíà
êîíâåêöèåé
|
αê
αí
Ñz
Cñð
|
αê=αí·Ñz·Cñð
Ïî íîìîãðàììå
II [6]
|
50,49
|
|
|
Îáúåìíàÿ
äîëÿ ñóõèõ òðåõàòîìíûõ
ãàçîâ
|
r Èç òàáë.2
ïðîåêòà r =ð -0,07937
|
|
|
|
|
Îáúåìíàÿ
äîëÿ òðåõàòîìíûõ
ãàçîâ
|
rã
|
rã=r +r -0,249
|
|
|
|
Ýôôåêòèâíàÿ
òîëùèíà èçëó÷àþùåãî
ñëîÿ
|
S
|
s=(1,87· ì0,1836
|
|
|
|
Ñóììàðíàÿ
ïîãëîùàòåëüíàÿ
ñïîñîáíîñòü
òðåõàòîìíûõ
ãàçîâ
|
rã·s
|
ðã·s=rã·s
|
ì·àòà
|
0,0457
|
|
Êîýôôèöèåíò
îñëàáëåíèÿ ëó÷åé
òðåõàòîìíûìè
ãàçàìè
|
kã
|
Ïî
íîìîãðàììå IX
[6]
|
-
|
2,35
|
|
Ñèëà
ïîãëîùåíèÿ ãàçîâîãî
ïîòîêà
|
k·p·s
|
kã·pã·sã·ð,
ãäå ð=1 àòà
|
ì·àòà
|
0,1074
|
|
Ïîïðàâî÷íûé
êîýôôèöèåíò
|
à
|
Ïî
íîìîãðàììå XI
[6]
|
-
|
0,11
|
|
Êîýôôèöèåíò
òåïëîîáìåíà
èçëó÷åíèåì
|
αë
αí
Ñã à
|
αë=αí·Ñã·à
Ïî íîìîãðàììå
XI [6] òî æå èç ïóíêòà
22 ðàñ÷åòà
|
9,438
|
|
|
Êîýôôèöèåíò
îìûâàíèÿ ïîâåðõ-íîñòè
íàãðåâà
|
ω
|
Ïî
ïðèëîæåíèþ II [6]
|
-
|
0,9
|
|
Êîýôôèöèåíò
òåïëîïåðåäà÷è
|
k
|
k= 43,0626
|
|
|
|
Òåìïåðàòóðíûé
íàïîð íà âõîäå
ãàçîâ
|
∆t´ ∆t´=θ´1êï-tsîÑ925,87
|
|
|
|
|
Òåìïåðàòóðíûé
íàïîð íà âûõîäå
ãàçîâ
|
∆t˝
∆t˝=θ˝2êï-ts
îÑ
|
115,87
|
|
|
|
Ñðåäíåëîãàðèôìè-÷åñêèé
òåìïåðàòóð-íûé
íàïîð
|
∆t
∆t= îÑ391,3
|
|
|
|
|
Òåïëîâîñïðèÿòèå
ïîâåðõíîñòè
íàãðå-âà ïî óðàâíåíèþ
òåïëîïåðåäà÷è
|
Qò
|
Qò= êêàë/êã3770,46
|
|
|
|
Îòíîøåíèå
ðàñ÷åòíûõ âåëè÷èí
òåïëîâîñïðèÿòèÿ
|
Åñëè
Qá è QÒ îòëè÷àþòñÿ
ìåíüøå, ÷åì íà
2%, ðàñ÷åò ñ÷èòàåòñÿ
çàêîí÷åííûì,
â ïðîòèâíîì ñëó÷àå
ðàñ÷åò ïîâòîðÿåòñÿ
ñ èçìåíåíèåì
âåëè÷èíû θ˝2êï%1,58
|
|
|
|
|
Ïðèðàùåíèå
ýíòàëüïèè âîäû
|
∆i
|
∆i= êêàë/êã219,555
|
|
|
.
Îïèñàíèå âîäÿíîãî
ýêîíîìàéçåðà
Âîäÿíûå
ýêîíîìàéçåðû
óñòàíàâëèâàþò
äëÿ ñíèæåíèÿ
òåìïåðàòóðû óõîäÿùèõ
ãàçîâ, à, ñëåäîâàòåëüíî,
äëÿ ïîâûøåíèÿ
êîýôôèöèåíòà
ïîëåçíîãî äåéñòâèÿ
êîòåëüíîé óñòàíîâêè. ×óãóííûå
ýêîíîìàéçåðû
èçãîòîâëÿþòñÿ
ïî îòðàñëåâûì
ñòàíäàðòàì «Ýêîíîìàéçåðû
÷óãóííûå áëî÷íûå»
ÃÎÑÒ 24.03.002.
Ýêîíîìàéçåðû
áûâàþò èíäèâèäóàëüíûå
è ãðóïïîâûå. Êàê
ïðàâèëî, óñòàíàâëèâàòü
èíäèâèäóàëüíûå
ýêîíîìàéçåðû,
òàê êàê îíè ðàáîòàþò
ðàâíîìåðíî è
ñ íàèìåíüøèì
èçáûòêîì âîçäóõà.
Âîäÿíûå
ýêîíîìàéçåðû
èçãîòàâëèâàþòñÿ
÷óãóííûìè è
ñòàëüíûìè.
 äàííîé
êóðñîâîé ðàáîòå
â êà÷åñòâå ïîâåðõíîñòè
íàãðåâà çàïðîåêòèðîâàí
èíäèâèäóàëüíûé
ýêîíîìàéçåð,
óñòàíîâëåííîãî
çà êîòëîì. Êîìïîíîâêà
- îäíîêîëîíêîâûé
ýêîíîìàéçåð
(íåñêîëüêî ãîðèçîíòàëüíûõ
ðÿäîâ òðóá îáðàçóþò
ãðóïïû, êîòîðûå
êîìïîíóþò â îäíó
èëè äâå êîëîíêè).
Ãðóïïû â òðåáóåìîì
êîëè÷åñòâå ñîáèðàþòñÿ
â ïàêåò. Ïàêåò
ñîáèðàþò â êàðêàñå
ñ ãëóõèìè ñòåíêàìè,
ñîñòîÿùèìè èç
èçîëÿöèîííûõ
ïëèò, îáøèòûõ
ìåòàëëè÷åñêèìè
ëèñòàìè. Òîðöû
ýêîíîìàéçåðîâ
çàêðûâàþòñÿ
÷åòûðüìÿ ñú¸ìíûìè
ìåòàëëè÷åñêèìè
ùèòàìè, çàïðîåêòèðîâàííûìè
äëÿ âîçìîæíîñòè
êà÷åñòâåííîãî
îñìîòðà âíóòðåííåé
÷àñòè ýêîíîìàéçåðà
è äëÿ åãî î÷èñòêè.
Ïðîåêòèðóåìûé
ýêîíîìàéçåð
èìååò ñîáñòâåííûé
ôóíäàìåíò èç-çà
çíà÷èòåëüíîé
ìàññû óñòðîéñòâà.
Ôóíäàìåíò ýêîíîìàéçåðà
íå ñâÿçàí ñ ôóíäàìåíòîì
êîòåëüíîãî àãðåãàòà.
Ýêîíîìàéçåð
ñîåäèíåí ñ êîòëîì
ñ ïîìîùüþ ñïåöèàëüíîãî
êîðîáà, íåïîñðåäñòâåííî
ïî êîòîðîìó äâèãàþòñÿ
äûìîâûå ãàçû.
 êîðîáå èìååòñÿ
ìÿãêàÿ âñòàâêà
äëÿ ïðåäîòâðàùåíèÿ
ïåðåäà÷è âèáðàöèè.
Íà âåðõíåé ÷àñòè
êîðîáà óñòàíîâëåí
âçðûâíîé êëàïàí.
 íèæíåé
÷àñòè èìååòñÿ
äûìîõîä, ïî êîòîðîìó
îñóùåñòâëÿåòñÿ
âûõîä îòðàáîòàííûõ
äûìîâûõ ãàçîâ.
Âíèçó óñòðîåíû
ëþêè äëÿ ÷èñòêè.
Íà âíåøíåé
ïîâåðõíîñòè
ýêîíîìàéçåðà
èìååòñÿ ââîä
ïèòàòåëüíîé
âîäû â íèæíåì
ðÿäó è âûõîä îòåïëåííîé
ïèòàòåëüíîé
âîäû èç âåðõíåãî
ðÿäà.
Ïðèáîðû íà
âõîäå ïèòàòåëüíîé
âîäû ðàñïîëîæåíû
íåïîñðåäñòâåííî
ó äûìîõîäà, à ïðèáîðû
íà âûõîäå - íà ïèòàòåëüíîì
òðóáîïðîâîäå
ðÿäîì ñ âåðõíèì
áàðàáàíîì êîòëà,
íàä çàäíåé ñìîòðîâîé
ïëîùàäêîé. Ïðèáîðû
çàïðîåêòèðîâàíû
òàê, ÷òîáû îáñëóæèâàþùåìó
ïåðñîíàëó áûëî
óäîáíî îáåñïå÷èòü
èõ ðåãóëèðîâêó
è ñíèìàòü ïîêàçàíèÿ
ñ èçìåðèòåëüíûõ
ïðèáîðîâ, à òàêæå
âî èçáåæàíèå
èõ ïîìåõ ïðè ýêñïëóàòàöèè.
Ïðåäóñìîòðåíà
óñòàíîâêà ÷óãóííîãî
ýêîíîìàéçåðà,
òàê êàê ÷óãóííûå
ýêîíîìàéçåðû
âîçìîæíî ïðèìåíÿòü
ïðè äàâëåíèÿõ
äî 23 àòè. ×óãóííûå
ýêîíîìàéçåðû
íå äîïóñêàþò
êèïåíèÿ âîäû â
íèõ, ò. ê. ïðè ãèäðàâëè÷åñêîì
óäàðå îíè ìîãóò
âûéòè èç ñòðîÿ.
Òåìïåðàòóðà âîäû
íà âûõîäå èç ÷óãóííîãî
ýêîíîìàéçåðà
íà 20 °Ñ íèæå òåìïåðàòóðû
êèïåíèÿ âîäû â
áàðàáàíå êîòëà.
×óãóííûå
ýêîíîìàéçåðû
ñîáèðàþò èç ÷óãóííûõ
ðåáðèñòûõ òðóá
è ñîåäèíÿþò ÷óãóííûìè
êîëåíàìè (äóãàìè
è êàëà÷àìè). Ïèòàòåëüíàÿ
âîäà äîëæíà ïîñëåäîâàòåëüíî
ïðîéòè ïî âñåì
òðóáàì ýêîíîìàéçåðà
ñíèçó ââåðõ. Òàêîå
åå äâèæåíèå íåîáõîäèìî,
ò.ê. ïðè íàãðåâàíèè
âîäû ïàäàåò ðàñòâîðèìîñòü
íàõîäÿùèõñÿ
â íåé ãàçîâ, è
îíè âûäåëÿþòñÿ
èç íåå â âèäå ïóçûðüêîâ,
êîòîðûå ïîñòåïåííî
ïðîäâèãàþòñÿ
ââåðõ, ãäå è óäàëÿþòñÿ
÷åðåç âîçäóøíûé
ñáîðíèê. Ñêîðîñòü
äâèæåíèÿ âîäû
äîëæíà áûòü íå
ìåíåå 0,3 ì/ñ, ÷òîáû
ëó÷øå ñìûâàòü
ïóçûðüêè.
Íà êîíöàõ
òðóá ýêîíîìàéçåðà
èìåþòñÿ êâàäðàòíûå
ïðèëèâû - ôëàíöû,
êîòîðûå ïðè ìîíòàæå
îáðàçóþò äâå
ñïëîøíûå ìåòàëëè÷åñêèå
ñòåíêè. Ñòûêè
ìåæäó ôëàíöàìè
ãåðìåòèçèðóþòñÿ
àñáåñòîâûì øíóðîì
äëÿ óñòðàíåíèÿ
ïðèñîñîâ âîçäóõà.
Ñáîêó ñòåíêè
ñ äóãàìè è êàëà÷àìè
çàêðûâàþòñÿ
ñúåìíûìè êðûøêàìè.
Òåìïåðàòóðà
âîäû ïðè âõîäå
â ýêîíîìàéçåð
ïðåâûøàåò òåìïåðàòóðó
òî÷êè ðîñû äûìîâûõ
ãàçîâ íå ìåíåå
÷åì íà 10 °Ñ. Ýòî íåîáõîäèìî
äëÿ òîãî, ÷òîáû
èñêëþ÷èòü êîíäåíñàöèþ
âîäÿíûõ ïàðîâ,
âõîäÿùèõ â ñîñòàâ
äûìîâûõ ãàçîâ
è îñàæäåíèå âëàãè
íà òðóáàõ ýêîíîìàéçåðà.
×óãóííûé
ýêîíîìàéçåð
ïðîñò è íà䏿åí
â ýêñïëóàòàöèè.
Îí óñòîé÷èâ ïðîòèâ
êîððîçèè, ïîýòîìó
åãî ïðèìåíåíèþ
ñëåäóåò îòäàòü
ïðåäïî÷òåíèå
ïåðåä âîçäóõîïîäîãðåâàòåëÿìè
â òåõ ñëó÷àÿõ,
êîãäà ïîäîãðåâ
âîçäóõà ÿâëÿåòñÿ
íåîáõîäèìûì
äëÿ èíòåíñèôèêàöèè
ïðîöåññà ãîðåíèÿ
èëè äëÿ ïîâûøåíèÿ
ÊÏÄ òîïêè.
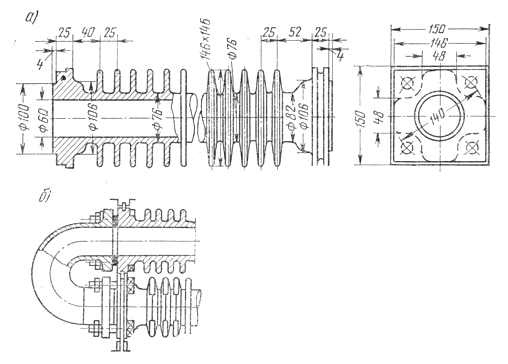
Ðèñ. 2 Äåòàëè
÷óãóííîãî âîäÿíîãî
ýêîíîìàéçåðà
ñèñòåìû ÂÒÈ:
à - ðåáðèñòàÿ òðóáà;
á - ñîåäèíåíèå
òðóá.
×óãóííûé
ýêîíîìàéçåð
ÿâëÿåòñÿ íå ìåíåå
íà䏿íîé ÷àñòüþ
àãðåãàòà, ÷åì
ñîáñòâåííî êîò¸ë.
Îí íå òðåáóþò
÷àñòûõ îñòàíîâîê,
ïîýòîìó îí íå
èìååò îáâîäíûõ
áîðîâîâ, ÿâëÿþùèõñÿ
èñòî÷íèêîì çíà÷èòåëüíûõ
ïðèñîñîâ âîçäóõà
â ãàçîâûé òðàêò.
Öèðêóëÿöèÿ
â ýêîíîìàéçåðå
ïðîèñõîäèò ñëåäóþùèì
îáðàçîì. Âîäà
èç ïèòàòåëüíîé
ëèíèè ïîäàåòñÿ
â îäíó èç êðàéíèõ
íèæíèõ òðóá, à
çàòåì ïîñëåäîâàòåëüíî
ïðîõîäèò ÷åðåç
âñå ýòè êàëà÷è
ïî âñåì òðóáàì,
ïîñëå ÷åãî ïîñòóïàåò
â êîòåë.
Âîäà äâèæåòñÿ
ïî òðóáàì ñíèçó
ââåðõ. Ãàçû, îìûâàÿ
òðóáû ñíàðóæè,
äâèæóòñÿ ñâåðõó
âíèç. Ïðè òàêîé
ñõåìå äâèæåíèÿ
(ïðîòèâîòîêå)
ãàçîâ è âîäû îáåñïå÷èâàåòñÿ
ëó÷øåå óäàëåíèå
âûäåëÿåìûõ èç
âîäû ïóçûðüêîâ
âîçäóõà ñ âíóòðåííåé
ñòåíêè òðóáû,
à òàêæå óìåíüøàåòñÿ
êîëè÷åñòâî çîëû
è ñàæè, îñàæäàþùèõñÿ
íà íàðóæíîé ïîâåðõíîñòè
òðóá. Âîäÿíûå
ýêîíîìàéçåðû
ñ ðåáðèñòûìè
òðóáàìè ñðàâíèòåëüíî
áûñòðî çàãðÿçíÿþòñÿ
çîëîé è ñàæåé,
ïîýòîìó ïåðèîäè÷åñêè
íàðóæíûå ïîâåðõíîñòè
ýêîíîìàéçåðîâ
îáäóâàþòñÿ ïåðåãðåòûì
ïàðîì èëè ñæàòûì
âîçäóõîì.
Ðèñ. 3 ×óãóííûé
ýêîíîìàéçåð
ìàðêè ÂÒÈ
 êà÷åñòâå
ïðåäîõðàíèòåëüíîãî
óñòðîéñòâà ýêîíîìàéçåðà
èñïîëüçîâàí
âçðûâíîé êëàïàí,
êîòîðûé óñòàíàâëèâàåòñÿ
íà âåðõíåì êîðîáå
ýêîíîìàéçåðà,
ïðèñîåäèíåííîãî
ê êîòëó. Ïðè íåðàñ÷åòíîì
ðåæèìå ðàáîòû
êîòåëüíîãî àãðåãàòà
- âçðûâå, ðåçêî
âîçðàñòàåò îáúåì
äûìîâûõ ãàçîâ.
Äûìîâûå ãàçû
ñâîáîäíî ïðîõîäÿò
÷åðåç êðóïíîÿ÷åèñòóþ
ñåòêó, çàòåì
ðàçðóøàþò àñáåñòîâóþ
ïëèòó è âûõîäÿò
ïî íàïðàâëÿþùåé
òðóáå íàðóæó.
Íà ýêîíîìàéçåðå
óñòàíàâëèâàåòñÿ
ñëåäóþùàÿ àðìàòóðà:
à) íà âõîäå
- ðåãóëèðóþùèé
êëàïàí, îáâîäíàÿ
ëèíèÿ ñ âåíòèëåì,
çàäâèæêà, îáðàòíûé
êëàïàí, âåíòèëü
è îáðàòíûé êëàïàí
íà äðåíàæå, ìàíîìåòð,
òåðìîìåòð, ïðåäîõðàíèòåëüíûé
êëàïàí.
á) íà âûõîäå
- âåíòèëü äëÿ âûïóñêà
âîçäóõà, ìàíîìåòð,
ïðåäîõðàíèòåëüíûé
êëàïàí, òåðìîìåòð,
âàíòóç, âåíòèëü
è îáðàòíûé êëàïàí,
óñòàíîâëåííûå
íåïîñðåäñòâåííî
íà âõîäå òðóáîïðîâîäà
ïèòàòåëüíîé
âîäû â âåðõíèé
áàðàáàí êîòëà.
Ê äîñòîèíñòâàì
÷óãóííûõ ýêîíîìàéçåðîâ
îòíîñÿòñÿ óñòîé÷èâîñòü
ê êîððîçèè èõ
âíåøíåé è âíóòðåííåé
ïîâåðõíîñòè,
à òàêæå ñðàâíèòåëüíî
íåáîëüøàÿ ñòîèìîñòü,
÷òî îïðàâäûâàåò
èõ ïðèìåíåíèå
â êîòåëüíûõ íåáîëüøîé
ìîùíîñòè. Íåäîñòàòêàìè
÷óãóííûõ ýêîíîìàéçåðîâ
ÿâëÿþòñÿ: ãðîìîçäêîñòü,
îñîáåííî ïðè
áîëüøèõ ïëîùàäÿõ
ïîâåðõíîñòè
íàãðåâà, íèçêàÿ
òåïëîïåðåäà÷à
è áîëüøàÿ ÷óâñòâèòåëüíîñòü
ê ãèäðàâëè÷åñêèì
óäàðàì, ÷òî íå
ïîçâîëÿåò íàãðåâàòü
âîäó â íèõ äî êèïåíèÿ.
.1 Ðàñ÷åò âîäÿíîãî
ýêîíîìàéçåðà
Òàáëèöà
¹6. Ðàñ÷åò âîäÿíîãî
ýêîíîìàéçåðà
|
Íàèìåíîâàíèå
âåëè÷èíû
|
Îáîçíà÷åíèå
|
Ðàñ÷åòíàÿ
ôîðìóëà, ñïîñîá
îïðåäåëåíèÿ
|
Ðàçìåðíîñòü
|
Ðàñ÷åò
|
|
Êîíñòðóêòèâíûå
õàðàêòåðèñòèêè:
|
|
|
|
|
|
à)
äèàìåòð òðóá
|
dí/dãí
|
Ïî
ïðèëîæåíèþ I [6]
|
ìì
|
76/60
|
|
á)
ðàñïîëîæåíèå
òðóá
|
-
|
Òî
æå
|
-
|
êîðèä.
|
|
â)
ïîïåðå÷íûé øàã
|
s1
|
Òî
æå
|
ìì
|
150
|
|
ã)
ïðîäîëüíûé øàã
|
s2
|
Òî æå
|
ìì
|
150
|
|
ä)
îòíîñèòåëüíûé
ïîïåðå÷íûé øàã
|
s1/dí
|
Òî
æå
|
-
|
1,97
|
|
å)
îòíîñèòåëüíûé
ïðîäîëüíûé øàã
|
s2/dí
|
Òî
æå
|
-
|
1,97
|
|
æ)
ñðåäíÿÿ äëèíà
îäíîé òðóáû
|
lñð
|
Ïðèíèìàåòñÿ
ïî ïðèëîæåíèþ
IÕ [6]
|
ìì
|
3000
|
|
ç)
÷èñëî òðóá â ðÿäó
êîëîíêè
|
z1
|
Òî
æå
|
øò
|
9
|
|
è)
÷èñëî ðÿäîâ òðóá
ïî õîäó ãàçîâ
|
z2
|
Ïðèíèìàåòñÿ
ïðåäâàðèòåëüíî
â çàâèñèìîñòè
îò âèäà òîïëèâà:
à) ãàç, ìàçóò
z2=12; á) òâåðäûå òîïëèâà
ñ Wð > 22% - z2=14; â) òâåðäûå
òîïëèâà ñ Wð <
22% - z2=16.
|
øò
|
12
|
|
Ñðåäíÿÿ
ñêîðîñòü ãàçîâ
|
ωã
|
Ïðèíèìàåòñÿ
ðàâíîé 6÷8 ì/ñåê
|
ì/ñåê
|
7
|
|
Òåìïåðàòóðà
ãàçîâ íà âõîäå
|
θ´âý
|
Èç
ðàñ÷åòà êèïÿòèëüíûõ
ïó÷êîâ êîòëà
θ´âý=θ˝êï
|
îÑ
|
|
Ýíòàëüïèÿ
ãàçîâ íà âõîäå
|
J´âý
|
Ïî
J-θ äèàãðàììå
|
êêàë/êã
|
1470,83
|
|
Òåìïåðàòóðà
ãàçîâ íà âûõîäå
|
θ˝âý
|
Èç
çàäàíèÿ θ˝âý=θóõ
|
îÑ
|
180
|
|
Ýíòàëüïèÿ
ãàçîâ íà âûõîäå
|
J˝âý
|
Ïî
J-θ äèàãðàììå
|
êêàë/êã
|
843,29
|
|
Òåìïåðàòóðà
âîäû íà âõîäå
â ýêîíîìàéçåð
|
t´
|
Èç
çàäàíèÿ t´=t´ïâ
|
îÑ
|
80
|
|
Ýíòàëüïèÿ
âîäû íà âõîäå
â ýêîíîìàéçåð
|
i´
|
Ñîãëàñíî
ðàñ÷åòó òåïëîâîãî
áàëàíñà êîòëîàãðåãàòà
(òàáë.4)
|
êêàë/êã
|
80,524
|
|
Òåïëîâîñïðèÿòèå
ýêîíîìàéçåðà
ïî áàëàíñó
|
Qá
|
Qá=φ·(J´âý-J˝âý+∆αâý·J )
êêàë/êã629,365
|
|
|
|
Ýíòàëüïèÿ
âîäû íà âûõîäå
èç ýêîíîìàéçåðà
|
i˝
|
i˝=
i´+Qá· êêàë/êã116,594
|
|
|
|
Òåìïåðàòóðà
âîäû íà âûõîäå
èç ýêîíîìàéçåðà
|
t˝
|
Ïî
ïðèëîæåíèþ V ïðè
Ðê [6]
|
îÑ
|
194,13
|
|
Òåìïåðàòóðíûé
íàïîð íà âõîäå
ãàçîâ
|
∆t´
|
∆t´=θ´âý-t˝
|
îÑ
|
115,87
|
|
Òåìïåðàòóðíûé
íàïîð íà âûõîäå
|
∆t˝
|
∆t˝=θ˝âý-t'
|
îÑ
|
100
|
|
Ñðåäíèé
òåìïåðà-òóðíûé
íàïîð
|
∆tñð
|
∆tñð=0,5·(∆t´+∆t˝)
|
îÑ
|
107,935
|
|
Ñðåäíÿÿ
òåìïåðàòóðà
ãàçîâ
|
θ
|
θ=0,5·(θ´âý+θ˝âý)
|
îÑ
|
245
|
|
Ñðåäíÿÿ
òåìïåðàòóðà
âîäû
|
t
|
t=0,5·(t´+t˝)
|
îÑ
|
137,065
|
|
Îáúåì
ãàçîâ íà 1êã òîïëèâà
|
Vã
|
Ïî
òàáë.2 ðàñ÷åòà
|
íì3/êã
|
14,055
|
|
Ñå÷åíèå
äëÿ ïðîõîäà ãàçîâ
|
Fã
|
Fã= ì/ñåê1,213
|
|
|
|
Êîýôôèöèåíò
òåïëîïåðåäà÷è
|
k kí
Cυ
|
Ïîíîìîãðàììå
XVI
[6]
|
16,575
|
|
|
Ïîâåðõíîñòü
íàãðåâà
|
Íâý
|
Íâý= ì2403,233
|
|
|
|
×èñëî
ðÿäîâ òðóá ïî õîäó
ãàçîâ
|
z2
|
z2= øò9,98
|
|
|
|
×èñëî
ðÿäîâ òðóá, ïðèíÿòîå
ïî êîíñòðóêòèâíûì
ñîîáðàæåíèÿì
|
z2ê
|
Ïî
ïðèëîæåíèþ I [6]
|
øò
|
9
|
|
×èñëî
ðÿäîâ òðóá â îäíîé
êîëîíêå
|
z´2ê
|
z´2ê=0,5·z2ê
|
øò
|
4
|
|
Âûñîòà
êîëîíêè
|
h
|
h=s2·z´2ê+(500÷600)
|
ìì
|
1200
|
|
Øèðèíà
êîëîíêè
|
b
|
b=s1·z1
|
ìì
|
1350
|
|
Ïðèðàùåíèå
ýíòàëüïèè âîäû
|
∆i
|
∆i= êêàë/êã36,07
|
|
|
4. Îïðåäåëåíèå
íåâÿçêè òåïëîâîãî
áàëàíñà
Òàáëèöà
¹7. Îïðåäåëåíèå
ðàñ÷åòíîé íåâÿçêè
òåïëîâîãî áàëàíñà
|
Íàèìåíîâàíèå
âåëè÷èíû
|
Îáîçíà÷åíèå
|
Ðàñ÷åòíàÿ
ôîðìóëà, ñïîñîá
îïðåäåëåíèÿ
|
Ðàçìåðíîñòü
|
Ðàñ÷åò
|
|
Êîëè÷åñòâî
òåïëà, âîñïðèíÿòîå
íà 1êã òîïëèâà
ëó÷åâîñïðèíèìàþùèìè
ïîâåðõíîñòÿìè
òîïêè, îïðåäåëåííîå
èç óðàâíåíèÿ
áàëàíñà
|
Që
|
Èç
òàáë. ¹5
|
êêàë/êã
|
5529,22
|
|
Òî
æå, êèïÿòèëüíûìè
ïó÷êàìè
|
Qêï
|
Èç
òàáë. ¹6
|
êêàë/êã
|
3830,94
|
|
Òî
æå, ýêîíîìàéçåðîì
|
Qýê
|
Èç
òàáë. ¹7
|
êêàë/êã
|
629,365
|
|
Îáùåå
êîëè÷åñòâî ïîëåçíî
èñïîëüçîâàííîãî
òåïëà
|
Q1
|
Q1=Q ·ηêà/100êêàë/êã10219,967
|
|
|
|
Íåâÿçêà
òåïëîâîãî áàëàíñà
|
∆Q
|
∆Q=Q1-(Që+Qêï+Qýê)·(1- )êêàë/êã230,442
|
|
|
|
Îòíîñèòåëüíàÿ
âåëè÷èíà íåâÿçêè
|
δ1
|
δ1= %2,05
|
|
|
|
Ïðèðàùåíèå
ýíòàëüïèè âîäû
â òîïêå
|
∆iò
|
Èç
òàáë. ¹5
|
êêàë/êã
|
316,886
|
|
Òî
æå, â êèïÿòèëüíûõ
ïó÷êàõ
|
∆iêï
|
Èç
òàáë. ¹6
|
êêàë/êã
|
219,555
|
|
Ïðèðàùåíèå
ýíòàëüïèè âîäû
â ýêîíîìàéçåðå
|
∆iýê
|
Èç
òàáë. ¹7
|
êêàë/êã
|
36,07
|
|
Ñóììà
ïðèðàùåíèé ýíòàëüïèé
|
∆i1
|
∆i1=∆iò+∆iêï+∆iýê
|
êêàë/êã
|
572,511
|
|
Íåâÿçêà
òåïëîâîãî áàëàíñà
|
∆i-∆i1
|
iïâ-∆i1
|
êêàë/êã
|
13,165
|
|
Îòíîñèòåëüíàÿ
âåëè÷èíà íåâÿçêè
|
δ2
|
δ2= %2,3
|
|
|
5. Ñâîäíàÿ
òàáëèöà òåïëîâîãî
ðàñ÷åòà êîòëîàãðåãàòà
Òàáëèöà
¹98. Ñâîäíàÿ òàáëèöà
òåïëîâîãî ðàñ÷åòà
êîòëîàãðåãàòà
|
Íàèìåíîâàíèå
âåëè÷èí
|
Ðàçìåðíîñòü
|
Íàèìåíîâàíèå
ãàçîõîäà
|
|
|
òîïêà
|
êèïÿòèëüíûå
ïó÷êè
|
ýêîíîìàéçåð
|
|
Òåìïåðàòóðà
ãàçîâ íà âõîäå
θ´
|
îÑ
|
-
|
1120
|
310
|
|
Òî
æå, íà âûõîäå θ˝
|
îÑ
|
1160
|
310
|
180
|
|
Ñðåäíÿÿ
òåìïåðàòóðà
ãàçîâ θ
|
îÑ
|
-
|
715
|
245
|
|
Ýíòàëüïèÿ
ãàçîâ íà âõîäå
J´
|
êêàë/êã
|
-
|
5347,17
|
1470,83
|
|
Òî
æå, íà âûõîäå J˝
|
êêàë/êã
|
5561,63
|
1470,83
|
843,29
|
|
Òåïëîâîñïðèÿòèå
Qá
|
êêàë/êã
|
-
|
3830,94
|
629,365
|
|
Òåìïåðàòóðà
âòîðè÷íîãî òåïëîíîñèòåëÿ
íà âõîäå t´
|
îÑ
|
-
|
-
|
80
|
|
Òî
æå, íà âûõîäå t˝
|
îÑ
|
-
|
-
|
194,13
|
|
Ñêîðîñòü
ãàçîâ ωã
|
ì/ñ
|
-
|
8,76
|
7
|
|
Ñêîðîñòü
âîçäóõà ωâ
|
ì/ñ
|
-
|
-
|
-
|
Çàêëþ÷åíèå
êîòåë
âîçäóõ òîïëèâî
ýêîíîìàéçåð
 äàííîé
êóðñîâîé ðàáîòå
áûë ïðîâåäåí ïîâåðî÷íî-êîíñòðóêòîðñêèé
ðàñ÷åò êîòåëüíîãî
àãðåãàòà è ýêîíîìàéçåðà.
Êóðñîâàÿ
ðàáîòà âûïîëíåíà
ñîãëàñíî çàäàíèþ
ñ èñïîëüçîâàíèåì
âñåé íåîáõîäèìîé
ñïðàâî÷íîé è
íîðìàòèâíîé
ëèòåðàòóðîé è
ìåòîäîâ ðàñ÷åòà. Äëÿ âûïîëíåíèÿ
òåïëîâîãî ðàñ÷åòà
ãàçîâûé òðàêò
êîòëîàãðåãàòà
ðàçäåëåí íà ðÿä
ñàìîñòîÿòåëüíûõ
ó÷àñòêîâ: òîïî÷íóþ
êàìåðó, êîíâåêòèâíûå
ïó÷êè, ýêîíîìàéçåð.
ÊÏÄ êîòåëüíîãî
àãðåãàòà ñîñòàâëÿåò
90,87 %. Ðàñ÷åòíûé ðàñõîä
òîïëèâà 1146,2 êã/÷.
Òåïëî ïîëåçíî
èñïîëüçóåìîå
â êîòëîàãðåãàòå
11,714 Ãêàë/÷.
 êà÷åñòâå
òîïëèâà â êîòåëüíîì
àãðåãàòå èñïîëüçóåòñÿ
ïðèðîäíûé ãàç,
ïîñòóïàþùèé
èç òðåòüåé íèòêè
ãàçîïðîâîäà Ñòàâðîïîëü-Ìîñêâà.
Òåïëîâûäåëåíèå
â òîïêå íà 1 ì2
ïîâåðõíîñòè
íàãðåâà 196862,4 êêàë/ì2÷. Òåïëî
ïåðåäàííîå èçëó÷åíèåì
â òîïêå ñîñòàâëÿåò
5529,22 êêàë/êã
òîïëèâà.Òåìïåðàòóðà
ãàçîâ íà âûõîäå
èç òîïêè 1160 °Ñ.
Òåïëîâîñïðèÿòèå
êèïÿòèëüíûõ ïó÷êîâ
3830,94
êêàë/êã, ñðåäíÿÿ
òåìïåðàòóðà ãàçîâ
715 °Ñ. Ïðè ðàñ÷åòå
áûëî íàéäåíî
òåïëîâîñïðèÿòèå
ïîâåðõíîñòè
íàãðåâà ïî óðàâíåíèþ
òåïëîïåðåäà÷è,
è ïî óðàâíåíèþ
áàëàíñà, ðàçëè÷èå
ìåæäó êîòîðûìè
ñîñòàâèëî 1,58%, ÷òî
â ïðåäåëàõ íîðìû
(<2%).
Ïîâåðõíîñòü
íàãðåâà óñòàíîâëåííàÿ
çà êîòëîì - ýêîíîìàéçåð
èç ÷óãóííûõ
ðåáðèñòûõ òðóá
äëèíîé òðóá 3000 ìì.
Êîëè÷åñòâî ðÿäîâ
òðóá â îäíîé êîëîíêå,
ïîëó÷åíîå â ðàñ÷åòå,
ðàâíî 9; ÷èñëî ðÿäîâ
òðóá ïî õîäó ãàçîâ,
ïðèíÿòîå ïî êîíñòðóêòèâíûì
ñîîáðàæåíèÿì,
òàêæå ðàâíî 9. Ñðåäíÿÿ
òåìïåðàòóðà ãàçîâ
çäåñü ñîñòàâëÿåò
245 °Ñ. Òåìïåðàòóðà
âîäû íà âõîäå
â ýêîíîìàéçåð
-
80 °Ñ. Òåìïåðàòóðà
âîäû íà âûõîäå
èç ýêîíîìàéçåðà
- 194,13 °Ñ.
Ïî îïðåäåë¸ííîìó
êîëè÷åñòâó ïîëåçíîãî
òåïëà, âîñïðèíèìàåìîãî
ðàçëè÷íûìè ïîâåðõíîñòÿìè
êîòåëüíîãî àãðåãàòà,
íàéäåíà òåïëîâàÿ
íåâÿçêà
δ1=2,05%. Òàêæå
îïðåäåëåíà îòíîñèòåëüíàÿ
âåëè÷èíà òåïëîâîé
íåâÿçêè ïî ýíòàëüïèè
δ2=2,3%.
Ïî ïîâåðî÷íî-êîíñòðóêòèâíîìó
ðàñ÷¸òó ñêîíñòðóèðîâàí
âîäÿíîé ýêîíîìàéçåð.
Âûïîëíåíà îáâÿçêà
êîòëà è ýêîíîìàéçåðà
ñ íàíåñåíèåì
íåîáõîäèìîé
àðìàòóðû (ïðåäîõðàíèòåëüíûå
êëàïàíû, âåíòèëè,
îáðàòíûå êëàïàíà,
ðåãóëèðóþùèå
êëàïàíû, çàäâèæêè,
âîçäóøíèê, ìàíîìåòð,
òåðìîìåòðû, âàíòóç).
Ñïèñîê ëèòåðàòóðû
1. Ãóñåâ
Þ.Ë. Îñíîâû ïðîåêòèðîâàíèÿ
êîòåëüíûõ óñòàíîâîê.
Èçäàíèå 2, ïåðåðàáîòàííîå
è äîïîëíåííîå.
Èçäàòåëüñòâî
ëèòåðàòóðû ïî
ñòðîèòåëüñòâó.
Ìîñêâà, 1973. - 248 ñ.
2. Ù¸ãîëåâ
Ì.Ì., Ãóñåâ Þ.Ë., Èâàíîâà
Ì.Ñ. Êîòåëüíûå
óñòàíîâêè. Èçäàíèå
2, ïðèðàáîòàííîå
è äîïîëíåííîå.
Èçäàòåëüñòâî
ëèòåðàòóðû ïî
ñòðîèòåëüñòâó.
- Ìîñêâà, 1972.
. Äåëÿãèí
Ã.Í., Ëåáåäåâ Â.È.,
Ïåðìÿêîâ Á.À. Òåïëîãåíåðèðóþùèå
óñòàíîâêè. - Ìîñêâà,
Ñòðîéèçäàò,
1986. - 560 ñ.
. ÑÍèÏ
II-35-76. Êîòåëüíûå óñòàíîâêè.
. Ìåòîäè÷åñêèå
óêàçàíèÿ äëÿ
ðàñ÷åòà êîòåëüíîãî
àãðåãàòà è ýêîíîìàéçåðà.
Ê êóðñîâîé ðàáîòå
ïî ÒÃÓ äëÿ ñòóäåíòîâ
ñïåöèàëüíîñòè
270109 - Òåïëîãàçîñíàáæåíèå
è âåíòèëÿöèÿ
/ Ñîñò.: À.Å. Ëàíöîâ,
Ã.Ì. Àõìåðîâà. Êàçàíü,
2007. - 26 ñ.
. Ðàñ÷åòíûå
íîðìàëè, ïðèëîæåíèÿ
è íîìîãðàììû
ê ïîâåðî÷íî-êîíñòðóêòîðñêîìó
è àýðîäèíàìè÷åñêîìó
ðàñ÷åòàì êîòåëüíîãî
àãðåãàòà è ýêîíîìàéçåðà
ê êóðñîâîé ðàáîòå
è êóðñîâîìó ïðîåêòó
ïî ÒÃÓ äëÿ ñòóäåíòîâ
ñïåöèàëüíîñòè
270109. / Ñîñò.: À.Å. Ëàíöîâ,
Ã.Ì. Àõìåðîâà.
- Êàçàíü, 2009. - 54 ñ.
. Ýñòåðêèí
Ð.È. Êîòåëüíûå
óñòàíîâêè. Ýíåðãîàòîìèçäàò.
- Ëåíèíãðàä, 1989. - 280
ñ.
Ðàçìåùåíî
íà Allbest.ru