Разведочное бурение

  • Вид работы:
    Контрольная работа
  • Предмет:
    Геология
  • Язык:
    Русский
    ,
    Формат файла:
    MS Word
    757,77 kb
  • Опубликовано:
    2011-09-29
Вы можете узнать стоимость помощи в написании студенческой работы.
Помощь в написании работы, которую точно примут!

Разведочное бурение

Российский Государственный Геологоразведочный Университет имени С. Орджоникидзе









Контрольная работа

по дисциплине: "Разведочное бурение"

Оглавление

Задание на курсовое проектирование

Краткая характеристика геологического разреза

Глава 1. Выбор способа бурения и построение конструкции скважины

.1 Выбор способа бурения

.2 Составление проектной конструкции скважины

Глава 2. Выбор бурового оборудования и инструмента

.1 Выбор буровой установки

.2 Выбор бурового инструмента

.2.1 Выбор технологического бурового инструмента

.2.2 Выбор колонкового набора

.2.3 Выбор колонны бурильных труб

.2.4 Переходники

.3 Вспомогательный инструмент

.4 Ловильный инструмент

.5 Инструмент для ликвидации прихватов и труборезы

.6 Отсоединительные переходники

Глава 3. Технология бурения геологоразведочных скважин

.1 Выбор очистного агента

.2 Выбор параметров режима бурения

Глава 4. Ликвидационное тампонирование скважин

Список использованной литературы

Задание на курсовое проектирование

Номер слоя

Мощность слоя, м

Описание пород (вид полезного ископаемого)

Категория пород по буримости


от

до

всего



1

0

10

10

Супесь

II

2

10

110

100

Суглинки

III

3

110

250

140

Глинистые сланцы

VII

4

250

255

5

Каменный уголь

II-III

5

255

555

300

Песчаник абразивный

VII

6

555

715

160

Известняк

V

7

715

720

5

Каменный уголь

II

8

720

750

30

Песчанистые сланцы

VII

Особые условия:

Интервал 0 - 200 без отбора керна


Краткая характеристика геологического разреза

1.      Супеси и суглинки - смешанные песчано-глинистые породы. Супеси содержат примерно до 20-30% глинистых частиц, суглинки - от 20-30 до 40-50%. Малая твердость и абразивность.

2.      Глинистые сланцы представляют начальную стадию метаморфизма глинистых пород. В них хорошо выражена сланцеватость, они легко раскалываются на плитки. Цвет глинистых сланцев серо-зеленый, серый, бурый до черного. В воде не размокают. Частично состоят из глинистых минералов, из новообразований кварца, серицита, биотита, хлорита и др. Часто присутствует углистое вещество. Породы малой твердости и абразивности.

.        Каменный уголь - порода темно-серого или черного цвета, плотного сложения с жирным или полуметаллическим блеском. Содержание углерода доходит до 82-95%. Залегают пластами (от 1-3 до 15-20 м) и линзами (до 100 м толщиной). Малая твердость и абразивность.

.        Песчаник абразивный представляет собой сцементированные пески. Среди них можно выделить разновидности по окатанности зерен: крупнозернистые (0,5-1 мм), среднезернистые (0,25-0,5 мм) и мелкозернистые (0,1-0,25 мм); размеру и составу. Грубые на ощупь, средней твердости, но высокой абразивности

.        Известняк - осадочная карбонатная порода, состоящая из кальцита. Обычно тонкозернистые, нередко имеют оолитовое, концентрическое строение. Окраска известняков преимущественно светлая, белая, серая. В воде они плохо растворимы. Широко используются в строительстве. Малой твердости и растворимости.

.        Песчанистые сланцы - слоистые метаморфические породы с умеренной твердостью и абразивностью.

Глава 1. Выбор способа бурения и построение конструкции скважины

1.1 Выбор способа бурения


Бурение геологоразведочных скважин осуществляется механическим способом, при котором горная порода на забое разрушается под воздействием породоразрушающего инструмента. В зависимости от характера движения породоразрушающего инструмента к механическим способам бурения относятся: ударное, вращательное и ударно-вращательное. Исходя из целевого назначения скважины, типа полезного ископаемого (каменный уголь) и физико-механических свойств горных пород останавливаемся на вращательном колонковом бурении. Разрез сложен известняками, , глинистыми породами, категория этих пород по буримости не превышает VII, следовательно, следует применить твердосплавное бурение, которое целесообразно применять при бурении мягких и средней твёрдости пород до VIII категории по буримости. Исходя из задания:

1.      С 1 по 2 (интервал от 0 до 112 м) слои выбираем бескерновый способ, так как геологический разрез хорошо изучен и отсутствует потребность во взятии керна;

2.      С 3 по 8 (интервал от 200 до 750 м) слои бурим твердосплавным колонковым инструментом, так как категории бурения не превышают VII.

1.2 Составление проектной конструкции скважины


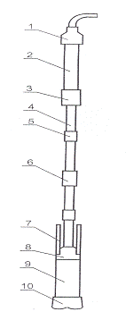
Колонковое бурение осуществляется буровыми установками, состоящими из бурового станка, бурового насоса, буровой вышки или мачты, привода (электродвигателя или двигателя внутреннего сгорания). На рис. приведена принципиальная схема буровой установки для колонкового бурения.

Рис. 2 Принципиальная схема буровой установки для колонкового бурения: а - схема установки; б - снаряд для алмазного и твердосплавного бурения; I - буровая вышка; II - буровое здание; III - станок; IV - насос, V - двигатели; VI -направляющая труба: 1 - алмазная или твердосплавная коронка; 2 - колонковая труба; 3 - переходник, 4 - бурильные трубы; 5 - вертлюгсальник; 6 - крюк; 7 -талевый блок; 8 - шпиндель станка, 9 - зажимные патроны; 10 - лебедка; 11 - регулятор подачи снаряда; 12 - нагнетательный шланг, 13 - керн, 14 - желоба; 15 -отстойник; 16 - приемная емкость; 17 - всасывающий шланг; 18 - талевый канат; 19 - индикатор веса снаряда; 20 - манометр индикатора веса; 21 - манометр бурового насоса; 22 - кронблок; 23 - опоры вышки; 24 - пояса, 25 - раскосы, 26 - фундаментные тумбы; 27 - неподвижный коней каната; 28 - рвательное кольцо; 29 -корпус кернователя

Принципиальная схема буровой установки для колонкового бурения

Конструкция - характеристика буровой скважины, определяющая ее глубину и направление, диаметр на различных интервалах глубины, количество, диаметр и глубину спуска обсадных колонн.

Исходными данными для построения проектной конструкции разведочной скважины являются: глубина и угол залегания полезного ископаемого, физико-механические свойства и горно-геологические условия залегания пород, выбранный способ бурения.

Глубина скважины 750м, угол наклона скважины принимается равным 900.

Полезное ископаемое КАМЕННЫЙ УГОЛЬ

Определение диаметров скважины на различных интервалах глубины производится снизу вверх, начиная с определения диаметра последнего интервала скважины (конечный диаметр бурения). При бурении разведочных скважин на твердые полезные ископаемые конечный диаметр бурения определяется представительностью керновой пробы и размерами скважин-ного геофизического оборудования.

Минимально допустимый диаметр керна, который удовлетворяет требованиям качественного опробования продуктивного пласта, зависит от степени изменчивости залегания пласта полезного ископаемого. При разведке угольных месторождений в зависимости от типа углей рекомендуют следующие диаметры бурения: по мягким углям - 93 мм, по средним - 76 мм, по плотным - 59 и 76 мм с учетом применения специальных снарядов для получения представительного керна.

При выборе конечного диаметра бурения необходимо также учитывать размеры скважинной аппаратуры для проведения различных исследований (геофизические исследования, инклинометрия, кернометрия и др.).

Выбираем конечный диаметр скважины равным 76 мм

Составление проектной конструкции ведется в направлении от забоя к устью скважины. Сперва выбирается конечный диаметр скважины равный 76 мм, затем определяются неустойчивые горизонты с 0-до 112м , которые необходимо перекрыть колонной осадных труб. Для изоляции верхнего неустойчивого интервала устанавливается направляющая труба длиной 12 м и диаметром 127мм.

Диаметр обсадной колонны выбирается таким образом, чтобы проходила коронка для бурения, следующего интервала . Диаметр коронки для бурения скважины под обсадную колонну выбирается таким, чтобы обеспечить необходимый зазор для беспрепятственного спуска колонны.

Обсадные трубы применяют для крепления устья скважины, предохранения его от размывания, отвода промывочной жидкости в желоба (первая обсадная колонна называется направляющей), для разобщения водоносных горизонтов, закрепления неустойчивых пород и изоляции интервалов, где возможна утечка промывочной жидкости (вторая обсадная колонна называется кондуктором, все следующие - техническими колоннами).

Нижний конец (башмак) обсадной колонны должен на 5-10 м находится ниже интервала пород, требующих крепления.

Диаметр интервала скважины, в который опускается обсадная колонна, должен быть на 2-5 мм больше наружного диаметра обсадной колонны. В слабосвязанных, неустойчивых, склонных к вспучиванию породах разница диаметров должна составлять 10-20 мм.

Для закрепления устья скважины, предохранения его от размыва, отвода промывочной жидкости в желоба и задания направления скважины в интервале 0-12 м необходимо установить направляющую. Пространство между направляющей и стенками скважины необходимо зацементировать.

В интервале от 0 до 110 м залегают глинистые породы, склонные к набуханию и обрушению. Их необходимо перекрыть обсадной колонной (кондуктором). Башмак кондуктора должен быть зацементирован.

Диаметры обсадных колонн и интервалов скважины определяем в направлении снизу вверх. Внутренний диаметр ниппелей кондуктора должен быть больше 76 мм (конечный диаметр скважины). Из табл.3 выбираем обсадные трубы диаметром 89 мм (внутренний диаметр ниппеля 78 мм).

Для гарантированного спуска кондуктора в набухающих породах проектируем бурение интервала скважины от 12 до 110 м породоразрушающим инструментом диаметром 112 мм (см. табл.6)

Внутренний диаметр ниппелей направляющей обсадной трубы должен быть больше 112 мм. Выбираем обсадные трубы диаметром 127 мм (табл. 3)

Бурение скважины в интервале от 0 до 12 м необходимо вести породоразрушающим инструментом диаметром не менее 151 мм (табл.6).

Проектная конструкция скважины .

Во всех случаях необходимо стремиться к выбору наиболее простой конструкции скважин с применением минимального количества колонн обсадных труб. Это облегчает бурение скважин, сокращает набор инструментов, расход обсадных труб и снижает стоимость работ. Простая конструкция скважины обеспечивает возможность применения высоких частот вращения бурового инструмента.

 

Глава 2. Выбор бурового оборудования и инструмента

 

.1 Выбор буровой установки


Выбор бурового оборудования определяется проектной конструкцией скважины, способом бурения, параметрами бурового инструмента, а также требованиями к транспортабельности буровой установки.

Для вращательного бурения колонковым способом применяются станки со шпиндельными или подвижники вращателями, оборудованные гидравлическим механизмом подачи, что позволяет создавать необходимую осевую нагрузку на забой при любой глубине и направлении скважины.

На основании проектной глубины скважины, выбранного конечного диаметра и способа бурения производится выбор буровой установки и оборудования, входящего в ее состав.

Учитывая глубину и диаметр бурения, а также угол наклона скважин, выбираем буровой станок УКБ-7. Он предназначен для бурения геологоразведочных скважин твердосплавными коронками диаметром 93мм на глубину до 1200 м.

Тип установки …………………………………….... УКБ-7П

Начальный диаметр, мм …………………………………………..… 214

Угол бурения, градус…………………….…. 75-90

Тип вращателя …………………….….. Шпиндельный

Частота вращения, об/мин ………………………………… 0-1500

Диаметр проходного отверстия шпинделя, мм ……………… 72

Диаметр бурильных труб, мм..……………………….. 70, 68, 54, 50

Механизм подачи……… Поршневой гидравлический с автоперехватом

Длина хода подачи, мм …………………………………………… 600

Максимальное усилие подачи, кН:

вниз....………………………………………………………………. 120

вверх………………………………………………………………….150

Грузоподъемность лебедки,

кН.....………………………………………………………………….. 55

Скорость навивки каната на барабан, м/с ………………………….0-8

Промывочный насос………………………………………….. НБ4-320/63

Мачта…………………………………………………………….. Трубчатая

Грузоподъемность, кН:

номинальная ..………………………………………………………..125

максимальная …………………………………………………………. 200

Рабочая высота, м …………………………………………………… 27

Длина свечи, м …………………………………………………………18,6

Тип электродвигателя ……………………….. ТП-1200/2000-У3

Мощность приводного двигателя станка, кВт ……………………… 70

Суммарная установленная мощность, кВт ………………………..190

Габариты, мм:

Станка ………………………………………….. 2700Х1550Х 2160

передвижного здания ………………………… 7500Х3200Х Х2500

установки в рабочем положении ……….13500ХЮОООХ26000

Масса, кг:

станка ……………………………………………………….………… 4900

насоса..…………………………………………………………………. 1250

бурового здания . …………………………………………………..…..7200

мачты……………………………………………………………………5600

транспортной базы …………………………………………………. 5300

установки………………………………………………………… 25000

Состав буровой установки

Тип установки …………………………………………………….УКБ-7П

Буровой станок……………………………………………………….СКБ-7

Буровая мачта трубчатая …………………………………………. БМТ-7

Насосная установка……………………………………..... НБ4-320/63

Передвижное буровое здание ………………………………… . ПБЗ-Т

Контрольно-измерительная аппаратура .……………….. „Курс-613"

Труборазворот……………………………………………..…РТ-1200М

Передвижное насосное здание …………….………………………. ПНЗ-7

Передвижная буровая установка УК.Б-7П состоит из мачты и комплекса бурового и энергетического оборудования, сведенного в три технологических блока: буровой, вспомогательный, насосный. Блочная конструкция установки обеспечивает раздельную перевозку блоков по железной дороге и на автомобилях. Установка может эксплуатироваться как в электрифицированных районах, так и в районах, удаленных от централизованного энергоснабжения. В последнем случае привод буровой установки питается от передвижных дизель-электрических станций мощностью не менее 100 кВт.

Буровой станок СКБ-7 выполнен с продольным расположением лебедки и групповым приводом механизмов вращателя и лебедки. Он состоит из следующих основных узлов: рамы, станины, раздаточной коробки, лебедки, тормоза, вращателя с гидропатронами, автоматических захватов с цилиндром перемещения, блока питания, гидросистемы и пульта управления. Станок комплектуется плавно регулируемым электроприводом ТП-1200/1200-УЗ, состоящим из реверсивного и нереверсивного агрегатов, релейного шкафа и пульта управления.

Рама является основанием станка. На раму опирается станина, которая служит каркасом для монтажа основных узлов станка. Станина воспринимает все нагрузки, действующие на станок как в процессе спуско-подъемных операций, так и при бурении. Сверху на станине установлены раздаточная коробка, лебедка и тормоз.

Верхняя часть корпуса раздаточной коробки служит кронштейном для опоры вала лебедки и крепления корпуса редуктора вращателя. С задней торцовой стороны станины имеется кронштейн с площадкой, на которой установлен главный электродвигатель станка, соединенный с первичным валом раздаточной коробки посредством промежуточного вала с двумя зубчатыми муфтами. На одной из полумуфт со стороны электродвигателя собран редуктор датчика и датчик частоты вращения шпинделя вращателя. При помощи цилиндра перемещения станина с установленными на ней узлами может передвигаться по раме вдоль ее продольной оси, при этом в начале и в конце движения автоматически открепляются или закрепляются струбцинами захваты станины на раме.

Конструкция крепления конического редуктора на корпусе раздаточной коробки позволяет разворачивать вращатель в плоскости, перпендикулярной к оси станка. Вращатель оборудован двумя гидроцилиндрами подачи и двумя зажимными патронами: верхним - пружинно-гидравлическим и нижним - гидравлическим. Подача инструмента, регулирование осевой нагрузки, управление патронами, а также операции перемещения станка по раме от устья скважины и обратно выполняются электрогидравлической системой управления. Все элементы и механизмы гидросистемы станка собраны в отдельный блок питания гидросистемы.

Блок питания - это металлический шкаф, в нижней части которого-установлен электродвигатель со спаренным маслонасосом и фильтрами. На металлической панели находятся электромагнитные золотники и ре-лейно-контакторный блок систем управления подачей, патронами и тормозом станка.

Планетарный редуктор лебедки станка собран в литом стальном корпусе-кронштейне, расположенном слева от барабана лебедки и закрепленном на станине. Управление лебедкой осуществляется командоаппаратом, установленным на выносном пульте управления. Аварийная остановка барабана лебедки или удержание длительное время в подвешенном состоянии колонны бурильных труб на лебедке осуществляется колодочным тормозом. Пружины тормоза разжимаются с помощью гидроцилиндра. Оперативное управление буровым станком и промывочным насосом осуществляется с выносного пульта управления, на панели которого установлены контрольно-измерительные приборы: манометр, показывающий осевую напружу; амперметр, показывающий нагрузку на двигатель станка, и приборы, измеряющие частоту вращения шпинделя вращателя и количество подаваемой в скважину промывочной жидкости.

Буровая установка оснащена комплектом контрольно-измерительной аппаратуры "Курс-613", обеспечивающим измерение следующих параметров: вес бурового снаряда; нагрузку на крюке; осевую нагрузку; частоту вращения шпинделя вращателя; крутящий момент на шпинделе вращателя; механическую скорость; давление и расход промывочной жидкости.

В тиристорном реверсивном агрегате смонтированы электронная аппаратура и системы управления плавно регулируемым приводом вращателя и лебедки бурового станка. При включении приводного электродвигателя обеспечивается автоматическое раскрытие тормозных колодок, удерживающих барабан лебедки. В тиристорном нереверсивном агрегате размещается электронная аппаратура системы управления плавно .регулируемым приводом бурового насоса. В релейном шкафу собраны пусковая, релейная и защитная системы электрооборудования буровой установки. В шкафу установлено также электрооборудование аварийной сигнализации, отопления, освещения и вентиляции бурового здания и освещения буровой мачты.

Два здания (буровое и насосное), каждое полезной площадью 25 м2, обеспечивают комфортные условия работы обслуживающего персонала. Система обогрева помещения - электрическая с помощью электрокалориферов. Автономная система водоснабжения включает бак, насос, водонагреватель. Здания перевозят тракторами на подкатных тележках ТБ-15 с максимальной скоростью 40 км/ч. Транспортная база ТБ-15 состоит из двух тележек (передней и задней) для перевозки бурового здания и мачты. Мачту можно транспортировать и универсальным автотранспортом с прицепом-роспуском, оборудованным специальными приспособлениями. При перевозке на небольшие расстояния, а также по равнинной местности буровую установку можно транспортировать на ее основании вместе с мачтой, опущенной на одну из подкатных тележек. В качестве тягача применяется трактор или автомобиль. Подкатные тележки оснащены колодочными тормозами с пневмоприводом. Буровой станок СКБ-7 имеет высокие скорости вращения шпинделя 0-1500, что особенно важно при бурении твердосплавными коронками. Угол наклона вращателя 75-90. Он оснащен необходимой контрольно-измерительной аппаратурой.

СКБ-7 плавнорегулируемым реверсным электроприводом, обеспечивающим бесступенчатое изменение частоты вращения шпинделя вращателя и скорости намотки каната на барабан лебедки, что позволяет повысить коэффициент использования установленной мощности двигателя в процессе бурения и проводить спуско-подъемные операции с оптимальным, автоматически выбираемым по массе поднимаемой колонны бурильных труб режимом, а при спуске осуществлять электрически управляемое торможение с рекуперацией энергии в сеть, исключая тяжелую физическую работу бурильщика при спуско-подъеме бурильных труб;

простота кинематических связей, обеспечивающая повышение КПД и надежности механических узлов в результате исключения сцепления, коробки перемены передач и механического тормоза подъема;

принципиально новая схема гидравлической подачи шпинделя с напорным золотником и дросселем на линии сливной магистрали, обеспечивающая плавность и стабильность скорости подачи инструмента при бурении и исключающая возможность разрушения алмазных коронок в скважинах большой глубины при внезапном отключении электроэнергии;

широкий плавно-регулируемый диапазон частоты вращения дает возможность исключить динамические удары в трансмиссии при спуске снаряда в скважину и раскручивании бурового инструмента до высоких частот вращения.

2.2 Выбор бурового инструмента

скважина бурение труборез тампонирование

Буровой инструмент для бурения скважин подразделяется на технологический, вспомогательный и аварийный. Технологический инструмент является основным инструментом для бурения скважин. Вспомогательный инструмент предназначен для обслуживания технологического инструмента, аварийный инструмент предназначен для ликвидации аварий при бурении.

2.2.1 Выбор технологического бурового инструмента

Бескерновое бурение: мы выбираем шарошечные долота.

А) 1 слой - шарошечные долота типа М диаметром 151 мм, Долото III 151 М-ЦВ используются для бурения самых мягких (вязких, пластичных) несцементированных малоабразивных сильнопористых пород, а также более плотных и менее пластичных сланцевых глин, пористых мергелей, песчаников, слабосцементированных песков и глин. Шарошечные долота этого типа используются с I по IV категории по буримости.

Долота типа М диаметром 76-151 мм имеют пикообразную форму и армированы удлиненными твердосплавными пластинами размером 3 х5 мм, установленными в открытых пазах. Усиленное вооружение режущих граней позволяет получать высокие механические скорости бурения при небольших осевых нагрузках. Наличие опережающих лезвий на периферийной части долота предохраняет лопасти от быстрого износа и значительно повышает ресурс инструмента. Калибрующая часть лопастей армирована твердосплавными цилиндрическими зубками (восьмигранниками), предохраняющими долото от из носа по диаметру. Для предупреждения размыва стенок скважины промывочные каналы (диаметром 10-25 мм) направлены перпендикулярно к плоскости забоя.

Б) 2 слой (от 12 до 110 м) - шарошечные долота типа Т диаметром112 Долото III 112 Т-ЦВ мм, так как он применяются для бурения твердых пород средней абразивности (хрупких и хрупко-пластичных), VI-VII категорий.

Колонковое бурение: мы выбираем твердосплавные коронки.

-8 (от110 до 750 м) и 6 слои - твердосплавные коронки типа СА5 диаметром 76 мм, применяемые для бурения абразивных монолитных и перемежающихся по твердости пород (алевролиты, глинистые и песчанистые сланцы, известняки, базальты, дуниты), VI-VII, частично VIII категорий.

Технические характеристики твердосплавных коронок СА-5:

Опорные пластины армированы резцами из сплава ВК-6 с поперечным сечением 1,8 х 1,8 мм. На режущей части коронки установлены собранные в пакеты резцы, в силу чего в процессе работы происходит их самозатачивание - тем самым обеспечивается эффективное разрушение породы.

Рабочий торец твердосплавной коронки СА-5 оснащен промывочными отверстиями, ее наружная поверхность имеет шламовые пазы. Благодаря этому происходит вынос частиц породы и удаление шлама из рабочей области.

 

.2.2 Выбор колонкового набора

Мы выбираем одинарный колонковый набор (1 труба), так как породы крепкие, устойчивые, неразмываемые, неоднородные по составу, абразивные. В состав одинарного колонкового набора входят следующие элементы: коронка, кернорватель, расширитель, колонковая труба, центратор, переходник, шламовая труба. Длина колонковой трубы обычно 3-6 метров. А так же Двойной колонковый снаряд КГК-100 тип коронки КГ-76МС

Колонковые трубы служат для приема и доставки керна на поверхность и поддержания требуемого направления скважины.

Кернорвательное устройство предназначено для срыва столбика керна по окончании рейса и для его удержания во время подъема бурового снаряда из скважины.

Переходник служит для соединения колонковой трубы с колонной бурильных труб или УБТ. Используются следующие типы переходников: фрезерный, клапанный, центрирующий, отсоединительный, тройной и др.

Шламовая труба предназначается для сбора шлама при бурении скважины и применяется в случае, если производительность насоса недостаточна для выноса шлама на поверхность.

Колонковая труба служит для приема выбуриваемого керна, а также обеспечивает необходимое направление скважине. Наружный диаметр колонковой трубы выбирается в зависимости от диаметра скважины - 76 мм и равен 73мм.

Следовательно выбираем колонковые трубы:

Наружный диаметр

 

 

 

трубы, мм:

 

 

 

колонковой

73

108

146

Наружный диаметр

76

112

151

коронки, мм

 

 

 


Переходник служит для соединения колонкового набора с колонной бурильных труб.

Состав колонкового набора выбирается для каждого интервала бурения скважины.

В зависимости от геолого-технических условий состав колонкового набора может отличаться от типового и выбираться для каждого интервала бурения скважины.

 

.2.3 Выбор колонны бурильных труб

Выбор бурильных труб зависит от конструкции скважины, конечного диаметра и способа бурения.

Колонковое бурение

Так как скважина бурится в относительно мягких породах и отпадает необходимость использования алмазного бурения, при котором применяются легкосплавные бурильные трубы во избежании излишней осевой нагрузки и разрушения породоразрушающего инструмента, то следует использовать стальные бурильные трубы. При заданной глубине скважины (750 м) и ее диаметрах (76 мм,89 мм,151 мм, мм.) используем бурильные трубы муфтово-замкового соединения СБТМ-50 . Данный тип соединения универсален и удобен, он позволяет использовать коронки и долота с диаметром на три-четыре размера больше диаметра соединений.

Технологическая характеристика стальных труб муфтово-замкового соединения

Наружный диаметр бурильной трубы dн ,мм

50

Толщина стенки, мм

5,5

Диаметр резьбы, dp , мм Наружный


внутренний

28

Длина , мм

4500

Масса трубы

28,1

Масса 1м трубы, m1 ,кг/м (с учетом соединений)

7,0


Стальные бурильные трубы муфтово-замкового соединения применяются при бескерновом, твердосплавном и ударно-вращательном бурении. Ориентировочное значение диаметра бурильных труб можно определить из соотношения:

dБТ = 0,6 DСКВ

где: dБТ - диаметр бурильных труб; DСКВ - диаметр скважины.

Из этого следует:

dБТ = 0,6*151= 90,6мм

Бескерновое бурение

При бескерновом бурении для создания осевой нагрузки и увеличения жесткости нижней части бурового снаряда, снижения искривления скважины применяют утяжеленные бурильные трубы (УБТ), которые устанавливаются между колонной бурильных труб и долотом .Для создания осевой нагрузки и увеличения жесткости нижней части бурового снаряда, снижения искривления скважины применяют утяжеленные бурильные трубы, которые устанавливаются между колонной бурильных труб и долотом.

На интервалах бескернового бурения используем следующий тип утяжеленных бурильных труб - УБТ- РПУ-89

Для расчета количества УБТ воспользуемся формулами:

GУБТ = 1.25 * P oc = 1,25 * 30=37, 5 кН

LУБТ = GУБТ / q1мУБТ = 37, 5 / 36,1 = 1,03 м

n УБТ = LУБТ / l1тр = 1,03/ 4,62= 0,22 = 1труба

где n - количество труб

Pос - осевая нагрузка на интервале бескернового бурения

q1мУБТ - вес 1 м трубы = 36,1 кг

l1тр - длина одной трубы (для УБТ-Р-89 l1тр =4625 мм)

Бескерновое бурение производится на интервале от 0 до112 м, при диаметре породоразрушающего инструмента 151мм. Выберем тип труб - УБТ-РПУ-89 (ТУ41-01-154-75)

Техническая характеристика УБТ

Тип УБТ

УБТ-РПУ-89


(ТУ41-01-154-75)

Наружный диаметр, мм

89

Толщина стенки, мм

22

Длина трубы, мм

4625

Масса 1м трубы, кг

35,6

Присоединительная резьба

3-65


2.2.4 Переходники

Переходники предназначены для соединения бурильных труб;

l) С колонковыми трубами (типов П0, П1 и П2);

)с колонковыми и шламовыми трубами (типов ПЗ, П4 и П5).

Все типы переходников в нижней части имеют наружную резьбу под колонковые трубы. Переходники типа П0 вверху имеют внутреннею резьбу под ниппель бурильных труб. Верхняя часть переходника слегка скошена, без насечки.

Фрезерные переходники типов П1, П2 вверху имеют внутреннюю замковую резьбу. Верхняя конусная часть этих переходников профрезерована и закалена, что позволяет выбуриваться вверх при зашламовании выше колонкового набора и предотвращает возможность задевания на башмак обсадной колонны.

Тройные переходники типов ПЗ, П4 и П5 имеют в верхней части внутреннюю резьбу под бурильные трубы и наружную левую резьбу под шламовые трубы.

На любой буровой установке необходим комплект аварийного и вспомогательного (для свинчивания и развинчивания бурильных труб и др.) инструмента. Следует также иметь ловильный инструмент и бурильные трубы с левой резьбой длиной, соответствующей максимальной глубине скважины.

А) Буровой снаряд для бурения:

- сальник-вертлюг

- ведущая труба

- переходник с ведущей трубы на бурильную трубу

- бурильные трубы

- муфта

- муфтово-замковое соединение

- шламовая труба

- переходник

- утяжеленные бурильные трубы (УБТ)

-долото

 

2.3 Вспомогательный инструмент

К вспомогательному инструменту относится труборазворот, элеватор, ключи, вилки.

·   Труборазворот применяется для свинчивания и развинчивания бурильных труб. В комплект используемой буровой установки входит труборазворот РТ-1200М, который может применяться для свинчивания и развинчивания бурильных труб диаметром 42, 50, 63.5 мм и УБТ диаметром 73, 89 и 108 мм. Это вполне соответствует выдвигаемым к данному вспомогательному инструменту требованиям.

·   Элеватор предназначен для спуска и подъема бурильных труб. Элеватор служит для спуска и подъема труб муфтово-замкового и ниппельного соединений диаметром 42 и 50 мм. Трубы, которые были выбраны ранее СБТМ-50, позволяют использовать данный элеватор.

·   Для сборки и разборки колонковых наборов и обсадных труб применяются ключи и вилки различных типов. Сборка и разборка снарядов при бурении рассматриваемой скважины должна осуществляться двумя типами ключей: шарнирные ключи и короночные ключи.

.4 Ловильный инструмент

Ловильный инструмент предназначен для захвата и извлечения оставленных в скважине частей бурового снаряда, обсадных труб, каната и т.д.

Метчики

Метчиком называется ловильный резьбонарезной инструмент с конической наружной нарезкой для соединения с внутренней поверхностью извлекаемых труб.

·   Колокол

Колокол - это ловильный резьбонарезной инструмент с внутренней конической нарезкой для соединения с наружной поверхностью извлекаемых труб. Известны также гладкие колокола. Колокола рекомендуется применять при: ловле утонченной части бур. труб; соединении с трубой, имеющей спиральный или клиновидный излом, а также продольный разрыв; устранении аварий, требующих расхаживаиия колонны и приложения больших крутящих моментов, т. е. когда снаряд прихвачен или в результате падения трубы сильно погнулся; извлечении любых предметов цилиндрической формы.

·   Труболовки

Труболовки предназначены для извлечения труб и других пустотелых элементов с цилиндрической поверхностью. Преимущества над метчиками: труболовки освобождающиеся, их можно устанавливать в зоне прихвата или в любой другой части колонны, в связи с чем уменьшается вероятность обрыва последней, оснащены кольцевыми ловильными втулками или плашками, захватывающими трубы равномерно по всей поверхности предотвращая их продольное разрушение.

·   Ловители

Ловители предназначены для извлечения оборванных бурильных труб независимо от твердости их поверхности. Они позволяют вращать и сжимать трубу, проводить промывку скважины через аварийный инструмент, развинчивать колонну по отсоединительному переходнику или по частям. В случае необходимости ловитель легко освобождается. Форма и место обрыва не влияют на эффективность извлечения

Ø Печати

Печати служат для определения положения находящихся в скважине концов бурильных труб или посторонних предметов и вида их слома, а. также состояния обсадной колонны. Печать обычно изготовляется из дробовой коронки, внутрь которой забивается деревянная пробка. На торец пробки крепится проволочная основа или забиваются мелкие гвозди, на которые наносится мастика, воск или свинец. При нажиме или ударе о конец колонны на печати остается оттиск, характеризующий местоположение и форму обрыва. Диаметр их рабочей части 75-141 мм. Для исследования поверхностей смятия или размыва обсадных труб используются конические свинцовые печати.

2.5 Инструмент для ликвидации прихватов и труборезы


Для извлечения прихваченных колонковых и обсадных труб в первую очередь используются грузоподъемные устройства буровых установок: лебедки, талевые системы, гидроцилиндры. Если эти попытки оказались безрезультатными, то для ликвидации аварии применяется специальный инструмент.

Домкраты рекомендуются в тех случаях, когда сила прихвата меньше допустимых нагрузок на обсадную или бурильную колонну.

Раструб предназначен для обуривания прихваченных колонковых наборов без подъема обсадных труб и расширения ствола скважины.

Используется также устройство для определения места прихвата труб. Труборезы - аварийные инструменты, служащие для отрезания бурильных, колонковых и обсадных труб в скважине с целью их извлечения.

2.6 Отсоединительные переходники


В состав снаряда необходимо включать специальные трубные переходники, позволяющие отсоединять бурильную колонну от прихваченного колонкового набора за один прием, без дополнительных спусков и подъемов - это поможет избежать осложнений, связанных с обрывами бурильных труб, поломками метчиков.

 

Глава 3. Технология бурения геологоразведочных скважин


.1 Выбор очистного агента

В разведочном бурении применяется большое количество промывочных жидкостей. Состав промывочных жидкостей в первую очередь определяется геолого-техническими условиями бурения скважин и требованиями к охране окружающей среды.

Для очистки забоя скважины от частиц выбуренной породы и выноса их на поверхность, охлаждения породоразрушающего инструмента и закрепления неустойчивых стенок скважины применяются различные очистные агенты. В качестве очистного агента, в зависимости от горно-геологических условий бурения, могут быть использованы промывочные жидкости (техническая вода, глинистые растворы, эмульсионные или полимерные растворы), газожидкостные смеси сжатый воздух.

Производительность бурения и сохранность керна также во многом зависит от схемы циркуляции очистного агента. Схема циркуляции промывочной жидкости прямая, т. е. жидкость подается насосом к забою скважины через буровой снаряд и выходит на поверхность по кольцевому зазору между снарядом и стенками скважины.

Приготовление промывочной жидкости осуществляется на буровой с помощью глиномешалки. Готовый раствор сливают в приемную емкость, откуда она закачивается в скважину.

Для нашей скважины мы выбираем следующие очистные агенты:

- 2 (от 0 до 110 м) слои: мы применяем глинистые растворы, так как они используются для бурения осадочных, неустойчивых, малосвязанных рыхлых пород, а также при проходке трещиноватых пород. В основном они используются при твердосплавном и бескерновом бурении. Плотность глинистых растворов 1, 1 - 1, 2 г/см3.

(от 110 до 750 м) - 8 слои: применяется техническая вода, так как породы устойчивые с хорошим выходом керна. Это самый дешевый вид промывки, однако, при этом необходимо смазывать бурильные трубы антивибрационными смазками.

.2 Выбор параметров режима бурения

Под параметрами режима вращательного бурения с промывкой (продувкой) подразумевают осевую нагрузку на породоразрушающий инструмент, частоту его вращения и расход очистного агента. Изменяя указанные параметры, можно добиться повышения технико-экономических показателей бурения. Параметры режима бурения рассчитываются в зависимости от типа бурения (алмазного, твердосплавного, бескернового) и устанавливаются согласно технической характеристике бурового станка и насоса. Выбранную частоту вращения бурового станка и насоса. Выбранную частоту вращения бурового инструмента проверяют расчетным путем исходя из возможностей станка и установочной мощности привода.

Бескерновое бурение: 1 слой: супесь


Р = Р0*Dдол

Величину удельной нагрузки Ро выбираем в зависимости от типа долота и категории пород по буримости II. Используем Долото III 112 М-ЦВ. Для шарошечных долот при бурении пород I-III категории принимаем Росуд = 100-200 кН/м. Диаметр долота D = 0,151 м. Следовательно, осевая нагрузка будет равна:

Р =100*0,151=15,1 кН/м мин

Р = 200 * 0,151 = 30,2 кН/м макс

Частота вращения бурового снаряда:

n = 60 V/πD, об/мин, где

V - рекомендуемая окружная скорость вращения долота, м/с;

D - диаметр долота, м.

Для шарошечного долота принимаем V = 0,8-1,4 м/с.

Диаметр долота D = 15,1 см

Следовательно, частота вращения будет равна:

n = 60V/πD = 60 * 0,8/(3,14 * 0,151) =102 об/мин мин

n = 60V/πD = 60 * 1,4/(3,14 * 0,151) = 179 об/мин макс

Расход промывочной жидкости:

Определяется в зависимости от скорости восходящего потока в кольцевом зазоре, достаточной для выноса породы:

= 47000 (D2СКВ - d2ТР) ×VВ

 

где DСКВ - диаметр скважины, м; dТР - наружный диаметр бурильных труб, м; VВ - скорость восходящего потока промывочной жидкости, м/с.

По этой же формуле рассчитывается расход промывочной жидкости при бескерновом бурении.

= 47000 ((0,151) 2 - (0,05)2)*0,4= 394л/мин= 47000 ((0,151) 2 - (0,05)2)*0,6= 564л/мин макс

Буровой насос НБ4 - 320/63 не может обеспечить достаточную подачу промывочной жидкости в скважину, так как его скорости подачи промывочной жидкости: 32, 55, 88, 125, 180, 320 л/мин. Таким образом, принимаем скорость подачи равной 320 л/мин, и во избежании аварий снизим на начальном интервале скорость бурения.

слой: суглинки

Р = Р0*Dдол

Величину удельной нагрузки Р0 выбираем в зависимости от типа долота и категории пород по буримости III. Используем Долото III 112 Т-ЦВ

Для шарошечных долот при бурении пород I-III категории принимаем Росуд = 100-200 кН/м. Диаметр долота D = 0,112 м.

Р = 100 * 0,112 =11,2кН

Р = 200 * 0,112 =22,4кН

Частота вращения бурового снаряда:

n = 60 V/πD, об/мин, где

V - рекомендуемая окружная скорость вращения долота, м/с;

Для шарошечного долота принимаем V = 0,8-1,4 м/с. Диаметр долота D = 11,2 см. Следовательно, частота вращения будет равна:

n = 60V/πD = 60 * 0,8/(3,14 * 0,112) = 137об/мин

n = 60V/πD = 60 * 1,4/(3,14 * 0,112) = 240об/мин

Расход промывочной жидкости:

Определяется в зависимости от скорости восходящего потока в кольцевом зазоре, достаточной для выноса породы:

Q = 47000 (D2СКВ - d2ТР) ×VВ

где DСКВ - диаметр скважины, м; dТР - наружный диаметр бурильных труб, м; VВ - скорость восходящего потока промывочной жидкости, м/с.

По этой же формуле рассчитывается расход промывочной жидкости при бескерновом бурении.

= 47000 ((0,112) 2 - (0,05)2)*0,4= 188л/мин= 47000 ((0,112) 2 - (0,05)2)*0,6= 282л/мин

Твердосплавное бурение:

3 слой: глинистые сланцы

Р = Р0*м

Величину удельной нагрузки Р0 выбираем в зависимости от типа коронки и категории пород по буримости VII . 1.Долото III 112 Т-ЦВ . 2 Используем СА5-76мм самозатачивающаяся 8 зубцов, где рш-200-300, рса -70-120 удельная нагрузка, кН/м; D -76 мм диаметр породоразрушающего инструмента, м.

Рш = 200*0,112=22,4 кН

Рш = 300*0,112=33,6 кН

Рса = 70*0,076=5,32 кН

Рса = 120*0,076=9,12 кН

Частота вращения бурового снаряда:

n = 60 V/πD, об/мин, где

V - рекомендуемая окружная скорость вращения коронки, м/с; D - 112мм диаметр долота, D - 76мм диаметр коронки, м.

Для принимаем Vш = 1,0-1,4 м/с Vк = 0,6-1,5 м/с.

Следовательно, частота вращения будет равна:

Nш = 60V/πD = 60 * 1,0/(3,14 * 0,112) = 171об/мин

Nш = 60V/πD = 60 * 1,4/(3,14 * 0,112) = 240об/мин

Nк = 60V/πD = 60 * 0,6/(3,14 * 0,076) = 150об/мин

Nк = 60V/πD = 60 * 1,5/(3,14 * 0,076) = 391об/мин

Расход промывочной жидкости:

ш = 47000 (D2СКВ - d2ТР) ×VВ

Qк = К * D, л/мин, где

К - расход промывочной жидкости на 1 см диаметра коронки, равный 600-800 л/мин * м; D - диаметр коронки, равный 76мм.

Следовательно, расход промывочной жидкости:

ш = 47000 ((0,112) 2 - (0,05)2)*0,6= 282л/минш = 47000 ((0,112) 2 - (0,05)2)*0,8= 376л/мин

Qк = К * D = 600 * 0,076 = 45,6л/мин

Qк = К * D = 800 * 0,076 = 60,8 л/мин

4 слой: каменный уголь

Р = Р0*м

Величину удельной нагрузки Р0 выбираем в зависимости от типа коронки и категории пород по буримости II . Используем СА5-76мм самозатачивающаяся 8 зубцов, где рО -60- 100 удельная нагрузка, кН/м; D -76 мм диаметр породоразрушающего инструмента, м.

Р = 60*0,076=4,56 кН

Р = 100*0,076=7,6 кН

Частота вращения бурового снаряда:

n = 60 V/πD, об/мин, где

V - рекомендуемая окружная скорость вращения коронки, м/с;

D - 76мм диаметр коронки, м.

Для принимаем V = 1,0-1,5 м/с.

Следовательно, частота вращения будет равна:

n = 60V/πD = 60 * 1,0/(3,14 * 0,076) = 250об/мин

n = 60V/πD = 60 * 1,5/(3,14 * 0,076) = 391об/мин

Расход промывочной жидкости:

Q = К * D, л/мин, где

К - расход промывочной жидкости на 1 см диаметра коронки, равный 1000-1500 л/мин * м; D - диаметр коронки, равный 76мм.

Следовательно, расход промывочной жидкости:

Q = К * D = 1000 * 0,076 = 76 л/мин

Q = К * D = 1500 * 0,076 = 114 л/мин

5 слой: песчаник абразивный

Р = Р0*м

Величину удельной нагрузки Р0 выбираем в зависимости от типа коронки и категории пород по буримости VII. Используем СА5-76мм самозатачивающаяся 8 зубцов, где рО -70- 120 удельная нагрузка, кН/м; D -76 мм диаметр породоразрушающего инструмента, м.

Р = 70*0,076=5,32 кН

Р = 120*0,076=9,12 кН

Частота вращения бурового снаряда:

n = 60 V/πD, об/мин, где

V - рекомендуемая окружная скорость вращения коронки, м/с;

D - 76мм диаметр коронки, м.

Для принимаем V = 0,6-1,5 м/с.

Следовательно, частота вращения будет равна:

n = 60V/πD = 60 * 0,6/(3,14 * 0,076) = 150об/мин

n = 60V/πD = 60 * 1,5/(3,14 * 0,076) = 391об/мин

Расход промывочной жидкости:

Q = К * D, л/мин, где

К - расход промывочной жидкости на 1 см диаметра коронки, равный 600-800 л/мин * м;

D - диаметр коронки, равный 76мм.

Следовательно, расход промывочной жидкости:

Q = К * D = 600 * 0,076 = 45,6 принимаем 46 л/мин

Q = К * D = 800 * 0,076 = 60,8 принимаем 61 л/мин

6 слой: известняк

Р = Р0*м

Величину удельной нагрузки Р0 выбираем в зависимости от типа коронки и категории пород по буримости V. Используем СА5-76мм самозатачивающаяся 8 зубцов, где рО -70- 120 удельная нагрузка, кН/м; D -76 мм диаметр породоразрушающего инструмента, м.

Р = 70*0,076=5,32 кН

Р = 120*0,076=9,12 кН

Частота вращения бурового снаряда:

n = 60 V/πD, об/мин, где

V - рекомендуемая окружная скорость вращения коронки, м/с;

D - 76мм диаметр коронки, м.

Для принимаем V = 0,6-1,5 м/с.

Следовательно, частота вращения будет равна:

n = 60V/πD = 60 * 0,6/(3,14 * 0,076) = 150об/мин

n = 60V/πD = 60 * 1,5/(3,14 * 0,076) = 391об/мин

Расход промывочной жидкости:

Q = К * D, л/мин, где

К - расход промывочной жидкости на 1 см диаметра коронки, равный 600-800 л/мин * м; D - диаметр коронки, равный 76мм.

Следовательно, расход промывочной жидкости:

Q = К * D = 600 * 0,076 = 45,6 принимаем 46 л/мин

Q = К * D = 800 * 0,076 = 60,8 принимаем 61 л/мин

слой: каменный уголь

Р = Р0*м

Величину удельной нагрузки Р0 выбираем в зависимости от типа коронки и категории пород по буримости II . Используем СА5-76мм самозатачивающаяся 8 зубцов, где рО - 60-100 удельная нагрузка, кН/м; D -76 мм диаметр породоразрушающего инструмента, м.

Р = 60*0,076=4,56 кН

Р = 100*0,076=7,6 кН

Частота вращения бурового снаряда:

n = 60 V/πD, об/мин, где

V - рекомендуемая окружная скорость вращения коронки, м/с;

D - 76мм диаметр коронки, м.

Для принимаем V = 1,0-1,5 м/с.

Следовательно, частота вращения будет равна:

n = 60V/πD = 60 * 1,0/(3,14 * 0,076) = 250об/мин

n = 60V/πD = 60 * 1,5/(3,14 * 0,076) = 391об/мин

Расход промывочной жидкости:

Q = К * D, л/мин, где

К - расход промывочной жидкости на 1 см диаметра коронки, равный 1000-1500 л/мин * м; D - диаметр коронки, равный 76мм.

Следовательно, расход промывочной жидкости:

Q = К * D = 1000 * 0,076 = 76 л/мин

Q = К * D = 1500 * 0,076 = 114 л/мин

8 слой: песчанистые сланцы

Р = Р0*м

 

Величину удельной нагрузки Р0 выбираем в зависимости от типа коронки и категории пород по буримости VII. Используем СА5-76мм самозатачивающаяся 8 зубцов, где рО - 70-120 удельная нагрузка, кН/м; D -76 мм диаметр породоразрушающего инструмента, м.

Р = 70*0,076=5,32 кН

Р = 120*0,076=9,12 кН

Частота вращения бурового снаряда:

n = 60 V/πD, об/мин, где

V - рекомендуемая окружная скорость вращения коронки, м/с;

D - 76мм диаметр коронки, м.

Для принимаем V = 0,6-1,5 м/с.

Следовательно, частота вращения будет равна:

n = 60V/πD = 60 * 0,6/(3,14 * 0,076) = 150об/мин

n = 60V/πD = 60 * 1,5/(3,14 * 0,076) = 391об/мин

Расход промывочной жидкости:

Q = К * D, л/мин, где

К - расход промывочной жидкости на 1 см диаметра коронки, равный 600-800 л/мин * м; D - диаметр коронки, равный 76мм.

Следовательно, расход промывочной жидкости:

Q = К * D = 600 * 0,076 = 45,6 принимаем 46 л/мин

Q = К * D = 800 * 0,076 = 60,8 принимаем 61 л/мин

Мероприятия по повышению выхода керна

При бурении геологоразведочных скважин на твердые полезные ископаемые керн и шлам являются основными источниками информации.

Для изучения геологического строения того или иного месторождения требуется получение кернового материала в необходимом количестве и нужного качества. В процессе бурения и извлечения керн разрушается, что снижает достоверность опробования полезного ископаемого.

На выход керна оказывает отрицательное воздействие ряд факторов.

Геологические факторы:

разрушение и истирание мягких прослоев и участков;

разрыхление или уплотнение пород;

растворение или выщелачивание минералов;

растепление мерзлых пород.

Технические факторы:

деформация и механическое разрушение керна;

размывание керна;

уменьшение диаметра керна и его прочности.

Технологические факторы:

механическое разрушение керна за счет вибрации;

растворение керна в промывочной жидкости;

выпадение керна при расхаживании снаряда;

потери керна при его подъеме.

Для снижения отрицательного воздействия перечисленных факторов используются технологические мероприятия и технические средства повышения выхода керна.

Технологические мероприятия: применение обратной схемы промывки; снижение частоты вращения бурового снаряда; снижение расхода промывочной жидкости; бурение укороченными рейсами.

К техническим средствам повышения выхода керна относятся двойные колонковые наборы, краткая техническая характеристика которых приведена, для бурения мягких пород I-IV категорий по буримости используются двойные колонковые наборы ДТА-2, Донбасс НИЛ I (II, III)

Двойной колонковый снаряд КГК-100 тип коронки КГ-76МС

Мероприятия по поддержанию заданного направления скважины

Полностью предупредить искривление скважин, происходящее под влиянием геологических и технологических причин, невозможно, так как эти причины действуют постоянно по всей длине ствола скважины, однако можно значительно снизить их влияние. Предупредительные меры борьбы с искривлением скважин должны быть направлены, в основном, на устранение причин технологического характера и на уменьшение степени влияния геологических причин.

Для снижения интенсивности естественного искривления скважин под воздействием геологических факторов применяются следующие способы:

. Заложение скважин с оптимальными начальными углами с учетом конкретных геолого-структурных условий.

. Применение специальных компоновок низа бурильной колонны;

. Использования рациональных параметров режима бурения, при которых интенсивность естественного искривления минимальна;

. Применения породоразрушающего инструмента с плоской формой торца или специальных коронок с небольшим выходом резцов за периметр инструмента и со слабой фрезерующей способностью.

. Применения комбинированных или специальных способов бурения.

. Применения отклонителей для направленного искривления ствола.

 

Глава 4. Ликвидационное тампонирование скважин


После завершения бурения скважины до проектной глубины и проведения в ней комплекса геофизических исследований, проводят ликвидационное тампонирование, заключающееся в заполнении ствола скважины глиной, цементным или густым глинистым раствором. Цель ликвидационного тампонирования - устранения возможности циркуляции подземных вод по стволу скважины, предотвращение обводнения и загрязнения окружающей среды. Перед ликвидацией скважины выполняют контрольный замер ее глубины (глубина составляет 750 м), азимутального и зенитного угла (равны нулю - скважина вертикальная). Если скважина закреплена обсадными трубами, их извлечение обязательно. По поводу тампонажного материала различают следующие методы тампонирования: глинистым раствором, глиной, цементным раствором, отверждаемым глинистым раствором (ОГР). После тампонирования на устье ликвидированной скважины устанавливают репер - отрезок обсадной трубы с цементной пробкой, на которой обозначены номер скважины, ее глубина, название организации и дата окончания бурения.

Составляется акт на ликвидацию скважины.

- 8 слои: тампонирование глиной. Ликвидационное тампонирование глиной применяется только в сухих и с безнапорными водными горизонтами скважинах небольшой глубины. Тампонажный материал готовится из вязкой глины с содержанием песка не более 5 - 6%. Глину слегка замачивают, тщательно перемешивают и освобождают от твердых частиц. Влажность тампонажного материала должна быть минимальной, чтобы он обладал способностью набухать в скважине. После заполнения скважины шариками из глины в высоту 1 - 1,5 м производят трамбовку глины в стволе. Для надежности каждую порцию тампонажной глины трамбуют металлической трамбовкой.

Список использованной литературы

. Соловьев Н.В., Бронников И.Д., Хромин Е.Д. Бурение разведочных скважин. Учебное пособие М. МГГРУ, 2002.

. Козловский Е.А. и др. Справочник инженера по бурению геологоразведочных скважин, тома I, II - М.Недра, 1984.

. Башлык С.М., Загибайло Г.Т. Бурение скважин. - М.Недра, 1990.

. Воздвиженский Б. И., Голубинцев О. Н., Новожилов А. А. Разведочное бурение - М. Недра, 1979.

. Н.В. Соловьёв И.Д. Бронников Е.Д. Хромин Бурение разведочных скважин Учебное пособие

Похожие работы на - Разведочное бурение

 

Не нашли материал для своей работы?
Поможем написать уникальную работу
Без плагиата!
Без нейросетей!