Повышение эффективности лесозаготовок с разработкой устройства для окорки
КАЗАНСКИЙ
ГОСУДАРСТВЕННЫЙ АГРАРНЫЙ УНИВЕРСИТЕТ
КУРСОВАЯ
РАБОТА
Тема:
«Повышение эффективности лесозаготовки с разработкой устройства для окорки»
Выполнил: Исмагилов Ш.Ш.
студент 4 курса гр. 376
Проверил: Дмитриев А.В.
Казань
2011
СОДЕРЖАНИЕ
ВВЕДЕНИЕ
. ОБЗОР
СУЩЕСТВУЮЩИХ КОНСТРУКЦИЙ
. УСТРОЙСТВО
ДЛЯ ОКОРКИ ДРЕВЕСИНЫ
. КОНСТРУКТИВНЫЙ
РАСЧЕТ
.1 Расчет
привода короснимающего механизма
.2 Расчет
привода механизма подачи
.3 Расчет
пружины
.4 Расчет
болтовых соединений
.5 Расчет
сварных соединений
. ТЕХНОЛОГИЧЕСКИЙ
РАСЧЕТ
.1 Расчет
производительности
. ТЕХНИКО-ЭКОНОМИЧЕСКАЯ
ОЦЕНКА РАБОТ
ЗАКЛЮЧЕНИЕ
СПИСОК ЛИТЕРАТУРЫ
ПРИЛОЖЕНИЕ 1
ПРИЛОЖЕНИЕ 2
ВВЕДЕНИЕ
Лесозаготовительная промышленность −
основа лесопромышленного комплекса. В настоящее время она убыточна. Убыточными
являются более 60% всех леспромхозов. Традиционно эта
отрасль - самая бедная в ряду других отраслей лесопромышленного комплекса. Здесь
самая низкая заработная плата, самые тяжелые условия труда и самые плохие
социально-бытовые условия. Низкая эффективность работы лесозаготовительных
предприятий отрицательно сказывается на работе всего лесопромышленного
комплекса. Поэтому повышение эффективности лесозаготовок -
первоочередная задача в деле становления лесопромышленного комплекса. Как
уже отмечалось, в условиях неблагоприятного инвестиционного климата ее решение
экономически наиболее доступно. Так, строительство
одного целлюлозно-бумажного комбината средней мощности оценивается около 1
млрд. долл. США. За эти деньги можно модернизировать лесозаготовительные
предприятия на объем лесозаготовок около 60 млн. м3, организовав в них
комплексную переработку древесного сырья, в том числе выпуск экспортной
продукции.
По объему выпускаемой продукции лесопромышленный
комплекс в структуре промышленного производства России занимает пятое, по
объемам экспорта - четвертое место.
В настоящее время лесозаготовительная
промышленность находится в крайне сложном финансово-экономическом положении. В
2000 г. индекс физического объема к 1999-му году составил 109,5%, в 2001 -м
ожидается около 98%, кредиторская задолженность по состоянию на 01 01.2001 г.
превысила объем выпуска товарной продукции на 4 млрд. руб. Увеличение объемов
лесозаготовок характерно для приграничных регионов, осуществляющих экспорт
круглого леса, а также для регионов с развитой целлюлозно-бумажной
промышленностью. Снижаются объемы лесозаготовок в тех регионах, где расположены
основные внутренние конечные потребители.
Целью данной работы является повышение
производительности лесозаготовительных работ путем разработки устройства для
окорки.
В задачи работы входит проведение литературного
обзора по различным способам окорки лесоматериалов и конструкций для их
реализации, конструктивный расчет необходимых деталей установки, расчет
производительности устройства, а также проведение технико-экономических
расчетов эффективности проекта.
1. ОБЗОР СУЩЕСТВУЮЩИХ КОНСТРУКЦИЙ
Ценность отходов повышается, если
они не имеют коры. Поэтому бревна перед распиловкой
следует окорять. При окорке вместе с корой удаляются песок, ил и различные
включения, попадающие в кору при заготовке и сплаве сырья. Поэтому при
распиловке окоренных бревен повышается стойкость пил, а в связи с этим
уменьшаются расход инструмента и мощность на пиление.
Распиловка получается более чистой, что
способствует улучшению качества пиломатериалов. В результате уменьшения
скольжения бревен на подающих вальцах увеличивается производительность
лесопильных рам.
При централизованной окорке сырья на
предприятиях получаются большие объемы коры, вследствие чего создаются условия
для лучшего ее использования.
Окорку пиловочных бревен можно осуществлять
различными способами.
Фрикционные станки удаляют кору за счет сил
трения инструмента о поверхность бревна или посредством взаимного трения
бревен.
Режущие станки снимают кору режущими
инструментами.
Струйные удаляют кору с помощью струи воды или
воздуха под большим давлением.
При физико-химическом используют электрические,
химические, ваккумные и др. явления для отрыва коры от древесины.
В зависимости от назначения, объемов окорки
лесоматериалов, условий и места ее проведения применяют окорочное оборудование
различных конструктивных исполнений. Проводят поштучную и групповую окорку
бревен.
При поштучной применяют станки окаривающие
лесоматериалы методом строгания, фрезерования, скобления: групповую окорку
ведут методом трения, соударения.
Строгание-бревно или кряж движется поступательно
по отношению к ножам, каждый нож срезает одну полоску коры.
Фрезерование - окорочные ножи вращаются касаясь
бревна сбоку, а бревно имеет либо только поступательное, либо
поступательно-вращательное движение.
Скобление - тупые коросниматели вращаются вместе
с ротором, кряж совершает поступательно-продольное движение. Скобление в этом
случае получается поперечно- винтовое.
Трение - окорка осуществляется благодаря ударам
и трению бревен, поленьев и сучьев между собой и об элементы окорочной машины.
Существует еще два способа окорки точением и
гидравлический.
Гидравлический - окорка осуществляется при
помощи струи воды, которая подается на бревно или кряж под большим давлением.
Точением - бревно проходит сквозь вращающий
ротор, поэтому такие станки называются роторными.
Фрикционные окорочные машины имеют высокую
производительность, однако при окорке в этих машинах повреждается заболонь
древесины, а поверхность приобретает шероховатый, ворсистый вид, что
ограничивает применение их для окорки пиловочных бревен.
Необходимость окорки лесоматериалов диктуется
назначением выпускаемой продукции, с одной стороны, и получением вторичного сырья
- с другой, т. е. отходы при переработке окоренной древесины могут быть
использованы в качестве сырья для получения ценной продукции.
В зависимости от степени удаления различных
слоев коры (корка, луб, камбий) различают три вида окорки: чистую, грубую и
пролыску. При чистой окорке с поверхности лесоматериалов полностью удаляют
корку, луб и камбиальный слой. Чистой окорке подвергают балансы, используемые в
целлюлозно-бумажном производстве, шпалы, столбы линий связи, электропередач и
лесоматериалов, подвергающихся антисептированию.
При грубой окорке удаляют корку и
частично или полностью луб. В некоторых случаях луб обязательно оставляют для
предохранения лесоматериалов от растрескивания. Грубой
окорке подвергаютсярудничные стойки, лесоматериалы, применяемые в круглом виде
без пропитки и для получения некоторых видов технологической щепы.
При пролыске с поверхности лесоматериалов
удаляют кору в виде отдельных полос или участков в направлении продольной оси.
Пролыска ускоряет высыхание лесоматериалов и применяется при подготовке леса к
сплаву (особенно молевому), длительном хранении специальных сортиментов.
Способы окорки различаются по характеру
воздействия сил или активных элементов на кору с целью ее отделения от
древесины. В основном окорочное оборудование работает по принципу удаления коры
воздействием на нее твердого тела, т. е. механическим воздействием. Способы
окорки струей жидкости и газа, нагревом камбиального слоя токами высокой
частоты и целый ряд других способов не получили распространения в промышленности
по различным причинам. Наибольшее распространение получил
механический способ окорки строганием, фрезерованием, скоблением, трением,
соударением. При механическом способе окорки применяют поштучную (строганием,
фрезерованием, скоблением) и групповую обработку лесоматериалов В ножевых
станках кора, луб и частично древесина срезаются с поверхности лесоматериалов
ножами. Ножевая окорка может производиться строганием, фрезерованием или
скоблением.
Основными признаками классификации типов
окорочных станков для поштучной окорки лесоматериалов являются: направление
резания относительно направления волокон древесины; кинематика окариваемого
бревна (кряжа) и кинематика режущего инструмента.
В станках, работающих по принципу строгания,
направление резания по отношению к волокнам древесины продольное, кряж
перемещается вдоль продольной оси, ножи неподвижны (рисунок 1.1,а). В
станках, работающих по принципу фрезерования, ножи укрепляют на вращающемся
барабане (шпинделе) или диске.
При продольном фрезеровании ось вращающейся
фрезы перпендикулярна оси кряжа (рисунок 1.1,б). Фрезы
могут охватывать всю окариваемую поверхность кряжа. Кряж перемещается в
продольном направлении. При продольно-винтовом фрезеровании
ось фрезы также перпендикулярна оси кряжа. Кряж совершает продольно-винтовое
движение (рисунок 1.1,в,г). На рисунке 1.1, д вращающиеся фрезы закреплены на
качающихся рычагах, которые в свою очередь закреплены во вращающемся роторе и
совершают вращательное движение вокруг оси кряжа. Кряж совершает поступательное
продольное движение. При поперечно-винтовом фрезеровании (рисунок 1.1,е) ось
вращающейся фрезы параллельна оси кряжа. Кряж
совершает продольно-винтовое движение. При поперечном
фрезеровании (рисунок 1.1, ж) длина ножевого барабана больше длины кряжа, их
оси параллельны. Кряж совершает вращательное
движение. При скоблении тупыми короснимателями,
вращающимися вместе с ротором, кряж совершает поступательно-продольное движение
(рисунок 1.1, з).
Рисунок 1.1. Классификация способов окорки
лесоматериалов.
Механизмами окорки для станков с поштучной
обработкой являются неподвижные и вращающиеся головки и роторы с ока-ривающими
рабочими органами (ножами, короснимателями).
В неподвижной ножевой головке (рисунок 1.2, а)
закреплены несколько плоских ножей с прямо- или криволинейным лезвием (рисунок
1.2,б), которые через систему рычагов прижимаются к кряжу при помощи пружин. Перед
каждым ножом имеется копир, ограничивающий толщину снимаемой стружки. Развод
ножей производится торцом кряжа (бревна) при помощи рыч'агов'; образующих
конусную воронку. В станках с фрезерной головкой закрепляют четыре-шесть
плоских ножа с прямо- и криволинейными лезвиями (рисунок 1.2,б,в). В станках с
плоскими или коническими дисками ножи расположены радиально. Ножи
плоские с прямолинейным лезвием. В станках роторного
типа кора удаляется с поверхности кряжа короснимателями (рисунок 1.2,г;
вращающимися фрезами (рисунок 1.2,е).
Коросниматель к поверхности окариваемого кряжа
прижимается при помощи пружин, гидро- и пневмопривода, резиновых колец,
центробежных сил противовесов и т. д. На рисунке 1.2,д показана схема прижима
короснимателей при помощи пружин и цепного механизма. Шкив 1, закрепленный на
роторе станка, приводится во вращение от электродвигателя 2 через
клиноре-менную передачу 3. Внутри шкива расположен цепной механизм прижима
короснимателей, имеющий вид браслета. К осям короснимателей крепятся кронштейны
4, на пальцах которых насажены ролики 5, которые огибает втулочно-роликовая
цепь браслета 6. Цепи браслета соединяются пружинами сжатия 7, которые
вмонтированы в гильзы 8. Поворачиванием колпака 9 по резьбе производится
предварительное нажатие пружин, длина браслета частично регулируется винтовыми
парами, соединяющими цепи браслета со штоками пружин. От смещения цепь
удерживается стяжкой 10, присоединенной к шкиву. За счет выстуцов 11 на
кронштейнах короснимателей, которые упираются во внутреннее кольцо ротора 12,
производится одинаковая установка рабочих кромок короснимателей относительно
центра ротора. Разведение короснимателей от центра ротора станка и выход их
рабочих кромок на поверхность окариваемого кряжа осуществляются благодаря
серповидной кромке (косой заточке боковой кромки) (см. рисунок 1.2,г). При
нажатии торца кряжа на коросниматели серповидные кромки врезаются в торец и при
вращении с ротором поворачиваются относительно своих осей крепления на роторе и
выходят на поверхность кряжа.
Рисунок 1.2. Механизмы окорки: а - неподвижная
ножевая головка: 1 - нож, 2 - пружина, 3 - копир, 4 - рычаг, 5 - окариваемый
лесоматериал; б,в - плоские ножи с прямо- и криволинейным лезвием; г -
коросниматель; д - кольцевая (роторная) головка; е - снятие коры фрезой: 1 -
фреза, 2 - копирующая плоскость, 3 - стружка, 4 - нож, 5 - окариваемое бревно,
6 - кора; ж - прижим фрез к окариваемому бревну: 1 - статор, 2 - ротор, 3 -
рычаги, 4 - фрезы, 5 - рессора, 6 - косынка.
В роторных станках кору снимают и при помощи
вращающихся фрез (рисунок 1.2,е). Снаружи статора 1 (рисунок 1.2,ж) на
радиально-упорных подшипниках вращается ротор 2, на котором установлены
качающиеся рычаги 3, несущие на концах фрезы 4. Рессорами
5 рычаги прижимают фрезы к окариваемому бревну. Рычаги 3 раздвигаются при упоре
торцом бревна в косынки 6, закрепленные на концах рычагов.
Фрезы вращаются отдельным электродвигателем
через ременную передачу, шкивы и шестеренчатые пары, заключенные-в качающихся
рычагах.
Механизмы подачи лесоматериалов в окорочных
станках должны обеспечивать принудительное их перемещение в процессе окорки,
центрирование и надежную стабилизацию. В зависимости от конструкции окорочных
станков имеются различные механизмы подачи. При окорке лесоматериалов
неподвижными многоножевыми головками применяют специальные толкатели (рисунок
1.3, а). Толкатель 1 движется возвратно-поступательно за счет непрерывного
движения цепи 6 и шатуна 4. Бревно 5, упираясь в головку толкателя 1,
центрируется за счет ее скосов и надвигается в режущую головку 9 до тех пор,
пока упор зубчатой рейки 7 не упрется в амортизатор ограничителя 8. При
дальнейшем движении толкателя начинает вращатьсяшестерня 3 и двигаться
находящаяся с ней в зацеплении зубчатая штанга 2 со скоростью равной удвоенной
скорости Толкателя. Зубчатая штанга 2 выталкивает
окариваемое бревно из режущей головки 9. После остановки
толкатель 1 возвращается в исходное положение и противоположным концом штанги 2
упирается в ограничитель и через шестерню 3 возвращает зубчатую рейку 7 в
исходное положение.
Подача лесоматериала осуществляется цепными
транспортерами со специальными упорами (рисунок 1.3,б).
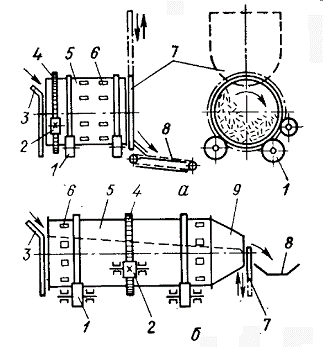
Вальцовый механизм подачи (рисунок 1.3,в)
представляет собой три коленообразных рычага 2, соединенных тягами 4. На конце
рычагов насажены приводные вальцы 1. Благодаря тягам при повороте одного рычага
поворачиваются и остальные рычаги. Этим достигается центрирование бревна
относительно оси ротора. Шипы на вальцах 1 обеспечивают не только сцепление с
бревном при его подаче, но и предотвращают его от поворачивания при окорке.
Такие же вальцы устанавливают с другой стороны окорочного механизма (ротора).
Усилие прижима вальцов к поверхности бревна обеспечивается специальным
прижимным устройством 3, в котором устанавливаются пружины.

Кинематическая схема привода вальцов показана на
рисунке 1.3,г. Вальцы 1, сидящие на валах 7, приводятся во вращение от
электродвигателя 2 механизмом изменения скоростей подачи 3, цепной передачей 4,
валами 5 и зубчатыми передачами 6.
Другая конструкция вальцового механизма подачи
показана на рисунке 1.3,б. Этот механизм состоит из больших 2 приводных и малых
6 неприводных горизонтальных вальцов. Большие вальцы имеют косые шевронные
ребра, сходящиеся в их середине, малые - из ножевых дисков, которые помогают
большим вальцам удерживать бревно от поворачивания и биения при окорке. В
зависимости от диаметра окариваемых бревен большие вальцы расходятся на
одинаковое расстояние от центра за счет зубчатых секторов 5, связанных с
рамками 3, которые установлены на валах 4. Аналогичная
кинематика и для малых вальцов 6. Постоянный прижим
больших вальцов к бревну осуществляется пружинами 8, малых - пружинами 10. Сила
натяжения пружин регулируется талрепами 9. Для смягчения удара
при смыкании вальцов имеются амортизаторы. Привод больших вальцов в этом случае
осуществляется от двух-или трехскоростного электродвигателя 1 (рисунок 1.3,е)
через двухскоростную коробку 2, редуктор 3, ведущий вал 4. От этого вала через
конические пары зубчатых передач 5 движение передается на передние подающие и
задние приемные большие вальцы посредством цепной передачи и звездочек 6, 7, 9
и 10. Звездочка 7 является ведущей для
нижнего большого вальца 8, а звездочка 10 - для верхнего большого вальца 11.
Звездочка 9 натяжная. Привод задних больших вальцов одинаков (на схеме не
показан).
Гусеничный механизм подачи состоит из двух
транспортеров- верхнего и нижнего перед станком и приемного позади станка
(рисунок 1.3,ж).
Вогнутые траверсы с зубцами с
уклоном в противоположную сторону направления силы окорки предотвращают
вращение бревна в процессе его окаривания. Верхние 2 и нижние
3 гусеницы расходятся и сходятся благодаря секторной связи 1 между ними. Дополнительно
гусеницы могут поворачиваться на осях в продольном направлении, что также
улучшает центровку и удержание искривленных бревен. Бревна
сжимаются гусеницами с помощью гидравлического устройства 4. Движение гусениц
осуществляется от электродвигателя через коробку передач 5.
В станках с дисковыми или фрезерными ножевыми
окорочными головками лесоматериал подается при помощи вальцов. Если
кряжу сообщается продольное и вращательное движение (винтовое), то вальцы
должны располагаться под углом к оси кряжа. Скорость
продольного и вращательного движения кряжа регулируется величиной угла (рисунок
1.3, з).
Рассмотрим некоторые конструкции окорочных
станков.
Окорочно-зачистные станки ЛО-23 и
ЛО-24 предназначены для грубой окорки рудничной стойки и бревен с одновременной
зачисткой сучьев. Станок ЛО-23 окаривает кряжи диаметром от 8 до 28 см и длиной
от 1,5 до 3 м, станок ЛО-24 окаривает бревна длиной от 1,5 до 6,5 см. Рабочим
органом этих станков являются ножи (см. рисунок 1.2,б), установленные в двух
последовательно расположенных головках (рисунок 1.2,а), в каждой головке по
четыре ножа. Таким образом, угол между каждым ножом составляет p/4
рад. Это обеспечивает полное перекрытие ножами всей поверхности окариваемого
бревна. Для пролыски достаточно одной
головки. Механизм подачи этих станков изображен на
рисунке 1.3, а. Для поштучной подачи лесоматериалов в лоток станка имеется
сбрасыватель. После окорки, кряжа толкатель
возвращается в исходное положение для. выполнения следующего цикла окорки.
Скорость подачи (или резания) кряжа в окорочной головке равна 1,5 м/с.
В станках ОК-35К и ОК-35М окаривающим механизмом
служат серповидные тупые коросниматели, которые закреплены в роторе станка и
прижимаются к поверхности окариваемого бревна резиновыми кольцами. Подача
бревен к станку и уборка от станка осуществляются транспортерами, а продвижение
бревна в роторе станка в процессе окорки - вальцами (рисунок 1.3, в),
приводимыми во вращение по схеме рисунка 1.3, г. Станок ОК-35К окаривает и
короткие бревна (начиная от 0,8 м и выше), поэтому для лучшей стабилизации их в
процессе окорки механизм подачи состоит из трех пар вальцов с каждой стороны
ротора. Скорость подачи бревна у станка ОК-35К равна 0,13-0,7 м/с, у станка ОК-35К
0,4-0,6 м/с; угловая скорость ротора соответственно равна 21 и 45 рад/с.
Мощность привода станка 18 кВт.
Станок ОК-40Б предназначен для
окорки балансов, ОК-40С - для окорки столбов. По конструкции станки одинаковы. Режущими
органами являются фрезы (рисунок 1.2,е), а окорочный механизм выполнен по схеме
рисунке 1.2,ж. Механизм подачи включает подпружиненный лоток на качающихся
рычагах, установленный перед ротором станка. Внутри лотка по направляющим
скользят траверсы цепного транспортера. Для изменения скорости подачи на
приводе транспортера установлен трехскоростной электродвигатель. Для
направления бревна по центру ротора и удержания его во время окорки в механизме
центрирования имеются две пары неприводных прижимных роликов. С раскрытием
роликов одновременно на такую же величину опускается вниз лоток вместе с
транспортером. Для синхронного опускания переднего и заднего концов лотка
качающиеся рычаги, на которых он установлен, соединены между собой штангами.
Для усиления основных пружин и регулирования
усилий зажима бревна между траверсами и роликами на штанги надеты пружины,
которые удерживают транспортер в верхнем сомкнутом с роликами положении.
Приемный механизм аналогичен
подающему за исключением иого, что форма его лотка плоская для удобства сброски
бревен. Раскрытие
роликов приводит к опусканию траверс транспортера на одинаковое расстояние от
их первоначального центра. Чем больше
сопротивление косынок разводу, тем глубже врезаются траверсы в поверхность
бревна и увеличивают тягу транспортера. Ведущие звездочки
транспортера снабжены муфтами скольжения для предохранения цепей от резких
толчков при входе бревна под фрезы.
Рисунок 1.4. Общий вид окорочного
станка ОК-63.
Станок ОК-63 по принципу работы
аналогичен станку ОК-35К и ОК-35М, по конструкции в значительной степени
отличается от них. Станок (рисунок 1.4) состоит из
подающего 1 и приемного 4 рольгангов, механизма подачи '2, окорочной головки 3,
станины 5, привода ротора 6, привода механизма подачи 7 и привода рольганга 8.
Рольганги служат для транспортировки
и предварительной центровки бревен перед подачей их в вальцы и ротор станка. В
зависимости от массы бревен, которая находится в определенной связи с их
диаметром, рольганги поднимаются и опускаются, а также поворачиваются. Механизм
подачи станка и его привод выполнены по схемам, приведенным на рисунке 1.3,д,е,
а механизм прижима короснимателей в роторе станка - по схеме рисунке 1.2, д.
Угловая скорость ротора 14 и 19 рад/с, скорость подачи 0,15-0,75 м/с, мощность
привода 31 кВт.
Дисковый станок ОД-1 предназначен
для чистой и грубой «корки балансов и рудничных стоек. Станок
состоит из подающих и приемных рольгангов и рамы, на которой смонтирован
вертикальный вал с горизонтальным конусным диском, приводимым от
электродвигателя посредством ременной передачи. Диаметр диска 1000 мм, угловая
скорость 47 рад/с. На диске в радиальном направлении закреплено 12 плоских
ножей (рисунок 1.1,г; рисунок 1.3,з). Сбоку диска имеется горизонтальный
направляющий опорный ролик, который придает направление движению окариваемого
кряжа и предохраняет его от скатывания с диска.
Механизм подачи состоит из качающейся рамки 2, в
которой посажены три рифленых ролика 1. Движение рамки определяется специальной
наклонной линейкой 3, имеющей продольную прорезь, через которую пропущена
рукоятка рамки. Положение рамки в линейке зависит от диаметра окаривае-мых
кряжей, а поэтому угол в (рисунок 1.3,з) между осями кряжа и рифлеными роликами
переменный. Рифленые ролики приводятся во
вращение от вала диска посредством зубчатых и цепной передач. Наибольшие длина
и диаметр окариваемых: кряжей соответственно равны 3,5 м и 27 см.
В установках для групповой обработки
лесоматериалов окорка производится за счет трения, соударения бревен или
поленьев между собой и об элементы машины путем их активного перемешивания в
барабанах или бункерах сухим способом, увлажнением и с водяной ванной.
Установки бывают периодического и непрерывного действия.
В лесозаготовительной промышленности для сухой
окорки низкокачественных коротких лесоматериалов и толстых сучьев длиной до 1,5
м применяют барабанные установки периодического и непрерывного действия. Барабаны
КБ-3 и БОМП-3 (ЛО-20) относятся к установкам периодического действия.
Барабанная установка периодического действия
(рисунок 1.5,а) представляет собой металлический полый цилиндр 5 диаметром до 3
м и длиной до 5 м, имеющий в боковой поверхности отверстия 6 для выпадения
истертой коры и гнили. Барабан установлен на роликах 1 и приводится во вращение
от электродвигателя через редуктор, цилиндрическую шестерню 2 и зубчатый венец
4, закрепленный на ободе барабана. На внутренней поверхности барабана
закреплены ножи, ускоряющие- процесс окорки. Частота
вращения барабана составляет около 20 об/мин. С
загрузочной стороны барабана установлен неподвижный щит 3 с отверстием в
верхней части для загрузочного лотка, с выходной стороны барабана имеется
подвиж-ныц шибер 7, который открывается для выгрузки окоренных лесоматериалов.
При закрытом шибере барабан заполняется на 1/2-2/3 его объема, после чего
барабан включается и начинается процесс окорки. По окончании окорки открывается
подвижный шибер и лесоматериалы при вращающемся барабане высыпаются на выносной
транспортер 8, который подает их к рубительной машине для изготовления щепы. Затем
барабан вновь загружается, и цикл окорки повторяется.
Барабанные установки непрерывного действия КБ-6,
КБ-12 (рисунок 1.5,б, позиции 1 - 8 те же, что и на рисунке 1.5,а) имеют
барабан диаметром 3-4 м и длиной 7-12 м. Выходная часть барабана заканчивается
воронкой 9 (конусной частью), перекрытой подвижным шибером. Неокоренные
лесоматериалы подаются в барабан непрерывно, а окоренные также непрерывно
выходят из него. Продолжительность окорки зависит от требуемой чистоты окорки и
физико-механического состояния лесоматериалов (породы, влажности, температуры),
а также от степени загрузки и частоты вращения барабана.
Рисунок 1.5. Установки для групповой окорки
лесоматериалов: а - барабан периодического действия; б - то же непрерывного
действия.
лесозаготовительный окорка привод
Одним из наиболее современных и перспективных
способов окорки древесины является струйно-гидравлическая окорка. При
гидравлическом способе окорки кора удаляется с помощью водяной струи.
Этот способ окорки обладает
следующими преимуществами:
· Снижение начальных
инвестиционных затрат
· Обработка любой
формы бревен не вызывает затруднений
· Устранение проблем,
связанных с быстрым износом режущих элементов
· Высокая скорость
ошкуривания бревна.
· Более качественная
поверхность после обработки
· Обработанные таким
способом бревна более устойчивы к внешним воздействиям
В данной работе будет произведена модернизация
устройства для окорки с целью повышения его производительности, которое
описывается в следующей главе.
2. УСТРОЙСТВО ДЛЯ ОКОРКИ ДРЕВЕСИНЫ
В данной работе проводится модернизация
устройства, описанного в патенте RU
2340444 C1.
Изобретение относится к лесной,
деревообрабатывающей промышленности и может быть использовано для окорки
круглых лесоматериалов, в том числе дровяной древесины, которая имеет по всей
длине неровности в виде пороков.
Технический результат достигается тем, что
корпус устройства выполнен в виде кольца, на котором шарнирно установлены
коромысла, причем у каждого из них на одном свободном конце установлена
пружина, связанная с кронштейном, расположенным на корпусе, а также с канатом,
соединенным с рычагом управления, а на втором свободном конце установлен копир,
выполненный в виде винта с полусферой, при этом на корпусе устройства
перпендикул рно его оси жестко смонтирована направляющая, в которой установлена
рама с соплами, связанная посредством пружины с коромыслом.
На рисунке 2.1 показан фронтальный вид
устройства для окорки.
Предлагаемое устройство состоит из корпуса 1,
выполненного в виде кольца, на котором шарнирно установлены коромысла 2, причем
у каждого из них на одном свободном конце установлена пружина 3, связанная с
кронштейном 4, расположенным на корпусе, а также трос 5, соединенный с рычагом
управления 6, а на втором свободном конце установлен копир 7, выполненный в
виде винта 8 с полусферой 9, при этом на корпусе устройства перпендикулярно его
оси жестко смонтирована направляющая 10, в которой установлена рама 11 с
соплами 12, связанная посредством пружины 13 с коромыслом.
Устройство действует следующим
образом. Внутрь корпуса 1 помещается дровяная древесина. Рычаг
6, соединенный тросом 5 с плечом коромысла 2, перемещает копир 7 в рабочее
положение до соприкосновения с поверхностью древесины. Для обеспечени
необходимой силы прижима копира 7 к древесине на одном плече коромысла 2
закреплена пружина 3, которая другим своим концом соединена с кронштейном 4,
жестко закрепленным на корпусе 1.
Рисунок 2.1. Устройство для окорки древесины.
Древесина приводится во вращение вокруг своей
продольной оси и одновременно совершает продольное перемещение. Копиры 7,
повтор неровности своего участка поверхности, перемещают плечо коромысла 2,
которое через пружину 13 перемещает раму 11 по направляющей 10, тем самым,
сохраняя эффективное расстояние от сопла 12 до поверхности древесины.
Направляющие 10 жестко закреплены на корпусе 1 перпендикулярно к его оси, что
позволит сохранить постоянный эффективный угол воздействия струи на древесину.
Через трубопровод вода под давлением подводится к соплу 12, где формируется
струя заданного напора и диаметра, очищающа древесину от коры и гнили по всей
поверхности древесины.
После обработки древесины копир 7 приводитс в
исходное положение перемещением рычага 6, который натягивает трос 5. Трос 5
поворачивает коромысла 2, тем самым, поднима копиры 7 над древесиной, что
позволяет свободно удалить очищенную древесину из устройства.
В результате применения изобретения очищается от
коры и гнили вся поверхность древесины, включая места под наплывами, в трещинах
и дуплах, а также уменьшается материалоемкость конструкции, что позволяет
снизить себестоимость очищенной древесины.
Целью курсовой работы является модернизация
существующего устройства для окорки с целью увеличения его производительности.
3. КОНСТРУКТИВНЫЙ РАСЧЕТ
.1 Расчет
привода короснимающего механизма
Мощность (кВт), потребляемую короснимающим
механизмом, в нашем случае определяют по формуле:
(3.1)
где Pр - сила
сопротивления окорке на одном короснимателе, Н;
u
- скорость резания короснимателя, м/с;
z - число
короснимателей, z = 4;
h
- к.п.д. привода, примем h = 0,9.
Силу Рр рассчитываем по формуле:
(3.2)
где K0 - удельное
сопротивление окорке, Н/м;
b0 - ширина
полосы коры, снимаемой одним короснимателем, м;
q - удельное
давление короснимателя, Н/м;
b - ширина
короснимателя в месте контакта с корой, м;
- коэффициент трения короснимателя
о древесину (
0,2).
Скорость резания определяют по
формуле:
(3.3)
где u1 - окружная скорость короснимателя, м/с;
u - скорость
подачи окариваемого бревна, м/с:
(3.4)
где w - угловая скорость вращения ротора, рад/с;
m -
коэффициент перекрытия (число проходов короснимателя по одному следу); для
сырой древесины m = 2, мороженой или сухой m = 3..5.
Величина u1 значительно превышает
величину u, поэтому
для практических расчетов можно принимать
, тогда
(3.5)
Величину b0 определяют
по формуле:
(3.6)
Значения K0 определяют
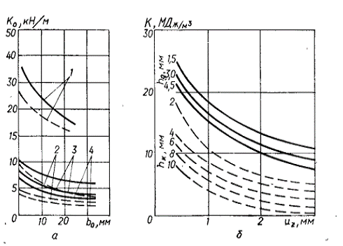
в зависимости от ширины полосы b0 для ели и сосны приведены на
графиках на рисунке 3.1, а, где сплошные линии - для ели, пунктирные - для
сосны (цифры: 1 - свежесрубленной; 2 - полусухой; 3 - сплавной; 4 -
замороженной).
Рисунок 3.1. Графики основных
значений удельного сопротивления и удельной работы при окорке: а - значения
удельного сопртивления окорки в зависимости от ширины полосы b0; б -
значения удельной работы резания для древесины и коры при различных значениях uz.
В нашем случае в качестве
короснимателей выступают гидравлические струи воды, пущенные под большим
давлением.
В этом случае имеем следующие
значения параметров:
В качестве dк возьмем
диаметр окариваемого бревна dк = 0,7 м.
Угловую скорость ротора примем равной
w = 30 с-1.
По формуле (3.5) определяем скорость
резания:
Среднюю скорость подачи окариваемого
бревна примем равной u = 0,3 м/с, откуда находим ширину
полосы коры, снимаемой одним короснимателем:
По графику на рисунке 3.1 определяем
коэффициент K0, приняв в
расчетах, что производится окорка свежесрубленной ели, K0 = 19 кН/м.
Удельное давление короснимателя q = 15 кН/м;
Ширина короснимателя в месте
контакта с корой фактически совпадает с b0, примем b = b0 = 16 мм.
По формуле (3.2) рассчитываем силу
Рр:
Определяем мощность, потребляемую
короснимающим механизмом, в нашем случае определяют по формуле:
Поскольку механизмом окорки являются
гидравлические струи, то необходимо подобрать насос необходимой мощности.
Выбираем насос фирмы Calpeda NM 50/25AE
мощностью 18,5 кВт, способные создать давление до 8 бар.
3.2 Расчет
привода механизма подачи
Мощность привода подачи окорочных
станков определяют по формуле:
(3.7)
где Pz -
продольная составляющая силы окорки, Н:
(3.8)
- масса
бревна, кг;
- ускорение
свободного падения, м/с2;
Рпр - сила
прижима бревна к траверсам (вальцам), Н; - коэффициент
трения траверс по направляющим (вальцам); - скорость
подачи, м/с;
h - к.п.д.
передачи.
Массу бревна принимаем по среднему
значению m = 700 кг.
Сила прижима бревна к траверсам Рпр ≈
2000 Н.
Продольная составляющая силы окорки
по формуле (3.8):
К.п.д. передачи h = 0,8.
Подставляя числовые данные в (3.7),
получаем:
Выбираем электродвигатель для механизма подачи
4АМ80В6У3 с номинальной частотой вращения 920 об/мин и мощностьб 1,1 кВт.
3.3 Расчет пружины
Произведем расчет цилиндрических винтовых пружин
сжатия, установленной на свободном конце коромысел, и связанных с кронштейном
Примем коэффициент запаса прочности пружины kз
= 1,2.
Расчетная нагрузка в пружине будет определяться
принятой грузоподъемностью:
(3.9)
Подставим числовые данные:
В качестве материала пружины
выбираем сталь Ст.65, имеющую следующие характеристики:
sв
= 1000 МПа;
s0r = 800 МПа;
= 9%;
[s]
= 500 МПа;
[t] = 350 МПа.
Диаметр прутка пружины находим из
условия прочности сжатия пружины:
(3.10)
где Kк -
коэффициент, зависящий от индекса пружины:
(3.11)
где
.
Принимаем с = 6.
Коэффициент, зависящий от индекса
пружины:
Откуда диаметр прутка пружины:
Принимаем d = 5 мм.
Определяем средний диаметр пружины
по формуле:
(3.12)
Определяем число витков по заданной
осадке:
(3.13)
где
- модуль сдвига, G = 80 ГПа;
lраб
- рабочий ход пружины.
Примем lраб = 50 мм.
Максимальная и минимальная силы
растяжения:
Подставим числовые данные:
Принимаем i = 35
витков.
Определяем общее число витков с
учетом шлифовки торцов пружины при образовании опорных поверхностей:
(3.14)
Длина пружины до соприкосновения
витков:
(3.15)
Длина пружины в ненагруженном
состоянии:
(3.16)
Подставим числовые данные:
Наружный диаметр пружины можно найти
по формуле:
(3.17)
Внутренний диаметр пружины:
(3.18)
Подставляя числовые данные, находим:
Шаг витков:
(3.19)
.4 Расчет
болтовых соединений
Произведем расчет болтов, на которых
крепятся кронштейны.
Резьба под действием силы,
направленной по оси болта, работает на срез. Сила по виткам распределяется
неравномерно вследствие растяжения болтов и погрешностей изготовления.
Наибольшая ее часть приходится на виток у опорной поверхности, меньшая - на
противоположном конце гайки.
При расчете болта, растянутого силой
F,
определяется диаметр впадин по формуле:
(3.20)
где N -
нормальная сила в поперечных сечениях болта;
- допускаемое напряжение для
болтов.
Выбираем в качестве материала болта
сталь Ст35.
= 200 МПа.
Эквивалентная нормальная сила в
сечении болта:
(3.21)
где k -
коэффициент затяжки болта;
c
- коэффициент внешней силы.
Примем коэффициент внешней силы c = 0,3, коэффициент затяжки
болта k = 1,25.
Тогда:
Подставим полученное значение силы:
Принимаем с запасом болт М6х40 ГОСТ
15589-70.
3.5 Расчет
сварных соединений
Произведем расчет на прочность
сварной рамы.
Наиболее надежной считается сварка
деталей одинаковой толщины и имеющих плавные переходы, соединенные встык. В
этих швах мала концентрация напряжений.
Соединение встык рассчитывают на
растяжение (сжатие). Условие прочности выражается неравенством:
(3.22)
где N -
нормальная сила в поперечном сечении деталей;
h - толщина
сварных деталей; l - длина шва.
Принимаем h = 15 мм, l = 70 мм.
N = 2000 Н.
Подставляя в (3.26), получаем:
В качестве материала выбираем сталь
30ХГСА.
Допускаемое напряжение материала вычисляется
по формуле:
(3.23)
где
= 0,7..0,9. Принимаем
= 0,8.
Для выбранного материала
= 110 МПа.
Должно выполняться условие
прочности:
Условие прочности сварного шва
выполняется.
4. ТЕХНОЛОГИЧЕСКИЙ РАСЧЕТ
4.1 Расчет
производительности
Сменную производительность окорочных
установок определяют по формуле:
(4.1)
где Т - время смены, с;
j1
- коэффициент использования рабочего времени;
j2
- коэффициент загрузки станка;
u - скорость
подачи бревна;
Q - объем
среднего бревна;
Коэффициент использования рабочего
времени принимаем равным j1 = 0,5.
Коэффициент загрузки станка j2 = 0,8.
Объем среднего бревна 0,5 м3.
Длина среднего бревна l = 4 м.
Подставляя значения в формулу (4.1),
получаем:
Часовая производительность
установки:
(4.2)
5. ТЕХНИКО-ЭКОНОМИЧЕСКАЯ
ОЦЕНКА РАБОТ
При любом проектировании неотъемлемой частью
является рассмотрение вопроса экономической эффективности проекта и сроков его
окупаемости. Внедрение новых технологий и оптимизация производства - это
главные и наиболее эффективные методы повышения доходности предприятия.
Сравнительная экономическая оценка машин
производится по следующим показателям:
1. изменение выхода и качества продукции;
2. затраты труда на единицу работы
(продукции);
. себестоимость;
. капитальные вложения на внедрение машин
и окупаемость дополнительных капиталовложений;
. улучшение условий и облегчение труда;
. годовой экономический эффект и др.
Экономический эффект от модернизации бензопилы
будет получен за счет увеличения производительности устройства, а значит и
выхода продукции.
Часовая производительность модернизированного
устройства для окорки составила:
Часовая производительность механизма
аналога составляла:
Для расчетов рассмотрим
экономический эффект от внедрения модернизированной конструкции бензопилы для
распиливания еловой древесины.
Цена 1 м3 необработанного леса
составляет примерно С = 1400 руб/м3.
Стоимость сменного количества
доставляемой древесины:
Для проекта
(5.1)
Для аналога:
(5.2)
Сменная экономия составит:
. (5.3)
Количество рабочих дней в году Тгод
= 249 дней.
Экономия за год составит:
(5.4)
Мы получили значительный
экономическый эффект, достигаемый за счет внедрения новой конструкции
устройства для окорки древесины, следовательно, изготовление устройства
является экономически оправданным.
ЗАКЛЮЧЕНИЕ
Данная курсовая работа посвящена
модернизации конструкции устройства для окорки древесины с целью увеличения его
производительности.
В первой главе приводится
литературный обзор существующих способов окорки, описываются их достоинства и
недостатки, приведены схемы конструкций, а также приведено описание основных
принципов работы.
Во второй главе приводится описаниюн
изобретения аналога - устройства для окорки.
В третьей части работы производятся
конструктивные расчеты элементов конструкции: приводов, сварных конструкций,
болтовых соединений и пружины.
Четвертая глава посвящена
технологическим расчетам производительности устройства для окорки.
В последней главе работы
производится расчет экономической эффективности проекта. На основании расчетов
сделан вывод о том, что внедрение модернизированной конструкции устройства для
окорки является экономически выгодным.
СПИСОК ЛИТЕРАТУРЫ
1. Иофинов
С.А., Лышко Г.П. Эксплуатация машинно-тракторного парка. - М.: Колос, 1984. -
351 с.
2. Справочник
инженера-экономиста автомобильного транспорта /С. Л. Голованенко, О. М. Жарова,
Т. И. Маслова, В. Г. Посыпай; под общ. Ред. С. Л. Голованенко. - М.: Транспорт,
1984. - 320 с.
. Шелгунов
Ю.В., Кутуков Г.М., Ильин Г.П. Машины и оборудование лесозаготовок, лесосплава
и лесного хозяйства. - М.: Лесная промышленность, 2002. - 520 с.
. Эрдеди
А.А., Эрдеди Н.А. Детали машин. - М.: Высшая школа, 2002. - 522 с.
. Попов
Н.А. Экономика сельского хозяйства. - М.: ДиС, 2001. - 368 с.
. Шейнблит
А. Е. Курсовое проектирование деталей машин: Учеб. Пособие для техникумов. -
М.: Высшая школа, 1991. - 432 с.
. Винокуров
В.Н. и др. Машины, механизмы и оборудование лесного хозяйства. Справочник. М.:
МГУЛ, 2002. - 439 с.
. Винокуров
В.Н., Силаев Г.В. Лесохозяйственные машины и их применение. Текст лекций. - М.:
Изд-во Московского государственного университета леса, 1999. - 234 с.
. Кузьмин
А.В. Справочник по расчетам механизмов подъемно-транспортных машин. - Минск:
Высшая школа, 1983. - 350 с.
. Моргачев
В.Л. Подъемно-транспортные машины. - М.: Машиностроение, 2004. - 343 с.
. Куклин
Н.Г. Детали машин. М.: Высшая школа, 2007. - 406 с.
. Клоков
В.Г. Детали машин. Проектирование узлов и деталей машин. М.: МГИУ, 2005. - 348
с.
. Чекмарев
А.А., Осипов В.А. Справочник по машиностроительному черчению. М.: Высшая школа,
2000. - 694 с.
. Галиуллин
Ш.Р. Машины и механизмы. Методическое пособие и контрольные задания для
студентов очной и заочной формы обучения по специальности 260400 «Лесное
хозяйство и экология». Казань: изд-во Казанской государственной
сельскохозяйственной академии, 2006. - 55 с.
. Фере
Н.Э. и др. Сельскохозяйственное машиноведение. - М.: Просвещение, 2001. - 248
с.
ПРИЛОЖЕНИЕ 1
Спецификация «Сборочный чертеж»
|
Формат
|
Зона
|
Поз.
|
Обозначение
|
Наименование
|
Кол.
|
Примечание
|
|
|
|
|
Документация
|
|
|
|
А1
|
|
|
|
Сборочный
чертеж
|
|
|
|
|
|
|
|
|
|
|
|
|
Сборочные
единицы
|
|
|
|
|
1
|
|
Корпус
|
1
|
|
|
|
2
|
|
Коромысло
|
4
|
|
|
|
3
|
|
Пружина
|
4
|
|
|
|
4
|
|
Кронштейн
|
4
|
|
|
|
5
|
|
Трос
|
1
|
|
|
|
6
|
|
Рычаг
управления
|
1
|
|
|
|
7
|
|
Копир
|
4
|
|
|
|
8
|
|
Винт
|
4
|
|
|
|
9
|
|
Полусфера
|
4
|
|
|
|
10
|
|
Направляющая
|
4
|
|
|
|
11
|
|
Рама
|
4
|
|
|
|
12
|
|
Сопло
|
4
|
|
|
|
13
|
|
Пружина
|
4
|
|
|
|
|
|
|
|
|
|
|
|
|
|
|
|
|
|
|
|
|
|
|
|
|
|
|
|
|
|
|
|
|
|
|
|
|
|
|
|
|
|
|
|
|
|
|
|
|
|
|
|
|
|
|
|
|
|
|
|
|
|
|
|
|
|
|
|
|
|
|
|
|
|
|
|
|
|
|
|
|
|
|
|
|
|
|
|
|
|
|
|
|
|
|
|
|
|
|
|
ПРИЛОЖЕНИЕ 2
Спецификация «Устройство для снятия коры»
|
Формат
|
Зона
|
Поз.
|
Обозначение
|
Наименование
|
Кол.
|
Примечание
|
|
|
|
|
Документация
|
|
|
|
А1
|
|
|
|
Устройство
для снятия коры
|
1
|
|
|
|
|
|
|
|
|
|
|
|
|
Сборочные
единицы
|
|
|
|
|
1
|
|
Коромысло
|
1
|
|
|
|
2
|
|
Пружина
|
1
|
|
|
|
3
|
|
Кронштейн
|
1
|
|
|
|
4
|
|
Копир
|
1
|
|
|
|
5
|
|
Винт
|
1
|
|
|
|
6
|
1
|
|
|
|
7
|
|
Направляющая
|
1
|
|
|
|
8
|
|
Рама
|
1
|
|
|
|
9
|
|
Сопло
|
1
|
|
|
|
10
|
|
Пружина
|
1
|
|
|
|
|
|
|
|
|
|
|
|
|
|
|
|
|
|
|
|
|
|
|
|
|
|
|
|
|
|
|
|
|
|
|
|
|
|
|
|
|
|
|
|
|
|
|
|
|
|
|
|
|
|
|
|
|
|
|
|
|
|
|
|
|
|
|
|
|
|
|
|
|
|
|
|
|
|
|
|
|
|
|
|
|
|