Профилирование рабочей лопатки ступени компрессора и газовой турбины
СОДЕРЖАНИЕ
Введение
Расчёт
и профилирование компрессорной ступени компрессора высокого давления
1.1 Выбор
и обоснование закона закрутки
1.2 Расчёт
параметров потока по радиусу
.3 Расчёт
и построение решеток профилей рабочего колеса
.
Расчёт и профилирование турбинной ступени турбины высокого давления
.1
Выбор и обоснование закона профилирования
.2
Расчёт параметров потока по радиусу
.3
Расчёт и построение решеток профилей рабочего колеса
.4
Расчёт и профилирование решеток профилей рабочего колеса на инженерном
калькуляторе
.
Расчёт камеры сгорания
.
Расчёт выходного устройства
Вывод
Перечень
ссылок
Введение
Целью данного курсового проекта
является расчет параметров потока и построение решеток профилей ступени
компрессора и турбины, а также расчет и профилирование камеры сгорания и выходного
устройства проектируемого двигателя.
Для достижения высоких значений КПД
ступени компрессора необходимо установить взаимосвязь кинематических параметров
потока в элементах ступени, расположенных на различных радиусах (то есть
рассчитать поток в решетках по радиусу).
Для получения инженерных результатов
реальное течение газа в компрессоре рассматривается как установившееся,
осесимметричное (без радиальных составляющих скорости при движении по соосным
цилиндрическим поверхностям), при постоянстве гидравлических потерь по радиусу.
В упрощенном варианте считают, что поток движется в осевой ступени согласно
уравнению радиального равновесия.
Газодинамический расчет турбины,
выполняется в предположении, что параметры потока на среднем радиусе
соответствуют параметрам, осредненным по высоте лопатки. Для того, чтобы
проектируемая турбина обеспечивала заданную мощность и обладала высоким КПД,
лопаточные венцы ее должны обеспечивать на всех радиусах проточной части
расчетные поворот и ускорение потока при возможно меньших потерях энергии.
Выполнение этих требований достигается выбором закона закрутки потока по
радиусу, и конструированием профильной части сопловых и рабочих решеток.
Камеры сгорания (КС) авиационных
ГТД, несмотря на их внешнюю простоту, представляют собой наиболее сложный узел,
в котором одновременно протекают различные по природе процессы:
аэродинамические процессы течения, физико-химические процессы горения, тепловые
процессы, связанные с тепловыми потоками и термическими нагрузками деталей.
Особое внимание при создании новых двигателей уделяется образованию в КС
вредных веществ. Основные требования к КС - это высокая полнота сгорания
топлива; малые потери полного давления; низкий уровень выбросов вредных веществ;
большая надежность и ресурс; малая масса.
Выделяют три типа КС ГТД: трубчатая,
кольцевая и трубчато-кольцевая. Наибольшее распространение получили кольцевые
КС, т.к. они отличаются компактностью конструкции и меньшей массой, меньшей
поверхностью жаровой трубы, требующей охлаждения, меньшими потерями полного
давления. Меньшая длина КС позволяет сократить длину валов турбокомпрессоров и
снизить удельную массу двигателя.
Наиболее распространенным видом выходных
устройств турбовальных двигателей является выходной дифузор. Совершенствование
аэродинамики и конструкции выхлопных патрубков является одним из наиболее
перспективных направлений исследований, реализуемых с целью улучшения
экономических показателей компрессоров и турбин.
1. РАСЧЕТ И ПРОФИЛИРОВАНИЕ ПЕРВОЙ СТУПЕНИ
КОМПРЕССОРА
Этапом проектирования осевого компрессора,
следующим за расчетом на среднем (геометрическом) радиусе, является расчет и
построение решеток профилей компрессора по радиусу. При правильном выполнении
этих двух этапов обеспечиваются требуемые параметры компрессора.
При учебном проектировании расчет решеток
рабочего колеса и их лопаток проводят на трех характерных радиусах.
Исходными данными для профилирования рабочей
лопатки компрессора являются газодинамические и кинематические параметры
профилируемой ступени на среднем радиусе, получаемые в результате
газодинамического расчета многоступенчатого осевого компрессора. Далее по
выбранному закону крутки потока и по соответствующим формулам рассчитываются
все параметры на трех сечениях.
Реальное течение воздуха в компрессоре является
пространственным, периодически неустановившимся течением вязкого сжимаемого
газа, математическое исследование которого в строгой постановке задачи в
настоящее время практически невозможно. Для получения инженерных результатов
реальное течение обычно рассматривается как установившееся, осесимметричное,
при постоянстве гидравлических потерь по радиусу.
.1 Выбор и обоснование закона
закрутки
Преимуществом закона закрутки
, Нт(r)=const является
возможность использовать более высокие значения окружных скоростей в связи с
меньшим (в сравнении с законом постоянства циркуляции) изменением W1 по
радиусу.
Расчет производим для первой ступени
компрессора.
1.2 Расчёт параметров потока по
радиусу
Исходные данные газодинамического
расчета ступени дозвукового осевого компрессора размещаются в файле исходных
данных ock.dat
(таблица 1.2.1). Результаты расчета, получаемые при помощи программе ock.exe,
заносятся в файл ock.rez (таблица 1.2.2). На рисунках
1.2.1-1.2.5 представлены планы скоростей на пяти радиусах лопатки РК.
Таблица 1.2.1 - Исходные данные
Таблица 1.2.2 - Результаты расчета
Рисунок 1.2.1- План скоростей
рабочего колеса компрессора на радиусе
=1.000
Рисунок 1.2.2- План скоростей рабочего
колеса компрессора на радиусе
=0.906
Рисунок 1.2.3 - План скоростей
рабочего колеса компрессора на радиусе
=0.819
Рисунок 1.2.4 - План скоростей
рабочего колеса компрессора на радиусе
=0.732
Рисунок 1.2.5- План скоростей
рабочего колеса компрессора на радиусе
=0.642
.3 Расчет и построение решёток
профилей рабочего колеса
· В таблицу 1.3.1 - сведены основные
газодинамические параметры необходимые для профилирования.
Таблица 1.3.1-
Результаты
расчёта
|
Параметры
|
Размерность
|
Сечение
|
|
|
Втул.
|
Сред.
|
Периф.
|
|
м/с260,9263,49264,08
|
|
|
|
|
|
м/с197,17193,81185,69
|
|
|
|
|
|
|
м/с
|
328,639
|
329,038
|
329,974
|
|
 -0,7940,8010,8
|
|
|
|
|
|
м/с235,05207,43183,33
|
|
|
|
|
|
м/с262,55244,29219,64
|
|
|
|
|
|
|
м/с
|
334,449
|
337,205
|
340,58
|
|
|
-
|
0,785
|
0,724
|
0,645
|
|
|
град
|
80,758
|
68,731
|
55,599
|
|
|
град
|
58,797
|
48,197
|
33,638
|
|
|
град
|
21,961
|
20,534
|
21,961
|
|
град48,23943,27135,464
|
|
|
|
|
|
град72,96161,39441,578
|
|
|
|
|
|
град24,58418,1236,114
|
|
|
|
|
При расчете считалось, что α3
≈ α1.
· Расчет густоты
решеток профилей
Густота решетки b/t
(b - хорда пера
лопатки; t
- шаг решетки) является параметром, в значительной степени определяющим
аэродинамическую нагруженность лопаточного венца. Уменьшение значений густоты
решетки в сравнении с оптимальными означает недогрузку ступени, а увеличение
густоты отрицательно сказывается на КПД ступени.
Определение густоты решетки РК
производится на так называемом номинальном режиме, который характеризуется
бессрывным обтеканием решетки при отсутствии резкого роста потерь.
· Отношение рассчитанного угла
поворота потока
к углу на
номинальном режиме
*
определяет запас по срыву компрессорной решетки и выбирается в зависимости от
положения ступени в компрессоре. Величину
/
* для первой
ступени принимаем равной 0,85.
· Определяем из рис.1.3.1 значение
в зависимости от угла
.
Требуемая густота решетки определяется по графику в зависимости от параметра
(рис.1.3.2).
Рисунок 1.3.1- Зависимость
от угла
выхода потока из решетки
Рисунок 1.3.2 - Зависимость E от густоты решетки
· После расчёта густоты решётки на
среднем радиусе предварительное значение шага решётки и число лопаток вычислим
по формулам:
Полученное значение z округляют
до ближайшего целого и уточняют величины шага решетки, хорды профиля и
удлинения лопаток:
· Выбор углов атаки лопаточного венца
на номинальном режиме
Расчетные углы атаки i
по радиусу лопатки выбирают на номинальном режиме. Отклонение от номинальных
углов атаки может привести к существенному снижению КПД и сокращению диапазона
устойчивой работы компрессора. В современной практике углы атаки рассчитывают
по эмпирическим формулам, учитывающим накопленный статический материал.
В первом приближении допустимо принимать углы
атаки i=0 по всей высоте
лопатки.
· Расчет углов изгиба профиля пера
Из геометрических соображений угол изгиба
профиля пера лопатки равен:
,
,
,
,
где
- угол отставания потока в
лопаточном венце:
,
,
.
,
,
,
.
- относительный прогиб средней линии
профиля. При дуге окружности
=0.5.
Исходя из полуэмпирической
зависимости для угла отставания потока на номинальном режиме можно определить:
Параметры решётки профилей на
среднем радиусе занесены в таблице 1.3.2.
Таблица 1.3.2- Расчет параметров
решетки на среднем радиусе
|
Параметры
|
Размерность
|
Величина
|
|
Dk
|
м
|
0,3099
|
|
Dср
|
м
|
0,2556
|
|
Dвт
|
м
|
0,1860
|
|
h=( Dk
- Dвт)/2
|
м
|
0,1239
|
|
-4,425
|
|
|
|
м0,02604
|
|
|
|
град18,123
|
|
|
|
-0,85
|
|
|
|
град19
|
|
|
|
град61,394
|
|
|
|
град19
|
|
|
|
-1,06
|
|
|
|
-1,2
|
|
|
|
м0,0233
|
|
|
|
шт.35
|
|
|
|
Z
|
шт.
|
37
|
|
м0,0217
|
|
|
|
м0,02604
|
|
|
|
-4,76
|
|
|
· Выбор дуги средней линии профиля
Исходя из условия минимума потерь в решетке
среднюю линию профиля пера лопатки при повышенных скоростях набегающего потока
изгибают по дуге окружности или по двум сопряженным дугам окружностей.
Принимаем форму средней линии профиля пера
лопатки - дуга окружности. Тогда для средней линии по дуге окружности
целесообразно использовать соотношение для радиуса дуги:
.
,
,
Расчет углов средней линии профиля, углов
наклона кромок пера и угла установки профиля в решетке
Углы средней линии профиля лопатки на входе и на
выходе:


Углы наклона входной и выходной кромок пера
лопатки:


где k=0,5
при средней линии по дуге окружности.
Углы установки (выноса) профиля в решетке:
,
,
,
.
· Расчет осевого размера лопаточного
венца
Осевой размер лопаточного венца на
соответствующем радиусе:
.,
,
,
.
·
Выбор относительной толщины профиля
При выборе относительной максимальной толщины
профиля пера по хорде
стремятся получить
достаточно тонкие профили, необходимые для обеспечения высокого КПД решетки
(М<Mкр), но при этом
учитывают прочностные характеристики лопатки, особенно в призамковых областях
рабочих лопаток.
Для коротких рабочих лопаток (
) можно
применять
по
всей высоте лопатки (порядка 0,05…0,06). Принимаем
.
· Построение профилей лопаток и
решеток профилей
Построение профилей лопаток состоит из этапов
построения средней линии и самого аэродинамического профиля. Из одинаковых
профилей, расположенных с заданной густотой b/t
под углами установки γ
к фронту решетки, составляют решетки профилей. Существуют аналитические и
графоаналитические методы построения профилей лопаток и решеток профилей.
Аналитические методы являются более точными и применяются современном
турбомашиностроения. Графоаналитические методы целесообразнее для учебных целей
в связи с наглядностью и меньшей трудоемкостью вычислений. В данном курсовом
проекте будем использовать графоаналитический метод построения профилей
лопаток.
Таблица 1.3.3- Расчет параметров
лопаток и решеток профилей по радиусу
|
Параметры
|
Разм.
|
Втулочное
сеч. ( вт )
|
Среднее
сеч. ( ср )
|
Периферийное
сеч. ( к )
|
|
b = bcр
= const
|
м
|
0,02604
|
0,02604
|
0,02604
|
|
D
|
м
|
0,186
|
0,2556
|
0,3099
|
|
м0,0160,0220,026
|
|
|
|
|
|
-1,651,2010,99
|
|
|
|
|
|
град000
|
|
|
|
|
|
град72,823
|
61,394
|
41,578
|
|
|
|
-0,50,50,5
|
|
|
|
|
|
-0,2640,2870,327
|
|
|
|
|
|
град24,584
|
18,123
|
6,114
|
|
|
|
град30,95424,5619,105
|
|
|
|
|
|
град6,376,4382,991
|
|
|
|
|
|
град48,239
|
43,271
|
35,464
|
|
|
|
град48,239
|
43,271
|
35,464
|
|
|
|
град79,193
|
67,832
|
44,569
|
|
|
|
k
|
-
|
0,55
|
0,55
|
0,55
|
|
град17,02513,5095,008
|
|
|
|
|
|
град13,92911,0534,097
|
|
|
|
|
|
м0,0850,1080,297
|
|
|
|
|
|
м0,0490,0610,18
|
|
|
|
|
|
м0,0260,0260,029
|
|
|
|
|
|
град65,26456,7840,472
|
|
|
|
|
|
м0,02370,02180,0169
|
|
|
|
|
|
-0,070,050,03
|
|
|
|
|
|
м0,0020,0010,001
|
|
|
|
|
|
м0,01190,01630,0162
|
|
|
|
|
|
м0,01180,01490,0153
|
|
|
|
|
|
-1,011,091,06
|
|
|
|
|
|
0,770,850,83
|
|
|
|
|
|
0,880,960,92
|
|
|
|
|
|
0,8250,9050,875
|
|
|
|
|
|
0,7940,8010,800
|
|
|
|
|
· Построение средней линии профиля
При выбранной дуге средней линии пера профиля в
виде дуги окружности разбиваем хорду на равное число участков (через 10% всей
длины хорды, совпадающей с осью абсцисс). Ординаты средней линии вычисляют по
приближенной зависимости:
.
Рассчитанные координаты точек средней линии
представлены в таблица 1.3.4.
Таблица 1.3.4- Координаты точек средней линии
|
   
|
|
|
|
|
|
0
|
0
|
0
|
0
|
0
|
|
10
|
2,604
|
0,701
|
0,550
|
0,201
|
|
20
|
5,208
|
1,219
|
0,957
|
0,349
|
|
30
|
7,812
|
1,564
|
1,229
|
0,449
|
|
40
|
10,416
|
1,749
|
1,375
|
0,503
|
|
50
|
13,02
|
1,784
|
1,403
|
0,513
|
|
60
|
15,624
|
1,678
|
1,319
|
0,483
|
|
70
|
18,228
|
1,438
|
1,132
|
0,414
|
|
80
|
20,832
|
1,074
|
0,845
|
0,309
|
|
90
|
23,436
|
0,593
|
0,466
|
0,171
|
|
100
|
26,04
|
0
|
0
|
0
|
Рисунок 1.3.1 - Средняя линия профиля (втулка)
Рисунок 1.3.2- Средняя линия профиля (среднее)
Рисунок 1.3.3- Средняя линия профиля (периферия)
· Построение аэродинамического профиля
и решетки профилей
В качестве исходного аэродинамического профиля в
проекте используем симметричный (yB=yH)
профиль А-40 с расположением относительной максимальной толщины профиля равной
=0,1,
на расстоянии 40% длины хорды от входной кромки профиля (
).
Координаты исходного аэродинамического профиля
А-40 (
в процентах от длины хорды b,
-
в процентах от величины максимальной толщины профиля Сbmax)
представлены в табл. 1.3.5;
Таблица 1.3.5- Координаты аэродинамического
профиля А-40
|
,ммСечение
|
|
|
Втулочное
|
Среднее
|
Периферийное
|
|
|
|
0
|
0
|
0
|
0
|
|
0,2604
|
0,208
|
0,148
|
0,089
|
|
0,3906
|
0,261
|
0,186
|
0,112
|
|
0,651
|
0,337
|
0,241
|
0,145
|
|
1,302
|
0,465
|
0,332
|
0,199
|
|
1,953
|
0,563
|
0,402
|
0,241
|
|
2,604
|
0,643
|
0,459
|
0,275
|
|
3,906
|
0,758
|
0,542
|
0,325
|
|
5,208
|
0,829
|
0,592
|
0,355
|
|
6,51
|
0,873
|
0,623
|
0,374
|
|
7,812
|
0,641
|
0,385
|
|
9,114
|
0,909
|
0,649
|
0,390
|
|
10,416
|
0,911
|
0,651
|
0,391
|
|
13,02
|
0,886
|
0,633
|
0,380
|
|
15,624
|
0,810
|
0,578
|
0,347
|
|
18,228
|
0,690
|
0,493
|
0,296
|
|
20,832
|
0,519
|
0,371
|
0,223
|
|
23,436
|
0,314
|
0,224
|
0,135
|
|
24,738
|
0,183
|
0,131
|
0,078
|
|
26,04
|
0
|
0
|
0
|
Полученные результаты и
построенная решетка профилей первой ступени компрессора удовлетворяет
требованиям и сможет обеспечить требуемые параметры.
В этой части курсового проекта были получены
планы скоростей и решетки профилей первой ступени дозвукового осевого
компрессора в трех сечениях (втулочном, среднем и периферийном) при расчете
вручную.
В качестве исходного
аэродинамического профиля использовали симметричный профиль А-40. При
профилировании использовался закон
.
Рассчитанная и построенная решетка
профилей первой ступени осевого компрессора удовлетворяет требованиям и сможет
обеспечить требуемые параметры. Исходные данные взяты из газодинамического
расчета осевого компрессора.
Полученные числа Мw1 потока во
всех сечениях находятся на допустимом диапазоне, т.е. Mw1<M1*.
Спроектированный компрессор обеспечивает углы потока лежащие в допустимых
пределах (
град. и
град).
Полученное значение хорды превышает минимально допустимые значения: b=26,04 мм
>10…15мм.
турбина лопатка компрессор
2.
РАСЧЕТ И ПРОФИЛИРОВАНИЕ ТУРБИННОЙ СТУПЕНИ
Этапом проектирования турбины, следующим за
расчетом на среднем (геометрическом) радиусе, является расчет и построение
решеток профилей турбины по радиусу. При правильном выполнении этих двух этапов
обеспечиваются требуемые параметры турбины.
При учебном проектировании расчет решеток
рабочего колеса и их лопаток проводят на трех характерных радиусах.
Исходными данными для профилирования рабочей
лопатки турбины являются газодинамические и кинематические параметры
профилируемой ступени на среднем радиусе, получаемые в результате
газодинамического расчета турбины. Далее по выбранному закону крутки потока и
по соответствующим формулам рассчитываются все параметры на трех сечениях.
Реальное течение воздуха в турбины является
пространственным, периодически неустановившимся течением вязкого сжимаемого
газа, математическое исследование которого в строгой постановке задачи в
настоящее время практически невозможно. Для получения инженерных результатов
реальное течение обычно рассматривается как установившееся, осесимметричное,
при постоянстве гидравлических потерь по радиусу.
.1 Выбор и обоснование закона профилирования
Для расчета треугольников скоростей в
межвенцовых зазорах у корня и у периферии лопаток необходимо выбрать закон
изменения параметров потока по радиусу. Этот закон выражается условием
радиального равновесия, полученным в предположении, что поток в межвенцовых
зазорах осесимметричен и линии тока располагаются по коаксиальным
цилиндрическим поверхностям.
Примем закон закрутки
и
. В нашем
случае, у этого закона есть ряд преимуществ:
. Угол поворота потока во
втулочных сечениях при прочих равных условиях на среднем радиусе меньше в
случае закрутки по закону
. Применение этого закона
значительно упрощает технологию изготовления лопаток СА и РК, позволяет создать
хорошую конструктивную базу для их монтажа в статоре и роторе.
.2 Расчёт параметров потока по радиусу
Исходные данные газодинамического
расчета ступени турбины размещаются в файле исходных данных oct.dat
(таблица 2.2.1). Результаты расчета, получаемые по программе oct.exe,
заносятся в файл oct.rez (таблица 2.2.2). Также по этой
программы построены графики
,
, Lc, Lw,
,
по высоте
лопатки (рисунок 2.2.1-2.2.3) и планы скоростей (рисунок 2.2.4-2.2.8).
Таблица 2.2.1 - Исходные данные
Таблица 2.2.2 - Результаты расчета
Рисунок 2.2.1 - График изменения
и
по высоте
лопатки на входе и выходе из рабочего колеса
Рисунок 2.2.2- График изменения Lc и Lw по высоте
лопатки на входе и выходе из рабочего колеса.
Рисунок 2.2.3- График изменения
и
по высоте
лопатки на входе и выходе из рабочего колеса
Рисунок 2.2.4- План скоростей в 1 сечении
лопатки рабочего колеса
Рисунок 2.2.5- План скоростей в 2 сечении
лопатки рабочего колеса
Рисунок 2.2.6- План скоростей в 3 сечении лопатки
рабочего колеса
Рисунок 2.2.7- План скоростей в 4 сечении
лопатки рабочего колеса
Рисунок 2.2.8- План скоростей в 5 сечениях
лопатки рабочего колеса
2.3 Расчёт и построение решеток
профилей рабочего колеса
Данные построения содержатся в файле
gfrt.dat
(таблица 2.3.1), построение профилей осуществляется с помощью графической
программы gfrt.exe
Таблица 2.3.1 - Исходные данные для
построения решетки профилей
Полученные решетки профилей РК турбины
изображены на рисунках 2.3.1-2.3.5
Рисунок 2.3.1- Решетка
профилей на радиусе
=1.000
Рисунок 2.3.2- - Решетка
профилей на радиусе
=0,954
Рисунок 2.3.3- - Решетка
профилей на радиусе
=0,908
Рисунок 2.3.4- - Решетка
профилей на радиусе
=0,862
Рисунок 2.3.5- - Решетка
профилей на радиусе
=0,817
Рисунок 2.3.6- Профили рабочей лопатки турбины
.4 Расчет и профилирование решёток профилей
рабочего колеса на инженерном калькуляторе
На этом этапе проектирования
определяем геометрические параметры решеток профилей. При этом расчет
параметров и построение профилей выполняем для обеспечения закрутки потока по
закону
и
.
) Радиусы расположения среднего
втулочного и периферийного сечений проточной части:
2) Шаг решетки:
) Хорда профиля лопатки:
) Угол установки профиля в решетке: 
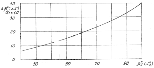
) Геометрический угол решетки на
входе определяем согласно графику обобщенной зависимости для выбора
геометрических углов решетки на входе (рисунок 2.4.1):
,
.
Рисунок 2.4.1 - Обобщенные
зависимости для выбора геометрических углов решетки на входе
6) Геометрический угол решетки на
выходе, принимаем равным углу потока:
.
) Угол отгиба выходной кромки,
выбираемый с учетом характера его изменения по высоте:
.
) Ширина горла межлопаточного
канала:
) Относительная толщина профиля лопатки:
Также должно выполняться условие:
) Абсолютная толщина профиля
лопатки:
) Относительное удаление
максимальной толщины профиля:
) Абсолютное удаление максимальной
толщины профиля:
) Радиус скругления входной кромки:
) Радиус скругления выходной кромки:
) Угол заострения входной кромки:

) Угол заострения выходной кромки:
) Угол, образованный лучом,
проходящим через центры окружностей радиусами R1 и R2, и фронтом
решетки:
Таблица 2.4.1- Результаты расчетов
геометрических параметров решетки профилей в втулочном, среднем и периферийном
сечениях
|
№
п/п
|
Параметр
|
Размерность
|
Значения
параметров в сечениях
|
|
|
|
втулочном
|
среднем
|
периферийном
|
|
1
|
м0,1360,1510,166
|
|
|
|
|
|
2
|
м0,009350,01040,01145
|
|
|
|
|
|
3
|
м0,01360,01360,0136
|
|
|
|
|
|
4
|
град74,9467,8758,57
|
|
|
|
|
|
5
|
град384555
|
|
|
|
|
|
6
|
град22,9422,9422,94
|
|
|
|
|
|
7
|
град181818
|
|
|
|
|
|
8
|
м0,0036420,0040520,004461
|
|
|
|
|
|
9
|
-0,220,20,15
|
|
|
|
|
|
10
|
м0,002990,002720,002
|
|
|
|
|
|
11
|
-0,27200,27470,2732
|
|
|
|
|
|
12
|
м0,003700,003740,00372
|
|
|
|
|
|
13
|
м0,0007480,000680,0005
|
|
|
|
|
|
14
|
м0,00020260,00020260,0002026
|
|
|
|
|
|
15
|
град19,55634,68313,427
|
|
|
|
|
|
16
|
град888
|
|
|
|
|
|
17
|
град72,63865,85957,317
|
|
|
|
|
В этой части курсового проекта были
получены значения параметров потока, построены планы скоростей и решетки
профилей, а также получены графические зависимости изменения параметров потока
по радиусу первой ступени рабочего колеса турбины на трех радиусах: втулочном,
среднем и периферийном. Результаты ручного счета и счета на ЭВМ незначительно
отличаются. Это можно объяснить принятыми допущениями при ручном счете. Во
втулочном сечении скорость
, однако ∆β=124,9>120град,
т.е. имеется местная диффузорность канала, но т.к. отклонения не превышают 5%,
то профиль не требует корректировки.
3. РАСЧЕТ КАМЕРЫ СГОРАНИЯ
Камеры сгорания газотурбинных
двигателей и установок представляют собой наиболее сложный узел, в котором
одновременно протекают различные процессы, течения, физико-химические процессы
горения, тепловые процессы, связанные с тепловыми потоками и термическими
нагрузками деталей. Большинство из этих процессов плохо поддаются расчетам,
поэтому при создании КС требуется большой объем экспериментальных и доводочных
работ. Проектировочный расчет является первым приближением в создании КС новых
двигателях с одновременным использованием предыдущего опыта каждой конкретной
двигателестроительной фирмы. Особое внимание при создании новых двигателей в
последнее время уделяется образованию вредных веществ в КС, исходя и
удовлетворения экологических нормам. Анализ аварийных ситуаций при эксплуатации
авиадвигателей свидетельствует о случаях, причинами которых были колебательные
процессы, возникшие в КС и связанные с ее акустическими нормами.
Камера сгорания ГТД предназначена
для подвода тепла к рабочему телу путем сгорания топлива в кислороде воздуха.
Воздух в КС подается из компрессора через диффузор, в котором скорость воздуха
снижается примерно в 5…6 раз для уменьшения потерь давления в КС. Затем поток
попадает в широкую полость, где, разделяясь, обтекает жаровую трубу. В жарово.й
трубе для предотвращения срыва пламени создают область малых скоростей в виде
зоны обратных токов с помощью завихрителей (в начале жаровой трубы, в т.н.
первичной зоне).
За первичной зоной находится
промежуточная, куда поступает основная часть вторичного воздуха через отверстия
в жаровой трубе. За счет этого воздуха происходит догорание в отдельных
областях переобогащенных топливом газовых образований. Сам участок жаровой
трубы от форсунок до места окончания горения называется зоной горения.
За зоной горения следует зона
смешения, куда подается смесительный воздух, диаметр струй которого выбирают в
зависимости от высоты проточной части жаровой трубы. Заканчивается КС
газосборником.
В зависимости от направления течения
потока газа различают прямоточные, противоточные и петлевые схемы КС. Для
проектируемого в данной работе ТВаД
(согласно с прототипом) выбрана схема кольцевой прямоточной КС. Смотреть схему
на рисунке 3.1.
Рисунок 3.1- Геометрия камеры
сгорания
1. Температура воздуха по
заторможенным параметрам на выходе из компрессора (сечение К-К)
=595 К.
. Температура газа по заторможенным
параметрам на выходе из КС
=1275 К.
. Полное давление воздуха на выходе
из компрессора
=992680 Па.
.Коэффициент восстановления полного
давления КС, обусловленный гидравлическими потерями
=0,97.
. Коэффициент восстановления полного
давления КС, обусловленный тепловыми потерями
=0,97.
. Коэффициент полноты сгорания КС
=0,985.
. Коэффициент полноты сгорания в
зоне горения
=0,85.
. Стехиометрическое количество
воздуха для используемого топлива (керосин)
= 14,8
.
. Теплотворная способность топлива
=43000
.
. Коэффициент избытка воздуха КС
=3.264.
. Коэффициент избытка воздуха на
выходе из фронтового устройства
=0,6
. Коэффициент избытка воздуха в
конце зоны горения
=1,6
. Диаметр компрессора на выходе из
НА
=0,3099 м.
. Относительный внутренний диаметр
компрессора на выходе
.
. Диаметр турбины на входе в СА
=0,3165 м.
. Относительный внутренний диаметр
турбины на входе в СА
.
.Относительный диаметр КС прототипа
.
. Относительный внутренний диаметр
КС прототипа
.
. Относительный диаметр жаровой
трубы
.
. Относительный внутренний диаметр
жаровой трубы
.
. Относительный диаметр фронтового
устройства
.
. Относительный внутренний диаметр
фронтового устройства
.
. Относительная длина диффузора КС
.
. Относительная длина жаровой трубы
.
. Относительная длина головки
жаровой трубы
.
. Относительная длина зоны горения
.
. Относительная длина газосборника
жаровой трубы
.
Исходные данные газодинамического
расчета камеры сгорания размещаются в файле исходных данных gdrks.dat.,
а результаты расчета, получаемые по программе gdrks.exe,
заносятся в файл gdrks.rez
(таблица 3.1). Помимо таблицы расчетных данных, программа gdrks.exe
позволяет для большей наглядности представить результаты расчета в графической
форме (рис. 3.1).
Таблица 3.1 - Геометрический расчет
кольцевой КС
Геометрический расчет кольцевой
камеры сгорания
Результаты расчета:
В этой части курсового
проекта был проведен расчет кольцевой камеры сгорания. Спроектированная КС
удовлетворяет габаритным, массовым, экономическим и экологическим требованиям,
предъявляемым к современным КС. Теплонапряженность камеры равна QV=1246785Дж/К2Па4.
Умеренные значения теплонапряженности позволяют увеличить ресурс. Топливом
служит авиационный керосин, низшая теплотворная способность которого Hu=43000
кДж/кг. КС обеспечивает высокие значения коэффициента полноты сгорания топлива
и имеет допустимые значения потерь:
и
.
Расчет камеры сгорания проводился на
основании геометрических размеров камеры сгорания двигателя-прототипа.
4. РАСЧЕТ ВЫХОДНОГО УСТРОЙСТВА
Исходя из выбранного прототипа
проектируем диффузорное выходное устройство. Диффузор - аэродинамическое
устройство, предназначенное для преобразования кинетической энергии потока в
потенциальную с возможно большей эффективностью. Скорость на выходе из
диффузора уменьшается, а статическое давление увеличивается. Известные
диффузоры подразделяются на прямоугольные, плоские и кольцевые. Они
представляют собой каналы, расширяющиеся при дозвуковых скоростях и сужающиеся
при сверхзвуковых. Диффузоры могут выполнятся с прямоугольными или
криволинейными образующими. В выходном сечении давление равно атмосферному и
снижение
возможно
только за счет уменшения полного давления за турбиной. Этот факт является
причиной того, что при проектировании ТВаД скорость за турбиной принимается
наименшей из рекомендуемых значений(
); дальнейшее ее уменшение приводит
к увеличению длины лопаток последней ступени (большим напряжением центробежных
сил), а статическое давление принимают меньше атмосферного. Для этого выходное
устройство выполняют диффузорным.
Для вертолетных ТВаД оптимальное
значение степени диффузорности лежит в пределах 1,5…2,5, что позволяет
обеспечить
=1,04…1,07.
Коэффициент скорости при проектировании выходного устройства принимают в
пределах
Для эскизного проектирования
выходного диффузора, поперечное сечение которого на выхлопе которого имеет
эллиптичекую форму (с высотой, равной половине ширины), используем следующие
формулы:
,
,
.
,
,
.
В этой части курсового проекта
проведен расчет выходного устройства.
ВЫВОДЫ
В данном курсовом проекте было
выполнено профилирование рабочего лопатки ступени компрессора и газовой
турбины, расчёт кольцевой камеры сгорания, расчёт выходного устройства на базе
исходных данных из расчёта курсового проекта по дисциплине «Теория и расчёт
лопаточных машин»: pк*=10,1, Тг*=1275К,
G=8,48 кг/с
На этапе расчета и профилирования
первой ступени компрессора были определены компоненты треугольников скоростей,
а также геометрические параметры решеток профилей на трех радиусах. Получены
дозвуковые профили. Треугольники скоростей симметричные
т.к. степень реактивности равна 0,5. Спроектированный компрессор обеспечивает
углы потока лежащие в допустимых пределах (
град. и
град).
Полученное значение хорды превышает минимально допустимые значения: b=26,04 мм
>10…15мм. При
профилировании применялся закон крутки, обеспечивающий постоянство степени
реактивности по радиусу.
На этапе профилирования ступени
газовой турбины были определены компоненты треугольников скоростей в
межвенцовых зазорах, а также геометрические параметры решёток профилей на трёх
радиусах. Во втулочном сечении скорость
, ∆β=124,9>120град, т.е.
имеется местная диффузорность канала, но т.к. отклонения не превышают 5%, то
профиль не требует корректировки. Применение законов a1=const и b2=const значительно
упрощает технологию изготовления лопаток СА и РК, а также позволяет создать
хорошую конструктивную базу для их монтажа в статоре и роторе.
В разделе “Расчёт камеры сгорания”
был проведён расчёт основных геометрических параметров кольцевой камеры
сгорания на базе геометрического подобия камере сгорания двигателя-прототипа ТВ3-117.
Теплонапряженность камеры равна QV=1246785Дж/К2Па4.
Умеренные значения теплонапряженности позволяют увеличить ресурс. КС
обеспечивает высокие значения коэффициента полноты сгорания топлива
и
имеет допустимые значения потерь:
и
. Также
спроектированная КС удовлетворяет габаритным, массовым, экономическим и
экологическим требованиям, предъявляемым к современным КС.
В процессе расчета выходного
устройства были определены его оптимальные геометрические параметры и
сформирован геометрический облик.
Перечень ссылок
1.
В.Ю. Незым. Расчет и построение решеток профилей дозвукового осевого
компрессора: Учебное пособие - Х.: Харьк. авиац. ин-т, 1988 - 41 с.
.
В.А. Коваль. Профилирование лопаток авиационных турбин: Учебное пособие - Х.:
Харьк. авиац. ин-т, 1986 - 48 с.
3.
В.П. Герасименко, А.А. Никишов. Проектирование камер сгорания газотурбинных
двигателей - Х.: Харьк. авиац. ин-т, 1999 - 88 с.
4.
А.Д. Грига. Расчет камер сгорания ВРД - Х.: Харьк. авиац. ин-т, 1985 - 85с.
5.
Профилирование выходных устройств компрессоров и турбин / А.Г. Волов. - Учебное
пособие. - Харьков: Нац. Аэрокосм. Ун-т «Харьк. Авиац.ин-т», 2006.-49с.