Расчёт абсорбционной установки
ДИПЛОМНАЯ
РАБОТА
по
дисциплине «Процессы и аппараты химических производств»
Тема
«Расчёт абсорбционной установки»
СОДЕРЖАНИЕ
Введение
. Описание принятых
инженерных решений
.1 Теоретические
основы разрабатываемого процесса
.1.1 Равновесие между
фазами
.1.2 Материальный
баланс и расход абсорбента
.1.3 Скорость
процесса
.2 Основные
технологические схемы для проведения абсорбции
.3 Типовое
оборудование для проектируемой установки
.3.1 Поверхностные
и пленочные абсорберы
.3.2 Насадочные
абсорберы
.3.3 Барботажные
(тарельчатые) абсорберы
.3.4 Распыливающие
абсорберы
. Обоснование и
описание установки
. Подробный расчёт
абсорбера.
3.1 Масса
поглощаемого вещества и расход поглотителя
.2 Движущая сила
массопередачи
.3 Коэффициент
массопередачи
.4 Скорость газа и
диаметр абсорбера
.5 Плотность
орошения и активная поверхность насадки
.6 Расчёт
коэффициентов массоотдачи
.7 Поверхность
массопередачи и высота абсорбера
.8 Гидравлическое
сопротивление абсорберов
. Подробный расчёт
теплообменника
. Расчёт
вспомогательного оборудования
.1 Расчёты
вентилятора
5.2Расчет
насоса
Заключение
Список
использованной литературы
ВВЕДЕНИЕ
Химическая промышленность -
прогрессивная, быстроразвивающаяся отрасль тяжелой индустрии страны. Химия все
больше проникает во все сферы народного хозяйства. Химизация хозяйства
позволяет решать важные технические и экономические проблемы, создавать новые
материалы с наружными свойствами, повышать производительность труда. Крупные
потребители продукции отрасли - это машиностроение, текстильная,
целлюлозно-бумажная промышленность, транспорт, строительство. Интенсификация
сельского хозяйства немыслима без применения минеральных удобрений. Важную роль
играет химическая промышленность в увеличении выпуска и расширении ассортимента
товаров народного потребления.
Современная химическая
технология дает возможность использовать практически неограниченный круг сырья,
заменить дорогое сырье дешевым и широко распространенным, перерабатывать отходы
других производств. Химическая промышленность открывает широкие возможности для
комплексного использования сырья, что устанавливает сложные производственные
связи со многими отраслями промышленности. Химическая индустрия комбинируется с
черной и цветной металлургией, коксованием угля, переработкой нефти,
деревообрабатывающей промышленностью.
Химическая промышленность
объединяет около 30 специализированных отраслей, разнородных по сырью и
назначению выпускаемой продукции, но сходных по технологии производства. В ее
составе выделяют три основные группы отраслей: 1) горно-химическая; 2) основная
(неорганическая) химия; 3) промышленность органического синтеза /1/.
1. ЛИТЕРАТУРНЫЙ
ОБЗОР
1.1 Теоретические
основы разрабатываемого процесса
абсорбция
технологическая установка химическая
Абсорбцией называют процесс
поглощения газов или паров из газовых или парогазовых смесей жидкими
поглотителями (абсорбентами).
При физической абсорбции
поглощаемый газ (абсорбтив) не взаимодействует химически с абсорбентом. Если же
абсорбтив образует абсорбентом химическое соединение, то процесс называется
хемосорбцией.
Физическая абсорбция в
большинстве случаев обратима. На этом свойстве абсорбционных процессов основано
выделение поглощенного газа из раствора - десорбция /1/.
1.1.1 Равновесие
между фазами
При абсорбции содержание газа в
растворе зависит от свойств газа и жидкости, давления, температуры и состава
газовой фазы (парциального давления растворяющегося газа в газовой смеси).
В случае растворения в жидкости
бинарной газовой смеси (распределяемый компонентА, носитель В)
взаимодействуют две фазы (Ф-2), число компонентов равно 3 (К-3) и, согласно
правилу фаз, число степеней свободы системы равно трем.
Для данной системы газ -
жидкость переменными являются температура, давление и концентрации в обеих
фазах. Следовательно, в состоянии равновесия при постоянной температуре и общем
давлении зависимость между парциальным давлением газаА (или его
концентрацией) и составом жидкой фазы однозначна. Эта зависимость выражается
законом Генри: парциальное давление pА
растворенного газа пропорционально его мольной доле xA
в растворе (1.1) или растворимость газа (поглощаемого компонента А) в
жидкости при данной температуре пропорциональна его парциальному давлению над
жидкостью (1.2):
P*A=E.xA(1.1)
(1.2)
где p*A
- парциальное давление поглощаемого газа, находящегося в равновесии с
раствором, имеющим концентрацию xA
(в мол.долях); x*A
- концентрация газа в растворе (в мол. долях), равновесном с газовой фазой, в
которой парциальное давление поглощаемого компонента равно pA;
Е - коэффициент пропорциональности, называемый коэффициентом, или
константой Генри.
Для идеальных растворов на
диаграмме p-x
(рис.1.1) зависимость равновесных концентрацией от давления изображается
прямой, имеющей наклон, равныйЕ - коэффициенту Генри. Из рис.1.1
следует, что с повышением температуры (при прочих равных условиях)
увеличивается значениеЕ и соответственно уменьшается, согласно уравнению
(1.2), растворимость газа в жидкости.
Растворимость газа в жидкости
при различных температурах
Рис.1.1
Если yA
- мол. доля извлекаемого компонента А в газовой смеси и Р - общее
давление в системе, то парциальное давление pA
по закону Дальтона, можно выразить зависимостью:
pA
= P.yA(1.3)
Подставив значение pAв
уравнение 1.1, получим:
(1.4)
или закон Генри может быть
представлен в форме
y*A=m.x
(1.5)
где m=
E/P
- коэффициент распределения, или константа фазового равновесия.
Уравнение 1.5 показывает, что
зависимость между концентрациями компонента в газовой смеси и в равновесной с
ней жидкости выражается прямой линией, проходящей через начало координат и
имеющей угол наклона, тангенс которого равен m.
Числовые
значения величиныmзависят
от температуры и давления в системе: уменьшаются с увеличением давления и
снижением температуры. Таким образом, растворимость газа в жидкости
увеличивается с повышением давления и снижением температуры.
Когда в равновесии с жидкостью
находится смесь газов, закону Генри может следовать каждый из компонентов смеси
в отдельности.
Закон Генри применим к
растворам газов, критические температуры которых выше температуры раствора, и
справедлив только для идеальных растворов. Поэтому он с достаточной точностью
применим лишь к сильно разбавленным реальным растворам, приближающимся по
свойствам к идеальным, т.е. соблюдается при малых концентрациях растворенного
газа или при его малой растворимости. Для хорошо растворимых газов, при больших
концентрациях их в растворе, растворимость меньше, чем следует из закона Генри.
Для систем, подчиняющихся этому закону, коэффициент mв
уравнении 1.5 является величиной переменной и линия равновесия представляет
собой кривую, которую строят обычно по опытным данным.
Для описания равновесия между
газом и жидкостью уравнение 1.5 применимо только при умеренных давлениях,
невысоких температурах и отсутствии химического взаимодействия между газом и
поглотителем.
При повышенных давлениях
(порядка десятков атмосфер и выше) равновесие между газом и жидкостью не
следует закону Генри, так как изменение объема жидкости вследствие растворения
в ней газа становится соизмеримым с изменением объема данного газа. При этих
условиях константу фазового равновесия можно определить следующим образом:
, (1.6)
где f0
- фугитивность (летучесть) поглощаемого газа, выраженная в единицах давления.
Для бинарных растворов величина
может быть найдена следующим образом:
, (1.7)
гдеА - постоянная.
При выражении состава фаз не в
абсолютных, а в относительных концентрациях видоизменяется и запись закона
Генри. Так, например, использовании относительных мольных концентраций на
основе зависимости 1.6 выражение 1.5 можно записать в виде:
откуда по правилу пропорций
или
(1.8)
Следовательно, при выражении
закона Генри в относительных концентрациях равновесие в системе газ-жидкость
изображается также кривой линией. Однако для сильно разбавленных растворов
(малые концентрации Х газа в жидкости) можно принять (1-m).X≈
0. Тогда знаменатель уравнения 1.8 обращается в единицу и уравнение принимает
вид
Y*=m.X
(1.9)
При таком выражении закон Генри
изображается прямой линией.
В случае абсорбции многокомпонентных
смесей равновесные зависимости значительно сложнее, чем при абсорбции одного
компонента, особенно тогда, когда раствор сильно отличается от идеального. При
этом парциальное давление каждого компонента в газовой смеси зависит не только
от его концентрации в растворе, но также и от концентрации в растворе остальных
компонентов, т.е. является функцией большого числа переменных. Поэтому, как
правило, в подобных случаях равновесные зависимости основываются на опытных
данных /1/.
1.1.2 Материальный
баланс и расход абсорбента
Примем расходы фаз по высоте
аппарата постоянными и выразим содержание поглощаемого газа в относительных
мольных концентрациях. Обозначим: G
- расход инертного газа, кмоль/сек; Yн
и Yк
- начальная и конечная абсорбтива в газовой смеси, кмоль/кмоль инертного газа; L
- расход абсорбента, кмоль/сек; его концентрации XнXк,
кмоль/кмоль абсорбента. Тогда уравнение материального баланса будет:
G.(Yн-Yк)
= L.(Xн-Xк)
(1.10)
Отсюда общий расход (в
кмоль/кмоль)
(1.11)
а его удельный расход (в
кмоль/кмоль инертного газа)
(1.12)
Это уравнение можно переписать
так:
Yн-Yк=
l.(Xк-Xн)
(1.13)
Уравнение 1.13 показывает, что
изменение в абсорбционном аппарате происходит прямолинейно и, следовательно, в
координатах Y-X
рабочая линия процесса абсорбции представляет собой прямую с углом наклона,
тангенс которого равен l=
L/G.
Между удельным расходом абсорбента
и размерами аппарата, например показанного на рис. 11.2, существует
определенная связь. Через точку В с координатами Yн
и Yк
(рис 1.2) проведем, согласно уравнению 1.6, рабочие линии ВА, ВА1,
ВА2, ВА3, отвечающие различным концентрациям абсорбента
или разным удельным его расходам. При этом точки А, А1, А2,
А3 будут лежать на одной горизонтальной прямой в соответствии с
заданной начальной концентрацией Yн
газа в смеси.
К определению удельного расхода
абсорбента
Рис.1.2
В случае растворов небольшой
концентрации для любого значения Х и выбранной величины l
движущая сила процесса выражается разностью ординат Y-Y*,
изображенных вертикальными отрезками, соединяющими соответствующие точки
рабочей линии и линии равновесия Y*=f(X).
Для всего аппарата можно принять среднее значение ∆Yср.,
величина которого, например для рабочей линии ВА1, изображена на
рисунке отрезком ∆Yср.
Величина
∆Yср
будет тем больше, чем круче наклон рабочих линий и, следовательно, чем больше
удельный расход абсорбента. Если рабочая линия ВА совпадает с
вертикалью, то движущая сила процесса имеет максимальное значение, однако
удельный расход абсорбента l
при этом будет бесконечно большим (так как Xк=Xн).
Если же линия рабочих концентраций ВА3касается линии
равновесия, то удельный расход абсорбента минимален (l=lmin),
а движущая сила в точке касания равна нулю, поскольку в этой точке рабочая
концентрация равна равновесной. В первом случае размеры абсорбционного аппарата
будут наименьшими при бесконечно большом расходе абсорбента, во втором - расход
абсорбента наименьший при бесконечно больших размерах аппарата. Таким образом,
оба случая являются предельными и практически неосуществимыми.
В реальном абсорбционном
аппарате равновесие между фазами не достигается и всегда Xк<X*к,
где X*к
- концентрация поглощаемого газа в жидкости, находящейся в равновесии с
поступающим газом. Отсюда следует, что величинаlвсегда
должна быть больше минимального значения lmin,
отвечающего предельному положению рабочей линии (линия ВА3на
рис. 1.2). Значение lminможно
определить по уравнению 1.12 при замене Xк
на X*к:
(1.14)
Необходимо отметить, что
увеличение удельного расхода l
абсорбента одновременно со снижением высоты аппарата приводит к определенному
увеличению его диаметра. Это объясняется тем, что с увеличением l
возрастает также расход поглотителя L,
а при этом, снижаются допустимые скорости газа в аппарате, по которым находят
его диаметр. Вот почему в тех случаях, когда удельный расход абсорбента не
задан технологическими условиями, т.е. когда не задана конечная концентрация Xк
абсорбента, следует выбирать такое соотношение между размерами абсорбционного
аппарата и удельным расходом l
абсорбента, при котором величина l
и размеры аппарата будут оптимальными.
Оптимальный удельный расход
поглотителя lопт
может быть найден только с помощью технико-экономического расчета /1/.
1.1.3 Скорость
процесса
Скорость физической абсорбции.
Скорость процесса абсорбции
характеризуется уравнением, если движущую силу выражают в концентрациях газовой
смеси:
M=Ky.F.∆Yср
(1.15)
и уравнением, если движущая
сила выражается в концентрациях жидкой фазы
M=Kx.F..∆хср(1.16)
В этих уравнениях коэффициенты
массопередачиKyиKx
определяются, согласно уравнений:
и
, (1.17)
где βг
- коэффициент массоотдачи от потока газа к поверхности контакта фаз;
βж
- коэффициент массоотдачи от поверхности контакта фаз к потоку.
Как уже отмечалось, для хорошо
растворимых газов величина m незначительна и мало также
диффузионное сопротивление в жидкой фазе. Тогда
и можно принять, что Ky≈βг. Для плохо
растворимых газов можно пренебречь диффузионным сопротивлением в газовой фазе
(в этом случае значения m и βг. велики).
Отсюда
и можно
полагать, что Kж≈ βж.
В уравнении мольные
концентрации газовой фазы могут быть заменены парциальными давлениями газа,
выраженными в долях общего давления. Тогда
M/
=Kp
.F.∆pср
, (1.18)
где pср-
средняядвижущая сила процесса, выраженная в единицах давления;
Kp
- коэффициент массопередачи, отнесенный к единице движущей силы, выражаемой
через парциальные давления поглощаемого газа.
Если линия равновесия является
прямой, то средняя движущая сила процесса выражается уравнением:
, (1.19)
где ∆p=
pн
- p*ки
∆pм
= pк
- pºн
- движущая сила на концах абсорбционного аппарата;
pн
и pк
- парциальные давления газа на входе в аппарат и выходе из него;
pк
и pºн
- равновесные парциальные давления газа на входе в аппарат и выходе из него.
Если парциальное давление
выражено в долях общего давления Р, то коэффициенты массопередачиKpиKyчисленно
равны друг другу. Если же парциальные давления выражены в единицах давлениях,
то
Kp
= Р.Ky
(1.20)
Скорость абсорбции, сопровождаемой
химической реакцией.
Во многих практически важных
процессах абсорбции поглощение газа жидкостью сопровождается химическим
взаимодействием фаз. Если реакция протекает в жидкой фазе, то часть
газообразного компонента переходит в связанное состояние. При этом концентрация
свободного (т.е. не связанного с поглощаемым газом) компонента в жидкости
уменьшается, что приводит к ускорению процесса абсорбции по сравнению с
абсорбцией без химического взаимодействия фаз, так как увеличивается движущая
сила процесса. В общем случае скорость хемосорбции зависит как от скорости
реакции, так и от скорости массопередачи между фазами. В зависимости от того,
какая скорость определяет общую скорость процесса переноса массы, различают
кинетическую и диффузионную области протекания хемосорбционных процессов.
В кинетической области скорость
собственно химического взаимодействия меньше скорости массопередачи и поэтому
лимитирует скорость всего процесса. В диффузионной области лимитирующей
является скорость диффузии компонентов в зоне реакции, которая зависит от
гидродинамики и физических свойств фаз и определяется по общему уравнению
массопередачи.
В тех случаях, когда скорости
реакции и массопередачи соизмеримы по величине, процессы абсорбции протекают в
смешанной, или диффузионно-кинетической, области.
При расчете требуемой
поверхности контакта фаз в условиях хемосорбции ускорение процесса можно учесть
увеличением коэффициента массоотдачиβж,
если считать движущую силу процесса такой же, как при физической абсорбции.
Тогда коэффициент массоотдачи в жидкой фазе β/ж
при протекании химической реакции
β/ж
= βж .Φ,
(1.21)
где Φ
- фактор ускорения массообмена, показывающий, во сколько раз увеличивается
скорость абсорбции за счет протекания химической реакции /1/.
1.2 Основные технологические
схемы для проведения процесса
Промышленные схемы
абсорбционных установок бывают противоточные, прямоточные, одноступенчатые с
рециркуляцией и многоступенчатые с рециркуляцией.
При противоточной схеме
абсорбции (рис.1.3) газ проходит через абсорбер снизу вверх, а жидкость стекает
сверху вниз. Так как при противотоке уходящий газ соприкасается со свежим
абсорбентом, над которым парциальное давление поглощаемого компонента равно
нулю (или очень мало), то можно достичь более полного извлечения компонента из
газовой смеси, чем при прямоточной схеме (рис. 1.4), где уходящий газ
соприкасается с концентрированным раствором поглощаемого газа. Кроме того, при
противотоке можно достигнуть более высокой степени насыщения поглотителя
извлекаемым компонентом, что, в свою очередь, приводит к уменьшению расхода
абсорбента.
Схема противоточной абсорбции
Рис.1.3
Схема прямоточной абсорбции
Рис.1.4
Для отвода тепла, выделяющегося
при абсорбции, а также для повышения плотности орошения часто применяют схемы с
рециркуляцией части абсорбента.
На рис.1.5 представлена схема
одноступенчатой абсорбции с частичной рециркуляцией абсорбента. Часть жидкости
концентрацией Хк отбирается из нижней части колонны в
качестве конечного продукта, а другая ее часть возвращается насосом на верх
колонны, где жидкость присоединяется к поглотителю, имеющему начальную
концентрацию Хн. В результате образуется смесь, концентрация
которой равна Хсм, причем Хсм>Хн.
Схема одноступенчатой абсорбции
с рециркуляцией жидкости
Рис.1.5
Жидкость, возвращается в
колонну, может быть попутно охлаждена, что приведет к понижению температуры
жидкости, орошающей колонну и соответственно - к понижению температуры
процесса.
Обозначим через n
кратность циркуляции, или отношение числа киломолей жидкости, протекающей через
абсорбер, к числу киломолей исходной жидкости. Тогда через абсорбер будет
проходить nLкмоль и
рециркулировать(n-1)Lкмоль
поглотителя, где L
- расход поглотителя. Соответственно материальный баланс процесса выразится
уравнением
G.(Yн-Yк)
= L.(Xк-Xн)
= n.L.(Хк-Хсм)
(1.22)
откуда кратность циркуляции
равна
(1.23)
Концентрация абсорбента в смеси
на входе в колонну:
(1.24)
Линия АВ на диаграмме Y-X(рис.1.5)
отвечает абсорбции без рециркуляции (т.е. при n=1),
причем наклон этой линии равен отношению расходов фаз L/G.
При наличии рециркуляции рабочая линия имеет большой наклон (nL/G)
и выражается отрезком АС. Наклон рабочей линии возрастает с увеличением n,
однако предельное положение рабочей линии соответствует прямой AD,точкаD
которой находится на линии равновесия. Это положение рабочей линии отвечает
максимальной величине n,
когда поступающая в колонну смесь находится в равновесии с уходящим газом.
Схема многоступенчатой
абсорбции с рециркуляцией части жидкости приведена на рис.1.6. При этом газ
проходит последовательно через все колонны навстречу жидкости. На диаграмме Y-X
рабочая линия для всей системы изображается прямой АВ. Эта прямая
состоит из отрезков АС, СD
и DВ,
соответствующих рабочим линиям для отдельных колонн. При отсутствии
рециркуляции данную систему можно было бы рассматривать как один абсорбер,
разделенный на части. Если каждая отдельная колонна работает с рециркуляцией
жидкости, то рабочие линии для каждой из этих колонн выразятся отрезкамиА/С,
С/D
и D/В.
Рассмотренная схема широко распространена в промышленности.
Схема многоступенчатой
противоточной абсорбции с рециркуляцией жидкости в каждом абсорбере
Рис.1.6
Количество жидкости, проходящей
через абсорберы, работающие по схеме с рециркуляцией поглотителя, при одном и
том же расходе свежего абсорбента значительно больше, чем в схемах без
рециркуляции. В результате увеличивается коэффициент массоотдачи в жидкой фазе
при некотором снижении движущей силы процесса.
Применение схем с рециркуляцией
поглотителя целесообразно в следующих случаях:
) когда основное сопротивление
массопередаче сосредоточено в жидкой фазе;
) при необходимости охлаждать
поглотитель в процессе абсорбции;
) для улучшения смачивания
насадки (при малых плотностях орошения). Вместе с тем рециркуляция жидкости
приводит к усложнению абсорбционных установок и дополнительным расходам энергии
на перекачивание рециркулирующей фазы.
Схемы установок, приведенные на
рис.1.5-1.7, относятся к насадочным абсорберам, в которых затруднительна
организация внутреннего отвода тепла в процессе абсорбции. В тарельчатых
абсорберах охлаждающие устройства (например змеевики) устанавливают
непосредственно на тарелках, что является существенным преимуществом этих
аппаратов при проведении в них процессов абсорбции, протекающих со значительным
выделением тепла.
На рис.1.7 представлена схема
абсорбционной установки с рециркуляцией жидкости и десорбцией. Насыщенный
поглощенным компонентом абсорбент из последнего (по ходу жидкости) абсорбера 1
сливается в сборник 2, откуда насосом 5 через теплообменник 8
подается в десорбционную колонну 9, где освобождается от растворенного
газа. Регенерированный поглотитель из колонны 9 поступает в теплообменник
8, где отдает тепло жидкости, направляемой на десорбцию, и далее через
холодильник 10 возвращается в цикл орошения первого (по ходу жидкости)
абсорбера /1/.
Схема абсорбционной установки с
рециркуляцией жидкости и десорбцией
1
- абсорбер, 2-4 - сборники, 5-7 - насосы, 8 -
теплообменник, 9 - десорбционная колонна, 10 - холодильники
Рис.1.7
1.3 Типовое
оборудование для проектируемой установки
Аппараты, в которых
осуществляются абсорбционные процессы, называется абсорберами. Как и другие
процессы массопередачи, абсорбция протекает на поверхности соприкосновения
между жидкостью и газом. По способу образования этой поверхности абсорберы
можно условно разделить на следующие группы:
) поверхностные и пленочные;
) насадочные;
) барботажные (тарельчатые);
) распыливающие.
Следует отметить, что аппараты
большинства конструкций, приводимых ниже, весьма широко применяются и для
проведения других массообменных процессов /1/.
1.3.1 Поверхностные
и пленочные абсорберы
В абсорберах этого типах
поверхностью соприкосновения фаз является зеркало неподвижной или медленно
движущей жидкости, или же поверхность текущей жидкой пленки.
Поверхностные абсорберы.
Эти абсорберы используют для
поглощения хорошо растворимых газов (например, для поглощения хлористого
водорода водой). В указанных аппаратах газ проходит над поверхностью
неподвижной или медленно движущейся жидкости (рис.1.8). Так как поверхность
соприкосновения в таких абсорберах мала, то устанавливают несколько последовательно
соединенных аппаратов, в которых газ и жидкость движутся противотоком друг к
другу. Для того чтобы жидкость перемещалась по абсорберам самотеком, каждый
последующий по ходу жидкости аппарат располагают несколько ниже предыдущего.
Для отвода тепла, выделяющегося при абсорбции, в аппаратах устанавливают
змеевики, охлаждаемые водой или другим охлаждающим агентом, либо помещают
абсорберы в сосуды с проточной водой.
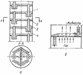
Поверхностный абсорбер
Рис.1.8
Более совершенным аппаратом
такого типа является абсорбер (рис.1.9), состоящий из ряда горизонтальных труб,
орошаемых снаружи водой. Необходимый уровень жидкости в каждом элементе 1
такого аппарата поддерживается с помощью порога 2.
Оросительный абсорбер
1
- элемент абсорбера, 2 - сливные пороги
Рис.1.9
Пластинчатый абсорбер
(рис.1.10) состоит из двух систем каналов: по каналам 1 большого сечения
движутся противотоком газ и абсорбент, по каналам 2меньшего сечения -
охлаждающий агент (как правило вода). Пластинчатые абсорберы обычно
изготавливаются из графита, так как он является химически стойким материалом,
хорошо проводящим тепло.
Пластинчатый абсорбер
1
- каналы для прохождения газа и абсорбента,
2
- каналы для протекания охлаждающего агента (воды)
Рис.1.10
Поверхностные абсорберы имеют
ограниченное применение вследствие их малой эффективности и громоздкости.
Пленочные абсорберы.
Эти аппараты более эффективны и
компактны, чем поверхностные абсорберы. В пленочных абсорберах поверхностью
контакта фаз является поверхность текущей пленки жидкости. Различают следующие
разновидности аппаратов данного типа: 1) трубчатые абсорберы; 2) абсорберы с
плоско-параллельной или листовой насадкой; 3) абсорберы с восходящим движением
пленки жидкости.
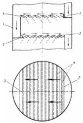
Трубчатый абсорбер (рис.1.11)
сходен по устройству с вертикальным кожухотрубчатым теплообменником. Абсорбент
поступает на верхнюю трубную решетку 1, распределяется по трубам 2
и стекает по их внутренней поверхности в виде тонкой пленки. В аппаратах с
большим числом труб для более равномерной подачи и распределения жидкости по
трубам используют специальные распределительные устройства. Газ движется по
трубам снизу вверх навстречу стекающей жидкой пленке. Для отвода тепла
абсорбции по межтрубному пространству пропускают воду или другой охлаждающий
агент.
Трубчатый абсорбер
1
- трубная решётка, 2 - трубы
Рис.1.11
Абсорбер с плоскопараллельной
насадкой (рис.1.12). Этот аппарат представляет собой колонну с листовой
насадкой 1 в виде вертикальных листов из различного материала (металл,
пластические массы и др.) или туго натянутых полотнищ из ткани. В верхней части
абсорбера находятся распределительные устройства 2 для равномерного
смачивания листовой насадки с обеих сторон.
Абсорбер с плоскопаралеллельной
насадкой
1
- листовая насадка, 2 - распределительное устройство
Рис.1.12
Абсорбер с восходящим движением
пленки (рис.1.13) состоит из труб 1, закрепленных в трубных решетках 2.Газ
из камеры 3 проходит через патрубки 4, расположенные соосно с
трубами 1. Абсорбент поступает в трубы через щели 5. Движущийся с
достаточно большой скоростью газ увлекает жидкую пленку в направлении своего
движения (снизу вверх), т.е. аппарат работает в режиме восходящего прямотока.
По выходе из труб 1 жидкость сливается на верхнюю трубную решетку и
выводится из абсорбера. Для отвода тепла абсорбции по межтрубному пространству
пропускают охлаждающий агент. Для увеличения степени извлечения применяют
абсорберы такого типа, состоящие из двух и более ступеней, каждая из которых
работает по принципу прямотока, в то время как в аппарате в целом газ и
жидкость движутся противотоком друг к другу. В аппаратах с восходящим движением
пленки, вследствие больших скоростей газового потока (до 30-40 м/сек)
достигаются высокие значения коэффициентов массопередачи, но, вместе с тем,
гидравлическое сопротивление этих аппаратов относительно велико /1/.
Абсорбер с восходящим движением
жидкой плёнки
1-
трубы, 2 - трубная решётка, 3 - камера, 4 - патрубок для
подачи газа, 5 - щель для подачи абсорбента
Рис.1.13
1.3.2 Насадочные
абсорберы
Широкое распространение в
промышленности в качестве абсорберов получили колонны, заполненные насадкой -
твердыми телами различной формы. В насадочной колонне (рис.1.14) насадка 1 укладывается
на опорные решетки 2, имеющие отверстия или щели для прохождения газа и
стока жидкости. Последняя с помощью распределителя 3 равномерно орошает
насадочные тела и стекает вниз. По всей высоте слоя насадки равномерного
распределения жидкости по сечению колонны обычно не достигается, что
объясняется пристеночным эффектом - большей плотностью укладки насадки в
центральной части колонны, чем у ее стенок. Вследствие этого жидкость имеет
тенденцию растекаться от центральной части колонны к ее стенкам. Поэтому для
улучшения смачивания насадки в колоннах большого диаметра насадку иногда
укладывают слоями (секциями) высотой 2-3 м, и под каждой секцией, кроме нижней,
устанавливают перераспределители жидкости 4.
В насадочной колонне жидкость
течет по элементу насадки главных образом в виде тонкой пленки, поэтому
поверхностью контакта фаз является в основном смоченная поверхность насадки, и
насадочные аппараты можно рассматривать как разновидность пленочных. Однако в
последних пленочное течение жидкости происходит по всей высоте аппарата, а в
насадочных абсорберах - только по высоте элемента насадки. При перетекании
жидкости с одного элемента насадки на другой пленка жидкости разрушается и на
нижележащем элементе образуется новая пленка. При этом часть жидкости проходит
через расположенные ниже слои насадки в виде струек, капель и брызг. Часть
поверхности насадки бывает смочена неподвижной (застойной) жидкостью.
Насадочный абсорбер
1
- насадка, 2 - опорная решётка, 3 - распределитель жидкости, 4
- перераспределитель жидкости
Рис.1.14
Основными характеристиками
насадки являются ее удельная поверхность а (м2/м3) и
свободный объем ε (м3/м3).
Величину свободного объема для непористой насадки обычно определяют путем
заполнения объема насадки водой. Отношение объема воды к объему, занимаемому
насадкой, дает величину ε.
Выбор насадок.
Для того чтобы насадка работала
эффективно, она должна удовлетворять следующим основным требованиям:
) обладать большой поверхностью
в единице объема;
) хорошо смачиваться орошающей
жидкостью;
) оказывать малое
гидравлическое сопротивление газовому потоку;
) равномерно распределять
орошающую жидкость;
) быть стойкой к химическому
воздействию жидкости и газа, движущихся в колонне;
) иметь малый удельный вес;
) обладать высокой механической
прочностью;
) иметь высокую стоимость.
Насадок, полностью
удовлетворяющих всем указанным требованиям, не существует, так как, например,
увеличение удельной поверхности насадки влечет за собой увеличение
гидравлического сопротивления аппарата и снижение предельных нагрузок. В
промышленности применяют различные по форме и размерам насадки (рис.1.15),
которые в той или иной мере удовлетворяют требованиям, являющимся основными при
проведении конкретного процесса абсорбции. Насадки изготавливают из
разнообразных материалов (керамика, фосфор, сталь, пластмассы) выбор которых
диктуется величиной удельной поверхности насадки, смачиваемостью и коррозионной
стойкостью.
Типы насадок
а
- кольца Рашига, беспорядочно уложенные (навалом), б - кольца с
перегородками, правильно уложенные, в - насадка Гудлое, г -
кольца Паля, д - насадка «Спрейпак», е - седла Берля, ж -
хордовая насадка, з - седла «Инталлокс»
Рис.1.5
В качестве насадки используют
также засыпаемые навалом в колонну куски кокса или кварца размерами 25х100 мм.
Однако вследствие ряда недостатков (малая удельная поверхность, высокое
гидравлическое сопротивление и т.д.) кусковую насадку в настоящее время
применяют редко.
Широко распространена насадка в
виде тонкостенных керамических колец высотой, равной диаметру (кольца Рашига),
который изменяется в пределах 15-150 мм. Кольца малых размеров засыпают в абсорбер
навалом (рисю1.15а). Большие кольца (размерами не менее 50х50 мм) укладывают
правильными рядами, сдвинутыми друг относительно друга (рис.1.15б). Этот способ
заполнения аппарата насадкой называют загрузкой в укладку, а загруженную таким
способом насадку -регулярной. Регулярная насадка имеет ряд преимуществ перед
нерегулярной, засыпанной в абсорбер навалом: обладает меньшим гидравлическим
сопротивлением, допускает большие скорости газа. Однако для улучшения
смачивания регулярных насадок необходимо применять более сложные по конструкции
оросители. Хордовая деревянная насадка (рис.1.15ж) обычно используются в
абсорберах, имеющих значительный диаметр. Основное ее достоинство-простота
изготовления, недостатки - относительно небольшая удельная поверхность и малый
свободный объем.
За последние годы стали
применяться спиральные насадки, выполненные из металлических лент и проволоки,
различные металлические сетчатые насадки (рис.1.15б), а также насадка из
стеклянного волокна.
При выборе размеров насадки
следует учитывать, что чем больше размеры ее элемента, тем выше допустимая
скорость газа (и соответственно - производительность абсорбера), и ниже его
гидравлическое сопротивление. Общая стоимость абсорбера с насадкой из элементов
больших размеров будет ниже за счет уменьшения диаметра аппарата, несмотря на
то, что его высота несколько увеличится по сравнению с высотой аппарата,
имеющегося насадку меньших размеров (вследствие снижения величины удельной
поверхности насадки и интенсивности массопередачи).
Мелкая насадка предпочтительнее
также при проведении процесса абсорбции под повышенным давлением, так как в
этом случае гидравлическое сопротивление абсорбера не имеет существенного
значения. Кроме того, мелкая насадка, обладающая большей удельной поверхностью,
имеет преимущества перед крупной тогда, когда для осуществления процесса
абсорбции необходимо большое число единиц переноса или теоретических ступеней
изменения концентраций.
Основными достоинствами
насадочных колонн являются простота устройства и низкое гидравлическое
сопротивление. Недостатки: трудность отвода тепла и плохая смачиваемость
насадки при низких плотностях орошения. Отвод тепла из этих аппаратов и
улучшение смачиваемости достигается путем рециркуляции абсорбента, что
усложняет и удорожает абсорбционную установку. Для проведения одного и того же
процесса требуются насадочные колонны обычно большого объема, чем барботажные.
Насадочные колонны мало
пригодны при работе с загрязненными жидкостями. Для таких жидкостей в последнее
время стали применять абсорберы с «плавающей» насадкой. В этих абсорберах в
качестве насадки используют главным образом легкие полые или сплошные
пластмассовые шары, которые при достаточно высоких скоростях газа, переходят во
взвешенное состояние.
В абсорберах с «плавающей»
насадкой допустимы более высокие скорости газа, чем в абсорберах с неподвижной
насадкой. При этом увеличение скорости газа приводит к большему расширению слоя
шаров и, следовательно, к незначительному увеличению гидравлического
сопротивления аппарата /1/.
1.3.3 Барботажные
(тарельчатые) абсорберы
Тарельчатые абсорберы
представляют собой, как правило, вертикальные колонны, внутри которых на
определенном расстоянии друг от друга размещены горизонтальные перегородки -
тарелки. С помощью тарелок осуществляется направленное движение фаз и
многократное взаимодействие жидкости и газа.
В настоящее время в
промышленности применяются разнообразные конструкции тарельчатых аппаратов. По
способу слива жидкости с тарелок барботажные абсорберы можно подразделить на
колонны:
) с тарелками со сливными
устройствами;
) с тарелками без сливных
устройств.
Тарельчатые колонны со сливными
устройствами. В этих колоннах перелив жидкости с тарелки на тарелку
осуществляется при помощи специальных устройств - сливных трубок, карманов и
т.п. Нижние колонны трубок погружены в стакан на нижерасположенных тарелках и
образуют гидравлические затворы, исключающие возможность прохождения газа через
сливное устройство.
Принцип работы колонн такого
типа виден из рис.1.16, где в качестве примера показан абсорбер с ситчатыми
тарелками. Жидкость поступает на верхнюю тарелку 1, сливается с тарелки
на тарелку через переливные устройства 2 и удаляется из нижней части
колонны. Газ поступает в нижнюю часть аппарата, проходит последовательно сквозь
отверстия или колпачки каждой тарелки. При этом газ распределяется в виде
пузырьков и струй в слое жидкости на тарелке, образую на ней слой пены,
являющийся основной областью массообмена и теплообмена на тарелке. Отработанный
газ удаляется сверху колонны.
Переливные трубки располагают
на тарелках таким образом, чтобы жидкость на соседних тарелках протекала во
взаимнопротивоположных направлениях. За последнее время все шире применяют
сливные устройства в виде сегментов, вырезанных в тарелке и ограниченных
порогом - переливом.
Тарельчатая колонна со сливными
устройствами
1
- тарелка, 2 - сливные устройства
Рис.1.16
К тарелкам со сливными
устройствами относятся: ситчатые, колпачковые, клапанные и балластные,
пластинчатые.
Гидродинамические режимы работы
тарелок. Эффективность тарелок любых конструкций в значительной степени зависит
от гидродинамических режимов их работы. Поэтому до описания основных
конструкций тарелок рассмотрим эти режимы.
В зависимости от скорости газа
и плотности орошения различают три основных гидродинамических режима работы
барботажных тарелок: пузырьковый, пенный и струйный, или инжекционный. Эти
режимы отличаются структурой барботажного слоя, которая в основном определяет
его гидравлическое сопротивление и высоту, а также величину поверхности
контакта фаз.
Пузырьковый режим. Такой режим
наблюдается при небольших скоростях газа, когда он движется сквозь слой
жидкости в виде отдельных пузырьков. Поверхность контакта фаз на тарелке,
работающей в пузырьковом режиме, невелика.
Пенный режим. С увеличением
расхода газа выходящие из отверстия и прорези отдельные пузырьки сливаются в
сплошную струю, которая на определенном расстоянии от места истечения
разрушается в следствие сопротивления барботажного слоя с образованием большого
количества пузырьков. При этом на тарелке возникает газо-жидкостная дисперсная
система - пена, которая является нестабильной и разрушается сразу же после
прекращения подачи газа. В указанном режиме контактирование газа и жидкости
происходит на поверхности пузырьков и струй газа, а также на поверхности капель
жидкости, которые в большом количестве образуются над барботажным слоем при
выходе пузырьков газа из барботажного слоя и разрушения их оболочек. При пенном
режиме поверхность контакта фаз на барботажных тарелках максимальна.
Струйный (инжекционный) режим.
При дальнейшем увеличении скорости газа длина газовых струй увеличивается, и
они выходят на поверхность барботажного слоя, не разрушаясь и образуя большое
количество крупных брызг. Поверхность контакта фаз в условиях такого
гидродинамического режима резко снижается.
Следует отметить, что переход
от одного режима к другому происходит постепенно. Общие методы расчета границ
гидродинамических режимов (критических точек) для барботажных тарелок отсутствуют.
Поэтому при проектировании тарельчатых аппаратов обычно расчетным путем
определяют скорость газа, соответствующую нижнему и верхнему пределам работы
тарелки и затем выбирают рабочую скорость газа.
Ситчатые тарелки.
Колонна с ситчатыми тарелками (рис.1.17)
представляет собой вертикальный цилиндрический корпус 1 с
горизонтальными тарелками 2, в которых равномерно по всей поверхности
просверлено значительное число отверстий диаметром 1-5 мм. Для слива жидкости и
регулирования ее уровня на тарелке служат переливные трубки 3, нижние
концы которых погружены в стаканы 4.
Ситчатая колонна
а
- схема устройства колонны, б - схема работы тарелки, 1 - корпус,
2
- тарелка, 3 - переливная труба, 4 - стакан
Рис.1.17
Газ проходит сквозь отверстия
тарелки и распределяется в жидкости в виде мелких струек и пузырьков. При
слишком малой скорости газа жидкость может просачиваться (или «проваливаться»)
через отверстия тарелки на нижерасположенную, что должно привести к существенному
снижению интенсивности массопередачи. Поэтому газ должен двигаться с
определенной скоростью и иметь давление, достаточное для того, чтобы преодолеть
давление слоя жидкости на тарелке и предотвратить стекание жидкости через
отверстия тарелки.
Ситчатые тарелки отличаются
простотой устройства, легкостью монтажа, осмотра и ремонта. Гидравлическое
сопротивление этих тарелок невелико. Ситчатые тарелки устойчиво работают в
довольно широком интервале скоростей газа, причем в определенном диапазоне
нагрузок по газу и жидкости эти тарелки обладают высокой эффективностью. Вместе
с тем ситчатые тарелки чувствительны к загрязнениям и осадкам, которые забивают
отверстия тарелок. В случае внезапного прекращения поступления газа или
значительного снижения его давления с ситчатых тарелок сливается вся жидкость,
и для возобновления процесса требуется вновь запускать колонну.
Разновидностью абсорберов с
ситчатыми тарелками являются так называемые пенные абсорберы, тарелки которых
отличаются от ситчатых конструкцией переливного устройства. При одинаковом
числе тарелок эффективность пенных аппаратов выше, чем эффективность абсорберов
с ситчатыми тарелками. Однако вследствие большой высоты пены на тарелках
гидравлическое сопротивление пенных абсорберов значительно, что ограничивает
область их применения.
Колпачковые тарелки.
Менее чувствительны к
загрязнениям, чем колонны с ситчатыми тарелками, и отличаются более высоким
интервалом устойчивой работы колонны с колпачковыми тарелками (рис.1.18). Газ
на тарелку 1 поступает по патрубкам 2, разбиваясь затем прорезями
колпачка 3 на большое число отдельных струй. Прорези колпачков наиболее
часто выполняются в виде зубцов треугольной или прямоугольной формы. Далее газ
проходит через слой жидкости, перетекающей по тарелке от одного сливного
устройства 4 к другому. При движении через слой значительная часть
мелких струй распадается и газ распределяется в жидкости в виде пузырьков.
Интенсивность образования пены и брызг на колпачковых тарелках зависит от
скорости движения газа и глубины погружения колпачка в жидкость.
Схема работы колпачковой
тарелки
1
-тарелка, 2 - газовые патрубки, 3 - колпачки, 4 - сливные
трубки
Рис.1.18
На рис.1.19 показана схема
работы колпачка при неполном (а) и полном (б) открытии прорезей, причем в
последнем случае колпачок работает наиболее эффективно. Сечение и форма
прорезей колпачка имеют второстепенное значение, но желательно устройство узких
прорезей, так как при этом газ разбивается на более мелкие струйки, что
способствует увеличению поверхности соприкосновения фаз. Для создания большой
поверхности контакта фаз на тарелках обычно устанавливают значительное число
колпачков, расположенных на небольшом расстоянии друг от друга.
Схема работы колпачка при
неполном (а), и полном (б) открытии прорезей
1
-тарелка, 2 -колпачок, 3 - газовый патрубок
Рис.1.19
Колпачковые тарелки
изготавливают с радиальным или диаметральным переливами жидкости. Тарелка с
радиальным переливом жидкости (рис.1.20а) представляет собой стальной диск 1,
который крепится на прокладке 2 болтами 3 к опорному кольцу 4.
Колпачки 5 расположены на тарелке в шахматном порядке. Жидкость переливается на
лежащую ниже тарелку по периферийным сливным трубкам 6, движется к
центру и сливается на следующую тарелку по центральной трубке 7, затем
снова течет к периферии т.д.
Колпачковая тарелка с
различными переливами жидкости
а
- радикальный перелив, 1 - диск, 2 - прокладка, 3 - болты,
4 - опорное кольцо, 5 - колпачки, 6 - периферийные
переливные устройства, 7 - центральная сливная трубка, б -
диаметральный перелив, 1 - диск, 2 - опорный лист, 3 - приёмный
порог, 4 - сливной порог, 5 - сменная гребёнка, 6 -
перегородка, 7 - колпачки
Рис.1.20
Тарелка с диаметральным
переливом жидкости (рис.1.20б) представляет собой срезанный с двух сторон диск 1,
установленный на опорном листе 2. С одной стороны тарелка ограничена
приемным порогом 3, а с другой - сливным порогом 4 со сменной
гребенной 5, при помощи которой регулируется уровень жидкости на
тарелке. В тарелке этой конструкции периметр слива увеличен путем замены
сливных трубок сегментообразными отверстиями, ограниченными перегородками 6,
что снижает вспенивание жидкости при ее переливе.
На рис.1.21 показана
распространенная конструкция штампованного капсюльного колпачка. Он состоит из
патрубка 1, который развальцован в отверстии тарелки 2, и планки 3,
приваренной к верхней части патрубка. К планке с помощью болта 4
крепится колпачок 5 диаметром 80-150 мм, закрепляемый на требуемой
высоте контргайкой.
Устройство капсюльного колпачка
1
- паровой патрубок, 2 - тарелка, 3 - поперечная планка,
4
- болт, 5 - колпачок
Рис.1.21
Колпачковые тарелки устойчиво
работают при значительных изменениях нагрузок по газу и жидкости. К их
недостаткам следует отнести сложность устройства и высокую стоимость, низкие
предельные нагрузки по газу, относительно высокое гидравлическое сопротивление,
трудность очистки. Поэтому колонны с колпачковыми тарелками постепенно
вытесняются новыми, более прогрессивными конструкциями тарельчатых аппаратов.
Клапанные и балластные тарелки
(рис.1.22). Эти тарелки получают за последнее время все более широкое
распространение, особенно для работы в условиях значительно меняющихся
скоростей газа.
Клапанные тарелки
а,б
- с круглыми клапанами, в - с пластинчатым клапаном, г -
балластная, 1 - клапан, 2 - кронштейн-ограничитель, 3 -
балласт
Рис.1.22
Принцип действия клапанных тарелок
(рис.1.22б) состоит в том, что свободно лежащий над отверстием в тарелке
круглый клапан 1 с изменением расхода газа своим весом автоматически
регулирует величину площади зазора между клапаном и плоскостью тарелки для
прохода газа и тем самым поддерживает постоянной скорость газа при его
истечении в барботажный слой. При этом с увеличением скорости газа в колонне
гидравлическое сопротивление клапанной тарелки увеличивается незначительно.
Высота подъема клапана ограничивается высотой кронштейна-ограничителя 2
и обычно не превышает 8 мм. Пластинчатые клапаны (рис.1.22в) работают
так же, как и круглые. Они имеют форму неравнобокого уголка, одна из полок
которого (более длинная) закрывает прямоугольное отверстие в тарелке. Круглые
клапаны имеют диаметр 45-50 мм, отверстия под клапаном делают диаметром 35-40
мм при шаге между ними 75-150 мм. Высота подъема клапанов 6,5-8 мм.
Балластные тарелки (рис.1.22г)
отличаются по устройству от клапанных тем, что в них между легким круглым
клапаном 1 и кронштейном-ограничителем 2 установлен на коротких
стойках, опирающихся на тарелку, более тяжелый, чем клапан, балласт 3.
Клапан начинает подниматься при небольших скоростях газа. С дальнейшим
увеличением скорости газа клапан упирается в балласт и затем поднимается вместе
с ним. Балластные тарелки отличаются более равномерной работой и полным
отсутствием провала жидкости во всем интервале скоростей газа.
Достоинства клапанных и
балластных тарелок: сравнительно высокая пропускная способность по газу и
гидродинамическая устойчивость, постоянная и высокая эффективность в широком
интервале нагрузок по газу. Последнее достоинство является особенностью
клапанных и балластных тарелок по сравнению с тарелками других конструкций. К
недостаткам этих тарелок следует отнести их повышенное гидравлическое
сопротивление, обусловленное весом клапана или балласта. Известны разновидности
клапанных и балластных тарелок, отличающихся конструкцией клапанов (балластов)
и ограничителей.
Пластинчатые тарелки. Эти
тарелки, в отличие от тарелок, рассмотренных выше, работают при
однонаправленном движении фаз, т.е. каждая ступень работает по принципу
прямотока, что позволяет резко повысить нагрузки по газу и жидкости, в то время
как колонна в целом работает с противотоком фаз. В колонне с пластинчатыми тарелками
(рис.1.23) жидкость (движение которой показано на рисунке сплошными стрелками)
поступает с вышележащей тарелки в гидравлический затвор 1 и через
переливную перегородку 2 попадает на тарелку 3, состоящую из ряда
наклонных пластин 4. Дойдя до первой цели, образованной наклонными
пластинами, жидкость встречается с газом (пунктирные стрелки), которые с
большой скоростью (20-40 м/сек) проходит сквозь щели. Вследствие небольшого
угла наклона пластин (αт
= 10-15) газ выходит на тарелку в направлении, близком к параллельному по
отношению к плоскости тарелки. При этом происходит эжектирование жидкости,
которая диспергируется газовым потоком на мелкие капли и отбрасывается вдоль
тарелки к следующей щели, где процесс взаимодействия жидкости и газа или пара
повторяется. В результате жидкость с большой скоростью движется вдоль тарелки
от переливной перегородки 2 к сливному карману 5. В данном случае
нет необходимости в установке переливного порога у кармана 5, что
уменьшает общее гидравлическое сопротивление тарелки.
Пластинчатая тарелка
1
- гидравлический затвор, 2 - переливная перегородка, 3 - тарелка,
4
- пластины, 5 - сливной карман
Рис.1.23
Таким образом, пластинчатые
тарелки работают так, что в отличие от тарелок других конструкций жидкость
является дисперсной фазой, а газ - сплошной, и контактирование жидкости и газа
осуществляется на поверхности капель и брызг. Описанный гидродинамический режим
газо-жидкостной дисперсной системы на контактной тарелке может быть определен
как капельный или капельно-брызговой. Этот режим позволяет резко повысить
нагрузки по жидкости и газу в колоннах с пластинчатыми тарелками.
Помимо работы пластинчатых
тарелок в интенсивном капельном режиме к числу их достоинств относятся: низкое
гидравлическое сопротивление, возможной работы с загрязненными жидкостями,
низкий расход материала при их изготовлении. На тарелках этого типа уменьшается
продольное перемешивание жидкости, что приводит к увеличению движущей силы
массопередачи. Недостатками пластинчатых тарелок являются: трудность отвода и
подвода тепла, снижение эффективности при небольших расходах жидкости. В
настоящее время разработан ряд других конструкций тарелок с однонаправленным
движением жидкости и газа.
Колонны с тарелками без сливных
устройств (рис.1.24). В тарелке без сливных устройств газ и жидкость проходит
через одни и те же отверстия или щели. На тарелке одновременно с
взаимодействием жидкости и газа путем барботажа происходит сток части жидкости
на нижерасположенную тарелку - « проваливание» жидкости. Поэтому тарелки такого
типа обычно называют провальными. К ним относятся дырчатые, решетчатые,
трубчатые и волнистые тарелки.
Колонна с тарелками без сливных
устройств
1
- колонна, 2 - тарелки, 3 - распределитель жидкости
Рис.1.24
Гидродинамические режимы работы
провальных тарелок. Эти режимы можно установить на основе зависимости их
гидравлического сопротивления от скорости газа при постоянной плотности
орошения (рис.1.25). При малых величинах w жидкость на тарелке не
задерживается (отрезок АВ), так как мала сила трения между фазами. С
увеличением скорости газа жидкость начинает накапливаться на тарелке (отрезок ВС)
и газ барботирует сквозь жидкость. В интервале скоростей газа, соответствующих
отрезку ВС, тарелка работает в нормальном режиме. При этом газ и
жидкость попеременно проходят через одни и те же отверстия. Если скорость газа
еще больше возрастает, то, вследствие увеличения трения между газом и
жидкостью, резко увеличивается накопление жидкости на тарелке и соответственно
- ее гидравлическое сопротивление, что способствует наступлению состояния
захлебывания (отрезок CD).
При небольших расходах жидкости, больших свободном сечении тарелки и диаметре
отверстий или щелей перелом в точкеС отсутствует.
Зависимость гидравлического
сопротивления провальной тарелки от скорости газа в колонне
Рис.1.25
Дырчатые тарелки (рис.1.26а)
аналогичны по устройству ситчатым тарелкам и отличаются от последних лишь
отсутствием сливных устройств. Диаметр отверстий в этих тарелках равен 4-10 мм,
а суммарная площадь сечения всех отверстий по отношению к сечению колонны
составляет 10-25%. Для нижнего предела работы величинаА в уравнении
составляет 2,95, для верхнего - 10.
Провальные тарелки
а
- дырчатая, б - решётчатая, 1-тарелка, 2 - отверстия, 3
- щели
Рис.1.26
Решетчатые тарелки (рис.1.26б)
имеют отверстия в виде выфрезерованных или выштампованных щелей шириной 3-8 мм.
ЗначенияА в формуле те же, что и для дырчатых.
Трубчатые тарелки представляют
собой чаще всего решетки, образованные из ряда параллельных труб,
присоединенных к коллектору. Для нижнего предела работы величинаА равна
4, для верхнего - 10.
Волнистые тарелки -
гофрированные металлические листы с отверстиями 4-8 мм.
Дырчатые и решетчатые
провальные тарелки отличаются простотой конструкции, низкой стоимостью
изготовления и монтажа, сравнительно небольшим гидравлическим сопротивлением.
К достоинству трубчатых
провальных тарелок относится легкость отвода тепла от барботажного слоя на
тарелке путем пропускания охлаждающего агента по трубам, из которых состоит
тарелка. Однако эти тарелки в сравнении с дырчатыми и решетчатыми значительно
сложнее по устройству и монтажу.
Основной недостаток колонн с дырчатыми,
решетчатыми и трубчатыми провальными тарелками - небольшой интервал изменения
скоростей газа и жидкости, в пределах которого поддерживается устойчивая и
эффективная их работа.
В более широком диапазоне
нагрузок работают волнистые провальные тарелки. Однако эти тарелки сложнее, чем
дырчатые и решетчатые провальные тарелки по устройству и монтажу /1/.
1.3.4 Распыливающие
абсорберы
В абсорберах этого типа тесный
контакт между фазами достигается путем распыливания или разбрызгивания
различными способами жидкости в газовом потоке.
Полый распыливающий абсорбер
(рис.1.27) представляет собой колонну, в верхней части корпуса 1 которой
имеются форсунки 2 для распыливания жидкости (главным образом механические). В
распыливающих абсорберах объемные коэффициенты массопередачи быстро снижаются
по мере удаления от форсунок вследствие коалесценции капель и уменьшения
поверхности фазового контакта. Поэтому оросители (форсунки) в этих аппаратах
обычно устанавливают на нескольких уровнях.
Полый распыливающий абсорбер
1
- колонна, 2 - форсунки
Рис.1.27
К достоинствам полых
распыливающих абсорберов относятся простота устройства, низкое гидравлическое
сопротивление, возможность работы с загрязненными газами, легкость осмотра,
очистки и ремонта. Недостатки этих аппаратов: невысокая эффективность,
значительный расход энергии на распыливание жидкости, трудность работы с
загрязненными жидкостями, необходимость подачи больших количеств абсорбента для
увеличения количества капель и соответственно - поверхности контакта фаз,
низкие допустимые скорости газа, значения которых ограничены уносом капель
жидкости.
Распыливающие абсорберы
применяются главным образом для поглощения хорошо растворимых газов, так как
вследствие высокой относительной скорости фаз и турбулизации газового потока
коэффициента массоотдачи в газовой фазе (βr)
в этих аппаратах достаточно велики.
Значительно более эффективными
аппаратами являются прямоточные распыливающие абсорберы, в которых распыленная
жидкость захватывается и уносится газовым потоком, движущимися с большой
скоростью (20-30 м/сек. и более), а затем отделяется от газа в сепарационный
камере. К аппаратам такого типа относится абсорбер Вентури (рис.1.28), основной
частью которого является труба Вентури. Жидкость поступает в конфузор1
трубы, течет в виде пленки и в горловине 2распыливается газовым потоком.
Далее жидкость выносится газом в диффузор 3, в котором постепенно
снижается скорость газа, и кинетическая энергия газового потока переходит в
энергию давления с минимальными потерями. Сепарация капель происходит в камере 4.
Распыливающий абсорбер Вентури
1
- конфузор, 2 - горловина, 3 - диффузор, 4 - сепарационная
камера
Рис.1.28
К распыливающим относятся также
механические абсорберы, в которых разбрызгивание жидкости производится с
помощью вращающихся устройств, т.е. с подводом внешней энергии для образования
возможно большей поверхности контакта фаз между газом и жидкостью.
Механические абсорберы
компактнее и эффективнее распыливающих абсорберов других типов. Однако они
значительно сложнее по устройству и требуют больших затрат энергии на
осуществление процесса.
Во многих случаях в системах
газ-жидкость для диспергирования одной фазы в другой оказывается достаточным
использование энергии потока газа, взаимодействующего с жидкостью, и подвод
внешней энергии для этой цели нецелесообразен /1/.
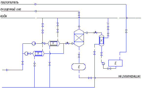
2. ОБОСНОВАНИЕ И
ОПИСАНИЕ УСТАНОВКИ
В курсовом проекте используется
противоточная технологичная схема процесса абсорбции (рис.2.1). При
противоточной схеме процесса абсорбции газ проходит через абсорбер снизу вверх,
а жидкость стекает сверху вниз. Так как при противотоке уходящий газ
соприкасается со свежим абсорбентом, над которым парциальное давление
поглощаемого компонента равно нулю (или очень мало), то можно достичь более
полного извлечения компонента из газовой смеси, чем при прямоточной схеме, где
уходящий газ соприкасается с концентрированным раствором поглощаемого газа.
Кроме того, при противотоке можно достигнуть более высокой степени насыщения
поглотителя извлекаемым компонентом что, в свою очередь, приводит к уменьшению
расхода абсорбента.
В качестве основного
оборудования выбран насадочный абсорбер. Основным достоинством данного аппарата
является простота устройства и низкое гидравлическое сопротивление /1/. В
насадочных колоннах тип насадки выбирается в зависимости от её механической
прочности, сопротивления коррозии, стоимости, объёма и эффективности. Среди
насадочных материалов для абсорбции газов с экономической точки зрения
предпочтительны керамические кольца размером 12х12 и 25х25 мм, седлообразная
насадка 25х25 мм, спиральная и кольца с перегородками размером 75х75 мм,
блочная и хордовая насадка из дерева /2/. Тип насадки будет выбран при расчёте
абсорбера.
Процесс абсорбции проводится
при невысокой температуре. Поэтому перед тем, как попасть в абсорбер, газ и
поглотитель охлаждают в холодильниках, в которые подаётся охлаждающая вода.
В ходе проекта помимо основного
оборудования (насадочного абсорбера) выбрано вспомогательное оборудование:
насос и вентилятор. Насос используется для подачи поглотителя на абсорбцию, а
вентиляторы для подачи газа.
Так как на абсорбцию подаётся
большое количество неочищенного газа (по заданию), с целью повышения
эффективности работы системы, газовый поток до попадания в абсорбер разбит на
два. Процесс абсорбции проводится следующим образом. С помощью вентиляторов газ
сначала подаётся в холодильники Х1 и Х2 для
предварительного охлаждения, а затем далее в абсорбер. Газ на абсорбцию
подаётся в нижнюю часть колонны, где равномерно распределяется перед
поступлением на контактный элемент (насадку). Абсорбент из промежуточной ёмкости
Е2 насосом подаётся в верхнюю часть колонны и равномерно
распределяется по поперечному сечению. Газ после абсорбции выходит из колонны.
Абсорбент стекает через гидразатвор в промежуточную ёмкость Е1,
откуда из колонны насосом направляется на регенерацию.
Технологичная схема процесса
абсорбции
3. ПОДРОБНЫЙ РАСЧЁТ
АБСОРБЕРА
Исходные данные для
проектирования установки.
Газ -СО2.
Производительность по газу при
нормальных условиях - V0
= 10000 м3/ч.
Состав газовой смеси: СО2
- 20% (об), воздух - 80% (об).
Поглотитель -водный раствор
моноэтаноламина (в.р. МЭА).
Температура поглотителя tп
= 15 0С.
Содержание СО2 в
поглотителе - хн= 0.
Степень извлечения целевого
компонента - φ = 90%.
Давление в аппарате - Р = 0,1
МПа.
Коэффициент избытка поглотителя
- 1,8.
Температура абсорбции tа
= 20 0С.
Температура исходной газовой
смеси - Т = 150 0С.
Тип абсорбера - насадочный.
Геометрические размеры
колонного массообменного аппарата определяются в основном поверхностью массопередачи,
необходимой для проведения данного процесса, и скоростями фаз /3/.
Поверхность массопередачи будет
найдена следующим образом:
, (3.1)
где Ку - коэффициент
массопередачи в газовой фазе, кг/(м2с);
М - масса поглощаемого
вещества.
3.1 Масса
поглощаемого вещества и расход поглотителя
Массу газа СО2 ,
переходящих в процессе абсорбции из газовой смеси в поглотитель за единицу
времени находим из уравнения:
, (3.2)
где G,L
- расходы соответственно чистого поглотителя и инертной части газа, кг/с;
- начальная и конечная концентрации
газа СО2 в поглотителе, кг СО2/кг в.р. МЭА;
- начальная и конечная концентрации
газа СО2 в газе, кг СО2/кг газа.
Выразим составы фаз, нагрузки
по газу и жидкости в выбранной для расчёта размерности:
кмоль СО2/кмоль газа
кмоль СО2/кмоль газа
Конечную концентрацию газа СО2
в поглотителе
найдём из
равновесной линии по зависимости
.
, (3.3)
где К = 20,4 мм.рт.ст. =
2719,32 Па /4/.
Подставим и получим следующую
зависимость:
Строим равновесную и рабочую
линии абсорбции (рис.3.1).
1
- равновесная линия, 2 - рабочая линия
Рис.3.1
Находим
кмоль СО2/кмольв.р.
МЭА.
Конечная концентрация газа СО2
в поглотителе
обуславливает
его расход (который, в свою очередь, влияет на размеры абсорбера), а также
часть энергетических затрат, связанных с перекачиванием жидкости и
регенерацией.
Тогда найдём
кмоль СО2/кмольв.р. МЭА.
Расход инертной части:
, (3.4)
где
= 1,29 кг/м3 /4/ ;
= 0,2 м3 СО2/м3газа
- объёмная доля СО2 в газе.
Подставим и получим
Производительность абсорбера по
поглощаемому компоненту:
, (3.5)
Подставим и получим:
Расход поглотителя:
, (3.6)
Подставим и получим:
Тогда соотношение расходов фаз,
или удельный расход поглотителя, составит:
3.2 Движущая сила
массопередачи
Движущая сила в соответствии с
уравнением (3.1) может быть выражена в единицах концентраций как жидкой, так и
газовой фаз. Для случая линейной равновесной зависимости между составами фаз,
принимая модель идеального вытеснения в потоках обеих фаз, определим движущую
силу в единицах концентраций газовой фазы:
, (3.7)
где
- большая и меньшая движущая силы
на входе и выходе потоков в абсорбере, кмоль СО2/кмоль газа
(рис.3.2)
Схема распределения
концентраций в газовом и жидкостном потоках в абсорбере
Рис.3.2
Тогда

,
где
,
- концентрация СО2 в
газе, равновесные с концентрациями в жидкой фазе (поглотителе) соответственно
на входе и выходе из абсорбера (рис.3.1, 3.2).
Подставим и получим:
кмоль СО2/кмоль газа,
кмоль СО2/кмоль газа,
кмоль СО2/кмоль газа
3.3 Коэффициент
массопередачи
Коэффициент массопередачи Ку
находим по уравнению аддитивности фазовых диффузионных сопротивлений:
, (3.8)
где βу,
βх - коэффициенты
массопередачи соответственно в жидкой и газовой фазах, кг/м2с;
m
- коэффициент распределения, кг в.р. МЭА /кг газа.
Для расчёта коэффициентов
массопередачи выберем тип насадки и рассчитаем скорости потоков в абсорбере.
Для нашего проекта выберем
насадку - керамические кольца Рашига (рис.3.3) (100х100х10).
Керамические кольца Рашига
Рис.3.3
Характеристики выбранной
насадки.
а
= 60 м2/м3 - удельная поверхность насадки;
- ε = 0,72 - м3/м3
- свободный объём;
dэ
= 0,048м - эквивалентный диаметр;
- ρ = 670 кг/м3
- насыпная плотность;
число - 1050 шт.
3.4 Скорость газа и
диаметр абсорбера
Предельную скорость газа, выше
которой наступает захлёбывание насадочных абсорберов, можно рассчитать по
формуле:
, (3.9)
где ωпр
- предельная фиктивная скорость газа. м/с;
μх
= 2,0.10-3Па.с - вязкость поглотителя при
температуре в абсорбере /4/;
μу
= 1.10-3Па.с - вязкость воды при 20 0С
в абсорбере /4/;
ρх
= 1015 кг/м3 - плотностьпоглотителя;
А,В - коэффициенты, зависящие
от типа насадки, А = - 0,073, В = 1,75 /5/.
Пересчитаем плотность газа на
условия в абсорбере:
, (3.10)
Подставим и получим:
Предельную скорость ωпр
находим, принимая при этом, что отношение фаз в случае разбавленных смесей
приблизительно равно отношению расходов инертных фаз:
Решая это уравнение, получим, ωпр
= 1,9 м/с. Рабочую скорость принимаем равной ω = ωпр.0,5
= 1,9.0,5 = 0,95 м/с.
Диаметр абсорбера находим из
уравнения расхода:
(3.11)
Подставим и получим:
Принимаем диаметр абсорбера d
= 2,0м.
3.5 Плотность
орошения и активная поверхность насадки
Плотность орошения рассчитываем
по формуле:
, (3.12)
где S
- плотность поперечного сечения абсорбера, м2.
Подставим и получим:
Минимальная эффективная
плотность орошения /5/:
, (3.13)
где qэф
= 0,022.10-3 м2/с
Подставим и получим:
Активная поверхность насадки
/5/:
, (3.14)
где p
и q - коэффициенты,
зависящие от типа насадки.
Подставив численные значения
получим:
3.6 Расчёт
коэффициентов массоотдачи
Для регулярных насадок
коэффициент массоотдачи в газовой фазе βу
находим из уравнения /1;5/:
, (3.15)
где Dу
- средний коэффициент диффузии СО2 в газе, м2/с;
Reу
- критерий Рейнольдса для газовой фазы в насадке;
Рr/у
- диффузионный критерий Прандтля для газовой фазы;
μy
= 0,015.10-3Па.с - вязкость газа /4/;
l
= 0,1м - высота насадки.
Найдём необходимые величины.
Коэффициент диффузии СО2
в газе можно рассчитать по уравнению:
, (3.16)
Подставив численные значения
получим:
Критерий Рейнольдса для газовой
фазы в насадке:
Критерий Прандтля для газовой
фазы в насадке:
Найдёмкоэффициент массоотдачи:
Выразим βу
в выбранной для расчёта размерности:
βу
= 0,017. (ρу
- уср) = 0,017.(1,19-0,019) = 0,02 кг/м2.с
Коэффициент массоотдачи в
жидкой фазе βх
находим из уравнения:
, (3.17)
где Dх
- средний коэффициент диффузии СО2 в поглотителе, м2/с;
δпр
- приведённая толщина стекающей плёнки жидкости, м;
Reх
- модифицированный критерий Рейнольдса для стекающей по насадке плёнки
жидкости;
Рr/х
- диффузионный критерий Прандтля для жидкости.
Коэффициент диффузии найдём:
, (3.18)
где М - мольная масса
поглотителя, кг/кмоль;
β - параметр,
учитывающий ассоциацию молекул;
Т - температура поглотителя.
Подставив численные значения
получим:
Приведённая толщина стекающей
плёнки жидкости:
Модифицированный критерий
Рейнольдса:
Диффузионный критерий Прандтля
для жидкости:
Подставив численные значения,
получим:
Выразим βх
в выбранной для расчёта размерности:
βх
= 7,6. 10-6(ρх
- схср) = 7,6. 10-6(1015-20,1) = 0,756 кг/м2.с
Подставив численные значения в
формулу (3.8) найдёмкоэффициент массопередачи в газовой фазе:

3.7 Поверхность
массопередачи и высота абсорбера
Поверхность массопередачи в
абсорбере найдём по уравнению (3.1):
Высоту насадки, необходимую для
создания этой поверхностимассопередачи, рассчитаем по формуле:
, (3.19)
Подставив численные значения,
получим:
Для осуществления заданного
процесса выберем 4 последовательно соединённых скруббера, в каждом из которых
высота насадки равна 35 м. Принимая число решёток в каждом ярусе 25, а
расстояние между ярусами 0,3 м определим высоту насадочной части абсорбера:
Расстояние между днищем
абсорбера и насадкой Zн
определяется необходимостью равномерного распределения газа по поперечному
сечению колонны. Расстояние от верха насадки до крышки абсорбера Zв
зависит от размеров распределительного устройства для орошения насадки и от
высоты сепарационного пространства. Примем эти расстояния соответственно 2,3 и
3,2 м.
Общая высота одного абсорбера
составит:
На = Нн +
Zв
+ Zн
= 38,9 + 2,3 + 3,2 = 44,4 м
3.8 Гидравлическое
сопротивление абсорберов
Гидравлическое сопротивление ΔРа
обуславливает энергетические затраты на транспортировку газового потока через
абсорбер. Величину ΔР
рассчитывают по формуле /5/:
, (3.20)
где ΔРс
- гидравлическое сопротивление сухой (не орошаемой жидкостью) насадки;
U
- плотность орошения, м3/м2.с;
b
= 119 - коэффициент.
Гидравлическое сопротивление
сухойнасадкиΔРс
определим по уравнению:
, (3.21)
где ω0
- скорость газа в свободном сечении насадки, м/с;
λ - коэффициент
сопротивления, который найдём по формуле:
Скорость газа в свободном
сечении насадки:
Подставив численные значения,
получим:
4. ПОДРОБНЫЙ РАСЧЁТ
ТЕПЛООБМЕННИКА
Кожухотрубчатые
теплообменные аппараты могут использоваться в качестве теплообменников,
холодильников, конденсаторов и испарителей (рис.4.1). Теплообменники
предназначены для нагрева и охлаждения (водой или другими нетоксичными,
непажаро- и невзрывоопасными хладагентом) жидких и газообразных сред /3/.
Кожухотрубчатый
двухходовой холодильник
1
- крышка распределительной камеры; 2 - распределительная камера; 3
- кожух; 4 - теплообменные трубы; 5 - перегородка с сегментным
вырезом; 6 - линзовый компенсатор; 7 - штуцер; 8 - крышка
Рис.4.1
Горячую
газовую смесь в количестве G
=10000 м3/ч необходимо охладить от tн
=1500С до tк
=200С. Разобьем поток на две части и произведём расчёт для G1
=5000 м3/ч = 1,39 м3/с (исходя из схемы).
Определение
тепловой нагрузки /3/:
(4.1)
где с1
- теплоёмкость газовой смеси,с1= 1166 кДж/кг*К /4/.
Определим
количество воды необходимой для охлаждения:
(4.2)
где св
- теплоёмкость воды,св= 4190 кДж/кг*К /4/.
Вода при
средней температуре t = 850С
имеет следующие физико-химические характеристики: ρв
=
968 кг/м3; λв
= 0,68 Вт/м*К; μв
= 0,3355*10-3 Па*с /4/.
Среднелогорифмическая
разность температур теплоносителей:
(4.3)
где
,
Подставим величины в формулу и
получим:
Ориентировочный выбор
теплообменника.
Примем ориентировочное значение
Reор=
15000, что соответствует развитому турбулентному режиму течения в трубах.
Очевидно, такой режим возможен в теплообменнике, у которого число труб,
приходящееся на один ход, равно:
, (4.4)
Подставим величины в формулу и
получим:
Примем
ориентировочное значение коэффициента теплопередачи, соответствующее
турбулентному течению: Кор = 180 Вт/м2*К.
Ориентировочное
значение поверхности составит:
(4.5)
Подставим и
получим:
Из таблицы
2.3 /3/ следует, что из выбранного ряда больше всего подходит теплообменник с
трубами длиной L=2 м и
номинальной поверхностью F=49,0
м2, диаметром кожуха D
= 600 мм, dтр=20
х 2 мм , S=0,078 м2,
n= 389 шт, z
=1 имеют соотношение n/z
= 389.
Произведём
уточнённый расчёт поверхности теплопередачи:
Расчет α1
- ведем методом последовательных приближений.
В первом
приближении примем.
Коэффициент
теплоотдачи от конденсирующего пара к стенке α1
равен:
(4.6)
где r1
=2440кДж/кг - теплота конденсации греющего пара /4/;
ρ1=1,98кг/м3
/2/;
λ1=0,53
Вт/(м*К) /4/- теплопроводностьконденсата при средней температуре пленки;
Δt
- разность температур конденсации пара и стенки, °С.
Расчет α1
- ведем
методом последовательных приближений.
В первом
приближении примем:
Δt=tн
-
t(w1)
tср=
tн -
Δtср.лог =
150-27=123 0С
ТогдаΔt
= 150 - 136,5 = 13,5 °С.
Для
установившегося процесса передачи тепла справедливо уравнения:
(4.7)
где q1
- удельная тепловая нагрузка, Вт/м2;
Отсюда:
Вт/м2
Коэффициент
теплопередачи от стенки к кипящему раствору для пузырькового кипения в
вертикальных кипятильных трубках при условии естественной циркуляции равен:
(4.8)
Oпределим
критерий Nuпренебрегая
поправкой
Подставим и
получим:
(4.9)
где
Тогда
Во втором
приближении примем.
tср=
tн -
Δtср.лог =
150-27=123 0С
Тогда Δt
= 150 - 133,5 = 16,5 °С.
Вт/м2
Коэффициент
теплопередачи от стенки к кипящему раствору для пузырькового кипения в
вертикальных кипятильных трубках при условии естественной циркуляции равен:
Подставим и
получим:
Тогда
q1≈
q2
Расхождение
между тепловыми нагрузками не превышает 3%, следовательно, расчет коэффициентов
α1
и α2
на этом можно закончить.
Коэффициент
теплопередачи рассчитывается по формуле:
(4.10)
Сумма
термических сопротивлений стенки труб из нержавеющей стали равна:
Σδ/λ=0,000905172
м2*К/Вт
Коэффициент
теплопередачи равен:
Требуемая
поверхность теплопередачи составит:
Данный
кожухотрубчатый теплообменник с трубами длиной L=2м
и номинальной поверхностью F=49м2
подходит с запасом:
Гидравлическое
сопротивление в трубном пространстве ∆pтр
рассчитываем по формуле:
(4.11)
Скорость
жидкости в трубах рассчитывается по формуле:
(4.12)
Отсюда
скорость в трубном пространстве будет равна:
м/с
Коэффициент
трения в трубах рассчитывается по формуле:
(4.13)
где е=Δ/d=0,0002/0,016=0,0125
- относительная шероховатость труб;
Δ - высота
выступов шероховатостей.
Отсюда
коэффициент трения будет равен:
Скорость в
штуцерах рассчитывается по формуле:
(4.14)
где dшт
= 0,15м
Отсюда
скорость в штуцерах будет равна:
Гидравлическое
сопротивление в трубном пространстве:
5. РАСЧЁТ
ВСПОМОГАТЕЛЬНОГО ОБОРУДОВАНИЯ
.1 Расчёты
вентилятора
Произведём подбор вентилятора,
который используется для подачи газа для абсорбции. Газ подаётся в нижнюю часть
абсорбера. Расход газа 1,39 м3/с, температура газа 20 0С,
давление 0,1 МПа.
Найдём рабочий расход газа /3/:
Примем скорость газа в
трубопроводе ω = 12 м/с.Тогда
внутренний диаметр трубопровода найдем по формуле:
, (5.1)
Подставим и получим:
Выбираем стальную трубу
наружным диаметром 426 мм, толщиной 11 мм. Внутренний диаметр трубы d=0,404м.
Фактическая скорость воды в трубе найдем:

(5.2)
Подставим и получим:
Критерий Рейнольдса для потока
в трубопроводе:
, (5.3)
где μ
= 0,015.10-3Па.с
- вязкость газапри температуре 20 0С /8/;
ρ = 1,98 м3/с
- плотность газа.
Подставим и получим:
Примем, что трубы были в
эксплуатации и имеют незначительную коррозию. Тогда абсолютную шероховатость ∆
= 1,5*10-4 м.
Тогда е = ∆/d
= 1,5*10-4 /0,404 = 0,00037
/е =2693 10/е = 26930 560 / е =
1513513
‹ Rе
‹ 1513513 , то есть в трубопроводе имеет место смешанное трение, и расчёт λ
следует
проводить по формуле:
λ = 0,11.
(е + 68 /Rе)0,25 (5.4)
Подставим и получим:
λ = 0,11.
(0,00037+ 68 /629270)0,25 = 0,016
Определим сумму коэффициентов
местных сопротивлений.
) вход в трубу (принимаем с
острыми краями): ξ1
= 0,5;
) отводы под углом 900:
ξ1 = 1,1;
) выход из трубы: ξ3
= 1.
Сумма коэффициентов местных
сопротивлений находим:
∑ξ = ξ1
+
ξ2 + ξ3
=0,5 +2*1,1 + 1 = 3,7
Гидравлическое сопротивление
трубопровода найдём по формуле:
гдеl
= 6 м - длина трубопровода.
Найдём гидравлическое
сопротивление трубопровода:
Найдём избыточное давление,
которое должен обеспечить вентилятор для преодоления гидравлического
сопротивления аппарата и трубопровода:
∆р
= ∆ртр + ∆рап+(р2
- р1) +∆рнап, (5.6)
где ∆ртр -
гидравлическое сопротивление трубопровода, Па;
∆рап -
сопротивление аппарата,Па;
∆рнап
- потери напора по высоте,Па.
Сопротивление аппарата:
∆рап= ∆рак
+ ∆ртепл. = 1497,0 + 5517,7 = 7014,7 Па
Потери напора по высоте:
∆рнап=
ρ·g·h = 1,98·9,8·4 = 77,6 Па
Подставим и получим:
∆р =542,8 + 7014,7 +(0,1.106
- 1,013.105) + 77,6 = 6335,1 Па
Полезная мощность вентилятора:
, (5.7)
где ηвент
= 0,75 - к.п.д вентилятора;
ηприв
= 0,93 - к.п.д привода.
Подставим и получим:
Полученным данным более всего
соответствует вентилятор Ц1-2070, для которого при оптимальных условиях работы Q
= 0,575 м3/с, ρ.g.h=1280Па,
n = 46,7 с-1.
Требуемым характеристикам
вентилятора и двигателя подходит двигатель 4А80А2 со следующими
характеристиками Рном=1,5 кВт, nдв=2850
об/мин.
5.2
Расчет насоса
В системе
стоит два параллельных насоса с одинаковыми характеристиками.
Подберем
насос для перекачивания жидкости при температуре t
= 15 °С из открытой емкости в аппарат, работающий под избыточным давлением.
Расход жидкости G = 2,7 кг/с.
Так как насос стоит на одном уровне с емкостью, то учитываем только
нагнетательную линию. На линии нагнетания имеется 2 отвода под углом 90°, 2
нормальных вентилей.
Выбор
трубопровода /3/.
Примем
скорость течения жидкости, равную 2 м/с. Тогда диаметр равен:
, (5.8)
где Q
- объемный расход жидкости, м3/с.
при ρ
= 1015 кг/м3.
Подставим и получим:
Выбираем стальную трубу
наружным диаметром 48 мм, толщиной стенки 4,0 мм. Внутренний диаметр трубы d=0,040
м.
Фактическая скорость воды в
трубе:
Примем, что
коррозия трубопровода незначительна.
Определение
потерь на трение и местные сопротивления
при μ=2,0*10-3
Па*с.
Т.е режим
течения жидкости по трубопроводу - турбулентный.
Примем
абсолютную шероховатость равной Δ=0,0002 м.
Тогда
e
= Δ/d = 0,0002/0,04 =
0,005
Далее
получим:
/е = 200;
10/е = 2000; 560/е = 112000
/е<Re<
560/е.
Таким
образом, в трубопроводе имеет смешенное трение, и расчёт следует проводить по
формуле (5.4):
λ = 0,11.
(0,005+ 68 /42630)0,25 = 0,031
Определим сумму коэффициентов
местных сопротивлений.
Для
нагнетательной линии:
1) вход в
трубу: внезапное расширение ξ1=0,64+0,5;
внезапное
сужение ξ1=0,4
2) отвод под
углом 90 ξ2=1,5
3)
нормальный вентиль: для d=
0,040 мм, равен ξ3=4,9
4) выход из
трубы: ξ4=1
Сумма коэффициентов местных
сопротивлений в всасывающей линии:
Σξ=ξ1+2.ξ2+2.ξ3+ξ4=0,64+0,5+0,4+1,5.2+4,9.2+1=15,34
Потерянный
напор на нагнетательной линии по формуле:
(5.9)
Подставим и получим:
Общие потери
напора - hп=6,9
м.
Выбор насоса:
Находим
потребный напор насоса по формуле:
(5.10)
Подставим и получим:
м вод.ст
Такой напор
при заданной производительности обеспечивается одноступенчатыми центробежными
насосами. Учитывая широкое распространение этих насосов в промышленности ввиду
достаточно высокого к.п.д., компактности и удобства комбинирования с
электродвигателями, выбираем для последующего рассмотрения именно эти насосы.
Полезная
мощность насоса:
(5.11)
Подставим и получим:
Заданным подаче и напору более
всего соответствует центробежный насос марки Х8/30, для которого при
оптимальных условиях работы Q
= 2,4*10-3 м3/с, H=24м,
ηн
= 0,5. Насос обеспечен двигателем АО2-32-2 номинальной мощностью Nн
= 4 кВт, ηдв
= 0,82. Частота вращения вала n=
48,3с-1.
ЗАКЛЮЧЕНИЕ
В курсовом проекте был
проведёнрасчёт проекта абсорбционной установки.
Приведено описание
технологической схемы для очистки газа. Была выбрана непрерывная противоточная
схема, в которой основной поток неочищенного газа был разбит на два.
После описания технологического
процесса приведен подробный расчёт насадочного абсорбера. По итогам расчётов
получен аппарат со следующими характеристиками:
диаметр абсорбера - d
= 2,0м,
высотанасадочной части
абсорбера - Нн = 38,9 м,
поверхность массопередачи в
абсорбере - F = 546,9 м2,
- гидравлическое сопротивление
абсорберов-
.
В качестве насадки выбраны -
кольца Рашига (100х100х10).
Далее
произведён подробный расчёт теплообменника.В итоге, из выбранного ряда, больше
всего подходит теплообменник с трубами длиной L=2
м и номинальной поверхностью F=49,0
м2, диаметром кожуха D
= 600 мм, dтр=20
х 2 мм , S=0,078 м2,
n= 389 шт, z
=1 имеют соотношение n/z
= 389.
Также проведён расчёт
вспомогательного оборудования - вентилятора и насоса.
По результатам расчётов был
выбран вентилятор Ц1-2070, для которого при оптимальных условиях работы Q
= 0,575 м3/с, ρ.g.h=1280Па,
n = 46,7 с-1 с
двигателем 4А80А2 со следующими характеристиками Рном=1,5 кВт, nдв=2850
об/мин.
По итогам расчёта насоса более
всего соответствует центробежный насос марки Х8/30, для которого при
оптимальных условиях работы Q
= 2,4*10-3 м3/с, H=24м,
ηн
= 0,5. Насос обеспечен двигателем АО2-32-2 номинальной мощностью Nн
= 4 кВт, ηдв
= 0,82. Частота вращения вала n=
48,3с-1.
СПИСОК
ИСПОЛЬЗОВАННОЙ ЛИТЕРАТУРЫ
1. Касаткин А. Г.
Основные процессы и аппараты химической технологии. Изд. 9-е. М.: Химия, 1973.
- 750 с.
2. Справочник
химика. М-Л.: Химия, Т. III,
1962. 1006 с. Т. V, 1966. -
974 с.
. Дытнерский
Ю.И. Основные процессы и аппараты химической технологии. Пособие по
проектированию. - М.: Химия, 1991. - 496 с.
4. Павлов В.Ф.,
Романков П.Г., Носков А.А. Примеры и задачи по курсу процессов и аппаратов
химической технологии: Учебное пособие для вузов.- Л.: Химия, 1981. - 560 с
. Рамм В.М.
Абсорбция газов. М.: Химия, 1976. - 391 с.
. Справочник по
теплообменникам. М.: Энергоиздат. 1987.Т.1-561 с; Т.2-352 с.