Проект цеха 'Обжиг' по производству керамического кирпича М 150
Министерство образования и науки
республики казахстан
Южно-казахстанский государственный университет им. М.ауезова
Специальность
050720 - Химическая технология неорганических веществ,
Специализация
- Химическая технология тугоплавких неметаллических и силикатных материалов
ДИПЛОМНАЯ
РАБОТА
Проект цеха
"Обжиг" по производству керамического кирпича М 150
Куланина М.К.
Шымкент, 2011
Аннотация
В данной дипломной работе поставлено решение актуальной на сегодняшний
день проблемы - получение кирпича низкой себестоимости при меньших затратах на
сырье. Проведены исследования по получению кирпича из лесса с добавлением в
сырьевую смесь синтетического волластонита и природного цеолита с целью
повышения качества керамического кирпича, а также был спроектирован цех по
производству керамического кирпича М 150 производительностью 15 млн. штук
условного кирпича в год в городе Туркестан.
Нормативные ссылки
В настоящем дипломном проекте использованы ссылки на следующие
нормативные документы:
ГОСТ 2.104-68 ЕСКД. Основные надписи.
ГОСТ 2.105-95 ЕСКД. Общие требования к текстовым документам.
ГОСТ 2.106-96 ЕСКД. Текстовые документы.
ГОСТ 2.109-73 ЕСКД. Основные требования к чертежам.
ГОСТ 2.111-68 ЕСКД. Нормоконтроль.
ГОСТ 2.301-68 ЕСКД. Форматы.
ГОСТ 2.303-68 ЕСКД. Линии.
ГОСТ 2.304-81 ЕСКД. Шрифты чертежные.
ГОСТ 2.106-96 ЕСКД. Текстовые документы.
ГОСТ 2.306-68 ЕСКД. Обозначения графические материалов и правила их
нанесения на чертежах.
ГОСТ 2.316-68 ЕСКД. Правила нанесения надписей на чертежах, технических
требований и таблиц.
ГОСТ 2.321-84 ЕСКД. Обозначения буквенные.
ГОСТ 8.417-81 ГСИ. Единицы физических величин.
ГОСТ 15.011-82 Порядок проведения патентных исследований.
ГОСТ 6.38-90 Система организационно-распорядительной документации.
Требование к оформлению документов.
МИ ЮКГУ 4.7-007-2004 Дипломное проектирование (Дипломная работа).
ФС ЮКГУ 4.6-001-2004 Правила оформления учебной документации. Общие
требования к текстовым документам.
ФС ЮКГУ 4.7-001-2004 Нормоконтроль документации системы менеджмента качества
и дипломного проекта (работы).
ФС ЮКГУ 4.6-003-2004 Правила оформления учебной документации. Общие
требования к графическим документам.
ФС ЮКГУ 4.6-003-2004 Правила оформления учебной документации. Основные
надписи.
ГОСТ 7025-91 Кирпич и камни керамические и силикатные. Методы определения
водопоглощения, плотности и контроля морозостойкости.
ГОСТ 530-80 Кирпич и камни керамические. Технические условия.
ГОСТ 530-2007 Кирпич и камень керамические. Общие технические условия.
ГОСТ 9169-75 Сырье глинистое для керамической промышленности.
Классификация.
ГОСТ 7484-78 - Кирпич и камни керамические лицевые. Технические условия.
ГОСТ 12.003-74 ССБТ. Опасные и вредные производственные факторы.
Классификация.
ГОСТ 12.1.003-83 Шум. Общие требования безопасности.
ГОСТ 12.2.003-91 ССБТ Оборудование производственное. Общие требования
безопасности.
ГОСТ 12.4.011-75 Средства защиты работающих. Классификация.
ГОСТ 12.4.103 Одежда специальная защитная, средства
индивидуальной защиты ног и рук. Классификация.
ГОСТ 12.1.013-78 Электробезопасность. Защитное заземление.
Зануление.
ГОСТ 12.1.004-85 Пожарная безопасность. Общие требования.
ГОСТ 12.1.010-76 Взрывобезопасность. Общие требования.
СНиП III-24-75 Промышленные печи и кирпичные трубы.
СНиП II-33-75. Отопление, вентиляция и кондиционирование
воздуха.
СНиП 23-05-95. Естественное и искусственное освещение.
СНиП II-2-80. Противопожарные нормы проектирования зданий и сооружений.
Перечень сокращений, условных обозначений и терминов
Сокращения
г. - город
тыс. - тысяча (в тексте тысяч)
др. - другие
т.д. - так далее
М - марка (кирпича)
мк - микрон
лк - люкс
ТБ - техника безопасности
т.е. - то есть
Условные обозначения и термины
Шлюф - более тонкая часть глины, "песочная пыль", получаемая
при отмучивании глины в керамическом производстве.
Плавни - вещества, которые при обжиге глины заполняют в ней поры и
которое способствует лучшему скреплению частиц обжигаемой массы.
Предел прочности - механическое напряжение, выше которого происходит
разрушение материала.
Содержание
1. Введение
. Патентные исследования
. Характеристика сырьевых материалов и выпускаемой продукции
. Выбор и обоснование способа производства
. Технологическая схема производства. Описание
технологических и физико-химических процессов
. Расчет сырьевой смеси
. Расчет материального баланса завода. Определение мощности
производственных отделений
. Расчет и подбор основного технологического оборудования
. Организация технологического контроля
. Научно-исследовательская часть
.1 Обзор литературы
.2 Характеристика сырьевых материалов и методы исследования
.3 Результаты экспериментов
.4 Выводы по научной части
. Охрана окружающей среды
. Охрана труда и безопасность жизнедеятельности
. Экономика и бизнес-планирование
. Заключение
15.
Summary
. Түйіндеме
17. Список использованных
источников
. Введение
производство кирпич добавка нетрадиционный
Строительная керамика - большая группа керамических изделий,
применяющихся при строительстве жилых и промышленных зданий и сооружений.
Керамические стеновые изделия - один из наиболее древних искусственных
материалов, их возраст около 5 тыс. лет. Они отличаются своей долговечностью,
высокими художественными характеристиками, кислотостойкостью и полным
отсутствием токсичности. Применение глины для изготовления керамических изделий
было известно уже в глубокой древности, за несколько тысяч лет до нашей эры.
Ассирийцы и египтяне уже были знакомы с обжигом керамических изделий. В древней
Греции и Риме керамическое производство также было весьма развито.
Лучшими образцами древнерусского керамического производства могут служить
украшения старинных русских соборов (Владимирского, Новгородского и др.) X-XIII
веков. На территории нынешнего Казахстана также было развито производство
строительной керамики. Примером может послужить городище Отрар. Уже в VII-VIII
веках все сооружения в городище были построены из глиняного кирпича [1,4].
Главными направлениями технического прогресса производства строительной
керамики являются: создание новых и совершенствование существующих
технологических процессов, обеспечивающих получение продукции с минимальными
затратами энергетических, материальных и трудовых ресурсов; получение новых
видов строительных материалов и изделий с заданными свойствами, отвечающими
самым высоким требованием строительства; широкое внедрение малоотходных и
безотходных технологий, использование вторичных продуктов производства.
Различные эксплуатационные условия зданий и сооружений, параметры
технологических процессов обуславливают разнообразные требования к строительной
керамике, а отсюда вытекает весьма обширная номенклатура ее свойств: прочность
при нормальной или высокой температуре (последняя характеризует жаро- или
огнестойкость материала), водостойкость, стойкость против действия различных
солей, кислот и щелочей, и т.д. Не менее важна в строительстве и технике
проницаемость (или непроницаемость) материалов для жидкостей, газов тепла,
холода, электрического и радиоактивного излучения. Наконец материалы для
отделки помещений жилых и общественных зданий, садов и парков должны быть красивыми,
долговечными и прочными.
Важнейшие свойства строительной керамики определяет области ее
применения. Только глубокое и всестороннее знание свойств материалов позволяет
рационально и в техническом, и в экономическом отношениях выбрать материал для
конкретных условий использования.
Другой важной задачей является опережающее развитие производства
строительной керамики, неуклонное снижение себестоимости и удельных капитальных
вложений [3,5].
Применение строительных материалов далеко не ограничивается использованием
их только для целей строительства. Без них не может существовать ни одна
область техники.
Производство строительной керамики является важной отраслью народного
хозяйства. В последние десятилетия созданы механизированные заводы, оснащенные
мощными глинообрабатывающими и формующими машинами, механизированными
экономичными сушилками и печами. В настоящее время предусматривается
преимущественное развитие производства изделий, обеспечивающих снижение
металлоёмкости, стоимости и трудоёмкости строительства, веса зданий, сооружений
и повышение их теплозащиты, развитие мощности по производству строительных
материалов с использованием золы и шлаков тепловых электростанций,
металлургических и фосфорных шлаков, отходов горнодобывающих отраслей
промышленности и углеобогатительных фабрик, техническое перевооружение
производства кирпича на базе новейшей техники [37].
Строительный керамический кирпич является самым распространённым местным
стеновым материалом, позволяющим экономить дефицитные металлы, цемент, а также
транспортные средства. В общем балансе производства и применения стеновых
материалов керамический кирпич занимает более 30%. Кирпич, накапливая солнечную
энергию, медленно и равномерно отдает тепло, что защищает от чрезмерного
нагревания летом и сохраняет тепло зимой. Кирпичная стена "дышит",
пропуская испарения сквозь свою толщу. В результате в помещениях поддерживается
уровень равновесной влажности.
В данный момент в производстве строительного керамического кирпича
сосредоточено внимание на совершенствовании технологии, улучшении качества
выпускаемой продукции и расширении ассортимента. При строительстве новых
предприятий предусматривается установление автоматизированных и
высокомеханизированных технологических линий на базе современного отечественного
и импортного оборудования. Осваивается выпуск эффективной пустотелой продукции,
которая должна постепенно заменять традиционный полнотелый кирпич. Это позволит
не только экономить сырьё, но и уменьшать толщину и массу наружных стен без
снижения их теплозащитных свойств, а также создавать облегчённые конструкции
панелей для индустриализации строительства. Также для производства кирпича
внедряются новые виды сырья и добавок, повышающие прочностные характеристики
кирпича [40].
Актуальность. Возможности использования природного сырья в керамике и
критерии оценки его качества изучены достаточно хорошо. Как правило, в
керамическом производстве применяют легкоплавкие, тугоплавкие и огнеупорные
глины, а в качестве отощителей и плавней используют полевые шпаты, пегматиты и
их заменители. Качество сырья зависит от химического и минералогического
состава. Все используемое сырье должно соответствовать требованиям ГОСТа или
техническим условиям. Однако природное сырье дорогостоящее, так как требуются
большие затраты на его разработку, транспортировку и доработку для приведения в
соответствие с требованиями ГОСТа. Поэтому в настоящее время все актуальнее
использование в керамическом производстве нетрадиционных добавок, которые при
меньшей затрате на сырье, позволит получить кирпич высокой марки. Введение
нетрадиционных добавок в состав масс для получения керамики делает производство
ресурсосберегающим, менее дорогостоящим и в определенной степени способствует
решению экологических проблем окружающей среды.
Цель работы - Разработка
энерго- и ресурсосберегающей технологии производства строительной
керамики на основе местного сырья с включением в сырьевую смесь нетрадиционных
видов добавок.
Научная новизна. Получены зависимости физико-механических свойств прочности,
средней плотности керамических материалов на основе лессового сырья с введением
в шихту нетрадиционных видов добавок.
Практическая значимость работы. Показаны возможности
технологии, открывающие перспективы существенного (на 80-100%) повышения
прочности, сокращения длительности производственного цикла, использования
нетрадиционного сырья, механизации и автоматизации процессов, экономии тепла,
расширения ассортимента продукции.
3 Характеристика сырьевых материалов и выпускаемой продукции
Керамический (красный) кирпич - кирпич, производимый из глины с
применением различных добавок (для регулирования тех или иных свойств) с
последующим обжигом (рис 1). В Казахстане производятся следующие разновидности
керамического кирпича: одинарный кирпич стандартного размера (250х120х65 мм);
полуторный кирпич стандартного размера: 250х120х88 мм. Для экономии средств в
строительстве зачастую используется двойной кирпич. Его размеры отличаются от
стандартного одинарного по высоте: 250-120-138 мм [4].
Существуют подразделения керамического кирпича не только по параметрам,
но и по назначению. В зависимости от своих функций кирпич бывает рядовым,
лицевым и печным. По фактуре поверхностей различают рельефные и гладкие
кирпичи. Существует ещё масса классификаций керамического кирпича. Он бывает
пустотелым, или экономичным (часто употребляют варианты "самонесущий"
и "дырчатый"); полнотелым, или строительным или облицовочным.
Основные технические показатели керамического кирпича зафиксированы в ГОСТ
7484-78 "Кирпич и камни керамические лицевые. Технические условия" и
ГОСТ 530-95 "Кирпич и камни керамические. Технические условия". По
которым вес готового кирпича не должен превышать 4,3 кг. В обозначениях кирпича
должны быть обозначены характеристики и морозостойкости, они указываются буквой
F с цифровым указанием количества циклов замерзания и оттаивания в
испытательной термокамере. Буквой М обозначается норма прочности на сжатие.
Цифровой показатель обозначает прочность кирпича при испытаниях на сжатие на
прессах.
Рис 1 - Керамический кирпич
Если кирпич содержит в себе различные примеси (к примеру, крупные куски
известняка или камней) лучше отказаться от его использования. В противном
случае, это может плохо сказаться не только на внешнем виде дома, но, самое
важное, на его безопасности. Если при ударе кирпич издаёт глухой звук и, к тому
же имеет горчичный цвет, обратите внимание, это тоже брак. В своё время он был
плохо обожжён в печи[5,6].
Керамический кирпич очень функционален. Его можно применять практически
везде: при закладке фундамента, возведении стен, в печах и каминах (исключение
составляют такие места, где происходит непосредственное соприкосновение с
огнем), для облицовки зданий и их внутренней отделки.
Сырьевые материалы, используемые в производстве керамического кирпича,
подразделяются на пластичные (глинистые), непластичные (отощающие, выгорающие и
плавни)[3].
К глинистым материалам относятся глины и каолины. Согласно ГОСТ 9169-75 глинистое сырье представляет собой горные породы,
состоящие в основном из глинистых минералов (каолинит, монтмориллонит,
гидрослюда).
В техническом понимании глинами называют горные землистые породы,
способные при затворении водой образовывать пластичное тесто, которое в
высушенном состоянии обладает некоторой прочностью (связностью), а после обжига
приобретает камнеподобные свойства[7].
Согласно ГОСТ 9169-75 глинистое сырье классифицируют:
- по огнеупорности;
по содержанию А12О3;
по содержанию красящих оксидов (Fe2О3,
ТiO2,);
по содержанию водорастворимых солей;
по минеральному составу;
по содержанию тонкодисперсных фракций;
по содержанию крупнозернистых включений;
по пластичности;
по механической прочности на изгиб в сухом состоянии;
по спекаемости;
по содержанию свободного кремнезема.
Минералогический состав глин представлен каолинитом, монтмориллонитом,
гидрослюдой и другими минералами и примесями.
Каолинит имеет химическую формулу Al2O3•2Si2O2•2H2O. Его кристаллическая решетка
характеризуется относительно плотным строением с наименьшим расстоянием между
закономерно повторяющимися группами ионов и неподвижна. Поэтому каолинит не
способен присоединять и прочно удерживать большое количество воды. При сушке он
сравнительно свободно отдает присоединенную воду. Размеры частиц каолинита от 1
до 3 мк.
Монтмориллонит имеет химическую формулу Al2O3•4Si2O2•H2O•nH2O. Эта
формула не совсем точно отражает состав монтмориллонита, так как в состав
кристаллической решетки некоторых разновидностей этой группы минералов входят
также Mg, Fe, Na.
Кристаллическая решетка монтмориллонита имеет слоистое строение, отдельные слои
в ней могут раздвигаться под воздействием вклинивающихся молекул воды. В связи
с этим монтмориллонит способен интенсивно поглощать довольно большое количество
воды, прочно ее удерживать и трудно отдавать при сушке, а также сильно набухать
при увлажнении - объем увеличивается в 16 раз. Размеры частиц монтмориллонита
много меньше 1 мк.
Гидрослюда является продуктом многолетней
гидратации слюд и имеет химическую формулу K2O•MgO•4Al2O3•7SiO2•2H2O. Кристаллическая решетка у этого
минерала не разбухающая. По интенсивности связи с водой он занимает среднее
положение между каолинитом и монтмориллонитом. Характерной особенностью
минерала является то, что в его составе принимают участие окcиды щелочных и щелочноземельных
металлов, а также способность отдельных катионов к изоморфным замещениям. Так, Si4+ может замещаться Аl3+, а последний - Mg2+. Размеры частиц гидрослюды около 1
мк[10].
В зависимости от количественного преобладания того или
иного глинистого минерала различают глины каолинитовые, монтмориллонитовые,
гидрослюдистые и т.п.
Примесями являются все компоненты глинистой породы, не
входящие в состав глинообразующих минералов. В составе примесей различают их
тонкодисперсную часть и включения. Согласно ГОСТ 9169 включениями считаются
зерна величиной более 0,5 мм. Для глин, используемых в технологии грубой
строительной керамики, к включениям относятся зерна величиной более 2 мм.
Кварцевые примеси встречаются в глине в виде
кварцевого песка и тонкодисперсной кварцевой пыли - шлюфа. Они отощают глину,
ухудшая ее формовочные свойства. Кварцевый песок улучшает сушильные свойства
глин, а шлюф - ухудшает. Обжиговые свойства глин кварцевые примеси ухудшают,
понижая трещиностойкость обожженных изделий при их охлаждении. Кроме того, они
понижают прочность, а иногда и морозостойкость обожженных изделий.
Карбонатные примеси встречаются в глинах в трех
структурных формах: в виде тонкодисперсных равномерно распределенных пылеватых
частиц, составляющих с остальной частью породы однородную массу, в виде рыхлых
примазок и мучнистых стяжаний и в виде плотных каменистых конкреций, которые
являются включениями.
Тонкодисперсные карбонатные примеси, разлагаясь при
обжиге по схеме СаСО3→СаО + СО2, обусловливают
повышенную пористость керамического черепка и некоторое понижение его
прочности. При производстве стеновых материалов они не являются вредными,
однако ухудшают свойства глин, используемых для производства изделий со
спекшимся черепком. Каменистые карбонатные включения являются вредными, вызывая
в изделиях характерные пороки, получившие название "дутика"[3,4].
Железистые примеси встречаются в виде тонкодисперсных
равномерно распределенных минералов лимонита, гидроокида железа и включений
пирита. Тонкодисперсные железистые примеси придают глине окраску от
светло-коричневого до темно-красного тона, а обожженному керамическому черепку
- от кремового и бледно-розового до красного.
При обжиге изделий в восстановительной среде железистые оксиды переходят
из окисных соединений в закисные (восстанавливаются), окрашивающие изделие в
сине-зеленоватый цвет. При увеличении содержания железа цвет глины после обжига
делается все более темным и может стать черным. Красящее действие оксидов
железа значительно ослабляется при наличии в глине карбонатных примесей.
Щелочные оксиды в примесях глин присутствуют обычно в
виде полевошпатового песка и растворимых солей. Последние при сушке изделия
мигрируют по капиллярам на его поверхность, а после обжига спекаются с
черепком, образуя на внешней поверхности изделия белые налеты, портящие цвет
черепка (так называемые "высолы").
Органические примеси окрашивают глину в черный цвет. В
обжиге они выгорают, выделяя газы и обусловливая восстановительную среду внутри
черепка. Эти явления могут являться источником определенных пороков
("пузыря") при обжиге изделий с плотным черепком.
В химическом составе глин принимают участие следующие основные
оксиды: SiО2, А12О3,
СаО, MgO, Fe2О3, ТiO2,
К2O, Na2O [5,
7].
Кремнезем Si02 находится в глинах в связанном и
свободном состояниях: связанный кремнезем входит в состав глинообразующих
минералов, свободный представлен примесями кварцевого песка и шлюфа.
Определение химическим анализом содержания свободного кремнезема является особо
важным при оценке пригодности глин для производства кирпича. Общее содержание
кремнезема в глинах составляет 60-65°/0 и в запесоченных глинах
достигает 80-85%.
Глинозем А12О3 находится в глинах в связанном
состоянии, участвуя в составе глинообразующих минералов и слюдистых примесей.
Он является наиболее тугоплавким оксидом: с повышением его содержания
огнеупорность глин возрастает. Так как содержание слюдистых примесей в глинах
обычно невелико, то содержание в них глинозема косвенно отражает относительную
величину глинистой фракции, содержащейся в глинистой породе. Содержание
глинозема колеблется от 10-15% в кирпичных и до 32-35% в наиболее ценных
сортах огнеупорных глин.
Известь СаО и магнезия MgO в небольших количествах участвуют в составе глинистых
минералов. При относительно высоких температурах обжига известь вступает в
реакцию с глиноземом и кремнеземом и, образуя эквтектические расплавы в виде
алюмокальциевых силикатных стекол, резко понижает температуру плавления глины.
Оксид железа Fe2О3 содержится в глинах в виде примесей и оказывает на них и на
обожженный черепок прежде всего красящее действие. Температуру плавления глины
оксиды железа заметно понижают лишь при обжиге в восстановительной среде.
Содержание оксидов железа (в пересчете на Fe2О3) находится в пределах от долей процента в
наиболее чистых беложгущихся глинах до 8-10% в кирпичных.
Диоксид титана ТiO2 участвует в примесях и его
содержание не превышает 1,5%. Диоксид титана придает обожженному черепку
окраску зеленоватых тонов.
Щелочные оксиды К2O, Na2O входят в состав некоторых
глинообразующих минералов, но в большинстве случаев присутствуют в примесях в
виде растворимых солей и полевошпатных песках. Их содержание составляет до
5-6%. Они ослабляют красящее действие Fe2О3
и ТiO2 и понижают температуру плавления глин.
Добавки к глинам вводятся для регулирования свойств керамики и снижения
расхода дефицитных глин. По влиянию на свойства они делятся на: отощающие,
выгорающие, флюсующие, химические и специального назначения.
Отощающие добавки - это материалы, снижающие пластичность и усадку глин в
сушке и обжиге. К ним относятся: кварц, шамот, золы, шлаки. [3-7].
1. Кварцевые материалы - наиболее распространенные природные отощающие добавки. К
ним относятся жильный кварц, кварцевые пески и кремень. Они состоят из
кремнезема и являются отощителями из-за способности не давать усадку при сушке
и обжиге. Кварц и его кристаллические разновидности устойчивы к действию кислот
(за исключением плавиковой) и менее стойки к щелочам. Степень воздействия
щелочей на кварц тем выше, чем мельче его зерна. При нагревании кварц претерпевает
модификационные превращения в твердой фазе: при 575°С он перекристаллизуется из
β-кварца в α-кварц с увеличением объема, что может
привести к растрескиванию изделий. При 870°С он превращается в тридимит, а при
1410°С - в кристобалит. При 1710°С кварц плавится и при резком охлаждении дает
кварцевое стекло. Эти особенности кварца в технологии керамики известны и
учитываются при разработке режимов обжига: при температурах указанных
превращений скорость подъема и охлаждения замедляют. Заменителями жильного
кварца могут быть чистые кварцевые пески, а также пески, получаемые при
отмучивании каолинов.
2. Шамот изготовляют обжигом огнеупорных или тугоплавких глин при температурах
1000…1400°С. Его применяют как отощитель керамических масс, при производстве облицовочных
плиток, фарфора и фаянса, шамотных огнеупоров. Шамот в отличие от других
отощителей не понижает огнеупорности масс. Зерновой состав и количество шамота
определяются рецептурой массы для разных видов изделий. Лучше применять его
тонкозернистым и при совместном помоле с глинистыми минералами для равномерного
распределения в массе.
На многих керамических заводах вместо шамота применяют измельченный бой
готовых изделий или утильного обжига, а также бой огнеупоров, который
предварительно сортируют и очищают от загрязнений. На кирпичных заводах вместо
шамота используют молотый обожженный кирпич. Но количество этих отходов
невелико, поэтому они не оказывают заметного влияния на свойства масс.
Применение боя и отходов кирпича важнее с точки зрения их утилизации, создания
безотходных технологий и охраны окружающей среды.
3. Дегидратированная глина применяется при недостатке отощителей. Она получается
нагреванием обычной глины до 600…700°С, когда та теряет пластичность при
удалении химически связанной воды. Ее применяют чаще в производстве грубой
строительной керамики. Это позволяет снизить сроки сушки без появления трещин
на изделиях, расширить базу отощителей.
Флюсующиеся добавки (плавни)
Флюсующие материалы (плавни) - это материалы, взаимодействующие в обжиге с
глинистыми минералами с образованием более легкоплавких соединений. Поэтому
введение в состав массы плавней улучшает степень спекания и снижает температуру
обжига. Плавни делят на две группы: флюсующие, имеющие низкую температуру
плавления, - полевые шпаты, пегматиты, сиениты - и материалы с высокой
температурой плавления, но дающие при обжиге легкоплавкие соединения с
компонентами массы - мел, доломит, тальк.
1. Полевые шпаты представляют собой плавни, широко применяемые в производстве
тонкой керамики. Различают следующие виды полевых шпатов.
Калиевый полевой шпат (ортоклаз) - K2O·Al2O3·6SiO2. Цвет его от белого, серого,
желтоватого до коричнево- и темно-красного в зависимости от примесей. Плотность
- 2,55 г/см3. Температура начала плавления - 1200°С.
Натриевый полевой шпат (альбит) - Na2O·Al2O3·6SiO2 . Цвет белый, чаще светлых оттенков,
но встречается также красного, желтого, серого и других тонов. Плотность - 2,6
г/см3 , температура плавления - 1160…1190°С.
Известковый полевой шпат (анортит) - СаО·Al2O3·2SiO2. Обычно желтоватого цвета. Температура плавления
около 1550°С.
Плагиоклазы - это полевые шпаты, содержащие смесь альбита и анортита в
разных соотношениях. Обычно белого цвета. Плотность 2,62…2,76 г/см3.
Полевые шпаты редко встречаются в чистом виде, чаще - в смеси этих
минералов. Основное требование, предъявляемое к ним - легкоплавкость. При
введении в состав массы в обжиге они образуют вязкое стекло, которое в
фаянсовых массах частично заполняет поры и способствует спеканию. В фарфоровых
массах полевой шпат с другими компонентами образует сплавы, заполняющие поры до
монолитного стекловидного состояния. Реакционная способность расплава
возрастает с повышением температуры и тонкости помола компонентов. У альбитов
она выше, чем у ортоклазов и плагиоклазов. Вредные примеси в полевых шпатах -
оксиды железа, которых должно быть не более 0,1…1%.
Пегматиты - это полевые шпаты, проросшие кристаллами кварца, содержание
которого может колебаться в широких пределах. Ввиду того, что кварц и полевой
шпат являются компонентами фарфоровых и фаянсовых масс, пегматиты являются
заменителями полевых шпатов и частично кварца. Поведение пегматита в обжиге
зависит от свойств полевого шпата, входящего в его состав: температуры
плавления и растворяющей способности[3-5].
2. Нефелиновые сиениты представляют собой сростки минерала нефелина (алюмосиликат
натрия) с полевым шпатом. Температура плавления нефелина около 1200°С,
содержание щелочей - до 20%. Нефелиновые сиениты используются керамической
промышленностью в качестве заменителей полевых шпатов при производстве изделий,
не требующих белизны черепка (плитки для полов, кислотоупорные изделия).
Нефелиновые сиениты, особенно бокситы, применяемые в керамической
промышленности, являются попутными отходами горно-обогатительных комбинатов и
получаются в виде тонкомолотых порошков. Поэтому их использование экономически
выгодно. Но они загрязнены железистыми и магнезиальными примесями и имеют
темно-серую окраску. Поэтому в производстве фаянса и фарфора не применяются.
Наряду с нефелиновым сиенитом ведутся успешные опыты по использованию других
щелочесодержащих пород в качестве заменителей полевых шпатов, например
гранитов. Помимо указанных добавок в производстве разных видов керамических
изделий используются и другие добавки. Их характеристика и влияние будут
рассмотрены при описании технологии соответствующих видов изделий.
Выгорающие добавки
Выгорающие добавки выгорают в обжиге почти целиком (за исключением зольной части). В
технологии керамики они чаще применяются при производстве стеновых материалов.
К ним относятся опилки, уголь, золы ТЭЦ.
1. Древесные опилки при производстве строительного кирпича вводятся в массу для
улучшения сушильных свойств полуфабриката (сырца). Являясь длинноволокнистыми,
опилки армируют глинистые частицы и повышают сопротивление разрыву керамической
массы и трещиностойкость в сушке. В обжиге они выгорают, оставляя в керамике
относительно крупные поры, увеличивающие водопоглощение кирпича,
теплоизоляционные свойства, но снижающие морозостойкость. В кирпичные массы
добавляют обычно 5…10% опилок (от объема глины). В таком количестве они
ускоряют сушку и существенно не снижают прочность кирпича, несмотря на
увеличение пористости. Наиболее эффективно повышают трещиностойкость кирпича
опилки продольной резки.
2. Антрацит и тощие каменные угли добавляют в глину до 60% от
требуемого на обжиг объема топлива, или 2…2,5% от объема глины. В таких
количествах каменный уголь оказывает небольшое влияние на пористость кирпича.
Основное его назначение - создать восстановительную среду в толще обжигаемого
материала. Это интенсифицирует процесс спекания и упрочнения керамики. В изломе
кирпича, полученного из глины и угля, видна темно-малиновая уплотненная зона,
повышающая его прочность.
3. Бурые угли добавляют в глину с той же целью. При их использовании
увеличивается недожог кирпича вследствие улетучивания горючих веществ при
температурах ниже температуры их воспламенения. Выделение тепла и газов
происходит более равномерно и в более широком температурном интервале, чем при
вводе антрацита, поэтому почти не возникает пережог кирпича, и его обжиг можно
вести более уверенно.
4. Золы ТЭЦ также используются в качестве добавок в глину при
производстве кирпича. Они действуют как отощители, а при наличии в золе
недожога - невыгоревшего остатка кокса - как выгорающие добавки[4-6].
4. Выбор и обоснование способа производства
При производстве керамического кирпича используется метод полусухого
прессования и метод пластического формования.
Пластический способ производства керамического кирпича осуществляется по
следующей схеме. Поступившую на завод глину подвергают обработке до получения
пластичной однородной массы. Для этого глиняное сырье сначала подвергают
измельчению на вальцах: глиняная масса поступает на поверхность двух валков, которые
вращаются навстречу друг другу, в результате чего глина втягивается в зазор
между ними и измельчается. Валки могут иметь разные диаметры и вращаться с
неодинаковой частотой, в результате чего измельчение протекает интенсивнее. Для
более эффективного измельчения к вальцам добавляют бегуны. Затем смесь
поступает в глиносмеситель, где она увлажняется до 18...25% и перемешивается до
получения однородной пластичной массы. Тщательно приготовленная однородная
масса поступает затем в ленточный пресс [48].
Для получения кирпича более высокой плотности и улучшения формовочных
свойств глин применяют вакуумные ленточные прессы. Поступающую в ленточный
пресс глиняную массу с помощью шнека уплотняют, после чего она подается к выходному отверстию в мундштук. Из последнего выходит
непрерывный глиняный брус, который попадает на автомат для резки и укладки
кирпича-сырца на вагонетки камерных или туннельных сушил.
Процесс обжига условно можно разделить на три периода: прогрев,
собственно обжиг и охлаждение. В период прогрева из сырца удаляется
гигроскопическая и гидратная влага, сгорают органические примеси, равномерно
прогревается масса и разлагаются карбонаты. При обжиге происходит расплавление
наиболее плавкой составной части глины, которая обволакивает нерасплавившиеся частицы
глины, спекая массу. Период охлаждения сопровождается образованием камня [50].
Обжиг кирпича производят в печах непрерывного действия - кольцевых и
туннельных. Кольцевая печь представляет собой замкнутый обжигательный канал,
условно разделенный на камеры. Эти печи отличаются высокой трудоемкостью и
тяжелыми условиями труда, поэтому на новых заводах их не строят. Туннельная
печь является наиболее совершенной. Она представляет собой канал сечением
3,5...5,5 м2, длиной до 100 м. В канале уложены рельсы, по которым движутся
вагонетки с кирпичом-сырцом. Туннельная печь имеет три зоны: подогрева, обжига
и охлаждения, - через которые последовательно в течение 18...36 ч проходят
вагонетки с кирпичом-сырцом. Туннельные печи наиболее экономичны из-за более механизированного
производства, а также лучшего использования тепла. Брак кирпича в туннельных
печах сравнительно небольшой.
Полусухой способ производства керамического
кирпича имеет преимущество перед пластическим. Он не требует сушки изделий и позволяет
использовать малопластичные глины. Вместе с тем уменьшается потребность в
производственных площадях и рабочей силе. Однако качество кирпича, получаемого полусухим способом, в частности
морозостойкость, ниже, чем кирпича, полученного пластическим прессованием. При
полусухом способе формования сырьевые материалы после предварительного
измельчения на вальцах высушивают в сушильном барабане до влажности 6...8%,
затем измельчают в дезинтеграторе, просеивают, увлажняют до 8...12% и тщательно
перемешивают. Подготовленную массу формуют (прессуют) на гидравлических или
механических прессах производительностью до 10 000 шт/ч. Отформованный кирпич
направляют в печь на обжиг и далее на склад [53].
Каждый из способов производства имеет свои преимущества и недостатки. При
наличии рыхлых глин и глин средней плотности с влажностью не выше 23-25%
применяют пластический способ переработки глин; для слишком плотных глин, плохо
поддающихся увлажнению и обработке с низкой карьерной влажностью (менее
14-16%),-полусухой способ переработки.
Технологическая схема производства изделий с пластическим способом
подготовки массы, несмотря на свою сложность и длительность, наиболее
распространена в промышленности стеновой керамики. Метод формования из
пластических масс исторически сложился на основе пластических свойств глин и
широко используется в керамической технологии. Способ пластического формования
позволяет выпускать изделия в широком ассортименте, более крупных размеров,
сложной формы и большей пустотности. В отдельных случаях предел прочности при
изгибе и морозостойкость таких изделий выше, чем у изделий, полученных способом
полусухого прессования из того же сырья [8,9].
При переработке глин в сыром виде схема подготовки сырья несколько проще
и экономичней, поскольку нужно меньше перерабатывающего оборудования,
следовательно, меньше энергоемкость. Все оборудование более надежно и просто в
обслуживании. Температура обжига изделий примерно на 500С ниже, чем
у изделий полусухого прессования, что позволяет также снизить энергозатраты на
обжиг и в какой-то мере компенсируют высокие затраты на сушку.
Недостатком способа пластического формования является большая
длительность технологического цикла за счет процесса сушки сырца,
продолжающегося от 1 до 3 суток. Низкая прочность формованного сырца, особенно
пустотелого, большая усадка материала при сушке и наличие отдельного процесса
сушки затрудняет возможность механизации трудоемких операций при садке сырца на
сушку, перекладке высушенного сырца для обжига и совмещения в одном агрегате
процессов сушки и обжига.
Чтобы получить изделия требуемого качества необходимо из глины удалить
каменистые включения, разрушить ее природную структуру, получить пластичную
массу, однородную по вещественному составу, влажности и структуре, а также
придать массе надлежащие формовочные свойства [23].
Еще одним недостатком метода пластического формования является то, что
для получения качественного кирпича глину необходимо качественно переработать,
что требует больших затрат на электроэнергию. Поэтому большинство отечественных
предприятий использует минимальный комплект перерабатывающего оборудования, что
отнюдь не способствует качеству выпускаемого кирпича.
Особенно хочется сказать об использовании парка сушильных и обжиговых
вагонеток. Так, для кирпичного завода мощностью 10 млн. штук кирпича в год,
требуется около 100 обжиговых вагонеток и 500-800 сушильных вагонеток.
Учитывая, что и те и другие вагонетки работают в агрессивных средах, срок их
эксплуатации небольшой, и как следствие стоимость ремонта и возобновления парка
вагонеток занимает значительное место в себестоимости кирпича.
Также пластический метод формования имеет еще несколько преимуществ -
широкий ассортимент продукции - от поризованной керамики с пустотностью 50 % и
с плотностью до 700-800 кг/м3 до полнотелого клинкерного кирпича с плотностью
до 2200-2300 кг/м3, получение кирпича с высокой маркой и морозостойкостью,
отработанность технологии, как самой распространенной в мире, большой выбор
оборудования [27].
Основные преимущества кирпича полусухого прессования - относительно
низкая цена, ровные плоскости, высокая скорость производства. Также формование
происходит при влажности порошка 8-10%, то есть отформованный кирпич не требует
сушки и подается сразу после формовки в печь. При производстве кирпича полусухим
прессованием не требуются ввод в глину добавок для улучшения сушильных свойств
кирпича, даже при наличии в глине солей, они не выступают на поверхности
кирпича, а также технологическое оборудование более простое и потребляет
значительно меньше электроэнергии. Оборудование для производства строительного
кирпича стоит в несколько раз дешевле, отсутствует отделение для сушки кирпича,
которое обычно занимает большое пространство [54].
Недостатками полусухого прессования являются более сложное прессовое
оборудование, несколько больший объемный вес получаемого кирпича и меньший
предел прочности его при изгибе, а также меньшие значения морозостойкости
строительного кирпича. Еще одним важным недостатком считается трудность
получения прочного кирпича-сырца без трещин расслаивания из-за упругой
деформации. И для получения сырца без трещин подбирают оптимальный режим
длительности прессования.
С учетом всех достоинств и недостатков предложенных способов производства
керамического кирпича в дипломной работе для изготовления керамического кирпича
будет использоваться пластичный метод формования из-за повышенной для
полусухого прессования влажности глины, из-за простоты производства и
необходимости получения строительного кирпича высоких марок прочности [38].
5. Технология производства керамического кирпича
Схема 1
Добыча и усреднение глины
Перед началом работ по добыче глины на карьерах проводят подготовительные
и вскрышные работы, обеспечивающие в дальнейшем нормальную бесперебойную работу
по добыче.
При подготовительных работах удаляют растительность, устраивают
водоотводные канавы и подъездные пути. В качестве машины для удаления
растительности служат кусторезы, корчеватели.
При вскрышных работах удаляют растительный слой, почву, подзол, песок,
т.е. все непригодные для производства слои, покрывающие толщу глины.
Землеройное оборудование и способ вскрышных работ выбирают в соответствии с
особенностями месторождения и рельефа местности на основе проекта разработки
карьера. Для вскрышных работ применяют колесные скреперы, бульдозеры, иногда
многоковшовые экскаваторы, а в отдельных случаях гидромониторы [22,23].
В качестве глинодобывающих машин применяют, как правило, многоковшовые и
одноковшовые экскаваторы. В отдельных случаях используют скреперы, бульдозеры и
струги. Однако эти машины целесообразно применять лишь при благоприятных
горногеологических условиях, равномерном и однородном залегании сырья и
достаточной мощности.
Свойства глины, добываемой в карьере, неоднородны. По толщине залегания
обычно меняется пластичность, засоренность, влажность и химический состав
сырья. Поэтому глины, залегаемые в карьерах в их естественном состоянии, без
предварительной подготовки непригодны для изготовления кирпича. Для того чтобы
получить из имеющегося сырья высококачественный кирпич, необходимо сделать
глиняную массу однородной, т.е. усреднить ее.
Усреднение глины производят в процессе ее добычи в карьере, а также путем
перевалки ее в открытые глинозапасники, так называемые "конусы" или
же в стационарные глинохранилища закрытого типа.
Усреднение глины с дополнительным ее вылеживанием даже в больших массивах
улучшает перемешивание разнородных по свойствам слоев глины, содействует
некоторому разрушению ее природной структуры, повышает эффективность
последующей ее механической обработки [23,27].
В зависимости от объема потребляемой глины, расстояния от места добычи
глины к месту ее потребления и рельефа местности выбирают тот или иной вид
транспорта: безрельсовый - автомашины, скреперы, бульдозеры; рельсовый -
мотовозы, электровозы, канатная тяга. Для внутрицехового транспортирования
глины и добавок применяют ленточные конвейеры и ковшовые элеваторы [18,19].
Подготовка добавок
Добавки, применяемые в кирпичном производстве, требуют подготовки,
которая заключается в измельчении их до заданного зернового состава или в
просеивании. Для подготовки добавок применяют щековые, валковые и молотковые
дробилки, шаровые мельницы, барабанные грохоты и др. Выбор дробилки зависит от
твердости и размеров кусков измельчаемых добавок. Перед измельчением кварцевый песок подвергают просеву через сито с
отверстиями 3 мм для отделения крупных включений. Древесные опилки просеивают
через сито с отверстиями 8 - 10 мм.
Угли различных марок (каменные, бурые, антрациты), а также отходы
обожженных изделий для приготовления шамота, шлак измельчают на щековых, затем
на молотковых или валковых дробилках и просеивают через сито с отверстиями 2 -
3 мм. Прошедший через сито уголь используют как выгорающую добавку в
производстве кирпича. Золу ТЭЦ, находящуюся в гидроотвалах
и имеющую высокую влажность, сначала при помощи экскаватора и бульдозера
окучивают в бурты, в которых зола хранится до потери избыточной воды. Затем до
начала зимы золу ТЭЦ завозят на территорию завода и предохраняют от промерзания
в крытых запасниках. Из запасников золу ТЭЦ без дополнительной подготовки можно
подавать в бункер ленточного дозатора. Подготовка
пластифицирующих добавок (бентонитовой глины, сульфитно-спиртовой барды и др.)
заключается в смешивании их с водой и доведении до жидкого состояния [27,28].
Дробление глины
Глину, поступающую в производство, подвергают первичному дроблению в
стругачах, камневыделительных и дезинтеграторных вальцах, предназначенных также
для одновременного удаления из массы твердых включений. Если глину не отделять
от включений, то в дальнейшем каменистые твердые включения могут понизить
прочностные характеристики кирпича и могут повредить оборудование для его
производства[29].
Дезинтеграторные камневыделительные вальцы служат для предварительного
дробления пластичных глин и частичного удаления каменистых включений
(рис.5.1.2.1). Вальцы состоят из двух валков различного диаметра и с различной
скоростью вращения, из которых валок большего диаметра гладкий, а меньшего
диаметра ребристый.
Рис.5.1.2.1 - Дезинтеграторные камневыделительные вальцы СМ-150:
а - общий вид, б - схема; 1 - гладкий валок, 2 - ребристый валок, 3 -
съемные стальные ребра, 4 - шкив малого валка, 5 - шкив большого валка, 6 -
подшипник, 7 - пружина, 8 - передвижные салазки, 9 - рама, 10 - кожух, 11 -
воронка, 12 - направляющий лоток, 13 - отводной лоток.
Дезинтеграторные вальцы работают следующим образом: глина, поступающая
через загрузочную воронку 11 по направляющему лотку 12, попадает на
быстроходный ребристый валок 2. Под ударами ребер этого валка она отбрасывается
на гладкий тихоходный валок, который затягивает ее в зазор между валками.
Каменистые включения при ударе ребер отбрасываются в сторону гладкого валка,
ударяются о верхнюю крышку кожуха 10 и выбрасываются через отводной лоток 13.
Эти вальцы применяют для преимущественно в качестве машины для грубого
дробления плотных и пластичных глин [19,20].
Винтовые камневыделительные вальцы служат для первичного дробления рыхлых
глин и одновременно выделения из них каменистых включений (рис. 5.1.2.2).
Винтовые вальцы этого типа имеют винтовую спираль на одном валке, другой валок
гладкий. Спираль в виде выступающих ребер отводит поступающие с глиной камни в
лоток, находящийся у конца валка.
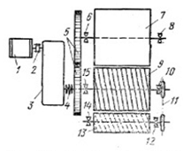
Рис. 5.1.2.3 - Схема камневыделительных винтовых вальцов СМ-416А:
- электродвигатель, 2 - упругая муфта, 3 - редуктор, 4 - уравнительная
муфта, 5 - зубчатые шестерни, 6,8,10,12,14 и 15 - подшипники, 7 - гладкий
валок, 9 - винтовой валок, 11 - цепная передача, 13 - очистной винтовой
скребок.
К валкам прикреплены очистные скребки. Неподвижный скребок очищает
гладкий валок, а подвижный скребок 13 - винтовой валок. Камни выходят с
противоположной от привода стороны [35,36].
Формование кирпича
При производстве керамического кирпича используется метод полусухого
прессования и метод пластического формования, каждый из которых имеет свои
достоинства и недостатки. При наличии рыхлых глин и глин средней плотности с
влажностью не выше 23-25% применяют пластический способ переработки глин; для
слишком плотных глин, плохо поддающихся увлажнению и обработке с низкой
карьерной влажностью (менее 14-16%),-полусухой способ переработки.
Технологическая схема производства изделий с пластическим способом
подготовки массы, несмотря на свою сложность и длительность, наиболее
распространена в промышленности стеновой керамики. Метод формования из
пластических масс исторически сложился на основе пластических свойств глин и
широко используется в керамической технологии. Способ пластического формования
позволяет выпускать изделия в широком ассортименте, более крупных размеров,
сложной формы и большей пустотности. В отдельных случаях предел прочности при
изгибе и морозостойкость таких изделий выше, чем у изделий, полученных способом
полусухого прессования из того же сырья [27].
При переработке глин в сыром виде схема подготовки сырья несколько проще
и экономичней, поскольку нужно меньше перерабатывающего оборудования,
следовательно, меньше энергоемкость. Все оборудование более надежно и просто в
обслуживании. Температура обжига изделий примерно на 500С ниже, чем
у изделий полусухого прессования, что позволяет также снизить энергозатраты на
обжиг и в какой-то мере компенсируют высокие затраты на сушку.
Недостатком способа пластического формования является большая
длительность технологического цикла за счет процесса сушки сырца,
продолжающегося от 1 до 3 суток. Низкая прочность формованного сырца, особенно
пустотелого, большая усадка материала при сушке и наличие отдельного процесса
сушки затрудняет возможность механизации трудоемких операций при садке сырца на
сушку, перекладке высушенного сырца для обжига и совмещения в одном агрегате
процессов сушки и обжига.
Чтобы получить изделия требуемого качества необходимо из глины удалить
каменистые включения, разрушить ее природную структуру, получить пластичную
массу, однородную по вещественному составу, влажности и структуре, а также
придать массе надлежащие формовочные свойства.
Еще одним недостатком метода пластического формования является то, что для
получения качественного кирпича глину необходимо качественно переработать, что
требует больших затрат на электроэнергию. Поэтому большинство отечественных
предприятий использует минимальный комплект перерабатывающего оборудования, что
отнюдь не способствует качеству выпускаемого кирпича.
Также пластический метод формования имеет еще несколько преимуществ -
широкий ассортимент продукции - от поризованной керамики с пустотностью 50 % и
с плотностью до 700-800 кг/м3 до полнотелого клинкерного кирпича с плотностью
до 2200-2300 кг/м3, получение кирпича с высокой маркой и морозостойкостью,
отработанность технологии, как самой распространенной в мире, большой выбор
оборудования.
После ознакомления со всеми недостатками и достоинствами методов
формования в дипломной работе для изготовления керамического кирпича будет
использоваться пластичный метод формования [22,23,29].
Смешивание сырьевых компонентов
После первичного дробления и частичного удаления крупных включений
необходимо смешать глину с добавками. Смешивание сырьевых компонентов имеет
важную роль в технологии производства кирпича, так как лучшая гомогенизация
сырьевой смеси дает возможность получать качественную продукцию. Для смешивания
глины с добавками применяют одновальные и двухвальные смесители. В настоящее
время чаще используют двухвальные смесители как более производительные.
Кирпичные заводы оснащены двухвальными смесителями СМК-18 (СМ-246) с
пароувлажнением и СМ-447А без пароувлажнения. Лопастный двухвальный смеситель с
пароувлажнением СМК-18 (СМ-246) (рис.5.2.1.1) представляет собой корпус в виде
корыта, в котором помещены два вала с лопастями 6. Со стороны
выгрузочного отверстия 3 конец вала вращается, в опорном подшипнике 4.
Смеситель снабжен трубой 7 для подачи пара и трубой 8 для подачи воды.
Труба 8 укреплена в верхней части корпуса и снабжена вентилем, которым
регулируют подачу воды.
Рис. 5.2.1.1 - Двухвальный смеситель СМ-446:
- упорный подшипник вала, 2 - валы, 3 - корпус, 4 - шестеренчатая
передача, 5 - редуктор привода, 6 - электродвигатель, 7 - опорные стойки, 8 -
выгрузочное устройство, 9 - труба для подачи пара, 10 - труба для подачи воды,
11 - лопасти.
В днище корпуса устроены щели для распределения пара и люк для выгрузки
массы. К нижней части корпуса приварены пять конденсационных цилиндров 2. Эта
часть закрыта теплоизоляционным кожухом, заполненным минеральной ватой.
Верх корпуса закрыт корытообразной крышкой 5, которая является его
продолжением и служит для сохранения тепла и уменьшения утечки пара; на крышке
сделан загрузочный люк.
Двухвальный смеситель без пароувлажнения СМ-447А отличается от описанного
отсутствием корытообразной крышки, щелей для подачи пара, конденсационных
цилиндров, уменьшенными размерами и производительностью.
Глина и добавки в заданной пропорции непрерывно загружаются в смесители и
смешиваются насаженными на валы вращающимися лопастями, которые одновременно
продвигают смесь к разгрузочному отверстию. Скорость смешивания и обработку
массы регулируют, изменяя угол наклона лопастей.
При работе смесителя необходимо следить за тем, чтобы равномерно
подавались компоненты шихты. Нельзя допускать перегрузки смесителя.
Корпус смесителя должен бытъ накрыт металлической решеткой. Становиться
на нее, а также проталкивать массу сквозь решетку каким-либо предметом
запрещается. Брать пробу глины из смесителя во время его работы можно только
специальным совком. В процессе работы не допускается открывать крышку и снимать
решетку [19-21,31,35].
Вторичное измельчение и обработка глиняной массы.
Для вторичного измельчения и обработки глиняной массы применяют дырчатые
вальцы, бегуны мокрого помола и глинорастиратели. В зависимости от свойств
массы и требуемой степени ее обработки в технологическую линию включают ту или
иную машину или две из них [17,19].
Бегуны мокрого помола СМ - 365 (рис.5.2.2.1) являются наиболее мощными и
состоят из следующих основных узлов: станины 20, представляющей собой
металлические колонны, которые связаны крестовиной; ступицы; чугунной чаши 16,
в которой расположены стальные плиты 17 с овальными продолговатыми
отверстиями и сплошные плиты 18; вертикального вала 4, нижним
концом опирающегося на шариковый подпятник; центральной головки; двух катков 22;
разгрузочной тарели 13 и кожуха 8.
Рабочим органом являются катки. Они состоят из корпуса 5 и чугунного бандажа 6. Бандаж соединяют с корпусом
клиньями, которые вставляют в пазы между
корпусом и бандажом и стягивают болтами. Катки вращаются одновременно вокруг
горизонтальной оси и вертикального вала 4. В
ступице бандажей катков установлены два подшипника для оси катка.
Рис. 5.2.2.1 - Бегуны мокрого помола СМ-365:
1 - тарель, 2 - вращающаяся течка, 3 - пружинный прижим, 4 - вертикальный
вал, 5 - корпус катка, 6 - бандаж, 7 - коленчатый вал, 8 - кожух, 9 -
электродвигатель, 10 - уравнительная муфта, 11 - фрикционная муфта, 12 -
редуктор, 13 - разгрузочная тарель, 14, 15 - конические шестерни, 16 - чаша, 17
- дырчатая плита, 18 - сплошная плита, 19 - разгрузочный скребок, 20 - станина,
21 - очистительный скребок, 22 - каток.
На ось катка насажен кронштейн со скребком 21 для очистки
поверхности катка от глины катки установлены на одинаковом расстоянии от
вертикального вала с тем, чтобы перекрывать большую площадь на чаши.
Бегуны снабжены устройством для увлажнения глины, состоящим из
водопроводной трубы, зонта резервуара и поливных трубок. Трубки вращаются
вместе с вертикальным валом. Зонт с водопроводной трубой, расположенные над
резервуаром, остаются неподвижными.
Бегуны приводятся в работу от привода, состоящего из электродвигателя 9,
двухступенчатого редуктора 12 и пары конических шестерен 14 и
15. Между двигателем и редуктором установлена фрикционная муфта 11. На
шестерне 14 закреплена состоящая из двух полудисков разгрузочная тарель 13
с ограждением и окном для выгрузки глины. У разгрузочного окна над тарелью
установлен скребок 19, который прикреплен к кронштейну. Бегуны включают
и отключают с помощью рычага [18,19,24].
Масса, обработанная в чаше и продавленная сквозь отверстия в подовых решетках,
поступает на разгрузочную тарель и по разгрузочному скребку выходит через
разгрузочное окно.
Обработка на бегунах трудно размокаемых глин улучшается, если глину
предварительно увлажняют горячей водой или паром в смесителе, установленном
перед бегунами. При этом целесообразно стандартные плиты с отверстиями сечением
16X50 мм заменять плитами сечением 10x50 мм, что часто делают при
производстве пустотелого кирпича и камней.
На бегунах куски глины под тяжестью катков раздавливаются, а за счет
усилий сдвига, образуемого при вращении катков, куски разрываются и
растираются.
Обработка массы на бегунах резко повышает связность и однородность массы.
Прочность высушенных изделий, изготовленных из обработанной на бегунах массы,
повышается на 30-40%, и увеличивается вследствие этого прочность готовых
изделий. Количество отходов уменьшается [20,21,35].
Формование кирпича-сырца
Изделия из пластичных масс формуют, выдавливая глиняный брус через
профилированные мундштуки шнековых горизонтальных прессов, называемых ленточными.
Затем глиняный брус разрезают на отдельные изделия с помощью резательной
машины.
Различают безвакуумные и вакуумные ленточные шнековые прессы.
Полнотелый кирпич формуют обычно на безвакуумных прессах, а для
производства пустотелого кирпича применяют вакуумные прессы. На кирпичных заводах нашли наибольшее
применение ленточные вакуум-прессы [27].
Ленточный вакуумный комбинированный пресс СМ-443А (рис. 5.2.3.1)
предназначен для пластического формования кирпича из предварительно
подготовленной и вакуумированной глиняной массы влажностью не менее 18%. При
формовании изделий осуществляются перемешивание, пароувлажнение, вакуумирование
и прессование глиняной массы. Основными узлами пресса являются рама,
глиномешалка, вакуум-камера и вакуумная установка, шнековый вал, нагнетательный
валок, прессующий цилиндр, приводной вал и привод.
Рис. 5.2.3.1 Ленточный комбинированный вакуумный пресс СМ-443А 1 -
коробка привода; 2 система передач; 3 вал; 4 - станина; 5 - смеситель; 6 -
верхний шнек; 7 - вакуум-камера; 8 - нижний шнек; 9 - цилиндр; 10 - головка
пресса
Перед подачей в вакуум-камеру глиняная масса уплотняется в конусной части
смесителя, заполняет его выходную часть, проходит через кольцевое отверстие и
разрезается ножами на слои небольшой толщины (10-15 мм). В вакуум-камере
происходит дезаэрация (удаление воздуха) массы, которая с помощью питающего
валка подается на винтовой шнек пресса, проходит по его корпусу и выталкивается
через прессовую головку и мундштук. При формовании обыкновенного кирпича
мундштук имеет прямоугольное сечение, а при изготовлении пустотелых камней в
мундштуке пресса устанавливают пустотообразующий сердечник, состоящий из скобы,
стержней и кернов (насадок), профилирующих отверстия в изделиях (рис. 5.2.3.2)
[25,35].
Рис. 5.2.3.2. - Виды мундштуков для ленточного вакуум-пресса: а - для
пустотелого кирпича, б - для полнотелого.
Непрерывно
поступающий из пресса брус сырца разрезается отрезным устройством на куски
требуемой длины (
2,5 м). Отрезанный кусок бруса отделяется
ускорительным транспортёром и подаётся на разрезное устройство, где он
принимается транспортёром специальной конструкции. После подачи бруса на
разрезное устройство, транспортёр останавливается, и находящийся на нём брус,
разрезается на отдельные кирпичи путём опускания и подъёма разрезного
устройства, в котором поперёк направления подачи бруса натянуты разрезные
элементы (струны). После окончания операции разрезки транспортёр разрезного
устройства начинает двигаться и кирпич сырец перегружается на следующий
транспортёр раздвижного погрузочного устройства, причём, за счёт плавной
регулировки скорости этого транспортёра кирпичи могут раздвигаться на требуемое
расстояние. После передачи всех кирпичей на раздвижной транспортёр, он
останавливается, и находящиеся на нем кирпичи толкателем сдвигаются в
поперечном направлении на вагонетки, движущиеся прямо под транспортёром с такой
же скоростью. Концы разрезанного бруса при этом остаются на раздвижном
транспортере. При подаче следующей группы разрезанных кирпичей, с разрезного
устройства, на раздвижной транспортёр, отрезки сырца сбрасываются на
транспортёр отходов и возвращаются в пресс. Таким образом, кирпичи, группа за
группой, поперечными рядами сажаются на вагонетку [20].
Сушка
кирпича
При
пластичном способе формования обжигать сразу кирпич сырец нельзя, так как на
данном этапе он имеет очень высокое содержание влаги и при обжиге просто
потрескается. Поэтому кирпичи сначала сушат, процесс сушки является
обязательным. В это время влага, содержащаяся в изделиях, перемещается из
внутренних областей к поверхности, вступает в соприкосновение с теплым воздухом
и испаряется. В результате испарения воды освобождается место между частицами
глины. Происходит уменьшение объема изделий или усадка. Температура сушки, а
также темп роста температуры, играют важную роль в процессе изготовления
кирпичей. Влага начинает испаряться при нагреве изделия в диапазоне температур
0-150°C. Когда температура нагрева достигает 70°C, давление водяных паров может
достичь критических значений, что в свою очередь приведет к возникновению
трещин. Рекомендуемый темп роста температуры 50-80°C в час. При этом скорость
испарения влаги с поверхности, не будет опережать скорость парообразования
внутри изделия. После завершения сушки кирпичи отправляются на обжиг в
специальные печи [28,29].
Туннельная
сушилка непрерывного действия представляет собой камеру длиной 24-36 м, высотой
1,4-1,8 м, шириной 1 -1,2 м (рис. 5.3.1).
Рис.
5.3.1 - Конструкция туннельной сушилки:
-
рельсовые пути; 2 - канал для подачи теплоносители; 3 - вагонетка; 4 - канал
для отвода теплоносителя.
Сырец
поступает в сушилку на вагонетках, которые перемещаются в туннелях по рельсовым
путям с помощью передвижных или канатных толкателей. Отдельные туннели
объединяют в блоки по 4-20 туннелей, имеющих общие каналы для подачи и забора
теплоносителя. Основные преимущества туннельных сушилок: поточность
производства, высокий уровень механизации, высокая производительность труда. К
недостаткам туннельных сушилок относятся: большое количество вагонеток и
необходимость их пополнения, подверженность металлических изделий вагонеток
коррозии, неравномерность сушки изделий по поперечному сечению туннеля (вверху
температура теплоносителя выше, чем внизу) и необходимость круглосуточной
загрузки и разгрузки вагонеток.
Параметры
режима сушки кирпича в туннельных сушилках: срок сушки 12-50 ч, температура
теплоносителя 50-80 °С, температура отработанных газов 25-40 °С, относительная
влажность 75-95%, расход теплоносителя на один туннель 3000-10 000 м3/ч,
скорость движения теплоносителя в туннеле 0,8-2 м/с. Начальная влажность массы
18-25%, конечная - 5-7%. Использование отработанного теплоносителя (до 70-80%)
Для сушки позволяет повысить влагосодержание свежего теплоносителя, смягчить
режим сушки и сократить его срок [25,26].
Обжиг
кирпича
Завершающей
стадией технологии всех изделий строительной керамики является их обжиг. При
обжиге изделия окончательно формируется структура материала, т.е. происходит
спекание керамики, в результате чего сырец из конгломерата слабосвязанных
частиц превращается в достаточно твердое и прочное тело.
При
обжиге изделий в печах одновременно протекает ряд сложных процессов: горение и
газификация топлива, движение продуктов горения в рабочем пространстве печи,
теплообменные и массообменные процессы, связанные с экзотермическими и
эндотермическими эффектами в обжигаемых изделиях изменения в добавках, вводимых
в массу, и др. [22].
Формирование
черепка изделий при обжиге достигается оптимальным выбором температуры и
времени нагрева полуфабриката (температурного режима), а также химическим
составом печной атмосферы (газовым режимом) и временем обжига. Температурный
режим обжига изделий условно разделяют на четыре периода: досушки, подогрева,
взвара, охлаждения.
Досушка
производится с целью полного удаления воды затворения и гигроскопической, а
также равномерного прогрева массы полуфабриката до 100-2000С.
Наиболее интенсивно удаляется вода при 80-1300 С. Удаление
адсорбционно связанной воды (120-1300С) сопровождается первым
эндотермическим эффектом (поглощение тепла), что связано с возможностью
растрескивания сырца. Температура в период досушки поднимается медленно при
наличии достаточной тяги, предотвращающей возможность конденсации паров на
сырце [23,26].
Подогрев
до 800 0С, т.е. до начала упругих деформаций, первоначально
производится дымовыми газами и далее при сжигании топлива. В начальной стадии
этого периода (3000 С) начинается выгорание органических примесей,
заканчивающееся при медленном подъеме температуры до 4500С, при
быстром подъеме - около 700 - 8000 С.
Выгорание
органических веществ протекает в два этапа. В начале происходит выделение и
сгорание летучих веществ (350-4000С). Коксовый остаток выгорает к
концу второго периода (700-8000 С). Скорость выгорания веществ
обратно пропорциональна квадрату толщины изделия и во многом зависит от избытка
воздуха в печных газах.
В
середине периода при температуре 500-6000 С происходит интенсивное
выделение конституционной воды, сопровождающееся вторым эндотермическим
эффектом, который заканчивается при скоростном обжиге, когда температура
достигает 900-10000 С. В этом же температурном интервале происходит
диссоциация минералов, содержащих железа, например сидерита FeCO3 с
выделением СО2. В восстановительной среде, создаваемой сжиганием
топлива внутри черепка при вводе топлива в массу или при водяном орошении,
часть окиси железа восстанавливается в закись с образованием легкоплавких
эвтектик (железистых стекол), особенно при поднятии температуры до 850 - 9000С,
способствующих уплотнению черепка [23,27].
При
температуре 550 0С и наличии восстановительной среды начинается
диссоциация сульфидов и сульфатов с выделением SO2, а при 700-8000
С - диссоциация карбонатов СаСО3 и МgCO3, заканчивающаяся
при 950-1000 0 С с выделением углекислого газа и повышением
пористости изделий.
Начиная
с 7000 С и выше, щелочи, находящиеся в глине, вступают во
взаимодействие с другими компонентами глины, образуют расплав, количество
которого также возрастает с повышением температуры.
В
процессе формирования черепка жидкая фаза (расплав) непрерывно меняется.
Количество расплава, образующегося при одной и той же температуре зависит от
химического состава глинистых материалов и добавок, реакционной способности и
дисперсности компонентов массы, качества печной, среды и продолжительности
нагрева.
При
малом содержании жидкой фазы достаточная механическая прочность изделий не
обеспечивается, при излишнем возможна деформация изделий в процессе обжига. В
этом периоде обжига изделий (700-8000 С) кристаллическая решетка
глинообразующих минералов не разрушается, поэтому такие физико-механические
показатели, как усадка, прочность, пластические деформации, модуль упругости,
изменяются незначительно. Пористость изделий к концу периода увеличивается.
Этот период нагрева не является опасным для быстрого подъема температур, даже
для глин, чувствительных к обжигу [26].
Скорость
подъема температуры определяется в основном не свойствами сырья, обжигаемых
изделий, а конструктивными особенностями печей, и в некоторые периоды может
колебаться от 150 до 800 град/ч, а в среднем - около 300 град/ч.
Взвар
характеризуется достижением максимально допустимой температуры обжига изделий,
созреванием черепка и выдержкой, осуществляемой обычно при температуре 900-10500
С. Поднимают температуру осторожно, так как при 800-9000 С возникают
упругие деформации, что связано с разрушением кристаллической решетки глинистых
минералов и значительными структурными изменениями черепка.
Физико-химические
превращения, начинающиеся в этом периоде и протекающие более интенсивно при
дальнейшем повышении температуры, оценивают по-разному.
Так,
при нагревании, например, каолинита последний распадается на свободные окислы с
образованием т-глинозема и кремнезема, далее образуется силлиманит А12О3*SiО2
и Si02 и соединение метастабильной структуры типа метакаолинита А12О3*2Si02,
имеющего скрытокристаллическое, почти аморфное строение, а затем муллит 3Аl2О3*2SiО2
при 9000 С и другие соединения. Процессы образования новых
соединений сложны, протекание их связано с образованием промежуточных
соединений, наличием расплава, условиями нагрева и др.
Муллит
является наиболее устойчивым соединением, придающим изделиям прочность,
термостойкость, ударную вязкость и другие ценные свойства. В кирпиче и
керамических камнях процесс образования муллита протекает только в начальной
стадии и в ограниченном количестве из-за недостаточных температур (необходимы
1150-12500С).
Период
взвара характеризуется изменением огневой усадки начинающейся при температуре
750-8500С, в зависимости от свойств сырья, и заканчивающейся к
моменту достижения конечной температуры обжига. Вязкость массы изделий и
пористость при 900-9500С резко снижаются, в особенности у сырца или
сырья, богатого карбонатами. Диссоциация карбонатом к этому времени почти
полностью заканчивается. Окислы щелочных и щелочноземельных металлов, делая
глину легкоплавкой, способствуют быстрому размягчению ее за счет увеличения
количества расплава и тем самым резко уменьшают пористость массы изделий.
Материал изделий переходит в пиропластическое состояние. Железосодержащие
минералы наряду со щелочами являются наиболее легкоплавкими составляющими,
особенно закись железа FeO, так как плавится она при температуре на 150-2000С
ниже, чем Fe2O3. Поскольку в глинах железо чаще всего
встречается в виде окиси (Fe2O3), переход ее в закись
возможен только в восстановительной среде, получаемой при сгорании топлива,
запрессованного в изделия, или при вводе воды в печь на конечной стадии обжига.
Поэтому обжиг изделий в восстановительной среде при температуре 900-1000 0С
равносилен обжигу в обычной (окислительной) среде при 1050-1100 0С
без риска деформации изделий [29,30].
Для
выравнивания температуры в печи и более полного протекания физико-химических
процессов в конце взвара производится выдержка 3-5 ч.
Краткосрочная
выдepжкa также способствует интенсивному протеканию превращений кремнезема,
образованию муллита, хотя завершение этих процессов переносится в область более
высоких температур, чем температуры обжига изделий. Поэтому нарастание
прочности черепка изделий, начинающееся при температуре 800-8500С и
продолжающееся до конца обжига (900-10500С), объясняется не столько
влиянием вновь образующихся соединений (из-за недостаточных для их образования
температур и времени), сколько действием расплава, который, благодаря энергии
поверхностного натяжения, сближает и связывает более крупные частицы массы, -
дегидратированные частицы глинистого вещества и зерна кварца. Прочность
охлажденного расплава (стекловидной фазы) достигает 490- 588 Мн/м2
(5000-6000 кг/см2).
В
изделиях пластического формования глинистые частицы более равномерно
распределяются в массе заполнителя (кварцевые зерна, шамот и др.), обволакивая
его зерна. При обжиге образующаяся на поверхности зерен заполнителя жидкая фаза
цементирует их [28].
Проникая
в трещины и поры, расплав еще больше увеличивает прочность связи. При полусухом
прессовании зерна заполнителя как бы вдавливаются в глинистые частицы и при
обжиге частицы связываются только в местах контактов, что не обеспечивает
высокой прочности и только частично компенсируется повышением температуры
обжига.
Охлаждение
начинается небольшой зоной "закала" и характеризуется медленным
пониженном температуры (около 300 0С в час) до 550-5000С
без отбора тепла для избежания внутренних напряжений и растрескивания изделий.
Появление трещин, скорее всего, возможно в интервале температур 600-4000С
в результате полиморфных превращений кварца (при 5730С) и перехода
расплава из вязкого в твердое состояние. Поэтому при использовании в качестве
отощающей добавки крупнозернистого кварцевого песка (размером 0,8-1,2 мм)
скорость охлаждения должна уменьшаться на 15-20% по сравнению со скоростью
охлаждения при использовании мелкозернистого песка.
Дальнейшее
охлаждение до конечной температуры 40-500 С происходит быстро, и
допускаемая величина температурного перепада возрастает до 120-125 град в час.
Количество воздуха, необходимое для полного охлаждения изделий, составляет в
среднем 6500-7500 кг на 1000 шт. условного кирпича. При этом в зоне взвара
коэффициент избытка воздуха будет около 3,5-4,5 и отсасывающий вентилятор
должен удалять из печи около 22000-30000 кг газа на 1000 шт. обжигаемого
условного кирпича [30,32].
Продолжительность
обжига изделий зависит от материала обжигаемых изделий и его физических свойств
(теплопроводности, плотности, механической прочности и др.), температуры
обжига, скорости изменения температуры, типа и плотности садки, вида обжигаемых
изделий (размера, формы, сложности), типа и состояния печи, условий сжигания
топлива, теплоотдачи движения газов в рабочем канале печи.
Обжигают
керамический кирпич в кольцевых, камерных, туннельных, щелевых, роликовых и
других печах. Туннельные печи имеют значительные преимущества перед печами
периодического действия и кольцевыми печами. Садка кирпича-сырца на вагонетки
туннельных печей и выгрузка обожженного кирпича с этих вагонеток производится
вне печи, в нормальных температурных условиях, что значительно облегчает труд
обслуживающего персонала и дает возможность механизировать трудоемкие процессы
садки и выгрузки кирпича. В туннельных печах можно осуществить полную
автоматизацию управления режимом обжига. К достоинствам туннельных печей
относится и то, что у них температурный перепад в различных участках обжига
незначителен. Однако туннельные печи имеют и ряд недостатков, например, большим
перепадом температур по высоте, достигающим в зоне подогрева 4200С,
который на участке максимальных температур уменьшается до 20-400С.
Борьба с этим перепадом осуществляется главным образом путем рециркуляционных
потоков газов ("завес"), нагнетаемых вентиляторами, как в зоне
подогрева, так и в зоне охлаждения на нескольких позициях по длине печного
канала. Борьба эта не всегда успешна. Второй недостаток - трудности настройки
аэродинамического режима. На основании приведенных достоинств и недостатков в
качестве печи для обжига кирпича выбрана туннельная печь [20,24].
Туннельные
печи представляют собой непрерывно действующие установки, в которых по
специальному туннелю навстречу продуктам горения движутся вагонетки с
обжигаемыми на них изделиями. Основным видом
топлива для туннельных печей является природный газ. В ряде случаев
используется жидкое и твердое низкосортное топливо, сжигаемое в выносных
топках.
Принцип
работы туннельных печей заключается в том, что по мере продвижения по туннелю
печи материалы, погруженные на вагонетки, вначале подогреваются (в зоне
подогрева) за счет отходящих продуктов горения и нагретого воздуха,
поступающего в зону подогрева из зоны охлаждения, затем обжигаются (в зоне
обжига) и охлаждаются (в зоне охлаждения). В туннельной печи зона обжига
неподвижна, а обжигаемый материал перемещается на вагонетках, ленточных или
роликовых конвейерах по сквозному туннелю навстречу теплоносителю. Длина
обжигательного канала 48-408, ширина 1,7-4,7, рабочая высота 1,3-1,9 м
В
туннельных печах регулируется подача топлива, воздуха для горения и охлаждения
продукции, а также и количество продуктов горения и нагретого воздуха. Это
осуществляется за счет установки раздельно работающих вентиляторов, дымососов и
рециркуляции дымовых газов и воздуха по рециркуляционным каналам, располагаемым
вдоль печи над сводом, по которым дымовые газы и воздух могут быть поданы в
соответствующие зоны печи. Так, по системе рециркуляционных каналов
отсасываемый воздух из одних участков зоны охлаждения подается в другие участки
этой же зоны, продукты горения и воздух из зоны подогрева можно подавать в зону
обжига и т.д. Регулирование распределения продуктов горения и воздуха позволяет
применять широкую автоматизацию процессов подогрева, обжига и охлаждения
изделий, обеспечивающую получение наилучших технико-экономических показателей
работы этих видов печей. Размеры туннелей зависят от вида топлива, назначения и
производительности туннельных печей [33].
Туннельная
печь (рис. 5.4.1) имеет три зоны: подогрева, обжига и охлаждения.
В
зоне подогрева температура повышается со скоростью 50°С/ч до 100°С, затем со
скоростью 150°С/ч до 750-800 °С. Затем скорость нагрева несколько снижается и
повышается снова в зоне обжига. Охлаждение после обжига медленное за счет
теплопотерь в окружающую среду, а с 500 до 50°С скорость охлаждения повышается
до 120°С/ч. Большая часть производственного времени (60-65%) при обжиге
отводится зонам подогрева и охлаждения, так как в этих зонах возможно появление
наибольшего количества дефектов.
Рис. 5.4.1 Туннельная печь
а - зона подогрева; б - зона взвара (1 - кладка печи; 2 - воздухопровод;
3 - газопровод); в - схема тепловых зон.
Режим обжига в туннельных печах назначают в зависимости от вида, формы,
размеров обжигаемых изделий и вида теплоносителя.
Интенсивность и качество обжига также зависят от вида садки кирпича-сырца
на вагонетки, который выбирают в соответствии с типом изделий, уровнем
механизации погрузочно-разгрузочных работ, видом топлива, методом его сжигания,
размером обжигательного канала. Садка сырца прямая плотностью 200-280 шт. на 1
м3 объема канала печи. Должна быть прочной и устойчивой, не препятствовать
равномерному прогреву всего сырца (рис. 5.4.2) [34].
Рис. 5.4.2 - Садка кирпича на вагонетку при обжиге кирпича природным
газом
Вагонетки туннельных печей двухосные (рис. 5.4.3). Рама вагонетки состоит
из жесткого металлического каркаса, на который кладется огнеупорная футеровка,
служащая одновременно и основанием для размещения на ней обжигаемой продукции и
подиной рабочего пространства туннеля. Футеровка вагонеток выполняется из
различных огнеупорных материалов: шамотных фасонных изделий, нормального
шамотного кирпича, жаростойкого бетона в различных комбинациях. В торцах
футеровки вагонеток устраивают специальные выступы и впадины для создания
надежного уплотнения между ними.
Рис. 5.4.3 - Расположение вагонетки в туннельной печи: 1 - печь, 2 - вагонетка
Топливосжигающие устройства в печи располагаются в обеих стенах зоны
обжига. Продукты горения из зоны обжига направляются в зону подогрева и из нее
через боров и дымовую трубу в атмосферу или с помощью дымососа в сушильные
камеры. Холодный воздух в зону охлаждения подается вентилятором. Воздух,
нагретый за счет тепла остывающей продукции, частично поступает в зону обжига
(вторичный воздух), а частично через окна в стенах печей и вертикальные каналы
в межсводовый канал и через него в зону подогрева. Излишки воздуха с помощью
дымососов поступают в сушильные камеры [34,35].
Кирпич снимается с вагонеток, устанавливается на
поддоны, упаковывается в транспортные пакеты и транспортируется с помощью
автопогрузчика. На кирпичных заводах применяются автопогрузчики самых различных
типов со щитовыми захватами и с зажимами. Вилочные зажимы работают от
гидравлической системы либо приводятся в действие от веса поднимаемого пакета.
После чего кирпич отправляется на склад готовой продукции, находящийся на
открытых асфальтированных площадках, расположенных на территории предприятия.
Склад готовой продукции оборудован мостовыми кранами для загрузки поддонов с
кирпичом в автомобили [25].
Брак, образующийся в производстве
Брак и его причины при формовании
При формовании кирпича вследствие недостаточной переработки глины в
изломе сырца могут быть включения непроработанной глины. Возможны также
нарушения углов бруса, расслоение его массы, появление структурных трещин
S-образных или эллипсовидных, растрескивание бруса и размывы поверхности его.
Нарушение углов бруса указывает на неудовлетворительное орошение мундштука, его
износ или засорение, использование очень тощих глин (рис. 5.5.1.1).
Рис.5.5.1.1 - Виды брака кирпича: а) "драконов зуб", б)
свилеобразная структура, в) S-образная трещина, г) брус с незаполненными
углами, д) опережение середины бруса, е) отставание середины бруса.
Расслоение массы и образование структурных трещин являются результатом
неправильного режима формования и несоблюдения необходимых параметров массы
(наслаивание "заполированных" элементов массы шнековым нагнетателем,
пульсация массы при ее нагнетании в формующую часть пресса, трение массы о
стенки пресса, увеличение давления на массу в головке пресса и т. д.). При
излишнем орошении мундштука возможны размывы на поверхности бруса [36].
Для предотвращения свилеобразования глину отощают, что увеличивает
коэффициент внутреннего трения и снижает склонность массы к расслоению;
увеличивают влажность массы, повышающую ее сцепляемость; уменьшают внешнее
трение за счет введения в массу поверхностно-активных веществ и орошения
головки пресса водой; удлиняют головку пресса, вставляя между цилиндром и
головкой кольцо длиной 100-200 мм, что способствует большему уплотнению массы;
устанавливают зазор между корпусом пресса и лопастями шнека в пределах 2-3 мм;
снижают частоту вращения шнека (не более 32 об/мин), что позволяет снизить
прессовое давление; используют рыхлительные ножи в головке пресса, исключающие
"заполированность" и увеличивающие сцепление поверхностей отдельных
слоев [31].
Брак и его причины при сушке
Сушка необходима для придания сырцу механической прочности и подготовки
его к обжигу.
В процессе сушки происходит удаление влаги из материала, сопровождающееся
уменьшением объема (усадкой) и увеличением его прочности. При сушке удаляется
65-70% воды, находящейся в формовочной массе.
Во избежание неравномерной усадки и растрескивания кирпичи перед обжигом
должны иметь влажность не более 5. Процесс сушки изделий характеризуется
изменением скорости и времени сушки, температуры, влагосодержания,
возникновением усадочных напряжений в изделии.
Испарение влаги с поверхности свежеотформованного изделия (внешняя
диффузия) зависит от температуры, скорости перемещения и влажности
теплоносителя. Оно тем больше, чем выше температура и скорость, и ниже
влажность теплоносителя. Таким образом, величину внешней диффузии можно
регулировать. Процесс перемещения влаги из глубинных слоев изделий к
поверхности называют внутренней диффузией. Она протекает значительно медленнее
внешней и зависит в основном от влагопроводности материала, определяемой
пористостью, градиента влажности, перепадов температуры и давления. С
увеличением пористости и температуры сырца ускоряется внутренняя диффузия,
уменьшается разница между внутренней диффузией и внешней, равномернее
осуществляется сушка изделий. Предельно допустимый перепад влажности на
поверхности и внутри сырца, при котором происходит равномерная сушка,
называется критическим градиентом влажности. Внутреннюю диффузию регулируют
введением в массу отощающих и выгорающих добавок, электролитов, содержащих
катионы Са2+, Al3+ и др., количеством воды, условиями
формования, прогревом и вакуумированием массы. Изменение влагосодержания сырца
вызывает его воздушную усадку, величина которой в большой степени зависит от
свойств глинистого сырья и определяет чувствительность глин к сушке. Чем выше
пластичность глин, тем выше усадка и тем труднее избежать деформации изделий
при сушке. Снизить усадку глин при сушке можно введением различных добавок
(отощающих, выгорающих, электролитов и др.), влияющих на изменение условий
внутренней и внешней диффузии влаги, а также вакуумированием массы [23,27].
Брак и его причины при обжиге керамического кирпича
Недожженный кирпич - или прокопченный как его еще могут называть. Это кирпич,
который имеет более бледный цвет, отличающий его от остальных (рис. 5.5.3.1,
а). Еще одной характерной чертой недожженного кирпича есть глухой звук при
ударе, тогда как качественный кирпич при ударе звенит. Такой кирпич
недолговечен, имеет низкую морозостойкость и естественно очень быстро впитывает
влагу. Такой брак получается не только в результате недостаточной температуры,
но и когда в печь попадает "сырой", не полностью высушенный кирпич.
Рис. 5.5.3.1 - Брак кирпича при обжиге: а) недожженный кирпич,
б)пережженный кирпич.
Пережженный кирпич - или перепал, также является браком. Название кирпича
говорит само за себя, его пережгли при высоких температурах (рис. 5.5.3.1,б).
Как правило, он имеет черный цвет и плохую геометрию, так как от высокой
температуры он может оплавляться или его может "распирать" изнутри.
Такой кирпич имеет очень маленький коэффициент теплопроводности, что плохо для
жилых помещений, но и ему можно найти применение. Например, он пригоден для
обустройства канализаций, так как приобретает свойства камня железняка и не
подвержен влиянию агрессивной окружающей среды [28,30].
6. Расчет сырьевой смеси
Для производства керамического кирпича в качестве сырья используется
лессовидная глина Шымкентского месторождения, химический состав которой
представлен в таблице 6.1 и цеолитсодержащая добавка Чанканайского месторождения
(возле г. Алматы) с химическим составом в таблице 6.2.
Таблица 6.1 Химический состав лессовидной глины
Шымкентского месторождения
|
Исходные данные
|
Содержание оксидов, %
|
|
|
SiO2
|
Al2O3
|
CaO
|
Fe2O3
|
MgO
|
K2O
|
Na2O
|
TiO2
|
MnO2
|
п.п.п.
|
|
Лёсс
|
47,5
|
9,05
|
11,5
|
5,5
|
1,62
|
2,87
|
-
|
-
|
11,03
|
Таблица 6.2 Химический состав цеолитсодержащей добавки Чанканайского
месторождения
|
Исходные данные
|
Содержание оксидов, %
|
|
|
SiO2
|
Al2O3
|
CaO
|
Fe2O3
|
MgO
|
K2O
|
Na2O
|
TiO2
|
MnO2
|
п.п.п.
|
|
Цеолит
|
60
|
14,5
|
0,13
|
1,4
|
-
|
0,66
|
0,61
|
0,7
|
0,199
|
5
|
Для расчета состава сырьевой смеси рассчитывают суммарное количество
оксидов и приводят значения суммы к 100% (табл. 6.3) [45].
Таблица 6.3 Химический состав сырья
|
Исходные данные
|
Содержание оксидов, %
|
|
SiO2
|
Al2O3
|
CaO
|
Fe2O3
|
MgO
|
K2O
|
Na2O
|
TiO2
|
MnO2
|
п.п.п.
|
∑
|
|
Лёсс
|
47,5
|
9,05
|
11,5
|
5,5
|
1,62
|
4,27
|
2,87
|
-
|
-
|
11,03
|
93,34
|
|
Цеолит
|
60
|
14,5
|
0,13
|
1,4
|
-
|
0,66
|
0,61
|
0,7
|
0,199
|
5
|
83,199
|
|
Производим пересчет химического состава на 100%
|
|
Лёсс
|
50,87
|
9,7
|
12,32
|
5,9
|
1,76
|
4,57
|
3,07
|
-
|
-
|
11,81
|
100
|
|
Цеолит
|
72,12
|
17,428
|
0,156
|
1,683
|
-
|
0,793
|
0,731
|
0,841
|
0,239
|
6,01
|
100
|
|
Производим пересчет химического состава без п.п.п.
|
|
Лёсс
|
57,67
|
11
|
13,97
|
6,7
|
2
|
5,18
|
3,48
|
-
|
-
|
-
|
100
|
|
Цеолит
|
76,735
|
18,54
|
0,17
|
1,79
|
-
|
0,84
|
0,78
|
0,895
|
0,25
|
-
|
100
|
|
Производим пересчет химического состава сырья на сырьевую
смесь
|
|
Лёсс
|
49,6
|
9,46
|
12,01
|
5,76
|
1,72
|
4,45
|
3
|
-
|
-
|
-
|
86
|
|
Цеолит
|
10,74
|
2,6
|
0,02
|
0,25
|
-
|
0,12
|
0,11
|
0,12
|
0,04
|
-
|
14
|
|
смесь
|
60,34
|
12,06
|
12,03
|
6,01
|
1,72
|
4,57
|
3,11
|
0,12
|
0,04
|
-
|
100
|
Для пересчета содержания оксидов на 100% расчет ведут по пропорции (форм.
6.1):
(6.1)
для оксидов лессовидной глины и
(6.2)
для оксидов цеолитсодержащей добавки (форм. 6.2).
Следовательно, содержание остальных оксидов сводится к этой пропорции.
Пересчет содержания оксидов на 100% без потерь при прокаливании расчет
ведут по той же пропорции, при этом отнимая потери при прокаливании (форм.
6.3):
(6.3)
для оксидов лессовидной глины и
(6.4)
для оксидов цеолитсодержащей добавки (форм. 6.4).
Далее химический состав уже без потерь при прокаливании пересчитывают на
процентное содержание сырья в сырьевой смеси, где содержание лессовидной глины
составляет 86%, а цеолитсодержащей добавки 14% [44].
Для пересчета химического состава для лессовидной глины пользуются
пропорцией (форм. 6.5):
(6.5)
для цеолитсодержащей добавки (форм. 6.6):
(6.6)
Затем процентное содержание сырьевых компонентов складывается, и если
сумма равняется 100%, значит расчеты проведены правильно.
Химический состав смеси в таблице 6.3 приведен к 100%, следовательно,
расчет выполнен правильно [46].
7. Расчет материального баланса
Исходные данные для расчета:
) Производительность предприятия Р =15 млн. шт. усл. кирпича в
год,
) Технологические параметры производства:
а) способ производства - пластический;
б) состав сырьевой смеси (содержание в масс. % в пересчете на абсолютно
сухое вещество) :
лёсс - 86%, цеолитсодержащая добавка -14%;
в) естественная (карьерная) влажность сырья:
лёсс - 10%, цеолитсодержащая добавка - 7%;
г) формовочная влажность массы - 20%;
д) влажность кирпича - сырца, поступающего на сушку - 18%;
е) влажность высушенного кирпича - 6%;
ж) П.П.П. Лёсса - 11,03%, цеолитсодержащей добавки - 5%.
) Технологические потери:
а) при транспортировке и складировании готовой продукции - 2%;
б) брак обжига - 3,5% от количества, выходящего из печей;
в) брак сушки (включая пересадки и транспортировки) - 2% от количества,
выходящего из сушилок;
Из общего количества брака сушки 90% - возвратимый брак (т.е. 1,8%), 10%
- невозвратимый брак (0,2%).
г) невозвратимые потери при формовке - 0,2% (от общего количества,
выходящего из пресса, включая брак садки и транспортировки на сушильных
вагонетках; возвратимый брак формовки - 1%;
д) невозвратимые потери при подготовке и транспортировке сырьевой массы -
0,1% (от поступающего количества);
е) невозвратимые потери при транспортировке, дроблении, измельчении и
смешивании сырьевых материалов - 0,1% на каждой единице оборудования в
отделении подготовки от количества, поступающего на переработку на каждую единицу
оборудования.
Схема 2 Технологическая схема производства
7. Расчет материального баланса:
1) Отгружается со склада готовой продукции:
где: 3,2 - масса одного кирпича нормальных размеров, кг.
) С учетом потерь сортировки, транспортировки и складирования
поступает на склад:
где: 2% - потери при сортировке, транспортировке и складировании;
Брак составляет:
3) С учетом брака обжига выходит из печей:
где: 0,965 - коэффициент, учитывающий брак обжига (3,5);
Брак обжига составляет:
4) Поступает в печи ( по абсолютно сухой массе)
где: 0,898=(1-0,1018) - коэффициент, учитывающий т.н.
Среднемассовые П.П.П. сырьевой массы равные: (0,86∙11,03+0,14∙5) = 10,18%. Потери при прокаливании: 56521,2-50756,06=5765,14
.
Поступает на обжиг по фактической массе (т.е. с учетом содержащейся в
изделиях остаточной влаги после сушки):
где: 6% - относительная влажность высушенного кирпича. Или
5) Испаряется влаги в печах:
6) Количества материала, выходящее из сушил с учетом брака сушки,
садки на печные вагонетки и транспортировки (по фактической массе):
где: 2 - % суммарного брака сушки, садки и транспортировки.
Суммарный брак (сушки, транспортировки, садки) составляет:
Из этого количества 90% возвращается в производство, т.е.
и 10% - невозвратимый брак, который необходимо учитывать, как отдельную
расходную статью:
7) Масса кирпича-сырца, поступающего на сушку (с учетом его
фактической влажности, равной 18%) может быть рассчитана после определения
количества материала, выходящего из сушки по абсолютно сухой массе:
где: 0,94 - коэффициент, учитывающий влажность изделий после сушки (6%)
Тогда:
Количество воды, испаряемое в сушилах:
Масса кирпича-сырца, выходящая из прессов без учета брака прессования и
садки:
где: 20 - % относительной влажности кирпича-сырца после формования.
Испаряется влаги между технологическими операциями прессования и сушки:
8) Выходит из прессов по фактической массе:
где: 1,2 - процент брака прессования и садки
Брак прессования:
90% возвращается в производство, т.е.
и 10%
- невозвратимые потери:
Таким образом, количество влажной сырьевой массы, поступающее на
прессование без учета возвратимого брака формовки, составит:
9) С учетом невозвратимых потерь (0,1%) выходит из смесителя
увлажнителя:
где: 0,1 - % потерь.
Потери массы составляют: 72253,01-72180,76=72,25 (т/год)
10) С учетом возврата части брака сушки в производство должно поступать
на гомогенизацию и увлажнение лесса, добавки и брака по абсолютно сухой массе:
где: 0,8 - коэффициент, учитывающий формовочную влажность массы (20%).
Рассчитываем теоретически необходимое количество технологической воды,
для этого определяем фактическое количество шихты с учетом ее реальной
влажности:
где: 9,5% - относительная влажность шихты.
Количество брака сушки, возвращаемого в виде молотого продукта в производство=1104,4
(т/год) - по фактической массе.
Считая влажность измельченного брака сушки неизменной, т.е. 6%,
определяется количество возврата по абсолютно сухой массе:
где: 0,06∙1104,4=66,26 (т/год) - количество влаги в возвратимом
браке сушки.
Тогда количество сырьевой смеси, поступающее на смешивание и увлажнение
(без учета брака сушки) по абсолютно сухой массе:
Фактическая влажность шихты, поступающей на приготовление формовочной
массы составляет 9,58%, т.к. среднемассовая влажность составляет (0,86∙10+0,14∙7)=9,58%
Следовательно, фактическое количество шихты, поступающее на гомогенизацию:
Это количество смеси необходимо доувлажнить до 20%. Количество воды:
С учетом потерь воды (1%) потребное ее количество:
Потери воды:
С учетом невозвратимых потерь при
сухом смешивании (0,1%) требуется шихты по фактической массе:
Потери:
Требуется шихты по абсолютно сухой массе:
, где:
0,9045 - коэффициент, учитывающий влажность шихты.
В общее количество этой шихты входит лесса и добавки (по абсолютно сухой
массе):
Лесса: 0,86∙56839,95=48882,36 (т/год)
Добавка: 56839,95-48882,36=7957,6 (т/год)
То же по фактическим массам:
Лесса:
Добавки:
Годовая потребность в лессе по фактической массе с учетом суммарных
невозвратимых потерь при дроблении, измельчении и транспортировке (0,2):
Потери глины:
Аналогично годовая потребность в добавке:
Потери добавки:
Таким образом, годовая потребность в сырьевых материалах по фактической
массе:
Лесс - 54422,58 т/год
Добавка - 8565,07 т/год
Вода - 8466,78 т/год
Для проверки правильности расчета составляется материальный баланс
производства по статьям расхода и прихода (табл. 7.1).
Таблица 7.1 Материальный баланс производства
кирпича мощностью 100 млн. шт. усл. кирпича в год.
|
№
|
Приход
|
т/год
|
№
|
Расход
|
т/год
|
|
1. 2. 3.
|
Лесс Добавка Вода
|
52245,63 8699,08 8466,78
|
1. 2. 3. 4. 5. 6. 7. 8. 9. 10. 11. 12. 13.
|
Готовая продукция Брак сортировки и складирования Брак обжига
Потери при прокаливании Испарение влаги в печах Брак сушки и транспортировки
Испарение влаги в сушилах Потери воды перед сушкой Брак прессования Потери
при перемешивании Потери воды Потери при смешивании Потери сырья при
измельчении и транспортировке: лесс добавка
|
48000 979,6 1776,46 5765,14 3607,7 122,7 8978,9 1758,3
87,56 72,25 83,88 62,84 108,85 8,51
|
|
Всего
|
|
71454,43
|
Всего
|
|
71412,69
|
Невязка баланса:
, что указывает на правильность проведенных расчетов.
Удельный расход сырья на единицу готовой продукции (1000 шт. кирпича)
составляет
8. Расчет и подбор основного технологического оборудования
Для обжига керамического кирпича в дипломной работе используется
туннельная печь производительностью 15 млн. штук условного кирпича в год или
48000 т/год условного кирпича. Продолжительность цикла обжига составляет 47
часов [51].
Полагаем, что печь работает 329 дней в году. Выход готовой продукции
принимается 97%. Коэффициент использования оборудования (учитывая остановки
печи) принимаем 0,97.
Находим часовую производительность печи:
Емкость печи будет равной:
т
Размеры вагонетки принимаем следующие: ширина по футеровки 2,3 м; длина 3
м. Соответственно ширина печи в свету будет составлять В=2,4 м. Принимаем
следующий тип садки: высота равна 1300 мм. Соответственно высота печи от уровня
пода вагонетки составит 1800 мм. Вес садки на вагонетку G1=7,39 т
[44].
Далее определяем длину туннеля:
Количество вагонеток, находящихся в печи:
Принимаем n=41вагонетки, тогда длина печи составит
. Количество вагонеток, выходящих из печи за час (скорость
перемещения):
Следовательно, вагонетка должна выталкиваться из печи (или поступать в
печь) через каждые
или через 75 мин.
Объем печного канала, считая свод печи плоским подвесным, составит:
Плотность садки:
Удельная производительность печи, отнесенная к 1 м2 площади
пода вагонеток, будет равняться:
или 23 кг/м2∙ч [46].
Производительность печи составляет:
Количество вагонеток, выходящих из печи, равно:
Следовательно, техническая характеристика туннельной печи для обжига
строительного кирпича будет выглядеть следующим образом (табл. 8.1):
Таблица 8.1 Техническая характеристика туннельной
печи для обжига строительного кирпича
|
Основные показатели
|
Числовые значения
|
|
Производительность печи (при режиме обжига 47 ч), млн. шт.
усл. кирпича в год
|
15000000
|
|
Вид топлива
|
природный газ
|
|
Длина печи, м
|
123
|
|
Ширина обжигового канала, м
|
2,4
|
|
Объем печного канала, м3
|
634
|
|
Длина технологических зон в м: подготовки обжига охлаждения
|
9. Организация технологического контроля
Современный этап производства керамического кирпича характеризуется
расширением ассортимента, повышением качества, возрастанием единичной мощности
технологических линий. Все это требует коренного совершенствования структуры,
методов и средств контроля производства.
Любой контроль сводится к осуществлению двух этапов:
ü получение первичной информации о фактическом состоянии
объекта, о признаках и показателях его свойств;
ü сопоставление первичной информации с заранее принятыми
требованиями, нормами, критериями, обнаружение соответствия или расхождений
фактических и требуемых данных, что дает вторичную информацию [39]. Вторичная информация используется для
выработки соответствующих управляющих воздействий, совершенствование
производства, повышения качества продукции и т.п.
Основными задачами системы контроля являются:
· определение качества поступающих на завод материалов;
· установление состава и свойств потоков материалов в процессе
производства;
· слежение за параметрами технологического процесса по всем
производственным переделам;
· контроль качества и сертификация (паспортизация) продукции;
· анализ и обобщение результатов контроля по всем переделам с
целью совершенствования технологического процесса.
Для решения этих задач система контроля производства должна включать в
себя ряд подсистем.
Подсистема общезаводского технологического контроля (центральная
заводская лаборатория) должна обеспечивать определение состава и свойств
исходного сырья, топлива, добавок, вспомогательных материалов, полуфабрикатов и
готовой продукции в объеме, достаточном для практического осуществления
процесса оптимизации производства по всему заводу [42].
Подсистема оперативного технологического контроля (обслуживающий персонал
основного производства, цеховые лаборатории) занимается определением состава и
свойств материалов на входах и выходах конкретных технологических участков
производства и контролем соответствия получаемых результатов, требуемым
значениям. Объем определений здесь должен быть минимально необходимым и не
требующим сложного оборудования для осуществления контроля.
Подсистема параметрического контроля (служба контрольно-измерительных
приборов и автоматизированных систем управления, КИП и АСУ) оценивает состояние
оборудования и режимы его работы, контролирует технологические параметры,
измеряет расходы в технологических потоках, уровни в емкостях и т.д.
Подсистема технического контроля (отдел технического контроля, ОТК)
обеспечивает контроль качества и соответствие выпускаемых материалов и изделий
действующей нормативной документации (государственным или отраслевым
стандартам, техническим условиям, стандартам предприятия), а также осуществляет
сертификацию (паспортизацию) продукции. В функции ОТК входит не только
фиксирование появления некачественной продукции, но и предупреждение подобных
фактов. С этой целью ОТК контролирует качество поступающих на предприятие
материалов, соблюдение установленной технологии, устанавливает причины,
вызывающие брак и снижающие качество продукции. ОТК также оформляет необходимые
акты и добивается устранения причин негативных явлений и их последствий. ОТК
проводит свою работу в тесном контакте с заводской и цеховыми лабораториями
[48].
Организация технологического контроля завода по производству керамического
кирпича представлена в табл.9.1
Таблица 9.1
|
№
|
Контрольная операция
|
Место контроля
|
Периодичность контроля
|
Производство контроля
|
Исполнители
|
|
Контроль глины, отощающих и выгорающих добавок
|
|
1.
|
Качество вскрышных работ
|
карьер
|
ежесуточно
|
осмотр
|
мастер, технолог
|
|
2.
|
Качество глины, поступающей в производство
|
карьер, приемник бункера
|
в течение смены
|
осмотр
|
мастер, технолог
|
|
3.
|
Влажность глины
|
приемные бункера
|
1 раз в смену
|
высушивание до постоянного веса
|
технолог
|
|
4.
|
Наличие включений и их характер
|
приемные бункера
|
1 раз в смену
|
осмотр
|
технолог
|
|
5.
|
Наличие отощающих и выгорающих добавок
|
приемные бункера
|
1 раз в смену
|
замер поднятия шиберов бункера
|
мастер, технолог
|
|
Контроль процесса подготовки массы и формовки кирпича
|
|
6.
|
Правильность дозировки компонентов шихты
|
питатели
|
в течение смены
|
замер поднятия шиберов бункера
|
мастер, технолог
|
|
7.
|
Состояние глиноперерабатывающего оборудования
|
вальцы СМК-517,смеситель КРОК-38, глинорастиратель СМК-530
|
1 раз в неделю
|
осмотр, замер, поднятие шиберов бункера
|
механик, мастер, технолог
|
|
8.
|
Состояние шнеков прессов, зазора между рубанком и шнеками,
состояние мундштука и его размеры
|
пресс СМК-502
|
1 раз в неделю
|
осмотр, замер
|
механик, мастер
|
|
9.
|
Влажность формовочной массы
|
брус
|
1 раз в сутки
|
высушивание до постоянного веса
|
технолог
|
|
10.
|
Состояние автомата резки кирпича
|
автомат СП-5М
|
в течение смены
|
осмотр, замер
|
мастер, технолог
|
|
11.
|
Размер и внешний вид кирпича-сырца
|
полуавтомат
|
в течение смены
|
осмотр, замер
|
мастер, технолог
|
|
Контроль процесса сушки
|
|
12.
|
Соблюдение графика загрузки сушильных вагонеток
|
сушильные вагонетки
|
в течение смены
|
|
мастер, технолог
|
|
13.
|
Проверка температуры теплоносителя
|
центральный канал сушила
|
в течение смены
|
замер
|
технолог
|
|
14.
|
Влажность кирпича-сырца после сушки
|
влажность сырца
|
ежесменно
|
высушивание до постоянного веса
|
технолог, мастер
|
|
15.
|
Выгрузка кирпича-сырца после сушки
|
влажность сырца
|
ежесменно
|
высушивание до постоянного веса
|
технолог
|
|
16.
|
Качество кирпича после сушки
|
сушильные вагонетки
|
ежесменно
|
разбраковка при выгрузке и после сушки по внешнему виду
|
технолог, мастер
|
|
Контроль процесса обжига
|
|
17.
|
Состояние печных вагонеток: футеровки, ходовой части.
|
печные вагонетки
|
в течение смены
|
визуально
|
мастер, технолог
|
|
18.
|
Правильность садки кирпича на вагонетки
|
печные вагонетки
|
в течение смены
|
визуально по схеме садки
|
мастер
|
|
19.
|
Ритмичность загрузки и выгрузки туннельной печи
|
туннельная печь
|
в течение смены
|
по журналу обжигания
|
мастер
|
|
20.
|
Контроль температурного режима
|
туннельная печь
|
в течение смены
|
замер
|
технолог
|
|
Контроль готовой продукции
|
|
21.
|
Прием готовой продукции и ее сортировка после приема
|
площадка готовой продукции
|
в 1-ю смену ежедневно
|
выбраковка по внешнему виду по ГОСТу 530-95
|
старший мастер, технолог
|
|
22.
|
Сдача готовой продукции
|
площадка готовой продукции
|
в 1-ю смену ежедневно
|
по ГОСТу 530-95
|
старший мастер, технолог
|
|
23.
|
Выдача паспортов на готовую продукцию
|
площадка готовой продукции
|
на каждую партию кирпича
|
Согласно протоколам и испытаниям
|
технолог
|
. Научно - исследовательская часть
.1 Обзор литературы
Доля керамических стеновых материалов в общем объеме промышленного и
жилищного строительства достаточно высока. Это обусловлено невысокими
эксплуатационными издержками, экологичностью, архитектурной выразительностью,
долговечностью, относительной простотой при реставрации и ремонте сооружений.
Промышленность керамических строительных материалов является одной из
самых материалоёмких отраслей народного хозяйства. Поэтому рациональное
использование топлива, сырья и других материальных ресурсов становится решающим
фактором её успешного развития в условиях проводимой экономической реформы. В
связи с этим проблема применения в керамических материалах нетрадиционных
добавок приобретает особую актуальность [10].
Известно, что в большинстве областей Казахстана отсутствуют или
ограничены месторождения кондиционных глин, пригодных для производства
керамического кирпича. В Казахстане керамические заводы в основном работают на
лессовидных суглинках, относящихся к типу низкосортного отощенного сырья,
исключающих возможность добавки к ним отощающих материалов или тугоплавких глин
каолинит-монтмориллонитового состава, запасы которых крайне ограничены. Кроме
того, широкое внедрение в керамическую промышленность по производству
керамического кирпича автоматических линий, использование глинистого сырья Казахстана,
по своим свойствам, значительно уступающим глинам Украины и России,
обусловливает изыскание новых видов отощителей и плавней.
Отощающие материалы вводят в керамические массы для уменьшения усадки и
деформации изделий при сушке. С увеличением содержания отощающих материалов
облегчается перемещение влаги из глубинных слоев к поверхности, сокращаются
продолжительность и стоимость сушки. В качестве отощающих материалов для
керамических масс используют тонкомолотый кварц (содержание SiO2 не
менее 90%), полевой шпат, пегматит и нефелин-сиенит. Полевой шпат, пегматит,
перлит и нефелин-сиенит являются, кроме того, плавнями, которые способствуют
спеканию изделий. Запасы эффективных отощителей и плавней в Казахстане также
ограничены [2].
Одним из аспектов решения проблемы по изысканию качественного сырья для
производства керамического кирпича является использование нетрадиционных
добавок.
Цеолитсодержащее сырье используется в промышленности строительных
материалов сравнительно недавно из-за малого изучения применения сырья в данной
промышленности. Природные цеолиты - новый вид минерального сырья. Цеолиты
обладают уникальными адсорбционными и ионообменными свойства, химической и
механической устойчивостью. Название "цеолит" происходит от двух
греческих слов: "цео" - кипеть и "литос" - камень.
Следовательно, цеолит - это кипящий камень, или камень, способный кипеть и,
действительно, цеолиты способны значительно увеличиваться в объеме при резком
нагревании [12,13].
Общим для всех минералов из группы цеолитов является наличие трехмерного
алюмокремнекислородного каркаса, образующего системы полостей и каналов, в
которых расположены щелочные, щелочноземельные катионы и молекулы воды. Катионы
и молекулы воды слабо связаны с каркасом и могут быть частично или полностью
замещены (удалены) путем ионного обмена и дегидратации, причем обратимо, без
разрушения каркаса цеолита. Лишенный воды цеолит представляет собой
микропористую кристаллическую "губку", объем пор в которой составляет
до 50% объема каркаса цеолита. В чистом виде цеолиты бесцветны, но природные
могут быть окрашены тонко рассеянными минеральными включениями (например,
механические примеси окислов железа окрашивают цеолиты в красноватый цвет) (рис
10.1.1) [15-17].
Рис. 10.1.1 - Внешний вид цеолита и его микропористая структура.
Химический состав цеолитов представлен такими оксидами как: SiO2,
Al2O3, TiO2, CaO, MgO, Fe2O3 и другими. Из-за высокого содержания оксида кремния,
составляющего около 70%, цеолитсодержащие породы могут использоваться в
производстве строительной керамики в качестве отощающей добавки. Природные
цеолиты также включают свыше 50 минералов. Их классифицируют по основным
структурным типам. Различают группы анальцима, натролита, шабазита, морденита, фожазита,
однако, наиболее распространены в природе лишь два - клиноптилолит и
морденит[16].
Цеолитсодержащее глинистое сырье является полиминеральным и в основном
сложено глинистыми минералами, цеолитами, кварцем, полевыми шпатами, иногда
присутствует реликтовое вулканическое стекло, кальцит. Достаточная техническая
прочность клиноптилолита, устойчивость к действию высоких температур,
агрессивных сред, селективность к крупным катионам щелочных, щелочноземельных
металлов, поглощающая способность и ситовый эффект - все это обуславливает
широкое использование минерала. Однако для производства строительной керамики,
содержание клиноптилолита не должно содержаться более нормируемой величины,
иначе при термических превращениях клиноптилолита керамический черепок трескается.
Цеолит применяется практически во всех сферах жизнедеятельности человека
от медицины до сельского хозяйства. Мировая добыча природных цеолитов в
настоящее время оценивается в 3-4 млн. т в год. Из них только около 20%
добываемых цеолитов используется в промышленности строительных материалов.
Многие вскрышные цеолитсодержащие породы отправляются в отвалы и занимают
плодородные земли. Но благодаря, проведенным опытам, цеолитсодержащие породы из
отвалов могут быть использованы в производстве керамического кирпича. Данный
кирпич отвечает всем физико-механическим характеристикам. Таким образом,
использование цеолитсодержащей добавки в производстве строительной керамики не
только повышает прочностные характеристики готовой продукции, но также улучшает
экологическую проблему добычи природного цеолита [14,15].
Другой нетрадиционной добавкой в производстве керамического кирпича
является волластонит, обладающий крупнокристаллической игольчато-волокнистой
структурой, используемый для получения малоусадочных керамических изделий,
отличающихся высокой прочностью, термо- и морозостойкостью. Большое внимание
привлекает к себе и искусственный волластонит, получаемый из смесей кальций и
кремнеземсодержащих компонентов. По своим свойствам синтезированный волластонит
(рис 10.1.2) практически идентичен натуральному, а по некоторым показателям
даже превосходит его [55,56].
Рис. 10.1.2 - Синтетический волластонит
Волластонит - метасиликат кальция (СаSiO3) с характерной
игольчатой структурой кристаллов, при раскалывании которых образуются зерна
игольчатой формы. Игольчатая форма зерна волластонита определяет его основное
направление использования в качестве микроармирующего наполнителя. Но в
некоторых отраслях промышленности имеет значение и химический состав
волластонита, т. к. он является одновременно источником СаО и Si02.
Волластонит ценится за его белизну (90-97%) химическую инертность, игольчатость
(15:1-20:1) высокую температуру плавления (15400С) хорошие
термоизоляционные свойства, низкую поглощаемость влаги и кислот.
Области применение волластонита довольно широки и разнообразны.
Волластонит главным образом является перспективным наполнителем композиционный
материалов, использующихся в ответственных отраслях промышленности: керамическая,
в том числе в строительной, фарфорофаянсовой, санитарной керамики;
стройиндустрии: цементная, стекольная промышленность, производство минеральной
ваты, деталей машин и т.д. Основной областью применения волластонита в
настоящее время является керамическая промышленность. Особый интерес
представляет использование волластонита в производстве глазури, глазурной
фритты, флюсов и цветных протрав (смальты) [57,58].
Следует подчеркнуть важную роль волластонита в производстве изделий
строительной керамики. Добавление волластонита в качестве добавки ведет к
повышению качества изделий, в первую очередь их прочности, и сокращению времени
обжига, а также уменьшает количество брака при сушке и обжиге изделия. В США
эта особенность материала оценена по достоинству, где более половины
получаемого волластонита расходуется на изготовление кафеля.
Керамическая масса с добавкой волластонита обладает совершенно необычными
свойствами. При нагревании до максимальной температуры шихта расплавляется лишь
частично, не расплавившиеся остатки волластонитовых иголок создают плотный
каркас, препятствующий изменению прежнего объема. Небольшая потеря объема
обусловлена увеличением пор связующей глины, являющейся обязательным
компонентом шихты (волластонит при плавлении и последующей кристаллизации
практически не меняет объема). Последующая кристаллизация шихты при охлаждении
изделия прочно скрепляет иголки между собой. Получающийся в результате
керамический черепок обладает рядом свойств: во-первых, он практически
сохраняет размеры, приданные ему при формовке, а, во-вторых, из-за большой
пористости и "сетчатого" строения черепок, несмотря на низкую
прочность, близкую к прочности фарфора, почти не бьется [59,60].
Требования к волластонитовому продукту зависят от области его применения.
В керамической промышленности используется концентрат, в котором содержание
волластонита должно быть не менее 80%, а примесь кальцита не должно превышать
5% [61]
Анализ источников литературы показал актуальность и необходимость
применения нетрадиционных видов добавок, таких как природный цеолит и
синтетический волластонит в производстве строительного кирпича. Добавки улучшат
не только прочностные характеристики продукции, но и позволят экономить на
процессах сушки и обжига [62].
10.2 Характеристика сырьевых материалов и методы исследования
Ввиду отсутствия местной каолинитовой глины и из-за экономической
нецелесообразности разработки удаленных месторождений гидрослюдистых глинистых
пород в качестве основного сырья принят лесс Шымкентского месторождения. Химический
состав лесса, представленный в табл.10.2.1, отличается сравнительно высоким
содержанием щелочно - земельных оксидов и железистых соединений [45].
Таблица 10.2.1 Химический состав лессовидной глины
Шымкентского месторождения
|
Исходные данные
|
Содержание оксидов, %
|
|
SiO2
|
Al2O3
|
CaO
|
Fe2O3
|
MgO
|
K2O
|
Na2O
|
TiO2
|
MnO2
|
п.п.п.
|
|
Лёсс
|
47,5
|
9,05
|
11,5
|
5,5
|
1,62
|
4,27
|
2,87
|
-
|
-
|
11,03
|
В минералогическом составе было обнаружено большое количество кварца,
наряду с кварцем в лессе содержатся полевые шпаты и CaCO3. Минералогический состав рассчитывали на основе
рентгенограммы лесса на аппарате ДРОН-3 (рис. 10.2.1).
Рис. 10.2.1 - Рентгенограмма лесса Шымкентского месторождения
По гранулометрическому составу лесс Шымкентского месторождения является
низкодисперсным: содержание частиц размером менее 5 мкм 18-20%; пылеватые
частицы 42-48% и песчаные 32-37%. Из-за низкого содержания частиц,
обеспечивающих формуемость массы, при формовании изделий пластическим способом
наблюдается разрыв граней и трещины в глиняном брусе, что требует глубокой
переработки сырья для полного разрушения первичной структуры породы со
значительным разбуханием глинистых минералов при увлажнении [63].
Для обеспечения необходимого уровня спекания массы на основе лесса, в
состав шихты вводили измельченную добавку природного цеолита Чанканайского
месторождения (г. Алматы) и синтетического волластонита.
Цеолитсодержащая порода имеет красно-коричневый цвет, массовая доля
цеолита в породе составляет 50-84%. Химический состав представлен в
табл.10.2.2, цеолитсодержащая порода характеризуется высоким содержанием SiO2,
сравнительно большим содержанием Al2O3 и красящим оксидом Fe2O3.
Таблица 10.2.2 Химический состав цеолитсодержащей
породы Чанканайского месторождения
|
Исходные данные
|
Содержание оксидов, %
|
|
|
SiO2
|
Al2O3
|
CaO
|
Fe2O3
|
MgO
|
K2O
|
Na2O
|
TiO2
|
MnO2
|
п.п.п.
|
|
|
Цеолит
|
60
|
14,5
|
0,13
|
1,4
|
-
|
0,66
|
0,61
|
0,7
|
0,199
|
5
|
|
Минеральный состав цеолитсодержащей породы, по данным рентгенофазового
анализа (рис. 10.2.2), представлен клиноптилолитом, кварцем и полевыми шпатами.
В незначительном количестве имеются примеси глинистых минералов. При этом
содержание основных компонентов породы составляет: клиноптилолита - 70-84%,
кварца и полевого шпата - 24-30%, глинистых минералов - 3% [63,64].
Рис. 10.2.2 - Рентгенограмма цеолитсодержащей породы Чанканайского
месторождения.
Выявленный минеральный состав цеолитсодержащей породы позволяет отнести
ее к плавням - материалам, которые образуют жидкую фазу за счет собственного
плавления.
Еще одной добавкой, повышающей прочность керамического черепка из лесса,
является синтетический волластонит, экспериментально полученный в ЮКГУ им.
Ауэзова Вернером В.Ф. и Худяковой Т.М. [65].
Синтетический волластонит представляет собой мелкодисперсный порошок
белого цвета, немного с сероватым оттенком. Химический состав синтетического
волластонита представлен в табл.10.2.3, где основное процентное содержание
приходится на оксиды кальция и кремния.
Таблица 10.2.3. Химический состав синтетического
волластонита
|
Исходные данные
|
Содержание оксидов, %
|
|
|
SiO2
|
CaO
|
Fe2O3
|
MgO
|
P2O5
|
R2O
|
F
|
SO3
|
|
|
Синтетический волластонит
|
46,69
|
43,55
|
10,35
|
3,36
|
1,35
|
0,09
|
2,52
|
0,87
|
|
Минеральный состав волластонита приведен на рис. 10.2.3, где основную
долю составляет собственно волластонит, а также в минеральный состав входят
минералы мелилита и окерманита.
Рис. 10.2.3 - Рентгенограмма синтетического волластонита.
Как и природный минерал волластонит, его синтетический аналог, полученный
экспериментальным путем, обладает игольчатой формой зерна, которая необходима
для получения крепкого керамического черепка при спекании [61,62].
Для определения минералогического состава сырья использовался
рентгенографический анализ.
Основные преимущества рентгенографического анализа заключается в том, что
исследуется само твердое тело в неизменном состоянии и результатом анализа
является непосредственно определение вещества или его составляющих.
Рентгеновские лучи исследуют кристалл, т.е. само соединение; более того, в
случае полиморфных тел рентгеновские лучи дают возможность различить отдельные
модификации, свойственные данному веществу. Для исследования вещества требуется
очень небольшое количество вещества, которое в процессе проведения
аналитической операции не разрушается [62].
Каждое кристаллическое вещество характеризуется своей решеткой,
определенным химическим составом и определенным распределением атомов по
элементарной ячейке решетки. Геометрия решетки определяет собой набор
межплоскостных расстояний (следовательно, брэгговских углов θ
при дифракции на
заданном излучении). Индивидуальность и распределение атомов определяет
интенсивность дифрагированных лучей. Таким образом, дифракционная картина
является как бы своеобразным "паспортом" химического соединения, его
"дактилоскопическим отпечатком", по которому можно установить, какому
из уже известных ранее соединений соответствует полученная рентгенограмма.
Рентгенофазовый анализ можно разделить на качественный и количественный.
I (llk/)
Качественный рентгенофазовый анализ заключается в идентификации
кристаллических фаз на основе присущих им значений межплоскостных расстояний d и соответствующих
интенсивностей линий I
рентгеновского спектра;
Количественный анализ заключается в определении количества тех или иных
фаз в смеси; определении средних размеров кристаллов, зерен в образце, функции
распределения их по размерам, по анализу профиля линий; изучении внутренних
напряжений - проведении анализа профиля дифракционных линий и сдвига положения
этих линий; изучении текстур, т.е. характера преимущественной ориентации
кристаллитов. Количественный рентгеновский фазовый анализ основан на
зависимости интенсивности дифракционного отражения от содержания
соответствующей фазы в исследуемом объекте [66].
В основе рентгенофазового анализа (РФА) лежат следующие принципы:
·порошковая дифракционная картина является индивидуальной характеристикой
кристаллического вещества;
·каждая кристаллическая фаза дает всегда одинаковый дифракционный спектр,
характеризующийся набором межплоскостных расстояний d и
соответствующих интенсивностей линий кристаллической фазе;
·рентгендифракционный спектр от смеси индивидуальных фаз является
суперпозицией их дифракционных спектров;
·по дифракционному спектру смеси возможна количественная оценка
соотношения кристаллических фаз, присутствующих в изучаемом образце.
Соотношение интенсивностей присутствующих в конкретном образце
кристаллических фаз пропорционально содержанию фаз в нем.
Результатом рентгенофазового анализа является рентгенограмма.
Экспериментально рентгенограмму исследуемого объекта можно получить с применением
регистрации дифракционной картины с помощью детекторов рентгеновского излучения
(дифрактометры рентгеновские общего назначения ДРОН-2; ДРОН-З и т.д.). Затем
для определения вещества по рентгенограмме используют рентгенометрический
определитель или рентгенометрическую таблицу.
Наиболее полными сборниками рентгенограмм являются
"Рентгенометрический определитель минералов" В. И. Михеева и
"Рентгенометрическая картотека", издаваемая до 1970 г. Американским
обществом по испытанию материалов (ASTM).
"Рентгенометрический определитель минералов", составленный В.
П. Михеевым содержит обширные сведения, ключ для определения минералов по пяти
наиболее интенсивным линиям; детальное описание рентгенограмм минералов; список
литературы; указатель минералов и подробное оглавление, в котором дана
классификация минералов, используемая в определителе. При анализе минеральных
препаратов предпочтительнее пользоваться этим определителем. Кроме общих
существуют специальные определители для отдельных групп минералов. При анализе
минералов или соединений определенного класса пользоваться ими удобнее, чем
крупными определителями общего характера.
Рентгенометрические определители имеют указатели по названиям минералов и
химическим формулам, где приведены межплоскостные расстояния для трех, пяти или
восьми интенсивных линий.
Если требуется найти рентгеновские данные для известного минерала
(соединения), удобно пользоваться указателем, составленным по алфавитному,
минералогическому или химическому признаку. Если химический состав исследуемого
образца не известен, можно воспользоваться ключом, который позволяет по
межплоскостным расстояниям нескольких наиболее интенсивных линий, определить
минерал или соединение. При этом предпочтительнее использовать линии
малоугловой области, поскольку их мало, и они более однозначно характеризуют
данный минерал. Для изоморфных смесей положение исследуемого образца в
изоморфном ряду можно определить лишь по точным значениям межплоскостных
расстояний [62,66].
10.3 Результаты экспериментов
Опытные образцы размеров 5х5х5 готовили методом пластичного формования.
Образцы готовили из заранее приготовленных и измельченных сырьевых материалов.
Для изготовления образцов использовали 3 вида смеси - бездобавочную
(лесс+вода), с добавкой цеолита (10-12%) и с добавкой синтетического
волластонита (3,5 и 10%) [27].
Уже при приготовлении смеси можно было обнаружить изменения в структуре
шихты. При взаимодействии сырьевой смеси с добавкой цеолита и водой образуется
более пластичное тесто, чем при приготовлении шихты из лесса или лесса с
добавкой волластонита. Это связано с тем, что тонко измельченные частицы
цеолитсодержащей породы, из-за особенностей структуры, где имеется значительное
количество воды, при увлажнении приобретают значительную пластичность за счет разбухания
минералов клиноптилолита. Эта особенность улучшает формуемость массы,
увеличивая контакты между пластичными и твердыми частицами [67].
Далее образцы отправлялись на сушку, сначала при комнатной температуре на
24 часа, а затем для полного удаления излишней влаги в сушильный шкаф при
температуры 2500С.
После сушки образцы обжигали при температурах - 950-10500 С в
лабораторной электропечи с изотермической выдержкой 1-1,5 ч в данном интервале
температур.
После обжига охлажденные образцы отправлялись на определение прочности на
сжатие и рентгенофазовый анализ, для выяснения марки кирпича и
минералогического состава обожженного кирпича [45].
Минералогический состав обожженных образцов с различным видом и
содержанием добавок представлен на рис. 10.3.1
Рис. 10.3.1 -Минералогический состав обожженных образцов с различными
видами добавок.
Как видно из рентгенограммы, добавки цеолита и волластонита влияют на
минералогический состав кирпича. В образце с добавкой цеолита образуется
повсеместно с минералом муллитом, кварцем и его модификациями минерал морденит,
являющийся другой модификацией цеолита, который образовался при спекании из
клиноптилолита. В образце с добавкой синтетического волластонита, наряду с
муллитом образуется новый минерал мелилит, а также в образце присутствует сам
волластонит [59,68].
Результаты опытных исследований образцов на сжатие показали зависимость
количества вводимых добавок (или их отсутствие) на прочность керамического
кирпича в интервале температур 950-10500С (рис. 10.3.2).
Рис. 10.3.2 - Зависимость количества вводимых добавок и температуры
обжига на прочность керамического кирпича.
На рис. 10.3.2 наглядно показано, что на прочность образцов влияет не
только количество добавок, но и температура обжига кирпича. При температуре 9500
С большие прочностные характеристики показывает образца с добавкой цеолита, в
отличие от образцов с добавкой волластонита и бездобавочным кирпичом, дающие
марку 100, кирпич с добавкой цеолита дает марку 150. Различия происходят из-за
того, что уже при температуре 9500С клиноптилолит переходит в другую
модификацию - в минерал морденит и уже при данной температуре морденит
учувствует в процессе обжига в качестве плавня, образуя жидкую фазу для
дальнейшего образования муллита. Однако температуры 9500С мало для
образцов с добавкой волластонита, потому что волластонит образует жидкую фазу
только при 10500С. Только при данной температуре прочность образцов
повышается. Однако, при этой же температуре прочность образца с цеолитом
падает, все из-за того, что при повышенных температурах образуется большое
количество морденита, который из-за увеличения в объеме дает трещины в образце.
При температуре 10500С волластонит с сырьевой смесью образует жидкую
фазу, и, благодаря своей игольчатой структуре, он проникает в каркас
кристаллической решетки и затем при кристаллизации шихты прочно скрепляет
иголки между собой, и в результате керамический черепок приобретает дополнительную
прочность [58-68].
10.4 Выводы по научной части
Введение в керамическую массу добавок цеолита и волластонита повышает
прочность керамического черепка. Однако необходимо отметить, что прочность
зависит не только от количества вводимых добавок, а также от температуры обжига
в пределах 950-10500 С. Выбор данного интервала температур выбран,
прежде всего, из-за поведения добавок при обжиге. Так при температуре 9500С
образец с цеолитом дает большую прочность, чем при температуре 10500С.
Объясняется это тем, что при температуре 9500С из клиноптилолита
образуется новый минерал - морденит, являющийся плавнем, количество которого в
смеси достаточно для образования жидкой фазы, однако после повышения
температуры количество минерала увеличивает, в результате чего керамический
черепок вспучивается и, разрушаясь, резко теряет прочность. Образец с добавкой
синтетического волластонита наоборот дает прочность только при повышенных
температурах. При 9500С сырьевая смесь и волластонит не успевают
прореагировать, так как температура слишком мала для образования жидкой фазы,
однако, уже при 10500С волластонит с сырьевой смесью образует жидкую
фазу, и, благодаря своей игольчатой структуре, он проникает в каркас
кристаллической решетки черепка и затем при кристаллизации шихты и последующем
охлаждении прочно скрепляет иголки между собой, и в результате керамический
черепок приобретает дополнительную прочность [59,68].
Таким образом, введение добавок цеолита и синтетического волластонита в
сырьевую смесь из лесса и воды, позволяет получать кирпич высоких марок из
местного сырья, что является важным для строительной керамики облицовочного
назначения [61,68].
11. Охрана окружающей среды
Существующие технологические отходы в производстве
керамического кирпича
Как и любая промышленность, производство керамического кирпича образует
отходы. Керамический кирпич изготавливают на механизированных предприятиях из
глины и различных добавок (кварц, трепел, песок).
Основными процессами в производстве кирпича являются:
) подготовка многокомпонентной шихты полусухим или пластическим способом;
в первом случае сырьевые материалы сушат и измельчают в тонкий порошок,
перемешивая его с добавками, а во втором - материалы дробят, разминают и
перемешивают с водой;
) формование сырца путем прессования увлажненного (до влагосодержания
8-10%) порошка на гидравлических или механических прессах либо путем формования
тестообразной (влажность 20-25%) пластичной массы на различных по принципу
действия и мощности, ленточных прессах;
) сушка - удаление влаги в процессе нагрева сырца газами или другим
теплоносителем;
) обжиг - завершающий, наиболее сложный процесс, разделяющийся на досушку
сырца, подогрев, взвар с выдержкой и остывание изделий [6].
Среди отходов в производстве кирпича встречаются: мелкодисперсная пыль и
брак готового изделия.
Брак кирпича может наблюдаться на стадии формования изделия, сушки и
обжига, а также при прессовании изделия полусухим методом производства. Брак
готового изделия может возвращаться в производство в качестве добавки для
снижения влажности шихты или в качестве щебня в общестроительных работах и при
изготовлении бетона.
Большое значение на предприятиях по производству кирпича имеет проблема
борьбы с запыленностью в цехах, создания нормальных санитарно-гигиенических условий
труда и защиты окружающей среды. Пыль может образоваться при дроблении глины,
ее помоле, а также в малых количествах при сушке и обжиге изделия. Дисперсный
состав пыли зависит от технологического процесса, типа и размера печи,
химического и зернового состава сырья. Грубые частицы пыли являются продуктом
механического уноса сырьевой смеси. Более тонкие фракции пыли образуются в
результате уноса газовым потоком обжигаемого материала из активной зоны печи.
При производстве глиняного кирпича наибольшее пылевыделение, превышающее
ПДК на складах глины - 1,5-2,5, песка 5-7, в цехе приготовления сырьевой смеси
12-15. На участке погрузки и разгрузки запыленность в 2-3 раза превышает
допустимые концентрации.
Кирпичные заводы
оснащены специальными пылеуловителями. Однако эффективность их недостаточна, и
запыленность воздуха в производственных помещениях, а также в прилежащей
местности превышает иногда допустимые концентрации. Это, кроме того, является
следствием недостаточной герметизации помольно-дробильного и транспортирующего
оборудования, а также отклонений технологических режимов (повышенное давление в
камерах и т.п.) и бездействия местной вентиляции и др. Пылевые выбросы производства керамического кирпича содержат
вредные для здоровья компоненты, среди них более опасным является
мелкодисперсный кварц, вызывающий заболевания легких. Поэтому для сохранения здоровья рабочего персонала и
улучшения экологической обстановки важно утилизировать отходы производства
строительного кирпича [2,3].
Утилизации отходов производства керамического кирпича в
мировой практике
Аппараты, применяемые для очистки воздуха от пыли в производстве
керамического кирпича, подразделяются на два основных вида: воздушные фильтры и
пылеуловители. Такое разделение оборудования несколько условно, но позволяет
довольно четко обозначить область его применения. Воздушные фильтры служат для
очистки наружного воздуха, подаваемого в производственные помещения,
пылеуловители - для очистки воздуха, удаляемого системами аспирации, от пыли
перед выбросом его в атмосферу.
Эффективность пылеосаждения определяется, прежде всего, величиной
осаждаемых частиц. Чем крупнее пыль, содержащаяся в запыленном воздухе, тем
легче ее осадить, применив даже простейшие аппараты. Кроме того, на
эффективность пылеулавливания влияют и на другие свойства пыли: слипаемость,
влажность, удельный вес, геометрическая форма пылинок и др. В конструкциях всех
известных аппаратов используются немногочисленные принципы осаждения пылевых
частиц. Пылевые частицы могут выделяться из воздушного потока под действием
гравитационных сил. Эти силы невелики, поэтому пылеуловители, основанные на
использовании этих сил, не могут удовлетворить современным требованиям,
предъявляемым к очистке газов.
Широкое применение нашли пылеуловители, основанные на действии
инерционных и электрических сил, а также пылеулавливание с помощью фильтрации
запыленного воздуха через пористые материалы и осаждения пыли на смоченные
поверхности [1].
Инерционное отделение частиц в прямолинейных потоках происходит при
обтекании препятствий. Осаждение пылевых частиц в этом случае обусловливается
отклонением воздушных потоков при соприкосновении с перфорированными
поверхностями, волокнами, каплями жидкости и т. п. Эффективность осаждения
определяется соотношением числа частиц, соударяющихся с препятствием, с числом
частиц, которые пересекли бы контур препятствия, если бы последнее не отклоняло
воздушный поток. Выделение частиц объясняется торможением потока, несущего
частицы, вблизи передней критической точки обтекания - точки застоя,
образующейся у препятствия. Скорость частиц замедляется, они теряют инерцию и в
результате действия поперечных составляющих скорости потока выносятся
параллельно поверхности.
Существенное влияние на осаждение частиц оказывает способность их к
смачиванию. Если частицы плохо смачиваются, то поверхность жидкости около
частицы приобретает вогнутую форму, т.е. силы поверхностного натяжения жидкости
препятствуют погружению в нее частицы. Для снижения сил поверхностного
натяжения воды и улучшения смачивания вводят специальные вещества - ингибиторы.
Смачиваемость пылевых частиц уменьшается с уменьшением их крупности. Даже такой
гидрофильный минерал, как кварц, в виде порошка трудно смачивается водой.
Независимо от вида материала частицы менее 5 мкм относятся к несмачиваемым.
Осаждение частиц пыли в пористых слоях происходит в результате
одновременного действия всех рассмотренных механизмов пылеосаждения. Теория
фильтрации в пористых слоях разработана недостаточно полно, так как учесть
многочисленные факторы, влияющие на осаждение пыли, - задача чрезвычайно
трудная. Расчет эффективности пылеуловителей производится главным образом на
основе опытных данных. Методы обеспыливания с помощью
звуковых генераторов требуют дальнейших исследований. Существенным недостатком акустических
методов обеспыливания являются значительная стоимость оборудования и большие
эксплуатационные издержки. В нашей стране эти методы пока не нашли широкого
применения и в настоящей работе не рассматриваются.
Выбор метода очистки и пылеуловителя в основном зависит от дисперсного
состава и свойств пыли, а также требований, предъявляемых к полноте осаждения
частиц [4].
Аппарат, применяемый для очистки кирпичной пыли в
производстве строительного кирпича
Все известные способы улавливания пыли можно разделить на сухие и мокрые.
Мокрые способы характеризуются большими энергозатратами, наличием стоков,
необходимостью защиты аппаратуры от коррозии и устранения отложений на стенках
аппаратов и трубопроводов и т. п., поэтому предпочтение отдается сухим способам
пылеулавливания за исключением тех случаев, когда мокрое пылеулавливание
обусловливается технологическими требованиями. Например, в процессе очистки
необходимо охлаждать газ до температуры точки росы или обработку уловленной
пыли вести гидравлическим способом [7].
Среди известных различных сухих способов очистки промышленных газов от
крупнодисперсных частиц пыли наибольшее распространение получили
пылеосадительные камеры и циклоны.
Выбор одного из этих двух типов аппаратов определяется технико-экономическим
сопоставлением. При этом надо учитывать следующие факторы. Пылеосадительные
камеры являются самыми простыми в эксплуатации и служат для грубой очистки,
однако более мелкие частицы пыли могут выноситься с потоками воздуха наружу.
Пылеосадительные камеры обладают большими габаритами и малоэффективны, поэтому
заменяются на другие пылеулавливающие устройства. Одним из них является циклон. Циклоны - это устройства для отделения твердых частиц из
воздуха; конструктивные элементы которых обеспечивают вращательно-поступательное
движение газового потока. При небольших капитальных затратах и эксплуатационных
расходах циклоны обеспечивают очистку газов эффективностью 85-98% от частиц
пыли размером более 10 мкм.
Циклонные аппараты наиболее распространены в промышленности. Они имеют
следующие достоинства:
. отсутствие движущихся частей в аппарате;
. надежность работы при температурах газов вплоть до 500°С (для
работы при более высоких температурах циклоны изготовляют из специальных
материалов);
. возможность улавливания абразивных материалов при защите
внутренних поверхностей циклонов специальными покрытиями;
. улавливание пыли в сухом виде;
. почти постоянное гидравлическое сопротивление аппарата;
. успешная работа при высоких давлениях газов;
. простота изготовления;
. сохранение высокой фракционной эффективности очистки при
увеличении запыленности газов.
Недостатки:
. высокое гидравлическое сопротивление: 1250 - 1500 Па;
. плохое улавливание частиц размером <5 мкм;
. невозможность использования для очистки газов от липких
загрязнений.
Принципиально циклон работает по следующей схеме (рис. 11.3.1).
Обеспыливаемый газ поступает в образующую кольцевое пространство аппарата
цилиндрическую часть, где движется по спирали с возрастающей скоростью от
периферии к центру, спускается по наружной спирали, затем поднимается по
внутренней спирали и выходит через выхлопную трубу. Под действием центробежной
силы частицы пыли отбрасываются к стенке циклоны и вместе с частью газа
попадают в бункер. Часть освободившегося от пыли газа возвращается из бункера в
циклон через центр пылеотводящего отверстия, давая начало внутреннему вихрю
[6].

Отделение частиц от попавшего в бункер газа происходит при перемене
направления их движения на 180° под действием сил инерции. По мере движения
данной части газа в сторону выхлопной трубы к ним присоединяются порции газа,
не попавшего в бункер. Это не вызывает существенного увеличения выноса пыли в
трубу, так как распределенное на довольно большом отрезке длины циклоны
перетекание газа происходит со скоростью, недостаточной для противодействия
движению частиц к периферии аппарата. Значительно большее влияние на полноту
пылеулавливания оказывает движение газа в области пылеотводящего отверстия.
Поэтому частицы чрезвычайно чувствительны к подсосам газа через бункер из-за
увеличения объема потока, движущегося навстречу улавливаемой пыли. Отсюда видна
важная роль бункера при осаждении частиц пыли в циклоне; использование таких
аппаратов без бункеров или с бункерами уменьшенных размеров приводит к снижению
эффективности пылеулавливания [4,6].
Расчет основных габаритных размеров циклона
В производстве кирпича в качестве пылеулавливающего аппарата был выбран
циклон. Циклон работает только при полной нагрузке, при малой нагрузке его
к.п.д. уменьшается. Скорость воздуха во входном патрубке циклона принимают 16 -
20 м/с и не более 25 м/с, а в выходном 4 - 6 м/с [8].
В таблице 11.4.1 указана характеристика наиболее распространенных
циклонов.
Таблица 11.4.1 Техническая характеристика циклонов.
|
Тип циклона
|
Диаметр циклона, м
|
Производительность, м3/с
|
Размеры
|
|
|
|
h
|
Hц
|
Нк
|
|
ССМ
|
2,21 2,88 3,20 3,46
|
2 3,7 5 5,8
|
- - - -
|
1,92 2,56 2,88 3,12
|
2,1 2,85 3,17 3,39
|
|
НИИГаз (Институт очистки газа)
|
0,04-0,08 0,04-0,08 0,4-1
|
- - - -
|
0,48Dц 0,66 Dц 1,11 Dц
|
2,08 Dц 2,26 Dц 2,11 Dц
|
2 Dц 2 Dц 1,75 Dц
|
|
ВТИ (Теплотехнический институт)
|
0,3 0,45 0,6 1,0
|
0,17 0,37 0,67 1,86
|
Выходной патрубок: h=0,361 Dц b=0,206 Dц F=0,0745 Dц
|
|
ЦКТИ
|
2,1 2,4 3,25 3,6
|
5,86 7,8 1,4 1,8
|
h=0,4 Dц b=0,2 Dц F=0,8 Dц -
|
- - - -
|
- - - -
|
Циклон будет расположен после дробилки для измельчения глины, так как в
производстве кирпича данная операция является самой пылеобразующей. Из
предлагаемой таблицы технической характеристики был выбран циклон из группы
ВТИ, диаметром Dц=0,45, производительностью Q=0,37 м3/с,
h=0,361 Dц, b=0,206 Dц, F=0,0745 Dц.
Диаметр выхлопной трубы циклона будет равен:
где Q - производительность циклона, м3/ч; vвых -
скорость воздуха в выходном патрубке (18 м/с).
Глубина опускания выхлопной трубы:
Диаметр разгрузочного патрубка циклона Dп по практическим
соображениям принимают не более 250 мм.
Высота цилиндрической части циклона:
12. Охрана труда и техника безопасности
Охрана труда рассматривается как одно из важнейших
социально-экономических, санитарно-гигиенических и экономических мероприятий,
направленных на обеспечение безопасных и здоровых условий труда рабочих в
процессе производства керамического кирпича. Охрана здоровья рабочих и служащих
в процессе исполнения трудовых обязанностей закреплена в кодексе о труде от 15
мая 2007 года [1], непосредственно направленном на создание безопасных и
здоровых условий труда. Кроме того, разработаны и введены в действие
многочисленные правила техники безопасности, санитарии, нормы и правила,
соблюдение которых обеспечивает безопасность труда. Ответственность за
состояние охраны труда несет администрация предприятия, которая обязана
обеспечивать надлежащее техническое оснащение всех рабочих мест и создавать на
них условия работы, соответствующие правилам охраны труда, техники
безопасности, санитарным нормам [2]. Одним
из важнейших принципов организации производства является создание безопасных и
безвредных условий труда на всех стадиях производственного процесса.
Мероприятия по охране труда обеспечиваются проектно-сметно-конструкторской и
другой технической документацией. Технологический
процесс производства керамического кирпича должен соответствовать требованиям
безопасности. Организация и проведение технологического процесса
предусматривает меры безопасности и безвредности для работающего персонала,
близ расположенных жилых массивов и окружающей среды. Производственный процесс
должен быть взрыво - и пожаробезопасным [2,7].
Характеристика работы с точки зрения ее потенциальных и
вредных факторов
При производстве керамического кирпича в цехе дробления, формования,
сушки и обжига присутствуют вредные и опасные факторы. Основными опасными на
производстве факторами являются: движущиеся части оборудования производства
кирпича, повышенная температура рабочей зоны, нагретая поверхность оборудования
и другие. К основным вредным факторам в производстве кирпича являются:
запыленность воздуха и шум [7,9]. Характеристика
вредных и опасных факторов производства, а также их источники представлены в
таблице 12.2.1.
Таблица 12.2.1 Оценка степени опасности
технологического процесса.
|
Наименование цеха
|
Наименование оборудования.
|
Технологические параметры (t, P и др.)
|
Перечень токсичных, взрывоопасных веществ)
|
Вредные и опасные факторы
|
|
Цех дробления
|
Валковая дробилка
|
коэффициент дробления (τ)=12
|
пыль
|
Шум, электрический ток, движущиеся части оборудования
|
|
Цех формования
|
Ленточный вакуум-пресс
|
Удельное давление прессования 1,6 МПа
|
Отсутствует
|
Шум, электрический ток, напряжение, движущиеся части
оборудования
|
|
Цех сушки
|
Туннельная сушилка
|
tнач=30-350С tкон=90-1000С
|
CO, NO2
|
Шум, повышенная температура воздуха рабочей зоны,
электрический ток, движущиеся части оборудования, нагретые стенки
технологического оборудования, взрывопожароопасные вещества.
|
|
Цех обжига
|
Туннельная печь
|
tобж=10000С
|
CO, NO2,CH4
|
Шум, повышенная температура воздуха рабочей зоны,
электрический ток, движущиеся части оборудования, нагретые стенки
технологического оборудования, взрывопожароопасные вещества.
|
Главными источниками пылеобразования на заводе являются такие производственные
процессы как дробление сырья, транспортировка сырья ленточными транспортерами,
приготовление сырьевой смеси. При производстве строительного кирпича наибольшее
пылевыделение, превышающее ПДК на складах глины - 1,5-2,5 (ПДК глинистой пыли в
воздухе рабочей зоны не должна превышать 0,5 мг/м3), песка 5-7 (ПДК
песочной пыли в воздухе рабочей зоны не должна превышать 2 мг/м3
[24]. На участке погрузки и разгрузки запыленность в 2-3 раза превышает
допустимые концентрации. С запыленность на заводе керамического кирпича борются
с помощью пылеулавливающих аппаратов и герметизации оборудования [9].
Повышение уровня шума оказывает вредное воздействие на организм человека.
Производственные процессы на предприятии по производству керамического кирпича
сопровождаются шумом, особенно большое количество шума приходится на цех
дробления. В результате длительного воздействия шума нарушается нормальная
деятельность сердечнососудистой и нервной системы, пищеварительных и
кроветворных органов, развивается профессиональная тугоухость, прогрессирование
которой может привести к полной потере слуха. Снижение шума можно достичь
уменьшением его в источнике образования, то есть оборудование изолировать с
помощью средств звукоизоляции, а также акустической обработкой помещений и средствами
индивидуальной защиты [2,10].
Решения по обеспечению безопасности проведения работы
Производственное оборудование цеха должно соответствовать требованиям
ГОСТ 12.2.003-91 [12]. Производственное оборудование должно соответствовать
требованиям безопасности в течение всего срока службы. Движущиеся (вращающиеся)
части производственного оборудования, являющиеся источниками опасности, должны
быть ограждены сетчатыми или сплошными металлическими ограждениями.
Эксплуатация оборудования при снятых или неправильно установленных ограждениях
запрещается.
По электробезопасности цех в соответствии с требованием ПУЭ (правила
установки электрооборудования) относиться к категории с повышенной опасностью
(2 класс) [8].
Для защиты людей от поражения электрическим током производственное
оборудование должно удовлетворять следующим требования:
. токоведущие части производственного оборудования, являющиеся источником
опасности, должны быть надежно изолированы или расположены в недоступных для
людей местах;
. металлические части производственного оборудования, которые вследствие
повреждения изоляции токоведущих частей могут оказаться под напряжением опасной
величины, должны быть заземлены (занулены) [8,9].
Контроль шумового воздействия на производстве осуществляется в соответствии
с ГОСТ 12.1.003-83 и СН 3223-85 [10,11]. Оборудование, являющиеся источником
повышенного шума, должно быть изолировано, рабочие для безопасной работы в
помещениях с шумом должны пользоваться специальными средствами индивидуальной
защиты.