Методы увеличения нефтеотдачи пластов на Восточно–Сулеевской площади
1 ИСХОДНЫЕ ДАННЫЕ
1.1 Краткая геолого-промысловая характеристика
Восточно-Сулеевской площади
Разрез осадочной толщи Восточно-Сулеевской площади, как и в целом по
Ромашкинскому нефтяному месторождению, представлен образованиями девонской,
каменноугольной, пермской и четвертичной систем, залегающими на
гранито-гнейсовых породах кристаллического фундамента. Тектонически площадь
расположена в пределах Южного купола Татарского свода, приурочена к северному
погружению этой крупной пластформенной структуры и является частью
многопластовой залежи сводового типа.
Для отложений пашийского горизонта отличительной особенностью является
наличие значительной гидродинамической связанности продуктивных пластов пачки
«б», по которым коэффициент связанности меняется от 0,228 до 0,378. В то же
время этот показатель по пластам «а» и «б1» и «в» и «гд» равен 0,166 и 0,146.
В процессе анализа было установлено, что в пределах Восточно-Сулеевской
площади в 235 скважинах вскрыты пласты с подошвенной водой со средней
абсолютной отметкой водо-нефтяного контакта (ВНК), равной минус 1485,7 м.
Выявлено, что средние абсолютные отметки по отдельным блокам изменяются
незначительно: от минус 1485,4 м (I блок) до минус 1486,0 м (II
блок). Анализ показал, что в преобладающем количестве случаев ВНК вскрыт в
пластах «в» и «гд», причем как в раздельно залегающих пластах, так в пределах
слияний этих пластов. Общая толщина пластов с подошвенной водой изменяется в
среднем по площади от 3,2 м до 35,6 м при средней, равной 10,4 м. Кроме того,
было установлено различие по нефтенасыщенной и водонасыщенной толщине
коллектора. Так, нефтенасыщенная толщина в этих пластах колеблется от 0,4 м до
21,4 м и составляет в среднем 4,3 м, а водонасыщенная - от 0,8 м до 18,0 м и в
среднем равна 6,1 м. Очень важным параметром, который следует учитывать при
вовлечении запасов ВНЗ в разработку, является соотношение нефтенасыщенной и
общей толщин по пластам с подошвенной водой. По скважинам площади оно
изменяется от 0,083 до 0,903 и в среднем составляет 0,422 (по отдельным блокам
значения этого параметра изменяются незначительно). Было установлено, что в
целом по площади пласты с соотношением толщин до 0,3 были вскрыты в 69
скважинах (29,9 %), от 0,3 до 0,5 - в 85 (36,8 %), более 0,5 - в 77 скважинах
(33,3 %). Таким образом, в почти 30,0 % скважин, где это соотношение не
превышает 0,3, условия разработки могут быть нерентабельными.
В пределах продуктивной части значительно различаются показатели
зональной неоднородности по пластам изучаемого объекта. Так, вероятность вскрытия
коллектора по пластам пашийского горизонта изменяется в пределах от 0,371
(пласт «б1») до 0,990 («гд»), а коэффициент выдержанности от 0,547 (пласт «б1»)
до 0, 989 («гд»).
Коллектора пласта «а» развиты фактически в пределах всей площади, за
исключением небольших зон отсутствия коллекторов в западной и юго-восточной
частях. Преобладающая часть площади занята выскопродуктивными коллекторами.
Коллекторы других групп представлены линзами различных размеров и отдельных
вытянутых в меридиональном направлении зон. Водонасыщенный коллектор по этому
пласту вскрыт лишь в одной скважине.
Для коллекторов пачки пластов «б1», «б2», «б3» характерны практически
одни и те же особенности распространения их по площади. Они развиты в виде
отдельных небольших линз и вытянутых почти в меридиональном направлении линз
коллекторов различной продуктивности. Из рассматриваемых пластов более обширным
характером распространения коллекторов выделяется по пласт «б3». По всем
пластам водонасыщенные коллекторы вскрыты в основном в восточной части площади.
Для зонального интервала пласта «в» характерно в общем аналогичное с
упомянутым выше пластом «б3» строении. Высокопродуктивные коллекторы развиты
также на значительной части площади, но гораздо более обширны (особенно в
северной и восточной частях) зоны водонасыщенных коллекторов. Обращает на себя
внимание также наличие обширных зон слияния с нижним пластом.
Для пласта «гд» характерно развитие высокопродуктивных нефтенасыщенных
коллекторов в пределах достаточно обширных зон в западной и юго-западной частях
площади. В других частях площади нефтенасыщенные коллекторы вскрыты лишь в
пределах отдельных зон.
1.2 Коллекторские свойства продуктивных
горизонтов
На Восточно-Сулеевской площади путем детальной послойной корреляции
выделено 9 продуктивных пластов.
Верхний из них, пласт До, коллектором представлен на 47% площади в
основном в виде одного пропластка. В отдельных скважинах количество прослоев
увеличивается до двух-трех. Толщина пласта изменяется от 0,8 до 6,2м и в
среднем составляет 1,7м. От ниже залегающего пласта «а» горизонта Д1 пласт До
отделен глинистой толщей, представленной пачкой зеленовато-коричневых
аргиллитов толщиной 1,0 - 16,8м.
Общая толщина горизонта Д1 колеблется в пределах от 32,2м до 56,0м, а
средние значения по блокам изменяются от 39,2м до 43м. Эффективные и
нефтенасыщенные толщины в целом по горизонту изменяются соответственно от 3,6м
до 41,2м и от 1,0 до 37,2м.
Пласт «а» коллектором представлен на 52,4% площади, из них в 27,6%
скважин залегает совместно с пластом «б1», коэффициент связанности
составляет
,171. Средняя толщина пласта «а» равна 1,9 м, от пласта «б1» он отделен
глинистой перемычкой, толщиной в среднем равной 2,0м при коэффициенте вариации
61,3%.
Пласт «б1» является наименее выдержанным по площади, вероятность вскрытия
коллектора по блокам изменяется от 0,150 до 0,312, в среднем по площади
составляя 0,234. Коллекторы пласта залегают в виде небольших полос и линз.
Толщина пласта по блокам в среднем колеблется от 1,4 до 2,8м. Пласт в 62,1%
скважин залегает совместно с пластом «а» и в 48,2% скважин совместно с пластом
«б2». Коэффициент связанности с нижележащим пластом меняется от 0 до 0,579.
Толщина глинистой перемычки между пластами «б1» и «б2», равна 1,6м, коэффициент
вариации составляет 58,9%.
Пласт «б2» отличается от вышележащего несколько большим распространением
по площади и залегает преимущественно в виде достаточно крупных полос и линз.
Средняя толщина пласта по площади равна 1,9м. По характеру залегания по
отношению к смежным пластам он в 26,2% скважин вскрыт совместно с пластом «б1»
и в 13,5% скважин совместно с «б3». Связанность с пластом «б3» по блокам
различна, изменяется от 0 до 0,722. Непроницаемый раздел между пластами «б2» и
«б2» характеризуется толщиной в среднем равной 1,9м.
Пласт «б3» сложен коллектором на 55,3% площади, из них в 10% залегает
совместно с пластом «б2» и в 67,4% с «в». По характеру распространения
коллекторов по площади он представлен еще более крупными линзами и полосами чем
пласт «б2». Средняя толщина его в целом по площади составляет 2,4м. От
нижележащего пласта «в» пласт «б3» отделен наиболее выдержанной в разрезе
горизонта Д1 глинистой перемычкой толщиной около 4 м. Основные зоны слияния
пластов «б3» и «в» выделены на I и IV блоках. На остальной части площади
слияний коллекторов рассматриваемых пластов либо нет, либо они вскрыты в
единичных скважинах.
Пласт «в» в отличие от верхнепашийских пластов имеет практически
площадное распространение в пределах I, II, III, VI, VII блоков. На IV и V
блоках он залегает в виде полосы, направленной с юго-запада на северо-восток. В
целом по площади представлен коллектором и 76,5 скважин, в 51,5% залегает
совместно с пластом «б3» и в 68,9% скважин с «г1». Средняя толщина пласта
составляет 2,9м. От нижележащего пласта «г1» отделен глинистым разделом
толщиной 2,3м, зоны слияния встречаются в единичных скважинах.
Пласт «г1» сложен в виде крупных линз и полос, прерывистость его
уменьшается с востока на запад, вероятность встречи коллектора составляет 0,65,
в 83,3% и 96,3% скважин, соответственно, перекрывается и подстилается пластами
«а» и «г2+3». Коэффициент связанности с пластом «г2+3» изменяется от 0,146 до
0,425. Толщина глинистой перемычки с пластом «г2+3» составляет 1,9м.
Наиболее выдержанным из всех пластов объекта разработки является пласт
«г2+3». От пласта «д» отделен глинистым разделом с толщиной, колеблющейся в
среднем от 2,4м до 4,5м. В 37,7% скважин, вскрывших пласты «г2+3» и «д», их
коллектора находятся в слиянии. Средняя толщина пласта «г2+3» составляет 3,5м.
Самый нижний из пластов горизонта Д1 - пласт «д» имеет близкое к
площадному распространение. Пласт характеризуется наибольшей толщиной
продуктивных коллекторов, в среднем равной 3,8м, практически на всей площади
распространения перекрывается коллектором пласта «г2+3».
Подошвой горизонта Д1 является пачка «муллинских глин» толщиной в среднем
равной 6,0м. На Восточно-Сулеевской площади они достаточно выдержаны, зоны
слияния пласта «д» горизонта Д1 с коллекторами горизонта ДII выделяются в единичных скважинах,
что свидетельствует о невысокой, гидродинамической связи коллекторов горизонта
ДI и ДII.
Рассматривая в целом характер распространения коллекторов горизонта Д1
необходимо отметить невысокую связанность коллекторов верхне-пашийских
отложений, что исключает значительные перетоки нефти и воды между пластами. В
достаточной степени изолированным от верхнепашийских и пластов «гд»
нижнепашийских коллекторов является пласт «в». Коллектора пластов «гд» в
большей степени связаны между собой, основная доля слияний смежных пластов вскрыта
двумя и более скважинами, то есть рассматриваемые пласты являются практически
единой гидродинамической системой.
Таблица 1 - Коллекторские свойства горизонта DI Восточно-Сулеевской площади
|
Пласт
|
Ср. нефтенас.толщина, м
|
Ср. порис тость, %
|
Средне-взвешен ная
проницаемость, мкм2
|
Коэф. песчанис-тости
|
Коэф. расчле- нен- ности
|
Ср. нефте- нас-ть, %
|
Коэф. вариации неоднород-
ностей, %
|
|
|
|
|
|
|
|
Зональ-ная
|
Послой-ная
|
|
Д0
|
2,1
|
19,5
|
0,305
|
-
|
-
|
82,9
|
0,5253
|
0
|
|
а
|
3,7
|
19,1
|
0,385
|
-
|
-
|
82,1
|
0,8926
|
0,0610
|
|
б1
|
2,1
|
17,9
|
0,274
|
0,511
|
-
|
77,5
|
2,1925
|
0,0225
|
|
б2
|
2,1
|
18,2
|
0,287
|
-
|
-
|
76,8
|
2,3291
|
0,0284
|
|
б3
|
4,1
|
18,6
|
0,317
|
-
|
-
|
74,7
|
1,7876
|
0,0342
|
|
в
|
2,5
|
18,5
|
0,343
|
-
|
-
|
76,1
|
1,7045
|
0,0217
|
|
гд
|
6,9
|
19,8
|
0,486
|
0,664
|
1,1
|
72
|
0,0591
|
0,9704
|
По всем пластам горизонта DI
наблюдается как зональная, так и послойная неоднородность. Послойная
неоднородность выражается в чередовании песчаных и алевролитовых пластов с
различной проницаемостью. Такое геологическое строение (неоднородность)
оказывает существенное влияние на процесс выработки запасов нефти как по
пластам, так и по горизонту в целом.
.3 Физико-химические свойства
пластовых флюидов
Исследования физико-химических свойств пластовых и поверхностных нефтей
пашийских отложений проводилось с использованием проб, отобранных из скважин
Восточно-Сулеевской площади. Эти пробы исследовались в отделе исследования
нефтей ТатНИПИнефть и в аналитической лаборатории ТГРУ. Всего было
проанализировано 23 пробы пластовых нефтей и 23 поверхностных. Пластовые пробы
отбирались глубинными пробоотборниками типа ВВП-300 и исследовались на
установках УИПН-2 и АСМ-300 по общепринятой методике. Вязкость нефти
определялась вискозиметром ВВДУ (вискозиметр высокого давления универсальный) и
капиллярным типа ВПЖ. Плотность сепарированной нефти определялась
пикнометрическим способом. Состав нефти и газа после однократного
разгазирования пластовой пробы нефти анализировался на хромотографах типа
«Кристалл-2000М». Все данные исследования приведены согласно РД-153-39-007-96
“Регламент составления проектных технологических документов на разработку
нефтяных и газонефтяных месторождений”, при расчете средних значений параметров
проводилась отбраковка данных анализов некачественно отобранных проб.
Таблица 2 - Свойства пластовой нефти
|
Наименование
|
Пашийский горизонт
|
|
Количество исследованных
скважин
|
Диапазон изменения
|
Среднее значение
|
|
скважин
|
проб
|
|
|
|
Давление насыщенным газом,
МПа
|
17
|
23
|
7,6 - 8,1
|
8,1
|
|
Газосодержание при
однократном разгазировании, м3/т
|
17
|
23
|
69,8 -71,28
|
58,91
|
|
Объемный коэффициент при
однократном разгази- ровании доли ед.
|
17
|
23
|
1,181-1,197
|
1,1549
|
|
Плотность, кг/м3
|
17
|
23
|
792-796
|
807,9
|
|
Вязкость, мПа×с
|
17
|
23
|
2,18-4,63
|
3,52
|
|
Объемный коэффициент при
диф. разгазировании в раб.условиях, д.ед.
|
2
|
3
|
1,1582
|
1,1582
|
В результате были получены следующие средние значения основных параметров
нефти: давление насыщения - 8,1 МПа, газосодержание - 58,91 м3/т, объемный
коэффициент - 1,1549, динамическая вязкость пластовой нефти составляет 5,3 мПа∙с.
Плотность пластовой нефти - 807,9 кг/м3, сепарированной - 869,3 кг/м3. По
данным анализов поверхностных проб нефть пашийского горизонта относится к
группе средних сернистых нефтей. В ней содержится 1,4 массовых % серы, смол
силикагелевых - 5,7 %, асфальтенов - 4,6 % и парафинов - 3,7 %. Кинематическая
вязкость дегазированной нефти при 20 0С составляет 17,0∙10-6 м2/с.
В разрезе пашийского горизонта водонасыщенными являются
песчано-алевролитовые породы. Дебит скважин колеблется от 1-10 м3/сутки до
20-126 м3/сутки.
Исследование свойств пластовой воды пашийского горизонта в пластовых
условиях проводилось по пробам, отобранным из 17 скважин (таблица 3). Общая
минерализация меняется по площади от 250,6 до 284,7 г/л. Плотность воды в
среднем равна 1189,6 кг/м3, вязкость 1,7-2,0 мПа×с, рН - 4,6.
Таблица 3 - Свойства пластовой воды
|
Наименование
|
Пашийский горизонт
|
|
количество исследованных
|
диапазон изменения
|
среднее значение
|
|
скважин
|
проб
|
|
|
|
Газосодержание, м3/т
|
2
|
2
|
0,41-0,43
|
0,42
|
|
в т.ч.сероводорода
|
-
|
170
|
0,35-0,40
|
-
|
|
Объемный коэффициент доли
ед.
|
1
|
1
|
1,002
|
1,002
|
|
Общая минерализация, г/л
|
144
|
170
|
250,59-284,7
|
266,66
|
|
Плотность кг/м3
|
144
|
170
|
1165-1190
|
1189,6
|
Статистические уровни устанавливаются на абсолютных отметках от 6,25 до
27 м. По химическим свойствам подземные воды относятся к хлоркальциевому типу
(по В.А.Сулину). При расчете средних значений параметров проводилась отбраковка
данных анализов некачественно отобранных проб. Ниже приводится краткая
характеристика вод по пашийскому горизонту. Газовый состав подземных вод -
метан. Газонасыщенность достигает 0,35 - 0,40 м3/л . Содержание метана равно
45% объемных, более тяжелых 5 - 34 % . Упругость газа составляет 64 - 94
кг/см3. Объемный коэффициент по расчету - 1,002.
.4 Краткая
технико-эксплуатационная характеристика фонда скважин
В настоящее время разработка горизонтов Д0 и Д1 Восточно - Сулеевской
площади осуществляется согласно уточнённого проекта разработки, составленного
ТатНИПИнефть в 1984 году. По состоянию на 01.01.2008 г. весь пробуренный фонд
на площади составляет 1290 скважин (в том числе 82 скважины дублёра), из которых
863 (71,4 %) - в добывающем фонде и 345 (28,6 %) - в нагнетательном. Плотность
сетки на одну скважину составляет 18,3 га, с учётом дублёров - 17,1 га.
Характеристика фонда скважин приведена в таблице 4.
Таблица 4 - Характеристика фонда скважин
|
Распределение фонда
|
Характеристика фонда
скважин
|
Количество
|
|
1
|
2
|
3
|
|
Фонд добывающих скважин
|
Всего скважин Переведено на
другие горизонты Всего эксплуатационных в т.ч. действующих из них: фонтан
ЭЦН ШГН бездействующих в освоении после бурения В консервации Ликвидированные
Ожидающие ликвидации Пьезометрические Контрольные
|
863 18 673 550 - 194 356
123 - 13 86 5 66 2
|
|
Фонд нагнетательных скважин
|
Всего скважин Переведено на
другие горизонты Всего эксплуатационных в т.ч. действующих из них: под
закачкой остановлено по технологическим причинам бездействующие в освоении
после бурения в консервации Ликвидированные Ожидающие ликвидации
Пьезометрические Контрольные Дающие техническую воду ИТОГО
|
345 12 272 219 209 10 52 1
3 47 5 5 - 1 1208
|
По проекту разработки утверждено для бурения 1539 скважин, в том числе
898 добывающих, 337 нагнетательных и 83 резервных, 221 дублёр.
Действующий фонд добывающих скважин равен 550 (в том числе 107
нагнетательных скважин временно находятся в обработке на нефть). В
бездействующем нагнетательном фонде находится 219 скважин, из которых 98
остановлены по технологическим причинам, причём 68 скважин переведены под
откачку из добывающих.
Бездействующий фонд составляет 175 скважин или 14,5 % от всего фонда, из
них 123 - добывающие и 52 - нагнетательные. Основными причинами простоя
являются: негерметичность колонны, ожидание подземного ремонта и смены
оборудования, отсутствие приемистости и другие.
В освоении после бурения находится 1 скважина, 16 - в консервации.
За время эксплуатации на площади ликвидировано 133 скважины, что
составляет 11,0 % от всего фонда, 10 - в ожидании ликвидации. Большинство
ликвидированных скважин выполнили своё назначение, 22 скважины ликвидированы
сразу после бурения. Контроль за состоянием пластового давления осуществляют 72
пьезометрические и 2 контрольные скважины.
2 ТЕХНИКО-ТЕХНОЛОГИЧЕСКАЯ ЧАСТЬ
.1 Классификация современных методов повышения
нефтеотдачи пластов
Методы увеличения нефтеотдачи пластов на Восточно - Сулеевской площади
начали применять с 1971 года. Существенную долю их составляют физико-химические
методы. Все физико-химические методы воздействия, применяемые при заводнении,
направлены на решение следующих задач: улучшение вытесняющих свойств воды;
улучшение охвата пластов вытеснением неоднородных коллекторов; изменение
свойств коллектора; улучшение коллекторских свойств призабойной зоны;
сокращение отбора воды.
Кроме того, на Восточно - Сулеевской площади нашли применение и другие
методы повышения нефтеотдачи, отличающиеся иным механизмом воздействия и
обеспечивающие рентабельное увеличение добычи нефти в современных экономических
условиях.
В настоящее время на объектах НГДУ для повышения нефтеотдачи пластов
опробовано уже 35 методов физико-химического воздействия. В 2007 г. проведено
2197 скважино - операций по увеличению нефтеотдачи пластов и дополнительно
добыто 8 128 520 тонн нефти, в т.ч. по Восточно - Сулеевской площади 106222
тонн нефти (24 % от общей дополнительной добычи).
Для увеличения эффективности заводнения на поздней стадии широкое применение
нашли методы увеличения охвата пластов заводнением путем закачки
потокоотклоняющих агентов: ПДС, ОЭЦ, ПАВ, ВУС и др. За период применения этих
методов в 2007 г. получено 12450 т дополнительной нефти. Из-за эффективности
применения ВУС увеличили количество мероприятий на 2005 г ( от 6 до 18
операций).
С целью увеличения нефтеотдачи пластов применяется микробиологический
метод воздействия. Объектами его применения являются терригенные коллектора
нефтяных месторождений, находящиеся на поздней стадии разработки, пластовые
жидкости которых имеют необходимое количество углеводородоокисляющей и
метанообразующей микрофлоры. За счет этого метода в 2007 г. получено 1200 т
дополнительно добываемой нефти.
Для стимуляции добывающих скважин на Восточно - Сулеевской площади
применяются акустико-химическое и сейсмоакустическое воздействия. За счет этих
методов за период их применения получено в 2007 г. 23354 т дополнительной
нефти.
Для повышения интенсификации добычи нефти применены эффективные методы
воздействия на призабойную зону пласта. Эффект методов создания многократных
депрессий (депрессионная перфорация, кумулятивная перфорация и др.) основан на
разгрузке горных пород в продуктивной части пласта, совершенстве его вскрытия,
на увеличении нефтеотдачи низкопроницаемых коллекторов. За счет этих методов за
период их применения получено в 2004 7. 39114 т дополнительной нефти.
С помощью применения метода гидравлического разрыва пласта, который
основан на создании повышенных долговременных и кратко действующих сил в
области забоя, вызывающих расщепление пласта, дополнительно добыто в 2004 г.
1394 т нефти.
В качестве методов водоизоляции скважин в терригенных коллекторах, для
ограничения водопритока водонасыщенных пластов, увеличения нефтеотдачи
применялись РМД, гипан с жидким стеклом и кремнийорганические суспензии. Самым
эффективным среди этих методов ОПЗ в НГДУ «Джалильнефть» оказался РМД. В 2007
г. провели обработку в 38 скважинах, при этом дополнительная добыча с учетом
переходящих составила 37778 т.
Использование каждых из перечисленных методов обладают определенными
недостатками (сложностью проведения, неуправляемостью процесса, высокой
стоимостью и др.), что предопределяет тщательную проработку исходных данных.
2.2 Основы применения технологии закачки ВУКСЖС
Технология предназначена для повышения выработки обводненных неоднородных
по проницаемости продуктивных пластов за счет увеличения охвата пластов
заводнением, которое достигается путем предварительного полного или частичного
блокирования высокопроницаемых обводнившихся зон пластов и последующего
изменения направления и перераспределения фильтрационных потоков с вовлечением
в разработку ранее неохваченных воздействием низкопроницаемых продуктивных зон
пластов.
Создание блокирующей оторочки в пласте осуществляется закачкой в
нагнетательные скважины вязко-упругой коллоидной суспензии на основе жидкого
стекла (силиката натрия).
ВУКСЖС представляет собой водную суспензию силикатного геля, полученного
на основе силиката натрия и соляной кислоты. Технологический процесс закачки
ВУКСЖС в нагнетательную скважину осуществляется непрерывно путем приготовления
силикатного геля на устье скважины смешением разбавленных растворов силиката
натрия и соляной кислоты и дозирования полученного геля в закачиваемую воду от
водовода. Выбор концентрации компонентов силикатного геля в разбавленных
растворах и их соотношение осуществляется с учетом условия мгновенного
гелеобразования при смешении. Получение силикатного геля в широком диапазоне
структурно-механических показателей путем изменения концентрации компонентов
(рисунок 1) и регулирование содержания геля в водной суспензии при дозировании
обеспечивает технологичность приготовления и закачки ВУКСЖС в промысловых
условиях и ее использование в различных геолого-физических условиях.
Технологические показатели эксплуатации (дебиты нефти и жидкости,
обводненность) скважин должны быть стабильны в течение шести месяцев. На
нагнетательных и добывающих скважинах не должны проводиться КРС, ОПЗ и другие
мероприятия по оптимизации работы скважины.
Рисунок 1 - Зависимость предельного напряжения сдвига силикатного геля от
плотности раствора силиката натрия при различных объемных соотношениях
растворов соляной кислоты и силиката натрия (скорость сдвига 0,167 с-1)
2.3 Технические средства и материалы,
необходимые для осуществления технологии
Для осуществления технологического процесса необходимо следующее
оборудование:
Насосный агрегат типа ЦА-320 М.
Автоцистерна типа ЦР-500, 4ЦР, ЦР-7АП.
Кислотовоз типа "АзИНмаш-30А".
Установка для приготовления силикатного геля УПСГ-1.
Для проведения технологического процесса необходимы следующие материалы.
Стекло натриевое жидкое (раствор силиката натрия) выпускается по ГОСТ
13078-81. По физико-химическим показателям жидкое натриевое стекло должен
соответствовать требованиям и нормам, указанным в таблице 5. Стекло натриевое
жидкое допущено к применению в технологических процессах добычи и транспорта
нефти и имеет сертификат ГЦСС "Нефтепромхим": санитарно-эпидемиологическое
заключение № 73.ОЦ.11.214.М.000237.11.04 от 04.11.2004 г.; сертификат на
применение химпродукта в технологических процессах добычи и транспорта нефти №
153.39.RU.245860.03.06 от 09.03.2006 г.;
сертификат соответствия № ТЭК RU.ХП06.Н01262
от 09.03.2006 г.
Таблица 5 - Физико-химические показатели жидкого натриевого стекла
|
Наименование показателя
|
Значение показателя
|
|
Марка А
|
Марка Б
|
|
Внешний вид
|
Густая жидкость желтого или
серого цвета без механических примесей и включений, видимых невооруженным
глазом
|
|
Массовая доля двуокиси
кремния, %, в пределах
|
22,7-29,6
|
24,3-31,9
|
|
Массовая доля окиси железа
и окиси алюминия, %, не более
|
0,25
|
0,25
|
|
Массовая доля окиси
кальция, %, не более
|
0,20
|
0,20
|
|
Массовая доля серного
ангидрида, %, не более
|
0,15
|
0,15
|
|
Массовая доля окиси натрия,
%, в пределах
|
9,3-12,8
|
8,7-12,2
|
|
Силикатный модуль, в
пределах
|
2,3-2,6
|
2,6-3,0
|
|
Плотность, г/см3, в
пределах
|
1,36-1,45
|
1,36-1,45
|
Для приготовления ВУКСЖС возможно применение раствора силиката натрия
других марок (с силикатным модулем в пределах 2,3-3,0), допущенных к применению
в технологических процессах добычи и транспорта нефти.
Ингибированная соляная кислота НАПОР-HCl. НАПОР-HCl
представляет собой смесь соляной кислоты с массовой долей хлористого водорода
22 - 24 % (технической или являющейся полупродуктом химических производств) и
ингибитора кислотной коррозии. НАПОР-HCl выпускается по ТУ 2458-017-12966038-2002.
По физико-химическим показателям соляная кислота должна соответствовать
требованиям и нормам, указанным в таблице 6. Ингибированная соляная кислота
НАПОР-HCl допущена к применению в
технологических процессах добычи и транспорта нефти и имеет сертификат ГЦСС
"Нефтепромхимсервис».
При приготовлении ВУКСЖС используется разбавленная пресной водой соляная
кислота. Массовая доля соляной кислоты в разбавленном растворе (концентрация)
определяется по плотности раствора (рисунок 2).
Рисунок
2 - Зависимость плотности соляной кислоты от концентрации при разбавлении
пресной водой
Таблица
6 - Физико-химические показатели ингибированной соляной кислоты
|
Наименование показателя
|
Значение
|
|
Внешний вид
|
Жидкость от бесцветного до
желтого цвета
|
|
Плотность НАПОР-НСl,
кг/м3, в пределах
|
1108-1119
|
|
Скорость коррозии стали в
НАПОР-HCl при 20 0С, г/м2 × ч, не более
|
0,25
|
Для приготовления ВУКСЖС возможно применение соляной кислоты других
марок, допущенных к применению в технологических процессах добычи и транспорта
нефти.
Вязко-упругая коллоидная суспензия на основе жидкого стекла (ВУКСЖС)
представляет собой водную суспензию силикатного геля, полученного на основе
силиката натрия и соляной кислоты с применением установки УПСГ-1,0. В
технологии приготовления ВУКСЖС используется процесс измельчения,
диспергирования и получения суспензии с помощью струйного насоса (эжектора). В
результате прохождения силикатного геля через струйный насос (эжектор)
образуется суспензия с размерами гелевых частиц от нескольких микрометров до
нескольких миллиметров.
2.4 Подготовка скважин и наземного оборудования
к технологическому процессу
Выбор скважины под закачку ВУКСЖС осуществляется геологической службой
НГДУ совместно с разработчиками технологии, исходя из геолого-промысловых
данных и критериев применимости метода, и утверждается главным геологом НГДУ.
Подбирается участок для применения технологии, выделяются объекты закачки
(нагнетательные скважины в соотношении к добывающим, не менее 1:2) и
определяются гидродинамически связанные с объектом закачки добывающие скважины.
Участки скважин выбираются по следующим критериям:
приемистость нагнетательной скважины должна быть не менее 100 м3/сут при
устьевом давлении закачки от водовода;
участок применения технологии должен иметь послойную или (и) зональную
неоднородность коллектора;
в нагнетательных скважинах для поддержания пластового давления может
использоваться пресная или сточная вода плотностью от 1,0 до 1,20 г/см3.
Техническое состояние скважин должно соответствовать требованиям данной
технологии (герметичность эксплуатационной колонны и отсутствие заколонных
перетоков). Проводится анализ текущего состояния разработки участка для
применения технологии.
Рекомендуемые объемы закачки ВУКСЖС в зависимости от приемистости
нагнетательных скважин приведены в таблице 7.
Таблица 7- Рекомендуемые объемы закачки ВУКСЖС
|
Приемис- тость при устьевом
давлении, м3/сут
|
Объем ВУКСЖС, м3
|
Масса (объем), (товарная
форма), т (м3)
|
Массовая доля силикатного
геля, %
|
|
|
НМЖС плотность 1,36, г/см3
|
НСl плотность
1,12 г/см3
|
|
|
100-150
|
300-400
|
1,36-4,08 (1,0-3,0)
|
0,56-1,12 (0,5-1,68)
|
0,3-3,5
|
|
150-200
|
350-500
|
2,72-5,44 (2,0-4,0)
|
1,12-1,68 (1,0-2,24)
|
0,3-5,0
|
|
200-250
|
400-600
|
4,08-9,52 (3,0-7,0)
|
1,68-3,36 (1,5-3,92)
|
1,0-8,0
|
|
250-300
|
500-700
|
8,16-10,88 (6,0-8,0)
|
3,36-4,48 (3,0-4,0)
|
2,0-10,0
|
|
300-400
|
600-800
|
9,52-13,6 (7,0-10,0)
|
3,92-5,6 (3,5-5,6)
|
3,0-15,0
|
|
400-500
|
700-1000
|
12,24-27,2 (9-20)
|
5,04-11,2 (4,5-10)
|
5,0-30,0
|
|
более 500
|
800-1500
|
20,4-40,8 (15-30)
|
8,4-16,8 (7,5-15)
|
10,0-70,0
|
Участок применения технологии должен иметь следующие
геолого-технологические показатели: тип коллектора - терригенный, карбонатный;
вид коллектора - поровый, порово-трещинный; система заводнения - площадная,
рядная; нефтенасыщенная толщина продуктивного пласта, не менее 2 м;
проницаемость коллектора, не менее 0,1 мкм2; пористость коллектора, не менее 10
%; дебит нефти по участку, не менее 5 т/сут; дебит жидкости по участку, не
менее 80 т/сут; обводненность добываемой продукции по участку, не более 98 %.
На объекте закачки проводятся стандартные геофизические (термометрия,
расходометрия) и промысловые исследования по определению герметичности
эксплуатационной колонны и колонны НКТ, профиля приемистости по пластам, общей
приемистости скважины и плотности закачиваемой воды. Проводят подготовку
наземного оборудования и скважины к процессу закачки ВУКСЖС. Проверяют
работоспособность задвижек скважины и заменить неисправные. Извлекают подземное
оборудование скважины. Промывают забой скважины. Спускают колонну
технологических насосно-компрессорных труб (НКТ) на глубину 5 - 40 м над
кровлей пласта.
Если в процессе закачки ВУКСЖС предполагается рост давления закачки
композиции выше допустимого давления на колонну, необходимо установить пакер на
20-40 м выше кровли пласта.
Технологический процесс закачки ВУКСЖС следует проводить при температуре
окружающей среды не ниже плюс 8 0С. Зависимость времени гелеобразования
композиции ВУКСЖС от температуры представлена на рисунке 3.
Рисунок 3 - Зависимость времени гелеобразования композиции ВУКСЖС от
температуры
Необходимо обеспечить постоянное наличие воды в водоводе с расходом,
достаточном для непрерывной работы насосного оборудования на весь планируемый
период закачки.
2.5 Технологический процесс закачки композиции
Перед началом закачки ВУКСЖС:
- доставить на скважину все необходимые материалы и оборудование.
- определить давление на водоводе.
определить приемистость скважины при устьевом давлении закачки от
водовода.
приготовить разбавленные растворы силиката натрия и соляной кислоты.
Технологическая схема приготовления разбавленного раствора силиката
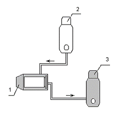
натрия приведена на рисунке 4.
Рисунок 4 -Технологическая схема приготовления разбавленного раствора
силиката натрия.
где 1 - насосный агрегат; 2 - автоцистерна с пресной водой; 3 -
автоцистерна с концентрированным раствором силиката натрия.
Разбавленный раствор силиката натрия готовится в емкости автоцистерны
путем предварительного смешения исходного концентрированного раствора с пресной
водой в объемном соотношении 1:3 и последующего перемешивания насосным
агрегатом в течение одного часа.
Технологический процесс закачки ВУКСЖС.
Наземное оборудование разместить по следующей технологической схеме:
водовод - установка для приготовления силикатного геля - автоцистерны с
разбавленными растворами силиката натрия и соляной кислоты - насосные агрегаты
- скважина.
Технологическая схема обвязки наземного оборудования приведена на рисунке
5. Обвязка скважины и наземного оборудования должна быть опрессована на
полуторакратное ожидаемое рабочее давление закачки с составлением акта. ВУКСЖС
готовится в промежуточной емкости путем подачи воды с водовода на вход
струйного насоса с одновременной дозировкой силикатного геля.
Рисунок 5 - Технологическая схема обвязки наземного оборудования.
где 1 - транспортный прицеп (УПСГ-1); 2 - промежуточная емкость; 3 -
струйный насос; 4 - шнековый транспортер; 5 - насос-дозатор; 6 - частотный
преобразователь; 7 - узел загрузки; 8 - трубопровод (шланг); 9 - водовод; 10 -
скважина; 11 - задвижка; 12 - обратный клапан; 13 - расходомер; 14 - тройник;
15 - насосные агрегаты (один резервный); 16 - емкости для реагентов (соляной
кислоты и жидкого стекла), оборудованные теплообменником; 17 - ППУ (передвижная
парообразующая установка).
Для приготовления силикатного геля в загрузочную воронку шнекового
транспортера подаются разбавленные растворы силиката натрия и соляной кислоты
из соответствующих автоцистерн с помощью дозировочных насосов. Объемное
соотношение разбавленных растворов соляной кислоты и силиката натрия составляет
1:1. При смешении указанных растворов происходит гелеобразование.
Полученный силикатный гель через выходной патрубок по шлангу подается в
струйный насос. В струйном насосе происходит диспергирование силикатного геля,
который транспортируется по трубопроводу в промежуточную емкость.
Приготовленная суспензия из промежуточной емкости насосным агрегатом
закачивается по колонне НКТ в нагнетательную скважину. Процесс закачки ВУКСЖС
ведется при постоянном контроле давления закачки. Рабочее давление закачки не
должно превышать допустимого давления на эксплуатационную колонну.
.6 Расчет промывки забоя скважины
Произведем расчет промывки забоя скважины на примере скважины №1574.
Исходные данные:
Глубина скважины Н= 1810 м;
Диаметр эксплуатационной колонны D= 146мм;
Диаметр промывочных труб d = 73
мм;
Максимальный
размер зерен 
= 1мм;
Плотность
зерен
= 2600 кг/м
;
Плотность
воды
= 1000 кг/м;
Расчет прямой промывки водой.
1. Потери давления на гидравлические сопротивления при движении
жидкости в 73-мм трубах определяются по формуле
м. вод.
ст., (1)
где
- коэффициент трения при движении воды в трубах;
Uh ɪ - скорость нисходящего потока жидкости.
Uh I =
1,048 м/с; Uh II = 1,52 м/с; Uh III = 2,32 м/с; Uh IV
=3,36 м/с;
d
=0,062
Подставив
численные значения в формулу (1), получим потери давления на гидравлические
сопротивления h1I, h1II, h1III, h1IV при работе агрегата на I, II, III, IV
скоростях.
h1I = 0,035×(1810/0,062×1,0482/2×9,81) = 57,17 м.вод.ст.
h1II = 0,035×(1810/0,062×1,522/2×9,81) = 120,3 м.вод.ст.
h1III = 0,035×(1810/0,062×2,322/2×9,81) = 280,2 м. вод. ст.
h1IV = 0,035×(1810/0,062×3,362/2×9,81) = 587 м.вод.ст.
2. Потери давления на гидравлические сопротивления при движении
смеси жидкости в кольцевом пространстве скважины определяются по формуле
h
=
, м.вод.ст., (2)
где
- коэффициент, учитывающий повышение гидравлических
потерь давления, принимаем
= 1,2;
; D=0,15 м.
U = 0,276 м/с; U =
0,399 м/с ; U = 0,61 м/с; U = 0,88 м/с.
Подставив
численные значения в формулу (2), получим величины h2I , h2II, h2III, h2IV
при работе агрегата на I, II, III, IV скоростях.
h
= 1,2×0,034×(1810/(0,15-0,073)×0,2762/2×9,81) = 2,81 м.вод.ст.
h
= 1,2×0,034×(1810/0,15-0,073)×0,3992/2×9,81) = 7,67 м.вод.ст.
h
= 1,2×0,034×(1810/0,15-0,073)×0,612/2×9,81) = 18,1 м.вод.ст.
h
= 1,2×0,034× (1810/0,15-0,073) ×0,882/2×9,81)=37,8 м.вод.ст.
3. Потери напора на уравновешивание столбов жидкости разной
плотности в промывочных трубах и в кольцевом пространстве определяются по формуле
К.А. Апресова
, м. вод.
ст., (3)
где
пористость пробки m = 0,3; F- площадь сечения эксплуатационной колонны F =
177см
;f - площадь сечения кольцевого пространства скважины f
=135 см
; скорость свободного падения зерен U
=9,5
см/с; U
- скорость восходящего потока жидкости, см/с ;
h
= [((1-0,3)×177×12)/135]×[2600/1000×(1-9,5/27,6))-1] = 7,8 м.вод.ст.
h
= [((1-0,3)×177×12)/135]×[2600/1000×(1-(9,5/39,9))-1] = 10,8 м.вод.ст.
h
= [((1-0,3)×177×12/135]×2600/1000×(1-9,5/61))-1] = 13,1 м.вод.ст.
h
= [((1-0,3)×177×12/135]×2600/1000×(1-9,5/88))-1] = 14,6 м.вод.ст.
4. Потери напора, возникающие в шланге h и вертлюге h ,
составляют сумме при работе агрегата:
на
скорости I - (h
+h
) = 4,7 м.вод.ст.
на
скорости II - ( h
) = 10,4 м.вод.смт.
на
скорости III - (h
+h
) = 22 м.вод.ст.
на
скорости IV - (h
+h
) = 31 м.вод.ст.
5. Потери давления на гидравлические сопротивления в 73-мм в
нагнетательной линии от насоса до шланга. Принимаем длину этой линии l = 40 м.
h
= 0,035×(40/0,062×1,048
/2×9,81) =1,3 м.вод.ст.
h
= 0,035×(40/0,062×1,52
/2×9,81) =2,7 м.вод.ст.
h
= 0,035×(40/0,062×2,32
/2×9,81) = 6,2 м.вод.ст
h
= 0,035/(40/0,062×3,36
/2×9,81) = 13,0 м.вод.ст.
6. Давление на выкиде насоса определяется:
пласт нефтеотдача забой скважина
, МПа,
(4)
Подставив
численные значения в формулу (4), получим РнI , РнII ,
РнIII , РнIV:
Р
= 1×10
×1000×9,81×(57,17+2,81+7,8+4,7+1,3) = 0,723 МПа
Р
= 1×10
×1000×9,81×(120,3+7,67+10,8+10,4+2,7) = 1,48 МПа
Р
= 1×10
×1000×9,81×(280,2+18,1+13,1+22+6,2) = 3,33 МПа
Р
= 1×10
×1000×9,81×(587+37,8+14,6+31+13) = 6,7 МПа
7. Давление на забое скважины определяется:
, МПа,
(5)
Подставив
численные значения в формулу (5) , получим Р3I , Р3II ,
Р3III, Р3IV:
Р
= 1×10
×1000×9,81×(1810+2,81+7,8) =17,86 МПа
Р
= 1×10
×1000×9,81×(1810+7,67+10,8) = 17,93 МПа
Р
= 1×10
×1000×9,81×(1810+18,1+13,1) = 18,06 МПа
Р
= 1×10
×1000×9,81×(1810+37,8+14,6) = 18,27 МПа
8. Мощность, необходимая для промывки , определяется по формуле
, (6)
где
к.п.д. агрегата,
; Q - расход жидкости , м/с.
Q = 3,16×10
м/с; Q =
4,61×10
м/с; Q
=7,01×10
м/с; Q =
10,15·10
м/с.
N I = (0,723×3,16×10
×10
)/(10
×0,65)
= 1,48 кВт II = (1,48×4,61×10
)/(10
×0,65) = 4,43 кВт III = (3,33×7,01×10
)/(103×0,65) = 15,1 кВт IV = (6,7×10,15×10
)/(103×0,65) = 44,42 кВт
9. Коэффициент использования максимальной мощности промывочного агрегата
определяется
,%. (7)
где
=110 кВт - максимальная мощность двигателя агрегата
ЦА-320
К1
= (1,48/110)×100% = 1,34%
К2
= (4,43/110)×100% = 3,9 %
К3
= (15,1/110)×100% = 40,18%
Скорость
подъема определяется:
U
, м/с (8)
U
= 0,276-0,095 = 0,181 м/с
U
= 0,399-0,095 = 0,304 м/с
U
= 0,610-0,095 = 0,515 м/с
10. Продолжительность подъема определяется:
t =
,с (9)
t
= 1182/0,181=6530 c = 2 час. 21
мин.
tII = 1182/0,304=3888
c = 1 час. 8 мин.
tIII
=1182/0,515=2295 c = 1 час. 3 мин.
11. Размывающая сила струи жидкости. Силу удара зерен промывочной
жидкости можно определить по следующей формуле
Р = 2×102×Q2/ƒц×F, кПа, (10)
где площадь проходного сечения эксплуатационной колонны ƒц = 30,2 см2; F = 177 см2
Подставив численные значения в формулу (10), получим РI , РII , РIII .
РI = 2×102×3,162/30,2×177 = 0,374 кПа
РII = 2×102×4,612/30,2×177 = 0,796 кПа
РIII = 2×102×7,01/30,2×177 = 1,84 кПа
2.7 Расчет технологической эффективности
Эффективность применения технологического процесса оценивается в порядке,
установленном в ОАО «Татнефть» для технологий увеличения нефтеотдачи.
Экономический эффект оценивается по дополнительно добытой нефти согласно
методическим рекомендациям по РД 39-01/06-001-89.
Дополнительную добычу нефти (прирост добычи) определим по формуле:
, (11)
где
q1 - среднесуточный дебит скважины по нефти до
применения ВУКСЖС, т/сут;
q2 - среднесуточный
дебит скважины по нефти после применения ВУКСЖС, т/сут;
Кэ
- коэффициент эксплуатации.
Скважина
№1574:
1= (6,12-
4,8)
365
0,9 = 431 т/год;
Скважина
№1575:
2 = (4,47
- 3,1)
365
0,9 = 449 т/год;
Скважина
№1576:
3 = (6 -
3,92)
365
0,9 = 682 т/год.
Средний
прирост по трем скважинам:
ср = (
1 +
2 +
3)/3 = (431 + 449 + 682)/3 = 520 т/год.
2.8 Краткие выводы
После закачки ВУКСЖС повысилась выработка обводненных неоднородных по
проницаемости продуктивных пластов за счет увеличения охвата пластов
заводнением, которое достигалось путем предварительного полного или частичного
блокирования высокопроницаемых обводнившихся зон пластов. Создание блокирующей
оторочки в пласте осуществлялось закачкой в нагнетательные скважины
вязко-упругой коллоидной суспензии на основе жидкого стекла (силиката натрия).
И последующего изменения направления и перераспределения фильтрационных потоков
с вовлечением в разработку ранее неохваченных воздействием низкопроницаемых
продуктивных зон пластов.
Эффективность закачки ВУКСЖС также можно определить с помощью сравнения
продуктивности скважины до закачки и после него. В большинстве случаев
продуктивность скважины увеличивается. Так же зависит от технического состояния
скважин, они должны соответствовать требованиям данной технологии
(герметичность эксплуатационной колонны и отсутствие заколонных перетоков). По
данным расчетов проекта дебиты добывающих скважин увеличились в 1,3-1.5 раза.
Технологическую эффективность закачки ВУКСЖС можно определить по
изменению коэффициента продуктивности, который практически во всех случаях
значительно увеличивается.
Для того чтобы добиться наилучшего результата, скважина должна
соответствовать геолого-техническим показателям, рекомендуемым при закачке
ВУКСЖС. Также подбирается соответствующий участок для применения технологии,
выделяются объекты закачки. (нагнетательные скважины в соотношении к
добывающим, не менее 1:2).
Проведенный анализ по Восточно-Сулеевской площади Ромашкинского
месторождения показывает, что закачка ВУКСЖС является эффективным методом
интесификации процессов добычи нефти. Средний прирост по трем скважинам
составил 520 т/год.
3 ОХРАНА ТРУДА И ПРОТИВОПОЖАРНАЯ ЗАЩИТА
3.1 Вредности и опасности в нефтяной
промышленности
Основные вредные факторы: смесь углеводородов; сероводород; физические
перегрузки; подъём и перемещение тяжестей при чередовании с другой работой;
изменение микроклимата, общее охлаждение на открытой территории при средней
температуре в зимнее время от -10°C до -20°C, повышенная температура воздуха до
4°C выше верхней допустимой; применение изолимрующих средств индивидуальной
защиты и фильтрующих противогазов с полномерной лицевой частью.
При длительном пребывании работающего в условиях низкой температуры и,
следовательно, переохлаждении организма возможно возникновение различных острых
и хронических заболеваний: воспаление верхних дыхательных путей, ревматизм и
другие. Результатами многократного воздействия низких температур являются
пояснично-крестцовый радикулит и хроническое повреждение холодом (ознобление).
При высокой температуре снижаются внимание и скорость реакции
работающего, что может послужить причиной несчастного случая и аварии. При
работе в летнее время при высокой температуре (до +50 ̊С) возможны
перегревания организма, солнечные и тепловые удары.
В ходе производственных операций рабочие могут подвергаться воздействию
вредных газов и паров нефти, источником которых являются нарушения
герметичности фланцевых соединений, механической прочности фонтанной арматуры
вследствие внутренней коррозии или износа, отказы или выходы из строя регулирующих
и предохранительных клапанов. Пары нефти и газа при определенном содержании их
в воздухе могут вызвать отравления и заболевания.
В составе загрязнителей содержатся многочисленные реагенты, катализаторы,
ПАВ, ингибиторы, щелочи, кислоты, вещества, образующиеся при горении,
химическом превращении и т. д.
Сырая нефть. Действие на организм паров сырой нефти непостоянно и зависит
от ее состава. Большое воздействие оказывает соприкосновение с жидкой нефтью
кожи человека, вследствие чего могут возникать дерматиты или экземы.
Бензин поступает в организм через дыхательные пути, может заглатываться с
воздухом и затем всасываться в кровь из желудочно-кишечного тракта. Бензин
оказывает сильное действие на центральную нервную систему, кожный покров. Может
вызвать острые и хронические отравления, иногда со смертельным исходом.
Окись углерода. СО - бесцветный газ без вкуса и запаха. Поступление СО в
организм подчиняется закону диффузии газов. ПДК СО в воздухе рабочей зоны 20
мг/м3.
Двуокись углерода СО2 - бесцветный газ, тяжелый, мало реакционноспособный
газ. При низких и умеренных температурах обладает слегка кисловатым запахом и
вкусом.
Углекислый газ оказывает наркотическое действие на человека и может
изменять его поведение, раздражать слизистые оболочки.
Предельные углеводороды, химически наиболее инертные среди органических
соединений, они являются в то же время сильнейшими наркотиками. Действие их
ослабляется ничтожной растворимостью в воде и крови, вследствие чего только при
высоких концентрациях создается опасность отравления этими веществами.
Природный газ обычно рассматривается как безвредный газ. Действие его
идентично действию предельных углеводородов. Главная опасность связана с
асфиксией при недостатке кислорода.
Нефтяной крекинг-газ. Действует на человека, как смесь углеводородов.
Сернистые соединения. Профессиональная вредность сернистых соединений
определяется наиболее токсичными ингредиентами газовыделений из многосернистой
нефти, природного газа и конденсата.
Сероводород - бесцветный газ с неприятным запахом, ощутимым даже при
незначительных концентрациях 1: 1000000. Главное токсическое действие
сероводорода проявляется не в раздражении слизистых оболочек, а в его общем
действии на организм.
3.2 Меры безопасности при применении технологии
ВУКСЖС
К работам по приготовлению и закачке композиции допускаются лица,
прошедшие обучение согласно ГОСТ 12.0.004-90 ССБТ "Организация обучения
безопасности труда. Общие положения", "Положению о порядке подготовки
и аттестации работников организаций, эксплуатирующих опасные производственные
объекты, подконтрольные Госгортехнадзору России" (утверждены
Постановлением Госгортехнадзора России № 21 от 30.04.2002 г.). Организация
работ по данной технологии должна соответствовать требованиям стандартов экологической
безопасности и промбезопасности серии ISO - 14000 и спецификации OHSAS
- 18000, принятым в ОАО "Татнефть".
Все работы на скважине по данной технологии проводить в соответствии с
планом, утвержденным НГДУ. В плане должны быть указаны порядок подготовительных
работ, схема размещения оборудования, технология проведения процесса,
ответственный руководитель работ.
Перед проведением работ необходимо провести инструктаж по технике
безопасности и промышленной санитарии рабочих, осуществляющих технологический
процесс. Инструктаж должен включать сведения о свойствах технологических
жидкостей, технологии их приготовления и закачивания, правил безопасности,
мерах предосторожности и оказании первой помощи при ожогах и отравлениях.
На период технологического процесса закачки композиции вокруг скважины и
применяемого оборудования должна быть установлена опасная зона радиусом не
менее 50 м .
Для исключения возможности возникновения аварийной ситуации применяется
резервный насосный агрегат.
Запрещается проведение технологического процесса закачки композиции в
скважинах с негерметичными колоннами и заколонными перетоками.
Обвязка скважины, соединительных линий и наземного оборудования должна
быть герметична и исключать попадание и разлив композиции на почву.
Перед началом технологического процесса на скважине с
применением передвижных агрегатов руководитель работы обязан убедиться в
наличии двухсторонней переговорной связи.
Передвижные насосные установки необходимо располагать на расстоянии не
менее 10 м от устья скважины, расстояние между ними должно быть не менее 1 м.
Другие установки для выполнения работ (парогенераторная установка, компрессор и
др.) должны размещаться на расстоянии не менее 25 м от устья скважины. Агрегаты
устанавливаются кабинами от устья скважины.
Выкид от предохранительного устройства насоса должен быть закрыт кожухом
и выведен на прием насоса.
При закачке химреагентов работы должны выполняться с применением
необходимых средств индивидуальной защиты и в соответствии с требованиями
инструкции по применению данного реагента.
После закачки ВУКСЖС до разборки нагнетательной системы агрегата должна
прокачиваться инертная жидкость объемом, достаточным для промывки
нагнетательной системы. Сброс жидкости после промывки должен производиться в
сборную емкость.
Применяемые материалы, используемые в технологическом процессе,
транспортируются и хранятся в соответствии с требованиями, предъявляемыми к ним
техническими условиями на продукт.
По степени воздействия на организм силикат натрия относится к третьему классу
опасности - умеренно-опасное вещество. Предельно допустимая концентрация (ПДК)
силиката натрия в воздухе рабочей зоны производственных помещений составляет 2
мг/м3 (для общей массы аэрозоля).
Силикат натрия не обладает общетоксическим и кожно-резорбтивным
действием, но при попадании на слизистые верхних дыхательных путей, в глаза в
виде мелких брызг или тумана, могут оказывать слабое раздражающее действие. При
попадании на кожу обильно смыть продукт водой, обработать участок кожи слабым
раствором уксусной кислоты (2 %). При попадании в глаза также обильно промыть
их водой, после чего закапать противовоспалительные глазные капли
(борноцинковые, либо альбуцид).
Не горюч, пожаро- и взрывобезопасен. Хранение и работы с продуктом должны
производиться в помещениях, оборудованных общеобменной вентиляцией, позволяющей
обеспечить ПДК аэрозоля в воздухе рабочей зоны.
При работе рекомендуется пользоваться защитными очками, резиновыми
перчатками и фартуком.
Не допускается контакт с алюминием и его сплавами.
Утилизация силиката натрия из сточных вод достигается нейтрализацией до
рН 6-7 соляной кислотой или каустической содой, затем нейтрализованные сточные
воды подвергаются механической очистке (отстаивание, фильтрование,
центрифугирование и др.).
Промышленное использование силиката натрия в композиции с другими
реагентами не имеет медико-гигиенических, либо экологических противопоказаний и
требует лишь соблюдения гигиенических регламентов и других мер безопасности,
принятых для этих реагентов.
Соляная кислота НАПОР-HCl по
пожароопасным свойствам относится к негорючим веществам. По степени воздействия
на организм человека продукт относится к высокоопасным веществам, 2 класс
опасности.
Пары хлористого водорода оказывают раздражающее действие на кожу и
слизистые оболочки глаз и дыхательных путей. Предельно допустимая концентрация
(ПДК) хлористого водорода в воздухе рабочей зоны составляет 5 мг/м3.
Рабочие, работающие с соляной кислотой, должны быть обеспечены средствами
индивидуальной защиты: спецодеждой, защитными очками, резиновыми перчатками,
фильтрующим противогазом марки "В" или "БКФ."
При попадании соляной кислоты на кожные покровы необходимо немедленно
смыть обильной струей воды, а при попадании брызг в глаза сразу же промыть их
обильной струей воды и обработать 2 % раствором питьевой соды. При поражении
органов дыхания во всех случаях после оказания первой помощи пострадавшего
доставить к врачу.
Промывание глаз нейтрализующими растворами (щелочами) запрещено.
Подача кислоты от центробежного насоса в автоцистерны производится по
резиновым шлангам, а также по гибким трубам из поливинилпласта и полиэтилена.
При приготовлении ВУКСЖС обеспечивается герметичность технологического
оборудования, соединительных линий и узлов обвязки; используются герметичные
ёмкости, обеспечивающие сохранность и качество суспензии. Вышеперечисленные
факторы обеспечивают безотходность технологического процесса.
3.3 Обеспечение пожарной безопасности
Для обеспечения пожарной безопасности совместно с работниками ПЧ на
объектах управления необходимо выполнить занятия и аттестацию по
пожарно-техническому минимуму по 10 видам программ со всеми категориями
работников управления.
Необходимо проводить месячник по проверке состояния электрохозяйства в
производственных и складских корпусах, установках и соблюдения требований
правил пожарной безопасности так же месячник по приведению основного
производственного оборудования и складских помещений в надлежащее
противопожарное состояние согласно распоряжению ОАО «Татнефть».
При работах на скважине необходимо соблюдение условий, исключающих
возможность возникновения пожара. Для предприятий нефтяной промышленности
противопожарные мероприятия сформулированы в «Типовых правилах пожарной
безопасности в нефтяной промышленности». Основное внимание следует уделять мероприятиям
по предупреждению возникновения пожаров. Для тушения возникающего пламени надо
использовать огнетушитель, песок, землю, кошму.
Вся территория производственных объектов бурения скважин и добычи нефти и
газа как на суше, и на море, в том числе эстакады и площадки, на которых
расположены бурящиеся и эксплуатационные скважины, привышечные сооружения,
установки для сбора, хранения, транспорта нефти и газа, а также
производственные помещения должны постоянно содержаться в чистоте и порядке.
Не допускается замазучивание производственной территории и помещений,
загрязнение легковоспламеняющимися и горячими жидкостями (ЛВ и ГЖ), мусором и
отходами производства. Сгораемые отходы производства, мусор, сухая трава и др.
должны убираться, а места разлива легковоспламеняющихся и горючих жидкостей
должны также тщательно убираться и засыпаться сухим песком или грунтом.
Вокруг площадок и пожаро- и взрывоопасных объектов и сооружений,
расположенных на территории нефтедобывающего предприятия, периодически должна
скашиваться трава в радиусе не менее 5 м.
Дороги, проезды, подъезды к сооружениям, водоемам, пожарным гидрантам и
средствам пожаротушения, а также противопожарные разрывы между установками и
хранилищами нельзя загромождать и использовать для складирования материалов,
деталей, оборудования и др.
В зимнее время пожарные гидранты и подъезды к ним должны очищаться от
снега, а крыши колодцев - гидрантов ото льда. Гидранты должны быть утеплены во
избежание замерзания. В пожаро- и взрывоопасных объектах, цехах, складах и на
территории курения запрещается.
Запрещается применять для освещения бурящихся и эксплуатационных скважин,
насосных, нефтеналивных причалов, пунктов сбора и подготовки нефти, парков
товарных резервуаров и других пожаро- и взрывоопасных производственных
установок и складских сооружений факелы, спички, свечи, керосиновые фонари,
костры и другие источники открытого огня. Также запрещается их применение при
перфорации, освоении скважин, осмотре емкостей, бочек, бидонов из под горюющих
веществ.
За герметичностью оборудования (особенно фланцевых соединений и
сальников) необходимо установить строгий контроль. В случае обнаружения
пропусков должны приниматься меры их устранения.
Отогревать замерзшую аппаратуру, арматуру, трубопроводы, задвижки,
промывочный раствор разрешается только паром или горячей водой. Применение для
этих целей открытого огня запрещается.
Запасные емкости с горюче смазочным материалом должны быть удалены от
места установки двигателей внутреннего сгорания не менее чем на 25 м.
Проходы, выходы, коридоры, тамбуры, стационарные пожарные лестницы и
несгораемые ограждения на крышках зданий лестничные клетки, чердачные помещения
должны быть заперты, а слуховые окна закрыты. Устройство всевозможных кладовок
в лестничных клетках не допускается.
Сгораемые конструкции производственных объектов и зданий (например,
деревянная обшивка буровых, деревянные фермы и др.) следует защищать от
возгорания огнезащитными красками или пропиткой.
Спецодежда должна храниться в индивидуальных шкафах в специально предназначенных
для этих целей помещениях.
Запрещается мойка полов, стен, чистка оборудования, а также стирка одежды
в бензине, лигроине и в других ЛВ и ГЖ.
У каждого телефонного аппарата должны быть вывешены специальные таблички
с указанием номера телефона пожарной части для вызова ее при возникновении
пожара.
4 ОХРАНА НЕДР И ОКРУЖАЮЩЕЙ СРЕДЫ
4.1 Мероприятия направленные на охрану недр и
окружающей среды в НГДУ «Джалильнефть»
Производственная деятельность, добыча нефти в том числе, приводит к
выбросу различных вредных веществ в атмосферу.
Источники загрязнения атмосферного воздуха подразделяются на
неорганизованные и организованные.
Согласно определениям ОНД-90, организованным называется источник
загрязнения атмосферы (ИЗА), оборудованный устройством для направленного вывода
в атмосферу загрязняющего вещества.
Неорганизованный, в отличие от первого типа, не имеет специального
устройства для вывода ЗВ в атмосферу.
Каждый источник выброса имеет ряд характеристик, таких как высота,
конфигурация, ширина устья источников выбросов, температура и средний расход
газовоздушной смеси и др.
На разных этапах в атмосферный воздух могут выделяться ряд загрязняющих
веществ. Перечень вредных веществ, выбрасываемых в атмосферу, а так же
безопасные уровни содержания основных вредных веществ в атмосферном воздухе
населенных мест представлен в таблице 8.
Таблица 8 - Перечень вредных веществ, выбрасываемых в атмосферу
|
Код вещества
|
Вещество
|
ПДК, мг/м3
|
|
|
в рабочей зоне
|
в населенных пунктах
|
|
|
|
макси-мальная
|
средне-суточная
|
ОБУВ
|
|
1
|
2
|
3
|
4
|
5
|
6
|
|
0328
|
Сажа; Углерод черный
|
-
|
0,15
|
0,05
|
-
|
|
0123
|
Железо (II)(III) оксиды,
Железа диоксид (пыль, пары) (в пересчете на Fe)
|
-
|
-
|
0,04
|
-
|
|
0143
|
Марганец и его соединения
(в пересчете на MnO2)
|
-
|
0,01
|
0,001
|
-
|
|
2908
|
Пыль неорганическая, содерж.
20-70 % двуокиси кремния; Шамот, Цемент
|
-
|
0,3
|
0,1
|
-
|
|
0344
|
Фтористые соединения: плохо
растворимые неорганические фториды (в пересчете на фтор)
|
-
|
0,2
|
0,3
|
-
|
|
0301
|
Диоксид азота
|
2,0
|
0,085
|
0,04
|
-
|
|
0304
|
Азота оксид; Азот (II)
оксид
|
5,0
|
0,4
|
0,06
|
-
|
|
0330
|
Ангидрит сернистый; Сера
диоксид
|
10,0
|
0,5
|
0,05
|
-
|
|
0703
|
Бенз[а]пирен; 3,4-Бензпирен
|
0,00015
|
-
|
1,0
|
-
|
Неорганизованными источниками загрязнения атмосферного воздуха являются:
работающая спецтехника;
площадка проведения сварочных работ;
дыхательные клапаны емкости для хранения ГСМ;
склад химических реагентов;
неплотности арматуры, сальники, торцевые уплотнения насосов.
Организованными источниками являются:
буровая установка;
котельная установка;
факела, выкидные линии.
Контроль за состоянием атмосферного воздуха на территории месторождения
ведет промышленно-санитарная лаборатория ЦНИПР управления
«Татнефтегазпереработка», а также сами цеха, согласно графика, утвержденного
главным инженером.
Источниками воздействия на среду обитания и здоровье человека (загрязнение
атмосферного воздуха и неблагоприятное воздействие физических факторов)
являются объекты, для которых вклад в загрязнение жилых зон превышает 0,1 ПДК.
Современный уровень техники и технологии позволяет предусмотреть минимальное
воздействие на окружающую природную среду в процессе строительства скважин,
соблюдение щадящего природу режима при производстве буровых работ, предупредить
и ликвидировать аварийные выбросы и сливы, утилизировать отходы бурения и
испытания скважин. Для улучшения экологической обстановки в районе населенных
пунктов выделяются санитарно-защитные зоны, в которых ограничивается или
полностью запрещается строительство новых промышленных и бытовых объектов.
Использование
водных ресурсов регламентируется Водным кодексом РФ. Согласно статьям 3, 52
использование водных объектов должно осуществляться с минимально возможными
негативными последствиями для них. Нельзя допускать ухудшение качества вод и
вместе с этим условий существования объектов растительного и животного мира,
нанесения вреда здоровью населения и хозяйственным объектам. Статья
устанавливает приоритет охраны водных объектов перед их использованием,
приоритет использования водных объектов для целей питьевого и
хозяйственно-бытового водоснабжения перед иными целями их использования.
Использование водных объектов не должно оказывать негативное воздействие на
окружающую среду. Предоставление их в пользование для иных целей допускается
только при наличии достаточных водных ресурсов.
Территория
Ромашкинского месторождения, в которую входит рассматриваемая площадь, как
наиболее крупного и старейшего, несет самую большую антропогенную нагрузку.
В
НГДУ «джалильнефть» организована сеть мониторинга подземных и поверхностных
вод, Наблюдения ведутся специалистами НГДУ, УПТЖ, ТГРУ, ТатНИПИнефть.
Почвообразующие породы, наряду с почвами, являясь своеобразным
геохимическим экраном, препятствуют распространению значительного количества
загрязнений. Наибольшей защитной функцией обладают глины и суглинки, а при
наличии в толще карбонатных пород сорбционная способность возрастает. Данные
свойства необходимо учитывать при выборе места размещения нефтепромысловых
объектов - потенциальных источников загрязнения.
Преобладающим типом почв на Восточно-Сулеевской площади, как и на всей
территории юго-востока Татарстана, являются черноземы. Они занимают, в
основном, равнинные участки. Наиболее возвышенные участки представлены
карбонатными и дерново-карбонатными типами. Существенный урон почве наносится в
результате их смыва талыми и ливневыми водами, а также ростом оврагов.
Техногенную нагрузку на структуру почв оказывают все подсистемы
народнохозяйственного комплекса.
В сельском хозяйстве ощутимый урон почве наносится из-за
несбалансированного применения удобрений.
Высокая удельная нагрузка от всего комплекса народнохозяйственной
деятельности на юго-востоке Татарстана делает актуальным проблему загрязнения
почв через атмосферу. Под влиянием атмосферных осадков (дождей, снега) вредные
выбросы в атмосферу оседают на поверхность почв. И со временем могут разрушать
их гумусовый состав.
Воздействие на почвы при проведении нефтепромысловых работ заключается в
нарушении сплошности слоев грунта при сооружении траншей, выемок и углублений
под трубопроводы, амбары и фундаменты.
На стадии проведения подготовительных работ к бурению предусматривается
перемещение земляных масс для сооружения обваловки с перемещением грунта на 100
м.
При бурении и креплении скважин происходит собственно углубление ствола
скважин путем спуска бурильной колонны с породоразрушающим инструментом в
скважину, разрушение породы в забое, вынос из скважины в результате промывки
разрушенной породы и накопление ее на дневной поверхности, крепление скважины
обсадными трубами с последующим цементированием затрубного пространства.
Этап освоения скважины сопровождается накоплением на поверхности
пластовых флюидов. Извлекаемая жидкость и пластовые флюиды собираются в
земляном амбаре и полностью вывозятся на переработку.
Демонтаж бурового оборудования является заключительным этапом
строительства скважины, при котором оборудование демонтируется и перевозится на
новую точку бурения. Ликвидируются накопители отходов, эвакуируются остатки
химреагентов, нефти и материалов.
Возможны локальные загрязнения почвы при несоблюдении технологии бурения
потенциальными загрязнителями, к числу которых относятся: буровые и тампонажные
растворы, материалы для приготовления и обработки растворов, буровые сточные
воды и шлам, загрязненные ливневые воды, ГСМ, продукты испытания скважин
(углеводородные флюиды, пластовые воды), хозяйственно-бытовые сточные воды и
твердые бытовые отходы. Буровая установка имеет замкнутую систему циркуляции:
скважина - желоба - емкости - насос, которая исключает потерю раствора.
Для рационального использования земель, сохранения природных богатств,
предотвращения экологически вредного воздействия хозяйственной деятельности и
улучшения качества окружающей природной среды требуется:
) Предотвращать случаи попадания в почву и почвогрунты различных
химических реагентов (ПАВ, щелочей, кислот и др.) используемых в
технологических процессах.
) Сокращать размеры земельных участков под строительство объектов за счет
применения прогрессивных методов строительства, комплексных блочных установок,
кустового бурения.
) Использовать под строительство производственных объектов непригодные
земли для сельскохозяйственных целей.
) Обвалование скважин, куста скважин, резервуара или их группы и
поддержание его в исправном состоянии.
) Проводить рекультивацию нарушенных земель согласно ГОСТ и ГОСТ и
передавать их землепользователям.
Основными компонентами, загрязняющие почвы и грунты в нефтедобывающей
промышленности являются нефтепродукты, хлориды натрия и кальция.
Потенциальными источниками загрязнения и засолонения почв являются
буровые площадки, промысловые амбары, факела, трубопроводы, ГЗУ, ДНС, КНС и
другие нефтепромысловые сооружения.
Соблюдение следующих мероприятий при строительстве скважин поможет
избежать негативного влияния на почвы при производстве буровых и строительных
работ.
) Охрана и рациональное использование земель при строительстве скважины
включает выполнение мероприятий согласно требованиям РД 51-1-96.
) До начала строительства скважины согласно рекомендациям и РД 07-603-03
оформляются необходимые документы на предоставление во временное краткосрочное
пользование земельного отвода.
3) При строительстве скважин территория участка
буровой спланирована с уклоном 8-10º от центра к периферии, участки под
технологическое оборудование гидроизолированы; для сбора, транспортировки
стоков к накопителю и предотвращения загрязнения подземных вод и почв
производственными отходами бурения установлены металлические лотки.
) Подготовка площадки под строительство скважины
начинается с обустройства выделенной территории. Производство земляных работ
должно осуществляться только в пределах отведенного земельного отвода.
5) Плодородный слой снимается в соответствии с требованиями ГОСТ
17.4.3.02-85 и складируется в бурты в соответствии с ГОСТ 17.5.3.04-83 длиной
до 80-100 м и высотой до 3-4 м с углом откоса не более 25-300. Бурты располагаются
на специально отведенной площадке.
) Транспортировка бурового оборудования должна осуществляться только по
дорогам, соединяющим основную трассу и промплощадку. Трассы и сроки их
использования согласовываются с местными органами. В летнее время движение
транспорта разрешается только по дорогам с твердым покрытием.
7) Строительство подъездной грунтовой профилированной
дороги осуществляется после согласования с местными органами власти и
землепользователями, подъездные пути равны 1,0 га.
) Запрещается передвижение автотранспорта вне
грунтовой профилированной дороги с целью предотвращения ухудшения механических
свойств почв.
) Планировка территории буровой (срезка холмов и
засыпка углублений) и формирование из минерального грунта защитного обвалования
вокруг буровой площадки. Обвалование предотвращает растекание загрязненных
стоков с территории буровой площадки в случае возникновения аварийных ситуаций
и исключает ее подтопление ливневыми водами.
) Сооружение гидроизолированной инженерной системы организованного
сбора и накопления отходов бурения, включающей земляной амбар-накопитель,
имеющий защитное обвалование, и сточный бетонированный желоб. Для обвалования
используется грунт, извлекаемый из амбара.
) Хранение горюче-смазочных материалов в герметичных
емкостях. Вокруг блока ГСМ сооружается защитное грунтовое обвалование. Сыпучие
материалы, поставляемые навалом, могут храниться под навесом на огражденных
площадках, возвышенных над уровнем земли и с гидроизолированным настилом. При
этом отбуртовка должна препятствовать попаданию сыпучих материалов на
поверхность грунта.
) Хранение порошкообразных и жидких химреагентов и
материалов в специальном складе, установленном на бетонной площадке, оснащенном
укрытием от метеорологического воздействия (металлический каркас, обшивка стен
и крыши РТУ).
) Для предотвращения выбросов пластового флюида и
загрязнения окружающей среды на устье скважины устанавливается
противовыбросовое оборудование.
) В соответствии с требованиями «Методических указаний
по рекультивации замазученных и засоленных земель нефтедобывающих районов»
(1996 г.), сбор нефти осуществляется при помощи техники, имеющихся в
производственных подразделениях, в сочетании с нефтесборными устройствами
различных конструкций.