Проектирование механизма для изменения положения плеча робота
1. Описание работы механизма
Проектируемый
механизм предназначен для изменения положения плеча робота. Конструктивно он
состоит из трёх основных составляющих:
а) источника энергии (электродвигатель);
б) редуктора;
в) шариковинтовой передачи.
В качестве источника энергии использован электродвигатель МП-261 (1).
Соединение вала электродвигателя с валом редуктора осуществляется с помощью
соединительной муфты (2). Полумуфты крепятся на входном валу редуктора (II) и валу электродвигателя (I).
Редуктор представляет собой одну коническую передачу (3,4), заключённую в
корпусе. Редуктор предназначен для передачи крутящего момента от
электродвигателя с изменением направления, частоты вращения и крутящего момента
выходному валу (IV), который
соединен с шариковинтовой передачей.
Редуктор конструктивно состоит из пары зубчатых колёс, насаженных на валы
и заключенных в корпусе. Опорами валов в корпусе редуктора служат подшипники
качения.
Исходные данные
Мощность, снимаемая с выходного вала III, Р=5Вт.
Скорость вращения вала III, n=450 об/мин.
Срок службы, L =12000часов.
Производство единичное
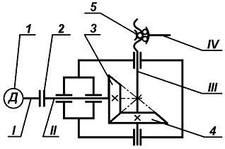
Рис. 1.1. Кинематическая схема привода.
- электродвигатель; 2 - соединительная муфта; 3,4 - Коническая передача;
5 - шарико - винтовая передача; I-II. Валы; III. Вал-винт; IV. Палец для соединения с рукой робота.
2. Предварительный выбор двигателя
.1 Расчет требуемой мощности двигателя
Требуемая мощность электродвигателя определяется по формуле [1, с.11 ]:
,
(2.1)
электродвигатель редуктор вал мощность
где
x - коэффициент запаса мощности. При расчете мощности
двигателя необходимо учитывать режим работы механизма в составе промышленного
робота, для которого характерны частые пуски, реверсы, остановки. Поэтому нужно
обеспечить запас мощности в 1,2-2,5 раза [1, с.11 ]. Принимаем x = 1,2;
η- коэффициент полезного действия механизма. Так как механизм еще не
спроектирован и не известен его действительный КПД, то примем предварительно 1=0,99
- КПД пары подшипников [6, c. 5],2=0,98 - предварительный КПД
муфты, 3=0,98 - предварительный КПД зубчатой конической пары
=0,85- предварительный КПД шарико - винтовой передачи.
Рассчитаем
общий КПД привода. Расчёт производится по формуле [1, с. 328]:
, (1.2)
Pвв - мощность
снимаемая с выходного вала редуктора. По заданию P3=9Вт.
.
.2
Выбор двигателя
Зная
требуемую мощность
=6,5 Вт, выбираем электродвигатель УЛ-042 с частотой
вращения nдв = 2700 об/мин и номинальной мощностью Рном=10Вт
[1].
3.
Расчет редуктора
.1
Кинематический расчёт
Определяем
передаточное число механизма [2, с. 43]:
u=nдв /nрм ,
(3.1)
где
nрм - заданная частота вращения приводного вала
рабочего механизма, nрм =350 об/мин;
Принимаем
значение передаточного числа для редуктора согласно ГОСТ 12289-76 u=5.
[6 с.49]
Расчёт
вращения валов производим по следующим формулам:
частота
вращения вала

(3.2)
угловая
скорость вращения вала:
(3.3)
мощность,
передаваемая валом
Рi+1=
, (3.4)
где
- коэффициент полезного действия передачи.
В
нашем случае 1=0,99 - КПД пары подшипников [6, c. 5], 3=0,98 -
предварительный КПД зубчатой конической пары
=0,85- предварительный КПД шарико - винтовой передачи.
Р3
=
Р4 =
- крутящий момент передаваемый валом
Тi=Рi/
(3.5)
Т1=10/282,6=0,035Нм
Т3=9,4/56,52=0,166Нм
Полученные
данные сводим в таблицу 1.
Таблица
1. Параметры вращения валов привода
Вал1 n1=
=nдв=2700об/м
Р1=Р2=
=Рдв=10ВтТ1=Т2=
|
=Тдв= =0,035Нм
|
|
|
|
|
|
Вал3
|
n3=540об/мин.
|
Р3=9,4ВтТ3=0,166Нм
|
|
|
Находим частоту вращения n
валов привода, об/мин[2, табл. 2.4.]:
nдв = n1= n2 = 2700 об/мин
n3 = n2 / u =2700/5= 540об/мин
Находим угловые скорости ω на валах привода [2, табл. 2.4.]:
ωдв = ω1 = ω2 =2π*nдв/30=3,14*2700/30= 282,6 с-1,
ω3 = ω2 / u1 =282,6/5=56,52с-1.
.2 Расчёт геометрических размеров
Для ведущей шестерни конической передачи:
Так как окружные скорости передачи не известны, на данном этапе расчета
задаемся 7 степенью точности.
Внешний делительный диаметр колеса
, (3.6)
где
- коэффициент
=1,1 [6
табл. 3,1];
-
коэффициент ширины венца по отношению к внешнему конусному расстоянию,
=0,285 [6 ГОСТ 12289-76]
=4,44мм
Принимаем
по ГОСТ 12289-76 стандартное значение
=50мм.
Примем число зубьев шестерни z1=18
Число зубьев колеса
z2=z1*u=18*5=90.
Внешний торцовый модуль
m te=
, (3.7)
m tе=
=2,7=3мм
Фактическое передаточное число
uф=
=
=5
Внешний
делительный диаметр шестерни
de1=
=
=10мм
Внешнее
конусное расстояние
(3.8)
Ширина
зубчатого венца b=
•Re, принимая
=0.285,
получим
b=0,285*137,7=39,2мм
Округлим
b по ряду нормальных линейных размеров (ГОСТ 6636-69): b
=40мм мм.
Среднее
конусное расстояние
(3.9)
R=137,7-0,5*40=117,7мм
Внешняя
высота зуба
he=
(3.10)
he=
Коэффициент
радиального смещения у шестерни
(3.11)
Внешняя
высота головки зуба шестерни
(3.12)
Внешняя
высота головки зуба колеса
(3.13)
Углы
делительных конусов колеса и шестерни:
=arctg uф=arctg 5=79009,
=90-
=90-79009,=10051,
Уточним
значение коэффициента ширины зубчатого венца
=
=
=0,29
Внешний
делительный диаметр
(3.14)
Внешний
делительный диаметр шестерни
Внешний
делительный диаметр колеса
Средний
делительный диаметр шестерни
d1=2(Re-0,5b)sin
(3.15)
d1=2(137,7-0,5*40)sin10,51=43мм
Средняя
окружная скорость в зацеплении равна
V=
, (3.16)
V=
=1,413м/с
С
учетом окружной скорости назначим степень точности передачи ncт
=8
Принимаем
материалы:
для
изготовления шестерни и колеса редуктора:
для
шестерни сталь 40Х улучшенную с твердостью НВ 270;
для
колеса сталь 40Х улучшенную с твердостью НВ 245.
.3
Расчет шарико - винтовой передачи
Исходные
данные:
частота
вращения n3=370об/мин.;
Определяем
номинальный диаметр шарика исходя из условия динамической устойчивости:
Условие по предельной частоте
вращения:n ≤ 8·104, мм·мин-1.
допускается d0n ≤
12·104, мм·мин-1.
Условие по критической
частоте вращение (условие предотвращения резонанса)
кр=5·107vKвd /l2, (3.17)
где v - коэффициент, зависящий
от способа закрепления винта;
Кв - коэффициент запаса по
частоте вращения, Кв =0,5÷0,8; и l - в мм.
из условия динамической
устойчивости: d0 ≥ 8·104/n3=8·104/603,17=132,6мм.
из условия по критической
частоте вращения:
d0/l2 ≥n3/5·107 vKв =540/5·107 ·0,7·0,7=0,000022
В соответствии с ОСТ 2
РЗ1-5-89 принимаем размер 150мм.
Обычно применяют
одноконтурную (z = 1) трехвитковую гайку: iв = 3.
Rпр=(1,03…1,05)r0. (3.18)
Rпр=(1,03…1,05)75=77,25…78,75мм=78мм
Радиус шарика
rw=Dw/2 (3.19)
rw=50/2=25мм.
Радиус профиля резьбы
rпр=(1,03…1,05)rw. (3.20)
rпр=(1,03…1,05)25=25,75…26,25=26мм.
Приведенный угол трения в
резьбе, рад:
, (3.21)
где fк - коэффициент трения
качения, мм (fк =0,005...0,015 мм);
а - угол контакта,
а=45°=0,785 рад.
Угол подъема резьбы, рад:
(3.22)
Число шариков в одном витке
гайки:
(3.23)
Число рабочих шариков в одном
витке с вкладышем:
zp=zш-zв (3.24)
где z' - число шариков в
канале возврата.' =3Р / Dw,. (3.25)
zв=4,41/ 50=1
zp=9 - 1=8
Расчетное число шариков в iв
витках:
zрасч=
(3.26)
zрасч=
Параметры площадки контакта
между телом качения и дорожкой качения (здесь Е - модуль упругости, МПа):
(3.27)
(3.28)
Радиус галтели винта, мм: rB =
0,2 rW =5мм.
Радиус галтели гайки, мм: rГ≈
0,15 rW =3,75мм.
Наружный диаметр резьбы
винта, мм:
d1 = d0 - 2[(rW +
rB)cos(a + у) - rB]. (3.29)
d1=150-2[(25+5)cos(0,00116+45)-5]=117,57мм.
Смещение центра радиуса
профиля, мм:
спр=(rпр- rW)sina. (3.30)
спр=(26- 25)sin45=0,707мм.
Внутренний диаметр резьбы
винта, мм:
B =d0 + 2cпр - 2rпр (3.31)
B =150 + 2*0,707 -
2*26=99,41мм
Наружный диаметр резьбы
гайки, мм:
r =d0 - 2cпр + 2rпр . (3.32)
r =150- 2*0,707+
2*26=200,59мм.
Рисунок 2. Геометрические
размеры шарико - винтовой передачи.
Внутренний диаметр резьбы
гайки, мм:
r =d0 +0,5(d0-d1). (3.33)
r
=150+0,5(150-117,57)=166,215мм.
Диаметр качения по винту, мм:
кв =d0-2rWcosa . (3.34)
dкв
=150-2*25cos0,00116=100мм.
Диаметр качения по гайке, мм:
кг =d0+2rWcosa . (3.35)
кг =150+2*25cos0,00116=175мм
4. Проверочный расчет требуемой мощности двигателя
Крутящий момент на валу электродвигателя Тдв, Нм равен:
, (4.1)
где
hпр- коэффициент полезного действия привода (муфты,
подшипников, конической пары редуктора). Для соединения вала электродвигателя с
входным валом редуктора применяем глухую втулочную муфту. Принимаем hм =0,98 [2, с. 43].
=0,023
Находим требуемую мощность двигателя Ртр, Вт[2, табл. 2.4]:
. (4.2)
Соотношение
Рдв>1,2Ртр; 10Вт> 7,8Вт соблюдается.
5.
Предварительный расчет валов
Предварительный
расчёт выполняем по напряжениям кручения, т.е. при этом не учитываются
напряжения изгиба, концентрации напряжений и переменность напряжений во времени
(циклы напряжений). Для компенсации приближённости метода расчёта допускаемые
напряжения на кручение применяем заниженными: [τ]к =10…20 МПа. Причем большие значения [τ]к принимаем для тихоходных валов [2, с. 110].
Определяем
диаметры ступеней валов d, мм [2, табл. 7.1]:
. (5.1.)
Диаметр
выходного конца быстроходного вала d2 ,мм:
Для
соединения вала с валом электродвигателя диаметром dдв=6мм
назначаем диаметр выходного конца вала d1 = (0,8…1,2) dдв=4,8…7,2
мм. Принимаем d2 =6 мм.
Диаметр
выходного конца ведомого вала d3,мм:
.
Принимаем d3 =6 мм.
Диаметры ступеней валов назначаем исходя из конструктивных соображений.
6.Расчет
момента инерции редуктора
Рассчитаем
момент инерции редуктора J, приведенного к валу электродвигателя. Для этого по
длине зуба колеса
, делительному диаметру
и
удельной плотности материала
вычисляем
значение J всех колес [5].
b=40мм;
d1 =43мм;
d2=50мм; ρ=7,85 г/см3 = 7,85*10-3 г/мм3 (для стали).
(6.1)
7. Расчет мертвого хода
В реверсивных механизмах устройств и систем различают прямой и обратный
ход. Вследствие боковых зазоров в зацеплении, зазоров во вращательных парах и
упругих деформаций валов положения ведомого звена всегда различны при
одинаковых положениях ведущего звена во время прямого и обратного хода.
Точность реверсивных механизмов могут охарактеризовать ошибка мёртвого хода
и мёртвый ход.
Ошибкой мертвого хода механизма называется отставание ведомого звена при
изменении направления движения ведущего звена. Она равна разнице в положениях
ведомого звена при одинаковых положениях ведущего во время прямого и обратного
движения механизма.
Мёртвым ходом принято считать свободное перемещение ведущего звена (в
нашем случае - шестерни) при неподвижном ведомом звене (колесе).
Для одноступенчатой зубчатой передачи, имеющей в зацеплении боковой зазор
jn, мёртвый ход определяется как погрешность
перемещения ведущего звена [3]:
(7.1)
где
jn - величина бокового зазора, которая зависит от вида
сопряжения колёс и допуска на боковой зазор.
Для
степени точности колеса 7 и вида сопряжения G, значение
минимального гарантированного бокового зазора jn min=20мкм
(по ГОСТ 9178-72).
d2, -
делительный диаметр ведомого колеса, мм;
α - угол профиля зубьев.
8.
Подбор и расчет подшипников выходного вала
Определяем
значения сил, действующих в зубчатом зацеплении [2, табл.6.1]:
Окружная:
Ft=2Т1*103/d1
(8.1)
Ft=2*0,035*103/43=1,63Н.
Радиальная
для шестерни, равная осевой для колеса:
Fr=Fa=Ft*tgαcos
.
(8.2)=Fa=1,63*tg200cos100 51=0,58H.
Осевая
для шестерни, равная радиальной для колеса:
Fа1=Fr2 =Ft* tgαsin
(8.3)а1=Fr2 =1,63*tg200sin10051=0,11H.
Составляем расчётную схему (рис. 3) и определяем суммарные реакции в
подшипниках.
Составляем уравнения равновесия и определяем опорные реакции для
выходного вала.
Рисунок 3. Расчетная схема ведомого вала.
Расстояние С1 и С2 берем из условия, что вал расположен в корпусе
вертикально, и подшипники располагаются в корпусе редуктора. Границе корпуса
редуктора намечаем с зазором 10 мм от торца ведомого зубчатого колеса и вершин
зубьев ведомого. Тогда:
С1=b/2+10=30мм
С2 = 20+dае2=20+50,6=70,6мм
Определяем реакции:
плоскость xz
-Rx1(C1+C2)+Ft*C2=0
Rx2(C1+C2) -
Ft*C1=0
Проверка
Rx1+Rx2 - Ft = 0
,14+0,49
- 1,63=0
плоскость
yz
-Ry1(C1+C2) -
Fr*C2+Fa
=0
-Ry2(C1+C2)+Fr*C1+Fa
=0
Проверка
Ry1 - Ry2 + Fr = 0
,07
- 0,18+0,11=0
Определяем
суммарные радиальные реакции, Н:
. (8.4)
. (8.5)
Наиболее
нагруженной опорой является опора 1.
Для
обоих валов выбираем шариковые радиальные однорядные подшипники сверхлёгкой
серии. Выбираем типоразмер подшипников по величине диаметра d внутреннего кольца, равного диаметру ступеней вала под
подшпники.
Вал II - подшипник 1000900, ГОСТ
8338-75.
Вал
III- подшипник 1000900, ГОСТ 8338-75.
Расчётная долговечность подшипников L10h определяется по формуле [2,
с.140]:
, (8.6)
где Lh - требуемая долговечность подшипника (по заданию срок службы механизма Lh
=18000 ч);
RЕ - эквивалентная
динамическая нагрузка, Н;
m - показатель
степени: m=3 для шариковых подшипников;
а1
- коэффициент надёжности. При безотказной работе а1=1;
а23
- коэффициент учитывающий влияние качества подшипника и качества его
эксплуатации. При обычных условиях работы для шариковых подшипников принимаем
а23= 0,8;
Cr -
динамическая грузоподъемность, Н.
Определяем рассчётную долговечность подшипников.
Частота вращения кольца подшипника n=540об/мин. Осевая сила в зацеплении Fa=0,82Н. Реакции в подшипниках R1=1,14H. Характеристика подшипников1000900: Cr=2500Н; V=1; Кб=1,1; Кт=1; а1=1; а23=0,8. Подшипники установлены по схеме
враспор.
Определяем соотношения [2, с.150]:
;
.
По
табл. 9.2 [2] находим е=0,19; Y=2,3.
По
соотношению
выбираем соответствующую формулу для определения
эквивалентной динамической нагрузки RЕ [2, табл. 9.1]:
RЕ=(XKkRr+YRa)KбKт , (8.7)
где Rr -
радиальная нагрузка на подшипник (суммарная опорная реакция), Н
Ra- осевая
нагрузка подшипника, Н
Х-коэффициент радиальной нагрузки, Х=0,56 для радиальных
шарикоподшипников;
Y - коэффициент
осевой нагрузки;
Kk - коэффициент
вращения, при вращении внутреннего кольца Kk = 1;
Kб -
коэффициент безопасности, учитывающий характер нагрузки.
При переменной нагрузке Kб =1,3;
Kт -
коэффициент, учитывающий влияние температуры на долговечность подшипника. При t≤1000C Kт 1,0.
RЕ2=(Х*V*R1+Y*Fa)*Кб*Кт=(0,56*1*1,14+2,3*0,58)1,1*1=2,17Н.
Определяем
динамическую грузоподъемность:
. (8.8)
Долговечность
подшипников обеспечена.
9.
Обоснование применяемых материалов и типа смазки
Выбор
и обоснование материалов колеса и шестерни произведён в пункте 3.
Материал
корпуса и корпусных деталей (крышек подшипниковых) - Сталь 45 ГОСТ-1050-88.
Смазка
подвижных соединений предназначена для уменьшения потерь на трение и износа
трущихся поверхностей, для отвода теплоты, выделяющейся при трении, и
предохранения от коррозии.
Смазывание
зубчатого зацепления и подшипников, ввиду небольших скоростей вращения υ≤2 м/с [2, с. 254] осуществляется густой консистентной
смазкой ЦИАТИМ -201 ГОСТ 6267-74 с периодичностью замены 2 раза в год.
Литература
1. Элементы
приборных устройств: Курсовое проектирование. Учебн. пособие для вузов. в 2-х
частях. Под ред. О.Ф.Тищенко -М.: Высшая школа, 1978.
2. Шейнблит
А.Е. Курсовое проектирование деталей машин: Учеб. пособие. Изд. 2-е перераб. и
дополн. - Калининград: Янтарный сказ, 2002. -454 с.: ил.
. Сурин
В.М. Прикладная механика: учеб пособие/ В.М.Сурин.- Мн.: Новое знание, 2005. -
388 с.: ил. - (Техническое образование).
. Прикладная
механика /Под общ. ред. Справочное пособие по курсам "Прикладная механика",
"Механизмы устройств вычислительных систем" (кафедральная
разработка). -Мн, МРТИ, 1990.
. Элементы
приборных устройств: Курсовое проектирование. Учеб. пособие для вузов в 2-х ч.
Ч.2. Конструирование/Н.П.Нестерова, А.П.Коваленко, О.Ф.Тищенко и др.; под ред.
О.Ф.Тищенко- М.: Высшая школа, 1978. - 232 с., ил.
. Курсовое
проектирование деталей машин / С.А. Чернавский, К.Н. Боков, И.М. Чернин и др. -
М.: Машиностроение, 1988. - 416 с.