Бетонные и железобетонные конструкции
Содержание
Введение
1. Расчет конструкции
рабочей площадки
2. Компоновка рабочей
площадки
3. Нагрузка на рабочую площадку
. Расчетная ячейка рабочей
площадки
. Расчет балки настила
. Расчет главной балки
. Расчет колонны
. База колонны
9. Узлы сопряжения балок
Список литературы
1. Расчет конструкций рабочей площадки
Рабочая площадка располагается внутри здания и служит
для размещения на ней технологического оборудования, материалов и
обслуживающего персонала [3]. Площадка состоит из железобетонного настила,
балок настила, главных балок, колонн и связей. Колонны опираются на собственные
фундаменты (рис. 1).
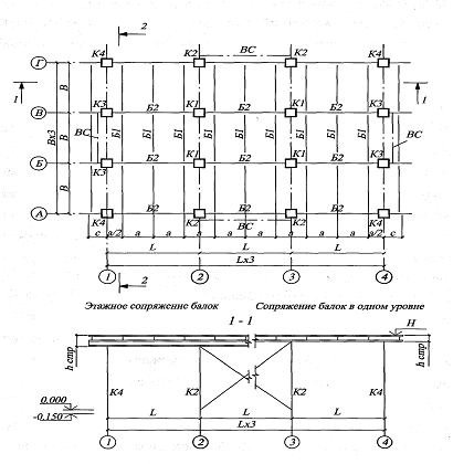
Рисунок 1. Рабочая площадка: а) схема площадки; б) и
в) - сопряжение балок этажное и в одном уровне; 1 - настил; 2 - балки настила;
3 - главные балки; 4 - колонны; 5 - связи; 6 - фундаменты; h стр - строительная высота.
2. Компоновка рабочей площадки
Исходные данные для компоновки площадки:
– число и шаг колонн в продольном относительно
здания направлении 3L (м);
– число и шаг колонн в поперечном направлении 3
B (м);
– отметка верха площадки Н (м);
– шаг балок настила а (м);
– сопряжение балок настила с главными балками -
этажное или в одном уровне.
Компоновку площадки начинают с нанесения разбивочной
сетки колонн, маркировка осей которой выполнена в разделе 1 (см. рис. 2).

Рисунок 2. Схема балочной клетки рабочей площадки.
На пересечениях осей устанавливают колонны и далее
составляют план расположения балок рабочей площадки.
Главные балки располагают вдоль большего шага колонн,
балки настила - в перпендикулярном к ним направлении. Балки настила из
конструктивных соображений целесообразно смещать с оси колонны на половину их
шага (а/2). При этажном сопряжении балки настила в крайних пролетах имеют свесы
на 200 - 300 мм за крайние оси.
Крайние главные балки имеют консольные части
с = а/2 + (150 - 200) мм.
Компоновку продольного и поперечного разрезов
выполняют на основании вертикальных отметок Н (отметка верха площадки) и Н1
= - 0.150 м. (низа колонн). В качестве нулевой отметки принимают уровень
чистого пола здания. Для обеспечения пространственной устойчивости конструкций
площадки обычно между средними колоннами наружных рядов устанавливают связи.
Настилом рабочей площадки служит монолитная
железобетонная плита, толщину которой можно назначить
tж/б пл = 100 мм.
3. Нагрузки на рабочую площадку
Конструкции рабочей площадки рассчитывают на
равномерно распределенные переменную полезную и постоянную нагрузку от
собственного веса железобетонной плиты настила.
Для проверки предельных состояний первой группы
(расчет на прочность балок и устойчивость колонн) используются предельные
расчетные значения нагрузок.
Для проверки предельных состояний второй группы
(расчет на жесткость балок) используются эксплуатационные значения нагрузок.
Характеристическое значение переменной нагрузки РХ
(кПа или кН/м) дано в задании. Характеристическое значение постоянной нагрузки
от веса квадратного метра железобетонной плиты настила вычисляют по формуле:
(кН/м2),
где
ρ
- плотность железобетонной плиты;ж/б
пл - толщина плиты настила, м (см. раздел 1);= 9,8 м/с2 -
ускорение свободного падения, можно принять равным 10 м/с2.
Предельные
расчетные нагрузки равны характеристическим, умноженным на коэффициенты
надежности по нагрузке γtm1 и γtm2. Эксплуатационные
расчетные нагрузки равны характеристическим, умноженным на коэффициенты
надежности по нагрузке γfe
Известна
переменная характеристическая нагрузка Pх=14кН/м2,
толщина железобетонной плиты настила tж/б пл = 10 см.
Тогда
характеристический вес 1 м2 ж/б плиты:
кН/м2.
Суммарное
характеристическое значение нагрузки на 1 м2:
кН/м2.
Суммарное
предельное расчетное значение нагрузки на 1 м2:
кН/м2.
Суммарное
эксплуатационное расчетное значение нагрузки на 1 м2:
кН/м2.
Эксплуатационное
расчетное значение нагрузки принимается равным характеристическому.
4. Расчетная ячейка рабочей
площадки
железобетонный
технологический колонна настил
Расчет конструкций начинают с установления их
расчетной схемы. Расчетная схема представляет собой упрощенное изображение
конструкций, позволяющее определить их поведение под нагрузкой и вычислить
расчетные усилия.
Выделим из рабочей площадки среднюю расчетную ячейку,
ограниченную параметрами L и B. Для этой ячейки выполняют расчет конструкций
балок Б1 и Б2, а также колонны К1 (рис. 3).
Рисунок 3. Расчетная ячейка рабочей площадки.
5. Расчет балки настила
Балку рассчитывают на равномерно распределенную
нагрузку, расчетная схема балки Б1 приведена на рис. 4.
Рисунок 4. Расчетная схема балки Б1.
Балки настила являются однопролетными шарнирно
опертыми. При равномерно распределенной нагрузке по площадке в кН/м2
нагрузку на погонный метр длины балки Б1 собирают с соответствующей грузовой
полосы шириной а, равной шагу балок настила, а именно:
характеристическая:
(кН/м);
предельная
расчетная:
(кН/м);
эксплуатационная
расчетная:
.
Далее
определяем расчетные усилия в балке:
опорные
реакции:
(кН)
максимальный
изгибающий момент:
(кНм).
,
где
c1 = 1,07-1,12 - коэффициент учета развития пластических деформаций
[пр. 5, табл. 66 СНИП ІІ-23-81*];
γс -
коэффициент условий работы;у - расчетное сопротивление стали по
пределу текучести.
Затем
по требуемому моменту сопротивления в сортаменте обычных двутавров или
двутавров с параллельными гранями полок с индексом Б выбирают номер профиля
таким образом, чтобы его фактический момент сопротивления был не меньше
требуемого. Из сортамента выписывают номер профиля, фактический момент
сопротивления Wх и момент инерции Jх. Затем выполняют проверку прочности подобранного
сечения (по 1-ой группе предельных состояний) по формуле:
,
где
значение коэффициента с1 уточняется в зависимости от принятого
сечения балки. Для прокатного двутавра коэффициент с1 = 1,12.
Для
балочных конструкций обязательно выполняют проверку по 2-ой группе предельных
состояний - проверку жесткости, которая заключается в обеспечении условия:
,
где
fmax - наибольший прогиб балки в середине пролета от действия
эксплуатационной нагрузки и равен:
,
где
Е = 2,1·104 кН/см2 - модуль упругости стали;и
- предельная величина прогиба, устанавливаемая нормами [6]:и = В/200
- при пролетах балок 3 м < B < 6 м;и = В/250 - при пролетах
балок B > 6 м.
Если
условие жесткости не выполняется, то увеличивают номер двутавра.
Для
расчетной ячейки с параметрами В=4 м; L = 7,5 м; а =L /n = 7,5/4 = 1,875 м
подобрать сечение балки Б1. Материал конструкций сталь С245, суммарное
характеристическое значение нагрузки (см. пример 1)
кН/м2, суммарное предельное расчетное
значение нагрузки -
кН/м2; суммарное эксплуатационное
расчетное значение нагрузки -
кН/м2.
Расчетное
сопротивление стали Rу= 240 МПа или 24 кН/см2 принимаем
по прилож. 1 для толщины проката 2-20 мм. Нагрузка на 1 пог. м балки:
характеристическая:
кН/м;
предельная
расчетная:
кН/м;
эксплуатационная
расчетная:
кН/м.
Далее
определяем предельные расчетные усилия в балке:
опорные
реакции:
кН;
максимальный
изгибающий момент:
кНм =
7340 кН×см.
Требуемый
момент сопротивления балки вычисляем по формуле:
см3.
Принимаем
для Б1
24 Wx = 289 см3, Jx = 3460 см4, S = 5,6 мм.
Проверяем жесткость балки:
предельный прогиб: fи = В/200 = 400/200 = 2
cм;
фактический прогиб:
см <
fи = 2 см.
Условие жесткости выполняется.
Выполняем проверку прочности подобранного сечения по
формуле:
Условие
прочности выполняется.
6.
Расчет главной балки
Главные
балки рабочей площадки проектируются из прокатных широкополочных или сварных
двутавров. Наиболее нагруженными балками являются балки средних рядов. Нагрузки
на них собирают с двух соседних пролетов в виде сосредоточенных сил.
В
курсовом проекте главная балка проектируется из широкополочного двутавра.
Главная
балка является однопролетной, шарнирно опертой и загружена сосредоточенными
силами от реакций балок настила. Для расчета главной балки необходимо
произвести: статический расчет определением усилий М и Q на участках балки;
подобрать сечение балки, выполнить проверки прочности и жесткости.
По
известной расчетной схеме балки (рис. 5), загруженной сосредоточенными силами,
строят эпюры изгибающих моментов и поперечных сил с вычислением их значений на
каждом из участков по правилам строительной механики.
Максимальная
поперечная сила равна реакции главной балки; при симметричной нагрузке:
.
Рисунок
5. Расчетная схема главной балки Б2.
По
максимальному моменту подбирают сечение балки Б2 из прокатного двутавра
аналогично расчету балки Б1 (без учета развития пластических деформаций).
Проверку
жесткости балки выполняют по формуле:
≤ fи,
где
Mэксп - максимальный изгибающий момент по эксплуатационной нагрузке,
равный:
.
Для
исходных данных в примере 2 требуется подобрать сечение главной балки Б2. Ry
= 240 МП = 24 кН /см2 (принимаем для толщины проката полки балки t
< 20 мм).
Узловая
расчетная нагрузка на балку:
=
2 Rбн = 2 · 73,4 = 146,8 кН.
Расчетная
схема балки приведена на рис. 5. Определяем усилия в балке на участках:
|
Участок 1
|
кН;
|
|
кН·м;
|
|
Участок 2
|
кН;
|
|
= 335,75 кН·м;
|
|
Участок 3
|
кН
|
|
|
Эпюры M и Q для данной балки построены на рис. 5.
Требуемый момент сопротивления главной балки (упругая
стадия работы материала):
см3.
Принимаем
для Б2
50 Wx = 1589 см3,Jx = 39727 см4, s = 10 мм.
Проверяем жесткость балки по формуле:
фактический прогиб
см,
где
предельный
прогиб
и = L/200 = 750/200 = 3,75
cм.
Условие
жесткости выполняется.
.
Расчет колонны
Главные
балки опираются на верхнюю часть колонны (оголовок), которая закрепляется от
горизонтального смещения вертикальными связями и конструкцией перекрытия.
Колонны служат для передачи нагрузки от вышерасположенных конструкций через
фундамент на грунт. В зависимости от того, как передается нагрузка на колонну,
различают центрально сжатые колонны.
Колонны
рабочей площадки работают на центральное сжатие, нагрузки приложены либо
непосредственно к центру сечения колонны, либо симметрично относительно оси
стержня. Наиболее нагруженной является колонна среднего ряда, на которую
опираются две главные балки (рис. 6). При проектировании центрально сжатой
колонны следует стремится к равно устойчивости колонны, т.е. к тому, чтобы
гибкости колонны относительно главных осей сечения были равны (λх ~ λу).
Рисунок 6. Конструктивная и расчетная схемы колонны.
Усилие в колонне численно равно двум реакциям главных
балок:
.
Расчетные
длины колонны lef,x и lef,y зависят от высоты колонны и
закрепления концов колонны на опорах. Для данной конструктивной схемы
закрепления колонны вверху и внизу принимают шарнирными. Тогда коэффициенты
расчетных длин μx = μy = 1.
Расчетные длины колонны относительно главных осей:
lef,x = lef,y = μx,y·hk
.
Высоту
колонны hк определяют в соответствии с конструктивной схемой в
зависимости от способа сопряжения балок (рис. 1 и 6):
.
Требуемая
площадь сечения стержня колонны определяется из основной формулы расчета сжатых
стержней:
,
,
где
φо = 0,6 -
0,8 - коэффициент, принимаемый из опыта проектирования;
γс -
коэффициент условий работы.
По
величине Атр в сортаменте выбирают колонный двутавр с индексом К или
сварные трубы из прокатных швеллеров или уголков и выписывают геометрические
характеристики сечения: площадь А и радиусы инерции ix
и iу, а также габариты сечения h и b. Затем определяют гибкость
колонны по формулам:
.
При
этом максимальная гибкость колонны не должна превышать предельную
≈ 120 (из опыта проектирования),
.
По
максимальной гибкости определяют фактический коэффициент продольного изгиба φ и подобранное сечение проверяют на устойчивость по
формуле:
,
где
φmin -
коэффициент продольного изгиба и зависит от максимальной гибкости колонны.
Для
рабочей площадки, рассмотренной в примерах 1, 2 и 3. требуется подобрать
сечение средней колонны К1. Отметка верха площадки Н = 4,8 м; отметка низа
колонны Н1 = - 0,150 м. Колонна выполнена из стали С235, Ry
= 230 мПа = 23 кН/см2. Сопряжение балок этажное.
Расчетное
усилие в колонне N = 2·Rгб = 2·220,2 = 440,4 кН.
Высота
колонны
м = 4110
мм;
мм =
0,840 м.
Рисунок
6.1. Конструктивная и расчетная схемы колонны.
Расчетная
длина колонны
lef,x = lef,y =
μ · hk= 1 ·4,11 = 411 cм.
Задаемся
коэффициентом продольного изгиба φ = 0,6.
Требуемая
площадь сечения колонны
см2.
Минимальный
радиус инерции из условия предельной гибкости
см.
По
имеющейся площади подбираем сечение главной колонны. По сортаменту выбираем
сварные трубы из прокатных швеллеров (рис. 7), площадь поперечного сечения
которого подходит по величине Атр. Методом подбора принимаем по
сортаменту профиль № 16. Геометрические характеристики сечения А = 36,2 см2,
Jx = 1494
cм4,
Jy = 892,6 cм4.
Радиус
инерции сечения:
ix =
6,42 см;iy = 4,97 см
Рисунок
7. Схема составного сечения главной колонны.
Определяем
гибкость колонны относительно главных осей:
По
максимальной гибкости λmах = 114,3 и расчетному
сопротивлению стали Ry = 230 МПа, интерполируя, определяем φ = 0,625 и проверяем устойчивость колонны по формуле
кН/см2.
Предельная
гибкость:
Устойчивость
колонны обеспечена.
.
База колонны
База
колонны служит для передачи нагрузки с колонны на фундамент и обеспечивает
закрепление нижнего конца колонны в соответствии с расчетной схемой. Различают
два основных типа баз - шарнирные и жесткие. Для легких колонн применяют
шарнирное закрепление базы, в которых все усилие передается на плиту через
сварные швы (рис. 8).
Рисунок 8. База колонны.
Передача усилия от стержня колонны осуществляется при
помощи траверсы, которая служит для равномерной передачи силовых потоков от
стержня на плиту.
Размеры сечения базы определяют, исходя из условия
смятия бетона фундамента под плитой, по формуле:
,
где
Rb,loс = Rb·ψb,loc -
расчетное сопротивление бетона фундамента смятию; коэффициент ψb,loc обычно
принимают 1,2 - 1,5;b - расчетное сопротивление бетона осевому сжатию,
зависит от класса бетона.
Ширину
плиты Впл принимают конструктивно
Впл
> 2с + 2tтр + b
где:
tтр - толщина траверсы, tтр = 10 - 12 мм;
с
- свес плиты, с = 40 - 50 мм;- ширина полок сварных швеллеров.
Длину
плиты Lпл определяют по расчету при известной ширине Впл
.
Длина
плиты должна быть не менее конструктивного размера:

а
- свесы для размещения анкерных болтов, а = 100-120 мм.
Длину
Lпл и ширину Впл плиты округляют до 10 мм.
Толщину
плиты базы рассчитывают из условия работы ее на изгиб. В курсовом проекте
допускается принять толщину в пределах 25 - 30 мм.
Высоту
траверсы определяют из условия полной передачи усилия от стержня колонны на
опорную плиту через сварные швы траверсы. При расчете по металлу шва:
см,
где:
βf -
коэффициент, зависящий от вида сварки, для ручной сварки βf =0,7;f
- катет шва, принимаемый равным 6-12 мм, но не более 1,2 tтр;wf
- расчетное сопротивление сварного шва на срез, принимают в зависимости от типа
электрода [7].
Высота
траверсы из конструктивных соображений должна быть не менее 200 мм и не более
85 βf kf
и кратной 10 мм. Анкерные болты принимают конструктивно диаметром 30-36 мм.
Запроектировать
базу колонны, рассмотренной в примере 4. Исходные данные: усилие в колонне N =
440,4 кН, материал фундамента - бетон класса В10, размеры сечения стержня
колонны из примера 4: h = 180 мм, b = 140 мм, tтр =10 мм.
Расчетное
сопротивление бетона сжатию Rb = 6,0 МПа = 0,6 кН/см2.
Расчетное
сопротивление бетона смятию
b,loс = Rb·ψb,loc=
0,6·1,2 = 0,72 кН/см2.
Требуемая
площадь плиты
см2.
Назначаем
размеры плиты в плане.
Ширина
плиты
Впл
= 2с + 2tтр + b = 2·40+2·10+140 = 240 мм = 24 см.
Длина
плиты по расчету
см.
Конструктивная длина плиты
мм.
Принимаем
большую длину (с округлением) Lпл = 38 см.
Назначаем
толщину плиты базы tпл = 20 мм.
Высоту
траверсы вычисляем, задавшись: катетом шва kf = 6 мм, видом сварки -
ручной, при которой βf = 0,7,
типом электрода Э42 с расчетным сопротивлением шва срезу (по металлу шва)
wf = 180 МПа =18 кН/см2,
γwf =1,0; γc= 1,0.
см.
Принимаем
hтр = 20 см. Анкерные болты принимаем диаметром 30 мм.
База
колонны служит для передачи нагрузки с колонны на фундамент и обеспечивает
закрепление нижнего конца колонны в соответствии с расчетной схемой. Различают
два основных типа баз - шарнирные и жесткие. Для легких колонн применяют
шарнирное закрепление базы, в которых все усилие передается на плиту через
сварные швы (рис. 8).
9.
Узлы сопряжения балок
Сопряжение
главных балок и балок настила между собой выполняют на монтаже. В соответствии
с заданием рассматривают два типа сопряжений: этажное и в одном уровне (рис.
9).
Рисунок 9. Сопряжения балок а) этажное, б) в одном
уровне.
Этажное сопряжение балок (рис. 9, а) наиболее
технологичное, но имеет повышенную строительную высоту. Положение поднастильной
балки на главную фиксируется болтами грубой или нормальной точности (класс В
или С) поставленными конструктивно. Если опорная реакция балки настила
превышает 100 кН, то главная балка в месте опирания поднастильных, укрепляется
поперечными ребрами жесткости.
Сопряжение балок в одном уровне уменьшает строительную
высоту, но более сложно при изготовлении и монтаже.
В курсовом проекте при сопряжении балок в одном уровне
принимают крепление балок настила к ребрам жесткости главных балок на болтах
(рис. 9, б). Расчет узлов заключается в определении диаметра и числа болтов,
необходимых для крепления.
Расчет болтов производят по опорной реакции балки
настила, увеличенной на 20 % (в 1,2 раза) с учетом неравномерного распределения
усилий между болтами.
Последовательность расчета:
задаются диаметром болтов d (16, 18, 20, 24 мм);
задаются классом прочности (4.6, 4.8, 5.6, 5.8) и
классом точности (В или С) болтов;
определяют несущую способность одного болта из условия
работы его
на срез
,
где
Rbs - расчетное сопротивление болта срезу,
пs
- число плоскостей среза одного болта;
γb -
коэффициент условий работы болтового соединения(γb = 0,9);
на
смятие
,
где
Rbр - расчетное сопротивление смятию элементов, соединяемых болтами
(прилож. 4);
Σtmin -
суммарная минимальная толщина листов, сминаемых в одном направлении (меньшая из
толщин стенки поднастильной балки или ребра жесткости главной балки).
Требуемое
число болтов в соединении определяют по минимальной несущей способности:
.