Адсорбция в химии

  • Вид работы:
    Дипломная (ВКР)
  • Предмет:
    Химия
  • Язык:
    Русский
    ,
    Формат файла:
    MS Word
    1,13 Mb
  • Опубликовано:
    2011-11-15
Вы можете узнать стоимость помощи в написании студенческой работы.
Помощь в написании работы, которую точно примут!

Адсорбция в химии

Министерство образования и науки Украины

Луганский национальный университет

имени Тараса Шевченко

Факультет естественных наук







Курсовая работа

по химии на тему:

Адсорбция в химии


Выполнила:

Мищенко Ирина







Луганск-2011

Содержание

адсорбция химическая промышленная

Введение

. Классификация процесса, основные определения

.1 Основные понятия процесса адсорбции

.2 Основные промышленные адсорбенты и их свойства

. Теории адсорбции

. Оборудование, реализующее процесс адсорбции

.1 Адсорбция с неподвижным слоем адсорбента

3.2 Адсорбция силикагелем

3.3 Гиперсорбция

.4 Адсорбция в кипящем (псевдоожиженном) слое

Заключение

Список использованной литературы

Введение

Адсорбцией называют процесс поглощения вещества из смеси газов, паров или растворов поверхностью или объемом пор твердого тела - адсорбента.

Явление адсорбции известно очень давно. Такие природные материалы, как песок и почва, использовали для очистки воды еще на заре человеческого общества. В конце XVIII века К. Шееле и одновременно Фонтана обнаружили способность свежепрокаленного древесного угля поглощать различные газы в объемах, в несколько раз превышающих его собственный объем. Вскоре выяснилось, что величина поглощенного объема зависит от типа угля и природы газа. Т.Е. Ловиц в 1785 году открыл явление адсорбции углем в жидкой среде, подробно исследовал его и предложил использовать уголь для очистки фармацевтических препаратов, спирта, вина, органических соединений. Ловиц показал, что древесный уголь способен быстро очищать испорченную воду и делать ее пригодной для питья. И сейчас основным действующим началом фильтров для воды служат углеродные материалы, конечно более современные, чем природные угли. Адсорбция отравляющих веществ из воздуха была использована Н.Д. Зелинским при создании противогаза во время первой мировой войны.

Адсорбция газов на твердых поверхностях используется в некоторых отраслях пищевой промышленности, а именно масложировой (например, в производстве маргарина) и в бродильной (например, в производстве дрожжей) для очистки технологических газовых потоков с целью предотвращения выбросов вредных веществ в атмосферу. Поглощение паров воды происходит на пористых веществах, которые выполняют роль твердого адсорбента. Подобные процессы наблюдаются в отношении сахара, соли и сухарей. Адсорбционный способ регулирования газового состава хранилищ скоропортящихся продуктов позволяет в несколько раз сократить потери и увеличить сроки хранения. Адсорбция различных пищевых кислот, лимонной в частности, снижает по сравнению с водой поверхностное натяжение большинства прохладительных напитков. Адсорбция веществ на поверхности раздела жидкость - газ способствует устойчивости пен. Подобный процесс имеет место в бродильной промышленности при производстве дрожжей и некоторых других полупродуктов. Усиление смачивания водой различных поверхностей широко используется в промышленности в качестве сопутствующего процесса при мойке оборудования, подготовке сырья, обработке полуфабрикатов и т.д. Адсорбция на границе твердое тело - жидкость широко применяется при очистке жидкостей (например, диффузионного сока при производстве сахара, растительных масел и соков) от примесей.

Развитие теории адсорбционных сил еще не достигло такой стадии, когда по известным физико-химическим свойствам газа и твердого тела можно было бы рассчитать изотерму адсорбции, не проводя экспериментальных исследований. Поэтому попыткам описать экспериментальные изотермы с помощью различных теоретических уравнений, которым соответствуют определенные модели адсорбции, посвящено огромное количество работ. Если теоретическое уравнение изотермы адсорбции хорошо воспроизводит экспериментальные данные, то можно рассчитать неизвестные величины адсорбции при разных условиях (р и Т ) и определить различные геометрические параметры твердых тел. Рассмотрим лишь немногие, наиболее распространенные теоретические уравнения изотерм адсорбции.

1. Классификация процесса, основные определения

.1 Основные понятия процесса адсорбции

Адсорбцией называется самопроизвольно протекающий диффузионный процесс взаимодействия двух фаз - твердого тела - адсорбента и газа, пара или растворенного вещества-адсорбтива, происходящий поглощением газа, пара или растворенного вещества поверхностью твердого тела.

Поглощение газов, паров и растворенных веществ твердыми телами обычно сопровождается процессами проникновения поглощаемого вещества в твердое тело (абсорбцией), капиллярной конденсацией и химическими реакциями (хемосорбцией), что весьма затрудняет изучение собственно адсорбции. Поэтому поглощение газов, паров и растворенных веществ твердыми телами обычно рассматривается как общий процесс сорбции.

Адсорбция всегда сопровождается выделением тепла. В большинстве случаев тепловой эффект адсорбции по своей величине приближается к теплоте конденсации поглощаемого газа или пара. Адсорбцию подразделяют на два вида: физическую и химическую. Физическая адсорбция в основном обусловлена поверхностными вандервальсовыми силами, которые проявляются на расстояниях, значительно превышающих размеры адсорбируемых молекул, поэтому на поверхности адсорбента обычно удерживаются несколько слоев молекул адсорбата. При химической адсорбции поглощаемое вещество вступает в химичекое взаимодействие с адсорбентом с образованием на его поверхности обычных химических соединений. Силы притяжения возникают на поверхности адсорбента благодаря тому, что силовое поле поверхностных атомов и молекул не уравновешено силами взаимодействия соседних частиц. По физической природе силы взаимодействия молекул поглощаемого вещества и адсорбента относятся в основном к дисперсионным, возникающим благодаря перемещению электронов в сближающихся молекулах. В ряде случаев адсорбции большое значение имеют электростатические и индукционные силы, а также водородные связи. Поэтому адсорбция является самопроизвольным процессом, течение которого сопровождается уменьшением свободной энергии и энтропии системы. Процессы адсорбции избирательны и обратимы. Процесс, обратный адсорбции, называют десорбцией, которую используют для выделения поглощенных веществ и регенерации адсорбента. Наиболее рационально применять адсорбцию для обработки смесей с низкой концентрацией извлекаемых веществ. Статическая и динамическая активность адсорбентов. Основной характеристикой адсорбента является его активность, определяемая весовым количеством вещества, поглощенного единицей объема или веса поглотителя.

Различают активность статическую и динамическую.

Статическая активность адсорбента характеризуется максимальным количеством вещества, адсорбированного к моменту достижения равновесия весовой или объемной единицей адсорбента при данной температуре и концентрации адсорбируемого вещества в газо-воздушной смеси.

Динамическая активность является характеристикой адсорбента при протекании паро-воздушной смеси через слой адсорбента до момента проскока адсорбируемого газа.

Селективные свойства адсорбентов

В процессах адсорбции, так же как и в процессах абсорбции, поглощающие вещества (адсорбенты обладают селективными свойствами по отношению к поглощаемым газам и парам. Иными словами, применение адсорбционных процессов в качестве метода разделения газовых смесей основано на том, что газовая смесь, приведенная в соприкосновение с адсорбентом, освобождается лишь от одного компонента, в то время как другие оказываются непоглощенными.

Если в процессах абсорбции селективные качества процесса определялись растворимостью или нерастворимостью газа в поглощающей жидкости, то в процессах адсорбции критерием селективных качеств является статическая активность адсорбента.

Из смеси газов, приведенных в соприкосновение с адсорбентом, в первую очередь и в значительно большем количестве поглощается газ или пар того вещества, которое имеет более высокую температуру кипения. В большинстве случаев температура кипения поглощаемого газа (например, паров бензола) сильно отличается от температуры кипения инертного газа (например, воздуха) и присутствие инертного газа почти не оказывает влияния на ход процесса. В данном случае поглощение бензола из паро-воздушной смеси с парциальной упругостью паров бензола р протекает точно так же, как и поглощение чистых паров бензола, имеющих то же давление. Разделение адсорбционным методом смеси газов, компоненты которой имеют близко лежащие температуры кипения, предоставляет большие трудности или практически невозможно.

.2 Основные промышленные адсорбенты и их свойства

Основными промышленными адсорбентами являются пористые тела, обладающие большим объемом микропор. Свойства адсорбентов определяются природой материала, из которого они изготовлены, и пористой внутренней структурой.

В промышленных адсорбентах основное количество поглощенного вещества сорбируется на стенках микропор (r < 109 м). Роль переходных пор (10-9 < r < 10-7 м) и макропор (r < 10-7 м) в в основном сводится к транспортированию адсорбируемого вещества к микропорам.

Адсорбенты характеризуются своей поглотительной, или адсорбционной способностью, определяемой максимально возможной концентрацией адсорбтива в единице массы или объема адсорбента, его пористой структуры, природы поглощаемого вещества, его концентрации, температуры, а для газов и паров - от их парциального давления. Максимально возможную при данных условиях поглотительную способность адсорбента условно называют равновесной активностью.

По химическому составу все адсорбенты можно разделить на углеродные и неуглеродные. К углеродным адсорбентам относятся активные (активированные угли), углеродные волокнистые материалы, а также некоторые виды твердого топлива. Неуглеродные адсорбенты включают в себя силикагели, активный оксид алюминия, алюмагели , цеолиты и глинистые породы.

Активные угли, состоящие из множества беспорядочно расположенных микрокристаллов графита, обычно используют для поглощения органических веществ в процессах очистки и разделения жидкостей и газов (паров). Эти адсорбенты получают сухой перегонкой ряда углеродсодержащих веществ (древесины, каменного угля, костей животных, косточех плодов и др.). После этого уголь активируют, например прокаливают его при температуре 850-900о С, что приводит к освобождению пор от смолистых веществ и образованию новых микропор. Активацию проводят также экстрагированием смол из пор органическими растворителями, окислением кислородом воздуха и др. Более однородная структура углей получается при их активации химическими методами: путем их обработки горячими растворами солей (сульфатами, нитратами и др.) или минеральными кислотами (серной, азотной и др.)

Качество активированных углей зависит от свойств исходных углеродсодержащих материалов и от условий активации. Характеристикой степени активации активированного угля является обгар, т. е. сгоревшая часть угля, выраженная в процентах от количества исходного материала.

Силикагелем называют продукт обезвоживания геля кремневой кислоты, получаемого действием серной или соляной кислот или растворов кислых солей на раствор силиката натрия. Выпавший гель кремневой кислоты после промывки высушивается при температуре 115-130° до влажности 5-7%.

Силикагель отличается однородностью пор как по величине, так и распределению. Применяется силикагель в виде зерен диаметром от 0,2 до 7 мм главным образом для поглощения паров воды, т. е. для сушки газов. Удельная активная поверхность силикагеля выражается величиной порядка 600 м2 на один грамм. К достоинствам силикагелей относятся их негорючесть и большая механическая прочность. Недостатком относится резкое снижение поглотительной способности по отношению к парам органических веществ в присутствии влаги. По сорбционным свойствам к силикагелю близко примыкают алюмагели, получаемые термической обработкой гидроксида алюминия при температурах 600-1000оС. Поры полученного сорбента имеют диаметр 1-3 нм, удельную поверхность 2·10 5 - 4·10 5 м2/кг; насыпная плотность такого сорбента 1600 кг/м3. Алюмагели используют для осушки газов, очистки водных растворов и минеральных масел.

Цеолиты представляют собой природные или синтетические минералы, которые являются водными алюмосиликатами, содержащими оксиды щелочных щелочноземельных металлов. Эти адсорбенты отличаются регулярной структурой пор, размеры которых соизмеримы с размерами поглощаемых молекул. Особенность цеолитов состоит в том, что адсорбционные поверхности соединены между собой окнами определенного диаметра, через которые могут проникать только молекулы меньшего размера. На этом основано разделение смесей с разными по размеру молекулами, что послужило причиной называть цеолиты молекулярными ситами. Для разделения газовых смесей применяют цеолиты в виде шариков или гранул размером от 1 до 5 мм, а для разделения жидких смесей - в виде мелкозернистого порошка. Особенно широко цеолиты используют для глубокой осушки газов и жидкостей, в процессах очистки и разделения смесей веществ с близкой молекулярной массой, а также в качестве в качестве катализаторов и их носителей.

Для очистки жидкостей от различных примесей в качестве адсорбентов применяют природные глинистые породы. Эти глины для их активации обрабатывают серной или хлороводородной кислотами и получают адсорбент с удельной поверхностью пор порядка (1,0 ÷1,5)·105 м2/кг.

2. Теории адсорбции

Единой теории, которая достаточно корректно описывала бы все виды адсорбции на разных поверхностях раздела фаз, не имеется; рассмотрим поэтому некоторые наиболее распространенные теории адсорбции, описывающие отдельные виды адсорбции на поверхности раздела твердое тело - газ или твердое тело - раствор.

Теория мономолекулярной адсорбции Ленгмюра

Теория мономолекулярной адсорбции, которую разработал американский химик И. Ленгмюр <#"514233.files/image001.gif"> 

Рис. 2.1.1 Изотерма мономолекулярной адсорбции.

В состоянии равновесия скорость адсорбции равна скорости десорбции. Скорость десорбции прямо пропорциональна доле занятых активных центров (х), а скорость адсорбции прямо пропорциональна произведению концентрации адсорбата на долю свободных активных центров (1 - х):

 (2.1.1)

 (2.1.2)

 (2.1.3)

Отсюда находим х:

 (2.1.4)

Разделив числитель и знаменатель правой части уравнения (2.1.4) на kA, получим:

 (2.1.5)

Максимально возможная величина адсорбции Го достигается при условии, что все активные центры заняты молекулами адсорбата, т.е. х = 1. Отсюда следует, что х = Г / Го. Подставив это в уравнение (2.1.5), получаем:

 (2.1.6)

 (2.1.7)

Уравнение (2.1.7) есть изотерма мономолекулярной адсорбции, связывающая величину адсорбции Г с концентрацией адсорбата С. Здесь b - некоторая постоянная для данной пары адсорбент-адсорбат величина (отношение констант скоростей десорбции и адсорбции), численно равная концентрации адсорбата, при которой занята половина активных центров. График изотермы адсорбции Ленгмюра приведен на рис. 2.1.1. Константу b можно определить графически, проведя касательную к изотерме адсорбции в точке С = 0.

При описании процесса адсорбции газов в уравнении (2.1.7) концентрация может быть заменена пропорциональной величиной парциального давления газа:


Теория мономолекулярной адсорбции Ленгмюра применима для описания некоторых процессов адсорбции газов и растворенных веществ при небольших давлениях (концентрациях) адсорбата.

Теория полимолекулярной адсорбции Поляни

На практике часто (особенно при адсорбции паров) встречаются т.н. S-образные изотермы адсорбции (рис. 2.1.2), форма которых свидетельствует о возможном, начиная с некоторой величины давления, взаимодействии адсорбированных молекул с адсорбатом.

 

Рис. 2.1.2 Изотерма полимолекулярной адсорбции.

Для описания таких изотерм адсорбции М. Поляни <#"514233.files/image011.gif"> (2.1.9)

 (2.1.10)

 (а) (б)


Рис. 2.1.3 Изотерма адсорбции Фрейндлиха в обычных (а) и логарифмических координатах (б).

Показатель степени n и коэффициент пропорциональности а в уравнении Фрейндлиха определяются экспериментально. Логарифмируя уравнения (2.1.9 - 2.1.10), получаем:

 (2.1.11)

 (2.1.12)

Т.о., зависимость логарифма удельной адсорбции от логарифма концентрации (давления) графически выражается прямой линией, отсекающей на оси ординат отрезок, равный lga, тангенс угла наклона которой к оси абсцисс равен по величине показателю степени при давлении или концентрации (рис. 2.1.3):

 (2.1.13)

3. Оборудование, реализующее процесс адсорбции

.1 Адсорбция с неподвижным слоем адсорбента

Наиболее широко в настоящее время распространен в промышленности периодический метод адсорбции с неподвижным слоем адсорбента. Адсорбция проводится за четыре операции (циклы): поглощение (адсорбция) углем газа из смеси, отгонка его из угля (десорбция), сушка угля и охлаждение. После охлаждения адсорбер снова включается на поглощение. Таким образом, для непрерывного поглощения необходимо иметь несколько адсорберов, которые поочередно включаются на поглощение. Обычно установки состоят из двух, трех или четырех адсорберов.


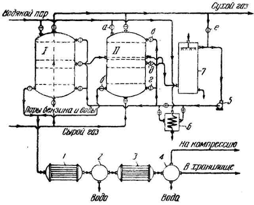
Рис. 3.1.1 Схема установки для адсорбции активированным углем: /, //-адсорберы; 1, 3-конденсаторы; 2, 4-сепараторы; 5-газодувка; 6-подогреватель; 7-конденсатор; а, б, в, г, д, е-задвижки.

На рис. 3.1.1 показана схема адсорбционной установки, предназначенной для извлечения углеводородов из газов.

Рис. 3.1.2. Горизонтальный адсорбер

.2 Адсорбция силикагелем

Гель двуокиси кремния Si02, или силикагель, применяется в сорбционной технике в виде зерен (напоминающих по размерам и структуре гранулированный уголь) или в виде тончайшей пыли.

Адсорбционные установки, работающие на зернистом силикагеле, аналогичны установкам на активированном угле с применением регенерации адсорбента. Однако регенерация силикагеля и десорбция из него адсорбтива могут значительно отличаться от методов регенерации угля и десорбции из него адсорбированных продуктов. Отличие в методе регенерации вызвано тем, что силикагель не меняет своей структуры и адсорбционных качеств под воздействием высокой температуры. Так, например, широко практикуется регенерация силикагеля путем нагревания его до 300°, в то время как нагревание активированного угля даже до 200° недопустимо.

Адсорбцию силикагелем производят на установках с автоматическим переключением адсорберов, в которых десорбция и регенерация осуществляются одновременно путем продувки через адсорбент горячего воздуха.

Применение пылеобразного силикагеля позволяет осуществлять процесс адсорбции непрерывным методом с движением адсорбента и адсорбтива противотоком друг к другу (рис. 3.2.2).

Рис. 3.2.1 Кольцевой адсорбер; 1-корпус адсорбера; 2- слой адсорбента


Рис. 3.2.2. Схема установки для адсорбции силикагелем: 1-адсорбер; 2-десорбер; 3-конденсатор; 4- сборник; 5, 9- газодувка; 6-холодильник; 7-циклон; 8-пылеуловитель.

Активность силикагеля несколько меньше, чем активированного угля; степень поглощения силикагелем составляет в среднем 92% и в лучшем случае достигает 95-97%. В то же время силикагель обладает преимуществами по сравнению с активированным углем: меньше расходуется адсорбента, так как силикагель может работать непрерывно гораздо дольше активированного угля и десорбция из силикагеля может проводиться при более высоких температурах.

3.3 Гиперсорбция

В нефтяной промышленности для разделения газов пиролиза нефти находит применение метод непрерывной адсорбции в движущемся слое адсорбента. Этот метод, названный гиперсорбцией, отличается более высокой производительностью установок по сравнению с установками периодического действия, работающими с неподвижным слоем адсорбента, а также более высокой степенью разделения газовых смесей на составляющие их компоненты.

Рис. 3.3.1. Схема установки для непрерывного разделения газовых смесей методом гиперсорбции: 1-бункер; 2- холодильник; 3-адсорбционная секцня; 4-распределительная тарелка; 5-колонна; 6- рекгификационная секция; 7-отпарняя секция; 8 - механизм выгрузки; 9-газлифт; 10- реактиватор; 11-газодувка.

Схема одной из простейших адсорбционных установок непрерывного действия представлена на рис. 3.3.1 Основным аппаратом установки является колонна 5, разделенная на несколько секций. Внутри этой колонны под действием силы тяжести твердый гранулированный адсорбент движется сверху вниз со скоростью, регулируемой механизмом выгрузки 8.

Газовая смесь, подлежащая разделению, подается в колонну разделения через специальную распределительную тарелку 4 и, проходя по адсорбционной секции колонны 3 противотоком к адсорбенту, отдает ему хорошо адсорбируемые компоненты, которые и поглощаются адсорбентом. Неадсорбированный газ проходит через холодильник 2, где охлаждается кодой, и удаляется из верхней части колонны в виде головной фракции.

.4 Адсорбция в кипящем (псевдоожиженном) слое

За последнее время в ряде отраслей промышленности находит применение адсорбция в кипящем слое, которая по сравнению с адсорбцией в неподвижном слое имеет ряд преимуществ, а именно:

) при сорбции адсорбентом, находящимся в псевдоожиженном состоянии, вследствие интенсивного движения частиц не происходит послойной отработки адсорбента;

) вследствие интенсивного перемешивания частиц адсорбента температура в кипящем слое выравнивается и предотвращается перегрев;

) адсорбент, находящийся в псевдоожиженном состоянии, оказывает относительно очень малое гидравлическое сопротивление;

) адсорбент представляет собой текучую фазу, легко транспортируемую из аппарата в аппарат.

Вместе с этим адсорбция в кипящем слое имеет и свои недостатки:

) в кипящем слое адсорбента отработавшие частицы адсорбента смешаны с неотработавшими. Поток, выходящий из адсорбера, встретив отработавшие частицы адсорбента, может вызвать десорбцию, что отрицательно скажется на степени разделения газовой смеси;

) вследствие интенсивного перемешивания частиц адсорбента в кипящем слое происходит их истирание; поэтому к адсорбенту предъявляются особые требования по механической прочности;

) при интенсивном движении частиц адсорбента в кипящем слое усиливается эрозия стенок аппарата.



Рис. 3.4.1. Схема колонного аппарата для разделения газов адсорбцией в кипящем слое: 1-выход непоглощенной части газа;2- корпус колонны; 3-контактная тарелка; 4-выход регенерированного адсорбента; 5-выход фракции газа С3; б-выход фракции газа C2.

Рис. 3.4.2. Схема устройства контактной тарелки колонного адсорбера с кипящим слоем: 1-переточные стаканы; 2-патрубки; 3-колпачок; 4-перегородки; 5-теплообменные трубки


На рис. 3.4.1 дана схема колонного аппарата для адсорбции в кипящем слое, применяемого при разделении углеводородных газов. Колонна снабжена контактными колпачковыми тарелками, схема устройства которых представлена на рис. 3.4.2. Частицы адсорбента, движущегося по колонне сверху вниз, переходят с тарелки на тарелку по переточным стаканам 1. Газ, который поддерживает частицы адсорбента на тарелке в состоянии псевдоожижения, проходит снизу вверх через патрубки 2 с колпачками 3. Для большей турболизации кипящего слоя установлены вертикальные перегородки 4, а для осуществления теплообмена-пучок трубок 5, в которых в зависимости от условий процесса может протекать охлаждающий или нагревающий агент.

Колонна по высоте делится на пять зон. Газ, подлежащий разделению, поступает по трубе под нижнюю тарелку первой-верхней зоны, в которой протекает процесс адсорбции; свежий адсорбент подается в верхнюю часть этой зоны. В этой зоне из газовой смеси поглощаются углеводороды, содержащие два и три атома углерода, и небольшие количества метана. Непоглощенная часть газовой смеси, содержащей метан, водород, азот и двуокись углерода, удаляется из верха колонны по трубе 1. Так как процесс адсорбции в первой зоне колонны протекает с выделением тепла, тарелки этой зоны снабжены охладительными трубами, по которым протекает холодная вода.


Рис. 3.4.3. Схема установки для адсорбции и десорбции в кипящем слое: 1-циклон; 2-сепаратор; 3-адсорбер; 4-теплообменники; 5, б-разгрузочные приспособления; 7- десорбер; 5-паровая рубашка.

На рис. 3.4.3 представлена схема установки для адсорбции и десорбции в кипящем слое, состоящей из адсорбера 3 и десорбера 7. В адсорбер 3 через трубу подаются исходная газовая смесь и регенерированный адсорбент из десорбера. В адсорбере создается кипящий слой адсорбента, в котором происходит адсорбция поглощаемой части газового потока. Непоглощенная часть газового потока через сепаратор 2 и циклон 1 удаляется из аппарата.

Из адсорбера адсорбент через разгрузочное приспособление 5 поступает в трубопровод и газом или паром, используемыми для десорбции, увлекается в десорбер 7, в котором десорбция проводится также в кипящем слое. Десорбер снабжен паровой рубашкой 8. Газ после десорбции проходит через теплообменник, где отдает тепло выходящему из адсорбера адсорбенту. Выходящий из десорбера регенерированный адсорбент охлаждается в теплообменнике 4.

На рис. 3.4.4 представлена схема устройства адсорбера с кипящим слоем.

Рис. 3.4.4. Адсорбер с регулируемой высотой кипящего слоя: 1-корпус адсорбера; 2-регулятор давления; 3-трубопровод для подачи регулировочного газа; 4- вспомогательный бак; 5-выход непо-глощеиной части газа; б-крышка адсорбера; 7-труба для подачи адсорбента; 8-загрузочный бункер; 9-труба; 10-труба для подачи исходного газа; 11-разгрузочная труба.

Опытные данные показывают, что процесс адсорбции в кипящем слое характеризуется теми же закономерностями, что и адсорбция в неподвижном слое. Так, время защитного действия слоя меняется прямо пропорционально высоте кипящего слоя. Коэффициент защитного действия адсорбента зависит от скорости газового потока, начальной концентрации газовой смеси и физико-химических свойств системы. При адсорбции в кипящем слое можно принимать скорость газового потока в три-четыре раза большей по сравнению со скоростью при адсорбции в неподвижном слое и значительно интенсифицировать процесс адсорбции.

Заключение

Адсорбционные явления чрезвычайно широко распространены в живой и неживой природе. Толщи горных пород и почвы являются огромными колоннами с адсорбентами, по которым перемещаются водные и газовые растворы. Легочная ткань подобна адсорбенту - носителю, на котором удерживается гемоглобин крови, обеспечивающий перенос кислорода в организм. Многие функции биологических мембран живой клетки связаны со свойствами их поверхности, так, например, общая площадь биологических мембран в организме человека достигает десятков тысяч квадратных метров. Даже такие наши чувства, как обоняние и вкус, зависят от адсорбции молекул соответствующих веществ в носовой полости и на языке. Сегодня адсорбция составляет основу многих промышленных операций и научных исследований. Наиболее важные из них - очистка, выделение и разделение различных веществ, адсорбционная газовая и жидкостная хроматография. Адсорбция является важной стадией гетерогенного катализа и коррозии. Исследования поверхности тесно связаны с развитием полупроводниковой техники, медицины, строительства и военного дела. Адсорбционные процессы играют ключевую роль при выборе стратегии защиты окружающей среды. Адсорбционные методы исследования свойств поверхности позволяют количественно охарактеризовать происходящие при адсорбции межмолекулярные взаимодействия адсорбат-адсорбент и адсорбат-адсорбат, определить термодинамические характеристики адсорбционного равновесия (например, теплоту и энтропию адсорбции), а также исследовать геометрические параметры адсорбента (величину удельной поверхности, объем пор и распределение пор по размерам, характерные для данного материала). Такие исследования необходимы для понимания факторов, управляющих адсорбционными процессами и обеспечивающих возможность выбора и разработки эффективных адсорбентов с необходимыми для решения конкретных задач свойствами.

Список использованной литературы

1. Процессы и аппараты: учебник для студ. учреждений сред. проф. образования/ Д.А. Баранов, А.М. Кутепов. - 2-е изд., - М.: Издательский центр «Академия», 2005;

. Процессы и аппараты химической технологии: Учебник для вузов./Дытнерский Ю.И. Изд. 2-е. В 2-х кН. Часть 2. Массообменные процессы и аппараты. М.: Химия, 1995;

. Киселев А.В. Межмолекулярные взаимодействия в адсорбции и хроматографии. М.: Высш. шк., 1986;

. Грег С., Синг К. Адсорбция, удельная поверхность, пористость. М.: Мир, 1984;

. Российский химический журнал. 1995. Т. 39, № 6.

.        Фролов Ю.Г. Курс коллоидной химии. Поверхностные явления и дисперсные системы. М.: Химия, 1989. 464с.

8.       <http://www.xumuk.ru/encyklopedia>

.        <http://www.bestreferat.ru>

.        <http://www.chemport.ru>

Похожие работы на - Адсорбция в химии

 

Не нашли материал для своей работы?
Поможем написать уникальную работу
Без плагиата!
Без нейросетей!