Центробежные насосы

  • Вид работы:
    Реферат
  • Предмет:
    Другое
  • Язык:
    Русский
    ,
    Формат файла:
    MS Word
    113,10 kb
  • Опубликовано:
    2011-06-10
Вы можете узнать стоимость помощи в написании студенческой работы.
Помощь в написании работы, которую точно примут!

Центробежные насосы

ФГОУ ВПО

Санкт-Петербургский государственный Аграрный Университет

Кафедра: Строительного Производства








Реферат

на тему:

"Центробежные насосы"


Выполнила: Спирина А.В.

гр. 9312

Проверил: Джерихов Н.В.






Пушкин, 2010 год

. Насосы. Общие сведения

Насосы - устройства для напорного перемещения главным образом жидкостей с сообщением им энергии. Обычно насосами подаются гомогенные жидкости (вода, нефтепродукты), но могут перекачиваться также двухфазные среды и газы.

По принципу действия насосы подразделяют на динамические и вытеснительные (объемные). В динамических насосах жидкость движется под силовым воздействием в камере постоянного объема, сообщающейся с подводящими и отводящими устройствами.

В объемных насосах движение жидкости происходит путем всасывания и вытеснения жидкости за счет циклического изменения объема в рабочих полостях при движении поршней, диафрагм, пластин. К динамическим относятся лопастные и струйные насосы, а к вытеснительным - поршневые и роторные.

Работа любого насоса характеризуется следующими величинами:

Объемная подача - Q, [м3/с] - объем жидкости подаваемый насосом в напорный трубопровод за единицу времени.

Напор (удельная работа) - H, [Дж/кг] - полное количество энергии, сообщаемое 1 кг рабочего среды в насосе. Выраженный в метрах показывает высоту на которую можно поднять жидкость с помощью насоса.

Частота вращения (для насосов имеющих вращающийся ротор) - n [об/мин]

Состояние среды на входе: (температура и давление); плотность среды - [кг/м3]

Мощность, N [Вт] - полная энергия подводимая к насосу в единицу времени.

Коэффициент полезного действия КПД,- отношение полной энергии, подведенной к насосу, к энергии переданной жидкости.

2. Лопастные насосы

Лопастные (а среди них - центробежные) - основной тип насосов как с точки зрения производительности и универсальности, так и их распространенности (не менее 75% промышленных насосов). Самые маленькие можно взять в руку, а самые большие достигают нескольких метров в диаметре. Работа этих насосов основана на общем принципе - силовом взаимодействии лопастей рабочего колеса с обтекающим их потоком перекачиваемой жидкости. Мощность центробежных насосов может составлять от долей киловатта до многих тысяч киловатт.

Центробежные насосы - самые распространённые насосы, они предназначаются для подачи холодной или горячей воды, вязких или агрессивных жидкостей (кислот и щелочей), сточных вод, смесей воды с грунтом, золой и шлаком, торфом, раздробленным каменным углём. Действие центробежных насосов основано на передаче кинетической энергии от вращающегося рабочего колеса тем частицам жидкости, которые находятся между его лопастями. Под влиянием возникающей при этом центробежной силы Р частицы подаваемой среды из рабочего колеса перемещаются в корпус насоса и далее, а на их место под действием давления воздуха поступают новые частицы, обеспечивая непрерывную работу насоса.

Основной параметр насоса - количество жидкости, перемещаемое в единицу времени, т. е. осуществляемая объёмная подача Q. Для большинстванасос важнейшими техническими параметрами также являются: развиваемое давление p или соответствующий ему напор H, потребляемая мощность N и кпд h.

3. Устройство и способ работы центробежных насосов

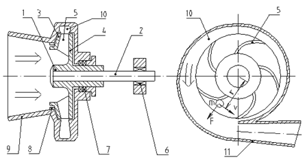
Основным рабочим органом центробежного насоса (рис 6) является свободно вращающееся внутри корпуса колесо 1, насаженное на вал 2. Рабочее колесо на вал насаживается с помощью шпонки. Рабочее колесо состоит из двух дисков (переднего 3 и заднего 4), отстоящих на некотором расстоянии друг от друга. Между дисками, соединяя их в единую конструкцию, находятся лопасти 5, плавно изогнутые в сторону, противоположную направлению вращения колеса.

Внутренние поверхности дисков и поверхности лопастей образуют так называемые межлопастные каналы колеса, которые при работе насоса заполнены перекачиваемой жидкостью.

Ротор - вал с насаженными на него вращающимися деталями - вращается в подшипниках 6. Между вращающимися и неподвижными деталями могут быть установлены сальники - уплотнения 7 для снижения утечек из насоса и уплотнения 8 для уменьшения циркуляции внутри насоса. При вращении колеса на каждую часть жидкости (массой m), находящейся в межлопастном канале на расстоянии r от оси вала и движущуюся со скоростью v, будет действовать центробежная сила:


Под действием этой силы жидкость выбрасывается из рабочего колеса, в результате чего в центре колеса создается разряжение, а в периферийной его части - повышенное давление. Для обеспечения непрерывного движения жидкости через насос необходимо обеспечить подвод перекачиваемой жидкости к рабочему колесу и отвод от него. Жидкость поступает через отверстие в переднем диске рабочего колеса по всасывающему трубопроводу (подводу 9). Движение жидкости по всасывающему трубопроводу происходит вследствие разности давлений над свободной поверхностью жидкости в приемном бассейне (атмосферное) и в центральной области колеса (разряжение). Для отвода жидкости в корпусе насоса имеется расширяющаяся спиральная камера (в форме улитки), куда поступает жидкость, выбрасываемая из рабочего колеса. Спиральная камера (отвод 10) переходит в короткий диффузор, образующий напорный патрубок 11, соединяемый обычно с напорным трубопроводом.

Схема центробежного насоса.


Центробежный насос должен быть оборудован следующей арматурой и приборами:

приемным обратным клапаном с сеткой, предназначенным для удержания в корпусе и всасывающем патрубке насоса воды при его заливе перед пуском;

сетка служит для задержания крупных взвесей, плавающих в воде;

задвижкой на всасывающем патрубке, которая устанавливается около насоса;

вакуумметром, для измерения разрежения на всасывающей стороне. Вакуумметр устанавливается на трубопроводе между задвижкой и корпусом насоса;

краном для выпуска воздуха при заливе (устанавливается в верхней части корпуса);

обратным клапаном на напорном трубопроводе, предотвращающем движение воды через насос в обратном направлении при параллельной работе другого насоса;

задвижкой на напорном трубопроводе, предназначенной для пуска в работу, остановки и регулирования производительности и напора насоса;

манометром на напорном патрубке для измерения напора, развиваемого насосом;

устройством для залива насоса.

В связи с тем, что насосные установки часто включаются в основной комплекс оборудования для регулирования режимов работы различного назначения, они могут быть оборудованы разнообразными приборами автоматики.

. Классификация центробежных насосов

1.       числу колес [одноступенчатые (одноколесные), многоступенчатые (многоколесные)]; кроме того, одноколесные насосы выполняют с консольным расположением вала - консольные;

.        напору [низкого напора до 2 кгс/см2 (0,2 МН/м2), среднего напора от 2 до 6 кгс/см2 (от 0,2 до 0,6 МН/м2), высокого напора больше 6 кгс/см2 (0,6 МН/м2)] напор насоса измеряется в метрах столба перекачиваемой жидкости;

.        способу подвода воды к рабочему колесу [с односторонним входом воды на рабочее колесо, с двусторонним входом воды (двойного всасывания)];

.        расположению вала (горизонтальные, вертикальные);

.        способу разъема корпуса (с горизонтальным разъемом корпуса, с вертикальным разъемом корпуса);

.        способу отвода жидкости из рабочего колеса в спиральный канал корпуса (спиральные и турбинные). В спиральных насосах жидкость отводится непосредственно в спиральный канал; в турбинных жидкость, прежде чем попасть в спиральный канал, проходит через специальное устройство - направляющий аппарат (неподвижное колесо с лопатками);

.        степени быстроходности рабочего колеса (тихоходные, нормальные, быстроходные);

.        роду перекачиваемой жидкости (водопроводные, канализационные, кислотные и щелочные, нефтяные, землесосные и др.);

.        способу соединения с двигателем [приводные (с редуктором или со шкивом), непосредственного соединения с электродвигателем с помощью муфт]. Насосы со шкивным приводом встречаются в настоящее время редко.

. Основные характеристики центробежных насосов

Одной из важных практических характеристик рабочих колёс центробежных и некоторых др. насосов является коэффициент быстроходности ns - число оборотов в 1 мин такого рабочего колеса, которое геометрически подобно рассматриваемому и при подаче Q = 75 л/сек развивает напор Н = 1 м. Классификация рабочих колёс центробежных насосов по быстроходности характеризуется отношением внешнего диаметра Dвн к диаметру его входного отверстия Doтв.

Для создания больших напоров применяют многоступенчатые насосы, в которых жидкость проходит последовательно несколько рабочих колёс, получая от каждого из них соответствующую энергию. Важнейшей особенностью центробежных насосов является непосредственная зависимость напора, а также мощности, кпд и допустимой высоты всасывания от подачи, которая для каждого типа насос выражается соответствующими графиками, называемыми характеристиками. Кпд центробежного насоса при определенном режиме его работы достигает максимального значения, а затем с увеличением подачи снижается.

Крупнейшие центробежные насосы отечественного производства могут обеспечить подачу воды до 65 000 м3/ч при напоре 18,5 м, потребляя мощность 7,5 Мвт, максимальный кпд равен 88-92%. В США для насосной станции Гранд-Кули создан вертикальный одноступенчатый центробежный насос с подачей 138 000 м3/ч и напором 95 м при мощности 48 Мвт.

. Историческая справка

Изобретение насоса относится к глубокой древности. Первый насос для тушения пожаров, который изобрёл древнегреческий механик Ктесибий, был описан в 1 в. до н. э. древнегреческим учёным Героном из Александрии в сочинении "Pneumatica", а затем М. Витрувием в труде "De Architectura". Простейшие деревянные насосы с проходным поршнем для подъёма воды из колодцев, вероятно, применялись ещё раньше. В дальнейшем в связи с ростом потребностей в воде и необходимостью увеличения высоты её подачи, особенно после появления паровой машины, насос постепенно стали вытеснять водоподъёмные машины. Требования к насосам и условия их применения становились всё более разнообразными, поэтому наряду с поршневыми насосами стали создавать вращательные насосы, а также различные устройства для напорной подачи жидкостей. Таким образом, исторически наметились три направления их дальнейшего развития: создание поршневых насосов, вращательных насосов и гидравлических устройств без движущихся рабочих органов.

Первый вихревой насос, названный центробежным самовсасывающим, был предложен в 1920 в Германии инженером С. Хиншем, затем появились и др. разновидности.

Идея использования центробежной силы для подачи жидкостей возникла в 15 в. ещё у Леонардо да Винчи и, по-видимому, независимо от него была реализована в начале 17 в. французским инженером Бланкано, построившим простейший центробежный насос для подачи воды, рабочим органом которого служило открытое вращающееся колесо. Один из первых центробежных насос со спиральным корпусом и четырёхлопастным рабочим колесом был предложен французским учёным Д. Папеном, который усовершенствовал конструкцию ранее известной воздуходувки "Hessians". В конце 19 в., когда появились быстроходные тепловые, а затем электрические двигатели, центробежные насосы получили более широкое применение. В 1838 русский инженер А. А. Саблуков на основе созданного им ранее вентилятора построил одноступенчатый центробежный насос, в 1846 американский инженер Джонсон предложил многоступенчатый горизонтальный насос, в 1851 аналогичный насос был создан в Великобритании по патенту Гуинна (насос Гуинна), в 1899 русский инженер В. А. Пушечников разработал вертикальный многоступенчатый насос для буровых скважин глубиной до 250 м. Этот насос, построенный в Париже на заводе Фарко (насос Фарко), предназначался для водоснабжения Москвы, имел подачу 200 м3/ч, кпд до 70%. В России первые центробежные насосы начали изготовлять в 1880 на заводе Г. Листа в Москве. Большую роль в создании теории и совершенствовании конструкции центробежных и осевых насосов сыграли труды Л. Эйлера, О. Рейнольдса, насос Е. Жуковского, С. А. Чаплыгина, К. Пфлайдерера и др. учёных.


В теплоэнергетике для обеспечения энергетического цикла используют более 20 различных видов насосов. Насосное оборудование теплоэлектростанций среди вспомогательного оборудования занимает первое место.

Если в качестве основного признака принять назначение насоса, то насосы можно разделить на две группы:

·        тесно связанные с работой основного эксплуатационного оборудования ТЭС;

·        разного назначения, предназначенные для технических целей.

К первой группе насосов относятся те, которые заняты на следующих основных циклах работы: циркуляции воды (циркуляционные и рециркуляционные насосы), приготовления питательной воды (конденсатные насосы), теплопередачи (сетевые и бойлерные насосы), регулирования (нагнетательные насосы для питания серводвигателей регуляторов паровых турбин). Ко второй группе насосов относятся дренажные, пожарные, хозяйственные и др. К наиболее ответственным насосам, непосредственно влияющим на надежность и экономичность работы электростанции, относятся питательные, конденсатные, циркуляционные, сетевые и багерные. Конденсатные насосы всех типов имеют принципиальное конструктивное исполнение. Это центробежные двухкорпусные вертикальные насосы спирального типа.

Для охлаждения оборудования и других технических целей используются циркуляционные насосы, подающие воду из резервуаров. Довольно часто при проектировании автоматизированных линий систем водяного отопления используют электрические насосы типа ЦВЦ, устанавливаемые прямо на трубопроводе. Центробежные водяные циркуляционные насосы являются малошумными и предназначены для обеспечения водяного отопления. Насосы представляют собой малогабаритную моноблочную конструкцию со встроенным асинхронным короткозамкнутым электродвигателем. Рабочее колесо бессальникового насоса устанавливается консольно на валу электродвигателя. Ротор двигателя с радиально-упорными подшипниками скольжения вращается непосредственно в перекачиваемой воде, которая одновременно служит смазкой для них и охлаждающей средой.

Насосы устанавливаются непосредственно на трубопроводе, что существенно упрощает их монтаж и эксплуатацию и позволяет обходиться без специального фундамента. В зависимости от типоразмера насосы соединяются с трубопроводом с помощью ниппельных или фланцевых соединений. Насосы ЦВЦ используются для подачи в теплосеть воды с температурой до 100°С.

Сетевые насосы предназначены для питания теплофикационных сетей. Они устанавливаются либо непосредственно на электростанции, либо на промежуточных перекачивающих насосных станциях. В зависимости от теплового режима сети насосы должны надежно работать при значительных колебаниях температуры перекачиваемой воды в широком диапазоне подач. Как правило, насос и электродвигатель устанавливаются на отдельных фундаментах.

Бустерные насосы предназначены для подачи воды из деаэратора к питательным насосам турбоагрегата с давлением, необходимым для предотвращения кавитации в питательных насосах.

Подбор насосов осуществляется с помощью каталогов, в которых обычно приведены сведения о назначении и области применения насосов, краткое описание конструкции, технические и графические характеристики, чертежи общих видов насосов и насосных агрегатов с указанием габаритов и присоединительных размеров.

. Современное насосное оборудование

С каждым годом производители насосного оборудования представляют на наше обозрение все более новые разнообразные модели насосов, отличающиеся друг от друга качеством, техническими и эксплуатационными свойствами, а также своей стоимостью.

Современные модели насосного оборудования отличаются чрезвычайной эффективностью, высоким качеством, прочностью, надежностью, а значит, и долговечностью. Свое широкое применение современные насосы нашли в самых различных сферах и отраслях. Однако чаще всего их можно встретить в промышленности.

Песковые центробежные насосы

Среди последних разработок и нововведений особенной популярностью пользуются так называемые песковые центробежные насосы. Они отличаются повышенным качеством и эффективностью своей работы.

На сегодняшний день современными производителями было представлено два основных вида песковых центробежных насоса - вертикальные и горизонтальные насосы. Характерной особенностью вертикальных песковых центробежных насосов является то, что они имеют боковой вход.

Главной задачей песковых центробежных насосов является перекачивание гидросмесей. Таким образом, ими осуществляется транспортировка воды, в состав которой могут входить песок, дробленые руды, всевозможные твердые вкрапления, а также прочие вещества, характеризующиеся промышленным происхождением.

. Насосы и насосное оборудование от ведущих мировых производителей

В настоящее время на состояние российского рынка насосного оборудования традиционно оказывает существенное влияние активность зарубежных компаний. Наиболее активную коммерческую деятельность ведут следующие зарубежные компании: Calpeda, Wilo, ESPA, Vipom, Grundfos, Nocchi, DAB, Pedrollo, Hydrovacuum. Широкий сегмент на насосном рынке представлен компаниями из Германии, европейскими фирмами из Турции, Италии, Польши, а также такими известными брендами как Siemens, Samsung Techwin, Finder Pompe, Оddesse Pumpen-und Motorenfabrik GmbH, Kaeser Kompressoren, J. Helmke & Co., Compressor Valve Engineering и другими. Очень активно ведут себя на рынке производители из Кореи, Тайваня и Китая. Российские предприятия насосостроения умело конкурируют с поставщиками насосов из стран дальнего и ближнего зарубежья, особенно в области несложных видов насосов. Однако в последние годы на рынке заметно увеличилась доля сложных и дорогих насосов.

На сегодняшний день фирма Speroni S.R.L. является одним из крупнейших производителей насосного оборудования. Компания имеет две известные зарегистрированные торговые марки насосного оборудования Marina и Speroni. В программе производства широкий модельный ряд бытового насосного оборудования: станции водоснабжения, погружные и дренажные насосы, фонтанные насосы; а также оборудования для систем отопления, систем охлаждения и кондиционирования воздуха, промышленных циркуляционных установок.

Корпорация Sundyne (США) более 30 лет является ведущим производителем в области высокотехнологичного оборудования - центробежных насосов и компрессоров. Насосы Sundyne широко применяются для перекачивания различного вида топлива, в химической, нефтеперерабатывающей промышленностях, энергетике.

Насосы для морской и пресной воды Iron Pump (Дания)

Компания Iron Pump была основана в 1906 году тремя датскими инженерами. За более чем вековой опыт работы Iron Pump стала одним из ведущих производителей центробежных и поршневых насосов для морской промышленности в Европе.

Похожие работы на - Центробежные насосы

 

Не нашли материал для своей работы?
Поможем написать уникальную работу
Без плагиата!
Без нейросетей!