Центробежные насосы

  • Вид работы:
    Реферат
  • Предмет:
    Технология машиностроения
  • Язык:
    Русский
    ,
    Формат файла:
    MS Word
    1,60 Mb
  • Опубликовано:
    2010-08-17
Вы можете узнать стоимость помощи в написании студенческой работы.
Помощь в написании работы, которую точно примут!

Центробежные насосы

Центробежные насосы

В результате воздействия рабочего колеса жидкость выходит из него с более высоким давлением и большей скоростью, чем при входе. Выходная скорость преобразуется в корпус насоса в давление перед выходом жидкости из насоса. Преобразование скоростного напора в пьезометрический частично осуществляется в спиральном отводе 1 (см. рисунок 1) или направляющем аппарате 3. Несмотря на то что жидкость поступает из колеса 2 в канал спирального отвода с постепенно возрастающими сечениями, преобразование скоростного напора в пьезометрический осуществляется главным образом в коническом напорном патрубке 4. Если жидкость из колеса попадает в каналы направляющего аппарата 3, то большая часть указанного преобразования происходит в этих каналах.

рис. 1. Схема насоса со спиральным отводом

a — без направляющего аппарата; б —с направляющим аппаратом

Направляющий аппарат был введен в конструкцию насосов на основании опыта работы гидравлических турбин, где наличие направляющего аппарата является обязательным. Насосы ранних конструкций с направляющим аппаратом назывались турбонасосами.

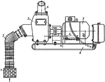
Наиболее распространенным типом центробежных насосов являются одноступенчатые насосы с горизонтальным расположением вала и рабочим колесом одностороннего входа. На рисунке 2 показана насосная установка, состоящая из центробежного насоса 3 типа НЦС, электродвигателя 5, служащего приводом для насоса и смонтированного вместе с ним на раме 6.

ис. 2. Схема центробежного самовсасывающего насоса НЦС-1

Этот насос применяется в основном для откачивания чистой воды при разработке котлованов под фундаменты и траншеи, также для других подобных работ в различных отраслях промышленности и строительства. Насос оборудован всасывающим рукавом 2, снабженным фильтром 1 и напорным патрубком 4. Привод насосов этого типа, помимо электродвигателя, может осуществляться бензиновыми двигателями внутреннего сгорания.

Характеристика насоса НСЦ-1 приведена на рисунке 3.

Рис. 3. Характеристика насоса НЦС-1

Одноступенчатые насосные установки могут быть оборудованы насосами консольного типа — типа К (см. рисунок 4) с приводом от электродвигателя через соединительную муфту, предназначенными для подачи чистой воды и других малоагрессивных жидкостей.

Насос типа К состоит из корпуса 2, крышки 1 корпуса, рабочего колеса 4, узла уплотнения вала и опорной стойки. Крышка корпуса отлита за одно целое со всасывающим патрубком насоса. Рабочее колесо закрытого типа закреплено на валу 9 насоса с помощью шпонки и гайки 5. У насосов мощностью до 10 кВт рабочие колеса неразгруженные, а у насосов мощностью 10 кВт и выше разгруженные от осевых усилий. Разгрузка осуществляется через разгрузочные отверстия в заднем диске рабочего колеса и уплотнительный поясок на рабочем колесе со стороны узла уплотнения. Благодаря разгрузке снижается давление перед узлом уплотнения вала насоса.

Рис. 4. Схема консольного насоса одностороннего всасывания типа К

Для увеличения ресурса работы насоса корпус (только у насосов мощностью 10 кВт и выше) и сменные корпуса (у всех насосов) защищены сменными уплотняющими кольцами 3. Небольшой зазор (0,3— 0,5 мм) между уплотняющим кольцом и уплотнительным пояском рабочего колеса препятствует перетоку перекачиваемой насосом жидкости из области высокого давления в область низкого давления, благодаря чему обеспечивается высокий КПД насоса.

Для уплотнения вала насоса применяют мягкий набивной сальник. Для повышения ресурса работы насоса и предотвращения износа вала в зоне узла уплотнения на вал надета сменная защитная втулка 7. Набивка сальника 6 поджимается крышкой сальника 8. Опорная стойка представляет собой опорный кронштейн 10, в котором в шарикоподшипниках 11 установлен вал насоса. Шарикоподшипники закрыты крышками. Смазка шарикоподшипников консистентная.

Рабочие колеса одностороннего всасывания подвержены воздействию осевой силы, которая направлена в сторону входа жидкости в рабочее колесо. Осевая сила возникает из-за того, что расположенная против входного сечения колеса площадь A1 = π D12 / 4 передней стороны заднего диска находится под действием давления всасывания р1, а также по величине площадь задней стороны этого диска — под давлением нагнетания р2.

Осевая сила Т может быть вычислена из уравнения

T = π / 4 (D12 - Ds2)(p2 - p1).

где D1 — диаметр входа в рабочее колесо; Ds — диаметр вала.

В действительности осевая сила несколько меньше, чем вычисленная по этой формуле. Это объясняется тем, что, во-первых, разность давлений p2 p1 меньше, чем полный напор насоса, так как жидкость за колесом находится во вращении, и, во-вторых, в связи с изменением направления движения жидкости в рабочем колесе от осевого к радиальному возникает противоположно направленное осевое усилие. Однако разгружающая осевая сила существенно мала по сравнению с той, которая возникает под действием разности давления на задний диск рабочего колеса.

Если в одноступенчатых насосах одностороннего всасывания осевая сила может быть надежно воспринята упорным подшипником, то это будет самым экономичным решением. В противном случае необходимо принять меры для уменьшения осевой силы, действующей на упорный подшипник. Это уменьшение может быть достигнуто только при понижении КПД насоса.

Обычно применяют один из двух методов устранения или уменьшения осевой силы. По первому методу за рабочим колесом располагают камеру 4 (см. рисунок 5), отделенную от напорной полости уплотнительными кольцами с малым радиальным зазором. Камера сообщается с входной полостью 1 рабочего колеса 2 через отверстия 5, просверленные в заднем диске 3. В некоторых случаях разгрузочную камеру 4 с помощью канала 6 сообщают с входным патрубком. Устройство специального канала, соединяющего разгрузочную камеру с входным патрубком, является лучшим решением, чем сверление отверстий в диске колеса, так как струя жидкости, выходящая через эти отверстия, направлена против потока на входе в рабочее колесо и нарушает его.

Рис. 5. Схема возможной разгрузки рабочего колеса от осевого усилия

При втором методе уравновешивания осевой силы применяют ребра, расположенные с наружной стороны заднего диска. При вращении рабочего колеса вследствие наличия ребер снижается давление в полости между колесом и корпусом. На рисунке 6 изображены характерные кривые осевой силы для неуравновешенного колеса (кривая 1), для колеса с разгрузочной камерой у заднего диска и девятью отверстиями диаметром 10 мм в ступице (кривая 2) и ребрами на заднем диске (кривая 3).

Как видно из графиков, изображенных на рисунке, второй метод является более дешевым и эффективным по сравнению с первым; при этом увеличение мощности соответствует мощности, теряемой в обычных условиях из-за утечек.

Рис. 6. График изменения осевой силы

Однако самым эффективным способом разгрузки ротора одноступенчатого насоса от осевого усилия является применение насосов с колесами двустороннего всасывания — типа Д (см. рисунок 7), у которых благодаря симметрии не возникает осевого усилия. У этих насосов имеется раздваивающийся полуспиральный подвод 3. В рабочем колесе 1 эти потоки соединяются и выходят в общий спиральный отвод. Разъем корпуса насоса горизонтальный, благодаря чему обеспечивается возможность вскрытия, осмотра, ремонта, замены отдельных деталей и всего ротора без демонтажа трубопроводов (напорный и всасывающий патрубки подсоединены к нижней части корпуса). Вал насоса защищен от износа закрепленными на валу сменными втулками. Эти же втулки крепят рабочее колесо в осевом направлении. Сальники, уплотняющие подвод насоса, имеют кольца гидравлического затвора 2. Жидкость подводится к ним под давлением из отвода насоса по трубам. Радиальная нагрузка ротора воспринимается подшипниками скольжения. Для фиксации вала в осевом направлении и восприятия осевого усилия, которое может возникнуть при неодинаковом изготовлении или износе одного из уплотнения рабочего колеса, в левом подшипнике имеются радиально-упорные шарикоподшипники 4. Насосы двухстороннего всасывания имеют большую высоту всасывания, чем насосы одностороннего всасывания при тех же подаче и частоте вращения вала.

Рис. 7. Одноступенчатый насос двустороннего всасывания

Одноступенчатые насосы имеют ограниченный напор. Поэтому когда необходимый напор насоса не может быть создан достаточно экономично одним рабочим колесом, в конструкции многоступенчатого насоса применяют ряд последовательно расположенных колес. Схема многоступенчатого секционного центробежного насоса показана на рисунке 8. Каждая ступень такого насоса состоит из рабочего колеса 1 и направляющего аппарата 2, который направляет поток к следующему рабочему колесу. В таком насосе напор повышается пропорционально числу колес.

Рис. 8. Схема многоступенчатого секционного центробежного насоса

На рисунке 9 изображен разрез многоступенчатого питательного турбонасоса секционного типа. Поток жидкости из всасывающей секции 1, проходя через четыре промежуточные секции 2, попадает в напорную секцию 3. Осевое усилие воспринимается гидравлическим разгрузочным устройством.

Рис. 9. Питательный турбонасос

Задача уравновешивания осевых сил для многоступенчатых насосов является особенно важной из-за более высоких напоров этих насосов и суммирования осевых сил, действующих на отдельные ступени. Одним из способов уравновешивания осевых сил многоступенчатых насосов (см. рисунок 10) является применение самоустанавливающейся гидравлической пяты. Принцип работы этой пяты состоит в следующем. Все рабочие колеса расположены так, что поток при входе в них направлен в одну и ту же сторону. За колесом последней ступени находится разгрузочная камера, сообщаемая через патрубок с полостью всасывания, находящейся перед первым колесом. Осевая сила стремится переместить ротор, а следовательно, и гидравлическую пяту в сторону всасывающего патрубка. При этом осевой зазор между гидравлической пятой и торцом втулки уменьшится, вследствие чего уменьшится давление в разгрузочной камере. Тогда под действием полного давления пята начнет перемещаться в обратную сторону до тех пор, пока не наступит равновесие сил, действующих на гидравлическую пяту.

Рис. 10. Секционный насос с разгрузочной пятой

1 — всасывающая секция; 2 — стягивающий болт; 3 — промежуточные секции; 4 — напорная секция; 5 — соединительный патрубок; 6 — гидравлическая пята; 7 — втулка; 8 — сверление для подачи воды из первой ступени

В ряде случаев для разгрузки насосов от осевого усилия используются многоступенчатые насосы со встречным расположением колес. На рисунке 11 изображен двухступенчатый спиральный насос. Жидкость поступает из первой ступени во вторую по внутреннему каналу. Разъем корпуса продольный. Напорный и всасывающий трубопроводы присоединены к нижней части корпуса, что облегчает осмотр и ремонт насоса. Уплотняющие зазоры рабочих колес выполнены между сменными уплотняющими кольцами, защищающими корпус и рабочие колеса от износа. Фиксация ротора в осевом направлении осуществляется радиально-упорными шарикоподшипниками, расположенными в правом подшипнике. Расположенный со стороны всасывания сальник имеет кольцо гидравлического затвора, к которому жидкость подводится по трубке, идущей из отвода первой ступени. Сальник, расположенный справа, уплотняет подвод второй ступени. Жидкость подводится под напором, создаваемым отводом первой ступени.

Рис. 11. Двухступенчатый насос с встречным расположением рабочих колес

В теплоэнергетике для обеспечения энергетического цикла используют более 20 различных видов насосов. Насосное оборудование теплоэлектростанций среди вспомогательного оборудования занимает первое место.

Если в качестве основного признака принять назначение насоса, то насосы можно разделить на две группы:

тесно связанные с работой основного эксплуатационного оборудования ТЭС;

разного назначения, предназначенные для технических целей.

К первой группе насосов относятся те, которые заняты на следующих основных циклах работы: циркуляции воды (циркуляционные и рециркуляционные насосы), приготовления питательной воды (конденсатные насосы), теплопередачи (сетевые и бойлерные насосы), регулирования (нагнетательные насосы для питания серводвигателей регуляторов паровых турбин). Ко второй группе насосов относятся дренажные, пожарные, хозяйственные и др.

К наиболее ответственным насосам, непосредственно влияющим на надежность и экономичность работы электростанции, относятся питательные, конденсатные, циркуляционные, сетевые и багерные.

Конденсатные насосы (см. рисунок 12) всех типов имеют принципиальное конструктивное исполнение. Это центробежные двухкорпусные вертикальные насосы спирального типа.

Рис. 12. Конденсатный насос

1 — наружный корпус; 2 — внутренний корпус; 3 — ротор; 4 и 5 — подшипник соответственно верхний и нижний; 6 — упругопальцевая муфта

Для охлаждения оборудования и других технических целей используются циркуляционные насосы (см. рисунок 7), подающие воду из резервуаров.

Довольно часто при проектировании автоматизированных линий систем водяного отопления используют электрические насосы типа ЦВЦ (см. рисунок 13), устанавливаемые прямо на трубопроводе. Центробежные водяные циркуляционные насосы являются малошумными и предназначены для обеспечения водяного отопления. Насосы представляют собой малогабаритную моноблочную конструкцию со встроенным асинхронным короткозамкнутым электродвигателем. Рабочее колесо безсальникового насоса устанавливается консольно на валу электродвигателя. Ротор двигателя с радиально-упорными подшипниками скольжения вращается непосредственно в перекачиваемой воде, которая одновременно служит смазкой для них и охлаждающей средой.

Рис. 13. Схема электронасоса ЦВЦ

Насосы устанавливаются непосредственно на трубопроводе, что существенно упрощает их монтаж и эксплуатацию и позволяет обходиться без специального фундамента. В зависимости от типоразмера насосы соединяются с трубопроводом с помощью ниппельных или фланцевых соединений. Насосы ЦВЦ используются для подачи в теплосеть воды с температурой до 100°С.

Сводная характеристика электронасосов ЦВЦ приведена на рисунке 14.

Рис. 14. Напорная характеристика насосов ЦВЦ

1 - для ЦВЦ 2,5-2

2 - для ЦВЦ 4-2,8

3 - для ЦВЦ 6,3-3,5

4 - для ЦВЦ 10-4,7

6 - для ЦВЦ 25-9,2

Сетевые насосы предназначены для питания теплофикационных сетей. Они устанавливаются либо непосредственно на электростанции, либо на промежуточных перекачивающих насосных станциях. В зависимости от теплового режима сети насосы должны надежно работать при значительных колебаниях температуры перекачиваемой воды в широком диапазоне подач. Как правило, насос и электродвигатель устанавливаются на отдельных фундаментах.

Бустерные насосы предназначены для подачи воды из деаэратора к питательным насосам турбоагрегата с давлением, необходимым для предотвращения кавитации в питательных насосах. Подбор насосов осуществляется с помощью каталогов, в которых обычно приведены сведения о назначении и области применения насосов, краткое описание конструкции, технические и графические характеристики, чертежи общих видов насосов и насосных агрегатов с указанием габаритов и присоединительных размеров.

Проектным организациям рекомендуется пользоваться каталогом только при техническом проектировании. Вводится новый ГОСТ «Насосы центробежные консольные с осевым входом для воды». При рабочем проектировании за уточненными данными необходимо обращаться на заводы-изготовители.

При выборе насоса следует учитывать, что требуемые режимы работы (подача и напор) должны находиться в пределах рабочей области его характеристики.

Для иллюстрации рассмотрим метод подбора насосов типа К.. Типоразмер насоса выбирают по максимально необходимой подаче и сопротивлению системы, в которую устанавливают насос, при этой подаче. По подаче и напору на сводном графике полей Q—H (см. рисунок 15) предварительно выбирают насос требуемого типоразмера, а затем по графической характеристике уточняют правильность выбора.

Рис. 15. Сводный график полей H—Q для консольных насосов

По графической характеристике и таблице «Техническая характеристика» определяют необходимый диаметр рабочего колеса насоса, кривая напора которого должна проходить через точку заданных параметров по подаче и напору или быть несколько выше ее.

При выборе насоса очень важно обеспечить его бескавитационную работу. Для этого необходимо убедиться, что выбранный насос по своим навигационным качествам соответствует системе, в которую его устанавливают. Кавитационный запас системы

Δ h = (( p a - p t ) / γ ) - [ ± H 0 ] - Σ h b w

где:

p a — абсолютное давление, Па, на свободную поверхность жидкости в резервуаре, из которого ведется откачивание;

p t — давление, Па, насыщенных паров перекачиваемой жидкости при рабочей температуре;

γ —удельный вес перекачиваемой жидкости, Н/м3;

h b w — суммарные потери напора, м, во всасывающем трубопроводе при максимально необходимой подаче;

H 0 — геометрическая высота всасывания (геометрический подпор), м.

Величина H 0 равна расстоянию по вертикали от оси вала насоса до уровня жидкости в резервуаре, из которого ее откачивают. Она имеет знак «плюс» при расположении насоса выше уровня жидкости (высота всасывания) и знак «минус» при установке насоса ниже уровня жидкости (подпор).

Допускаемый кавитационный запас насоса Δ hд и мощность насоса определяют по графической характеристике насоса выбранного типоразмера при максимально необходимой подаче.

Насосы типа К в зависимости от диаметра рабочего колеса комплектуют различными по мощности электродвигателями. Мощность требуемого электродвигателя N3 определяют из равенства

Nэ = R N γ/1OOO,

где:

R — коэффициент запаса;

N—мощность насоса на номинальном режиме (в расчетной точке), кВт.

Коэффициент запаса рекомендуется принимать следующим:

R       . . . . . . . .     1,3             1,25           1,2            1,15

Nэ, кВт       . . . . . . . .    до 4           4—20                  20—40                <40

По назначению Nэ подбирают ближайший больший по мощности комплектующий электродвигатель.

Работа насосов

На тепловых электростанциях часто необходима совместная работа двух или нескольких насосов на одну общую сеть. При этом насосы могут включаться как параллельно, так и последовательно.

Параллельно два или несколько насосов включают на тепловых станциях в тех случаях, когда один насос не обеспечивает необходимой производительности. При параллельной работе двух или нескольких насосов на общую сеть, если имеются их характеристики, можно построить характеристику совместной работы насосов (рис. 77, а). Для этого на одном графике в одном масштабе строят характеристики 1 и 2 насосов. Затем проводят прямые, параллельные оси, по которой откладывают производительности, и суммируют отрезки, отсеченные на этих прямых характеристиками насосов. Сумма отрезков, отложенная на той же прямой, дает точку суммарной характеристики 3 нескольких насосов.

Если теперь на этот график наложить характеристику сети 4t то пересечение характеристик 4 и 3 даст рабочую точку совместной работы двух насосов и сети. Суммарный расход жидкости двух насосов Vi+2 будет меньше, чем сумма расходов этих насосов при работе их в отдельности на ту же сеть: V\ + V2. Чтобы суммарная производительность параллельно работающих насосов была близкой к сумме производительностей насосов, работающих отдельно, для совместной параллельной работы подбирают насосы, имеющие пологие характеристики. Желательно также, чтобы характеристика сети, на которую работают насосы, не была крутой.

Последовательно несколько насосов включают в тех случаях, когда один насос не может I развить необходимого напора. При строительстве новой электрической станции, когда на ней устанавливают турбоагрегаты и котлы одинаковых параметров, насосы включают последовательно редко. Если же электростанция подверглась модернизации и усовершенствованию, последовательное включение двух насосов встречается часто.

При последовательной работе насосов на одну сеть складывают отрезки, отсекаемые прямыми, параллельными оси, и характеристиками насосов (рис. 77, б). Увеличение напора 1+2 при последовательной работе двух насосов, включенных в общую сеть, так же, как и увеличение подачи при параллельной работе, зависит от характеристик насоса и сети. Наибольшее увеличение напора будет в том случае, когда характеристики насосов пологие, а кривая сети более крутая. Насосы при совместном режиме будут работать экономично в том случае, если найденные точки работы насосов находятся в зоне максимального к. п. д.

Рис. 77. Характеристика совместной работы двух насосов, включенных в общую сеть.

Основные понятия о движении жидкости

Живым сечением ω (м²) называют площадь поперечного сечения потока, перпендикулярную к направлению течения. Например, живое сечение трубы - круг (рис.3.1, б); живое сечение клапана - кольцо с изменяющимся внутренним диаметром (рис.3.1, б).

Рис. 3.1. Живые сечения: а - трубы, б - клапана

Смоченный периметр χ ("хи") - часть периметра живого сечения, ограниченное твердыми стенками (рис.3.2, выделен утолщенной линией).

Рис. 3.2. Смоченный периметр

Для круглой трубы


если угол в радианах, или


Расход потока Q - объем жидкости V, протекающей за единицу времени t через живое сечение ω.


Средняя скорость потока υ - скорость движения жидкости, определяющаяся отношением расхода жидкости Q к площади живого сечения ω


Поскольку скорость движения различных частиц жидкости отличается друг от друга, поэтому скорость движения и усредняется. В круглой трубе, например, скорость на оси трубы максимальна, тогда как у стенок трубы она равна нулю.

Гидравлический радиус потока R - отношение живого сечения к смоченному периметру


Течение жидкости может быть установившимся и неустановившимся. Установившимся движением называется такое движение жидкости, при котором в данной точке русла давление и скорость не изменяются во времени

υ = f(x, y, z)

P = φ f(x, y, z)

Движение, при котором скорость и давление изменяются не только от координат пространства, но и от времени, называется неустановившимся или нестационарным

υ = f1(x, y, z, t)

P = φ f1(x, y, z, t)

Линия тока (применяется при неустановившемся движении) это кривая, в каждой точке которой вектор скорости в данный момент времени направлены по касательной.

Трубка тока - трубчатая поверхность, образуемая линиями тока с бесконечно малым поперечным сечением. Часть потока, заключенная внутри трубки тока называется элементарной струйкой.

Рис. 3.3. Линия тока и струйка

Течение жидкости может быть напорным и безнапорным. Напорное течение наблюдается в закрытых руслах без свободной поверхности. Напорное течение наблюдается в трубопроводах с повышенным (пониженным давлением). Безнапорное - течение со свободной поверхностью, которое наблюдается в открытых руслах (реки, открытые каналы, лотки и т.п.). В данном курсе будет рассматриваться только напорное течение.

Рис. 3.4. Труба с переменным диаметром при постоянном расходе

Из закона сохранения вещества и постоянства расхода вытекает уравнение неразрывности течений. Представим трубу с переменным живым сечением (рис.3.4). Расход жидкости через трубу в любом ее сечении постоянен, т.е. Q1=Q2= const, откуда

ω1υ1 = ω2υ2

Таким образом, если течение в трубе является сплошным и неразрывным, то уравнение неразрывности примет вид:


Измерение скорости потока и расхода жидкости

Для измерения скорости в точках потока широко используется работающая на принципе уравнения Бернулли трубка Пито (рис.3.7), загнутый конец которой направлен навстречу потоку. Пусть требуется измерить скорость жидкости в какой-то точке потока. Поместив конец трубки в указанную точку и составив уравнение Бернулли для сечения 1-1 и сечения, проходящего на уровне жидкости в трубке Пито получим


где Н - столб жидкости в трубке Пито.

Рис. 3.7. Трубка Пито и pасходомер Вентури

Для измерения расхода жидкости в трубопроводах часто используют расходомер Вентури, действие которого основано так же на принципе уравнения Бернулли. Расходомер Вентури состоит из двух конических насадков с цилиндрической вставкой между ними (рис.3.7). Если в сечениях I-I и II-II поставить пьезометры, то разность уровней в них будет зависеть от расхода жидкости, протекающей по трубе.

Пренебрегая потерями напора и считая z1 = z2 , напишем уравнение Бернулли для сечений I-I и II-II:


Или


Используя уравнение неразрывности

Q = υ1ω1 = υ2ω2

сделаем замену в получено выражении:


Решая относительно Q, получим


Выражение, стоящее перед , является постоянной величиной, носящей название постоянной водомера Вентури.

Из полученного уравнения видно, что h зависит от расхода Q. Часто эту зависимость строят в виде тарировочной кривой h от Q, которая имеет параболический характер.

Похожие работы на - Центробежные насосы

 

Не нашли материал для своей работы?
Поможем написать уникальную работу
Без плагиата!
Без нейросетей!