Повышение нефтеотдачи на разрабатываемых месторождениях

  • Вид работы:
    Дипломная (ВКР)
  • Предмет:
    Геология
  • Язык:
    Русский
    ,
    Формат файла:
    MS Word
    626,99 kb
  • Опубликовано:
    2011-10-21
Вы можете узнать стоимость помощи в написании студенческой работы.
Помощь в написании работы, которую точно примут!

Повышение нефтеотдачи на разрабатываемых месторождениях

ВВЕДЕНИЕ


В условиях мирового энергетического кризиса происходит усиленное развитие работ по интенсификации скважин. Нефтегазодобывающая промышленность занимает особое место в экономике Российской Федерации благодаря важной роли, которая принадлежит углеводородам в обеспечении сырьевой базы химической промышленности и как источника энергии.

Для реализации плана добычи нефти и газа скважины должны эксплуатироваться с потенциальными дебитами. В большинстве случаев с этой целью необходимо проводить интенсификацию скважин для очищения призабойной зоны скважин (в дальнейшем ПЗП) после бурения и цементирования, освоения и ремонта или после продолжительной эксплуатации. Выравнивания профилей притока и приемистости продуктивных отложений можно достигнуть только путем осуществления совокупности физико-химических операций, комплексно воздействующих на ПЗП. В настоящее время в России способ разработки нефтяных месторождений с поддержанием пластового давления с помощью закачки воды является основным.

Выполнение проектных показателей нефтяных месторождений при заводнении в значительной степени зависит от эффективной работы нагнетательных скважин при стабильной приемистости. Однако в процессе закачки пресных подрусловых вод, вод открытых водоемов, сточных вод нефтепромыслов, используемых в системе заводнения, происходит заиливание поверхности фильтрации вносимыми с водами взвешенными веществами, нефтепродуктами и др. В результате происходит снижение, иногда и полная потеря приемистости. Кроме того, на высокую и устойчивую приемистость оказывается влияние и подготовка нагнетательных скважин, вводимых под закачку из бурения или переводимых из эксплуатационного фонда. Подготовка ПЗП заключается в отчистке ее от глинистого раствора, АСПО, отлагавшихся в процессе эксплуатации скважин, причем современные широко применяемые методы воздействия на ПЗП с целью улучшения сообщаемости удаленной зоны со стволом скважины не всегда обеспечивают необходимые темпы закачки.

При разработке нефтяных месторождений с поддержанием пластового давления закачкой воды, особенно на заключительных стадиях разработки встречается проблема низкого охвата продуктивного пласта закачиваемой водой. Здесь проблема во многом зависит от особенностей геологического строения залежей, неоднородности, коллекторских свойств пород, а именно, анизотропии проницаемости пород коллекторов. По этой причине основной объем закачиваемой воды фильтруется по высокопроницаемым промытым каналам, оставляя невыработанными менее проницаемые объемы продуктивного пласта.

Поэтому вопрос предупреждения потери приемистости и выявление основных причин ее ухудшения, на фоне которых необходимо разработать эффективные методы регулирования фильтрационно-емкостных характеристик в ПЗП, позволяющие качественно и количественно восстановить ее и увеличить охват пластов заводнением, в настоящее время остается актуальным в связи с постоянно меняющимися во времени пластовыми условиями, экономическими затратами и ужесточением экологических требований.

1. ТЕОРЕТИЧЕСКАЯ ЧАСТЬ

.1 Общие сведения о месторождении

В административном плане Ключевское месторождение входит в состав Даниловского района Волгоградской области и расположено в 150 км к северо-западу от города Волгограда и в 55 км северо-восточнее города Фролово. В 35 км на юго-запад от Ключевского месторождения располагается Кудиновское нефтегазовое месторождение. Нефть из Ключевского месторождения подается на центральную площадку промысловых сооружений Кудиновского месторождения. В 17 км от Ключевского месторождения действует газопровод Коробки-Лог.

Территория месторождения представляет собой слабовсхолмленную равнину, изрезанную редкой сеткой оврагов и балок. Абсолютные отметки рельефа находятся в пределах 150-200 м над уровнем моря. В районе месторождения рек нет, имеются два пруда Нижне- и Верхнеключевские. Ближайшими водными артериями является реки Волга и Дон и притоки Дона: Медведица и Иловля.

Климат района континентальный с незначительным количеством атмосферных осадков (300 - 400 мм в год). Минимальная температура зимой - 35 0С, максимальная температура летом - +45 0С. для района характерно преобладание ветров, зимой северо-восточного, летом северо-западного направления.

Растительный мир представлен степными травами, лесов нет.

В экономике района преобладает сельское хозяйство. Ближайший населенный пункт в районе месторождения село Прудки. Редкие населенные пункты между собой связаны полевыми дорогами. Вблизи от месторождения находится грейдерная дорога Фролово-Котово.

Ключевское месторождение получает электроэнергию от ЛЭП Волгоград - Москва, поступающую от Волгоградской ГЭС.

Местных строительных материалов вблизи месторождения нет. Ближайшие карьеры камня (известняка) и глины находятся в г. Фролово (35 км).

Бурение параметрических, поисково-разведочных скважин на Ключевской площади осуществлена вначале Березовской конторой разведочного бурения треста "Жирновскнефтегазразведка", а затем Коробковским УБР объединения "Нижневолжскнефть".

Месторождение находится в районе деятельности Арчединского НГДУ, аппарат управления и база производственного обслуживания которого находится в городе Фролово.

В геологическом строении района принимают участие отложения четвертично-неогеновые, мезозойской, пермской, каменноугольной и девонской систем. Породы кристаллического фундамента на Ключевской площади не вскрыты.

Рельеф местности слабо всхолмленная равнина с широко развитой системой оврагов и балок. Абсолютные отметки рельефа находятся в пределах 150 - 200 м над уровнем моря.

Большинство скважин остановлены бурением в черноярских или мосоловских отложениях среднего девона.

Расчленение разреза выполнено на основании большого количества фауны по соседним площадям Волгоградского Поволжья, и дается в соответствии с унифицированной схемой принятой в 1974 г.

Кайнозойская эратема.

Кайнозойская эратема рассматривается в объеме четвертичной и неогеновой системы.

Четвертичная и неогеновая системы представлены песчано-глинисты-ми отложениями и залегают с размывом на породах нижнего мела. Представлены аллювиальными отложениями (пески, глины, суглинки), толщина достигает 112 м.

Мезозойская эратема.

Рассматривается в объеме меловой и юрской системы.

Меловая система (нижний отдел) представлена песками с прослоями алевритистых глин. Толщина меловых отложений меняется от 54 до 253 м.

Юрская система представлена песчано-глинистыми отложениями. Толщина юрских отложений меняется от 171 до 233 м.

Палеозойская эратема.

Рассматривается в объеме пермской, каменноугольной, девонской системы.

Пермская система. Верхняя ее часть сложена глинами пестроцветными с прослоями алевролитов (татарский ярус), ниже залегает толща ангидритов, мергелей (уфимский ярус).

Нижняя часть пермской системы (ассельский ярус) представлена доломитами и известняками. Толщина отложений от 41 до 115 м.

Каменноугольная система. Верхний отдел (гжельский ярус). Отложения представлены известняками и доломитами. В толще карбонатных пород встречаются прослои глин. Толщина 93 - 135 м.

Касимовский ярус представлен известняками, прослоями глин толщиной 176 - 197 м.

Средний отдел. Московский ярус. Верхний подъярус. Мячковский горизонт. Карбонатная толща сложена известняками детритовыми с прослоями доломитов, мергелей, глин. Толщина 134 - 147 м.

Подольский горизонт представлен известняками и доломитами. Известняки органогенные. Среди карбонатов залегает пачка глин, неравномерно алевритистых. Толщина 160 - 172 м.

Нижний подъярус. Каширский горизонт. В разрезе каширских отложений прослеживаются известняки, песчаники, глины и мергели с алевролитами. Толщина изменяется от 131 до 149 м.

Верейский горизонт представлен глинами с прослоями алевролитов, песчаников. Толщина от 131 до 147 м.

Башкирский ярус. Верхний подъярус. Мелекесский горизонт. Мелекесские отложения с перерывом ложатся на известняки прикамского горизонта. Отложения мелекесского горизонта сложены преимущественно глинами. Толщина 92 - 102 м.

Нижний подъярус. Прикамский горизонт представлен известняками. Толщина 15 - 24 м.

Северо-кельтменский горизонт сложен известняками органогенными. В верхних и нижних частях прослои глин. Горизонт несогласно залегает на породах протвинского горизонта.

Нижний отдел. Серпуховской ярус. Серпуховские отложения в составе протвинского, стешевского и тарусского горизонтов развиты в пределах месторождения и представлены известняками с прослоями глин, мергелей, доломитов. Толщина отложений 66 - 86 м.

Визейский ярус. Окский надгоризонт. Веневский горизонт сложен толщей известняков органогенных с прослоями глин и мергелей. Толщина отложений 178 - 200 м.

Яснополянский надгоризонт. Тульский горизонт представлен глинами с прослоями песчаников и известняков. Толщина отложений 46 - 60 м.

Бобриковский горизонт. Сложен аргиллитами с прослоями песчаников. Толщина 21 - 45 м.

Маликовский надгоризонт. Представлен глинами с прослоями алевролитов. Толщина отложений 13 - 23 м.

Турнейский ярус. Чернышенский надгоризонт. Кизеловский горизонт. Сложен известняками органогенными. Толщина 28 - 32 м.

Черепетский горизонт. Представлен известняками органогенно-обломочными. Толщина 22 - 29 м.

Девонская система.

Верхний отдел. Фаменский ярус. Верхнефаменский подъярус. Данковский горизонт. Сенновские слои. Сложены известняками с пластами доломитов. Толщина 109 - 142 м.

Зимовские слои. Известняки, в кровле мергели. Толщина 70 - 88 м.

Лебедянский горизонт. Состоит из переслаивающихся известняков, мергелей, аргиллитов. Толщина 106 - 122 м.

Нижний подъярус. Елецкий горизонт. Известняки, мергели, аргиллиты с прослоями доломитов. Толщина 96 - 119 м.

Задонский горизонт. Сложен аргиллитами с прослоями известняков. Толщина 45 - 57 м.

Верхнедевонская система.

Франкский ярус. Верхнефранкский подъярус. Ливенский горизонт. Представлен известняками. Толщина 52 - 63 м.

Евлановский горизонт. Известняки с прослоями аргиллитов. Толщина 57 - 111 м.

Среднефранкский подъярус. Бурегский горизонт. Сложен доломитизированными известняками, мергелями, алевролитами. Толщина 85 - 170 м.

Семилукско-рудкинский горизонт. Ввиду недостаточного количества определений, резкой литологической изменчивостью пород, стратиграфическую границу между рудкинскими и семилукскими горизонтами не проводят. Эта толща литологически неоднородна. Рифовые органогенные известняки условно делят две пачки (сверху вниз).

Пачка А - верхняя. Сложена каверно-поровыми известняками нефтенасыщенными. Ниже располагаются органогенные известняки менее пористые, часто перекристаллизованные, которые относят к пачке Б. Венчает разрез пачка аргиллитов. По перефирии риф контактирует с песчано-глинисто-карбонатной толщей. Общая толщина 123 - 180 м.

Саргаевский горизонт. Известняки доломитизированные. Толщина 30 - 60 м.

Нижнефранкский подъярус. Кыновский горизонт. Аргиллиты. Толщина 120 - 115 м.

Пашийский горизонт. Представлен аргиллитами, алевролитами, песчаниками. Толщина 63 - 95 м.

Среднедевонская система.

Живетский ярус. Старооскольский горизонт. Мулинские слои. Аргиллиты с прослоями известняков. Толщина 52 - 85 м.

Ардатовские слои. Представлены аргиллитами. Выделяют два пласта известняков и один алевролитов. Верхний пласт известняков является маркирующим для Волгоградского Поволжья. Толщина 5 - 13 м.

Средний пласт алевролитов является нефтенасыщенным. Толщина 3,2 - 7,2 м. Третий пласт - известняки. Толщина 3,2 - 10,4 м. Общая толщина 80 - 103 м.

Воробьевские слои. Сложены алевролитами с песчаным пластом посередине. К ним приурочена залежь конденсата. Общая толщина пласта 112 - 116 м.

Эфельский ярус. Черноярский горизонт. Сложен аргиллитами. Толщина 23 - 36 м.

Мосоловский горизонт. Представлен известняками с прослоями битуминозных мергелей. Толщина 77 - 80 м.

Морсовский горизонт. Представлен мергелями, известняками, доломитами и аргиллитами. Вскрытая толщина 145 м.

В разрезе осадочного чехла Ключевского месторождения намечается два основных структурных этажа, отличающихся друг от друга по своему строению.

Нижний структурный этаж включает отложения эйфельского, живетского, значительную часть франкского яруса (до воронежского горизонта).

В живетских отложениях на Ключевской площади фиксируется антиклинальная складка северо-восточного простирания размером 5,5 х 2,5 км, с амплитудой 17 - 20 м. Юго-восточное крыло и южная переклиналь поднятия более крутые с падением пород под углом 30. На северо-западном крыле структуры породы наклонены незначительно. Далее через седловину наблюдается их подъем к западу (Западно-Ключевское поднятие). Северная переклиналь складки пологая.

По кыновскому горизонту произошло деление площади на два участка. Западная часть площади преобразовалась в структурный нос, а восточная через прогиб в положительную структуру малой амплитуды. На границе этих двух локальных элементов создались условия для формирования карбонатной органогенной постройки семилукско-рудкинского возраста.

Морфологически рифогенное тело выражено четко, крылья и переклинальные окончания его крутые. Размер рифа 1,6 х 1,3 км, амплитуда 56 м. Вверх по разрезу бурегские, воронежские отложения дислоцированы в антиклинальную складку. В плане риф представляет округло-вытянутую с севера на юг форму с двумя куполами. К верхней части биогерма приурочен (до недавнего времени) основной объект разработки на Ключевской площади. Верхний этаж включает интервал от нижнефранкских до конца каменноугольных.

По кровле ливенских отложений отмечается два небольших приподнятых участка с амплитудой 10 и 20 м и размерами по замкнутой изогипсе - 2420 м, 1 х 0,7 км каждое.

По кровле бобриковских отложений амплитуда поднятий сократилась до 10 м, размеры по изогипсе - 1750 м составили 0,75 х 0,5 и 0,75 х 0,75 км.

Структурная поверхность территории месторождения по кровле верейских отложений представляется в виде моноклинали с падением слоев на юго-восток, 65 м на 1 км в западной части площади и 15 м на 1 км на востоке.

По результатам испытания параметрических, поисковых, разведочных, эксплуатационных скважин изучена нефтегазоносность вскрытого разреза от бобриковских до мосоловских отложений.

Каменноугольные отложения опробованы в процессе бурения на каротажном кабеле (верейский, мелекесский горизонты) - притоков не получено. В обсаженных скважинах 14 и 363 был опробован бобриковский горизонт, откуда получен незначительный приток нефти с водой. Остальные отложения каменноугольной системы по заключению ГИС не представляют интереса.

Девонские породы опробованы в 11 стратиграфических подразделениях: из них в двух (семилукско-рудкинских и ардатовских) получены промышленные притоки нефти; в одном - воробьевском приток газа и конденсата; в трех (ливенских, воронежских и пашийских) отмечены нефтегазопроявления. В трех (саргаевских, мулинских и мосоловских пластах) коллекторов не установлено, при испытании притока не получено.

Старооскольский горизонт.

Залежь небольшого размера, не числящаяся на балансе объединения. Накопленная добыча нефти по залежи 32 тыс. т.

Воробьевский горизонт.

В воробьевском горизонте имеется залежь газа. Размеры залежи 1,5 х 4 км. Запасы выработаны, на балансе не числится.

По сотоянию на 1.01.99 г на балансе РГФ числятся запасы нефти семилукско-рудкинского горизонта (карбонатный и терригенный коллекторы). В пробной эксплуатации находится залежь нефти воронежского горизонта.

Семилукско-рудкинский горизонт.

Нефтегазоносность залежи впервые была установлена в 1968 г при испытании скважины 304. ВНК был установлен по данным опробывания 4-х скважин и принят на отметке - 2723 м.

Продуктивность семилукско-рудкинских отложений приурочена к верхней части рифа, сложенной каверно-трещиновато-поровыми известняками. Средняя пористость принята 12 %, проницаемость 0,087 мкм2. Залежь разрабатывается на упруго-водонапорном режиме с системой ППД.

Геометрия залежи ограничена поверхностью биогерма и границей ВНК. В пределах контура выделяются 2 куполка, к ним приурочены самые большие эффективные нефтенасыщенные толщины (71,3 - 69,4 м), средневзвешенная толщина по площади составила 30,6 м. Размеры залежи в пределах ВНК 2,2 х 1,8 км, этаж нефтеносности 71 м. Покрышками служат алатырско-воронежская мергельно-известковая пачка пород. Из основных показателей разработки залежи семилукско-рудкинского горизонта Ключевского месторождения имеем накопленную добычу с начала разработки (по состоянию на 1.01.99 г) 1720330 т, газа 285880 тыс м3, воды 5840 тыс т при начальных балансовых запасах 4890 тыс т. Отнеся начальные балансовые запасы к накопленной добыче получим текущий коэффициент нефтеизвлечения по залежи 0,32. Текущая обводненность 65,8 %. Ввиду естественного обводнения скважин, работающих с семилукско-рудкинским горизонтом, намечается постепенный их перевод на вышележащий воронежский горизонт.

Воронежский горизонт.

На месторождении пробурено 44 скважины, 27 из которых вскрыли залежь воронежского горизонта, а семь скважин оказались за пределами ее контура нефтеносности.

В ноябре 1994 г после полного обводнения скважины 372 на залежи семилукско-рудкинского горизонта произвели перфорацию эксплуатационной колонны и опробывание нефтяной залежи воронежского горизонта, где был получен фонтанный приток нефти из интервала 2711,1 - 2716,1 м, что позволило запасы нефти этой залежи отнести к категории С1 и начать пробную эксплуатацию этой залежи.

В 1998 г продолжается перевод скважин после полного обводнения с семилукско-рудкинского на воронежский горизонт (скв. 360, 356, 363). Всего переведено 4 скважины.

Отложения воронежского горизонта пройдены большим количеством скважин, среднее расстояние между которыми 250 м, что позволило с большой долей достоверности проследить распространение коллекторов по площади и установить границы залежи.

Границы залежи контролируются антиклинальной складкой, возникшей как структура обтекания над органогенной постройкой семилукско-рудкинского возраста. Антиклинальная складка ориентирована с северо-запада на юго-восток и осложнена двумя куполами, разделенными неглубокой седловиной.

Залежь воронежского горизонта неполнопластовая сводовая повсеместно подстилается подошвенными водами. Размеры залежи на уровне водонефтяного контакта 2,0 х 1,0 км. этаж нефтеносности 31,8 м. Нефтенасыщенная толщина в своде залежи 29,4 м (скв 363). Коллектор карбонатный каверно-порового типа.

Положение ВНК устанавливалось по ГИС и результатам испытания. По ГИС среднее значение абсолютной отметки ВНК - 2534,7 м. По данным ИПТ верхним границам водонасыщеннх интервалов соответствуют абсолютные отметки: - 2538,7 в скв. 368, - 2540,3 в скв 352 и - 2542,7 в скв 14. В подсчет запасов принята абсолютная отметка - 2538,1 м, соответствующая нижним дырам интервала перфорации 2703,0 - 2708,0 (-2533,1 -2538,1 м) в скв 356, где получена безводная нефть. Площадь в пределах контура нефтеносности 189 тыс м2. Средневзвешенная по площади нефтенасыщенная толщина 10 м.

Пластовое давление определено в процессе испытания четырех скважин и равно 28,56 МПа. Режим залежи упруговодонапорный. Пористость по залежи изменяется в пределах 7 - 9 % до 17 - 18 %. Средневзвешенная величина пористости в целом по залежи, принятая в подсчет, составила 13 %, нефтенасыщенности 91 %. Средняя проницаемость 0,129 мкм2.

В настоящее время, в связи с тем, что степень изученности залежи воронежского горизонта позволяет отнести запасы к категории С1 впервые произведен подсчет запасов с представлением их на 01.01.99 в ЦКЗ Министерства природных ресурсов России. Начальные балансовые запасы нефти по категории С1 при принятых подсчетных параметрах составили 1262 тыс т. Начальные извлекаемые запасы определены в 252 тыс т при коэффициенте нефтеизвлечения 0,2. Глубинная проба нефти не отбиралась. Все физико-химические свойства приняты по аналогии с нефтью воронежского горизонта Фроловского месторождения. Плотность нефти и объемный коэффициент по аналогии равны 814 кг/м3 и 1,44 соответственно. Давление насыщения 12,07 МПа. Плотность нефти в пластовых условиях 688 кг/м3. Вязкость нефти в пластовых условиях 0,53 мПа*с, в стандартных 4,1 мПа*с. температура застывания ниже минус 10 0С. пластовая температура 77 0С. Газовый фактор для подсчета запасов принят 168 м3/т. нефть малосмолистая, малосернистая малопарафинистая.

1.2 Состояние добычи нефти в Российской Федерации

По-прежнему остается открытым практический вопрос: сколько же Россия может добывать нефти? Также открыт и риторический: кто рискнет спрогнозировать эту добычу в среднесрочной и долгосрочной перспективе?

Уже два года, как Счетная палата РФ публикует ранее тайную цифру разведанных запасов нефти в России - 25,2 млрд тонн. Другое дело, что эта цифра почти ни о чем не говорит. Во-первых, об этом мало кто знает. Во-вторых, эта цифра относится к разведанным запасам, т.е. к советской геологической категории А+В+С1. Иначе говоря, согласно западной классификации ресурсов, это вовсе не доказанные запасы, а, значит, эта наконец-то открытая цифра относительно завышена - еще не известно, подтвердятся ли эти запасы на практике и стоит ли их рассматривать как готовые к добыче. Поэтому аналитики продолжают давать свои - сильно различающиеся - оценки доказанных запасов нефти в России - от 50 до 150 млрд барр. (от 6,8 до 20,5 млрд тонн).

До того, как оказаться в "Матросской тишине", Михаил Ходорковский старался убедить мировую общественность в том, что запасы нефти и газа в России сильно недооценены. Консервативные оценки этого показателя, принятые за рубежом, находятся в пределах 46,5-50,0 млрд барр. (6,3-6,8 млрд т). Однако, по мнению экс-главы ЮКОСа, такие скромные цифры объяснялись исключительно тем, что устаревшие правовые акты и бюрократические проволочки не позволяли провести переоценку нефтяных запасов, появившихся в последние восемь лет. Если же такая переоценка будет произведена, то доказанные нефтяные запасы взлетят до 150 млрд барр. (20,5 млрд т).

С такими ресурсами и добычу можно наращивать до уровней, которые еще недавно казались специалистам заоблачными. Например, авторы отчета Всемирного банка "Исследование транспорта и экспорта нефти в России" в 1997 году предсказали, что при самом оптимистическом варианте развития событий добыча нефти в России в 2005 году выйдет на уровень 6,7 млн барр./сутки (335 млн т в год), а в 2010 году - на уровень 7,0 млн барр./сутки (350 млн т в год). Но уже в прошлом (2004) году в России фактически добыли 9,23 млн барр./сутки (почти 459 млн т нефти и конденсата), а в конце минувшего года добыча превысила уровень 9,4 млн барр./сутки.

Что же касается прогнозов на более длительную перспективу, то по мнению того же М.Ходорковского, которое он высказал в начале февраля прошлого года на конференции в Хьюстоне, организованной американской Cambridge Energy ResearchAssociates, добыча нефти в России выйдет в ближайшие годы на уровень 9-10 млн барр./сутки (450-500 млн т в год) и удержится в этих пределах в течение 30 лет. Вырастет и производство газа - до 600-700 млрд м3 в год, причем газовых ресурсов в России хватит для поддержания такого уровня добычи на протяжении 50 лет.

Что думают западники?

До последнего времени многие западные эксперты придерживались гораздо более консервативных взглядов относительно российских нефтяных запасов. Так, компания BP, объявившая в 2003 году о сделке по созданию совместного предприятия с акционерами ТНК и в силу этого, вероятно, имеющая хорошее знание предмета, в своем статистическом отчете за 2003 год приводит цифру доказанных запасов нефти в России - 60,0 млрд барр. (8,2 млрд т), что эквивалентно 5,7% от общемировых запасов нефти, составляющих, по оценке компании, почти 1050 млрд барр. (143 млрд т). Несколько более низкую оценку, похожую на прежнюю оценку компании ВР, в начале 2003 года давал итальянский государственный концернENI - 48,573 млрд барр. (6,6 млрд т).

В близком диапазоне находятся оценки Всемирного энергетического совета и министерства энергетики США (USDepartment of Energy) - 46,5 млрд барр. и 48,6 млрд барр, соответственно на начало 2001 и 2002 годов. Не сообщало публично о пересмотре своей оценки российских запасов нефти и ЦРУ США (35 млрд барр. по состоянию на начало 1996 года).

Лишь в последние годы некоторые западные источники начали пересматривать свое отношение к российским запасам. Так, в конце 2002 года Всемирный банк обнародовал оценку российских запасов на уровне 87,6 млрд барр. Ян Уоллен, аналитик фирмыWood Mackenzie, заявил, что доказанные запасы России составляют 120 млрд барр., что позволяет стране довести добычу нефти до 9 млн барр./сутки и выше (или 450 млн т в год и выше) к 2010 году. Наконец, прописанное в Париже Международное энергетическое агентство в конце 2002 года выдало цифру доказанных запасов в России в 146 млрд барр.(20 млрд т).

Что же касается экспертов ОПЕК, то аналитики этой ассоциации плохо разбираются в нефтяной геологии России и склонны полагаться на чужие минимальные оценки ее запасов, которые не могут подорвать нынешнюю монополию ОПЕК, страны которой располагают, по последней оценке BP, свыше 880 млрд барр. доказанных запасов, или почти 77% общемировых запасов нефти.

Истина где-то рядом

Как видим, диапазон, в котором находятся современные оценки нефтяных запасов России, достаточно широк - от 46 до 150 млрд барр. Какие же цифры более достоверны? Оценки в районе 50 млрд барр. появились после того, как данные, соответствующие принятой в СССР системе классификации геологических ресурсов, стали предметом анализа со стороны зарубежных экспертов. После сравнения запасов по конкретным месторождениям на Западе пришли к выводу, что запасы по категориям A+B+C1примерно равны доказанным запасам по западной классификации, умноженным на коэффициент 0,7.

Оценки, более близкие к верхнему диапазону, стали результатом аудита нефтяных запасов, находящихся на балансе ведущих российских нефтегазовых компаний. Аудиторские проверки были проведены известными западными компаниями, такими как Millerand Lents или De Golier & MacNaughton, и дали более высокие цифры запасов, чем принятые ранее. Так, запасы пяти ведущих российских компаний (ЛУКОЙЛ, ЮКОС, ТНК, "Сургутнефтегаз" и "Сибнефть"), аудированные западными фирмами в 2000-2003 гг., достигают 46,3 млрд барр.

Вероятно, истина находится где-то посередине между двумя крайностями. Более умеренные взгляды, чем Ходорковский, высказывает Рэй Леонард, вице-президент ЮКОСа, отвечавший в компании за геологические исследования и новые проекты. Выступая в мае 2002 года на конференции в Упсале, Швеция, Леонард оценил российские запасы нефти в 12,2 - 14,3 млрд т. В октябре того же года, выступая в Центре глобальных энергетических исследований в Лондоне, он привел примерно такую же оценку доказанных нефтяных запасов - 90-105 млрд барр. Что заметно отличает его от оценки бывшего главы компании - 150 млрд барр.

Умеренный оптимизм

Независимые эксперты полагают, что данные М. Ходорковского завышены. "Нефтяные компании, такие как ЮКОС, рассчитывающие на повышение капитализации, заинтересованы в том, чтобы быть оптимистами и прогнозировать более высокие запасы на долгие годы", - говорит профессор Александр Арбатов, заместитель председателя Совета по изучению производительных сил при Минэкономразвития и РАН. И продолжил: "… более пессимистические оценки запасов высказывают представители научных геологических учреждений, что тоже понятно, так как они испытывают потребность в бюджетном финансировании".

Вполне объяснимыми считают расхождения в оценках и представители Центра нефтегазового бизнеса. Ведь западные оценки строятся на цифре, которая фигурировала в советские времена, они ее для большей вероятности поделили на два. Никаких собственных исследований на территории России они не проводили. Это в полной мере относится и к ВР. Большего доверия заслуживают оценки Международного энергетического агентства, так как среди специалистов этой организации были эксперты из "Петроконсалтентс", которые хорошо разбирались в нефтяной геологии России и ближе всех стояли к источникам информации еще в советское время.

Однако и оценки главы ЮКОСа в 150 млрд барр. нуждаются в коррекции. Компания ЮКОС исходит из коммерческих интересов, борясь за высокую капитализацию, и поэтому представляет информацию, основываясь на предполагаемых месторождениях. А от предполагаемого до реального - пропасть. В настоящее время лучший способ оценить запасы нефти - суммировать доказанные и скорректированные на доказанные разведанные запасы всех крупных и мелких компаний. На этой основе получается цифра в 110 млрд барр., и она представляется наиболее вероятной и надежной, считают представители Центра нефтегазового бизнеса.

Другие исследователи предлагают свое толкование вопроса. Так, ведущий аналитик ИК "Тройка Диалог" Валерий Нестеров полагает, что в России сосредоточены запасы в объеме более 73 млрд барр. (10 млрд т). По оценке ABC1, говорит он, показатель запасов удваивается, но от этой методики в последнее время отходят. В Институте энергетических исследований, участвовавшей в разработке Энергетической стратегии РФ, придерживаются более оптимистических взглядов. Так, Ольга Елисеева, заведующая лабораторией Института, утверждает, что объем запасов нефти в России превышает 100 млрд барр.

Фактор риска

В обилии приведенных оценок более всего поражает не только разброс данных в огромном диапазоне, но и отсутствие какого-либо подобия консенсуса среди экспертов, отошедших от консервативных позиций в отношении российских ресурсов. Цифры, высказываемые различными международными агентствами, достаточно равномерно распределяются в пределах от 46 до 150 млрд барр., что позволяет говорить об отсутствии общепризнанной методики для определения объема запасов и недостатке официальных данных, которые могли бы быть положены в основу для определения этого параметра.

Не беремся судить, насколько целесообразно в этой связи засекречивать официальные данные о ресурсах нефти (другие страны, наоборот, стремятся сделать эти цифры общедоступными), но для крупных зарубежных компаний, рассматривающих Россию в качестве объекта для инвестиций, отсутствие достоверных данных о запасах, несомненно, является дополнительным фактором риска при принятии решения о приобретении активов российской нефтяной компании.

Нормальной кратностью запасов (т.е. отношением доказанных запасов к текущей годовой добыче) считается 10-12 лет. Это отношение характерно для всех промышленно развитых нефтедобывающих стран. И оно говорит вовсе не о том, что через десяток лет нефти "там" больше не будет, а лишь о том, что нефтяные компании этих стран, что вполне логично, не хотят бесхозяйственно тратить деньги на дальнейшее наращивание своих запасов. Конечно, по последним данным компании ВР, общемировой показатель превышает 40 лет. Но здесь "уживаются" и почти 90 лет, характерные в целом для государств Ближнего и Среднего Востока; и около 80 лет, типичные для стран - членов ОПЕК. По данным той же компании, которая теперь дает доказанные запасы России на уровне 69,1 млрд барр. (9,5 млрд тонн) или 6 % мировых доказанных запасов, кратность запасов по России составляет более 22 лет. При этом та же компания считает, что добыча нефти в промышленно развитых странах обеспечена вдвое меньшими запасами - лишь на период немногим более 11 лет. Если взять за основу цифру доказанных запасов, которую дают эксперты Центра нефтегазового бизнеса (110 млрд барр, т.е. 5 млрд тонн) и применить к этой цифре кратность в 10 лет, то Россия уже сейчас могла бы добывать втрое больше нефти. Не 9,6 млн барр., а 30 млн барр. в сутки (т.е. не 450 млн тонн, а почти 1,5 млрд тонн в год). Однако все упирается в отсутствующие для этого рынки, ведь добыча нефти теперь объективно следует за тем, куда пойдут дополнительные поставки российской нефти или произведенных из нее нефтепродуктов. Зачем же нефтяным компаниям России развивать далее свой сырьевой потенциал? В настоящее время Россия добывает более 450 млн тонн нефти (включая конденсат) в расчете на год, хотя в конце 80-х годов добывала больше 570 млн тонн. По оценке ЦНБ, в 2010-2012 гг. Россия будет добывать свыше 600 млн тонн в год. Эти данные подтверждаются и планами нефтяных компаний России. Есть и другие оценки. Так, в октябре 2003 году консалтинговая компания "Тройка Диалог", обобщившая планы российских нефтяных компаний, пришла к выводу, что в 2010 году в России будет добываться не менее 10,9 млн барр. в сутки (или порядка 550 млн т в год) против примерно 470 млн т в год, прогнозируемых тогдашним министерством энергетики России. Нельзя не отметить также и то, что в рамках принятой сейчас Энергетической стратегии страны добыча в 2015---2020 гг. определяется я на уровне 450-520 млн тонн в год

Таблица 1 Прогноз добычи нефти российскими компаниями в 2005-2012 гг.


Рис.1 Энергетическая стратегия России. Прогнозы добычи нефти

Естественно, большая часть добытой нефти будет экспортирована и это окажет негативное воздействие на цены мирового рынка нефти. Вот почему эмиссары ОПЕК стремятся всеми силами включить Россию в состав этой ассоциации и заставить российские нефтяные компании добывать и экспортировать как можно меньше нефти. Но это им не удается сделать, потому что отрасль давно приватизирована, в России нет своей национальной нефтяной компании, которая могла бы сократить эти дополнительные поставки жидкого топлива на мировой рынок нефти.

.3 Полимерное заводнение

Полимерное заводнение заключается в том, что в воде растворяется высокомолекулярный химический реагент - полимер (полиакриламид), обладающий способностью даже при малых концентрациях существенно повышать вязкость воды, снижать ее подвижность и за счет этого повышать охват пластов заводнением.

Основное и самое простое свойство полимеров заключается в загущении воды. Это приводит к такому же уменьшению соотношения вязкостей нефти и воды в пласте и сокращению условий прорыва воды, обусловленных различием вязкостей или неоднородностью пласта.

Кроме того, полимерные растворы, обладая повышенной вязкостью, лучше вытесняют не только нефть, но и связанную пластовую воду из пористой среды. Поэтому они вступают во взаимодействие со скелетом пористой среды, то есть породой и цементирующим веществом. Это вызывает адсорбцию молекул полимеров, которые выпадают из раствора на поверхность пористой среды и перекрывают каналы или ухудшают фильтрацию в них воды. Полимерный раствор предпочтительно поступает в высокопроницаемые слои, и за счет этих двух эффектов - повышения вязкости раствора и снижения проводимости среды - происходит существенное уменьшение динамической неоднородности потоков жидкости и, как следствие, повышение охвата пластов заводнением.

.4 Сущность применения технологии

Использование для увеличения приемистости нагнетательных скважин материала Полисил-П в виде взвеси в органическом растворителе обусловлено его свойствами и приводит:

при закачке в пористую среду к гидрофобизации коллектора;

к резкому снижению за счет гидрофобизации гидравлического сопротивления (до 40 %) течению воды в норовом пространстве;

к удалению рыхлосвязанной воды с поверхности порового канала, что приводит к увеличению фильтрации воды.

Материал Полисил-П обладает сильными водо- и кислотоотталкивающими свойствами, хорошо закрепляется на пористой поверхности, как терригенных, так и карбонатных коллекторов.

Новизна технологии с использованием суспензии Полисил-П заключается в увеличении фильтрации воды в нагнетательные скважины, его адсорбции в поровом пространстве и отличается пролонгированностью действия.


.5 Геолого-промысловые условия применения технологии

Объектом применения технологии являются нагнетательные скважины.

При выборе объектов применения необходимо выполнять следующие геолого-технологические требования с соблюдением корректных условий проведения работ:

тип коллектора - преимущественно терригенный;

пластовая температура - до 130 ОС;

минерализация закачиваемых вод - не лимитирована;

эксплуатационная колонна технически исправна;

заколонные перетоки и негерметичности эксплуатационной колонны отсутствуют;

приемистость нагнетательной скважины не менее 1020 м3/сут при рабочем давлении водовода.

.6 Компонентный состав и свойства раствора

Основным компонентом суспензии Полисил-П является гидрофобный ультрадисперсный кремнезем, который при попадании в поровые каналы призабойной зоны пласта Приводит к снижению энергетики поверхности.

Материал Полисил-П представляет собой тонкодисперсный порошок белого или кремового цвета с низкой насыпной плотностью (400-800 кг/м3) и средним размером частиц от 0,001 до 0,1 мкм, со степенью гидрофобности не менее 97 %. Образует суспензии в углеводородных растворителях и абсолютно не растворяется и не смачивается водой.

При фобизации коллектора снижается капиллярный эффект, в результате чего удаляется рыхлосвязанная вода из недренируемых или слабодренируемых удаленных интервалов и зон пласта.

Компонентный состав:

материал Полисил-П - 1,0-2,0 кг на 1 м3 суспензии;

дисперсионная среда - остальное.

Определение и подбор рецептуры композиции

Выбор компонентного состава суспензии Полисил-П зависит от приемистости нагнетательной скважины:

при приемистости О-50 м3/сут расход реагента Полис ил- П _ 1,0 кг на 1 м3 суспензии;

при приемистости 50-150 м3/сут расход реагента Полисил- П - 1,5 кг на 1 м3 суспензии;

при приемистости свыше 150 м3/сут расход реагента

Полисил-П - 2,0 кг на 1 м3 суспензии.

Определение необходимого объема композиции. Объем буферной жидкости составляет 1-3 м3.

Объем суспензии Полисил-П зависит от перфорированной Мощности пласта и составляет не менее 1 м3 суспензии Полисил- П на 1 м перфорированной мощности пласта.

Объем продавочной жидкости рассчитывается как сумма внутреннего объема НКТ, объема эксплуатационной колонны от башмака НКТ до нижних отверстий интервала перфорации и дополнительного объема продавочной жидкости. дополнительный объем rrродавочной жидкости составляет 3-5 м3 на 1 м перфорированной мощности пласта.

В качестве продавочной жидкости используется вода от системы ППД.

1.7 Технические средства и материалы

Для закачки суспензии используется стандартное оборудование и технические средства, при меняемые при капитальном ремонте скважин.

Технические средства, применяемые для реализации данной технологии:

·        Цементировочный агрегат ЦА-320 - 1шт.;

·        АЦН-10 емкостью 8-10 мЗ - 2-3 шт.;

·        Эжекторный смеситель;

·        Технологическая емкость.

Материалы, применяемые в технологии

. Материал Полисил-П по ТУ 2169-003-49364794 представляет собой сыпучий порошок белого цвета.

. Дисперсионная среда - в качестве дисперсионной среды (растворитель) используется смесь предельных углеводородов csС12 и выше, например: гексан, газойль, широкая фракция легких углеводородов (ШФЛУ). Помимо перечисленных углеводородов можно использовать нестабильный бензин, газовый конденсат, дизельное топливо.

. Буферная жидкость - в качестве буферной жидкости используются те же реагенты, что и в составе дисперсионной среды (вода от системы ППД).

.8 Подготовка к проведению технологического процесса и обработка скважины

При подготовке к проведению технологического процесса необходимо:

определить приемистость скважины в 3-х режимах с учетом рабочего давления водовода;

завести на скважину необходимое количество материала Полисил-П и органического растворителя;

произвести обвязку технологического оборудования по следующей круговой схеме: АЦН-10 (с органическим растворителем) ЦА-320-эжектор;

при постоянной циркуляции растворителя по технологической схеме ввести через эжектор расчетное количество материала Полисил-П. Перемешивание производить в течение 30-40 мин;

произвести обвязку технологического оборудования по следующей схеме:

а) АНЦ (с органическим растворителем)-ЦА-320-трубное пространство скважины;

б) АНЦ (с суспензией Полисила-П)-ЦА-320-трубное пространство скважины;

произвести опрессовку нагнетательной линии на 1,S-кратное давление от ожидаемого рабочего давления закачки;

произвести последовательно закачку композиции: буферная жидкость + суспензия Полисил-П;

произвести продавку композиции технологической жидкостью в необходимом объеме;

определить приемистость скважины в трех режимах с учетом рабочего давления водовода;

произвести обвязку устья скважины с водоводом и пустить под закачку;

составить акт выполненных работ.

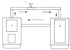
Первый этап (рис. 2) - приготовление суспензии на основе материала Полисил- П.

Рис.2. Приготовление суспензии на основе материала Полисил-П: 1-ЦА-320; 2-АНЦ с органическими растворителем; 3-эжектор.

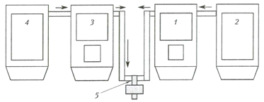
Второй этап (рис. 3) - закачка суспензии на основе материала Полисил-П.

Рис.3. Закачка суспензии на основе материала Полисил-П: 1-ЦА-320; 2-емкость с расчетным количеством суспензии; 3-ЦА-320; 4-емкость с расчетным количеством органического растворителя; 5-тубная задвижка скважины.

.9 Промышленная безопасность, техника безопасности и охрана окружающей среды

нефть полимерный скважина нагнетательный

Все технологические операции при производстве работ по приготовлению и закачке суспензии на основе материала Полисил-П должны проводиться В соответствии с "Правилами безопасности в нефтяной и газовой промышленности".- М.: Недра, 1998; ППБО-85 "Правила пожарной безопасности в нефтяной промышленности", М.: Недра, 1987.

Продукт марки Полисил-П по степени воздействия на организм человека относится к 3-MV классу умеренно опасных веществ, не обладает кожно-раздражаюшим, кожно-резорбтивным, аллергенным действием, пожаро- и взрывобезопасен.

В качестве буферной и дисперсионной среды используются жидкости, относящиеся к легковоспламеняющимся жидкостям (ЛВЖ), в связи с этим необходимо:

· над емкостью для приготовления суспензии обеспечить хорошую вентиляцию;

·        заземлить оборудование для приготовления суспензии;

·        технику, применяемую для перевозки буферной и дисперсионной среды, оборудовать в соответствии с требованиями для перевозки легковоспламеняющихся жидкостей;

·        технику, применяемую для приготовления суспензии, оборудовать искрогасителями и укомплектовать средствами пожаротушения (пенные огнетушители и песок);

·        запретить: курение в зоне производства работ, разведение огня и пользование иными источниками, способствующими возгоранию.

Мероприятия по охране природы и рациональному использованию природных ресурсов заключаются в снижении (исключении) потерь применяющихся реагентов, в том числе и при хранении, транспортировке. С целью исключения разлива реагентов необходимо обеспечить герметичность манифольдных линий при производстве работ.

К работе допускаются лица старше 18 лет, прошедшие обучение и имеющие допуск к работе с химическими реагентами и легковоспламеняющимися жидкостями. Перед началом работ обязательно проведение инструктажа по технике безопасности и пожарной безопасности с членами бригады 110 закачке и водителями агрегатов. Работающий персонал необходимо обеспечить индивидуальными средствами защиты. Приготовление и закачка суспензии Полисил-П производятся под руководством ответственного лица из состава ИТР. При попадании реагентов на кожу, пораженное место промыть струей воды с мылом. При попадании в глаза, промыть большим количеством воды. Ответственность за обеспечение безопасных условий приготовления и закачки суспензии Полисил-П возлагается на мастера бригады капитального (подземного) ремонта скважин или мастера бригады химической обработки скважин.

 

При водонапорном режиме, несмотря на различие причин, вызывающих напор краевых или подошвенных вод, извлечение нефти происходит за счет ее вытеснения из пористой среды водой. От механизма вытеснения нефти во многом зависит важнейший показатель эффективности режима работы залежей и в целом процесса ее разработки - нефтеотдача (степень полноты извлечения нефти). Нефтеотдача характеризуется коэффициентом нефтеотдачи (нефтеизвлечения) - долей извлеченной из пласта нефти от ее первоначальных запасов.

Различают конечный, текущий и проектный коэффициенты нефтеотдачи. Под текущим коэффициентом нефтеотдачи понимается отношение добытого из пласта количества нефти на определенную дату к геологическим (балансовым) ее запасам. Конечный коэффициент нефтеотдачи - это отношение извлеченных запасов нефти (добытого количества нефти за весь срок разработки) к геологическим запасам. Он зависит от коллекторских свойств пласта, физических свойств нефти, строения залежи, системы разработки месторождения, и, главным образом, от режима работы залежи. Проектный коэффициент нефтеотдачи планируется при подсчете запасов нефти и проектировании разработки.

Исходные данные.

Задача №1.

Определить средний коэффициент нефтеотдачи для указанных ниже периодов времени. Параметры нефтяной залежи с водонапорным периодом определены в результате исследования образцов кернов и геофизическими методами. При этом установлено, что среднее количество связанной воды и нефтенасыщенность в начальный период эксплуатации соответственно равны Sвн=15 и Sнн=85. В ходе эксплуатации залежи средняя водонасыщенность стала увеличиваться. Берем данные через 3, 6, 9, 12 и 15 лет эксплуатации (Sв3=19; Sв6=33; Sв9=49; Sв12=61; Sв15=77).

Решение.

1. Коэффициент нефтеотдачи в зависимости от средней водонасыщенности породы S на каждый период времени находим по формуле:

 (1.1)



2. Строим график изменения коэффициента нефтеотдачи во времени в координатах время-коэффициент продуктивности.


Задача №2

Нефтяная залежь, эксплуатируемая при водонапорном режиме, имеет сравнительно однородный состав пород. Требуется приближенно оценить нефтеотдачу этой залежи для двух периодов времени. К концу первого периода добывали Qв1=750 м3/сут воды и Qн1=3600 м3/сут нефти. К концу второго периода добыча составила Qв2=3600 м3/сут и Qн2=750 м3/сут соответственно воды и нефти. Кроме того, известны вязкости нефти и воды в пластовых условиях: μн=1,7 мПа∙с и μв=1,1 мПа∙с; объемные коэффициенты нефти и воды bн =1,4 и bв=1,1 Решение.

1.  Определяем процентное содержание воды в добываемой жидкости при одновременном притоке в скважину нефти и воды для первого и второго периодов (Sв1 и Sв2).

 % (1.2)


Определяем коэффициент М, зависящий от физических свойств пластовых жидкостей.

 (1.3)


2.  Нефтеотдача зависит от содержания воды в добываемой жидкости и коэффициента М. Имея эти данные для сравнительно однородного коллектора, можно определить нефтеотдачу К1 и К2 (в %) по графику для первого и второго периода.




ЗАКЛЮЧЕНИЕ

Повышение нефтеотдачи на разрабатываемых месторождениях равносильно открытию новых месторождений, поэтому данная проблема актуальна для всех нефтедобывающих стран мира.

Несомненно, что из всех новых методов повышения нефтеотдачи пластов наиболее подготовленными в технологическом и техническом отношении являются термические, позволяющие добывать нефть вязкостью до 100 МПа с увеличением при этом конечной нефтеотдачи до 30 - 50%. В частности, метод паротеплового воздействия наиболее распространен как на промыслах стран СНГ, так и за рубежом.

Основные факторы, определяющие рост объема добычи нефти за счет термических методов, это наличие:

ресурсов высоковязкой нефти;

высокоэффективных технологий воздействия на залежи нефти;

теплоэнергетического оборудования;

термостойкого внутрискважинного и устьевого оборудования;

возможности эффективного контроля за процессами их регулирования.

Широкое развитие термических методов добычи нефти связано с решением комплекса сложных научных и технических проблем. Среди них особое место занимают вопросы изучения механизма нефтеотдачи пластов применительно к различным геолого-физическим условиям, возможности эффективного использования особенностей строения конкретных объектов, а также сочетание тепловых и других методов повышения нефтеотдачи пластов, способствующих совершенствованию технологических процессов с доведением коэффициента нефтеотдачи до 50-60%.

Нефтенасыщенные пласты - коллекторы среднеюрской залежи с глубиной залегания до 370 м и мощностью 50 - 60 м представлены песками и глинами с редкими прослоями алевролитов. Размер частиц от 0,01 до 0,25 мм; состав: кварц (80 - 90%), полевые шпаты (5 - 10%), смолы (2 - 5%); средняя пористость 32%; проницаемость 0,15 - 0,47 мкм; средняя остаточная нефтенасыщенность 0,28 доли единиц.

Коэффициент теплопроводности составляет 0,881 Вт/м·К, что является благоприятной предпосылкой успешного теплового воздействия. Нефть высокоплотная - 0,897 г/см3 в пластовых условиях и 0,916 г/см3 разгазированная; вязкая - 137 - 532 МПа·с; с незначительным газосодержанием - 4,6 м3/т; объемным коэффициентом - 1,02; давлением насыщения нефти газом - 1,14 МПа; низким содержанием смол (8 - 9,8%), асфальтенов (0,3 - 0,4%), парафина (0,4 - 0,7%), температурой застывания (от 36 до 52°С); температурой начала перегонки (250°С) и высоким содержанием серы (0,56 - 0,68%). Вязкость и плотность нефти увеличиваются к контуру залежи, тогда как при температуре выше 80°С вязкость нефти ниже 10 МПа, что является благоприятным фактором.

СПИСОК ЛИТЕРАТУРЫ

1 Журнал "Нефть и Жизнь".

2 Андреев В.В., Уразаков К.Р., Далимов В.У. и др. "Справочник по добыче нефти", 2000.

3 Покрепин Б.В. "Разработка и эксплуатация нефтяных и газовых месторождений"

4 Газизов А.Ш., Газизов А.А. "Повышение эффективности разработки нефтяных месторождений на основе ограничения".

Похожие работы на - Повышение нефтеотдачи на разрабатываемых месторождениях

 

Не нашли материал для своей работы?
Поможем написать уникальную работу
Без плагиата!
Без нейросетей!