|
Виды работ
|
Число рабочих
|
|
на рабочих постах
|
на производственных участках
|
|
расчетное
|
принятое
|
расчетное
|
принятое
|
|
Диагностические
|
0,78
|
1
|
0
|
0
|
|
ТО в полном объеме
|
3,88
|
4
|
0
|
0
|
|
Смазочные
|
0,62
|
1
|
0
|
0
|
|
Регулировочные по установке углов колес
|
0,78
|
1
|
0
|
0
|
|
тоже по тормозам
|
0,78
|
1
|
0
|
0
|
|
Обслуживание и ремонт приборов систем питания
|
0,54
|
1
|
0,23
|
1
|
|
то же по эл. оборудованию
|
0,78
|
1
|
0,15
|
0
|
|
Шиномонтажные
|
0,23
|
0
|
0,55
|
1
|
|
ТР узлов и агрегатов
|
0,78
|
1
|
0,78
|
1
|
|
Кузовные
|
1,16
|
1
|
0,38
|
1
|
|
Малярные
|
1,55
|
2
|
0
|
0
|
|
Аккумуляторные
|
0,03
|
0
|
0,28
|
0
|
|
Обойные и арматурные
|
0,15
|
0
|
0,15
|
0
|
|
ИТОГО
|
12
|
14
|
2,72
|
4
|
2.4 Расчет числа постов
и автомобиле-мест ожидания
Расчетом определяется число рабочих
постов, вспомогательных постов и автомобиле-мест ожидания и хранения.
Число рабочих постов
для
данного вида работ ТО и ТР определяется исходя из годовой трудоёмкости постовых
работ
,
фонда рабочего времени поста
и среднего числа
рабочих на посту
по
формулам:
; (2.7)
, (2.8)
где
число
дней работы в году станции;
продолжительность
смены, час;
С - число смен;
- коэффициент рабочего
времени поста (принимаем 0,85 согласно).
Среднее число рабочих на одном посту
принимается 1,5.. 2,5 человек, для кузовных и окрасочных работ 1,0…1,5
человека.
Подставляя исходные значения в
формулу (2.8) определяем фонд рабочего времени поста
.
Затем по формуле (2.7)
находим:
а) число постов
проведения диагностических работ
;
Принимаем один пост.
б) число постов
проведения технического обслуживания в полном объёме
;
Принимаем два поста.
в) число постов
проведения смазочных работ и регулировочных по тормозам
;
Принимаем один пост
проведения этих видов работ.
г) число постов
проведения регулировочных работ по установке углов колес
;
Принимаем один пост.
д) число постов
обслуживания и ремонта приборов системы питания и электрооборудования
;
Принимаем один пост.
е) число постов
проведения шиномонтажных работ
;
Исходя из полученного
значения, принимаем решение о нецелесообразности проектирования данного вида
поста ввиду малого запланированного объёма работ на нем. В случае необходимости
данный вид работ можно выполнить на имеющихся свободных постах ожидания.
ж) число постов
проведения текущего ремонта узлов и агрегатов
;
Принимаем один пост.
з) число постов
проведения кузовных работ
;
Принимаем один пост.
и) число постов
проведения малярных работ
.
Принимаем один пост
проведения данного вида работ и один вспомогательный пост для подготовки
автомобилей к окраске и сушке после неё.
Посты арматурных и
обойных работ не планируем ввиду их малой занятости равной 156,6 чел
час.
При необходимости эти работы можно будет выполнить на одном из свободных
рабочих постах или постах ожидания.
При механизации моечных
работ число рабочих постов
определяется суточным
количеством заездов автомобилей
и производительностью
моечной установки
(авто
час.)
по формулам
, (2.9)
, (2.10)
где
-
коэффициент неравномерности поступления автомобилей на участок уборочно-моечных
работ равный 1,5
;
- продолжительность
работы уборочно-моечного участка, час;
-коэффициент
использования рабочего времени поста равный 0,85;
- число автомобилей,
обслуживаемых проектируемой станцией в год;
d
- количество заездов на станцию одного автомобиля в год.
Подставляя исходные и
принятые значения в формулы (2.10) и (2.9), определяем:
а) суточное количество
заездов автомобилей на проектируемую станцию технического обслуживания
;
б) число постов
уборочно-моечных работ
.
Для расчета была принята
щеточная установка для мойки легковых автомобилей УМП-12 с производительностью
12 авто
час.
Анализируя полученный результат, принимаем один пост проведения
уборочно-моечных работ с учётом того, что данный вид работ будет выполняться не
только перед проведением ТО и ТР, а и как самостоятельный вид услуг.
Расчетом определяем число
постов приёмки и выдачи автомобилей.
На участке приёмки
автомобилей число постов
определяется
в зависимости от числа заездов автомобилей на станцию технического обслуживания
и времени приемки автомобилей по формуле
, (2.11)
где
-
коэффициент неравномерности поступления автомобилей (1,2…1,5);
- продолжительность
работы зоны приёмки автомобилей, час;
- пропускная
способность поста (2..3 авт./час).
Согласно литературному
источнику, принимаем коэффициент неравномерности поступления автомобилей
равный
1,5, а пропускную способность поста
равную два автомобиля в
час.
Подставляя исходные и расчетные
данные в формулу (2.11) определяем число постов приёмки автомобилей
.
Принимаем один пост.
Для расчета числа постов
выдачи автомобилей принимаем, что ежедневное число выдаваемых автомобилей равно
числу заездов автомобилей на станцию. В остальном расчет полностью аналогичен
выше приведенному.
Принимаем один пост
выдачи автомобилей.
Общее число мест
ожидания на производственных участках СТО составляет 0,3-0,5 на один рабочий
пост. В данном случае при 11 рабочих постах принимаем число мест ожидание в
размере пяти в зоне проведения ТО и ТР, двух в молярном отделении и одно в
кузовном.
Места для хранения
автомобилей предусматриваются для готовых к выдаче автомобилей и автомобилей,
принятых в ТО и ремонт.
Места для хранения
готовых автомобилей
определяется
в зависимости от суточного количества автомобиле-заездов на СТО
и
среднего времени пребывания автомобилей после обслуживания или ремонта
по
формуле
, (2.12)
где
-
время работы участка выдачи автомобилей, час;
- среднее время
пребывания автомобиля на станции технического обслуживания после его обслуживания,
час.
Принимаем
равное
4 часам, по формуле (2.12) определяем количество мест для готовых автомобилей
Принимаем 5 мест
хранения готовых автомобилей с учётом возможных «скачков» неравномерности
поступления их на ТО и ремонт.
Общее число
автомобиле-мест для хранения транспорта, ожидающего обслуживания определяется
из расчета от 2 до 4 на один рабочий пост. Исходя из вышеизложенного, принимаем
двадцать автомобиле-мест ожидания.
2.5 Определение перечня
основного технологического оборудования
Технологическое
оборудование по производственному назначению подразделяется основное
(станочное, демонтажно-монтажное и др.), комплектное, подъемно-осмотровое и
подъемно-транспортное, общего назначения (верстаки, стеллажи) и складское.
Количество оборудования,
которое используется периодически, т.е. не имеет полной загрузки, установлено
комплектом по табелю технологического оборудования для зоны проведения ТО и ТР
и производственных участков.
Количество
подъёмно-осмотрового оборудования определено числом постов ТО и ТР, их
специализацией по видам работ с учётом необходимых средств механизации.
Количество инвентаря
определено по числу работающих в смену.
2.6 Расчет площадей
помещений
На данном этапе
выполнения проекта площади зон ТО и ТР рассчитываем по удельным площадям.
Площадь зоны ТО и ТР
определяется по формуле
, (2.13)
где 
площадь, занимаемая
автомобилем в плане,
;
число постов;
коэффициент расположения
постов.
При подсчете зоны ТО и
ТР за площадь, занимаемую автомобилем в плане примем площадь базового
автомобиля среднего класса ГАЗ-3110 равную 8,5
.
Коэффициент плотности
расстановки постов
при
одностороннем их расположении равен семи
. Подставляя исходные и
принятые значения в формулу (2.13) определяем площадь зоны, занимаемую рабочими
постами
Так же, как было
запроектировано ранее, на данной территории рассчитываем площадь под четыре
поста ожидания с учётом коэффициента плотности расстановки постов
=4
согласно принятой зависимости (2.13)
Суммарная площадь зоны
ТО и ТР определяется по формуле
. (2.14)
Подставляя найденные
значения в формулу (2.14) определяем
.
Расчёт площадей
производственных участков выполняем по формуле
, (2.15)
где
суммарная
площадь горизонтальной проекции по габаритным размерам оборудования,
;
коэффициент плотности
расстановки оборудования.
Если в помещениях
предусматриваются рабочие посты или места ожидания для автомобилей, то к
расчётной площади добавляем площадь, занятую постами или местами ожиданий в
соответствии с нормативами
.
Значение коэффициента
для
соответствующих производственных участков принимается согласно ОНТП-01-91 и
изменяется в пределах 3,5…5,0.
Подставляя нормативные и
принятые значения в формулу (2.15) определяем необходимые площади
производственных участков:
а)
агрегатно-механический
;
б) электрокарбюраторный
;
в) обойный
;
г) шиномонтажный
;
д) кузовной
;
е) аккумуляторный
;
ж) уборочно-моечных
работ
;
з) молярный
.
Площадь помещения
краскоприготовительной рассчитываем аналогичным образом по выше приведенной
методике и получаем значение
.
Для городских станций
технического обслуживания площади складских помещений определяются по удельной
площади склада на каждую 1000-у обслуживаемых автомобилей в год: для склада
запасных - 32
,
агрегатов и узлов - 12
,
эксплуатационных материалов - 6
, шин - 8,
лакокрасочных
- 4
,
смазочных материалов - 6
.
С учётом перспективы
развития проектируемой станции технического обслуживания расчёт складских
помещений будем вести не на 720, а на 1000 комплексно обслуживаемых автомобилей
в год. Площади запасных частей, агрегатов, эксплуатационных материалов,
смазочных материалов и шин размещаем в помещении склада для магазина,
функционирование которого планируется на данном предприятии автосервиса.
Исходя из этого,
помещение данного склада принимаем равное 64
.
Площадь склада
лакокрасочных материалов размещаем в помещении краскоприготовительной и
принимаем равной 4
.
Площадь кладовой для
хранения автопринадлежностей, снятых с автомобилей на период их обслуживания,
принимается равной 1,6
на
один рабочий пост. На 11 рабочих постов требуется площадь кладовой 17,6
.
Для городских станций
предусматривается помещение для клиентов, площадь которого принимается из
расчёта 9…12
на
один рабочий пост в соответствии со СНиП 2.09.04-87 и равняется, в данном
случае, 100
.
Площадь помещения для
продажи запасных частей и автопринадлежностей принимается из расчета 30% общей
площади для клиентов и принимается в размере 35
.
При укрупненных расчетах
площадь зоны хранения автомобилей определяется по следующей зависимости
, (2.16)
где
площадь,
занимаемая автомобилем в плане,
;
число автомобиле-мест
хранения;
коэффициент плотности
расстановки мест хранения, (принимаем значение равное 2,5…3).
Согласно вышеприведенной
формуле рассчитываем площади:
а) для готовых
автомобилей
,
б) автомобилей,
ожидающих обслуживания
.
2.7 Организация
производственного процесса
В основу организации
производства положена единая для всех городских станций обслуживания
функциональная схема, представленная на четвёртом листе графической части.
Автомобили, пребывающие
на станцию для проведения ТО и ремонта, проходят мойку и поступают на участок
приёмки для определения технического состояния, необходимого объёма работ и их
стоимости.
После приёмки автомобиль
направляют на соответствующий производственный участок. В случае занятости
рабочих постов, на которых должны выполняться работы согласно наряд-заказу,
автомобиль поступает на автомобиле-места ожидания или хранения, а оттуда, по
мере освобождения постов, направляется на тот или иной производственный
участок. После завершения работ автомобиль поступает на участок выдачи.
В структуру данной
станции технического обслуживания входят следующие производственные участки: приёмки
и выдачи автомобилей, мойки, диагностирования, ремонта и заряда аккумуляторов,
ремонта топливной аппаратуры и электрооборудования, агрегатно-механический,
шиномонтажный, обойный, кузовной и молярный.
Рабочие посты зоны ТО и
ТР являются основными, а участки, специализированные на выполнение работ по
ремонту топливной аппаратуры, электрооборудования, аккумуляторов и другие, -
вспомогательными, обеспечивающими работу основных участков.
Кроме отмеченных выше
участков, в производственной части здания располагаются: компрессорная,
краскоприготовительная и тепловой узел.
Ниже рассмотрены участки
СТО, имеющие специфику в организации и технологии работ.
Участок приёма выдачи
автомобилей характеризуется тем, что здесь производится проверка всех агрегатов
и узлов на неисправность которых указывает владелец; проверка агрегатов, узлов
и систем, влияющих на безопасность движения; проверка технического состояния
автомобиля для выявления дефектов, не заявленных владельцем; ориентировочного
определение стоимости и сроков выполнения работ и оформление документов.
В зависимости от
предварительно заявленных заказчиком работ автомобиль устанавливают на
напольный пост приёмки, где после тщательного осмотра автомобиля
контролёр-приёмщик оформляет необходимую документацию и согласовывает с
заказчиком перечень работ.
При необходимости для
установления причин неисправности мастер-приёмщик направляет автомобиль на
посты диагностирования или делает пробный выезд автомобиля.
Приёмка автомобилей для
выполнения работ, объёмы и стоимость для которых постоянны (моечно-уборочных,
диагностические и др.), упрощается.
В этом случае владельцем
в столе заказов СТО приобретается талон с указанием вида и стоимости работ.
При оформлении заказа на
ТО по требованию владельца автомобиля СТО выполняет неполный объём работ. После
установления объёма работ мастер-приёмщик, используя «Прейскурант на ТО и
ремонт легковых автомобилей, принадлежащих гражданам», заполняет наряд-заказ и
определяет общую стоимость работ. При этом в наряд-заказ вносятся только те
работы, на которые согласен заказчик.
После окончания приёмки
водитель-перегонщик ставит автомобиль на рабочий пост или автомобиле-место
ожидания. Время, затрачиваемое на приём автомобилей, в среднем составляет 20…30
мин.
По окончании работ
автомобиль из производственной зоны поступает на участок выдачи, смежный с
участком приёма, где автомобиль устанавливают на напольный пост. Производится
контроль качества работ, выполненных в соответствии с наряд-заказом, производят
внешний осмотр, проверку комплектности автомобиля и выдачу его владельцу или
перегоняют в зону хранения готовых для выдачи автомобилей. При получении машины
владелец удостоверяет подписью в наряд-заказе отсутствие претензий, а приёмщик,
проверив правильность оплаты, оформляет пропуск на выезд.
Основным звеном в данной
структуре является участок диагностирования, который выполняет следующие виды
работ: определение технического состояния автомобилей по заявкам владельцев как
самостоятельный вид услуг, диагностирование при приёмке на станцию (по мере
необходимости), а также перед выполнением ТО и ТР и перед выдачей автомобилей
владельцу для проверки качества обслуживания.
Часть работ
диагностирования при приёмке автомобиля на СТО и контроле качества выполнения
работ, не требующего специального стендового оборудования, может быть выполнена
на участке приёма-выдачи и соответствующих рабочих постах зоны ТО и ремонта.
На данном
специализированном участке выполняются работы по заявкам владельцев
автомобилей, а также оказывается помощь участку приёма-выдачи, производственным
участкам ТО и ТР в объективной оценке технического состояния автомобилей до и
после обслуживания.
Диагностический участок
имеет всё необходимое оборудование, обеспечивающее углубленную проверку
технического состояния автомобиля.
Проверка и регулировка
углов установки управляемых колёс осуществляется в зоне ТО на отдельном
специализированном посту.
Принимаем универсальный
тупиковый пост диагностирования, размещенный в зоне проведения ТО и ремонта.
Рисунок 2.2 - Схема включения
диагностирования в технологический процесс СТО
Наибольшее число заявок владельцев
автомобилей приходится на диагностические работы по проверке и регулировке
углов установки управляемых колёс, динамической балансировке колёс, по системам
электрооборудования и питания двигателя. Это объясняется тем, что работы этих
узлов и систем во многом определяют затраты на эксплуатацию автомобиля
связанные с износом шин и топливной экономичностью.
Пост диагностирования размещаем
таким образом, чтобы было обеспечено минимальное число переездов автомобилей с
него на рабочие посты производственных участков.
На посту диагностирования в порядке
исключения допускается устранение мелких неисправностей, включая замену
отдельных деталей. Объём таких работ не должен превышать 15-20% общего объёма
работ поста. Если в процессе диагностирования выявляются неисправности, которые
препятствуют его дальнейшему проведению и не могут быть оперативно устранены на
месте, то процесс прерывается. Автомобиль направляется на соответствующий
участок для устранения дефекта, а затем возвращается для окончательного
диагностирования.
На посту диагностирования
допускается проведение некоторых работ ТО и ТР, если их выполнение не
затрудняет процесс диагностирования и без них диагностирование не может быть
проведено (например, замена лампы фары при проверке установке фар) или
перемещение автомобиля на другой пост нецелесообразно из-за технологической
родственности операций.
Значительная часть
контрольно-регулировочных работ с применением диагностических средств
проводится в процессе ТО и ТР автомобилей. В основном это касается работ по
обслуживанию и ремонту двигателей, электрооборудованию и ходовой части, которые
выполняются, как правило, с применением переносных приборов непосредственно на
постах ТО и ТР.
Поступающие на станцию автомобили
требуют проведения самых различных по наименованию и объёму работ ТО и ТР, и
поэтому организация производства станции обеспечивает выполнение любого их
сочетания, т.е. обладает достаточной гибкостью технологического процесса ТО и
ТР.
В связи со случайным характером
требуемых технических воздействий для автомобилей, поступающих на СТО, возможны
следующие варианты сочетания работ ТО с работами ТР: ТО в полном объёме;
выборочный комплекс работ ТО (регулировочные, смазочные и др.); полный объем ТО
совместно с работами ТР, выявленными в процессе диагностирования; выборочный
комплекс работ ТО с работами ТР, выполняемыми в процессе диагностирования. При
этом вначале выполняются работы по ТР, а затем ТО.
В зависимости от того или иного
сочетания требуемых видов работ выбираем рациональную технологическую схему и
организацию производства.
На уборочно-моечном участке могут
выполняться работы не только перед ТО и ТР, но и как самостоятельный вид услуг.
На постах ТР выполняют
разборочно-сборочные, регулировочные и крепёжные работы, а также устранение
мелких неисправностей. Их объём составляет около 40% общего объёма работ ТР, а
с учётом мелких работ по ремонту кузова примерно 50%
.
Остальные работы ТР, а также работы по КР агрегатов проводятся на
специализированных участках.
Мелкие неисправности
устраняют непосредственно на постах ТР, а дефектные агрегаты, узлы и механизмы,
снятые с автомобилей, направляют на соответствующие специализированные участки
для проведения необходимых работ, после чего они поступают на участок ТР и
устанавливают на автомобиль.
Работы по ТО и ТР
проводятся на трёх универсальных тупиковых постах, оснащенных подъёмниками.
Участки агрегатно-механический,
ремонта и заряда аккумуляторных батарей, ремонта электрооборудования, топливной
аппаратуры и шиномонтажный, выполняющие внепостовые работы, исходя из
преобладающего по трудоёмкости вида работ и организационных соображений,
являются специализированными вспомогательными участками. При необходимости за
ними закрепляются автомобиле-места ожидания и рабочие посты на участке ТР.
Поскольку кузовной и окрасочный
участок находятся в изолированных помещениях, то на их территории закрепляем
автомобиле-места ожидания, где можно выполнять вспомогательные,
подготовительные и демонтажно-демонтажные работы. Это повышает коэффициент
полезного использования оборудования и фонда рабочего времени работников.
Основанием для открытия заказа
служит заявка на проведение ТО и ремонта, которая находится у
мастера-приёмщика. Она заполняется им и заказчиком в трёх экземплярах, один из
которых прилагается к производственному наряд-заказу для дальнейшей передачи в
бухгалтерию.
В заявке оформляется заказ на ТО и
ремонт, в которой указывается причина отказа (если такой был).
Журнал предварительной записи на ТО
и ремонт автомобилей находится у мастера-приёмщика и ведётся им в одном
экземпляре. В начале текущей смены диспетчер заполняет второй экземпляр,
который используется в качестве диспетчерской карты.
Диспетчер в журнале отмечает линией
срок выполнения работ: начало и конец линии соответствуют началу и окончанию
производства работ.
Журнал предварительной записи для
выполнения кузовных и окрасочных работ находится у мастера подготовки производства
и ведется в одном экземпляре. Журнал записи на установку запасных частей
находится у мастера-приёмщика и ведётся отдельно по каждой устанавливаемой
запчасти.
Наряд-заказ является бланком строгой
отчетности, находится в подотчёте у мастера-приёмщика, печатается в четырёх
экземплярах.
Продолжение наряд-заказа (оборотная
сторона) применяется, если в нём недостаточно места для перечисления работ и
материальных ценностей, а также в случае необходимости выполнения
дополнительных работ.
Заказ-квитанция оформляется на
основании наряд-заказа, находится в подотчёте у мастера-приёмщика, заполняется
в трёх экземплярах, первый из которых остаётся в кассе и прикладывается к
кассовому отчёту, второй передаётся в производство, а третий заказчику.
Журнал учёта заказов применяется для
учёта транспортных средств, принятых в ТО и ремонт. В журнале по возрастанию
номеров регистрируются наряд-заказы и продолжение к ним. Заказ-квитанции
регистрируются в отдельном журнале и находятся у мастера-приёмщика. Журнал
учёта заказов ведётся в одном экземпляре. Он должен быть пронумерован, заверен
печатью и подписью директора СТО.
Приёмосдаточный акт находится у
мастера-приёмщика; заполняется в двух экземплярах, первый из которых
прикладывается к наряд-заказу, а второй находится у заказчика.
В настоящее время контроль качества
на станциях технического обслуживания осуществляется уже после производства
работ, т.е. применяют форму пассивного контроля, цель которого -
воспрепятствовать выдаче заказчику (или для выполнения последующих операций)
автомобилей и агрегатов с наличием брака. При выполнении контрольных операций
используют субъективные и объективные методы контроля.
Примерная схема документооборота на
проектируемой станции технического обслуживания с учётом основных этапов и
маршрутов прохождения документации наглядно изображена на пятом листе
графической части.
Организация управления производством
на СТО должна обеспечить удовлетворение спроса на услуги, высокое качество и
минимальное время ТО и ТР автомобилей при эффективном использовании трудовых
ресурсов и производственных мощностей данного предприятия автосервиса.
2.8 Генеральный план и
общая планировка помещений
Генеральный план предприятия - это
план земельного участка (территории), отведенного под застройку,
ориентированного в отношении проездов общего пользования и соседних владений, с
указанием на нём: здании и сооружений по их габаритному очертанию, площадки для
безгаражного хранения подвижного состава, основных и вспомогательных и линий
движения подвижного состава по территории.
Генеральный план станции
технического обслуживания разрабатываем в соответствии с требованиями СНиП
11-89-80 «Генеральные планы промышленных предприятий», СНиП 11-60-75
«Планировка и застройка городов, посёлков и населенных пунктов» и ОНТП-01-91
«Общесоюзные нормы технологического проектирования предприятий автомобильного
транспорта».
Проектируемую СТО размещаем на
магистральной улице. При выборе участка руководствуемся следующими
требованиями: оптимальный размер участка (прямоугольной формы с примерным
соотношением сторон 1:1); спокойный рельеф местности и хорошие
гидрогеологические условия; близкое расположение к проезду общего пользования и
инженерным сетям с обязательным обеспечением теплом, водой, газом и электроэнергией.
На территории данного предприятия
автосервиса планируем размещение здания производственного корпуса с примыкающей
к нему административно-бытовой частью, расположенной вблизи от главного входа
на территорию станции. Застройку участка принимаем объединенной
(блокированной), т.к. при этом имеется преимущество перед разобщенной
(павильонной) в экономичности строительства, удобстве построения
производственных процессов, осуществлению технологических связей и по
организации движения.
Дополнительно к выше изложенному,
предусматриваем строительство очистных сооружений, зоны отдыха для клиентов
станции, а также зоны хранения автомобилей, ожидающих обслуживания и навеса для
готовых. Территория станции принимаем изолированной от городского движения, транспорта
и пешеходов. Вне территории размещаем открытую стоянку для автомобилей клиентов
и персонала СТО.
На стадии технико-экономического
обоснования и при предварительных расчётах площадь участка, занимаемую станцией
технического обслуживания, рассчитываем по формуле
, га (2.17)
где
площадь
застройки производственно-складских зданий,
;
площадь застройки
административно-бытовых зданий,
;
площадь открытых
площадок для хранения автомобилей,
;
плотность застройки
территории, %.
Плотность застройки
принимаем
равную 30%.
Подставляя расчётные и
принятые значения в формулу (2.33) получаем следующее значение площади участка
.
Движение автомобилей по
территории предусматриваем в одном направлении без встречных и пересекающихся
потоков.
Ширина проезжей части
наружных проездов принимаем равной 3 метрам при одностороннем и 6 метрам при
двухстороннем движении.
Наглядное изображение
выше приведенных решений представлено на втором листе графической части.
Технологическая
планировка СТО разработана в соответствии с нормами проектирования и
генеральным планом. В основе планировочного решения лежит схема
производственного процесса, состав помещений, объёмно-планировачное решение, а
также противопожарные и санитарно-гигиенические требования, предъявляемые к
отдельным зонам и участкам.
В состав помещений
станции обслуживания входят помещения для приёма и выдачи автомобилей,
производственные, складские, служебные и бытовые помещения, помещение для
клиентов, продажи запасных частей, аксессуаров и автопринадлежностей.
При строительстве
используются сборные железобетонные конструкции.
Производственная часть
здания является одноэтажной. Часть производственного корпуса занимают
административно-бытовые помещения.
На территории
производственной части здания, в левом его крыле, располагаем зону следующих
рабочих постов: два пост проведения ТО, пост диагностики, ТР, установки углов
колёс, совмещенный пост смазки и ремонта тормозов; пост ремонта
электрооборудования и топливной аппаратуры. Дополнительно к выше
перечисленному, в данном помещении планируем пять постов ожидания.
Зона ТО и ремонта
является основным помещением станции, которая по характеру производственного
процесса связана со всеми производственными участками, расположенными в левой
части здания.
Применяем изолированное
размещение агрегатно-механического участка, шиномонтажного, обойного,
электрокарбюраторного, участка проведения уборочно-моечных работ, кузовного и
окрасочного с 2-я постами ожидания.
Практикой эксплуатации
СТО выработаны определенные планировочные решения непроизводственных зон исходя
из специфики данных предприятий. Это в первую очередь относится к помещениям,
связанными с обслуживаниями клиентов. Так, помещение для оформления документов
располагается рядом с участком приёма и выдачи автомобилей. Здесь же находится
контора и касса, где оформляется наряд-заказ и производится расчет с клиентом
(клиентская). К этой же группе помещений относится магазин по продаже запасных
частей и аксессуаров для легковых автомобилей.
Блок перечисленных
помещений является головной часть здания, куда клиент имеет свободный доступ.
Здесь же располагаются основные пути въезды выезды с территории станции
технического обслуживания.
Выбирая конструктивную
схему здания, исходя из выше принятых решений, применяем двухпролётную схему с
сеткой колонн
м.
Высота производственных
помещений в зависимости от типа подвижного состава нормируется и принимается
равной не менее 3,6 м..
При планировке помещений
учитываем расстояния между автомобилями и элементами здания согласно
литературного источника.
Здание производственного
корпуса проектируемой станции технического обслуживания представлено на третьем
листе графической части, план специализированного участка (шиномонтажного) на
четвёртом листе.
2.9
Технико-экономическая оценка
К основным показателям
СТО относятся: число комплексно обслуживаемых автомобилей в год, полезная
площадь здания и площадь участка.
Основными исходными
данными, принятыми в проекте для расчёта этих показателей, является
трудоёмкость ТО и ТР на один автомобиль в год и режим работы станции обслуживания.
Отличие этих исходных данных отражается на основных показателях. Так чем больше
принятая трудоёмкость ТО и ТР на один автомобиль при одинаковом режиме работы
станции, тем меньше пропускная способность СТО и наоборот. Поэтому для
определения технико-экономических показателей и оценке технического уровня
проектных решений используются не абсолютные, а удельные показатели на один
рабочий пост: число производственных рабочих; площадь производственно-складских
помещений,
;
площадь административно-бытовых помещений,
; площадь территории,
;
число комплексно обслуживаемых автомобилей (заездов) в год.
Значение удельных
показателей для городских СТО рассчитаны для следующих эталонных условий: число
рабочих постов - 10; среднегодовой пробег одного автомобиля - 10,0 тыс. км;
климатический район - умеренно холодный; условия водоснабжения, теплоснабжения
и электроснабжения - от городских сетей.
Для условий, отличающихся
от эталонных, все показатели для городских СТО корректируются коэффициентом
.
Кроме того, показатель «Число комплексно обслуживаемых автомобилей в год»
корректируется коэффициентами, учитывающими: класс легкового автомобиля -
,
среднегодовой пробег одного автомобиля -
и климатический район -
.
Абсолютные значения
нормативных технико-экономических показателей станции технического обслуживания
определяется произведением соответствующих удельных показателей для эталонных
условий на коэффициенты приведения и общее число рабочих постов:
; (2.18)
(2.19)
; (2.20)
; (2.21)
; (2.22)
, (2.23)
где Р - число
производственных рабочих, чел.;
соответственно общая
площадь территории, производственно-складских и административно-бытовых
помещений,
;
N
- общее число комплексно обслуживаемых автомобилей в год;
общее число заездов
автомобилей в год на коммерческую мойку;
- общее число постов
СТО.
Подставляя эталонные и
корректировочные значения
в
выше приведенные зависимости, получаем следующие значения данных показателей:
,
,
,
,
,
.
Оценка технологической
прогрессивности проектного решения СТО в основном определяется вышеприведенными
показателями в сопоставлении с решениями данного проекта, что наглядно
представлено в таблице 2.6.
Сопоставление удельных
показателей типовых проектов Гипротранса (Санкт-Петербург), ВАЗа и
Гипроспецавтотранса городских СТО различной мощности показывает, что пропускная
способность рабочего поста, т.е. число обслуживаемых автомобилей в год,
колеблется для различных станций от 116 до 260. Такой диапазон значений зависит
от принятых в проектах трудоёмкости работ ТО и ТР на один автомобиль в год и
режима работы СТО.
Таблица 2.6 -
Технико-экономические показатели спроектированной станции технического
обслуживания
|
Наименование показателя
|
Значение показателя
|
|
эталонное
|
скорректированное
|
расчётное
|
|
Численность производственных рабочих, чел.
|
30
|
33
|
22
|
|
Площадь производственно-складских помещений, 197021671296
|
|
|
|
|
Площадь административно-бытовых помещений, 810891600
|
|
|
|
|
Площадь территории, 10500
|
11550
|
10300
|
|
|
Общее число комлексно обслуживаемых автомобилей в год
|
3900
|
2274
|
2647
|
|
Общее число заездов автомобилей в год на коммерческую мойку
|
43680
|
25465
|
13680
|
Анализируя данные, представленные в
таблице 2.6 можно сделать вывод об успешности создания данной станции
технического обслуживания легковых автомобилей. Это достигнуто было тем, что
удалось существенно снизить численность производственных рабочих за счёт
применение специалистов широкого профиля с возможностью выполнения ими работ по
различным специальностям. Также были получены меньшие значения основных
площадей по сравнению с эталонными, что существенно уменьшает затраты на
строительство данного предприятия.
Повысилось значение числа комплексно
обслуживаемых автомобилей в год за счёт более рациональной организации
производства и применения прогрессивных методов технического обслуживания и
ремонта индивидуальных автотранспортных средств.
3. Конструкторская
разработка
3.1 Обоснование и выбор
конструкции
Основным критерием эффективного
функционирования станции технического обслуживания автомобилей является низкая
трудоёмкость выполняемых на ней технологических процессов. За счёт этого
повышается производительность труда и уровень дохода данного предприятия.
Внепостовые виды работ,
преобладающие по затратам труда, отнесены по месту их проведения на
специализированные вспомогательные участки.
Одним из перспективных видов
деятельности, выполняемых на данных рабочих местах, являются услуги по
техническому обслуживанию и ремонту колёс автомобилей. Это вызвано тем, что
шина - это наиболее важная деталь машины, влияющая на безопасность вождения и
топливную экономичность транспортного средства. Поэтому необходимо снизить
трудоёмкость проведения этих видов работ за счёт внедрения в производство
ремонтного оборудования, облегчающего труд рабочих данного специализированного
участка.
Одним из таких механизмов является
устройство для проведения осмотра и ремонта пневматических шин. Его
необходимость вызвана рядом факторов, возникающих при проведении ремонта
покрышек двухдетальным и комбинированным методами. Зачастую при их
осуществлении возникает необходимость выполнения ряда ремонтных операций на
внутренней поверхности данного изделия. Это бывает затруднено без применения
каких-либо борторасширяющих средств. Также это устройство может быть полезным
при извлечении труднодоступных посторонних предметов, застрявших в протекторе и
боковинах шин, а также просто при осмотре и оценке их технического состояния.
При выборе данной конструкции
необходимо руководствоваться тем, что её изготовление возможно будет выполнить
в условиях данного предприятия. Также это устройство должно характеризоваться
удобством в эксплуатации, универсальностью и высоким качеством выполнения на
нём работ.
Проведём краткий обзор существующих
конструкций и определимся с выбором наиболее рационального устройства.
3.2 Обзор существующих
конструкций
В соответствии с выбранным предметом
разработки проведём анализ наиболее рациональных предложенных устройств для
осмотра и ремонта пневматических шин за последние три десятилетия на основании
описаний изобретений к авторским свидетельствам, выпускаемых под редакцией
Государственного комитета по изобретениям и открытиям.
Рассмотрим следующее устройство для
ремонта покрышек (авторское свидетельство №1544009 А1), предложенное
проектно-конструкторским бюро Министерства автомобильного транспорта и
шоссейных дорог Литовской республики в 1972 году. Изобретение относится к
гаражному оборудованию, а именно к оборудованию для местного ремонта покрышек.
Цель изобретения - расширение
технологических возможностей.
Устройство работает следующим
образом. Для закрепления покрышки необходимо сначала с помощью электропривода
установить держатель 8 на необходимой высоте. Шток пневмоцилиндра 10 должен
быть выдвинут, штырь 14 соответственно находится во внешнем конце
криволинейного паза, благодаря чему подвижный упор сдвигается к неподвижному, а
сами направляющие сдвинуты к центру. Манипулируя держателем 8 относительно
осей, вводят упоры внутрь покрышки и переключают пневмоцилиндр на втягивание
штока. При этом пока штырь 14 движется по наклонному участку криволинейного
паза, направляющие 13 с упорами 17 и 18 движутся по направлению к периферии,
пока не упрутся в борт покрышки.
- основание со стойкой; 2 -
электродвигатель; 3 - ремённая передача; 4 - винт; 5 - каретка; 6 - ось; 7 -
кронштейн; 8 - держатель; 9 - противовес; 10 - пневмоцилиндр; 11 - диск; 12 -
рычаги; 13 - направляющая; 14 - штырь; 15 - лапы корпуса подшипникового узла;
16 - тяги; 17 - неподвижный упор; 18 - подвижный упор; 19, 20, 21-рукоятки
Затем штырь переходит на
горизонтальный участок паза, при этом упор 18 движется вдоль направляющей 13 и
раздвигает борта шины. В таком положении её можно вращать вокруг своей оси 6.
При необходимости можно фиксировать положение покрышки с помощью рукояток 19 и
21.
Оценивая совершенство представленной
конструкции, необходимо отметить следующее.
К основным её достоинствам относится
возможность проведения осмотра шины в любом её положении, простота изготовления
и малая энергоёмкость.
В качестве недостатков данного
устройства можно выделить низкую приспособленность для проведения ремонтных
работ, узкий спектр осматриваемых типоразмеров шин и небезопасность в
эксплуатации.
Далее рассмотрим устройство для
осмотра и ремонта покрышек (авторское свидетельство №478755), предложенное к
внедрению в производство.
Всесоюзным научно-исследовательским
и конструкторским институтом по оборудованию для шинной промышленности в 1975
году. Изобретение относится к оборудованию для ремонта шин и может быть
использоваться как в шинной промышленности, так и для ремонтных мастерских.
Цель изобретения - механизация
операций съёма и ориентации покрышек относительно подвесок конвейера.
3.3 Описание предлагаемой
конструкции
В качестве объекта проектирования
примем устройство для осмотра покрышек пневматических шин по авторскому
свидетельству №1250480.
Наглядное изображение предлагаемого
устройства представлено на рисунке 3.5.
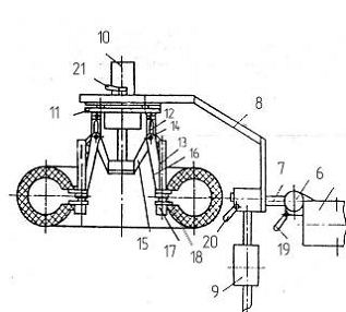
Рисунок 3.5 - Устройство
для осмотра и ремонта пневматических шин: 1 - основание; 2 - рама; 3 - рычаг
разведения; 4 - гидроцилиндр; 5 - рычаг захвата; 6 - упор; 7 -
предохранительное кольцо; 8 - захват; 9 - опорные ролики; 10 - пневматическая
шина
Данное устройство
содержит основание 1 с размещенной на нём сварной рамой 2 с опорными роликами
9. Механизм разведения бортов выполнен из двух рычагов 3, установленных на раме
2 со стороны торцов роликов 3 и захватов 8, шарнирно смонтированных на них. В
целях повышения безопасности в эксплуатации данная конструкция снабжена
кольцами 7, установленными свободно на рычагах захвата 5, и упорами 6,
закреплёнными на последних, на расстоянии от шарнирного соединения рычага
захвата 5 с рычагом разведения бортов 3.
Пневматическую шину 10,
предназначенную для осмотра или ремонта, устанавливают на раму 2 между опорными
роликами 9. Затем вводят захваты за борта шины и устанавливают
предохранительные кольца 7. После чего переводят рычаг гидрораспределителя в
положение подъема.
При этом гидроцилиндр,
установленный шарнирно на рычагах 3, разводит их, захваты 8 и борта покрышки
10. Предотвращения выскальзывания захватов 8 из покрышки 10 обеспечивается
взаимодействием упоров 6 с предохранительными кольцами 7. После осмотра или ремонта
пневматической шины 10 рычаг гидрораспределителя переводят в положение
опускания и выше представленный порядок действий повторяется в обратной
последовательности. Для возможности работы с покрышками различных типоразмеров
опорные ролики 9 могут быть установлены на раме 2 в положения с межосевыми
расстояниями от 350 до 500 мм.
3.4 Технологический и
прочностной расчёт
Параметры для расчёта
гидросистемы определяем из условия установившегося режима работы установки по
усилию на штоке гидроцилиндра
и скорости его
перемещения
.
Усилие
определяется
по моменту силы
относительно
оси крепления рычага разведения к раме из следующего равенства
,
, (3.1)
где
-
радиус-вектор точки приложения силы, м.
- сила разведения
бортов покрышки, Н.
Рисунок 3.6 - Расчётная схема для
определения усилия на штоке
где АВ - расстояние от нижнего
крепления рычага разведения бортов шины до точки крепления штока гидроцилиндра,
м;
АС - длина рычага разведения бортов
покрышки, м.
Принимая силу разведения
бортов покрышки F равную 1000 Н, а
радиус-вектор точки приложения силы АС равный 0,716 м. с наибольшим углом его
наклона
определяем
создаваемый при этом момент силы М, который не меняется при перемещении силы
разведения бортов вдоль линии действия рычага относительно нижней точки его
крепления
по формуле (3.1)
Н
м.
Затем определяем усилие
на штоке гидроцилиндра по следующей формуле
. (3.2)
Принимая радиус-вектор
АВ равный 0,29 м., определяем усилие на штоке
Н.
Принимаем для расчётов
усилие на штоке гидроцилиндра
= 2500 Н.
Ориентировочно скорость
перемещения штока гидроцилиндра рассчитываем по следующей формуле
,
м/сек
, (3.3)
где
ход
штока, м.;
время операции,
принимаемое по техническому заданию, сек.
Принимая ход штока
равный 0,2 м. за время 4,0 сек. определяем скорость перемещения штока
.
Определяем мощность
гидропривода по следующей формуле, кВт
, (3.4)
где
коэффициент
запаса по усилию;
коэффициент запаса по
скорости.
Принимая коэффициент
запаса по усилию 1,25, а коэффициент запаса по скорости 1,4 согласно
литературного источника
определяем
мощность
кВт.
По полученной мощности
из нормированного ряда значений задаём давление рабочей жидкости
равное
1,6 МПа.
Полезную площадь
гидроцилиндра и его диаметр рассчитываем по формулам:
, (3.5)
. (3.6)
Подставляя расчётные
значения в формулы (3.5) и (3.6) определяем
,
Необходимую подачу
насоса Q определяем по формуле,
. (3.7)
Подставляя ранее
найденные значения в формулу (3.7) определяем подачу
Полученное значение
подачи насоса округляем до ближайшего из ряда номинальных расходов и принимаем
равное 0,32
Затем значение диаметра
цилиндра и штока приводим в соответствии с рядом геометрических размеров
силовых гидроцилиндров и принимаем следующие значения: диаметр цилиндра D=0,050 м., диаметр штока
0,02 м. и ход поршня
равный 0,40 м.
Подбираем по
номинальному рабочему давлению и подаче насос НМШ-25 с рабочим объёмом
,
номинальной подачей
,
номинальным давлением нагнетания 1,6 МПа и номинальной частотой вращения 1500
.
Затем принимаем
гидрораспределитель кранового типа Р75-42.
Рассчитываем шток
гидроцилиндра на продольный изгиб по формуле
, (3.8)
где
наименьшая
осевая сжимающая сила, Н:
коэффициент, зависящий
от способов заделки концов штока (равен единице при шарнирном способе заделки);
модуль упругости
материала, МПа (для стали
МПа);
минимальный момент
инерции поперечного сечения штока,
;
длина гидроцилиндра с
выдвинутым штоком, м.
Момент инерции сплошного
поперечного сечения штока равен
. (3.9)
Подставляя принятые
значения в формулы (3.8) и (3.9) определяем
,
Н.
Полученное значение сжимающей
силы должно быть больше действительного усилия на штоке гидроцилиндра, т.е.
Сравнивая значения
данных сил (33892,4
2500),
делаем вывод, что изгиба штока при работе гидроцилиндра не будет.
При расчёте данной
конструкции принимаем открытую систему гидропривода, где насос засасывает
рабочую жидкость из гидробака и подаёт её в одну из полостей гидроцилиндра
через гидрораспределитель. Из противоположной полости гидроцилиндра рабочая
жидкость через распределитель и фильтр возвращается в бак. Для предотвращения
системы от перегрузок установлен предохранительный клапан.
Принципиальная схема
объёмного гидропривода с открытой циркуляцией рабочей жидкости представлена в
приложение В.
Далее производим расчет
на прочность рычага разведения бортов пневматической шины на изгиб. Для этого
определяем действующие на него силы и реакции опор для чего составляем
расчётную схему и строим эпюры действующих сил и моментов, представленных на
рисунке 3.7.
Анализируя
представленную схему, делаем вывод, что рычаг испытывает напряжения от
продольной силы N на участке АВ,
поперечной силы Q на всём протяжении
балки и изгибающего момента М с его максимальным значением в точке В. Так как
линия действия силы штока гидроцилиндра
направлена к оси рычага
под углом 
, раскладываем её
значение на горизонтальную
и вертикальную
составляющие
по следующим зависимостям:
, (3.10)
. (3.11)
Подставляя в формулы
(3.10) и (3.11) рассчитанные значения определяем
Н.,
Н.
Продольная сила
является
положительной, т. к. она действует на растяжение участка АВ балки АС
и
равна значению N=850H.
Далее определяем реакции
в опорах крепления рычага. Для этого составляем и решаем уравнения моментов
относительно этих точек по следующим зависимостям:
, (3.12)
, (3.13)
, (3.14)
, (3.15)
где
сумма
моментов относительно точек А и С.
Подставляя принятые
значения в выше приведенные формулы, находим значения реакций в точках
крепления рычага:

Для проверки
правильности полученных результатов составим сумму проекций всех сил на
вертикальную ось, которая в итоге должна равняться нулевому значению, т.е.
.
Для получения выражения, дающего нам величины поперечной силы Q и изгибающего момента М в любом сечении рычага, возьмём
какое-либо сечение 1 между точками А и В на расстоянии
от
конца А.
Для вычисления
поперечной силы Q в этом сечении удобнее
рассмотреть левую отсеченную часть, так как к ней приложено меньше сил.
Таким образом, получаем
выражение поперечной силы
.
Чтобы найти величину
поперечной силы на втором участке, берём ещё одно сечение 2-2 между точками В и
С. Расстояние
будет
отсчитываться от правой опоры В. В этом случае нам будет выгоднее рассмотреть
правую часть балки, так как на неё действует лишь сила
.
Получаем значение силы
Эпюра поперечных сил Q имеет разрыв - скачок в месте приложения силы
на
значение модуля её величины.
Для построения эпюры
изгибающих моментов М воспользуемся теми же сечениями 1-1 (с началом координат
в точке А) для левой части балки и 2-2 (с началом координат в точке С) для
правой части балки.
Рассматривая левую и
правую отсеченные части, найдём значение моментов в сечениях 1-1 и 2-2 как
сумму моментов, приложенных к ним сил по формулам
, (3.16)
. (3.17)
С учётом того, что
значение переменных
и
изменяются
от ноля до АВ и ВС соответственно находим значения изгибающих моментов:
Как видно из рисунка 3.7
эпюра изгибающих моментов М имеет «перелом», причём его «остриё» направлено
против действия силы Q.
Также необходимо
отметить, что наиболее опасным сечением данной балки является - точка
приложения силы действия штока гидроцилиндра. Поэтому необходимо выполнить
расчет на прочность данного сечения с учётом всех приложенных к нему сил и
моментов.
Рисунок 3.7 - Расчётная
схема и эпюры действующих сил и моментов
Для проверки
рассматриваемого опасного сечения на прочность его максимальное напряжение
должно
соответствовать следующему условию
, (3.18)
где
-
напряжение растяжения (сжатия), Н/
;
- напряжение изгиба, Н/
,
- предельное значение
напряжения, Н/
.
Для нахождения
напряжения изгиба
воспользуемся,
согласно литературного источника
, следующими формулами:
; (3.19)
; (3.20)
, (3.21)
где
-
значение изгибающего момента в опасном сечении,
;
- момент сопротивления
сечения,
;
- момент инерции площади
коробчатого сечения,
;
- наиболее удаленная
точка сечения от нейтральной оси,
;
- значение наименьшей
внешней стороны сечение,
;
- значение наименьшей
внутренней стороны сечение,
;
- значение наибольшей
внешней стороны сечения,
;
- значение наибольшей
внутренней стороны сечения,
.
Принимая значение сторон
прямоугольного профиля B=40
мм., b=30 мм., H=60
мм. и h=50 мм.
по
выше приведённым зависимостям находим значение напряжения в опасном сечении,
создаваемое изгибом:
,
,
.
Напряжение в поперечном
сечении с учётом его ослабления двумя отверстиями под крепления шкворня
вычисляется по следующей формуле
, (3.22)
где
-
значение продольной силы растяжения в сечении, Н;
- площадь сечения,
;
- диаметр отверстия под
установку шкворня.
Принимая значения
диаметра отверстия под шкворень равное 14 мм., определяем напряжение в сечении
.
Далее определяем
максимальное напряжение в сечении, равное по модулю
и
возникающее в верхних волокнах рычага и сравниваем его с допускаемым
.
Принимая для
изготовления рычага, согласно ГОСТ 10704-91, полый прямоугольный коробчатый
стержень из стали 20 с допускаемым суммарным напряжением
,
делаем вывод - опасное сечение способно выдержать данный вид нагрузки.
Наглядное изображение
воздействующих нагрузок на данное сечение представлено на рисунке 3.8.
Рисунок 3.8 - Эпюры
действующих напряжений в сечении
Далее проведём расчёт на
прочность захвата для методике расчёта
кривых стержней,
нагруженного внешней силой Р, которая располагается в плоскости симметрии
поперечного сечения. По этому сечению будут действовать нормальные и
касательные напряжения (рисунок 3.9).
Нормальные напряжения
приведут к появлению равнодействующих внутренних усилий: изгибающего момента М
и нормальной силы N. Касательные напряжения
по сечению сложатся в равнодействующую силу поперечную силу Q. Эти три внутренних усилия показаны на рисунке 3.9. Для их
определения, представим захват в виде кривого стержня с радиусом окружности
,
защемленного одним концом и нагруженном на другом силой Р. Проведём
какое-нибудь сечение с центром тяжести О. Положение сечения определим углом
.
Для вычисления М, N и Q рассмотрим правую часть стержня. Этим мы избавимся от вычисления
реакций в сечении С.
Изгибающий момент будет
равен моменту силы Р относительно точки О
. (3.23)
Проектируя силу Р на
нормаль к сечению и на само сечение, получаем
, (3.24)
. (3.25)
Значение действующей
внешней силы Р определится по формуле
. (3.26)
Подставляя значение
реакции опоры точки С (см. рисунок 3.7) находим величину внешней силы,
действующей на стержень: Р = 947/2 = 437,5 Н.
Значение величины
момента и сил при различном значении угла
представляем в виде
таблицы 3.1 и на их основании построены эпюры.
Таблица 3.1 - Значение
величин сил и моментов
|
Угол ,
град.Значение величин
|
|
|
Изгибающий момент М, Н м.Нормальная сила N, НПоперечная сила Q,
Н
|
|
|
|
0
|
0
|
0
|
-437,50
|
|
45
|
-9,28
|
-309,36
|
-309,36
|
|
90
|
-13,13
|
-437,50
|
0
|
|
100
|
-12,93
|
-430.85
|
+75,97
|
|
180
|
0
|
0
|
+437,5
|
Рисунок 3.9 - Расчётная
схема и эпюры изгибающих моментов и сил для кривого стержня
Таким образом,
наибольший изгибающий момент и нормальная сила будут при
.
Поэтому необходимо проверить данное сечение на прочность по следующей формуле
. (3.27)
Площадь поперечного
сечения
и
его момент сопротивления
для
круглого стержня определятся по следующим формулам:
; (3.28)
, (3.29)
где
-
радиус сечения стержня, мм.
Принимая для расчёта
стержень круглого сечения с
, определяем максимальное
напряжение в рассматриваемом сечении
,
,
.
В соответствии с ГОСТ
1050-88 предельно допустимое напряжение
для стали 25 равно 190
.
Вывод: сечение способно
выдержать данную нагрузку.
Проведём расчёт на
прочность шкворней соединения рычага разведения бортов покрышки. Для этого
воспользуемся формулой для расчёта элементов, подверженных срезу по двум
сечениям
, (3.30)
где
касательное
напряжение среза в сечении, МПа;
предельно допустимое
напряжение среза в сечении, МПа;
сила среза, Н;
площадь среза,
.
Принимая для всех
шарнирных соединений радиус 7 мм., рассчитываем площадь среза по формуле для
круглых сечений (3.28)
.
Принимая в качестве силы
среза Р для соединения: рычага с рамой реакцию опоры
,
для соединения со штоком гидроцилиндра
и для соединения с
рычагом захвата реакцию опоры
определяем касательное
напряжение для этих соединений:
,
,
.
В соответствии с ГОСТ
1050-88 предельно допустимое касательное напряжение
для
стали 45 равняется 220
.
Вывод: данные соединения
способны выдержать действующие напряжения среза с необходимым коэффициентом
запаса прочности, препятствующему возникновению остаточных деформаций при
эксплуатации установки.
Далее проведём расчёт на
срез наиболее нагруженного торцевого сварочного соединения нижнего крепления
рычага разведения бортов к уголкам вилки и двух боковых сварочных соединений
захвата с рычагом по следующей формуле
, (3.31)
где t - толщина свариваемых элементов, мм;
l
- длина сварочного соединения, мм.
Значение силы срез Р для
первого соединения будет равна реакции опоры
(см. рисунок 3.7), для
второго - силе, действующей на стержень, равной 437,5 Н. Находим напряжение
среза данных соединений:
,
.
При использовании для
сварки электродов марки Э42А
предельно допустимое
касательное напряжение
составляет
110
.
Вывод: значение выше
рассчитанных касательных напряжений выполняют условие, заданное формулой
(3.31).
По результатом
прочностного расчёта установки для ремонта шин изображаем общий вид данной
конструкции на седьмом листе графической части, сборочные чертежи на восьмом и
рабочие чертежи деталей на девятом листе.
3.5 Экономические
показатели
Стоимость изготовление
предложенной конструкции определятся по нижеприведённой формуле
, (3.32)
где
-
стоимость изготовления оригинальных деталей, руб.;
- стоимость сборочных
работ, руб.;
- стоимость
общепроизводственных накладных расходов, руб.;
- стоимость покупных
деталей, руб.
Стоимость изготовления
оригинальных деталей определится по формулам:
; (3.33)
; (3.34)
; (3.35)
; (3.36)
; (3.37)
, (3.38)
где
-
общая заработная плата производственных рабочих, руб.;
,
,
-
заработная плата производственных рабочих соответственно основная,
дополнительная и на отчисления, руб.;
- средняя трудоёмкость
изготовления необходимых оригинальных деталей,
;
- часовая тарифная
ставка данного вида работ по 4 разряду,
;
- коэффициент,
учитывающий доплату к основной зарплате;
коэффициент отчислений
на социальные нужды;
- стоимость материала
изготовления, руб.;
- цена материала
заготовки, руб./1 кг.;
- масса заготовок, кг.
Принимаем значение
показателей
,
,
,

руб./1 кг. и
по
чертежам и источнику
.
Определяем значение
стоимости изготовления оригинальных деталей по выше приведённым формулам:
,
,
,
,
,
Стоимость сборочных
работ определится по следующим формулам:
; (3.39)
; (3.40)
, (3.41)
где
,
,
-
заработная плата производственных рабочих, занятых на сборке, соответственно
основная, дополнительная и на отчисления, руб.;
- нормативная
трудоёмкость на сборку конструкции,
;
- коэффициент,
учитывающий соотношение между полным и оперативным временем сборки;
Значения показателей
и
определяется
по аналогичным формулам, принятым для оригинальных деталей.
Принимая значение
показателей
=1,08
и
=12
по
литературному источнику
,
определяем стоимость сборочных работ:
,
,
,
,
Стоимость
общепроизводственных накладных расходов определится по следующей формуле
; (3.42)
, (3.43)
где
-
стоимость труда производственных рабочих, занятых на изготовлении оригинальных
деталей и сборки конструкции, руб.;
- коэффициент,
учитывающий долю общепроизводственных расходов при изготовлении конструкции, %.
Принимая значение
=15%
,
определяем стоимость общепроизводственных накладных расходов по выше
приведённым формулам:
,
Стоимость покупных
деталей определяем по каталогу с учётом подключения установки к центральной
гидросистеме и принимаем равной
Определяем стоимость
изготовления конструкции по формуле (3.42)
Далее определяем срок
окупаемости данной конструкции по формулам:
, (3.44)
, (3.45)
где
-
прибыль при использовании конструкции, руб./год.
- производительность
ремонта шин при внедрении установки, шт./смена
- производительность
ремонта шин до внедрения установки, шт./смена;
- средняя прибыль с
одного ремонта шины, руб.;
-режим работы
шиномонтажного участка спроектированной станции технического обслуживания
автомобилей, дней/год.
6. Экономическая часть
6.1 Исходные данные для
расчётов
Для расчётов приняты следующие
отправные данные.
Расходы на содержание приняты,
эксплуатацию и заработную плату приняты на уровне, характерном для отрасли.
Стоимость содержания предприятия принята на основании нормативов и данных аналогичных
предприятий.
Точный расчёт этих данных невозможен
на стадии бизнес-планирования, а данные практиков - надёжный ориентир, по
крайней мере, эти цифры не занижены - значит, и вероятная погрешность
основанных на них расчётов может быть лишь в стороны завышения расходов, что
менее рискованно.
В расчетах приняты следующие данные:
Материальные издержки (основные,
вспомогательные материалы и комплектующие).
Отчисления с заработной платы
рабочих и служащих на социальные нужды составляют 26%.
Издержки на рекламу (тариф) - до
2,25 млн. руб. + 3,75% с объёма, превышающего 30,0 млн. руб.
Транспортные (эксплуатационные)
расходы (тариф) - до 1% от оборота.
Командировочные расходы (тариф) - до
1% от суммы оборота.
Амортизация здания и оборудования не
учитывалась.
Налог с добавленной стоимости в
размере 18%.
Налог на прибыль в размере 24%.
Средняя ставка стоимости нормо-часа
для оплаты за обслуживания и ремонт автомобилей принята в размере 200 руб. за
час.
Заработная плата производственному
персоналу, с учётом социального налога, установлена на общепринятом уровне
зарплаты сдельщиков и составляет 30% от нетто-выручки за нормо-часы.
Стоимость возведения
производственных зданий и сооружений, включая разработку проектной и получение
разрешительной документации, принята в размере 15,1 млн. руб.; стоимость
закупки и установки необходимого основного технологического оборудования 5,05
млн. руб.
6.2 Ожидаемые объёмы
реализации предоставляемых услуг
Для подсчёта объёма реализации услуг
сведём все ранее найденные значения технико-экономических показателей в таблицу
6.1. Затем примем в виду тот факт, что норма рабочего времени в год введения
станции в действие составит 2440 часов, реальное рабочее время с учётом
отпусков и болезней рабочих 2016 часов. Далее примем к дальнейшему рассмотрению
следующие понятия: продуктивное и оплаченное рабочее время.
Продуктивное рабочее время - это
часть реального рабочего времени за вычетом времени на подготовку к работе и
работ на собственную фирму.
Значение продуктивного времени
принимаем в размере 85% от реального.
Оплаченное время - это продуктивное
время, умноженное на коэффициент 1,2, является средней величиной, зависящей от
производительности труда рабочих.
Таблица 6.1 - Объёмы реализации
услуг
|
Наименование показателей
|
Значения показателей
|
|
Количество рабочих постов
|
11
|
|
Количество смен работы
|
1
|
|
Численность производственного персонала
|
18
|
|
Численность непроизводственного персонала
|
10
|
|
Количество чел.-час. производственного персонала в год
|
36288
|
|
Продуктивное время, чел.-час.
|
30845
|
|
Оплаченное время, чел.-час.
|
37014
|
|
Отпускная средняя стоимость нормо-часа, руб.
|
200
|
|
Выручка от оплачиваемых часов, тыс. руб.
|
7402,8
|
Далее произведём ориентировочное
распределение загрузки цеха сервиса по видам выполняемых работ.
Следует иметь в виду, что реальное
распределение загрузки изменяется в зависимости от сезона, наличия тех или иных
специалистов, наличия и исправности оборудования, качества работ по привлечению
клиентов.
Таблица 6.2 - Распределение загрузки
станции по видам работ
|
Код услуг
|
Наименование услуг
|
Доля в общем объёме заказов, %
|
Время на данный вид услуг, час/год
|
Выручка в год, тыс. руб.
|
|
017104
|
Диагностические работы
|
5
|
1850,7
|
370,14
|
|
017101
|
Техническое обслуживание в полном объёме
|
25
|
9253,5
|
1850,70
|
|
017105
|
Смазочные работы
|
4
|
1480,5
|
296,1
|
|
017107 0171011
|
Регулировочные по: - установке углов колёс; - по тормозам.
|
5 4
|
1850,7 1480,5
|
370,14 296,10
|
|
0172018 017208
|
Обслуживание и ремонт: - систем питания; - эл. оборудования
|
5 5
|
1850,7 1850,7
|
370,14 370,14
|
|
0172011
|
Шиномонтажные работы
|
5
|
1850,7
|
370,14
|
|
017201
|
Текущий ремонт узлов и агрегатов
|
16
|
5922,3
|
1184,46
|
|
0172010
|
Кузовные работы
|
10
|
3701,4
|
740,28
|
|
0172019
|
Малярные работы
|
10
|
3701,4
|
740,28
|
|
0171010
|
Аккумуляторные работы
|
2
|
740,3
|
148,06
|
|
0171019
|
Обойные и арматурные работы
|
1
|
370,2
|
74,04
|
|
017103
|
Уборочно-моечные работы
|
3
|
37014
|
222,08
|
|
ИТОГО
|
100
|
37014
|
7402,80
|
6.3 Предполагаемые
результаты деятельности предприятия
При определении
возможных годовых объёмов реализации принимаем следующее условие - объём продаж
автозапчастей при автосервисе установлен на уровне, превышающем стоимости работ
на 20%
.
Это соотношение правомерно, так как в практике статистика отмечает, в
зависимости от моделей автомобилей, реализация автозапчастей при общих ремонтах
равна 110-130% стоимости работ, а при продаже в розницу 50% от стоимости работ.
Наценка на запчасти,
которая может быть сделана, принята в размере 30%.
Принято, что моменты
закупки, продажи и оплаты товаров совпадают - нет товарных запасов, предоплаты
и рассрочки платежа.
Таблица 6.3 - Объёмы
реализации товаров и услуг
|
Наименование показателей
|
Значения показателей
|
|
Продажа запчастей при автосервисе, тыс. руб.
|
8883,36
|
|
Продажа запчастей в розницу, тыс. руб.
|
4441,68
|
|
Выручка от реализации услуг, тыс. руб.
|
7402,80
|
|
Итого
|
20727,84
|
Далее определяем затраты предприятия
на выдачу заработной платы непроизводственному персоналу. Для этого принимаем
ранее определённую годовую занятость (см. п. 2.3) каждого специалиста и
устанавливаем соответственно ставку стоимости нормо-часа, принятую для данной
отрасли.
Таблица 6.4 - Годовая зарплата
непроизводственного персонала
|
Должность работника
|
Годовая занятость, чел.-час.
|
Ставка стоимости нормочаса, руб.
|
Сумма годовой заработной платы, руб.
|
|
Специалист по ремонту и обслуживанию технологического
оборудования
|
1565,7
|
50
|
78285
|
|
Специалист по ремонту и обслуживанию инженерного и
компрессорного оборудования
|
1878,9
|
50
|
93945
|
Далее определяем годовые общие
издержки, характеризующие стоимость содержания и эффективного функционирования
данного предприятия.
Таблица 6.5 - Общие издержки
|
Наименование затрат
|
Годовая стоимость затрат, тыс. руб.
|
|
Обучение и командировки
|
26
|
|
Коммунальные затраты
|
400
|
|
Материальные затраты
|
22,5
|
|
Связь
|
21
|
|
Реклама
|
18
|
|
Юрист и консультирование
|
18
|
|
Страхование
|
72
|
|
Обслуживание оборудования
|
22,5
|
|
Итого
|
600
|
Затем определяем годовую чистую
прибыль станции технического обслуживания, которая находится как разность между
годовым объёмом реализации товаров и услуг и суммой затрат на закупку
запчастей, общие издержки и выплату заработной платы рабочим и служащим и всех
необходимых налогов.
Таблица 6.6 - Итоговые годовые
показатели
|
Наименование показателей
|
Значения показателей, тыс. руб.
|
|
Валовой объём продаж
|
20727,84
|
|
Закупочная стоимость материалов и запчастей
|
11104,20
|
|
Сдельная зарплата производственного персонала
|
2220,84
|
|
Отчисления со сдельной зарплаты
|
577,42
|
|
Сумма налога с добавленной стоимости
|
399,75
|
|
Суммарные прямые издержки
|
14302,21
|
|
Валовая прибыль
|
6425,63
|
|
Зарплата непроизводственного персонала
|
887,71
|
|
Отчисления с зарплаты
|
230,81
|
|
Общие издержки
|
600
|
|
Суммарные постоянные издержки
|
1718,52
|
|
Налогооблагаемая прибыль
|
4707,11
|
|
Сумма налога на прибыль
|
1129,70
|
|
Чистая прибыль
|
3577,40
|
Срок окупаемости предприятия
определится по следующей формуле:
, (6.1)
где
-
стоимость предприятия, тыс. руб.;
- чистая годовая прибыль
предприятия, тыс. руб.
Подставляя исходные и
расчётные значения показателей в формулу (6.1) определяем срок окупаемости
данного предприятия:
Вывод: реализация проекта
по созданию сервисного центра представляется экономически целесообразной.
Экономические показатели
представлены на десятом листе графической части.
Заключение
В дипломном проекте
рассмотрена тема проектирования станции технического обслуживания в г.
Котельниче Кировской области и разработана установка для ремонта шин для одного
из её участков (шиномонтажного).
Проделано работой были
достигнуты следующие результаты:
в результате
маркетингового исследования было получено, что численность обслуживаемых
легковых автомобилей в районе проектирования составит не менее 720 единиц
техники при частоте их заездов 3…4 раза в год;
необходима площадь
территории для размещения станции 1,03 га. при плотности застройки в 30%;
для оказания всего
необходимого перечня услуг владельцам индивидуальных автотранспортных средств
требуется 11 рабочих постов при размещении их в одном производственном корпусе
площадью 1872
;
для запуска
спроектированной станции в действие необходима сумма капиталовложений не менее
20 млн. руб., при этом срок окупаемости данного предприятия составит 5,6 лет;
спроектированная
установка для ремонта шин позволяет значительно снизить трудоёмкость ремонта
покрышек легковых автомобилей двухдетальным или комбинированным методами с их
типоразмером 12…16 дюймов;
затраты на изготовление
и сборку предлагаемой установки составят сумму в 7828 руб., а срок окупаемости
данных капиталовложений 1,7 года.
Все полученные в ходе
выполнения дипломного проекта результаты имеют технологическое обоснование и
при возможности их финансирования могут быть воплощены в действительности.
Список литературных
источников
1 Кузнецов Е.С. Техническая эксплуатация автомобилей: Учебник для
вузов. - 3-е изд., перераб. и доп. - М.: - Транспорт, 2004. - 413 с.
Энциклопедия земли вятской: Города. В 10-и кн./В.А. Никонов, Н.И.
Перминова, О.М. Любовиков и др.: под ред. В.А. Ситникова.-Киров: АО «Городская
газета», 1998 - Кн. 1, 1998.-448 с.
Егорова Н.Е., Мудунов А.С. Автосервис. Модель и методы прогнозирования
деятельности. - М.: Экзамен, 2002.-256 с.
Отчёты годовые комитета транспорта Котельнича Кировской области.
Фастовцев Г.Ф. Организация технического обслуживания и ремонта
легковых автомобилей: Учебное пособие для учащихся автотрансп. техникумов. -
2-е изд., перераб. и доп. - М.: Транспорт, 1989. - 240 с.
Напольский Г.М. Технологическое проектирование автотранспортных
предприятий и станций технического обслуживания: Учебник для вузов. - 2-е изд.,
перераб. и доп. - М.: Транспорт, 1993. -271 с.
Табель гаражного оборудования для автотранспортных предприятий -
М.: Центроргтрудавтотранс, 2000. - 98 с.
ОНТП-01-91. Общесоюзные нормы технологического проектирования
предприятий автомобильного транспорта. - М.: Гипроавтотранс, 1991.-184 с.
СНиП 11-89-80 Генеральные планы промышленных предприятий/ Госстрой
СССР. - М.: ЦИТП Госстрой, 1980. - 40 с.
Краткий справочник для инженеров и студентов: Высшая математика.
Физика. Теоретическая механика. Сопротивление материалов./ А.Д. Полянин, В.Д.
Полянина, В.А. Попова и др.: под ред. А.А. Варламов - М.: Международная
программа образования, 1996. - 432 с.
11 Проектирование и расчёт подъёмно-транспортирующих машин
сельскохозяйственного назначения/М.Н. Ерохин, А.В. Карп, Н.А. Выскребенцов и
др.: под ред. М.Н. Ерохина и А.В. Карпа. - М.: Колос, 1999.-228 с.
Беляев Н.М. Сопротивление материалов - 2-е изд., перераб. и
доп.-М.: Наука, 1976.-608 с.
13 Пашина С.Н. Экономика автомобильного транспорта. Изд. 5-е
перераб. и доп. - М.: Высшая школа, 1989. - 287 с.
Шкрабак В.С., Луковников А.В., Тургиев А.К. Безопасность
жизнедеятельности в сельскохозяйственном производстве. - М.: Колос, 2002.-512
с.
Практикум по охране труда/ Д.А. Бутко, В.Л. Лущенков, Б.И. Зотов и
др.: под ред. А.И. Зелепукина. - М.:Колос, 1996. - 208 с.
Экологическая безопасность: Учебное пособие/ Лиханов В.А., Лопатин
О.П., Вылегжанин П.Н. и др.: под ред. Зяблых Р.Ю.-Киров: ФГОУ ВПО, 2005. - 50
с.
Инженерная экология и экологический менеджмент: Учебное пособие/
М.В. Буторина, П.В. Воробьёва, А.П. Дмитриева и др.: под редакцией Н.И.
Иванова-М.: «Логос», - 2003-528 с.
Управление автосервисом: Учебное пособие для вузов/ Под общ. ред.
д.т.н., проф. Л.Б. Миротина. - М.: Издательство «Экзамен», - 2004 - 320 с.