Разработка технологического процесса обработки детали 'Вала тракторного генератора'
Разработка
технологического процесса обработки детали "Вала тракторного
генератора"
СОДЕРЖАНИЕ
ВВЕДЕНИЕ
. ТЕХНОЛОГИЧНОСТЬ КОНСТРУКЦИИ ДЕТАЛИ
.1 Назначение детали и технические требования к ней
.2 Отработка конструкции детали на технологичность
.3 Закрепление и обработка детали
. РАЗРАБОТКА ТЕХНОЛОГИЧЕСКОГО ПРОЦЕССА МЕХАНИЧЕСКОЙ
ОБРАБОТКИ ДЕТАЛИ
3. ПРОЕКТИРОВАНИЕ ЗАГОТОВКИ
3.1 Табличный метод назначения припусков
.2 Расчетно-аналитический метод назначения припусков
. ВЫБОР РЕЖИМОВ РЕЗАНИЯ
5. НОРМИРОВАНИЕ ТЕХНОЛОГИЧЕСКИХ ОПЕРАЦИЙ
ЗАКЛЮЧЕНИЕ
СПИСОК ИСПОЛЬЗОВАНЫХ ИСТОЧНИКОВ
Введение
Цель курсовой работы - закрепление, углубление и обобщение знаний,
полученных во время лекционных и практических занятий.
В процессе выполнения курсовой работы - самостоятельное практическое
решение конкретных инженерных задач, изучение концепции и особенности
осуществления механической обработки заготовки на станках, выявление логической
взаимосвязи процессов проектирования и изготовления изделия, уяснение сущности технологичности
как свойства изделия.
1. ТЕХНОЛОГИЧНОСТЬ КОНСТРУКЦИИ ДЕТАЛИ
1.1 Назначение детали и технические требования к ней
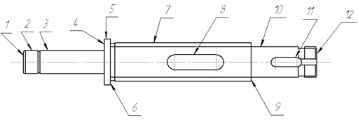
Рис.1.
,12 - торцы вала; 2 - поверхность под подшипник скольжения; 3 -
поверхность; 4,6 - базирующие поверхности; 5 - свободная поверхность; 7 -
шлицевая поверхность;8 - сквозное штифтовое отверстие; 9 - торец под
подшипник;10 - поверхности под посадку подшипников; 11 - шпоночные пазы;
Данный деталь (Рис1.1) применяют в генераторах. Предназначен для передачи
крутящего момента от двигателя через шкив, закрепленного на валу шпоночным
соединением (Рис.1.1.п.11), на вал, а с вала на роторную обмотку закреплённую
на шлицах(Рис.1.1.п.7) и штифтовом соединении(Рис.1.1.п.8).
К валу предъявляют следующие технические требования:
ü радиальное биение посадочных поверхностей под подшипники
качения, под напрессовку зубчатого колеса и муфты относительно оси допускается
в пределах 0,01 - 0,05 мм;
ü шероховатость рабочих поверхностей под рабочие кромки манжет
уплотнений должна быть не более 0,32 мкм; посадочных поверхностей под
подшипники качения не более 1,25 мкм; поверхностей под напрессовку зубчатого
колеса 2,5 мкм;
ü отклонение от цилиндричности для поверхностей под подшипники,
под напрессовку зубчатого колеса и под муфту не более 0,01 мм;
ü отклонение от симметричности шпоночного паза не более 0,086
мм;
ü непараллельность оси шпоночного паза относительно базы не
более 0,022 мм;
ü торцовое биение поверхности под упор подшипника относительно
оси центров не более 0,02 мм.
У вала наиболее ответственными являются посадочные поверхности под
подшипники, шестерню и муфту, рабочая кромка манжеты уплотнения, а также
шпоночные пазы.
Поверхность под муфту должна иметь отклонение от цилиндричности не более
0,01 мм, радиальное биение в пределах 0,01 - 0,05 мм.
Поверхность под посадку подшипников должна иметь отклонение от
цилиндричности не более 0,01 мм воизбежание деформирования кольца подшипника,
радиальное биение в пределах 0,01 - 0,05 мм.
Поверхность под напрессовку зубчатого колеса должна иметь отклонение от
цилиндричности не более 0,01 мм, радиальное биение в пределах 0,01 - 0,05 мм.
Шпоночный паз должен иметь отклонение от симметричности не более 0,07 мм
и непараллельность оси относительно базы не более 0,018 мм.
Наиболее ответственными поверхностями являются:
а) (2),(10) - Поверхность под подшипники
б) (1),(4),(6),(9) - Боковые поверхности
в) (7) - поверхность шлицов
а) Так как эти поверхности под подшипники она должна быть гладкой и
округлой формы, чтоб при наприсовки внутреннее кольцо не повторило дефектную
форму поверхности так как оно может при эксплуатации заклинить или выйти из
строя раньше срока.
б) В эти поверхности упираются, и по ним базируются подшипники, полюсный
наконечники ротора, контактные кольца, эта поверхность должна иметь радиальное
биение не более 0,02мм
в) Поверхность шлицов должна иметь радиальное биение не более 0,02мм для
того чтоб посаженая обмотка не била при высоких оборотах.
Для изготовления этой детали предпочтительное применения материал 40ХН
где
,4% - углерода
% - хрома
% - никеля
Термическая обработка - Улучшение НВ и калить ТВЧ до (НRC50…55)
Наиболее предпочтительный способ получения заготовки горячая объёмная
штамповка на ГКМ, так как при этом методе в массовом производстве происходит
экономия материала, затрат времени на последующей операции обработки детали и
трудоёмкости, что так же влияет на экономические показатели.
Для изготовления этого вала так же можно применить литейный способ, но он
не рационален так как при литье в заготовке есть вероятность возникновения
раковин заготовка становится хрупкой и материал имеет пористую структуру, что
приводит к слабой работе на изгиб, и время затраченное на получение заготовки
для массового производства достаточно велико. Так же можно использовать в
качестве получения заготовки способом отрезание от прутка, полученного на
прокатном стане с использованием круглого прокатного профиля с последующей
обработкой на станках токарной группы. Но этот метод менее рационально в
массовом производстве так как диаметр сечения заготовки малы, что влечёт за
собой материалоёмкие и трудоёмкие затраты. Этот способ выгодней применить в
единичном, серийном производстве.
1.2 Отработка конструкции детали на технологичность
Даная деталь является нетехнологичной, так как штифтовое отверстие
овальной формы (Рис.1.2.) трудно получит, оно нуждаются в предварительной
обработки - сверление, что не целесообразно потому, что это приводит к лишним
затратам. Несмотря на то, что с конструктивной точки зрения, вместо проточек лучше
бы было применить галтель, так как у нее значительно меньше концентрация
напряжений, однако проточка имеет основное достоинство - возможность перебега
режущего инструмента относительно обрабатываемой поверхности в случае чистовой
обработки. При этом кромка резца может быть незакругленной или закруглена
практически произвольным радиусом, что весьма выгодно с технологической точки
зрения. Конструкция вала достаточно проста. Вал достаточно жесткий и,
следовательно, дает возможность получить высокую точность обработки.
Рис.1.2.
.3 Закрепление, обработка и поверхности назначения
После получения заготовки проводят термообработку для снижения и
распределения внутренних напряжений равномерно по всей заготовке. Так как заготовка
с штампа ей проводят термическую обработку - нормализацию.
) Заготовку закрепляют в призмах и обрабатывают торцы на трёхпозиционном
станке. Специальными головками, позволяющими вести одновременную обработку
торцов и засверливание центровых отверстий.
) На вертикально фрезерном станке, пальцевой фрезой обрабатывают
шпоночный паз и паз под стопорную шайбу. Вал устанавливают в призмы.
) На вертикально-сверлильном станке, сверлом, обрабатывают штифтовое
отверстие под протяжку.
) На горизонтально протяжном станке протягиваем штифтовое отверстие
(протяжка 1,5м)
) Нарезание шлицов на шлице-фрезерном станке, методом обкатки червячной
фрезы.
) Шлифование на кругло шлифовальном станке, абразивным кругом, вал
устанавливают в неподвижных центрах.
) Нарезание резьбы на резьбофрезерных станках групповыми резьбовыми
фрезами. Вал устанавливают в призмы
2. РАЗРАБОТКА ТЕХНОЛОГИЧЕСКОГО ПРОЦЕССА МЕХАНИЧЕСКОЙ ОБРАБОТКИ ДЕТАЛИ
Перед разработкой технологического процесса обработки детали определим, в
какой обработке нуждаются ее различные поверхности (Рис.3.1.):
Поверхность назначения
Ø Предварительная обработка поверхность 1,2,5 и фаски
Ø Предварительная и чистовая 7,4,6,9
Ø Предварительная, чистовая и отделочная 2,3,10
Ø Дополнительная 3,7-частично
00 Заготовка (штампование)
Термическая (НВ 250…275 для улучшения обрабатываемости и
распределения внутренних напряжений)
Фрезерно-центровальная (на 3-х позиционном
фрезерно-центровальном станке)
Токарно - предварительная (обработка поверхностей 10,7
одновременно на гидрокопировальном станке с помощью копировального суппорта
поверхность)
Токарно - предварительная (обработка поверхностей 10,7
одновременно на гидрокопировальном станке с помощью копировального суппорта
поверхность)
Токарная - чистовая (обработка поверхностей 10, 9, 7, 6 в том
числе фаски и проточки на гидрокопировальном станке с помощью копировального
суппорта)
Токарная - чистовая (обработка поверхностей 2, 3, 4, 5 в том
числе фаски и проточки на гидрокопировальном станке с помощью копировального
суппорта)
Сверлильная (сверление поверхности 8, диаметром 9 под протяжку)
Протяжная (протяжка длинной 1,5м)
Вертикально-фрезерная (фрезерование шпоночного паза 11 на
вертикально-фрезерном станке пальцевой фрезой)
Шлице - фрезерная (нарезание шлицов червячной фрезой)
Моечная
Контроль (проверка диаметров шеек, длины ступеней, размеров
центровых отверстий, шпоночных канавок, проверка точности формы и взаимного
расположения поверхностей, при помощи различных контрольных приспособлений)
Термическая (закалка ТВЧ глубиной 0,8…1,2 HRC 50…55)
Очистка (пескоструйная)
Торцекруглошлифовальная (предварительное и чистовое шлифование
поверхностей 5, 6, 7 и торцов на круглошлифовальном станке шлифовальным кругом)
Торцекругло - шлифовальная чистовая (предварительное и чистовое
шлифование поверхности 2, 3, 4 и торца на круглошлифовальном станке
шлифовальным кругом)
Резьбо - фрезерная (нарезание резьбы групповой резьбовой фрезой
на станке полу автомат)
Моечтая
Контроль (проверка диаметров шеек, длины ступеней, размеров
центровых отверстий, шпоночных канавок, проверка точности формы и взаимного
расположения поверхностей, при помощи различных контрольных приспособлений)
3. ПРОЕКТИРОВАНИЕ ЗАГОТОВКИ
3.1 Табличный метод назначения припусков
Назначение припусков табличным методом производилось по ГОСТ 7505 - 89 в
следующей последовательности:
Класс точности поковки
Класс точности поковки устанавливается в зависимости от технологического
процесса и оборудования для ее изготовления, а также исходя из предъявляемых
требований к точности размеров поковки.
Так как деталь изготавливаем штамповкой на горизонтально-ковочной машине,
то класс точности поковки Т4.
2 Группа
стали
Для изготовления вала применяем Сталь 45ХН (массовая доля углерода
0,45%). Следовательно группа стали М2.
3 Степень
сложности
Степень сложности является одной из конструктивных характеристик формы
поковок, качественно оценивающей ее, и используется при назначении припусков и
допусков.
Степень сложности определяют путем вычисления отношения объема поковки к
объему геометрической фигуры, в которую вписывается форма поковки.
4 Объем
детали
5 Объем
фигуры
см3;
(изготавливается
не более чем за 2 перехода).
6
Конфигурация поверхности разъема штампа
Плоская.(П)
7 Расчетная
масса поковки
Расчетная масса поковки определяется исходя из ее номинальных размеров.
Ориентировочную величину расчетной массы поковки вычисляют по формуле:
,
где
- расчетная масса поковки, кг;
- масса
детали, кг;
-
расчетный коэффициент.
8 Масса
детали
кг.
Для
валов
.
Принимаем
.
кг;
10 Исходный
индекс
Исходный индекс определяется в зависимости от массы, марки стали, степени
сложности и класса точности поковки.
Исходный индекс -9.
Результаты вычисления размеров заготовки сведены в таблицу:
Таблица 1. Величины припусков, допусков и размеров заготовки (в мм)
|
Условное обозначение
размеров
|
Размер детали
|
Припуск на сторону
|
Допуск на размер заготовки
|
Размер заготовки
|
|
|
Основной
|
Дополнительный
|
Суммарный
|
|
|
|
|
|
Смещение
|
Изогнутость
|
|
|
|
|
1
|
53
|
1,5
|
-
|
0,5
|
2,6
|

|
|
|
2
|
4
|
1,4
|
-
|
0,5
|
2,3
|
 
|
96
|
1,5
|
-
|
0,5
|
2,3
|

|
|
|
4
|
135
|
1,6
|
-
|
0,5
|
2,5
|

|
|
|
5
|
192*
|
1,8*
|
-
|
--
|
2,6
|

|
|
|
6
|
15h61,4-0,52,6
|
|
|
|
|
|
|
|
7*
|
301,30,20,5--
|
|
|
|
|
|
|
|
8
|
 251,40,20,52,8
|
|
|
|
|
|
|
|
9
|
M20х1,5-8g
|
1,3
|
0,2
|
0,5
|
2,3
|

|
|
Примечание:*- Размер для справок
11 Припуски
на механическую обработку
Припуск на механическую обработку включает основной, а также
дополнительные припуски.
Основные припуски на механическую обработку поковок определяются в
зависимости от исходного индекса, линейных размеров и шероховатости поверхности
детали.
Дополнительные припуски, учитывающие смещение поковки, изогнутость,
отклонения от плоскостности и прямолинейности, межцентрового и межосевого расстояний,
угловых размеров, определяются исходя из формы поковки и технологии ее
изготовления.
12 Размеры
заготовки
"1":
Размер детали
мм;
"2":
Размер детали
мм;
"3":
Размер детали
мм;
"4":
Размер детали
мм;
"5":
"1"+"4" =
+
=
мм;
"6":
Размер детали
мм;
"7":
Размер детали
мм;
"8":
Размер детали
мм;
"9":
Размер детали
мм;
13 Радиусы
скруглений
Величина радиусов скруглений 3-4 мм.
14 Глубины
полостей ручьев
Глубины полостей ручьев штампа находятся в пределах от 25 до 95, по
резьбе от 100 до 56 мм. При этом радиусы закруглений наружных углов поковки
составляют 3-4 мм.
15 Допуск
радиусов скруглений
Для класса точности Т4 допуск радиусов скруглений составляет 1 мм.
16Штамповочные
уклоны
Для горизонтально-ковочной машины штамповочные уклоны на наружной
поверхности составляют 5°±1,25°.
3.2 расчетно-аналитический
метод назначения припусков
Назначение
припусков расчетно-аналитическим методом произведено для наиболее ответственной
поверхности детали - поверхность под наприсовку подшипника 
; Ra
0,63мкм.
Таблица
2.1 - Величины припусков на промежуточные и исходные размеры заготовки для
обработки поверхности 
; Ra
0,63
|
Технологический переход
обработки поверхности
|
Точность размера (квалитет)
|
Допуск IT,
мкм
|
Элементы припуска, мкм
|
Предельные величины
припусков, мкм
|
Предельные размеры, мм
|
|
|
|
Rz
|
T
|
С
|
ε1
|
|
|
|
|
|
|
|
|
|
|
|
|
|
|
|
0. Заготовка 14 520 150 250 473 - 2
1564
2
1854,5
1.Предварительное
протягивание 12 210 50 50 28,4 0 2
873
2.
Чистовое протягивание 10 84 30 30 19 0 2
128

178
3.
Черновое шлифование 8 33 10 20 1,4 0 2

509,5
4.
Чистовое шлифование 6 13 5 15 1 0 2
31

44,5
Суммарное
значение пространственного отклонения заготовки
Смещение
мм.
Коробление
мкм.
Средний
диаметр
см
мм.
Удельная
кривизна заготовки. Так как это штампованная заготовка с диаметром 30 мм, то
мкм/мм. Погрешность центровки
мм. Остаточное пространственное коробление
;
мкм;
мкм;
мкм.
мкм.
Коэффициент
уточнения
;
;
;
.
Минимальный
операционный припуск для всех операций
;
;
;
;
;
-
для обтачивания чернового:
мкм;
-
для обтачивания чистового:
мкм;
-
для шлифования предварительного:
мкм;
-
для шлифования чистового:
мкм.
Схема
расположения припусков на промежуточные и исходные размеры заготовки для
обработки поверхности 
,
приведены в приложении №1. Предельный размер заготовки
мм;
мм;
мм;
мм;
мм;
мм;
мм;
мм;
Предельная
величина припусков
мм;
мм;
мм;
мм;
мм;
мм.
Табличная
величина припуска
мм.
4. выбор режимов резания
Исходные данные:
) Исходная заготовка - Штамповка на ГКМ.
) Габаритные размеры заготовки:
-
максимальный диаметр
мм;
длина
мм.
)
Материал заготовки Сталь 45. Улучшение,
, предел
прочности
МПа.
)
Обрабатываемая поверхность
,
мм.
)
Технологический переход - обтачивание предварительное.
)
Припуск
мм;
мм;
мм.
Выбор режимов
резания
Глубина
резания
мм;
мм.
Выбор подачи
Предполагаем
обработку двух шеек
,
мм.
Суммарная
глубина резания
мм;
мм.
мм/об;
мм/об при
и
мм.
С
целью упрощения расчета ориентируемся на размеры детали, а не заготовки: 

мм/об.
Считаем, что система средней жесткости, т.е. равна 1.
Стойкость
инструментов
,
где
- стойкость в минутах машинной работы станка,
-
коэффициент времени резания;
>
;
>
мин;
;
, так как
обрабатывать все удобно;
мм;
,
где
- длина подвода,
- длина
врезания,
- длина
перебега,
;
мм;
мм;
мм;
мин.
Скорость
резанья
,
где
- табличная скорость резания,
-
коэффициент, зависящий от обрабатываемого материала,
-
коэффициент, зависящий от стойкости и марки твердого сплава,
-
коэффициент, зависящий от вида обработки.
Характеристики
токарно-копировального многорезцового полуавтомота
:
)
Наибольший диаметр обрабатываемой заготовки над суппортом
мм.
)
Наибольшая длина обработки заготовки
мм.
)
Частота вращения шпинделя:
,
,
,
,
,
,
,
,
,
,
,
,
,
.
)
Число ступеней подач продольного (копировального) суппорта
.
)
Диапазон подач для продольного суппорта
мм/мин.
)
Наибольшее сечение резцов
.
)
Мощность электродвигателя
кВт.
;
мм/мин;
;
м/мин;
Так
как у нас твердый сплав, марка стали
ХН,
, то
.
При
стойкости инструмента 

;


.
Исходя
из того, что материал заготовки сталь
ХН,
стойкость инструмента
мм, а материал инструмента
, применив интерполирование получим
.
, так как
мы подвергаем заготовку предварительному точению, а профиль резца простой
формы.
м/мин;
;
Частота
вращения шпинделя:
об/мин;
Ступени
подач:
мм/мин;
мм/мин;
мм/мин;
;
;
;
;
;
;
;
;
;
;
;
;
;
Диапазон
подач:
мм/мин;
мм/мин;
мм/мин;
мм/мин;
мм/мин;
мм/мин;
мм/мин;
мм/мин;
мм/мин;
мм/мин;
мм/мин;
мм/мин;
мм/мин;
об/мин;
Рабочая
подача:
мм/об.
Определение
сил резанья
,
где
- сила резания табличная,
- коэффициент, зависящий от обрабатываемого
материала,
- коэффициент, зависящий от скорости резания и
переднего угла при точении сталей твердосплавным инструментом,
Н;
;
.
В
результате смещения заготовка будет иметь ступеньку, вследствие чего будут
возникать большие динамические нагрузки. Тогда передний угол
.
Н;
;
Мощность
резания:
кВт;
Мощность
электродвигателя:
кВт.
5. нормирование технологических операций
Исходные
данные: масса 0,622; Размер 
30
длинна192; Наибольшая длинна ступени 92; точность 12 - предварительная
обработка; стойкость инструмента150мин; количество обрабатывающих резцов 3шт.
Тш=
То+Ту.с.+Тз.о+Туп+Тиз+Ттех+Торг+Тот.
Ту.с.+Тз.о=0,08мин
Время
включения станка с кнопки 0,01мин.
Подвод
инструмента Б.О=0,05мин.
Туп=0,01+0,05=0,06мин.
Время на измерение детали скобой Тиз=0,04мин.
Вспомогательное время
Тв=Ту.с.+Тз.о+Туп+Тиз=0,08+0,06+0,04=0,18мин.
Основное время
То=
=
=0,4мин.
Оперативное
время
Топ.=То+Тв=0,4+0,18=0,58мн.
Время
на техническое обслуживание рабочего места tсм=2,5мин. На смену одного резца, а на смену трёх резцов
- 10мин.
Ттех=
=
=0,02мин.
Время
на организацию и обслуживания рабочего места 1,4%
Торг=
=
=0,041мин.
Время
перерывов на отдых Пот=7%
Тот=
=
=0,041мин.
Штучное
время
Тш=0,4+0,08+0,06+0,04+0,02+0,008+0,041=065мин.
Время
на получение и сдачу инструмента 7…10мин. Принимаем 8мин.
Тпз=3+8=11мин.
Рабочее
время
Траб.=tсм+Тпз=(10
60)-11=589мин.
Размер
партии

906шт.
Поскольку
период стойкости режущего инструмента равен 150 мин. То фактический размер
партии будет меньше за счёт потери времени на смену блоков резцов и составит
приблизительно 903шт.
Заключение
В данной курсовой работе осуществил разработку технологического маршрута
обработки вала, качественный анализ технологичности конструкции детали,
проследил взаимосвязь особенностей конструкции детали, требований к обработке и
характера ее механической обработки, приобрел навыки решения вопросов,
относящихся к сфере производственной деятельности.
список лИтературЫ
вал заготовка припуск резание
1. Технология машиностроения. Б.Л.Беспалов. - М.,
"Машиностроение", 1965. - 456 с.
2. Основы технологии машиностроения. В.М.Кован. - 3-е
изд., перераб. и доп. Учебник для вузов. М., "Машиностроение", 1977.
. Технология производства гесеничных и колесных машин.
Под редакцией Н.М. Капустина. - М.: " Машиностроение", 1989. - 368 с.
с ил.
. Изготовление деталей и сборка автотракторной техники:
Учебное пособие/ М.Г. Ходоревский. - К: УМК ВО. 1992. - 164 с. + I вкл.
. Технология конструкционных материалов: Учебник для
машиностроительных специальностей вузов/ А.М. Дальский - 2-е изд., перераб. и
доп. - М.: Машиностроение, 1985. - 448 с., ил.
. Расчет и проектирование деталей машин: Учебное пособие для
техн. вузов/ Киркач Н.Ф., Баласанян Р.А. - 3-е изд. перераб. и доп. - Х.:
Основа, 1991. - 276с.
. Курсовое проектирование по технологии машиностроения: Учебное
пособие для машиностроит. спец. Вузов/ Горбацевич А.Ф., Шкред В.А. - 4-е изд.,
перераб. и доп. - Мн.: Выш. Школа, 1983. - 256 с., ил.
. Приспособления для металлорежущих станков: Справочник.
Горошкин А.К. - 7-е изд., перераб. и доп.- М.: Машиностроение, 1979. - 303 с.,
ил.
. Справочник конструктора-инструментальщика. Шатин В.П.,
Шатин Ю.В. - М., "Машиностроение", 1975. - 456 с. с ил.